CN201508176U - protractor ceremony level - Google Patents
protractor ceremony level Download PDFInfo
- Publication number
- CN201508176U CN201508176U CN2009201794690U CN200920179469U CN201508176U CN 201508176 U CN201508176 U CN 201508176U CN 2009201794690 U CN2009201794690 U CN 2009201794690U CN 200920179469 U CN200920179469 U CN 200920179469U CN 201508176 U CN201508176 U CN 201508176U
- Authority
- CN
- China
- Prior art keywords
- angle
- pointer
- protractor
- utility
- level
- Prior art date
- Legal status (The legal status is an assumption and is not a legal conclusion. Google has not performed a legal analysis and makes no representation as to the accuracy of the status listed.)
- Expired - Fee Related
Links
- 238000005452 bending Methods 0.000 claims description 2
- 230000005484 gravity Effects 0.000 abstract description 6
- 238000005034 decoration Methods 0.000 abstract description 5
- 238000000034 method Methods 0.000 abstract description 4
- 238000010276 construction Methods 0.000 abstract description 3
- 238000009434 installation Methods 0.000 abstract description 2
- 238000005259 measurement Methods 0.000 description 6
- 230000003993 interaction Effects 0.000 description 1
Images
Landscapes
- Length-Measuring Instruments Using Mechanical Means (AREA)
Abstract
本实用新型涉及一种量角仪式水平尺,属于测量仪器领域。本实用新型尺体的竖直方向、水平方向及45°角的方向上分别设有水准泡,尺体的中部设有指针式量角表,指针式量角表两侧的45°角方向上对称设置有反光镜。本实用新型与现有技术相比,不仅具有传统水平尺能够对“水平”、“竖直”以及45°角的测定,而且还可测定对建筑装璜过程中与重力有关的任意角进行测定,测定更加简便精确,方便使用。本实用新型适合在建筑、装潢及设备、管道安装中与重力有关的角度的测量。
The utility model relates to an angle-measuring ritual level, which belongs to the field of measuring instruments. The vertical direction, the horizontal direction and the direction of 45° angle of the scale body of the utility model are respectively provided with a level bubble, and the middle part of the scale body is provided with a pointer-type angle gauge, and the pointer-type angle gauge is provided on both sides of the 45° angle direction. Symmetrically set with mirrors. Compared with the prior art, the utility model not only has a traditional spirit level that can measure "horizontal", "vertical" and 45° angles, but also can measure any angle related to gravity in the building decoration process. , The determination is more convenient and accurate, and it is convenient to use. The utility model is suitable for measuring angles related to gravity in construction, decoration, equipment and pipeline installation.
Description
技术领域technical field
本实用新型涉及一种量角仪式水平尺,属于测量仪器领域。The utility model relates to an angle-measuring ritual level, which belongs to the field of measuring instruments.
背景技术Background technique
现有的常用水平尺有指针式和水泡式两种,现有的水平尺虽然可以测定一般角,但是读数不方便,所以误差会较大。这给建筑和装潢过程中角度的测量带来了一定的不便。Existing commonly used level has two kinds of pointer type and bubble type, although existing level can measure general angle, reading is inconvenient, so error can be bigger. This brings some inconvenience to the angle measurement in the construction and decoration process.
发明内容Contents of the invention
本实用新型目的在于提供一种既能测得一般角又能较方便读数的量角仪式水平尺。The purpose of the utility model is to provide an angle-measuring ceremony level ruler which can not only measure general angles but also be more convenient for reading.
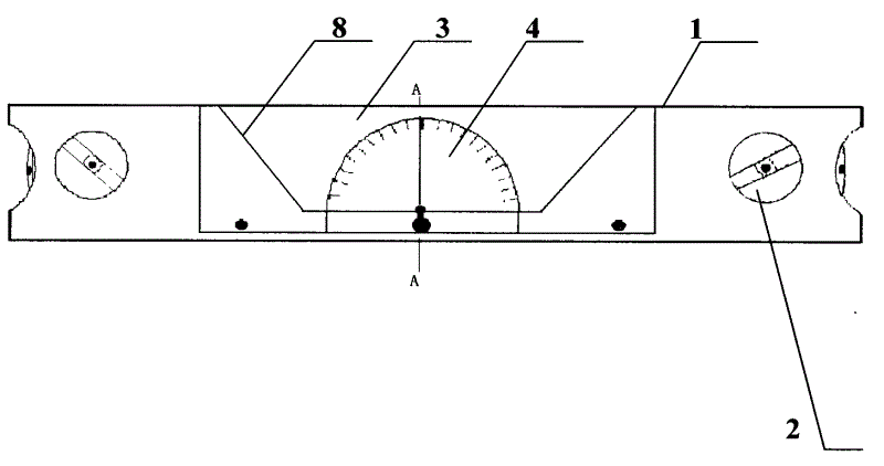
技术解决方案:本实用新型尺体的竖直方向、水平方向及45°角的方向上分别设有水准泡,尺体的中部设有指针式量角表,指针式量角表两侧的45°角方向上对称设置有反光镜。Technical solution: The vertical direction, horizontal direction and 45° angle direction of the scale body of the utility model are respectively provided with level bubbles, the middle part of the scale body is provided with a pointer-type angle gauge, and 45 degrees on both sides of the pointer-type angle gauge. Reflectors are arranged symmetrically in the direction of the angle of °.
指针式量角表包含有表盘、指针,表盘为半圆形量角器,半圆形量角器的圆中心点处设有轴,指针通过轴安装于尺体上,半圆形量角器的厚度面上设有与半圆形量角器上的刻度值相对应的刻度值,指针上端部为90°角弯曲,弯曲部位于半圆形量角器的厚度面上,指针下端部设有重锤。The pointer type protractor includes a dial and a pointer. The dial is a semicircle protractor. The center point of the semicircle protractor is provided with a shaft. The pointer is installed on the scale body through the shaft. For the scale value corresponding to the scale value on the semicircle protractor, the upper end of the pointer is bent at an angle of 90°, the bending part is located on the thickness surface of the semicircle protractor, and the lower end of the pointer is provided with a weight.
指针的初始水平位置时与尺体纵轴重合。The initial horizontal position of the pointer coincides with the vertical axis of the ruler.
本实用新型与现有技术相比,不仅具有传统水平尺能够对“水平”、“竖直”以及45°角的测定,而且还可测定对建筑装璜过程中与重力有关的任意角进行测定,测定更加简便精确,方便使用。本实用新型适合在建筑、装潢及设备、管道安装中与重力有关的角度的测量。Compared with the prior art, the utility model not only has a traditional spirit level that can measure "horizontal", "vertical" and 45° angles, but also can measure any angle related to gravity in the building decoration process. , The determination is more convenient and accurate, and it is convenient to use. The utility model is suitable for measuring angles related to gravity in construction, decoration, equipment and pipeline installation.
四、附图说明4. Description of drawings
图1为本实用新型结构示意图;Fig. 1 is a structural representation of the utility model;
图2为图1的俯视图;Fig. 2 is the top view of Fig. 1;
图3为图1的A-A图;Fig. 3 is the A-A figure of Fig. 1;
图4为本新型新型立体图。Fig. 4 is a new perspective view of the present invention.
五、具体实施方式5. Specific implementation
本实用新型尺体1的竖直方向、水平方向及45°角的方向上分别设有水准泡2,尺体1的中部设有指针式量角表3,指针式量角表3的表盘4为半圆形量角器4,半圆形量角器4的圆中心点处设有轴6,指针5通过轴6安装于尺体1上,半圆形量角器4的厚度面上设有与半圆形量角器4上的刻度值相对应的刻度值,指针5上端部为90°角弯曲,弯曲部位于半圆形量角器4的厚度面上,指针5下端部设有重锤7;指针式量角表3两侧的45°角方向上对称设置有反光镜8;指针5的初始水平位置时与尺体1纵轴重合。The vertical direction of the scale body 1 of the utility model, the horizontal direction and the direction of 45 ° angle are respectively provided with a
使用时,当将本实用新型的尺体1置于将要测定的平面上时,本发明的指针式量角表3将会开始工作。此时,再重力的作用下,重锤7将会带动指针5保持在重力的作用方向上,从而与表盘上的初始位置形成一定得角度,此时,装在轴6上的指针5和表盘4相互作用,就可以读出测试面相对于水平面的角度,以此来达到测定的目的。During use, when the scale body 1 of the present invention is placed on the plane to be measured, the
当测定面距离地面有一定高度时,就可以通过如图1所示的正面图进行读数。当测定的平面接近于地面的时候,就可以利用图2俯视图所示的从上往下读数,当测定的平面接近于竖直方向,可从两边设置的45°反光镜8进行读数。这样就方便了在使用过程中的读数问题。When the measurement surface has a certain height from the ground, it can be read through the front view as shown in Figure 1. When the plane of measurement is close to the ground, just can utilize the top-down reading shown in Fig. 2 top view, when the plane of measurement is close to vertical direction, can read from the 45 °
同时,还可以利用尺体1包括的水准泡2完成对“水平”、“竖直”以及45°角的测定。At the same time, the measurement of "horizontal", "vertical" and 45° angles can also be completed by using the
Claims (3)
Priority Applications (1)
| Application Number | Priority Date | Filing Date | Title |
|---|---|---|---|
| CN2009201794690U CN201508176U (en) | 2009-09-17 | 2009-09-17 | protractor ceremony level |
Applications Claiming Priority (1)
| Application Number | Priority Date | Filing Date | Title |
|---|---|---|---|
| CN2009201794690U CN201508176U (en) | 2009-09-17 | 2009-09-17 | protractor ceremony level |
Publications (1)
| Publication Number | Publication Date |
|---|---|
| CN201508176U true CN201508176U (en) | 2010-06-16 |
Family
ID=42469303
Family Applications (1)
| Application Number | Title | Priority Date | Filing Date |
|---|---|---|---|
| CN2009201794690U Expired - Fee Related CN201508176U (en) | 2009-09-17 | 2009-09-17 | protractor ceremony level |
Country Status (1)
| Country | Link |
|---|---|
| CN (1) | CN201508176U (en) |
Cited By (4)
| Publication number | Priority date | Publication date | Assignee | Title |
|---|---|---|---|---|
| CN102095412A (en) * | 2010-11-16 | 2011-06-15 | 吴江市金茂五金有限公司 | Horizontal inspection scale |
| CN102494713A (en) * | 2011-11-11 | 2012-06-13 | 张金川 | Geological measuring and marking instrument |
| CN106568417A (en) * | 2016-10-23 | 2017-04-19 | 郑建灵 | Level instrument for building |
| CN110174086A (en) * | 2019-04-09 | 2019-08-27 | 中国石油天然气集团公司管材研究所 | A kind of measuring device and measuring method at elbow curvature angle |
-
2009
- 2009-09-17 CN CN2009201794690U patent/CN201508176U/en not_active Expired - Fee Related
Cited By (5)
| Publication number | Priority date | Publication date | Assignee | Title |
|---|---|---|---|---|
| CN102095412A (en) * | 2010-11-16 | 2011-06-15 | 吴江市金茂五金有限公司 | Horizontal inspection scale |
| CN102494713A (en) * | 2011-11-11 | 2012-06-13 | 张金川 | Geological measuring and marking instrument |
| CN102494713B (en) * | 2011-11-11 | 2015-04-22 | 张金川 | Geological measuring and marking instrument |
| CN106568417A (en) * | 2016-10-23 | 2017-04-19 | 郑建灵 | Level instrument for building |
| CN110174086A (en) * | 2019-04-09 | 2019-08-27 | 中国石油天然气集团公司管材研究所 | A kind of measuring device and measuring method at elbow curvature angle |
Similar Documents
| Publication | Publication Date | Title |
|---|---|---|
| CN201508176U (en) | protractor ceremony level | |
| CN212082375U (en) | Inclined component angle measuring tool | |
| CN206479122U (en) | Concrete slab pours the detection means of thickness and flatness | |
| CN202494444U (en) | Protractor slope scale | |
| CN201852579U (en) | Pointer Slope Meter | |
| CN208736407U (en) | A kind of vertical line guiding ruler | |
| CN202938822U (en) | Folding spirit level for construction | |
| CN205981143U (en) | Tower straightness accuracy measuring tool | |
| CN201413143Y (en) | Simple Measuring Instrument for Catenary Pillar Slope | |
| CN203629568U (en) | Multifunctional level gauge | |
| CN210625647U (en) | Level bar for measuring slope | |
| CN202002594U (en) | Concrete specimen length change tester | |
| CN202092639U (en) | Multifunctional measuring scale for building | |
| CN202974282U (en) | Combined type multifunctional simple surveying instrument | |
| CN201047759Y (en) | Portable clinometer for measuring inclination | |
| CN202947735U (en) | Level gauge capable of carrying out multi-angle measurement | |
| CN201327370Y (en) | Curve length measuring pencil | |
| CN208313287U (en) | Angle measurement unit | |
| CN201273816Y (en) | Leveler | |
| CN214200087U (en) | Spirit level for decoration | |
| CN219200422U (en) | Slope measuring device | |
| CN202903185U (en) | Differential inclined measuring instrument for civil engineering | |
| CN204788371U (en) | Portable sloping measuring device | |
| CN202442678U (en) | Angle measuring device for civil engineering | |
| CN202903034U (en) | A multifunctional measuring ruler |
Legal Events
| Date | Code | Title | Description |
|---|---|---|---|
| C14 | Grant of patent or utility model | ||
| GR01 | Patent grant | ||
| C17 | Cessation of patent right | ||
| CF01 | Termination of patent right due to non-payment of annual fee |
Granted publication date: 20100616 Termination date: 20100917 |
