CN201157703Y - Compact cyclone air flotation separation equipment for oily wastewater treatment - Google Patents
Compact cyclone air flotation separation equipment for oily wastewater treatment Download PDFInfo
- Publication number
- CN201157703Y CN201157703Y CNU200720305624XU CN200720305624U CN201157703Y CN 201157703 Y CN201157703 Y CN 201157703Y CN U200720305624X U CNU200720305624X U CN U200720305624XU CN 200720305624 U CN200720305624 U CN 200720305624U CN 201157703 Y CN201157703 Y CN 201157703Y
- Authority
- CN
- China
- Prior art keywords
- air flotation
- cylinder
- gas
- inlet
- circulating
- Prior art date
- Legal status (The legal status is an assumption and is not a legal conclusion. Google has not performed a legal analysis and makes no representation as to the accuracy of the status listed.)
- Expired - Fee Related
Links
- 238000005188 flotation Methods 0.000 title claims abstract description 87
- 238000000926 separation method Methods 0.000 title claims abstract description 34
- 238000004065 wastewater treatment Methods 0.000 title claims abstract description 9
- XLYOFNOQVPJJNP-UHFFFAOYSA-N water Substances O XLYOFNOQVPJJNP-UHFFFAOYSA-N 0.000 claims abstract description 93
- 239000007788 liquid Substances 0.000 claims abstract description 25
- 238000002156 mixing Methods 0.000 claims abstract description 16
- 239000000725 suspension Substances 0.000 claims description 9
- 239000010802 sludge Substances 0.000 claims description 5
- 238000009792 diffusion process Methods 0.000 claims 1
- 239000002351 wastewater Substances 0.000 abstract description 21
- 238000011282 treatment Methods 0.000 abstract description 19
- 238000000746 purification Methods 0.000 abstract description 4
- 238000012423 maintenance Methods 0.000 abstract description 3
- 230000008439 repair process Effects 0.000 abstract description 2
- 238000005516 engineering process Methods 0.000 description 14
- 238000000034 method Methods 0.000 description 13
- 238000010586 diagram Methods 0.000 description 7
- 230000000694 effects Effects 0.000 description 7
- 238000004519 manufacturing process Methods 0.000 description 6
- 238000012545 processing Methods 0.000 description 6
- 239000000203 mixture Substances 0.000 description 5
- 239000012071 phase Substances 0.000 description 5
- 230000009471 action Effects 0.000 description 4
- 230000001464 adherent effect Effects 0.000 description 4
- 239000008213 purified water Substances 0.000 description 4
- 230000005012 migration Effects 0.000 description 3
- 238000013508 migration Methods 0.000 description 3
- 239000002245 particle Substances 0.000 description 3
- 230000008569 process Effects 0.000 description 3
- 238000007667 floating Methods 0.000 description 2
- 239000012530 fluid Substances 0.000 description 2
- 230000005484 gravity Effects 0.000 description 2
- 239000003208 petroleum Substances 0.000 description 2
- 238000005191 phase separation Methods 0.000 description 2
- 238000011160 research Methods 0.000 description 2
- 238000004062 sedimentation Methods 0.000 description 2
- 239000000126 substance Substances 0.000 description 2
- 239000002569 water oil cream Substances 0.000 description 2
- 238000004140 cleaning Methods 0.000 description 1
- 238000007872 degassing Methods 0.000 description 1
- 238000011161 development Methods 0.000 description 1
- 238000001914 filtration Methods 0.000 description 1
- 238000005469 granulation Methods 0.000 description 1
- 230000003179 granulation Effects 0.000 description 1
- 238000011221 initial treatment Methods 0.000 description 1
- 238000009434 installation Methods 0.000 description 1
- 239000012528 membrane Substances 0.000 description 1
- 239000000178 monomer Substances 0.000 description 1
- 239000003348 petrochemical agent Substances 0.000 description 1
- 238000010992 reflux Methods 0.000 description 1
- 230000000630 rising effect Effects 0.000 description 1
- 239000004576 sand Substances 0.000 description 1
- 239000007790 solid phase Substances 0.000 description 1
- 238000001179 sorption measurement Methods 0.000 description 1
- 238000003860 storage Methods 0.000 description 1
- 230000007704 transition Effects 0.000 description 1
Images
Landscapes
- Physical Water Treatments (AREA)
Abstract
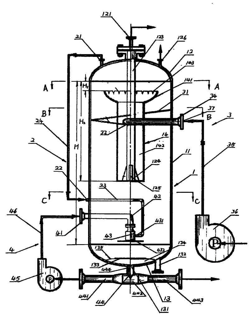
一种含油废水处理用紧凑型旋流气浮分离设备,主要由旋流气浮组合罐(1)、循环气体组件(2)、气液混合组件(3)和循环回流水组件(4)组成,其中,旋流气浮组合罐(1)为关键部件,它由圆柱形外筒体(11),椭圆形上封头(12)和椭圆形下封头(13)组成,其中主要设置有内筒(14)、入口导片(31),并与切向入口管(34)衔接,底部设置有筒内气体循环管路(23)、筒内回流水管路(42)、气浮喷射器(43)、气浮挡板(432)和水平圆板(133)。圆柱形外筒体(11)与循环气体组件(2)、气液混合组件(3)和循环回流水组件(4)连接组成本实用新型总体。本实用新型结构紧凑、简单,工作效率高,占地小,造价低廉,使用维护修理简易,特别适用于含有微小分散油滴含油废水的净化处理。
A compact cyclone air flotation separation device for oily wastewater treatment, mainly composed of a cyclone air flotation combination tank (1), a circulating gas assembly (2), a gas-liquid mixing assembly (3) and a circulating return water assembly (4), wherein , the swirling flow air flotation combination tank (1) is a key component, and it is made up of cylindrical outer shell (11), elliptic upper head (12) and elliptic lower head (13), wherein mainly is provided with inner cylinder ( 14), the inlet guide (31), and connected with the tangential inlet pipe (34), the bottom is provided with the gas circulation pipeline in the cylinder (23), the return water pipeline in the cylinder (42), and the air flotation injector (43) , air floatation baffle (432) and horizontal disc (133). The cylindrical outer cylinder body (11) is connected with the circulating gas assembly (2), the gas-liquid mixing assembly (3) and the circulating return water assembly (4) to form the overall body of the utility model. The utility model has the advantages of compact and simple structure, high working efficiency, small land occupation, low cost, easy operation, maintenance and repair, and is especially suitable for purification treatment of oily waste water containing tiny dispersed oil droplets.
Description
技术领域 technical field
本实用新型涉及一种含油废水中油、气、水多相分离处理的设备,尤其是含有微小分散油滴的含油废水的净化处理分离设备。The utility model relates to equipment for multi-phase separation and treatment of oil, gas and water in oily wastewater, in particular to purification, treatment and separation equipment for oily wastewater containing tiny dispersed oil droplets.
背景技术 Background technique
含油废水在石油石化工业生产、城市生活中等经常遇到,实施油水分离以去除其中的油分往往是面临的首要处理任务。油水分离的方法很多,常用的处理方法有重力沉降法、离心沉降法、气浮法、过滤法、吸附法、膜分离法等。Oily wastewater is often encountered in the production of petroleum and petrochemical industries and urban life, and the implementation of oil-water separation to remove the oil is often the primary treatment task. There are many methods for oil-water separation, and the commonly used treatment methods include gravity sedimentation, centrifugal sedimentation, air flotation, filtration, adsorption, membrane separation, etc.
各种处理方法都有各自的优缺点和特定的适用范围。气浮法工艺成熟、成本低廉、处理量大,目前已被广泛应用于油田、石油化工、食品油生产等废水的处理中。其主要缺点是浮油难处理,浮选停留时间较长;在处理量大的时候,必须建造大型的气浮设备,占地面积大,投资费用高。基于水力旋流器的旋流分离技术自20世纪90年代以来在含油废水处理中得到了越来越广泛的应用,利用油、水两相的密度差由旋流器产生离心力将油、水分离,具有结构紧凑、占地面积小、运行维护简单等优点,但该法能够去除的油珠粒径范围不低于20μm。Each treatment method has its own advantages and disadvantages and specific scope of application. The air flotation method has mature technology, low cost, and large treatment capacity. It has been widely used in the treatment of wastewater in oil fields, petrochemicals, and food oil production. Its main disadvantages are that the slick oil is difficult to handle, and the flotation residence time is long; when the processing capacity is large, large-scale air flotation equipment must be built, which occupies a large area and has high investment costs. The hydrocyclone-based cyclone separation technology has been more and more widely used in the treatment of oily wastewater since the 1990s. The oil and water are separated by the centrifugal force generated by the cyclone by using the density difference between the oil and water phases. , has the advantages of compact structure, small footprint, and simple operation and maintenance, but the size range of oil droplets that can be removed by this method is not less than 20 μm.
为了克服传统气浮和旋流的缺点,进一步强化气浮法的油水分离效果,近年来不少研究人员甚至是相关水处理设备生产厂家都提出了将气浮分离技术与旋流分离技术相结合的观点,取得了一些实质性的研究成果。In order to overcome the shortcomings of traditional air flotation and cyclone and further enhance the oil-water separation effect of air flotation, many researchers and even related water treatment equipment manufacturers have proposed the combination of air flotation separation technology and cyclone separation technology in recent years. From this viewpoint, some substantive research results have been obtained.
目前国内的旋流气浮组合技术仅仅局限于将气浮分离技术与液-液分离用水力旋流器单体相结合来进行油水分离,正处于实验室探索阶段。由于水力旋流器单体的处理能力非常有限,当需要将多根单体并联并在适当部位注入气体时,就显得非常麻烦,因此束缚了其工业化应用。At present, the combination technology of cyclone and air flotation in China is only limited to the combination of air flotation separation technology and liquid-liquid separation hydrocyclone monomer for oil-water separation, which is in the stage of laboratory exploration. Due to the very limited processing capacity of the hydrocyclone unit, it is very troublesome when multiple units need to be connected in parallel and gas is injected at an appropriate position, thus restricting its industrial application.
国外近年来推出了几种气浮与低强度旋流离心力场的组合技术,该技术不仅克服了国内研究存在的处理能力低等缺陷,而且在石油工业含油废水的处理应用方面取得了一定成效。因此,在未来一段时期内,气浮与低强度旋流离心力场的组合技术将主导着气浮旋流组合处理技术的发展方向。In recent years, foreign countries have introduced several combined technologies of air flotation and low-intensity cyclone centrifugal force field. This technology not only overcomes the shortcomings of low processing capacity in domestic research, but also has achieved certain results in the treatment and application of oily wastewater in the petroleum industry. Therefore, in the future, the combination technology of air flotation and low-intensity cyclone centrifugal force field will dominate the development direction of air flotation and cyclone combined treatment technology.
在挪威M-I Epcon公司申请的美国专利US7144503中阐述了一种脱气浮选组合罐,罐内有一个圆柱状内筒和一个螺旋状入口导片,含油废水从罐上部的切向入口进入罐中形成旋流,同时气泡从水中析出。气泡和油滴在旋流的作用下被压至内筒壁,二者结合粘附后上升到罐顶,通过罐顶的油气出口排出。据专利权人的报道,此装置对含油废水的处理效果较好,并且成本及维护费用很低,比较适用于海上作业的石油生产平台或者浮式生产储卸油轮(FPSO)等空间要求比较严格的领域使用。但从该专利所附的结构图上来看,上升到罐内顶部的油和气泡浮渣的外排存在着一些问题。尤其海上作业的石油生产平台或FPSO会因波、浪、流的作用而处于晃动状态,此时罐内部的液面难以保持稳定,从而致使该装置外排油和气泡浮渣中的含水量过高,从而严重影响了分离效果。In the US patent US7144503 applied by Norway M-I Epcon Company, a degassing flotation combination tank is described. There is a cylindrical inner cylinder and a spiral inlet guide in the tank, and the oily waste water enters the tank from the tangential inlet on the upper part of the tank. A swirl is formed while air bubbles are released from the water. Bubbles and oil droplets are pressed to the inner cylinder wall under the action of the swirling flow, and the two are combined and adhered to rise to the top of the tank, and are discharged through the oil and gas outlet on the top of the tank. According to the report of the patentee, this device has a good treatment effect on oily wastewater, and the cost and maintenance costs are very low. It is more suitable for offshore oil production platforms or floating production, storage and offloading (FPSO) and other space requirements. field use. But from the structural diagram attached to this patent, there are some problems in the efflux of the oil and air bubble scum rising to the top of the tank. Especially the offshore oil production platform or FPSO will be in a sloshing state due to the action of waves, waves, and currents. At this time, the liquid level inside the tank is difficult to maintain stable, resulting in excessive water content in the oil discharged from the device and the air bubble scum. High, which seriously affects the separation effect.
在美国Natco集团申请的美国专利US7157007中阐述了一种油、气、水三相分离装置,该装置为一个立式气浮分离罐,主要分为上、中、下三层,分别利用了旋流分离、粗粒化和气浮分离技术。位于罐上部的中间位置安装有一个内筒,含油废水从切向入口进入到内筒中产生旋流,在内筒中进行油水分离,油相直接进入撇油斗。从内筒底部流出的水流经过位于罐中部的聚结层时,分散的油滴在此聚集长大。部分大颗粒油滴会在浮力作用下,克服自身重力和主体相的下向流动而开始向上浮升,从而又去除了一部分油。在罐下部安装有喷射器,利用罐内顶部的气体和回流净化水在喷射器内剪切混合后,产生微小气泡,对从聚结层流下来的含油废水进行气浮处理。但聚结层的定期清理问题非常麻烦,同时整套设备的内部结构非常复杂,加工制造的成本较高。In the U.S. patent US7157007 applied by Natco Group in the United States, a three-phase separation device for oil, gas and water is described. The device is a vertical air flotation separation tank, which is mainly divided into upper, middle and lower layers. Flow separation, coarse granulation and air flotation separation technology. An inner cylinder is installed in the middle of the upper part of the tank. The oily waste water enters the inner cylinder from the tangential inlet to generate swirling flow, and the oil and water are separated in the inner cylinder, and the oil phase directly enters the oil skimmer. When the water flowing from the bottom of the inner cylinder passes through the coalescing layer in the middle of the tank, the dispersed oil droplets gather and grow. Under the action of buoyancy, some large-particle oil droplets will overcome their own gravity and the downward flow of the main phase and start to float upward, thereby removing part of the oil. An ejector is installed at the lower part of the tank, and the gas at the top of the tank and the reflux purified water are sheared and mixed in the ejector to generate tiny bubbles to perform air flotation treatment on the oily wastewater flowing down from the coalescing layer. However, the regular cleaning of the coalescing layer is very troublesome, and the internal structure of the whole set of equipment is very complicated, and the cost of processing and manufacturing is relatively high.
鉴于上述原因,有必要进一步研制开发新型的紧凑型气浮旋流分离系统来克服上述油水分离装置的不足。In view of the above reasons, it is necessary to further develop a new type of compact air flotation cyclone separation system to overcome the shortcomings of the above-mentioned oil-water separation device.
发明内容 Contents of the invention
根据背景技术所述,本实用新型的目的在于避免上述缺点,提供一种将旋流和气浮两种油水分离的单元技术有机结合起来,使水中的分散油滴能够高效分离,达到净化处理目的的含油废水处理用紧凑型旋流气浮分离设备。According to the background technology, the purpose of this utility model is to avoid the above-mentioned shortcomings, and to provide a unit technology that combines the two oil-water separation units of swirl flow and air flotation, so that the dispersed oil droplets in the water can be separated efficiently, and the purpose of purification treatment can be achieved. Compact cyclone air flotation separation equipment for oily wastewater treatment.
为了实现上述目的,本实用新型是通过以下技术方案来实现的:In order to achieve the above object, the utility model is achieved through the following technical solutions:
一种含油废水处理用紧凑型旋流气浮分离设备,主要由旋流气浮组合罐(1),循环气体组件(2)、气液混合组件(3)和循环回流水组件(4)组成,其中:由圆柱形外筒体(11)、椭圆形上封头(12)和椭圆形下封头(13)组成旋流气浮组合罐(1)的罐体,其中在上封头(12)上安装有循环气体出口(21)、出油口法兰(121)和气体安全阀(126),出油口法兰(121)与内筒(14)中的内悬管(123)连接,其内悬管(123)的尾部设置有固定片(124)和出油槽(125),外筒体(11)的底部装设有循环回流水入口(41),并与筒内回流水管路(42)连接,其筒内回流水管路(42)的端部与气浮喷射器(43)连接,气浮喷射器(43)的中上部设置有喷射器进气口(431),下方设置有圆盘状气浮挡板(432),距离气浮喷射器(43)的下端面(5~10)mm,在外筒体(11)的下封头(13)内,下封头出水口(131)的上方设置一水平圆板(133),并与下封头(13)之间形成一个圆环状水流通道(134),水平圆板(133)的四周设置有滤网(135),在下封头(13)上还安装有油泥出口(132);A compact cyclone air flotation separation device for oily wastewater treatment, mainly composed of a cyclone air flotation combination tank (1), a circulating gas assembly (2), a gas-liquid mixing assembly (3) and a circulating return water assembly (4), wherein : the tank body of the swirling air flotation combined tank (1) is made up of a cylindrical outer cylinder (11), an elliptical upper head (12) and an elliptical lower head (13), wherein on the upper head (12) A circulating gas outlet (21), an oil outlet flange (121) and a gas safety valve (126) are installed, and the oil outlet flange (121) is connected with the inner suspension pipe (123) in the inner cylinder (14), and its The tail of the inner suspension pipe (123) is provided with a fixed piece (124) and an oil outlet groove (125), and the bottom of the outer cylinder (11) is equipped with a circulating backflow water inlet (41), which is connected to the backflow water pipeline in the cylinder (42 ) connection, the end of the return water pipeline (42) in the cylinder is connected with the air flotation injector (43), the upper middle part of the air flotation injector (43) is provided with an injector air inlet (431), and the lower part is provided with a round Disc-shaped air flotation baffle (432), the distance from the lower end surface (5~10) mm of the air flotation injector (43), in the lower head (13) of the outer cylinder (11), the lower head water outlet (131 ) is provided with a horizontal circular plate (133), and a circular water flow channel (134) is formed between the lower head (13), and a filter screen (135) is arranged around the horizontal circular plate (133). Oil sludge outlet (132) is also installed on the head (13);
内筒(14)由球冠状撇油槽(141)与圆柱状油筒(142)组成,其球冠状撇油槽(141)的上端制成锯齿状溢流堰(143),内筒(14)的底部与内悬管(123)固接,圆柱状外筒体(11)的上边缘与球冠状撇油槽(141)上边缘之间的距离H1=50mm,内筒(14)底部边缘距外筒体(11)的上边缘距离H2=(1/3~3/5)H;Inner cylinder (14) is made up of spherical crown oil skimming groove (141) and cylindrical oil cylinder (142), and the upper end of its spherical crown oil skimming groove (141) is made into sawtooth overflow weir (143), and the inner cylinder (14) The bottom is fixedly connected with the inner suspension pipe (123), the distance H 1 =50mm between the upper edge of the cylindrical outer body (11) and the upper edge of the spherical crown oil skimming groove (141), and the inner cylinder (14) bottom edge is apart from the outer edge. The upper edge distance H 2 of the cylinder (11) = (1/3~3/5)H;
循环气体管路(24)与循环气体出口(21)、循环气体入口(22)、筒内气循环管路(23)连接,且筒内气体循环管路(23)与气浮喷射器(43)的进气口(431)连接共同组成循环气体组件(2);The circulation gas pipeline (24) is connected with the circulation gas outlet (21), the circulation gas inlet (22), the air circulation pipeline (23) in the cylinder, and the gas circulation pipeline (23) in the cylinder is connected with the air flotation ejector (43 ) of the air inlet (431) are connected together to form a circulating gas assembly (2);
在外筒体(11)的上部,设置有入口导片(31)环绕内筒(14)固定在外筒体(11)的内壁上,其导片起始端(32)与切向入口管(34)的入口管末端光滑过渡连接,入口导片(31)沿筒壁圆周方向螺旋状设置,螺旋升角为5°~15°,入口导片(31)与外筒体(11)内壁相交线在水平面上投影的圆周角为210°~330°,入口导片(31)与内筒(14)的外表面之间应留有一定的径向间隙,切向入口管(34)的入口(37)通过管路(35)与气液混合泵(36)连接,从而入口导片(31)、切向入口管(34)、管路(35)和气液混合泵(36)共同组成气液混合组件(3);On the upper part of the outer cylinder (11), an inlet guide (31) is fixed around the inner cylinder (14) and fixed on the inner wall of the outer cylinder (11), and the starting end (32) of the guide and the tangential inlet pipe (34) The end of the inlet pipe is connected smoothly, the inlet guide vane (31) is helically arranged along the circumferential direction of the cylinder wall, the helix angle is 5°-15°, and the intersection line of the inlet guide vane (31) and the inner wall of the outer cylinder body (11) is at The circumferential angle projected on the horizontal plane is 210°~330°, and there should be a certain radial gap between the inlet guide vane (31) and the outer surface of the inner cylinder (14), tangential to the inlet (37) of the inlet pipe (34). ) is connected with the gas-liquid mixing pump (36) through the pipeline (35), so that the inlet guide (31), the tangential inlet pipe (34), the pipeline (35) and the gas-liquid mixing pump (36) together form a gas-liquid mixing component(3);
由进水管(441),三通管(442)和排水管(443)连接构成进排水管(44),并且通过进排水管(44)的进水口(444)与下封头出水口(131)连接,循环回流水泵(45)通过筒外回流水管路(46)与循环回流水入口(41)连接,气浮喷射器(43)、圆盘状气浮挡板(432)、筒内回流水管路(42)、循环回流水入口(41)、筒外回流水管路(46)、循环回流水泵(45)和进排水管(44)共同组成循环回流水组件(4)。The inlet and outlet pipes (44) are formed by connecting the water inlet pipe (441), the tee pipe (442) and the drain pipe (443), and the water inlet (444) of the inlet and outlet pipe (44) is connected with the outlet of the lower head (131 ), the circulating backflow water pump (45) is connected to the circulating backflow water inlet (41) through the backflow water pipeline (46) outside the cylinder, the air flotation injector (43), the disc-shaped air flotation baffle (432), the backflow inside the cylinder The water pipeline (42), the recirculation water inlet (41), the external recirculation water pipeline (46), the recirculation water pump (45) and the inlet and outlet pipes (44) together form the recirculation water assembly (4).
由于采用了上述技术方案,本实用新型具有如下优点和效果:Due to the adoption of the above-mentioned technical scheme, the utility model has the following advantages and effects:
1、本发明成功地实现了旋流和气浮两种油水分离单元技术的有机结合,能够分离微小油滴,工作效率大大提高,设备结构形体紧凑、简单,结构形式精巧,特别适用于含有微小分散油滴的含油废水的净化处理。1. The present invention successfully realizes the organic combination of two oil-water separation unit technologies of cyclone and air flotation, can separate tiny oil droplets, and greatly improves work efficiency. Purification treatment of oily wastewater from oil droplets.
2、本发明对处理流量及其内含油、含气量波动的适应性较强,具有较大的操作弹性。2. The present invention has strong adaptability to the fluctuation of the processing flow rate and its oil and gas content, and has greater operational flexibility.
3、本发明结构造价低廉,使用安装维护修理简易。3. The structure of the present invention is cheap and easy to use, install, maintain and repair.
附图说明 Description of drawings
图1为本发明结构总体剖视示意图Fig. 1 is the overall sectional schematic diagram of structure of the present invention
图2为本发明图1的A-A剖视示意图Fig. 2 is the A-A sectional schematic diagram of Fig. 1 of the present invention
图3为本发明图1的B-B剖视示意图Fig. 3 is the B-B sectional schematic diagram of Fig. 1 of the present invention
图4为本发明图1的C-C剖视示意图Fig. 4 is the C-C sectional schematic diagram of Fig. 1 of the present invention
图5为本发明气浮喷射器剖视示意图Fig. 5 is a schematic sectional view of the air flotation injector of the present invention
图6为本发明另一实施例总体结构剖视示意图Figure 6 is a schematic cross-sectional view of the overall structure of another embodiment of the present invention
图7为本发明旋流气浮组合罐串联方式结构示意图Fig. 7 is a schematic diagram of the structure of the series connection mode of the cyclone air flotation combined tank of the present invention
图8为本发明旋流气浮组合罐并联方式结构示意图Figure 8 is a schematic diagram of the structure of the parallel connection mode of the cyclone air flotation combined tank of the present invention
具体实施方式 Detailed ways
由图1至图4示出本发明的一种含油废水处理用紧凑型旋流气浮分离设备,主要由旋流气浮组合罐1、循环气体组件2、气液混合组件3和循环回流水组件4组成,其中:由圆柱形外筒体11、椭圆形上封头12和椭圆形下封头13组成旋流气浮组合罐1的罐体,其中在上封头12上安装有循环气体出口21、出油口法兰121和气体安全阀126,出油口法兰121与内筒14中的内悬管123连接,其内悬管123的尾部设置有固定片124和出油槽125,外筒体11的底部装设有循环回流水入口41,并与筒内回流水管路42连接,筒内回流水管路42的端部与气浮喷射器43连接,气浮喷射器43的中上部设置有喷射器进气口431,下方设置有圆盘状气浮挡板432,距离气浮喷射器43下端5~10mm,在外筒体11的下封头13内,下封头出水口131的上方设置一水平圆板133,并与下封头13之间形成一个圆环状水流通道134,水平圆板133的四周设置有滤网135,在下封头13上还安装有油泥出口132;Figures 1 to 4 show a compact cyclone air flotation separation device for oily wastewater treatment according to the present invention, which mainly consists of a cyclone air flotation combined tank 1, a circulating
内筒14由球冠状撇油槽141与圆柱状油筒142组成,其球冠状撇油槽141的上端制成锯齿状溢流堰143,内筒14的底部与内悬管123固接,圆柱状外筒体11的上边缘与球冠状撇油槽141上边缘之间的距离H1=50mm,内筒14底部边缘距外筒体11的上边缘距离H2=(1/3~3/5)H;The inner cylinder 14 is composed of a spherical crown
循环气体管路24与循环气体出口21、循环气体入口22、筒内气体循环管路23连接,且筒内气体循环管路23与气浮喷射器43的进气口431连接共同组成循环气体组件2;The
在外筒体11的上部,设置有入口导片31环绕内筒14固定在外筒体11的内壁上,其导片起始端32与切向入口管34的入口管末端光滑过渡连接,入口导片31沿筒壁圆周方向螺旋状设置,螺旋升角为5°~15°,入口导片31与外筒体11内壁相交线在水平面上投影的圆周角为210°~330°,入口导片31与内筒14的外表面之间应留有一定的径向间隙,切向入口管34的入口37通过管路35与气液混合泵36连接,从而入口导片31、切向入口管34、管路35和气液混合泵36共同组成气液混合组件3;On the upper part of the outer cylinder 11, an
由进水管441,三通管442和排水管443连接构成进排水管44,并且通过进排水管44的进水口444与下封头出水口131连接,循环回流水泵45通过筒外回流水管路46与循环回流水入口41连接,气浮喷射器43、圆盘状气浮挡板432、筒内回流水管路42、循环回流水入口41、筒外回流水管路46、循环回流水泵45和进排水管44共同组成循环回流水组件4。The water inlet pipe 441, the three-way pipe 442 and the water outlet pipe 443 are connected to form the
又知,气-液混合物在旋流气浮组合罐1内产生的旋流离心强度对分离性能的影响也非常大,理想的离心强度范围为15~30。It is also known that the centrifugal strength of the cyclone generated by the gas-liquid mixture in the combined cyclone-air flotation tank 1 also has a great influence on the separation performance, and the ideal centrifugal strength ranges from 15 to 30.
旋流气浮组合罐1内的气体含量也要保持在一个合适的范围,理想的气液比为9%~18%。The gas content in the cyclone air flotation combination tank 1 should also be kept in an appropriate range, and the ideal gas-liquid ratio is 9% to 18%.
一般要求气浮喷射器43产生的气泡直径范围为100μm~300μm。It is generally required that the diameter of the air bubbles generated by the
另知,首先利用气液混合泵36边抽水,边吸气,在泵内将含油废水与气体剧烈搅拌,剪切混合成含油废水-微小气泡的均匀混合物,增加了分散油滴与微小气泡的粘附机会,然后再通过切向入口管34进入外筒体11中,经由入口导片31在罐内形成螺旋向上的旋流。It is also known that at first, the gas-liquid mixing pump 36 is used to pump water and inhale air, and the oily wastewater and gas are vigorously stirred in the pump, and sheared and mixed into a uniform mixture of oily wastewater-microbubbles, which increases the chance of dispersing oil droplets and microbubbles. Adhesion opportunities, then enter the outer cylinder 11 through the
气液混合流体在罐内旋转而产生离心力,密度较大的水相向罐内壁移动,而油滴、粘附有油滴的微小气泡等轻组分则向罐中间发生径向相对迁移,到达罐内内筒14的外壁附近区域。在此过程中由于分散油滴与微小气泡的径向迁移速度存在差异,微小气泡的径向内迁移速度相对较大,从而增加了二者接触的机会,提高了微小气泡与微小油滴的粘附速度。由于气泡-油滴粘附体的密度远远低于水的密度,因此已经位于罐内内筒14外壁附近的气泡-油滴粘附体会慢慢上浮。而大部分的气-液混合流体则会边旋转、边向下流动,同时旋转离心效应逐渐减弱,在该过程中仍然会有部分气泡-油滴粘附体慢慢上浮。为了进一步增强气浮分离效果,通过罐内下部中心位置安装的气浮喷射器43,循环回流水泵45将一部分净化水循环回流到气浮喷射器的中上部,与此同时气浮喷射器43从罐顶吸入气体,气体在气浮喷射器43内被剪切破碎成微小气泡,在圆盘状气浮挡板432的配合作用下,气浮喷射器43出口的含气泡净化水被均匀分布在气浮喷射器43的周围区域,从而形成了一个完整的气浮强化分离区。罐内下部废水中残余的微小油滴通过与气泡粘附,再次形成气泡-油滴粘附体而向罐顶部上浮。通过前、后两次气浮过程,最终在罐内液面上部产生一层油水乳化液和气泡浮渣,这些气浮产物最终通过锯齿形的溢流堰142汇集到内筒14中,通过出油口法兰121连续不断地被排除到罐外。罐中的气相一部分混合在气泡浮渣中,随着油水乳化液一起从出油口法兰121排出罐外,一部分上升至罐顶,上升至罐顶的这部分气体又分为两种排出方式,一部分从气体安全阀126排出,另一部分从循环气体出口21被吸入,再次进入罐中作为气源被循环利用。经过处理的水沿着罐壁流向罐的底部,经水平圆板133缓流后,从罐底部的出水口131排出。此外,沙子和其他较重颗粒将下落到罐底,通过滤网135收集后以油泥的形式由罐底部的油泥出口132排出。The gas-liquid mixed fluid rotates in the tank to generate centrifugal force, and the denser water phase moves toward the inner wall of the tank, while light components such as oil droplets and tiny bubbles adhered to the oil droplets undergo radial relative migration to the middle of the tank and reach the tank. The area near the outer wall of the inner cylinder 14. In this process, due to the difference in the radial migration speed of dispersed oil droplets and micro-bubbles, the radial migration speed of micro-bubbles is relatively large, which increases the chance of contact between the two and improves the viscosity of micro-bubbles and micro-oil droplets. Attach speed. Since the density of the air bubble-oil droplet adherents is far lower than that of water, the air bubble-oil droplet adherents that have been located near the outer wall of the inner cylinder 14 in the tank slowly float up. However, most of the gas-liquid mixed fluid will rotate and flow downward, and at the same time, the centrifugal effect of the rotation will gradually weaken. In the process, there will still be some bubbles-oil droplet adherents slowly floating up. In order to further enhance the air flotation separation effect, through the
由图5示出本发明气浮喷射器的剖视示意图,由图可见气浮喷射器43实为一文丘里喷嘴,主要由圆筒段433,吸气口434,收缩段435,吸气腔436,喉部437和扩散段438组成,其中气浮喷射器43的顶部通过法兰与筒内管路42相连接,通过循环回流水泵45从下封头出水口131导入已处理的净化水,吸气口434与筒内气体循环管路23连接,以便从循环气体出口21吸入气体。Shown in Fig. 5 is the schematic cross-sectional view of the air flotation injector of the present invention, it can be seen from the figure that the
由图6示出本发明另一实施例,主要是循环回流水组件4的喷射器安装位置有所不同,循环回流水泵45从下封头出水口131抽出一部分已处理的净化水,位于外筒体11体外下部侧向设置的两个喷射器43通过筒外回流水管路46与循环回流水泵45连接,向罐中切向喷射入含有微小气泡的水流,其中气体由外筒体11的循环气体出口21沿着循环气体管路24,从进气孔47进入到吸气腔436中被剪切成微小气泡,吸气腔436内为真空低压区,切向进入的气液混合物在罐中螺旋转动,对含油废水进行旋流、气浮组合处理。Another embodiment of the present invention is shown in Fig. 6, mainly because the installation positions of the injectors of the circulating
本实用新型的紧凑型旋流气浮组合罐1,可以根据工作流量等不同的性能需求采取串联或并联的工作方式。The compact swirling air flotation combined tank 1 of the utility model can be connected in series or in parallel according to different performance requirements such as working flow.
图7示出3个紧凑型旋流气浮组合罐串联的工作方式,前一个组合罐的出水口作为下一个组合罐的入水口,出油口排出的油汇集到同一管路中,这种工作方式可以提高紧凑型旋流气浮组合罐的分离效率。Figure 7 shows the working method of three compact cyclone air flotation combination tanks in series, the water outlet of the previous combination tank is used as the water inlet of the next combination tank, and the oil discharged from the oil outlet is collected into the same pipeline. The method can improve the separation efficiency of the compact cyclone air flotation combination tank.
图8示出2个紧凑型旋流气浮组合罐并联的工作方式,二者分别独立进行含油废水的净化处理,出油口排出的油与出水口排出的水分别汇集到同一管路中,这种工作方式可以提高紧凑型旋流气浮组合罐的处理能力。Figure 8 shows the working mode of two compact cyclone-air flotation combination tanks connected in parallel. The two independently purify the oily wastewater, and the oil discharged from the oil outlet and the water discharged from the water outlet are respectively collected in the same pipeline. This working method can improve the processing capacity of the compact cyclone air flotation combination tank.
综上所述,含油废水的气液混合物从罐体上部的切向入口进入罐中,在罐内形成旋流。同时,在气液混合泵作用下均匀分布在含油废水中的气泡在罐中析出,对罐中的含油废水进行气浮处理。因此,粘附有油滴的气泡等较轻物质向罐顶移动;水流以及固相颗粒等较重物质向罐底移动,到达组合罐下部的喷射气浮区域时,由喷射器对含油废水进行二次气浮处理。所以,含油废水相当于在罐内进行了一次旋流分离与两次气浮分离,可以达到满意的处理效果。To sum up, the gas-liquid mixture of oily wastewater enters the tank from the tangential inlet on the upper part of the tank, forming a swirl flow in the tank. At the same time, under the action of the gas-liquid mixing pump, the air bubbles evenly distributed in the oily wastewater are precipitated in the tank, and the oily wastewater in the tank is subjected to air flotation treatment. Therefore, lighter substances such as air bubbles adhered to oil droplets move to the top of the tank; heavier substances such as water flow and solid phase particles move to the bottom of the tank, and when they reach the sprayed air flotation area at the lower part of the combined tank, the oily wastewater is treated by the injector. Secondary air flotation treatment. Therefore, the oily wastewater is equivalent to one cyclone separation and two air flotation separations in the tank, which can achieve a satisfactory treatment effect.
Claims (4)
Priority Applications (1)
| Application Number | Priority Date | Filing Date | Title |
|---|---|---|---|
| CNU200720305624XU CN201157703Y (en) | 2007-11-28 | 2007-11-28 | Compact cyclone air flotation separation equipment for oily wastewater treatment |
Applications Claiming Priority (1)
| Application Number | Priority Date | Filing Date | Title |
|---|---|---|---|
| CNU200720305624XU CN201157703Y (en) | 2007-11-28 | 2007-11-28 | Compact cyclone air flotation separation equipment for oily wastewater treatment |
Publications (1)
| Publication Number | Publication Date |
|---|---|
| CN201157703Y true CN201157703Y (en) | 2008-12-03 |
Family
ID=40108293
Family Applications (1)
| Application Number | Title | Priority Date | Filing Date |
|---|---|---|---|
| CNU200720305624XU Expired - Fee Related CN201157703Y (en) | 2007-11-28 | 2007-11-28 | Compact cyclone air flotation separation equipment for oily wastewater treatment |
Country Status (1)
| Country | Link |
|---|---|
| CN (1) | CN201157703Y (en) |
Cited By (18)
| Publication number | Priority date | Publication date | Assignee | Title |
|---|---|---|---|---|
| CN101935081A (en) * | 2010-09-19 | 2011-01-05 | 宁波威瑞泰默赛多相流仪器设备有限公司 | Pressure type air flotation separation device |
| CN101746909B (en) * | 2009-12-24 | 2011-03-02 | 吴少杰 | Method for pretreating machining waste emulsion liquid and equipment therefor |
| CN102153165A (en) * | 2011-04-20 | 2011-08-17 | 扬州澄露环境工程有限公司 | Cyclone air flotation oil-water separator |
| CN102198984A (en) * | 2010-03-26 | 2011-09-28 | 北京石油化工学院 | Multiphase separation method and system for processing oily waste water |
| CN102493796A (en) * | 2011-12-20 | 2012-06-13 | 南京碧盾环保科技有限公司 | Physical excitation and three-phase separation pre-separation current stabilizing and water distributing machine for well injection water |
| CN102515308A (en) * | 2011-12-23 | 2012-06-27 | 天津市茂联科技有限公司 | Self-inflating micro-bubble oil remover and oil removing method |
| CN104709967A (en) * | 2015-03-13 | 2015-06-17 | 北京翰祺环境技术有限公司 | Upward flow circular oil separation pretreatment device |
| CN105457341A (en) * | 2015-12-29 | 2016-04-06 | 中核四川环保工程有限责任公司 | Organic waste liquid and middle-low-radioactivity waste liquid separation device |
| CN105858800A (en) * | 2016-01-27 | 2016-08-17 | 浙江海洋学院 | Oily sewage separation-removal post-treatment device |
| CN105858929A (en) * | 2016-01-27 | 2016-08-17 | 浙江海洋学院 | Seawater oily sewage treatment device |
| CN105858801A (en) * | 2016-01-27 | 2016-08-17 | 浙江海洋学院 | High-salinity oily sewage post-treatment device |
| CN107185277A (en) * | 2017-06-01 | 2017-09-22 | 黎明化工研究设计院有限责任公司 | A kind of gas-liquid separation device of anthraquinone legal system hydrogen peroxide oxidation tower |
| CN110117103A (en) * | 2019-06-10 | 2019-08-13 | 青岛哈工资源环境技术有限公司 | A kind of processing unit and its application method of oil field ternary recovered water ozone oxidation viscosity reduction |
| CN111629803A (en) * | 2017-10-26 | 2020-09-04 | 彼得里奥-巴西石油公司 | Multiphase separator with flushing system for removing accumulated sand and method using same |
| CN111760331A (en) * | 2020-07-02 | 2020-10-13 | 国网宁夏电力有限公司电力科学研究院 | Transformer accident pool oil-water separation device |
| CN113440889A (en) * | 2021-05-20 | 2021-09-28 | 无锡雪浪康威环保科技有限公司 | On-site water distribution treatment method applied to oil production well of oil and gas field |
| CN113816460A (en) * | 2021-10-14 | 2021-12-21 | 华东理工大学 | Self-overflow iterative separation cyclone and application thereof in separation of DNAs PLs in underground water |
| CN116808633A (en) * | 2023-08-31 | 2023-09-29 | 山东兴达环保科技有限责任公司 | Device for dewatering and anti-corrosion pretreatment of produced liquid |
-
2007
- 2007-11-28 CN CNU200720305624XU patent/CN201157703Y/en not_active Expired - Fee Related
Cited By (26)
| Publication number | Priority date | Publication date | Assignee | Title |
|---|---|---|---|---|
| CN101746909B (en) * | 2009-12-24 | 2011-03-02 | 吴少杰 | Method for pretreating machining waste emulsion liquid and equipment therefor |
| CN102198984A (en) * | 2010-03-26 | 2011-09-28 | 北京石油化工学院 | Multiphase separation method and system for processing oily waste water |
| CN101935081B (en) * | 2010-09-19 | 2012-07-25 | 宁波威瑞泰默赛多相流仪器设备有限公司 | Pressure type air flotation separation device |
| CN101935081A (en) * | 2010-09-19 | 2011-01-05 | 宁波威瑞泰默赛多相流仪器设备有限公司 | Pressure type air flotation separation device |
| CN102153165A (en) * | 2011-04-20 | 2011-08-17 | 扬州澄露环境工程有限公司 | Cyclone air flotation oil-water separator |
| CN102153165B (en) * | 2011-04-20 | 2012-05-23 | 扬州澄露环境工程有限公司 | Cyclone air-float oil-water separator |
| CN102493796B (en) * | 2011-12-20 | 2014-04-16 | 南京碧盾环保科技有限公司 | Physical excitation and three-phase separation pre-separation current stabilizing and water distributing machine for well injection water |
| CN102493796A (en) * | 2011-12-20 | 2012-06-13 | 南京碧盾环保科技有限公司 | Physical excitation and three-phase separation pre-separation current stabilizing and water distributing machine for well injection water |
| CN102515308A (en) * | 2011-12-23 | 2012-06-27 | 天津市茂联科技有限公司 | Self-inflating micro-bubble oil remover and oil removing method |
| CN102515308B (en) * | 2011-12-23 | 2013-06-19 | 天津市茂联科技有限公司 | Self-inflating micro-bubble oil remover and oil removing method |
| CN104709967B (en) * | 2015-03-13 | 2017-03-15 | 北京翰祺环境技术有限公司 | A kind of upward flow circle oil removal pretreatment unit |
| CN104709967A (en) * | 2015-03-13 | 2015-06-17 | 北京翰祺环境技术有限公司 | Upward flow circular oil separation pretreatment device |
| CN105457341A (en) * | 2015-12-29 | 2016-04-06 | 中核四川环保工程有限责任公司 | Organic waste liquid and middle-low-radioactivity waste liquid separation device |
| CN105858800A (en) * | 2016-01-27 | 2016-08-17 | 浙江海洋学院 | Oily sewage separation-removal post-treatment device |
| CN105858801A (en) * | 2016-01-27 | 2016-08-17 | 浙江海洋学院 | High-salinity oily sewage post-treatment device |
| CN105858929A (en) * | 2016-01-27 | 2016-08-17 | 浙江海洋学院 | Seawater oily sewage treatment device |
| CN107185277A (en) * | 2017-06-01 | 2017-09-22 | 黎明化工研究设计院有限责任公司 | A kind of gas-liquid separation device of anthraquinone legal system hydrogen peroxide oxidation tower |
| CN111629803A (en) * | 2017-10-26 | 2020-09-04 | 彼得里奥-巴西石油公司 | Multiphase separator with flushing system for removing accumulated sand and method using same |
| CN111629803B (en) * | 2017-10-26 | 2022-07-01 | 彼得里奥-巴西石油公司 | Multiphase separator with flushing system for sand removal and method of using the same |
| CN110117103A (en) * | 2019-06-10 | 2019-08-13 | 青岛哈工资源环境技术有限公司 | A kind of processing unit and its application method of oil field ternary recovered water ozone oxidation viscosity reduction |
| CN110117103B (en) * | 2019-06-10 | 2021-11-26 | 青岛哈工资源环境技术有限公司 | Treatment device for ozone oxidation and viscosity reduction of ternary produced water in oil field and use method thereof |
| CN111760331A (en) * | 2020-07-02 | 2020-10-13 | 国网宁夏电力有限公司电力科学研究院 | Transformer accident pool oil-water separation device |
| CN113440889A (en) * | 2021-05-20 | 2021-09-28 | 无锡雪浪康威环保科技有限公司 | On-site water distribution treatment method applied to oil production well of oil and gas field |
| CN113816460A (en) * | 2021-10-14 | 2021-12-21 | 华东理工大学 | Self-overflow iterative separation cyclone and application thereof in separation of DNAs PLs in underground water |
| CN116808633A (en) * | 2023-08-31 | 2023-09-29 | 山东兴达环保科技有限责任公司 | Device for dewatering and anti-corrosion pretreatment of produced liquid |
| CN116808633B (en) * | 2023-08-31 | 2023-10-31 | 山东兴达环保科技有限责任公司 | Device for dewatering and anti-corrosion pretreatment of produced liquid |
Similar Documents
| Publication | Publication Date | Title |
|---|---|---|
| CN201157703Y (en) | Compact cyclone air flotation separation equipment for oily wastewater treatment | |
| CN101445279B (en) | Compact cyclone air-flotation separation equipment for processing oily wastewater | |
| CN201648141U (en) | Multiphase Separation System for Oily Wastewater Treatment | |
| CN102198984A (en) | Multiphase separation method and system for processing oily waste water | |
| CN102267734B (en) | Enclosed circulating air floatation method and apparatus | |
| CN115557631B (en) | An oil-water separation device and method integrating cyclone-air flotation-medium coalescence | |
| CN103979637B (en) | A kind of refining plant of oily(waste)water and separation method | |
| CN103303992B (en) | A cyclone air flotation separation device for oily sewage | |
| CN110513062B (en) | Vehicular well-flushing liquid processing apparatus | |
| CN113072121B (en) | A cyclone intensified cyclone flotation device | |
| CN103121734A (en) | Cyclone gas flotation separator | |
| CN113816460B (en) | Self-overflow iterative separation cyclone and application thereof in separation of DNAs PLS in underground water | |
| CN107720959A (en) | Gas-liquid-solid three-phase separator | |
| CN117023690B (en) | A vertical cyclone flotation equipment that enhances the shallow settlement of spiral fins by air lifting | |
| WO2024188361A1 (en) | Concentric-inclined-plate enhanced vertical compact flotation apparatus | |
| CN203440115U (en) | High-efficiency rotational flow air flotation device | |
| CN113526614A (en) | A pipeline gas cyclone coalescence separation device and method for treating oily sewage | |
| CN216549877U (en) | Multifunctional oil field pre-water-separation treatment equipment | |
| CN114308421B (en) | A mechanical cyclone separation device for the recovery of sand particles in activated sludge | |
| CN113213582B (en) | A multi-tube micro-swirl-air flotation coupling process device | |
| CN203159348U (en) | Two-stage cyclone air flotation separator | |
| CN222975018U (en) | A coalescence flotation oil removal device | |
| CN114212905A (en) | A kind of oil field multifunctional pre-separation water treatment equipment | |
| CN204824405U (en) | Silt particle separation cyclic utilization device | |
| CN202337700U (en) | Produced water cyclone flotation oil remover |
Legal Events
| Date | Code | Title | Description |
|---|---|---|---|
| C14 | Grant of patent or utility model | ||
| GR01 | Patent grant | ||
| C17 | Cessation of patent right | ||
| CF01 | Termination of patent right due to non-payment of annual fee |
Granted publication date: 20081203 Termination date: 20111128 |
