CN101961567B - Oil-removing three-phase separator - Google Patents
Oil-removing three-phase separator Download PDFInfo
- Publication number
- CN101961567B CN101961567B CN2010102907320A CN201010290732A CN101961567B CN 101961567 B CN101961567 B CN 101961567B CN 2010102907320 A CN2010102907320 A CN 2010102907320A CN 201010290732 A CN201010290732 A CN 201010290732A CN 101961567 B CN101961567 B CN 101961567B
- Authority
- CN
- China
- Prior art keywords
- oil
- water inlet
- separator
- stage
- water
- Prior art date
- Legal status (The legal status is an assumption and is not a legal conclusion. Google has not performed a legal analysis and makes no representation as to the accuracy of the status listed.)
- Expired - Fee Related
Links
Images
Landscapes
- Removal Of Floating Material (AREA)
- Separating Particles In Gases By Inertia (AREA)
Abstract
一种除油三相分离器,其特征在于分离器的下段设有进水管,进水管出口的上部设置进水导向筒,两者通过加筋连接。分离器的侧壁周向设置溢流槽,溢流槽连接出水管,多级多隔板分离组件设置在进水导向筒与溢流槽之间,使在溢流槽液面下形成10-20cm的浓相油层。本发明的油、水分离效果好。
A three-phase separator for oil removal is characterized in that a water inlet pipe is arranged at the lower section of the separator, and a water inlet guide cylinder is arranged at the upper part of the outlet of the water inlet pipe, and the two are connected by reinforcement. The side wall of the separator is provided with an overflow tank in the circumferential direction, the overflow tank is connected to the water outlet pipe, and the multi-stage multi-baffle separation assembly is arranged between the water inlet guide cylinder and the overflow tank, so that a 10- 20cm dense phase oil layer. The oil and water separation effect of the invention is good.
Description
技术领域 technical field
本发明涉及一种除油三相分离器,可用于常规除油器中含油、气、水三相介质的分离,特别适合于包括粗粒化除油器等在内的油与气、水的分离,也可用于包括下向流三相生物流化床等在内的气、固、液三相分离。属污(废)水处理的技术领域。The invention relates to a three-phase separator for oil removal, which can be used for the separation of three-phase media containing oil, gas and water in conventional oil removers, and is especially suitable for the separation of oil, gas and water including coarse-grained oil removers. Separation can also be used for gas, solid and liquid three-phase separation including downflow three-phase biological fluidized bed, etc. It belongs to the technical field of sewage (waste) water treatment.
背景技术 Background technique
含油废水广泛存在于石油的采炼过程、油品与含油产品的加工过程及包括餐饮业在内的生活污水中,是造成环境污染的主要来源之一。通过油水分离过程,可去除污(废)水中的油并加以回收,有效减轻环境污染,提高油资源的利用率。这其中,油水分离效率受制于油水分离器的结构、功能与效果。在不少油水分离器中,通过曝气等方式,强化气泡对细微油粒的吸附和浮上速度而提高除油效果,典型的如粗粒化除油器,通过含油废水与固体填料的接触、吸附、拦截及曝气形成的气泡对油类物质的表面附着和拖动上浮,从而大大提高油水的分离效果。在此过程中,油、气、水三相物质的最终分离是促进油类物质去除并加以回收的关键。Oily wastewater widely exists in the process of petroleum extraction and refining, processing of oil products and oily products, and domestic sewage including catering industry, and is one of the main sources of environmental pollution. Through the oil-water separation process, the oil in the sewage (waste) water can be removed and recycled, which can effectively reduce environmental pollution and improve the utilization rate of oil resources. Among them, the oil-water separation efficiency is subject to the structure, function and effect of the oil-water separator. In many oil-water separators, through aeration and other methods, the adsorption of air bubbles to fine oil particles and the floating speed are enhanced to improve the degreasing effect. Typical coarse-grained degreasers, through the contact of oily wastewater and solid fillers, The bubbles formed by adsorption, interception and aeration adhere to the surface of the oil and drag them up, thus greatly improving the separation effect of oil and water. In this process, the final separation of oil, gas and water three-phase substances is the key to promote the removal and recovery of oily substances.
图1是常规油水分离器工作原理示意图,分离器2设置在除油器1的上方,依赖于油、水间的重度差,通过设置单一斜隔板等,使油自然上浮与水分离,这对浮油有一定的效果,但对乳化油、分散油及溶解性油则效率甚微;不少粗粒化除油器,由于三相分离过程的不合理,使本已形成的较大油粒不能得到有效分离,影响了除油效率。基于此,本发明提出了一种可大大提高除油效率的多级、多隔板式除油三相分离器。Figure 1 is a schematic diagram of the working principle of a conventional oil-water separator. The separator 2 is set above the degreaser 1. Depending on the gravity difference between the oil and water, the oil is naturally floated up and separated from the water by setting a single inclined partition. It has a certain effect on slick oil, but it has little effect on emulsified oil, dispersed oil and soluble oil; many coarse-grained degreasers, due to the unreasonable three-phase separation process, make the already formed larger oil Particles cannot be effectively separated, which affects the oil removal efficiency. Based on this, the present invention proposes a multi-stage, multi-baffle type oil removal three-phase separator that can greatly improve the oil removal efficiency.
发明内容 Contents of the invention
本发明所要解决的技术问题是提供一种可对含油废水中油、气、水三相物质进行分离,并有效回收有用油资源的除油三相分离器。也可用于如下向流三相生物流化床等在内的气、固、液三相分离。The technical problem to be solved by the present invention is to provide an oil removal three-phase separator capable of separating oil, gas and water three-phase substances in oily wastewater and effectively recovering useful oil resources. It can also be used for the three-phase separation of gas, solid and liquid, including the following three-phase biological fluidized bed.
为解决上述技术问题,本发明是这样实现的:In order to solve the problems of the technologies described above, the present invention is achieved in that:
一种用于含油废水处理中油、气、水分离的三相分离器,其中包括:与除油器连通的三相分离器及位于分离器内的含油废水进水管,进水导向筒,溢流槽,出水管,多级多隔板分离组件。其中,进水管位于该分离器的下段,进水导向筒位于进水管出口的上部,并与进水管出口弯管以加筋连接,分离器的侧壁周向设置溢流槽,溢流槽连接出水管;多级多隔板分离组件位于进水导向筒与油液溢流槽之间,使在油液溢流槽液面下形成10-20cm的浓相油层。分离器在竖直方向设置不同级的多级多隔板分离组件,同级隔板对称设置,与水平面的夹角为40-50°,不同级的同侧隔板之间相互平行,每级隔板组件包含两块以上的隔板。分离器的断面为矩形或圆形,在分离器内侧壁周设置多块安装节板,隔板与节板之间通过螺栓或者插销的方式,使多级多隔板分离组件与筒体达到可拆装式固定。A three-phase separator used for the separation of oil, gas and water in the treatment of oily wastewater, including: a three-phase separator connected to the oil remover and an oily wastewater inlet pipe located in the separator, a water inlet guide cylinder, an overflow Groove, outlet pipe, multi-stage and multi-baffle separation components. Wherein, the water inlet pipe is located at the lower section of the separator, and the water inlet guide cylinder is located at the upper part of the outlet of the water inlet pipe, and is connected with the outlet elbow of the water inlet pipe with reinforcement. Outlet pipe: The multi-stage and multi-baffle separation assembly is located between the water inlet guide cylinder and the oil overflow tank, so that a 10-20cm dense phase oil layer is formed under the liquid surface of the oil overflow tank. The separator is equipped with different levels of multi-stage and multi-baffle separation components in the vertical direction. The same-level partitions are arranged symmetrically, and the angle between them and the horizontal plane is 40-50°. The same-side partitions of different levels are parallel to each other. The bulkhead assembly consists of more than two bulkheads. The cross-section of the separator is rectangular or circular, and a plurality of installation joint plates are arranged around the inner wall of the separator. Bolts or pins are used between the partition plates and the joint plates, so that the multi-stage and multi-partition plates can separate the assembly and the cylinder to achieve Detachable fixed.
与现有分离器相比,本发明具有如下优点:Compared with the existing separator, the present invention has the following advantages:
为了解决以往诸多油水分离器(除油器)因上部油水(或油、气、水)的分离效率低和除油效果差的问题,本发明将进水导向筒与多级多隔板分离组件有机结合,使之成为分离油水的核心单元体,从而达到如下功能:1)通过进水导向筒的逆向导流作用,使进水管进入的油水混合液沿导向筒内壁折流向下,呈下凹型惯性绕行,在离心力的作用下,使重度较重的水下行,进入分离器下面的除油器进一步分离,而重度较轻的油上浮,实现进水的部分油、水分离效果;2)由除油器分离浮上的浓相油、水(或油、气、水)混合物在自身上浮的同时,进一步助推导流筒惯性绕行的油、水混合液中油粒的上行;3)上述两股上浮浓相油水(或油、气、水)混合物汇流,进一步进入多级多隔板分离组件,通过多级多隔板分离组件的外向导流作用及油粒在隔板下表面的黏附作用,使油粒进一步聚并长大,加速上浮分离,有利于较大油粒的浮上分离,并入油液溢流槽液面下的浓相油层;4)进水导流筒在下,多级多隔板分离组件在上,使两股液流互不相混,通过多级多隔板分离组件的多级聚并长大和分离,可大大提高油、水分离效果。发明人以往的应用实践表明,通常可提高油水分离效率30%以上。In order to solve the problems of low oil-water (or oil, gas, water) separation efficiency and poor oil removal effect of many oil-water separators (oil removers) in the past, the invention separates the water inlet guide cylinder and the multi-stage multi-baffle plate The organic combination makes it the core unit for separating oil and water, so as to achieve the following functions: 1) Through the reverse flow guide effect of the water inlet guide cylinder, the oil-water mixture entering the water inlet pipe is deflected downward along the inner wall of the guide cylinder, showing a concave shape Inertial detour, under the action of centrifugal force, the heavy water goes down and enters the degreaser under the separator for further separation, while the light oil floats up to realize the partial oil and water separation effect of the incoming water; 2) The dense-phase oil and water (or oil, gas, water) mixture separated and floated by the degreaser further promotes the upward movement of the oil particles in the oil and water mixture that the flow guide tube inertially circles while floating itself; 3) the above The two streams of floating dense phase oil-water (or oil, gas, water) mixture flow together and further enter the multi-stage multi-baffle separation assembly, through the outward flow guide of the multi-stage multi-baffle separation assembly and the adhesion of oil particles on the lower surface of the partition The effect is to make the oil particles further aggregate and grow up, accelerate the floating and separation, which is beneficial to the floating and separation of larger oil particles, and merge into the dense phase oil layer under the liquid surface of the oil overflow tank; The multi-stage multi-baffle separation component is on the top, so that the two liquid streams do not mix with each other. Through the multi-stage aggregation and separation of the multi-stage multi-baffle separation component, the oil and water separation effect can be greatly improved. The inventor's previous application practice shows that the oil-water separation efficiency can usually be increased by more than 30%.
附图说明 Description of drawings
图1.常规油水分离器工作原理图;Figure 1. Working principle diagram of conventional oil-water separator;
图2.本发明的油、气、水三相分离器基本结构示意图;Fig. 2. basic structural representation of oil, gas, water three-phase separator of the present invention;
图3.进水导流装置流程及导流筒剖面图;Figure 3. The process flow of the water inlet diversion device and the cross-section of the diversion tube;
图4.多级多隔板分离组件结构图。Figure 4. Structural diagram of multi-stage and multi-baffle separation components.
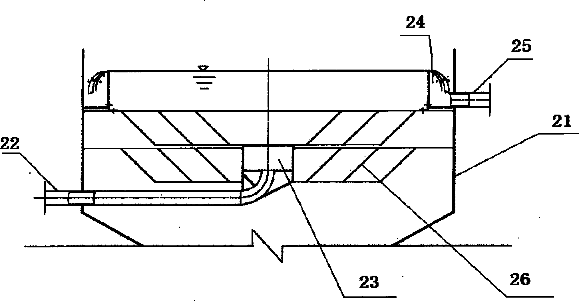
附图中主要标记的说明:分离器筒体21、含油废水进水管22、进水导向筒23、油液溢流槽24、出水管25、多级多隔板分离组件26Explanation of main symbols in the drawings:
具体实施方式 Detailed ways
下面结合具体实施方式对本发明做进一步的详细说明。The present invention will be further described in detail below in combination with specific embodiments.
参照图2至4所示,除油三相分离器2中,包括与除油器1连通的三相分离器筒体21及位于三相分离器内的含油废水进水管22,进水导向筒23,油液溢流槽24,出水管25,多级多隔板分离组件26。Referring to Figures 2 to 4, in the oil removal three-phase separator 2, it includes a three-
进水管22位于该三相分离器的下段,进水管出口向上弯折,进水导向筒23位于进水管出口的上部,并与进水管出口弯管以加筋连接,油液溢流槽24位于分离器筒体21的上部侧面并沿周边设置,出水管25位于三相分离器筒体21侧面并与油液溢流槽24连通,多级多隔板分离组件26位于进水导向筒23上部及油液溢流槽24之下,使在油液溢流槽液面下形成10-20cm的浓相油层。可依三相分离器直径、高度和含油浓度设置多级多隔板分离组件,每级可设多块隔板,隔板依三相分离器筒体21断面形式(矩形或圆形)设置为对称或轴对称的放射状,放射角为40-50°,同侧不同级隔板相互平行,每级作为一个组合件。在分离器内侧壁周设置多块安装节板,使多级多隔板分离组件与筒体进行可拆装式固定。The
含油废水由弯曲向上的进水管22进入,向上直冲倒碗式进水导向筒23,通过导向筒23的逆向导流作用,使进水管22进入的油水混合液折流向下,呈下凹型惯性绕行,在离心力作用下,重度较重的水下行,进入油水分离器2下面的除油器1进一步分离,而重度较轻的油浮出上行,实现进水的部分油、水分离效果;由除油器1分离浮上的浓相油、水(或油、气、水)混合物在自身上浮的同时,进一步助推导流筒惯性绕行的油水混合液中的油粒上行;上述两股上浮浓相油水(或油、气、水)混合物汇流,进一步进入多级多隔板分离组件26,通过多级多隔板分离组件26的外向导流作用及油粒在隔板下表面的黏附作用,使油粒进一步聚并长大,加速上浮,进入油液溢流槽24,通过出水管25流出三相分离器筒体21。The oily waste water enters from the curved upward
上述具体实施方式不以任何形式限制本发明的技术方案,凡是采用等同替换或等效变换的方式所获得的技术方案均落在本发明的保护范围。The above specific embodiments do not limit the technical solutions of the present invention in any form, and all technical solutions obtained by means of equivalent replacement or equivalent transformation fall within the scope of protection of the present invention.
Claims (1)
Priority Applications (1)
| Application Number | Priority Date | Filing Date | Title |
|---|---|---|---|
| CN2010102907320A CN101961567B (en) | 2010-09-21 | 2010-09-21 | Oil-removing three-phase separator |
Applications Claiming Priority (1)
| Application Number | Priority Date | Filing Date | Title |
|---|---|---|---|
| CN2010102907320A CN101961567B (en) | 2010-09-21 | 2010-09-21 | Oil-removing three-phase separator |
Publications (2)
| Publication Number | Publication Date |
|---|---|
| CN101961567A CN101961567A (en) | 2011-02-02 |
| CN101961567B true CN101961567B (en) | 2012-09-26 |
Family
ID=43514724
Family Applications (1)
| Application Number | Title | Priority Date | Filing Date |
|---|---|---|---|
| CN2010102907320A Expired - Fee Related CN101961567B (en) | 2010-09-21 | 2010-09-21 | Oil-removing three-phase separator |
Country Status (1)
| Country | Link |
|---|---|
| CN (1) | CN101961567B (en) |
Families Citing this family (3)
| Publication number | Priority date | Publication date | Assignee | Title |
|---|---|---|---|---|
| CN106110714A (en) * | 2016-08-12 | 2016-11-16 | 江苏地浦科技股份有限公司 | A kind of device of continuous static separation of material |
| CN106474779A (en) * | 2016-11-19 | 2017-03-08 | 无锡市洗选设备厂 | The mozzle of grit water separator |
| CN110251998B (en) * | 2019-06-21 | 2021-02-09 | 燕山大学 | Split filter type gas-liquid-solid three-phase cyclone separation device |
Family Cites Families (4)
| Publication number | Priority date | Publication date | Assignee | Title |
|---|---|---|---|---|
| US4834887A (en) * | 1988-03-10 | 1989-05-30 | Broughton Amos W | In-line coaxial centrifugal separator with helical vane |
| CN100564269C (en) * | 2008-01-11 | 2009-12-02 | 东南大学 | Long fiber agglomeration coarse grain oil remover |
| CN201275433Y (en) * | 2008-10-08 | 2009-07-22 | 江苏惠利特环保设备有限公司 | Bucket type oil and water separator |
| CN201880406U (en) * | 2010-09-21 | 2011-06-29 | 东南大学 | Deoiling three-phase separator |
-
2010
- 2010-09-21 CN CN2010102907320A patent/CN101961567B/en not_active Expired - Fee Related
Also Published As
| Publication number | Publication date |
|---|---|
| CN101961567A (en) | 2011-02-02 |
Similar Documents
| Publication | Publication Date | Title |
|---|---|---|
| CN201648141U (en) | Multiphase Separation System for Oily Wastewater Treatment | |
| CN100579917C (en) | Three-phase cyclone separator and oily sewage purification treatment system | |
| CN102198984A (en) | Multiphase separation method and system for processing oily waste water | |
| CN102745805B (en) | Air flotation oil separation sand setting device and sewage treatment method | |
| CN203763912U (en) | Three-phase separation device | |
| CN103964545A (en) | Method and device for deep oil removal of wastewater containing low-concentration sump oil | |
| CN204079541U (en) | A kind of device waste water containing lower concentration sump oil being carried out to degree of depth oil removing | |
| CN115557631A (en) | Oil-water separation device and method integrating cyclone, air flotation and medium coalescence | |
| CN109052558A (en) | A kind of cyclone air-flotation separator | |
| CN102949866A (en) | Oil removal method for petrochemical emulsified process water | |
| CN101961567B (en) | Oil-removing three-phase separator | |
| CN116282321B (en) | Vertical shallow air-float separation equipment and method for purifying oily sewage by using same | |
| CN104843817B (en) | A kind of horizontal air supporting coupled wave card deoiling method and its device | |
| CN108585095B (en) | Loaded circulating lamination flotation separation device and enhanced oil-water separation method | |
| CN216549877U (en) | Multifunctional oil field pre-water-separation treatment equipment | |
| CN202766383U (en) | Air-floatation oil removing sand setting device | |
| CN114212905A (en) | A kind of oil field multifunctional pre-separation water treatment equipment | |
| CN202246207U (en) | High-efficient sink solid-liquid separation equipment that floats | |
| CN113292127A (en) | Dissolved air floating type double-beam cyclone separation device | |
| CN200973993Y (en) | Swirl oil cut-off device | |
| CN119898908A (en) | Closed multi-stage flotation oil removal method and device for oilfield produced water | |
| CN102583674B (en) | Integrated oily mud wastewater pipe bundle coagulation and separation reactor | |
| CN215048844U (en) | Dissolved air floating type double-beam cyclone separation device | |
| CN206089115U (en) | Oil -water separation tower | |
| CN201880406U (en) | Deoiling three-phase separator |
Legal Events
| Date | Code | Title | Description |
|---|---|---|---|
| C06 | Publication | ||
| PB01 | Publication | ||
| C10 | Entry into substantive examination | ||
| SE01 | Entry into force of request for substantive examination | ||
| C14 | Grant of patent or utility model | ||
| GR01 | Patent grant | ||
| CF01 | Termination of patent right due to non-payment of annual fee |
Granted publication date: 20120926 Termination date: 20150921 |
|
| EXPY | Termination of patent right or utility model |
