CN114769869A - Laser welding machine for machining mobile phone parts - Google Patents
Laser welding machine for machining mobile phone parts Download PDFInfo
- Publication number
- CN114769869A CN114769869A CN202210660756.3A CN202210660756A CN114769869A CN 114769869 A CN114769869 A CN 114769869A CN 202210660756 A CN202210660756 A CN 202210660756A CN 114769869 A CN114769869 A CN 114769869A
- Authority
- CN
- China
- Prior art keywords
- annealing
- rod
- mobile phone
- turntable
- assembly
- Prior art date
- Legal status (The legal status is an assumption and is not a legal conclusion. Google has not performed a legal analysis and makes no representation as to the accuracy of the status listed.)
- Pending
Links
- 238000003466 welding Methods 0.000 title claims abstract description 74
- 238000003754 machining Methods 0.000 title 1
- 238000000137 annealing Methods 0.000 claims abstract description 63
- 230000001681 protective effect Effects 0.000 claims abstract description 20
- 238000001514 detection method Methods 0.000 claims abstract description 17
- 239000000523 sample Substances 0.000 claims abstract description 7
- 230000001360 synchronised effect Effects 0.000 claims abstract description 4
- 238000001179 sorption measurement Methods 0.000 claims description 11
- 238000003860 storage Methods 0.000 claims description 7
- 238000011084 recovery Methods 0.000 claims 1
- 238000000034 method Methods 0.000 abstract description 8
- 235000014676 Phragmites communis Nutrition 0.000 description 9
- 238000010586 diagram Methods 0.000 description 6
- 229910000838 Al alloy Inorganic materials 0.000 description 5
- 239000011148 porous material Substances 0.000 description 4
- 230000007547 defect Effects 0.000 description 3
- 238000009826 distribution Methods 0.000 description 3
- 239000000463 material Substances 0.000 description 3
- 230000032258 transport Effects 0.000 description 2
- 244000089486 Phragmites australis subsp australis Species 0.000 description 1
- 230000009286 beneficial effect Effects 0.000 description 1
- 230000005540 biological transmission Effects 0.000 description 1
- 238000009960 carding Methods 0.000 description 1
- 230000002950 deficient Effects 0.000 description 1
- 230000000694 effects Effects 0.000 description 1
- 238000005516 engineering process Methods 0.000 description 1
- 238000010438 heat treatment Methods 0.000 description 1
- 238000007689 inspection Methods 0.000 description 1
- 238000004519 manufacturing process Methods 0.000 description 1
- 238000003825 pressing Methods 0.000 description 1
- 238000004064 recycling Methods 0.000 description 1
- 238000002310 reflectometry Methods 0.000 description 1
- 238000007711 solidification Methods 0.000 description 1
- 230000008023 solidification Effects 0.000 description 1
Images
Classifications
-
- B—PERFORMING OPERATIONS; TRANSPORTING
- B23—MACHINE TOOLS; METAL-WORKING NOT OTHERWISE PROVIDED FOR
- B23K—SOLDERING OR UNSOLDERING; WELDING; CLADDING OR PLATING BY SOLDERING OR WELDING; CUTTING BY APPLYING HEAT LOCALLY, e.g. FLAME CUTTING; WORKING BY LASER BEAM
- B23K26/00—Working by laser beam, e.g. welding, cutting or boring
- B23K26/20—Bonding
- B23K26/21—Bonding by welding
-
- B—PERFORMING OPERATIONS; TRANSPORTING
- B23—MACHINE TOOLS; METAL-WORKING NOT OTHERWISE PROVIDED FOR
- B23K—SOLDERING OR UNSOLDERING; WELDING; CLADDING OR PLATING BY SOLDERING OR WELDING; CUTTING BY APPLYING HEAT LOCALLY, e.g. FLAME CUTTING; WORKING BY LASER BEAM
- B23K26/00—Working by laser beam, e.g. welding, cutting or boring
- B23K26/70—Auxiliary operations or equipment
- B23K26/702—Auxiliary equipment
Landscapes
- Engineering & Computer Science (AREA)
- Physics & Mathematics (AREA)
- Optics & Photonics (AREA)
- Plasma & Fusion (AREA)
- Mechanical Engineering (AREA)
- Heat Treatment Of Articles (AREA)
Abstract
本发明公开了一种用于手机零件加工的激光焊机,涉及手机加工技术领域,包括焊接组件、保护气体组件、退火组件、移动组件、传输带组件,焊接组件还包括滑动设置在转盘固定支架上的滑杆,滑杆的滑动由大转盘滚轮和滑杆凸轮的同步转动实现;滑杆的一端固定设置有焊接平台,焊接平台上转动设置有触动杆,触动杆上还固定设置有检测连杆用于将检测探头调平,实现检测;保护气体组件用于焊接时接通保护气体,退火组件实现将焊接好的零件进行退火处理;本设备解决了焊接时接通保护气体以及增加了退火工艺,设置了检测设备以及不合格产品分类装置;极大程度减少不合格产品提高了焊接效率。
The invention discloses a laser welding machine for processing mobile phone parts, which relates to the technical field of mobile phone processing, and includes welding components, protective gas components, annealing components, moving components and conveyor belt components. The sliding bar on the top of the slide bar, the sliding of the sliding bar is realized by the synchronous rotation of the large turntable roller and the sliding bar cam; one end of the sliding bar is fixed with a welding platform, the welding platform is rotatably provided with a trigger rod, and a detection connection is also fixed on the trigger rod. The rod is used to level the detection probe to realize detection; the shielding gas component is used to connect the shielding gas during welding, and the annealing component realizes the annealing of the welded parts; this equipment solves the problem of connecting the shielding gas during welding and increasing the annealing process. process, set up testing equipment and unqualified product classification device; greatly reduce unqualified products and improve welding efficiency.
Description
技术领域technical field
本发明涉及手机加工技术领域,具体为一种用于手机零件加工的激光焊机。The invention relates to the technical field of mobile phone processing, in particular to a laser welding machine used for processing mobile phone parts.
背景技术Background technique
手机中板采用的都是铝合金外框和铝合金中板进行焊接。而激光焊接是以激光作为高能密度光源,它的特点是加热块和瞬时凝固,深宽比高达到12:1,由此激光焊能够焊透铝合金门窗而表面的热影响又不大。但是由于铝合金本身的高反射率和良好的导热性以及等离子体的屏蔽作用,焊接的时候会不可避免地出现一些缺陷问题,其中最主要的两个缺陷是气孔和热裂纹。铝合金激光焊接的主要缺陷之一是气孔问题。经过试验,气孔的产生主要受材料表面状态、保护气体种类、流量及保护方法、焊接能量和焊缝形状等因素的影响,加强气体保护和采用高功率、高速度、大离焦量(负值)焊接时可以使气孔的产生降低到最少,焊接后采用退火工艺,可以有效减少裂纹得产生,现有技术大多都未采用焊接时使用气体保护和焊接后进行退火处理,因此会有很多气孔和热裂纹,严重影响产品质量。The middle plate of the mobile phone is made of aluminum alloy outer frame and aluminum alloy middle plate for welding. Laser welding uses laser as a high-energy density light source. It is characterized by heating block and instantaneous solidification, and the aspect ratio is as high as 12:1. Therefore, laser welding can penetrate aluminum alloy doors and windows without thermal influence on the surface. However, due to the high reflectivity and good thermal conductivity of the aluminum alloy itself, as well as the shielding effect of the plasma, some defects will inevitably occur during welding. The two most important defects are pores and thermal cracks. One of the main defects of laser welding of aluminum alloys is the porosity problem. After testing, the generation of pores is mainly affected by the surface state of the material, the type of shielding gas, the flow rate and protection method, the welding energy and the shape of the weld and other factors. ) The generation of pores can be minimized during welding, and the annealing process after welding can effectively reduce the generation of cracks. Most of the existing technologies do not use gas protection during welding and annealing after welding, so there will be many pores and Hot cracks seriously affect product quality.
公开号为CN106735899A的中国发明专利公开了一种自动点焊机,用于将簧片载带的簧片焊接在手机后壳上,自动点焊机包括工作台、分料机构、输送机构、旋转机构、以及激光焊接机;输送机构包括支撑架、输送轨道、以及吸料装置;输送轨道上设有第一输送气缸,第一输送气缸推动吸料装置在输送轨道上横向滑动;吸料装置上设有第二输送气缸及吸取件;吸取件上设有吸嘴以用于吸取簧片。上述的自动点焊机通过分料机构设有梳理轨道,对簧片载带进行梳理,再通过输送轨道将簧片吸取至手机后壳上,接着由簧片压头对簧片压紧,以便于激光焊接机焊接,整个过程都通过控制系统控制,实现自动化生产,整台设备可由一人操作,大大地降低员工的劳动强度。该设备虽然提高了簧片焊接效率但是未能解决因为焊接可能导致的热裂纹和气孔现象;以及焊接后产品的检测和不合格产品的分类。The Chinese invention patent with publication number CN106735899A discloses an automatic spot welding machine for welding the reeds of the reed carrier tape on the back shell of the mobile phone. The automatic spot welding machine includes a worktable, a material distribution mechanism, a conveying mechanism, a rotating mechanism, and laser welding machine; the conveying mechanism includes a support frame, a conveying track, and a suction device; a first conveying cylinder is arranged on the conveying track, and the first conveying cylinder pushes the suction device to slide laterally on the conveying track; A second conveying cylinder and a suction part are provided; the suction part is provided with a suction nozzle for absorbing the reed. The above-mentioned automatic spot welding machine is equipped with a carding track through the material distribution mechanism, and the reed carrier tape is carded, and then the reed is sucked to the back shell of the mobile phone through the conveying track, and then the reed is pressed by the reed pressing head, so that the reed is pressed. For laser welding machine welding, the whole process is controlled by the control system to realize automatic production. The whole equipment can be operated by one person, which greatly reduces the labor intensity of employees. Although the equipment improves the reed welding efficiency, it fails to solve the phenomenon of hot cracks and blowholes that may be caused by welding; as well as the inspection of products after welding and the classification of unqualified products.
发明内容SUMMARY OF THE INVENTION
针对上述技术问题,本发明解决了焊接时增加保护气体以及增加了退火工艺,设置了检测设备以及不合格产品分类装置;极大程度减少不合格产品的技术的问题。In view of the above technical problems, the present invention solves the technical problems of increasing shielding gas and annealing process during welding, setting up detection equipment and unqualified product classification device, and greatly reducing unqualified products.
本发明所使用的技术方案是:一种用于手机零件加工的激光焊机,包括焊接组件、保护气体组件、退火组件、移动组件、传输带组件,其特征在于:所述焊接组件还包括滑动设置在转盘固定支架上的滑杆,所述滑杆的滑动由大转盘滚轮和滑杆凸轮的同步转动实现;所述滑杆的一端固定设置有焊接平台,所述焊接平台上固定设置有限位架,所述焊接平台上转动设置有触动杆,所述触动杆上还固定设置有检测连杆用于将检测探头调平;所述焊接平台的一端滑动设置有顶动杆,所述顶动杆与梯形滑块活动连接,用于转移手机零件;所述梯形滑块一端滑动设置有多组对称分布的横向滑动滚轮,所述横向滑动滚轮的一侧固定设置有多组对称分布的滑架,所述滑架滑动设置在T形横向导轨上,所述滑架的一侧还固定设置有触碰圆杆一和触碰圆杆二,所述触碰圆杆一与提升转动架活动配合用于将传输带组件上的手机零件转移至多组对称分布的夹具内,进行焊接;所述提升转动架的另一端活动连接有提升转动柱,所述提升转动柱上固定设置有提升吸附板和提升齿轮,所述提升齿轮与提升齿条转动配合,所述提升转动柱滑动设置在移动支架一内,移动支架二上还固定设置有气缸组件,气缸组件用于将不合格产品分离至回收箱。The technical scheme used in the present invention is: a laser welding machine for processing mobile phone parts, including welding components, protective gas components, annealing components, moving components, and conveyor belt components, characterized in that: the welding components also include sliding A sliding rod arranged on the turntable fixing bracket, the sliding of the sliding rod is realized by the synchronous rotation of the large turntable roller and the sliding rod cam; one end of the sliding rod is fixedly provided with a welding platform, and a limit position is fixed on the welding platform The welding platform is rotatably provided with a trigger rod, and the trigger rod is also fixedly provided with a detection link for leveling the detection probe; one end of the welding platform is slidably provided with a push rod, the push rod The rod is movably connected with the trapezoidal slider for transferring mobile phone parts; one end of the trapezoidal slider is slidably provided with multiple sets of symmetrically distributed lateral sliding rollers, and one side of the lateral sliding roller is fixedly provided with multiple sets of symmetrically distributed carriages , the sliding frame is slidably arranged on the T-shaped transverse guide rail, and one side of the sliding frame is also fixedly provided with a
进一步的,所述移动支架二的一端还固定设置有退火组件,所述退火组件还包括固定设置在退火支架上退火盘,所述退火支架上还活动设置有退火转盘,所述退火转盘上固定设置有吸附板,所述退火转盘的一端固定设置有退火滑动架,所述退火滑动架滑动设置在退火支架上。Further, an annealing assembly is also fixedly arranged at one end of the second movable bracket, and the annealing assembly further includes an annealing plate fixedly arranged on the annealing bracket, and an annealing turntable is also movably arranged on the annealing bracket, and the annealing turntable is fixed on the annealing turntable. An adsorption plate is provided, one end of the annealing turntable is fixedly provided with an annealing sliding frame, and the annealing sliding frame is slidably arranged on the annealing support.
进一步的,所述大转盘滚轮与大转盘活动配合,所述大转盘外侧转动设置有小转盘二和小转盘一,所述小转盘一上转动连接有保护气体连杆,所述保护气体连杆转动设置在活塞杆的一端,所述活塞杆的另一端固定设置有活塞,活塞滑动设置在排气管内,排气管的另一端固定设置有保护气体储存罐。Further, the large turntable rollers are movably matched with the large turntable, a
进一步的,所述移动支架二的一端固定设置有翻转气缸,所述移动支架二上还固定设置有限位杆,所述翻转气缸的另一端转动设置有放置台,所述移动支架二的一侧固定设置有翻转柱和翻转弹簧架,所述翻转弹簧架上活动设置有拉紧弹簧。Further, a turning cylinder is fixedly arranged at one end of the second moving bracket, a limit rod is also fixedly arranged on the second moving bracket, the other end of the turning cylinder is rotatably provided with a placing table, and one side of the second moving bracket is fixed. An overturning column and an overturning spring frame are fixedly arranged, and a tension spring is movably arranged on the overturning spring frame.
进一步的,所述T形横向导轨的一侧活动设置有复位弹簧,所述T形纵向导轨的一侧活动设置有复位弹簧。Further, one side of the T-shaped transverse guide rail is movably provided with a return spring, and one side of the T-shaped longitudinal guide rail is movably provided with a return spring.
进一步的,所述提升齿条固定设置在移动支架二上,所述移动支架二一端转动设置有传输带组件。Further, the lifting rack is fixedly arranged on the second movable bracket, and one end of the second movable bracket is rotatably provided with a transmission belt assembly.
进一步的,所述提升转动架转动设置在移动支架一上,所述提升转动架的一侧设置有滑槽,所述移动支架一上设置有滑槽,所述移动支架一和提升转动架均为多组对称分布。Further, the lifting turret is rotatably arranged on the first moving bracket, one side of the lifting turret is provided with a chute, the first moving bracket is provided with a sliding slot, and both the first moving bracket and the lifting turret are provided. for multiple groups of symmetrical distributions.
进一步的,所述退火支架上固定设置有多个圆柱,所述退火转盘上设置有多个滑槽用于和圆柱配合实现翻转。Further, a plurality of cylinders are fixedly arranged on the annealing support, and a plurality of sliding grooves are arranged on the annealing turntable for cooperating with the cylinders to realize turning.
本发明与现有技术相比的有益效果是:焊接时接通保护气体减少产品出现气孔现象;增加了退火工艺,降低了产品出现热裂纹的频率,设置了检测设备降低了不合格产品的流出,以及增设了不合格产品分类装置,极大减少了人力成本,提升了产品加工效率。Compared with the prior art, the invention has the following beneficial effects: switching on the shielding gas during welding reduces the occurrence of porosity in the product; increasing the annealing process, reducing the frequency of hot cracks in the product, and setting up detection equipment to reduce the outflow of unqualified products , and the addition of a substandard product classification device, which greatly reduces labor costs and improves product processing efficiency.
附图说明Description of drawings
图1为本发明整体结构示意图。FIG. 1 is a schematic diagram of the overall structure of the present invention.
图2为本发明焊接组件结构示意图。FIG. 2 is a schematic structural diagram of the welding assembly of the present invention.
图3为本发明保护气体组件结构示意图。FIG. 3 is a schematic structural diagram of the protective gas assembly of the present invention.
图4为本发明退火组件结构示意图。FIG. 4 is a schematic structural diagram of the annealing assembly of the present invention.
图5为本发明移动组件结构示意图。FIG. 5 is a schematic structural diagram of the mobile assembly of the present invention.
图6为本发明移动组件上翻转组件结构示意图。FIG. 6 is a schematic structural diagram of the flipping assembly on the moving assembly of the present invention.
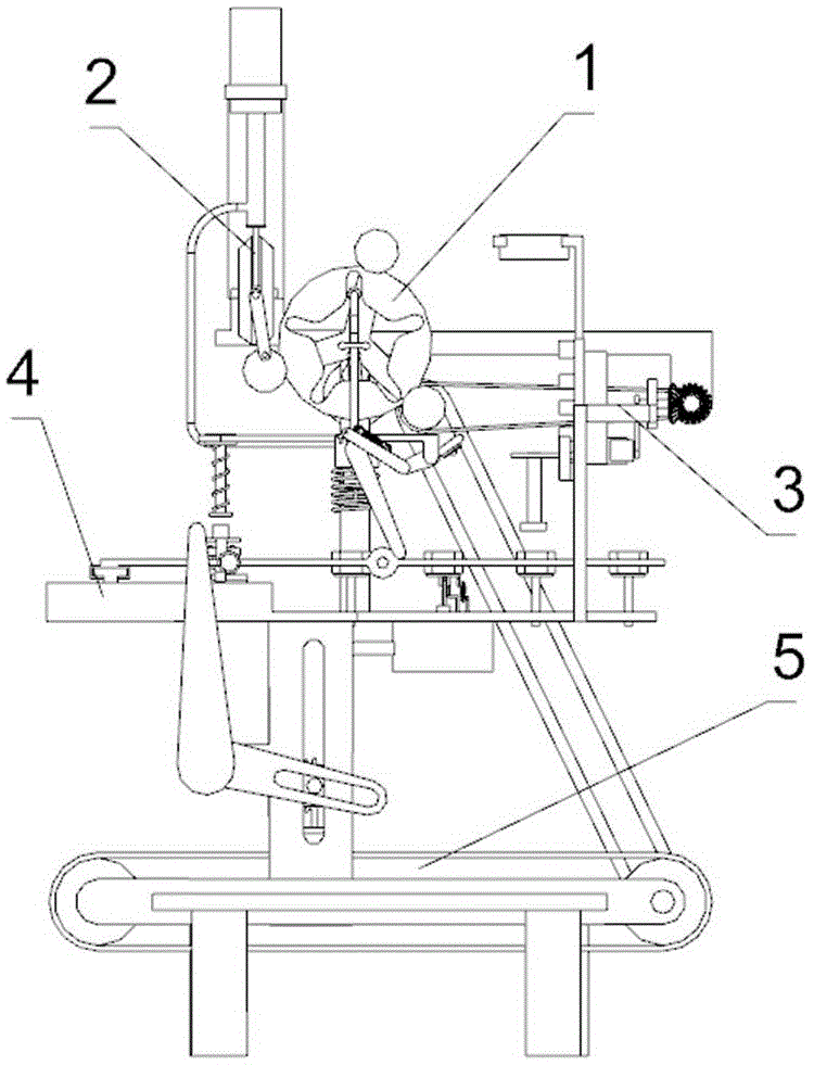
附图标记:1-焊接组件;2-保护气体组件;3-退火组件;4-移动组件;5-传输带组件;101-大转盘;102-小转盘一;103-滑杆;104-焊接平台;105-大转盘滚轮;106-滑杆凸轮;107-转盘固定支架;108-小转盘二;109-顶动杆;110-触动杆;111-限位架;112-检测连杆;113-检测探头;114-气管;115-焊接头;201-保护气支架;202-保护气体储存罐;203-排气管;204-活塞杆;205-保护气体连杆;301-吸附板;302-退火盘;303-退火滑动架;304-退火转盘;305-退火支架;401-移动支架一;402-提升转动柱;403-提升转动架;404-移动支架二;405-提升吸附板;406-提升齿轮;407-提升齿条;408-T形横向导轨;409-滑架;410-T形纵向导轨;411-触碰圆杆一;412-梯形滑块;413-导柱;414-横向滑动滚轮;415-触碰圆杆二;416-夹具;420-翻转气缸;421-限位杆;422-放置台;423-翻转柱;424-翻转弹簧架。Reference numerals: 1-welding assembly; 2-shielding gas assembly; 3-annealing assembly; 4-moving assembly; 5-conveyor belt assembly; 101-large turntable; 102-small turntable one; 103-slide bar; Platform; 105-large turntable roller; 106-slider cam; 107-turntable fixing bracket; 108-small turntable two; -Detection probe; 114-trachea; 115-welding head; 201-shielding gas support; 202-shielding gas storage tank; 203-exhaust pipe; 204-piston rod; 205-shielding gas connecting rod; 301-adsorption plate; 302 - Annealing plate; 303 - Annealing sliding frame; 304 - Annealing turntable; 305 - Annealing bracket; 401 - Mobile bracket one; 402 - Lifting rotating column; 406-lifting gear; 407-lifting rack; 408-T-shaped lateral guide rail; 409-slide frame; 410-T-shaped longitudinal guide rail; - Lateral sliding roller; 415 - Touching round rod two; 416 - Clamp; 420 - Turning cylinder; 421 - Limiting rod; 422 - Placing table; 423 - Turning column;
具体实施方式Detailed ways
下面将结合本发明实施例中的附图,对本发明实施例中的技术方案进行清楚、完整地描述,显然,所描述的实施例仅仅是本发明一部分实施例,而不是全部的实施例。基于本发明中的实施例,本领域普通技术人员在没有做出创造性劳动前提下所获得的所有其他实施例,都属于本发明保护的范围。The technical solutions in the embodiments of the present invention will be clearly and completely described below with reference to the accompanying drawings in the embodiments of the present invention. Obviously, the described embodiments are only a part of the embodiments of the present invention, but not all of the embodiments. Based on the embodiments of the present invention, all other embodiments obtained by those of ordinary skill in the art without creative efforts shall fall within the protection scope of the present invention.
如图1、图2、图3、图4、图5、和图6所示,一种用于手机零件加工的激光焊机,包括焊接组件1、保护气体组件2、退火组件3、移动组件4、传输带组件5,焊接组件1包括转动设置在转盘固定支架107上的大转盘101,大转盘101上设置有多个滑槽,大转盘101外侧设置有多个小滚轮,用于对大转盘101的限位支撑和传递大转盘101的动力,滑杆凸轮106和大转盘滚轮105的同步转动,使得滑杆103在转盘固定支架107内滑动,小转盘二108的一侧转动设置有保护气体连杆205,保护气体连杆205的一侧转动设置有活塞杆204,小转盘二108转动拉动活塞杆204在滑槽内滑动,将活塞杆204一端固定设置的活塞拉动到排气管203的一端,将保护气体储存罐202内的保护气体释放到焊接头115内。As shown in Figure 1, Figure 2, Figure 3, Figure 4, Figure 5, and Figure 6, a laser welding machine for mobile phone parts processing includes a
滑杆103的一端固定设置有焊接平台104,焊接平台104上固定设置有限位架111,限位架111用于限制触动杆110的转动位置,触动杆110上固定设置有检测连杆112,检测连杆112的一端转动设置有检测探头113,焊接平台104上固定设置有气管114,气管114内侧固定设置有焊接头115,焊接平台104上还滑动设置有顶动杆109,用于触碰梯形滑块412;梯形滑块412在多个对称设置的导柱413上滑动,梯形滑块412的一侧滑动设置有横向滑动滚轮414,横向滑动滚轮414为多组对称分布,横向滑动滚轮414上固定设置有T形纵向导轨410,T形纵向导轨410上滑动设置有滑架409,滑架409滑动设置在T形横向导轨408上,T形纵向导轨410滑动设置在移动支架二404上,T形横向导轨408滑动设置在移动支架二404上,T形纵向导轨410和T形横向导轨408上均设置有复位弹簧。One end of the
滑架409上固定设置有触碰圆杆二415和触碰圆杆一411,触碰圆杆一411用于触碰提升转动架403的一端使提升转动架403旋转到指定位置,进而将固定连接在提升转动柱402上的提升吸附板405和提升齿轮406提升至指定位置,滑架409上固定设置有多个对称分布的夹具416用于夹持手机零件;移动支架一401固定设置在在移动支架二404上;移动支架二404上还固定设置有翻转气缸420,移动支架二404上固定设置有限位杆421,翻转气缸420上转动设置有放置台422,放置台422上设置有弹簧,弹簧的一端活动安装在翻转弹簧架424上,翻转弹簧架424固定安装在移动支架二404上,放置台422一侧的下方固定安装有翻转柱423,翻转柱423固定安装在移动支架二404上。The sliding
移动支架二404的一端还固定设置有退火组件3,退火组件3还包括固定设置在退火支架305上退火盘302,退火支架305上还活动设置有退火转盘304,退火转盘304上固定设置有吸附板301,退火转盘304的一端固定设置有退火滑动架303,退火滑动架303滑动设置在退火支架305上。大转盘101外侧转动设置有小转盘二108和小转盘一102,小转盘一102上转动连接有保护气体连杆205,保护气体连杆205转动设置在活塞杆204的一端,活塞杆204的另一端固定设置有活塞,活塞滑动设置在排气管203内,排气管203的另一端固定设置有保护气体储存罐202,保护气体储存罐202与排气管203通过管道连接,保护气支架201固定安装在移动支架二404上。An annealing
本发明公开的一种用于手机零件加工的激光焊机,其工作原理为:滑杆凸轮106与大转盘滚轮105同轴固定连接,滑杆凸轮106的一端固定连接在电机的输出轴上,电机逆时针转动到预定位置,此时大转盘滚轮105逆时针转动与大转盘101上的滑槽配合,带动大转盘101转动到预定位置,此时滑杆103脱离滑槽,此时滑杆103在转盘固定支架107内向焊接头115方向滑动到预定位置,此时顶动杆109触碰到梯形滑块412,梯形滑块412沿导柱413滑动到预定位置,此时对称设置的横向滑动滚轮414带动T形纵向导轨410向外打开到预定位置,当触动杆110卡紧到限位架111内,此时检测连杆112拉动检测探头113的一端使得检测探头113平行于手机零件进行检测,当检测到不合格产品时,翻转气缸420收缩,带动放置台422下降,放置台422与限位杆421滑动配合进行限制放置台422转动位置,当放置台422与翻转柱423触碰时,放置台422逆时针转动将放置台422上的不合格零件移送至收集箱内。The present invention discloses a laser welding machine for processing mobile phone parts. Its working principle is as follows: the
当触动杆110卡紧到限位架111内,同时触动杆110触碰到触碰圆杆二415,使得触碰圆杆二415上固定连接的多组夹具416向梯形滑块412方向滑动到预定位置,此时触碰圆杆一411触碰到提升转动架403的一端,使得提升转动架403顺时针转动,进而带动提升转动柱402向触碰圆杆二415方向运动,此时提升吸附板405上吸附的手机零件通过提升齿轮406和固定设置的提升齿条407啮合使得提升吸附板405转动焊接组件180度将零件运输至夹具416能卡紧的位置。When the
大转盘滚轮105驱动大转盘101转动时,同时大转盘101驱动小转盘二108转动,小转盘二108上偏心连接有保护气体连杆205,保护气体连杆205拉动活塞杆204在滑槽滑动进而带动活塞杆204上的活塞,将排气管203与保护气体储存罐202连接的管道接通,释放保护气体。When the
当焊接平台104下压时焊接头115开始焊接,气管114开始释放保护气体同时夹具416向外分开,脱离多个放置台422上的手机零件,同时提升吸附板405将传输带组件5上的手机零件运送至预定位置,当焊接平台104上升时,顶动杆109首先脱离梯形滑块412,此时夹具416将提升吸附板405上的手机零件夹持住,当触动杆110脱离触碰圆杆二415时,夹具416将夹持住的零件运送至放置台422上。焊接平台104依次下降上升往复循环,实现手机零件的夹持、输送、焊接、保护气体的接通以及手机零件的检测。大转盘101转动的同时带动小转盘一102转动,小转盘一102通过皮带使得退火滑动架303在退火支架305上滑动,吸附板301吸附住手机当退火滑动架303向上滑动时带动退火转盘304向上滑动,退火转盘304上的滑槽与退火支架305上的圆柱配合,实现吸附板301翻转到退火盘302下方的预定位置,进行手机零件的退火处理。When the
对于本领域技术人员而言,显然本发明不限于上述示范性实施例的细节,而且在不背离本发明的精神或基本特征的情况下,能够以其他的具体形式实现本发明。因此,无论从哪一点来看,均应将实施例看作是示范性的,而且是非限制性的,本发明的范围由所附权利要求而不是上述说明限定,因此旨在将落在权利要求的等同要件的含义和范围内的所有变化囊括在本发明内,不应将权利要求中的任何附图标记视为限制所涉及的权利。It will be apparent to those skilled in the art that the present invention is not limited to the details of the above-described exemplary embodiments, but that the present invention may be embodied in other specific forms without departing from the spirit or essential characteristics of the invention. Therefore, the embodiments are to be regarded in all respects as illustrative and not restrictive, and the scope of the invention is to be defined by the appended claims rather than the foregoing description, which are therefore intended to fall within the scope of the claims. All changes that come within the meaning and scope of equivalents of , are embraced within the invention, and any reference signs in the claims shall not be construed as limiting the rights involved.
Claims (8)
Priority Applications (1)
| Application Number | Priority Date | Filing Date | Title |
|---|---|---|---|
| CN202210660756.3A CN114769869A (en) | 2022-06-13 | 2022-06-13 | Laser welding machine for machining mobile phone parts |
Applications Claiming Priority (1)
| Application Number | Priority Date | Filing Date | Title |
|---|---|---|---|
| CN202210660756.3A CN114769869A (en) | 2022-06-13 | 2022-06-13 | Laser welding machine for machining mobile phone parts |
Publications (1)
| Publication Number | Publication Date |
|---|---|
| CN114769869A true CN114769869A (en) | 2022-07-22 |
Family
ID=82422051
Family Applications (1)
| Application Number | Title | Priority Date | Filing Date |
|---|---|---|---|
| CN202210660756.3A Pending CN114769869A (en) | 2022-06-13 | 2022-06-13 | Laser welding machine for machining mobile phone parts |
Country Status (1)
| Country | Link |
|---|---|
| CN (1) | CN114769869A (en) |
Cited By (1)
| Publication number | Priority date | Publication date | Assignee | Title |
|---|---|---|---|---|
| CN115351544A (en) * | 2022-09-15 | 2022-11-18 | 南通皋鑫科技开发有限公司 | SMD diode production pin welding set |
Citations (24)
| Publication number | Priority date | Publication date | Assignee | Title |
|---|---|---|---|---|
| US6031199A (en) * | 1997-10-28 | 2000-02-29 | Worthington Machine Technology | Combination laser cutting and blank welding apparatus and method |
| US6411470B1 (en) * | 1991-10-28 | 2002-06-25 | Censtor Corporation | Durable, low-vibration, dynamic-contact hard disk drive system |
| JP2004249307A (en) * | 2003-02-19 | 2004-09-09 | Akihisa Murata | Continuous automatic welding equipment for single-tube |
| CN102528353A (en) * | 2012-02-29 | 2012-07-04 | 黄一淼 | Full-automatic multi-station welding system |
| WO2014126172A1 (en) * | 2013-02-15 | 2014-08-21 | 日産自動車株式会社 | Laser welding method, laser welding device, and welded member |
| JP2015202505A (en) * | 2014-04-14 | 2015-11-16 | 株式会社アマダミヤチ | TIG welding method and TIG welding apparatus |
| CN106041304A (en) * | 2016-06-29 | 2016-10-26 | 宿州市冠星金属制品制造有限公司 | Laser welding system of multistation steel bands |
| CN106392318A (en) * | 2016-12-02 | 2017-02-15 | 长春理工大学 | Clutch driven disc-transmission disc structural part automatic preheating and clamping device and laser welding method |
| CN106735899A (en) * | 2016-12-14 | 2017-05-31 | 广东天机工业智能系统有限公司 | Stitch welding machine |
| CN108687443A (en) * | 2018-05-28 | 2018-10-23 | 宁波沪荣汽车部件有限公司 | A kind of laser assembly solder clamping and positioning device |
| CN109108419A (en) * | 2018-07-18 | 2019-01-01 | 苏州菲丽丝智能科技有限公司 | Copper pipe robot welding system and method |
| CN109623177A (en) * | 2019-01-11 | 2019-04-16 | 宁波宏志机器人科技有限公司 | A kind of robotic laser weldering downhand welding overhead welding integrated clamp with metal plate orthopaedic function |
| CN110369872A (en) * | 2019-08-15 | 2019-10-25 | 武汉宝悍焊接设备有限公司 | The processing technology of optical-fiber laser cutting welding orientation silicon steel strip |
| CN209550880U (en) * | 2018-09-03 | 2019-10-29 | 广东工业大学 | Apparatus for laser welding and laser annealing of aluminum alloys |
| CN110405392A (en) * | 2019-07-30 | 2019-11-05 | 马鞍山市金韩防水保温工程有限责任公司 | A kind of handware processing surface welder and its application method |
| CN210209062U (en) * | 2019-05-29 | 2020-03-31 | 深圳市祺钰设备有限公司 | Laser automatic welding protection equipment |
| CN210587663U (en) * | 2019-10-15 | 2020-05-22 | 张家港汇能达激光科技有限公司 | Laser welding machine |
| CN212239716U (en) * | 2020-04-15 | 2020-12-29 | 天津市友邦钢管有限公司 | A wire feeding rack for the production of spiral welded pipes |
| CN112296565A (en) * | 2020-09-30 | 2021-02-02 | 李玲 | Automatic welding equipment for dead-angle-free steel structure I-shaped frame |
| CN112372302A (en) * | 2020-11-02 | 2021-02-19 | 张群 | Collude indisputable equipment of welding and milling flat welding seam device |
| IT201900019750A1 (en) * | 2019-10-24 | 2021-04-24 | Danieli Off Mecc | WELDING MACHINE AND RELATIVE METHOD |
| CN213224936U (en) * | 2020-07-29 | 2021-05-18 | 深圳市开玖自动化设备有限公司 | Upset welding jig and welding machine |
| CN113042893A (en) * | 2021-04-17 | 2021-06-29 | 汤爱国 | Galvanized steel sheet laser welding concatenation processing frock clamp |
| CN114406486A (en) * | 2022-03-29 | 2022-04-29 | 东莞市永勤精密技术有限公司 | Diversified laser marking machine of alloy structure spare |
-
2022
- 2022-06-13 CN CN202210660756.3A patent/CN114769869A/en active Pending
Patent Citations (24)
| Publication number | Priority date | Publication date | Assignee | Title |
|---|---|---|---|---|
| US6411470B1 (en) * | 1991-10-28 | 2002-06-25 | Censtor Corporation | Durable, low-vibration, dynamic-contact hard disk drive system |
| US6031199A (en) * | 1997-10-28 | 2000-02-29 | Worthington Machine Technology | Combination laser cutting and blank welding apparatus and method |
| JP2004249307A (en) * | 2003-02-19 | 2004-09-09 | Akihisa Murata | Continuous automatic welding equipment for single-tube |
| CN102528353A (en) * | 2012-02-29 | 2012-07-04 | 黄一淼 | Full-automatic multi-station welding system |
| WO2014126172A1 (en) * | 2013-02-15 | 2014-08-21 | 日産自動車株式会社 | Laser welding method, laser welding device, and welded member |
| JP2015202505A (en) * | 2014-04-14 | 2015-11-16 | 株式会社アマダミヤチ | TIG welding method and TIG welding apparatus |
| CN106041304A (en) * | 2016-06-29 | 2016-10-26 | 宿州市冠星金属制品制造有限公司 | Laser welding system of multistation steel bands |
| CN106392318A (en) * | 2016-12-02 | 2017-02-15 | 长春理工大学 | Clutch driven disc-transmission disc structural part automatic preheating and clamping device and laser welding method |
| CN106735899A (en) * | 2016-12-14 | 2017-05-31 | 广东天机工业智能系统有限公司 | Stitch welding machine |
| CN108687443A (en) * | 2018-05-28 | 2018-10-23 | 宁波沪荣汽车部件有限公司 | A kind of laser assembly solder clamping and positioning device |
| CN109108419A (en) * | 2018-07-18 | 2019-01-01 | 苏州菲丽丝智能科技有限公司 | Copper pipe robot welding system and method |
| CN209550880U (en) * | 2018-09-03 | 2019-10-29 | 广东工业大学 | Apparatus for laser welding and laser annealing of aluminum alloys |
| CN109623177A (en) * | 2019-01-11 | 2019-04-16 | 宁波宏志机器人科技有限公司 | A kind of robotic laser weldering downhand welding overhead welding integrated clamp with metal plate orthopaedic function |
| CN210209062U (en) * | 2019-05-29 | 2020-03-31 | 深圳市祺钰设备有限公司 | Laser automatic welding protection equipment |
| CN110405392A (en) * | 2019-07-30 | 2019-11-05 | 马鞍山市金韩防水保温工程有限责任公司 | A kind of handware processing surface welder and its application method |
| CN110369872A (en) * | 2019-08-15 | 2019-10-25 | 武汉宝悍焊接设备有限公司 | The processing technology of optical-fiber laser cutting welding orientation silicon steel strip |
| CN210587663U (en) * | 2019-10-15 | 2020-05-22 | 张家港汇能达激光科技有限公司 | Laser welding machine |
| IT201900019750A1 (en) * | 2019-10-24 | 2021-04-24 | Danieli Off Mecc | WELDING MACHINE AND RELATIVE METHOD |
| CN212239716U (en) * | 2020-04-15 | 2020-12-29 | 天津市友邦钢管有限公司 | A wire feeding rack for the production of spiral welded pipes |
| CN213224936U (en) * | 2020-07-29 | 2021-05-18 | 深圳市开玖自动化设备有限公司 | Upset welding jig and welding machine |
| CN112296565A (en) * | 2020-09-30 | 2021-02-02 | 李玲 | Automatic welding equipment for dead-angle-free steel structure I-shaped frame |
| CN112372302A (en) * | 2020-11-02 | 2021-02-19 | 张群 | Collude indisputable equipment of welding and milling flat welding seam device |
| CN113042893A (en) * | 2021-04-17 | 2021-06-29 | 汤爱国 | Galvanized steel sheet laser welding concatenation processing frock clamp |
| CN114406486A (en) * | 2022-03-29 | 2022-04-29 | 东莞市永勤精密技术有限公司 | Diversified laser marking machine of alloy structure spare |
Cited By (2)
| Publication number | Priority date | Publication date | Assignee | Title |
|---|---|---|---|---|
| CN115351544A (en) * | 2022-09-15 | 2022-11-18 | 南通皋鑫科技开发有限公司 | SMD diode production pin welding set |
| CN115351544B (en) * | 2022-09-15 | 2023-12-08 | 南通皋鑫科技开发有限公司 | Welding device for production pins of patch diode |
Similar Documents
| Publication | Publication Date | Title |
|---|---|---|
| CN110759060A (en) | Battery pack turning device | |
| CN111390390A (en) | Laser-resistance hybrid welding device for car seat recliner fixing seat | |
| CN114769869A (en) | Laser welding machine for machining mobile phone parts | |
| CN110355437A (en) | Ultrasonic-assisted high-frequency induction brazing device for electric contact system | |
| CN115394509A (en) | Potentiometer automatic assembly machine | |
| CN115332597A (en) | Laser welding sealing equipment for full-lug large-column lithium battery | |
| CN203150530U (en) | Transporting and screening device for battery packs | |
| CN110421227B (en) | Ultrasonic-assisted high-frequency induction brazing method for electrical contact system | |
| CN113798751A (en) | Keel welding workbench for building template | |
| CN208738177U (en) | Multistation cell piece dicing device | |
| CN108372132A (en) | A kind of defective work detects separator automatically | |
| CN204866577U (en) | WiFi module calibration write number test integrated workstation | |
| CN220231515U (en) | Optical automatic detection device for microscopic defects on surface of hard disk substrate | |
| CN222212635U (en) | Lens detection device | |
| CN107560552B (en) | Turbine shell automatic check out system | |
| CN219562017U (en) | Assembly welding equipment for photovoltaic equipment | |
| CN218004511U (en) | Automatic potentiometer assembling machine | |
| CN115744277B (en) | A chip detection and collection device | |
| CN218004512U (en) | Automatic potentiometer spring piece assembly machine | |
| CN115255720B (en) | Automatic positioning and welding system and method for battery pack | |
| CN216730167U (en) | Automatic welding equipment for solar cells | |
| CN206871996U (en) | A kind of switching mechanism | |
| CN116559185A (en) | Optical automatic detection device for microscopic defects on surface of hard disk substrate | |
| CN213678858U (en) | Automatic conveying mechanism for PCB exposure detection station | |
| CN203782039U (en) | Automatic laminating device of automobile laminated glass |
Legal Events
| Date | Code | Title | Description |
|---|---|---|---|
| PB01 | Publication | ||
| PB01 | Publication | ||
| SE01 | Entry into force of request for substantive examination | ||
| SE01 | Entry into force of request for substantive examination | ||
| RJ01 | Rejection of invention patent application after publication | ||
| RJ01 | Rejection of invention patent application after publication |
Application publication date: 20220722 |
