CN113680100B - Ultrasonic extraction equipment for pharmacy - Google Patents
Ultrasonic extraction equipment for pharmacy Download PDFInfo
- Publication number
- CN113680100B CN113680100B CN202110825735.8A CN202110825735A CN113680100B CN 113680100 B CN113680100 B CN 113680100B CN 202110825735 A CN202110825735 A CN 202110825735A CN 113680100 B CN113680100 B CN 113680100B
- Authority
- CN
- China
- Prior art keywords
- cavity
- compression
- end surface
- crushing
- extraction
- Prior art date
- Legal status (The legal status is an assumption and is not a legal conclusion. Google has not performed a legal analysis and makes no representation as to the accuracy of the status listed.)
- Active
Links
- 238000002137 ultrasound extraction Methods 0.000 title claims abstract description 16
- 239000003814 drug Substances 0.000 claims abstract description 71
- 230000006835 compression Effects 0.000 claims abstract description 61
- 238000007906 compression Methods 0.000 claims abstract description 61
- 238000000605 extraction Methods 0.000 claims abstract description 40
- 239000007788 liquid Substances 0.000 claims abstract description 33
- 238000000926 separation method Methods 0.000 claims description 20
- 238000009434 installation Methods 0.000 claims description 18
- 238000007599 discharging Methods 0.000 claims description 8
- 230000002146 bilateral effect Effects 0.000 claims description 3
- 238000007790 scraping Methods 0.000 abstract description 10
- 238000004140 cleaning Methods 0.000 abstract description 3
- 238000011084 recovery Methods 0.000 abstract 1
- 230000000694 effects Effects 0.000 description 3
- 230000009286 beneficial effect Effects 0.000 description 2
- 239000002893 slag Substances 0.000 description 2
- 239000002904 solvent Substances 0.000 description 2
- 230000001133 acceleration Effects 0.000 description 1
- 238000004891 communication Methods 0.000 description 1
- 230000007547 defect Effects 0.000 description 1
- 238000010586 diagram Methods 0.000 description 1
- 238000009792 diffusion process Methods 0.000 description 1
- 238000004945 emulsification Methods 0.000 description 1
- 239000000284 extract Substances 0.000 description 1
- 230000005484 gravity Effects 0.000 description 1
- 238000003754 machining Methods 0.000 description 1
- 238000000034 method Methods 0.000 description 1
- 238000012986 modification Methods 0.000 description 1
- 230000004048 modification Effects 0.000 description 1
- 230000000149 penetrating effect Effects 0.000 description 1
- 230000001737 promoting effect Effects 0.000 description 1
- 230000005855 radiation Effects 0.000 description 1
- 238000003756 stirring Methods 0.000 description 1
- 239000000126 substance Substances 0.000 description 1
- XLYOFNOQVPJJNP-UHFFFAOYSA-N water Substances O XLYOFNOQVPJJNP-UHFFFAOYSA-N 0.000 description 1
Images
Classifications
-
- B—PERFORMING OPERATIONS; TRANSPORTING
- B01—PHYSICAL OR CHEMICAL PROCESSES OR APPARATUS IN GENERAL
- B01D—SEPARATION
- B01D11/00—Solvent extraction
- B01D11/02—Solvent extraction of solids
- B01D11/0261—Solvent extraction of solids comprising vibrating mechanisms, e.g. mechanical, acoustical
- B01D11/0265—Applying ultrasound
-
- B—PERFORMING OPERATIONS; TRANSPORTING
- B01—PHYSICAL OR CHEMICAL PROCESSES OR APPARATUS IN GENERAL
- B01D—SEPARATION
- B01D36/00—Filter circuits or combinations of filters with other separating devices
-
- B—PERFORMING OPERATIONS; TRANSPORTING
- B02—CRUSHING, PULVERISING, OR DISINTEGRATING; PREPARATORY TREATMENT OF GRAIN FOR MILLING
- B02C—CRUSHING, PULVERISING, OR DISINTEGRATING IN GENERAL; MILLING GRAIN
- B02C18/00—Disintegrating by knives or other cutting or tearing members which chop material into fragments
- B02C18/06—Disintegrating by knives or other cutting or tearing members which chop material into fragments with rotating knives
- B02C18/08—Disintegrating by knives or other cutting or tearing members which chop material into fragments with rotating knives within vertical containers
- B02C18/10—Disintegrating by knives or other cutting or tearing members which chop material into fragments with rotating knives within vertical containers with drive arranged above container
-
- B—PERFORMING OPERATIONS; TRANSPORTING
- B02—CRUSHING, PULVERISING, OR DISINTEGRATING; PREPARATORY TREATMENT OF GRAIN FOR MILLING
- B02C—CRUSHING, PULVERISING, OR DISINTEGRATING IN GENERAL; MILLING GRAIN
- B02C23/00—Auxiliary methods or auxiliary devices or accessories specially adapted for crushing or disintegrating not provided for in preceding groups or not specially adapted to apparatus covered by a single preceding group
- B02C23/08—Separating or sorting of material, associated with crushing or disintegrating
- B02C23/10—Separating or sorting of material, associated with crushing or disintegrating with separator arranged in discharge path of crushing or disintegrating zone
-
- B—PERFORMING OPERATIONS; TRANSPORTING
- B08—CLEANING
- B08B—CLEANING IN GENERAL; PREVENTION OF FOULING IN GENERAL
- B08B9/00—Cleaning hollow articles by methods or apparatus specially adapted thereto
- B08B9/08—Cleaning containers, e.g. tanks
- B08B9/087—Cleaning containers, e.g. tanks by methods involving the use of tools, e.g. brushes, scrapers
-
- B—PERFORMING OPERATIONS; TRANSPORTING
- B30—PRESSES
- B30B—PRESSES IN GENERAL
- B30B9/00—Presses specially adapted for particular purposes
- B30B9/02—Presses specially adapted for particular purposes for squeezing-out liquid from liquid-containing material, e.g. juice from fruits, oil from oil-containing material
- B30B9/04—Presses specially adapted for particular purposes for squeezing-out liquid from liquid-containing material, e.g. juice from fruits, oil from oil-containing material using press rams
- B30B9/06—Presses specially adapted for particular purposes for squeezing-out liquid from liquid-containing material, e.g. juice from fruits, oil from oil-containing material using press rams co-operating with permeable casings or strainers
Landscapes
- Engineering & Computer Science (AREA)
- Mechanical Engineering (AREA)
- Physics & Mathematics (AREA)
- Acoustics & Sound (AREA)
- Chemical & Material Sciences (AREA)
- Chemical Kinetics & Catalysis (AREA)
- Food Science & Technology (AREA)
- Filtration Of Liquid (AREA)
- Crushing And Pulverization Processes (AREA)
Abstract
The invention discloses ultrasonic extraction equipment for pharmacy, which comprises a shell, wherein an extraction cavity is arranged in the shell, the upper end surface of the extraction cavity is provided with a feed opening, the left side of the feed opening is provided with an internal thread block, the internal thread block is arranged on the upper end surface of the shell in a sliding manner, and the internal thread block is internally and threadedly connected with a lifting rod; according to the invention, the medicine residues are crushed by the crushing knife, and then the compression block is used for compacting the medicine residues, so that the liquid medicine in the residual medicine residues is extruded out, the recovery of the medicine residues is facilitated, the scraping piece tightly attached to the inner wall of the extraction cavity is driven by the spiral lifting rod to spirally descend, so that the medicine residues remained on the extraction cavity are scraped, the cleaning by personnel is facilitated, and the gear drives the sorting plate to move by driving the gear to rotate by the filter plate, so that the residual liquid medicine and the medicine residues are respectively recovered.
Description
Technical Field
The invention relates to the technical field of pharmacy, in particular to ultrasonic extraction equipment for pharmacy.
Background
Ultrasonic extraction refers to the utilization of the strong cavitation response effect, mechanical vibration, disturbance effect, high acceleration, emulsification, diffusion, crushing, stirring and other multi-level effects generated by ultrasonic radiation pressure, increases the molecular motion frequency and speed of substances, and increases the penetrating power of a solvent, thereby accelerating target components to enter the solvent, and promoting the mature extraction technology of extraction.
Disclosure of Invention
The invention aims to provide ultrasonic extraction equipment for pharmacy, which is used for overcoming the defects in the prior art.
The ultrasonic extraction equipment for pharmacy comprises a shell, wherein an extraction cavity is arranged in the shell, a feed port is arranged on the upper end surface of the extraction cavity, an internal thread block is arranged on the left side of the feed port and is slidably arranged on the upper end surface of the shell, a lifting rod is connected with the internal thread block in a threaded manner, the lower end surface of the lifting rod penetrates through the shell and extends into the extraction cavity, a lifting motor is arranged on the left side of the internal thread block and is fixedly arranged in the upper end surface of the shell, a lifting driving shaft is connected with the upper end surface of the lifting motor in a driving manner, a lifting gear is fixedly connected with the upper end surface of the lifting driving shaft and is meshed with the internal thread block, a lifting screw rod is fixedly connected with the lower end surface of the lifting screw rod, and two bilaterally symmetrical ultrasonic generators are fixedly arranged on the lower end surface of the lifting screw rod, the lower side of the extraction cavity is provided with a crushing cavity, the lower side of the crushing cavity is provided with an installation cavity, six compression blocks distributed in an array are arranged in the installation cavity, a compression cavity is formed among the six compression blocks, a compression power cavity is arranged in the left side wall of the installation cavity, the compression power cavity and the installation cavity are internally provided with a compression mechanism capable of controlling the compression blocks, a separation cavity is arranged at the lower side of the installation cavity, the separation cavity, the compression cavity, the crushing cavity and the extraction cavity are communicated, fixed blocks are fixedly arranged on the front inner wall and the rear inner wall of the separation cavity, a crushing motor is fixedly arranged in the fixed blocks, the upper end face of the crushing motor is in driving connection with a crushing shaft, the upper end face of the crushing shaft extends into the crushing cavity and is fixedly connected with a crushing rotary disc, and a crushing cutter is fixedly connected onto the crushing rotary disc, and a sorting mechanism for distributing and discharging the medicine dregs and the liquid medicine is arranged in the sorting cavity.
According to the technical scheme, the compression mechanism comprises a compression motor fixedly arranged on the lower end face of a compression power cavity, the compression motor is connected with a compression driving shaft in a driving mode, a compression gear is fixedly connected to the upper end face of the compression driving shaft, a rotary table is arranged on the upper end face of an installation cavity in a sliding mode, six compression sliding grooves distributed in an array mode are formed in the rotary table, guide blocks are arranged in the compression sliding grooves in a sliding mode, the compression blocks are fixedly arranged on the guide blocks, two filter plates which are symmetrical in the left-right position are arranged on the lower end face of the installation cavity, the guide blocks are arranged on the upper end face of the filter plates in a sliding mode, and the compression gear is meshed with the rotary table.
According to the technical scheme, the lower end face of the separation cavity is provided with a residual liquid medicine outlet, two sides of the residual liquid medicine outlet are provided with two left and right symmetrical medicine residue outlets, a liquid medicine outlet for discharging liquid medicine is arranged on the right end face of the extraction cavity, and a valve is fixedly arranged on the liquid medicine outlet.
Further technical scheme, sorting mechanism is including setting up the filter spout of two bilateral position symmetries of terminal surface under the installation cavity, the filter slides and sets up in the filter spout, the fixed electro-magnet that is equipped with on the outer terminal surface of filter spout, the lower terminal surface of filter spout is equipped with the linkage chamber, it is connected with the universal driving shaft to rotate on the inner wall around the linkage chamber, fixedly connected with linkage gear on the universal driving shaft, the lower terminal surface in linkage chamber is equipped with selects separately the board spout, it is equipped with the sorting board to slide in the sorting board spout, be equipped with the dregs of a decoction mouth on the sorting board, the up end of selecting separately the board with the lower terminal surface of filter all with linkage gear engagement.
According to the technical scheme, two spring cavities which are symmetrical in left and right positions are arranged on the left end face and the right end face of the lifting screw rod, a scraping piece fixing block is arranged in the spring cavities in a sliding mode, a spring is fixedly arranged between the scraping piece fixing block and the inner wall of the spring cavity, a scraping piece is fixedly connected to the outer end face of the scraping piece fixing block, and the scraping piece is tightly attached to the inner wall of the extraction cavity.
According to a further technical scheme, the left end face of the extraction cavity is provided with an observation port.
The invention has the beneficial effects that: the medicine residues are crushed by the crushing cutter and then are compacted by the compression block, so that the liquid medicine in the residual medicine residues is extruded out, and meanwhile, the medicine residues are convenient to recycle;
according to the invention, the spiral lifting rod drives the scraping piece tightly attached to the inner wall of the extraction cavity to spirally descend, so that medicine residues remained on the extraction cavity are scraped, and the cleaning by personnel is facilitated;
according to the invention, the gear is driven to rotate by the filter plate, and the gear drives the sorting plate to move, so that the residual liquid medicine and the medicine residues are respectively recovered.
Drawings
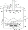
FIG. 1 is a schematic external view of the present invention;
FIG. 2 is a schematic view of the overall structure of an ultrasonic extraction apparatus for pharmaceutical use according to the present invention;
FIG. 3 is a block diagram of the sorting chamber of FIG. 2 according to the invention;
FIG. 4 is a schematic view of B-B of FIG. 2 according to the present invention;
FIG. 5 is a schematic view of C-C of FIG. 2 according to the present invention.
Detailed Description
For purposes of making the objects and advantages of the present invention more apparent, the following detailed description of the invention, taken in conjunction with the examples, should be understood that the following text is intended only to describe one pharmaceutical ultrasonic extraction apparatus or several specific embodiments of the invention, and not to strictly limit the scope of the invention as specifically claimed, as used herein, the terms upper, lower, left and right are not limited to strict geometric definitions thereof, but rather include tolerances for reasonable and inconsistent machining or human error, the following detailed description of which is set forth in detail:
referring to the drawings, the ultrasonic extraction equipment for pharmacy according to the embodiment of the invention comprises a housing 10, an extraction cavity 11 is arranged in the housing 10, a feed opening 17 is arranged on the upper end surface of the extraction cavity 11, an internal thread block 16 is arranged on the left side of the feed opening 17, the internal thread block 16 is slidably arranged on the upper end surface of the housing 10, a lifting rod 15 is connected in the internal thread block 16 in a threaded manner, the lower end surface of the lifting rod 15 penetrates through the housing 10 and extends into the extraction cavity 11, a lifting motor 14 is arranged on the left side of the internal thread block 16, the lifting motor 14 is fixedly arranged in the upper end surface of the housing 10, a lifting driving shaft 13 is drivingly connected on the upper end surface of the lifting motor 14, a lifting gear 12 is fixedly connected on the upper end surface of the lifting driving shaft 13, the lifting gear 12 is meshed with the internal thread block 16, a lifting screw rod 19 is fixedly connected on the lower end surface of the lifting screw rod 19, two ultrasonic generators 24 which are bilaterally symmetrical are fixedly arranged on the lower end surface, a crushing cavity 27 is arranged on the lower side of the extraction cavity 11, a compression separation control mechanism 35 and a compression separation control mechanism 35 are arranged in the compression cavity, a compression separation control mechanism 35 and a compression separation control cavity 54, a compression block 35 and a compression separation control mechanism 35 are arranged on the lower side of the compression separation control cavity 35 and a compression chamber 35, a compression separation control cavity 35 and a compression control mechanism 35 is arranged on the compression chamber 35, the upper end face of the crushing motor 45 is connected with a crushing shaft 37 in a driving mode, the upper end face of the crushing shaft 37 extends into the crushing cavity 27 and is fixedly connected with a crushing rotary disc 28, the crushing rotary disc 28 is fixedly connected with a crushing cutter 30, and a sorting mechanism 56 for distributing and discharging medicine residues and liquid medicine is arranged in the sorting cavity 54.
Beneficially or exemplarily, the compressing mechanism 55 includes a compressing motor 36 fixedly disposed on a lower end surface of the compressing power chamber 35, a compressing driving shaft 34 is connected to the compressing motor 36 in a driving manner, a compressing gear 33 is fixedly connected to an upper end surface of the compressing driving shaft 34, a rotating disc 32 is slidably disposed on an upper end surface of the installation chamber 29, six compressing sliding grooves 53 distributed in an array are disposed in the rotating disc 32, guide blocks 52 are slidably disposed in the compressing sliding grooves 53, the compressing blocks 51 are fixedly disposed on the guide blocks 52, two filter plates 39 symmetrical in left and right positions are disposed on a lower end surface of the installation chamber 29, the guide blocks 52 are slidably disposed on an upper end surface of the filter plates 39, the compressing gear 33 is engaged with the rotating disc 32, when the compressing motor 36 is started, the compressing motor 36 drives the compressing gear 33 to rotate through the compressing driving shaft 34, the compressing gear 33 drives the rotating disc 32 to rotate, the rotating disc 32 rotates to enable the guide blocks 52 to move along the compressing sliding grooves 53, and the guide blocks 52 move to drive the six compressing blocks 51 to compress inwards.
Beneficially or exemplarily, the lower end surface of the sorting chamber 54 is provided with a residual liquid medicine outlet 49, two left-right symmetrical medicine residue outlets 50 are arranged on two sides of the residual liquid medicine outlet 49, the right end surface of the extraction chamber 11 is provided with a liquid medicine outlet 25 for discharging liquid medicine, a valve 26 is fixedly arranged on the liquid medicine outlet 25, the residual liquid medicine outlet 49 is used for discharging residual liquid medicine, the medicine residue outlet 50 is used for discharging compacted medicine residue, and the valve 26 is used for controlling the discharge of liquid medicine.
Beneficially or exemplarily, the sorting mechanism 56 includes two filter plate chutes 40 arranged on the lower end surface of the mounting cavity 29 and symmetrically arranged at left and right positions, the filter plate 39 is slidably arranged in the filter plate chute 40, an electromagnet 57 is fixedly arranged on the outer end surface of the filter plate chute 40, a linkage cavity 41 is arranged on the lower end surface of the filter plate chute 40, linkage shafts 43 are rotatably connected on the front and rear inner walls of the linkage cavity 41, linkage gears 42 are fixedly connected on the linkage shafts 43, a sorting plate chute 46 is arranged on the lower end surface of the linkage cavity 41, a sorting plate 47 is slidably arranged in the sorting plate chute 46, a medicine residue port 48 is arranged on the sorting plate 47, the upper end surface of the sorting plate 47 is meshed with the linkage gears 42, when the electromagnet 57 is powered, the electromagnet 57 attracts the filter plate 39 to move, the filter plate 39 moves to drive the linkage gears 42 to rotate, the linkage gears 42 drive the sorting plate 47 to move, so that the sorting plate 47 seals the residual medicine residue outlet 49, and the medicine residue port 48 is just communicated with the medicine residue outlet 50, and medicine residue is discharged from the medicine residue outlet 50.
Beneficially or exemplarily, two spring cavities 20 are arranged on left and right end surfaces of the lifting screw rod 19, the two spring cavities 20 are symmetrically arranged on left and right sides, a scraper fixing block 22 is slidably arranged in each spring cavity 20, a spring 21 is fixedly arranged between each scraper fixing block 22 and an inner wall of each spring cavity 20, a scraper 23 is fixedly connected to an outer end surface of each scraper fixing block 22, each scraper 23 is tightly attached to an inner wall of the extraction cavity 11, and each scraper 23 is used for scraping off residues remained on the inner wall of the extraction cavity 11.
Advantageously or exemplarily, the left end face of the extraction chamber 11 is provided with a viewing port 18, and the viewing port 18 is used for viewing the conditions inside the extraction chamber 11.
The invention relates to ultrasonic extraction equipment for pharmacy, which comprises the following working procedures:
the medicine to be extracted and water are put into the extraction cavity 11 from the feeding port 17, then the ultrasonic generator 24 is started, the ultrasonic generator 24 extracts the medicine in the extraction cavity 11, the extraction state can be observed from the observation port 18, after the extraction is finished, the valve 26 is opened, the extracted liquid medicine is discharged from the liquid medicine outlet 25, then the lifting motor 14 is started, the lifting motor 14 drives the lifting gear 12 to rotate through the lifting driving shaft 13, the lifting gear 12 drives the inner thread block 16 to rotate, the inner thread block 16 drives the lifting rod 15 to spirally descend, the lifting rod 15 drives the lifting screw rod 19 to also spirally descend, so that the scraping blade 23 hangs the medicine slag remained on the inner wall of the extraction cavity 11, the medicine slag enters the crushing cavity 27, meanwhile, the crushing motor 45 is started, the crushing motor 45 drives the crushing rotary disc 28 to rotate through the crushing shaft 37, the crushing rotary disc 28 drives the crushing cutter 30 to crush the medicine residues entering the crushing cavity 27, the crushed medicine residues enter the compression cavity 38 through the crushing feed inlet 31, then the compression motor 36 is started, the compression motor 36 drives the compression gear 33 to rotate through the compression driving shaft 34, the compression gear 33 drives the rotary disc 32 to rotate, the rotary disc 32 rotates to enable the guide block 52 to move along the compression chute 53, the guide block 52 moves to drive the six compression blocks 51 to compress inwards, so that the residual medicine liquid in the medicine residues is extruded out, meanwhile, the medicine residues are also compressed into blocks, the residual medicine liquid enters the sorting cavity 54 through the filter plate 39 and is discharged from the residual medicine liquid outlet 49, when the electromagnet 57 is electrified, the electromagnet 57 attracts the filter plate 39 to move, the filter plate 39 moves to drive the linkage gear 42 to rotate, the linkage gear 42 drives the sorting plate 47 to move, so that the sorting plate 47 seals the residual medicine liquid outlet 49, the residue opening 48 is now in direct communication with the residue outlet 50, and the residue falls by gravity from the compression chamber 38 into the sorting chamber 54 and is discharged through the residue opening 48 and residue outlet 50.
The invention has the beneficial effects that: the medicine residues are crushed by the crushing cutter and then are compacted by the compression block, so that the liquid medicine in the residual medicine residues is extruded out, and meanwhile, the medicine residues are convenient to recycle;
according to the invention, the spiral lifting rod drives the scraping piece tightly attached to the inner wall of the extraction cavity to spirally descend, so that medicine residues remained on the extraction cavity are scraped, and the cleaning by personnel is facilitated;
according to the invention, the gear is driven to rotate by the filter plate, and the gear drives the sorting plate to move, so that the residual liquid medicine and the medicine residues are respectively recovered.
It will be apparent to those skilled in the art that various modifications may be made to the above embodiments without departing from the general spirit and concept of the invention. All falling within the scope of protection of the present invention. The protection scheme of the invention is subject to the appended claims.
Claims (5)
1. The utility model provides an ultrasonic extraction equipment for pharmacy, includes organism shell, its characterized in that: an extraction cavity is arranged in the shell, a feed opening is arranged on the upper end surface of the extraction cavity, an internal thread block is arranged on the left side of the feed opening, the internal thread block is arranged on the upper end surface of the shell in a sliding way, a lifting rod is connected with the internal thread block in a threaded way, the lower end surface of the lifting rod penetrates through the shell and extends into the extraction cavity, a lifting motor is arranged on the left side of the internal thread block, the lifting motor is fixedly arranged in the upper end surface of the shell, the upper end surface of the lifting motor is connected with a lifting driving shaft in a driving way, the upper end surface of the lifting driving shaft is fixedly connected with a lifting gear which is meshed with the internal thread block, the lower end surface of the lifting rod is fixedly connected with a lifting screw rod, the lower end surface of the lifting screw rod is fixedly provided with two bilaterally symmetrical ultrasonic generators, a crushing cavity is arranged at the lower side of the extraction cavity, an installation cavity is arranged at the lower side of the crushing cavity, six compression blocks distributed in an array are arranged in the installation cavity, a compression cavity is formed among the six compression blocks, a compression power cavity is arranged in the left side wall of the installation cavity, a compression mechanism capable of controlling the compression block to compress is arranged in the compression power cavity and the installation cavity, a separation cavity is arranged at the lower side of the installation cavity, the separation cavity, the compression cavity, the crushing cavity and the extraction cavity are communicated, fixed blocks are fixedly arranged on the front inner wall and the rear inner wall of the separation cavity, a crushing motor is fixedly arranged in the fixed blocks, the upper end surface of the crushing motor is connected with a crushing shaft in a driving way, the upper end surface of the crushing shaft extends into the crushing cavity and is fixedly connected with a crushing rotary disc, the crushing rotary disc is fixedly connected with a crushing cutter, and a sorting mechanism for distributing and discharging medicine residues and liquid medicine is arranged in the sorting cavity;
the compressing mechanism is including fixed setting the compression motor of terminal surface under the compression power chamber, the last drive connection of compression motor has the compression drive axle, the up end fixedly connected with compression gear of compression drive axle, the up end of installation cavity slides and is equipped with the carousel, be equipped with six array distribution's compression spout in the carousel, it is equipped with the guide block to slide in the compression spout, the compression piece is fixed to be set up on the guide block, the lower terminal surface of installation cavity is equipped with the filter of two bilateral symmetry, the guide block slides and sets up the up end of filter, the compression gear with the carousel meshing.
2. An ultrasonic extraction apparatus for pharmaceutical use according to claim 1, wherein: the lower end face of the separation cavity is provided with a residual liquid medicine outlet, two sides of the residual liquid medicine outlet are provided with two left-right symmetrical medicine residue outlets, the right end face of the extraction cavity is provided with a liquid medicine outlet for discharging liquid medicine, and a valve is fixedly arranged on the liquid medicine outlet.
3. An ultrasonic extraction apparatus for pharmaceutical use according to claim 1, wherein: sorting mechanism is including setting up the filter spout of two bilateral position symmetries of terminal surface under the installation cavity, the filter slides and sets up in the filter spout, the fixed electro-magnet that is equipped with on the outer terminal surface of filter spout, the lower terminal surface of filter spout is equipped with the linkage chamber, it is connected with the universal driving shaft to rotate on the inner wall around the linkage chamber, fixedly connected with linkage gear on the universal driving shaft, the lower terminal surface in linkage chamber is equipped with the separation board spout, it is equipped with the separation board to slide in the separation board spout, be equipped with the dregs of a decoction mouth on the separation board, the up end of separation board with the lower terminal surface of filter all with linkage gear engagement.
4. An ultrasonic extraction apparatus for pharmaceutical use according to claim 1, wherein: the automatic scraper extractor is characterized in that two spring cavities which are symmetrical in left and right positions are formed in the left and right end faces of the lifting screw rod, a scraper fixing block is arranged in the spring cavities in a sliding mode, a spring is fixedly arranged between the scraper fixing block and the inner wall of each spring cavity, a scraper is fixedly connected to the outer end face of the scraper fixing block, and the scraper is tightly attached to the inner wall of the extraction cavity.
5. An ultrasonic extraction apparatus for pharmaceutical use according to claim 1, wherein: and the left end surface of the extraction cavity is provided with an observation port.
Priority Applications (1)
| Application Number | Priority Date | Filing Date | Title |
|---|---|---|---|
| CN202110825735.8A CN113680100B (en) | 2021-07-21 | 2021-07-21 | Ultrasonic extraction equipment for pharmacy |
Applications Claiming Priority (1)
| Application Number | Priority Date | Filing Date | Title |
|---|---|---|---|
| CN202110825735.8A CN113680100B (en) | 2021-07-21 | 2021-07-21 | Ultrasonic extraction equipment for pharmacy |
Publications (2)
| Publication Number | Publication Date |
|---|---|
| CN113680100A CN113680100A (en) | 2021-11-23 |
| CN113680100B true CN113680100B (en) | 2022-10-04 |
Family
ID=78577579
Family Applications (1)
| Application Number | Title | Priority Date | Filing Date |
|---|---|---|---|
| CN202110825735.8A Active CN113680100B (en) | 2021-07-21 | 2021-07-21 | Ultrasonic extraction equipment for pharmacy |
Country Status (1)
| Country | Link |
|---|---|
| CN (1) | CN113680100B (en) |
Families Citing this family (2)
| Publication number | Priority date | Publication date | Assignee | Title |
|---|---|---|---|---|
| CN114653093B (en) * | 2022-04-19 | 2023-02-28 | 河南农业大学 | A polysaccharide extraction and purification device |
| CN117839261B (en) * | 2024-03-06 | 2024-05-24 | 山西太行药业股份有限公司 | Extraction device for preparing traditional Chinese medicine composition |
Citations (23)
| Publication number | Priority date | Publication date | Assignee | Title |
|---|---|---|---|---|
| CN1579592A (en) * | 2003-08-17 | 2005-02-16 | 王锡康 | New-type technological equipment and method for plant extraction |
| CN105034430A (en) * | 2015-09-08 | 2015-11-11 | 曹小高 | Full-automatic clamping plate extrusion type solid-liquid separation equipment |
| CN105666926A (en) * | 2016-03-03 | 2016-06-15 | 何国华 | Novel plant waste residue squeezing and dewatering equipment |
| CN106335203A (en) * | 2015-11-29 | 2017-01-18 | 杭州跟策科技有限公司 | garbage disposal machine |
| CN206896889U (en) * | 2017-06-19 | 2018-01-19 | 丹凤县凯农魔芋精粉有限公司 | A kind of ultrasonic wave konjaku glucomannan extraction equipment |
| CN207101955U (en) * | 2017-05-11 | 2018-03-16 | 烟台新时代健康产业有限公司 | A kind of kudzu root flavone separating extraction device |
| CN108744581A (en) * | 2018-06-12 | 2018-11-06 | 倪菁菁 | A kind of pharmaceutical purpose ultrasonic extraction equipment |
| CN108744584A (en) * | 2018-07-10 | 2018-11-06 | 山东端信堂大禹药业有限公司 | A kind of device and its extracting method extracting scutelloside from radix scutellariae |
| CN108744580A (en) * | 2018-06-07 | 2018-11-06 | 宁波鄞州台本荣机械设备有限公司 | A kind of automation plant extraction liquid preparation facilities |
| CN208260237U (en) * | 2018-03-08 | 2018-12-21 | 四川英捷达医疗科技有限公司 | It is a kind of to automate high biological medicine raw material extract equipment |
| CN109045750A (en) * | 2018-09-19 | 2018-12-21 | 李肥生 | A kind of energy-efficient pot for solvent extraction |
| CN109331500A (en) * | 2018-12-19 | 2019-02-15 | 涂乙芬 | A kind of circulating type ultrosonic extractor |
| CN109331498A (en) * | 2018-11-20 | 2019-02-15 | 那坡康正天然植物提取有限责任公司 | A kind of multi-function extractor |
| CN109699795A (en) * | 2019-01-12 | 2019-05-03 | 刘恒铄 | A kind of coffee effective component extraction element |
| JP2019150825A (en) * | 2019-04-10 | 2019-09-12 | ルボアラボラトリ株式会社 | Extract manufacturing apparatus |
| CN209378493U (en) * | 2018-12-18 | 2019-09-13 | 中国热带农业科学院南亚热带作物研究所 | A kind of miracle fruit leaf microwave ultrasonic wave combination extract equipment |
| CN110559683A (en) * | 2019-08-12 | 2019-12-13 | 佛山市欧若拉生物科技有限公司 | Special extraction equipment of plant extract |
| CN112121459A (en) * | 2020-09-24 | 2020-12-25 | 王化军 | Dynamic extraction tank for biological pharmaceutical engineering |
| CN112190972A (en) * | 2020-09-27 | 2021-01-08 | 王丰伟 | Special traditional Chinese medicine fragmentation extraction device and use method thereof |
| FR3099341A1 (en) * | 2019-07-31 | 2021-02-05 | Laboratoires Arkopharma | Process and device for obtaining a liquid aqueous vegetable macerate |
| CN112973178A (en) * | 2021-02-26 | 2021-06-18 | 重庆文理学院 | Traditional chinese medicine pharmacy is with squeezing extraction device |
| CN112973182A (en) * | 2021-03-27 | 2021-06-18 | 合肥九茗信息科技有限公司 | Extraction process of Chinese medicinal materials |
| CN213555475U (en) * | 2020-09-25 | 2021-06-29 | 山东鲁港福友药业有限公司 | A multi-functional jar of drawing for preparing liquid animal remedy |
Family Cites Families (2)
| Publication number | Priority date | Publication date | Assignee | Title |
|---|---|---|---|---|
| JP2020534155A (en) * | 2017-09-21 | 2020-11-26 | ウィスラー テクノロジーズ コーポレイション | Resin extractor and method |
| US10799812B2 (en) * | 2019-01-11 | 2020-10-13 | Gildrien Farm, LLC | Method of extracting one or more chemical extracts from a plant product |
-
2021
- 2021-07-21 CN CN202110825735.8A patent/CN113680100B/en active Active
Patent Citations (23)
| Publication number | Priority date | Publication date | Assignee | Title |
|---|---|---|---|---|
| CN1579592A (en) * | 2003-08-17 | 2005-02-16 | 王锡康 | New-type technological equipment and method for plant extraction |
| CN105034430A (en) * | 2015-09-08 | 2015-11-11 | 曹小高 | Full-automatic clamping plate extrusion type solid-liquid separation equipment |
| CN106335203A (en) * | 2015-11-29 | 2017-01-18 | 杭州跟策科技有限公司 | garbage disposal machine |
| CN105666926A (en) * | 2016-03-03 | 2016-06-15 | 何国华 | Novel plant waste residue squeezing and dewatering equipment |
| CN207101955U (en) * | 2017-05-11 | 2018-03-16 | 烟台新时代健康产业有限公司 | A kind of kudzu root flavone separating extraction device |
| CN206896889U (en) * | 2017-06-19 | 2018-01-19 | 丹凤县凯农魔芋精粉有限公司 | A kind of ultrasonic wave konjaku glucomannan extraction equipment |
| CN208260237U (en) * | 2018-03-08 | 2018-12-21 | 四川英捷达医疗科技有限公司 | It is a kind of to automate high biological medicine raw material extract equipment |
| CN108744580A (en) * | 2018-06-07 | 2018-11-06 | 宁波鄞州台本荣机械设备有限公司 | A kind of automation plant extraction liquid preparation facilities |
| CN108744581A (en) * | 2018-06-12 | 2018-11-06 | 倪菁菁 | A kind of pharmaceutical purpose ultrasonic extraction equipment |
| CN108744584A (en) * | 2018-07-10 | 2018-11-06 | 山东端信堂大禹药业有限公司 | A kind of device and its extracting method extracting scutelloside from radix scutellariae |
| CN109045750A (en) * | 2018-09-19 | 2018-12-21 | 李肥生 | A kind of energy-efficient pot for solvent extraction |
| CN109331498A (en) * | 2018-11-20 | 2019-02-15 | 那坡康正天然植物提取有限责任公司 | A kind of multi-function extractor |
| CN209378493U (en) * | 2018-12-18 | 2019-09-13 | 中国热带农业科学院南亚热带作物研究所 | A kind of miracle fruit leaf microwave ultrasonic wave combination extract equipment |
| CN109331500A (en) * | 2018-12-19 | 2019-02-15 | 涂乙芬 | A kind of circulating type ultrosonic extractor |
| CN109699795A (en) * | 2019-01-12 | 2019-05-03 | 刘恒铄 | A kind of coffee effective component extraction element |
| JP2019150825A (en) * | 2019-04-10 | 2019-09-12 | ルボアラボラトリ株式会社 | Extract manufacturing apparatus |
| FR3099341A1 (en) * | 2019-07-31 | 2021-02-05 | Laboratoires Arkopharma | Process and device for obtaining a liquid aqueous vegetable macerate |
| CN110559683A (en) * | 2019-08-12 | 2019-12-13 | 佛山市欧若拉生物科技有限公司 | Special extraction equipment of plant extract |
| CN112121459A (en) * | 2020-09-24 | 2020-12-25 | 王化军 | Dynamic extraction tank for biological pharmaceutical engineering |
| CN213555475U (en) * | 2020-09-25 | 2021-06-29 | 山东鲁港福友药业有限公司 | A multi-functional jar of drawing for preparing liquid animal remedy |
| CN112190972A (en) * | 2020-09-27 | 2021-01-08 | 王丰伟 | Special traditional Chinese medicine fragmentation extraction device and use method thereof |
| CN112973178A (en) * | 2021-02-26 | 2021-06-18 | 重庆文理学院 | Traditional chinese medicine pharmacy is with squeezing extraction device |
| CN112973182A (en) * | 2021-03-27 | 2021-06-18 | 合肥九茗信息科技有限公司 | Extraction process of Chinese medicinal materials |
Also Published As
| Publication number | Publication date |
|---|---|
| CN113680100A (en) | 2021-11-23 |
Similar Documents
| Publication | Publication Date | Title |
|---|---|---|
| CN113680100B (en) | Ultrasonic extraction equipment for pharmacy | |
| CN109821602A (en) | A kind of broken screen-dividing machine of environment-friendly ceramic fragment | |
| CN111644257A (en) | Solid waste treatment equipment based on eccentric wheel mechanism is kibbling | |
| CN209791731U (en) | Reducing mechanism of metal powder briquetting | |
| CN111054496A (en) | Chinese-medicinal material shredding device | |
| CN220277167U (en) | Raw material grinding and crushing device for preparing suspending agent | |
| CN212142783U (en) | Building stones breaker | |
| CN106749690B (en) | Potato crushing and starch separating machine | |
| CN218529873U (en) | Centrifugal extraction equipment | |
| CN209034428U (en) | A kind of Ai Ai patch production grinding device of Anti-blockage | |
| CN218452488U (en) | Astragalus root straw secondary recycling apparatus | |
| CN108559837B (en) | A kind of metallurgical equipment of scale | |
| CN208960056U (en) | A kind of waste material grinding device | |
| CN208810268U (en) | Poisonous metal lead recyclable device in a kind of waste and old novel battery | |
| CN211755322U (en) | Grinding device is used in cosmetics production | |
| CN215694688U (en) | Multistage scattering and grading treatment device for cement processing | |
| CN216094150U (en) | Raw and other materials grinding device that biomedical was used | |
| CN214288389U (en) | Ginger crusher | |
| CN208194624U (en) | A kind of Chinese medicinal material second level grinding device | |
| CN114951203A (en) | Solid waste treatment equipment for environmental protection engineering and process thereof | |
| CN109833931A (en) | Paper grade (stock) straw millstone | |
| CN220219801U (en) | Ginger crushing and juicing screw extruder | |
| CN216826434U (en) | Chemical industry waste residue treatment facility | |
| CN220215171U (en) | Low-speed pulverizer | |
| CN218132199U (en) | Medicine crushing apparatus is used in healthy production in motherwort postpartum |
Legal Events
| Date | Code | Title | Description |
|---|---|---|---|
| PB01 | Publication | ||
| PB01 | Publication | ||
| SE01 | Entry into force of request for substantive examination | ||
| SE01 | Entry into force of request for substantive examination | ||
| TA01 | Transfer of patent application right |
Effective date of registration: 20220916 Address after: Building 3, No. 35, Xiucai Bridge, Tiaoxi Village, Cangqian Street, Yuhang District, Hangzhou City, Zhejiang Province, 311100 Applicant after: Zhejiang Birch Forest Biotechnology Co.,Ltd. Address before: 310000 5th floor, building 3, No. 453, Shenhua Road, Xihu District, Hangzhou City, Zhejiang Province Applicant before: Wang Bingfeng |
|
| TA01 | Transfer of patent application right | ||
| GR01 | Patent grant | ||
| GR01 | Patent grant |