CN113413960B - 一种对辊式破碎机 - Google Patents

一种对辊式破碎机 Download PDF

Info

Publication number
CN113413960B
CN113413960B CN202110964921.XA CN202110964921A CN113413960B CN 113413960 B CN113413960 B CN 113413960B CN 202110964921 A CN202110964921 A CN 202110964921A CN 113413960 B CN113413960 B CN 113413960B
Authority
CN
China
Prior art keywords
shaft
case
plate
crushing
left end
Prior art date
Legal status (The legal status is an assumption and is not a legal conclusion. Google has not performed a legal analysis and makes no representation as to the accuracy of the status listed.)
Active
Application number
CN202110964921.XA
Other languages
English (en)
Other versions
CN113413960A (zh
Inventor
闫长柏
Current Assignee (The listed assignees may be inaccurate. Google has not performed a legal analysis and makes no representation or warranty as to the accuracy of the list.)
Ruishi New Materials Technology Co.,Ltd.
Original Assignee
Xuzhou Huachao Mine Equipment Co ltd
Priority date (The priority date is an assumption and is not a legal conclusion. Google has not performed a legal analysis and makes no representation as to the accuracy of the date listed.)
Filing date
Publication date
Application filed by Xuzhou Huachao Mine Equipment Co ltd filed Critical Xuzhou Huachao Mine Equipment Co ltd
Priority to CN202110964921.XA priority Critical patent/CN113413960B/zh
Publication of CN113413960A publication Critical patent/CN113413960A/zh
Application granted granted Critical
Publication of CN113413960B publication Critical patent/CN113413960B/zh
Active legal-status Critical Current
Anticipated expiration legal-status Critical

Links

Images

Classifications

    • BPERFORMING OPERATIONS; TRANSPORTING
    • B02CRUSHING, PULVERISING, OR DISINTEGRATING; PREPARATORY TREATMENT OF GRAIN FOR MILLING
    • B02CCRUSHING, PULVERISING, OR DISINTEGRATING IN GENERAL; MILLING GRAIN
    • B02C4/00Crushing or disintegrating by roller mills
    • B02C4/02Crushing or disintegrating by roller mills with two or more rollers
    • B02C4/08Crushing or disintegrating by roller mills with two or more rollers with co-operating corrugated or toothed crushing-rollers
    • BPERFORMING OPERATIONS; TRANSPORTING
    • B02CRUSHING, PULVERISING, OR DISINTEGRATING; PREPARATORY TREATMENT OF GRAIN FOR MILLING
    • B02CCRUSHING, PULVERISING, OR DISINTEGRATING IN GENERAL; MILLING GRAIN
    • B02C1/00Crushing or disintegrating by reciprocating members
    • BPERFORMING OPERATIONS; TRANSPORTING
    • B02CRUSHING, PULVERISING, OR DISINTEGRATING; PREPARATORY TREATMENT OF GRAIN FOR MILLING
    • B02CCRUSHING, PULVERISING, OR DISINTEGRATING IN GENERAL; MILLING GRAIN
    • B02C23/00Auxiliary methods or auxiliary devices or accessories specially adapted for crushing or disintegrating not provided for in preceding groups or not specially adapted to apparatus covered by a single preceding group
    • B02C23/08Separating or sorting of material, associated with crushing or disintegrating
    • B02C23/16Separating or sorting of material, associated with crushing or disintegrating with separator defining termination of crushing or disintegrating zone, e.g. screen denying egress of oversize material
    • BPERFORMING OPERATIONS; TRANSPORTING
    • B02CRUSHING, PULVERISING, OR DISINTEGRATING; PREPARATORY TREATMENT OF GRAIN FOR MILLING
    • B02CCRUSHING, PULVERISING, OR DISINTEGRATING IN GENERAL; MILLING GRAIN
    • B02C23/00Auxiliary methods or auxiliary devices or accessories specially adapted for crushing or disintegrating not provided for in preceding groups or not specially adapted to apparatus covered by a single preceding group
    • B02C23/18Adding fluid, other than for crushing or disintegrating by fluid energy
    • B02C23/24Passing gas through crushing or disintegrating zone
    • BPERFORMING OPERATIONS; TRANSPORTING
    • B02CRUSHING, PULVERISING, OR DISINTEGRATING; PREPARATORY TREATMENT OF GRAIN FOR MILLING
    • B02CCRUSHING, PULVERISING, OR DISINTEGRATING IN GENERAL; MILLING GRAIN
    • B02C4/00Crushing or disintegrating by roller mills
    • B02C4/28Details
    • BPERFORMING OPERATIONS; TRANSPORTING
    • B02CRUSHING, PULVERISING, OR DISINTEGRATING; PREPARATORY TREATMENT OF GRAIN FOR MILLING
    • B02CCRUSHING, PULVERISING, OR DISINTEGRATING IN GENERAL; MILLING GRAIN
    • B02C4/00Crushing or disintegrating by roller mills
    • B02C4/28Details
    • B02C4/32Adjusting, applying pressure to, or controlling the distance between, milling members
    • BPERFORMING OPERATIONS; TRANSPORTING
    • B02CRUSHING, PULVERISING, OR DISINTEGRATING; PREPARATORY TREATMENT OF GRAIN FOR MILLING
    • B02CCRUSHING, PULVERISING, OR DISINTEGRATING IN GENERAL; MILLING GRAIN
    • B02C4/00Crushing or disintegrating by roller mills
    • B02C4/28Details
    • B02C4/40Detachers, e.g. scrapers
    • BPERFORMING OPERATIONS; TRANSPORTING
    • B02CRUSHING, PULVERISING, OR DISINTEGRATING; PREPARATORY TREATMENT OF GRAIN FOR MILLING
    • B02CCRUSHING, PULVERISING, OR DISINTEGRATING IN GENERAL; MILLING GRAIN
    • B02C4/00Crushing or disintegrating by roller mills
    • B02C4/28Details
    • B02C4/42Driving mechanisms; Roller speed control
    • BPERFORMING OPERATIONS; TRANSPORTING
    • B08CLEANING
    • B08BCLEANING IN GENERAL; PREVENTION OF FOULING IN GENERAL
    • B08B15/00Preventing escape of dirt or fumes from the area where they are produced; Collecting or removing dirt or fumes from that area
    • B08B15/007Fume suction nozzles arranged on a closed or semi-closed surface, e.g. on a circular, ring-shaped or rectangular surface adjacent the area where fumes are produced
    • BPERFORMING OPERATIONS; TRANSPORTING
    • B02CRUSHING, PULVERISING, OR DISINTEGRATING; PREPARATORY TREATMENT OF GRAIN FOR MILLING
    • B02CCRUSHING, PULVERISING, OR DISINTEGRATING IN GENERAL; MILLING GRAIN
    • B02C23/00Auxiliary methods or auxiliary devices or accessories specially adapted for crushing or disintegrating not provided for in preceding groups or not specially adapted to apparatus covered by a single preceding group
    • B02C23/08Separating or sorting of material, associated with crushing or disintegrating
    • B02C23/16Separating or sorting of material, associated with crushing or disintegrating with separator defining termination of crushing or disintegrating zone, e.g. screen denying egress of oversize material
    • B02C2023/165Screen denying egress of oversize material

Landscapes

  • Engineering & Computer Science (AREA)
  • Food Science & Technology (AREA)
  • Mechanical Engineering (AREA)
  • Crushing And Grinding (AREA)

Abstract

本发明涉及破碎机领域,特别涉及一种对辊式破碎机,包括机箱和破碎机构,所述的机箱置于地面上,机箱的上端面左端为进料口,机箱的下端开设有出料通槽,机箱的上端设置有破碎机构,本发明采用了破碎、除尘与筛分三者相结合的设计理念,本发明可在物料接受破碎处理期间同步对破碎产生的粉尘进行清除,进而避免了大量粉尘外溢而造成工作环境污染的状况,降低了粉尘积附于其他结构上而影响破碎机运行的几率,同时本发明设计的筛板对破碎后物料进行筛分处理以使不合格的物料碎块可得到再次破碎处理。

Description

一种对辊式破碎机
技术领域
本发明涉及破碎机领域,特别涉及一种对辊式破碎机。
背景技术
对辊式破碎机又称双辊式破碎机,是辊式破碎机的一种,适用于冶金、建材、耐火材料等工业部门破碎中、高等硬度的物料,尤其适用于石灰石,炉渣,焦炭,煤等物料的中碎、细碎;对辊式破碎机与其他类型的破碎机相比,具有破碎比大、对破碎物料干燥程度无任何要求,且不粘不堵、过粉碎量少、噪音小、振动小、粉尘少等优势。
对辊式破碎机主要由辊轮组成、辊轮支撑轴承、调节装置以及驱动装置等部分组成,辊轮保持相向转动,对辊式破碎机将破碎物料经给料口落入辊轮之间,进行挤压破碎,破碎后的物料自然落下,但在对辊式破碎机使用过程中会出现以下问题:对辊式破碎机对物料进行破碎处理期间会产生大量的粉尘,粉尘外溢会造成工作环境污染,而粉尘保留在破碎机内则易影响破碎机的运行,同时经破碎机加工的物料碎块的大小不均一,部分未完全破碎的物料得不到集中收集以致无法集中再次破碎。
发明内容
为了解决上述技术问题,本发明提供一种对辊式破碎机,包括机箱和破碎机构,所述的机箱置于地面上,机箱的上端面左端为进料口,机箱的下端开设有出料通槽,机箱的上端设置有破碎机构。
所述的破碎机构包括电机、座板、一号轴、二号轴、皮带、破碎辊、连接板、竖板、支杆、竖直板、气缸和底座,电机左右对称布置于机箱的后侧,电机的下端安装有座板,电机的输出轴端安装有一号轴,一号轴下方布置有二号轴,一号轴之间的间距大于二号轴之间的间距,一号轴与其下方的二号轴之间连接有皮带,一号轴和二号轴上均套装有破碎辊,皮带位于破碎辊的后侧,皮带和破碎辊均位于机箱内部,机箱右端的一号轴和二号轴的前后两端均转动安装在连接板上,连接板位于皮带的前侧,前后正相对的连接板的右端之间连接有竖板,竖板滑动安装于机箱的前后两端之间,竖板的右端从前往后等距离安装有支杆,支杆的右端共同连接于竖直板的左端面,竖直板的右端与气缸的推动端相连,气缸的推动端与机箱的右端之间滑动连接,气缸的下端安装有底座,底座的左端面与机箱右端的外表面相连,通过人工方式将已有的接料器具置于出料通槽的下方,物料由进料口进入机箱内部,同时通过电机和皮带之间配合带动所有的一号轴和二号轴同步转动,破碎辊随之同步转动,左右排布的破碎辊之间做同步相向转动,且与此同时通过气缸推动竖直板做左右往复运动,竖直板推动支杆同步运动,竖板带动连接板随支杆同步运动,连接板带动与其所连的一号轴和二号轴同步运动,左右往复运动的一号轴和二号轴带动各自所连的破碎辊同步运动,左右排布的破碎辊之间对物料进行挤压破碎,破碎的物料自由落下并穿过出料通槽落于接料器具内。
所述的竖直板的中心开设有连接通孔,连接通孔内安装有连接管,连接管的左端安装有吸除板,吸除板位于机箱的内部,连接管的左端安装有软管,软管位于机箱的外部,软管远离连接管的一端与除尘机相连,除尘机位于气缸的前侧,除尘机的上端安装有固定座,固定座的左端与机箱右端的外表面相连,在破碎辊对物料进行挤压破碎期间,除尘机同步工作,对物料粉碎过程中产生的粉尘或微小碎粒进行吸除,进而避免了大量粉尘外溢而造成工作环境污染的状况,降低了粉尘积附于其他结构上而影响结构运行的几率。
所述的出料通槽的前后内侧壁对称安装有二号电动滑块,二号电动滑块之间通过销轴转动连接有筛板,筛板的右端前后对称安装有弹簧伸缩杆,弹簧伸缩杆远离筛板的一端与出料通槽的侧壁之间滑动连接,通过二号电动滑块带动筛板做左右往复运动,弹簧伸缩杆随筛板同步运动,左右往复运动的筛板可对破碎的物料起到筛分的作用,通过人工方式使弹簧伸缩杆收缩至最大程度,此时弹簧伸缩杆与出料通槽的侧壁相离,然后向下转动筛板以对筛分出的不合格物料碎块进行收集,后续再对这部分物料碎块进行再破碎处理。
优选技术方案一:所述的竖板的正左侧前后对称布置有一号电动滑块,一号电动滑块安装于机箱的侧壁上,机箱左端的一号轴、二号轴与其位置对应的一号电动滑块之间转动连接,机箱左端的座板的前端与机箱的侧端之间滑动连接,原始状态下左右排布的破碎辊之间的距离有限,当有大体积物料卡于破碎辊之间时,通过一号电动滑块带动与其所连的一号轴、二号轴向左运动相应距离,向左运动的一号轴和二号轴带动各自所连的破碎辊同步运动,以此调节单排破碎辊之间的距离,然后通过电机使破碎辊转动,通过气缸推动竖直板做左右往复运动,竖直板推动支杆同步运动,竖板带动连接板随支杆同步运动,连接板带动与其所连的一号轴和二号轴同步运动,左右往复运动的一号轴和二号轴带动各自所连的破碎辊同步运动,左右排布的破碎辊之间对大体积物料进行挤压破碎。
优选技术方案二:所述的机箱内部前后对称布置有隔板,隔板位于机箱内,破碎辊位于隔板之间,隔板可对破碎后的物料起到隔挡与导向的作用,进而以此达到物料集中落向出料通槽的目的。
优选技术方案三:所述的隔板之间上下安装有两组平板,平板位于上下排布的破碎辊之间,每组平板设置有两个,平板面对破碎辊的侧端面从前往后等距离安装有清洁刷,清洁刷远离平板的一端与破碎辊接触,破碎辊转动期间,清洁刷可对破碎辊起到表面清洁的作用,进而实现了避免破碎辊表面积附较多的物料碎粒的目的。
优选技术方案四:所述的机箱的左端开设有矩形通槽,矩形通槽与吸除板正相对,隔板之间的距离小于矩形通槽前后内侧壁之间的距离,隔板的左端为T型结构,隔板的左端与机箱的左端之间相卡接,通过人工方式向左抽动隔板,平板带动清洁刷随隔板同步运动,直至隔板完全抽离机箱,随后便可对清洁刷进行清洁处理,总言之,隔板与机箱之间采取的卡接连接方式可便于定期对清洁刷进行清洁处理,以保持清洁刷对破碎辊的清洁功能。
优选技术方案五:所述的矩形通槽的正左侧布置有回型板,回型板的中部安装有吸尘布,回型板放置于安装板上,安装板卡接于机箱左端,吸尘布可对部分由矩形通槽溢出的粉尘进行吸除,进而降低工作环境中的粉尘含量,当吸尘布表面积附较多的粉尘后,可通过人工方式将回型板与吸尘布整体直接取走,而后对吸尘布进行清洗,清洗后的吸尘布可重复利用。
优选技术方案六:所述的隔板面对破碎辊的侧端面通过魔术贴安装有纱布,纱布可起到一定的吸除粉尘的作用,进而利于降低机箱内部的粉尘含量。
本发明具备以下有益效果:1、本发明设计的一种对辊式破碎机,采用了破碎、除尘与筛分三者相结合的设计理念,本发明可在物料接受破碎处理期间同步对破碎产生的粉尘进行清除,进而避免了大量粉尘外溢而造成工作环境污染的状况,降低了粉尘积附于其他结构上而影响破碎机运行的几率,同时本发明设计的筛板对破碎后的物料进行筛分处理以使不合格的物料碎块可得到再次破碎处理。
2、本发明通过一号电动滑块可对一号轴和二号轴之间的距离进行调整,在此基础上,使破碎机构具备对大体积的物料进行破碎的功能。
3、本发明设计的隔板可对破碎后的物料起到隔挡与导向的作用,进而以此达到物料集中落向出料通槽的目的。
4、本发明中的清洁刷可对破碎辊起到表面清洁的作用,进而避免破碎辊表面积附较多物料碎粒的状况。
附图说明
下面结合附图和实施例对本发明进一步说明。
图1为本发明的立体结构示意图。
图2为本发明的俯视图。
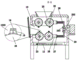
图3为图2的A-A向剖视图。
图4为图2的B-B向剖视图。
图5为图2的C-C向剖视图。
图6为竖直板及部分竖直板所连结构的立体视图。
图7为本发明除去机箱后的部分结构的立体视图。
图中:1、机箱;10、隔板;11、二号电动滑块;12、筛板;13、弹簧伸缩杆;14、平板;15、清洁刷;16、回型板;17、吸尘布;18、安装板;2、破碎机构;20、电机;21、座板;22、一号轴;23、二号轴;24、皮带;25、破碎辊;26、连接板;27、竖板;270、一号电动滑块;28、支杆;29、竖直板、290、气缸;291、底座;292、连接管;293、吸除板;294、软管;295、除尘机;296、固定座。
具体实施方式
下面将结合本发明实施例中的附图,对本发明实施例中的技术方案进行清楚、完整地描述,显然,所描述的实施例仅仅是本发明一部分实施例,而不是全部的实施例。基于本发明中的实施例,本领域普通技术人员在没有做出创造性劳动前提下所获得的所有其他实施例,都属于本发明保护的范围。
参阅图1、图2、图6和图7,一种对辊式破碎机,包括机箱1和破碎机构2,所述的机箱1置于地面上,机箱1的上端面左端为进料口,机箱1的下端开设有出料通槽,机箱1的上端设置有破碎机构2。
参阅图2、图3、图4、图6和图7,所述的破碎机构2包括电机20、座板21、一号轴22、二号轴23、皮带24、破碎辊25、连接板26、竖板27、支杆28、竖直板29、气缸290和底座291,电机20左右对称布置于机箱1的后侧,电机20的下端安装有座板21,电机20的输出轴端安装有一号轴22,一号轴22下方布置有二号轴23,一号轴22之间的间距大于二号轴23之间的间距,一号轴22与其下方的二号轴23之间连接有皮带24,一号轴22和二号轴23上均套装有破碎辊25,皮带24位于破碎辊25的后侧,皮带24和破碎辊25均位于机箱1内部,机箱1右端的一号轴22和二号轴23的前后两端均转动安装在连接板26上,连接板26位于皮带24的前侧,前后正相对的连接板26的右端之间连接有竖板27,竖板27滑动安装于机箱1的前后两端之间,竖板27的右端从前往后等距离安装有支杆28,支杆28的右端共同连接于竖直板29的左端面,竖直板29的右端与气缸290的推动端相连,气缸290的推动端与机箱1的右端之间滑动连接,气缸290的下端安装有底座291,底座291的左端面与机箱1右端的外表面相连。
通过人工方式将已有的接料器具置于出料通槽的下方,物料由进料口进入机箱1内部,同时通过电机20和皮带24之间配合带动所有的一号轴22和二号轴23同步转动,破碎辊25随之同步转动,左右排布的破碎辊25之间做同步相向转动,且与此同时通过气缸290推动竖直板29做左右往复运动,竖直板29推动支杆28同步运动,竖板27带动连接板26随支杆28同步运动,连接板26带动与其所连的一号轴22和二号轴23同步运动,左右往复运动的一号轴22和二号轴23带动各自所连的破碎辊25同步运动,左右排布的破碎辊25之间对物料进行挤压破碎,破碎的物料自由落下并穿过出料通槽落于接料器具内,破碎机构2采取的双排双辊的设置相对于常见的单排双辊设置而言,双排双辊的设置可大大提高物料的破碎效率,同时破碎机构2中的上排辊之间的距离大于下排辊之间的距离,以此可达到利用上排辊破碎较大体积物料,下排辊破碎小体积物料以及物料再次破碎的目的,进而大大提高了物料的碎化程度。
参阅图1、图5和图7,所述的竖板27的正左侧前后对称布置有一号电动滑块270,一号电动滑块270安装于机箱1的侧壁上,机箱1左端的一号轴22、二号轴23与其位置对应的一号电动滑块270之间转动连接,机箱1左端的座板21的前端与机箱1的侧端之间滑动连接,原始状态下左右排布的破碎辊25之间的距离有限,当有大体积物料卡于破碎辊25之间时,通过一号电动滑块270带动与其所连的一号轴22、二号轴23向左运动相应距离,向左运动的一号轴22和二号轴23带动各自所连的破碎辊25同步运动,以此调节单排破碎辊25之间的距离,然后通过电机20使破碎辊25转动,通过气缸290推动竖直板29做左右往复运动,竖直板29推动支杆28同步运动,竖板27带动连接板26随支杆28同步运动,连接板26带动与其所连的一号轴22和二号轴23同步运动,左右往复运动的一号轴22和二号轴23带动各自所连的破碎辊25同步运动,左右排布的破碎辊25之间对大体积物料进行挤压破碎。
参阅图1和图6,所述的竖直板29的中心开设有连接通孔,连接通孔内安装有连接管292,连接管292的左端安装有吸除板293,吸除板293位于机箱1的内部,连接管292的左端安装有软管294,软管294位于机箱1的外部,软管294远离连接管292的一端与除尘机295相连,除尘机295位于气缸290的前侧,除尘机295的上端安装有固定座296,固定座296的左端与机箱1右端的外表面相连,在破碎辊25对物料进行挤压破碎期间,除尘机295同步工作,对物料粉碎过程中产生的粉尘或微小碎粒进行吸除,进而避免了大量粉尘外溢而造成工作环境污染的状况,降低了粉尘积附于其他结构上而影响结构运行的几率。
参阅图3、图4和图5,所述的机箱1内部前后对称布置有隔板10,隔板10位于机箱1内,破碎辊25位于隔板10之间,隔板10可对破碎后的物料起到隔挡与导向的作用,进而以此达到物料集中落向出料通槽的目的。
参阅图3、图4、图5和图7,所述的出料通槽的前后内侧壁对称安装有二号电动滑块11,二号电动滑块11之间通过销轴转动连接有筛板12,筛板12的右端前后对称安装有弹簧伸缩杆13,弹簧伸缩杆13远离筛板12的一端与出料通槽的侧壁之间滑动连接,通过二号电动滑块11带动筛板12做左右往复运动,弹簧伸缩杆13随筛板12同步运动,左右往复运动的筛板12可对破碎的物料起到筛分的作用,通过人工方式使弹簧伸缩杆13收缩至最大程度,此时弹簧伸缩杆13与出料通槽的侧壁相离,然后向下转动筛板12以对筛分出的不合格物料碎块进行收集,后续再对这部分物料碎块进行再破碎处理。
参阅图3,所述的隔板10之间上下安装有两组平板14,平板14位于上下排布的破碎辊25之间,每组平板14设置有两个,平板14面对破碎辊25的侧端面从前往后等距离安装有清洁刷15,清洁刷15远离平板14的一端与破碎辊25接触,破碎辊25转动期间,清洁刷15可对破碎辊25起到表面清洁的作用,进而实现了避免破碎辊25表面积附较多的物料碎粒的目的。
参阅图3,所述的机箱1的左端开设有矩形通槽,矩形通槽与吸除板293正相对,隔板10之间的距离小于矩形通槽前后内侧壁之间的距离,隔板10的左端为T型结构,隔板10的左端与机箱1的左端之间相卡接,通过人工方式向左抽动隔板10,平板14带动清洁刷15随隔板10同步运动,直至隔板10完全抽离机箱1,随后便可对清洁刷15进行清洁处理,总言之,隔板10与机箱1之间采取的卡接连接方式可便于定期对清洁刷15进行清洁处理,以保持清洁刷15对破碎辊25的清洁功能。
参阅图1、图3和图4,所述的矩形通槽的正左侧布置有回型板16,回型板16的中部安装有吸尘布17,回型板16放置于安装板18上,安装板18卡接于机箱1左端,吸尘布17可对部分由矩形通槽溢出的粉尘进行吸除,进而降低工作环境中的粉尘含量,当吸尘布17表面积附较多的粉尘后,可通过人工方式将回型板16与吸尘布17整体直接取走,而后对吸尘布17进行清洗,清洗后的吸尘布17可重复利用。
参阅图5,所述的隔板10面对破碎辊25的侧端面通过魔术贴安装有纱布,纱布可起到一定的吸除粉尘的作用,进而利于降低机箱1内部的粉尘含量。
对辊式破碎机进行工作时,第一步:破碎,通过人工方式将已有的接料器具置于出料通槽的下方,物料由进料口进入机箱1内部,同时通过电机20和皮带24之间配合带动所有的一号轴22和二号轴23同步转动,破碎辊25随之同步转动,左右排布的破碎辊25之间做同步相向转动,且与此同时通过气缸290推动竖直板29做左右往复运动,竖直板29推动支杆28同步运动,竖板27带动连接板26随支杆28同步运动,连接板26带动与其所连的一号轴22和二号轴23同步运动,左右往复运动的一号轴22和二号轴23带动各自所连的破碎辊25同步运动,左右排布的破碎辊25之间对物料进行挤压破碎。
第二步:调整,原始状态下左右排布的破碎辊25之间的距离有限,当有大体积物料卡于破碎辊25之间时,通过一号电动滑块270带动与其所连的一号轴22、二号轴23向左运动相应距离,向左运动的一号轴22和二号轴23带动各自所连的破碎辊25同步运动,以此调节单排破碎辊25之间的距离,然后按照上述物料的破碎操作对大体积物料进行挤压破碎。
第三步:除尘,在破碎辊25对物料进行挤压破碎期间,除尘机295同步工作,对物料粉碎过程中产生的粉尘或微小碎粒进行吸除。
第四步:筛分,通过二号电动滑块11带动筛板12做左右往复运动,弹簧伸缩杆13随筛板12同步运动,左右往复运动的筛板12可对破碎的物料进行筛分,进行筛分的物料碎块自由落于接料器具内。
第五步:余料处理,通过人工方式使弹簧伸缩杆13收缩至最大程度,此时弹簧伸缩杆13与出料通槽的侧壁相离,然后向下转动筛板12以对筛分出的不合格物料碎块进行收集,后续再对这部分物料碎块进行再破碎处理。
尽管已经示出和描述了本发明的实施例,对于本领域的普通技术人员而言,可以理解在不脱离本发明的原理和精神的情况下可以对这些实施例进行多种变化、修改、替换和变型,本发明的范围由所附权利要求及其等同物限定。

Claims (4)

1.一种对辊式破碎机,包括机箱(1)和破碎机构(2),其特征在于:所述的机箱(1)置于地面上,机箱(1)的上端面左端为进料口,机箱(1)的下端开设有出料通槽,机箱(1)的上端设置有破碎机构(2);
所述的破碎机构(2)包括电机(20)、座板(21)、一号轴(22)、二号轴(23)、皮带(24)、破碎辊(25)、连接板(26)、竖板(27)、支杆(28)、竖直板(29)、气缸(290)和底座(291),电机(20)左右对称布置于机箱(1)的后侧,电机(20)的下端安装有座板(21),电机(20)的输出轴端安装有一号轴(22),一号轴(22)下方布置有二号轴(23),一号轴(22)之间的间距大于二号轴(23)之间的间距,一号轴(22)与其下方的二号轴(23)之间连接有皮带(24),一号轴(22)和二号轴(23)上均套装有破碎辊(25),皮带(24)位于破碎辊(25)的后侧,皮带(24)和破碎辊(25)均位于机箱(1)内部,机箱(1)右端的一号轴(22)和二号轴(23)的前后两端均转动安装在连接板(26)上,连接板(26)位于皮带(24)的前侧,前后正相对的连接板(26)的右端之间连接有竖板(27),竖板(27)滑动安装于机箱(1)的前后两端之间,竖板(27)的右端从前往后等距离安装有支杆(28),支杆(28)的右端共同连接于竖直板(29)的左端面,竖直板(29)的右端与气缸(290)的推动端相连,通过气缸(290)推动竖直板(29)做左右往复运动,气缸(290)的推动端与机箱(1)的右端之间滑动连接,气缸(290)的下端安装有底座(291),底座(291)的左端面与机箱(1)右端的外表面相连;
所述的竖直板(29)的中心开设有连接通孔,连接通孔内安装有连接管(292),连接管(292)的左端安装有吸除板(293),吸除板(293)位于机箱(1)的内部,连接管(292)的左端安装有软管(294),软管(294)位于机箱(1)的外部,软管(294)远离连接管(292)的一端与除尘机(295)相连,除尘机(295)位于气缸(290)的前侧,除尘机(295)的上端安装有固定座(296),固定座(296)的左端与机箱(1)右端的外表面相连;
所述的出料通槽的前后内侧壁对称安装有二号电动滑块(11),二号电动滑块(11)之间通过销轴转动连接有筛板(12),筛板(12)的右端前后对称安装有弹簧伸缩杆(13),弹簧伸缩杆(13)远离筛板(12)的一端与出料通槽的侧壁之间滑动连接;
所述的竖板(27)的正左侧前后对称布置有一号电动滑块(270),一号电动滑块(270)安装于机箱(1)的侧壁上,机箱(1)左端的一号轴(22)、二号轴(23)与其位置对应的一号电动滑块(270)之间转动连接,机箱(1)左端的座板(21)的前端与机箱(1)的侧端之间滑动连接;
所述的机箱(1)内部前后对称布置有隔板(10),隔板(10)位于机箱(1)内,破碎辊(25)位于隔板(10)之间;
所述的隔板(10)之间上下安装有两组平板(14),平板(14)位于上下排布的破碎辊(25)之间,每组平板(14)设置有两个,平板(14)面对破碎辊(25)的侧端面从前往后等距离安装有清洁刷(15),清洁刷(15)远离平板(14)的一端与破碎辊(25)的接触。
2.根据权利要求1所述的一种对辊式破碎机,其特征在于:所述的机箱(1)的左端开设有矩形通槽,矩形通槽与吸除板(293)正相对,隔板(10)之间的距离小于矩形通槽前后内侧壁之间的距离,隔板(10)的左端为T型结构,隔板(10)的左端与机箱(1)的左端之间相卡接。
3.根据权利要求2所述的一种对辊式破碎机,其特征在于:所述的矩形通槽的正左侧布置有回型板(16),回型板(16)的中部安装有吸尘布(17),回型板(16)放置于安装板(18)上,安装板(18)卡接于机箱(1)左端。
4.根据权利要求1所述的一种对辊式破碎机,其特征在于:所述的隔板(10)面对破碎辊(25)的侧端面通过魔术贴安装有纱布。
CN202110964921.XA 2021-08-23 2021-08-23 一种对辊式破碎机 Active CN113413960B (zh)

Priority Applications (1)

Application Number Priority Date Filing Date Title
CN202110964921.XA CN113413960B (zh) 2021-08-23 2021-08-23 一种对辊式破碎机

Applications Claiming Priority (1)

Application Number Priority Date Filing Date Title
CN202110964921.XA CN113413960B (zh) 2021-08-23 2021-08-23 一种对辊式破碎机

Publications (2)

Publication Number Publication Date
CN113413960A CN113413960A (zh) 2021-09-21
CN113413960B true CN113413960B (zh) 2021-11-09

Family

ID=77719140

Family Applications (1)

Application Number Title Priority Date Filing Date
CN202110964921.XA Active CN113413960B (zh) 2021-08-23 2021-08-23 一种对辊式破碎机

Country Status (1)

Country Link
CN (1) CN113413960B (zh)

Families Citing this family (5)

* Cited by examiner, † Cited by third party
Publication number Priority date Publication date Assignee Title
CN114904775A (zh) * 2022-04-07 2022-08-16 湖北昌达化工有限责任公司 一种新型磷矿筛选装置
CN115350748B (zh) * 2022-08-18 2023-07-25 安徽理工大学 一种水煤浆提浓装置
CN118080047A (zh) * 2024-04-15 2024-05-28 济宁山联建材有限公司 一种钙石破碎分选一体机及其使用方法
CN118357015B (zh) * 2024-05-20 2024-09-10 武汉杰斯特重工装备有限责任公司 一种差速曲面对辊破碎机
CN118218048B (zh) * 2024-05-21 2024-07-26 陕西银通橡胶工贸有限公司 一种橡胶破碎装置及其方法

Family Cites Families (7)

* Cited by examiner, † Cited by third party
Publication number Priority date Publication date Assignee Title
CN207238097U (zh) * 2017-09-08 2018-04-17 安徽康缘药业有限公司 一种粉碎程度可调的新型中草药粉碎机
CN211563092U (zh) * 2019-12-31 2020-09-25 天津冀东水泥有限公司 一种辊压机减震装置
CN211739835U (zh) * 2020-01-17 2020-10-23 灵武市海德鸿工业产品设计有限公司 一种高岭土生产用回转窑
CN213222340U (zh) * 2020-07-23 2021-05-18 肇庆南光材料技术有限公司 一种用于新材料加工的粉碎设备
CN111841742A (zh) * 2020-07-30 2020-10-30 合肥城鸥环保技术有限公司 物料前处理系统和具有该系统的餐厨垃圾处理设备
CN112206863B (zh) * 2020-09-07 2022-05-17 枣庄鑫金山智能装备有限公司 一种智能液压复合辊式破碎机
CN213440601U (zh) * 2020-09-10 2021-06-15 东北林业大学 一种硬质塑料瓶热熔回收制备装置

Also Published As

Publication number Publication date
CN113413960A (zh) 2021-09-21

Similar Documents

Publication Publication Date Title
CN113413960B (zh) 一种对辊式破碎机
CN112495803B (zh) 一种多孔活性炭净化剂制备方法
CN113578536A (zh) 一种矿山石料离心除尘设备及其使用方法
CN112934354A (zh) 一种土木工程建筑废料处理装置及其工作方法
CN215234586U (zh) 一种具有除杂的废铜破碎装置
CN110538792A (zh) 一种用于新材料生产的节能环保振动筛
CN116251650A (zh) 一种建筑渣土回收粉碎装置及其使用方法
CN118304995B (zh) 超细粉管磨机筛分装置
CN217190948U (zh) 一种淀粉加工用淀粉筛装置
CN112387579A (zh) 一种除尘筛片筛胶囊机
CN221108892U (zh) 一种粮食加工用除杂去石机
CN218902599U (zh) 一种水稻种子清筛装置
CN117798061A (zh) 一种土木工程用砂石分选机
CN213528837U (zh) 一种多级微粉用粉碎机
CN116766444A (zh) 一种塑胶加工用塑胶颗粒除杂装置
CN211937846U (zh) 一种土木工程用筛沙装置
CN209936018U (zh) 一种具有冷却水回收过滤结构的锯床
CN220048935U (zh) 一种重力谷糙筛
CN221208951U (zh) 一种茶叶筛渣装置
CN221387445U (zh) 一种大米杂质筛选机
CN223312449U (zh) 一种方便分级筛选的茶叶筛选设备
CN221558969U (zh) 一种大米杂质筛选机
CN221869233U (zh) 一种大米加工用振动筛糠装置
CN221475763U (zh) 一种塑胶跑道颗粒加工的筛分机构
CN218282654U (zh) 一种兽药颗粒生产用颗粒筛分装置

Legal Events

Date Code Title Description
PB01 Publication
PB01 Publication
SE01 Entry into force of request for substantive examination
SE01 Entry into force of request for substantive examination
GR01 Patent grant
GR01 Patent grant
TR01 Transfer of patent right
TR01 Transfer of patent right

Effective date of registration: 20251215

Address after: 311100 Zhejiang Province, Hangzhou City, Yuhang District, Cangqian Street, European and American Financial City, Building 5, Room 1409

Patentee after: Hangzhou Tongmu Technology Achievement Transformation Service Co.,Ltd.

Country or region after: China

Address before: 221200 qinzhuang group, Zhangjing village, Yaoji Town, Suining County, Xuzhou City, Jiangsu Province (west side of Siba Road)

Patentee before: XUZHOU HUACHAO MINE EQUIPMENT Co.,Ltd.

Country or region before: China

TR01 Transfer of patent right

Effective date of registration: 20260104

Address after: 471000 Henan Province, Luoyang City, Luo Long District, Kaiyuan Avenue No. 248, Building 1, Room 1918

Patentee after: Ruishi New Materials Technology Co.,Ltd.

Country or region after: China

Address before: 311100 Zhejiang Province, Hangzhou City, Yuhang District, Cangqian Street, European and American Financial City, Building 5, Room 1409

Patentee before: Hangzhou Tongmu Technology Achievement Transformation Service Co.,Ltd.

Country or region before: China