CN112921621A - Non-woven fabric cleaning device - Google Patents

Non-woven fabric cleaning device Download PDF

Info

Publication number
CN112921621A
CN112921621A CN202110394642.4A CN202110394642A CN112921621A CN 112921621 A CN112921621 A CN 112921621A CN 202110394642 A CN202110394642 A CN 202110394642A CN 112921621 A CN112921621 A CN 112921621A
Authority
CN
China
Prior art keywords
plates
fixedly connected
cleaning
woven fabric
block
Prior art date
Legal status (The legal status is an assumption and is not a legal conclusion. Google has not performed a legal analysis and makes no representation as to the accuracy of the status listed.)
Granted
Application number
CN202110394642.4A
Other languages
Chinese (zh)
Other versions
CN112921621B (en
Inventor
车亮
Current Assignee (The listed assignees may be inaccurate. Google has not performed a legal analysis and makes no representation or warranty as to the accuracy of the list.)
Ningxia Fengjiangfang Technology Development Co ltd
Original Assignee
Individual
Priority date (The priority date is an assumption and is not a legal conclusion. Google has not performed a legal analysis and makes no representation as to the accuracy of the date listed.)
Filing date
Publication date
Application filed by Individual filed Critical Individual
Priority to CN202110394642.4A priority Critical patent/CN112921621B/en
Publication of CN112921621A publication Critical patent/CN112921621A/en
Application granted granted Critical
Publication of CN112921621B publication Critical patent/CN112921621B/en
Expired - Fee Related legal-status Critical Current
Anticipated expiration legal-status Critical

Links

Images

Classifications

    • DTEXTILES; PAPER
    • D06TREATMENT OF TEXTILES OR THE LIKE; LAUNDERING; FLEXIBLE MATERIALS NOT OTHERWISE PROVIDED FOR
    • D06GMECHANICAL OR PRESSURE CLEANING OF CARPETS, RUGS, SACKS, HIDES, OR OTHER SKIN OR TEXTILE ARTICLES OR FABRICS; TURNING INSIDE-OUT FLEXIBLE TUBULAR OR OTHER HOLLOW ARTICLES
    • D06G1/00Beating, brushing, or otherwise mechanically cleaning or pressure cleaning carpets, rugs, sacks, hides, or other skin or textile articles or fabrics
    • YGENERAL TAGGING OF NEW TECHNOLOGICAL DEVELOPMENTS; GENERAL TAGGING OF CROSS-SECTIONAL TECHNOLOGIES SPANNING OVER SEVERAL SECTIONS OF THE IPC; TECHNICAL SUBJECTS COVERED BY FORMER USPC CROSS-REFERENCE ART COLLECTIONS [XRACs] AND DIGESTS
    • Y02TECHNOLOGIES OR APPLICATIONS FOR MITIGATION OR ADAPTATION AGAINST CLIMATE CHANGE
    • Y02WCLIMATE CHANGE MITIGATION TECHNOLOGIES RELATED TO WASTEWATER TREATMENT OR WASTE MANAGEMENT
    • Y02W30/00Technologies for solid waste management
    • Y02W30/50Reuse, recycling or recovery technologies
    • Y02W30/66Disintegrating fibre-containing textile articles to obtain fibres for re-use

Landscapes

  • Engineering & Computer Science (AREA)
  • Mechanical Engineering (AREA)
  • Textile Engineering (AREA)
  • Cleaning In General (AREA)
  • Nozzles For Electric Vacuum Cleaners (AREA)

Abstract

本发明涉及无纺布技术领域,具体为一种无纺布清理装置,包括两个第一支板,两个第一支板左右对称设置,两个第一支板上方均设有第二支板,其中一个第一支板外壁上部安装有控制器,控制器上设置有警报器,两个第一支板之间和两个第二支板之间均设置有清理机构,两个第一支板顶端通过固设的两个第一固定耳中间转动连接有两个输送辊,两个输送辊顶端均传动有无纺布本体,两个第一支板左侧设置有无纺布输送装置,两个第一支板右侧设置有无纺布收集装置;其能够对无纺布本体同一个位置进行多次清理,提高了清理的效果,便于对无纺布的两端进行清理,避免了人工进行清理,提高了清理的效率,提高了其使用的实用性。

Figure 202110394642

The invention relates to the technical field of non-woven fabrics, in particular to a non-woven fabric cleaning device. board, a controller is installed on the upper part of the outer wall of one first support board, an alarm is set on the controller, a cleaning mechanism is set between the two first support boards and between the two second support boards, and the two first support boards are provided with a cleaning mechanism. The top of the support plate is rotatably connected with two conveying rollers through the middle of the two fixed first fixing ears. The tops of the two conveying rollers are both driven with a non-woven fabric body. The left side of the two first support plates is provided with a non-woven fabric conveying device. , the right side of the two first support plates is provided with a non-woven fabric collection device; it can clean the same position of the non-woven fabric body multiple times, which improves the cleaning effect and facilitates the cleaning of both ends of the non-woven fabric, avoiding the need for The manual cleaning is improved, the cleaning efficiency is improved, and the practicability of its use is improved.

Figure 202110394642

Description

Non-woven fabric cleaning device
Technical Field
The invention relates to the technical field of non-woven fabrics, in particular to a non-woven fabric cleaning device.
Background
Nonwoven fabrics, also known as nonwovens, are composed of oriented or random fibers. It is called a cloth because of its appearance and certain properties. The non-woven fabric has the characteristics of moisture resistance, air permeability, flexibility, light weight, no combustion supporting, easy decomposition, no toxicity or irritation, rich color, low price, recycling and the like, and the surface of the non-woven fabric can adsorb impurities such as dust and the like after the non-woven fabric is manufactured.
Through retrieval, the utility model with the Chinese patent number of CN201920528385.7 discloses a cleaning device for non-woven fabric surface adsorbates, which comprises a workbench, wherein the bottom end of the workbench is provided with a supporting leg, stabilizing frames are arranged on both sides of the workbench, and cloth rollers are movably arranged on the stabilizing frames; when the cleaning device is used, dust on the non-woven fabric is conveniently cleaned, the working efficiency and the cleaning effect are improved, and the cleaning device is convenient to use.
The above prior art solutions still have the following drawbacks: its rotation through cleaning roller and rotation gyro wheel makes the clearance brush hair clear up the surface of non-woven fabrics, and the cleaning roller is less with the area of clearance brush hair and non-woven fabrics contact, and the time of clearance is shorter to the effect that leads to the clearance is relatively poor, and it is not convenient for clear up the both ends of non-woven fabrics simultaneously, needs the manual work to clear up, has increased people's work load, has reduced the efficiency of clearance, has reduced the practicality of its use.
Disclosure of Invention
Technical problem to be solved
Aiming at the defects of the prior art, the invention provides the non-woven fabric cleaning device which can clean the same position of the non-woven fabric body for multiple times, improves the cleaning effect, is convenient for cleaning the two ends of the non-woven fabric, avoids manual cleaning, improves the cleaning efficiency and improves the practicability of the use.
(II) technical scheme
In order to achieve the purpose, the invention provides the following technical scheme: a non-woven fabric cleaning device comprises two first support plates, wherein the two first support plates are symmetrically arranged left and right, second support plates are arranged above the two first support plates, a controller is arranged on the upper portion of the outer wall of one of the first support plates, an alarm is arranged on the controller, cleaning mechanisms are arranged between the two first support plates and between the two second support plates, the top ends of the two first support plates are connected with two conveying rollers through the middle of two fixed first fixing lugs in a rotating mode, non-woven fabric bodies are respectively transmitted to the top ends of the two conveying rollers, a non-woven fabric conveying device is arranged on the left side of each first support plate, a non-woven fabric collecting device is arranged on the right side of each first support plate, a rotating sensor is arranged on a rotating shaft at one end of each non-woven fabric collecting device and connected with the controller, and a connecting plate is fixedly connected to the top ends of the two first support plates, the two connecting plates are positioned inside the four second support plates, the two connecting plates are positioned outside the four first fixing lugs, one ends, opposite to the two connecting plates, are provided with first convex grooves, the insides of the two first convex grooves are provided with first convex blocks in a sliding manner, the insides of the two first convex blocks are connected with first screw rods in a threaded manner, the left ends and the right ends of the two first screw rods are respectively and rotatably connected with the left ends and the right ends of the two first convex grooves, one ends of the two connecting plates are respectively provided with a first motor, the output ends of the two first motors are respectively and fixedly connected with one ends of the two first screw rods, one ends, opposite to the two first convex blocks, are respectively and fixedly connected with a clamping mechanism, and the alarm and the first motor are both connected with a controller;
the clamping mechanism comprises two second electric cylinders, one ends of the two second electric cylinders, which are far away from the two first convex blocks, are fixedly connected with fixed plates, the bottom sides of the two fixed plates, which are far away from the ends of the two second electric cylinders, are fixedly connected with first clamping plates, the top ends of the two first clamping plates are fixedly connected with two second fixing lugs, the middle parts of the two second fixing lugs are rotatably connected with second clamping plates, the first clamping plates and the second clamping plates are in clearance fit, the top ends of the two first clamping plates, which are positioned on one sides of the second fixing lugs, which are close to the fixed plates, are fixedly connected with third electric cylinders, the top ends of the two third electric cylinders are respectively contacted with the bottom ends of the two second clamping plates, one sides of the top ends of the two first clamping plates, which are close to the fixed plates, are fixedly connected with extension springs, and the top ends of the two extension springs are respectively fixedly connected, the second electric cylinder and the third electric cylinder are both connected with the controller;
the cleaning mechanism comprises an adjusting block and a cleaning block, a second round groove which penetrates through the left and the right is formed in the middle of the adjusting block, a bidirectional screw rod is arranged in the middle of the inside of the second round groove in a sliding mode, a sliding block is connected to the outer side of the bidirectional screw rod in a matched mode, the sliding block is installed in the adjusting block in an embedded mode, rotating shafts are fixedly connected to the left end and the right end of the bidirectional screw rod, one end of each rotating shaft extends to one side of the corresponding side of the first support plate and the corresponding side of the second support plate and is fixedly connected with an output shaft of a second motor, the second motor is fixedly installed on the outer sides of the first support plate and the second support plate and is connected with a controller, a sliding cavity is formed in the cleaning block, the adjusting block is in sliding fit with the sliding cavity, a plurality of second screw rods are connected to one end, far away from the non-woven fabric body, of the second screw rods extend to the inside of the sliding, the cleaning block is provided with a plurality of second convex grooves penetrating through the front end of the cleaning block at one end close to the non-woven fabric body, a second convex block is arranged inside each second convex groove in a sliding mode, a cleaning plate is fixedly connected at one end, close to the non-woven fabric body, of each second convex block, bristles are installed at one end, far away from the second convex block, of each cleaning plate, and one end, far away from the cleaning plate, of each bristle is in contact with the non-woven fabric body.
Preferably, one side that the inside of clearance piece is close to the non-woven fabrics body is provided with the cavity, the top of clearance piece evenly is connected with a plurality of dust absorption pipes with the inside switch-on of cavity, the right-hand member of clearance piece is connected with the connecting pipe with the inside switch-on of cavity.
Preferably, each the front side of the inside of second protruding type piece is provided with the spout, the inside left side of spout and rear side all slide and are provided with the slide, two the middle fixedly connected with compression spring of slide, two the slide is kept away from the equal fixedly connected with card post of compression spring's one end, the left end and the right-hand member of second protruding type groove all are provided with the draw-in groove, card post and draw-in groove looks adaptation, each the left side and the rear side of the front end of second protruding type piece all are provided with the bar groove that extends to the spout inside, two the inside in bar groove all slides and is provided with the push pedal, two the rear end of push pedal respectively with the front end fixed connection of two slides.
Preferably, the front side and the rear side of the inside of the adjusting block are provided with first circular grooves which penetrate left and right, and the insides of the two first circular grooves are provided with sliding rods in a sliding manner.
Preferably, one end of each second screw rod, which is far away from the adjusting block, is fixedly connected with a rotating handle.
The front side and the rear side of the top ends of the two first support plates are fixedly connected with first electric cylinders, the four first electric cylinders are fixedly connected with two second support plates, the top ends of the two second support plates are fixedly connected with top plates, and the first electric cylinders are connected with a controller.
Preferably, the bottom of first splint is located the upside on the top of conveying roller, proximity sensor is installed to one side that clearance mechanism was kept away from to first splint, installs the response piece at the other end of non-woven fabrics body, proximity sensor is connected with the controller.
Preferably, the height of the fixing plate is smaller than the distance between the cleaning plates on the two cleaning mechanisms.
Preferably, the top end of the first clamping plate and the bottom end of the second clamping plate are fixedly connected with anti-slip pads.
(III) advantageous effects
Compared with the prior art, the invention provides a non-woven fabric cleaning device which has the following beneficial effects:
1. this non-woven fabrics cleaning device, promote through two electronic jars of second and make the distance between two first splint reduce, carry out the centre gripping in the outside of non-woven fabrics one end, promote the second splint through the third electronic jar and rotate, make first splint and second splint press from both sides tight fixedly to the one end of non-woven fabrics, it rotates to drive first screw rod through two first motors, make two first protruding type pieces slide in the inside of two first protruding type grooves, thereby the one end that drives the non-woven fabrics removes to the right side, clear up the one end of non-woven fabrics through two clearance mechanisms simultaneously, cooperation rotary transducer, proximity sensor and controller, can make the automatic centre gripping of fixture and press from both sides the tight non-woven fabrics other end, thereby be convenient for clear up the both ends of non-woven fabrics, the manual work has been avoided clearing up, the efficiency of clearing up is improved, the practicality of its use is improved.
2. This non-woven fabrics cleaning device, it rotates to drive the pivot through two second motors, the pivot drives two-way lead screw and rotates, make two clearance mechanisms remove about in step, clear up the both ends face of non-woven fabrics through the brush hair, can clear up many times the same position of non-woven fabrics, and through controlling the clearance of two opposite directions, effectively improved the clearance effect to the non-woven fabrics, simultaneously through the dust extraction of connecting outside of tubes coupling, can suck away through the dust absorption pipe with impurities such as the dust that cleans down on the non-woven fabrics, the effect of clearance has further been improved.
3. This non-woven fabrics cleaning device changes through rotating and rotates the second screw rod, adjusts the distance between brush hair and the non-woven fabrics, can make the side contact of brush hair and non-woven fabrics, can make card post and draw-in groove separation through promoting the push pedal, is convenient for pull out the protruding type piece of second from the inside in the protruding type groove of second, is convenient for change the brush hair.
Drawings
FIG. 1 is a schematic structural view of the present invention;
FIG. 2 is a front view of two cleaning mechanisms of the present invention;
FIG. 3 is a schematic cross-sectional view of the left side of the web of the present invention at the rear;
FIG. 4 is a schematic left-side sectional view of an adjusting block according to the present invention;
FIG. 5 is an enlarged partial view of FIG. 1 at A according to the present invention;
FIG. 6 is an enlarged partial view of FIG. 1 at B according to the present invention;
fig. 7 is a partial enlarged structural view at C in fig. 2 according to the present invention.
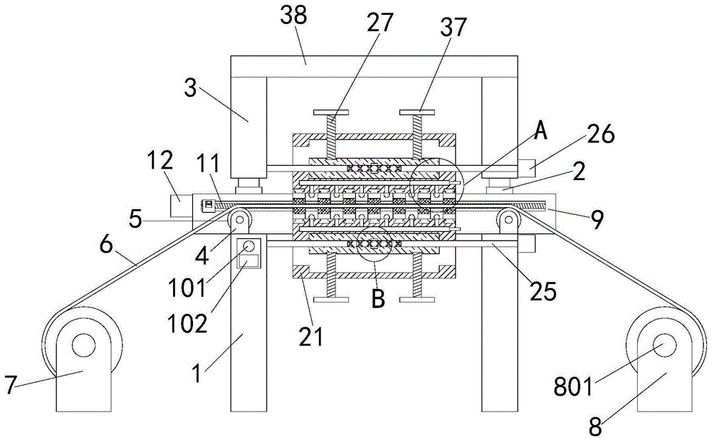
In the figure: 1. a first support plate; 101. a controller; 102. an alarm; 2. a first electric cylinder; 3. a second support plate; 4. a first fixing lug; 5. a conveying roller; 6. a non-woven fabric body; 7. a non-woven fabric conveying device; 8. a non-woven fabric collecting device; 801. a rotation sensor; 9. a connecting plate; 10. a first male block; 11. a first screw; 12. a first motor; 13. a second electric cylinder; 14. a fixing plate; 15. a first splint; 16. a second fixing lug; 17. a second splint; 18. a third electric cylinder; 19. an extension spring; 20. an adjusting block; 21. cleaning the block; 22. a slide bar; 23. a bidirectional lead screw; 24. a slider; 25. a rotating shaft; 26. a second motor; 27. a second screw; 28. a second male block; 29. cleaning the plate; 30. brushing; 31. a dust collection pipe; 32. a connecting pipe; 33. a slide plate; 34. a compression spring; 35. clamping the column; 36. pushing the plate; 37. turning a handle; 38. a top plate; 39. a non-slip mat; 40. a proximity sensor.
Detailed Description
The technical solutions in the embodiments of the present invention will be clearly and completely described below with reference to the drawings in the embodiments of the present invention, and it is obvious that the described embodiments are only a part of the embodiments of the present invention, and not all of the embodiments. All other embodiments, which can be derived by a person skilled in the art from the embodiments given herein without making any creative effort, shall fall within the protection scope of the present invention.
Examples
Referring to fig. 1-7, a non-woven fabric cleaning device comprises two first support plates 1, the two first support plates 1 are arranged in bilateral symmetry, second support plates 3 are arranged above the two first support plates 1, a controller 101 is arranged on the upper portion of the outer wall of one of the first support plates 1, an alarm 102 is arranged on the controller 101, cleaning mechanisms are arranged between the two first support plates 1 and between the two second support plates 3, the top ends of the two first support plates 1 are rotatably connected with two conveying rollers 5 through the middle of two fixed lugs 4, the top ends of the two conveying rollers 5 are respectively transmitted with a non-woven fabric body 6, a non-woven fabric conveying device 7 is arranged on the left side of each of the two first support plates 1, a non-woven fabric collecting device 8 is arranged on the right side of each of the two first support plates 1, a rotation sensor 801 is arranged on a rotation shaft at one end of the non-woven fabric collecting device 8, and, the top ends of the two first support plates 1 are fixedly connected with connecting plates 9, the two connecting plates 9 are positioned inside the four second support plates 3, the two connecting plates 9 are positioned outside the four first fixing lugs 4, one ends of the two connecting plates 9 opposite to each other are respectively provided with a first convex groove, the insides of the two first convex grooves are respectively provided with a first convex block 10 in a sliding manner, the insides of the two first convex blocks 10 are respectively in threaded connection with first screw rods 11, the left ends and the right ends of the two first screw rods 11 are respectively in rotating connection with the left ends and the right ends of the two first convex grooves, one ends of the two connecting plates 9 are respectively provided with first motors 12, the output ends of the two first motors 12 are respectively and fixedly connected with one ends of the two first screw rods 11, one ends of the two first convex blocks 10 opposite to each are fixedly connected with a clamping mechanism, the alarm 102 and the first motors 12 are both connected with the non-woven fabric controller 101, when the non-woven fabric body 6, the rolling resistance of the non-woven fabric collecting device 8 detected by the rotary sensor 801 is small, the rotary sensor 801 is used for monitoring the cleaning progress of the non-woven fabric body 6, and after cleaning is completed, the alarm 102 works to remind workers to replace the non-woven fabric body 6 to be cleaned;
the clamping mechanism comprises two second electric cylinders 13, wherein one ends of the two second electric cylinders 13, which are far away from the two first convex blocks 10, are fixedly connected with fixing plates 14, the bottom sides of the two fixing plates 14, which are far away from one ends of the two second electric cylinders 13, are fixedly connected with first clamping plates 15, the top ends of the two first clamping plates 15 are fixedly connected with two second fixing lugs 16, the middle parts of the two second fixing lugs 16 are rotatably connected with second clamping plates 17, the first clamping plates 15 and the second clamping plates 17 are in clearance fit, the top ends of the two first clamping plates 15, which are positioned on one sides of the second fixing lugs 16, which are close to the fixing plates 14, are fixedly connected with third electric cylinders 18, the top ends of the two third electric cylinders 18 are respectively contacted with the bottom ends of the two second clamping plates 17, one sides of the top ends of the two first clamping plates 15, which are close to the fixing plates 14, are respectively and fixedly connected with extension springs 19, and the top, the second electric cylinder 13 and the third electric cylinder 18 are both connected with the controller 101, the distance between the two first clamping plates 15 is reduced by the pushing of the two second electric cylinders 13, the outer side of one end of the non-woven fabric body 6 is clamped, the second clamping plate 17 is pushed to rotate by the third electric cylinder 18, the first clamping plates 15 and the second clamping plates 17 clamp and fix one end of the non-woven fabric body 6, the two first motors 12 drive the first screw rods 11 to rotate, the two first convex blocks 10 slide inside the two first convex grooves, so that one end of the non-woven fabric body 6 is driven to move towards the right side, and meanwhile, one end of the non-woven fabric body 6 is cleaned by the two cleaning mechanisms, so that the two ends of the non-woven fabric body 6 are cleaned conveniently, manual cleaning is avoided, the cleaning efficiency is improved, and the practicability of the cleaning is improved;
the cleaning mechanism comprises an adjusting block 20 and a cleaning block 21, a second circular groove which penetrates through the left and the right is arranged in the middle of the adjusting block 20, a bidirectional screw 23 is arranged in the middle of the inside of the second circular groove in a sliding manner, a slide block 24 is connected to the outer side of the bidirectional screw 23 in a matching manner, the slide block 24 is embedded and installed in the adjusting block 20, rotating shafts 25 are fixedly connected to the left end and the right end of the bidirectional screw 23, one end of each rotating shaft 25 extends to one corresponding side of the first support plate 1 and the second support plate 3 and is fixedly connected with an output shaft of a second motor 26, the second motor 26 is fixedly installed on the outer sides of the first support plate 1 and the second support plate 3, the second motor 26 is connected with the controller 101, a sliding cavity is arranged in the cleaning block 21, the adjusting block 20 is in a sliding fit with the sliding cavity, one end, far away from the non-woven fabric body 6, of the cleaning block 21 is in threaded connection with a plurality of second non-woven fabrics 27, one end, close, a plurality of second convex grooves penetrating to the front end of the cleaning block 21 are arranged at one end of the cleaning block 21 close to the non-woven fabric body 6, a second convex block 28 is arranged inside each second convex groove in a sliding manner, one end of each second convex block 28 close to the non-woven fabric body 6 is fixedly connected with a cleaning plate 29, one end of each cleaning plate 29 far away from the second convex block 28 is provided with bristles 30, one end of each bristle 30 far away from the cleaning plate 29 is contacted with the non-woven fabric body 6, two second motors 26 drive two rotating shafts 25 to rotate, the rotating shafts 25 drive two-way screw rods 23 to rotate, so that the two cleaning mechanisms move left and right synchronously, the two end faces of the non-woven fabric body 6 are cleaned by the brush bristles 30, the non-woven fabric body 6 can be cleaned for a plurality of times at the same position, and through the clearance of controlling two opposite directions, effectively improved the clearance effect to non-woven fabrics body 6.
Furthermore, a cavity is arranged on one side, close to the non-woven fabric body 6, of the inside of the cleaning block 21, a plurality of dust suction pipes 31 communicated with the inside of the cavity are uniformly connected to the top end of the cleaning block 21, a connecting pipe 32 communicated with the inside of the cavity is connected to the right end of the cleaning block 21, and a dust suction device is connected to the outside of the connecting pipe 32, so that impurities such as dust and the like cleaned off from the non-woven fabric body 6 can be sucked away through the dust suction pipes 31; a sliding groove is formed in the front side of the interior of each second convex block 28, sliding plates 33 are arranged on the left side and the rear side of the interior of each sliding groove in a sliding mode, a compression spring 34 is fixedly connected between the middles of the two sliding plates 33, clamping columns 35 are fixedly connected to the ends, far away from the compression spring 34, of the two sliding plates 33, clamping grooves are formed in the left end and the right end of each second convex groove, the clamping columns 35 are matched with the clamping grooves, strip-shaped grooves extending into the sliding grooves are formed in the left side and the rear side of the front end of each second convex block 28, pushing plates 36 are arranged in the two strip-shaped grooves in a sliding mode, the rear ends of the two pushing plates 36 are fixedly connected with the front ends of the two sliding plates 33 respectively, the clamping columns 35 can be separated from the clamping grooves by pushing the pushing of the pushing plates 36, the second convex blocks 28 can be conveniently pulled; the front side and the rear side of the inside of the adjusting block 20 are respectively provided with a first circular groove which penetrates through the left and the right, the insides of the two first circular grooves are respectively provided with a sliding rod 22 in a sliding manner, and the stability of the adjusting block 20 driven by the rotating shaft 25 to move left and right can be effectively improved through the sliding fit of the first circular grooves and the sliding rods 22; the one end that each second screw 27 kept away from regulating block 20 all fixedly connected with changes 37, is convenient for rotate second screw 27 through changeing 37, changes through rotating and rotates second screw 27, adjusts the distance between brush hair 30 and the non-woven fabrics body 6, can make brush hair 30 and the side contact of non-woven fabrics body 6.
Furthermore, the front side and the rear side of the top ends of the two first support plates 1 are fixedly connected with the first electric cylinders 2, the top ends of the four first electric cylinders 2 are fixedly connected with the two second support plates 3, the top ends of the two second support plates 3 are fixedly connected with the top plate 38, the first electric cylinders 2 are electrically connected with the controller 101, the two second support plates 3 are fixed through the top plate 38, and the height of the second support plates 3 can be adjusted through the first electric cylinders 2.
It should be noted that the bottom end of the first clamping plate 15 is located at the upper side of the top end of the conveying roller 5, the side of the first clamping plate 15 away from the cleaning mechanism is provided with the proximity sensor 40, the other end of the non-woven fabric body 6 is provided with the sensing piece, the proximity sensor 40 is connected with the controller 101, when the non-woven fabric body 6 is to be cleaned to the other end, because the friction force between the non-woven fabric body 6 and the non-woven fabric conveying device 7 is small, the rolling resistance of the non-woven fabric collecting device 8 detected by the rotation sensor 801 is small, the controller 101 controls the second electric cylinder 13 to push the first clamping plate 15 to clamp the non-woven fabric body 6 after receiving the signal of the rotation sensor 801, because the first clamping plate 15 and the second clamping plate 17 are in clearance fit, the non-woven fabric body 6 can still maintain transmission, when the proximity sensor 40 detects that the sensing piece is close, the controller 101 controls the third electric, the first nip plate 15 and the second nip plate 17 are used to clamp and fix the other end of the nonwoven fabric main body 6.
It should be noted that the height of the fixing plate 14 is smaller than the distance between the cleaning plates 29 on the two cleaning mechanisms, so that the first clamping plate 15 and the second clamping plate 17 can ensure that the non-woven fabric body 6 is clamped by the first clamping plate and the second clamping plate to move between the bristles 30; the equal fixedly connected with slipmat 39 in top of first splint 15 and the bottom of second splint 17 improves the steadiness that presss from both sides tightly to non-woven fabrics body 6.
In this embodiment, the models of the first motor 12, the second motor 26, the first electric cylinder 2, the second electric cylinder 13 and the third electric cylinder 18 are YVF2-63M1-4, Z2BLD25-24GN, LX1000-063, GRA-L36 and TGA-30, respectively, the first motor 12, the second motor 26, the first electric cylinder 2, the second electric cylinder 13 and the third electric cylinder 18 are all known devices directly purchased from the market, and herein we only use them, and do not improve their structures and functions, and we will not describe herein in detail, and the first motor 12, the second motor 26, the first electric cylinder 2, the second electric cylinder 13 and the third electric cylinder 18 are all provided with control switches matching with them, the installation positions of the control switches are selected according to actual use requirements, which is convenient for the operator to operate and control, the first motor 12 is a forward and reverse rotation motor, and for the forward and reverse rotation of the first motor 12, it is known from the patent publication CN109889124A that the forward and reverse rotation of the first motor 12 is well known and can be realized by those skilled in the art.
In conclusion, when the non-woven fabric cleaning device is used, firstly, the winding roller of the non-woven fabric body 6 is arranged on the non-woven fabric conveying device 7, the distance between the two first clamping plates 15 is reduced by pushing the two second electric cylinders 13, the outer side of one end of the non-woven fabric body 6 is clamped, the second clamping plate 17 is pushed to rotate by the third electric cylinder 18, the first clamping plates 15 and the second clamping plates 17 clamp and fix one end of the non-woven fabric body 6, the two first screws 11 are driven to rotate by the two first motors 12, the two first convex blocks 10 slide in the two first convex grooves, so that one end of the non-woven fabric body 6 is driven to move towards the right side, one end of the non-woven fabric body 6 is cleaned by the two cleaning mechanisms, then one end of the non-woven fabric body 6 is wound on the non-woven fabric collecting device 8, the second electric cylinders 13 and the third electric cylinders 18 are contracted, the first motor 12 rotates reversely to drive the clamping mechanism returning device to the left, the non-woven fabric body 6 is driven to rotate by the non-woven fabric conveying device 7 and the non-woven fabric collecting device 8, the two second motors 26 drive the two rotating shafts 25 to rotate simultaneously, the rotating shafts 25 drive the two-way screw 23 to rotate, so that the two cleaning mechanisms synchronously move left and right, the two end faces of the non-woven fabric body 6 are cleaned by the bristles 30, the non-woven fabric body 6 can be cleaned for multiple times at the same position, the cleaning effect on the non-woven fabric body 6 is effectively improved by cleaning in the left direction and the right direction, meanwhile, the dust collecting device is externally connected by the connecting pipe 32, impurities such as dust and the like cleaned off the non-woven fabric body 6 can be sucked away by the dust collecting pipe 31, when the non-woven fabric body 6 is about to be cleaned to the other, controller 101 receives and controls the electronic jar 13 of second and promote first splint 15 after the rotation sensor 801 signal, carry out the centre gripping to non-woven fabrics body 6, because be clearance fit between first splint 15 and the second splint 17, non-woven fabrics body 6 still can keep the transmission, when proximity sensor 40 detects the response piece and is close to, controller 101 receives and controls the electronic jar 18 of third and promote second splint 17 to rotate after the proximity sensor 40 signal, make first splint 15 and second splint 17 press from both sides tight fixedly to the other end of non-woven fabrics body 6, the other end that drives non-woven fabrics body 6 through two first motors 12 once more moves to the right side, accomplish the clearance through the other end of two clearance mechanisms to non-woven fabrics body 6 simultaneously.
Although embodiments of the present invention have been shown and described, it will be appreciated by those skilled in the art that changes, modifications, substitutions and alterations can be made in these embodiments without departing from the principles and spirit of the invention, the scope of which is defined in the appended claims and their equivalents.

Claims (9)

1. A non-woven fabric cleaning device comprises two first support plates (1), and is characterized in that: the two first support plates (1) are arranged in bilateral symmetry, a second support plate (3) is arranged above each of the two first support plates (1), a controller (101) is installed on the upper portion of the outer wall of one of the first support plates (1), an alarm (102) is arranged on the controller (101), a cleaning mechanism is arranged between each of the two first support plates (1) and between each of the two second support plates (3), two conveying rollers (5) are rotatably connected to the top ends of the two first support plates (1) through the middles of two first fixing lugs (4) which are fixedly arranged, a non-woven fabric body (6) is driven to the top ends of the two conveying rollers (5), a non-woven fabric conveying device (7) is arranged on the left side of each of the two first support plates (1), a non-woven fabric collecting device (8) is arranged on the right side of each of the two first support plates (1), and a rotary sensor (801) is arranged on one end rotary shaft of each non, the rotary sensor (801) is connected with a controller (101), the top ends of the two first support plates (1) are fixedly connected with connecting plates (9), the two connecting plates (9) are positioned inside the four second support plates (3), the two connecting plates (9) are positioned outside the four first fixing lugs (4), one ends of the two connecting plates (9) opposite to each other are respectively provided with a first convex groove, the insides of the two first convex grooves are respectively provided with a first convex block (10) in a sliding manner, the insides of the two first convex blocks (10) are respectively in threaded connection with first screw rods (11), the left end and the right end of each first screw rod (11) are respectively in rotating connection with the left end and the right end of each first convex groove, one end of each connecting plate (9) is provided with a first motor (12), the output ends of the two first motors (12) are respectively in fixed connection with one end of each first screw rod (11), the opposite ends of the two first convex blocks (10) are fixedly connected with clamping mechanisms, and the alarm (102) and the first motor (12) are connected with a controller (101);
the clamping mechanism comprises two second electric cylinders (13), one ends, far away from the two first convex blocks (10), of the two second electric cylinders (13) are fixedly connected with fixing plates (14), the bottom sides, far away from the ends of the two second electric cylinders (13), of the two fixing plates (14) are fixedly connected with first clamping plates (15), the top ends of the two first clamping plates (15) are fixedly connected with two second fixing lugs (16), the middle parts of the two second fixing lugs (16) are rotatably connected with second clamping plates (17), the first clamping plates (15) and the second clamping plates (17) are in clearance fit, the top ends of the two first clamping plates (15) are located on one sides, close to the fixing plates (14), of the second fixing lugs (16) and fixedly connected with third electric cylinders (18), the top ends of the two third electric cylinders (18) are respectively in contact with the bottom ends of the two second clamping plates (17), one sides, close to the fixing plate (14), of the top ends of the two first clamping plates (15) are fixedly connected with extension springs (19), the top ends of the two extension springs (19) are fixedly connected with the bottom ends of the two second clamping plates (17) respectively, and the second electric cylinder (13) and the third electric cylinder (18) are connected with a controller (101);
the cleaning mechanism comprises an adjusting block (20) and a cleaning block (21), a second circular groove penetrating left and right is formed in the middle of the adjusting block (20), a bidirectional lead screw (23) is arranged in the middle of the inside of the second circular groove in a sliding mode, a sliding block (24) is connected to the outer side of the bidirectional lead screw (23) in a matching mode, the sliding block (24) is installed in the adjusting block (20) in an embedded mode, rotating shafts (25) are fixedly connected to the left end and the right end of the bidirectional lead screw (23), one end of each rotating shaft (25) extends to the corresponding side of the first support plate (1) and the second support plate (3) and is fixedly connected with an output shaft of a second motor (26), the second motor (26) is fixedly installed on the outer sides of the first support plate (1) and the second support plate (3), the second motor (26) is connected with a controller (101), a sliding cavity is formed in the inside of the cleaning block (21), the adjusting block (20) is in sliding fit with the sliding cavity, one end of the cleaning block (21) far away from the non-woven fabric body (6) is in threaded connection with a plurality of second screw rods (27), one end of the second screw rod (27) close to the non-woven fabric body (6) extends into the sliding cavity and is rotationally connected with the side end of the adjusting block (20), one end of each cleaning block (21) close to the non-woven fabric body (6) is provided with a plurality of second convex grooves penetrating through the front end of the cleaning block (21), each second convex groove is internally provided with a second convex block (28) in a sliding manner, one end of each second convex block (28) close to the non-woven fabric body (6) is fixedly connected with a cleaning plate (29), one end of each cleaning plate (29) far away from the second convex block (28) is provided with bristles (30), and one end of each bristle (30) far away from the cleaning plate (29) is contacted with the non-woven fabric body (6).
2. A nonwoven fabric cleaning apparatus according to claim 1, characterised in that: the inside one side that is close to non-woven fabrics body (6) of clearance piece (21) is provided with the cavity, the top of clearance piece (21) evenly is connected with a plurality of dust absorption pipes (31) with the inside switch-on of cavity, the right-hand member of clearance piece (21) is connected with connecting pipe (32) with the inside switch-on of cavity.
3. A nonwoven fabric cleaning apparatus according to claim 2, characterised in that: each the front side of the inside of second protruding type piece (28) is provided with the spout, the inside left side of spout all slides with the rear side and is provided with slide (33), two the middle fixedly connected with compression spring (34) of slide (33), two the equal fixedly connected with card post (35) of one end that compression spring (34) were kept away from in slide (33), the left end and the right-hand member in second protruding type groove all are provided with the draw-in groove, card post (35) and draw-in groove looks adaptation, each the left side and the rear side of the front end of second protruding type piece (28) all are provided with the bar groove that extends to the spout inside, two the inside in bar groove all slides and is provided with push pedal (36), two the rear end of push pedal (36) respectively with the front end fixed connection of two slides (33).
4. A nonwoven fabric cleaning apparatus according to claim 3, characterised in that: the front side and the rear side of the interior of the adjusting block (20) are provided with first circular grooves which are penetrated left and right, and the interior of the two first circular grooves is provided with a sliding rod (22) in a sliding manner.
5. A nonwoven fabric cleaning apparatus according to claim 4, characterised in that: one end of each second screw rod (27) far away from the adjusting block (20) is fixedly connected with a rotating handle (37).
6. A nonwoven fabric cleaning apparatus according to claim 1, characterised in that: the front side and the rear side of the top ends of the two first support plates (1) are fixedly connected with first electric cylinders (2), the four first electric cylinders (2) are fixedly connected with two second support plates (3), the top ends of the two second support plates (3) are fixedly connected with top plates (38), and the first electric cylinders (2) are connected with a controller (101).
7. A nonwoven fabric cleaning apparatus according to claim 1, characterised in that: the bottom of first splint (15) is located the upside on the top of conveying roller (5), proximity sensor (40) are installed to one side that clearance mechanism was kept away from in first splint (15), install the response piece at the other end of non-woven fabrics body (6), proximity sensor (40) are connected with controller (101).
8. The nonwoven fabric cleaning apparatus of claim 7, wherein: the height of the fixing plate (14) is smaller than the distance between the cleaning plates (29) on the two cleaning mechanisms.
9. A nonwoven fabric cleaning apparatus according to claim 8, characterised in that: the top end of the first clamping plate (15) and the bottom end of the second clamping plate (17) are fixedly connected with anti-slip pads (39).
CN202110394642.4A 2021-04-13 2021-04-13 A non-woven fabric cleaning device Expired - Fee Related CN112921621B (en)

Priority Applications (1)

Application Number Priority Date Filing Date Title
CN202110394642.4A CN112921621B (en) 2021-04-13 2021-04-13 A non-woven fabric cleaning device

Applications Claiming Priority (1)

Application Number Priority Date Filing Date Title
CN202110394642.4A CN112921621B (en) 2021-04-13 2021-04-13 A non-woven fabric cleaning device

Publications (2)

Publication Number Publication Date
CN112921621A true CN112921621A (en) 2021-06-08
CN112921621B CN112921621B (en) 2023-05-09

Family

ID=76174353

Family Applications (1)

Application Number Title Priority Date Filing Date
CN202110394642.4A Expired - Fee Related CN112921621B (en) 2021-04-13 2021-04-13 A non-woven fabric cleaning device

Country Status (1)

Country Link
CN (1) CN112921621B (en)

Cited By (1)

* Cited by examiner, † Cited by third party
Publication number Priority date Publication date Assignee Title
CN113680726A (en) * 2021-08-20 2021-11-23 杭州伊美源实业有限公司 Surface fabric surface cleaning device

Citations (24)

* Cited by examiner, † Cited by third party
Publication number Priority date Publication date Assignee Title
US4226641A (en) * 1978-02-21 1980-10-07 Bode Sr Howard E Mat or rug cleaning process using roller brush
GB1589565A (en) * 1977-07-07 1981-05-13 Vertex Eng Ltd Apparatus for cleaning fabrics
US20020109366A1 (en) * 2001-02-09 2002-08-15 Lars-Ingvar Nordstrom Clamp device for a tarpaulin handling machine
CN104173017A (en) * 2014-08-15 2014-12-03 无锡市彩云机械设备有限公司 Clothing clamping automatic proceeding brushing machine
US20160375468A1 (en) * 2015-06-24 2016-12-29 Michael Joseph Perrier Self-serve cleaning device
CN108677444A (en) * 2018-06-21 2018-10-19 胡梦婷 A kind of automatic shearing device of textile fabric and its cropping processing technology
CN108914470A (en) * 2018-09-17 2018-11-30 浙江红绿蓝纺织印染有限公司 A kind of weaving sanding device with dust removing effects
CN208250497U (en) * 2018-05-14 2018-12-18 福建金磊纺织有限公司 A kind of supporting arrangement of the main cotton carding roller of carding machine
CN110667098A (en) * 2019-09-30 2020-01-10 山东沃丰新材料有限公司 Color aluminum plate film laminating equipment and process
CN210151449U (en) * 2019-04-18 2020-03-17 邓州市龙泰无纺布科技有限公司 Non-woven fabrics surface adsorbate cleaning device
CN210215734U (en) * 2019-06-10 2020-03-31 吴江市惠风织造有限公司 High-precision textile machine
KR102095880B1 (en) * 2018-11-27 2020-04-01 주식회사 제철 Automation apparatus of floor hinge cleaning and bearing pressing
CN210497351U (en) * 2019-06-10 2020-05-12 李骁 Rod iron descaling machine that facilitates use
CN111282920A (en) * 2020-02-27 2020-06-16 李洁洁 Clean device in textile fabric surface of environmental protection
CN211005985U (en) * 2019-11-01 2020-07-14 常熟市泽众针织整理有限公司 Cloth surface cleaning device for automatic setting machine
CN111648075A (en) * 2020-06-13 2020-09-11 章梦月 Textile fabric stretching mechanism
CN111691173A (en) * 2020-07-03 2020-09-22 杭州米娅纺织品有限公司 Brushing machine for non-woven fabric production
CN212199780U (en) * 2020-04-28 2020-12-22 江苏金梦新材料科技有限公司 Automatic detection cloth inspecting machine with dust removal function
CN212247592U (en) * 2020-04-08 2020-12-29 江西威骏科技股份有限公司 Dust collector is used in production of polypropylene non-woven fabrics
CN112173824A (en) * 2020-09-15 2021-01-05 于肖肖 Weaving cloth cuts coiling mechanism
US20210001380A1 (en) * 2019-07-05 2021-01-07 Sugino Machine Limited Cleaning apparatus and cleaning method
CN112320475A (en) * 2020-10-26 2021-02-05 应鑫磊 Yarn guide device with adjusting structure for spinning
CN112323441A (en) * 2020-11-17 2021-02-05 湖南康宝源科技实业有限公司 Cleaning device for functional fiber cotton cloth convenient to clean thread ends
CN112453989A (en) * 2020-11-25 2021-03-09 湖南九五精机有限责任公司 Numerical control horizontal boring and milling machine with scrap collecting function

Patent Citations (24)

* Cited by examiner, † Cited by third party
Publication number Priority date Publication date Assignee Title
GB1589565A (en) * 1977-07-07 1981-05-13 Vertex Eng Ltd Apparatus for cleaning fabrics
US4226641A (en) * 1978-02-21 1980-10-07 Bode Sr Howard E Mat or rug cleaning process using roller brush
US20020109366A1 (en) * 2001-02-09 2002-08-15 Lars-Ingvar Nordstrom Clamp device for a tarpaulin handling machine
CN104173017A (en) * 2014-08-15 2014-12-03 无锡市彩云机械设备有限公司 Clothing clamping automatic proceeding brushing machine
US20160375468A1 (en) * 2015-06-24 2016-12-29 Michael Joseph Perrier Self-serve cleaning device
CN208250497U (en) * 2018-05-14 2018-12-18 福建金磊纺织有限公司 A kind of supporting arrangement of the main cotton carding roller of carding machine
CN108677444A (en) * 2018-06-21 2018-10-19 胡梦婷 A kind of automatic shearing device of textile fabric and its cropping processing technology
CN108914470A (en) * 2018-09-17 2018-11-30 浙江红绿蓝纺织印染有限公司 A kind of weaving sanding device with dust removing effects
KR102095880B1 (en) * 2018-11-27 2020-04-01 주식회사 제철 Automation apparatus of floor hinge cleaning and bearing pressing
CN210151449U (en) * 2019-04-18 2020-03-17 邓州市龙泰无纺布科技有限公司 Non-woven fabrics surface adsorbate cleaning device
CN210497351U (en) * 2019-06-10 2020-05-12 李骁 Rod iron descaling machine that facilitates use
CN210215734U (en) * 2019-06-10 2020-03-31 吴江市惠风织造有限公司 High-precision textile machine
US20210001380A1 (en) * 2019-07-05 2021-01-07 Sugino Machine Limited Cleaning apparatus and cleaning method
CN110667098A (en) * 2019-09-30 2020-01-10 山东沃丰新材料有限公司 Color aluminum plate film laminating equipment and process
CN211005985U (en) * 2019-11-01 2020-07-14 常熟市泽众针织整理有限公司 Cloth surface cleaning device for automatic setting machine
CN111282920A (en) * 2020-02-27 2020-06-16 李洁洁 Clean device in textile fabric surface of environmental protection
CN212247592U (en) * 2020-04-08 2020-12-29 江西威骏科技股份有限公司 Dust collector is used in production of polypropylene non-woven fabrics
CN212199780U (en) * 2020-04-28 2020-12-22 江苏金梦新材料科技有限公司 Automatic detection cloth inspecting machine with dust removal function
CN111648075A (en) * 2020-06-13 2020-09-11 章梦月 Textile fabric stretching mechanism
CN111691173A (en) * 2020-07-03 2020-09-22 杭州米娅纺织品有限公司 Brushing machine for non-woven fabric production
CN112173824A (en) * 2020-09-15 2021-01-05 于肖肖 Weaving cloth cuts coiling mechanism
CN112320475A (en) * 2020-10-26 2021-02-05 应鑫磊 Yarn guide device with adjusting structure for spinning
CN112323441A (en) * 2020-11-17 2021-02-05 湖南康宝源科技实业有限公司 Cleaning device for functional fiber cotton cloth convenient to clean thread ends
CN112453989A (en) * 2020-11-25 2021-03-09 湖南九五精机有限责任公司 Numerical control horizontal boring and milling machine with scrap collecting function

Cited By (1)

* Cited by examiner, † Cited by third party
Publication number Priority date Publication date Assignee Title
CN113680726A (en) * 2021-08-20 2021-11-23 杭州伊美源实业有限公司 Surface fabric surface cleaning device

Also Published As

Publication number Publication date
CN112921621B (en) 2023-05-09

Similar Documents

Publication Publication Date Title
CN208892449U (en) A kind of floor cleaner and its sink structure
CN221199154U (en) Cloth detection platform
CN108560225B (en) A fabric fabric decontamination device
CN209363085U (en) It is a kind of for eliminating the device of clayey silt of flower-engraving roller
CN103431826A (en) Multidirectional-adjusting shoe-cleaning machine
CN112746496B (en) Cutting equipment of reel form non-woven fabrics
CN112921621A (en) Non-woven fabric cleaning device
CN211049239U (en) Mechanical arm structure convenient for wiping glass
CN204033228U (en) A kind of cylinder type cleaner being convenient to clean outside glass chamber
CN220898632U (en) Floor sweeper base station for roll-type automatic wet tissue replacement and floor sweeper
CN207270326U (en) A kind of Full automatic shoe cleaning device
CN213677526U (en) Medical isolation suit cloth compaction device
CN210438990U (en) Intelligent two-way quick cloth sanding device that has a hair
CN210031009U (en) A textile dust removal device
CN209529059U (en) A kind of drum mop
JP2002172873A (en) Book polishing apparatus
CN222100453U (en) A kind of clothing thread cleaning equipment
CN223534530U (en) A fabric fixing device
CN220887993U (en) Cloth spot cleaning device
CN222032236U (en) A handheld vacuum cleaner
CN223176463U (en) Cloth pressing structure for cloth cutting machine
CN221233278U (en) PVC decorative board stamp device
CN223663912U (en) A marble flatness testing device
CN222565696U (en) Sweeping and towing integrated robot for market
CN214168516U (en) Clothes brushing device

Legal Events

Date Code Title Description
PB01 Publication
PB01 Publication
SE01 Entry into force of request for substantive examination
SE01 Entry into force of request for substantive examination
TA01 Transfer of patent application right
TA01 Transfer of patent application right

Effective date of registration: 20230413

Address after: 751100 Manchun village, Shishi Town, Tongxin County, Wuzhong City, Ningxia Hui Autonomous Region

Applicant after: Ningxia fengjiangfang Technology Development Co.,Ltd.

Address before: 510000 No. 901, Huangpu Avenue West, Tianhe District, Guangzhou City, Guangdong Province

Applicant before: Che Liang

GR01 Patent grant
GR01 Patent grant
CF01 Termination of patent right due to non-payment of annual fee
CF01 Termination of patent right due to non-payment of annual fee

Granted publication date: 20230509