CN112901978B - Multi-angle adjusting device for shooting of electronic commerce products - Google Patents

Multi-angle adjusting device for shooting of electronic commerce products Download PDF

Info

Publication number
CN112901978B
CN112901978B CN202110072883.7A CN202110072883A CN112901978B CN 112901978 B CN112901978 B CN 112901978B CN 202110072883 A CN202110072883 A CN 202110072883A CN 112901978 B CN112901978 B CN 112901978B
Authority
CN
China
Prior art keywords
column
sleeve
fixedly connected
clamping
spring
Prior art date
Legal status (The legal status is an assumption and is not a legal conclusion. Google has not performed a legal analysis and makes no representation as to the accuracy of the status listed.)
Active
Application number
CN202110072883.7A
Other languages
Chinese (zh)
Other versions
CN112901978A (en
Inventor
张敏
Current Assignee (The listed assignees may be inaccurate. Google has not performed a legal analysis and makes no representation or warranty as to the accuracy of the list.)
Zibo Vocational Institute
Original Assignee
Zibo Vocational Institute
Priority date (The priority date is an assumption and is not a legal conclusion. Google has not performed a legal analysis and makes no representation as to the accuracy of the date listed.)
Filing date
Publication date
Application filed by Zibo Vocational Institute filed Critical Zibo Vocational Institute
Priority to CN202110072883.7A priority Critical patent/CN112901978B/en
Publication of CN112901978A publication Critical patent/CN112901978A/en
Application granted granted Critical
Publication of CN112901978B publication Critical patent/CN112901978B/en
Active legal-status Critical Current
Anticipated expiration legal-status Critical

Links

Images

Classifications

    • FMECHANICAL ENGINEERING; LIGHTING; HEATING; WEAPONS; BLASTING
    • F16ENGINEERING ELEMENTS AND UNITS; GENERAL MEASURES FOR PRODUCING AND MAINTAINING EFFECTIVE FUNCTIONING OF MACHINES OR INSTALLATIONS; THERMAL INSULATION IN GENERAL
    • F16MFRAMES, CASINGS OR BEDS OF ENGINES, MACHINES OR APPARATUS, NOT SPECIFIC TO ENGINES, MACHINES OR APPARATUS PROVIDED FOR ELSEWHERE; STANDS; SUPPORTS
    • F16M11/00Stands or trestles as supports for apparatus or articles placed thereon ; Stands for scientific apparatus such as gravitational force meters
    • F16M11/42Stands or trestles as supports for apparatus or articles placed thereon ; Stands for scientific apparatus such as gravitational force meters with arrangement for propelling the support stands on wheels
    • FMECHANICAL ENGINEERING; LIGHTING; HEATING; WEAPONS; BLASTING
    • F16ENGINEERING ELEMENTS AND UNITS; GENERAL MEASURES FOR PRODUCING AND MAINTAINING EFFECTIVE FUNCTIONING OF MACHINES OR INSTALLATIONS; THERMAL INSULATION IN GENERAL
    • F16MFRAMES, CASINGS OR BEDS OF ENGINES, MACHINES OR APPARATUS, NOT SPECIFIC TO ENGINES, MACHINES OR APPARATUS PROVIDED FOR ELSEWHERE; STANDS; SUPPORTS
    • F16M11/00Stands or trestles as supports for apparatus or articles placed thereon ; Stands for scientific apparatus such as gravitational force meters
    • F16M11/02Heads
    • F16M11/04Means for attachment of apparatus; Means allowing adjustment of the apparatus relatively to the stand
    • F16M11/043Allowing translations
    • FMECHANICAL ENGINEERING; LIGHTING; HEATING; WEAPONS; BLASTING
    • F16ENGINEERING ELEMENTS AND UNITS; GENERAL MEASURES FOR PRODUCING AND MAINTAINING EFFECTIVE FUNCTIONING OF MACHINES OR INSTALLATIONS; THERMAL INSULATION IN GENERAL
    • F16MFRAMES, CASINGS OR BEDS OF ENGINES, MACHINES OR APPARATUS, NOT SPECIFIC TO ENGINES, MACHINES OR APPARATUS PROVIDED FOR ELSEWHERE; STANDS; SUPPORTS
    • F16M11/00Stands or trestles as supports for apparatus or articles placed thereon ; Stands for scientific apparatus such as gravitational force meters
    • F16M11/02Heads
    • F16M11/04Means for attachment of apparatus; Means allowing adjustment of the apparatus relatively to the stand
    • F16M11/06Means for attachment of apparatus; Means allowing adjustment of the apparatus relatively to the stand allowing pivoting
    • F16M11/12Means for attachment of apparatus; Means allowing adjustment of the apparatus relatively to the stand allowing pivoting in more than one direction
    • FMECHANICAL ENGINEERING; LIGHTING; HEATING; WEAPONS; BLASTING
    • F16ENGINEERING ELEMENTS AND UNITS; GENERAL MEASURES FOR PRODUCING AND MAINTAINING EFFECTIVE FUNCTIONING OF MACHINES OR INSTALLATIONS; THERMAL INSULATION IN GENERAL
    • F16MFRAMES, CASINGS OR BEDS OF ENGINES, MACHINES OR APPARATUS, NOT SPECIFIC TO ENGINES, MACHINES OR APPARATUS PROVIDED FOR ELSEWHERE; STANDS; SUPPORTS
    • F16M11/00Stands or trestles as supports for apparatus or articles placed thereon ; Stands for scientific apparatus such as gravitational force meters
    • F16M11/02Heads
    • F16M11/18Heads with mechanism for moving the apparatus relatively to the stand
    • HELECTRICITY
    • H04ELECTRIC COMMUNICATION TECHNIQUE
    • H04NPICTORIAL COMMUNICATION, e.g. TELEVISION
    • H04N23/00Cameras or camera modules comprising electronic image sensors; Control thereof
    • H04N23/60Control of cameras or camera modules
    • H04N23/695Control of camera direction for changing a field of view, e.g. pan, tilt or based on tracking of objects

Landscapes

  • Engineering & Computer Science (AREA)
  • General Engineering & Computer Science (AREA)
  • Mechanical Engineering (AREA)
  • Multimedia (AREA)
  • Signal Processing (AREA)
  • Accessories Of Cameras (AREA)

Abstract

本发明公开了一种电子商务产品拍摄多角度调节装置,涉及电子商务技术领域,其包括放置板,所述放置板设置有两个,两个所述放置板相对面上分别固定连接有连接套以及移动板一端,所述连接套以及移动板相对端活动连接。该电子商务产品拍摄多角度调节装置,通过电机上设置的无线控制器控制、电机、辅助柱、辅助套、活动柱、活动套、收纳套、固定柱、活动块连槽一、连槽二、弹簧二、U形块、收纳筒、弹簧三、伸缩柱、异形孔、异形孔以及拉把二带动连接块前后移动,进而带动摄像机以用支撑架吊接电子商务产品为中心做正方形环绕轨迹运动,从而解决了现有相关的发明专利仍旧需要摄影师大动作移动装置达到无死角拍摄的问题。

Figure 202110072883

The invention discloses a multi-angle adjustment device for e-commerce product shooting, which relates to the technical field of e-commerce. and one end of the moving plate, the connecting sleeve and the opposite end of the moving plate are movably connected. This e-commerce product shooting multi-angle adjustment device is controlled by the wireless controller set on the motor. Spring 2, U-shaped block, storage cylinder, spring 3, telescopic column, special-shaped hole, special-shaped hole and pull handle 2 drive the connecting block to move forward and backward, and then drive the camera to make a square orbital movement centered on the e-commerce product hoisted by the support frame , so as to solve the problem that the existing related invention patents still require the photographer to move the device with large movements to achieve no dead angle shooting.

Figure 202110072883

Description

Multi-angle adjusting device for shooting of electronic commerce products
Technical Field
The invention relates to the technical field of electronic commerce, in particular to a multi-angle adjusting device for shooting of an electronic commerce product.
Background
Electronic commerce is a business activity which takes an information network technology as a means and takes commodity exchange as a center; it can also be understood that the transaction activities and related service activities performed in electronic transaction manner on the Internet (Internet), Intranet (Intranet) and Value Added Network (VAN) are the electronization, networking and informatization of each link of the traditional business activities.
Electronic commerce generally refers to a novel business operation mode in which a buyer and a seller can conduct various business activities in a wide variety of commercial and trade activities worldwide and under an open network environment of the internet, so as to realize online shopping of consumers, online transactions and online electronic payment among merchants, various business activities, transaction activities, financial activities and related comprehensive service activities, wherein the electronic commerce is a business activity conducted by using a microcomputer technology and a network communication technology, and various governments, scholars and business industry people give a plurality of different definitions according to the position of the government, the scholars and the business industry and the angle and degree of participation in the electronic commerce, and the electronic commerce is divided into: ABC, B2B, B2C, C2C, B2M, M2C, B2A (i.e., B2G), C2A (i.e., C2G), O2O e-commerce mode, and the like.
Meanwhile, the network marketing is also a product of electronic commerce, and for the network marketing, a network marketing scheme is required to be made before the network marketing scheme is made, so that the implementation of a plan is convenient, no matter what kind of plan is implemented, a photo of a product required to be sold is not left, the photo needs to be shot by a worker inevitably, the traditional shooting is that the worker adjusts the body position of the worker in the shooting process, a photographer often shoots a shot object from multiple angles, however, the time and the labor are consumed, the positioning needs to be carried out again when the angle is changed every time, the traditional invention is as special No. 202010462827.X, the camera is driven by a motor to shoot the shot object for multiple times at multiple angles of the same level, the labor is saved, the shot once can be shot after the shooting is carried out at the same distance, and the universality of functions can be ensured by switching the distance, however, although the problem of labor and time consumption in the shooting process of the photographer can be solved by such a method, the photographer is still required to move the device to shoot the dead angle of the back of the product in the shooting process, which still brings inconvenience to the photographer, and most of the related prior inventions do not have the function of being folded and taken conveniently, which further brings inconvenience to the use of the staff, so that a multi-angle adjusting device for shooting of electronic commerce products is provided to solve the problem.
Disclosure of Invention
Technical problem to be solved
Aiming at the defects of the prior art, the invention provides a multi-angle adjusting device for shooting of electronic commerce products, which solves the problems that in the traditional shooting process, a photographer often shoots a shooting object from multiple angles by adjusting the body position of the photographer through a worker, the shooting is time-consuming and labor-consuming, the shooting object needs to be repositioned every time the angle is changed, and the shooting of the photographer without dead angles is still required by a large-motion moving device of the photographer in the related invention patent.
(II) technical scheme
In order to achieve the above purposes, the technical scheme adopted by the invention is as follows: a multi-angle adjusting device for shooting of electronic commerce products comprises two placing plates, wherein opposite surfaces of the two placing plates are fixedly connected with a connecting sleeve and one end of a moving plate respectively, opposite ends of the connecting sleeve and the moving plate are movably connected, the right side of the connecting sleeve is correspondingly provided with a first connecting groove, the right side of the moving plate is correspondingly provided with a second connecting groove, the first connecting groove and the second connecting groove are correspondingly and movably connected with a connecting block, the right end of the connecting block is provided with a U-shaped block, the right end of the U-shaped block is fixedly connected with a fixed column, the right end of the fixed column is movably connected with a containing sleeve, the right end of the containing sleeve is fixedly connected with a first baffle plate, the containing cylinder is provided with a movable sleeve, the inner walls of the front side and the rear side of the movable sleeve are fixedly connected with movable blocks, the two movable blocks are correspondingly and slidably connected in the first connecting groove and the second connecting groove, the first connecting groove is provided with two ends which are respectively arranged at the front end and the rear end of the fixed column, the second connecting groove is provided with two ends which are respectively arranged on the front side wall and the rear side wall of the containing sleeve, a movable column is fixedly connected on the lower side surface of the movable sleeve, the lower end of the movable column is movably connected with an auxiliary sleeve, the auxiliary sleeve is movably connected on the auxiliary column, the left end of the auxiliary sleeve is movably connected with one end of a spring, the right end of the auxiliary column is fixedly connected with a baffle plate II, the other end of the spring is movably connected at the right end of an adjusting sleeve, the adjusting sleeve is arranged on the auxiliary column, the left end of the adjusting sleeve is provided with a rotating column, a movable hole is arranged on the rotating column, the movable hole is internally provided with an auxiliary sleeve, the rotating column is fixedly connected on the output shaft of the motor, the upper side surface of the rotating column is fixedly connected with a positioning frame, the front side surface of the positioning frame is provided with a first pulling handle, and the movable hole and the inner wall at the rear side of the adjusting cylinder are both fixedly connected with limiting blocks, two the stopper is equal swing joint in the spacing inslot, and the spacing groove is seted up on the auxiliary column trailing flank.
Preferably, a plurality of joint holes have evenly been seted up on the auxiliary column leading flank, and there are screw and joint post swing joint respectively in two that arbitrary are close to in a plurality of joint holes, screw front end swing joint has the inside screw groove, the inside screw groove is seted up on adjusting collar front side wall, joint post front end fixedly connected with locating lever, locating lever front end swing joint has five one ends of spring, five other end swing joint of spring are on locating rack trailing flank, joint post front end passes locating rack fixedly connected with and draws a first, draw a first for the setting of T shape.
Preferably, the standing groove has been seted up to the fixed column right-hand member, four one ends of fixedly connected with spring on the standing groove rear side inner wall, four other end fixed connection of spring are on the side is followed closely to the joint, the joint is followed closely the lower extreme and is passed the standing groove activity and condense in the constant head tank, the constant head tank is provided with a plurality ofly and evenly sets up on accomodating the cover downside.
Preferably, fixedly connected with support column on the side is sheathe in to the activity, support column upper end fixed connection is connected with the bearing inner race, and bearing inner race fixed connection is on taking photo plate, and bearing inner race and outer lane frictional force are great, the groove of sliding has been seted up on the photo plate on the side, two equal swing joint has the sliding block in the groove of sliding, two on the sliding block opposite face respectively fixedly connected with spring both ends, two equal fixedly connected with guard plate on the sliding block on the side.
Preferably, all seted up the joint pad groove on the guard plate opposite face, two equal swing joint in the joint pad inslot has the joint pad, two on swing joint has the camera front and back side respectively on the joint pad opposite face, two equal fixedly connected with back shaft on the joint pad looks back, two back shafts swing joint respectively on two guard plates.
Preferably, the rear side of the supporting shaft is fixedly connected with a power column, the power column is fixedly connected with a worm wheel, the worm wheel is in transmission connection with a worm, the worm is movably connected to the two fixing seats, the two fixing seats are fixedly connected to the rear side of the rear side protection plate, the upper end of the worm is fixedly connected with a rotating disc, the rotating disc is provided with a plurality of anti-skidding grooves, and the expansion spiral angle of the worm is smaller than the contact friction angle of the worm wheel and the worm.
Preferably, the connecting block right-hand member has been seted up the dysmorphism hole, the downthehole swing joint of dysmorphism has the dysmorphism piece, the flexible post of fixedly connected with on the dysmorphism piece side, flexible post swing joint is in the storage cylinder, storage cylinder fixed connection is on U-shaped piece downside inner wall, storage cylinder downside inner wall and flexible post looks remote site difference fixedly connected with spring are two ends from top to bottom, dysmorphism piece lower extreme passes U-shaped piece lower wall fixedly connected with pull handle two, pull handle two is the T shape setting, dysmorphism piece and dysmorphism hole are the setting of cross plum blossom
Preferably, two connecting seats are fixedly connected to the left side surface of the connecting sleeve, a hinge column is movably connected between the two connecting seats, the hinge column is arranged on the outer side surface between the two connecting columns and is fixedly connected with an adjusting plate, one end of an elastic spring is fixedly connected to the front side surface of the lower end of the adjusting plate, the other end of the elastic spring is fixedly connected to the left side surface of the connecting sleeve, a clamping column is fixedly connected to the rear end of the lower side surface of the adjusting plate, the right end of the clamping column penetrates through a matching groove and is movably connected with a clamping groove, the matching groove is formed in the left side surface of the connecting sleeve, the clamping grooves are provided with a plurality of clamping grooves and are uniformly formed in the left side surface of the movable plate, and the connecting position of the connecting sleeve and the movable plate is a neutral connecting structure,
preferably, the motor is two-way step motor setting, be provided with wireless control end, two in the motor place board downside looks remote site and all seted up and take the movable groove, two place the board downside and be the friction surface setting, place the board and be the coplanar setting with the motor downside.
A use method of a multi-angle adjusting device for shooting of electronic commerce products comprises the following steps:
a1, after the device is debugged, the electronic commerce product to be shot is hung on the electronic commerce product through the fixing frame, then the rotation of the motor can be controlled through the wireless controller arranged on the motor, the motor rotates to drive the auxiliary column to rotate, the auxiliary column rotates to drive the auxiliary sleeve to move on the auxiliary column, the auxiliary sleeve moves on the auxiliary column to drive the movable sleeve to move on the storage sleeve and the fixed column through the movable column, and in the moving process of the movable sleeve, the two movable blocks arranged in the movable sleeve move in the connecting groove I and the connecting groove II to ensure the moving stability of the movable sleeve on the storage sleeve and the fixed column, and in the moving process of the auxiliary sleeve, the auxiliary sleeve is matched with the movable sleeve through the spring II and the positioning adjusting sleeve, and in the moving process of the movable sleeve, the movable sleeve is matched with the movable sleeve through the U-shaped block, the storage cylinder, the spring III, the telescopic column, The special-shaped hole, the special-shaped hole and the pull handle drive the connecting block to move back and forth, and further drive the camera arranged on the photographic plate to move in a square surrounding way by using the support frame to hang and connect the electronic business product as the center through the support column fixedly connected with the movable sleeve, so as to drive the photographic plate to move in a square surrounding way, and further achieve the purpose of photographing the electronic business product in a surrounding way without dead angles, and when the vertical angle of the camera needs to be adjusted during photographing, the worm can be driven to rotate by the support of the two fixing seats through the rotating disc, the worm rotates to drive the worm wheel to rotate, the worm wheel rotates to drive the power column to rotate, the power column rotates to drive the support shaft on one side, the support shaft rotates to drive the corresponding clamping pad to rotate in the clamping pad groove, and further the camera, the other clamping pads and the corresponding support shafts are assisted to complete the vertical adjustment of the camera, meanwhile, the position stability of the camera after adjustment can be ensured through the self-locking function of the worm gear and the worm, when the left and right positions of the camera are required to be adjusted to be aligned with the electronic commerce product, the photographic plate can be rotated under the support of the support column and a large friction bearing arranged on the support column, so that the left and right angles of the camera aligned with the electronic commerce product can be adjusted, and the adjusted relative position can be fixed through the large friction bearing after adjustment;
2, when using the device, firstly moving the motor to a proper position, further placing the auxiliary post to a proper position, then twisting the screw out of the inner groove according to the size of the electronic commerce product to be shot, further pulling the screw out of the clamping hole, further moving the position of the adjusting sleeve on the auxiliary post, further adjusting the second spring to be tense or relaxed, simultaneously pulling the pulling handle to drive the clamping post to move towards the front side, moving the clamping post towards the front side to separate from the clamping hole by overcoming the elasticity of the fifth spring through the clamping post, further enlarging or reducing the length of the right side of the auxiliary post through the movable hole arranged in the rotating post, then pressing the clamping nail into the placing groove, then accommodating or releasing more fixed posts through the first baffle plate, then simultaneously pressing the adjusting plate, further enabling the adjusting plate to overcome the pressure spring and rotate under the support of the two connecting seats and the hinging post, the clamping columns are driven to be pulled out from the clamping grooves and the matching grooves, the movable plate is pulled out from the connecting cylinder or retracted, and therefore a user can conveniently adjust the device to a state that the size of an electronic commerce product needs to be shot, the device has good wide applicability, and in the using process of the device, the two placing plates and the position of the motor are placed to form triangular positioning, and the placing stability of the device is guaranteed;
3, when the camera needs to be replaced, the camera can be taken out from the two protection plates by the sliding groove arranged on the photographic plate and the two sliding blocks arranged in the sliding groove to overcome the spring fixedly connected between the two sliding blocks to drive the two protection plates to be away from each other, and when the camera needs to be replaced, the sliding groove arranged on the photographic plate and the two sliding blocks arranged in the sliding groove can overcome the spring fixedly connected between the two sliding blocks to drive the two protection plates to be close to or away from each other, so that the device is suitable for different cameras, and further has universality, when the device needs to be moved, the pull handle can be pulled to drive the two special-shaped blocks to be pulled out from the special-shaped hole, and when the pull handle is pulled out, the telescopic column can be driven to overcome the pulling force of the spring III to pull out the telescopic column from the containing barrel, then the fixed column and the containing cylinder are driven to rotate under the support of the connecting block through the U-shaped block, so that the auxiliary column, the fixed column and the containing cylinder are rotated to be in a state parallel to the connecting sleeve, then the pull handle II is released, the special-shaped block is retracted into the moving groove through the spring III, so that the containing positions are relatively fixed, then the motor can be placed on the lower side surface of the connecting cylinder through two workers, and the workers can conveniently move the device through the taking grooves formed in the two placing plates;
a4, when the motor damaged or the spring two damaged, then rotate out the screw from the inside race and stimulate simultaneously and draw a handle one, and then break away from joint post and screw and joint hole, then can follow the auxiliary column with motor and adjusting collar and take off, later can change motor and spring two to still can set up the electronic commerce product that makes things convenient for the photographer to shoot different angles through the step motor of motor self in the device use.
(III) advantageous effects
The invention has the beneficial effects that:
1. the multi-angle adjusting device for shooting the electronic commerce product comprises an electronic commerce product to be shot, a fixing frame, a wireless controller, a motor, an auxiliary column, an auxiliary sleeve, a movable column, a movable sleeve, a containing sleeve, a fixing column, a movable block connecting groove I, a connecting groove II, a spring II, a U-shaped block, a containing barrel, a spring III, a telescopic column, a special-shaped hole and a pull handle II, wherein the electronic commerce product to be shot is hung on the fixing frame and connected with the fixing column through the fixing frame, the connecting groove I, the connecting groove II, the spring II, the U-shaped block, the containing barrel, the spring III, the telescopic column, the special-shaped hole and the pull handle II are arranged on the motor, the supporting column fixedly connected with the movable sleeve drives the electronic commerce product to move in a square surrounding track by taking the supporting frame as a center, further drives a shooting plate to move in a square surrounding track, and further drives a camera arranged on the shooting plate to move in a square surrounding mode without dead corners and when the electronic commerce product to be shot, can also pass through the rolling disc, a fixed base, the worm wheel, the power post, the back shaft, joint pad and card pad groove drive camera and other joint pad and corresponding back shaft are supplementary to be accomplished the regulation from top to bottom of camera, simultaneously can also guarantee the position stability after the camera is adjusted through worm gear's self-locking function, when the position aims at the electronic commerce product about needs adjusting the camera, can also rotate the board of taking a picture under the support of the big friction bearing that sets up on support column and support column, and then reach the angle about adjusting the camera and aim at the electronic commerce product, and will fix the relative position after adjusting through big friction bearing after the regulation, thereby solved the shooting in the past and adjust the health position of self through staff self and often will follow a plurality of angles and shoot the shooting object in-process cameraman do so not only consuming time power and change the angle at every turn and all will fix a position again and have relevant now and all at present The invention patent still needs a large-motion moving device of a photographer to achieve the problem of dead-angle-free shooting.
2. The multi-angle adjusting device for shooting the electronic commerce product is moved to a proper position through the motor, then the auxiliary column is placed at the proper position, then the device is adjusted to a proper state of the size of the electronic commerce product to be shot through the size of the electronic commerce product to be shot, the screw, the inner spiral groove, the clamping hole, the adjusting sleeve, the auxiliary column, the spring II, the pull handle I, the clamping column, the spring V, the rotating column, the movable hole, the clamping nail, the placing groove, the baffle I, the containing sleeve, the fixing column, the adjusting plate, the pressure spring, the connecting seat, the hinged column, the clamping groove, the matching groove, the movable plate and the connecting cylinder, so that a user can conveniently adjust the device to the proper state of the size of the electronic commerce product to be shot, the device has good wide applicability, and the triangular positioning is formed by placing the two placing plates and the position of the motor in the using process of the device, and the placing stability of the device is further ensured, therefore, the device can adapt to most of electronic commerce products, and further ensures the functional practicability of the device.
3. The multi-angle adjusting device for shooting of electronic commerce products drives two protection plates to be far away from or close to each other through the shooting plate, the sliding groove, the sliding block and the first spring, so that the device is suitable for different cameras, the device is further universal, when the device needs to be moved, the pull handle can be pulled to drive the second special-shaped block to be pulled out of a special-shaped hole, the telescopic column is driven to be pulled out of the storage cylinder by overcoming the pulling force of the third spring when the telescopic column is pulled out, then the fixed column and the storage cylinder are driven to rotate under the support of the connecting block through the U-shaped block, so that the auxiliary column, the fixed column and the storage cylinder are rotated to be in a state parallel to the connecting sleeve, then the pull handle is released, the special-shaped block is retracted into the moving groove through the third spring, the storage position is relatively fixed, then a motor can be placed on the lower side face of the connecting cylinder through two workers, and then place the groove of taking that all set up on the board through two and make things convenient for the staff to remove the device, and then guaranteed the device place the functional, and then further improved the device's functional practicality.
4. This multi-angle adjusting device is shot to electronic commerce product rotates out simultaneously the pulling through the screw from interior screw slot and draws one, and then breaks away from joint post and screw and joint hole, then can follow the auxiliary column with motor and adjusting collar and take off, later can change motor and spring two, and still the step motor that can pass through motor self in the device use sets up the electronic commerce product that makes things convenient for the photographer to shoot different angles, and then further guaranteed the device's structural functionality.
Drawings
FIG. 1 is a schematic front view of the present invention;
FIG. 2 is a schematic view of the cross-sectional structure of the present invention B-B;
FIG. 3 is a schematic view of the cross-sectional structure of the present invention in D-D;
FIG. 4 is a schematic top view of the present invention;
FIG. 5 is a schematic view of the cross-sectional structure of the present invention at C-C;
FIG. 6 is a schematic right-view structural diagram of the present invention;
FIG. 7 is a schematic front perspective view of the present invention;
FIG. 8 is a schematic view of the K-K cross-sectional structure of the present invention;
FIG. 9 is a schematic left-side perspective view of the present invention;
FIG. 10 is an enlarged view of the structure of the present invention at A.
In the figure: 1 placing plate, 2 holding grooves, 3 moving plate, 4 clamping grooves, 5 matching grooves, 6 clamping columns, 7 adjusting plates, 8 connecting seats, 9 hinged columns, 10 connecting sleeves, 11 elastic springs, 12U-shaped blocks, 13 fixing columns, 14 connecting grooves I, 15 connecting grooves II, 16 containing sleeves, 17 movable blocks, 18 movable sleeves, 19 photographic plates, 20 cameras, 21 rotating discs, 22 fixing seats, 23 worms, 24 protecting plates, 25 worm wheels, 26 power columns, 27 baffle plates I, 28 sliding blocks, 29 sliding grooves, 30 baffle plates II, 31 limiting blocks, 32 auxiliary sleeves, 33 movable columns, 34 auxiliary columns, 35 spring II, 36 adjusting sleeves, 37 positioning frames, 38 rotating columns, 39 motors, 40 pull handles I, 41 supporting shafts, 42 clamping pads, 43 spring I, 44 clamping pad grooves, 45 supporting columns, 46 clamping holes, 47 positioning grooves, 48 containing holes, 49 connecting grooves I, 50 connecting blocks, 51 connecting blocks, 52 containing cylinders, 53 spring three, 54 telescopic column, 55 pull handle two, 56 special-shaped block, 57 placing groove, 58 spring four, 59 clamping nail, 60 movable hole, 61 spring five, 62 clamping column, 63 screw, 64 inner screw groove, 65 special-shaped hole and 66 positioning rod.
Detailed Description
The technical solutions in the embodiments of the present invention will be clearly and completely described below with reference to the drawings in the embodiments of the present invention, and it is obvious that the described embodiments are only a part of the embodiments of the present invention, and not all of the embodiments. All other embodiments, which can be derived by a person skilled in the art from the embodiments given herein without making any creative effort, shall fall within the protection scope of the present invention.
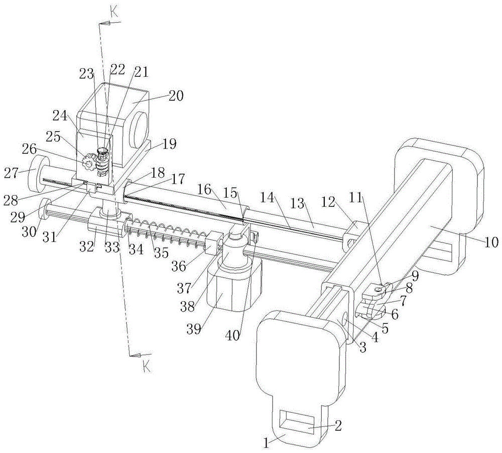
As shown in fig. 1 to 10, the present invention provides a technical solution: a multi-angle adjusting device for shooting of electronic commerce products comprises a placing plate 1, wherein two placing plates 1 are arranged, opposite surfaces of the two placing plates 1 are fixedly connected with a connecting sleeve 10 and one end of a moving plate 3 respectively, opposite ends of the connecting sleeve 10 and the moving plate 3 are movably connected, the right side of the connecting sleeve 10 is correspondingly provided with a connecting groove I49, the right side of the moving plate 3 is correspondingly provided with a connecting groove II 51, the connecting groove I49 and the connecting groove II 51 are correspondingly and movably connected with a connecting block 50, the right end of the connecting block 50 is provided with a U-shaped block 12, the right end of the U-shaped block 12 is fixedly connected with a fixed column 13, the right end of the fixed column 13 is movably connected with a containing sleeve 16, the right end of the containing sleeve 16 is fixedly connected with a baffle I27, a movable sleeve 18 is arranged on the containing barrel 52, movable blocks 17 are fixedly connected on inner walls of the front side and the back side of the movable sleeve 18, the two movable blocks 17 are correspondingly and slidably connected in the connecting groove I14 and the connecting groove II 15, the first connecting groove 14 is provided with two parts which are respectively arranged at the front end and the rear end of the fixed column 13, the second connecting groove 15 is provided with two parts which are respectively arranged on the front side wall and the rear side wall of the containing sleeve 16, the lower side surface of the movable sleeve 18 is fixedly connected with a movable column 33, the lower end of the movable column 33 is movably connected with an auxiliary sleeve 32, the auxiliary sleeve 32 is movably connected on the auxiliary column 34, the left end of the auxiliary sleeve 32 is movably connected with one end of a spring second 35, the right end of the auxiliary column 34 is fixedly connected with a baffle second 30, the other end of the spring second 35 is movably connected on the right end of an adjusting sleeve 36, the adjusting sleeve 36 is arranged on the auxiliary column 34, the left end of the adjusting sleeve 36 is provided with a rotating column 38, the rotating column 38 is provided with a movable hole 60, the auxiliary sleeve 32 is arranged in the movable hole 60, the rotating column 38 is fixedly connected on the output shaft of a motor 39, the upper side surface of the rotating column 38 is fixedly connected with a positioning frame 37, the front side surface of the positioning frame 37 is provided with a pull handle first 40, the movable hole 60 and the inner wall of the rear side of the adjusting cylinder is fixedly connected with a limiting block 31, two stopper 31 all swing joint at the spacing inslot, and the spacing groove is seted up on auxiliary column 34 trailing flank.
Evenly seted up a plurality of joint holes 46 on the auxiliary column 34 leading flank, there are screw 63 and joint post 62 in two of arbitrary being close to in a plurality of joint holes 46 swing joint respectively, screw 63 front end swing joint has interior screw groove 64, interior screw groove 64 is seted up on adjusting collar 36 preceding lateral wall, joint post 62 front end fixedly connected with locating lever 66, locating lever 66 front end swing joint has five 61 one ends of spring, five 61 other end swing joint of spring is on locating rack 37 trailing flank, joint post 62 front end passes locating rack 37 fixedly connected with and draws a 40, draw a 40 to set up for T shape.
The fixed column 13 right-hand member has been seted up standing groove 57, and four 58 one ends of fixedly connected with spring on the standing groove 57 rear side inner wall, four 58 other end fixed connection of spring are on the side on the joint nail 59, and the joint nail 59 lower extreme passes standing groove 57 activity and condenses in constant head tank 47, and constant head tank 47 is provided with a plurality ofly and evenly sets up on accomodating 16 downside.
Fixedly connected with support column 45 on the side is gone up to movable sleeve 18, support column 45 upper end fixedly connected with bearing inner race, and bearing outer race fixed connection is on taking photo plate 19, and bearing inner race and outer lane frictional force are great, has seted up sliding groove 29 on taking photo plate 19 on the side, equal swing joint has sliding block 28 in two sliding groove 29, respectively fixedly connected with spring 43 both ends on two sliding block 28 opposite faces, equal fixedly connected with guard plate 24 on the side on two sliding block 28.
All seted up the card pad groove 44 on the guard plate 24 opposite face, equal swing joint has the joint pad 42 in two card pad grooves 44, on the side around swing joint has camera 20 respectively on two joint pad 42 opposite faces, equal fixedly connected with back shaft 41 on two joint pad 42 looks backs, two back shaft 41 swing joint respectively on two guard plates 24.
Fixedly connected with power column 26 on the 41 trailing flank of rear side supporting shaft, fixedly connected with worm wheel 25 on the power column 26, worm wheel 25 transmission is connected with worm 23, worm 23 swing joint is on two fixing bases 22, two equal fixedly connected with of fixing base 22 are on the 24 trailing flank of trailing flank guard plate, worm 23 upper end fixedly connected with rolling disc 21, a plurality of anti-skidding grooves have been seted up on the rolling disc 21, the expansion helix angle of worm 23 is less than the friction angle of worm wheel 25 worm 23 contact.
Dysmorphism hole 65 has been seted up to connecting block 50 right-hand member, swing joint has dysmorphism piece 56 in dysmorphism hole 65, the flexible post 54 of fixedly connected with on the profile of dysmorphism piece 56 side, flexible post 54 swing joint is in storage cylinder 52, storage cylinder 52 fixed connection is on the 12 downside inner wall of U-shaped piece, both ends about storage cylinder 52 downside inner wall and the 54 looks remote site of flexible post fixedly connected with spring three 53 respectively, the 56 lower extreme of dysmorphism piece passes 12 downside wall fixedly connected with of U-shaped piece and draws two 55, draw two 55 to the setting of T shape, dysmorphism piece 56 and dysmorphism hole 65 are the setting of cross plum blossom
Two connecting seats 8 are fixedly connected on the left side surface of a connecting sleeve 10, a hinge column 9 is movably connected between the two connecting seats 8, an adjusting plate 7 is fixedly connected on the outer side surface of the hinge column 9 arranged between the two connecting columns, one end of an elastic spring 11 is fixedly connected on the front side surface of the lower end of the adjusting plate 7, the other end of the elastic spring 11 is fixedly connected on the left side surface of the connecting sleeve 10, a clamping column 6 is fixedly connected on the rear side surface of the lower side surface of the adjusting plate 7, the right end of the clamping column 6 penetrates through a matching groove 5 to be movably connected with a clamping groove 4, the matching groove 5 is arranged on the left side surface of the connecting sleeve 10, a plurality of clamping grooves 4 are uniformly arranged on the left side surface of a movable plate 3, the connecting part of the connecting sleeve 10 and the movable plate 3 is arranged in a Chinese character connecting structure,
motor 39 is two-way step motor 39 setting, is provided with the wireless control end in the motor 39, and two are placed 1 downside looks remote site of board and have all been seted up and have been taken movable groove 2, and two are placed 1 downside of board and are the friction surface setting, place board 1 and motor 39 downside and set up for the coplanar.
A use method of a multi-angle adjusting device for shooting of electronic commerce products comprises the following steps:
1, after the debugging of the device is finished, the electronic commerce product to be shot is hung and connected by the fixed mount, then the rotation of the motor 39 is controlled by the wireless controller arranged on the motor 39, the rotation of the motor 39 drives the auxiliary post 34 to rotate, the rotation of the auxiliary post 34 drives the auxiliary sleeve 32 to move on the auxiliary post 34, the movement of the auxiliary sleeve 32 on the auxiliary post 34 drives the movable sleeve 18 to move on the containing sleeve 16 and the fixed post 13 by the movable post 33, and the two movable blocks 17 arranged in the movable sleeve 18 move in the connecting groove I14 and the connecting groove II 15 during the movement of the movable sleeve 18, thereby ensuring the movement stability of the movable sleeve 18 on the containing sleeve 16 and the fixed post 13, and ensuring the movement of the auxiliary sleeve 32 matched with the movable sleeve 18 by the spring II 35 and the positioned adjusting sleeve 36 during the movement of the auxiliary sleeve 32, and ensuring the movement of the movable sleeve 18 by the U-shaped block 12, The storage cylinder 52, the spring three 53, the telescopic column 54, the irregular hole 65 and the pull handle two 55 drive the connecting block 50 to move back and forth, and further the support column 45 fixedly connected with the movable sleeve 18 makes a square surrounding track motion by taking the support frame as a center to hang and connect the electronic commerce product, and further drives the photographic plate 19 to make a square surrounding track motion, and further drives the camera 20 arranged on the photographic plate 19 to make a square surrounding motion, so as to achieve the purpose of photographing the electronic commerce product without a dead angle, and when the up-and-down angle of the camera 20 needs to be adjusted during photographing, the worm 23 can be driven to rotate under the support of the two fixed seats 22 through the rotating disc 21, the worm 23 rotates to drive the worm wheel 25 to rotate, the worm wheel 25 rotates to drive the power column 26 to rotate, the power column 26 rotates to drive the support shaft 41 on one side to rotate, the support shaft 41 rotates to drive the corresponding clamping pad 42 to rotate in the clamping pad groove 44, the camera 20, the other clamping pad 42 and the corresponding support shaft 41 are driven by the clamping pad 42 to complete up-and-down adjustment of the camera 20 under the assistance of the clamping pad 42, the position stability of the camera 20 after adjustment can be ensured by the self-locking function of the worm wheel 25 and the worm 23, when the left-and-right position of the camera 20 needs to be adjusted to be aligned with an electronic commerce product, the camera plate 19 can rotate under the support of the support column 45 and the large friction bearings arranged on the support column 45, so that the left-and-right angle of the camera aligned with the electronic commerce product can be adjusted, and the adjusted relative position can be fixed by the large friction bearings;
a2, when using the device, firstly, moving the motor 39 to a proper position, further placing the auxiliary post 34 to a proper position, then twisting the screw 63 out of the inner slot 64 according to the size of the electronic commerce product to be shot, further pulling the screw 63 out of the clamping hole 46, further moving the position of the adjusting sleeve 36 on the auxiliary post 34, further adjusting the second spring 35 to be tensed or relaxed, simultaneously pulling the first pull handle 40 to drive the clamping post 62 to move forwards, moving the clamping post 62 forwards will be separated from the clamping hole 46 by the clamping post 62 against the elasticity of the fifth spring 61, further enlarging or reducing the length of the right side of the auxiliary post 34 through the movable hole 60 arranged in the rotating post 38, then pressing the clamping nail 59 into the placing slot 57, then receiving or releasing more fixed posts 13 in the receiving sleeve 16 through the first baffle plate 27, and then simultaneously pressing the adjusting plate 7, the adjusting plate 7 overcomes the pressure spring and rotates under the support of the two connecting seats 8 and the hinge column 9, the clamping column 6 is driven to be pulled out from the clamping groove 4 and the matching groove 5, the moving plate 3 is pulled out or retracted from the connecting cylinder, and the device is convenient for a user to adjust to a state that the size of an electronic commerce product needs to be shot, so that the device has good wide applicability, and the position of the two placing plates 1 and the position of the motor 39 are placed to form triangular positioning in the using process of the device, so that the placing stability of the device is guaranteed;
3, when the camera 20 needs to be replaced, the sliding groove 29 arranged on the photographic plate 19 and the two sliding blocks 28 arranged in the sliding groove 29 overcome the first spring 43 fixedly connected between the two sliding blocks 28 to drive the two protection plates 24 to be away from each other, then the camera 20 is taken out from between the two protection plates 24, when the camera 20 needs to be replaced, the sliding groove 29 arranged on the photographic plate 19 and the two sliding blocks 28 arranged in the sliding groove 29 overcome the first spring 43 fixedly connected between the two sliding blocks 28 to drive the two protection plates 24 to be close to or away from each other, so that the device adapts to different cameras 20, further the device has universality, when the device needs to be moved, the pull handle two 55 can be pulled to drive the special-shaped block 56 to be pulled out from the special-shaped hole 65, and when pulled out, the telescopic column 54 is driven to overcome the pulling force of the spring three 53 to pull the telescopic column 54 out from the storage cylinder 52, then the fixed column 13 and the containing cylinder 52 are driven by the U-shaped block 12 to rotate under the support of the connecting block 50, so that the auxiliary column 34, the fixed column 13 and the containing cylinder 52 are rotated to be in a state parallel to the connecting sleeve 10, then the pull handle II 55 is released, the special-shaped block 56 is retracted into the moving groove through the spring III 53, so that the containing positions are relatively fixed, then the motor 39 can be placed on the lower side surface of the connecting cylinder through two workers, and the workers can conveniently move the device through the holding grooves 2 formed in the two placing plates 1;
a4, when the motor 39 is damaged or the second spring 35 is damaged, the screw 63 is rotated out of the inner groove 64 and the first pull handle 40 is pulled, so that the clamping column 62 and the screw 63 are separated from the clamping hole 46, then the motor 39 and the adjusting sleeve 36 can be taken down from the auxiliary column 34, then the motor 39 and the second spring 35 can be replaced, and in the using process of the device, a stepping motor 39 of the motor 39 can be used for facilitating a photographer to photograph electronic commerce products at different angles.
The method comprises the following operation steps:
s1, after the debugging of the device is finished, the electronic commerce product to be shot is hung and connected with the electronic commerce product through the fixed frame, then the rotation of the motor 39 can be controlled through the wireless controller arranged on the motor 39, the rotation of the motor 39 drives the auxiliary column 34 to rotate, the rotation of the auxiliary column 34 drives the auxiliary sleeve 32 to move on the auxiliary column 34, the auxiliary sleeve 32 moves on the auxiliary column 34 and drives the movable sleeve 18 to move on the containing sleeve 16 and the fixed column 13 through the movable column 33, in addition, in the moving process of the movable sleeve 18, the two movable blocks 17 arranged in the movable sleeve 18 move in the connecting groove I14 and the connecting groove II 15 through the two movable blocks 17 arranged in the movable sleeve 18, further, the moving stability of the movable sleeve 18 on the containing sleeve 16 and the fixed column 13 is ensured, in the moving process of the auxiliary sleeve 32, the movement of the auxiliary sleeve 32 matched with the movable sleeve 18 is also ensured through the two springs 35 and the positioned adjusting sleeve 36, and in the moving process of the movable sleeve 18, the U-shaped block 12, The storage cylinder 52, the spring three 53, the telescopic column 54, the irregular hole 65 and the pull handle two 55 drive the connecting block 50 to move back and forth, and further the support column 45 fixedly connected with the movable sleeve 18 makes a square surrounding track motion by taking the support frame as a center to hang and connect the electronic commerce product, and further drives the photographic plate 19 to make a square surrounding track motion, and further drives the camera 20 arranged on the photographic plate 19 to make a square surrounding motion, so as to achieve the purpose of photographing the electronic commerce product without a dead angle, and when the up-and-down angle of the camera 20 needs to be adjusted during photographing, the worm 23 can be driven to rotate under the support of the two fixed seats 22 through the rotating disc 21, the worm 23 rotates to drive the worm wheel 25 to rotate, the worm wheel 25 rotates to drive the power column 26 to rotate, the power column 26 rotates to drive the support shaft 41 on one side to rotate, the support shaft 41 rotates to drive the corresponding clamping pad 42 to rotate in the clamping pad groove 44, the camera 20, the other clamping pad 42 and the corresponding support shaft 41 are driven by the clamping pad 42 to complete up-and-down adjustment of the camera 20 under the assistance of the clamping pad 42, the position stability of the adjusted camera 20 can be ensured by the self-locking function of the worm wheel 25 and the worm 23, when the left-and-right position of the camera 20 needs to be adjusted to be aligned with an electronic commerce product, the camera plate 19 can rotate under the support of the support column 45 and a large friction bearing arranged on the support column 45, so that the left-and-right angle of the camera aligned with the electronic commerce product can be adjusted, the adjusted relative position can be fixed by the large friction bearing after adjustment, and the structural functionality of the device is ensured;
s2, when the device is used, firstly, the motor 39 is moved to a proper position, then the auxiliary post 34 is placed at a proper position, then the screw 63 is twisted out of the inner groove 64 according to the size of the electronic commerce product to be shot, then the screw 63 is pulled out of the clamping hole 46, further the position of the adjusting sleeve 36 on the auxiliary post 34 is moved, further the spring II 35 is adjusted to be tensed or loosened, meanwhile, the pull handle I40 is pulled to drive the clamping post 62 to move forwards, the clamping post 62 moves forwards to be separated from the clamping hole 46 by the clamping post 62 against the elasticity of the spring V61, further, the length of the right side of the auxiliary post 34 is enlarged or reduced through the movable hole 60 arranged in the rotating post 38, then the clamping nail 59 is pressed into the placing groove 57, then the accommodating sleeve 16 is accommodated or released by the baffle I27 to more fixing posts 13, and then the adjusting plate 7 is pressed simultaneously, the adjusting plate 7 overcomes the pressure spring and rotates under the support of the two connecting seats 8 and the hinge column 9, the clamping column 6 is driven to be pulled out from the clamping groove 4 and the matching groove 5, the moving plate 3 is pulled out or retracted from the connecting cylinder, and the device is convenient for a user to adjust to a state that the size of an electronic commerce product needs to be shot, so that the device has good wide applicability, and the position of the two placing plates 1 and the position of the motor 39 are placed to form triangular positioning in the using process of the device, so that the placing stability of the device is guaranteed;
s3, when the camera 20 needs to be replaced, the sliding groove 29 arranged on the photographic plate 19 and the two sliding blocks 28 arranged in the sliding groove 29 overcome the first spring 43 fixedly connected between the two sliding blocks 28 to drive the two protection plates 24 to be away from each other, then the camera 20 is taken out from between the two protection plates 24, when the camera 20 needs to be replaced, the sliding groove 29 arranged on the photographic plate 19 and the two sliding blocks 28 arranged in the sliding groove 29 overcome the first spring 43 fixedly connected between the two sliding blocks 28 to drive the two protection plates 24 to be close to or away from each other, so that the device adapts to different cameras 20, further has universality, when the device needs to be moved, the pull handle two 55 can be pulled to drive the special-shaped block 56 to be pulled out from the special-shaped hole 65, and when pulled out, the telescopic column 54 is driven to overcome the pulling force of the spring three 53 to pull the telescopic column 54 out from the storage cylinder 52, then the fixed column 13 and the containing barrel 52 are driven to rotate under the support of the connecting block 50 through the U-shaped block 12, so that the auxiliary column 34, the fixed column 13 and the containing barrel 52 are rotated to be in a state parallel to the connecting sleeve 10, then the pull handle II 55 is released, the special-shaped block 56 is retracted into the moving groove through the spring III 53, so that the containing positions are relatively fixed, then the motor 39 can be placed on the lower side surface of the connecting barrel through two workers, and the workers can conveniently move the device through the taking grooves 2 formed in the two placing plates 1, so that the structural functionality of the device is ensured;
s4, when the motor 39 is damaged or the second spring 35 is damaged, the screw 63 rotates out of the inner groove 64 and the pull handle 40 is pulled, the clamping column 62 and the screw 63 are separated from the clamping hole 46, then the motor 39 and the adjusting sleeve 36 can be taken down from the auxiliary column 34, then the motor 39 and the second spring 35 can be replaced, in addition, the stepping motor 39 of the motor 39 can be arranged through the device in the using process, a photographer can conveniently shoot electronic commerce products at different angles, and further the structural functionality of the device is ensured.
The above-mentioned embodiments, objects, technical solutions and advantages of the present invention are further described in detail, it should be understood that the above-mentioned embodiments are only illustrative of the present invention and are not intended to limit the present invention, and any modifications, equivalents, improvements and the like made within the spirit and principle of the present invention should be included in the protection scope of the present invention.

Claims (4)

1. The utility model provides a multi-angle adjusting device is shot to electronic commerce product, is including placing board (1), its characterized in that: the two placing plates (1) are respectively and fixedly connected with a connecting sleeve (10) and one end of a moving plate (3) on opposite surfaces of the two placing plates (1), opposite ends of the connecting sleeve (10) and the moving plate (3) are movably connected, a first connecting groove (49) is correspondingly arranged on the right side of the connecting sleeve (10), a second connecting groove (51) is correspondingly arranged on the right side of the moving plate (3), connecting blocks (50) are correspondingly and movably connected in the first connecting groove (49) and the second connecting groove (51), a U-shaped block (12) is arranged at the right end of each connecting block (50), a fixed column (13) is fixedly connected at the right end of each U-shaped block (12), a containing sleeve (16) is movably connected at the right end of each fixed column (13), a first baffle plate (27) is fixedly connected at the right end of each containing sleeve (16), and a movable sleeve (18) is arranged on each containing sleeve (16), the movable sleeve is characterized in that the inner walls of the front side and the rear side of the movable sleeve (18) are fixedly connected with movable blocks (17), the movable blocks (17) are correspondingly connected in a first connecting groove (14) and a second connecting groove (15) in a sliding manner, the first connecting groove (14) is provided with two ends which are respectively arranged on the front side and the rear side of the fixed column (13), the second connecting groove (15) is provided with two ends which are respectively arranged on the front side wall and the rear side wall of the accommodating sleeve (16), a movable column (33) is fixedly connected on the lower side surface of the movable sleeve (18), the lower end of the movable column (33) is movably connected with an auxiliary sleeve (32), the auxiliary sleeve (32) is movably connected on the auxiliary column (34), the left end of the auxiliary sleeve (32) is movably connected with one end of a second spring (35), the right end of the auxiliary column (34) is fixedly connected with a second baffle (30), and the other end of the second spring (35) is movably connected at the right end of the adjusting sleeve (36), the adjusting sleeve (36) is arranged on the auxiliary column (34), the rotating column (38) is arranged at the left end of the adjusting sleeve (36), a movable hole (60) is formed in the rotating column (38), an auxiliary sleeve (32) is arranged in the movable hole (60), the rotating column (38) is fixedly connected to an output shaft of a motor (39), a positioning frame (37) is fixedly connected to the upper side surface of the rotating column (38), a pull handle I (40) is arranged on the front side surface of the positioning frame (37), limiting blocks (31) are fixedly connected to the inner walls of the rear sides of the movable hole (60) and the adjusting cylinder, the two limiting blocks (31) are movably connected to limiting grooves, the limiting grooves are formed in the rear side surface of the auxiliary column (34), a plurality of clamping holes (46) are uniformly formed in the front side surface of the auxiliary column (34), and screws (63) and clamping columns (62) are movably connected to two of the clamping holes (46) which are arbitrarily close to each other, the front end of the screw (63) is movably connected with an inner threaded groove (64), the inner threaded groove (64) is formed in the front side wall of the adjusting sleeve (36), the front end of the clamping column (62) is fixedly connected with a positioning rod (66), the front end of the positioning rod (66) is movably connected with one end of a spring five (61), the other end of the spring five (61) is movably connected to the rear side surface of the positioning frame (37), the front end of the clamping column (62) penetrates through the positioning frame (37) and is fixedly connected with a pull handle I (40), and the pull handle I (40) is arranged in a T shape;
a placing groove (57) is formed in the right end of the fixing column (13), one end of a spring four (58) is fixedly connected to the inner wall of the rear side of the placing groove (57), the other end of the spring four (58) is fixedly connected to the upper side face of a clamping nail (59), the lower end of the clamping nail (59) penetrates through the placing groove (57) to be movably condensed in a positioning groove (47), and a plurality of positioning grooves (47) are uniformly formed in the lower side face of the accommodating sleeve (16);
a supporting column (45) is fixedly connected to the upper side face of the movable sleeve (18), the upper end of the supporting column (45) is fixedly connected with a bearing inner ring, the bearing outer ring is fixedly connected to the movable plate (3), the friction force between the bearing inner ring and the bearing outer ring is large, a sliding groove (29) is formed in the upper side face of the movable plate (3), sliding blocks (28) are movably connected to the two sliding grooves (29), two ends of a spring I (43) are fixedly connected to opposite faces of the two sliding blocks (28) respectively, and a protection plate (24) is fixedly connected to the upper side face of the two sliding blocks (28);
clamping pad grooves (44) are formed in the opposite surfaces of the protection plates (24), clamping pads (42) are movably connected in the two clamping pad grooves (44), the opposite surfaces of the two clamping pads (42) are respectively and movably connected with the front side surface and the rear side surface of a camera (20), supporting shafts (41) are fixedly connected to the opposite surfaces of the two clamping pads (42), and the two supporting shafts (41) are respectively and movably connected to the two protection plates (24);
the rear side of the supporting shaft (41) at the rear side is fixedly connected with a power column (26), the power column (26) is fixedly connected with a worm wheel (25), the worm wheel (25) is connected with a worm (23) in a transmission manner, the worm (23) is movably connected onto two fixing seats (22), the two fixing seats (22) are both fixedly connected onto the rear side of a rear side protection plate (24), the upper end of the worm (23) is fixedly connected with a rotating disc (21), the rotating disc (21) is provided with a plurality of anti-skidding grooves, and the expansion spiral angle of the worm (23) is smaller than the friction angle of the worm wheel (25) in contact with the worm (23);
dysmorphism hole (65) have been seted up to connecting block (50) right-hand member, swing joint has dysmorphism piece (56) in dysmorphism hole (65), fixedly connected with flexible post (54) on the side is gone up to dysmorphism piece (56), flexible post (54) swing joint is in storage cylinder (52), storage cylinder (52) fixed connection is on U-shaped piece (12) downside inner wall, both ends about storage cylinder (52) downside inner wall and flexible post (54) looks remote site fixedly connected with spring three (53) respectively, dysmorphism piece (56) lower extreme passes U-shaped piece (12) downside wall fixedly connected with and draws two (55), draw two (55) for the T shape setting, dysmorphism piece (56) and dysmorphism hole (65) are the plum blossom setting.
2. The multi-angle adjusting apparatus for photographing of electronic commerce products as claimed in claim 1, wherein: two connecting seats (8) are fixedly connected on the left side surface of the connecting sleeve (10), a hinge column (9) is movably connected between the two connecting seats (8), the hinge columns (9) are arranged on the outer side surface between the two connecting columns and are fixedly connected with an adjusting plate (7), one end of an elastic spring (11) is fixedly connected on the front side surface of the lower end of the adjusting plate (7), the other end of the spring (11) is fixedly connected to the left side surface of the connecting sleeve (10), the rear end of the lower side surface of the adjusting plate (7) is fixedly connected with a clamping column (6), the right end of the clamping column (6) passes through the matching groove (5) and is movably connected with a clamping groove (4), the matching grooves (5) are arranged on the left side surface of the connecting sleeve (10), the clamping grooves (4) are uniformly arranged on the left side surface of the movable plate (3), the connecting position of the connecting sleeve (10) and the moving plate (3) is a Chinese character connecting structure.
3. The multi-angle adjusting apparatus for photographing of electronic commerce products as claimed in claim 1, wherein: motor (39) are two-way step motor (39) setting, be provided with wireless control end in motor (39), two place board (1) downside looks remote site and all seted up and take moving groove (2), two place board (1) downside is the friction surface setting, place board (1) and motor (39) downside and set up for the coplanar.
4. The method as claimed in claim 1, wherein the multi-angle adjusting device comprises: the method comprises the following steps:
a1, after the device is debugged, the electronic commerce product to be shot is hung on the electronic commerce product through the fixed frame, then the motor (39) can be controlled to rotate through the wireless controller arranged on the motor (39), the motor (39) rotates to drive the auxiliary column (34) to rotate, the auxiliary column (34) rotates to drive the auxiliary sleeve (32) to move on the auxiliary column (34), the auxiliary sleeve (32) moves on the auxiliary column (34) to drive the movable sleeve (18) to move on the storage sleeve (16) and the fixed column (13) through the movable column (33), in addition, in the moving process of the movable sleeve (18), two movable blocks (17) arranged in the movable sleeve (18) move in the connecting groove I (14) and the connecting groove II (15), further, the moving stability of the movable sleeve (18) on the storage sleeve (16) and the fixed column (13) is ensured, and in the moving process of the auxiliary sleeve (32), the spring II (35) and the positioned adjusting sleeve (36) are also used for protecting the electronic commerce product The card auxiliary sleeve (32) is matched with the movable sleeve (18) to move, the movable sleeve (18) drives the connecting block (50) to move back and forth through the U-shaped block (12), the containing cylinder (52), the spring III (53), the telescopic column (54), the special-shaped hole (65) and the pull handle II (55) in the moving process, then the supporting column (45) fixedly connected with the movable sleeve (18) is used for hanging and connecting an electronic commerce product by using a supporting frame as a center to perform square surrounding track motion, further the movable plate (3) is driven to perform square surrounding track motion, further the camera (20) arranged on the movable plate (3) is driven to perform square surrounding motion, further the purpose of photographing the electronic commerce product in a surrounding way without dead corners is achieved, and when the up-down angle of the camera (20) needs to be adjusted in the photographing process, the worm (23) can be driven to rotate under the support of the two fixed seats (22) through the rotating disc (21), the worm (23) rotates to drive the worm wheel (25) to rotate, the worm wheel (25) rotates to drive the power column (26) to rotate, the power column (26) rotates to drive the supporting shaft (41) on one side to rotate, the supporting shaft (41) rotates to drive the corresponding clamping pad (42) to rotate in the clamping pad groove (44), then the camera (20) and the other clamping pad (42) are driven by the clamping pad (42) and the corresponding supporting shaft (41) to complete the up-and-down adjustment of the camera (20), meanwhile, the position stability of the camera (20) after adjustment can be ensured by the self-locking function of the worm (23) of the worm wheel (25), when the left-and-right position of the camera (20) needs to be adjusted to be aligned with an electronic commerce product, the movable plate (3) can also rotate under the support of the large friction bearings arranged on the supporting column (45) and the supporting column (45), and then the left-and-right angle of the camera aligned with the electronic commerce product can be adjusted, and the adjusted relative position is fixed by a large friction bearing after adjustment;
a2, when the device is used, firstly, a motor (39) is moved to a proper position, then an auxiliary column (34) is placed at the proper position, then a screw (63) is twisted out of an inner spiral groove (64) according to the size of an electronic commerce product to be shot, then the screw (63) and a clamping hole (46) are pulled out, then the position of an adjusting sleeve (36) on the auxiliary column (34) is moved, then a spring II (35) is adjusted to be tensed or relaxed, simultaneously a pull handle I (40) is pulled to drive the clamping column (62) to move forwards, the clamping column (62) moves forwards to overcome the elasticity of a spring V (61) through the clamping column (62) to be separated from the clamping hole (46), then the length of the right side of the auxiliary column (34) is enlarged or reduced through a movable hole (60) arranged in a rotating column (38), and then the clamping nail (59) is pressed into a placing groove (57), then, the containing sleeve (16) is contained or more fixing columns (13) are discharged through the first baffle plate (27), then the regulating plate (7) is pressed simultaneously, the regulating plate (7) overcomes a pressure spring and rotates under the support of the two connecting seats (8) and the hinged columns (9), the clamping columns (6) are driven to be pulled out from the clamping grooves (4) and the matching grooves (5), the moving plate (3) is pulled out or retracted from the connecting cylinder, and a user can conveniently regulate the device to a state where the size of an electronic commerce product needs to be shot, so that the device has good wide applicability, in addition, the two positions of the containing plate (1) and the motor (39) are placed to form triangular positioning in the using process of the device, and the placing stability of the device is further ensured;
3, when the camera (20) needs to be replaced, the two protective plates (24) can be driven to be away from each other by the sliding grooves (29) formed on the photographic plate (19) and the two sliding blocks (28) arranged in the sliding grooves (29) to overcome the first spring (43) fixedly connected between the two sliding blocks (28), then the camera (20) is taken out from the two protective plates (24), and when the camera (20) needs to be replaced, the two protective plates (24) can be driven to be close to or away from each other by the sliding grooves (29) formed on the photographic plate (19) and the two sliding blocks (28) arranged in the sliding grooves (29) to overcome the first spring (43) fixedly connected between the two sliding blocks (28), so that the device adapts to different cameras (20), further has universality, and when the device needs to be moved, the second pulling handle (55) can be pulled to drive the special-shaped block (56) to be pulled out from the special-shaped hole (65), and when the telescopic column (54) is pulled out, the telescopic column (54) is driven to overcome the pulling force of the spring III (53) to pull the telescopic column (54) out of the containing cylinder (52), then the U-shaped block (12) drives the fixing column (13) and the containing cylinder (52) to rotate under the support of the connecting block (50), further rotating the auxiliary column (34), the fixed column (13) and the storage barrel (52) to be parallel to the connecting sleeve (10), then the second pull handle (55) is released, the special-shaped block (56) is retracted into the moving groove through the third spring (53), and the storage position is relatively fixed, the motor (39) can then be placed by two workers on the underside of the connecting cylinder, furthermore, the holding and moving grooves (2) which are respectively arranged on the two placing plates (1) are convenient for workers to move the device;
a4, when the motor (39) is damaged or the second spring (35) is damaged, the screw (63) is rotated out of the inner spiral groove (64) and the first pull handle (40) is pulled at the same time, the clamping column (62) and the screw (63) are separated from the clamping hole (46), then the motor (39) and the adjusting sleeve (36) can be taken down from the auxiliary column (34), then the motor (39) and the second spring (35) can be replaced, and in the using process of the device, the stepping motor (39) of the motor (39) can be arranged to facilitate a photographer to shoot electronic commerce products at different angles.
CN202110072883.7A 2021-01-20 2021-01-20 Multi-angle adjusting device for shooting of electronic commerce products Active CN112901978B (en)

Priority Applications (1)

Application Number Priority Date Filing Date Title
CN202110072883.7A CN112901978B (en) 2021-01-20 2021-01-20 Multi-angle adjusting device for shooting of electronic commerce products

Applications Claiming Priority (1)

Application Number Priority Date Filing Date Title
CN202110072883.7A CN112901978B (en) 2021-01-20 2021-01-20 Multi-angle adjusting device for shooting of electronic commerce products

Publications (2)

Publication Number Publication Date
CN112901978A CN112901978A (en) 2021-06-04
CN112901978B true CN112901978B (en) 2022-04-01

Family

ID=76116269

Family Applications (1)

Application Number Title Priority Date Filing Date
CN202110072883.7A Active CN112901978B (en) 2021-01-20 2021-01-20 Multi-angle adjusting device for shooting of electronic commerce products

Country Status (1)

Country Link
CN (1) CN112901978B (en)

Families Citing this family (2)

* Cited by examiner, † Cited by third party
Publication number Priority date Publication date Assignee Title
CN114087510B (en) * 2021-10-29 2023-05-05 深圳市华安泰智能科技有限公司 Object model identification device and method based on binocular vision
CN115420326B (en) * 2022-08-30 2023-04-11 深圳市恒力天科技有限公司 Shooting detection device of intelligent tracking scanning

Citations (11)

* Cited by examiner, † Cited by third party
Publication number Priority date Publication date Assignee Title
CN102829291A (en) * 2012-09-20 2012-12-19 浙江华震数字化工程有限公司 T-shaped shooting stand for three-dimensional restoring shooting
CN103176343A (en) * 2013-03-22 2013-06-26 深圳市中印印刷制品有限公司 Third-dimensional (3D) photo shooting device
CN103558727A (en) * 2013-10-25 2014-02-05 严文骏 Universal adjusting device of three-dimensional image shooting device
CN208381679U (en) * 2018-05-09 2019-01-15 广州保丽高网络科技有限公司 A kind of surface sweeping control device based on AR
CN109668021A (en) * 2018-12-14 2019-04-23 河北工程大学 A kind of binocular vision precision adjustment bracket
CN109899665A (en) * 2019-02-28 2019-06-18 台州椒江锐江电脑有限公司 A kind of stabilization self-shooting bar
CN110209003A (en) * 2019-06-05 2019-09-06 西南交通大学 A kind of automatically controlled rail structure of time-lapse photography
CN211040384U (en) * 2019-11-21 2020-07-17 广东轻工职业技术学院 A projector position adjustment device
CN211624768U (en) * 2020-03-06 2020-10-02 天津夏洛特科技有限公司 VR panorama shooting machine of adjustable angle
CN111946954A (en) * 2020-06-24 2020-11-17 耿新利 Thing networking factory operation standard sign
CN111946960A (en) * 2020-08-17 2020-11-17 青岛力韩数码科技有限公司 Device capable of stably supporting and fastening camera on steep slope

Patent Citations (11)

* Cited by examiner, † Cited by third party
Publication number Priority date Publication date Assignee Title
CN102829291A (en) * 2012-09-20 2012-12-19 浙江华震数字化工程有限公司 T-shaped shooting stand for three-dimensional restoring shooting
CN103176343A (en) * 2013-03-22 2013-06-26 深圳市中印印刷制品有限公司 Third-dimensional (3D) photo shooting device
CN103558727A (en) * 2013-10-25 2014-02-05 严文骏 Universal adjusting device of three-dimensional image shooting device
CN208381679U (en) * 2018-05-09 2019-01-15 广州保丽高网络科技有限公司 A kind of surface sweeping control device based on AR
CN109668021A (en) * 2018-12-14 2019-04-23 河北工程大学 A kind of binocular vision precision adjustment bracket
CN109899665A (en) * 2019-02-28 2019-06-18 台州椒江锐江电脑有限公司 A kind of stabilization self-shooting bar
CN110209003A (en) * 2019-06-05 2019-09-06 西南交通大学 A kind of automatically controlled rail structure of time-lapse photography
CN211040384U (en) * 2019-11-21 2020-07-17 广东轻工职业技术学院 A projector position adjustment device
CN211624768U (en) * 2020-03-06 2020-10-02 天津夏洛特科技有限公司 VR panorama shooting machine of adjustable angle
CN111946954A (en) * 2020-06-24 2020-11-17 耿新利 Thing networking factory operation standard sign
CN111946960A (en) * 2020-08-17 2020-11-17 青岛力韩数码科技有限公司 Device capable of stably supporting and fastening camera on steep slope

Also Published As

Publication number Publication date
CN112901978A (en) 2021-06-04

Similar Documents

Publication Publication Date Title
CN112901978B (en) Multi-angle adjusting device for shooting of electronic commerce products
CN110169701A (en) A kind of auxiliary of the elderly takes off fitted pants and sets
CN206294239U (en) CCD camera assembly and self-service device
CN215259004U (en) Display device for electronic commerce teaching
CN115507263B (en) Face recognition device capable of being adjusted at multiple angles
CN206270627U (en) A kind of ultra-large type material evidence photographic reproducer
CN212235828U (en) Body-building booster
CN211578223U (en) Business administration training sand table is with removing frame
CN113586877B (en) Embedded tablet computer mounting rack adaptable to different thicknesses
CN215868265U (en) Adjustable teaching aid for mental health education
CN211207687U (en) Adjustable supporting base for economics teaching sand table
CN214275203U (en) An image recognition device with adjustable recognition angle
CN211870700U (en) Polaroid quick supply mechanism for connecting rod
CN208985635U (en) a temporary billboard
CN209839547U (en) Dance music linkage design device
CN220338020U (en) Camera support
CN210338517U (en) Automatic change PE membrane parcel pyrocondensation machine
CN216046580U (en) Portable video recording equipment for remote online education
CN215911028U (en) Safety teaching device for machine tool machining
CN215036094U (en) A grinding device for processing teppanyaki equipment
CN220381671U (en) A multimedia exhibition stand
CN210837069U (en) Data contrast display device for ocean investigation
CN221613516U (en) Telescopic adjustable display board
CN112419798A (en) A demonstration device for accounting computerization
CN220770631U (en) Palm computer adjusting bracket

Legal Events

Date Code Title Description
PB01 Publication
PB01 Publication
SE01 Entry into force of request for substantive examination
SE01 Entry into force of request for substantive examination
GR01 Patent grant
GR01 Patent grant