CN112426315A - Treatment bed for department of respiration and operation method - Google Patents

Treatment bed for department of respiration and operation method Download PDF

Info

Publication number
CN112426315A
CN112426315A CN202011622317.0A CN202011622317A CN112426315A CN 112426315 A CN112426315 A CN 112426315A CN 202011622317 A CN202011622317 A CN 202011622317A CN 112426315 A CN112426315 A CN 112426315A
Authority
CN
China
Prior art keywords
boss
hole
plate
connecting rod
speed reducer
Prior art date
Legal status (The legal status is an assumption and is not a legal conclusion. Google has not performed a legal analysis and makes no representation as to the accuracy of the status listed.)
Granted
Application number
CN202011622317.0A
Other languages
Chinese (zh)
Other versions
CN112426315B (en
Inventor
徐超
任秋
Current Assignee (The listed assignees may be inaccurate. Google has not performed a legal analysis and makes no representation or warranty as to the accuracy of the list.)
Heilongjiang Provincial Hospital
Original Assignee
Heilongjiang Provincial Hospital
Priority date (The priority date is an assumption and is not a legal conclusion. Google has not performed a legal analysis and makes no representation as to the accuracy of the date listed.)
Filing date
Publication date
Application filed by Heilongjiang Provincial Hospital filed Critical Heilongjiang Provincial Hospital
Priority to CN202011622317.0A priority Critical patent/CN112426315B/en
Publication of CN112426315A publication Critical patent/CN112426315A/en
Application granted granted Critical
Publication of CN112426315B publication Critical patent/CN112426315B/en
Expired - Fee Related legal-status Critical Current
Anticipated expiration legal-status Critical

Links

Images

Classifications

    • AHUMAN NECESSITIES
    • A61MEDICAL OR VETERINARY SCIENCE; HYGIENE
    • A61GTRANSPORT, PERSONAL CONVEYANCES, OR ACCOMMODATION SPECIALLY ADAPTED FOR PATIENTS OR DISABLED PERSONS; OPERATING TABLES OR CHAIRS; CHAIRS FOR DENTISTRY; FUNERAL DEVICES
    • A61G13/00Operating tables; Auxiliary appliances therefor
    • A61G13/02Adjustable operating tables; Controls therefor
    • A61G13/08Adjustable operating tables; Controls therefor the table being divided into different adjustable sections
    • AHUMAN NECESSITIES
    • A61MEDICAL OR VETERINARY SCIENCE; HYGIENE
    • A61GTRANSPORT, PERSONAL CONVEYANCES, OR ACCOMMODATION SPECIALLY ADAPTED FOR PATIENTS OR DISABLED PERSONS; OPERATING TABLES OR CHAIRS; CHAIRS FOR DENTISTRY; FUNERAL DEVICES
    • A61G13/00Operating tables; Auxiliary appliances therefor
    • A61G13/10Parts, details or accessories
    • AHUMAN NECESSITIES
    • A61MEDICAL OR VETERINARY SCIENCE; HYGIENE
    • A61GTRANSPORT, PERSONAL CONVEYANCES, OR ACCOMMODATION SPECIALLY ADAPTED FOR PATIENTS OR DISABLED PERSONS; OPERATING TABLES OR CHAIRS; CHAIRS FOR DENTISTRY; FUNERAL DEVICES
    • A61G13/00Operating tables; Auxiliary appliances therefor
    • A61G13/10Parts, details or accessories
    • A61G13/12Rests specially adapted therefor; Arrangements of patient-supporting surfaces

Landscapes

  • Health & Medical Sciences (AREA)
  • Engineering & Computer Science (AREA)
  • Biomedical Technology (AREA)
  • Life Sciences & Earth Sciences (AREA)
  • Animal Behavior & Ethology (AREA)
  • General Health & Medical Sciences (AREA)
  • Public Health (AREA)
  • Veterinary Medicine (AREA)
  • Invalid Beds And Related Equipment (AREA)

Abstract

一种呼吸科治疗床及操作方法,包括床体、支架、支架刻度、升降机、支撑板、后板、后连接板、中间板、侧连接板、侧板、滑块、连杆、一号减速机、二号减速机、三号减速机、床体下部具有四个支撑腿,床体右侧中间具有丝杠孔,丝杠孔下部固定连接升降机,升降机丝杠穿过丝杠孔,床体左侧具有前后对称的两个床体凸台,床体凸台上部具有床体凸台孔,床体右侧具有前后对称的两个支架,支架中间具有支架槽,支架槽两侧具有支架刻度,支撑板左侧下部具有前后对称的两个支撑板凸台,支撑板凸台下部具有支撑板凸台孔。

Figure 202011622317

A respiratory treatment bed and an operation method, comprising a bed body, a bracket, a bracket scale, a lift, a support plate, a rear plate, a rear connecting plate, a middle plate, a side connecting plate, a side plate, a slider, a connecting rod, and a No. 1 deceleration The machine, No. 2 reducer, No. 3 reducer, the lower part of the bed has four support legs, the middle of the right side of the bed has a screw hole, the lower part of the screw hole is fixedly connected to the lift, the screw of the lift passes through the screw hole, the bed is The left side has two front and rear symmetrical bed bosses, the upper part of the bed boss has bed boss holes, the right side of the bed has two front and rear symmetrical brackets, the middle of the bracket has a bracket slot, and both sides of the bracket slot have bracket scales The lower part of the left side of the support plate is provided with two front and rear symmetrical support plate bosses, and the lower part of the support plate boss is provided with a support plate boss hole.

Figure 202011622317

Description

Treatment bed for department of respiration and operation method
Technical Field
The invention relates to the field of medical instruments, in particular to a treatment bed for a respiratory department and an operation method.
Background
In the department of respiration treatment in-process, the position drainage of phlegm and hydrops is an important treatment mode, the position drainage requires that patient's position must satisfy and be in special position, just can utilize the effect of gravity to make the secretion in lung and the bronchus flow into big bronchus, it is external to exclude, the position must constantly be changed among the drainage process, the adjustment of present patient position relies on patient and medical staff to cooperate mutually just can accomplish, severe patient can't independently accomplish, patient's misery and the burden of obligation personnel have been aggravated, need the sick bed of an automatic adjustable patient position.
Disclosure of Invention
Aiming at the defects in the prior art, the invention provides a respiratory department treatment bed capable of automatically adjusting body positions and an operation method.
The purpose of the invention is realized by the following technical scheme:
a treatment bed for department of respiration comprises a bed body, supports, support scales, a lifter, a support plate, a back connecting plate, a middle plate, a side connecting plate, a side plate, a slide block, a connecting rod, a first speed reducer, a second speed reducer, a third speed reducer, four supporting legs arranged at the lower part of the bed body, a screw hole arranged in the middle of the right side of the bed body, the lifter fixedly connected with the lower part of the screw hole, a screw rod passing through the screw hole, two bed body bosses symmetrical front and back arranged at the left side of the bed body, bed body boss holes arranged at the upper part of the bed body boss, two supports symmetrical front and back arranged at the right side of the bed body, a support groove arranged in the middle of the supports, the support scales arranged at two sides of the support groove, two support plate bosses symmetrical front and back arranged at the lower part of the left side of the support, the middle of direction boss axle has the backup pad scale, the pin passes a bed body boss hole and backup pad boss hole, with bed body boss and backup pad boss articulated together, direction boss axle sliding connection support groove, the lift lead screw passes the lower surface of screw hole top in the backup pad, the middle intermediate lamella seat that has in the middle of the backup pad, intermediate lamella seat upper portion fixed connection intermediate lamella, an side connecting plate is passed through hinged joint respectively to the intermediate lamella both sides, the hinged joint curb plate is passed through in every side connecting plate outside, the hinged joint back connecting plate is passed through on the intermediate lamella right side, the hinged joint back plate is passed through on the back connecting plate right side.
The right side of the bed body is provided with two first bosses which are symmetrical front and back, the upper part of the first boss is provided with a first boss hole, the left side of the first boss is provided with a second boss which is symmetrical front and back, the upper part of the second boss is provided with a second boss hole, the lower part of the rear plate is provided with two rear plate chutes which are symmetrical front and back, two sliding blocks are connected inside each rear plate chute in a sliding way, one each of the left side and the right side is provided, the sliding blocks slide in the rear plate chutes, the lower parts of the sliding blocks are provided with sliding block holes, the upper side of the connecting rod is provided with a first connecting rod hole, the lower side of the connecting rod is provided with a second connecting rod hole, a pin penetrates through the second connecting rod hole and the second boss hole to hinge the connecting rod and the connecting rod together, an output shaft of a speed reducer is rotatably connected with the first boss hole, and the output shaft of the speed reducer rotates in the first boss hole, an output shaft of the first speed reducer penetrates through the first boss hole to be fixedly connected with the other second connecting rod hole, and a pin penetrates through the first connecting rod hole in the upper portion and the sliding block hole in the right side to hinge the sliding block in the right side and the connecting rod together.
The left side of the supporting plate is provided with two third bosses which are symmetrically arranged with the screw hole, the upper parts of the third bosses are provided with third boss holes, the front sides of the third bosses are provided with two fourth bosses which are symmetrically arranged with the screw hole, the upper parts of the fourth bosses are provided with fourth boss holes, the lower parts of the side plates are provided with two bilaterally symmetric side plate chutes, two sliders are slidably connected inside each side plate chute, one of each front side and one of each rear side are respectively provided with a slider which slides in the side plate chute, the lower parts of the sliders are provided with slider holes, the upper sides of the connecting rods are provided with first connecting rod holes, the lower sides of the connecting rods are provided with second connecting rod holes, pins penetrate through the second connecting rod holes and the fourth boss holes, the connecting rods and the fourth boss holes are hinged together, the connecting rods rotate around the fourth boss holes, the pins penetrate through the first connecting rod holes and the slider holes on the front sides, the sliders and the connecting rods are hinged together, the second speed reducer output shaft is rotatably connected with, an output shaft of the second speed reducer penetrates through the third boss hole to be fixedly connected with the other second connecting rod hole, and a pin penetrates through the first connecting rod hole in the upper portion and the sliding block hole in the rear side to hinge the sliding block in the rear side and the connecting rod together.
A method of operating a respiratory treatment couch, comprising the steps of: when the device is used, the lifter is started, the output shaft of the lifter extends or retracts, the height of the right side of the supporting plate is adjusted, so that the height of the head of a patient is adjusted, the high-foot low position and the low-head-foot high position of the patient are met, the adjustment range is observed by the scale of the support, the first speed reducer is started, the height of the lower body position of the patient is adjusted, the third speed reducer or the second speed reducer is adjusted to adjust the height of the side plates on the two sides, so that the angles of the positions of the left supine side, the left prone side, the right prone side and the right prone side of the patient are adjusted, and various position requirements of the sputum and effusion drainage and retraction of the patient are met by combined.
Has the advantages that:
the bed body boss, the support plate boss, the support and the guide boss are arranged in a front-back and left-right symmetrical mode to increase the strength and stability of the invention, a middle plate seat is arranged in the middle of the support plate, an intermediate plate is fixedly connected to the upper portion of the middle plate seat, two sides of the intermediate plate are respectively connected with a side connecting plate through hinges, the outer side of each side connecting plate is connected with a side plate through a hinge, and the right side of the intermediate plate is connected with a rear connecting plate through a hinge, the rear connecting plate right side passes through hinged joint back plate, and intermediate lamella fixed connection backup pad, relatively fixed, the side connecting plate of intermediate lamella both sides rotates around the intermediate lamella, and the back connecting plate on intermediate lamella right side rotates around the intermediate lamella, and the curb plate in the side connecting plate outside rotates around the side connecting plate, and the back plate on back connecting plate right side rotates around the back connecting plate, and except the intermediate lamella, back connecting plate, side connecting plate, curb plate all rotate.
The support plate, the back plate, the two sliding blocks and the two connecting rods form a parallel double-rocker mechanism, the first speed reducer rotates to drive the connecting rod on the right side to rotate, the connecting rod rotates to drive the sliding block to slide in the sliding groove of the back plate, the connecting rod on the left side plays a role in balancing the back plate, at the moment, the back plate can be parallel to the support plate and can move in parallel in space, the back plate moves in parallel to drive the back connecting plate to rotate around the middle plate, the back connecting plate plays a role in connecting, limiting and assisting in supporting the body position of a patient, the back plate is pulled by the back connecting plate in the vertical and horizontal directions in space, the vertical movement position is limited within the width range of the back connecting plate, interference of horizontal movement is met by the sliding of the sliding block and the sliding groove of the back plate, when the patient is treated, the upper half of the body lies on the middle plate, the head, and one side of the first boss and one side of the second boss which are symmetrically arranged have the same structure and connection, so that the effect of balancing and stabilizing the rear plate is achieved.
The parallel double-rocker mechanism is formed by two side plates, two connecting rods, a second speed reducer rotates to drive the connecting rod on the rear side to rotate, the connecting rod rotates to drive the sliding block to slide in the sliding groove of the side plate, the connecting rod on the front side plays a role in balancing the side plate, the side plate can be parallel to the supporting plate at the moment and can move in parallel in space, the parallel movement of the side plate drives the side connecting plate to rotate around the middle plate, the side connecting plate plays a role in connecting, limiting and assisting in supporting the body position of a patient, the side plate is pulled by the side connecting plate in the vertical and horizontal movement in space, the vertical and horizontal movement position is limited in the range of the width of the side connecting plate, the interference of the horizontal and horizontal movement is met by the sliding of the sliding block and the sliding groove of the rear plate, when the patient is treated, the patient lies on the middle plate, the rear, One side of the fourth boss which is symmetrically arranged has the same structure and connection, plays a role in balancing and stabilizing the side plate, and the other side plate which is symmetrically arranged with the middle plate plays a role in adjusting the angle of the patient lying on the back and lying on the back, and is driven by the third speed reducer.
Drawings
Fig. 1 is a schematic view of the overall structure of a respiratory treatment couch according to the present invention.
Fig. 2 is a schematic bottom structure view of a respiratory treatment couch according to the present invention.
Fig. 3 is a front view structural diagram of a respiratory treatment couch according to the present invention.
Fig. 4 is a left side view structural diagram of the respiratory treatment couch of the present invention.
Fig. 5 is a schematic view of the head-down and foot-up position adjusting structure according to the present invention.
Fig. 6 is a schematic view of a lower limb posture adjustment structure according to the present invention.
FIG. 7 is a schematic view of the structure of the present invention for adjusting the lateral and supine positions.
Fig. 8 is a schematic view of the connection structure of the support plate according to the present invention.
Fig. 9 is a schematic diagram of a rear plate structure according to the present invention.
Fig. 10 is a schematic view of a side plate connection structure according to the present invention.
FIG. 11 is a schematic structural diagram of a bed body according to the present invention.
Fig. 12 is a schematic view of the structure of the supporting plate according to the present invention.
Fig. 13 is a schematic view of a slider structure according to the present invention.
Fig. 14 is a schematic view of a connecting rod structure according to the present invention.
FIG. 15 is a schematic diagram of a middle plate structure according to the present invention.
Fig. 16 is a schematic diagram of a rear plate structure according to the present invention.
Fig. 17 is a schematic structural view of a side plate according to the present invention.
Detailed Description
The invention is explained in more detail below with reference to the figures and examples:
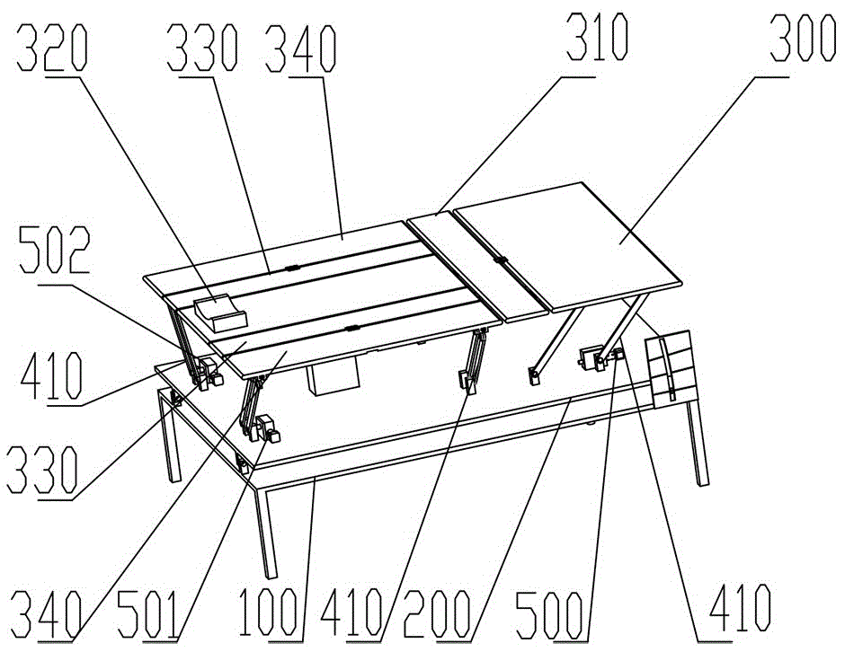
a treatment bed for department of respiration comprises a bed body 100, a support 103, support scales 105, a lifter 108, a support plate 200, a back plate 300, a back connecting plate 310, a middle plate 320, a side connecting plate 330, a side plate 340, a slide block 400, a connecting rod 410, a first speed reducer 500, a second speed reducer 501, a third speed reducer 502, four support legs 107 arranged at the lower part of the bed body 100, a screw hole 106 arranged at the middle of the right side of the bed body 100, the lifter 108 fixedly connected with the lower part of the screw hole 106, a screw rod of the lifter 108 passing through the screw hole 106, two bed body bosses 101 symmetrical front and back arranged at the left side of the bed body 100, bed body boss holes 102 arranged at the upper part of the bed body bosses 101, two supports 103 symmetrical front and back arranged at the right side of the bed body 100, a support groove 104 arranged at the middle of the support 103, support scales 105 arranged at two sides of the support groove 104, two support plate, the lower part of the right side of the support plate 200 is provided with two guide bosses 203 which are symmetrical front and back, the outer sides of the guide bosses 203 are provided with guide boss shafts 204, the middle of each guide boss shaft 204 is provided with support plate scales 205, pins penetrate through the bed body boss holes 102 and the support plate boss holes 202 to hinge the bed body boss 101 and the support plate boss 201 together, the guide boss shafts 204 are connected with the support grooves 104 in a sliding manner, a screw rod of the elevator 108 penetrates through a screw rod hole 106 to be pressed against the lower surface of the support plate 200, the middle of the support plate 200 is provided with a middle plate seat 206, the upper part of the middle plate seat 206 is fixedly connected with a middle plate 320, two sides of the middle plate 320 are respectively connected with one side connecting plate 330 through hinges, the outer side of each side connecting plate 330 is connected with a side plate 340 through.
The right side of the bed body 100 is provided with two first bosses 210 which are symmetrical front and back, the upper parts of the first bosses 210 are provided with first boss holes 211, the left sides of the first bosses 210 are provided with second bosses 212 which are symmetrical front and back, the upper parts of the second bosses 212 are provided with second boss holes 213, the lower parts of the rear plates 300 are provided with two rear plate chutes 301 which are symmetrical front and back, two sliders 400 are connected inside each rear plate chute 301 in a sliding manner, the left side and the right side are respectively provided with one slider, the sliders 400 slide in the rear plate chutes 301, the lower parts of the sliders 400 are provided with slider holes 401, the upper sides of the connecting rods 410 are provided with first connecting rod holes 411 and second connecting rod holes 412, pins penetrate through the second connecting rod holes 412 and the second boss holes 213, the connecting rods 410 and the second boss holes 213 are hinged together, the connecting rods 410 rotate around the second boss holes 213, the pins penetrate through the first connecting rod holes 411 and the left slider holes 401, the sliders 400 and the connecting rods 410 are hinged together, the output shaft, an output shaft of the first speed reducer 500 rotates in the first boss hole 211, the output shaft of the first speed reducer 500 penetrates through the first boss hole 211 to be fixedly connected with the other second connecting rod hole 412, and a pin penetrates through the first connecting rod hole 411 at the upper part and the sliding block hole 401 at the right side to hinge the sliding block 400 at the right side and the connecting rod 410 together.
The left side of the supporting plate 200 is provided with two third bosses 220 symmetrically arranged with the screw hole 106, the upper parts of the third bosses 220 are provided with third boss holes 221, the front sides of the third bosses 220 are provided with two fourth bosses 230 symmetrically arranged with the screw hole 106, the upper parts of the fourth bosses 230 are provided with fourth boss holes 231, the lower parts of the side plates 340 are provided with two side plate chutes 341 bilaterally symmetrical, two sliders 400 are slidably connected inside each side plate chute 341, the front sides and the rear sides are respectively one, the sliders 400 slide in the side plate chutes 341, the lower parts of the sliders 400 are provided with slider holes 401, the upper sides of the connecting rods 410 are provided with first connecting rod holes 411 and the lower sides are provided with second connecting rod holes 412, pins pass through the second connecting rod holes 412 and the fourth boss holes 231 to hinge the connecting rods 410 and the fourth boss holes 231 together, the connecting rods 410 rotate around the fourth boss holes 231, the pins pass through the first connecting rod holes 411 and the front slider holes 401 to hinge the sliders 400 and the connecting rods 410 together, an output shaft of the second speed reducer 501 is rotatably connected with the third boss hole 221, an output shaft of the second speed reducer 501 rotates in the third boss hole 221, the output shaft of the second speed reducer 501 penetrates through the third boss hole 221 to be fixedly connected with the other second connecting rod hole 412, and a pin penetrates through the first connecting rod hole 411 at the upper part and the sliding block hole 401 at the rear side to hinge the sliding block 400 at the rear side and the connecting rod 410 together.
The lifting machine 108 is started, a screw rod of the lifting machine 108 moves up and down, the right side of the support plate 200 moves up and down, the support plate 200 is hinged with the bed body 100, the boss 201 of the support plate rotates around the boss 101 of the bed body, the guide boss shaft 204 slides in the support groove 104 when rotating, the guide boss shaft 204 starts a guide function, the support plate 200 is ensured to rotate stably and smoothly, the support plate 200 is prevented from shaking, meanwhile, the support plate scale 205 of the guide boss shaft 204 and the support scale 105 on two sides of the support groove 104 enable an operator to observe a rotating angle, so that the aim of accurate adjustment is fulfilled, the bed body boss 101, the boss 201 of the support plate, the support 103 and the guide boss 203 adopt front-back-left-right symmetrical arrangement for increasing the strength and stability of the invention, the middle plate seat 206 is arranged in the middle of the support plate 200, the middle part of the, the outer side of each side connecting plate 330 is connected with a side plate 340 through a hinge, the right side of the middle plate 320 is connected with a rear connecting plate 310 through a hinge, the right side of the rear connecting plate 310 is connected with a rear plate 300 through a hinge, the middle plate 320 is fixedly connected with the supporting plate 200 and is relatively fixed, the side connecting plates 330 on the two sides of the middle plate 320 rotate around the middle plate 320, the rear connecting plate 310 on the right side of the middle plate 320 rotates around the middle plate 320, the side plates 340 on the outer sides of the side connecting plates 330 rotate around the side connecting plates 330, the rear plate 300 on the right side of the rear connecting plate 310 rotates around the rear connecting plate 310, and except the middle plate 320, the rear.
The right side of the bed body 100 is provided with two first bosses 210 which are symmetrical front and back, the upper parts of the first bosses 210 are provided with first boss holes 211, the left sides of the first bosses 210 are provided with second bosses 212 which are symmetrical front and back, the upper parts of the second bosses 212 are provided with second boss holes 213, the lower parts of the rear plates 300 are provided with two rear plate chutes 301 which are symmetrical front and back, two sliders 400 are connected inside each rear plate chute 301 in a sliding manner, the left side and the right side are respectively provided with one slider, the sliders 400 slide in the rear plate chutes 301, the lower parts of the sliders 400 are provided with slider holes 401, the upper sides of the connecting rods 410 are provided with first connecting rod holes 411 and second connecting rod holes 412, pins penetrate through the second connecting rod holes 412 and the second boss holes 213, the connecting rods 410 and the second boss holes 213 are hinged together, the connecting rods 410 rotate around the second boss holes 213, the pins penetrate through the first connecting rod holes 411 and the left slider holes 401, the sliders 400 and the connecting rods 410 are hinged together, the output shaft, an output shaft of a first speed reducer 500 rotates in a first boss hole 211, the output shaft of the first speed reducer 500 penetrates through the first boss hole 211 to be fixedly connected with another second connecting rod hole 412, a pin penetrates through a first connecting rod hole 411 at the upper part and a sliding block hole 401 at the right side to hinge the sliding block 400 at the right side and the connecting rod 410 together, the supporting plate 200, the back plate 300, the two sliding blocks 400 and the two connecting rods 410 form a parallel double-rocker mechanism, the first speed reducer 500 rotates to drive the connecting rod 410 at the right side to rotate, the connecting rod 410 rotates to drive the sliding block 400 to slide in the back plate sliding groove 301, the connecting rod 410 at the left side plays a role in balancing the back plate 300, at the moment, the back plate 300 is parallel to the supporting plate 200 and can move in space in parallel, the back plate 300 moves in parallel to drive the back connecting plate 310 to rotate around the middle plate 320, the back connecting plate 310 plays a role in connecting, limiting and assisting, the vertical movement position is limited within the width range of the rear connecting plate 310, the interference of horizontal movement is satisfied by the sliding of the sliding block 400 and the rear plate sliding groove 301, when a patient is treated, the upper half of the body lies on the middle plate 320, the head leans against the middle plate 321, the lower half of the body is placed on the rear connecting plate 310 and the rear plate 300, the height of the lower half of the patient is adjusted by adjusting the height of the rear plate 300, and the same structure and connection are provided on the side where the first boss 210 and the second boss 212 are symmetrically arranged, so that the functions of balancing and stabilizing the rear plate 300 are achieved.
The supporting plate 200, the two side plates 340 and the two connecting rods 410 form a parallel double-rocker mechanism, the second speed reducer 501 rotates to drive the connecting rod 410 at the rear side to rotate, the connecting rod 410 rotates to drive the sliding block 400 to slide in the side plate sliding groove 341, the connecting rod 410 at the front side plays a role of balancing the side plates 340, at the moment, the side plates 340 are parallel to the supporting plate 200 and can move in parallel in space, the side plates 340 move in parallel to drive the side connecting plates 330 to rotate around the middle plate 320, the side connecting plates 330 play a role of connecting, limiting and assisting in supporting the body position of a patient, the side plates 340 move up and down and left and right in space and are pulled by the side connecting plates 330, the up-down moving position is limited in the width range of the side connecting plates 330, the interference of left-right movement is met by the sliding of the sliding block 400 and the rear plate sliding groove 301, when the patient is treated, the patient lies on the upper parts of the middle, the side symmetrically arranged with the third boss 220 and the fourth boss 230 has the same structure and connection, which plays the role of balancing and stabilizing the side plate 340, and the other side plate 340 symmetrically arranged with the middle plate 320 plays the role of adjusting the angle of the patient for lying on the back and on the back, and is driven by the third speed reducer 502.
When the device is used, the lifter 108 is started, the output shaft of the lifter 108 extends or retracts, the height of the right side of the supporting plate 200 is adjusted, so that the height of the head of a patient is adjusted, the high-foot low position and the low-head-foot high position of the patient are met, the adjustment range is observed by the support scales 105, the first speed reducer 500 is started, the height of the lower body position of the patient is adjusted, the third speed reducer 502 or the second speed reducer 501 is adjusted, the height of the side plates 340 on the two sides is adjusted, so that the angles of the positions of the left side prone position, the right side prone position and the right side prone position of the patient are adjusted, various position requirements of the patient for sputum and effusion drainage and contraction are met through combined use, the adjustment is convenient, the pain of the.

Claims (4)

1. A treatment bed for department of respiration is characterized by comprising a bed body, supports, support scales, a lifter, a support plate, a rear connecting plate, a middle plate, side connecting plates, side plates, a slide block, a connecting rod, a first speed reducer, a second speed reducer and a third speed reducer, wherein the lower part of the bed body is provided with four support legs, the middle of the right side of the bed body is provided with a screw hole, the lower part of the screw hole is fixedly connected with the lifter, a screw rod of the lifter penetrates through the screw hole, the left side of the bed body is provided with two bed body bosses which are symmetrical front and back, the upper part of each bed body boss is provided with a bed body boss hole, the right side of the bed body is provided with two supports which are symmetrical front and back, the middle of each support is provided with a support groove, the two sides of each support scale are provided, the direction boss outside has the direction boss axle, the backup pad scale has in the middle of the direction boss axle, the pin passes a bed body boss hole and backup pad boss hole, with bed body boss and backup pad boss articulated together, direction boss axle sliding connection support groove, the lift lead screw passes the screw hole top at the lower surface of backup pad, the intermediate lamella seat has in the middle of the backup pad, intermediate lamella seat upper portion fixed connection intermediate lamella, the intermediate lamella both sides are respectively through a side connecting plate of hinged joint, the hinged joint curb plate is passed through in every side connecting plate outside, the hinged joint back connecting plate is passed through on the intermediate lamella right side, the hinged joint back plate is passed through on back connecting plate right side.
2. The respiratory therapy bed as claimed in claim 1, wherein the right side of the bed body has two first bosses with front and back symmetry, the upper part of the first boss has a first boss hole, the left side of the first boss has a second boss with front and back symmetry, the upper part of the second boss has a second boss hole, the lower part of the rear plate has two rear plate chutes with front and back symmetry, each rear plate chute has two sliding blocks inside, one on each of the left and right sides, the sliding blocks slide in the rear plate chutes, the lower part of the sliding block has a sliding block hole, the upper side of the connecting rod has a first connecting rod hole, the lower side of the connecting rod has a second connecting rod hole, the pin passes through the second connecting rod hole and the second boss hole, the connecting rod and the second boss hole are hinged together, the connecting rod rotates around the second boss hole, the pin passes through the first connecting rod hole and the left sliding block hole, the sliding blocks and the connecting rod are hinged together, the output shaft of the first speed reducer is rotatably, a first speed reducer output shaft rotates in a first boss hole, the first speed reducer output shaft penetrates through the first boss hole to be fixedly connected with another second connecting rod hole, and a pin penetrates through the first connecting rod hole in the upper portion and the sliding block hole in the right side to enable the sliding block in the right side to be hinged with the connecting rod.
3. The respiratory department treatment couch according to claim 2, wherein the left side of the support plate has two third bosses symmetrically disposed with the screw hole, the upper portion of the third boss has a third boss hole, the front side of the third boss has two fourth bosses symmetrically disposed with the screw hole, the upper portion of the fourth boss has a fourth boss hole, the lower portion of the side plate has two side plate slide grooves laterally symmetrical to each other, each side plate slide groove has two slide blocks slidably connected therein, one each of the front and rear sides, the slide blocks slide in the side plate slide grooves, the lower portion of the slide block has a slide block hole, the upper side of the connecting rod has a first connecting rod hole, the lower side of the connecting rod has a second connecting rod hole, the pin passes through the second connecting rod hole and the fourth boss hole to hinge the connecting rod and the fourth boss hole, the connecting rod rotates around the fourth boss hole, the pin passes through the first connecting rod hole and the front slide block hole to hinge the connecting rod and the connecting rod together, the second speed reducer output shaft is rotatably connected with the third boss hole, the second speed reducer output shaft rotates in the third boss hole, the second speed reducer output shaft penetrates through the third boss hole and is fixedly connected with the other second connecting rod hole, and the pin penetrates through the first connecting rod hole in the upper portion and the sliding block hole in the rear side to hinge the sliding block in the rear side and the connecting rod together.
4. The method of claim 3, comprising the steps of: when the device is used, the lifter is started, the output shaft of the lifter extends or retracts, the height of the right side of the supporting plate is adjusted, so that the height of the head of a patient is adjusted, the high-foot low position and the low-head-foot high position of the patient are met, the adjustment range is observed by the scale of the support, the first speed reducer is started, the height of the lower body position of the patient is adjusted, the third speed reducer or the second speed reducer is adjusted to adjust the height of the side plates on the two sides, so that the angles of the positions of the left supine side, the left prone side, the right prone side and the right prone side of the patient are adjusted, and various position requirements of the sputum and effusion drainage and retraction of the patient are met by combined.
CN202011622317.0A 2020-12-31 2020-12-31 Treatment bed for department of respiration and operation method Expired - Fee Related CN112426315B (en)

Priority Applications (1)

Application Number Priority Date Filing Date Title
CN202011622317.0A CN112426315B (en) 2020-12-31 2020-12-31 Treatment bed for department of respiration and operation method

Applications Claiming Priority (1)

Application Number Priority Date Filing Date Title
CN202011622317.0A CN112426315B (en) 2020-12-31 2020-12-31 Treatment bed for department of respiration and operation method

Publications (2)

Publication Number Publication Date
CN112426315A true CN112426315A (en) 2021-03-02
CN112426315B CN112426315B (en) 2022-07-01

Family

ID=74697132

Family Applications (1)

Application Number Title Priority Date Filing Date
CN202011622317.0A Expired - Fee Related CN112426315B (en) 2020-12-31 2020-12-31 Treatment bed for department of respiration and operation method

Country Status (1)

Country Link
CN (1) CN112426315B (en)

Cited By (1)

* Cited by examiner, † Cited by third party
Publication number Priority date Publication date Assignee Title
CN114176975A (en) * 2022-01-03 2022-03-15 任付云 Multi-body-position neurosurgery operating table

Citations (9)

* Cited by examiner, † Cited by third party
Publication number Priority date Publication date Assignee Title
CN101427965A (en) * 2007-11-06 2009-05-13 上海电气集团股份有限公司 Multifunctional electric nursing bed
CN107773368A (en) * 2017-12-08 2018-03-09 上海理工大学 It is a kind of adjustable electric care bed
CN108245366A (en) * 2018-04-08 2018-07-06 济南奥尔尼医疗器械有限公司 A kind of more position adjustable operating tables and its application method
EP3610838A1 (en) * 2018-08-14 2020-02-19 Gymna Uniphy Treatment couch with adjustable treatment platform
CN210785207U (en) * 2019-01-25 2020-06-19 北京丰禾协创科技有限公司 A new operating table
CN111329686A (en) * 2020-03-19 2020-06-26 南京工业职业技术学院 An intelligent patient transfer bed
CN111568467A (en) * 2020-06-16 2020-08-25 吉林省中医药科学院(吉林省中医药科学院第一临床医院) Doppler ultrasonic detection bed with multiple body positions switched as required and control method thereof
CN111643112A (en) * 2020-06-10 2020-09-11 陈春强 Congenital heart ultrasonic diagnosis auxiliary device
CN111803297A (en) * 2020-08-05 2020-10-23 江苏省人民医院(南京医科大学第一附属医院) Multifunctional medical bed convenient for patient to relieve bowels

Patent Citations (9)

* Cited by examiner, † Cited by third party
Publication number Priority date Publication date Assignee Title
CN101427965A (en) * 2007-11-06 2009-05-13 上海电气集团股份有限公司 Multifunctional electric nursing bed
CN107773368A (en) * 2017-12-08 2018-03-09 上海理工大学 It is a kind of adjustable electric care bed
CN108245366A (en) * 2018-04-08 2018-07-06 济南奥尔尼医疗器械有限公司 A kind of more position adjustable operating tables and its application method
EP3610838A1 (en) * 2018-08-14 2020-02-19 Gymna Uniphy Treatment couch with adjustable treatment platform
CN210785207U (en) * 2019-01-25 2020-06-19 北京丰禾协创科技有限公司 A new operating table
CN111329686A (en) * 2020-03-19 2020-06-26 南京工业职业技术学院 An intelligent patient transfer bed
CN111643112A (en) * 2020-06-10 2020-09-11 陈春强 Congenital heart ultrasonic diagnosis auxiliary device
CN111568467A (en) * 2020-06-16 2020-08-25 吉林省中医药科学院(吉林省中医药科学院第一临床医院) Doppler ultrasonic detection bed with multiple body positions switched as required and control method thereof
CN111803297A (en) * 2020-08-05 2020-10-23 江苏省人民医院(南京医科大学第一附属医院) Multifunctional medical bed convenient for patient to relieve bowels

Cited By (1)

* Cited by examiner, † Cited by third party
Publication number Priority date Publication date Assignee Title
CN114176975A (en) * 2022-01-03 2022-03-15 任付云 Multi-body-position neurosurgery operating table

Also Published As

Publication number Publication date
CN112426315B (en) 2022-07-01

Similar Documents

Publication Publication Date Title
CN107736977A (en) A kind of adjustable examination couch of obstetrics
CN112043537A (en) Head fixing device for neurosurgery
CN109820676A (en) An adjustable moxibustion bed
CN108852680A (en) A kind of orthopedic rehabilitation bed with leg fixed frame
CN112426315A (en) Treatment bed for department of respiration and operation method
CN205359896U (en) Spinal surgery bed
CN207492916U (en) A kind of gynecological examining table
CN206924169U (en) A kind of Gynaecological operating bed
CN210355165U (en) An orthopedic nursing bed
CN209422372U (en) A kind of medical fixed device of thyroid tumor operation position adjusting
CN106377380B (en) A kind of gynecological examining table
CN109793634A (en) A flexibly adjustable bracket for fixing the head
CN206730093U (en) Percutaneous renal plug checks bed special
CN108670685A (en) A kind of Medical examination couch
CN216496326U (en) Department of neurology inspection auxiliary device
CN113730158B (en) An upper and lower limb lift device used in general surgery clinics
CN214550140U (en) A standing reclining type gynecological examination bed leg support device
CN106420249B (en) A kind of medical women examination couch
CN112426288B (en) A multifunctional nursing support device
CN210991490U (en) A breast surgery examination bed with drainage and fixation function
CN210810957U (en) Ophthalmic A ultrasonic indicator
CN108904170A (en) It is a kind of multifunction nursing bed
CN217162290U (en) Department of neurology oral care device
CN207693833U (en) A kind of Nephrology dept. patient examination couch
CN219250220U (en) Patient limb adjusting device for ultrasonic department examination

Legal Events

Date Code Title Description
PB01 Publication
PB01 Publication
SE01 Entry into force of request for substantive examination
SE01 Entry into force of request for substantive examination
GR01 Patent grant
GR01 Patent grant
CF01 Termination of patent right due to non-payment of annual fee
CF01 Termination of patent right due to non-payment of annual fee

Granted publication date: 20220701