CN112056148A - Fungus stick sack filling machine - Google Patents
Fungus stick sack filling machine Download PDFInfo
- Publication number
- CN112056148A CN112056148A CN202010895008.4A CN202010895008A CN112056148A CN 112056148 A CN112056148 A CN 112056148A CN 202010895008 A CN202010895008 A CN 202010895008A CN 112056148 A CN112056148 A CN 112056148A
- Authority
- CN
- China
- Prior art keywords
- plate
- connecting plate
- angle folded
- sleeve
- fixed
- Prior art date
- Legal status (The legal status is an assumption and is not a legal conclusion. Google has not performed a legal analysis and makes no representation as to the accuracy of the status listed.)
- Granted
Links
- 241000233866 Fungi Species 0.000 title claims description 13
- 230000007246 mechanism Effects 0.000 claims abstract description 44
- 238000007599 discharging Methods 0.000 claims abstract description 14
- 230000005540 biological transmission Effects 0.000 claims description 13
- 238000005096 rolling process Methods 0.000 claims description 8
- 230000007704 transition Effects 0.000 claims description 3
- 230000000149 penetrating effect Effects 0.000 claims 1
- 230000001580 bacterial effect Effects 0.000 abstract description 38
- 241000894006 Bacteria Species 0.000 description 37
- 238000010586 diagram Methods 0.000 description 6
- 238000003756 stirring Methods 0.000 description 6
- 230000006835 compression Effects 0.000 description 5
- 238000007906 compression Methods 0.000 description 5
- 230000006578 abscission Effects 0.000 description 4
- 238000000034 method Methods 0.000 description 4
- 230000008569 process Effects 0.000 description 3
- 230000003139 buffering effect Effects 0.000 description 2
- 235000001674 Agaricus brunnescens Nutrition 0.000 description 1
- 230000009286 beneficial effect Effects 0.000 description 1
- 230000007812 deficiency Effects 0.000 description 1
- 230000009467 reduction Effects 0.000 description 1
Images
Classifications
-
- A—HUMAN NECESSITIES
- A01—AGRICULTURE; FORESTRY; ANIMAL HUSBANDRY; HUNTING; TRAPPING; FISHING
- A01G—HORTICULTURE; CULTIVATION OF VEGETABLES, FLOWERS, RICE, FRUIT, VINES, HOPS OR SEAWEED; FORESTRY; WATERING
- A01G18/00—Cultivation of mushrooms
- A01G18/20—Culture media, e.g. compost
- A01G18/22—Apparatus for the preparation of culture media, e.g. bottling devices
Landscapes
- Life Sciences & Earth Sciences (AREA)
- Mycology (AREA)
- Environmental Sciences (AREA)
- Containers And Plastic Fillers For Packaging (AREA)
- Mushroom Cultivation (AREA)
Abstract
一种菌棒装袋机,包括机架,机架上设置有进料仓,进料仓下部横向设置出料管,机架上还设置有与出料管平行的上滑动杆、下滑动杆,上滑动杆上滑动连接上滑动座一、上滑动座二,下滑动杆上滑动连接有下滑动座一、下滑动座二,上滑动座一与下滑动座一通过连接板一固定连接,上滑动座二与下滑动座二通过连接板二固定连接,连接板一与连接板二通过可调节连接杆连接,连接板一与驱动装置连接,连接板一与套筒可调节固定连接,连接板二通过直角折板二与弧形压板可调节固定连接,直角折板二与进退机构可调节固定连接,进退机构底部与支撑板固定,支撑板固定在连接板二上。本发明菌料装入紧实,提高了装袋的质量和效率,节约能源,降低成本,稳定性好。
A bacterial stick bagging machine, comprising a frame, a feeding bin is arranged on the frame, a discharging pipe is arranged horizontally at the lower part of the feeding bin, and an upper sliding rod and a lower sliding rod parallel to the discharging pipe are arranged on the frame. , the upper sliding rod is slidably connected to the upper sliding seat 1 and the upper sliding seat 2, and the lower sliding rod is slidably connected with the lower sliding seat 1 and the lower sliding seat 2, and the upper sliding seat 1 and the lower sliding seat 1 are fixedly connected through the connecting plate 1. The upper sliding seat 2 and the lower sliding seat 2 are fixedly connected through the connecting plate 2, the connecting plate 1 and the connecting plate 2 are connected by an adjustable connecting rod, the connecting plate 1 is connected with the driving device, and the connecting plate 1 is adjustable and fixedly connected with the sleeve. The second plate can be adjusted and fixedly connected with the arc pressure plate through the second right-angle folded plate, the second right-angle folded plate can be adjusted and fixedly connected with the advance and retreat mechanism, the bottom of the advance and retreat mechanism is fixed with the support plate, and the support plate is fixed on the second connection plate. The bacterial material of the invention is packed tightly, the quality and efficiency of bagging are improved, energy is saved, cost is reduced, and stability is good.
Description
技术领域technical field
本发明涉及机械技术领域,特别涉及一种菌棒装袋机。The invention relates to the technical field of machinery, in particular to a bacterial stick bagging machine.
背景技术Background technique
菌棒装袋机在进行装袋过程中,套筒在压紧菌袋出料时,由于菌袋的尾部需要一个弧形压板,有利于套筒在出料时菌袋尾部的压紧,同时防止在螺旋管出料导致菌袋转动,影响套筒的卸袋。During the bagging process of the bacterial stick bagging machine, when the sleeve compresses the bacterial bag and discharges the material, because the tail of the bacterial bag needs an arc pressure plate, it is conducive to the pressing of the tail of the bacterial bag when the sleeve is discharged. Prevent the bacteria bag from rotating when the spiral tube is discharged, which affects the unloading of the sleeve.
现有的菌棒装袋机压板的进位和退位还需要专门的驱动装置驱动,增加驱动装置成本,结构复杂;驱动装置常采用气动驱动,由于气体具有可压缩的特性,工作速度的稳定性较差,冲击大,速度不易均匀,难以准确控制位置及速度,噪声大,有时弧形压板没有在正确的时机进行对菌袋的尾部进行压紧,导致装入菌袋内的菌料松散。The advancing and retreating of the pressing plate of the existing bacterial stick bagging machine also requires a special driving device, which increases the cost of the driving device and has a complicated structure; the driving device is often driven by pneumatics, and because the gas has compressible characteristics, the stability of the working speed is relatively high. The impact is large, the speed is not easy to be uniform, it is difficult to accurately control the position and speed, and the noise is large. Sometimes the arc pressure plate does not press the tail of the bacterial bag at the correct time, resulting in the loose bacterial material in the bacterial bag.
发明内容SUMMARY OF THE INVENTION
为了克服现有研究的不足,本发明提供了一种菌棒装袋机,结构简单,采用巧妙机械结构的进退机构实现菌袋的头部的压紧与防转动,自然进位、退位,压紧时间和位置稳定精准,速度均匀,稳定性好,保证了菌料装入紧实,提高了装袋的质量和效率,自然卸料,节约能源,降低成本,简化了结构。为实现上述功能,本发明的上述技术问题主要是通过下述技术方案得以解决的:In order to overcome the deficiencies of the existing research, the present invention provides a bacteria stick bagging machine, which has a simple structure, adopts an advance and retreat mechanism with an ingenious mechanical structure to realize the compression and anti-rotation of the head of the bacteria bag, and naturally advances, retreats, and compresses. The time and position are stable and accurate, the speed is uniform, and the stability is good, which ensures that the bacterial material is packed tightly, improves the quality and efficiency of bagging, and unloads the material naturally, saves energy, reduces costs, and simplifies the structure. In order to realize the above-mentioned functions, the above-mentioned technical problems of the present invention are mainly solved by the following technical solutions:
本发明提供了一种菌棒装袋机,包括机架,机架上设置有进料仓,进料仓内设置有搅拌机构,进料仓下部横向设置有出料管,出料管内设置有用于出料的螺旋杆,螺旋杆与驱动电机连接,机架上还设置有与出料管平行的上滑动杆和下滑动杆,上滑动杆上滑动连接有上滑动座一、上滑动座二,下滑动杆上滑动连接有下滑动座一、下滑动座二,上滑动座一与下滑动座一通过连接板一固定连接,上滑动座二与下滑动座二通过连接板二固定连接,连接板一中部与连接板二中部通过可调节连接杆连接,连接板一与驱动装置连接,连接板一通过直角折板一与用于套在出料管外的套筒可调节固定连接,连接板二通过穿过连接板二的直角折板二与用于顶压在出料管外壁的弧形压板可调节固定连接,直角折板二的横板二与用于弧形压板进位和退位的进退机构可调节固定连接,进退机构的底部与支撑板固定连接,支撑板垂直固定在连接板二上。The invention provides a bacterial stick bagging machine, which comprises a frame, a feeding bin is arranged on the frame, a stirring mechanism is arranged in the feeding bin, a discharging pipe is horizontally arranged at the lower part of the feeding bin, and the discharging pipe is provided with a useful For the screw rod for discharging, the screw rod is connected with the drive motor, and the frame is also provided with an upper sliding rod and a lower sliding rod parallel to the discharge pipe, and the upper sliding rod is slidably connected with an upper sliding
进一步地,进退机构包括导轨,导轨与滑块滑动连接,导轨与直角折板二的横板二可调节固定连接,滑块固定在支撑板上,导轨的外端与横杆的中部固定连接,横杆的两端分别通过弹性件与连接板二连接,导轨上安装有可以转动的滚轮一,滚轮一与滚道滚动连接,滚道上设置有进位槽和退位件。Further, the advancing and retreating mechanism includes a guide rail, the guide rail is slidably connected with the slider, the guide rail is adjustable and fixedly connected with the second horizontal plate of the right-angle folded plate two, the slider is fixed on the support plate, and the outer end of the guide rail is fixedly connected with the middle of the horizontal bar, The two ends of the cross bar are respectively connected with the connecting
进一步地,滚道包括固定滚道和活动滚道,固定滚道为固定在机架上侧板内侧的长条直角折板一,活动滚道为通过靠近尾部的一个连接螺栓组件固定在机架上侧板底面的长条直角折板二,长条直角折板一的尾部与长条直角折板二的头部通过缝隙间隔,长条直角折板一尾端的长条竖板一上固定有退位件,退位件为平行四边形板,平行四边形板的一条边与长条直角折板一平行固定连接,平行四边形另一条边与长条直角折板二的长条竖板二呈30-45度的倾斜角,长条直角折板二的起始端与出料管的起始端位置平齐;长条直角折板二尾部的长条竖板二上设置有进位槽,进位槽为大致呈方形开口朝下的开口槽,长条直角折板二的长条竖板二尾端通过螺杆与支撑块连接,螺杆上套有弹簧一,支撑块固定在机架上。Further, the raceway includes a fixed raceway and a movable raceway, the fixed raceway is a long right-angle folded plate fixed on the inner side of the upper side plate of the frame, and the movable raceway is fixed on the frame through a connecting bolt assembly near the tail. The long right-angle folded plate II on the bottom surface of the upper side plate, the tail of the long right-angle folded
进一步地,套筒包括上半套筒和与其活动连接的下半套筒,上半套筒的顶部固定有套筒连接板,上半套筒的尾部固定有套筒盖,上半套筒的头部两侧固定有挡板,两挡板之间连接有支撑杆,支撑杆支撑下半套筒的左部,下半套筒靠右部固定有竖支撑板,竖支撑板内设置有滑动槽,滑动槽内设置有与滑动槽滑动连接的滑动细杆,滑动细杆靠内端安装有滚轮二,滚轮二与轨道滚动连接,滑动细杆的外端设置有限位螺母。Further, the sleeve includes an upper half sleeve and a lower half sleeve movably connected with it, a sleeve connecting plate is fixed on the top of the upper half sleeve, a sleeve cover is fixed at the tail of the upper half sleeve, and the upper half sleeve is fixed with a sleeve cover. Baffles are fixed on both sides of the head, a support rod is connected between the two baffles, the support rod supports the left part of the lower half sleeve, a vertical support plate is fixed on the right part of the lower half sleeve, and a sliding support plate is arranged in the vertical support plate The sliding groove is provided with a sliding thin rod slidably connected with the sliding groove, the inner end of the sliding thin rod is installed with a second roller, the second roller is connected with the track in a rolling manner, and the outer end of the sliding thin rod is provided with a limit nut.
进一步地,轨道为直角轨道,直角轨道的直角处为顺滑的圆弧过渡,滚轮二采用双滚轮,双滚轮的总轮宽大于直角轨道的宽度。Further, the track is a right-angle track, and the right angle of the right-angle track is a smooth arc transition. The second roller adopts double rollers, and the total wheel width of the double rollers is larger than the width of the right-angle track.
进一步地,直角折板一的竖板一与连接板一可调节固定连接,直角折板一的横板一与套筒连接板可调节固定连接,直角折板二的竖板二与弧形压板可调节固定连接,直角折板二的横板二与导轨可调节固定连接。Further, the
进一步地,竖板一上设置有腰型孔一,横板一上设置有腰型孔二,直角折板一通过腰型孔一、螺栓组件与连接板一可调节固定连接,直角折板一通过腰型孔二、螺栓组件与套筒连接板可调节固定连接,竖板二上设置有腰型孔三,横板二上设置有腰型孔四,直角折板二通过腰型孔三、螺栓组件与弧形压板可调节固定连接,直角折板二通过腰型孔四、螺栓组件与导轨可调节固定连接。Further, the
进一步地,驱动装置包括电机、链传动机构,电机与链传动机构连接,链传动机构中的链条与连接板连接,连接板与连接板一固定连接。Further, the driving device includes a motor and a chain transmission mechanism, the motor is connected with the chain transmission mechanism, the chain in the chain transmission mechanism is connected with a connecting plate, and the connecting plate and the connecting plate are fixedly connected.
进一步地,弹性件为弹簧,连接板二上设置有钩孔,弹簧的一端与钩孔连接,弹簧的另一端与横杆连接。Further, the elastic member is a spring, the second connecting plate is provided with a hook hole, one end of the spring is connected with the hook hole, and the other end of the spring is connected with the cross bar.
进一步地,可调节连接杆包括螺杆,螺杆中部螺纹连接有螺母,连接板一与螺母之间的螺杆上套有弹簧二。Further, the adjustable connecting rod includes a screw rod, a nut is threadedly connected in the middle of the screw rod, and a second spring is sleeved on the screw rod between the first connecting plate and the nut.
装袋机的起始位置为下半套筒的滚轮二位于直角轨道的下部尾端,下半套筒与上半套筒成倾斜打开状态,而滚轮一位于长条直角折板一的长条竖板的内侧头部。需要装袋时,菌袋套在出料管上,菌料从进料仓放入。The starting position of the bagging machine is that the
打开开关,驱动电机启动并带动搅拌机构对菌料进行搅拌,菌料通过螺旋杆从出料管出料进入菌袋;同时电机带动链传动机构运转,链传动机构运转其中链条转动带动连接板一朝出料管方向移动,连接板一的移动通过可调节连接杆带动连接板二移动;连接板一的移动同时带动上滑动座一在上滑动杆一上滑动,下滑动座一在下滑动杆一上滑动,从而带动套筒的下半套筒顺着直角轨道与上半套筒合拢,套筒逐渐套入出料管上的菌袋外;连接板二的移动带动上滑动座二在上滑动杆上滑动,下滑动座二在下滑动杆二上滑动,从而带动弧形压板朝出料管方向移动;而此时弹簧处于拉紧状态,滚轮一在长条直角折板一的长条竖板一内侧面滚动。Turn on the switch, drive the motor to start and drive the stirring mechanism to stir the bacteria material, and the bacteria material is discharged from the discharge pipe through the screw rod into the bacteria bag; at the same time, the motor drives the chain transmission mechanism to operate, and the chain transmission mechanism operates, wherein the chain rotation drives the connecting plate one. Moving towards the direction of the discharge pipe, the movement of the connecting
当滚轮一滚动到长条直角折板一尾部继续顺着长条直角折板二的长条竖板二的内侧面滚动,一直滚动到长条直角折板二尾部的进位槽时,由于弹簧失去拉紧力而自然收缩特性,滚轮一顺着进位槽退出,弧形压板径向进位从而使弧形压板处于压紧菌袋的状态;此时链条朝反方向转动并带动套筒朝反方向移动,从而带动弧形压板反方向移动,滚轮一位于长条直角折板二长条竖板二外,此时弧形压板压紧菌袋的尾部并反向移动;弧形压板压紧菌袋的尾部,防止装入菌料的菌袋从出料管退出时转动,当滚轮一返回滚动到长条直角折板二的起始端时,此时装入菌料的菌袋的头部随着套筒快要脱离出料管,菌袋不再需要弧形压板的压紧菌袋的头部,由于长条直角折板二通过靠近尾部的连接螺栓组件与机架的上侧板的底面固定连接,滚轮一顺着长条直角折板一尾端的平行四边形板的另一边把长条直角折板二的竖板二朝内压紧,逐渐进入长条直角折板一的长条竖板一的内侧面,弧形压板因平行四边形板而径向退位,此时弧形压板处于非压紧菌袋的状态。As soon as the roller rolls to the end of the long right-angle folded
而此时套筒返回时,由于滚轮二顺着直角轨道朝下滑动,从而使套筒的下半套筒顺着直角轨道自然朝下倾斜打开,菌棒顺着倾斜下半套筒自然顺滑而下而卸料,菌棒再进行下一步的扎口。At this time, when the sleeve returns, since the second roller slides down along the right-angle track, the lower half of the sleeve naturally slopes downward along the right-angle track to open, and the bacterial stick naturally slides along the inclined lower half of the sleeve. And down and unloading, the fungus sticks go to the next step of tying.
本发明的有益效果。Beneficial effects of the present invention.
1、本发明的菌棒装袋机,利用巧妙的进退机构实现弧形压板对菌袋头部进行压紧防止菌棒出料时转动,无需利用额外的驱动装置就可实现弧形压板的压紧,节约能源,减少成本,结构简单,压紧的位置定位精准,速度均匀,稳定性好。1. The bacteria stick bagging machine of the present invention utilizes an ingenious advance and retreat mechanism to realize that the arc-shaped pressure plate presses the head of the bacteria bag to prevent rotation of the bacteria sticks when discharging, and the pressure of the arc-shaped pressure plate can be realized without using an additional driving device Compact, energy saving, cost reduction, simple structure, precise positioning of the pressing position, uniform speed and good stability.
2、本发明的菌棒装袋机,采用机械结构的进退机构实现弧形压板的进位和退位,机械结构的进退机构,结构简单,进退位控制稳定,时间和位置控制精准,进位槽便于滚轮一的自然进位,而退位件和活动轨道便于滚轮一的自然退位,适用范围广,可适用多种规格的套筒和弧形压板尺寸。2. The bacterial stick bagging machine of the present invention adopts the advancing and retreating mechanism of the mechanical structure to realize the advancing and retreating of the arc-shaped pressing plate. The advancing and retreating mechanism of the mechanical structure has a simple structure, stable advancing and retreating control, precise time and position control, and the carrying slot is convenient for rollers. The natural advance of the first, and the abscission piece and the movable track facilitate the natural abscission of the roller one. It has a wide range of applications and can be applied to various sizes of sleeves and arc pressure plates.
3、本发明的菌棒装袋机,弧形压板与长条直角折板二的竖板采用腰型孔实现可调节固定连接,长条直角折板二的横板二与导轨采用腰型孔可调节固定连接,从而实现弧形压板的上下、前后距离的灵活调节,也可以随时根据需要更换不同尺寸的弧形压板。3. In the bacterial stick bagging machine of the present invention, the arc-shaped pressing plate and the vertical plate of the long right-angle folded
4、本发明的菌棒装袋机,直角折板一的竖板与连接板一采用腰型孔实现可调节固定连接,直角折板一的横板与套筒连接板采用腰型孔实现可调节固定连接,从而实现套筒的上下、左右位置的灵活调节,也可以随时根据需要更换不同尺寸的套筒。4. In the bacterial stick bagging machine of the present invention, the vertical plate and the connecting plate of the right-angle folded
5、本发明的菌棒装袋机,套筒采用上半套筒和下半套筒的分体机构,滚轮二与直角轨道滚动配合实现套筒的套入与自然卸料,而滚轮二采用双滚轮,双滚轮的总轮轮大于直角轨道的宽度,使得即使滚轮二有偏移也不会脱离轨道,保证了滚轮二与轨道的顺畅稳定的滚动。5. In the bacterial stick bagging machine of the present invention, the sleeve adopts the split mechanism of the upper half sleeve and the lower half sleeve. Double rollers, the total wheels of the double rollers are larger than the width of the right-angle track, so that even if the second roller is offset, it will not fall off the track, ensuring the smooth and stable rolling of the second roller and the track.
6、本发明的菌棒装袋机,连接板一与连接板二采用可调节连接杆,在套筒与弧形压板的运行过程中,便于调节套筒与弧形压板的相互间距;同时在套筒运动到最左端由于惯性会产生一定的冲击力,弹簧一可以对冲击力有一定的缓冲作用。6. In the bacterial stick bagging machine of the present invention, the connecting
7、本发明的菌棒装袋机,结构简单,采用巧妙机械结构的进退机构实现菌袋的头部的压紧与防转动,自然进位、退位,压紧时间和位置稳定精准,速度均匀,稳定性好,保证了菌料装入紧实,提高了装袋的质量和效率,自然卸料,节约能源,降低成本,简化了结构。7. The bacteria stick bagging machine of the present invention has a simple structure, adopts an advance and retreat mechanism with an ingenious mechanical structure to realize the compression and anti-rotation of the head of the bacteria bag, natural advance and retreat, stable and accurate compression time and position, and uniform speed. It has good stability, ensures that the bacteria material is packed tightly, improves the quality and efficiency of bagging, discharges materials naturally, saves energy, reduces costs, and simplifies the structure.
附图说明Description of drawings
为了更清楚地说明本发明实施例或现有技术中的技术方案,下面将对实施例或现有技术描述中所需要使用的附图作简单地介绍,显而易见地,下面描述中的附图仅仅是本发明的一些实施例,对于本领域普通技术人员来讲,在不付出创造性劳动的前提下,还可以根据这些附图获得其他的附图。In order to explain the embodiments of the present invention or the technical solutions in the prior art more clearly, the following briefly introduces the accompanying drawings that need to be used in the description of the embodiments or the prior art. Obviously, the accompanying drawings in the following description are only These are some embodiments of the present invention. For those of ordinary skill in the art, other drawings can also be obtained according to these drawings without creative efforts.
图1为本发明菌棒装袋机的立体结构示意图;Fig. 1 is the three-dimensional structure schematic diagram of the bacteria stick bagging machine of the present invention;
图2为本发明菌棒装袋机的立体结构示意图;Fig. 2 is the three-dimensional structure schematic diagram of the bacteria stick bagging machine of the present invention;
图3为本发明中套筒的立体结构示意图;Fig. 3 is the three-dimensional structure schematic diagram of the sleeve in the present invention;
图4为本发明中套筒的立体结构示意图;Fig. 4 is the three-dimensional structure schematic diagram of the sleeve in the present invention;
图5为本发明中进退机构的局部立体结构示意图;Fig. 5 is the partial three-dimensional structure schematic diagram of advancing and retreating mechanism in the present invention;
图6为本发明中进退机构的局部立体结构示意图;Fig. 6 is the partial three-dimensional structure schematic diagram of advancing and retreating mechanism in the present invention;
图7为本发明中活动轨道的平面示意图;7 is a schematic plan view of an active track in the present invention;
图8为本发明中进退机构的局部平面示意图;FIG. 8 is a partial plan view of the advance and retreat mechanism in the present invention;
图9为本发明中进退机构的平面示意图。FIG. 9 is a schematic plan view of the advancing and retreating mechanism in the present invention.
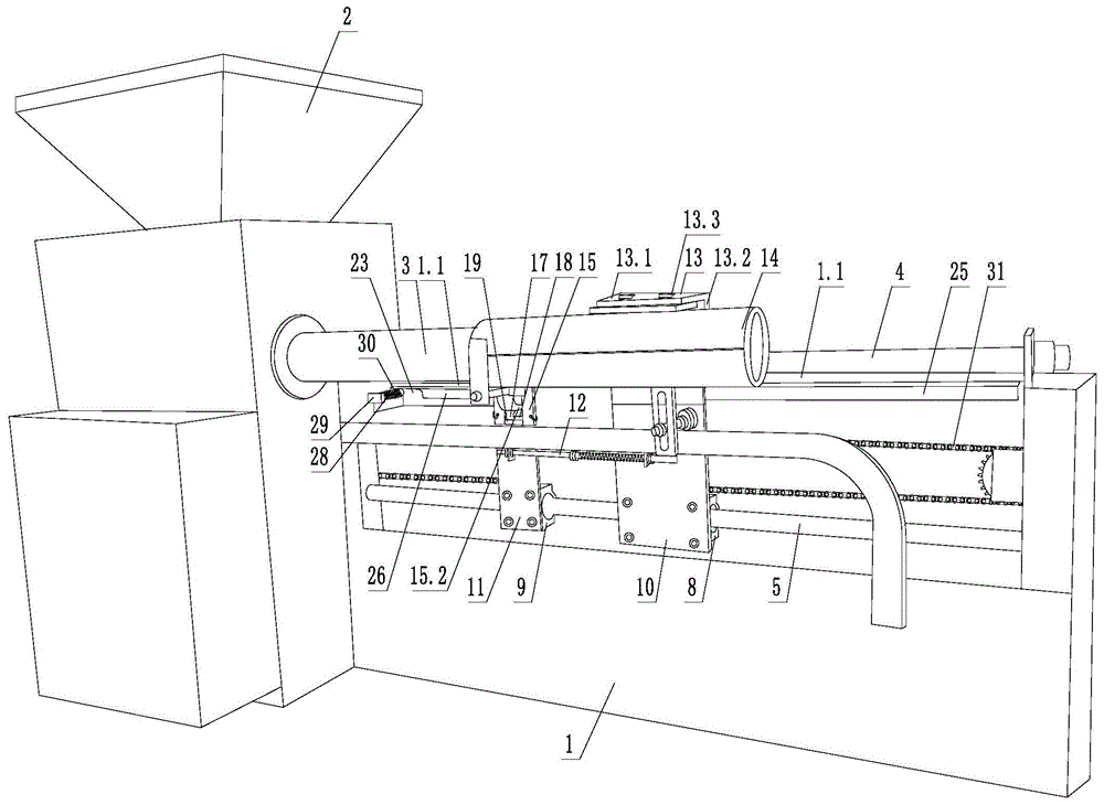
在图中:1、机架;1.1、上侧板;2、进料仓;3、出料管;4、上滑动杆;5、下滑动杆;6、上滑动座一;7、上滑动座二;8、下滑动座一;9、下滑动座二;10、连接板一;11、连接板二;12、可调节连接杆;13、直角折板一;13.1、竖板一;13.2、横板一;13.3、腰型孔一;14、套筒;14.1、上半套筒;14.2下半套筒;14.3、套筒连接板;14.4、套筒盖;14.5、挡板;14.6、支撑杆;14.7、竖支撑板;14.8、滑动槽;14.9、滑动细杆;14.10、滚轮二;14.11、轨道;14.12、限位螺母;15、直角折板二;15.1、竖板二;15.2、横板二;16、弧形压板;17、导轨;18、滑块;19、支撑板;20、横杆;21、弹性件;22、滚轮一;23、进位槽;24、退位件;25、固定滚道;26、活动滚道;27、缝隙;28、螺杆;29、支撑块;30、弹簧一;31、链条;32、连接板;33、连接螺栓组件。In the picture: 1. Rack; 1.1. Upper side plate; 2. Feeding bin; 3. Discharging pipe; 4. Upper sliding rod; 5. Lower sliding rod; 6. Upper sliding
具体实施方式Detailed ways
下面结合附图对本发明的优选实施例进行详细阐述,以使本发明的优点和特征能更易于被本领域技术人员理解,从而对本发明的保护范围做出更为清楚明确的界定。The preferred embodiments of the present invention will be described in detail below with reference to the accompanying drawings, so that the advantages and features of the present invention can be more easily understood by those skilled in the art, and the protection scope of the present invention can be more clearly defined.
如图1-9所示,本实施例中的这种菌棒装袋机,包括机架1,机架1上设置有进料仓2,进料仓2内设置有搅拌机构,进料仓2下部横向设置有出料管3,出料管3内设置有用于出料的螺旋杆,螺旋杆与驱动电机连接,机架1上还设置有与出料管3平行的上滑动杆4和下滑动杆5,上滑动杆4上滑动连接有上滑动座一6、上滑动座二7,下滑动杆5上滑动连接有下滑动座一8、下滑动座二9,上滑动座一6与下滑动座一8通过连接板一10固定连接,上滑动座二7与下滑动座二9通过连接板二11固定连接,连接板一10中部与连接板二11中部通过可调节连接杆12连接,连接板一10与驱动装置连接,连接板一10通过直角折板一13与用于套在出料管3外的套筒14可调节固定连接,连接板二11通过穿过连接板二11的直角折板二15与用于顶压在出料管3外壁的弧形压板16可调节固定连接,直角折板二15的横板二15.2与用于弧形压板16进位和退位的进退机构可调节固定连接,进退机构的底部与支撑板19固定连接,支撑板19垂直固定在连接板二11上。As shown in Figures 1-9, the bacterial stick bagging machine in this embodiment includes a
进退机构包括导轨17,导轨17与滑块18滑动连接,导轨17与直角折板二15的横板二15.2可调节固定连接,滑块18固定在支撑板19上,导轨17的外端与横杆20的中部固定连接,横杆20的两端分别通过弹性件21与连接板二11连接,导轨17上安装有可以转动的滚轮一22,滚轮一22与滚道滚动连接,滚道上设置有进位槽23和退位件24。The advancing and retreating mechanism includes a
滚道包括固定滚道25和活动滚道26,固定滚道25为固定在机架1上侧板1.1内侧的长条直角折板一,活动滚道26为通过靠近尾部的一个连接螺栓组件33固定在机架1上侧板1.1底面的长条直角折板二,长条直角折板一的尾部与长条直角折板二的头部通过缝隙27间隔,长条直角折板一尾端的长条竖板一上固定有退位件24,退位件24为平行四边形板,平行四边形板的一条边与长条直角折板一平行固定连接,平行四边形另一条边与长条直角折板二的长条竖板二呈30-45度的倾斜角,长条直角折板二的起始端与出料管3的起始端位置平齐;长条直角折板二尾部的长条竖板二上设置有进位槽23,进位槽23为大致呈方形开口朝下的开口槽,长条直角折板二的长条竖板二尾端通过螺杆28与支撑块29连接,螺杆28上套有弹簧一30,支撑块29固定在机架1上。The raceway includes a fixed
套筒14包括上半套筒14.1和与其活动连接的下半套筒14.2,上半套筒14.1的顶部固定有套筒连接板14.3,上半套筒14.1的尾部固定有套筒盖14.4,上半套筒14.1的头部两侧固定有挡板14.5,两挡板14.5之间连接有支撑杆14.6,支撑杆14.6支撑下半套筒14.2的左部,下半套筒14.2靠右部固定有竖支撑板14.7,竖支撑板14.7内设置有滑动槽14.8,滑动槽14.8内设置有与滑动槽14.8滑动连接的滑动细杆14.9,滑动细杆14.9靠内端安装有滚轮二14.10,滚轮二14.10与轨道14.11滚动连接,滑动细杆14.9的外端设置有限位螺母14.12。The
轨道14.11为直角轨道,直角轨道的直角处为顺滑的圆弧过渡,滚轮二14.10采用双滚轮,双滚轮的总轮宽大于直角轨道的宽度。The track 14.11 is a right-angle track, and the right angle of the right-angle track is a smooth arc transition. The
直角折板一13的竖板一13.1与连接板一10可调节固定连接,直角折板一13的横板一13.2与套筒连接板14.3可调节固定连接,直角折板二15的竖板二15.1与弧形压板16可调节固定连接,直角折板二15的横板二15.2与导轨17可调节固定连接。The vertical plate 13.1 of the right-
竖板一13.1上设置有腰型孔一13.3,横板一13.2上设置有腰型孔二13.4,直角折板一13通过腰型孔一13.3、螺栓组件与连接板一10可调节固定连接,直角折板一13通过腰型孔二13.4、螺栓组件与套筒连接板14.3可调节固定连接,竖板二15.1上设置有腰型孔三15.3,横板二15.2上设置有腰型孔四,直角折板二15通过腰型孔三15.3、螺栓组件与弧形压板16可调节固定连接,直角折板二15通过腰型孔四、螺栓组件与导轨17可调节固定连接。The vertical plate one 13.1 is provided with a waist-shaped hole one 13.3, the horizontal plate one 13.2 is provided with a waist-shaped hole two 13.4, the right-angle folded plate one 13 can be adjusted and fixedly connected through the waist-shaped hole one 13.3 and the bolt assembly and the connecting plate one 10, The right-angle folded
驱动装置包括电机、链传动机构,电机与链传动机构连接,链传动机构中的链条31与连接板32连接,连接板32与连接板一10固定连接。The driving device includes a motor and a chain transmission mechanism, the motor is connected with the chain transmission mechanism, the
弹性件21为弹簧,连接板二11上设置有钩孔,弹簧的一端与钩孔连接,弹簧的另一端与横杆20连接。The
可调节连接杆12包括螺杆12.1,螺杆12.1中部螺纹连接有螺母12.2,连接板一10与螺母12.2之间的螺杆12.1上套有弹簧二12.3。The adjustable connecting
本发明的工作原理和过程。The working principle and process of the present invention.
如图1-9所示,这种菌棒装袋机工作过程和原理。As shown in Figure 1-9, the working process and principle of this bacteria stick bagging machine.
装袋机的起始位置为下半套筒14.2的滚轮二14.10位于直角轨道的下部尾端,下半套筒14.2与上半套筒14.1成倾斜打开状态,而滚轮一22位于长条直角折板一的长条竖板的内侧头部。需要装袋时,菌袋套在出料管3上,菌料从进料仓2放入。The starting position of the bagging machine is that the roller two 14.10 of the lower half sleeve 14.2 is located at the lower end of the right-angle track, the lower half sleeve 14.2 and the upper half sleeve 14.1 are in an inclined open state, and the roller one 22 is located at the right angle fold of the long strip. The inner head of the long riser of plate one. When bagging is required, the bacterial bag is placed on the
打开开关,驱动电机启动并带动搅拌机构对菌料进行搅拌,菌料通过螺旋杆从出料管3出料进入菌袋;同时电机带动链传动机构运转,链传动机构运转其中链条31转动带动连接板一10朝出料管3方向移动,连接板一10的移动通过可调节连接杆12带动连接板二22移动;连接板一10的移动同时带动上滑动座一6在上滑动杆4上滑动,下滑动座一8在下滑动杆5上滑动,从而带动套筒14的下半套筒14.2顺着直角轨道与上半套筒14.1合拢,套筒14逐渐套入出料管3上的菌袋外;连接板二11的移动带动上滑动座二7在上滑动杆4上滑动,下滑动座二9在下滑动杆5上滑动,从而带动弧形压板16朝出料管3方向移动;而此时弹簧处于拉紧状态,滚轮一22在长条直角折板一的长条竖板一内侧面滚动。Turn on the switch, drive the motor to start and drive the stirring mechanism to stir the bacteria material, and the bacteria material is discharged from the
当滚轮一22滚动到长条直角折板一尾部继续顺着长条直角折板二的长条竖板二的内侧面滚动,一直滚动到长条直角折板二尾部的进位槽23时,由于弹簧失去拉紧力而自然收缩特性,滚轮一22顺着进位槽23退出,弧形压板16径向进位从而使弧形压板16处于压紧菌袋的状态;此时链条31朝反方向转动并带动套筒14朝反方向移动,从而带动弧形压板16反方向移动,滚轮一22位于长条直角折板二长条竖板二外,此时弧形压板16压紧菌袋的尾部并反向移动;弧形压板16压紧菌袋的尾部,防止装入菌料的菌袋从出料管3退出时转动,当滚轮一22返回滚动到长条直角折板二的起始端时,此时装入菌料的菌袋的头部随着套筒14快要脱离出料管3,菌袋不再需要弧形压板16的压紧菌袋的头部,由于长条直角折板二通过靠近尾部的连接螺栓组件33与机架1的上侧板的底面固定连接,滚轮一22顺着长条直角折板一尾端的平行四边形板的另一边把长条直角折板二的竖板二朝内压紧,逐渐进入长条直角折板一的长条竖板一的内侧面,弧形压板16因平行四边形板而径向退位,此时弧形压板16处于非压紧菌袋的状态。When the
而此时套筒14返回时,由于滚轮二14.10顺着直角轨道朝下滑动,从而使套筒14的下半套筒14.2顺着直角轨道自然朝下倾斜打开,菌棒顺着倾斜下半套筒14.2自然顺滑而下而卸料,菌棒再进行下一步的扎口。At this time, when the
这种菌棒装袋机,利用巧妙的进退机构实现弧形压板16对菌袋头部进行压紧防止菌棒出料时转动,无需利用额外的驱动装置就可实现弧形压板16的压紧,节约能源,减少成本,结构简单,压紧的位置定位精准,速度均匀,稳定性好。This kind of bacteria stick bagging machine uses an ingenious advance and retreat mechanism to realize that the arc-shaped
这种菌棒装袋机,采用机械结构的进退机构实现弧形压板16的进位和退位,机械结构的进退机构,结构简单,进退位控制稳定,时间和位置控制精准,进位槽23便于滚轮一的自然进位,而退位件24和活动轨道26便于滚轮一22的自然退位,适用范围广,可适用多种规格的套筒14和弧形压板16尺寸。This bacterial stick bagging machine adopts the advance and retreat mechanism of the mechanical structure to realize the advance and retreat of the arc-shaped
这种菌棒装袋机,弧形压板16与长条直角折板二的竖板采用腰型孔实现可调节固定连接,长条直角折板二的横板二与导轨采用腰型孔可调节固定连接,从而实现弧形压板16的上下、前后距离的灵活调节,也可以随时根据需要更换不同尺寸的弧形压板16。In this mushroom stick bagging machine, the
这种菌棒装袋机,直角折板一13的竖板13.1与连接板一10采用腰型孔实现可调节固定连接,直角折板一13的横板一13.2与套筒连接板14.3采用腰型孔实现可调节固定连接,从而实现套筒14的上下、左右位置的灵活调节,也可以随时根据需要更换不同尺寸的套筒。In this bacterial stick bagging machine, the vertical plate 13.1 of the right-
这种菌棒装袋机,套筒14采用上半套筒14.1和下半套筒14.2的分体机构,滚轮二14.10与直角轨道滚动配合实现套筒14的套入与自然卸料,而滚轮二14.10采用双滚轮,双滚轮的总轮轮大于直角轨道的宽度,使得即使滚轮二14.10有偏移也不会脱离轨道,保证了滚轮二14.10与轨道14.11的顺畅稳定的滚动。In this bacterial stick bagging machine, the
这种菌棒装袋机,连接板一10与连接板二11采用可调节连接杆12,在套筒14与弧形压板16的运行过程中,便于调节套筒14与弧形压板16的相互间距;同时在套筒14运动到最左端由于惯性会产生一定的冲击力,弹簧一30可以对冲击力有一定的缓冲作用。In this type of bacteria stick bagging machine, the first connecting
这种菌棒装袋机,结构简单,采用巧妙机械结构的进退机构实现菌袋的头部的压紧与防转动,自然进位、退位,压紧时间和位置稳定精准,速度均匀,稳定性好,保证了菌料装入紧实,提高了装袋的质量和效率,自然卸料,节约能源,降低成本,简化了结构。This kind of bacteria stick bagging machine has a simple structure. It adopts the advance and retreat mechanism of ingenious mechanical structure to realize the compression and anti-rotation of the head of the bacteria bag, natural advance and retreat, stable and accurate compression time and position, uniform speed and good stability , to ensure that the bacterial material is packed tightly, to improve the quality and efficiency of bagging, to discharge the material naturally, to save energy, reduce costs, and simplify the structure.
虽然本发明已通过参考优选的实施例进行了图示和描述,但是,本专业普通技术人员应当了解,在权利要求书的范围内,可作形式和细节上的各种各样变化。Although the present invention has been illustrated and described with reference to preferred embodiments, it will be understood by those of ordinary skill in the art that various changes in form and detail may be made within the scope of the claims.
Claims (10)
Priority Applications (1)
| Application Number | Priority Date | Filing Date | Title |
|---|---|---|---|
| CN202010895008.4A CN112056148B (en) | 2020-08-31 | 2020-08-31 | Mushroom stick bagging machine |
Applications Claiming Priority (1)
| Application Number | Priority Date | Filing Date | Title |
|---|---|---|---|
| CN202010895008.4A CN112056148B (en) | 2020-08-31 | 2020-08-31 | Mushroom stick bagging machine |
Publications (2)
| Publication Number | Publication Date |
|---|---|
| CN112056148A true CN112056148A (en) | 2020-12-11 |
| CN112056148B CN112056148B (en) | 2025-03-07 |
Family
ID=73666009
Family Applications (1)
| Application Number | Title | Priority Date | Filing Date |
|---|---|---|---|
| CN202010895008.4A Active CN112056148B (en) | 2020-08-31 | 2020-08-31 | Mushroom stick bagging machine |
Country Status (1)
| Country | Link |
|---|---|
| CN (1) | CN112056148B (en) |
Cited By (1)
| Publication number | Priority date | Publication date | Assignee | Title |
|---|---|---|---|---|
| CN113545252A (en) * | 2021-08-02 | 2021-10-26 | 庆元县菇星节能机械有限公司 | Fungus stick make-up machine |
Citations (10)
| Publication number | Priority date | Publication date | Assignee | Title |
|---|---|---|---|---|
| EP0640278A1 (en) * | 1993-08-31 | 1995-03-01 | Coöperatieve Nederlandse Champignonkwekersvereniging B.A. | A metering device for applying casing soil on compost for raising mushrooms or the like |
| CN202514336U (en) * | 2012-04-23 | 2012-11-07 | 庆元县菇星节能机械有限公司 | Automatic variable frequency control bagging machine |
| CN202587894U (en) * | 2012-04-25 | 2012-12-12 | 叶华 | Automatic bagging machine for edible fungus compost |
| KR101341168B1 (en) * | 2013-05-15 | 2013-12-13 | 최미순 | Packaging apparatus for culture medium of mushroom |
| CN203761908U (en) * | 2014-03-14 | 2014-08-13 | 叶礼奎 | Automatic bagging machine |
| CN203968739U (en) * | 2014-06-26 | 2014-12-03 | 浙江叶华机械制造有限公司 | Edible fungus stick automatic packer |
| JP2015084752A (en) * | 2013-11-01 | 2015-05-07 | ソフトプラスティック有限会社 | Mushroom bed cultivation method of mushroom |
| KR20160039911A (en) * | 2014-10-02 | 2016-04-12 | 김경화 | Culture medium filling apparatus for mushroom cultivation covering |
| US20190390156A1 (en) * | 2018-06-22 | 2019-12-26 | Ecovative Design Llc | Open-cell Mycelium Foam and Method of Making Same |
| CN212487683U (en) * | 2020-08-31 | 2021-02-09 | 庆元县菇星节能机械有限公司 | Fungus stick sack filling machine |
-
2020
- 2020-08-31 CN CN202010895008.4A patent/CN112056148B/en active Active
Patent Citations (10)
| Publication number | Priority date | Publication date | Assignee | Title |
|---|---|---|---|---|
| EP0640278A1 (en) * | 1993-08-31 | 1995-03-01 | Coöperatieve Nederlandse Champignonkwekersvereniging B.A. | A metering device for applying casing soil on compost for raising mushrooms or the like |
| CN202514336U (en) * | 2012-04-23 | 2012-11-07 | 庆元县菇星节能机械有限公司 | Automatic variable frequency control bagging machine |
| CN202587894U (en) * | 2012-04-25 | 2012-12-12 | 叶华 | Automatic bagging machine for edible fungus compost |
| KR101341168B1 (en) * | 2013-05-15 | 2013-12-13 | 최미순 | Packaging apparatus for culture medium of mushroom |
| JP2015084752A (en) * | 2013-11-01 | 2015-05-07 | ソフトプラスティック有限会社 | Mushroom bed cultivation method of mushroom |
| CN203761908U (en) * | 2014-03-14 | 2014-08-13 | 叶礼奎 | Automatic bagging machine |
| CN203968739U (en) * | 2014-06-26 | 2014-12-03 | 浙江叶华机械制造有限公司 | Edible fungus stick automatic packer |
| KR20160039911A (en) * | 2014-10-02 | 2016-04-12 | 김경화 | Culture medium filling apparatus for mushroom cultivation covering |
| US20190390156A1 (en) * | 2018-06-22 | 2019-12-26 | Ecovative Design Llc | Open-cell Mycelium Foam and Method of Making Same |
| CN212487683U (en) * | 2020-08-31 | 2021-02-09 | 庆元县菇星节能机械有限公司 | Fungus stick sack filling machine |
Cited By (2)
| Publication number | Priority date | Publication date | Assignee | Title |
|---|---|---|---|---|
| CN113545252A (en) * | 2021-08-02 | 2021-10-26 | 庆元县菇星节能机械有限公司 | Fungus stick make-up machine |
| CN113545252B (en) * | 2021-08-02 | 2023-03-10 | 庆元县菇星节能机械有限公司 | Fungus stick make-up machine |
Also Published As
| Publication number | Publication date |
|---|---|
| CN112056148B (en) | 2025-03-07 |
Similar Documents
| Publication | Publication Date | Title |
|---|---|---|
| CN206900692U (en) | Suitable for the adjustable upset blanking device of capacity of particles packing machine | |
| CN112056148A (en) | Fungus stick sack filling machine | |
| CN210708025U (en) | Novel probiotic powder automatic packaging machine | |
| CN212487683U (en) | Fungus stick sack filling machine | |
| CN108928043A (en) | Carton impression device | |
| CN218477715U (en) | Screw packaging assembly line | |
| CN113493032B (en) | Blanking bag packaging machine | |
| CN106240861B (en) | Bag package machine material measuring feeding device | |
| CN118025578A (en) | Paste box-packed case all-in-one | |
| CN219565668U (en) | Vertical box unpacking machine | |
| CN119610790A (en) | Packaging bag heat-sealing compression molding equipment and method | |
| CN219259068U (en) | A mobile feeding device | |
| CN213503120U (en) | A advance and retreat device that is used for arc clamp plate to compress tightly fungus bag | |
| CN214085128U (en) | Blanking type handbag packaging machine | |
| CN111038774A (en) | Servo horizontal case unpacking machine | |
| CN116923958A (en) | Automatic integrated equipment for paper box printing and processing | |
| CN206813457U (en) | A kind of traverse sealing device of packing machine | |
| CN117023196A (en) | Telescopic car loader | |
| CN222246348U (en) | A cardboard flattening device for packaging boxes | |
| CN210973239U (en) | Bag body paster ejection of compact subassembly | |
| CN219750296U (en) | Packaging bag stack packing device with auxiliary pressing mechanism | |
| CN215683822U (en) | Bag withdrawing device of fungus stick forming machine | |
| CN222571735U (en) | A box collecting mechanism of a box gluing machine | |
| CN220409801U (en) | Carton packaging machine | |
| CN207748078U (en) | A kind of rectangular paper extraction sack filling machine |
Legal Events
| Date | Code | Title | Description |
|---|---|---|---|
| PB01 | Publication | ||
| PB01 | Publication | ||
| SE01 | Entry into force of request for substantive examination | ||
| SE01 | Entry into force of request for substantive examination | ||
| GR01 | Patent grant | ||
| GR01 | Patent grant |
