CN111661945A - Sewage treatment device with floater collecting and treating functions - Google Patents
Sewage treatment device with floater collecting and treating functions Download PDFInfo
- Publication number
- CN111661945A CN111661945A CN202010563446.0A CN202010563446A CN111661945A CN 111661945 A CN111661945 A CN 111661945A CN 202010563446 A CN202010563446 A CN 202010563446A CN 111661945 A CN111661945 A CN 111661945A
- Authority
- CN
- China
- Prior art keywords
- sewage treatment
- equipment
- motor
- rotating shaft
- process according
- Prior art date
- Legal status (The legal status is an assumption and is not a legal conclusion. Google has not performed a legal analysis and makes no representation as to the accuracy of the status listed.)
- Pending
Links
Images
Classifications
-
- C—CHEMISTRY; METALLURGY
- C02—TREATMENT OF WATER, WASTE WATER, SEWAGE, OR SLUDGE
- C02F—TREATMENT OF WATER, WASTE WATER, SEWAGE, OR SLUDGE
- C02F1/00—Treatment of water, waste water, or sewage
- C02F1/40—Devices for separating or removing fatty or oily substances or similar floating material
-
- C—CHEMISTRY; METALLURGY
- C02—TREATMENT OF WATER, WASTE WATER, SEWAGE, OR SLUDGE
- C02F—TREATMENT OF WATER, WASTE WATER, SEWAGE, OR SLUDGE
- C02F1/00—Treatment of water, waste water, or sewage
- C02F2001/007—Processes including a sedimentation step
-
- C—CHEMISTRY; METALLURGY
- C02—TREATMENT OF WATER, WASTE WATER, SEWAGE, OR SLUDGE
- C02F—TREATMENT OF WATER, WASTE WATER, SEWAGE, OR SLUDGE
- C02F2303/00—Specific treatment goals
- C02F2303/14—Maintenance of water treatment installations
Landscapes
- Chemical & Material Sciences (AREA)
- Analytical Chemistry (AREA)
- Life Sciences & Earth Sciences (AREA)
- Hydrology & Water Resources (AREA)
- Engineering & Computer Science (AREA)
- Environmental & Geological Engineering (AREA)
- Water Supply & Treatment (AREA)
- Organic Chemistry (AREA)
- Removal Of Floating Material (AREA)
Abstract
本发明涉及一种具有漂浮物收集处理的污水处理设备,包括设备外壳、排泥机构和定位套,所述设备外壳的外部设置有支撑机构,所述固定板的一侧设置有螺丝,所述第一电机的上方连接有链条,所述排泥机构位于转轴的另一侧,所述设备外壳的后方安装有水位监测管,且水位监测管的一侧设置有进水口,所述进水口的上方安装有阀门,且进水口的下方固定有排水口,所述转轴的外部设置有轮轴,本发明的有益效果是:该具有漂浮物收集处理的污水处理设备,通过第二电机调节捞取斗的高度,通过捞取斗进行旋转捞取漂浮物,通过手机机构进行收集漂浮物,通过支撑机构调节设备的高度,从而便于工作人员收集沉淀物,通过清理机构对设备的内表面进行清洗。
The invention relates to a sewage treatment equipment with floating object collection and treatment, comprising an equipment casing, a sludge discharge mechanism and a positioning sleeve, a support mechanism is arranged outside the equipment casing, a screw is arranged on one side of the fixing plate, A chain is connected above the first motor, the mud discharge mechanism is located on the other side of the rotating shaft, a water level monitoring pipe is installed behind the equipment shell, and a water inlet is provided on one side of the water level monitoring pipe. A valve is installed above, a water outlet is fixed below the water inlet, and a wheel shaft is arranged on the outside of the rotating shaft. The beneficial effect of the present invention is that: the sewage treatment equipment with the collection and treatment of floating objects is adjusted by the second motor. The height of the equipment is adjusted by rotating the scooping bucket, collecting the floating objects through the mobile phone mechanism, and adjusting the height of the equipment through the support mechanism, so as to facilitate the staff to collect the sediment, and clean the inner surface of the equipment through the cleaning mechanism.
Description
技术领域technical field
本发明涉及污水处理技术领域,具体为一种具有漂浮物收集处理的污水处理设备。The invention relates to the technical field of sewage treatment, in particular to a sewage treatment device with floating object collection and treatment.
背景技术Background technique
污水处理设备主要目的是将生活污水和与之相类似的工业有机废水处理后达到回用水质要求,使废水处理后资源化利用,在总结国内外先进经验的基础上,不断改进污水 处理工艺,促进了污水处理设备的大发展。The main purpose of sewage treatment equipment is to treat domestic sewage and similar industrial organic waste water to meet the water quality requirements for reuse, so that the waste water can be reused after treatment . Promote the development of sewage treatment equipment.
现有的污水处理设备不便于清理污水表面的漂浮物,容易导致污水液面漂浮物堆积,影响设备的工作,同时现有的污水处理设备的高度固定不便于推车推至设备下方收集沉淀物,现有的污水处理装置不便于清理设备内部表面,导致大量杂物吸附在设备表面的问题。The existing sewage treatment equipment is inconvenient to clean the floating objects on the sewage surface, which is easy to cause the accumulation of floating objects on the sewage surface, which affects the work of the equipment. At the same time, the fixed height of the existing sewage treatment equipment is not convenient for a cart to be pushed under the equipment to collect sediment. , the existing sewage treatment device is inconvenient to clean the inner surface of the equipment, which leads to the problem that a large amount of sundries are adsorbed on the surface of the equipment.
发明内容SUMMARY OF THE INVENTION
本发明的目的在于提供一种具有漂浮物收集处理的污水处理设备,以解决上述背景技术中提出的现有的污水处理设备不便于清理污水表面的漂浮物,容易导致污水液面漂浮物堆积,影响设备的工作,同时现有的污水处理设备的高度固定不便于推车推至设备下方收集沉淀物,现有的污水处理装置不便于清理设备内部表面,导致大量杂物吸附在设备表面的问题。The purpose of the present invention is to provide a sewage treatment equipment with floating object collection and treatment, in order to solve the problem that the existing sewage treatment equipment proposed in the above-mentioned background technology is inconvenient to clean the floating objects on the surface of the sewage, and easily leads to the accumulation of the floating objects on the surface of the sewage, It affects the work of the equipment. At the same time, the fixed height of the existing sewage treatment equipment is inconvenient for the cart to be pushed under the equipment to collect sediment. The existing sewage treatment device is not convenient for cleaning the internal surface of the equipment, resulting in the problem that a large amount of debris is adsorbed on the surface of the equipment. .
为实现上述目的,本发明提供如下技术方案:一种具有漂浮物收集处理的污水处理设备,包括设备外壳、排泥机构和定位套,所述设备外壳的外部设置有支撑机构,且设备外壳的下方固定有固定板,所述固定板的一侧设置有螺丝,且螺丝的另一侧安装有第一电机,所述第一电机的上方连接有链条,且链条的一侧连接有转轴,所述排泥机构位于转轴的另一侧,所述设备外壳的后方安装有水位监测管,且水位监测管的一侧设置有进水口,所述进水口的上方安装有阀门,且进水口的下方固定有排水口,所述转轴的外部设置有轮轴,且轮轴的外部连接有定位杆,所述转轴的上方设置有清理机构,所述定位套位于轮轴的上方,且定位套的上方安装有第二电机,所述第二电机的一侧设置有齿轮,且齿轮的后方固定有齿条,所述定位套的左右两侧固定有固定套杆,且固定套杆远离转轴中轴线的一侧安装有第三电机,所述固定套杆的内部安装有转动杆,且转动杆的下方固定有捞取斗,所述转动杆的左右两端设置有转轮,所述固定套杆的后方设置有收集机构。In order to achieve the above purpose, the present invention provides the following technical solutions: a sewage treatment equipment with floating object collection and treatment, including an equipment casing, a sludge discharge mechanism and a positioning sleeve, the outside of the equipment casing is provided with a support mechanism, and the equipment casing is provided with a supporting mechanism. A fixing plate is fixed below, a screw is arranged on one side of the fixing plate, a first motor is installed on the other side of the screw, a chain is connected above the first motor, and a rotating shaft is connected on one side of the chain, so The sludge discharge mechanism is located on the other side of the rotating shaft, a water level monitoring pipe is installed at the rear of the equipment shell, and a water inlet is arranged on one side of the water level monitoring pipe, a valve is installed above the water inlet, and the bottom of the water inlet is installed. A water outlet is fixed, a wheel shaft is arranged on the outside of the rotating shaft, and a positioning rod is connected to the outside of the wheel shaft, a cleaning mechanism is arranged above the rotating shaft, the positioning sleeve is located above the wheel shaft, and a third Two motors, one side of the second motor is provided with a gear, and a rack is fixed behind the gear, and a fixed sleeve rod is fixed on the left and right sides of the positioning sleeve, and the fixed sleeve rod is installed on the side away from the central axis of the rotating shaft There is a third motor, a rotating rod is installed inside the fixed sleeve rod, and a fishing bucket is fixed below the rotating rod, the left and right ends of the rotating rod are provided with runners, and the rear of the fixed sleeve rod is provided with a collection mechanism.
优选的,所述支撑机构包括连接杆、气缸、支撑杆、连接销和撑脚,且连接杆的下方连接有气缸,所述气缸的左侧设置有支撑杆,且支撑杆的下方连接有连接销,所述连接销的下方设置有撑脚。Preferably, the supporting mechanism includes a connecting rod, a cylinder, a supporting rod, a connecting pin and a supporting foot, and a cylinder is connected below the connecting rod, a supporting rod is provided on the left side of the cylinder, and a connecting rod is connected below the supporting rod A support pin is provided below the connecting pin.
优选的,所述支撑杆通过连接销与撑脚相连接,且支撑杆与连接杆之间为活动连接。Preferably, the support rod is connected with the support foot through a connecting pin, and the support rod and the connecting rod are movably connected.
优选的,所述转轴通过链条与第一电机相连接,且转轴通过轮轴与设备外壳之间构成旋转结构。Preferably, the rotating shaft is connected with the first motor through a chain, and a rotating structure is formed between the rotating shaft and the equipment casing through the wheel shaft.
优选的,所述排泥机构包括密封盖和排泥管,且密封盖的上方设置有排泥管。Preferably, the mud discharging mechanism includes a sealing cover and a mud discharging pipe, and a mud discharging pipe is arranged above the sealing cover.
优选的,所述密封盖与排泥管之间为螺纹连接,且排泥管与设备外壳之间构成焊接一体化结构。Preferably, the sealing cover and the mud discharge pipe are threadedly connected, and a welded integrated structure is formed between the mud discharge pipe and the equipment shell.
优选的,所述水位监测管与设备外壳之间构成导通器结构,且设备外壳与水位监测管之间为粘接。Preferably, a conductor structure is formed between the water level monitoring pipe and the equipment casing, and the equipment casing and the water level monitoring pipe are bonded.
优选的,所述齿轮的外表面与齿条相啮合,且齿条与转轴之间为焊接。Preferably, the outer surface of the gear meshes with the rack, and the rack and the shaft are welded.
优选的,所述收集机构包括收集箱、挂钩和挂环,且收集箱的上方固定有挂钩,所述挂钩的前方设置有挂环。Preferably, the collection mechanism includes a collection box, a hook and a hanging ring, a hook is fixed above the collection box, and a hanging ring is arranged in front of the hook.
优选的,所述清理机构包括清理杆和清理毛刷,且清理杆远离设备外壳中轴线的一侧设置有清理毛刷。Preferably, the cleaning mechanism includes a cleaning rod and a cleaning brush, and a cleaning brush is provided on the side of the cleaning rod away from the central axis of the equipment housing.
与现有技术相比,本发明的有益效果如下:Compared with the prior art, the beneficial effects of the present invention are as follows:
1、本发明通过气缸控制连接杆和支撑杆之间的夹角,从而对设备外壳进行抬高,便于工作人员用推车收集沉淀物,当设备正常工作时降低设备外壳的高度,使设备的重心下移,提高设备的稳定性。1. The present invention controls the angle between the connecting rod and the support rod through the air cylinder, thereby raising the equipment shell, which is convenient for the staff to collect sediment with a cart, and reduces the height of the equipment shell when the equipment is working normally, so that the The center of gravity is moved down to improve the stability of the device.
2、本发明通过第一电机通过链条带动转轴旋转,从而带动捞取斗进行旋转,对污水表面的漂浮物进行捞取,提高设备的污水处理效果。2. In the present invention, the first motor drives the shaft to rotate through the chain, thereby driving the scooping bucket to rotate, scooping up the floating objects on the sewage surface, and improving the sewage treatment effect of the equipment.
3、本发明通过水位监测管与设备外壳之间构成的导通器结构观察设备内部水位,然后通过第二电机控制齿轮旋转,与齿条配合控制固定套杆的高度,从而使捞取斗能够与液面齐平,便于捞取漂浮物。3. The present invention observes the internal water level of the equipment through the conductor structure formed between the water level monitoring pipe and the equipment shell, and then controls the rotation of the gear through the second motor, and controls the height of the fixed sleeve rod in cooperation with the rack, so that the fishing bucket can be The liquid level is flush, making it easy to pick up floating objects.
4、本发明通过第三电机控制转动杆旋转,从而能够控制捞取斗的转动,便于捞取斗把捞取的漂浮物倒入收集箱中,收集箱通过挂钩与挂环铰接,便于工作人员拆下收集箱,清理漂浮物。4. The invention controls the rotation of the rotating rod through the third motor, so that the rotation of the fishing bucket can be controlled, which is convenient for the fishing bucket to pour the collected floating objects into the collection box. box to clean up flotsam.
5、本发明通过转轴带动清理杆旋转,从容带动清理毛刷进行旋转,使清理毛刷能够对设备的内表面进行清理,使设备在较为洁净的环境下进行工作,防止污水处理的不够彻底。5. The present invention drives the cleaning rod to rotate through the rotating shaft, and calmly drives the cleaning brush to rotate, so that the cleaning brush can clean the inner surface of the equipment, so that the equipment can work in a relatively clean environment and prevent the sewage treatment from being insufficiently thorough.
附图说明Description of drawings
图1为本发明一种具有漂浮物收集处理的污水处理设备的正视剖面结构示意图;FIG. 1 is a schematic view of the front cross-sectional structure of a sewage treatment equipment with floating object collection and treatment according to the present invention;
图2为本发明一种具有漂浮物收集处理的污水处理设备的侧视结构示意图;FIG. 2 is a schematic side view of the structure of a sewage treatment equipment with floating object collection and treatment according to the present invention;
图3为本发明一种具有漂浮物收集处理的污水处理设备的后视结构示意图;FIG. 3 is a schematic view of the rear view of a sewage treatment equipment with floating object collection and treatment according to the present invention;
图4为本发明一种具有漂浮物收集处理的污水处理设备的图1中A处放大结构示意图;FIG. 4 is an enlarged schematic structural diagram of a sewage treatment equipment with floating object collection and treatment in FIG. 1 according to the present invention;
图5为本发明一种具有漂浮物收集处理的污水处理设备的图1中B处放大结构示意图;FIG. 5 is an enlarged schematic structural diagram of a sewage treatment equipment with floating object collection and treatment according to the present invention at B in FIG. 1 ;
图6为本发明一种具有漂浮物收集处理的污水处理设备的收集机构俯视放大结构示意图。FIG. 6 is an enlarged schematic top view of a collection mechanism of a sewage treatment equipment with floating object collection and treatment according to the present invention.
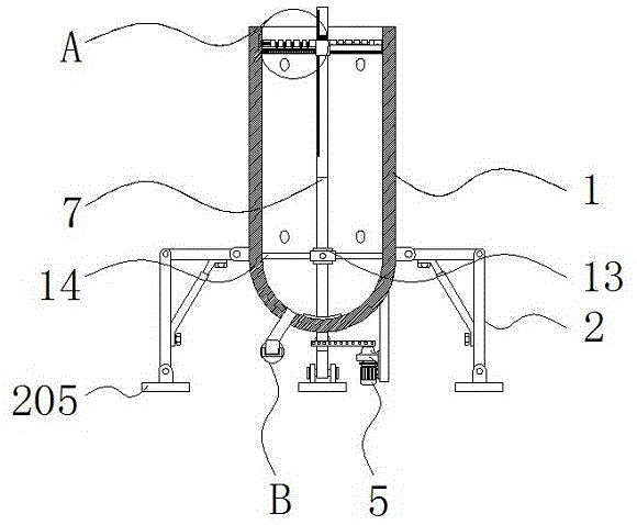
图中:1、设备外壳;2、支撑机构;201、连接杆;202、气缸;203、支撑杆;204、连接销;205、撑脚;3、固定板;4、螺丝;5、第一电机;6、链条;7、转轴;8、排泥机构;801、密封盖;802、排泥管;9、水位监测管;10、进水口;11、阀门;12、排水口;13、轮轴;14、定位杆;15、定位套;16、第二电机;17、齿轮;18、齿条;19、固定套杆;20、第三电机;21、转动杆;22、捞取斗;23、转轮;24、收集机构;2401、收集箱;2402、挂钩;2403、挂环;25、清理机构;2501、清理杆;2502、清理毛刷。In the figure: 1. Equipment shell; 2. Supporting mechanism; 201, connecting rod; 202, cylinder; 203, support rod; 204, connecting pin; 205, support foot; 3, fixing plate; 4, screw; Motor; 6. Chain; 7. Rotary shaft; 8. Mud discharge mechanism; 801, Sealing cover; 802, Mud discharge pipe; 9. Water level monitoring pipe; 10, Water inlet; 11, Valve; 12, Drain outlet; 13, Wheel shaft ; 14, positioning rod; 15, positioning sleeve; 16, second motor; 17, gear; 18, rack; 19, fixed sleeve rod; 20, third motor; 21, rotating rod; 22, fishing bucket; 23, runner; 24, collection mechanism; 2401, collection box; 2402, hook; 2403, hanging ring; 25, cleaning mechanism; 2501, cleaning rod; 2502, cleaning brush.
具体实施方式Detailed ways
下面将结合本发明实施例中的附图,对本发明实施例中的技术方案进行清楚、完整地描述,显然,所描述的实施例仅仅是本发明一部分实施例,而不是全部的实施例。The technical solutions in the embodiments of the present invention will be clearly and completely described below with reference to the accompanying drawings in the embodiments of the present invention. Obviously, the described embodiments are only a part of the embodiments of the present invention, but not all of the embodiments.
在本发明的描述中,除非另有说明,“多个”的含义是两个或两个以上;术语“上”、“下”、“左”、“右”、“内”、“外”、“前端”、“后端”、“头部”、“尾部”等指示的方位或位置关系为基于附图所示的方位或位置关系,仅是为了便于描述本发明和简化描述,而不是指示或暗示所指的装置或元件必须具有特定的方位、以特定的方位构造和操作,因此不能理解为对本发明的限制,此外,术语“第一”、“第二”、“第三”等仅用于描述目的,而不能理解为指示或暗示相对重要性。In the description of the present invention, unless otherwise stated, "plurality" means two or more; the terms "upper", "lower", "left", "right", "inner", "outer" The orientation or positional relationship indicated by , "front end", "rear end", "head", "tail", etc. are based on the orientation or positional relationship shown in the accompanying drawings, and are only for the convenience of describing the present invention and simplifying the description, not Indicates or implies that the referred device or element must have a specific orientation, be constructed and operate in a specific orientation, and therefore should not be construed as a limitation of the invention, in addition, the terms "first", "second", "third", etc. For descriptive purposes only and should not be construed to indicate or imply relative importance.
在本发明的描述中,需要说明的是,除非另有明确的规定和限定,术语“相连”、“连接”应做广义理解,例如,可以是固定连接,也可以是可拆卸连接,或一体地连接;可以是机械连接,也可以是电连接;可以是直接相连,也可以通过中间媒介间接相连,对于本领域的普通技术人员而言,可以具体情况理解上述术语在本发明中的具体含义。In the description of the present invention, it should be noted that, unless otherwise expressly specified and limited, the terms "connected" and "connected" should be understood in a broad sense, for example, it may be a fixed connection, a detachable connection, or an integral connection. ground connection; it can be a mechanical connection or an electrical connection; it can be directly connected, or indirectly connected through an intermediate medium. .
请参阅图1-6,本发明提供一种技术方案:一种具有漂浮物收集处理的污水处理设备,包括设备外壳1、排泥机构8和定位套15,设备外壳1的外部设置有支撑机构2,且设备外壳1的下方固定有固定板3,支撑机构2包括连接杆201、气缸202、支撑杆203、连接销204和撑脚205,且连接杆201的下方连接有气缸202,气缸202的左侧设置有支撑杆203,且支撑杆203的下方连接有连接销204,连接销204的下方设置有撑脚205,支撑杆203通过连接销204与撑脚205相连接,且支撑杆203与连接杆201之间为活动连接,通过气缸202控制连接杆201和支撑杆203之间的夹角,从而对设备外壳1进行抬高,便于工作人员用推车收集沉淀物,当设备正常工作时降低设备外壳1的高度,使设备的重心下移,提高设备的稳定性。1-6, the present invention provides a technical solution: a sewage treatment equipment with floating object collection and treatment, including an
固定板3的一侧设置有螺丝4,且螺丝4的另一侧安装有第一电机5,第一电机5的上方连接有链条6,且链条6的一侧连接有转轴7,转轴7通过链条6与第一电机5相连接,且转轴7通过轮轴13与设备外壳1之间构成旋转结构,通过第一电机5通过链条6带动转轴7旋转,从而带动捞取斗22进行旋转,对污水表面的漂浮物进行捞取,提高设备的污水处理效果。One side of the
排泥机构8位于转轴7的另一侧,排泥机构8包括密封盖801和排泥管802,且密封盖801的上方设置有排泥管802,密封盖801与排泥管802之间为螺纹连接,且排泥管802与设备外壳1之间构成焊接一体化结构,设备外壳1的后方安装有水位监测管9,且水位监测管9的一侧设置有进水口10,水位监测管9与设备外壳1之间构成导通器结构,且设备外壳1与水位监测管9之间为粘接,通过水位监测管9与设备外壳1之间构成的导通器结构观察设备内部水位,然后通过第二电机16控制齿轮17旋转,与齿条18配合控制固定套杆19的高度,从而使捞取斗22能够与液面齐平,便于捞取漂浮物。The
进水口10的上方安装有阀门11,且进水口10的下方固定有排水口12,转轴7的外部设置有轮轴13,且轮轴13的外部连接有定位杆14,转轴7的上方设置有清理机构25,清理机构25包括清理杆2501和清理毛刷2502,且清理杆2501远离设备外壳1中轴线的一侧设置有清理毛刷2502,通过转轴7带动清理杆2501旋转,从容带动清理毛刷2502进行旋转,使清理毛刷2502能够对设备的内表面进行清理,使设备在较为洁净的环境下进行工作,防止污水处理的不够彻底。A
定位套15位于轮轴13的上方,且定位套15的上方安装有第二电机16,第二电机16的一侧设置有齿轮17,且齿轮17的后方固定有齿条18,齿轮17的外表面与齿条18相啮合,且齿条18与转轴7之间为焊接,定位套15的左右两侧固定有固定套杆19,且固定套杆19远离转轴7中轴线的一侧安装有第三电机20,固定套杆19的内部安装有转动杆21,且转动杆21的下方固定有捞取斗22,转动杆21的左右两端设置有转轮23,固定套杆19的后方设置有收集机构24,收集机构24包括收集箱2401、挂钩2402和挂环2403,且收集箱2401的上方固定有挂钩2402,挂钩2402的前方设置有挂环2403,通过第三电机20控制转动杆21旋转,从而能够控制捞取斗22的转动,便于捞取斗22把捞取的漂浮物倒入收集箱2401中,收集箱2401通过挂钩2402与挂环2403铰接,便于工作人员拆下收集箱2401,清理漂浮物。The
综上,该具有漂浮物收集处理的污水处理设备,使用时,通过进水口10把污水添加到设备外壳1的内部,然后对设备进行静置使沉淀物进行沉淀,上浮物进行上浮,通过水位监测管9观察设备内部的液位,然后打开第二电机16带动齿轮17旋转与齿条18配合控制捞取斗22的位置,便于捞取斗22进行捞取漂浮物,然后打开第一电机5通过链条6带动转轴7旋转,通过轮轴13对转轴7进行支撑定位,转轴7旋转带动固定套杆19旋转,进而带动捞取斗22旋转进行捞取漂浮物,同时清理杆2501也会跟随转轴7旋转,从而带动清理毛刷2502对设备外壳1的内表面进行清理,然后打开第三电机20控制通过转轮23与固定套杆19构成旋转结构的转动杆21旋转,从而带动捞取斗22旋转把捞取斗22捞取的漂浮物倒入收集箱2401的内部,收集箱2401通过挂钩2402与挂环2403铰接,设备工作完毕后通过排水口12排出设备内部沉淀完成的污水,打开气缸202,控制支撑杆203与连接杆201之间的夹角,从而对设备外壳1进行提升,然后打开与排泥管802之间螺纹连接的密封盖801排出设备内部的沉淀物。In summary, the sewage treatment equipment with floating object collection and treatment, when in use, adds sewage to the inside of the
以上所述,仅为本发明较佳的具体实施方式,但本发明的保护范围并不局限于此,任何熟悉本技术领域的技术人员在本发明揭露的技术范围内,根据本发明的技术方案及其发明构思加以等同替换或改变,都应涵盖在本发明的保护范围之内。The above description is only a preferred embodiment of the present invention, but the protection scope of the present invention is not limited to this. The equivalent replacement or change of the inventive concept thereof shall be included within the protection scope of the present invention.
Claims (10)
Priority Applications (1)
| Application Number | Priority Date | Filing Date | Title |
|---|---|---|---|
| CN202010563446.0A CN111661945A (en) | 2020-06-19 | 2020-06-19 | Sewage treatment device with floater collecting and treating functions |
Applications Claiming Priority (1)
| Application Number | Priority Date | Filing Date | Title |
|---|---|---|---|
| CN202010563446.0A CN111661945A (en) | 2020-06-19 | 2020-06-19 | Sewage treatment device with floater collecting and treating functions |
Publications (1)
| Publication Number | Publication Date |
|---|---|
| CN111661945A true CN111661945A (en) | 2020-09-15 |
Family
ID=72388893
Family Applications (1)
| Application Number | Title | Priority Date | Filing Date |
|---|---|---|---|
| CN202010563446.0A Pending CN111661945A (en) | 2020-06-19 | 2020-06-19 | Sewage treatment device with floater collecting and treating functions |
Country Status (1)
| Country | Link |
|---|---|
| CN (1) | CN111661945A (en) |
Cited By (1)
| Publication number | Priority date | Publication date | Assignee | Title |
|---|---|---|---|---|
| CN112340868A (en) * | 2020-11-24 | 2021-02-09 | 贵州师范学院 | Industrial sewage treatment and purification equipment |
Citations (17)
| Publication number | Priority date | Publication date | Assignee | Title |
|---|---|---|---|---|
| CN101182053A (en) * | 2007-11-12 | 2008-05-21 | 中国海洋石油总公司 | Backflow air-floating device for water-arrangement optimization multi-phase flow pump |
| JP2011005435A (en) * | 2009-06-26 | 2011-01-13 | Sumiju Kankyo Engineering Kk | Scum scraping device and sedimentation tank |
| WO2011095674A1 (en) * | 2010-02-04 | 2011-08-11 | Finnketju Invest Oy | Apparatus for removal of surface scum |
| CN202007147U (en) * | 2011-02-25 | 2011-10-12 | 宝山钢铁股份有限公司 | Scum collector |
| CN103301658A (en) * | 2013-04-27 | 2013-09-18 | 江苏中超环保有限公司 | Efficient micro-resistance pulsating vortex sedimentation device |
| CN106621491A (en) * | 2017-01-12 | 2017-05-10 | 河海大学常州校区 | Suspended center-transmission sludge scraper |
| CN107520361A (en) * | 2017-10-20 | 2017-12-29 | 南京泓凯动力系统科技有限公司 | A kind of diel cylinder discharging structure for stamping parts of automobile |
| CN107697980A (en) * | 2017-11-29 | 2018-02-16 | 成都市世纪花园家庭农场 | A kind of sewage float fishing device |
| CN207361841U (en) * | 2017-09-01 | 2018-05-15 | 冯权识 | A kind of oil removing skimmer device for sewage treatment plant |
| CN108619763A (en) * | 2018-07-02 | 2018-10-09 | 江苏自强环保科技有限公司 | Mud-sucking device is scraped in a kind of rotation of periphery |
| CN109368964A (en) * | 2018-11-29 | 2019-02-22 | 杭州渗源环境科技有限公司 | A kind of mud conditioning device |
| CN208911522U (en) * | 2018-08-24 | 2019-05-31 | 嘉兴市金乐染织有限公司 | A kind of secondary settling tank |
| CN110255779A (en) * | 2019-07-23 | 2019-09-20 | 东莞理工学院 | A kind of intelligent industrial sewage treatment mechanism of qi device |
| CN209900778U (en) * | 2019-03-20 | 2020-01-07 | 北京远浪潮生态建设有限公司 | Floater processing apparatus for sewage treatment |
| CN210313636U (en) * | 2019-07-08 | 2020-04-14 | 福建省钜港环保科技有限公司 | Oil-removing and slag-removing device for sewage treatment |
| CN210528528U (en) * | 2019-07-05 | 2020-05-15 | 绍兴市高砚智生物科技有限公司 | Sewage treatment pond mud scum collection device |
| CN210728769U (en) * | 2019-07-16 | 2020-06-12 | 重庆金瑞图环保科技有限公司 | Scum collecting device |
-
2020
- 2020-06-19 CN CN202010563446.0A patent/CN111661945A/en active Pending
Patent Citations (17)
| Publication number | Priority date | Publication date | Assignee | Title |
|---|---|---|---|---|
| CN101182053A (en) * | 2007-11-12 | 2008-05-21 | 中国海洋石油总公司 | Backflow air-floating device for water-arrangement optimization multi-phase flow pump |
| JP2011005435A (en) * | 2009-06-26 | 2011-01-13 | Sumiju Kankyo Engineering Kk | Scum scraping device and sedimentation tank |
| WO2011095674A1 (en) * | 2010-02-04 | 2011-08-11 | Finnketju Invest Oy | Apparatus for removal of surface scum |
| CN202007147U (en) * | 2011-02-25 | 2011-10-12 | 宝山钢铁股份有限公司 | Scum collector |
| CN103301658A (en) * | 2013-04-27 | 2013-09-18 | 江苏中超环保有限公司 | Efficient micro-resistance pulsating vortex sedimentation device |
| CN106621491A (en) * | 2017-01-12 | 2017-05-10 | 河海大学常州校区 | Suspended center-transmission sludge scraper |
| CN207361841U (en) * | 2017-09-01 | 2018-05-15 | 冯权识 | A kind of oil removing skimmer device for sewage treatment plant |
| CN107520361A (en) * | 2017-10-20 | 2017-12-29 | 南京泓凯动力系统科技有限公司 | A kind of diel cylinder discharging structure for stamping parts of automobile |
| CN107697980A (en) * | 2017-11-29 | 2018-02-16 | 成都市世纪花园家庭农场 | A kind of sewage float fishing device |
| CN108619763A (en) * | 2018-07-02 | 2018-10-09 | 江苏自强环保科技有限公司 | Mud-sucking device is scraped in a kind of rotation of periphery |
| CN208911522U (en) * | 2018-08-24 | 2019-05-31 | 嘉兴市金乐染织有限公司 | A kind of secondary settling tank |
| CN109368964A (en) * | 2018-11-29 | 2019-02-22 | 杭州渗源环境科技有限公司 | A kind of mud conditioning device |
| CN209900778U (en) * | 2019-03-20 | 2020-01-07 | 北京远浪潮生态建设有限公司 | Floater processing apparatus for sewage treatment |
| CN210528528U (en) * | 2019-07-05 | 2020-05-15 | 绍兴市高砚智生物科技有限公司 | Sewage treatment pond mud scum collection device |
| CN210313636U (en) * | 2019-07-08 | 2020-04-14 | 福建省钜港环保科技有限公司 | Oil-removing and slag-removing device for sewage treatment |
| CN210728769U (en) * | 2019-07-16 | 2020-06-12 | 重庆金瑞图环保科技有限公司 | Scum collecting device |
| CN110255779A (en) * | 2019-07-23 | 2019-09-20 | 东莞理工学院 | A kind of intelligent industrial sewage treatment mechanism of qi device |
Non-Patent Citations (1)
| Title |
|---|
| D.R.伍德利等: "《物料搬运》", 30 June 1975, 机械工业出版社 * |
Cited By (1)
| Publication number | Priority date | Publication date | Assignee | Title |
|---|---|---|---|---|
| CN112340868A (en) * | 2020-11-24 | 2021-02-09 | 贵州师范学院 | Industrial sewage treatment and purification equipment |
Similar Documents
| Publication | Publication Date | Title |
|---|---|---|
| CN219744094U (en) | Filter equipment for sewage treatment | |
| CN111661945A (en) | Sewage treatment device with floater collecting and treating functions | |
| CN114108726B (en) | Water channel cleaning device for farmland hydraulic engineering with dredging effect is good | |
| CN211445101U (en) | Steel wire rope traction tipping bucket grille | |
| CN213912532U (en) | Rural area construction integration sewage treatment device | |
| CN209810846U (en) | A pipeline cleaning device for domestic sewage treatment in rural areas | |
| CN112237785A (en) | Sludge cleaning device for sewage treatment tank | |
| CN218492596U (en) | Hydraulic engineering channel silt clearance structure | |
| CN217516768U (en) | Environment-friendly sewage treatment impurity removing device | |
| CN216515822U (en) | River course sediment removal device for hydraulic engineering construction | |
| CN209735537U (en) | A water supply device for polyacrylamide dry powder preparation | |
| CN214344618U (en) | Small-size sewage treatment boat form sedimentation tank device | |
| CN223292331U (en) | A sewage treatment pool | |
| CN215352457U (en) | System of recycling is collected to rainwater high efficiency | |
| CN223275951U (en) | A sewage cleaning device for a wastewater sedimentation tank | |
| CN219364763U (en) | High efficiency hydraulic engineering channel dredging device | |
| CN222009142U (en) | Rainwater collection device based on sponge city | |
| CN219002095U (en) | A V-shaped filter for sewage treatment | |
| CN222936988U (en) | A water pump that prevents clogging and facilitates recycling | |
| CN218527344U (en) | An underwater exploration and fishing device | |
| CN214130433U (en) | Sand setting device for sewage treatment | |
| CN219059887U (en) | A cleaning device for water conservancy and hydropower engineering dams | |
| CN220343275U (en) | Fish pond bag for cultivation | |
| CN219921697U (en) | Flushing drainage equipment | |
| CN220479637U (en) | Pipeline dredging device |
Legal Events
| Date | Code | Title | Description |
|---|---|---|---|
| PB01 | Publication | ||
| PB01 | Publication | ||
| SE01 | Entry into force of request for substantive examination | ||
| SE01 | Entry into force of request for substantive examination | ||
| RJ01 | Rejection of invention patent application after publication |
Application publication date: 20200915 |
|
| RJ01 | Rejection of invention patent application after publication |
