CN110741980A - A kind of multi-queen breeding box and breeding method - Google Patents
A kind of multi-queen breeding box and breeding method Download PDFInfo
- Publication number
- CN110741980A CN110741980A CN201911240573.0A CN201911240573A CN110741980A CN 110741980 A CN110741980 A CN 110741980A CN 201911240573 A CN201911240573 A CN 201911240573A CN 110741980 A CN110741980 A CN 110741980A
- Authority
- CN
- China
- Prior art keywords
- queen
- bees
- breeding
- bee
- worker
- Prior art date
- Legal status (The legal status is an assumption and is not a legal conclusion. Google has not performed a legal analysis and makes no representation as to the accuracy of the status listed.)
- Granted
Links
- 238000009395 breeding Methods 0.000 title claims abstract description 70
- 230000001488 breeding effect Effects 0.000 title claims abstract description 60
- 241000257303 Hymenoptera Species 0.000 claims abstract description 85
- 230000010152 pollination Effects 0.000 claims abstract description 44
- 238000005192 partition Methods 0.000 claims abstract description 42
- 235000013601 eggs Nutrition 0.000 claims abstract description 23
- 241000256837 Apidae Species 0.000 claims abstract description 16
- 239000007788 liquid Substances 0.000 claims abstract description 13
- 238000003860 storage Methods 0.000 claims description 11
- 238000000034 method Methods 0.000 claims description 9
- 239000007787 solid Substances 0.000 claims description 8
- 238000009423 ventilation Methods 0.000 claims description 6
- 239000000796 flavoring agent Substances 0.000 claims description 2
- 235000019634 flavors Nutrition 0.000 claims description 2
- 230000000384 rearing effect Effects 0.000 claims 10
- 238000003780 insertion Methods 0.000 claims 1
- 230000037431 insertion Effects 0.000 claims 1
- 230000000694 effects Effects 0.000 abstract description 12
- 230000001965 increasing effect Effects 0.000 abstract description 7
- 206010063493 Premature ageing Diseases 0.000 abstract description 6
- 208000032038 Premature aging Diseases 0.000 abstract description 6
- 230000002028 premature Effects 0.000 abstract description 6
- 230000002708 enhancing effect Effects 0.000 abstract description 3
- 238000002955 isolation Methods 0.000 abstract description 3
- 230000018109 developmental process Effects 0.000 description 2
- 238000010586 diagram Methods 0.000 description 2
- 241000894007 species Species 0.000 description 2
- 206010020400 Hostility Diseases 0.000 description 1
- 241000208292 Solanaceae Species 0.000 description 1
- 230000003213 activating effect Effects 0.000 description 1
- 230000009418 agronomic effect Effects 0.000 description 1
- 238000004891 communication Methods 0.000 description 1
- 238000005516 engineering process Methods 0.000 description 1
- 230000029142 excretion Effects 0.000 description 1
- 230000002550 fecal effect Effects 0.000 description 1
- 229940088597 hormone Drugs 0.000 description 1
- 239000005556 hormone Substances 0.000 description 1
- 230000002401 inhibitory effect Effects 0.000 description 1
- 230000005764 inhibitory process Effects 0.000 description 1
- 230000017448 oviposition Effects 0.000 description 1
- 230000009758 senescence Effects 0.000 description 1
- 238000000926 separation method Methods 0.000 description 1
- 230000035939 shock Effects 0.000 description 1
- 238000005728 strengthening Methods 0.000 description 1
- 235000019640 taste Nutrition 0.000 description 1
- 239000002699 waste material Substances 0.000 description 1
Images
Classifications
-
- A—HUMAN NECESSITIES
- A01—AGRICULTURE; FORESTRY; ANIMAL HUSBANDRY; HUNTING; TRAPPING; FISHING
- A01K—ANIMAL HUSBANDRY; AVICULTURE; APICULTURE; PISCICULTURE; FISHING; REARING OR BREEDING ANIMALS, NOT OTHERWISE PROVIDED FOR; NEW BREEDS OF ANIMALS
- A01K47/00—Beehives
-
- A—HUMAN NECESSITIES
- A01—AGRICULTURE; FORESTRY; ANIMAL HUSBANDRY; HUNTING; TRAPPING; FISHING
- A01K—ANIMAL HUSBANDRY; AVICULTURE; APICULTURE; PISCICULTURE; FISHING; REARING OR BREEDING ANIMALS, NOT OTHERWISE PROVIDED FOR; NEW BREEDS OF ANIMALS
- A01K47/00—Beehives
- A01K47/06—Other details of beehives, e.g. ventilating devices, entrances to hives, guards, partitions or bee escapes
-
- A—HUMAN NECESSITIES
- A01—AGRICULTURE; FORESTRY; ANIMAL HUSBANDRY; HUNTING; TRAPPING; FISHING
- A01K—ANIMAL HUSBANDRY; AVICULTURE; APICULTURE; PISCICULTURE; FISHING; REARING OR BREEDING ANIMALS, NOT OTHERWISE PROVIDED FOR; NEW BREEDS OF ANIMALS
- A01K53/00—Feeding or drinking appliances for bees
-
- A—HUMAN NECESSITIES
- A01—AGRICULTURE; FORESTRY; ANIMAL HUSBANDRY; HUNTING; TRAPPING; FISHING
- A01K—ANIMAL HUSBANDRY; AVICULTURE; APICULTURE; PISCICULTURE; FISHING; REARING OR BREEDING ANIMALS, NOT OTHERWISE PROVIDED FOR; NEW BREEDS OF ANIMALS
- A01K67/00—Rearing or breeding animals, not otherwise provided for; New or modified breeds of animals
- A01K67/30—Rearing or breeding invertebrates
Landscapes
- Life Sciences & Earth Sciences (AREA)
- Environmental Sciences (AREA)
- Animal Husbandry (AREA)
- Biodiversity & Conservation Biology (AREA)
- Animal Behavior & Ethology (AREA)
- Zoology (AREA)
- Breeding Of Plants And Reproduction By Means Of Culturing (AREA)
Abstract
本发明公开一种多蜂王饲养箱及饲养方法,多蜂王饲养箱包括箱体、箱盖和两块以上隔板,各隔板交叉连接将箱体分隔为多个蜂王繁育区,箱体上设置有液体饲喂器和巢门。本发明提供的多蜂王饲养箱通过增加蜂巢内蜂王数量,从而增加熊蜂蜂王的产卵数和工蜂数量;同时采取隔离措施,防止蜂王之间相互残杀,并通过隔板上的通孔让工蜂在各区域任意出入,混合蜂群气味,防止工蜂之间相互咬杀;通过较多的蜂王抑制过早出现工蜂产卵,防止出现工蜂产卵导致的蜂群早衰,从而增强授粉效果。用此多蜂王饲养箱及饲养方法培育的商品熊蜂授粉群工蜂数量多,授粉时间长,尤其适合给大面积温室作物授粉。
The invention discloses a multi-queen breeding box and a breeding method. The multi-queen breeding box comprises a box body, a box cover and two or more partitions. The partitions are cross-connected to divide the box into a plurality of queen breeding areas. There are liquid feeders and nest doors. The multi-queen breeding box provided by the invention increases the number of eggs laid by the queen bee and the number of worker bees by increasing the number of queen bees in the hive; meanwhile, isolation measures are taken to prevent the queen bees from killing each other, and the worker bees are allowed to live in the Arbitrary entry and exit of each area, mixing the smell of the colony to prevent the worker bees from biting and killing each other; suppressing the premature spawning of worker bees by more queen bees, preventing the premature aging of the colony caused by the spawning of worker bees, thereby enhancing the pollination effect. The commercial bumblebee pollination colony cultivated by the multi-queen breeding box and the breeding method has a large number of worker bees and a long pollination time, and is especially suitable for pollinating large-scale greenhouse crops.
Description
技术领域technical field
本发明涉及蜜蜂养殖领域,特别是涉及一种多蜂王饲养箱及饲养方法。The invention relates to the field of bee breeding, in particular to a multi-queen breeding box and a breeding method.
背景技术Background technique
近年来,设施农业的快速发展导致对作物传粉需求急剧增加。然而,温室大棚环境相对封闭,作物多在冬季开花,现有传粉方式(人工辅助传粉、震动器传粉、激素传粉)不能高效解决所有作物传粉问题,传粉困难成为限制设施农业发展的关键。In recent years, the rapid development of facility agriculture has led to a dramatic increase in the demand for crop pollination. However, the greenhouse environment is relatively closed, and crops mostly bloom in winter. The existing pollination methods (manually assisted pollination, vibrator pollination, and hormone pollination) cannot efficiently solve all crop pollination problems. Pollination difficulties have become the key to limiting the development of facility agriculture.
研究表明,熊蜂是目前世界上对温室作物传粉效果最好、应用最广泛的传粉昆虫。因其具备耐寒、声震传粉、访花效率高、适应能力强等特性,尤其是能给其他蜜蜂不采集的茄科作物传粉,是温室作物理想的传粉昆虫,被誉为“传粉大师”,现在全世界每年消耗的传粉熊蜂超过100万群,已经成为有机农业重要的农艺措施之一。Studies have shown that bumblebees are the most effective and most widely used pollinators for greenhouse crop pollination in the world. Because of its cold resistance, sonic shock pollination, high flower visiting efficiency, strong adaptability and other characteristics, it can especially pollinate Solanaceae crops that other bees do not collect. It is an ideal pollinator for greenhouse crops. Now more than 1 million groups of pollinators are consumed every year in the world, which has become one of the important agronomic measures of organic agriculture.
熊蜂授粉效果主要取决于工蜂出勤数量的多少,工蜂出勤数量又主要决定于蜂群巢内工蜂总数的多少。授粉时间长短主要取决于蜂群中工蜂产卵时间的早晚。健壮的蜂王能有效抑制工蜂产卵,从而防止蜂群过早出现工蜂产卵而导致授粉群早衰,可见,巢内工蜂总数及蜂王抑制工蜂产卵是决定授粉群工蜂数量、授粉效果的决定性因素。因此,加强熊蜂繁育技术研究,提高蜂巢内工蜂总数,延迟蜂群早衰,对于提高授粉效果、延长授粉时间具有现实应用意义。The pollination effect of bumblebees mainly depends on the number of worker bees in attendance, which in turn mainly depends on the total number of worker bees in the hive. The length of pollination time mainly depends on the time of laying eggs of worker bees in the colony. A robust queen bee can effectively inhibit worker bees from laying eggs, thereby preventing the premature oviposition of worker bees in the bee colony, resulting in premature senescence of pollinator colonies. It can be seen that the total number of worker bees in the nest and the queen bee’s inhibition of worker bees from laying eggs are the decisive factors in determining the number of worker bees and the pollination effect of pollination colonies. . Therefore, strengthening the research on bumblebee breeding technology, increasing the total number of worker bees in the hive, and delaying the premature aging of the bee colony have practical application significance for improving the pollination effect and prolonging the pollination time.
发明内容SUMMARY OF THE INVENTION
本发明的目的是提供一种能够提高蜂巢内工蜂总数、有效延迟蜂群早衰、进而有利于提高授粉效果的多蜂王饲养箱及饲养方法。The purpose of the present invention is to provide a multi-queen breeding box and a raising method that can increase the total number of worker bees in the hive, effectively delay the premature aging of the bee colony, and then help to improve the pollination effect.
为实现上述目的,本发明提供了如下方案:For achieving the above object, the present invention provides the following scheme:
本发明提供一种多蜂王饲养箱,包括箱体、箱盖和两块以上隔板,各所述隔板交叉连接将所述箱体分隔为多个蜂王繁育区,所述箱体上设置有液体饲喂器和巢门,所述液体饲喂器能够同时向各所述蜂王繁育区内的蜂王进行饲喂;所述隔板的底端设置有若干通孔,所述通孔能够使工蜂通过,但不能够使蜂王通过,所述通孔用于不同繁育区之间的工蜂进行互通。The invention provides a multi-queen breeding box, which includes a box body, a box cover and two or more partitions. The partitions are cross-connected to divide the box into a plurality of queen breeding areas. A liquid feeder and a nest door, the liquid feeder can simultaneously feed the queen bees in each of the queen bee breeding areas; the bottom end of the partition is provided with a plurality of through holes, and the through holes can make the worker bees Passing, but not allowing the queen bee to pass through, the through hole is used for worker bees between different breeding areas to communicate with each other.
可选的,所述箱体设置有一平板隔板和一“V”字型隔板,所述“V”字型隔板的尖端与所述平板隔板的前端交叉连接;所述平板隔板的底端设置若干所述通孔。Optionally, the box body is provided with a flat plate partition and a "V"-shaped partition, and the tip of the "V"-shaped partition is cross-connected with the front end of the flat partition; the flat partition A plurality of the through holes are arranged at the bottom end of the .
可选的,所述液体饲喂器包括储料罐和与所述储料罐连通的饲喂槽,所述饲喂槽位于所述“V”字型隔板与所述平板隔板的交叉处,所述储料罐安装于所述箱体的前端面。Optionally, the liquid feeder includes a storage tank and a feeding trough communicated with the storage tank, and the feeding trough is located at the intersection of the "V"-shaped baffle and the flat baffle. where the storage tank is installed on the front end face of the box body.
可选的,所述箱盖上表面对应四个所述蜂王繁育区分别设置有一固体投料口,每个所述固体投料口上均安装有一可拆卸挡板。Optionally, a solid feeding port is respectively provided on the upper surface of the box cover corresponding to the four queen bee breeding areas, and a detachable baffle is installed on each of the solid feeding ports.
可选的,所述巢门设置于所述箱体的后端面,所述巢门包括设置于所述后端面上的圆孔和安装在所述圆孔外侧的旋转门,所述旋转门上开设有对准孔和把手,旋转所述旋转门能够使所述对准孔与所述圆孔对齐或错开。Optionally, the nest door is arranged on the rear end surface of the box, the nest door includes a circular hole arranged on the rear end surface and a revolving door installed on the outside of the circular hole, on the revolving door. Alignment holes and handles are provided, and rotating the revolving door can make the alignment holes and the round holes align or stagger.
可选的,所述圆孔包括第一圆孔和第二圆孔,所述旋转门覆盖于两个圆孔的外侧,且所述第二圆孔的内侧设置有翻折板,所述翻折板的顶端通过转轴可转动地安装在所述第二圆孔上方。Optionally, the round hole includes a first round hole and a second round hole, the revolving door covers the outer sides of the two round holes, and the inner side of the second round hole is provided with a turning plate, the turning The top end of the folded plate is rotatably installed above the second round hole through a rotating shaft.
可选的,所述平板隔板的底部开设有通槽,所述通槽的两侧分别安装一倒“L”型通板,所述倒“L”型通板的顶端与所述隔板连接,所述“L”型通板的底端开设若干所述通孔。Optionally, the bottom of the flat plate partition is provided with a through slot, and an inverted "L" type through plate is installed on both sides of the through slot, and the top of the inverted "L" type through plate is connected to the partition plate. For connection, the bottom end of the "L"-shaped through plate is provided with a plurality of the through holes.
可选的,所述箱体的底板开设有若干排泄孔,所述箱盖上开设有若干通风孔。Optionally, the bottom plate of the box body is provided with a number of drainage holes, and the box cover is provided with a number of ventilation holes.
可选的,所述箱体上设置有若干插孔,所述箱盖、所述平板隔板以及所述“V”字型隔板上均设置有与所述插孔匹配的插块。Optionally, the box body is provided with a plurality of sockets, and the box cover, the flat plate partition and the "V"-shaped partition are all provided with plugs matching the sockets.
同时,基于上述多蜂王饲养箱,本发明提供一种多蜂王饲养方法,包括如下步骤:Meanwhile, based on the above-mentioned multi-queen breeding box, the present invention provides a multi-queen breeding method, comprising the following steps:
步骤一:在各所述蜂王繁育区内分别饲养一只熊蜂蜂王,正常饲养;Step 1: raise a bumblebee queen respectively in each described queen bee breeding area, raise normally;
步骤二:工蜂出房后,通过所述通孔在各蜂王繁育区之间任意出入,实现同一箱体内的群味混合;Step 2: After the worker bees leave the house, they can freely enter and exit between each queen bee breeding area through the through holes, so as to realize the mixing of group flavors in the same box;
步骤三:当工蜂大量出房并达到授粉标准时,将授粉工蜂群放入温室,打开巢门,授粉工蜂群共同进出,实现授粉;Step 3: When a large number of worker bees leave the house and reach the pollination standard, put the pollination worker bee colony into the greenhouse, open the nest door, and the pollinator worker bee colony enters and exits together to achieve pollination;
步骤四:授粉工蜂群采粉归巢后,将花粉带入不同蜂王繁育区,直至各蜂王同时产卵,实现共同繁殖;Step 4: After the pollination worker bee colony collects pollen and returns to the nest, the pollen is brought into different queen bee breeding areas until each queen bee lays eggs at the same time to achieve co-breeding;
步骤五:拆除部分隔板,并将部分蜂王繁育区内的蜂王连同卵一同取出后,单独饲养。Step 5: Remove part of the partition, and take out some queen bees in the queen bee breeding area together with their eggs, and raise them separately.
本发明相对于现有技术取得了以下技术效果:The present invention has achieved the following technical effects with respect to the prior art:
本发明提供的多蜂王饲养箱及饲养方法,通过增加蜂巢内蜂王数量,从而增加熊蜂蜂王的产卵数和工蜂数量;同时采取隔离措施,防止蜂王之间相互残杀,并通过隔板上的通孔让工蜂在各区域任意出入,混合蜂群气味,防止工蜂之间相互咬杀;通过较多的蜂王抑制过早出现工蜂产卵,防止出现工蜂产卵导致的蜂群早衰,从而增强授粉效果。用此多蜂王饲养箱及饲养方法培育的商品熊蜂授粉群工蜂数量多,授粉时间长,尤其适合给大面积温室作物授粉。The multi-queen breeding box and the raising method provided by the invention increase the number of eggs laid by the queen bee and the number of worker bees by increasing the number of queen bees in the hive; at the same time, isolation measures are taken to prevent the queen bees from killing each other. The hole allows the worker bees to enter and exit freely in each area, mix the smell of the colony, and prevent the worker bees from biting and killing each other; more queen bees are used to suppress the premature spawning of the worker bees, preventing the premature aging of the colony caused by the spawning of the worker bees, thereby enhancing the pollination effect. . The commercial bumblebee pollination colony cultivated by the multi-queen breeding box and the breeding method has a large number of worker bees and a long pollination time, and is especially suitable for pollinating large-scale greenhouse crops.
附图说明Description of drawings
为了更清楚地说明本发明实施例或现有技术中的技术方案,下面将对实施例中所需要使用的附图作简单地介绍,显而易见地,下面描述中的附图仅仅是本发明的一些实施例,对于本领域普通技术人员来讲,在不付出创造性劳动性的前提下,还可以根据这些附图获得其他的附图。In order to more clearly illustrate the embodiments of the present invention or the technical solutions in the prior art, the accompanying drawings required in the embodiments will be briefly introduced below. Obviously, the drawings in the following description are only some of the present invention. In the embodiments, for those of ordinary skill in the art, other drawings can also be obtained according to these drawings without creative labor.
图1为本发明多蜂王饲养箱的结构示意图;Fig. 1 is the structural representation of the multi-queen breeding box of the present invention;
图2为图1的俯视图;Fig. 2 is the top view of Fig. 1;
图3为本发明箱体内部结构的俯视图;Fig. 3 is the top view of the internal structure of the box of the present invention;
图4为本发明巢门的结构示意图;Fig. 4 is the structural representation of the nest door of the present invention;
图5为本发明后端面上通孔分布示意图;5 is a schematic diagram of the distribution of through holes on the rear end surface of the present invention;
图6为本发明在后端面上安装翻折板后的结构示意图;6 is a schematic structural diagram of the present invention after installing a folded plate on the rear end surface;
图7为本发明旋转门的结构示意图;Fig. 7 is the structural representation of the revolving door of the present invention;
图8为本发明水平隔板的俯视图;Fig. 8 is the top view of the horizontal partition of the present invention;
图9为图8的左视图;Fig. 9 is the left side view of Fig. 8;
图10为图8的右视图;Fig. 10 is the right side view of Fig. 8;
图11为倒“L”型通板的主视图;Figure 11 is a front view of an inverted "L"-shaped through plate;
其中,附图标记为:1、箱体;2、箱盖;3、蜂王繁育区;4、液体饲喂器;5、巢门;6、平板隔板;7、“V”字型隔板;8、通孔;9、储料罐;10、饲喂槽;11、可拆卸挡板;12、旋转门;13、对准孔;14、把手;15、第一圆孔;16、第二圆孔;17、倒“L”型通板;18、排泄孔;19、通风孔;20、翻折板。Wherein, the reference signs are: 1. Box body; 2. Box cover; 3. Queen bee breeding area; 4. Liquid feeder; ; 8, through hole; 9, storage tank; 10, feeding trough; 11, removable baffle; 12, revolving door; 13, alignment hole; 14, handle; 15, the first round hole; 16, the first Two round holes; 17. Inverted "L" shaped through plate; 18. Drain hole; 19. Ventilation hole; 20. Folding plate.
具体实施方式Detailed ways
下面将结合本发明实施例中的附图,对本发明实施例中的技术方案进行清楚、完整地描述,显然,所描述的实施例仅仅是本发明一部分实施例,而不是全部的实施例。基于本发明中的实施例,本领域普通技术人员在没有做出创造性劳动前提下所获得的所有其他实施例,都属于本发明保护的范围。The technical solutions in the embodiments of the present invention will be clearly and completely described below with reference to the accompanying drawings in the embodiments of the present invention. Obviously, the described embodiments are only a part of the embodiments of the present invention, but not all of the embodiments. Based on the embodiments of the present invention, all other embodiments obtained by those of ordinary skill in the art without creative efforts shall fall within the protection scope of the present invention.
为使本发明的上述目的、特征和优点能够更加明显易懂,下面结合附图和具体实施方式对本发明作进一步详细的说明。In order to make the above objects, features and advantages of the present invention more clearly understood, the present invention will be described in further detail below with reference to the accompanying drawings and specific embodiments.
实施例一:Example 1:
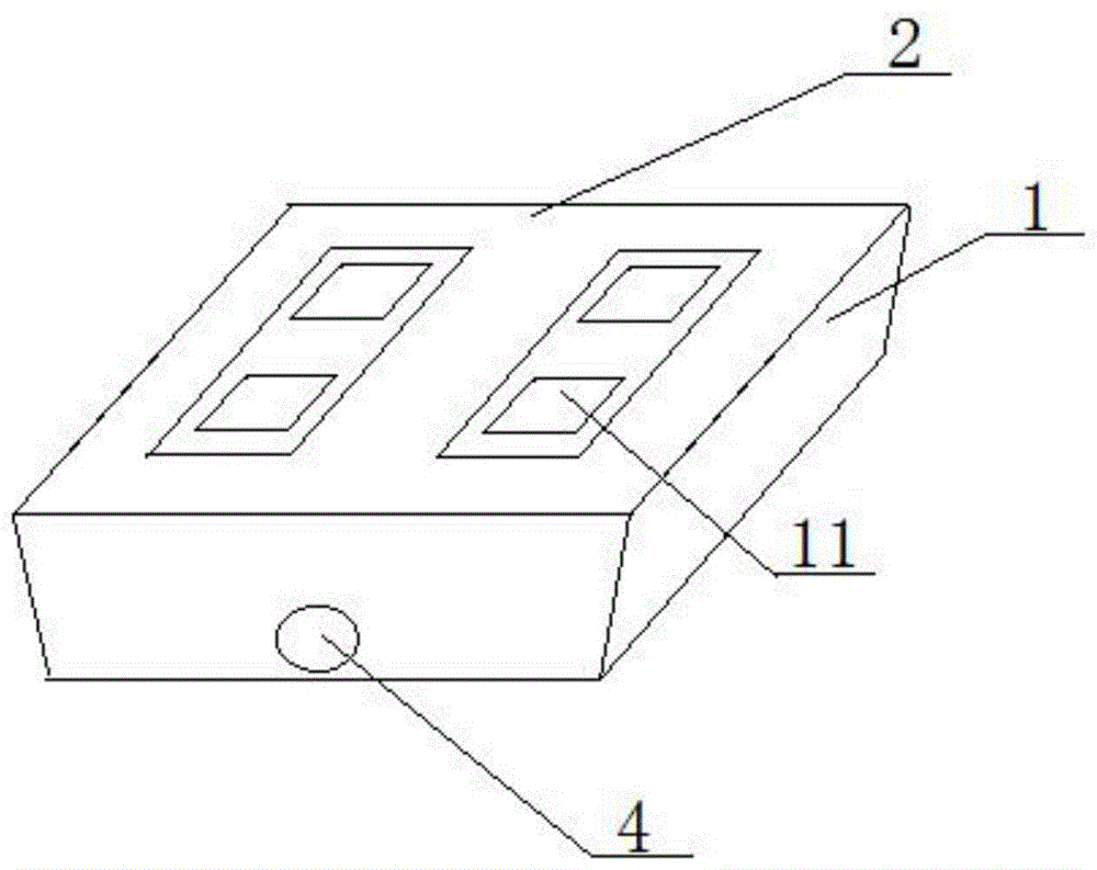
如图1-11所示,本实施例提供一种多蜂王饲养箱,包括箱体1、箱盖2和两块以上隔板,各隔板横竖交叉连接将箱体1内分隔为多个蜂王繁育区3,箱体1上设置有液体饲喂器4和巢门5,液体饲喂器4能够同时向各蜂王繁育区3内的蜂王进行饲喂;隔板的底端设置有若干通孔8,通孔8能够使工蜂通过,但不能够使蜂王通过,通孔8用于不同繁育区之间的工蜂进行互通。其中,通孔8的直径优选为5-7mm,可实现同一巢箱内不同繁育区的工蜂可以互通。互通的结果是同一巢箱不同繁殖区的工蜂通过气味混合,具有相同的气味。工蜂之间再不会因为群味不同而出现敌意,实现友好相处,成为超强的授粉群。授粉期间,工蜂出入于同一个进出口。由于工蜂数量多,这样,一个巢箱内的蜂群就会超过两个巢箱内工蜂分别单独授粉的效果之和,从而降低成本,增加授粉效益。As shown in Figures 1-11, this embodiment provides a multi-queen breeding box, which includes a
于本具体实施例中,如图3所示,箱体1内设置有一平板隔板6和一“V”字型隔板7,“V”字型隔板7的尖端与平板隔板6的前端交叉连接,交叉处呈十字形,平板隔板6和一“V”字型隔板7将箱体1内分隔为四个蜂王繁育区3。正常情况下,一个蜂箱仅饲养一只蜂王,而一只熊蜂蜂王一生只能产80~200粒工蜂卵(因品种不同差别较大),因此,蜂群的工蜂数量决定于蜂王所产工蜂卵的数量。基于此,本实施例通过上述平板隔板6和“V”字型隔板7将箱体1内分隔为四个蜂王繁育区3,不仅实现四只熊蜂蜂王的饲养,使蜂巢内的工蜂卵数量至少翻倍,实现超强商品熊蜂授粉群的繁育,而且在前期节省了空间,节省了人工,提高了效率。In this specific embodiment, as shown in FIG. 3 , the
本实施例中,如图1~3所示,液体饲喂器4包括储料罐9和与储料罐9连通的饲喂槽10,储料罐9内存储现有的熊蜂专用液体饲料,液体饲喂器4为现有结构,具体饲喂原理在此不再赘述。其中,饲喂槽10位于“V”字型隔板7与平板隔板6的交叉处,“V”字型隔板7的尖端靠近箱体1的前端面,便于储料罐9安装于箱体1的前端面,如图3所示,饲喂槽10的四角分别位于四个蜂王繁育区3内,可满足对四个蜂王繁育区3内蜂王的同时喂养。In this embodiment, as shown in FIGS. 1 to 3 , the liquid feeder 4 includes a storage tank 9 and a feeding tank 10 communicated with the storage tank 9. The storage tank 9 stores the existing liquid feed for bumblebees, The liquid feeder 4 is an existing structure, and the specific feeding principle will not be repeated here. Among them, the feeding trough 10 is located at the intersection of the "V"-shaped partition 7 and the
本实施例中,如图1~2所示,箱盖2上表面对应四个蜂王繁育区3分别设置有一固体投料口,每个固体投料口上均安装有一可拆卸挡板11。可拆卸挡板11与固体投料口采用卡接,便于拆卸,打开对应区域的可拆卸挡板11,便可对相应的蜂王繁育区3进行固体饲料投喂。In this embodiment, as shown in Figures 1-2, the upper surface of the
本实施例中,如图2~7所示,巢门5设置于箱体1的后端面,巢门5包括设置于后端面上的圆孔和安装在圆孔外侧的旋转门12,后端面的外侧壁设置有圆形轨道,旋转门12安装于所述圆形轨道内,并可在圆形轨道内沿圆形轨道转动,旋转门12上开设有对准孔13和把手14,手握把手14旋转旋转门12能够使对准孔13与圆孔对齐或错开,当对准孔13与圆孔对齐时,巢门5处于打开状态。In this embodiment, as shown in FIGS. 2 to 7 , the
本实施例中,如图4~6所示,圆孔包括第一圆孔15和第二圆孔16,旋转门12覆盖于两个圆孔的外侧,且第二圆孔16的内侧设置有翻折板20,翻折板20的顶端通过转轴可转动地安装在第二圆孔16上方,翻折板20在自重作用下可将第二圆孔16完全遮挡。当旋转门12旋转至对准孔13与第一圆孔15完全对齐时,所述第二圆孔16被旋转门12完全遮挡,此时,第一圆孔15可作为双向门,即工蜂群即可经第一圆孔15飞出,也可经第一圆孔15飞入;而当旋转门12旋转至对准孔13与第二圆孔16完全对齐时,所述第一圆孔15被旋转门12完全遮挡,此时,第二圆孔16上由于翻折板20的设置,可作为单向门,即工蜂群仅仅能够通过将翻折板20向箱体1内部方向顶起,经第二圆孔16飞入,而在翻折板20的遮挡作用下,工蜂群并不能够从箱体1内经第二圆孔16飞出。In this embodiment, as shown in FIGS. 4 to 6 , the round hole includes a first
本实施例中,如图8~11所示,平板隔板6的底部开设有通槽,通槽的两侧分别安装一倒“L”型通板17,倒“L”型通板17的顶端与平板隔板连接,底端开设若干通孔8。两个倒“L”型通板17相对设置,从而在两个倒“L”型通板17的竖版之间形成了具有一定宽度的通道,该通道不影响工蜂经通孔8飞入另一区域。由于熊蜂蜂王具有独居的生物学特性,且个体较大,通孔8的设置难免使其支腿误伸入另一繁育区,这样也容易引起该另一繁育区内蜂王对该支腿的残杀,因此,有必要在两侧均设置倒“L”型通板17,预留出能够使一区域内蜂王支腿伸过,而不被相邻繁育区内蜂王发现的通道空间,既实现了多蜂王在同一巢内产卵,又使蜂王之间和平共处,从根本上防止相互残杀,同时产卵,各自繁育,实现增加工蜂数量的目的。In this embodiment, as shown in FIGS. 8 to 11 , a through groove is formed at the bottom of the
本实施例中,如图2所示,箱体1的底板开设有若干排泄孔18(不会使任何蜜蜂从该孔飞出),用于排泄箱体内的粪便垃圾,箱盖2上开设有若干通风孔19,既不会使任何蜜蜂从该通风孔19飞出,又能够使箱体1内达到通风的效果。In this embodiment, as shown in FIG. 2 , the bottom plate of the
本实施例中,箱体1上设置有若干插孔,对应的,箱盖2、平板隔板6和“V”字型隔板7均设置有与插孔匹配的插块。各部件之间通过插槽、插块结构插接而成,便于拆卸组装。In this embodiment, the
同时,本实施例基于上述多蜂王饲养箱提供一种多蜂王饲养方法,主要包括如下步骤:At the same time, the present embodiment provides a multi-queen breeding method based on the above-mentioned multi-queen breeding box, which mainly includes the following steps:
步骤一:本实施例中,通过平板隔板6和“V”字型隔板7将箱体1内分隔为4个蜂王繁育区3,并在各蜂王繁育区3内分别饲养一只熊蜂蜂王,激活蜂王,正常饲养,由于不同各蜂王繁育区用隔板隔离,可防止蜂王之间发生相互残杀行为;Step 1: In this embodiment, the
步骤二:工蜂出房后,通过通孔8在各蜂王繁育区3之间任意出入,由于刚刚出房的工蜂不带有特殊群味,可以被任何蜂王接纳,工蜂在不同繁育区出入,可实现同一箱体1内的群味混合;混合群味后整个巢箱工蜂会实现和平相处;Step 2: After the worker bees leave the house, they can freely enter and exit between the queen bee breeding areas 3 through the through
步骤三:当工蜂大量出房并达到授粉标准(该标准对于本领域技术人员来说是显而易见的,在此不再赘述)时,将授粉工蜂群放入温室,打开巢门5,授粉工蜂群共同进出,实现授粉;Step 3: When a large number of worker bees leave the house and reach the pollination standard (this standard is obvious to those skilled in the art, and will not be repeated here), put the pollination worker bee colony into the greenhouse, open the
步骤四:授粉工蜂群采粉归巢后,将花粉带入不同蜂王繁育区3,直至各蜂王同时产卵,实现共同繁殖;Step 4: After the pollination worker bee colony collects pollen and returns to the nest, the pollen is brought into different queen bee breeding areas 3 until each queen bee lays eggs at the same time to achieve co-breeding;
步骤五:拆除部分隔板,并将部分蜂王繁育区3内的蜂王连同卵一同取出后,单独饲养。本实施例中,可取出“V”字型隔板7,并将其中两组蜂王及其卵移至另一箱体内,并通过隔板隔离,该箱体内剩余的两组蜂王及其卵在平板隔板6的分隔作用下隔离饲养,扩大蜂王繁育区3的范围,以适应箱体内工蜂数量的增加。Step 5: Remove part of the partition, and take out part of the queen bees in the queen bee breeding area 3 together with their eggs, and then raise them separately. In this embodiment, the "V"-shaped partition 7 can be taken out, and the two groups of queen bees and their eggs can be moved to another box, and separated by the partition. The remaining two groups of queen bees and their eggs in the box are in Under the separation effect of the
正常情况下,一只熊蜂的蜂王一生只能产80~200粒工蜂卵(因品种不同差别较大),因此,蜂群的工蜂数量决定于蜂王所产工蜂卵的数量。如果实现多王同巢(2只或以上),蜂巢内的工蜂卵的数量就会至少翻倍,实现超强商品熊蜂授粉群的繁育。饲养前期,通过在一个箱体内实现4只蜂王的同时饲养,所产工蜂卵的数量明显增加,工蜂数量是普通授粉群的蜂群的2-3倍,授粉效率是普通授粉蜂群的3-4倍。多个蜂王饲养还具有抑制过早出现工蜂产卵、防止蜂群早衰、延长授粉时间的效果,比普通商品熊蜂授粉群延长2周以上。Under normal circumstances, the queen bee of a bumblebee can only produce 80 to 200 worker bee eggs (due to different species), so the number of worker bees in the colony is determined by the number of worker bee eggs produced by the queen bee. If multiple kings are in the same nest (2 or more), the number of worker bee eggs in the hive will at least double, and the breeding of super-powerful commercial bumblebee pollinators will be realized. In the early stage of feeding, by feeding 4 queen bees at the same time in one box, the number of worker bee eggs produced is significantly increased, the number of worker bees is 2-3 times that of a common pollinator colony, and the pollination efficiency is 3-3 times that of a common pollinator colony. 4 times. The feeding of multiple queen bees also has the effect of inhibiting the premature spawning of worker bees, preventing premature aging of the bee colony, and prolonging the pollination time, which is more than 2 weeks longer than the pollination colony of common commercial bumblebees.
由此可见,本发明提供的多蜂王饲养箱及饲养方法,通过增加蜂巢内蜂王数量,从而增加熊蜂蜂王的产卵数和工蜂数量;同时采取隔离措施,防止蜂王之间相互残杀,并通过隔板上的通孔让工蜂在各区域任意出入,混合蜂群气味,防止工蜂之间相互咬杀;通过较多的蜂王抑制过早出现工蜂产卵,防止出现工蜂产卵导致的蜂群早衰,从而增强授粉效果。用此多蜂王饲养箱及饲养方法培育的商品熊蜂授粉群工蜂数量多,授粉时间长,尤其适合给大面积温室作物授粉。It can be seen that the multi-queen breeding box and the raising method provided by the present invention increase the number of eggs laid by the queen bee and the number of worker bees by increasing the number of queen bees in the hive; meanwhile, isolation measures are taken to prevent the queen bees from killing each other, and The through holes on the board allow the worker bees to enter and exit freely in each area, mix the smell of the colony, and prevent the worker bees from biting and killing each other; more queen bees are used to suppress the premature spawning of the worker bees, and prevent the premature aging of the colony caused by the spawning of the worker bees. Thereby enhancing the pollination effect. The commercial bumblebee pollination colony cultivated by the multi-queen breeding box and the breeding method has a large number of worker bees and a long pollination time, and is especially suitable for pollinating large-scale greenhouse crops.
需要说明的是,对于本领域技术人员而言,显然本发明不限于上述示范性实施例的细节,而且在不背离本发明的精神或基本特征的情况下,能够以其他的具体形式实现本发明。因此,无论从哪一点来看,均应将实施例看作是示范性的,而且是非限制性的,本发明的范围由所附权利要求而不是上述说明限定,因此旨在将落在权利要求的等同要件的含义和范围内的所有变化囊括在本发明内,不应将权利要求中的任何附图标记视为限制所涉及的权利要求。It should be noted that it is obvious to those skilled in the art that the present invention is not limited to the details of the above-mentioned exemplary embodiments, and the present invention can be implemented in other specific forms without departing from the spirit or essential characteristics of the present invention. . Therefore, the embodiments are to be regarded in all respects as illustrative and not restrictive, and the scope of the invention is to be defined by the appended claims rather than the foregoing description, which are therefore intended to fall within the scope of the claims. All changes that come within the meaning and range of equivalents of , are intended to be embraced within the invention, and any reference signs in the claims shall not be construed as limiting the involved claim.
本发明中应用了具体个例对本发明的原理及实施方式进行了阐述,以上实施例的说明只是用于帮助理解本发明的方法及其核心思想;同时,对于本领域的一般技术人员,依据本发明的思想,在具体实施方式及应用范围上均会有改变之处。综上所述,本说明书内容不应理解为对本发明的限制。In the present invention, specific examples are used to illustrate the principles and implementations of the present invention, and the descriptions of the above embodiments are only used to help understand the method and the core idea of the present invention; There will be changes in the specific implementation manner and application scope of the idea of the invention. In conclusion, the contents of this specification should not be construed as limiting the present invention.
Claims (10)
Priority Applications (1)
| Application Number | Priority Date | Filing Date | Title |
|---|---|---|---|
| CN201911240573.0A CN110741980B (en) | 2019-12-06 | 2019-12-06 | Multi-queen bee raising box and raising method |
Applications Claiming Priority (1)
| Application Number | Priority Date | Filing Date | Title |
|---|---|---|---|
| CN201911240573.0A CN110741980B (en) | 2019-12-06 | 2019-12-06 | Multi-queen bee raising box and raising method |
Publications (2)
| Publication Number | Publication Date |
|---|---|
| CN110741980A true CN110741980A (en) | 2020-02-04 |
| CN110741980B CN110741980B (en) | 2024-05-07 |
Family
ID=69285710
Family Applications (1)
| Application Number | Title | Priority Date | Filing Date |
|---|---|---|---|
| CN201911240573.0A Active CN110741980B (en) | 2019-12-06 | 2019-12-06 | Multi-queen bee raising box and raising method |
Country Status (1)
| Country | Link |
|---|---|
| CN (1) | CN110741980B (en) |
Cited By (1)
| Publication number | Priority date | Publication date | Assignee | Title |
|---|---|---|---|---|
| CN111657183A (en) * | 2020-05-19 | 2020-09-15 | 山东省农业科学院植物保护研究所 | Bumblebee queen bee reproductive diapause releasing device and method |
Citations (6)
| Publication number | Priority date | Publication date | Assignee | Title |
|---|---|---|---|---|
| CN2760955Y (en) * | 2004-12-23 | 2006-03-01 | 中国农业科学院蜜蜂研究所 | Miniature conjuncted worker raising box |
| CN203872809U (en) * | 2014-05-23 | 2014-10-15 | 甘肃省蜂业技术推广总站 | Bumblebee centralized breeding box |
| CN104585077A (en) * | 2014-12-29 | 2015-05-06 | 杭州千岛湖蜂业科技有限公司 | Polyqueen multi-box multi-chamber multi-functional beehive |
| CN104585076A (en) * | 2014-12-29 | 2015-05-06 | 杭州千岛湖蜂业科技有限公司 | Polyqueen multi-box multi-chamber beekeeping mode |
| CN110352873A (en) * | 2019-08-15 | 2019-10-22 | 深圳市益蜂蜂业有限公司 | A kind of more queen breeding beehives |
| CN211322594U (en) * | 2019-12-06 | 2020-08-25 | 内蒙古华道农业科技有限责任公司 | A kind of multi-queen breeding box |
-
2019
- 2019-12-06 CN CN201911240573.0A patent/CN110741980B/en active Active
Patent Citations (6)
| Publication number | Priority date | Publication date | Assignee | Title |
|---|---|---|---|---|
| CN2760955Y (en) * | 2004-12-23 | 2006-03-01 | 中国农业科学院蜜蜂研究所 | Miniature conjuncted worker raising box |
| CN203872809U (en) * | 2014-05-23 | 2014-10-15 | 甘肃省蜂业技术推广总站 | Bumblebee centralized breeding box |
| CN104585077A (en) * | 2014-12-29 | 2015-05-06 | 杭州千岛湖蜂业科技有限公司 | Polyqueen multi-box multi-chamber multi-functional beehive |
| CN104585076A (en) * | 2014-12-29 | 2015-05-06 | 杭州千岛湖蜂业科技有限公司 | Polyqueen multi-box multi-chamber beekeeping mode |
| CN110352873A (en) * | 2019-08-15 | 2019-10-22 | 深圳市益蜂蜂业有限公司 | A kind of more queen breeding beehives |
| CN211322594U (en) * | 2019-12-06 | 2020-08-25 | 内蒙古华道农业科技有限责任公司 | A kind of multi-queen breeding box |
Cited By (2)
| Publication number | Priority date | Publication date | Assignee | Title |
|---|---|---|---|---|
| CN111657183A (en) * | 2020-05-19 | 2020-09-15 | 山东省农业科学院植物保护研究所 | Bumblebee queen bee reproductive diapause releasing device and method |
| CN111657183B (en) * | 2020-05-19 | 2022-05-03 | 山东省农业科学院植物保护研究所 | Bumblebee queen bee reproduction diapause relieving device and method |
Also Published As
| Publication number | Publication date |
|---|---|
| CN110741980B (en) | 2024-05-07 |
Similar Documents
| Publication | Publication Date | Title |
|---|---|---|
| CN107094715B (en) | A kind of breeding method of Chinese bee | |
| CN107047377B (en) | Beehives that improve the environment of bees | |
| CN103141410B (en) | Honeybee beehive in inner circle foreign side automatic constant-temperature | |
| CN108782463A (en) | A kind of breeding method of queen bee | |
| CN106259051B (en) | Chinese character 'tian' shaped beehive | |
| CN211322594U (en) | A kind of multi-queen breeding box | |
| CN104255662A (en) | Method for quickly breeding bees | |
| CN205431530U (en) | House is bred to rare bird | |
| CN108353856B (en) | A kind of bee breeding method | |
| Beekman et al. | Selection for non‐diapause in the bumblebee Bombus terrestris, with notes on the effect of inbreeding | |
| CN110741980A (en) | A kind of multi-queen breeding box and breeding method | |
| CN107912330B (en) | Application method of field-shaped beehive | |
| KR200465765Y1 (en) | Bumblebee box for colony foundation or progeny-qeen production | |
| Griffin et al. | Rearing and domestication of long tongued bumble bees in New Zealand | |
| CN114027264A (en) | A kind of bee colony breeding method with resistance to mite and disease prevention | |
| CN204560608U (en) | A kind of bee-raising hive | |
| CN211581198U (en) | Modular prevent flying bee device of raising of fleing | |
| CN218550977U (en) | Portable beehive | |
| Greenberg | Year-round culturing and productivity of a sweat bee, Lasioglossum zephyrum (Hymenoptera: Halictidae) | |
| CN205567446U (en) | Ecological cycle type aquatic bird culture room house | |
| CN206576104U (en) | A kind of Bumble queen bee storage device | |
| Johnstone | Rearing queen bees | |
| CN206118794U (en) | Bionical beehive of apis cerana stack formula | |
| CN104705249A (en) | Method for breeding Chinese box turtles in new variety | |
| CN106305595A (en) | Determination method for egg laying performance of individuals in goose breeding and individual egg laying cage |
Legal Events
| Date | Code | Title | Description |
|---|---|---|---|
| PB01 | Publication | ||
| PB01 | Publication | ||
| SE01 | Entry into force of request for substantive examination | ||
| SE01 | Entry into force of request for substantive examination | ||
| GR01 | Patent grant | ||
| GR01 | Patent grant |
