CN109095278B - Building site uses abandonment cable coiling mechanism - Google Patents

Building site uses abandonment cable coiling mechanism Download PDF

Info

Publication number
CN109095278B
CN109095278B CN201811051354.3A CN201811051354A CN109095278B CN 109095278 B CN109095278 B CN 109095278B CN 201811051354 A CN201811051354 A CN 201811051354A CN 109095278 B CN109095278 B CN 109095278B
Authority
CN
China
Prior art keywords
base
screw rod
lifter plate
rotating
plate
Prior art date
Legal status (The legal status is an assumption and is not a legal conclusion. Google has not performed a legal analysis and makes no representation as to the accuracy of the status listed.)
Active
Application number
CN201811051354.3A
Other languages
Chinese (zh)
Other versions
CN109095278A (en
Inventor
张连军
Current Assignee (The listed assignees may be inaccurate. Google has not performed a legal analysis and makes no representation or warranty as to the accuracy of the list.)
Tianjin Jinbai Technology Service Co ltd
Original Assignee
Anhui Bailiyuan Construction Engineering Co ltd
Priority date (The priority date is an assumption and is not a legal conclusion. Google has not performed a legal analysis and makes no representation as to the accuracy of the date listed.)
Filing date
Publication date
Application filed by Anhui Bailiyuan Construction Engineering Co ltd filed Critical Anhui Bailiyuan Construction Engineering Co ltd
Priority to CN201811051354.3A priority Critical patent/CN109095278B/en
Publication of CN109095278A publication Critical patent/CN109095278A/en
Application granted granted Critical
Publication of CN109095278B publication Critical patent/CN109095278B/en
Active legal-status Critical Current
Anticipated expiration legal-status Critical

Links

Images

Classifications

    • BPERFORMING OPERATIONS; TRANSPORTING
    • B65CONVEYING; PACKING; STORING; HANDLING THIN OR FILAMENTARY MATERIAL
    • B65HHANDLING THIN OR FILAMENTARY MATERIAL, e.g. SHEETS, WEBS, CABLES
    • B65H54/00Winding, coiling, or depositing filamentary material
    • B65H54/02Winding and traversing material on to reels, bobbins, tubes, or like package cores or formers
    • B65H54/40Arrangements for rotating packages
    • B65H54/54Arrangements for supporting cores or formers at winding stations; Securing cores or formers to driving members
    • B65H54/553Both-ends supporting arrangements
    • BPERFORMING OPERATIONS; TRANSPORTING
    • B65CONVEYING; PACKING; STORING; HANDLING THIN OR FILAMENTARY MATERIAL
    • B65HHANDLING THIN OR FILAMENTARY MATERIAL, e.g. SHEETS, WEBS, CABLES
    • B65H54/00Winding, coiling, or depositing filamentary material
    • B65H54/70Other constructional features of yarn-winding machines
    • BPERFORMING OPERATIONS; TRANSPORTING
    • B65CONVEYING; PACKING; STORING; HANDLING THIN OR FILAMENTARY MATERIAL
    • B65HHANDLING THIN OR FILAMENTARY MATERIAL, e.g. SHEETS, WEBS, CABLES
    • B65H54/00Winding, coiling, or depositing filamentary material
    • B65H54/70Other constructional features of yarn-winding machines
    • B65H54/72Framework; Casings; Coverings
    • BPERFORMING OPERATIONS; TRANSPORTING
    • B65CONVEYING; PACKING; STORING; HANDLING THIN OR FILAMENTARY MATERIAL
    • B65HHANDLING THIN OR FILAMENTARY MATERIAL, e.g. SHEETS, WEBS, CABLES
    • B65H54/00Winding, coiling, or depositing filamentary material
    • B65H54/70Other constructional features of yarn-winding machines
    • B65H54/74Driving arrangements
    • BPERFORMING OPERATIONS; TRANSPORTING
    • B65CONVEYING; PACKING; STORING; HANDLING THIN OR FILAMENTARY MATERIAL
    • B65HHANDLING THIN OR FILAMENTARY MATERIAL, e.g. SHEETS, WEBS, CABLES
    • B65H2701/00Handled material; Storage means
    • B65H2701/30Handled filamentary material
    • B65H2701/34Handled filamentary material electric cords or electric power cables

Landscapes

  • Engineering & Computer Science (AREA)
  • Textile Engineering (AREA)
  • Conveying And Assembling Of Building Elements In Situ (AREA)
  • Unwinding Of Filamentary Materials (AREA)

Abstract

The invention relates to the technical field of constructional engineering, in particular to a waste cable winding device for a construction site, which comprises a base, a lifting platform and a winding roller, the lifter plate, threaded sleeve and rotation screw rod, the middle part fixed mounting of lifter plate has threaded sleeve, the lower surface rotation is provided with the rotation screw rod in the middle part of the inner chamber roof of base, the lower part threaded connection who rotates the screw rod is installed in threaded sleeve, the last surface symmetry fixed mounting of lifter plate has the support column, lift platform fixed erection installs the top at the support column, the smooth chamber of rectangle has all been seted up to lift platform's both sides inside, the smooth intracavity rotation of rectangle is provided with the lead screw, it is equipped with the motion slider to go back horizontal slip in the smooth intracavity of rectangle, the motion slider passes through the threaded connection mode and installs on the lead screw, the bottom fixed mounting who supports the montant is on the motion. The height of the winding roller on the lifting platform can be adjusted, and the winding roller adjusting device is suitable for winding rollers with different lengths.

Description

Building site uses abandonment cable coiling mechanism
Technical Field
The invention relates to the technical field of constructional engineering, in particular to a waste cable winding device for a construction site.
Background
The building construction refers to production activities in the engineering construction implementation stage, is the construction process of various buildings, and also can be a process of changing various lines on a design drawing into a real object at a specified place. The method comprises foundation engineering construction, main structure construction, roofing engineering construction, decoration engineering construction and the like. The site of the construction work is called a construction site.
A large amount of waste cable lines can be produced in the building removal process, rolling operation needs to be carried out on the waste cable lines, the labor intensity is high, the working efficiency is low, especially when the waste cable lines are too many, the workload is high, the rolling of workers is very inconvenient, professional tools are needed to roll the waste cable lines, the waste cable rolling device in the prior art is simple in structure, the rolling effect is poor, the height of the rolling roller cannot be adjusted, and the rolling roller is inconvenient to install and cannot achieve the purpose of efficient rolling.
Disclosure of Invention
The invention aims to provide a waste cable winding device for a construction site, which aims to solve the problems in the background technology.
In order to achieve the purpose, the invention provides the following technical scheme:
a waste cable winding device for a building site comprises a base, a lifting platform, a winding roller, a lifting plate, a threaded sleeve and a rotating screw rod, wherein the lifting plate is arranged in the base in a vertically sliding mode, a plurality of springs are connected between the lower surface of the lifting plate and the upper surface of an inner cavity bottom plate of the base, the threaded sleeve is fixedly arranged in the middle of the lifting plate, the rotating screw rod is rotatably arranged on the lower surface of the middle of an inner cavity top plate of the base, the lower portion of the rotating screw rod is connected and arranged in the threaded sleeve in a threaded mode, supporting columns are symmetrically and fixedly arranged on the upper surface of the lifting plate, the lifting platform is fixedly arranged at the top ends of the supporting columns, rectangular sliding cavities are respectively formed in the two sides of the lifting platform, a lead screw is rotatably arranged in each rectangular sliding cavity, a moving slide block is, the bottom end of the supporting vertical rod is fixedly arranged on the moving sliding block, and the top end of the supporting vertical rod is fixedly provided with a U-shaped carrier roller.
As a further scheme of the invention: four corners of the lower surface of the bottom plate of the base are provided with trundles, and the trundles are self-locking type idler wheels.
As a further scheme of the invention: a plurality of vertically arranged supporting vertical rods are fixedly arranged in the base, and the lifting plate is sleeved on the supporting vertical rods in a sliding mode through guide sliding holes formed in the lifting plate.
As a further scheme of the invention: a guide rail groove is formed in the inner wall of the side plate of the base, and the end portion of the lifting plate is arranged in the guide rail groove in a vertically sliding mode.
As a further scheme of the invention: the inner chamber upper portion of base is provided with the dwang, and the one end of dwang is fixed and is provided with initiative conical gear, and the upper portion outer lane of rotating the screw rod is fixed and is provided with the driven conical gear who meshes with initiative conical gear mutually, just the other end fixed mounting of dwang has first adjusting hand wheel.
As a further scheme of the invention: and a second adjusting hand wheel is fixedly arranged at the outer end of the screw rod.
As a further scheme of the invention: a strip-shaped through hole is formed in a top plate of the rectangular sliding cavity, and a supporting vertical rod is movably arranged in the strip-shaped through hole in a horizontal plane.
As a further scheme of the invention: the both ends of rolling roller are all fixed and are provided with the axis of rotation, and the axis of rotation rotates to erect and installs the top at U type bearing roller.
As a further scheme of the invention: a third adjusting hand wheel is detachably mounted on one side of the rolling roller, an installation cylinder is fixedly mounted on the third adjusting hand wheel, the installation cylinder is sleeved on the rotating shaft on one side of the rolling roller, and the installation cylinder is fixedly mounted on the rotating shaft through an installation bolt.
Compared with the prior art, the invention has the beneficial effects that:
1. according to the invention, the rotating rod is driven to rotate clockwise or anticlockwise by operating the first adjusting hand wheel, the rotating screw rod can be driven to rotate clockwise or anticlockwise, and the rotating screw rod is arranged on the threaded sleeve in a threaded connection mode.
2. According to the invention, the second adjusting hand wheel is operated to drive the screw rod to rotate, so that the position of the moving slide block in the rectangular slide cavity can be adjusted, the distance between the two U-shaped carrier rollers can be further adjusted, the device is suitable for rolling rollers with different lengths, and the applicability is strong.
3. According to the invention, after the rotating shafts at two ends of the winding roller are erected on the U-shaped carrier roller, the third adjusting hand wheel is manually operated to drive the winding roller to rotate, so that the cable winding effect is realized.
Drawings
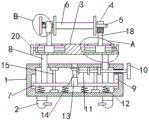
Fig. 1 is a schematic structural view of a waste cable winding device for a construction site.
Fig. 2 is an enlarged schematic view of a portion a in fig. 1.
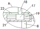
Fig. 3 is an enlarged schematic view of a portion B in fig. 1.
Fig. 4 is a plan view of a lifting plate in the waste cable winding device for construction sites.
In the figure: 1-base, 2-truckle, 3-lifting platform, 4-U-shaped carrier roller, 5-rotating shaft, 6-rolling roller, 7-lifting plate, 8-supporting column, 9-guide rail groove, 10-first adjusting hand wheel, 11-rotating rod, 12-spring, 13-threaded sleeve, 14-rotating screw rod, 15-supporting vertical rod, 16-guiding slide hole, 17-moving slide block, 18-supporting vertical rod, 19-screw rod, 20-second adjusting hand wheel, 21-rectangular slide cavity, 22-strip-shaped through hole, 23-third adjusting hand wheel, 24-mounting cylinder and 25-mounting bolt.
Detailed Description
The technical solutions in the embodiments of the present invention will be clearly and completely described below with reference to the drawings in the embodiments of the present invention, and it is obvious that the described embodiments are only a part of the embodiments of the present invention, and not all of the embodiments. All other embodiments, which can be derived by a person skilled in the art from the embodiments given herein without making any creative effort, shall fall within the protection scope of the present invention.
Referring to fig. 1-4, in the embodiment of the invention, the waste cable winding device for the building site comprises a base 1, a lifting platform 3, a winding roller 6, a lifting plate 7, a threaded sleeve 13 and a rotating screw 14, wherein four corners of the lower surface of a bottom plate of the base 1 are respectively provided with a caster 2, and the casters 2 adopt self-locking rollers, so that the whole device can be conveniently moved, and the device is convenient and rapid; a lifting plate 7 is arranged in the base 1 in a vertically sliding manner, a plurality of springs 12 are connected between the lower surface of the lifting plate 7 and the upper surface of the inner cavity bottom plate of the base 1, in order to ensure the stability of the lifting plate 7 in the vertical movement process in the base 1, a plurality of guide sliding holes 16 are uniformly distributed on the lifting plate 7, a plurality of vertically arranged support vertical rods 15 are fixedly arranged in the base 1, the lifting plate 7 is slidably sleeved on the support vertical rods 15 through the guide sliding holes 16 arranged on the lifting plate 7, further, guide rail grooves 9 are formed in the inner walls of the side plates of the base 1, and the end parts of the lifting plate 7 are vertically slidably arranged in the guide rail grooves 9; the middle part fixed mounting of lifter plate 7 has threaded sleeve 13, the lower surface rotation in the middle part of the inner chamber roof of base 1 is provided with rotation screw rod 14, and the lower part threaded connection who rotates screw rod 14 installs in threaded sleeve 13, the inner chamber upper portion of base 1 is provided with dwang 11, and the one end of dwang 11 is fixed and is provided with initiative conical gear, and the fixed driven conical gear who is provided with and takes initiative conical gear engaged with in upper portion outer lane that rotates screw rod 14, just the other end fixed mounting of dwang 11 has first adjusting hand wheel 10.
The utility model discloses a lifting platform, including lifter plate 7, support column 1, lifting platform 3, rectangle sliding chamber 21, bar through-hole 22, horizontal slip is equipped with support montant 18 in the bar through-hole 22, and the bottom fixed mounting that supports montant 18 has support column 8, and support column 8 slides from top to bottom and runs through in the setting of base 1's inner chamber roof, lifting platform 3 fixed frame erects the top of installing at support column 8, the inside rectangle sliding chamber 21 that has all seted up in lifting platform 3's both sides, and the rotation of rectangle sliding chamber 21 is provided with lead screw 19, and the fixed second adjusting hand wheel 20 that is provided with in outer end of lead screw 19, it is equipped with motion slider 17 to go back horizontal slip in the rectangle sliding chamber 21, and motion slider 17 passes through the threaded connection mode and installs on lead screw 19.
Further, the both ends of rolling roller 6 are all fixed and are provided with axis of rotation 5, and axis of rotation 5 rotates to erect and installs the top at U type bearing roller 4, third adjusting hand wheel 23 is installed to one side dismantlement formula of rolling roller 6, and fixed mounting has an installation section of thick bamboo 24 on the third adjusting hand wheel 23, and 24 covers of installation section of thick bamboo are established on the axis of rotation 5 of rolling roller 6 one side, and installation section of thick bamboo 24 passes through construction bolt 25 fixed mounting on axis of rotation 5.
According to the invention, the rotating rod 11 is driven to rotate clockwise or anticlockwise by operating the first adjusting hand wheel 10, the rotating screw 14 can be driven to rotate clockwise or anticlockwise, the rotating screw 14 is arranged on the threaded sleeve 13 in a threaded connection mode, and when the rotating screw 14 rotates clockwise or anticlockwise, the height of the rotating screw 14 relative to the threaded sleeve 13 can be adjusted, so that the height of the lifting plate 7 in the base 1 can be adjusted, the height of the lifting platform 3 can be adjusted, the height of the winding roller 6 on the foot lifting platform 3 can be conveniently adjusted, and the use is flexible.
According to the invention, the second adjusting hand wheel 20 is operated to drive the screw rod 19 to rotate, so that the position of the moving slide block 17 in the rectangular slide cavity 21 can be adjusted, and further the distance between the two U-shaped carrier rollers 4 can be adjusted, therefore, the device is suitable for the rolling rollers 6 with different lengths, and has strong applicability.
According to the invention, after the rotating shafts 5 at two ends of the winding roller 6 are erected on the U-shaped carrier roller 4, the third adjusting hand wheel 23 is manually operated to drive the winding roller 6 to rotate, so that the cable winding effect is realized.
It will be evident to those skilled in the art that the invention is not limited to the details of the foregoing illustrative embodiments, and that the present invention may be embodied in other specific forms without departing from the spirit or essential attributes thereof. The present embodiments are therefore to be considered in all respects as illustrative and not restrictive, the scope of the invention being indicated by the appended claims rather than by the foregoing description, and all changes which come within the meaning and range of equivalency of the claims are therefore intended to be embraced therein. Any reference sign in a claim should not be construed as limiting the claim concerned.
Furthermore, it should be understood that although the present description refers to embodiments, not every embodiment may contain only a single embodiment, and such description is for clarity only, and those skilled in the art should integrate the description, and the embodiments may be combined as appropriate to form other embodiments understood by those skilled in the art.

Claims (1)

1. The utility model provides a coiling mechanism of abandoned cable for building site, includes base (1), lift platform (3), rolling roller (6), lifter plate (7), screw sleeve (13) and rotates screw rod (14), the lifter plate (7) is equipped with to slide from top to bottom in base (1), is connected with a plurality of springs (12) between the lower surface of lifter plate (7) and the inner chamber bottom plate upper surface of base (1), its characterized in that, the middle part fixed mounting of lifter plate (7) has screw sleeve (13), the lower surface rotation of the inner chamber roof middle part of base (1) is provided with rotates screw rod (14), the lower part threaded connection of rotating screw rod (14) is installed in screw sleeve (13), the upper surface symmetry fixed mounting of lifter plate (7) has support column (8), lift platform (3) fixed erection is installed on the top of support column (8), rectangular sliding cavities (21) are formed in the two sides of the lifting platform (3), a lead screw (19) is rotatably arranged in each rectangular sliding cavity (21), a moving sliding block (17) is horizontally and slidably arranged in each rectangular sliding cavity (21), the moving sliding block (17) is installed on the lead screw (19) in a threaded connection mode, the bottom end of a supporting vertical rod (18) is fixedly installed on the moving sliding block (17), and a U-shaped carrier roller (4) is fixedly installed at the top end of the supporting vertical rod (18);
four corners of the lower surface of the bottom plate of the base (1) are provided with trundles (2), and the trundles (2) adopt self-locking idler wheels;
a plurality of vertical supporting vertical rods (15) are fixedly arranged in the base (1), and the lifting plate (7) is slidably sleeved on the supporting vertical rods (15) through guide sliding holes (16) formed in the lifting plate;
a guide rail groove (9) is formed in the inner wall of a side plate of the base (1), and the end part of the lifting plate (7) is arranged in the guide rail groove (9) in a vertically sliding mode;
a rotating rod (11) is arranged on the upper portion of an inner cavity of the base (1), a driving conical gear is fixedly arranged at one end of the rotating rod (11), a driven conical gear meshed with the driving conical gear is fixedly arranged on the outer ring of the upper portion of the rotating screw (14), and a first adjusting hand wheel (10) is fixedly arranged at the other end of the rotating rod (11);
a second adjusting hand wheel (20) is fixedly arranged at the outer end of the screw rod (19);
a strip-shaped through hole (22) is formed in a top plate of the rectangular sliding cavity (21), and a supporting vertical rod (18) is arranged in the strip-shaped through hole (22) in a horizontal sliding mode;
both ends of the winding roller (6) are fixedly provided with rotating shafts (5), and the rotating shafts (5) are rotatably erected and installed at the tops of the U-shaped carrier rollers (4); a third adjusting hand wheel (23) is installed on one side of the rolling roller (6) in a detachable mode, an installation cylinder (24) is fixedly installed on the third adjusting hand wheel (23), the installation cylinder (24) is sleeved on a rotating shaft (5) on one side of the rolling roller (6), and the installation cylinder (24) is fixedly installed on the rotating shaft (5) through an installation bolt (25).
CN201811051354.3A 2018-09-10 2018-09-10 Building site uses abandonment cable coiling mechanism Active CN109095278B (en)

Priority Applications (1)

Application Number Priority Date Filing Date Title
CN201811051354.3A CN109095278B (en) 2018-09-10 2018-09-10 Building site uses abandonment cable coiling mechanism

Applications Claiming Priority (1)

Application Number Priority Date Filing Date Title
CN201811051354.3A CN109095278B (en) 2018-09-10 2018-09-10 Building site uses abandonment cable coiling mechanism

Publications (2)

Publication Number Publication Date
CN109095278A CN109095278A (en) 2018-12-28
CN109095278B true CN109095278B (en) 2021-01-01

Family

ID=64865654

Family Applications (1)

Application Number Title Priority Date Filing Date
CN201811051354.3A Active CN109095278B (en) 2018-09-10 2018-09-10 Building site uses abandonment cable coiling mechanism

Country Status (1)

Country Link
CN (1) CN109095278B (en)

Families Citing this family (10)

* Cited by examiner, † Cited by third party
Publication number Priority date Publication date Assignee Title
CN110217624A (en) * 2019-05-22 2019-09-10 苏州市红耀纺织有限公司 A kind of weaving winding device pedestal
CN110125354A (en) * 2019-05-24 2019-08-16 天津中晟泰新能源科技有限公司 A kind of amorphous band spray wrap-up
CN110329842A (en) * 2019-06-20 2019-10-15 江苏科沃纺织有限公司 A kind of support device for wrapping post in cotton thread production
CN110326378A (en) * 2019-07-26 2019-10-15 苏州斯尔斯特新材料科技有限公司 A kind of agromelioration equipment
CN110884944B (en) * 2019-11-08 2021-08-13 南京驭逡通信科技有限公司 Cable winding equipment special for computer
CN112551234B (en) * 2020-11-27 2023-06-13 安徽恒硕纺织品有限公司 Conveying device with elastic structure for fiber product dyeing
CN113682886B (en) * 2021-10-26 2022-01-04 江苏金安电气有限公司 A kind of fiber winding machine winding roller support mechanism
CN114212605A (en) * 2021-12-23 2022-03-22 安徽智信电力设备检测技术有限公司 Cable draw gear for electric power construction
CN114162663A (en) * 2021-12-27 2022-03-11 江苏群业电工有限公司 Split combined type cable wire reel
CN114955717B (en) * 2022-08-01 2022-11-01 江苏高倍智能装备有限公司 Winding machine applicable to core moulds with various lengths

Citations (5)

* Cited by examiner, † Cited by third party
Publication number Priority date Publication date Assignee Title
EP0090392A1 (en) * 1982-03-29 1983-10-05 Yoshida Kogyo K.K. Traverse take-up apparatus for material of indefinite length
CN1418168A (en) * 2000-02-24 2003-05-14 哈利伯顿能源服务公司 Coil tubing winding tool
JP2010260669A (en) * 2009-04-30 2010-11-18 Bridgestone Corp Spool supporting tool
CN106672691A (en) * 2017-02-07 2017-05-17 安徽鹰龙工业设计有限公司 Winding device for cable production and machining
CN207738219U (en) * 2017-12-29 2018-08-17 吴江市双泽纺织有限公司 A kind of weaving tube

Family Cites Families (10)

* Cited by examiner, † Cited by third party
Publication number Priority date Publication date Assignee Title
NL9200696A (en) * 1992-04-16 1993-11-16 Beek S Engineering B V V D Winding machine for winding thread (wire) onto a reel
KR20040031554A (en) * 2002-10-17 2004-04-13 홍성숙 Winding device using milling machine
CN204802756U (en) * 2015-06-10 2015-11-25 张洁 There is balanced cable winding device of pole
CN205709160U (en) * 2016-04-01 2016-11-23 中国建筑第七工程局有限公司 A kind of novel cable rolling-up mechanism of band lowering or hoisting gear
CN206088576U (en) * 2016-09-30 2017-04-12 江苏闪奇电器集团有限公司 High -efficient lopping machine of insulated wire
CN206544845U (en) * 2017-03-03 2017-10-10 湖南华升服饰股份有限公司 Lift take-up
CN106966228A (en) * 2017-04-06 2017-07-21 南昌安润科技有限公司 A kind of cable processing cable fast winding equipment
CN107310974A (en) * 2017-04-24 2017-11-03 河北奥信科技有限公司 A kind of broadband access netting twine Winder
CN207192475U (en) * 2017-08-31 2018-04-06 崔光斌 A kind of cable coiling device that can quickly wind cable
CN207329972U (en) * 2017-09-28 2018-05-08 山西博浩网络科技有限公司 A kind of automatic constriction device of optical cable

Patent Citations (5)

* Cited by examiner, † Cited by third party
Publication number Priority date Publication date Assignee Title
EP0090392A1 (en) * 1982-03-29 1983-10-05 Yoshida Kogyo K.K. Traverse take-up apparatus for material of indefinite length
CN1418168A (en) * 2000-02-24 2003-05-14 哈利伯顿能源服务公司 Coil tubing winding tool
JP2010260669A (en) * 2009-04-30 2010-11-18 Bridgestone Corp Spool supporting tool
CN106672691A (en) * 2017-02-07 2017-05-17 安徽鹰龙工业设计有限公司 Winding device for cable production and machining
CN207738219U (en) * 2017-12-29 2018-08-17 吴江市双泽纺织有限公司 A kind of weaving tube

Also Published As

Publication number Publication date
CN109095278A (en) 2018-12-28

Similar Documents

Publication Publication Date Title
CN109095278B (en) Building site uses abandonment cable coiling mechanism
CN212002116U (en) Civil engineering troweling device
CN211597846U (en) Civil engineering construction support
CN107237488A (en) A kind of rotary type crane span structure
CN207633732U (en) A kind of scaffold of architectural engineering
CN205935699U (en) Concrete vibrator tool running gear
CN212642054U (en) Building installation platform based on BIM technology
CN217347904U (en) Building engineering material transport vehicle
CN216406094U (en) Scaffold for building construction
CN214402647U (en) Construction frame with good stability
CN213742476U (en) A prefabricated wall panel auxiliary support structure for building construction
CN216042515U (en) Scaffold for building construction
CN210239082U (en) Temporary hydropower integrated bracket for construction site
CN212532141U (en) Electromechanical integrated lifting device
CN210530352U (en) A floating device for construction
CN219710958U (en) Supporting template for building
CN218234271U (en) Bearing frame for building construction
CN210262733U (en) A support frame for bridge construction
CN109723238B (en) Civil engineering building pillar
CN215948147U (en) Tamping device for building
CN222253027U (en) A kind of hanger for housing construction engineering
CN213204905U (en) Scaffold frame that building site used
CN221373048U (en) A support for concrete beams
CN221546502U (en) Building structure supporting device
CN215368740U (en) Concrete construction device for building engineering

Legal Events

Date Code Title Description
PB01 Publication
PB01 Publication
SE01 Entry into force of request for substantive examination
SE01 Entry into force of request for substantive examination
TA01 Transfer of patent application right

Effective date of registration: 20201217

Address after: Room 1801, building 3, Jinyuan Plaza, Dingcheng Town, Dingyuan County, Chuzhou City, Anhui Province

Applicant after: Anhui bailiyuan Construction Engineering Co.,Ltd.

Address before: No. 83, xiabeishan village, Jiazhen street, Jiaojiang District, Taizhou City, Zhejiang Province, 317700

Applicant before: Zhang Lianjun

TA01 Transfer of patent application right
GR01 Patent grant
GR01 Patent grant
TR01 Transfer of patent right

Effective date of registration: 20240918

Address after: 301500 Chaoyang Garden Commercial 2-401, North of Chaoyang Road East, Lutai Street, Ninghe District, Tianjin City

Patentee after: Tianjin Jinbai Technology Service Co.,Ltd.

Country or region after: China

Address before: Room 1801, building 3, Jinyuan Plaza, Dingcheng Town, Dingyuan County, Chuzhou City, Anhui Province

Patentee before: Anhui bailiyuan Construction Engineering Co.,Ltd.

Country or region before: China

TR01 Transfer of patent right