CN1071663C - Electrically-powered moped - Google Patents

Electrically-powered moped Download PDF

Info

Publication number
CN1071663C
CN1071663C CN98120837A CN98120837A CN1071663C CN 1071663 C CN1071663 C CN 1071663C CN 98120837 A CN98120837 A CN 98120837A CN 98120837 A CN98120837 A CN 98120837A CN 1071663 C CN1071663 C CN 1071663C
Authority
CN
China
Prior art keywords
frame
storage battery
cover
remaining amount
button
Prior art date
Legal status (The legal status is an assumption and is not a legal conclusion. Google has not performed a legal analysis and makes no representation as to the accuracy of the status listed.)
Expired - Fee Related
Application number
CN98120837A
Other languages
Chinese (zh)
Other versions
CN1212936A (en
Inventor
伊势野满
山口正昭
Current Assignee (The listed assignees may be inaccurate. Google has not performed a legal analysis and makes no representation or warranty as to the accuracy of the list.)
Honda Motor Co Ltd
Original Assignee
Honda Motor Co Ltd
Priority date (The priority date is an assumption and is not a legal conclusion. Google has not performed a legal analysis and makes no representation as to the accuracy of the date listed.)
Filing date
Publication date
Application filed by Honda Motor Co Ltd filed Critical Honda Motor Co Ltd
Publication of CN1212936A publication Critical patent/CN1212936A/en
Application granted granted Critical
Publication of CN1071663C publication Critical patent/CN1071663C/en
Anticipated expiration legal-status Critical
Expired - Fee Related legal-status Critical Current

Links

Images

Classifications

    • BPERFORMING OPERATIONS; TRANSPORTING
    • B62LAND VEHICLES FOR TRAVELLING OTHERWISE THAN ON RAILS
    • B62MRIDER PROPULSION OF WHEELED VEHICLES OR SLEDGES; POWERED PROPULSION OF SLEDGES OR SINGLE-TRACK CYCLES; TRANSMISSIONS SPECIALLY ADAPTED FOR SUCH VEHICLES
    • B62M6/00Rider propulsion of wheeled vehicles with additional source of power, e.g. combustion engine or electric motor
    • B62M6/40Rider propelled cycles with auxiliary electric motor
    • B62M6/55Rider propelled cycles with auxiliary electric motor power-driven at crank shafts parts
    • BPERFORMING OPERATIONS; TRANSPORTING
    • B62LAND VEHICLES FOR TRAVELLING OTHERWISE THAN ON RAILS
    • B62KCYCLES; CYCLE FRAMES; CYCLE STEERING DEVICES; RIDER-OPERATED TERMINAL CONTROLS SPECIALLY ADAPTED FOR CYCLES; CYCLE AXLE SUSPENSIONS; CYCLE SIDE-CARS, FORECARS, OR THE LIKE
    • B62K15/00Collapsible or foldable cycles
    • B62K15/006Collapsible or foldable cycles the frame being foldable

Landscapes

  • Engineering & Computer Science (AREA)
  • Chemical & Material Sciences (AREA)
  • Combustion & Propulsion (AREA)
  • Mechanical Engineering (AREA)
  • Transportation (AREA)
  • Motorcycle And Bicycle Frame (AREA)
  • Secondary Cells (AREA)
  • Arrangement Or Mounting Of Propulsion Units For Vehicles (AREA)
  • Valve Device For Special Equipments (AREA)
  • Lubrication Of Internal Combustion Engines (AREA)
  • Valve-Gear Or Valve Arrangements (AREA)

Abstract

一种电动助力自行车,具有辅助人力的电动机,车架可折叠;其中,在后车架3安装蓄电池装置32,该蓄电池装置32在上部具有显示蓄电池63残余量的残余量显示部64和使蓄电池残余量进行显示的显示按钮66,由罩35覆盖蓄电池箱上方,在该罩上安装用于透视残余量显示部的透视板76及用于按下显示按钮的操作按钮77。由此,可以防止行走中带下的泥水和尘土弄脏蓄电池箱,并可以容易地操作显示按钮。

An electric power-assisted bicycle has a motor that assists manpower, and the frame is foldable; wherein, a storage battery device 32 is installed on the rear frame 3, and the storage battery device 32 has a residual quantity display part 64 for displaying the residual quantity of the storage battery 63 on the upper part and a storage battery device The display button 66 for displaying the remaining amount is covered above the battery box by the cover 35, and a see-through plate 76 for seeing through the remaining amount display portion and an operation button 77 for pressing the display button are attached to the cover. This prevents the battery box from being soiled by muddy water and dust brought down during travel, and enables easy operation of the display buttons.

Description

电动助力自行车electric assist bicycle

本发明涉及具有辅助人力的电动机的电动助力自行车。The present invention relates to an electric power-assisted bicycle having an electric motor for assisting human power.

电动助力自行车是从电动机供给与蹬动踏板的力(踏力)相应的辅助动力的自行车,例如日本专利公报特开平9-2370号中的“电动助力自行车”就是这样的自行车。An electric power-assisted bicycle is a bicycle in which auxiliary power corresponding to pedaling force (pedaling force) is supplied from an electric motor. For example, the "electric power-assisted bicycle" in Japanese Patent Laid-Open No. Hei 9-2370 is such a bicycle.

根据该公报的图1及图2,该电动助力自行车的车架为由侧视V字状的前部车架3(编号引用了公报中记载的编号,以下同)和后部车架4构成的结合体。According to FIG. 1 and FIG. 2 of the publication, the frame of the electric power-assisted bicycle is composed of a V-shaped front frame 3 in a side view (numbers cited in the publication, the same below) and a rear frame 4. combination.

前部车架3由主车架3A、中间部3B以及车座车架3C构成,该主车架3A从前管5向斜后方下降,该中间部3B连到主车架3A的下端并弯曲,该车座车架3C从中间部3B向斜后方上升。前部车架3的周围由车身罩16覆盖。The front frame 3 is composed of a main frame 3A, an intermediate portion 3B, and a seat frame 3C. The main frame 3A descends obliquely rearward from the head pipe 5. The intermediate portion 3B is connected to the lower end of the main frame 3A and is bent. The seat frame 3C rises obliquely rearward from the middle portion 3B. The periphery of the front frame 3 is covered with a body cover 16 .

主车架3A安装蓄电池箱组合体30及带主开关的锁定装置70,中间部3B安装电动机18,车座车架3C安装控制装置100。The main frame 3A is equipped with a battery box assembly 30 and a locking device 70 with a main switch, the middle part 3B is equipped with a motor 18 , and the seat frame 3C is equipped with a control device 100 .

另外,按照公报的图22,控制装置100在蓄电池电源BAT的电压为残量判定电压值以下的场合,使灯L亮灯,催促充电。In addition, according to FIG. 22 of the publication, when the voltage of the battery power supply BAT is equal to or lower than the residual capacity determination voltage value, the control device 100 turns on the lamp L to prompt charging.

上述灯L由于检修频率小,所以可直接安装在控制装置100上。然而,安装于车座车架3C的控制装置100易于被行走中跳起来的泥水和尘埃等弄脏。为了防止被弄脏,由车身罩16覆盖控制装置100,在将灯L安装在控制装置100上时,灯显示难以看到。为此,灯L的配置被限定于转向手柄7的周围。因而,限制了转向手柄7周围的设计自由度。The above-mentioned lamp L can be directly mounted on the control device 100 because the maintenance frequency is small. However, the control device 100 attached to the seat frame 3C is easily soiled by muddy water, dust, etc. that jump up during walking. The control device 100 is covered by the vehicle body cover 16 to prevent it from getting dirty, and when the lamp L is attached to the control device 100, the lamp display is hard to see. For this reason, the arrangement of the lamp L is limited to the periphery of the steering handle 7 . Thus, the degree of freedom in design around the steering handle 7 is limited.

因此,本发明的目的就是要提高显示蓄电池残余量的残余量显示部的配置自由度。Therefore, it is an object of the present invention to improve the degree of freedom in arrangement of a remaining-amount display unit for displaying the remaining amount of a battery.

为了达到上述目的,本发明方案1提供一种电动助力自行车,该电动助力自行车具有可辅助人力的电动机,车架可以折叠,其特征在于:在车架上安装蓄电池箱,该蓄电池箱在上部具有显示蓄电池残余量的残余量显示部和用于使蓄电池残余量显示的显示按钮,用罩覆盖蓄电池箱的上方,在该罩安装用于透视残余量显示部的透视板和用于按下显示按钮的操作按钮。In order to achieve the above object, the present invention scheme 1 provides an electric power-assisted bicycle, the electric power-assisted bicycle has a motor that can assist manpower, and the vehicle frame can be folded, and is characterized in that a battery box is installed on the vehicle frame, and the battery box has a The remaining amount display part for displaying the remaining amount of the battery and the display button for displaying the remaining amount of the battery are covered with a cover above the battery box, and the see-through plate for seeing through the remaining amount display part and the display button for pressing the display button are installed on the cover. action button.

由于用罩覆盖蓄电池箱的上方,所以蓄电池箱在行走中不被溅起的泥水和尘埃等弄脏。而且,可以通过罩的透视板看到残余量显示部的显示内容。通过罩的操作按钮间接地按下显示按钮时,残余量显示部显示出蓄电池的残余量。这样,就不会将残余量显示部的配置限制在手柄周围。Since the top of the battery box is covered with the cover, the battery box will not be soiled by splashed muddy water, dust, etc. during travel. Furthermore, the display content of the remaining amount display part can be seen through the see-through panel of the cover. When the display button is pressed indirectly through the operation button of the cover, the remaining amount display part displays the remaining amount of the storage battery. In this way, the arrangement of the remaining amount display unit is not limited to the periphery of the handle.

本发明方案2的特征在于:操作按钮直接安装在透视板上。The feature of the second solution of the present invention is that the operation button is directly installed on the see-through plate.

操作按钮安装在透视板上,该透视板安装在罩上。The operation buttons are mounted on a see-through plate mounted on the cover.

下面结合附图说明本发明的实施形式The embodiment of the present invention is described below in conjunction with accompanying drawing

图1为本发明的电动助力自行车的侧视图。Fig. 1 is a side view of the electric power assist bicycle of the present invention.

图2为本发明的电动助力自行车的俯视图。Fig. 2 is a top view of the electric power assist bicycle of the present invention.

图3为本发明的车架的分解透视图。Fig. 3 is an exploded perspective view of the vehicle frame of the present invention.

图4为本发明的后车架、车座支承车架以及动力机组周围的要部侧视图。Fig. 4 is a side view of main parts around the rear frame, the seat support frame and the power unit of the present invention.

图5为本发明的蓄电池装置的构成图。Fig. 5 is a configuration diagram of a storage battery device according to the present invention.

图6为将蓄电池装置收容于本发明后车架空间部的状态的侧剖视图。Fig. 6 is a side sectional view of a state in which a storage battery device is accommodated in the rear frame space of the present invention.

图7为示出本发明的残余量显示部、显示按钮以及罩的关系的要部放大剖视图。7 is an enlarged cross-sectional view of main parts showing the relationship between the remaining amount display unit, the display button, and the cover of the present invention.

图8为示出本发明的蓄电池装置与蓄电池导向件的关系的分解透视图。Fig. 8 is an exploded perspective view showing the relationship of the battery device and the battery guide of the present invention.

图9为图6的9-9剖视图。Fig. 9 is a sectional view taken along line 9-9 of Fig. 6 .

图10为本发明在车座支承车架上安装主开关及控制装置的状态的侧剖视图。Fig. 10 is a side sectional view of the state in which the main switch and the control device are installed on the supporting frame of the vehicle seat according to the present invention.

图11为图10的11-11剖视图。Fig. 11 is a sectional view taken along line 11-11 of Fig. 10 .

图12为图10的12-12剖视图。Fig. 12 is a sectional view taken along line 12-12 of Fig. 10 .

图13为本发明铰链机构及连接机构的分解透视图。Fig. 13 is an exploded perspective view of the hinge mechanism and connecting mechanism of the present invention.

图14为本发明的连接机构的侧视图。Fig. 14 is a side view of the connection mechanism of the present invention.

图15为本发明的铰链机构及连接机构的平面剖视图。Fig. 15 is a plane sectional view of the hinge mechanism and the connection mechanism of the present invention.

图16为本发明连接机构的作用图。Fig. 16 is an action diagram of the connection mechanism of the present invention.

图17为本发明铰链机构及连接机构的平面剖视图。Fig. 17 is a plane sectional view of the hinge mechanism and connecting mechanism of the present invention.

图18为本发明的前、后车架的折叠构造的作用图。Fig. 18 is an action diagram of the folding structure of the front and rear vehicle frames of the present invention.

图19为本发明的电动助力自行车的作用图。Fig. 19 is an action diagram of the electric power-assisted bicycle of the present invention.

图20为本发明的电动助力自行车的作用图。Fig. 20 is an action diagram of the electric power-assisted bicycle of the present invention.

“前”、“后”、“左”、“右”、“上”、“下”按照驾驶者看到的方向,Fr为前侧,Rr为后侧,L为左侧,R为右侧。另外,附图沿符号的方向观看。"Front", "Rear", "Left", "Right", "Up", and "Down" follow the directions seen by the driver, F r is the front side, R r is the rear side, L is the left side, and R is the Right. In addition, the drawings are viewed in the direction of the symbols.

图1为本发明的电动助力自行车的侧视图。Fig. 1 is a side view of the electric power assist bicycle of the present invention.

电动助力自行车1为折叠型自行车,在前后方向大体中央部可折叠地连接前车架2和后车架3,作为车架4。The electric assist bicycle 1 is a foldable bicycle, and a front frame 2 and a rear frame 3 are foldably connected at substantially the center in the front-rear direction to form a frame 4 .

前叉6可回转地安装在前车架2的前端部的前管5上,在该前叉6上安装着前轮7和手柄8。A front fork 6 is rotatably attached to a head pipe 5 at the front end of the front frame 2 , and a front wheel 7 and a handle 8 are attached to the front fork 6 .

在后车架3周围的构造中,在后车架3的前端部安装向后上方延伸的车座支承车架11,在该车座支承车架11后端部的车座支柱安装部11a可上下进退地安装车座支柱13,在该车座支柱13的上端部安装鞍座14。在后车架3后端部安装后轮15,并在下端部安装动力机组16。In the structure around the rear frame 3, a seat support frame 11 extending rearward and upward is installed at the front end portion of the rear frame 3, and a seat pillar mounting portion 11a at the rear end portion of the seat support frame 11 can be The seat post 13 is mounted vertically forward and backward, and the saddle 14 is attached to the upper end of the seat post 13 . A rear wheel 15 is installed at the rear end of the rear vehicle frame 3, and a power unit 16 is installed at the lower end.

图中,符号8a为把手,符号8b为制动握把,符号12为车座支柱高度调节用柄,符号17为前制动器,符号18为后制动器,符号19为踏板,符号21为齿轮曲柄,符号22为曲柄轴,符号23为驱动链轮,符号24为从动链轮,符号25为空转轮,符号26为链条,符号27为停放支架。In the figure, the symbol 8a is the handle, the symbol 8b is the brake grip, the symbol 12 is the handle for adjusting the height of the seat post, the symbol 17 is the front brake, the symbol 18 is the rear brake, the symbol 19 is the pedal, and the symbol 21 is the gear crank. Symbol 22 is a crank shaft, symbol 23 is a driving sprocket, symbol 24 is a driven sprocket, symbol 25 is an idler wheel, symbol 26 is a chain, and symbol 27 is a parking bracket.

图2为本发明的电动助力自行车的俯视图。为了易于理解,省略了图1中示出的车座支承车架11、车座支柱13以及鞍座14。Fig. 2 is a top view of the electric power assist bicycle of the present invention. For ease of understanding, the seat support frame 11 , seat post 13 , and saddle 14 shown in FIG. 1 are omitted.

在电动助力自行车车身中心C的右侧(一侧)配置折叠前车架2和后车架3时的铰链机构90、驱动链轮23、从动链轮24以及链26,在车身中心C左侧(另一侧)配置连接前车架2和后车架3的连接机构100。The hinge mechanism 90, the drive sprocket 23, the driven sprocket 24 and the chain 26 when the front frame 2 and the rear frame 3 are folded are arranged on the right side (one side) of the body center C of the electric power-assisted bicycle. On one side (the other side) is disposed a connecting mechanism 100 that connects the front frame 2 and the rear frame 3 .

图3(a)~(d)为本发明的车架的分解透视图,(a)示出分解后的状态,(b)示出(a)的b-b剖面,(c)示出(a)的c-c剖面,(d)示出(a)的d-d剖面。Fig. 3 (a)~(d) is the exploded perspective view of vehicle frame of the present invention, (a) shows the state after disassembling, (b) shows the b-b section of (a), (c) shows (a) The c-c section of (d) shows the d-d section of (a).

如(b)所示,前车架2为椭圆形断面管。As shown in (b), the front frame 2 is a pipe with an oval cross section.

如(a)、(c)、(d)所示,后车架3大体由环状的车架本体3a,从该车架本体3a的后部垂下的左右车架侧板3b、3b,连接该左右车架侧板3b、3b下端部间的底板3c,以及从车架本体3a后部和车架侧板3b、3b向后方延伸的左右后轮支承臂3d、3d构成。如(c)所示,由车架本体3a、左右的车架侧板3b、3b以及底板3c围成的空间部S成为蓄电池收容空间。空间部S的后部上方为如(d)所示那样地开放构成。车架本体3a在上部一体地形成前后2个安装凸台3e、3e,这些安装凸台3e、3e用于由螺栓固定车座支承车架11(参照图1)的下端部。As shown in (a), (c), and (d), the rear frame 3 is generally connected by a ring-shaped frame body 3a and left and right frame side plates 3b, 3b hanging from the rear of the frame body 3a. The bottom plate 3c between the lower ends of the left and right frame side plates 3b, 3b, and the left and right rear wheel support arms 3d, 3d extending rearward from the rear of the frame body 3a and the frame side plates 3b, 3b are formed. As shown in (c), the space S surrounded by the frame body 3a, the left and right frame side plates 3b, 3b, and the bottom plate 3c serves as a storage battery storage space. The rear upper part of the space part S has an open structure as shown in (d). Two front and rear mounting bosses 3e, 3e are integrally formed on the upper part of the frame body 3a, and these mounting bosses 3e, 3e are used to fix the lower end of the frame 11 (see FIG. 1) by fixing the seat with bolts.

为了轻量化,前、后车架2、3由铝合金等轻合金形成。例如,前车架2的前部2A由铝合金的挤压材形成,前车架2的后部2B由铝合金铸件构成,车架本体3a由铝合金铸件构成。In order to reduce weight, the front and rear vehicle frames 2 and 3 are formed of light alloys such as aluminum alloys. For example, the front portion 2A of the front frame 2 is formed of an extruded aluminum alloy, the rear portion 2B of the front frame 2 is formed of an aluminum alloy casting, and the frame body 3a is formed of an aluminum alloy casting.

然而,后车架3由盖31堵住前端。盖31的详细结构后述。However, the front end of the rear frame 3 is blocked by a cover 31 . The detailed structure of the cover 31 will be described later.

图4为本发明的后车架、车座支承车架、以及动力机组周围的要部侧视图,以剖面示出动力机组16。FIG. 4 is a side view of main parts around the rear frame, the seat support frame, and the power unit of the present invention, showing the power unit 16 in section.

在后车架3下部配置蓄电池装置32,在该蓄电池装置32的下位配置动力机组16,另一方面,在车座支承车架11上部配置主开关33,在该主开关33的下位配置控制装置34。The storage battery device 32 is arranged at the lower part of the rear frame 3, and the power unit 16 is arranged at the lower position of the storage battery device 32. On the other hand, the main switch 33 is arranged at the upper part of the seat support frame 11, and the control device is arranged at the lower position of the main switch 33. 34.

详细地说,在后车架3的空间部S收容蓄电池32,在车座支承车架11上安装主开关33,同时在车座支承车架11的内部收容控制装置34。Specifically, a battery 32 is housed in the space S of the rear frame 3 , a main switch 33 is mounted on the seat support frame 11 , and a control device 34 is housed inside the seat support frame 11 .

后车架3的后部上方和车座支承车架11后面由罩35覆盖,其细节将在后面说明。另外,后车架3的背面及后端侧面由左右分割成两部分的后部罩36覆盖。The rear upper part of the rear frame 3 and the rear of the seat support frame 11 are covered by a cover 35, the details of which will be described later. In addition, the rear surface and the rear end side of the rear frame 3 are covered with a rear cover 36 divided into two on the left and right.

动力机组16以电动机41为驱动源,以辅助人力行走。详细地说,动力机组16由电动机41、安装在电动机41输出轴41a上的驱动齿轮42、啮合在驱动齿轮42的第1中间齿轮43、安装第1中央齿轮43的第1中间轴44、一体地设于第1中间轴44的第2中间齿轮45、啮合于第2中间齿轮45的第3中间齿轮46、通过单向离合器(图中未示出)连接于第3中间齿轮46的第2中间轴47、一体地设于第2中间轴47的第4中间齿轮48、啮合于第4中间齿轮48的从动齿轮49、接合从动齿轮49和上述驱动链轮23的回转筒体(图中未示出)、以及壳体51构成。The power unit 16 uses the electric motor 41 as a driving source to assist manpower in walking. In detail, the power unit 16 is composed of a motor 41, a drive gear 42 mounted on the output shaft 41a of the motor 41, a first intermediate gear 43 engaged with the drive gear 42, a first intermediate shaft 44 on which the first central gear 43 is installed, and an integral body. The second intermediate gear 45, which is ground on the first intermediate shaft 44, the third intermediate gear 46 meshed with the second intermediate gear 45, and the second intermediate gear 46 connected to the third intermediate gear 46 through a one-way clutch (not shown in the figure). The intermediate shaft 47, the fourth intermediate gear 48 integrally provided on the second intermediate shaft 47, the driven gear 49 meshing with the fourth intermediate gear 48, the rotary cylinder engaging the driven gear 49 and the above-mentioned drive sprocket 23 (Fig. Not shown in), and the housing 51 constitutes.

动力机组16具有车速检测装置55。车速检测装置55由安装于电动机41输出轴41a上的磁性磁阻件(reluctor)56和电磁耦合线圈式传感器57构成。The power unit 16 has a vehicle speed detection device 55 . The vehicle speed detection device 55 is composed of a magnetic reluctor 56 mounted on the output shaft 41 a of the motor 41 and an electromagnetic coupling coil sensor 57 .

图5(a)~(d)为本发明的蓄电池装置的构成图,(a)示出将蓄电池装置32的一部分剖开的侧面,(b)示出蓄电池装置32的平面,(c)示出(a)的c-c剖面,(d)示出蓄电池32的背面。5 (a) to (d) are structural diagrams of the storage battery device of the present invention, (a) shows a partly cutaway side of the storage battery device 32, (b) shows a plane of the storage battery device 32, and (c) shows The c-c section of (a) is shown, and (d) shows the back side of the storage battery 32 .

蓄电池32的蓄电池箱61通过组合左右箱半体61L、61R并用小螺钉B1…(…表示多个,以下同)固定而构成,在该蓄电池箱61收容蓄电池63、残余量显示部64等,在背面安装2个外部端子65、65等。The battery box 61 of the battery 32 is constructed by combining the left and right box halves 61L, 61R and fixing them with small screws B1... (...indicates a plurality, the same hereinafter). Two external terminals 65, 65, etc. are mounted on the back.

蓄电池箱61如图5(c)所示那样为在前后方向上细长的箱,在正视下呈下细的锥形,在前面一体地形成手把61a,在背面一体地形成外部端子用连接器61b,在上面开得有显示窗61c。在该显示窗61c如图佃)所示那样对着残余量显示部64的显示面64a和显示按钮66。The battery box 61 is as shown in Fig. 5 (c) and is elongated in the front-rear direction, and is tapered downwards in a front view. The handle 61a is integrally formed on the front, and the connection for external terminals is integrally formed on the back. Device 61b has a display window 61c on it. The display window 61c faces the display surface 64a and the display button 66 of the remaining amount display unit 64 as shown in FIG.

残余量显示部64用于显示蓄电池63的残余量,具体地说,由排成1列的多个发光二极管64b…的亮灯,显示蓄电池63的电压。The remaining amount display unit 64 is used to display the remaining amount of the storage battery 63 , specifically, the voltage of the storage battery 63 is displayed by lighting up a plurality of light emitting diodes 64 b . . .

显示按钮66为安装于残余量显示部64显示面64a的按钮,以便在残余量显示部64显示蓄电池63的残余量。通过按下该按钮,使图中未示出的开关接通,仅在规定的时间使残余量显示部64动作。由于仅在规定的时间内使残余量显示部64动作,所以可节电。The display button 66 is a button attached to the display surface 64 a of the remaining amount display unit 64 so that the remaining amount of the storage battery 63 is displayed on the remaining amount display unit 64 . By pressing this button, a switch not shown in the figure is turned on, and the remaining amount display unit 64 is operated only for a predetermined time. Since the remaining amount display unit 64 is operated only for a predetermined time, power can be saved.

图中,符号67为充电端子,符号61f为充电端子用开口。符号62g为后部下部锥面,设在充电端子67的上下相反侧。In the figure, reference numeral 67 is a charging terminal, and reference numeral 61f is an opening for the charging terminal. Reference numeral 62g is a rear lower tapered surface, which is provided on the upper and lower opposite sides of the charging terminal 67 .

图6为本发明的在后车架空间部收容蓄电池装置的状态的侧剖视图,在形成后车架3空间部S的内壁3f的上部,用小螺钉固定罩35的后部,并用该罩35覆盖蓄电池箱61的上方。6 is a side sectional view of the state in which the storage battery device is accommodated in the rear frame space of the present invention. On the upper part of the inner wall 3f forming the space S of the rear frame 3, the rear part of the cover 35 is fixed with small screws, and the cover 35 is used to The upper part of the battery box 61 is covered.

内壁3f由空间部S内的蓄电池导向部71和空间部S外的外部连接器72夹持。外部连接器72的接触销72a、72a与第1电线73(电线束)连接,并通过蓄电池导向件71内,与收容于空间部S的蓄电池装置32的外部端子65、65接触。The inner wall 3f is sandwiched between the battery guide 71 inside the space S and the external connector 72 outside the space S. As shown in FIG. The contact pins 72a, 72a of the external connector 72 are connected to the first electric wires 73 (wire harness), pass through the battery guide 71, and contact the external terminals 65, 65 of the battery device 32 housed in the space S.

如上述那样,蓄电池装置32在后部下部具有后部下部锥面61g。因此,在将蓄电池装置32插入空间部S时,由于蓄电池装置32的后部下部不碰到后车架3的开口,所以易于插入。As mentioned above, the battery unit 32 has the rear lower tapered surface 61g in the rear lower part. Therefore, when the battery device 32 is inserted into the space S, the lower rear part of the battery device 32 does not touch the opening of the rear frame 3, so the insertion is easy.

图7为示出本发明的残余量显示部、显示按钮、及罩的关系的要部放大剖视图,由图可知,在罩35上安装着透视残余量显示部64的透视板76和用于按下显示按钮66的操作按钮77。7 is an enlarged cross-sectional view showing the relationship between the remaining amount display part, the display button, and the cover of the present invention. It can be seen from the figure that the see-through plate 76 of the remaining amount display part 64 and the transparent plate 76 for pressing the button are installed on the cover 35. The operation button 77 of the display button 66 is lowered.

具体地说,罩35以弹性配合的方式安装着对着残余量显示部64的显示面64a的透视板76,该透视板76由例如透明或半透明的树脂板或玻璃板构成。操作按钮77由橡胶材等弹性材料构成,以弹性配合的方式直接安装于透视板76,可通过套筒78按压显示按钮66的上面。Specifically, the cover 35 is elastically fitted with a see-through plate 76 facing the display surface 64a of the remaining amount display portion 64, and the see-through plate 76 is made of, for example, a transparent or translucent resin plate or glass plate. The operation button 77 is made of elastic materials such as rubber, and is directly mounted on the see-through plate 76 in an elastic fit, and the upper surface of the display button 66 can be pressed through the sleeve 78 .

图8为示出本发明的蓄电池装置与蓄电池导向件的关系的分解透视图。Fig. 8 is an exploded perspective view showing the relationship of the battery device and the battery guide of the present invention.

该蓄电池导向件71是将锥形导向凸部71a、71a和肩导向凸部71b、71b形成一体而成,该锥形导向凸部71a、71a用于引导蓄电池箱61的下部锥形面61d、61d,该肩导向凸部71b、71b用于引导蓄电池箱61的肩部61e、61e。The battery guide 71 is formed by integrating tapered guide protrusions 71a, 71a and shoulder guide protrusions 71b, 71b. The tapered guide protrusions 71a, 71a are used to guide the lower tapered surface 61d, 61d, the shoulder guide protrusions 71b, 71b are used to guide the shoulders 61e, 61e of the battery case 61.

因此,蓄电池导向件71由锥形导向凸部71a、71a及肩导向凸部71b、71b引导插入空间部S(参照图6)的蓄电池箱61的下部锥形面61d和肩部61e,在空间部S定位于规定的位置。在由蓄电池导向件71定位后的状态下,蓄电池箱61的外部端子用连接器61b配合于蓄电池导向件71的贯通孔71c中。因此,如图6所示,仅需将蓄电池装置32插入到空间部S,即可使外部端子65、65自动地与外部连接器72对齐位置,使接触销72a、72a接触。Therefore, the battery guide 71 guides the lower tapered surface 61d and the shoulder 61e of the battery case 61 inserted into the space S (see FIG. Part S is positioned at a specified position. In a state positioned by the battery guide 71 , the external terminal connector 61 b of the battery case 61 is fitted into the through-hole 71 c of the battery guide 71 . Therefore, as shown in FIG. 6, only by inserting the storage battery device 32 into the space S, the external terminals 65, 65 are automatically aligned with the external connector 72, and the contact pins 72a, 72a are brought into contact.

图9为图6的9-9剖视图。为了易于理解,省去了图6中示出的后车架3的内壁3f、罩35、以及蓄电池导向件71。Fig. 9 is a sectional view taken along line 9-9 of Fig. 6 . For ease of understanding, the inner wall 3 f of the rear frame 3 , the cover 35 , and the battery guide 71 shown in FIG. 6 are omitted.

由该图可知,在空间部S收容完了状态下的蓄电池装置32由锥形导向件凸起部71a、71a定位。As can be seen from this figure, the storage battery device 32 in the state where the space portion S has been accommodated is positioned by the tapered guide protrusions 71a, 71a.

蓄电池箱61与底板3c之间形成间隙α。因此,蓄电池箱61的下面与底板3c不产生干涉,不摩擦。A gap α is formed between the battery case 61 and the bottom plate 3c. Therefore, the bottom surface of the battery case 61 does not interfere with the bottom plate 3c and does not rub against it.

图10为在本发明的车座支承车架安装主开关及控制装置的状态的侧剖视图,示出安装构造的细节。Fig. 10 is a side sectional view of a state where a main switch and a control device are mounted on the seat support frame of the present invention, showing details of the mounting structure.

主开关33的具体安装构造,是在车座支承车架11的前面上部以弹性接合和小螺钉B2固定开关安装板81,在开关安装板81上安装主开关33。主开关33为钥匙开关,将点划线示出的钥匙82插入钥匙孔中进行回转操作,用于启动或关闭控制装置34的动作。The specific installation structure of main switch 33 is to fix switch mounting plate 81 with elastic engagement and small screw B2 on the front top of vehicle seat supporting vehicle frame 11, and main switch 33 is installed on switch mounting plate 81. The main switch 33 is a key switch, and the key 82 shown by the dot-dash line is inserted into the key hole for turning operation, which is used to start or close the action of the control device 34 .

另一方面,在控制装置34的具体安装构造中,将接合板86安装在车座支承车架11的上部,在该接合板86的孔86a挂住控制装置34一端的钩搭凸缘34a,用螺栓B3将控制装置34另一端的撑条34b安装在车座支承车架11的上部。控制装置34进行控制以使电动机41(参照图4)产生相应于蹬动踏板19(参照图1)的力的辅助动力。On the other hand, in the specific installation structure of the control device 34, the joint plate 86 is installed on the upper part of the vehicle seat support frame 11, and the hook flange 34a at one end of the control device 34 is hooked on the hole 86a of the joint plate 86, The stay 34b at the other end of the control device 34 is installed on the top of the vehicle seat support frame 11 with the bolt B3. The control device 34 controls the electric motor 41 (see FIG. 4 ) to generate auxiliary power corresponding to the force of the pedal 19 (see FIG. 1 ).

主开关33和控制装置34之间由第2电线87(电线束)连接,另外,控制装置34与上述图6的蓄电池装置32之间由第1电线73连接。The main switch 33 and the control device 34 are connected by a second wire 87 (wire bundle), and the control device 34 and the storage battery device 32 of FIG. 6 are connected by a first wire 73 .

蓄电池装置32、主开关33、以及控制装置34处于邻接位置,因此,第1、第2电线73、87极短。The storage battery device 32, the main switch 33, and the control device 34 are adjacent to each other, so the first and second electric wires 73 and 87 are extremely short.

图11为图10的11-11剖视图,在图中,用螺栓B4、B4将车座支承车架11的下端部安装在后车架3的安装支柱3e上。Fig. 11 is a sectional view taken along line 11-11 of Fig. 10. In the figure, the lower end of the seat support frame 11 is installed on the mounting post 3e of the rear frame 3 with bolts B4 and B4.

图12为图10的12-12剖视图,示出在车座支承车架11的接合板86的孔86a挂上控制装置34的钩挂凸缘34a的状态。FIG. 12 is a cross-sectional view taken along line 12-12 of FIG. 10 , showing a state in which the hooking flange 34a of the control device 34 is hooked to the hole 86a of the joint plate 86 of the seat support frame 11 .

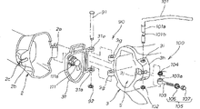
图13为本发明的铰链机构及连接机构的分解透视图。Fig. 13 is an exploded perspective view of the hinge mechanism and connecting mechanism of the present invention.

铰链机构90由形成于前车架2后端右侧部的铰链撑条2a、形成于后车架3前端右侧部的铰链撑条3g、形成于盖31的铰链撑条31a、插入到这些铰链撑条2a、3g、31a各孔中的带凸缘的铰链销91、以及固定于带凸缘铰链销91下端部的开口环92构成。The hinge mechanism 90 consists of a hinge stay 2a formed on the right side of the rear end of the front frame 2, a hinge stay 3g formed on the right side of the front end of the rear frame 3, and a hinge stay 31a formed on the cover 31. The hinge pin 91 with a flange in each hole of the hinge stay 2a, 3g, 31a, and the split ring 92 fixed to the lower end part of the hinge pin 91 with a flange are comprised.

连接机构100由以下部分构成:形成于后车架3前端左侧部的凸台部3h,形成于凸台部3h的上下贯通孔3i以及从上下贯通孔3i的中段向前方切开的切口槽3j,贯通该上下贯通孔3i的侧视为倒L字形的锁定用柄101,固定于锁定用柄101下端部的开口环102,在上述切口槽3j中配合于锁定用柄101的带配合孔螺栓103及扭簧104,拧入到带配合孔螺栓103的双螺母105(螺母106及盖形螺母107),形成于前车架2后端左侧部的凸缘2b,以及形成于凸缘2b的螺栓钩挂槽2c。The connecting mechanism 100 is composed of a boss portion 3h formed on the left side of the front end of the rear frame 3, a vertical through hole 3i formed in the boss portion 3h, and a notch cut forward from the middle of the vertical through hole 3i. 3j, the side that passes through the upper and lower through holes 3i is viewed as an inverted L-shaped locking handle 101, which is fixed to the split ring 102 at the lower end of the locking handle 101, and is fitted in the belt matching hole of the locking handle 101 in the above-mentioned notch groove 3j. Bolt 103 and torsion spring 104 are screwed into double nut 105 (nut 106 and cap nut 107) with matching hole bolt 103, flange 2b formed on the left side of the rear end of front frame 2, and flange 2b formed on the flange 2b bolt hook groove 2c.

图14为本发明的连接机构的侧视图,将连接状态的连接机构100的要部形成剖面地示出。FIG. 14 is a side view of the connection mechanism of the present invention, showing the main parts of the connection mechanism 100 in a connected state in cross-section.

锁定用柄101在插入上下贯通孔3i的轴部101a的中段形成偏心凸轮部101b,在该凸轮部101b配合带配合孔螺栓103的配合孔103a。带配合孔螺栓103插入到螺栓钩挂槽2c中,并将拧入前端的双螺母105挂到凸缘2b上,从而连接前车架2和后车架3。In the locking handle 101, an eccentric cam portion 101b is formed in the middle of a shaft portion 101a inserted into the vertical through hole 3i, and a fitting hole 103a of a bolt 103 with a fitting hole is engaged with the cam portion 101b. The bolts 103 with fitting holes are inserted into the bolt hook grooves 2c, and the double nuts 105 screwed into the front end are hung on the flange 2b, thereby connecting the front frame 2 and the rear frame 3.

双螺母105拧入带配合孔螺栓103的深度为对于连接前车架2和后车架3适当的尺寸,预先加以设定。The depth that double nut 105 is screwed into band matching hole bolt 103 is for connecting front vehicle frame 2 and rear vehicle frame 3 suitable size, is preset.

图15为本发明的铰链机构及连接机构的平面剖视图,在图中,将用点划线示出的蓄电池装置32收容于后车架3的空间部S,关闭盖31,锁定钥匙柱体(锁定装置)111,进而连接该连接机构100。Fig. 15 is a plane sectional view of the hinge mechanism and the connection mechanism of the present invention. In the figure, the accumulator device 32 shown by the dotted line is accommodated in the space S of the rear frame 3, the cover 31 is closed, and the key cylinder is locked ( locking device) 111, and then connected to the connecting mechanism 100.

安装于盖31的钥匙柱体111,通过在钥匙孔中插入图中未示出的钥匙并进行转动操作,使锁销111a锁到后车架3内的凸部3k。由于具有钥匙柱体111,所以可起到防止蓄电池装置32被偷盗的作用。The key cylinder 111 attached to the cover 31 is inserted into the key hole and rotated so that the lock pin 111a is locked to the protrusion 3k in the rear frame 3 . Since the key cylinder 111 is provided, it can prevent the storage battery device 32 from being stolen.

连接机构100的扭簧104在使带配合孔螺栓103对时常挂在前车架2的凸缘2b的方向上施加弹力。因此,前车架2与后车架3可以时常维持稳定的连接状态。The torsion spring 104 of the link mechanism 100 exerts elastic force in a direction in which the pair of bolts 103 with fitting holes are always hung on the flange 2 b of the front frame 2 . Therefore, the front frame 2 and the rear frame 3 can always maintain a stable connection state.

前车架2的后端开放,可在内部收容钢丝锁112。The rear end of the front vehicle frame 2 is open, and the wire lock 112 can be accommodated inside.

钢丝锁112是为了防盗而挂在前轮7或后轮15的锁构件,通过环状钢丝112a和拨号式锁112b组合而成。在前车架2内插入钢丝112a时,钢丝112a由自身的恢复力压紧在前车架2的内面,所以不会掉出来。这样,可以有效利用前车架2的内部空间。The wire lock 112 is a lock component hung on the front wheel 7 or the rear wheel 15 for anti-theft, and is formed by combining a ring wire 112a and a dial lock 112b. When the steel wire 112a is inserted in the front frame 2, the steel wire 112a is pressed against the inner surface of the front frame 2 by its own restoring force, so it will not fall out. In this way, the internal space of the front frame 2 can be effectively utilized.

图16(a)、(b)为本发明的连接机构的作用图,(a)示出连接前的状态,(b)示出连接后的状态。Fig. 16(a), (b) is the operation diagram of the connection mechanism of the present invention, (a) shows the state before connection, and (b) shows the state after connection.

在(a)中,使前车架2的后端与后车架3的前端对齐,将带配合孔螺栓103插入到螺栓钩挂槽2c中。此时,锁定用柄101如点划线示出的那样处于立起状态。因此,凸轮部101b处于从轴部101a的中心X向前车架2一侧偏心尺寸δ1的状态。另一方面,凸缘2b的背面与双螺母105之间的间隙为δ2。In (a), the rear end of the front frame 2 is aligned with the front end of the rear frame 3, and the bolt 103 with a fitting hole is inserted into the bolt hook groove 2c. At this time, the locking handle 101 is in an upright state as indicated by a dotted line. Therefore, the cam portion 101b is in a state of being eccentric by a dimension δ1 from the center X of the shaft portion 101a to the front frame 2 side. On the other hand, the gap between the back surface of the flange 2b and the double nut 105 is δ2.

从该状态,使锁定用柄101向空白箭头A的方向倒转回去时,凸轮部101b也向相同方向回转。由回转的凸轮部101b使带配合孔螺栓103张紧,向空白箭头B的方向移动。From this state, when the lock handle 101 is turned back in the direction of the white arrow A, the cam portion 101b also turns in the same direction. The bolt 103 with a fitting hole is tensed by the rotating cam part 101b, and moves in the direction of the blank arrow B.

如(b)所示,当使锁定用柄101变到点划线所示的例F位置时,凸轮部101b成为从轴部101a的中心X向与前车架2相反一侧偏心尺寸δ3的状态。由于用凸轮部101b使带配合孔螺栓103张紧,所以凸缘2b的背面与双螺母105之间没有间隙。这样,带配合孔螺栓103通过双螺母105将凸缘2b向后车架3的前端拉,将前车架2的后端与后车架3的前端连接。As shown in (b), when the locking lever 101 is changed to the F position shown by the dotted line, the cam portion 101b becomes an eccentricity dimension δ3 from the center X of the shaft portion 101a to the side opposite to the front frame 2. state. Since the bolt 103 with a fitting hole is tensioned by the cam portion 101b, there is no gap between the back surface of the flange 2b and the double nut 105. In this way, the bolt 103 with matching holes pulls the flange 2 b to the front end of the rear frame 3 through the double nuts 105 , and connects the rear end of the front frame 2 to the front end of the rear frame 3 .

图17为本发明的铰链机构及连接机构的平面剖视图,示出的除连接机构、使前车架2倒下的状态。在该状态下,用钥匙113打开钥匙柱体111,即可打开盖31,更换用点划线示出的蓄电池装置32。Fig. 17 is a planar cross-sectional view of the hinge mechanism and the connecting mechanism of the present invention, showing a state in which the front frame 2 is fallen down except for the connecting mechanism. In this state, the key cylinder 111 is opened with the key 113, the cover 31 can be opened, and the storage battery device 32 shown by the dotted line can be replaced.

图18为本发明的前、后车架的折叠构造的作用图。Fig. 18 is an action diagram of the folding structure of the front and rear vehicle frames of the present invention.

收容蓄电池32、连接前车架2和后车架3时,按以下作业顺序进行。When accommodating the storage battery 32 and connecting the front frame 2 and the rear frame 3, the following work order is carried out.

首先,在后车架3的空间部S插入蓄电池装置32(箭头①),关上盖31,锁定钥匙柱体111(箭头②),根据需要在前车架2内部收容钢丝锁112(箭头③),对齐前车架2的后端和后车架3的前端(箭头④),将带配合孔螺栓103插入凸缘2b的螺栓钩挂槽2c中(箭头⑤),倒下锁定用柄101,将带配合孔螺栓103挂在凸缘2b(箭头⑥),连接前车架2的后端和后车架3的前端。First, insert the battery device 32 into the space S of the rear frame 3 (arrow ①), close the cover 31, lock the key cylinder 111 (arrow ②), and store the wire lock 112 inside the front frame 2 as required (arrow ③) , align the rear end of the front frame 2 with the front end of the rear frame 3 (arrow ④), insert the bolt 103 with matching holes into the bolt hook groove 2c of the flange 2b (arrow ⑤), drop the locking handle 101, Hang the bolt 103 with matching holes on the flange 2b (arrow ⑥) to connect the rear end of the front frame 2 and the front end of the rear frame 3.

取出蓄电池装置时按与上述作业顺序相反的顺序进行。When taking out the battery unit, carry out the reverse order of the above operation sequence.

图19为本发明的电动助力自行车的作用图,示出从侧面看到的折叠状态的电动助力自行车1的构造。Fig. 19 is an action diagram of the electric power assist bicycle of the present invention, showing the structure of the electric power assist bicycle 1 in a folded state viewed from the side.

通过解除连接机构100,将前车架2折叠到右侧(图里面方向),电动助力自行车1大体成为一半的长度。该状态下的电动助力自行车1可由后轮15和停放支架27站立。也可以如图所示那样降低鞍座14。By releasing the connection mechanism 100, the front frame 2 is folded to the right side (inward direction in the figure), and the electric power-assisted bicycle 1 becomes roughly half in length. The electric power-assisted bicycle 1 in this state can stand by the rear wheel 15 and the parking bracket 27 . It is also possible to lower the saddle 14 as shown.

图20为本发明的电动助力自行车的作用图,示出折叠状态的电动助力自行车1的俯视构造。为了易于理解,省去了图19中示出的车座支承车架11、车座支柱13以及鞍座14。Fig. 20 is an action diagram of the electric power assist bicycle of the present invention, showing the plan view structure of the electric power assist bicycle 1 in a folded state. For ease of understanding, the seat support frame 11 , seat post 13 and saddle 14 shown in FIG. 19 are omitted.

由于在车身中心右侧(一侧)集中配置驱动链轮23、从动链轮24、链26以及铰链机构90,所以,在折叠电动助力自行车的人站在车身左侧(另一侧)进行折叠作业时,链26等不形成障碍,因此作业性良好。另外,由于可由折叠后的前车架2、前叉5、前轮7来引导链26,所以不需要用于该状态下的链导向件的部件。Since the driving sprocket 23, the driven sprocket 24, the chain 26 and the hinge mechanism 90 are concentratedly arranged on the right side (one side) of the vehicle body center, the person who folds the electric power-assisted bicycle stands on the left side (the other side) of the vehicle body During the folding work, the chain 26 and the like do not form an obstacle, so workability is good. In addition, since the chain 26 can be guided by the folded front frame 2, front fork 5, and front wheel 7, components for a chain guide in this state are unnecessary.

本发明可由以上构成发挥如下效果。The present invention can exhibit the following effects with the above constitution.

本发明方案1由于用罩覆盖安装于车架上的蓄电池箱上方,所以蓄电池箱不会被行走中带下的泥水或尘埃等弄脏。The present invention's scheme 1 owing to cover the battery box top that is installed on the vehicle frame with cover, so battery box can not be made dirty by the muddy water or dust etc. that are brought down in walking.

由于在罩上安装透视残余量显示部的透视板,所以可通过透视板观看残余量显示部的显示内容。因此,即使用罩覆盖具有残余量显示部的蓄电池箱的上方,也可以容易地看到显示内容。Since the see-through plate that sees through the remaining amount display portion is installed on the cover, the display content of the remaining amount display portion can be viewed through the see-through plate. Therefore, even if the upper part of the battery box having the remaining amount display part is covered with a cover, the displayed contents can be easily seen.

由于在罩上安装了用于按下显示按钮的操作按钮,所以通过操作按钮间接地按下显示按钮,就可以在残余量显示部显示蓄电池的残余量。因此,即使用罩覆盖具有显示按钮的蓄电池箱的上方,也可以容易地操作显示按钮。Since the operation button for pressing the display button is mounted on the cover, the remaining amount of the storage battery can be displayed on the remaining amount display part by indirectly pressing the display button through the operation button. Therefore, even if the upper side of the battery box having the display button is covered with the cover, the display button can be easily operated.

这样,残余量显示器的配置不被限制在转向手柄周围,在提高转向手柄周围设计的自由度的同时,可提高残余量显示部配置的自由度。而且,残余量显示部的布线也可变短。In this way, the arrangement of the remaining amount indicator is not limited to the periphery of the steering handle, and the degree of freedom in the arrangement of the remaining amount display portion can be increased while increasing the degree of freedom in the design of the periphery of the steering handle. Furthermore, the wiring of the remaining amount display unit can also be shortened.

本发明方案2由于直接将操作按钮安装在透视板上,所以在将操作按钮安装在透视板上后,只要将透视板安装在罩上即可。由于将操作按钮部分地组装到透视板,所以可提高组装作业性,减少组装工时。Solution 2 of the present invention directly installs the operation button on the see-through plate, so after the operation button is installed on the see-through plate, it only needs to install the see-through plate on the cover. Since the operation button is partially assembled to the see-through plate, assembly workability can be improved and assembly man-hours can be reduced.

Claims (2)

1. electric assisted bicycle has the electrical motor of auxiliary manpower, and vehicle frame can fold; It is characterized in that: on above-mentioned vehicle frame, storage battery box is installed, this storage battery box has the residual volume display part that shows the storage battery residual volume and is used to make the Show Button of storage battery residual volume demonstration on top, by the top of cover covering storage battery box, the action button that is used to have an X-rayed the perspective board of residual volume display part and is used to press the Show Button is installed on this cover.
2. electric assisted bicycle as claimed in claim 1 is characterized in that: aforesaid operations button direct mount is on above-mentioned perspective board.
CN98120837A 1997-09-30 1998-09-29 Electrically-powered moped Expired - Fee Related CN1071663C (en)

Applications Claiming Priority (3)

Application Number Priority Date Filing Date Title
JP265971/1997 1997-09-30
JP26597197A JP4108159B2 (en) 1997-09-30 1997-09-30 Electric assist bicycle
JP265971/97 1997-09-30

Publications (2)

Publication Number Publication Date
CN1212936A CN1212936A (en) 1999-04-07
CN1071663C true CN1071663C (en) 2001-09-26

Family

ID=17424593

Family Applications (1)

Application Number Title Priority Date Filing Date
CN98120837A Expired - Fee Related CN1071663C (en) 1997-09-30 1998-09-29 Electrically-powered moped

Country Status (4)

Country Link
JP (1) JP4108159B2 (en)
CN (1) CN1071663C (en)
FR (1) FR2768990B1 (en)
IT (1) IT1304997B1 (en)

Cited By (1)

* Cited by examiner, † Cited by third party
Publication number Priority date Publication date Assignee Title
CN104411576B (en) * 2012-06-29 2017-03-08 松下知识产权经营株式会社 Battery mounting device and electric bicycle

Families Citing this family (14)

* Cited by examiner, † Cited by third party
Publication number Priority date Publication date Assignee Title
JP4492905B2 (en) * 2001-03-19 2010-06-30 本田技研工業株式会社 Electric assist bicycle
NL1018948C2 (en) 2001-09-13 2003-03-20 Sparta B V Bicycle with auxiliary drive.
JP2003194194A (en) 2001-12-28 2003-07-09 Sunstar Eng Inc Gear box and motor-assisted bicycle using the same
TW568050U (en) * 2003-03-04 2003-12-21 Takara Co Ltd Electric bicycle
WO2004103762A2 (en) * 2003-05-14 2004-12-02 Taylor Loren T Foldable child riding vehicle
ITMI20071352A1 (en) * 2007-07-06 2009-01-07 Campagnolo Srl INSTRUMENTATION KIT OF A BICYCLE AND BICYCLE INCLUDING SUCH A KIT
CN101670774B (en) * 2009-06-25 2012-06-13 好孩子儿童用品有限公司 Battery installation structure and electric bicycle
JP2011025766A (en) * 2009-07-22 2011-02-10 Sanyo Electric Co Ltd Folding type power-assisted bicycle
JP5460545B2 (en) * 2010-09-30 2014-04-02 本田技研工業株式会社 Battery module mounting structure for electric motorcycles
KR101201057B1 (en) 2010-11-17 2012-11-14 삼성에스디아이 주식회사 Waterproof battery pack
CN104029771A (en) * 2013-03-07 2014-09-10 苏州小蜻蜓电动车有限公司 Variable-speed folding bicycle
CN108502067A (en) * 2018-06-07 2018-09-07 李锡如 A kind of pipeline interior cabling structure and its application on three folding bicycles
CN111038636B (en) * 2018-10-15 2020-12-18 程宝贤 Bicycle folding structure and bicycle folding method
CN115416793A (en) * 2022-09-15 2022-12-02 天津市金轮信德车业有限公司 Shock attenuation formula electric bicycle

Citations (1)

* Cited by examiner, † Cited by third party
Publication number Priority date Publication date Assignee Title
US4637274A (en) * 1984-03-14 1987-01-20 Kibbutz Gordonia Hulda Auxiliary drive for pedal-driven road vehicles

Family Cites Families (2)

* Cited by examiner, † Cited by third party
Publication number Priority date Publication date Assignee Title
JP3528996B2 (en) 1995-04-17 2004-05-24 本田技研工業株式会社 Electric assist bicycle
JP3645976B2 (en) * 1996-07-08 2005-05-11 本田技研工業株式会社 Battery mounting structure for battery-assisted bicycles

Patent Citations (1)

* Cited by examiner, † Cited by third party
Publication number Priority date Publication date Assignee Title
US4637274A (en) * 1984-03-14 1987-01-20 Kibbutz Gordonia Hulda Auxiliary drive for pedal-driven road vehicles

Cited By (1)

* Cited by examiner, † Cited by third party
Publication number Priority date Publication date Assignee Title
CN104411576B (en) * 2012-06-29 2017-03-08 松下知识产权经营株式会社 Battery mounting device and electric bicycle

Also Published As

Publication number Publication date
IT1304997B1 (en) 2001-04-05
ITTO980790A1 (en) 2000-03-17
CN1212936A (en) 1999-04-07
JP4108159B2 (en) 2008-06-25
JPH1199974A (en) 1999-04-13
FR2768990A1 (en) 1999-04-02
FR2768990B1 (en) 2002-01-11

Similar Documents

Publication Publication Date Title
CN1071663C (en) Electrically-powered moped
CN1071662C (en) Electrically-powered mopeol
CN1091054C (en) Storage battery compartment of electrically-powered moped
CN1086348C (en) Electrically assisted bicycle
CN1191959C (en) Motor assisted bike and power device
JP5564619B2 (en) Electric bicycle electrical component arrangement structure
CN102730142B (en) Motor-assisted bicycle
CN1268507C (en) Electric auxiliary bicycle and its accumulator holder and accumulator case
JPH07329858A (en) Battery attachment / detachment structure for electric assisted bicycles
CN1091304C (en) Cell charge-discharge structure for electric auxiliary bicycle
CN1075992C (en) Plate structure for shelterring body of electric asisting driven bicycle
CN1101764C (en) Battery placing structure of electric auxiliary bicycle
CN1282582C (en) Moped
CN1756688A (en) Saddle type vehicle
CN1269685C (en) Battery residual electric quantity meter of motor assisted bicycle
JP3137316B2 (en) Bicycle with electric auxiliary power
CN1150104C (en) electric booster
JP3867836B2 (en) Electric assist bicycle
JP2003182668A (en) Electric assist bicycle
JP3832705B2 (en) Electric auxiliary unit
CN1340436A (en) Bicycle
JP2001106164A (en) Electric auxiliary unit
EP1092623B1 (en) Motor-assisted bicycle
CN1293140A (en) Electri auxiliary parts
CN1170264A (en) Batteries for Electric Assisted Bicycles

Legal Events

Date Code Title Description
C10 Entry into substantive examination
SE01 Entry into force of request for substantive examination
C06 Publication
PB01 Publication
C14 Grant of patent or utility model
GR01 Patent grant
C19 Lapse of patent right due to non-payment of the annual fee
CF01 Termination of patent right due to non-payment of annual fee