CN106745749B - 好氧缺氧一体式ao膜生物反应器 - Google Patents
好氧缺氧一体式ao膜生物反应器 Download PDFInfo
- Publication number
- CN106745749B CN106745749B CN201710034178.1A CN201710034178A CN106745749B CN 106745749 B CN106745749 B CN 106745749B CN 201710034178 A CN201710034178 A CN 201710034178A CN 106745749 B CN106745749 B CN 106745749B
- Authority
- CN
- China
- Prior art keywords
- zone
- aerobic
- anoxic
- area
- sludge
- Prior art date
- Legal status (The legal status is an assumption and is not a legal conclusion. Google has not performed a legal analysis and makes no representation as to the accuracy of the status listed.)
- Active
Links
- 239000012528 membrane Substances 0.000 title claims abstract description 44
- 239000007788 liquid Substances 0.000 claims abstract description 13
- 239000010802 sludge Substances 0.000 claims description 53
- 239000002351 wastewater Substances 0.000 claims description 32
- XLYOFNOQVPJJNP-UHFFFAOYSA-N water Substances O XLYOFNOQVPJJNP-UHFFFAOYSA-N 0.000 claims description 32
- 238000001556 precipitation Methods 0.000 claims description 20
- 238000005273 aeration Methods 0.000 claims description 19
- 239000000919 ceramic Substances 0.000 claims description 15
- 238000005192 partition Methods 0.000 claims description 12
- 238000004062 sedimentation Methods 0.000 claims description 9
- QVGXLLKOCUKJST-UHFFFAOYSA-N atomic oxygen Chemical compound [O] QVGXLLKOCUKJST-UHFFFAOYSA-N 0.000 claims description 7
- 229910052760 oxygen Inorganic materials 0.000 claims description 7
- 239000001301 oxygen Substances 0.000 claims description 7
- 230000002572 peristaltic effect Effects 0.000 claims description 7
- 230000010349 pulsation Effects 0.000 claims description 7
- 238000006065 biodegradation reaction Methods 0.000 claims description 6
- 238000006731 degradation reaction Methods 0.000 claims description 4
- 239000002957 persistent organic pollutant Substances 0.000 claims description 3
- 238000000034 method Methods 0.000 abstract description 19
- 230000001546 nitrifying effect Effects 0.000 abstract description 4
- 239000010865 sewage Substances 0.000 description 11
- 230000000694 effects Effects 0.000 description 8
- 238000010992 reflux Methods 0.000 description 5
- IJGRMHOSHXDMSA-UHFFFAOYSA-N Atomic nitrogen Chemical compound N#N IJGRMHOSHXDMSA-UHFFFAOYSA-N 0.000 description 4
- 238000001914 filtration Methods 0.000 description 4
- 238000004519 manufacturing process Methods 0.000 description 4
- 238000000926 separation method Methods 0.000 description 4
- 239000003403 water pollutant Substances 0.000 description 4
- 230000014759 maintenance of location Effects 0.000 description 3
- 229910052757 nitrogen Inorganic materials 0.000 description 3
- JEBFVOLFMLUKLF-IFPLVEIFSA-N Astaxanthin Natural products CC(=C/C=C/C(=C/C=C/C1=C(C)C(=O)C(O)CC1(C)C)/C)C=CC=C(/C)C=CC=C(/C)C=CC2=C(C)C(=O)C(O)CC2(C)C JEBFVOLFMLUKLF-IFPLVEIFSA-N 0.000 description 2
- MQZIGYBFDRPAKN-ZWAPEEGVSA-N astaxanthin Chemical compound C([C@H](O)C(=O)C=1C)C(C)(C)C=1/C=C/C(/C)=C/C=C/C(/C)=C/C=C/C=C(C)C=CC=C(C)C=CC1=C(C)C(=O)[C@@H](O)CC1(C)C MQZIGYBFDRPAKN-ZWAPEEGVSA-N 0.000 description 2
- 229940022405 astaxanthin Drugs 0.000 description 2
- 235000013793 astaxanthin Nutrition 0.000 description 2
- 239000001168 astaxanthin Substances 0.000 description 2
- 238000004364 calculation method Methods 0.000 description 2
- 238000004140 cleaning Methods 0.000 description 2
- 238000005265 energy consumption Methods 0.000 description 2
- 238000005516 engineering process Methods 0.000 description 2
- 238000009285 membrane fouling Methods 0.000 description 2
- 239000005416 organic matter Substances 0.000 description 2
- 229910052698 phosphorus Inorganic materials 0.000 description 2
- 229920001592 potato starch Polymers 0.000 description 2
- 238000004065 wastewater treatment Methods 0.000 description 2
- 241000894006 Bacteria Species 0.000 description 1
- OAICVXFJPJFONN-UHFFFAOYSA-N Phosphorus Chemical compound [P] OAICVXFJPJFONN-UHFFFAOYSA-N 0.000 description 1
- 230000007812 deficiency Effects 0.000 description 1
- 238000010586 diagram Methods 0.000 description 1
- 239000010842 industrial wastewater Substances 0.000 description 1
- 230000010354 integration Effects 0.000 description 1
- 244000005700 microbiome Species 0.000 description 1
- 229920000620 organic polymer Polymers 0.000 description 1
- 239000011574 phosphorus Substances 0.000 description 1
- 238000004064 recycling Methods 0.000 description 1
- 230000000717 retained effect Effects 0.000 description 1
- 230000000087 stabilizing effect Effects 0.000 description 1
- 230000001360 synchronised effect Effects 0.000 description 1
Images
Classifications
-
- C—CHEMISTRY; METALLURGY
- C02—TREATMENT OF WATER, WASTE WATER, SEWAGE, OR SLUDGE
- C02F—TREATMENT OF WATER, WASTE WATER, SEWAGE, OR SLUDGE
- C02F3/00—Biological treatment of water, waste water, or sewage
- C02F3/30—Aerobic and anaerobic processes
-
- C—CHEMISTRY; METALLURGY
- C02—TREATMENT OF WATER, WASTE WATER, SEWAGE, OR SLUDGE
- C02F—TREATMENT OF WATER, WASTE WATER, SEWAGE, OR SLUDGE
- C02F2103/00—Nature of the water, waste water, sewage or sludge to be treated
- C02F2103/32—Nature of the water, waste water, sewage or sludge to be treated from the food or foodstuff industry, e.g. brewery waste waters
-
- Y—GENERAL TAGGING OF NEW TECHNOLOGICAL DEVELOPMENTS; GENERAL TAGGING OF CROSS-SECTIONAL TECHNOLOGIES SPANNING OVER SEVERAL SECTIONS OF THE IPC; TECHNICAL SUBJECTS COVERED BY FORMER USPC CROSS-REFERENCE ART COLLECTIONS [XRACs] AND DIGESTS
- Y02—TECHNOLOGIES OR APPLICATIONS FOR MITIGATION OR ADAPTATION AGAINST CLIMATE CHANGE
- Y02W—CLIMATE CHANGE MITIGATION TECHNOLOGIES RELATED TO WASTEWATER TREATMENT OR WASTE MANAGEMENT
- Y02W10/00—Technologies for wastewater treatment
- Y02W10/10—Biological treatment of water, waste water, or sewage
Landscapes
- Life Sciences & Earth Sciences (AREA)
- Biodiversity & Conservation Biology (AREA)
- Microbiology (AREA)
- Hydrology & Water Resources (AREA)
- Engineering & Computer Science (AREA)
- Environmental & Geological Engineering (AREA)
- Water Supply & Treatment (AREA)
- Chemical & Material Sciences (AREA)
- Organic Chemistry (AREA)
- Separation Using Semi-Permeable Membranes (AREA)
- Activated Sludge Processes (AREA)
Abstract
本发明涉及好氧缺氧一体式AO膜生物反应器,可有效解决现有AO工艺中的硝化液回流,占地面积大,操作复杂,运行费用高的问题,技术方案是,壳体的底部为污泥区,污泥区上方的壳体内腔被隔置成沿水平方向依次相邻的好氧区、导流区和缺氧沉淀区,好氧区、导流区和缺氧沉淀区的底部均与污泥区的上部相连通,好氧区内设置有曝气管,好氧区与导流区之间的第一隔板上部设置有溢流口,缺氧沉淀区内设置陶瓷膜组件,陶瓷膜组件上装有伸出壳体的出水管道,本发明实现了好氧与缺氧的一体化,占地面积小,无需另外设置回流装置,简化了流程,可实现废水的稳定达标排放,使用方便,效果好,具有显著的的社会和经济效益。
Description
技术领域
本发明涉及利用生物技术和膜分离技术的废水处理设备,特别是一种好氧缺氧一体式AO膜生物反应器,适合于处理城市生活污水、工业废水以及含可生物降解有机物的特种废水。
背景技术
MBR又称膜生物反应器(Membrane Bio-Reactor ),是一种由膜分离单元与生物处理单元相结合的新型水处理技术,广泛应用于污水处理,水资源再生利用等领域。膜生物反应器以膜组件取代传统生物废水处理技工艺中的二沉池,利用膜分离设备截留水中的活性污泥与大分子有机物。可在生物反应器中保持较高的污泥浓度,膜生物反应器系统内活性污泥(MLSS)浓度可提升至8000~10000mg/L,甚至更高。MBR具有较高的有机负荷,从而减少了占地面积,并通过较长的污泥龄减少剩余污泥量,污泥龄(SRT)可长达30d以上。因分离膜的有效的截留作用,可保留世代周期较长的微生物,硝化菌在系统内得以充分繁殖,其硝化效果明显。而AO工艺,是英文Anoxic-Oxic第一个字母的简称(缺氧-好氧法),是一种常用的污水处理工艺,可用于二级污水处理或三级污水处理,以及中水回用,具有良好的脱氮除磷效果。现有的膜生物反应器一般采用好氧处理,其对N、P的去除效果较差。其膜组件一般为有机高分子膜,有机膜污染严重,清洗难度大,费用高;此外单纯的好氧处理难以达标排放;而传统的AO脱氮除鳞工艺是由两个单独的A池与O池组成,分开运行,占地面积大,且需要将硝化液回流,增设回流装置,流程复杂,费用高。因此,对其进行改进具有重要的意义。
发明内容
针对上述情况,为克服现有技术的不足,本发明之目的就是提供一种好氧缺氧一体式AO膜生物反应器,可有效解决现有AO工艺中的硝化液回流,占地面积大,操作复杂,运行费用高的问题。
本发明解决的技术方案是,一种好氧缺氧一体式AO膜生物反应器,包括壳体,壳体为上部开口的中空结构,壳体的底部为污泥区,污泥区上方的壳体内腔被隔置成沿水平方向依次相邻的好氧区、导流区和缺氧沉淀区,好氧区、导流区和缺氧沉淀区的底部均与污泥区的上部相连通,好氧区内设置有曝气管,曝气管的进气端伸出壳体外并连接有风机,好氧区与导流区之间的第一隔板顶面低于壳体侧壁的顶面,第一隔板上部设置有溢流口,构成好氧区与导流区顶部之间的脉动式溢流通道,导流区和缺氧沉淀区之间的第二隔板上端面高于第一隔板的上端面,使导流区和缺氧沉淀区的上部相隔离,缺氧沉淀区内设置陶瓷膜组件,陶瓷膜组件上装有伸出壳体的出水管道,伸出部分的出水管道上设置有蠕动泵,构成过滤式出水结构;使用时,好氧区内加入活性污泥,废水首先进入好氧区,启动风机,使其空气进入曝气管,活性污泥在好氧区对废水中的有机污染物进行生物降解,曝气为生物降解提供充足氧气,同时由于曝气使好氧区的废水产生紊流脉动,好氧区的液面在紊流脉动的作用下上下波动,从而部分废水通过溢流口进入导流区,并从导流区底部进入缺氧沉淀区或重新回到好氧区,活性污泥进入缺氧沉淀区后沉淀到壳体底部的污泥区,再从污泥区回流进入好氧区重新参与降解反应,形成活性污泥与废水内循环,出水时,启动蠕动泵,使安置在缺氧区的陶瓷膜组件在负压的作用下从出水管道出水。
本发明结构新颖独特,简单合理,易生产,易操作,成本低,运行效果好;实现了好氧与缺氧的一体化,占地面积小,无需另外设置回流装置,简化了流程。将陶瓷膜组件安置在缺氧沉淀区,由于缺氧沉淀区活性污泥沉降到池底,废水较清澈,可以清楚的观察到膜污染情况;沉降后的废水过滤阻力小,膜污染程度较轻,延长了设备的使用寿命与膜清洗周期。可实现废水的稳定达标排放,使用方便,效果好,具有显著的的社会和经济效益。
附图说明
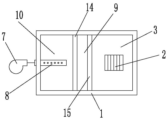
图1为本发明的剖视图。
图2为本发明的俯视图。
图3为本发明的第一个隔板的结构示意图(溢流口为三角形的实施例)。
具体实施方式
以下结合附图对本发明的具体实施方式作进一步详细说明。
由图1至图3给出,本发明包括壳体1,壳体为上部开口的中空结构,壳体的底部为污泥区4,污泥区4上方的壳体内腔被隔置成沿水平方向依次相邻的好氧区10、导流区9和缺氧沉淀区3,好氧区10、导流区9和缺氧沉淀区3的底部均与污泥区4的上部相连通,好氧区10内设置有曝气管8,曝气管8的进气端伸出壳体外并连接有风机7,好氧区10与导流区9之间的第一隔板11顶面低于壳体侧壁的顶面,第一隔板11上部设置有溢流口14,构成好氧区与导流区顶部之间的脉动式溢流通道,导流区9和缺氧沉淀区3之间的第二隔板15上端面高于第一隔板的上端面,使导流区9和缺氧沉淀区3的上部相隔离,起到稳流的作用,缺氧沉淀区3内设置陶瓷膜组件2,陶瓷膜组件2上装有伸出壳体的出水管道,伸出部分的出水管道上设置有蠕动泵17,构成过滤式出水结构;使用时,好氧区10内加入活性污泥,废水首先进入好氧区10,启动风机7,使其空气进入曝气管8,活性污泥在好氧区对废水中的有机污染物进行生物降解,曝气为生物降解提供充足氧气,同时由于曝气使好氧区的废水产生紊流脉动,好氧区的液面12在紊流脉动的作用下上下波动,从而部分废水通过溢流口进入导流区,并从导流区9底部进入缺氧沉淀区3或重新回到好氧区,活性污泥进入缺氧沉淀区后沉淀到壳体底部的污泥区,再从污泥区回流进入好氧区重新参与降解反应,形成活性污泥与废水内循环,出水时,启动蠕动泵,使安置在缺氧区3的陶瓷膜组件2在负压的作用下从出水管道出水。
为保证使用效果,所述的好氧区10上方设置有与其相连通的进水管道,进水管道上设置有截止阀13,方便控制进水量,以保证好氧区的上液面与好氧区顶面的间距,保证在曝气后能够使废水溢流进入导流区。
所述的污泥区4呈锥形,锥形的底部设置有排泥管6,排泥管6上设置有阀门5,可定期排放剩余污泥。
所述的蠕动泵与陶瓷膜组件之间的出水管道上设置有压力表16,方便观察记录跨膜压差的变化,判断膜污染情况。
所述的溢流口14为三角形、梯形或矩形;所述好氧区10的液面12低于溢流口14的最低点。
本发明使用时,好氧区10内加入活性污泥,打开进水管道上的截止阀,废水首先进入好氧区10,启动风机7,使空气进入曝气管8,废水进入好氧区进行生物降解,曝气为生物降解提供充足氧气,同时由于曝气使好氧区的废水产生紊流脉动,好氧区的液面12在紊流脉动的作用下上下波动,从而部分废水通过溢流口进入导流区9,并从导流区9底部进入缺氧沉淀区或重新回到好氧区,活性污泥进入缺氧沉淀区后沉淀到壳体底部的污泥区,再从污泥区回流进入好氧区重新参与降解反应,形成活性污泥与废水内循环,出水时,启动蠕动泵,使安置在缺氧沉淀区3的陶瓷膜组件2在负压的作用下从出水管道出水,实现了污泥回流与硝化液回流的同步进行,占地面积小,无需另外设置回流装置,大大简化了流程。将陶瓷膜组件安置在缺氧沉淀区,由于在缺氧沉淀区的活性污泥沉降到池底,废水较清澈,可以清楚的观察膜污染情况;清水过滤阻力小,对膜造成的污染及堵塞小,延长了设备的使用寿命,并且处理后的废水达到了国家规定的出水水质标准,使用方便,效果好,有良好的社会和经济效益。申请人进行了反复试验,均的得到了相同或相近似的试验结果,具体实施案例如下:
实施案例1:应用本发明的工艺处理土豆淀粉生产废水。在本实施案例中,一体式AO膜生物反应器的主要运行参数为:混合液悬浮污泥浓度在3000~4000mg/L,水力停留时间为8h,污泥龄为30~40d,反应器内溶解氧浓度在4~6mg/L。生化反应器的进水为经预处理后的 土豆淀粉生产废水,主要的水质指标:COD浓度为700~1500mg/L,pH为7.5~8.5,TN(总氮浓度)为180~200mg/L,TP(总磷浓度)为16.8~19.4mg/L。工艺条件:整个系统为连续进水和连续出水状态,容积负荷为1.2-1.5kgBOD5/(m3 .d),处理水量为5~8m3,占地面积为2m2。处理后出水水质指标为:COD 60~80mg/L,TN 12.1~14.5mg/L,TP 1.5-2.2mg/L。COD平均去除率达95%以上,TN的平均去除率达85%,TP的平均去除率达80%。处理后污水水质符合《城镇污水处理厂水污染物排放基本控制项目》(GB18918——2002)二级标准。经测算,本工艺的能耗为0.8KWh/m3,折合处理费用为0.48元/m3。
实施案例2:应用本发明的工艺处理虾青素生产废水。在本实施案例中,一体式AO膜生物反应器的主要运行参数:混合液悬浮污泥浓度在6000mg/L,水力停留时间为6h,污泥停留时间为30d,反应器内溶解氧浓度在4~6mg/L。生化反应器的进水为经过预处理后的虾青素生产废水,主要的水质指标:COD浓度在1700~2000mg/L,pH值在6.5~7.5左右,TN的浓度在200~250mg/L,TP的浓度在18.2~24.7mg/L。工艺条件:整个系统为连续进水和连续出水状态,容积负荷在0.8-1.0kgBOD5/(m3 d),处理水量为30~50m3/d,占地面积约20m2。处理后出水水质指标为:COD 80~100mg/L,TN 15.4~20.3mg/L,TP 2.1-3.0mg/L。COD平均去除率达95%以上,TN的平均去除率达85%以上,TP的平均去除率达80%以上。处理后污水水质符合《城镇污水处理厂水污染物排放基本控制项目》(GB18918—2002)二级标准。经测算,本工艺的能耗为0.9KWh/m3,折合处理费用为0.54元/m3。
该工艺处理废水最低能达到《城镇污水处理厂水污染物排放基本控制项目》三级标准,总氮的排放标准完全能达到《城镇污水处理厂水污染物排放基本控制项目》规定的一级标准。而且,可同步脱氮除磷,占地面积小,无需另外设置回流装置,大大简化了流程,将陶瓷膜组件安置在缺氧区,清水过滤阻力小,对膜造成的污染及堵塞小,延长了设备的使用寿命;同时,使用无机陶瓷膜组件,进一步提高了膜单元的抗污染能力,减少了膜清洗频率节省了操作费用。本工艺使用方便,运行费用低,效果好,具有显著的社会效益和经济效益。
Claims (3)
1.一种好氧缺氧一体式AO膜生物反应器,其特征在于,包括壳体(1),壳体为上部开口的中空结构,壳体的底部为污泥区(4),污泥区(4)呈锥形,锥形的底部设置有排泥管(6),排泥管(6)上设置有阀门(5),污泥区(4)上方的壳体内腔被隔置成沿水平方向依次相邻的好氧区(10)、导流区(9)和缺氧沉淀区(3),好氧区(10)、导流区(9)和缺氧沉淀区(3)的底部均与污泥区(4)的上部相连通,好氧区(10)内设置有曝气管(8),曝气管(8)的进气端伸出壳体外并连接有风机(7),好氧区(10)与导流区(9)之间的第一隔板(11)顶面低于壳体侧壁的顶面,第一隔板(11)上部设置有溢流口(14),构成好氧区与导流区顶部之间的脉动式溢流通道,导流区(9)和缺氧沉淀区(3)之间的第二隔板(15)上端面高于第一隔板的上端面,使导流区(9)和缺氧沉淀区(3)的上部相隔离,缺氧沉淀区(3)内设置陶瓷膜组件(2),陶瓷膜组件(2)上装有伸出壳体的出水管道,伸出部分的出水管道上设置有蠕动泵(17),蠕动泵与陶瓷膜组件之间的出水管道上设置有压力表(16),构成过滤式出水结构;使用时,好氧区(10)内加入活性污泥,废水首先进入好氧区(10),启动风机(7),使其空气进入曝气管(8),活性污泥在好氧区对废水中的有机污染物进行生物降解,曝气为生物降解提供充足氧气,同时由于曝气使好氧区的废水产生紊流脉动,好氧区的液面(12)在紊流脉动的作用下上下波动,从而部分废水通过溢流口进入导流区,并从导流区(9)底部进入缺氧沉淀区(3)或重新回到好氧区,活性污泥进入缺氧沉淀区后沉淀到壳体底部的污泥区,再从污泥区回流进入好氧区重新参与降解反应,形成活性污泥与废水内循环,出水时,启动蠕动泵,使安置在缺氧沉淀 区(3)的陶瓷膜组件(2)在负压的作用下从出水管道出水;所述的好氧区(10)上方设置有与其相连通的进水管道,进水管道上设置有截止阀(13)。
2.根据权利要求1所述的好氧缺氧一体式AO膜生物反应器,其特征在于,所述的溢流口(14)为三角形、梯形或矩形。
3.根据权利要求1所述的好氧缺氧一体式AO膜生物反应器,其特征在于,所述好氧区(10)的液面(12)低于溢流口(14)的最低点。
Priority Applications (1)
| Application Number | Priority Date | Filing Date | Title |
|---|---|---|---|
| CN201710034178.1A CN106745749B (zh) | 2017-01-18 | 2017-01-18 | 好氧缺氧一体式ao膜生物反应器 |
Applications Claiming Priority (1)
| Application Number | Priority Date | Filing Date | Title |
|---|---|---|---|
| CN201710034178.1A CN106745749B (zh) | 2017-01-18 | 2017-01-18 | 好氧缺氧一体式ao膜生物反应器 |
Publications (2)
| Publication Number | Publication Date |
|---|---|
| CN106745749A CN106745749A (zh) | 2017-05-31 |
| CN106745749B true CN106745749B (zh) | 2023-04-07 |
Family
ID=58946318
Family Applications (1)
| Application Number | Title | Priority Date | Filing Date |
|---|---|---|---|
| CN201710034178.1A Active CN106745749B (zh) | 2017-01-18 | 2017-01-18 | 好氧缺氧一体式ao膜生物反应器 |
Country Status (1)
| Country | Link |
|---|---|
| CN (1) | CN106745749B (zh) |
Families Citing this family (10)
| Publication number | Priority date | Publication date | Assignee | Title |
|---|---|---|---|---|
| CN107311394A (zh) * | 2017-07-13 | 2017-11-03 | 长江大学 | 一种减缓膜污染的mbr一体化装置 |
| CN110194530A (zh) * | 2018-02-27 | 2019-09-03 | 梁家源 | 废水及污水处理系统 |
| CN108394995A (zh) * | 2018-04-13 | 2018-08-14 | 长江大学 | 一种改良型a/o-mbr一体化装置及其污水处理方法 |
| CN109336253B (zh) * | 2018-11-30 | 2021-10-01 | 金锣水务有限公司 | 一种污水生物处理装置和方法 |
| CN109592786B (zh) * | 2018-12-29 | 2021-04-27 | 河南冠宇环保科技有限公司 | 一种无搅拌无回流缺氧好氧反应器 |
| CN111018098B (zh) * | 2019-11-15 | 2021-03-23 | 河北工业大学 | Mbr污水处理装置及其污水处理方法 |
| CN110862151A (zh) * | 2019-12-17 | 2020-03-06 | 中国海诚工程科技股份有限公司 | 一种基于微生物载体凝胶的废水脱氮装置 |
| CN111777178B (zh) * | 2020-05-26 | 2022-07-05 | 河南国威市政工程有限公司 | 一种竖向氧化沟微动力水处理系统 |
| CN116891300B (zh) * | 2023-08-21 | 2025-11-21 | 山东问清环境科技有限公司 | 无动力内循环的一体化污水处理设备及污水处理方法 |
| CN118239599B (zh) * | 2024-03-15 | 2025-11-21 | 广东粤海水务股份有限公司 | 分区一体式好氧颗粒污泥-膜生物反应器耦合装置及应用 |
Citations (3)
| Publication number | Priority date | Publication date | Assignee | Title |
|---|---|---|---|---|
| WO2012010096A1 (zh) * | 2010-07-20 | 2012-01-26 | 华南理工大学 | 城市污水混合粪便污水a2/o-生物膜同步脱氮除磷装置及方法 |
| CN202625927U (zh) * | 2012-05-22 | 2012-12-26 | 苏州科技学院 | 一体化内循环式脱氮除碳生物膜反应器 |
| CN204365150U (zh) * | 2014-12-23 | 2015-06-03 | 台冠电子(新乡)半导体工业有限公司 | 清洗ao膜装置 |
-
2017
- 2017-01-18 CN CN201710034178.1A patent/CN106745749B/zh active Active
Patent Citations (3)
| Publication number | Priority date | Publication date | Assignee | Title |
|---|---|---|---|---|
| WO2012010096A1 (zh) * | 2010-07-20 | 2012-01-26 | 华南理工大学 | 城市污水混合粪便污水a2/o-生物膜同步脱氮除磷装置及方法 |
| CN202625927U (zh) * | 2012-05-22 | 2012-12-26 | 苏州科技学院 | 一体化内循环式脱氮除碳生物膜反应器 |
| CN204365150U (zh) * | 2014-12-23 | 2015-06-03 | 台冠电子(新乡)半导体工业有限公司 | 清洗ao膜装置 |
Non-Patent Citations (1)
| Title |
|---|
| A/O膜生物反应器处理生活污水的试验研究;刘国洋等;《环境科学与管理》;20090515(第05期);77-79 * |
Also Published As
| Publication number | Publication date |
|---|---|
| CN106745749A (zh) | 2017-05-31 |
Similar Documents
| Publication | Publication Date | Title |
|---|---|---|
| CN106745749B (zh) | 好氧缺氧一体式ao膜生物反应器 | |
| CN102838205B (zh) | 外置式连续流好氧颗粒污泥膜生物反应器 | |
| CN207973565U (zh) | 软片式mbr膜废水深度处理系统 | |
| CN201292263Y (zh) | 竖流式好气浮滤池 | |
| CN101269903B (zh) | 炼油污水的进一步深度处理工艺及装置 | |
| CN209619125U (zh) | 磁混凝澄清与反硝化滤池组合式污水处理装置 | |
| CN107151053A (zh) | 一种缺氧‑厌氧‑缺氧‑好氧‑膜组件处理装置 | |
| CN107473378A (zh) | 缺氧‑厌氧‑缺氧‑好氧‑膜组件处理方法 | |
| CN201834830U (zh) | 一体化污水处理装置 | |
| CN101704620B (zh) | 生活灰水mbr净化方法及系统 | |
| CN203112655U (zh) | 分散式mbr中水器 | |
| CN109292980A (zh) | 一种级数可调的多级ao-mbbr工艺污水处理装置及方法 | |
| CN206607128U (zh) | 一种基于水处理剂和陶瓷膜的河道污水处理装置 | |
| CN104528922A (zh) | 一种上向流式曝气生物滤池 | |
| CN209537234U (zh) | 一种综合工业废水处理系统 | |
| CN205328795U (zh) | 湿纺腈纶生产聚合废水处理系统 | |
| CN206395930U (zh) | 一种好氧缺氧一体式ao膜生物反应器 | |
| CN204356134U (zh) | 一种上向流式曝气生物滤池 | |
| CN107473500A (zh) | 一种生物处理结合涡流絮凝的一体化污水处理装置及工艺 | |
| CN209456151U (zh) | 一种多级a/o-mbr一体化污水处理装置 | |
| CN209872669U (zh) | 一种具备泥水分离功能的除磷脱氮设备 | |
| CN209797720U (zh) | 一种污水处理系统 | |
| CN201915002U (zh) | 一体式复合污水处理反应器 | |
| CN208361984U (zh) | 一种用于电镀、线路板废水处理的多级曝气生物滤池 | |
| CN107585896B (zh) | 一种固类杂质污水处理装置及方法 |
Legal Events
| Date | Code | Title | Description |
|---|---|---|---|
| PB01 | Publication | ||
| PB01 | Publication | ||
| SE01 | Entry into force of request for substantive examination | ||
| SE01 | Entry into force of request for substantive examination | ||
| GR01 | Patent grant | ||
| GR01 | Patent grant |