CN102624166B - Winding machine used for automatically winding stator coil of slotless motor - Google Patents
Winding machine used for automatically winding stator coil of slotless motor Download PDFInfo
- Publication number
- CN102624166B CN102624166B CN201210079195.4A CN201210079195A CN102624166B CN 102624166 B CN102624166 B CN 102624166B CN 201210079195 A CN201210079195 A CN 201210079195A CN 102624166 B CN102624166 B CN 102624166B
- Authority
- CN
- China
- Prior art keywords
- winding
- cylindrical body
- stator coil
- coil
- electric machine
- Prior art date
- Legal status (The legal status is an assumption and is not a legal conclusion. Google has not performed a legal analysis and makes no representation as to the accuracy of the status listed.)
- Expired - Fee Related
Links
- 238000004804 winding Methods 0.000 title claims abstract description 135
- 230000001360 synchronised effect Effects 0.000 claims description 14
- 238000003780 insertion Methods 0.000 claims description 3
- 230000037431 insertion Effects 0.000 claims description 3
- 239000011159 matrix material Substances 0.000 claims 9
- 230000002093 peripheral effect Effects 0.000 description 4
- 150000007530 organic bases Chemical class 0.000 description 2
- 230000005540 biological transmission Effects 0.000 description 1
- 238000010586 diagram Methods 0.000 description 1
- 238000005516 engineering process Methods 0.000 description 1
- 230000007246 mechanism Effects 0.000 description 1
- 238000000034 method Methods 0.000 description 1
Images
Landscapes
- Manufacture Of Motors, Generators (AREA)
Abstract
本发明涉及一种用于自动绕制无槽电机定子线圈的绕线机,包括有机架,在机架上的左、右两侧各自设有绕线装置和推动绕线装置移动的驱动结构,在绕线装置的末端连接有母模,在机架上设有可夹紧公模并旋转公模的夹紧驱动装置,在夹紧驱动装置的对面一侧设有可将公模推动至夹紧驱动装置中的模具架装置。本发明提供了一种结构简单、绕制线圈成本低、高效、绕制质量好的用于自动绕制无槽电机定子线圈的绕线机。
The invention relates to a winding machine for automatically winding the stator coil of a slotless motor, which includes a frame, and a winding device and a driving structure for pushing the winding device to move are respectively arranged on the left and right sides of the frame , a female die is connected to the end of the winding device, a clamping drive device that can clamp and rotate the male die is provided on the frame, and a clamping drive device that can push the male die to the opposite side of the clamping drive device is provided. Clamp the die holder unit in the drive unit. The invention provides a winding machine for automatically winding the stator coil of a slotless motor with simple structure, low coil winding cost, high efficiency and good winding quality.
Description
【技术领域】 【Technical field】
本发明涉及一种用于自动绕制无槽电机定子线圈的绕线机。The invention relates to a winding machine for automatically winding stator coils of a slotless motor.
【背景技术】 【Background technique】
现有的无槽电机定子绕制的线圈都是用人工来做的,即有手来绕制无槽电机定子线圈。这样做法,必然会导致其成本高,效率低下,质量不能保证,成品率不高。The coils wound by the existing slotless motor stators are all done manually, that is, the stator coils of the slotless motors are wound by hands. This way will inevitably lead to high cost, low efficiency, unguaranteed quality and low yield.
【发明内容】 【Content of invention】
本发明克服了现有技术的不足,提供了一种结构简单、绕制线圈成本低、高效、绕制质量好的用于自动绕制无槽电机定子线圈的绕线机。The invention overcomes the disadvantages of the prior art and provides a winding machine for automatically winding the stator coil of a slotless motor with simple structure, low coil winding cost, high efficiency and good winding quality.
为解决上述技术问题,本发明采用以下技术方案:In order to solve the problems of the technologies described above, the present invention adopts the following technical solutions:
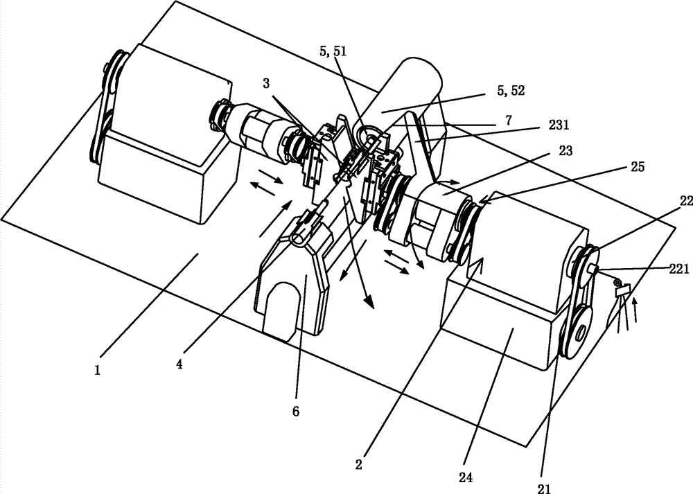
用于自动绕制无槽电机定子线圈的绕线机,其特征在于包括有机架1,在机架1上的左、右两侧各自设有绕线装置2和推动绕线装置2移动的驱动结构,在绕线装置2的末端连接有母模3,在机架1上设有可夹紧公模4并旋转公模4的夹紧驱动装置5,在夹紧驱动装置5的对面一侧设有可将公模4推动至夹紧驱动装置5中的模具架装置6。The winding machine for automatically winding the stator coil of a slotless motor is characterized in that it includes a frame 1, and the left and right sides of the frame 1 are respectively equipped with a
如上所述的用于自动绕制无槽电机定子线圈的绕线机,其特征在于所述的绕线装置2包括有机座24,在机座24上设有驱动电机21和由驱动电机21驱动的转轴22,在转轴22轴心设有可使漆包线7穿过的穿线孔221,在转轴22上连接有绕线头23,在绕线头23上设有绕线臂231,在转轴22上设有在绕线头23转动时而母模3保持不动的同步装置25。The above-mentioned winding machine for automatically winding the stator coil of a slotless motor is characterized in that the
如上所述的用于自动绕制无槽电机定子线圈的绕线机,其特征在于所述的同步装置25包括有绕线头23上的同步转轴251,在同步转轴251的两端各自设有同步转盘252,在转轴22上套设有第一大转盘253和第二大转盘254,第一大转盘253固定在机座24上,第一大转盘253与其中一个同步转盘252通过同步带连接,第二大转盘254与另一个同步转盘252通过同步带连接,所述的母模3连接在第二大转盘254上。The above-mentioned winding machine for automatically winding the stator coil of a slotless motor is characterized in that the synchronizing
如上所述的用于自动绕制无槽电机定子线圈的绕线机,其特征在于所述的母模3包括有母模本体31,在母模本体31上设有模腔32,所述的公模4可置于模腔32中。The above-mentioned winding machine for automatically winding the stator coil of a slotless motor is characterized in that the
如上所述的用于自动绕制无槽电机定子线圈的绕线机,其特征在于所述的公模4包括有柱形体41,在柱形体41圆周表面上可拆卸地设置有多个绕线模片42,各个绕线模片42分布在柱形体41圆周表面上,在柱形体41上设有可将绕线模片42固定在柱形体41上的锁定结构43。The above-mentioned winding machine for automatically winding the stator coil of a slotless motor is characterized in that the
如上所述的用于自动绕制无槽电机定子线圈的绕线机,其特征在于所述绕线模片42的个数为2-10个,各个绕线模片42均匀分布在柱形体41的圆周表面上,所述柱形体41的一端部设有可让绕线机模具夹住的手柄44。The above-mentioned winding machine for automatically winding the stator coil of a slotless motor is characterized in that the number of winding dies 42 is 2-10, and each winding die 42 is evenly distributed on the
如上所述的用于自动绕制无槽电机定子线圈的绕线机,其特征在于所述绕线模片42的一端设有斜边421,该斜边421与柱形体41表面形成有一可勾住线圈的夹角α。The above-mentioned winding machine for automatically winding the stator coil of a slotless motor is characterized in that one end of the winding die 42 is provided with a
如上所述的用于自动绕制无槽电机定子线圈的绕线机,其特征在于所述锁定结构43包括有设在柱形体41圆周表面上并方便绕线模片42插入的直槽431,在直槽431的底部侧壁设有通孔432,该通孔432穿透柱形体41的端部,在绕线模片42底部侧边设有弧形槽433,在柱形体41的端部设有多个锁针434,锁针434插入通孔432中使锁针的一部分卡入绕线模片42的弧形槽433中并使绕线模片42固定在柱形体41上。The above-mentioned winding machine for automatically winding the stator coil of a slotless motor is characterized in that the locking structure 43 includes a straight groove 431 which is arranged on the circumferential surface of the
如上所述的用于自动绕制无槽电机定子线圈的绕线机,其特征在于所述夹紧驱动装置5包括有夹具51和可驱动夹具51夹紧公模4并带动其转动的驱动电机52。The above-mentioned winding machine for automatically winding the stator coil of a slotless motor is characterized in that the
如上所述的用于自动绕制无槽电机定子线圈的绕线机,其特征在于所述多个锁针434固定设置在端盖435上。The above-mentioned winding machine for automatically winding the stator coil of a slotless motor is characterized in that the plurality of locking pins 434 are fixedly arranged on the
本发明与现有技术相比,有以下优点:Compared with the prior art, the present invention has the following advantages:
本发明利用绕线装置、母模、公模等装置,就可以实现自动绕制无槽电机定子线圈。The present invention utilizes devices such as a winding device, a female die, a male die, etc. to realize automatic winding of the stator coil of a slotless motor.
绕制好后,拿出公模,分别抽出绕线模片和柱形体,就可以得到所需的线圈。加工成本低,效率高,质量得到保证,成品率高。After the winding is completed, take out the male mold, and draw out the winding die and the cylindrical body respectively to obtain the desired coil. The processing cost is low, the efficiency is high, the quality is guaranteed, and the yield is high.
【附图说明】【Description of drawings】
附图1为本发明的立体图;Accompanying drawing 1 is the perspective view of the present invention;
附图2为绕线装置的立体图;Accompanying
附图2为母模的立体图;Accompanying
附图4为两个绕线装置的立体图;Accompanying
附图5为公模的立体图;Accompanying
附图6为公模的分解图。Accompanying drawing 6 is the exploded view of male mold.
【具体实施方式】 【Detailed ways】
下面结合附图对本发明进行详细说明:The present invention is described in detail below in conjunction with accompanying drawing:
用于自动绕制无槽电机定子线圈的绕线机,包括有机架1,在机架1上的左、右两侧各自设有绕线装置2和推动绕线装置2移动的驱动结构图中未示。即驱动结构各自驱动绕线装置作相对或相反方向移动,使这两个绕线装置2靠近或远离,驱动结构一般采用电机和传动机构来实现。A winding machine for automatically winding the stator coils of a slotless motor, including a frame 1, on the left and right sides of the frame 1, respectively, a
在绕线装置2的末端连接有母模3。在机架1上设有可夹紧公模4并旋转公模4的夹紧驱动装置5。在夹紧驱动装置5的对面一侧设有可将公模4推动至夹紧驱动装置5中的模具架装置6。A
具体来说,所述的母模3包括有母模本体31,在母模本体31上设有模腔32,所述的公模4可置于模腔32中。在进行绕线圈时,两个母模3就会夹紧公模4的两端,漆包线7会从两个母模3之间经过,从而使漆包线7绕制在公模4上。Specifically, the
所述的绕线装置2包括有机座24,在机座24上设有驱动电机21和由驱动电机21驱动的转轴22。在转轴22轴心设有可使漆包线7穿过的穿线孔221。在转轴22上连接有绕线头23,在绕线头23上设有绕线臂231。在转轴22上设有在绕线头23转动时而母模3保持不动的同步装置25。这样,两个母模3就会夹紧公模4的两端,绕线头23就转动绕线,而母模3则需要保持不动,而同步装置25就是实现了此种功能。The
所述的同步装置25包括有绕线头23上的同步转轴251,在同步转轴251的两端各自设有同步转盘252。在转轴22上套设有第一大转盘253和第二大转盘254,第一大转盘253固定在机座24上,第一大转盘253与其中一个同步转盘252通过同步带连接,第二大转盘254与另一个同步转盘252通过同步带连接。这样,第一大转盘253的运动状态就会通过同步转盘252和同步带传动到第二大转盘254上。第一大转盘253保护不动,则第二大转盘254上也保持不动,使而使在绕线时,母模3保持不动。所述的母模3连接在第二大转盘254上。The synchronizing
所述的公模4包括有柱形体41,在柱形体41圆周表面上可拆卸地设置有多个绕线模片42,各个绕线模片42分布在柱形体41圆周表面上,在柱形体41上设有可将绕线模片42固定在柱形体41上的锁定结构43。Described male die 4 comprises
所述绕线模片42的个数为2-10个,各个绕线模片42均匀分布在柱形体41的圆周表面上,所述柱形体41的一端部设有可让绕线机模具夹住的手柄44。The number of the winding dies 42 is 2-10, and each winding die 42 is evenly distributed on the circumferential surface of the
所述绕线模片42的一端设有斜边421,该斜边421与柱形体41表面形成有一可勾住线圈的夹角α。有了夹角α以后,在绕线时,线圈就会轻易缠绕在绕线模片42上,而不会从绕线模片42上脱落。One end of the winding die 42 is provided with a
所述锁定结构43包括有设在柱形体41圆周表面上并方便绕线模片42插入的直槽431,在直槽431的底部侧壁设有通孔432,该通孔432穿透柱形体41的端部,在绕线模片42底部侧边设有弧形槽433,在柱形体41的端部设有锁针434,锁针434插入通孔432中使锁针的一部分卡入绕线模片42的弧形槽433中并使绕线模片42固定在柱形体41上。The locking structure 43 includes a straight groove 431 which is arranged on the circumferential surface of the
所述多个锁针434固定设置在端盖435上。这样要插入或拉出锁针时能一起拉出,方便使用。再有在绕线机绕线时,在端盖435的作用下,漆包线不会绕到锁针434上。The plurality of locking pins 434 are fixedly disposed on the
所述夹紧驱动装置5包括有夹具51和可驱动夹具51夹紧公模4并带动其转动的驱动电机52。The
所述模具架装置6包括有可放置公模4的放置座61,在机架1上设有驱动放置座61前、后移动的驱动电机图中未示。Said mold frame device 6 includes a placement seat 61 for placing the
这样,当要绕线圈时,将各片绕线模片42插入柱形体41圆周表面上,之后再将锁针434插入通孔432中,使锁针的一部分卡入绕线模片42的弧形槽433中,使锁针卡住绕线模片42,从而使绕线模片42固定在柱形体1上,方便进行绕制线圈。In this way, when coils are to be wound, each piece of winding die 42 is inserted on the circumferential surface of
之后,将公模4放置到模具架装置6上,由模具架装置6带动公模4移动,并使公模4的手柄44移动至夹紧驱动装置5中,并由夹紧驱动装置5夹紧公模4的手柄44。之后,推动绕线装置2移动的驱动结构动作,将两个相对的绕线装置2靠近,使两个母模3一起夹住公模4的两端部。之后驱动电机21驱动的转轴22转动并带绕线头23转动,绕线臂231上的漆包线7就会从两个母模3之间经过,从而使漆包线7绕制在公模4上。而在同步装置25的作用下,母模3保持不动,使绕线臂231带着漆包线7继续绕制在公模4上。Afterwards, the
当漆包线7绕满一匝线圈后,在两个母模3在驱动结构的动作下,松开公模4,夹紧驱动装置5动作,带动公模转动一个角度,从而使还没有绕线的绕线模片42置于可绕制线圈的位置。之后两个母模3再将公模4的两端夹紧。再由驱动电机21驱动的转轴22转动并带绕线头23转动,此时可根据需要绕线头23可以反方向转动进行绕线。绕线臂231上的漆包线7就会从两个母模3之间经过,从而使漆包线7绕制在公模4的绕线模片42上。如此动作,直至绕线完成。When the enameled wire 7 is wound around a full turn of the coil, under the action of the two
Claims (10)
Priority Applications (1)
| Application Number | Priority Date | Filing Date | Title |
|---|---|---|---|
| CN201210079195.4A CN102624166B (en) | 2012-03-22 | 2012-03-22 | Winding machine used for automatically winding stator coil of slotless motor |
Applications Claiming Priority (1)
| Application Number | Priority Date | Filing Date | Title |
|---|---|---|---|
| CN201210079195.4A CN102624166B (en) | 2012-03-22 | 2012-03-22 | Winding machine used for automatically winding stator coil of slotless motor |
Publications (2)
| Publication Number | Publication Date |
|---|---|
| CN102624166A CN102624166A (en) | 2012-08-01 |
| CN102624166B true CN102624166B (en) | 2014-04-09 |
Family
ID=46563890
Family Applications (1)
| Application Number | Title | Priority Date | Filing Date |
|---|---|---|---|
| CN201210079195.4A Expired - Fee Related CN102624166B (en) | 2012-03-22 | 2012-03-22 | Winding machine used for automatically winding stator coil of slotless motor |
Country Status (1)
| Country | Link |
|---|---|
| CN (1) | CN102624166B (en) |
Families Citing this family (8)
| Publication number | Priority date | Publication date | Assignee | Title |
|---|---|---|---|---|
| CN104184276B (en) * | 2013-05-22 | 2017-03-29 | 上海微电子装备有限公司 | Straight line and planar motor coil coiling device and method |
| CN103715843B (en) * | 2013-12-27 | 2014-12-31 | 安徽舜禹水务实业有限公司 | Winding wire threading mechanism used for motor stator of closed-type slot |
| CN105024501B (en) * | 2014-04-26 | 2017-04-05 | 赵华勇 | A kind of automatic stator coil winding machine |
| CN105761927B (en) * | 2014-12-15 | 2017-11-07 | 深圳市有钢机电设备有限公司 | Coil winding machine and method for winding |
| CN107359755B (en) * | 2017-08-31 | 2023-10-31 | 江苏金海创科技有限公司 | High-speed winding forming tooling and coil forming system |
| CN109659128B (en) * | 2019-02-14 | 2025-01-14 | 深圳市顺敬机械设备有限公司 | A double-sided winding machine for substrate |
| CN111082617B (en) * | 2020-02-09 | 2021-03-05 | 科瓦力(宁波)精密器械有限公司 | Intelligent three-layer auxiliary pole coil winding robot complete machine |
| CN120528195A (en) * | 2025-07-18 | 2025-08-22 | 杭州湘滨电子科技有限公司 | An adjustable winding die |
Citations (4)
| Publication number | Priority date | Publication date | Assignee | Title |
|---|---|---|---|---|
| US4049208A (en) * | 1976-10-14 | 1977-09-20 | The Globe Tool And Engineering Company | Chuck spindle positioning mechanism for armature winding machine |
| CA2098085A1 (en) * | 1992-07-06 | 1994-01-07 | Massimo Lombardi | Methods and apparatus for winding armatures having slot commutators |
| CN201018368Y (en) * | 2006-12-14 | 2008-02-06 | 薛振江 | Multi-end automatic winding machine |
| CN102064642A (en) * | 2011-01-19 | 2011-05-18 | 珠海市粤茂科技实业有限公司 | Horizontal type duplex-winding automatic winding machine |
Family Cites Families (1)
| Publication number | Priority date | Publication date | Assignee | Title |
|---|---|---|---|---|
| JP2000014096A (en) * | 1998-06-22 | 2000-01-14 | Odawara Engineering Co Ltd | Method and device for winding coil |
-
2012
- 2012-03-22 CN CN201210079195.4A patent/CN102624166B/en not_active Expired - Fee Related
Patent Citations (4)
| Publication number | Priority date | Publication date | Assignee | Title |
|---|---|---|---|---|
| US4049208A (en) * | 1976-10-14 | 1977-09-20 | The Globe Tool And Engineering Company | Chuck spindle positioning mechanism for armature winding machine |
| CA2098085A1 (en) * | 1992-07-06 | 1994-01-07 | Massimo Lombardi | Methods and apparatus for winding armatures having slot commutators |
| CN201018368Y (en) * | 2006-12-14 | 2008-02-06 | 薛振江 | Multi-end automatic winding machine |
| CN102064642A (en) * | 2011-01-19 | 2011-05-18 | 珠海市粤茂科技实业有限公司 | Horizontal type duplex-winding automatic winding machine |
Non-Patent Citations (1)
| Title |
|---|
| JP特开2000-14096A 2000.01.14 |
Also Published As
| Publication number | Publication date |
|---|---|
| CN102624166A (en) | 2012-08-01 |
Similar Documents
| Publication | Publication Date | Title |
|---|---|---|
| CN102624166B (en) | Winding machine used for automatically winding stator coil of slotless motor | |
| CN100395946C (en) | Coil forming device and coil forming method | |
| US8490280B2 (en) | Winding device | |
| CN113526233B (en) | Composite cable manufacturing, producing and processing system and processing technology | |
| JP2021109231A (en) | Wire rod winding-up device easy to take down | |
| CN104103416B (en) | Vertical winding die for 110kV and above voltage three-dimensional wound iron core | |
| JP2013105795A (en) | Winding device and winding method | |
| CN102638141B (en) | Method for winding stator coil of slotless motor | |
| CN203225638U (en) | Six-station multi-head winding machine | |
| CN202586666U (en) | Male Die for Winding Stator Coil of Slotless Motor | |
| CN215946342U (en) | Winding device for cable processing | |
| CN114613591A (en) | Automatic back gluing machine for side columns on two sides of magnetic core wrapping center column | |
| CN117895306B (en) | A wire harness automatic shell-threading device | |
| CN204324549U (en) | A kind of copper wire actinobacillus device | |
| CN111302151A (en) | Medical equipment cable coiling binding apparatus | |
| CN114141533B (en) | A double-station winding tape automatic winding machine | |
| CN213735733U (en) | Take-up double-ribbon integrated machine | |
| CN220787651U (en) | Automatic wire arranging mechanism of flat wire enamelling machine | |
| CN203933276U (en) | Coil winding machine | |
| CN109036836B (en) | Hollow winding machine | |
| CN207521593U (en) | A kind of winding displacement mechanism of pot making equipment | |
| CN211393344U (en) | Cable fast winding equipment for power engineering | |
| CN102624165A (en) | Male Die for Winding Stator Coil of Slotless Motor | |
| CN220976099U (en) | Double-end disc-making machine for precise flat cable | |
| CN208723744U (en) | A motor coil winding device that is easy to take and does not need to be disassembled |
Legal Events
| Date | Code | Title | Description |
|---|---|---|---|
| C06 | Publication | ||
| PB01 | Publication | ||
| C10 | Entry into substantive examination | ||
| SE01 | Entry into force of request for substantive examination | ||
| C14 | Grant of patent or utility model | ||
| GR01 | Patent grant | ||
| CF01 | Termination of patent right due to non-payment of annual fee | ||
| CF01 | Termination of patent right due to non-payment of annual fee |
Granted publication date: 20140409 |
