CN102133664A - Ultrasonic whirling equipment for machining high-precision spiral line - Google Patents

Ultrasonic whirling equipment for machining high-precision spiral line Download PDF

Info

Publication number
CN102133664A
CN102133664A CN 201110027933 CN201110027933A CN102133664A CN 102133664 A CN102133664 A CN 102133664A CN 201110027933 CN201110027933 CN 201110027933 CN 201110027933 A CN201110027933 A CN 201110027933A CN 102133664 A CN102133664 A CN 102133664A
Authority
CN
China
Prior art keywords
ultrasonic
support plate
main shaft
machining
whirling
Prior art date
Legal status (The legal status is an assumption and is not a legal conclusion. Google has not performed a legal analysis and makes no representation as to the accuracy of the status listed.)
Granted
Application number
CN 201110027933
Other languages
Chinese (zh)
Other versions
CN102133664B (en
Inventor
赵波
童景琳
李瑜
高国富
崔峰
Current Assignee (The listed assignees may be inaccurate. Google has not performed a legal analysis and makes no representation or warranty as to the accuracy of the list.)
Conprofe Technology Group Co Ltd
Smartguy Intelligent Equipment Co Ltd Guangzhou Branch
Original Assignee
Henan University of Technology
Priority date (The priority date is an assumption and is not a legal conclusion. Google has not performed a legal analysis and makes no representation as to the accuracy of the date listed.)
Filing date
Publication date
Application filed by Henan University of Technology filed Critical Henan University of Technology
Priority to CN2011100279336A priority Critical patent/CN102133664B/en
Publication of CN102133664A publication Critical patent/CN102133664A/en
Application granted granted Critical
Publication of CN102133664B publication Critical patent/CN102133664B/en
Active legal-status Critical Current
Anticipated expiration legal-status Critical

Links

Images

Landscapes

  • Grinding And Polishing Of Tertiary Curved Surfaces And Surfaces With Complex Shapes (AREA)
  • Finish Polishing, Edge Sharpening, And Grinding By Specific Grinding Devices (AREA)

Abstract

The invention discloses ultrasonic whirling equipment for machining a high-precision spiral line. The equipment comprises a circumferential rotation positioning boss, a lower support plate and an upper support plate, wherein the lower support plate is arranged on the circumferential rotation positioning boss; the upper support plate is arranged on the lower support plate and is provided with a motor and an ultrasonic whirling main shaft device; and the power output end of the motor is in transmission connection with the ultrasonic whirling main shaft device. The equipment is adjusted conveniently and flexibly, has high surface precision and cutting efficiency, can complete high-quality thread machining through one-time feeding, can overcome the defect of ordinary cold machining, has the machining efficiency 3-5 times higher than that of an ordinary machining method, is particularly suitable for machining materials such as hard materials, crisp materials and the like which are difficult to machine, remarkably enhances the thread machining quality, has high practicability, and is easy to popularize.

Description

High-precision helix is processed ultrasonic whirlwind and is milled equipment
Technical field
The invention belongs to high-speed and high-efficiency accurate ultra processing technique field, relate in particular to a kind of high-precision helix and process ultrasonic whirlwind and mill equipment.
Background technology
It is advanced practical manufacturing technology that high-precision whirlwind mills process technology, and it is becoming the main flow of machining, has great vitality and wide application prospect.Can realize high-quality, efficient, low consumption, cleaning, pollution-free processing, from super-huge to miniature sizes, from common, the screw thread of crisp material hard, tough and the processing of various complex profile parts to height.But there is following shortcoming in the existing common whirlwind technology of milling: the material removing method has considerable influence to product surface quality, it is to utilize plastic deformation of metal to remove material that common whirlwind mills processing mode, have the weak point of cold machining mode, such as damaged surface layer and scorch, and the defective of surface quality such as surface smoothness; The processing mode that common whirlwind mills still belongs to roughing and semi-finished category, has relatively high expectations as accuracy of thread, then needs operations such as in addition grinding or polishing; Because milling cutter carries out high-speed milling, and be cold machining, so the cutting force that whirlwind mills is bigger, the mechanical oscillation of generation are also big, and the rigidity and the dynamic stability of system are had relatively high expectations, and machining accuracy is also had bad influence; For the screw thread processing of hard brittle material, whirlwind mills and has big deficiency, and the surface quality that shows as processing is bad, has big scorch and damaged surface layer; For the screw thread processing of slender piece,,, influence the form accuracy of workpiece so can make workpiece produce distortion because whirlwind is milled with bigger cutting force.
Summary of the invention
The present invention is in order to solve weak point of the prior art, provides a kind of and can process ultrasonic whirlwind at the high-precision helix that whirlwind Milling Process synthesis precision at a high speed and under the high efficiency condition reaches the accurate ultra level of processing and mill equipment.
For solving the problems of the technologies described above, the present invention adopts following technical scheme: high-precision helix is processed ultrasonic whirlwind and is milled equipment, comprise the upper backup pad that is provided with on the lower supporting plate that is provided with on circumference rotation positioning boss, the circumference rotation positioning boss, the lower supporting plate, upper backup pad is provided with motor and ultrasonic whirlwind mills main shaft device, and the power intake that the clutch end of motor and ultrasonic whirlwind mill main shaft device is in transmission connection.
Described lower supporting plate is provided with twice arc adjustment hole at least, and lower supporting plate is connected with upper backup pad by the adjustment set bolt that is located in the arc adjustment hole.
Described ultrasonic whirlwind mills main shaft device and comprises main spindle box, be connected with the main spindle box rotary seal and the main shaft and the luffing bar of coaxial setting, main shaft outer end and luffing bar outer end are respectively equipped with and are positioned at main spindle box outer belt pulley and profile milling cutter, this belt pulley is connected by the V-belt with belt pulley on the motor power output shaft, the part of main shaft in main spindle box is the cavity structure of an end opening, be provided with ultrasonic transducer in the spindle cavity, luffing bar the inner is plugged in the spindle cavity and with ultrasonic transducer and removably connects by stud, and luffing bar and main shaft removably connect by screw; Main spindle box outside portion and inside portion are provided with brush terminal box and brush respectively, the main shaft circumferential side portion is provided with the insulation tank of being made by insulator, insulation tank and the radially corresponding setting of brush are provided with the anode and cathode that is rotationally connected with brush in the insulation tank, anode and cathode is connected with ultrasonic transducer by lead.
Adopt technique scheme, have following beneficial effect:
Circumference is rotated on the middle supporting plate that positioning boss is fixed on machine tool, workpiece be installed on chuck and top between, with the rotation according to workpiece, the ultrasonic whirlwind of driven by motor mills main shaft device to carry out ultrasonic whirlwind to workpiece and mills and carry out the high speed and precision cutting operation.Ultrasonic machining is a kind of processing method that makes workpiece produce certain controlled vibration clocklike.Ultrasonic machining is the micro cutting process of finishing in the short time at a utmost point, surface damage and residual stress are all less, and do not rely on the electric conductivity of workpiece, and are non-electric machining processes, not influenced by electricity, the chemical characteristic of workpiece, the especially suitable hard crisp processing that waits difficult-to-machine material.
By adjusting the fixed position of set bolt in the arc adjustment hole, can adjust the cutting angle between the axis of rotation that ultrasonic whirlwind mills the rotation of main shaft device and workpiece, be convenient to process workpiece dissimilar, different size.
During ultrasonic Milling Process, the driven by motor main shaft rotates, main shaft drives profile milling cutter by the luffing bar and rotates at a high speed, the high-frequency electrical concussion that supersonic generator produces is passed to ultrasonic transducer by brush terminal box and brush, the high-frequency electrical vibration is converted to the high frequency mechanical oscillation by ultrasonic transducer, amplification by the luffing bar is amplified to the processing request that satisfies profile milling cutter with the amplitude of high frequency mechanical oscillation again, thereby makes cutter produce dither.So just under the situation that does not change lathe driving-chain structure, realize the processing of large-scale precision screw thread.
The present invention is easy to adjust, flexible, surface accuracy is high, stock-removing efficiency is high, can realize that one-pass finishes the screw thread processing of better quality, can remedy the deficiency of common cold machining processing, working (machining) efficiency is 3~5 times of common process methods, be particularly useful for the hard crisp processing that waits difficult-to-machine material, significantly improve the crudy of screw thread, practical, be easy to apply.
Description of drawings
Fig. 1 is the structural representation under the duty of the present invention;
Fig. 2 is the vertical view of Fig. 1;
Fig. 3 is the enlarged drawing at A place in the middle of Fig. 1;
Fig. 4 is the structural representation that ultrasonic whirlwind mills main shaft device in the middle of the present invention.
The specific embodiment
As Fig. 1~shown in Figure 4, high-precision helix of the present invention is processed ultrasonic whirlwind and is milled equipment, comprise that circumference rotation positioning boss 1, circumference rotate the upper backup pad that is the angle steel shape 3 that is provided with on the lower supporting plate 2 of setting on the positioning boss 1, the lower supporting plate 2, upper backup pad 3 is provided with motor 4 and ultrasonic whirlwind mills main shaft device, and the power intake that the clutch end of motor 4 and ultrasonic whirlwind mill main shaft device is in transmission connection.Lower supporting plate 2 is provided with twice arc adjustment hole 5 at least, and lower supporting plate 2 is connected with upper backup pad 3 by the adjustment set bolt 6 that is located in the arc adjustment hole 5.
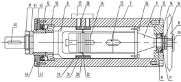
Ultrasonic whirlwind mills main shaft device and comprises the main spindle box 7 that is cast into the both ends open of one with lower supporting plate 2, be connected with main spindle box 7 rotary seals and the main shaft 8 and the luffing bar 9 of coaxial setting, be rotationally connected by bearing 10 between main shaft 8 and the main spindle box 7, be screwed onto the nut 11 on the main shaft 8, nut 41 compresses bearing 10 by sleeve 42, the sleeve 42 outer end caps 44 that removably connect by screw 43 with main spindle box 7 that are provided with, end cap 44 inboards are tightly connected by compressing sealing ring 12, the other end of main spindle box 8 is removably connected with end cap 14 by screw 13, be rotationally connected by bearing 15 respectively between luffing bar 9 and the end cap 14 and be screwed onto nut 16 on the luffing bar 9 and compress sealing ring 17 and be tightly connected, main shaft 8 outer ends and luffing bar 9 outer ends are respectively equipped with belt pulley 18 and the profile milling cutter 19 that is positioned at outside the main spindle box 7, belt pulley 18 is fixedly connected by the key 40 on the main shaft 8, profile milling cutter 19 is provided with the clamp nut 20 and main shaft 8 and luffing bar 7 coaxial fixedlying connected that is screwed onto on the luffing bar 9 by the outer end, this belt pulley 18 is connected by V-belt 22 with belt pulley 21 on motor 4 power output shafts, the part of main shaft 8 in main spindle box 7 is the cavity structure of an end opening, be provided with ultrasonic transducer 24 in main shaft 8 cavitys, luffing bar 9 the inners are plugged in main shaft 8 cavitys and with ultrasonic transducer 24 and removably connect by stud 25, and luffing bar 9 removably connects by screw 26 with main shaft 8; Main spindle box 7 outside portions and inside portion are provided with brush terminal box 27 and brush 28 respectively, main shaft 8 circumferential side portion are provided with the insulation tank of being made by insulator 29 30, insulation tank 30 and the radially corresponding setting of brush 28, be provided with the anode and cathode 31 that is rotationally connected with brush 28 in the insulation tank 30, anode and cathode 31 is connected with ultrasonic transducer 24 by lead 32.
When work is used, lower supporting plate 2 is connected to T type screw 33 and circumference rotation positioning boss 1 on the middle supporting plate 35 of machine tool 34, workpiece 36 is installed between chuck 37 and top 38, ultrasonic whirlwind mills the axis of main shaft device should be parallel with workpiece 36 installation directions, with the rotation according to workpiece 36, the ultrasonic whirlwind of motor 4 drives mills main shaft device workpiece 36 is carried out the high speed and precision cutting operation.Motor 4 drives main shaft 8 rotations, main shaft 8 by 9 drive profile milling cutter 19 rotations at a high speed of luffing bar by belt pulley 21, V-belt 22 and belt pulley 18, the high-frequency electrical concussion that supersonic generator produces is passed to ultrasonic transducer 24 by brush terminal box 27 and brush 28, the high-frequency electrical vibration is converted to the high frequency mechanical oscillation by ultrasonic transducer 24, amplification by luffing bar 9 is amplified to the processing request that satisfies profile milling cutter 19 with the amplitude of high frequency mechanical oscillation again, thereby make profile milling cutter 19 produce dither, carry out ultrasonic whirlwind and mill.So just under the situation that does not change machine tool 34 driving-chain structures, realize the processing of large-scale workpiece 36 accurate threads.
By adjusting the fixed position of set bolt 6 in arc adjustment hole 5, can adjust the rotation of main shaft 8(profile milling cutter 19) and workpiece 36 axiss of rotation between cutting angle M, M is the lead angle of workpiece to be machined 36 screw threads, so also is convenient to process workpiece dissimilar, different size.

Claims (3)

1.高精螺旋线加工超声旋风铣设备,其特征在于:包括圆周旋转定位凸台、圆周旋转定位凸台上设置的下支撑板、下支撑板上设置的上支撑板,上支撑板上设有电机和超声旋风铣主轴装置,电机的动力输出端与超声旋风铣主轴装置的动力输入端传动连接。1. Ultrasonic cyclone milling equipment for high-precision spiral processing, characterized in that it includes a circular rotation positioning boss, a lower support plate set on the circumferential rotation positioning boss, an upper support plate set on the lower support plate, and an upper support plate set on the upper support plate. There is a motor and an ultrasonic whirling milling spindle device, and the power output end of the motor is connected with the power input end of the ultrasonic whirling milling spindle device. 2.根据权利要求1所述的高精螺旋线加工超声旋风铣设备,其特征在于:所述下支撑板上设有至少两道弧形调节孔,下支撑板通过穿设在弧形调节孔内的调整固定螺栓与上支撑板连接。2. The ultrasonic cyclone milling equipment for high-precision spiral processing according to claim 1, characterized in that: the lower support plate is provided with at least two arc-shaped adjustment holes, and the lower support plate is passed through the arc-shaped adjustment holes The inner adjustment fixing bolt is connected with the upper support plate. 3.根据权利要求1或2所述的高精螺旋线加工超声旋风铣设备,其特征在于:所述超声旋风铣主轴装置包括主轴箱、与主轴箱转动密封连接且同轴设置的主轴和变幅杆,主轴外端和变幅杆外端分别设有位于主轴箱外的皮带轮和成型铣刀,该皮带轮与电机动力输出轴上的皮带轮通过三角带连接,主轴在主轴箱内的部分为一端开口的空腔结构,主轴空腔内设有超声波换能器,变幅杆内端插设在主轴空腔内并与超声波换能器通过双头螺栓可拆卸连接,变幅杆与主轴通过螺钉可拆卸连接;主轴箱外侧部和内侧部分别设有电刷接线盒和电刷,主轴圆周侧部设有由绝缘体制成的绝缘槽,绝缘槽与电刷径向对应设置,绝缘槽内设有与电刷转动连接的阴阳极,阴阳极通过导线与超声波换能器连接。3. The high-precision spiral machining ultrasonic whirl milling equipment according to claim 1 or 2, characterized in that: the ultrasonic whirl milling spindle device comprises a spindle box, a spindle and a variable speed spindle that are connected to the spindle box in a rotationally sealed manner and arranged coaxially There are pulleys and forming milling cutters located outside the headstock respectively on the outer end of the main shaft, the outer end of the main shaft and the outer end of the horn. The pulley is connected with the pulley on the power output shaft of the motor through a V-belt, and the part of the main shaft inside the main head box is one end. Open cavity structure, the main shaft cavity is equipped with an ultrasonic transducer, the inner end of the horn is inserted in the main shaft cavity and is detachably connected with the ultrasonic transducer through a stud bolt, and the horn and the main shaft are connected by a screw Detachable connection; the outer and inner parts of the spindle box are respectively equipped with a brush junction box and a brush, and the side of the spindle circumference is provided with an insulating groove made of an insulator, and the insulating groove is arranged radially corresponding to the brush. There are cathode and anode connected to the electric brush in rotation, and the cathode and anode are connected to the ultrasonic transducer through wires.
CN2011100279336A 2011-01-26 2011-01-26 Ultrasonic whirling equipment for machining high-precision spiral line Active CN102133664B (en)

Priority Applications (1)

Application Number Priority Date Filing Date Title
CN2011100279336A CN102133664B (en) 2011-01-26 2011-01-26 Ultrasonic whirling equipment for machining high-precision spiral line

Applications Claiming Priority (1)

Application Number Priority Date Filing Date Title
CN2011100279336A CN102133664B (en) 2011-01-26 2011-01-26 Ultrasonic whirling equipment for machining high-precision spiral line

Publications (2)

Publication Number Publication Date
CN102133664A true CN102133664A (en) 2011-07-27
CN102133664B CN102133664B (en) 2012-11-28

Family

ID=44293665

Family Applications (1)

Application Number Title Priority Date Filing Date
CN2011100279336A Active CN102133664B (en) 2011-01-26 2011-01-26 Ultrasonic whirling equipment for machining high-precision spiral line

Country Status (1)

Country Link
CN (1) CN102133664B (en)

Cited By (6)

* Cited by examiner, † Cited by third party
Publication number Priority date Publication date Assignee Title
CN103350263A (en) * 2013-06-24 2013-10-16 马顺国 Numerically-controlled universal thread cutting machine
CN104439559A (en) * 2014-10-30 2015-03-25 东莞市青麦田数码科技有限公司 A Double Arc Thread External Cyclone Milling Machine
CN105458423A (en) * 2016-01-05 2016-04-06 浙江大学 Internal thread cyclone shaping cutter device
CN107442873A (en) * 2017-09-18 2017-12-08 清华大学 A kind of ultrasonic vibration auxiliary screw milling screw method
CN111036989A (en) * 2019-12-17 2020-04-21 北京万高众业科技股份有限公司 Air flue spiral line cutting device
CN116252007A (en) * 2022-12-14 2023-06-13 贵州鼎善精密机械有限公司 Screw tap for machining bridge anchorage clamping piece and production process thereof

Citations (5)

* Cited by examiner, † Cited by third party
Publication number Priority date Publication date Assignee Title
US3221607A (en) * 1962-04-30 1965-12-07 Sigfrid Stenberg Ab Method and a machine for cutting and/or treating threads on rodshaped work pieces
CN2915334Y (en) * 2006-06-16 2007-06-27 王隆太 Cyclone enveloped digital control screw bolt milling machine
CN101020244A (en) * 2007-03-15 2007-08-22 杭州电子科技大学 Ultrasonic torsional vibration turning-milling system and method with oppositely fed double cutter
CN201183148Y (en) * 2007-09-30 2009-01-21 戚建兵 Cyclone mill for processing internal and external screw threads
CN201618992U (en) * 2009-11-13 2010-11-03 魏冰阳 Ultrasonic vibration tool head of general machine tool

Patent Citations (5)

* Cited by examiner, † Cited by third party
Publication number Priority date Publication date Assignee Title
US3221607A (en) * 1962-04-30 1965-12-07 Sigfrid Stenberg Ab Method and a machine for cutting and/or treating threads on rodshaped work pieces
CN2915334Y (en) * 2006-06-16 2007-06-27 王隆太 Cyclone enveloped digital control screw bolt milling machine
CN101020244A (en) * 2007-03-15 2007-08-22 杭州电子科技大学 Ultrasonic torsional vibration turning-milling system and method with oppositely fed double cutter
CN201183148Y (en) * 2007-09-30 2009-01-21 戚建兵 Cyclone mill for processing internal and external screw threads
CN201618992U (en) * 2009-11-13 2010-11-03 魏冰阳 Ultrasonic vibration tool head of general machine tool

Non-Patent Citations (1)

* Cited by examiner, † Cited by third party
Title
《机械设计与制造》 20101130 袁小飞等 关于立式数控铣床旋转超声铣头的研究 , 第11期 *

Cited By (7)

* Cited by examiner, † Cited by third party
Publication number Priority date Publication date Assignee Title
CN103350263A (en) * 2013-06-24 2013-10-16 马顺国 Numerically-controlled universal thread cutting machine
CN103350263B (en) * 2013-06-24 2015-09-30 马顺国 Numerical-control universal thread chasing machine
CN104439559A (en) * 2014-10-30 2015-03-25 东莞市青麦田数码科技有限公司 A Double Arc Thread External Cyclone Milling Machine
CN105458423A (en) * 2016-01-05 2016-04-06 浙江大学 Internal thread cyclone shaping cutter device
CN107442873A (en) * 2017-09-18 2017-12-08 清华大学 A kind of ultrasonic vibration auxiliary screw milling screw method
CN111036989A (en) * 2019-12-17 2020-04-21 北京万高众业科技股份有限公司 Air flue spiral line cutting device
CN116252007A (en) * 2022-12-14 2023-06-13 贵州鼎善精密机械有限公司 Screw tap for machining bridge anchorage clamping piece and production process thereof

Also Published As

Publication number Publication date
CN102133664B (en) 2012-11-28

Similar Documents

Publication Publication Date Title
CN108637801B (en) An ultrasonic assisted grinding device and its application
CN205520756U (en) Handle of a knife integrated system suitable for high -speed supersound mills and grinds processing
CN102133664A (en) Ultrasonic whirling equipment for machining high-precision spiral line
CN103639527B (en) A kind of device and method of thin-wall stainless steel double-pole symmetric row planetary surface trimming
CN105033780A (en) Deep cavity machining system suitable for crisp and hard materials
CN106425705A (en) Ultrasonic vibration grinding device
CN101540540A (en) Piezoelectric type ultrasonic rotary main shaft device
CN105522211A (en) Longitudinal excitation type ultrasonic vibration milling cutter handle device
CN107914173A (en) Micro- drilling-milling apparatus is turned to for what exocoel in workpiece was processed
CN202114552U (en) Diameter refining mill
CN113878177A (en) Grinding gear device for multi-dimensional ultrasonic forming
CN105643463B (en) Ultrasonic vibration cup wheel trimmer for repairing super-abrasive grinding wheel
CN107775064A (en) A kind of lateral method for milling of single-blade based on torsional ultrasonic
CN103394765A (en) Device for machining inner wall of seamless tube
CN201361800Y (en) Grinding device for realizing turning instead of grinding of high-precision thin-wall part on lathe
CN201537754U (en) Burr removing device for inner orifice of ferrule radial aperture
CN114770108A (en) Ultrasonic scraping and barreling integrated processing device
CN202137439U (en) Lathe used for machining long-pitch transverse-rotating communicated spiral groove of guide shaft of cable layout device
CN202356645U (en) Floating boring cutter device for fine machining of deep hole of long shaft
CN205520952U (en) A ultrasonic vibration cup type grinding wheel dresser for repairing superhard abrasive material emery wheel
CN205414837U (en) Interior arc surface supersound rolling tool head
CN104057161B (en) A kind of tapping internal thread method
CN208438116U (en) A kind of slot grinding tool for vertical machining centre
CN204075422U (en) For the ultrasonic whirlwind milling machine tool of hard brittle material processing
CN207077047U (en) A kind of cutterhead

Legal Events

Date Code Title Description
C06 Publication
PB01 Publication
C10 Entry into substantive examination
SE01 Entry into force of request for substantive examination
C14 Grant of patent or utility model
GR01 Patent grant
TR01 Transfer of patent right
TR01 Transfer of patent right

Effective date of registration: 20180416

Address after: 510663 the first and two floors of the gate building (C block) of pin Yao Electronic Industrial Park, 8 South Road two, Guangzhou science and Technology Development Zone, Guangdong.

Patentee after: GUANGZHOU HUIZHUAN TOOLS Co.,Ltd.

Address before: 454003 Century Avenue, Jiaozuo high tech Zone, Henan, No. 2001

Patentee before: Henan Polytechnic University

CP03 Change of name, title or address

Address after: 510663 The first, second and third floors of the Portal Machine Building (Block C) of Product Yao Electronic Industry Park, No. 8, Nanyun Road, Science City, Guangzhou High-tech Industrial Development Zone, Guangdong Province

Patentee after: CONPROFE GREEN TOOLS Co.,Ltd.

Address before: 510663 First and Second Floors of Gate Machine Building (Block C) of Pingyao Electronic Industry Park, No. 8, Nanyun Second Road, Guangzhou High-tech Industrial Development Zone, Guangdong Province

Patentee before: GUANGZHOU HUIZHUAN TOOLS Co.,Ltd.

CP03 Change of name, title or address
TR01 Transfer of patent right

Effective date of registration: 20191008

Address after: 510663 The first, second and third floors of the Portal Machine Building (Block C) of Product Yao Electronic Industry Park, No. 8, Nanyun Road, Science City, Guangzhou High-tech Industrial Development Zone, Guangdong Province

Co-patentee after: CONPROFE TECHNOLOGY GROUP Co.,Ltd.

Patentee after: CONPROFE GREEN TOOLS Co.,Ltd.

Address before: 510663 The first, second and third floors of the Portal Machine Building (Block C) of Product Yao Electronic Industry Park, No. 8, Nanyun Road, Science City, Guangzhou High-tech Industrial Development Zone, Guangdong Province

Patentee before: CONPROFE GREEN TOOLS Co.,Ltd.

TR01 Transfer of patent right
TR01 Transfer of patent right

Effective date of registration: 20200302

Address after: 510663 the first and second floors of gate machine building (Block C), Pinyao Electronic Industrial Park, No. 8, Yuner Road, south of Science City, Guangzhou high tech Industrial Development Zone, Guangdong Province

Co-patentee after: SMARTGUY INTELLIGENT EQUIPMENT Co.,Ltd. GUANGZHOU BRANCH

Patentee after: CONPROFE TECHNOLOGY GROUP Co.,Ltd.

Address before: 510663 The first, second and third floors of the Portal Machine Building (Block C) of Product Yao Electronic Industry Park, No. 8, Nanyun Road, Science City, Guangzhou High-tech Industrial Development Zone, Guangdong Province

Co-patentee before: CONPROFE TECHNOLOGY GROUP Co.,Ltd.

Patentee before: CONPROFE GREEN TOOLS Co.,Ltd.

TR01 Transfer of patent right