CN101904349B - 基于两级干燥工艺的玉米果穗通风干燥系统 - Google Patents
基于两级干燥工艺的玉米果穗通风干燥系统 Download PDFInfo
- Publication number
- CN101904349B CN101904349B CN2010102314217A CN201010231421A CN101904349B CN 101904349 B CN101904349 B CN 101904349B CN 2010102314217 A CN2010102314217 A CN 2010102314217A CN 201010231421 A CN201010231421 A CN 201010231421A CN 101904349 B CN101904349 B CN 101904349B
- Authority
- CN
- China
- Prior art keywords
- drying
- corn ear
- material bed
- air
- drying system
- Prior art date
- Legal status (The legal status is an assumption and is not a legal conclusion. Google has not performed a legal analysis and makes no representation as to the accuracy of the status listed.)
- Expired - Fee Related
Links
- 238000001035 drying Methods 0.000 title claims abstract description 80
- 240000008042 Zea mays Species 0.000 title claims abstract description 61
- 235000005824 Zea mays ssp. parviglumis Nutrition 0.000 title claims abstract description 61
- 235000002017 Zea mays subsp mays Nutrition 0.000 title claims abstract description 61
- 235000005822 corn Nutrition 0.000 title claims abstract description 61
- 238000005273 aeration Methods 0.000 title description 20
- 238000000034 method Methods 0.000 title description 7
- 239000000463 material Substances 0.000 claims abstract description 50
- 238000009423 ventilation Methods 0.000 claims abstract description 12
- 210000005069 ears Anatomy 0.000 claims abstract 5
- 238000005192 partition Methods 0.000 claims abstract 2
- 125000006850 spacer group Chemical group 0.000 claims 1
- 239000003570 air Substances 0.000 description 28
- 238000005516 engineering process Methods 0.000 description 17
- 235000013399 edible fruits Nutrition 0.000 description 11
- 238000012360 testing method Methods 0.000 description 8
- 238000007599 discharging Methods 0.000 description 5
- XLYOFNOQVPJJNP-UHFFFAOYSA-N water Substances O XLYOFNOQVPJJNP-UHFFFAOYSA-N 0.000 description 4
- 230000000694 effects Effects 0.000 description 3
- 238000001556 precipitation Methods 0.000 description 3
- 230000000153 supplemental effect Effects 0.000 description 3
- 229910000831 Steel Inorganic materials 0.000 description 2
- 238000007605 air drying Methods 0.000 description 2
- 238000001704 evaporation Methods 0.000 description 2
- 230000008020 evaporation Effects 0.000 description 2
- 239000010959 steel Substances 0.000 description 2
- 241001269238 Data Species 0.000 description 1
- 206010019332 Heat exhaustion Diseases 0.000 description 1
- 239000012080 ambient air Substances 0.000 description 1
- 230000009286 beneficial effect Effects 0.000 description 1
- 230000002146 bilateral effect Effects 0.000 description 1
- 239000004568 cement Substances 0.000 description 1
- 239000003245 coal Substances 0.000 description 1
- 230000007812 deficiency Effects 0.000 description 1
- 238000010586 diagram Methods 0.000 description 1
- 238000009792 diffusion process Methods 0.000 description 1
- 238000005265 energy consumption Methods 0.000 description 1
- PCHJSUWPFVWCPO-UHFFFAOYSA-N gold Chemical compound [Au] PCHJSUWPFVWCPO-UHFFFAOYSA-N 0.000 description 1
- 239000010931 gold Substances 0.000 description 1
- 229910052737 gold Inorganic materials 0.000 description 1
- 238000003306 harvesting Methods 0.000 description 1
- 238000012986 modification Methods 0.000 description 1
- 230000004048 modification Effects 0.000 description 1
- 239000011295 pitch Substances 0.000 description 1
- 238000012545 processing Methods 0.000 description 1
- 230000001737 promoting effect Effects 0.000 description 1
- 238000011160 research Methods 0.000 description 1
- 238000009834 vaporization Methods 0.000 description 1
- 230000008016 vaporization Effects 0.000 description 1
Images
Classifications
-
- Y—GENERAL TAGGING OF NEW TECHNOLOGICAL DEVELOPMENTS; GENERAL TAGGING OF CROSS-SECTIONAL TECHNOLOGIES SPANNING OVER SEVERAL SECTIONS OF THE IPC; TECHNICAL SUBJECTS COVERED BY FORMER USPC CROSS-REFERENCE ART COLLECTIONS [XRACs] AND DIGESTS
- Y02—TECHNOLOGIES OR APPLICATIONS FOR MITIGATION OR ADAPTATION AGAINST CLIMATE CHANGE
- Y02P—CLIMATE CHANGE MITIGATION TECHNOLOGIES IN THE PRODUCTION OR PROCESSING OF GOODS
- Y02P60/00—Technologies relating to agriculture, livestock or agroalimentary industries
- Y02P60/80—Food processing, e.g. use of renewable energies or variable speed drives in handling, conveying or stacking
- Y02P60/85—Food storage or conservation, e.g. cooling or drying
Landscapes
- Drying Of Solid Materials (AREA)
Abstract
本发明涉及一种玉米果穗通风干燥系统,特别是一种基于两级干燥工艺的玉米果穗通风干燥系统,属于农业工程技术领域。一种基于两级干燥工艺的玉米果穗通风干燥系统,其主要特点包括有在主风道(9)的侧壁上设有数个支风管(13),支风管(13)的末端封闭,下部敞开,在两两支风管(13)之间设有百叶窗式隔板(14);物料床(11)由物料床支撑(10)支撑在支风管(13)的上部。该干燥系统结构简单、易用,烘干成本低,节省能源,适应于玉米果穗两级干燥工艺的需求,作业成本可降低20%~30%;提高干燥均匀性,减少脱粒破碎,提高经济效益。
Description
技术领域:
本发明涉及一种玉米果穗通风干燥系统,特别是一种基于两级干燥工艺的风干系统,属于农业工程技术领域。
背景技术:
我国多数玉米种子加工均采用一次干燥工艺,即把收获后的玉米果穗经过人工选穗后,输送到果穗烘干室内进行烘干,一直烘到种子的安全水分,然后出料脱粒。这种方法不仅干燥了种子的水分,连玉米芯的水分也进行了干燥,而收获期玉米芯的水分比种子的水分高10%以上,存在干燥时间长、能耗大、干燥能力低、干燥不均等问题。
发明内容:
本发明的目的在于避免现有技术的不足,提供一种基于两级干燥工艺的玉米果穗通风干燥系统。玉米果穗两级干燥比一次干燥提高烘干能力近1倍,具有节省能源,作业成本可降低20%-30%;提高干燥均匀性,减少脱粒破碎,提高经济效益等特点,使得该项干燥技术已开始广泛研究应用。本发明提供的玉米果穗通风干燥系统考虑西北干燥的气候资源、节煤等因素,投入成本低,卸料方便,有重大推广价值,适应于玉米果穗两级干燥工艺的需求。
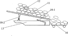
为实现上述目的,本发明采取的技术方案为:一种基于两级干燥工艺的玉米果穗通风干燥系统,其主要特点包括有在主风道(9)的侧壁上设有数个支风管(13),支风管(13)的末端封闭,下部敞开,在两两支风管(13)之间设有百叶窗式隔板(14);物料床(11)由物料床支撑(10)支撑在支风管(13)的上部。
所述的基于两级干燥工艺的玉米果穗通风干燥系统,还包括有进风筒(1)通过连接导口(2)与太阳能集热器(3)的进风口连接,太阳能集热器(3)的出风口与导风筒(4)连接,离心式风机(6)通过连接管道(8)与主风道(9)连通。
所述的基于两级干燥工艺的玉米果穗通风干燥系统,所述的在主风道(9)的两侧壁上分别设有数个支风管(13);并在所述的两侧的支风管(13)的上方设有的由物料床支撑(10)支撑的物料床(11);在支风管(13)的下部设有垫块(15)。
所述的基于两级干燥工艺的玉米果穗通风干燥系统,所述的物料床支撑(10)在物料床(11)一端设有铰链连接的物料床主支撑(10-2);在另一端设有物料床活动支撑(10-1)。
所述的基于两级干燥工艺的玉米果穗通风干燥系统,在所述的太阳能集热器(3)的下方设有集热器支架(5);在所述的离心式风机(6)的下方设有风机支架(7)。
冷空气经太阳能集热器被加热后,在离心式风机的作用下由通风管道进入通风系统;热空气经空气分配系统后由物料床底部向上流出,通风系统中,通过对百叶窗式隔板的控制,使得热空气与被干燥玉米果穗间产生温差与相对湿度差,从而加速玉米果穗水分扩散蒸发,达到烘干果穗的目的。
本发明的有益效果:该干燥系统结构简单、易用,烘干成本低,节省能源,适应于玉米果穗两级干燥工艺的需求,作业成本可降低20%~30%;提高干燥均匀性,减少脱粒破碎,提高经济效益。
附图说明:
图1是本发明的实施例1的结构示意图;
图2是本发明的实施例2的结构示意图;
图3是本发明通风系统结构示意图。
图4是本发明实施例3物料床自卸示意图;
图5是本发明的实施例3的结构示意图。
图中:1.进风筒;2.连接导口;3.太阳能集热器;4.导风筒;5.集热器支架;6.离心式风机;7.风机支架;8.连接管道;9.主风道;10.物料床支撑;(10-1)物料床活动支撑;(10-2)物料床主支撑;11.物料床;12.袋装玉米果穗;13.支风管;14百叶窗式隔板;15垫块;16.装料车。
具体实施方式:
以下对本发明的原理和特征进行描述,所举实例只用于解释本发明,并非用于限定本发明的范围。
实施例1:见图1,一种基于两级干燥工艺的玉米果穗通风干燥系统,在主风道9的侧壁上设有6个支风管13,支风管13的末端封闭,下部敞开,在两两支风管13之间设有百叶窗式隔板14;物料床11由物料床支撑10支撑在支风管13的上部。袋装玉米果穗12放置于物料床11上。
实施例2:见图2,一种基于两级干燥工艺的玉米果穗通风干燥系统,有进风筒1通过连接导口2与太阳能集热器3的进风口连接,太阳能集热器3的出风口与导风筒4连接,离心式风机6通过连接管道8与主风道9连通。在主风道9的侧壁上设有6个支风管13,支风管13的末端封闭,下部敞开,在两两支风管13之间设有百叶窗式隔板14;物料床11由物料床支撑10支撑在支风管13的上部。袋装玉米果穗12置于物料床11上。在支风管13的下部设有垫块15。在所述的太阳能集热器3的下方设有集热器支架5;在所述的离心式风机6的下方设有风机支架7。
实施例3:见图3、图4,一种基于两级干燥工艺的玉米果穗通风干燥装置,所述的物料床支撑10在物料床11一端设有铰链连接的物料床主支撑10-2;在另一端设有物料床活动支撑10-1。物料床可以自卸,将物料床两端活动支撑10-1旋转卸载,由于物料床主支撑10-2是铰链连接,物料床倾斜,置于物料床11上袋装玉米果穗12由于自重滑落于装料车16中。
实施例4:见图5,一种双侧玉米果穗通风干燥装置,在主风道9的两侧壁上分别设有数个支风管13;并在所述的两侧的支风管13的上方设有的由物料床支撑10支撑的物料床11。
使用时,有如下步骤:
(1)将集热器、离心式鼓风机、侧置式空气分配系统通过通风管连接为一体。
(2)将袋装玉米果穗放置侧置式空气分配系统中的物料床11上。
(3)开启风机将外界冷空气吸入,在集热器的作业下将热空气送入至侧置式空气分配系统主通风管道入口,对物料床11上放置的玉米果穗进行风干干燥。
应用例:自卸平置式物料床是玉米果穗风干系统的重要组成部分。袋装玉米果穗堆放在由方钢与角钢焊接而成面积约为48.0m2的栅栏状物料床顶部,在位于物料床1/3处安装三组铰接主支撑;辅助支撑可在垂直于物料床平面内旋转,实现对可自卸平置式物料床的支撑与卸载。通常物料床左端部与主风道相搭接,在三组连杆式主支撑与辅助支撑作用下处于水平位置时进行装料干燥;待果穗干燥至所需水分(18%)时卸料,将辅助支撑旋转卸载,物料床向一方倾斜,玉米果穗从床顶部滑下落入装料车;然后玉米果穗进行脱粒,脱下来的玉米种子,经过初清后装袋并再次通过玉米果穗通风干燥系统使得籽粒含水率干燥至14%左右。
按玉米堆积高度为2.0m条件下计算,一袋玉米果穗重40kg左右,袋子的长度为0.65m,宽度为0.35m,装玉米果穗后袋子的厚度为0.35m,干燥47000kg玉米,经初步估算需要占用一个48.0m2左右的场地,在需要场地不大的情况下,选择侧置式空气分配系统,该系统长为6.4m,宽7.5m,该系统采用主、支通风管道,用水泥或其他强度较好的材料制作。支通风管道末端封闭,为便于安装百叶窗式隔板两支风管道间距为0.6m;为有效输送热空气,空气分配系统全部支通风管道的总截面积应与主管道的横截面积相等。
选用甘肃省玉米种植主导品种金穗4号进行试验,玉米果穗平均含水率约为25%。试验时,玉米果穗干燥热风温度控制在42-55℃之间,热风风速约为0.41m/s。试验采用一次干燥工艺及果穗干燥和籽粒干燥相结合的二次干燥工艺进行玉米果穗干燥试验。果穗一次干燥工艺,即把收获后的玉米果穗经过人工选穗后,输送到常用果穗烘干室内进行烘干,一直烘到玉米果穗含水率为14%左右,然后出料脱粒;果穗干燥和籽粒干燥相结合的二次干燥工艺方案,即把水分为25%左右的玉米果穗运用通风干燥系统干燥到最佳脱粒状态(含水率为18%左右)时卸料,然后进行脱粒,脱下来的玉米种子,经过初清后装袋并再次通过玉米果穗通风干燥系统使得籽粒含水率干燥至14%左右。试验通过对两种干燥工艺干燥过程不同阶段的籽粒含水率及干燥时间进行测定对比,来评价该通风干燥系统的干燥效果。试验结果与分析。
表1两种干燥方法试验数据测定
试验结果表明,玉米种子收获后在同等条件下,一次干燥工艺玉米籽粒水分从25.0%降到14.0%时需要48小时,而采用两级干燥时只需30小时,缩短干燥时间18小时。玉米果穗一次干燥方法大部分热量消耗在果穗穗轴上,由于玉米芯上的籽粒与籽粒间紧密接触,与热风接触面积仅为果穗的1/6-1/7,水分不易汽化,果穗干燥水分平均降水速率仅为0.23%。
采用玉米果穗两级干燥工艺经通风干燥系统果穗干燥后含水率降至18.0%(最佳脱粒状态)进行脱粒,脱下来的玉米种子,经过初清后装袋并再次通过玉米果穗通风干燥系统使得籽粒含水率干燥至14%左右。由于玉米籽粒之间呈松散状态,空隙大,便于水分蒸发,使得平均降水速率迅速提高,增至每小时0.37%,是玉米果穗一次干燥平均降水速率的1.61倍。
上所述仅为本发明的较佳实施例,并不用以限制本发明,凡在本发明的精神和原则之内,所作的任何修改、等同替换、改进等,均应包含在本发明的保护范围之内。
Claims (3)
1.一种基于两级干燥工艺的玉米果穗通风干燥系统,其特征在于包括有在主风道(9)的侧壁上设有数个支风管(13),支风管(13)的末端封闭,下部敞开,在两两支风管(13)之间设有百叶窗式隔板(14);物料床(11)由物料床支撑(10)支撑在支风管(13)的上部;还包括进风筒(1)通过连接导口(2)与太阳能集热器(3)的进风口连接,太阳能集热器(3)的出风口与导风筒(4)连接,离心式风机(6)通过连接管道(8)与主风道(9)连通;在主风道(9)的两侧壁上分别设有数个支风管(13);并在所述的两侧的支风管(13)的上方设有由物料床支撑(10)支撑的物料床(11);在支风管(13)的下部设有垫块(15)。
2.如权利要求1所述的基于两级干燥工艺的玉米果穗通风干燥系统,其特征在于所述的物料床支撑(10)在物料床(11)一端设有铰链连接的物料床主支撑(10-2);在另一端设有物料床活动支撑(10-1)。
3.如权利要求1所述的基于两级干燥工艺的玉米果穗通风干燥系统,其特征在于所述的太阳能集热器(3)的下方设有集热器支架(5);在所述的离心式风机(6)的下方设有风机支架(7)。
Priority Applications (1)
| Application Number | Priority Date | Filing Date | Title |
|---|---|---|---|
| CN2010102314217A CN101904349B (zh) | 2010-07-20 | 2010-07-20 | 基于两级干燥工艺的玉米果穗通风干燥系统 |
Applications Claiming Priority (1)
| Application Number | Priority Date | Filing Date | Title |
|---|---|---|---|
| CN2010102314217A CN101904349B (zh) | 2010-07-20 | 2010-07-20 | 基于两级干燥工艺的玉米果穗通风干燥系统 |
Publications (2)
| Publication Number | Publication Date |
|---|---|
| CN101904349A CN101904349A (zh) | 2010-12-08 |
| CN101904349B true CN101904349B (zh) | 2013-06-12 |
Family
ID=43260060
Family Applications (1)
| Application Number | Title | Priority Date | Filing Date |
|---|---|---|---|
| CN2010102314217A Expired - Fee Related CN101904349B (zh) | 2010-07-20 | 2010-07-20 | 基于两级干燥工艺的玉米果穗通风干燥系统 |
Country Status (1)
| Country | Link |
|---|---|
| CN (1) | CN101904349B (zh) |
Families Citing this family (3)
| Publication number | Priority date | Publication date | Assignee | Title |
|---|---|---|---|---|
| CN102714982A (zh) * | 2012-07-01 | 2012-10-10 | 甘肃农业大学 | 玉米果穗烘干脱粒干燥方法 |
| CN105309608A (zh) * | 2014-06-13 | 2016-02-10 | 蒋世芬 | 太阳能物料烘干器 |
| CN109028764A (zh) * | 2018-07-03 | 2018-12-18 | 安徽辰宇机械科技有限公司 | 一种混合谷物干燥方法 |
Citations (2)
| Publication number | Priority date | Publication date | Assignee | Title |
|---|---|---|---|---|
| CN1104756A (zh) * | 1993-12-30 | 1995-07-05 | 甘肃省武威地区能源研究所 | 太阳能与燃煤混合供热式干燥装置 |
| CN201215436Y (zh) * | 2008-05-23 | 2009-04-01 | 鲍立伟 | 太阳能谷物干燥系统 |
Family Cites Families (2)
| Publication number | Priority date | Publication date | Assignee | Title |
|---|---|---|---|---|
| JP3498774B2 (ja) * | 1996-04-17 | 2004-02-16 | 株式会社サタケ | 穀粒乾燥貯留装置における乾式集塵装置 |
| JP2824422B2 (ja) * | 1996-06-28 | 1998-11-11 | 金子農機株式会社 | 試料穀物の自動乾燥装置 |
-
2010
- 2010-07-20 CN CN2010102314217A patent/CN101904349B/zh not_active Expired - Fee Related
Patent Citations (2)
| Publication number | Priority date | Publication date | Assignee | Title |
|---|---|---|---|---|
| CN1104756A (zh) * | 1993-12-30 | 1995-07-05 | 甘肃省武威地区能源研究所 | 太阳能与燃煤混合供热式干燥装置 |
| CN201215436Y (zh) * | 2008-05-23 | 2009-04-01 | 鲍立伟 | 太阳能谷物干燥系统 |
Non-Patent Citations (8)
| Title |
|---|
| JP特开平10-160340A 1998.06.19 |
| JP特开平9-280733A 1997.10.31 |
| 两级干燥工艺在玉米种子选用中的应用;李奇涵等;《吉林工学院学报(自然科学版)》;20021230;第23卷(第04期);第19-20页 * |
| 刘圣勇等.采用太阳能集热器干燥玉米的研究.《农业工程学报》.2001,第17卷(第06期),第93-96页. |
| 李奇涵等.两级干燥工艺在玉米种子选用中的应用.《吉林工学院学报(自然科学版)》.2002,第23卷(第04期),第19-20页. |
| 混联式太阳能果蔬烘干机的研制;马洪江等;《农业工程学报》;20090330;第25卷(第03期);第50-54页 * |
| 采用太阳能集热器干燥玉米的研究;刘圣勇等;《农业工程学报》;20011130;第17卷(第06期);第93-96页 * |
| 马洪江等.混联式太阳能果蔬烘干机的研制.《农业工程学报》.2009,第25卷(第03期),第50-54页. |
Also Published As
| Publication number | Publication date |
|---|---|
| CN101904349A (zh) | 2010-12-08 |
Similar Documents
| Publication | Publication Date | Title |
|---|---|---|
| CN2606316Y (zh) | 移动式循环谷物烘干机 | |
| CN105115258B (zh) | 太阳能双循环农产品干燥设备及其在干燥农产品中的应用 | |
| CN102914138B (zh) | 一种基于湿度控制的风机内置烘房 | |
| CN203672073U (zh) | 一种智能化高效节能药品干燥装置 | |
| CN205175014U (zh) | 一种太阳能空气集热器热泵干燥设备 | |
| CN112880377A (zh) | 一种粮食烘干机及其使用方法 | |
| CN201028935Y (zh) | 绝热低温负压粮食干燥机 | |
| CN101904349B (zh) | 基于两级干燥工艺的玉米果穗通风干燥系统 | |
| CN203243725U (zh) | 自动测温通风防雨粮仓 | |
| CN201595131U (zh) | 粮油节能烘干机 | |
| CN203467255U (zh) | 正负压通风干燥筒仓 | |
| CN103148691B (zh) | 种子烘干塔 | |
| CN103168838B (zh) | 种子烘干系统 | |
| CN206213151U (zh) | 一种可过滤灰尘的智能谷物烘干设备 | |
| CN205124410U (zh) | 一种带烘干设备的储粮仓 | |
| CN213657438U (zh) | 一种粮食烘干机 | |
| CN205175020U (zh) | 太阳能空气集热器干燥设备 | |
| CN206005749U (zh) | 一种内置加热装置的谷物负压连续干燥机 | |
| CN206709575U (zh) | 一种全自动谷物烘干设备 | |
| CN201715829U (zh) | 一种稻谷干燥机 | |
| CN107328212A (zh) | 一种塔式玉米烘干机及其烘干方法 | |
| CN207501564U (zh) | 一种玉米种子烘干装置 | |
| CN204722159U (zh) | 农作物烘干机 | |
| CN208952565U (zh) | 一种瓜蒌籽烘干装置 | |
| CN106804700A (zh) | 一种粮食快速烘干装置 |
Legal Events
| Date | Code | Title | Description |
|---|---|---|---|
| C06 | Publication | ||
| PB01 | Publication | ||
| C10 | Entry into substantive examination | ||
| SE01 | Entry into force of request for substantive examination | ||
| C14 | Grant of patent or utility model | ||
| GR01 | Patent grant | ||
| CF01 | Termination of patent right due to non-payment of annual fee |
Granted publication date: 20130612 Termination date: 20140720 |
|
| EXPY | Termination of patent right or utility model |
