WO2024253003A1 - 画像読取装置及びその制御方法、並びにプログラム - Google Patents
画像読取装置及びその制御方法、並びにプログラム Download PDFInfo
- Publication number
- WO2024253003A1 WO2024253003A1 PCT/JP2024/019717 JP2024019717W WO2024253003A1 WO 2024253003 A1 WO2024253003 A1 WO 2024253003A1 JP 2024019717 W JP2024019717 W JP 2024019717W WO 2024253003 A1 WO2024253003 A1 WO 2024253003A1
- Authority
- WO
- WIPO (PCT)
- Prior art keywords
- image reading
- image
- terminal
- session
- image data
- Prior art date
- Legal status (The legal status is an assumption and is not a legal conclusion. Google has not performed a legal analysis and makes no representation as to the accuracy of the status listed.)
- Pending
Links
Images
Classifications
-
- H—ELECTRICITY
- H04—ELECTRIC COMMUNICATION TECHNIQUE
- H04N—PICTORIAL COMMUNICATION, e.g. TELEVISION
- H04N1/00—Scanning, transmission or reproduction of documents or the like, e.g. facsimile transmission; Details thereof
Definitions
- the present invention relates to an image reading device, a control method thereof, and a program.
- image reading device By reading an image of a document using an image reading device and generating image data of the read image, it becomes possible to electronically store image data corresponding to the image of the document or to perform information processing using the image data. Furthermore, when a document reading device equipped with an ADF (Auto Document Feeder) is used, it is possible to read images of a large number of documents more efficiently and generate image data.
- the image data of the read image obtained by the image reading process can be transferred to a terminal device (information processing device) such as a PC or mobile terminal and used for viewing or data processing.
- Patent Document 1 describes a technology in which an image reading device starts a scan process in response to a scan instruction received via a settings screen provided to the web browser, then transitions to a scanning status, and as long as that status does not change, image data can be provided via the web browser.
- a session between a terminal device, such as a mobile terminal or PC, and an image reading device is unintentionally disconnected while a scan process is being performed, the image reading device will be unable to identify (determine) the terminal device that sent the scan instruction.
- a session (connection) may be disconnected, for example, when the terminal device goes into power saving mode or the display screen of a web browser is changed to another screen. If it becomes impossible to identify the terminal device that sent the scan instruction, it may become impossible to transmit image data of the read image obtained by the scan process to the terminal device.
- the present invention provides a technology that enables an image reading device to send image data of a read image to a terminal device even if a session with the terminal device is disconnected while a reading process (scanning process) is being performed.
- An image reading device includes a management means for establishing and managing a session with a terminal device when access is received from the terminal device capable of communicating via a network, and a processing means for performing a reading process for reading an image of a document and generating image data of a read image according to a reading instruction received via the session, and the processing means continues to execute the reading process while it is receiving access via the session at a preset time interval.
- the image reading device can transmit image data of the read image to the terminal device. This reduces the possibility that image data of the read image will be lost when the session is disconnected, and improves user convenience.
- FIG. 1 is a cross-sectional view showing a schematic configuration example of an image reading device 100.
- FIG. 2 is a cross-sectional view showing a schematic configuration example of the image reading unit 104.
- FIG. 3 is a block diagram showing an example of the hardware configuration of the image reading device 100.
- FIG. 4 shows an example of the configuration of an image reading system.
- FIG. 5 is a block diagram showing an example of the functional configuration of the image reading device 100.
- FIG. FIG. 6 shows an example of a setting screen for scan settings displayed on the terminal 200.
- FIG. 7 is a flowchart showing an example of a procedure for terminal discrimination processing in the image reading device 100.
- FIG. FIG. 1 is a cross-sectional view showing a schematic configuration example of an image reading device 100.
- FIG. 2 is a cross-sectional view showing a schematic configuration example of the image reading unit 104.
- FIG. 3 is a block diagram showing an example of the hardware configuration of the image reading device 100.
- FIG. 4
- FIG. 8 shows an example of a management table used for managing terminals.
- FIG. 9 shows an example of a setting screen for setting the approval method.
- FIG. 10 is a flowchart showing an example of the procedure of an image reading process in the image reading device 100.
- FIG. 11 is a flowchart showing an example of the procedure of the approval process in the terminal 300.
- FIG. 12 shows an example of an operation screen for approval processing.
- FIG. 13 shows an example of a setting screen for setting the transmission method.
- FIG. 14 is a flowchart showing an example of the procedure of an image reading process executed in the image reading device 100.
- FIG. 15 shows an example of the read image information.
- FIG. 16 is a flowchart showing an example of the procedure of the process (S1405) for determining the transmission destination of the image data of the scanned image.
- FIG. 17A shows an example of a login screen.
- FIG. 17B shows an example of a scan settings screen.
- FIG. 17C shows an example of a job registration screen.
- FIG. 18 is a flowchart showing an example of a procedure of a scan operation.
- FIG. 19 shows an example of a favorite scan screen displayed on the terminal 200.
- FIG. 20 is a flowchart showing an example of a procedure for a scan operation based on scan settings registered in favorites.
- FIG. 21 shows an example of a screen displayed on the operation unit 130. As shown in FIG.
- ⁇ Image reading device> 1 is a cross-sectional view showing a schematic configuration example of an image reading device 100 according to the present embodiment.
- the image reading device 100 includes a platen 102 on which a document 101 to be read is placed.
- the document on the platen 102 is detected by a document detection sensor 110.
- the documents on the platen 102 are separated one by one by a paper feed roller 106 and sent to a conveying path 108.
- the document 101 sent to the conveying path 108 and conveyed through the conveying path 108 is detected by a registration sensor 109.
- the image reading unit 104 starts reading an image of the document 101 (an image formed on the document) being conveyed through the conveying path 108.
- the image reading device 100 of this embodiment has two image reading units 104 on either side of a transport path 108.
- One image reading unit 104 is configured to read an image on a first side (front side) of the original 101, and the other image reading unit 104 is configured to read an image on a second side (back side) of the original 101.
- a background plate 105 is disposed at a position facing each image reading unit 104 across the transport path 108.
- the background plate 105 is, for example, a black member. Note that the image reading device 100 may be configured to have only one image reading unit 104.
- the original 101 whose image has been read by the image reading unit 104, is transported along the transport path 108 by the transport rollers 107 towards the discharge section 103, and is finally discharged to the discharge section 103 and stacked there.
- the original detection sensor 111 provided in the discharge section 103 is used to detect the original 101 that has been discharged to and stacked on the discharge section 103.
- the original detection sensor 112 provided near the discharge outlet of the transport path 108 is used to detect the original 101 remaining on the transport path 108.
- the image reading device 100 further includes a multi-feed detection sensor 120 located along the transport path 108 between the feed roller 106 and the registration sensor 109.
- the multi-feed detection sensor 120 is used to detect multi-feeds when multiple documents are transported along the transport path 108 in an overlapping state (a state in which multiple documents are in close contact with each other due to static electricity or the like).
- the multi-feed detection sensor 120 is, for example, an ultrasonic sensor equipped with an ultrasonic transmitter and receiver. When an ultrasonic sensor is used, multi-feeds can be detected based on the amount of ultrasonic attenuation when documents (document sheets) pass along the transport path 108.
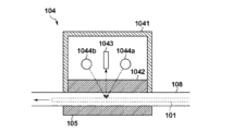
- FIG. 2 is a cross-sectional view showing a schematic configuration example of the image reading unit 104.
- the image reading unit 104 comprises a housing 1041 and a glass plate 1042 facing the transport path 108.
- the inside of the image reading unit 104 is sealed by the housing 1041 and the glass plate 1042.
- an image sensor 1043 and a pair of light-emitting units 1044a and 1044b are provided inside the image reading unit 104.
- the image sensor 1043 is composed of a line image sensor, for example a CCD line sensor or a contact image sensor.
- the image sensor 1043 is arranged along a direction (main scanning direction) perpendicular to the transport direction of the original 101.
- the image sensor 1043 reads the image of the original 101 being transported line by line in the main scanning direction and outputs an image signal.
- the light-emitting unit 1044a has a light source arranged upstream of the image sensor 1043 in the transport direction of the original 101.
- the light-emitting unit 1044b has a light source arranged downstream of the image sensor 1043 in the transport direction of the original 101.
- the image sensor 1043 is arranged at a position sandwiched between the light-emitting units 1044a and 1044b.
- the light-emitting units 1044a and 1044b are each arranged parallel to the image sensor 1043 along the main scanning direction, and are composed of an LED array including a plurality of LEDs. As shown in FIG. 2, the image sensor 1043 reads the image on the original 101 by receiving reflected light of the light irradiated onto the original 101 by the light-emitting units 1044a and 1044b.
- FIG. 3 is a block diagram showing an example of the hardware configuration of the image reading device 100 according to this embodiment.
- the control unit 10 of the image reading device 100 includes a CPU 11, a RAM (random access memory) 12, a storage unit 13, an input/output I/F (interface) 14, and a communication I/F 15.
- the CPU 11 is composed of one or more processors.
- the CPU 11 controls the entire image reading device 100 by reading out programs stored in the storage unit 13 into the RAM 12 and executing them.
- the RAM 12 is used as a working area by the CPU 11.
- the storage unit 13 is configured to store various programs (e.g., control programs) executed by the control unit 10, and various information or data used in processing by the control unit 10. For example, image data obtained by reading an image of a document using the image sensor 1043 is saved in the storage unit 13.
- the storage unit 13 is composed of one or more storage devices (memories), such as, for example, a ROM (read only memory), a HDD (hard disk drive), and an SSD (solid state drive).
- the input/output I/F 14 is connected to a drive circuit 24 and an image processing circuit 26.
- the drive circuit 24 drives the light emitting parts 1044a and 1044b of the image reading unit 104.
- the image processing circuit 26 is connected to an image sensor 1043 via an ADC (analog/digital converter) 25.
- the image sensor 1043 reads the image of the original 101 being conveyed line by line in the main scanning direction and outputs an image signal.
- the ADC 25 converts the analog image signal output from the image sensor 1043 into digital image data and outputs it.
- the image processing circuit 26 performs image processing such as shading correction on the image data output from the ADC 25.
- the CPU 11 acquires the image data output from the image processing circuit 26.
- the communication I/F 15 is an interface for communicating with an external device, and may be configured as a wired communication interface, a wireless communication interface for wireless LAN communication or Bluetooth (registered trademark) communication, a USB interface, or a SCSI interface.
- the communication I/F 15 is a wired communication interface connected to a wired LAN (local area network).
- the image reading device 100 may be equipped with multiple communication I/Fs 15 connected to individual external devices or networks.
- the image reading device 100 may be equipped with multiple communication I/Fs 15, including a USB or SCSI interface directly connected to an external device, and a wired communication interface connected to a wired LAN.
- the communication I/F 15 can communicate with external devices according to any communication protocol and via any communication path. When multiple external devices are connected, different communication protocols and communication paths may be used for each external device.
- the communication I/F 15 may be configured to communicate with the terminal 200 (FIG. 4) using the HTTP protocol and to communicate with the terminal 300 (FIG. 4) using the FTP protocol.
- the image reading device 100 of this embodiment has a web server 500 (FIG. 5) that can communicate with external devices according to the HTTP protocol. Therefore, the external device can access the web server 500 of the image reading device 100 by a web browser running on the external device.
- the image reading device 100 includes an operation unit 130 connected to the control unit 10.
- the operation unit 130 includes an input unit and an output unit.
- the input unit includes a touch panel, hard keys, etc., and accepts various operations from the user.
- the output unit includes a display device such as a liquid crystal display, and outputs (displays) various information to the user.
- the input unit and the output unit may be realized as a single module, such as a touch panel display.
- the operation unit 130 may display a screen showing the current state (status) of the scanner (image reading device 100) by the CPU 11.
- the scanner state may be, for example, a state in which a document (sheet) has been jammed on the transport path, a state in which a double feed has been detected and transport of the document has been intentionally stopped, a cover open state in which the cover of the image reading device 100 is open and the document cannot be transported, a scanning in progress state in which the document is transported and scanned, a state in which image processing is being performed on the image data obtained by scanning the image of the document, etc.
- the above-mentioned scanner state may be shown by a character string or an icon.
- the operation unit 130 may also show the above-mentioned scanner state by a sound or a blinking state of an LED, etc.
- the operation unit 130 may also be provided with a display device composed of segment LEDs.
- the control unit 10 when the control unit 10 (CPU 11) receives an instruction to start reading an original (reading instruction) by operating the operation unit 130 or from an external device, the control unit 10 starts image reading processing for the original 101 set on the original table 102.
- the CPU 11 first drives the paper feed roller 106 to start transporting the original 101 from the original table 102.
- the originals are separated one by one and transported through the transport path 108.
- the CPU 11 controls the image reading unit 104 to read the image of the original 101 based on the timing of the detection.
- the CPU 11 controls the emission of light from the light-emitting units 1044a and 1044b and drives the image sensor 1043 to read the image of the original 101.
- the image reading unit 104 reads the image of the original 101 using the image sensor 1043 to generate image data of the read image, and outputs the generated image data to the control unit 10.
- the control unit 10 stores the obtained image data in the storage unit 13 of the image reading device 100.
- the image data may be stored in an external device (server device) that can communicate with the image reading device 100.
- the image reading system includes an image reading device 100 and terminal devices (terminals) 200 and 300 that can communicate with the image reading device 100 via a network.
- the network includes a wired LAN and a wireless LAN.
- the communication I/F 15 of the image reading device 100 is communicatively connected to the terminals 200 and 300 via the network.
- the network may include a mobile network, the Internet, a public wireless line, and the like.
- the terminals 200 and 300 are configured as information processing devices such as personal computers (PCs) or mobile terminals.
- the terminals 200 or 300 are configured as mobile terminals such as smartphones or tablet terminals, the terminals may communicate with the image reading device 100 by wirelessly connecting to a wireless access point for wireless LAN communication and connecting to a wired LAN via the wireless access point.
- the terminal 200 is a terminal device used by a user (operating user) who operates the image reading device 100.
- the terminals 200 and 300 are used by different users. The following mainly describes the terminal 200, but the same applies to the terminal 300.
- the terminal 200 has a web browser 210 pre-installed.
- the user operates the image reading device 100 via the web browser 210 running on the terminal 200.
- the terminal 200 accesses the web server 500 of the image reading device 100 via the web browser 210 in accordance with the user's operation.
- the web browser 210 obtains HTML (Hyper Text Markup Language) data from the web server 500 as screen data corresponding to an operation screen for operating the image reading device 100, and displays the operation screen based on the obtained HTML data.
- HTML Hyper Text Markup Language
- the terminal 200 web browser 210) receives an instruction to start reading a document (scan instruction) from the user via the displayed operation screen, it transmits the scan instruction to the image reading device 100.
- the image reading device 100 performs the image reading process (scanning process) as described above in accordance with the scan instruction received from the terminal 200.
- the image reading device 100 starts transporting the original 101, reads the original using the image reading unit 104, and stores the image data of the obtained read image in the storage unit 13.
- the image reading device 100 executes a terminal discrimination process, which will be described later using FIG. 7, using the web server 500 (FIG. 5).
- the stored image data is then transmitted (downloaded) to an external device such as the terminal 200 via the network.
- the image reading device 100 of this embodiment is performing a scan process in accordance with a scan instruction from the terminal 200, it accepts access from the terminal 200 using an individual URL (individual URL for acquiring status) generated by the terminal discrimination process.
- the terminal 200 can acquire status information indicating the status of the image reading device 100 (scanning, scan completed, error occurring, etc.).
- the terminal 200 is also provided with an operation screen (status screen) that includes a display of the status, and can display the operation screen using the web browser 210.
- the image reading device 100 transmits HTML data of an operation screen for downloading (obtaining) the image data stored in the memory unit 13 to the terminal 200 in response to access to the individual URL.
- This HTML data describes a URL for referencing (receiving) the image data.
- the user of the terminal 200 can instruct the download of the image data by using a link for accessing the above URL, which is included in the operation screen displayed by the web browser 210 based on the HTML data.
- the image reading device 100 may guide (i.e., redirect) the terminal 200 to change the access destination from the individual URL for status acquisition to the individual URL for downloading, depending on the completion of the scan process.
- the image reading device 100 may perform display control to transition the display screen of the web browser 210 from the status screen provided in response to the access to the individual URL to a download screen where the image data can be downloaded.
- the image reading device 100 After the terminal 200 acquires the image data of the scanned image stored in the storage unit 13, the image reading device 100 performs a process to delete (discard) the image data from the storage unit 13.
- image reading device 100 of this embodiment operates so as not to provide a scan setting screen (FIG. 6) to another terminal (terminal 300, etc.) until terminal 200 acquires image data of the scanned image.
- a scan setting screen FIG. 6
- the web browser of terminal 300 accesses web server 500 of image reading device 100, it cannot acquire screen data for the scan setting screen and cannot display the scan setting screen.
- the device may be configured to provide a scan setting screen to another terminal.
- ⁇ Functional configuration of the image reading device> 5 is a block diagram showing an example of a functional configuration (example of a software configuration) of the image reading device 100.
- the image reading device 100 has a Web server 500 as an application that runs on the OS.
- the CPU 11 starts the OS and then starts the Web server 500.
- the Web server 500 runs as a process that resides on the CPU 11 and waits until it receives a request via the network. In response to receiving the request, the Web server 500 returns a response according to the request.
- the image reading device 100 has a UI display application (UI display app) 501, a scan application (scan app) 502, and a terminal management application (terminal management app) 503 as applications that run on the Web server 500.
- UI display app 501, the scan app 502, and the terminal management app 503 are started in response to the start of the Web server 500, and run on the Web server 500.
- the UI display application 501 controls the display of the screen on the operation unit 130.
- the scan application 502 performs image reading processing (scanning processing) by controlling the image reading unit 104 via a scanner driver (not shown) in accordance with an instruction to start image reading processing (scan instruction) received by the Web server 500.
- the terminal management application 503 generates a session ID and a URL unique to the session ID for a terminal accessing the image reading device 100 (Web server 500) by a terminal discrimination process described below, and uses them to manage the terminal and discriminate (identify) the terminal.
- the image reading process is executed according to a reading instruction (scan instruction) transmitted from the terminal 200 to the image reading device 100.
- the user of the terminal 200 operates the terminal 200 to start the Web browser 210, and inputs a URL (in this embodiment, "http://192.168.0.2/") indicating the Web server 500 of the image reading device 100 in a URL input field on the browser screen displayed by the Web browser 210.
- a URL in this embodiment, "http://192.168.0.2/"
- the Web browser 210 of the terminal 200 accesses the Web server 500 to establish communication with the Web server 500 of the image reading device 100.
- the Web server 500 When the Web server 500 receives access from the terminal 200 (Web browser 210), it establishes communication with the terminal 200. Communication between the image reading device 100 (Web server 500) and the terminal 200 (Web browser 210) is performed using, for example, the HTTP protocol. Note that communication between the image reading device 100 and the terminal 200 may be achieved using an application other than the Web server 500 of the image reading device 100 and the Web browser 210 of the terminal 200.
- the Web browser 210 When communication (connection) between the Web server 500 and the Web browser 210 is established, the Web browser 210 obtains HTML data (screen data) for a setting screen for reading settings (scan setting screen) from the Web server 500. Based on the HTML data obtained from the Web server 500, the Web browser 210 displays a scan setting screen 600, as shown in FIG. 6, on the display unit of the terminal 200.
- the scan setting screen 600 it is possible to set the reading color mode and resolution for reading an image.
- the user inputs the reading settings (scan settings) using the operation unit (e.g., a touch panel) of the terminal 200.
- the operation unit e.g., a touch panel
- the web browser 210 transmits the scan settings and a scan instruction to the web server 500.
- the Web server 500 operates so as not to accept a scan instruction from the Web browser 210.
- the Web server 500 also operates so as not to accept a scan instruction from the Web browser 210 even when the started scan process is stopped due to an error.
- the Web browser 210 displays a screen based on the HTML data sent from the Web server 500, including a message indicating that the user must wait until the scan instruction can be sent (for example, "Another user is scanning. Please wait a moment").
- the Web server 500 When the Web server 500 receives scan settings and a scan instruction from the terminal 200 (Web browser 210), it passes the scan settings and the scan instruction to the scan application 502. The scan application 502 starts executing the scan process according to the scan settings and the scan instruction received from the terminal 200.
- the scan app 502 controls the scan process so that the documents set on the platen 102 are transported one by one in sequence and the image reading unit 104 reads the images of the documents. The scan process continues until all documents set on the platen 102 are gone. Note that a set number of documents may be set as the scanning target, or the number of documents to be read may be set in the scan settings received from the terminal 200. In that case, the number of documents to be read may be added as a setting item in the scan setting screen 600.
- the scan app 502 saves the image data generated by the image reading unit 104 in the memory unit 13. When the saving of the image data is completed, the scan app 502 notifies the terminal management app 503 of the completion of the scan process and ends the execution of the scan process.
- the scan app 502 displays a message indicating the occurrence of the error on the operation unit 130 (via the UI display app 501) and interrupts the scan process while retaining the session ID.
- the scan app 502 confirms that the error has been resolved, it displays a button on the operation unit 130 to instruct the user to resume the scan process.
- the scan app 502 reconnects with the same session ID as before the interruption and resumes the scan process.
- ⁇ Terminal discrimination process> 7 is a flowchart showing an example of the procedure of the terminal discrimination process executed in the image reading device 100.
- the terminal discrimination process is executed by the terminal management application 503. This process is started when the Web server 500 receives an HTTP request including scan settings and a scan instruction from the Web browser 210 of the terminal 200 and passes the HTTP request to the terminal management application 503. As described above, the terminal discrimination process is executed in parallel with the scan process by the scan application 502.
- the terminal management application 503 (CPU 11) receives the above HTTP request from the scan application 502, thereby acquiring the scan settings and scan instructions, and proceeds to S702.
- the terminal management application 503 records the IP address of the terminal 200 acquired from the received HTTP request as the source IP address of the scan instruction, and proceeds to S703.
- the terminal management application 503 issues (generates) a session ID (linked to the source IP address) to the terminal 200.
- the scan application 502 receives a scan instruction (read instruction) via the session established with the terminal 200 (Web browser 210), and performs scanning processing according to the received scan instruction.
- the issued session ID identifies the session established with the terminal 200 (Web browser 210).
- the terminal management application 503 issues an individual URL to the terminal 200.
- the individual URL is a URL that can be accessed by the terminal 200 (Web browser 210), which is the terminal device that sent the scan instruction, and is a URL unique to this session ID (terminal 200).
- the terminal management application 503 sets the status response. Using the issued individual URL, the terminal 200 can send a status acquisition request to check status information indicating the status of the scan process being performed by the scan application 502 (e.g., scanning in progress, scan completed, or an error has occurred). When a status acquisition request is received using the individual URL, the terminal management application 503 sets the status response so that it can respond to the request.
- the terminal management application 503 notifies the terminal 200 (Web browser 210) of the access information including the individual URL issued in S703.
- the notification including the access information is sent to the terminal 200 (Web browser 210) as a response to the HTTP request received in S701.
- scanning is started here in response to the scan instruction accepted in S701, but scanning may be started when accepted in S701 and continued in parallel with the processing from S702 onwards.
- the time from the scan instruction to the start of scanning can be shortened.
- the timeout time in the timeout determination in the subsequent S708 may be extended only the first time, but even if this is not done, a timeout will not occur because the last access time will not be recorded as in the embodiment described below.
- the terminal management application 503 manages the scan settings and scan instructions received from the terminal 200 in association with the session ID generated in S703, the source IP address, and the individual URL.
- FIG. 8 shows an example of a management table used by the terminal management application 503 to manage terminals accessing the image reading device 100.
- the management table is stored in the storage unit 13, for example. As shown in FIG. 8, the management table stores the source IP address, the session ID, and the individual URL in association with each other. Although not shown in FIG. 8, information indicating the scan settings and scan instructions may be further managed in association with these, or may be managed in association with the session ID in a separate table. In this way, when the terminal management application 503 accepts access from the terminal 200, it obtains the IP address of the terminal 200 as the source, and manages the session ID and the individual URL in association with the source IP address.
- terminal management application 503 notifies terminal 200 (Web browser 210) of access information including this individual URL.
- the data format included in the response sent to the terminal 200 may be, for example, the JSON format.
- the access information included in the response sent to the terminal 200 is expressed as ⁇ "IP_ADDRESS”: "192.168.0.3”, “SESSIONID”: "1”, "uniqueURL”: "http://192.168.0.2/scan/9d29d426-4cfd-4bf9-b0b7-e02b1e007c61/” ⁇ .
- the terminal management application 503 determines whether the terminal 200 (Web browser 210) has accessed the individual URL notified to the terminal 200 in S706.
- the terminal management application 503 checks whether the terminal 200 has accessed the individual URL at a predetermined time interval (e.g., every second). This time interval is generally referred to as a polling interval.
- the polling interval may be changeable by a user operation.
- the polling interval may be changed, for example, via an operation screen displayed on the operation unit 130 by the UI display application 501, or via a setting application that can be used in a terminal device such as the terminal 200.
- Setting data indicating the polling interval is stored in the storage unit 13.
- the terminal management app 503 proceeds to process from S707 to S709, and if there has been no access, the process proceeds to S708.
- the terminal management app 503 determines whether a timeout has occurred by checking that the timeout period has elapsed since the last access time from the terminal 200.
- the timeout time is set in advance, and the setting data is stored in the storage unit 13. If the last access time is not recorded, the terminal management application 503 may regard the current time as the last access time and treat it as if a timeout has not occurred.
- the timeout time generally depends on the settings of the Web server 500 when the browser session maintenance is lost, but it is desirable to set it to several minutes from the viewpoint of memory saving. In this embodiment, the timeout time is set to 30 minutes, which is longer than that.
- the timeout time may be changeable by a user operation. For example, the timeout time may be changed via an operation screen displayed on the operation unit 130 by the UI display application 501.
- the terminal management application 503 returns the process to S707, and if the timeout time has elapsed, the terminal management application 503 ends the process according to the procedure in FIG. 7.
- the terminal management application 503 causes the scan application 502 to end (cancel) the scan process and delete (discard) the image data of the scanned image stored in the storage unit 13. If an error occurs in the scan process by the scan application 502 and the error state is not resolved, the terminal management application 503 also ends the process according to the procedure in FIG. 7.
- the scan application 502 displays a message on the operation unit 130 indicating that the scan instruction has timed out, ends the scan process, and deletes the image data acquired by the scan process from the storage unit 13.
- the terminal management app 503 may display an error message on the operation unit 130, such as "An XX (jam, double feed, open cover, etc.) error has occurred.
- the scan operation has been canceled because no user operation was performed for a certain period of time. At this time, it is possible to instruct scanning once the error is resolved.”
- the terminal management app 503 may display an error message on the operation unit 130, such as "An XX (jam, double feed, open cover, etc.) error has occurred.
- the scan operation is continuing due to user operation. At this time, it is possible for the user currently scanning to obtain an image once the error is resolved.”
- the terminal management application 503 updates the last access time stored in the storage unit 13 to the current time in response to the access to the individual URL, and proceeds to S710.
- the terminal management application 503 determines whether or not a scan completion notification has been received from the scan application 502. If the terminal management application 503 has received a scan completion notification, the process proceeds to S711. On the other hand, if the terminal management application 503 has not received a scan completion notification, the terminal management application 503 communicates with the scan application 502 to obtain the current status of the scan process. Furthermore, the terminal management application 503 transmits status information indicating the status of the scan process to the terminal 200 (Web browser 210) in response to the HTTP request issued from the terminal 200 (Web browser 210) to the individual URL, and returns the process to S707.
- the terminal management app 503 sends status information indicating the error state to the terminal 200.
- the web browser 210 displays a message on the browser screen urging the user to resolve the error state, such as "An error occurred during scanning. Please resolve the error by following the display on the device screen.”
- the terminal management application 503 first notifies the terminal 200 of the completion of the scan process by a response to the HTTP request issued from the terminal 200 (Web browser 210) to the individual URL. Furthermore, in S712, the terminal management application 503 transmits HTML data (screen data) of the scan completion screen to the terminal 200 so that the terminal 200 (Web browser 210) can obtain image data of the read image obtained by the scan process, and ends the process.
- the scan completion screen includes a link for accessing an individual URL for downloading the image data, and the user of the terminal 200 can use the link to instruct the download of the image data.
- the terminal management application 503 may guide (i.e., redirect) the Web browser 210 to change the access destination from the individual URL for status acquisition to the individual URL for downloading in response to the completion of the scan process, and display the scan completion screen.
- the terminal management app 503 may release the management state of the terminal 200 using the management table in accordance with a specified condition. For example, when a scan instruction is received from a terminal device other than the terminal 200, the terminal management app 503 may delete the session ID and individual URL corresponding to the terminal 200 from the management table. Alternatively, when image data of a scanned image is acquired (downloaded) by the terminal 200, the terminal management app 503 may delete the session ID and individual URL corresponding to the terminal 200 from the management table. This allows the terminal management app 503 to release the management state of the terminal 200 using the management table at an appropriate time.
- the terminal management application 503 (CPU 11) receives access from a terminal device capable of communicating via a network, it generates a session ID of a session established with the terminal device and an individual URL unique to the session ID.
- the terminal management application 503 manages the session ID and the individual URL in association with each other.
- the scan application 502 performs a scan process (reading process) that reads an image of a document and generates image data of the read image according to a reading instruction received via the established session.
- the scan application 502 continues to execute the scan process while it is receiving access to the individual URL at a preset time interval (polling interval).
- the terminal management application 503 can identify (determine) the terminal device based on access to the individual URL.
- the terminal management application 503 accepts access to the individual URL after the scan process is completed (even after the session is disconnected), it provides the terminal device with an operation screen for obtaining image data of the read image. This makes it possible for the image reading device 100 to send image data of the read image to the terminal device even after the session is disconnected. This reduces the possibility that image data of the read image will be lost due to the session being disconnected, and improves user convenience.
- the session with the image reading device 100 may be disconnected, for example, by switching to a power saving mode or by changing the display screen of the web browser to another screen. Even in this case, as long as the session ID and individual URL associated with the IP address of the terminal device are held by the terminal management application 503, image data of the scanned image can be obtained by accessing the individual URL.
- the image reading device 100 stores the image data of the read image and controls access to the image data, but these functions may be performed by a server device (information processing device) external to the image reading device 100. In that case, the image reading device 100 transmits the image data obtained by the scan process to the server device, and the server device manages the received image data and controls access to the image data.
- a server device information processing device
- T1 ⁇ T2 30 minutes
- the above-mentioned notification may be executed by displaying a message on the operation unit 130 of the image reading device 100, or information capable of identifying the terminal 200 may be stored in the management table of FIG. 8, and notification may be executed using push notification, short-range wireless communication, or the like based on that information.
- the system may be configured to be able to reconnect when the disconnected terminal 200 attempts to access using the same session ID after the first timeout period T1 has elapsed. That is, when the terminal management application 503 receives an access from the terminal 200 using the same session ID after the first timeout period T1 has elapsed, the application may re-establish a session with the terminal 200 using that session ID. Furthermore, at that time, in order to reconnect, authentication information may be exchanged through additional processing (authentication processing of the terminal 200 may be performed). For example, the authentication information may be acquired and transmitted by reading a QR code (registered trademark) displayed on the operation unit 130 of the image reading device 100.
- QR code registered trademark
- the terminal management app 503 may be configured to be connectable by other terminal devices such as the terminal 300 after the first timeout period T1 has elapsed. That is, when the terminal management app 503 receives access from a terminal device other than the terminal 200 after the first timeout period T1 has elapsed, the terminal management app 503 may operate to establish a new session with the terminal device. At this time, the scan process that was being executed in response to a scan instruction from the terminal 200 may be finalized at that point, and the terminal 200 may be configured to only be able to download image data that has been acquired up to that point.
- the system constantly checks whether access to the individual URL has timed out during the scan process, but this is not limited to this.
- the system may be configured to start counting the time when the scan is completed, and discard the session when the timeout period has elapsed since the scan was completed. Even in this case, only terminals 200 that know the individual URL can access the image data from the scan, which improves user convenience while maintaining security.
- the image reading device 100 may be configured to perform a reconnection process involving authentication of the terminal 200 when it accepts access to an individual URL from the terminal 200 after the session with the terminal 200 has been disconnected. For example, when the image reading device 100 receives a reconnection request from the terminal 200 after the session has been disconnected, it requests the terminal 200 to transmit authentication information such as a passcode for authenticating the terminal 200. When the image reading device 100 receives the authentication information from the terminal 200, it performs authentication based on the received authentication information, and permits the terminal 200 to access the individual URL only if the authentication is successful.
- authentication information such as a passcode for authenticating the terminal 200.
- the request for authentication information to the terminal 200 may be made, for example, as follows:
- the image reading device 100 displays a two-dimensional code obtained by encoding a randomly generated passcode on the operation unit 130, and provides the terminal 200 with an operation screen that prompts the user to read the displayed two-dimensional code.
- the two-dimensional code is, for example, a QR Code (registered trademark).
- the user uses the camera function (photographing function) of the terminal 200 to read the two-dimensional code displayed on the operation unit 130.
- the terminal 200 transmits the passcode obtained by reading the two-dimensional code to the image reading device 100.
- the image reading device 100 permits the terminal 200 to access an individual URL that is managed in association with the IP address of the terminal 200. After access to the individual URL is permitted, the terminal 200 can resume the scan process or obtain (download) image data of the read image obtained by the scan process by accessing the individual URL as described above.
- the image reading device 100 may disconnect the session with the terminal 200 in response to a release request by the user of the terminal 300 to release the occupancy of the image reading device 100. For example, when the operation unit 130 is operated by another user, the image reading device 100 determines that a release request has been issued. Even if the session between the image reading device 100 and the terminal 200 is disconnected in response to the release request, the terminal 200 can resume the scan process or obtain (download) image data of the read image obtained by the scan process by accessing an individual URL, as in the above embodiment.
- the terminal 200 may be able to resume the scan process or obtain (download) image data of the read image obtained by the scan process by accessing an individual URL.
- the image reading device 100 reads an image of a document, saves the image data of the read image obtained in a predetermined storage location, and requests approval for retrieval of the image data from the storage location from an approved user (for example, a third party such as the operator user's superior).
- the storage location of the image data may be the storage unit 13 of the image reading device 100, or an external device (server device) that can communicate with the image reading device 100.
- the image reading device 100 controls access to the image data so that the image data can be retrieved from the storage location by the operating user who instructed the execution of the image reading process only when approval is obtained from the approved user.
- the configuration of the image reading device 100 in the second embodiment is the same as that in the first embodiment.
- the second embodiment may be combined with the first embodiment, that is, the image reading device 100 may be configured to perform the process of the first embodiment and the process of the second embodiment, or may be configured to perform only the process of the second embodiment.
- the approval method for performing the process of requesting the approval user for the above-mentioned approval is set in advance.
- the approval method may be set, for example, to a destination of the approval request, to set the contents of the data to be sent together with the approval request, and to set the approval process.
- the approval method is set in advance by a user (administrative user) who manages the operation settings of the image reading device 100.
- the administrative user can log in to the image reading device 100 using the operation unit 130 and perform setting operations on the image reading device 100.
- the setting operations are performed from an external device via a Web server 500 as described below.
- the approval method may be set at any time before the image data obtained by the image reading process is acquired (sent). For example, the approval method may be set while the image reading process is in progress, or after the image reading process is completed and before the image data is acquired.
- the approval method may also be set by a user other than the administrative user of the image reading device 100. If the setting (changes) are made by a user other than the administrative user, log information may be kept indicating who made the setting in order to prevent unauthorized settings.
- FIG. 9 shows an example of a setting screen for setting the approval method.
- the setting screen 900 is displayed on the operation unit 130 by the CPU 11 (e.g., an approval management application (not shown) running on the Web server 500), but it may also be displayed on an external device (e.g., a terminal device such as a PC) that can communicate with the image reading device 100.
- the setting screen is displayed on the external device based on screen data (e.g., HTML data) sent from the image reading device 100, and the input contents on the setting screen are sent from the external device to the image reading device 100.
- the image reading device 100 sets the approval method according to the input contents received from the external device.
- the CPU 11 displays the setting screen 900 on the operation unit 130 in accordance with the administrative user's operation. As shown in FIG. 9, the setting screen 900 allows the destination of the approval request and the timeout period for the approval process by the approving user to be set. The CPU 11 sets the approval method in accordance with the input via the setting screen 900.
- an email address and a mail server can be set as the destination of the approval request.
- the approval request is sent using email.
- the email address used by the approval user to send and receive emails using the terminal 300 is set as the destination of the approval request.
- a mail server that can be used to send emails is set as the sending server.
- the setting screen 900 may be configured to allow multiple destinations to be set. When multiple destinations are set, for example, even if an approval user is absent and cannot perform approval processing in response to the approval request, another approval user can perform the approval processing.
- the timeout period is used to delete the image data subject to the approval process and terminate the process of waiting for approval by the approving user if approval is not given within a certain period of time after the approval request is sent.
- the timeout period can be selected from, for example, "10 minutes,” “1 hour,” and “none (infinite).” In the following, as an example, the timeout period is set to "10 minutes.”
- the CPU 11 stores setting data indicating the settings on the setting screen 900 in the storage unit 13.
- the setting data may be stored in an external device with which communication is possible via the communication I/F 15, for example. In that case, the CPU 11 obtains and uses the setting data from the external device as necessary.
- the setting items in the setting screen 900 shown in FIG. 9 are just an example, and other setting items may be present alternatively or additionally.
- a destination for sending an approval request via a general communication tool such as chat may be set as the destination.
- the setting screen 900 may accept input of only some of the information (e.g., an employee ID), and based on the input information, the remaining information (e.g., an email address corresponding to the employee ID) may be obtained from an external database.
- the setting screen 900 may also be configured to allow multiple approval methods to be set (selected).
- ⁇ Processing Procedure> 10 is a flowchart showing an example of the procedure of an image reading process executed in the image reading device 100.
- the image reading process is executed in accordance with a reading instruction transmitted to the image reading device 100 from the terminal 200 used by an operating user.
- the operating user operates the terminal 200 to launch the web browser 210, and inputs a URL (e.g., "http://192.168.0.2/") indicating the web server 500 of the image reading device 100 into the URL input field on the browser screen displayed by the web browser 210.
- a URL e.g., "http://192.168.0.2/"
- This causes the terminal 200 (web browser 210) to access the web server 500 of the image reading device 100 in order to establish communication with the web server 500.
- various methods can be used to input this URL, and it may be done by reading and decoding a two-dimensional code or text using the camera function of the terminal 200.
- the Web server 500 When the Web server 500 receives access from the terminal 200 (Web browser 210), it starts the process according to the procedure in FIG. 10. At S1001, the Web server 500 establishes communication with the terminal 200 in response to the access from the terminal 200.
- the communication between the image reading device 100 (Web server 500) and the terminal 200 is performed using, for example, the HTTP protocol. Note that the communication between the image reading device 100 and the terminal 200 may be realized using an application other than the Web server 500 of the image reading device 100 and the Web browser 210 of the terminal 200.
- the Web server 500 determines whether or not the establishment of communication (connection) with the terminal 200 has been successful. If the Web server 500 has failed to establish communication with the terminal 200, it ends the process according to the procedure in FIG. 10, and if the establishment of communication with the terminal 200 has been successful, it proceeds to S1003.
- the operating user can use the terminal 200 to configure settings related to image reading.
- the Web browser 210 of the terminal 200 displays, for example, a scan setting screen 600 (FIG. 6) as a Web browser screen on the display unit of the terminal 200 based on HTML data (screen data) acquired from the Web server 500.
- the scan setting screen 600 as an example, the color mode and resolution for image reading can be set.
- the operating user inputs reading settings using the operation unit (e.g., a touch panel) of the terminal 200.
- the Web browser 210 of the terminal 200 transmits the reading settings and reading instructions to the image reading device 100 (Web server 500).
- the Web server 500 receives the reading settings and reading instructions from the terminal 200.
- the scan application 502 running on the web server 500 starts executing the image reading process according to the received reading settings and reading instructions.
- the scan application 502 controls the image reading process so that the documents set on the platen 102 are transported one by one in sequence and the image reading unit 104 reads the images of the documents.
- the image reading process continues until all the documents set on the platen 102 are gone. Note that a set number of documents may be set as the reading target, or the number of documents to be read may be set in the reading settings received from the terminal 200.
- the scan application 502 saves the image data generated by the image reading unit 104 in the storage unit 13, which is set in advance as the saving destination.
- the web server 500 advances the process to S1005.
- the processes of S1005 to S1013 can be executed by an approval management application (not shown) running on the Web server 500.
- This process transmits an approval request for retrieval of image data of the scanned image from the storage unit 13 to the approved user, and when the retrieval of the image data is approved by the approved user, performs access control that allows the operating user to retrieve the image data.
- the CPU 11 generates confirmation information for the image data to be included in the approval request and sent.
- the confirmation information for the image data includes information for enabling the approved user to confirm the image data of the read image stored in the storage unit 13.
- the confirmation information includes a link to an operation screen (URL) on which the image data stored in the storage unit 13 (storage destination) can be confirmed.
- the CPU 11 accepts an access using the link, it provides an operation screen to the terminal device (terminal 300) from which the access originates.
- the CPU 11 accepts an operation indicating approval or prohibition of acquisition of the image data of the read image via the operation screen displayed on the terminal device (terminal 300).
- the storage unit 13 in the image reading device 100 is used as the storage destination for the image data, but this is not limited to this.
- the image data may be configured to be stored in a cloud server that can be accessed via a network such as the Internet to which the image reading device 100 is connected.
- the same location on the same cloud server may be set as the access destination of the terminal 300 in the approval process, or another location may be set.
- the image reading device 100 can store simplified data for confirmation, such as a thumbnail of the image data, in the memory unit 13.
- the CPU 11 sends an approval request for obtaining image data of the scanned image from the storage unit 13, including confirmation information, by e-mail to a preset destination.
- the CPU 11 refers to the setting data stored in the storage unit 13, and sends an e-mail including the approval request to the preset e-mail address via the preset mail server (transmission server).
- the e-mail sent in S1006 is received by the terminal 300 used by the approved user, as described later, and approval processing is performed according to the approval request.
- the CPU 11 saves the sending time of the approval request in the storage unit 13, and proceeds to S1008. This sending time is used in the timeout judgment in S1010, which will be described later.
- e-mail is described as an example of a method for sending an approval request, but this is not limited thereto, and any means capable of notifying the terminal 300 or the approved user that an approval request has been made can be used.
- the CPU 11 determines whether or not a response (approval instruction/prohibition instruction) to the approval request sent by email in S1006 has been received. If the CPU 11 has not yet received a response, the CPU 11 proceeds to S1009 and waits for a predetermined period of time until a response is received. Thereafter, the CPU 11 proceeds to S1010.
- the CPU 11 determines whether or not a preset timeout period has elapsed since the timing of sending the approval request (a timeout has occurred in the approval process) based on the sending time saved in S1007.
- the timeout period is acquired by referencing the setting data saved in the memory unit 13. If the timeout period has not elapsed, the CPU 11 returns to S1008 and waits again until a response is received. On the other hand, if the timeout period has elapsed, the CPU 11 advances the process to S1013.
- the CPU 11 deletes (discards) the image data of the read image from the storage unit 13 (storage destination) and ends the process according to the procedure in FIG. 10.
- the CPU 11 may provide the terminal 200 with a web browser screen including a message indicating that a timeout has occurred in the approval process and that the image data of the read image has been deleted.
- the web browser 210 of the terminal 200 may notify the operating user of the above message by obtaining screen data (HTML data) from the web server 500 and displaying the screen. This timeout process makes it possible to prevent the image data from remaining in the storage destination unless a response to the approval request is received (approval is not obtained from the approving user).
- the process proceeds to S1011.
- the response is received over the network from the terminal 300 used by the approved user.
- the CPU 11 determines, based on the received response, whether the acquisition (transmission) of image data of the scanned image from the memory unit 13 has been approved by the approved user.
- the response to the approval request includes an approval instruction or a prohibition instruction.
- An approval instruction indicates that the acquisition of image data is approved.
- a prohibition instruction indicates that the acquisition of image data is prohibited.
- the CPU 11 advances the process to S1013.
- the CPU 11 deletes (discards) the image data of the scanned image from the storage unit 13 (storage destination) and ends the process according to the procedure in FIG. 10.
- the CPU 11 may provide the terminal 200 with a Web browser screen including a message indicating that the acquisition of image data has not been approved by the approved user (the approval request has been rejected).
- the Web browser 210 of the terminal 200 may notify the operating user of the above message by acquiring screen data (HTML data) from the Web server 500 and displaying the screen.
- the CPU 11 proceeds to S1012.
- the CPU 11 controls access to the image data of the scanned image stored in the memory unit 13 so that the image data can be acquired.
- the CPU 11 provides the operating user's terminal 200 with an operation screen for downloading the image data from the memory unit 13 (storage destination), thereby enabling the operating user to acquire the image data.
- the Web browser 210 of the terminal 200 obtains screen data (HTML data) from the Web server 500, displays an operation screen, and accepts operations by the operating user.
- the Web browser 210 accesses the URL of the linked destination.
- the Web server 500 transmits the image data stored in the storage unit 13 to the terminal 200.
- the Web browser 210 can display a read image corresponding to the image data downloaded from the image reading device 100 (Web server 500) in this way on the Web browser screen.
- the CPU 11 ends the processing according to the procedure in FIG. 10.
- FIG. 11 is a flowchart showing an example of the procedure of approval processing executed in the terminal 300 in accordance with an operation by an approving user.
- the terminal 300 launches an email application installed on the terminal 300 in accordance with the operation of the approving user, and receives an email including an approval request via the launched email application.
- the terminal 300 receives the email including the approval request, it proceeds to S1102.
- the terminal 300 accesses the link destination according to the operation of the approved user for the link included in the email.
- the terminal 300 displays an operation screen on the display unit for accepting an operation indicating approval or prohibition of acquisition of the target image data for the approval process (image data of the read image stored in the storage unit 13 of the image reading device 100).
- the image reading device 100 (CPU 11) accepts an operation by the approved user indicating approval or prohibition of acquisition of the image data via the operation screen thus provided to the terminal 300.
- the link destination may be accessed using, for example, a web browser installed on the terminal 300. In that case, it is preferable to configure the web browser to be launched from the email application.
- FIG. 12 shows an example of an operation screen for approval processing (operation screens 1200 and 1210) displayed as a web browser screen on the terminal 300.
- the web browser of the terminal 300 acquires screen data (HTML data) corresponding to the operation screen 1200 from the web server 500 of the image reading device 100, and displays the operation screen 1200 as a web browser screen.
- This operation screen 1200 is configured to display thumbnail images of each of the multiple read images obtained by reading multiple documents.
- the operation screen 1200 further includes an approval button for approving the acquisition of image data of the read images, and a prohibition button for prohibiting the acquisition.
- This operation screen 1200 can be modified in various ways, and may include, for example, information for identifying the operating user. In that case, such information is included in the approval request received from the image reading device 100. Also, it may be set in the reading settings to send the target image data to a set destination, and in that case, this operation screen 1200 may include information for identifying the destination.
- the approving user checks the thumbnail images displayed on the web browser screen and operates the approve or forbid button. This indicates whether to approve or forbid the operating user from acquiring the image data of the scanned images corresponding to those thumbnail images.
- the operation screen for approval processing may be configured, for example, as operation screen 1210 in FIG. 12.
- Operation screen 1210 is configured to switch between and display multiple scanned images one by one in accordance with the operation of the approving user.
- On operation screen 1200 the approving user can check multiple scanned images that are the subject of the approval processing all at once, while on operation screen 1210, the approving user can check individual scanned images that are enlarged. Note that it may be possible to switch between operation screen 1200 and operation screen 1210 in accordance with the operation of the approving user.
- the terminal 300 After displaying the operation screen in S1102, if the acquisition of the target image data is approved by the approved user by operating the approval button, the terminal 300 proceeds to S1104. In S1104, the terminal 300 closes the operation screen for approval processing, transmits a response including an approval instruction to the image reading device 100 as a response to the received approval request, and ends the processing according to the procedure in FIG. 11.
- the terminal 300 proceeds to S1105.
- the terminal 300 closes the operation screen for approval processing, sends a response including a prohibition instruction to the image reading device 100 as a response to the received approval request, and ends the processing according to the procedure in FIG. 11.
- the response to the approval request is sent using, for example, the HTTP protocol, but other methods (for example, sending using email) may also be used.
- a general communication tool such as chat may be used to confirm the target image data using the link included in the approval request, and the approving user may operate it.
- the functions of such a tool may be used to receive the link and the target image data, and to send a reply (response) including an approval instruction or a prohibition instruction.
- the image reading unit 104 reads an image of a document and generates image data of the read image.
- the CPU 11 (scan application 502) saves the image data generated by the image reading unit 104 in a predetermined storage destination (memory unit 13).
- the CPU 11 (approval management application) transmits an approval request for obtaining the image data stored in the storage destination, the approval request including confirmation information for the image data, to the approved user.
- the CPU 11 receives a response to the approval request indicating that the acquisition of the image data has been approved by the approved user, the CPU 11 controls access to the image data so that the image data can be obtained from an external device such as the terminal 200.
- an approved user can check the image data of a read image with simple operations and give approval for the acquisition of that image data.
- This allows approval processing for the acquisition of image data of a read image to be realized without increasing the burden on the approved user.
- image data can be acquired according to approval by an approved user who has checked the image data, it is possible to more efficiently prevent information leakage (leakage of confidential information) due to the acquisition of image data.
- approval processing by an approved user it is possible to more accurately identify confidential information and prevent the leakage of identified confidential information compared to when the image data of a read image (confidential information) is mechanically determined.
- the CPU 11 (approval management application) links the operating user with the approving user and performs session management for processes such as sending approval requests to the approving users, receiving responses to the approval requests, and sending image data to the operating user. For example, consider a case where, after an image reading process is performed according to the operation of a certain operating user, another operating user causes the image reading device 100 to perform an image reading process before the approval process is completed by the approving user. In this case, two approval requests corresponding to individual operating users will be sent to the approving user, but the above-mentioned session management makes it possible to appropriately manage the approval processes based on each approval request and the acquisition of image data based on the results of the approval processes.
- the confirmation information included in the approval request may include a thumbnail image of a scanned image corresponding to the image data stored in the storage destination (storage unit 13).
- the confirmation information may include the scanned image itself corresponding to the image data stored in the storage destination (storage unit 13).
- the CPU 11 may receive a reply email to the approval request (email) as a response indicating an approval instruction.
- the approving user can confirm the target image data without having to access the link destination, and can issue an approval instruction by simply sending a reply email.
- the confirmation information need not necessarily include a link to the save destination of the target image data, but may include information that allows confirmation of information corresponding to the target image data.
- a thumbnail or other information of the target image data may be stored in a location different from the save destination of the target image data, and a link to that location may be included as confirmation information.
- processing (approval management and access control) of the image data of the scanned image stored in the storage destination may be performed by a device other than the image reading device 100 (for example, an information processing device such as a server device).
- the image reading device 100 determines the destination of image data of a read image obtained by reading an image of a document according to a predetermined switching condition, and transmits the image data to the destination according to a transmission method corresponding to the determined destination.
- the configuration of the image reading device 100 in the third embodiment is similar to that of the first embodiment.
- the third embodiment may be combined with the first embodiment, that is, the image reading device 100 may be configured to perform the processing of the first embodiment and the processing of the third embodiment, or may be configured to perform only the processing of the third embodiment.
- the image reading device 100 is configured in advance to set a transmission method for transmitting image data of a read image obtained by reading an image of a document.
- the transmission method can be configured in advance by a user (administrative user) who manages the operation settings of the image reading device 100.
- the administrative user can log in to the image reading device 100 using the operation unit 130 and perform setting operations for the image reading device 100.
- the transmission method may be set at any time before acquiring (transmitting) the image data obtained by the image reading process. For example, it may be set while the image reading process is in progress, or it may be set after the image reading process is completed and before the image data is transmitted.
- the transmission method may also be set by a user other than the administrative user of the image reading device 100.
- the initial setting may be set by the administrative user, and subsequent settings may be set by another user (for example, a user corresponding to the set destination). If the setting is (changed) by a user other than the administrative user, log information on who set the setting may be kept to prevent unauthorized setting.
- FIG. 13 shows an example of a setting screen for setting the transmission method.
- the setting screen 1300 is displayed on the operation unit 130 by the CPU 11 (e.g., a transmission determination application (not shown) running on the Web server 500), but it may also be displayed on an external device (e.g., a terminal device such as a PC) that can communicate with the image reading device 100.
- the setting screen is displayed on the external device based on screen data (e.g., HTML data) sent from the image reading device 100, and the input contents on the setting screen are sent from the external device to the image reading device 100.
- the CPU 11 sets the setting method according to the input contents received from the external device.
- a plurality of transmission methods for transmitting image data of the scanned image corresponding to a plurality of destinations and a switching condition for switching the destination among the plurality of destinations according to the amount of image data are set.
- the setting of the transmission method includes, for example, the setting of the communication protocol and the communication path used for transmitting the image data.
- two destinations, a first destination and a second destination can be set.
- the first destination is set to be the operating user who operates the image forming apparatus 100 (so that the image data is transmitted to the terminal 200 of the operating user).
- the second destination is set as a destination different from the first destination, so that the image data is transmitted to a user other than the operating user who checks the scanned image.
- the user who checks the scanned image is a third party other than the operating user, and can be, for example, the superior of the operating user.
- a transmission method via a web browser or a transmission method using e-mail can be selected as a transmission method corresponding to the first destination.
- the transmission method via a web browser can be, for example, a method of transmitting image data according to a download instruction using a link for accessing a URL for downloading image data, which is transmitted from the web browser 210 of the terminal 200, or a method of transmitting image data as a response to a status acquisition request for checking the status of the scan process, which is transmitted from the web browser 210.
- the setting screen 1300 for the transmission method via a web browser, it is possible to select whether to use a standard protocol (HTTP) or to use HTTPS, which is a protocol with higher security than HTTP, as a communication protocol to be used for transmission.
- HTTP standard protocol
- HTTPS HTTPS
- e-mail it is possible to set an e-mail address as the destination and a mail server as the communication path.
- the transmission method for the first destination is set to be via a web browser, and the communication protocol is set to not use HTTPS (use HTTP).
- the transmission method corresponding to the second destination it is possible to select a transmission method using e-mail or a transmission method for transmitting image data to a server device (data server).
- a server device data server
- For the transmission method using e-mail it is possible to set an e-mail address as the destination and a mail server as the communication path.
- the transmission method for transmitting image data to the data server it is possible to set an address indicating the storage destination of the image data on the data server, and a communication protocol and communication path to be used for transmission.
- As the communication protocol it is possible to select a standard protocol (FTP) or FTPS, which is a protocol with higher security than FTP.
- FTP Standard protocol
- FTPS a protocol with higher security than FTP.
- As the communication path it is possible to select a path for transmitting directly to the data server or a path using a VPN (Virtual Private Network).
- a transmission method using e-mail is selected as the transmission method setting corresponding to the second destination, and an e-mail address and mail server to be used with this transmission method are set.
- an e-mail address used by a third party other than the operating user (who checks the image data of the scanned image) to send and receive e-mails using terminal 300 is set as the destination. By sending image data via e-mail addressed to the set e-mail address, it is possible for the terminal 300 to receive the image data (and thereby for the third party to check the scanned image).
- setting items for the first and second destinations on the setting screen 1300 are just examples, and other setting items may be present alternatively or additionally.
- a transmission method in which a shared folder is used as the destination may be selectable.
- other communication protocols such as SFTP or HTTPS may be selectable as the communication protocol used for the transmission method of transmitting image data to the data server.
- a transfer server to which the image data is transferred may be specified as the communication path.
- the setting screen 1300 may display only the minimum number of setting items, and the remaining information (for example, an email address corresponding to an employee ID) may be obtained from an external database based on the input information.
- a switching condition for switching from a first destination to a second destination can be set as a switching condition for the destination when transmitting image data of a read image.
- the switching condition is set so that the destination of the image data is switched from the first destination to the second destination depending on whether the data amount of the image data of the read image is equal to or greater than a threshold data amount.
- the data size of the image data or the number of scanned originals (images) can be selected as a criterion for switching the destination.
- a period to be determined and a threshold data size or a threshold number of originals can be set for the switching condition for switching the destination based on the data size of the image data or the number of originals.
- the destination is switched from the first to the second. Also, when the number of original documents is used as the criterion, if the total number of original documents scanned during the determination period exceeds the threshold number of original documents, the destination is switched from the first to the second.
- the determination period can be set to, for example, the period of one scan process, the past hour, or the past day (that day).
- switching conditions are merely examples, and any condition that can determine that image reading processing has been performed on a large number of documents can be set as a switching condition.
- the number of characters extracted from the image data of the read image by OCR (Optical Character Recognition) processing may be used as a switching condition.
- the period to be determined may be set based on the number of times the scan processing is performed.
- a switching condition is set for switching the destination based on the data size. Specifically, a switching condition is set for switching the destination from the first destination to the second destination when it is determined that the size of the image data of the scanned image obtained by one scan process is equal to or larger than the threshold data size of 10 MB.
- the transmission judgment application 503 (CPU 11) stores the setting data indicating the settings on the setting screen 1300 in the storage unit 13.
- the setting data may be stored in, for example, an external device with which communication is possible via the communication I/F 15. In that case, the CPU 11 obtains and uses the setting data from the external device as necessary.
- ⁇ Processing Procedure> 14 is a flowchart showing an example of the procedure of an image reading process executed in the image reading device 100.
- the image reading process is executed in accordance with a reading instruction (a reading start request) transmitted to the image reading device 100 from the terminal 200 used by an operating user.
- the operating user operates the terminal 200 to start the web browser 210, and accesses the URL indicating the web server 500 of the image reading device 100 using the web browser 210.
- the CPU 11 web server 500
- the CPU 11 accepts access from the terminal 200 (web browser 210), it starts the process according to the procedure in FIG. 14.
- the CPU 11 establishes communication with the terminal 200 in response to an access from the terminal 200.
- the communication between the image reading device 100 (Web server 500) and the terminal 200 is performed using, for example, the HTTP protocol.
- the communication between the image reading device 100 and the terminal 200 may be realized using an application other than the Web server 500 of the image reading device 100 and the Web browser 210 of the terminal 200.
- the CPU 11 may establish communication with the terminal 200 by sending a predetermined command via the USB connection.
- the Web browser 210 of the terminal 200 is not used to establish communication between the image reading device 100 and the terminal 200, only the transmission method using e-mail can be used as the transmission method corresponding to the above-mentioned first destination.
- the operating user can configure settings related to image reading using the setting screen 600 (FIG. 6) provided to the terminal 200 by the image reading device 100.
- the Web browser 210 of the terminal 200 transmits the reading settings and a reading instruction to the image reading device 100 (Web server 500).
- the image reading device 100 receives the reading settings and a reading instruction from the terminal 200.
- the CPU 11 (scan application 502 running on the Web server 500) starts executing the image reading process (scanning process) according to the received reading settings and reading instructions.
- the CPU 11 controls the image reading process so that the documents set on the document tray 102 are transported one by one in sequence and the image reading unit 104 reads the images of the documents. The image reading process continues until all documents set on the document tray 102 are gone. Note that a set number of documents may be set as the reading target, or the number of documents to be read may be set in the reading settings received from the terminal 200.
- the CPU 11 completes the image reading process, it saves the image data generated by the image reading unit 104 in the storage unit 13, which is set in advance as the saving destination.
- the CPU 11 advances the process to S1404.
- the CPU 11 stores information about the image data of the scanned image (scanned image information) in the storage unit 13 for the destination determination process described below.
- FIG. 15 shows an example of the scanned image information stored in S1404.
- the scanned image information includes, as an example, the date and time when the scan process was performed, the size of the image data obtained by the scan process, and the number of documents scanned (the number of scanned images obtained).
- the scanned image information is stored (added) to a list held in the storage unit 13. Note that old information that is outside the determination target period set using the setting screen 1300 may be deleted from the list. Alternatively, the timing of deletion from the list (for example, one month or one year after storage) may be set regardless of the determination target period.
- the CPU 11 transmits to the setting data stored in the storage unit 13, which indicates the settings of multiple transmission methods for transmitting image data and the settings of destination switching conditions.
- This setting data is generated in advance by settings using the setting screen 1300 and is stored in the storage unit 13.
- the CPU 11 performs processing to determine the destination (transmission method) of the image data of the scanned image using the settings indicated by the setting data, following the procedure shown in FIG. 16.
- the CPU 11 (Web server 500) transmits the image data to the determined destination by transmitting the image data according to the settings of the transmission method corresponding to the determined destination.
- the CPU 11 when sending image data to a first destination, the CPU 11 sends the image data according to the settings of the transmission method corresponding to the first destination on the setting screen 1300. For example, when the method of sending via a web browser is set, the CPU 11 sends the image data to the web browser 210 of the terminal 200 using either HTTP or HTTPS as the set communication protocol. When the method of sending using email is used, the CPU 11 attaches the image data to an email addressed to a set email address via a set mail server, and sends the image data.
- the CPU 11 When transmitting image data to a second destination, the CPU 11 transmits the image data according to the setting of the transmission method corresponding to the second destination on the setting screen 1300. For example, in the case of a transmission method using e-mail, the CPU 11 transmits the image data by attaching the image data to an e-mail addressed to a set e-mail address via a set mail server. In the case of a transmission method for transmitting image data to a server device (data server), the image data is transmitted to the address of the set data server. At that time, the CPU 11 transmits the image data using a communication protocol set among FTP and FTPS. In addition, when a route using a VPN is set as a communication route, the image data is transmitted via the VPN.
- setting information such as a VPN server address required for transmission via the VPN is stored in the storage unit 13 in advance.
- the image reading device 100 when the image reading device 100 (Web server 500) receives a status acquisition request from the terminal 200 (Web browser 210) after transmitting image data to the second destination, the image reading device 100 transmits a response including, for example, a specific character string as status information.
- This status information indicates that the image data has been transmitted to the second destination (a destination other than the first destination).
- the terminal 200 (Web browser 210) recognizes that the image data has been transmitted to the second destination and displays the setting screen 600 for reading settings as a Web browser screen. Alternatively, it displays a screen (not shown) indicating that the image data has been transmitted to the second destination as a Web browser screen.
- FIG. 16 is a flowchart showing an example of the procedure of the process (S1405) for determining the transmission destination of the image data of the scanned image.
- the CPU 11 (transmission determination application 503) obtains the period (determination period) to be determined for the set switching condition from the setting data stored in the storage unit 13. Then, in S1602, the CPU 11 determines whether or not to use the data size of the image data of the read image in determining the switching condition. If it is set to use the data size, the CPU 11 advances the process to S1603, and if it is set not to use the data size (to use the number of pages of the document that have been read), the CPU 11 advances the process to S1605.
- the CPU 11 calculates the total data size of the image data acquired during the determination period based on the determination period acquired in S1601 and the read image information stored in the storage unit 13 in S1404. For example, if the determination period is set to the period of one scan process, the size of the image data acquired in the most recent scan process is acquired. Next, in S1604, the CPU 11 acquires the set threshold data size (10 MB in the example of FIG. 13) as the threshold used to determine the switching condition, and proceeds to S1607.
- the CPU 11 determines whether the total data size (calculated value) corresponding to the determination period is equal to or greater than the threshold data size. If the total data size is equal to or greater than the threshold data size, the CPU 11 advances the process to S1608, determines the second destination as the destination for the image data of the scanned image, and ends the process. On the other hand, if the total data size is not equal to or greater than the threshold data size, the CPU 11 advances the process to S1609, determines the first destination as the destination for the image data of the scanned image, and ends the process.
- the size of the image data acquired in the most recent scan process is 13.5 MB
- the threshold data size is 10 MB, so it is determined that the total data size (calculated value) is equal to or greater than the threshold data size.
- the second destination is determined as the destination for the image data of the scanned image.
- the CPU 11 calculates the total number of documents scanned during the determination period (the number of obtained read images) based on the determination period acquired in S1601 and the read image information stored in the storage unit 13 in S1404. Next, in S1604, the CPU 11 acquires the set threshold document number (100 in the example of FIG. 13) as a threshold used for determining the switching condition, and proceeds to S1607.
- CPU 11 determines whether the total number of originals corresponding to the determination period (calculated value) is equal to or greater than the threshold number of originals. If the total number of originals is equal to or greater than the threshold number of originals, CPU 11 advances the process to S1608, determines the second destination as the destination of the image data of the scanned image, and ends the process. On the other hand, if the total number of originals is not equal to or greater than the threshold number of originals, CPU 11 advances the process to S1609, determines the first destination as the destination of the image data of the scanned image, and ends the process.
- the CPU 11 sets multiple transmission methods for transmitting image data, each corresponding to a multiple destination.
- the image reading unit 104 reads an image of a document and generates image data of the read image.
- the CPU 11 determines the destination of the image data from among the multiple destinations in accordance with a switching condition for switching the destination depending on the amount of image data generated by the image reading unit 104.
- the CPU 11 transmits the image data generated by the image reading unit 104 to the destination in accordance with the transmission method corresponding to the determined destination.
- the multiple transmission destinations may include a first transmission destination and a second transmission destination.
- the first transmission destination is (a terminal device accessible by) the operating user who operates the image reading device 100.
- the second transmission destination is (a terminal device accessible by) a user other than the operating user who checks the read image.
- the switching condition is defined as a condition for switching the transmission destination of the image data from the first transmission destination to the second transmission destination depending on the amount of image data of the read image.
- the superior of the operating user (set as the first destination) is set as the second destination, the image data of the scanned image will be sent to the superior as necessary, according to the destination switching conditions.
- the superior can check the scanned image and, if there are no problems, transfer the image data to the operating user, or, if there are problems, discard the image data without transferring it. In this way, it is possible to efficiently prevent the leakage of confidential information due to the transmission of image data of the scanned image.
- the scanned image is directly confirmed by the superior.
- the image data of the scanned image is confirmed mechanically (for example, by a specified image processing)
- by setting the switching conditions it is possible to control the image data to be sent to the superior only when a large amount of documents have been scanned. In this way, in cases where it is expected that the leakage of a large amount of confidential information will not occur, the image data will not reach the superior, and it is possible to prevent an unnecessary increase in the effort of confirming the scanned image.
- a destination and a corresponding transmission method e.g., a transmission method via a web browser
- the input field for the transmission method that corresponds to the first destination does not need to be displayed on the setting screen 1300.
- multiple destinations may be set as destinations other than the first destination corresponding to the operating user.
- multiple threshold data sizes may be set so that switching between the second destination and the third destination is performed depending on the data size.
- the third destination may be determined as the destination of the image data when the total data size of the image data is 50 MB or more
- the second destination may be determined when the total data size is less than 50 MB and 10 MB or more.
- control that requires confirmation of the scanned image by a higher-ranking person becomes possible.
- a link for accessing the image data (a link to the URL of the location where the image data is stored) may be sent to the second destination so that the image data can be obtained (viewed) from the second destination without sending the image data to the second destination.
- the present embodiment has been described as a mode in which image data is directly transmitted from the image reading device 100 to the first and second destinations, this is not limited to this.
- the image data may be transmitted from the image reading device 100 to a specified external storage such as a cloud server, and the image data may then be transmitted from there to the first or second destination.
- a link for the second destination to access the image data may be transmitted from the image reading device 100.
- [Fourth embodiment] In the fourth embodiment, an example will be described in which scan settings and scan instructions from the terminal 200 to the image reading device 100 are more easily realized.
- the configuration of the image reading device 100 in the fourth embodiment is similar to that of the first embodiment.
- the fourth embodiment may be combined with the first embodiment, that is, the image reading device 100 may be configured to perform the processing of the first embodiment and the processing of the fourth embodiment, or may be configured to perform only the processing of the fourth embodiment.
- the web browser 210 of the terminal 200 displays the initial screen (login screen 1700) shown in FIG. 17A as the web browser screen.
- a title display section 1701 and a URL display section 1702 are provided.
- Also arranged on the login screen 1700 are an edit box 1703 for entering a login name, an edit box 1704 for entering a password, and a login button 1705. Pressing the exit button 1706 in the upper right corner of the screen ends the display of the login screen 1700.
- Web server 500 checks the login name and password. If these are correct, scan setting screen 1710 shown in FIG. 17B, which allows scan settings, is returned as a response. If the login name and password are incorrect, an error dialog (not shown) that says "Incorrect user name or password" is displayed, and login screen 1700 remains.
- the scan settings can be selected from various items.
- Items selectable as scan settings in the scan settings screen 1710 include a color mode selection menu (options: color, gray, black and white), a resolution selection menu (options: 100 DPI, 300 DPI), a paper size selection menu (options: A4, letter), a reading side selection menu (options: single-sided, double-sided), and a file format selection menu (options: PDF, JPEG). All options are displayed in combo boxes such as pull-down menus.
- the scan application 502 After selecting the scan settings, the user presses the scan button 1711, and the scan application 502 starts scanning.
- the scanned image obtained by the scan is displayed on a screen (not shown) for downloading the scanned image displayed by the web browser 210, and is downloaded to the terminal 200 through the web browser 210.
- the scanned image is sent to a destination specified on the download screen or another screen.
- the job registration screen 1720 has an input edit box 1721 for the job number, an input edit box 1722 for the destination to which the scanned image is sent from the image reading device 100, and input edit boxes 1723 and 1724 for the user name and password to access the destination.
- the settings entered into the input edit boxes 1722 to 1724 correspond to the destination settings. Any number (for example, 1 to 99) can be entered as the job number.
- the register button 1725 the image reading device 100 stores the scan settings set on the scan setting screen 1710 and the destination settings set on the job registration screen 1720 together in association with the job number.
- the delete button 1726 is pressed, the job registered as the target job number is deleted.
- This job registration can also be performed from other information processing devices connected to the image reading device 100 via USB or a network. Regardless of the registration method used, when a job number is specified on the job registration screen in FIG. 17C, the job setting information stored in association with the target job number may be displayed. In this case, a button for checking the scan settings may be provided.
- the favorites registration screen (FIG. 19) is displayed.
- the favorites registration screen will be described later.
- the scanning application 502 is started by the Web server 500 and is in standby (S1801). When it receives a scanning command, it subsequently or simultaneously receives scanning settings (S1802).
- a preparatory operation for starting scanning is performed.
- information for creating an image such as shading data and background data, is obtained (S1803).
- scanning is started (S1804).
- scanning is started, first it is confirmed whether there is an original on the platen 102 (S1805). If there is an original (Yes in S1805), scanning is performed (S1806). During scanning, it is confirmed whether an error such as a double feed has occurred (S1807). If an error has occurred (Yes in S1807), the error is notified (S1808) and processing ends. If no error has occurred in S1807 (No in S1807), the image is transmitted (S1810).
- transmitting an image includes, for example, displaying a download screen that displays the scanned image and allows it to be downloaded. If the original is removed from the platen 102 (No in S1805), an error indicating that there is no original is notified (S1808) and processing ends.
- the image reading device 100 of this embodiment further includes a job application 504 in addition to the scan application 502 and the like.
- the job application 504 is executed when the UI display application 501 receives a scan start command through a user operation.
- the scan application 502 and the job application 504 control the image reading device 100 via the scanner driver.
- the UI display application 501 launches the scan application 502 and acquires an image from the scan application 502.
- the UI display application 501 launches the job application 504 with the acquired image as an argument.
- the job application 504 transmits the image according to the transmission settings.
- the image is transmitted to a shared folder of a PC on the network using the SMB protocol.
- transmission may be performed using FTP, SMTP, or an equivalent communication protocol.
- the UI display application 501 launching another application is merely an example, and each application may be launched by any application or process.
- FIG. 19 shows a favorite scan screen (screen 1900) displayed by the web browser 210 when the "Add to favorites" button 1713 in FIG. 17B is pressed.
- This screen 1900 displays a list 1911 of scan settings. Note that this list 1911 may display only a portion of the scan settings. Also, at the bottom of screen 1900, an explanation 1912 is displayed saying "Please add this screen to your browser's favorites. When you select a favorite, scanning will start and you will be able to obtain an image.” This indicates that direct scanning can be performed by adding the screen 1900 to the favorites list of the web browser 210, and prompts the user to add this screen 1900 to the favorites list of the web browser 210. Pressing the back button 1913 returns to the scan settings screen 1710 in FIG. 17B.
- Title display section 1901 of screen 1900 displays "Color/100 dpi/A4/Double-sided/PDF.” This is the content of the HTML ⁇ title> tag.
- the URL displayed in URL display section 1902 is generated so that the part following the IP address of image reading device 100 is a unique string, starting with "favorite.”
- a download screen for obtaining the scanned image through web browser 210 is displayed. In other words, when the "Add to favorites" button 1713 in FIG.
- the image reading device 100 generates the URL shown in FIG. 19 and returns this screen 1900 when accessed for the first time from the web browser 210. Furthermore, when the image reading device 100 subsequently accesses this URL, it executes the image reading operation according to the scan settings included in this URL, but does not return screen 1900 to the web browser 210, and returns the URL of the download screen for the image read at this time to the web browser 210. Note that when accessing the URL shown in FIG. 19 for the second or subsequent times, a scanning screen (for example, a "scanning" display and the number of scanned sheets are displayed while being updated each time) may be returned to the web browser 210 until the reading operation is completed. After that, the process proceeds to S1805 in FIG. 18, and the subsequent processing may be executed.
- a scanning screen for example, a "scanning" display and the number of scanned sheets are displayed while being updated each time
- the image reading device 100 and in particular the web server 500, functions as a URL generator, but this is not limited to this and the URL may be generated by other configurations.
- the URL generation process is performed by the Web server 500.
- the Web server 500 creates a character string that lists the scan settings ("color/100dpi/A4/duplex/PDF" in the example of FIG. 19). It then arranges the login name and password, and adds the hashed character string to the end of the character string "color/100dpi/A4/duplex/PDF". The entire obtained character string is then Base64 encoded. The encoded character string is then concatenated to the URL after "favorite” to complete the character string "http://192.168.0.10/favorite/.".
- the above-mentioned steps are reversed.
- the hashed login name and password are then retrieved.
- the login name and password stored in the image reading device 100 are hashed, and an authentication check is performed using these and the hashed login name and password retrieved from the URL. If no errors are found in the authentication check, the scan settings are retrieved from the URL. If an error occurs in the authentication check, the user is notified of the error via the operation unit 130 (not shown).
- the URL may be generated without using a login name or password, or may use the time or any device information.
- the URL may contain only unique identification information, and by linking the identification information to the scan settings stored in the image reading device 100, a scan may be performed using the corresponding scan settings when the URL is accessed.
- the Web server 500 returns a response with an HTTP response code of "301" and Location in the header.
- the newly created URL is entered in Location.
- the Web browser 210 that receives the response performs a redirect by confirming the HTTP response code "301".
- the redirect destination is the URL written in the Location in the header. After that, the screen 1900 in FIG. 19 is displayed.
- the Web server 500 receives a request for the generated URL (S2001)
- the scan application 502 is launched and scanning is performed (S2004). If the scan is completed normally (No in S2005), the scanned image is sent to the Web browser 210 (S2006) and processing ends. If an error occurs during scanning (Yes in S2005), the details of the error are displayed and a screen with a scan button to enable rescanning is returned to the Web browser 210 (S2007), and processing ends.
- the user can register scan settings in the favorites of the web browser 210.
- the user simply selects a favorite registered in the web browser 210 and the image reading device 100 can start scanning and acquire an image, so there are fewer steps to start scanning and acquire an image, reducing the amount of work.
- a shortcut icon that allows direct access to a URL is placed on the desktop, for example, scanning can be started and an image can be acquired simply by clicking the icon, further reducing the amount of work.
- pressing the scan button 1711 can start scanning with the scan settings set on this screen, and pressing the "Add to favorites" button 1713 on this screen can register the scan settings to favorites.
- the scan settings can be registered to the favorites of the web browser 210 directly during normal scanning operations via the web browser 210, improving convenience.
- a button that combines the functions of the scan button 1711 and the "Add to favorites" button 1713 can be provided, allowing both scanning and registration of favorites to be performed using the scan settings set on this screen.
- a login is required when accessing the image reading device 100 from the web browser 210, and the URL of the screen 1900 in FIG. 19 is generated using the login name and password stored in the image reading device 100, but this is not limited to the above.
- the image reading device 100 may be configured to be connectable without logging in when accessed from the web browser 210, and then the URL of the screen 1900 in FIG. 19 may be generated without using login information. In this case, it is preferable to generate the URL using device information, time information, etc.
- scanning begins according to the scan settings of the job set via the job registration screen 1720 in FIG. 17C, and an image can be acquired, but this is not limited to the above.
- a configuration may be used in which a job saved in advance in the image reading device 100 is registered as a favorite. The scan settings and the destination of the image are registered in the job.
- the image reading device 100 begins scanning according to the job settings, and the scanned image is linked to the URL and sent to the destination (e.g., a shared folder) set.
- the URL for the screen 1900 in FIG. 19 is generated, the URL is generated by including the job number.
- the web browser 210 displays the job registration screen 1720 in FIG. 17C and prompts the user to re-register it.
- FIG. 21 is an example of a screen displayed on the operation unit 130 of the image reading device 100 according to this embodiment.
- the screen 2100 in FIG. 21 includes a job display section 2101, a two-dimensional code display section 2102, switching buttons 2103 and 2104, and a delete button 2105.
- the UI display application 501 displays in the two-dimensional code display section 2102 a two-dimensional code including a URL for executing a scan (quick scan) that is executed upon access to the URL described in the fourth embodiment.
- a job with job number "01" is displayed in the job display section 2101, and the two-dimensional code displayed in the two-dimensional code display section 2102 includes job information for this job number "01".
- the switch button 2103 or 2104 is pressed on this screen 2100, the job displayed in the job display section 2101 is switched, and the two-dimensional code displayed in the two-dimensional code display section 2102 is also switched to a two-dimensional code including the corresponding job information.
- the job information displayed in the job display section 2101 can be deleted by pressing the delete button 2105.
- the two-dimensional code displayed on the two-dimensional code display unit 2102 can be photographed using the camera of the terminal 200 or the like, and the URL obtained by decoding the two-dimensional code can be accessed.
- This URL corresponds to the URL of the screen 1900 in FIG. 19 described in the fourth embodiment.
- subsequent accesses can be determined to be second or subsequent accesses, and the operation described in the first embodiment can be executed.
- the screen 2100 shown in FIG. 21 may display the two-dimensional code corresponding to the URL that displayed the screen 1900 in FIG. 19 via the "Register as favorite” button 1713 in FIG. 17B, and the scan settings linked to the two-dimensional code.
Landscapes
- Engineering & Computer Science (AREA)
- Multimedia (AREA)
- Signal Processing (AREA)
- Facsimiles In General (AREA)
Abstract
画像読取装置は、ネットワークを介して通信可能な端末装置からアクセスを受け付けると、当該端末装置との間でセッションを確立して管理するように構成される。画像読取装置は、確立されたセッションを介して受信した読取指示に従って、原稿の画像を読み取って読取画像の画像データを生成する読取処理を行うように構成される。画像形成装置は、予め設定された時間間隔でセッションを介したアクセスを受け付けている間、読取処理の実行を続ける。
Description
本発明は、画像読取装置及びその制御方法、並びにプログラムに関するものである。
画像読取装置によって原稿の画像を読み取って読取画像の画像データを生成することで、原稿の画像に対応する画像データの電子的な保管又は当該画像データを用いた情報処理が可能になる。また、ADF(Auto Document Feeder)を備えた原稿読取装置を使用した場合、大量の原稿の画像をより効率的に読み取って画像データを生成することが可能である。画像読取処理(スキャン処理)により得られた読取画像の画像データは、PC又はモバイル端末等の端末装置(情報処理装置)へ転送され、閲覧又はデータ処理に使用されうる。
外部装置からWebブラウザによるアクセスを可能にするためにWebサーバが実装された画像読取装置は、専用のアプリケーション又はドライバを必要とせずに、Webブラウザに提供した操作画面を介してスキャン指示を受け付けることが可能である。特許文献1には、画像読取装置が、Webブラウザに提供した設定画面を介して受け付けたスキャン指示によりスキャン処理を開始した後、スキャン中のステータスに移行し、そのステータスが変わらない限り、Webブラウザを介して画像データを提供できる技術が記載されている。
上述の従来技術では、スキャン処理の実行中に、モバイル端末又はPC等の端末装置と画像読取装置とのセッションが意図せず切断されると、画像読取装置は、スキャン指示の送信元の端末装置を特定(判別)できなくなる。セッション(接続)の切断は、例えば、端末装置が省電力モードへ移行したり、Webブラウザの表示画面を別の画面に遷移させたことによって生じうる。スキャン指示の送信元の端末装置が特定できなくなると、スキャン処理により得られた読取画像の画像データを、端末装置へ送信できなくなりうる。
そこで、本発明は、読取処理(スキャン処理)の実行中に端末装置とのセッションが切断されても、画像読取装置が端末装置へ読取画像の画像データを送信することを可能にする技術を提供する。
本開示の一態様に係る画像読取装置は、ネットワークを介して通信可能な端末装置からアクセスを受け付けると、前記端末装置との間でセッションを確立して管理する管理手段と、前記セッションを介して受信した読取指示に従って、原稿の画像を読み取って読取画像の画像データを生成する読取処理を行う処理手段と、を備え、前記処理手段は、予め設定された時間間隔において前記セッションを介したアクセスを受け付けている間、前記読取処理の実行を続ける、ことを特徴とする。
本発明によれば、読取処理(スキャン処理)の実行中に端末装置とのセッションが切断されても、画像読取装置が端末装置へ読取画像の画像データを送信することが可能になる。これにより、セッションの切断に伴って読取画像の画像データが失われる可能性を減らし、ユーザの利便性を向上させることが可能である。
本発明のその他の特徴及び利点は、添付図面を参照とした以下の説明により明らかになるであろう。なお、添付図面においては、同じ若しくは同様の構成には、同じ参照番号を付す。
添付図面は明細書に含まれ、その一部を構成し、本発明の実施の形態を示し、その記述と共に本発明の原理を説明するために用いられる。
以下、添付図面を参照して実施形態を詳しく説明する。なお、以下の実施形態は特許請求の範囲に係る発明を限定するものではなく、また実施形態で説明されている特徴の組み合わせの全てが発明に必須のものとは限らない。実施形態で説明されている複数の特徴のうち二つ以上の特徴は任意に組み合わされてもよい。また、同一又は同様の構成には同一の参照番号を付し、重複した説明は省略する。
[第1実施形態]
まず、第1実施形態に係る画像読取装置(原稿搬送装置)の構成例について説明する。
まず、第1実施形態に係る画像読取装置(原稿搬送装置)の構成例について説明する。
<画像読取装置>
図1は、本実施形態に係る画像読取装置100の概略的な構成例を示す断面図である。画像読取装置100は、読取対象の原稿101が積載される原稿台102を備える。原稿台102上の原稿は、原稿検出センサ110によって検出される。原稿台102上の原稿は、給紙ローラ106により1枚ずつ分離されて搬送路108に送り出される。搬送路108に送り出され、搬送路108を搬送される原稿101は、レジストセンサ109によって検出される。レジストセンサ109によって原稿101が検出されると、画像読取ユニット104は、搬送路108を搬送中の原稿101の画像(原稿上に形成された画像)の読み取りを開始する。
図1は、本実施形態に係る画像読取装置100の概略的な構成例を示す断面図である。画像読取装置100は、読取対象の原稿101が積載される原稿台102を備える。原稿台102上の原稿は、原稿検出センサ110によって検出される。原稿台102上の原稿は、給紙ローラ106により1枚ずつ分離されて搬送路108に送り出される。搬送路108に送り出され、搬送路108を搬送される原稿101は、レジストセンサ109によって検出される。レジストセンサ109によって原稿101が検出されると、画像読取ユニット104は、搬送路108を搬送中の原稿101の画像(原稿上に形成された画像)の読み取りを開始する。
図1に示すように、本実施形態の画像読取装置100は、搬送路108の両側に2つの画像読取ユニット104を備える。一方の画像読取ユニット104が、原稿101の第一面(表面)の画像を読み取るように構成され、他方の画像読取ユニット104が、原稿101の第二面(裏面)の画像を読み取るように構成される。搬送路108を介して各画像読取ユニット104に対向する位置には、背景板105が配置されている。背景板105は、例えば、黒色の部材である。なお、画像読取装置100は、1つの画像読取ユニット104のみを備えるように構成されてもよい。
画像読取ユニット104による画像の読み取りが行われた原稿101は、排出部103に向けて搬送ローラ107によって搬送路108を搬送され、最終的に排出部103に排出されて排出部103において積載される。排出部103に設けられた原稿検出センサ111は、排出部103に排出されて積載されている原稿101の検出に用いられる。また、搬送路108の排出口付近に設けられた原稿検出センサ112は、搬送路108に残っている原稿101の検出に用いられる。原稿検出センサ111及び112を用いることで、原稿101が搬送路108に残っているか、排出部103に排出されたかを検出可能である。
画像読取装置100は更に、搬送路108に沿って給紙ローラ106とレジストセンサ109との間の位置に、重送検出センサ120を備える。重送検出センサ120は、複数枚の原稿が重なった状態(静電気等により複数枚の原稿が密着した状態)で搬送路108を搬送される重送の検出に用いられる。重送検出センサ120は、例えば、超音波の発信部及び受信部を備える超音波センサで構成される。超音波センサを用いる場合、搬送路108上の原稿(原稿シート)を通過する際の超音波の減衰量に基づいて重送を検出可能である。
図2は、画像読取ユニット104の概略的な構成例を示す断面図である。画像読取ユニット104は、筐体1041と、搬送路108に面して設けられたガラス板1042とを備える。筐体1041及びガラス板1042によって画像読取ユニット104の内部が密封されている。画像読取ユニット104の内部には、イメージセンサ1043と、一対の発光部1044a及び1044bと、が設けられている。
イメージセンサ1043は、ラインイメージセンサで構成され、例えば、CCDラインセンサ又はコンタクトイメージセンサで構成される。イメージセンサ1043は、原稿101の搬送方向と直交する方向(主走査方向)に沿って配置されている。イメージセンサ1043は、搬送中の原稿101の画像を主走査方向の1ライン単位で読み取って画像信号を出力する。
発光部1044aは、イメージセンサ1043に対して原稿101の搬送方向の上流側に配置される光源を有する。発光部1044bは、イメージセンサ1043に対して原稿101の搬送方向の下流側に配置される光源を有する。イメージセンサ1043は、発光部1044aと発光部1044bとの間に挟まれた位置に配置される。発光部1044a及び1044bは、それぞれ、イメージセンサ1043と平行に、主走査方向に沿って配置され、複数のLEDを含むLEDアレイで構成される。図2に示すように、イメージセンサ1043は、発光部1044a及び1044bが原稿101に照射した光の反射光を受光することで、原稿101上の画像を読み取る。
図3は、本実施形態に係る画像読取装置100のハードウェア構成例を示すブロック図である。画像読取装置100の制御部10は、CPU11、RAM(ランダムアクセスメモリ)12、記憶部13、入出力I/F(インタフェース)14及び通信I/F15を備える。
CPU11は、1つ以上のプロセッサで構成される。CPU11は、記憶部13に格納されているプログラムをRAM12に読み出して実行することで、画像読取装置100全体の制御を行う。RAM12は、CPU11による作業領域として使用される。記憶部13は、制御部10によって実行される各種プログラム(例えば、制御プログラム)、及び制御部10による処理に用いられる各種情報又はデータを格納するように構成される。例えば、イメージセンサ1043による原稿の画像の読み取りによって得られた画像データが記憶部13に保存される。記憶部13は、例えば、ROM(読み出し専用メモリ)、HDD(ハードディスクドライブ)及びSSD(ソリッドステートドライブ)等の1つ以上の記憶装置(メモリ)で構成される。
入出力I/F14には、駆動回路24及び画像処理回路26が接続される。駆動回路24は、画像読取ユニット104の発光部1044a及び1044bを駆動する。画像処理回路26は、ADC(アナログ/デジタル変換器)25を介してイメージセンサ1043と接続される。イメージセンサ1043は、搬送中の原稿101の画像を主走査方向の1ライン単位で読み取って画像信号を出力する。ADC25は、イメージセンサ1043から出力されるアナログ形式の画像信号をデジタル形式の画像データに変換して出力する。画像処理回路26は、ADC25から出力された画像データに対して、シェーディング補正等の画像処理を行う。CPU11は、画像処理回路26から出力される画像データを取得する。
通信I/F15は、外部装置との通信を行うためのインタフェースであり、有線通信インタフェース、無線LAN通信若しくはBluetooth(登録商標)通信等のための無線通信インタフェース、USBインタフェース、又はSCSIインタフェース等で構成されうる。本実施形態では一例として、通信I/F15は、有線LAN(ローカルエリアネットワーク)に接続された有線通信インタフェースであるものとする。なお、画像読取装置100は、個別の外部装置又はネットワークと接続される複数の通信I/F15を備えてもよい。例えば、画像読取装置100は、複数の通信I/F15として、ある外部装置と直接接続されたUSB又はSCSIインタフェースと、有線LANと接続された有線通信インタフェースとを備えてもよい。
通信I/F15は、任意の通信プロトコルに従って外部装置と通信可能であり、任意の通信経路を介して外部装置と通信可能である。複数の外部装置と接続される場合、外部装置ごとに異なる通信プロトコル及び通信経路が用いられてもよい。例えば、通信I/F15は、端末200(図4)とHTTPプロトコルで通信し、端末300(図4)とFTPプロトコルで通信するように構成されてもよい。本実施形態の画像読取装置100は、HTTPプロトコルに従って外部装置と通信可能なWebサーバ500(図5)を有する。このため、外部装置は、当該外部装置上で動作するWebブラウザにより、画像読取装置100のWebサーバ500にアクセス可能である。
画像読取装置100は、制御部10に接続された操作部130を備える。操作部130は、入力部及び出力部を含む。入力部は、タッチパネル及びハードキー等を備え、ユーザからの各種操作の受け付けを行う。出力部(表示部)は、液晶ディスプレイ等の表示装置を備え、ユーザに対して各種情報の出力(表示)を行う。入力部及び出力部は、タッチパネルディスプレイのように、1つのモジュールとして実現されてもよい。
操作部130には、CPU11によってスキャナ(画像読取装置100)の現在の状態(ステータス)を示す画面が表示されうる。スキャナの状態として、例えば、搬送路上で原稿(シート)が詰まるジャムが発生した状態、重送が検出されて原稿の搬送を意図的に停止した状態、画像読取装置100のカバーが開いていて原稿を搬送不能なカバーオープン状態、原稿を搬送してスキャンを行っているスキャン中の状態、原稿の画像のスキャンにより得られた画像データに対する画像処理の実行中の状態等がありうる。操作部130に表示される画面では、上記のようなスキャナの状態が、文字列又はアイコンにより示されうる。また、操作部130は、上記のようなスキャナの状態を、音又はLEDの点滅状態等により示してもよい。なお、操作部130には、セグメントLEDで構成された表示デバイスが設けられてもよい。
<画像読取処理>
画像読取装置100において、制御部10(CPU11)は、例えば、操作部130の操作により、又は外部装置から、原稿の読み取りの開始指示(読取指示)を受けると、原稿台102にセットされた原稿101に対する画像読取処理を開始する。画像読取処理において、CPU11は、まず給紙ローラ106を駆動して、原稿台102からの原稿101の搬送を開始する。原稿台102に複数枚の原稿101がセットされた場合、1枚ずつ原稿が分離されて搬送路108を搬送される。CPU11は、その後、レジストセンサ109によって原稿101が検出されると、当該検出のタイミングを基準として、原稿101の画像の読み取りのための画像読取ユニット104の制御を行う。
画像読取装置100において、制御部10(CPU11)は、例えば、操作部130の操作により、又は外部装置から、原稿の読み取りの開始指示(読取指示)を受けると、原稿台102にセットされた原稿101に対する画像読取処理を開始する。画像読取処理において、CPU11は、まず給紙ローラ106を駆動して、原稿台102からの原稿101の搬送を開始する。原稿台102に複数枚の原稿101がセットされた場合、1枚ずつ原稿が分離されて搬送路108を搬送される。CPU11は、その後、レジストセンサ109によって原稿101が検出されると、当該検出のタイミングを基準として、原稿101の画像の読み取りのための画像読取ユニット104の制御を行う。
具体的には、CPU11は、発光部1044a及び発光部1044bの発光を制御し、イメージセンサ1043を駆動することで、原稿101の画像の読み取りを行う。画像読取ユニット104は、イメージセンサ1043によって原稿101の画像を読み取って読取画像の画像データを生成し、生成した画像データを制御部10へ出力する。制御部10は、得られた画像データを画像読取装置100の記憶部13に保存する。なお、画像データは、画像読取装置100と通信可能な外部装置(サーバ装置)に保存されてもよい。
<画像読取システムの構成及び動作>
図4は、本実施形態に係る画像読取システムの構成例を示す。画像読取システムは、画像読取装置100と、ネットワークを介して画像読取装置100と通信可能な端末装置(端末)200及び300とを含む。当該ネットワークは、有線LAN及び無線LAN等を含む。本実施形態では、画像読取装置100の通信I/F15は、ネットワークを介して端末200及び端末300と通信可能に接続される。なお、ネットワークは、モバイルネットワーク、インターネット、公衆無線回線等を含んでもよい。
図4は、本実施形態に係る画像読取システムの構成例を示す。画像読取システムは、画像読取装置100と、ネットワークを介して画像読取装置100と通信可能な端末装置(端末)200及び300とを含む。当該ネットワークは、有線LAN及び無線LAN等を含む。本実施形態では、画像読取装置100の通信I/F15は、ネットワークを介して端末200及び端末300と通信可能に接続される。なお、ネットワークは、モバイルネットワーク、インターネット、公衆無線回線等を含んでもよい。
端末200及び300は、例えば、パーソナルコンピュータ(PC)又はモバイル端末等の情報処理装置で構成される。例えば、端末200又は300が、スマートフォン又はタブレット端末等のモバイル端末で構成される場合、当該端末は、無線LAN通信用の無線アクセスポイントに無線接続し、当該無線アクセスポイントを介して有線LANに接続することで、画像読取装置100と通信してもよい。
本実施形態において、端末200は、画像読取装置100を操作するユーザ(操作ユーザ)によって使用される端末装置である。なお、端末200及び300は、それぞれ異なるユーザによって使用されている。以下では、主に端末200について説明するが、端末300についても同様である。
端末200にはWebブラウザ210が予めインストールされている。ユーザは、端末200上で動作するWebブラウザ210を介して画像読取装置100を操作する。端末200は、ユーザの操作に従って、Webブラウザ210により画像読取装置100のWebサーバ500にアクセスする。これにより、Webブラウザ210は、画像読取装置100の操作用の操作画面に対応する画面データとして、HTML(Hyper Text Markup Language)データをWebサーバ500から取得し、取得したHTMLデータに基づいて操作画面を表示する。端末200(Webブラウザ210)は、表示した操作画面を介してユーザから原稿の読み取りの開始指示(スキャン指示)を受け付けると、当該スキャン指示を画像読取装置100へ送信する。
画像読取装置100は、端末200から受信したスキャン指示に従って、上述のように画像読取処理(スキャン処理)を行う。画像読取装置100は、原稿101の搬送を開始して、画像読取ユニット104により当該原稿の読み取りを行い、得られた読取画像の画像データを記憶部13に保存する。画像読取装置100は、スキャン処理と並行して、図7を用いて後述する端末判別処理をWebサーバ500(図5)により実行する。保存された画像データは、その後、ネットワークを介して端末200等の外部装置へ送信(ダウンロード)される。
本実施形態の画像読取装置100は、後述するように、端末200からのスキャン指示に従ってスキャン処理を実行している間、端末200からのアクセスを、端末判別処理により生成された個別URL(ステータス取得用の個別URL)を用いて受け付ける。端末200は、個別URLにアクセスすることで、画像読取装置100のステータス(スキャン中、スキャン完了、又はエラー発生中等)を示すステータス情報を取得できる。また、端末200は、ステータスの表示を含む操作画面(ステータス画面)の提供を受け、Webブラウザ210によって当該操作画面を表示できる。
画像読取装置100は、スキャン処理が完了すると、記憶部13に保存された画像データをダウンロード(取得)するための操作画面のHTMLデータを、個別URLに対するアクセスに応じて端末200へ送信する。このHTMLデータには、画像データを参照(受信)するためのURLが記述される。当該HTMLデータに基づいてWebブラウザ210によって表示された操作画面に含まれる、上記URLにアクセスするためのリンクを用いて、端末200のユーザは画像データのダウンロードを指示できる。
また、画像読取装置100は、スキャン処理の完了に応じて、ステータス取得用の個別URLからダウンロード用の個別URLへアクセス先を変更するように、端末200を誘導(即ち、リダイレクト)してもよい。これにより、画像読取装置100は、Webブラウザ210の表示画面を、個別URLへのアクセスに応じて提供したステータス画面から、画像データのダウンロード操作が可能なダウンロード画面に遷移させる表示制御を行ってもよい。画像読取装置100は、記憶部13に保存された読取画像の画像データを端末200が取得した後、当該画像データを記憶部13から削除(破棄)する処理を行う。
なお、本実施形態の画像読取装置100は、端末200からのスキャン指示に従ってスキャン処理を開始した後、読取画像の画像データを端末200が取得するまで、別の端末(端末300等)に対してスキャン設定画面(図6)を提供しないように動作する。この場合、端末300のWebブラウザは、画像読取装置100のWebサーバ500にアクセスしても、スキャン設定画面の画面データを取得できず、スキャン設定画面を表示できない。ただし、これに限られず別の端末に対してスキャン設定画面を提供するように構成してもよい。
<画像読取装置の機能構成>
図5は、画像読取装置100の機能構成例(ソフトウェア構成例)を示すブロック図である。画像読取装置100は、OS上で動作するアプリケーションとしてWebサーバ500を有する。画像読取装置100の起動時に、CPU11は、OSを起動し、その後にWebサーバ500を起動する。Webサーバ500は、CPU11上に常駐するプロセスとして動作し、ネットワークを介してリクエスト(要求)を受信するまで待機する。リクエストの受信に応じて、Webサーバ500は、当該リクエストに応じたレスポンス(応答)を返す。
図5は、画像読取装置100の機能構成例(ソフトウェア構成例)を示すブロック図である。画像読取装置100は、OS上で動作するアプリケーションとしてWebサーバ500を有する。画像読取装置100の起動時に、CPU11は、OSを起動し、その後にWebサーバ500を起動する。Webサーバ500は、CPU11上に常駐するプロセスとして動作し、ネットワークを介してリクエスト(要求)を受信するまで待機する。リクエストの受信に応じて、Webサーバ500は、当該リクエストに応じたレスポンス(応答)を返す。
画像読取装置100は、Webサーバ500上で動作するアプリケーションとして、UI表示アプリケーション(UI表示アプリ)501、スキャンアプリケーション(スキャンアプリ)502、及び端末管理アプリケーション(端末管理アプリ)503を有する。UI表示アプリ501、スキャンアプリ502及び端末管理アプリ503は、Webサーバ500の起動に応じて起動され、Webサーバ500上で動作する。
UI表示アプリ501は、操作部130における画面の表示を制御する。スキャンアプリ502は、Webサーバ500が受け付けた、画像読取処理の開始指示(スキャン指示)に従って、スキャナドライバ(図示せず)を介して画像読取ユニット104を制御することで画像読取処理(スキャン処理)を行う。端末管理アプリ503は、後述する端末判別処理により、画像読取装置100(Webサーバ500)にアクセスする端末に対して、セッションIDと、当該セッションIDに固有のURLとを生成し、それらを用いて端末を管理するとともに端末の判別(特定)を行う。
<画像読取処理の手順>
以下で説明する手順において、画像読取処理(スキャン処理)は、端末200から画像読取装置100へ送信される読取指示(スキャン指示)に従って実行される。端末200のユーザは、端末200を操作してWebブラウザ210を起動し、Webブラウザ210によって表示されるブラウザ画面のURL入力欄に、画像読取装置100のWebサーバ500を示すURL(本実施形態では「http://192.168.0.2/」とする。)を入力する。これにより、端末200のWebブラウザ210は、画像読取装置100のWebサーバ500との通信を確立するために、Webサーバ500にアクセスする。
以下で説明する手順において、画像読取処理(スキャン処理)は、端末200から画像読取装置100へ送信される読取指示(スキャン指示)に従って実行される。端末200のユーザは、端末200を操作してWebブラウザ210を起動し、Webブラウザ210によって表示されるブラウザ画面のURL入力欄に、画像読取装置100のWebサーバ500を示すURL(本実施形態では「http://192.168.0.2/」とする。)を入力する。これにより、端末200のWebブラウザ210は、画像読取装置100のWebサーバ500との通信を確立するために、Webサーバ500にアクセスする。
Webサーバ500は、端末200(Webブラウザ210)からのアクセスを受け付けると、端末200との通信を確立する。画像読取装置100(Webサーバ500)と端末200(Webブラウザ210)との間の通信は、例えばHTTPプロトコルを用いて行われる。なお、画像読取装置100と端末200との間の通信は、画像読取装置100のWebサーバ500及び端末200のWebブラウザ210以外のアプリケーションを用いて実現されてもよい。
Webサーバ500とWebブラウザ210との通信(接続)が確立されると、Webブラウザ210は、読取設定用の設定画面(スキャン設定画面)のHTMLデータ(画面データ)をWebサーバ500から取得する。Webブラウザ210は、Webサーバ500から取得したHTMLデータに基づいて、端末200の表示部に、図6に例示するスキャン設定画面600を表示する。
スキャン設定画面600では、一例として、画像の読み取りにおける読取カラーモード及び解像度を設定可能である。ユーザは、端末200の操作部(例えば、タッチパネル)を用いて読取設定(スキャン設定)を入力する。スキャン設定画面600において、スキャンボタンが操作ユーザによって押されると、Webブラウザ210は、スキャン設定及びスキャン指示を、Webサーバ500へ送信する。
なお、スキャン設定画面600の操作中に、画像読取装置100が別の端末(端末300等)からスキャン指示を受信してスキャン処理を開始した場合、Webサーバ500は、Webブラウザ210からのスキャン指示を受け付けないように動作する。また、Webサーバ500は、開始したスキャン処理がエラーの発生により停止している状態においても、Webブラウザ210からのスキャン指示を受け付けないように動作する。この場合、Webブラウザ210は、Webサーバ500から送信されるHTMLデータに基づいて、スキャン指示を送信可能になるまで待機を要することを示すメッセージ(例えば、「他のユーザがスキャン中です。しばらくお待ちください」)を含む画面を表示する。
Webサーバ500は、端末200(Webブラウザ210)からスキャン設定及びスキャン指示を受信すると、スキャン設定及びスキャン指示をスキャンアプリ502へ受け渡す。スキャンアプリ502は、端末200から受信されたスキャン設定及びスキャン指示に従ってスキャン処理の実行を開始する。
スキャンアプリ502は、原稿台102にセットされた原稿を1枚ずつ順に搬送し、画像読取ユニット104によって当該原稿の画像の読み取りを行うよう、スキャン処理を制御する。スキャン処理は、原稿台102にセットされた原稿が無くなるまで継続される。なお、定められた枚数の原稿が読取対象とされてもよいし、端末200から受信されるスキャン設定において読取対象の原稿の枚数が設定されてもよい。その場合、スキャン設定画面600における設定項目として、読取対象の原稿の枚数が追加されてもよい。スキャンアプリ502は、画像読取ユニット104によって生成された画像データを記憶部13に保存する。画像データの保存が完了すると、スキャンアプリ502は、スキャン処理の完了を端末管理アプリ503に通知し、スキャン処理の実行を終了する。
なお、エラーの発生によりスキャン処理を中断する場合、スキャンアプリ502は、エラーの発生を示すメッセージを(UI表示アプリ501を介して)操作部130に表示し、セッションIDを保持したままスキャン処理を中断する。スキャンアプリ502は、エラーが解消されたことを確認すると、スキャン処理の再開を指示するためのボタンを操作部130に表示し、当該ボタンを用いて再開指示が行われると、中断前と同じセッションIDで再接続させるとともに、スキャン処理を再開する。
<端末判別処理>
図7は、画像読取装置100において実行される端末判別処理の手順の例を示すフローチャートである。端末判別処理は、端末管理アプリ503によって実行される。本手順による処理は、Webサーバ500が、端末200のWebブラウザ210からスキャン設定及びスキャン指示を含むHTTPリクエストを受信し、当該HTTPリクエストを端末管理アプリ503に受け渡したことに応じて開始される。上述のように、端末判別処理は、スキャンアプリ502によるスキャン処理と並行して実行される。
図7は、画像読取装置100において実行される端末判別処理の手順の例を示すフローチャートである。端末判別処理は、端末管理アプリ503によって実行される。本手順による処理は、Webサーバ500が、端末200のWebブラウザ210からスキャン設定及びスキャン指示を含むHTTPリクエストを受信し、当該HTTPリクエストを端末管理アプリ503に受け渡したことに応じて開始される。上述のように、端末判別処理は、スキャンアプリ502によるスキャン処理と並行して実行される。
S701で、端末管理アプリ503(CPU11)は、スキャンアプリ502から上記HTTPリクエストを受信することで、スキャン設定及びスキャン指示を取得し、S702へ処理を進める。S702で、端末管理アプリ503は、受信したHTTPリクエストから取得される、端末200のIPアドレスを、スキャン指示の送信元IPアドレスとして記録し、S703へ処理を進める。
S703で、端末管理アプリ503は、端末200に対して(送信元IPアドレスに紐付けて)セッションIDを発行(生成)する。なお、スキャンアプリ502は、端末200(Webブラウザ210)との間で確立されたセッションを介してスキャン指示(読取指示)を受信し、受信したスキャン指示に従ってスキャン処理を行う。発行されるセッションIDは、端末200(Webブラウザ210)との間で確立されたセッションを識別するものである。更にS704で、端末管理アプリ503は、個別URLを端末200に対して発行する。個別URLは、スキャン指示の送信元の端末装置である端末200(Webブラウザ210)がアクセス可能なURLであって、このセッションID(端末200)に固有のURLである。
次にS705で、端末管理アプリ503は、ステータス応答の設定を行う。端末200は、発行された個別URLを用いて、スキャンアプリ502によって実行中のスキャン処理のステータス(例えば、スキャン中、スキャン完了、又はエラー発生中等)を示すステータス情報を確認するためのステータス取得リクエストを送信できる。端末管理アプリ503は、個別URLを用いてステータス取得リクエストが受信された場合に、当該リクエストに対する応答が可能になるように、ステータス応答の設定を行う。
その後S706で、端末管理アプリ503は、S703において発行された個別URLを含むアクセス用情報を、端末200(Webブラウザ210)へ通知する。アクセス用情報を含む通知は、S701において受信したHTTPリクエストに対するレスポンスとして、端末200(Webブラウザ210)へ送信される。本実施形態においては、S701で受け付けたスキャン指示に対するスキャンをここで開始するが、S701で受け付けた時点でスキャンを開始し、S702以降の処理と並行してスキャンを継続していてもよい。この場合、スキャン指示からスキャン開始までの時間を短縮することができる。但し、この場合、後続のS708でのタイムアウト判定におけるタイムアウト時間を初回のみ延ばしておいてもよいが、そうしなくても、後述する実施形態のように最終アクセス時刻が記録されていない状態となるため、タイムアウトは発生しない。
端末管理アプリ503は、S703において生成したセッションIDに対して、端末200から受信したスキャン設定及びスキャン指示と、送信元IPアドレスと、個別URLとを関連付けて管理する。図8は、端末管理アプリ503による、画像読取装置100にアクセスする端末の管理に使用される管理テーブルの例を示す。管理テーブルは、例えば記憶部13に格納される。図8に示すように、管理テーブルには、送信元IPアドレスと、セッションIDと、個別URLとが関連付けられて格納されている。なお、図8には図示していないが、スキャン設定及びスキャン指示を示す情報が、これらに更に関連付けて管理されている、あるいはセッションIDと関連付けて別テーブルで管理されてもよい。このように、端末管理アプリ503は、端末200からアクセスを受け付けると、当該端末200のIPアドレスを送信元として取得し、当該送信元IPアドレスに対してセッションID及び個別URLを関連付けて管理する。
図8の例において、端末200のIPアドレスを「192.168.0.3」とした場合に、端末200に対してセッションID「1」及び個別URL「9d29d426-4cfd-4bf9-b0b7-e02b1e007c61」が発行されている。実際に端末200(Webブラウザ210)から画像読取装置100(Webサーバ500)へのアクセスに使用される個別URLは、「http:// 192.168.0.2/scan/9d29d426-4cfd-4bf9-b0b7-e02b1e007c61/」と表現される。端末管理アプリ503は、S706において、この個別URLを含むアクセス用情報を、端末200(Webブラウザ210)へ通知する。端末200へ送信されるレスポンスに含まれるデータの形式として、例えばJSON形式が用いられる。この場合、端末200へ送信されるレスポンスに含まれるアクセス用情報は、{ "IP_ADDRESS": "192.168.0.3", "SESSIONID": "1", "uniqueURL":" http://192.168.0.2/scan/9d29d426-4cfd-4bf9-b0b7-e02b1e007c61/" } と表現される。
S707で、端末管理アプリ503は、S706において端末200(Webブラウザ210)へ通知した個別URLに対して、端末200からアクセスがあったか否かを判定する。端末管理アプリ503は、所定の時間間隔で(例えば1秒ごとに)、端末200からアクセスがあったか否かの確認を行う。なお、この時間間隔は、一般的にポーリング間隔と称される。ポーリング間隔は、ユーザ操作により変更可能であってもよい。ポーリング間隔の変更は、例えば、UI表示アプリ501によって操作部130に表示される操作画面を介して、又は端末200等の端末装置において使用可能な設定アプリケーションを介して行われうる。ポーリング間隔を示す設定データは記憶部13に格納される。
端末管理アプリ503は、端末200からアクセスがあった場合にはS707からS709へ処理を進め、アクセスがなかった場合にはS708へ処理を進める。S708で、端末管理アプリ503は、端末200からの最終アクセス時刻からタイムアウト時間が経過することで、タイムアウトが発生したか否かを判定する。
タイムアウト時間は予め設定されて、設定データが記憶部13に格納されている。なお、端末管理アプリ503は、最終アクセス時刻が記録されていない場合には、現在時刻を最終アクセス時刻とみなして、タイムアウトが発生していないものとして扱いうる。タイムアウト時間は、一般的には、ブラウザのセッション維持が失われるときのWebサーバ500の設定次第ではあるが、省メモリの観点から、数分に設定されることが望ましい。本実施形態では、タイムアウト時間は、それよりも長い30分に設定されるものとする。タイムアウト時間は、ユーザ操作により変更可能であってもよい。例えば、UI表示アプリ501によって操作部130に表示される操作画面を介して、タイムアウト時間の変更が行われうる。
端末管理アプリ503は、タイムアウト時間が経過していない場合にはS707へ処理を戻し、タイムアウト時間が経過している場合には図7の手順による処理を終了する。処理を終了する場合には、端末管理アプリ503は、スキャンアプリ502に、スキャン処理を終了(中止)させるとともに、記憶部13に保存されている読取画像の画像データを削除(破棄)させる。スキャンアプリ502によるスキャン処理においてエラーが発生し、エラー状態が解消されない場合にも、端末管理アプリ503は図7の手順による処理を終了する。スキャンアプリ502は、端末管理アプリ503による処理が終了した状態で、エラー状態が解消されたとしても、スキャン指示がタイムアウトしたことを示すメッセージを操作部130に表示し、スキャン処理を終了するとともに、スキャン処理によりそれまでに得られた画像データを記憶部13から削除する。
なお、端末管理アプリ503は、エラー状態に起因して原稿の搬送を再開していない状態で、S708におけるタイムアウトが発生した場合、例えば、「XX(JAM、重送、カバーオープン等)エラーが発生しています。ユーザ操作が一定時間行われなかったため、スキャン動作はキャンセルされています。現時点では、エラーを解消すればスキャンを指示することが可能です。」等のエラーメッセージを、操作部130に表示してもよい。同様に、端末管理アプリ503は、タイムアウトの発生前には、「XX(JAM、重送、カバーオープン等)エラーが発生しています。スキャン動作はユーザ操作によって継続されています。現在はエラーを解消すれば現在スキャン中のユーザは画像を取得することが可能です。」といったエラーメッセージを、操作部130に表示してもよい。
一方、S707からS709へ処理を進めた場合、端末管理アプリ503は、個別URLに対するアクセスがあったことに応じて、記憶部13に格納されている最終アクセス時刻を現在の時刻に更新し、S710へ処理を進める。S710で、スキャンアプリ502からスキャン完了の通知を受信したか否かを判定する。端末管理アプリ503は、スキャン完了の通知を受信した場合には、S711へ処理を進める。一方、端末管理アプリ503は、スキャン完了の通知を受信していない場合には、スキャンアプリ502と通信して現在のスキャン処理のステータスを取得する。更に、端末管理アプリ503は、端末200(Webブラウザ210)から個別URLに対して発行されたHTTPリクエストに対するレスポンスにより、スキャン処理のステータスを示すステータス情報を端末200(Webブラウザ210)へ送信し、S707へ処理を戻す。
なお、端末管理アプリ503は、スキャン処理においてエラーが発生している場合、エラー状態を示すステータス情報を端末200へ送信する。この場合、Webブラウザ210は、例えば、「スキャン中にエラーが発生しました。本体画面上の表示に従ってエラーを解消してください。」等の、エラー状態の解消をユーザに促すメッセージをブラウザ画面に表示する。
S711で、端末管理アプリ503は、まず、端末200(Webブラウザ210)から個別URLに対して発行されたHTTPリクエストに対するレスポンスにより、スキャン処理の完了を、端末200に対して通知する。更にS712で、端末管理アプリ503は、スキャン処理により得られた読取画像の画像データを端末200(Webブラウザ210)が取得できるように、スキャン完了画面のHTMLデータ(画面データ)を端末200へ送信し、処理を終了する。スキャン完了画面には、画像データのダウンロード用の個別URLにアクセスするためのリンクが含まれており、端末200のユーザは、当該リンクを用いて画像データのダウンロードを指示できる。あるいは、端末管理アプリ503は、スキャン処理の完了に応じて、ステータス取得用の個別URLからダウンロード用の個別URLへアクセス先を変更するように、Webブラウザ210を誘導(即ち、リダイレクト)して、スキャン完了画面を表示させてもよい。
なお、端末管理アプリ503は、管理テーブルを用いた端末200の管理状態を、所定の条件に従って解除してもよい。例えば、端末管理アプリ503は、端末200以外の端末装置からスキャン指示が受信されると、端末200に対応するセッションID及び個別URLを管理テーブルから削除してもよい。あるいは、端末管理アプリ503は、読取画像の画像データが端末200によって取得(ダウンロード)されると、端末200に対応するセッションID及び個別URLを管理テーブルから削除してもよい。これにより、端末管理アプリ503が、管理テーブルを用いた端末200の管理状態を適切なタイミングに解除することが可能である。
以上説明したように、本実施形態の画像読取装置100において、端末管理アプリ503(CPU11)は、ネットワークを介して通信可能な端末装置からアクセスを受け付けると、当該端末装置との間で確立されるセッションのセッションIDと、当該セッションIDに固有の個別URLとを生成する。端末管理アプリ503は、セッションIDと個別URLとを関連付けて管理する。スキャンアプリ502は、確立されたセッションを介して受信した読取指示に従って、原稿の画像を読み取って読取画像の画像データを生成するスキャン処理(読取処理)を行う。スキャンアプリ502は、予め設定された時間間隔(ポーリング間隔)で個別URLへのアクセスを受け付けている間、スキャン処理の実行を続ける。
本実施形態によれば、スキャン処理の実行中に端末装置とのセッションが切断されても、端末管理アプリ503は、個別URLへのアクセスに基づいて、端末装置を特定(判別)することが可能である。端末管理アプリ503は、スキャン処理の完了後に(セッション切断後であっても)個別URLに対するアクセスを受け付けると、読取画像の画像データを取得するための操作画面を端末装置に提供する。これにより、セッションの切断後であっても、画像読取装置100が端末装置へ読取画像の画像データを送信することが可能になる。したがって、セッションの切断に伴って読取画像の画像データが失われる可能性を減らし、ユーザの利便性を向上させることが可能である。
端末装置側では、例えば、省電力モードへ移行、又はWebブラウザの表示画面を別の画面へ遷移させたことにより、画像読取装置100とのセッションが切断されることがある。この場合でも、端末管理アプリ503によって、当該端末装置のIPアドレスに関連付けられたセッションIDと個別URLとが保持されている限り、当該個別URLへのアクセスにより読取画像の画像データを取得できる。
上述の実施形態は、以下に例示するように種々の変更が可能である。
(例1)上述の実施形態では、画像読取装置100が、読取画像の画像データの保存及び当該画像データへのアクセス制御を行っているが、これらを画像読取装置100の外部のサーバ装置(情報処理装置)で行ってもよい。その場合、画像読取装置100は、スキャン処理により得られた画像データをサーバ装置に送信し、サーバ装置が、受信した画像データの管理及び当該画像データへのアクセス制御を行う。
(例2)上述の実施形態では、S708で判定に利用されるタイムアウト時間を30分とする例について説明したが、第1タイムアウト時間T1を数分に設定しておき、これを超えると、セッションが一時的に切断されるように構成することができる。そして第2タイムアウト時間T2(T1<T2。例えばT2=30分)として設定しておき、第1タイムアウト時間T1経過後には、ポーリングが途切れたことを端末200あるいはその利用ユーザに通知し、第2タイムアウト時間T2の経過後にタイムアウトとして処理(S708でYes)してもよい。
例えば、画像読取装置100の操作部130に対してメッセージを表示することで上述の通知を実行してもよいし、図8の管理テーブルに端末200を特定可能な情報を保管しておき、その情報をもとに、プッシュ通知や近距離無線通信等を利用した通知を実行してもよい。
また、第1タイムアウト時間T1の経過後に、切断された端末200が同じセッションIDを利用してアクセスしようとした際に再接続可能に構成してもよい。即ち、端末管理アプリ503は、第1タイムアウト時間T1の経過後に、同じセッションIDを用いたアクセスを端末200から受け付けると、当該セッションIDを用いて端末200とのセッションを再確立してもよい。さらにその際に、再接続するために、追加の処理にて認証情報を交換する(端末200の認証処理を行う)ようにしてもよい。例えば、画像読取装置100の操作部130に表示したQRコード(登録商標)を読み取らせることによって認証情報を取得、送信するように構成してもよい。
また、第1タイムアウト時間T1の経過後には端末300等の他の端末装置によって接続可能に構成してもよい。即ち、端末管理アプリ503は、第1タイムアウト時間T1の経過後に端末200以外の端末装置からのアクセスを受け付けると、当該端末装置とのセッションを新たに確立するように動作してもよい。このとき、端末200からのスキャン指示により実行中だったスキャン処理についてはその時点で確定してしまってもよく、端末200からは、そこまでに取得した画像データのダウンロードのみが可能なように構成してもよい。
(例3)上記実施形態においては、スキャン処理実行中に常時個別URLへのアクセスがタイムアウトしていないかどうかを確認していたが、これに限られない。例えば、スキャン完了時点からタイムカウントを開始し、スキャン完了からタイムアウト時間の経過後にセッションが破棄されるように構成してもよい。この場合でも、個別URLを知っている端末200からしか当該スキャンにおける画像データへのアクセスはできず、セキュリティ性を維持しつつユーザの利便性を向上させることが可能である。
(例4)上述した例2の第1タイムアウト時間T1の経過後の場合に関わらず、画像読取装置100(CPU11)は、端末200とのセッションの切断後に端末200から個別URLへのアクセスを受け付ける場合に、端末200の認証を伴う再接続処理を行うように構成されてもよい。例えば、画像読取装置100は、セッション切断後に端末200から再接続要求を受信した場合、端末200の認証のためのパスコード等の認証情報の送信を端末200に対して要求する。画像読取装置100は、端末200から認証情報を受信すると、受信した認証情報に基づく認証を行い、認証が成功した場合に限り、個別URLへのアクセスを端末200に対して許可する。
端末200への認証情報の要求は、例えば以下のように行われてもよい。画像読取装置100は、再接続要求の受信に応じて、ランダムに生成したパスコードを符号化して得られる二次元コードを操作部130に表示し、表示した二次元コードの読み取りを促す操作画面を端末200へ提供する。二次元コードは、例えばQRコード(登録商標)で構成される。ユーザは、画像読取装置100から提供されて端末200に表示された操作画面に従って、端末200が備えるカメラ機能(撮影機能)を用いて、操作部130に表示されている二次元コードの読み取りを行う。端末200は、二次元コードの読み取りにより得られたパスコードを、画像読取装置100へ送信する。
画像読取装置100は、端末200から受信したパスコードが、操作部130に表示した二次元コードに対応するパスコードと一致すると、端末200のIPアドレスに関連付けて管理している個別URLへのアクセスを端末200に対して許可する。個別URLへのアクセスが許可された後、端末200は、上述のように個別URLへアクセスすることで、スキャン処理の再開、あるいはスキャン処理により得られた読取画像の画像データを取得(ダウンロード)することが可能である。
(例5)画像読取装置100は、端末200とのセッションの確立後に、端末300のユーザによる画像読取装置100の占有状態の解放を求める解放要求に応じて、端末200とのセッションを切断する場合がある。画像読取装置100は、例えば、操作部130が他のユーザによって操作されると、解放要求が発行されたと判定する。このように解放要求に応じて画像読取装置100と端末200との間のセッションが切断された場合であっても、上述の実施形態のように、端末200は、個別URLへアクセスすることで、スキャン処理の再開、あるいはスキャン処理により得られた読取画像の画像データを取得(ダウンロード)することが可能である。このとき、画像読取装置100と端末200との間のセッションが切断されたあと、例えば解放要求を出したユーザによって画像読取装置100が利用された場合であっても、端末200から個別URLへアクセスすることで、スキャン処理の再開、あるいはスキャン処理により得られた読取画像の画像データを取得(ダウンロード)することが可能にしてもよい。
[第2実施形態]
第2実施形態では、画像読取装置100が、原稿の画像を読み取って得られた読取画像の画像データを所定の保存先に保存し、当該保存先からの画像データの取得についての承認を承認ユーザ(例えば、操作ユーザの上司等の第三者)に求める処理を行う例について説明する。上述のように、画像データの保存先は、画像読取装置100の記憶部13、又は画像読取装置100と通信可能な外部装置(サーバ装置)等でありうる。画像読取装置100は、承認ユーザによる承認が得られた場合に限り、画像読取処理の実行を指示した操作ユーザによる保存先からの画像データの取得が可能になるように、当該画像データに対するアクセスを制御する。なお、第2実施形態の画像読取装置100の構成は第1実施形態と同様である。第2実施形態は第1実施形態と組み合わされてもよく、即ち、画像読取装置100は、第1実施形態の処理及び第2実施形態の処理を行うように構成されてもよいし、第2実施形態の処理のみを行うように構成されてもよい。
第2実施形態では、画像読取装置100が、原稿の画像を読み取って得られた読取画像の画像データを所定の保存先に保存し、当該保存先からの画像データの取得についての承認を承認ユーザ(例えば、操作ユーザの上司等の第三者)に求める処理を行う例について説明する。上述のように、画像データの保存先は、画像読取装置100の記憶部13、又は画像読取装置100と通信可能な外部装置(サーバ装置)等でありうる。画像読取装置100は、承認ユーザによる承認が得られた場合に限り、画像読取処理の実行を指示した操作ユーザによる保存先からの画像データの取得が可能になるように、当該画像データに対するアクセスを制御する。なお、第2実施形態の画像読取装置100の構成は第1実施形態と同様である。第2実施形態は第1実施形態と組み合わされてもよく、即ち、画像読取装置100は、第1実施形態の処理及び第2実施形態の処理を行うように構成されてもよいし、第2実施形態の処理のみを行うように構成されてもよい。
<承認方法の設定>
画像読取装置100では、上述の承認を承認ユーザに求める処理を行うための承認方法の設定が予め行われる。承認方法の設定では、例えば、承認要求の送信先の設定、承認要求とともに送信するデータの内容の設定、及び承認処理に関連する設定等が行われうる。本実施形態においては、承認方法の設定は、画像読取装置100の動作設定を管理するユーザ(管理ユーザ)によって予め行われる。管理ユーザは、操作部130を用いて、画像読取装置100にログインし、画像読取装置100に対する設定操作を行うことが可能である。あるいは、後述するようにWebサーバ500を介して外部装置から設定操作される。
画像読取装置100では、上述の承認を承認ユーザに求める処理を行うための承認方法の設定が予め行われる。承認方法の設定では、例えば、承認要求の送信先の設定、承認要求とともに送信するデータの内容の設定、及び承認処理に関連する設定等が行われうる。本実施形態においては、承認方法の設定は、画像読取装置100の動作設定を管理するユーザ(管理ユーザ)によって予め行われる。管理ユーザは、操作部130を用いて、画像読取装置100にログインし、画像読取装置100に対する設定操作を行うことが可能である。あるいは、後述するようにWebサーバ500を介して外部装置から設定操作される。
なお、承認方法の設定は、画像読取処理により得られた画像データの取得(送信)前の任意のタイミングに行われ、例えば、画像読取処理の実行中に行われてもよいし、画像読取処理の完了後、画像データの取得前に行われてもよい。また、承認方法の設定は、画像読取装置100の管理ユーザ以外のユーザによって行われてもよい。管理ユーザ以外のユーザによる設定(の変更)が行われた場合には、不正な設定を防止するために、誰が設定を行ったのかをログ情報として残してもよい。
図9は、承認方法の設定のための設定画面の例を示す。本実施形態では、設定画面900は、CPU11(例えば、Webサーバ500上で動作する承認管理アプリ(図示せず))によって操作部130に表示されるが、画像読取装置100と通信可能な外部装置(例えば、PC等の端末装置)に表示されてもよい。その場合、画像読取装置100から送信される画面データ(例えば、HTMLデータ)に基づいて、外部装置における設定画面の表示が行われ、設定画面における入力内容が外部装置から画像読取装置100へ送信される。画像読取装置100は、外部装置から受信した入力内容に従って承認方法の設定を行う。
CPU11は、画像読取装置100への管理ユーザのログイン処理の完了後に、管理ユーザの操作に従って、設定画面900を操作部130に表示する。図9に示すように、設定画面900では、承認要求の送信先、及び承認ユーザによる承認処理のタイムアウト時間を設定可能である。CPU11は、設定画面900を介した入力に従って、承認方法の設定を行う。
設定画面900では、承認要求の送信先として、電子メールアドレス及びメールサーバを設定可能である。本実施形態では、電子メールを用いて承認要求の送信が行われる。設定画面900では、承認ユーザが端末300による電子メールの送受信に使用している電子メールアドレスが、承認要求の送信先として設定される。また、送信サーバとして、電子メールの送信に使用可能なメールサーバが設定される。なお、設定画面900は、複数の送信先を設定できるように構成されてもよい。複数の送信先が設定された場合、例えば、ある承認ユーザが不在のため承認要求に応じた承認処理を行えない場合であっても、別の承認ユーザが承認処理を行うことが可能になる。
タイムアウト時間は、承認要求の送信後、一定時間が経過しても承認が行われない場合に、承認処理の対象画像データを削除して、承認ユーザによる承認を待つ処理を終了するために用いられる。図9に示す例では、タイムアウト時間として、例えば、「10分間」、「1時間」、及び「なし(無限)」のいずれかを選択可能である。以下では、一例として、タイムアウト時間が「10分間」に設定されるものとする。
設定画面900においてOKボタンが押されると、CPU11は、設定画面900における設定内容を示す設定データを記憶部13に保存する。なお、設定データは、例えば、通信I/F15を介して通信可能な外部装置に保存されてもよい。その場合、CPU11は、必要に応じて外部装置から設定データを取得して使用する。
図9に示す設定画面900における設定項目は一例であり、他の設定項目が代替的又は追加的に存在してもよい。例えば、承認要求の送信先として、電子メールアドレスに代えて、チャット等の一般的なコミュニケーションツールによる承認要求の送信のための送信先が設定可能であってもよい。その場合、設定画面900では、一部の情報(例えば、社員ID)のみの入力を受け付け、入力された情報に基づいて残りの情報(例えば、社員IDに対応する電子メールアドレス)を外部データベースから取得してもよい。また、設定画面900は、複数の承認方法を設定(選択)できるように構成されてもよい。
<処理手順>
図10は、画像読取装置100において実行される画像読取処理の手順の例を示すフローチャートである。本例では、画像読取処理は、操作ユーザが使用する端末200から画像読取装置100へ送信される読取指示に従って実行される。
図10は、画像読取装置100において実行される画像読取処理の手順の例を示すフローチャートである。本例では、画像読取処理は、操作ユーザが使用する端末200から画像読取装置100へ送信される読取指示に従って実行される。
操作ユーザは、端末200を操作してWebブラウザ210を起動し、Webブラウザ210によって表示されるブラウザ画面のURL入力欄に、画像読取装置100のWebサーバ500を示すURL(例えば、「http://192.168.0.2/」)を入力する。これにより、端末200(Webブラウザ210)は、画像読取装置100のWebサーバ500との通信を確立するために、Webサーバ500にアクセスする。なお、このURLの入力方法としては種々の方法が利用可能であり、二次元コードやテキストを端末200のカメラ機能を用いて読み取り、デコードすることによって行われてもよい。
Webサーバ500は、端末200(Webブラウザ210)からのアクセスを受け付けると、図10の手順による処理を開始する。S1001で、Webサーバ500は、端末200からのアクセスに応じて、端末200との通信を確立する。画像読取装置100(Webサーバ500)と端末200との間の通信は、例えばHTTPプロトコルを用いて行われる。なお、画像読取装置100と端末200との間の通信は、画像読取装置100のWebサーバ500及び端末200のWebブラウザ210以外のアプリケーションを用いて実現されてもよい。
S1002で、Webサーバ500は、端末200との通信(接続)の確立に成功したか否かを判定する。Webサーバ500は、端末200との通信の確立に失敗した場合には、図10の手順による処理を終了し、端末200との通信の確立に成功した場合には、S1003へ処理を進める。
操作ユーザは、端末200を用いて、画像の読み取りに関する設定を行うことが可能である。端末200のWebブラウザ210は、Webサーバ500から取得したHTMLデータ(画面データ)に基づいて、端末200の表示部に、Webブラウザ画面として例えばスキャン設定画面600(図6)を表示する。スキャン設定画面600では、一例として、画像の読み取りにおけるカラーモード及び解像度を設定可能である。操作ユーザは、端末200の操作部(例えば、タッチパネル)を用いて読取設定を入力する。スキャン設定画面600において、スキャンボタンが操作ユーザによって押されると、端末200のWebブラウザ210は、読取設定及び読取指示を、画像読取装置100(Webサーバ500)へ送信する。これにより、S1003で、Webサーバ500は、端末200から読取設定及び読取指示を受信する。
次にS1004で、Webサーバ500上で動作しているスキャンアプリ502が、受信した読取設定及び読取指示に従って画像読取処理の実行を開始する。スキャンアプリ502は、原稿台102にセットされた原稿を1枚ずつ順に搬送し、画像読取ユニット104によって当該原稿の画像の読み取りを行うよう、画像読取処理を制御する。画像読取処理は、原稿台102にセットされた原稿が無くなるまで継続される。なお、定められた枚数の原稿が読取対象とされてもよいし、端末200から受信される読取設定において読取対象の原稿の枚数が設定されてもよい。スキャンアプリ502は、画像読取ユニット104によって生成された画像データを、保存先として予め設定されている記憶部13に保存する。Webサーバ500は、スキャンアプリ502による画像読取処理が完了すると、S1005へ処理を進める。
S1005~S1013の処理は、Webサーバ500上で動作している承認管理アプリ(図示せず)によって実行されうる。この処理は、記憶部13からの読取画像の画像データの取得についての承認要求を承認ユーザへ送信し、承認ユーザによって当該画像データの取得が承認されると、操作ユーザによる当該画像データの取得を可能にするアクセス制御を行うものである。
まずS1005で、CPU11は、承認要求に含めて送信する、画像データの確認用情報を生成する。画像データの確認用情報は、記憶部13に保存されている読取画像の画像データの、承認ユーザによる確認を可能にするための情報を含む。本例では、確認用情報は、記憶部13(保存先)に保存されている画像データを確認可能な操作画面(のURL)へのリンクを含む。本実施形態では、CPU11は、上記リンクを用いたアクセスを受け付けると、アクセス元の端末装置(端末300)へ操作画面を提供する。CPU11は、端末装置(端末300)において表示された操作画面を介して、読取画像の画像データの取得を承認又は禁止することを示す操作を受け付ける。なお、本実施形態では画像データの保存先として画像読取装置100内の記憶部13である例について説明しているが、これに限られない。例えば、画像読取装置100が接続されたインターネットなどのネットワークを介してアクセス可能なクラウドサーバなどに保存されるように構成してもよい。この場合、承認処理における端末300のアクセス先として、同じクラウドサーバ上の同じ場所が設定されてもよいし、他の場所が設定されてもよい。例えば画像データの保存先はクラウドサーバである場合であっても、承認処理における端末300のアクセス先として画像読取装置100内の記憶部13が設定されている場合、画像読取装置100は、画像データのサムネイル等の確認用の簡易データを記憶部13に保存しておけばよい。
その後、S1006で、CPU11は、記憶部13からの読取画像の画像データの取得についての承認要求であって、確認用情報を含む承認要求を、予め設定された送信先へ電子メールにより送信する。具体的には、CPU11は、記憶部13に保存されている設定データを参照し、設定されているメールサーバ(送信サーバ)を介して、設定されている電子メールアドレスを宛先とした、承認要求を含む電子メールを送信する。本実施形態では、S1006において送信された電子メールは、後述するように、承認ユーザによって使用されている端末300で受信され、承認要求に従って承認処理が行われる。更にS1007で、CPU11は、承認要求の送信時刻を記憶部13に保存し、S1008へ処理を進める。この送信時刻は、後述するS1010のタイムアウト判定において用いられる。なお、承認要求の送信方法として電子メールを一例として説明するが、これに限られず、承認要求がなされたことを端末300あるいは承認ユーザに対して通知可能な手段であればいずれの手段も用いることが可能である。
S1008で、CPU11は、S1006において電子メールにより送信した承認要求に対する応答(承認指示/禁止指示)を受信したか否かを判定する。CPU11は、応答を未だ受信していない場合、S1009へ処理を進め、所定の時間、応答の受信を待つ。その後、CPU11は、S1010へ処理を進める。
S1010で、CPU11は、S1007において保存した送信時刻に基づいて、承認要求の送信タイミングから、予め設定されたタイムアウト時間が経過した(承認処理のタイムアウトが発生した)か否かを判定する。タイムアウト時間は、記憶部13に保存されている設定データを参照することで取得される。CPU11は、タイムアウト時間が経過していない場合には、S1008へ処理を戻し、応答の受信まで再び待機する。一方、CPU11は、タイムアウト時間が経過した場合、S1013へ処理を進める。
S1013で、CPU11は、記憶部13(保存先)から読取画像の画像データを削除(破棄)し、図10の手順による処理を終了する。なおこのとき、CPU11は、承認処理のタイムアウトが発生し、読取画像の画像データを削除したことを示すメッセージを含むWebブラウザ画面を、端末200へ提供してもよい。例えば、端末200のWebブラウザ210が、Webサーバ500から画面データ(HTMLデータ)を取得して画面を表示することで、上記のようなメッセージを操作ユーザに通知してもよい。このようなタイムアウト処理により、承認要求に対する応答が受信されない(承認ユーザによる承認が得られない)限り、保存先に画像データが残り続けることを防止できる。
一方、S1008において、CPU11は、承認要求に対する応答を受信した場合には、S1011へ処理を進める。なお、本例では、承認ユーザが使用している端末300から、ネットワークを介して応答が受信される。S1011で、CPU11は、受信した応答に基づいて、記憶部13からの読取画像の画像データの取得(送信)について、承認ユーザによって承認されたか否かを判定する。承認要求に対する応答には、承認指示又は禁止指示が含められる。承認指示は、画像データの取得を承認することを示す。禁止指示は、画像データの取得を禁止することを示す。
CPU11は、承認要求に対する応答に禁止指示が含まれていた場合(画像データの取得が承認ユーザによって承認されなかった場合)には、S1013へ処理を進める。S1013で、CPU11は、記憶部13(保存先)から読取画像の画像データを削除(破棄)し、図10の手順による処理を終了する。なお、CPU11は、画像データの取得が承認ユーザによって承認されなかった(承認要求が却下された)ことを示すメッセージを含むWebブラウザ画面を、端末200へ提供してもよい。例えば、端末200のWebブラウザ210が、Webサーバ500から画面データ(HTMLデータ)を取得して画面を表示することで、上記のようなメッセージを操作ユーザに通知してもよい。
一方、CPU11は、承認要求に対する応答に承認指示が含まれていた場合(画像データの取得が承認ユーザによって承認された場合)には、S1012へ処理を進める。S1012で、CPU11は、記憶部13に保存されている読取画像の画像データの取得が可能になるように当該画像データに対するアクセスを制御する。例えば、CPU11は、記憶部13(保存先)から画像データをダウンロードするための操作画面を、操作ユーザの端末200へ提供することで、操作ユーザによる当該画像データの取得を可能にする。
例えば、端末200のWebブラウザ210が、Webサーバ500から画面データ(HTMLデータ)を取得して操作画面を表示して、操作ユーザによる操作を受け付ける。Webブラウザ210は、操作画面に含まれる、画像データのダウンロード用のリンクが操作ユーザによって操作されると、リンク先のURLにアクセスする。端末200のWebブラウザ210によるアクセスに応じて、Webサーバ500は、記憶部13に保存されている画像データを、端末200へ送信する。Webブラウザ210は、このようにして画像読取装置100(Webサーバ500)からダウンロードした画像データに対応する読取画像を、Webブラウザ画面に表示しうる。
端末200(Webブラウザ210)による読取画像の画像データのダウンロードが完了すると、CPU11は、図10の手順による処理を終了する。
<承認処理>
図11は、端末300において、承認ユーザの操作に従って実行される承認処理の手順の例を示すフローチャートである。
図11は、端末300において、承認ユーザの操作に従って実行される承認処理の手順の例を示すフローチャートである。
S1101で、端末300は、承認ユーザの操作に従って、端末300にインストールされている電子メールアプリケーションを起動し、起動した電子メールアプリケーションにより、承認要求を含む電子メールを受信する。端末300は、承認要求を含む電子メールを受信すると、S1102へ処理を進める。
電子メールの受信後、S1102で、端末300は、電子メールに含まれるリンクに対する承認ユーザの操作に従って、当該リンクによるリンク先へのアクセスを行う。これにより、端末300は、承認処理の対象画像データ(画像読取装置100の記憶部13に保存されている読取画像の画像データ)の取得を承認又は禁止することを示す操作を受け付けるための操作画面を表示部に表示する。画像読取装置100(CPU11)は、このようにして端末300に提供する操作画面を介して、承認ユーザによる、画像データの取得を承認又は禁止することを示す操作を受け付ける。リンク先へのアクセスは、例えば、端末300にインストールされているWebブラウザを用いて行われてもよい。その場合、電子メールアプリケーションからWebブラウザが起動されるように構成することが好ましい。
図12は、端末300においてWebブラウザ画面として表示される、承認処理用の操作画面の例(操作画面1200及び1210)を示す。端末300のWebブラウザは、画像読取装置100のWebサーバ500から、操作画面1200に対応する画面データ(HTMLデータ)を取得して、当該操作画面1200をWebブラウザ画面として表示する。この操作画面1200は、複数の原稿の読み取りが行われたことで得られた複数の読取画像のそれぞれのサムネイル画像を表示するように構成されている。操作画面1200は更に、読取画像の画像データの取得を承認するための承認ボタンと、禁止するための禁止ボタンとを含んでいる。この操作画面1200は種々の変更が可能であり、例えば、操作ユーザを特定するための情報が含まれていてもよい。その場合、画像読取装置100から受信される承認要求に、そのような情報が含まれる。また、対象画像データを設定された送信先に送信するよう、読取設定において設定されていてもよく、その場合にはこの操作画面1200に送信先を特定するための情報が含まれていてもよい。
承認ユーザは、Webブラウザ画面に表示されたサムネイル画像を確認し、承認ボタン又は禁止ボタンを操作する。これにより、これらのサムネイル画像に対応する読取画像の画像データを操作ユーザが取得することを承認するか又は禁止するかを指示する。
承認処理用の操作画面は、例えば、図12の操作画面1210のように構成されてもよい。操作画面1210は、承認ユーザの操作に従って複数の読取画像を1つずつ切り替えて表示するように構成されている。操作画面1200では、承認ユーザが、承認処理の対象となる複数の読取画像をまとめて確認できる一方、操作画面1210では、より拡大された個別の読取画像を確認できる。なお、承認ユーザの操作に従って、操作画面1200と操作画面1210と切り替え可能であってもよい。
S1102における操作画面の表示後、端末300は、承認ボタンの操作により、対象画像データの取得が承認ユーザによって承認された場合、S1104へ処理を進める。S1104で、端末300は、承認処理用の操作画面を閉じ、受信した承認要求に対する応答として、承認指示を含む応答を画像読取装置100へ送信し、図11の手順による処理を終了する。
一方、端末300は、禁止ボタンの操作により、対象画像データの取得が承認ユーザによって禁止された場合、S1105へ処理を進める。S1105で、端末300は、承認処理用の操作画面を閉じ、受信した承認要求に対する応答として、禁止指示を含む応答を画像読取装置100へ送信し、図11の手順による処理を終了する。なお、承認要求に対する応答は、例えばHTTPプロトコルを用いて送信されるが、それ以外の方法(例えば、電子メールを用いた送信)が用いられてもよい。
なお、上述のようにWebブラウザを用いる方法に代えて、チャット等の一般的なコミュニケーションツールを用いて、承認要求に含まれるリンクを用いた対象画像データの確認、及び承認ユーザによる操作が行われてもよい。その場合、そのようなツールが備える機能を利用して、リンク及び対象画像データの受信、並びに、承認指示又は禁止指示を含む返信(応答)が行われてもよい。
以上説明したように、本実施形態の画像読取装置100において、画像読取ユニット104は、原稿の画像を読み取って読取画像の画像データを生成する。CPU11(スキャンアプリ502)は、画像読取ユニット104によって生成された画像データを所定の保存先(記憶部13)に保存する。CPU11(承認管理アプリ)は、保存先に保存されている画像データの取得についての承認要求であって、当該画像データの確認用情報を含む承認要求を、承認ユーザへ送信する。CPU11(承認管理アプリ)は、承認要求に対する応答として、承認ユーザによって画像データの取得が承認されたことを示す応答を受信すると、端末200等の外部装置からの当該画像データの取得が可能になるように当該画像データに対するアクセスを制御する。
本実施形態によれば、承認ユーザが簡易な操作で読取画像の画像データを確認して、当該画像データの取得についての承認を行うことが可能である。このため、承認ユーザの負荷を増加させることなく、読取画像の画像データの取得についての承認処理を実現できる。また、画像データを確認した承認ユーザによる承認に従って画像データの取得が可能になるため、画像データの取得による情報漏洩(機密情報の流出)をより効率的に防ぐことが可能になる。承認ユーザによる承認処理の実現により、読取画像の画像データ(機密情報)の判定を機械的に行う場合と比べて、より正確な機密情報の特定と、特定した機密情報の流出の防止を実現できる。
なお、画像読取装置100において、CPU11(承認管理アプリ)は、承認ユーザへの承認要求の送信、承認要求に対する応答の受信、操作ユーザへの画像データの送信等の処理に関して、操作ユーザと承認ユーザとを紐づけて、セッション管理を行う。例えば、ある操作ユーザの操作に従って画像読取処理が行われた後、承認ユーザによる承認処理の完了前に、他の操作ユーザが画像読取装置100に画像読取処理を実行させた場合を想定する。この場合、承認ユーザに対して、個別の操作ユーザに対応する2つの承認要求が送信されることになるものの、上述のセッション管理により、各承認要求に基づく承認処理、及び承認処理の結果に基づく画像データの取得を、適切に管理することが可能になる。
本実施形態では、承認要求の送信先に対して、承認処理の対象画像データを確認可能な操作画面(Webページ)へのリンクのみを確認用情報として送信しているが、本開示はこれに限定されない。例えば、承認要求に含められる確認用情報は、保存先(記憶部13)に保存されている画像データに対応する読取画像のサムネイル画像を含んでもよい。あるいは、確認用情報は、保存先(記憶部13)に保存されている画像データに対応する読取画像そのものを含んでもよい。これらの場合、CPU11(承認管理アプリ)は、承認要求(電子メール)に対する返信メールを、承認指示を示す応答として受信してもよい。この場合、承認ユーザは、リンク先へのアクセスを要することなく、対象画像データを確認できるとともに、返信メールの送信のみで承認指示を行うことが可能になる。
また、対象画像データの保存先のリンクを確認用情報が含むことに限らず、対象画像データに対応する情報を確認できる情報を含んでいればよい。例えば、対象画像データの保存先とは異なる場所に対象画像データのサムネイルや他の情報を格納しておき、確認用情報としてその場所へのリンクを含ませてもよい。
また、保存先に保存された読取画像の画像データについての処理(承認管理及びアクセス制御)が、画像読取装置100以外の装置(例えば、サーバ装置等の情報処理装置)によって行われてもよい。
[第3実施形態]
第3実施形態では、画像読取装置100が、原稿の画像を読み取って得られた読取画像の画像データの送信先を、所定の切替条件に従って決定し、当該画像データを、決定した送信先に対応する送信方法に従って当該送信先へ送信する処理を行う例について説明する。なお、第3実施形態の画像読取装置100の構成は第1実施形態と同様である。第3実施形態は第1実施形態と組み合わされてもよく、即ち、画像読取装置100は、第1実施形態の処理及び第3実施形態の処理を行うように構成されてもよいし、第3実施形態の処理のみを行うように構成されてもよい。
第3実施形態では、画像読取装置100が、原稿の画像を読み取って得られた読取画像の画像データの送信先を、所定の切替条件に従って決定し、当該画像データを、決定した送信先に対応する送信方法に従って当該送信先へ送信する処理を行う例について説明する。なお、第3実施形態の画像読取装置100の構成は第1実施形態と同様である。第3実施形態は第1実施形態と組み合わされてもよく、即ち、画像読取装置100は、第1実施形態の処理及び第3実施形態の処理を行うように構成されてもよいし、第3実施形態の処理のみを行うように構成されてもよい。
<送信方法の設定>
本実施形態において、画像読取装置100は、原稿の画像を読み取って得られた読取画像の画像データを送信するための送信方法の設定を予め行う。送信方法の設定は、画像読取装置100の動作設定を管理するユーザ(管理ユーザ)によって予め行われうる。管理ユーザは、操作部130を用いて、画像読取装置100にログインし、画像読取装置100に対する設定操作を行うことが可能である。
本実施形態において、画像読取装置100は、原稿の画像を読み取って得られた読取画像の画像データを送信するための送信方法の設定を予め行う。送信方法の設定は、画像読取装置100の動作設定を管理するユーザ(管理ユーザ)によって予め行われうる。管理ユーザは、操作部130を用いて、画像読取装置100にログインし、画像読取装置100に対する設定操作を行うことが可能である。
なお、送信方法の設定は、画像読取処理により得られた画像データの取得(送信)前の任意のタイミングに行われ、例えば、画像読取処理の実行中に行われてもよいし、画像読取処理の完了後、画像データの送信前に行われてもよい。また、送信方法の設定は、画像読取装置100の管理ユーザ以外のユーザによって行われてもよい。例えば、初回の設定は管理ユーザによって行われ、次回以降は他のユーザ(例えば、設定された送信先に対応するユーザ)によって行われてもよい。管理ユーザ以外のユーザによる設定(の変更)が行われた場合には、不正な設定を防止するために、誰が設定を行ったのかをログ情報として残してもよい。
図13は、送信方法の設定のための設定画面の例を示す。本実施形態では、設定画面1300は、CPU11(例えば、Webサーバ500上で動作する送信判定アプリ(図示せず))によって操作部130に表示されるが、画像読取装置100と通信可能な外部装置(例えば、PC等の端末装置)に表示されてもよい。その場合、画像読取装置100から送信される画面データ(例えば、HTMLデータ)に基づいて、外部装置における設定画面の表示が行われ、設定画面における入力内容が外部装置から画像読取装置100へ送信される。CPU11は、外部装置から受信した入力内容に従って設定方法の設定を行う。
設定画面1300では、複数の送信先に対応する、読取画像の画像データを送信するための複数の送信方法と、当該複数の送信先のうちで、画像データのデータ量に応じて送信先を切り替えるための切替条件とが設定される。送信方法の設定は、例えば、画像データの送信に使用される通信プロトコル及び通信経路の設定を含む。なお、設定画面1300では、一例として、第一送信先及び第二送信先の2つの送信先を設定可能である。本実施形態では、第一送信先は、画像形成装置100を操作する操作ユーザとなるように(操作ユーザの端末200に画像データの送信が行われるように)設定される。また、第二送信先は、第一送信先とは異なる送信先として、操作ユーザ以外の、読取画像を確認するユーザに対して画像データの送信が行われるように設定される。読取画像を確認するユーザは、操作ユーザ以外の第三者であり、例えば、操作ユーザの上司でありうる。
●第一送信先の設定
設定画面1300では、第一送信先に対応する送信方法として、Webブラウザ経由の送信方法、又は電子メールを用いる送信方法を選択可能である。Webブラウザ経由の送信方法は、例えば、端末200のWebブラウザ210から送信される、画像データのダウンロード用のURLにアクセスするためのリンクを用いたダウンロード指示に従って画像データを送信する方法、又は、Webブラウザ210から送信される、スキャン処理のステータスを確認するためのステータス取得要求に対する応答として画像データを送信する方法でありうる。設定画面1300では、Webブラウザ経由の送信方法について、送信に使用する通信プロトコルとして、標準のプロトコル(HTTP)を使用するか、HTTPよりセキュリティの高いプロトコルであるHTTPSを使用するかを選択可能である。また、電子メールを用いた送信方法について、送信先となる電子メールアドレスと、通信経路となるメールサーバとを設定可能である。
設定画面1300では、第一送信先に対応する送信方法として、Webブラウザ経由の送信方法、又は電子メールを用いる送信方法を選択可能である。Webブラウザ経由の送信方法は、例えば、端末200のWebブラウザ210から送信される、画像データのダウンロード用のURLにアクセスするためのリンクを用いたダウンロード指示に従って画像データを送信する方法、又は、Webブラウザ210から送信される、スキャン処理のステータスを確認するためのステータス取得要求に対する応答として画像データを送信する方法でありうる。設定画面1300では、Webブラウザ経由の送信方法について、送信に使用する通信プロトコルとして、標準のプロトコル(HTTP)を使用するか、HTTPよりセキュリティの高いプロトコルであるHTTPSを使用するかを選択可能である。また、電子メールを用いた送信方法について、送信先となる電子メールアドレスと、通信経路となるメールサーバとを設定可能である。
図13に示す例では、第一送信先に対応する送信方法の設定として、Webブラウザ経由の送信方法が選択され、通信プロトコルとしてHTTPSは使用しない(HTTPを使用する)ことが設定されている。
●第二送信先の設定
設定画面1300では、第二送信先に対応する送信方法として、電子メールを用いる送信方法、又はサーバ装置(データサーバ)に画像データを送信する送信方法を選択可能である。電子メールを用いた送信方法について、送信先となる電子メールアドレスと、通信経路となるメールサーバとを設定可能である。また、データサーバに画像データを送信する送信方法について、データサーバ上の画像データの保存先を示すアドレスと、送信に使用する通信プロトコル及び通信経路とを設定可能である。通信プロトコルとして、標準のプロトコル(FTP)、又はFTPよりセキュリティの高いプロトコルであるFTPSを選択可能である。通信経路として、直接データサーバへ送信する経路、又はVPN(Virtual Private Network)を用いる経路を選択可能である。
設定画面1300では、第二送信先に対応する送信方法として、電子メールを用いる送信方法、又はサーバ装置(データサーバ)に画像データを送信する送信方法を選択可能である。電子メールを用いた送信方法について、送信先となる電子メールアドレスと、通信経路となるメールサーバとを設定可能である。また、データサーバに画像データを送信する送信方法について、データサーバ上の画像データの保存先を示すアドレスと、送信に使用する通信プロトコル及び通信経路とを設定可能である。通信プロトコルとして、標準のプロトコル(FTP)、又はFTPよりセキュリティの高いプロトコルであるFTPSを選択可能である。通信経路として、直接データサーバへ送信する経路、又はVPN(Virtual Private Network)を用いる経路を選択可能である。
図13に示す例では、第二送信先に対応する送信方法の設定として、電子メールを用いる送信方法が選択され、当該送信方法で使用する、電子メールアドレス及びメールサーバが設定されている。本例では、操作ユーザ以外の(読取画像の画像データの確認を行う)第三者が端末300による電子メールの送受信に使用している電子メールアドレスが、送信先として設定されている。設定された電子メールアドレスを宛先とした電子メールにより画像データを送信することで、端末300で当該画像データを受信する(それにより第三者が読取画像を確認する)ことが可能である。
なお、設定画面1300における、第一及び第二送信先についての上述の設定項目は一例であり、他の設定項目が代替的又は追加的に存在してもよい。例えば、共有フォルダを送信先とする送信方法が選択可能であってもよい。また、データサーバに画像データ送信する送信方法に使用する通信プロトコルとして、SFTP又はHTTPS等の、他の通信プロトコルを選択可能であってもよい。また、通信経路として、画像データを転送する転送サーバを指定可能であってもよい。設定画面1300では、最低限の設定項目のみを表示し、入力された情報に基づいて残りの情報(例えば、社員IDに対応する電子メールアドレス)を外部データベースから取得してもよい。
●切替条件の設定
設定画面1300では更に、読取画像の画像データを送信する際の送信先の切替条件として、第一送信先から第二送信先への切り替えを行う切替条件を設定可能である。切替条件は、読取画像の画像データのデータ量が閾値データ量以上であるか否かに応じて、当該画像データの送信先を第一送信先から第二送信先に切り替えるように定められる。本実施形態では、送信先の切り替えの基準として、画像データのデータサイズ又は読み取りが行われた原稿(画像)の枚数を選択可能である。設定画面1300では、画像データのデータサイズ又は原稿の枚数を基準として送信先を切り替える切替条件について、判定対象となる期間と、閾値データサイズ又は閾値原稿枚数を設定可能である。
設定画面1300では更に、読取画像の画像データを送信する際の送信先の切替条件として、第一送信先から第二送信先への切り替えを行う切替条件を設定可能である。切替条件は、読取画像の画像データのデータ量が閾値データ量以上であるか否かに応じて、当該画像データの送信先を第一送信先から第二送信先に切り替えるように定められる。本実施形態では、送信先の切り替えの基準として、画像データのデータサイズ又は読み取りが行われた原稿(画像)の枚数を選択可能である。設定画面1300では、画像データのデータサイズ又は原稿の枚数を基準として送信先を切り替える切替条件について、判定対象となる期間と、閾値データサイズ又は閾値原稿枚数を設定可能である。
画像データのデータサイズを基準として用いる場合、判定対象期間において取得された画像データの総データサイズが閾値データサイズを上回ると、第一送信先から第二送信先への切り替えが行われる。また、原稿の枚数を基準として用いる場合、判定対象期間において読み取りが行われた原稿の総枚数が閾値原稿枚数を上回ると、第一送信先から第二送信先への切り替えが行われる。判定対象期間については、例えば、1回のスキャン処理の期間、過去一時間、又は過去一日(その日)といった設定が可能である。
なお、上述の切替条件の設定は一例にすぎず、大量の原稿について画像読取処理が行われたことを判定可能な条件であれば、切替条件として設定可能である。例えば、読取画像の画像データからOCR(Optical Character Recognition)処理によって抽出された文字の数が、切替条件に用いられてもよい。また、例えば、判定対象期間は、スキャン処理の実行回数に基づいて設定可能であってもよい。
図13に示す例では、データサイズを基準として送信先を切り替える切替条件が設定されている。具体的には、1回のスキャン処理により得られた読取画像の画像データのサイズが、閾値データサイズ10MB以上であるとの判定に従って、送信先を第一送信先から第二送信先に切り替える切替条件が設定されている。
設定画面1300においてOKボタンが押されると、送信判定アプリ503(CPU11)は、設定画面1300における設定内容を示す設定データを記憶部13に保存する。なお、設定データは、例えば、通信I/F15を介して通信可能な外部装置に保存されてもよい。その場合、CPU11は、必要に応じて外部装置から設定データを取得して使用する。
<処理手順>
図14は、画像読取装置100において実行される画像読取処理の手順の例を示すフローチャートである。本例では、画像読取処理は、操作ユーザが使用する端末200から画像読取装置100へ送信される読取指示(読取開始要求)に従って実行される。
図14は、画像読取装置100において実行される画像読取処理の手順の例を示すフローチャートである。本例では、画像読取処理は、操作ユーザが使用する端末200から画像読取装置100へ送信される読取指示(読取開始要求)に従って実行される。
操作ユーザは、端末200を操作してWebブラウザ210を起動し、画像読取装置100のWebサーバ500を示すURLに対してWebブラウザ210によるアクセスを行う。CPU11(Webサーバ500)は、端末200(Webブラウザ210)からのアクセスを受け付けると、図14の手順による処理を開始する。
S1401で、CPU11(Webサーバ500)は、端末200からのアクセスに応じて、端末200との通信を確立する。画像読取装置100(Webサーバ500)と端末200との間の通信は、例えばHTTPプロトコルを用いて行われる。なお、画像読取装置100と端末200との間の通信は、画像読取装置100のWebサーバ500及び端末200のWebブラウザ210以外のアプリケーションを用いて実現されてもよい。画像読取装置100と端末200とがUSBにより接続されている場合、CPU11は、USB接続を介して所定のコマンドを送信することで、端末200との通信を確立してもよい。また、画像読取装置100と端末200との間の通信の確立に、端末200のWebブラウザ210が使用されていない場合、上述の第一送信先に対応する送信方法として電子メールを用いる送信方法のみを使用可能である。
上述のように、操作ユーザは、画像読取装置100から端末200に提供される設定画面600(図6)を用いて、画像の読み取りに関する設定を行うことが可能である。設定画面600において、スキャンボタンが操作ユーザによって押されると、端末200のWebブラウザ210は、読取設定及び読取指示を、画像読取装置100(Webサーバ500)へ送信する。これにより、S1402で、画像読取装置100(Webサーバ500)は、端末200から読取設定及び読取指示を受信する。
次にS1403で、CPU11(Webサーバ500上で動作しているスキャンアプリ502)が、受信した読取設定及び読取指示に従って画像読取処理(スキャン処理)の実行を開始する。CPU11は、原稿台102にセットされた原稿を1枚ずつ順に搬送し、画像読取ユニット104によって当該原稿の画像の読み取りを行うよう、画像読取処理を制御する。画像読取処理は、原稿台102にセットされた原稿が無くなるまで継続される。なお、定められた枚数の原稿が読取対象とされてもよいし、端末200から受信される読取設定において読取対象の原稿の枚数が設定されてもよい。CPU11は、画像読取ユニット104によって生成された画像データを、保存先として予め設定されている記憶部13に保存する。CPU11は、画像読取処理が完了するとS1404へ処理を進める。
S1404で、CPU11(スキャンアプリ502)は、後述する送信先の決定処理のために、読取画像の画像データに関する情報(読取画像情報)を記憶部13に保存する。図15は、S1404において保存される読取画像情報の例を示す。読取画像情報は、一例として、スキャン処理が行われた日時、スキャン処理により得られた画像データのサイズ、及びスキャン処理が行われた原稿の枚数(得られた読取画像の数)を含む。スキャン処理が行われるごとに、読取画像情報が、記憶部13に保持されているリストに保存(追加)される。なお、設定画面1300を用いて設定された判定対象期間から外れた古い情報は上記リストから削除されてもよい。あるいは、判定対象期間とは無関係に、上記リストから削除するタイミング(例えば、保存から一ヶ月又は一年経過したタイミング)が定められてもよい。
次にS1405で、CPU11(送信判定アプリ503)は、記憶部13に保存されている、画像データを送信するための複数の送信方法の設定、及び送信先の切替条件の設定を示す設定データを参照する。この設定データは、設定画面1300を用いた設定により予め生成されて記憶部13に保存されている。CPU11は、設定データが示す設定を用いて、図16に示す手順で、読取画像の画像データの送信先(送信方法)を決定する処理を行う。
画像データの送信先が決定されると、S1406で、CPU11(Webサーバ500)は、決定した送信先に対応する送信方法の設定に従って画像データを送信することで、決定した送信先への画像データの送信を行う。
本実施形態では、CPU11は、第一送信先へ画像データを送信する場合には、設定画面1300における、第一送信先に対応する送信方法の設定内容に従って、画像データの送信を行う。例えば、Webブラウザ経由の送信方法を用いることが設定されている場合、CPU11は、HTTP及びHTTPSのうちで設定された通信プロトコルとして使用して、端末200のWebブラウザ210へ画像データを送信する。電子メールを用いる送信方法の場合、CPU11は、設定されたメールサーバを介して、設定された電子メールアドレスを宛先として電子メールに画像データを添付して、画像データの送信を行う。
また、CPU11は、第二送信先へ画像データを送信する場合には、設定画面1300における、第二送信先に対応する送信方法の設定内容に従って、画像データの送信を行う。例えば、電子メールを用いる送信方法の場合、CPU11は、設定されたメールサーバを介して、設定された電子メールアドレスを宛先として電子メールに画像データを添付して、画像データの送信を行う。サーバ装置(データサーバ)に画像データを送信する送信方法の場合、設定されたデータサーバのアドレスに対して画像データを送信する。その際、CPU11は、FTP及びFTPSのうちで設定された通信プロトコルを使用して、画像データの送信を行う。また、通信経路としてVPNを用いる経路が設定されている場合には、VPNを介して画像データの送信を行う。なお、VPNを介した送信に必要となるVPNサーバアドレス等の設定情報は、予め記憶部13に格納されているものとする。
本例では、画像読取装置100(Webサーバ500)は、第二送信先への画像データの送信後に、ステータス取得要求を端末200(Webブラウザ210)から受信すると、例えば特定の文字列をステータス情報として含む応答を送信する。このステータス情報は、第二送信先(第一送信先以外の送信先)へ画像データの送信が行われたことを示す。この場合、端末200(Webブラウザ210)は、画像データが第二送信先へ送信されたことを把握し、読取設定用の設定画面600をWebブラウザ画面として表示する。あるいは、第二送信先に画像データが送信されたことを示す画面(不図示)をWebブラウザ画面として表示する。
本例では、画像読取装置100(Webサーバ500)は、第二送信先への画像データの送信後に、ステータス取得要求を端末200(Webブラウザ210)から受信すると、例えば特定の文字列をステータス情報として含む応答を送信する。このステータス情報は、第二送信先(第一送信先以外の送信先)へ画像データの送信が行われたことを示す。この場合、端末200(Webブラウザ210)は、画像データが第二送信先へ送信されたことを把握し、読取設定用の設定画面600をWebブラウザ画面として表示する。あるいは、第二送信先に画像データが送信されたことを示す画面(不図示)をWebブラウザ画面として表示する。
読取画像の画像データの送信(S1406)が完了すると、CPU11は、図10の手順による処理を終了する。
<送信先の決定処理(S1405)>
図16は、読取画像の画像データの送信先を決定する処理(S1405)の手順の例を示すフローチャートである。
図16は、読取画像の画像データの送信先を決定する処理(S1405)の手順の例を示すフローチャートである。
まずS1601で、CPU11(送信判定アプリ503)は、記憶部13に保存されている設定データから、設定されている切替条件についての判定対象となる期間(判定対象期間)を取得する。更にS1602で、CPU11は、切替条件についての判定に、読取画像の画像データのデータサイズを用いるか否かを判定する。CPU11は、データサイズを用いることが設定されている場合には、S1603へ処理を進め、データサイズを用いない(読み取りが行われた原稿の枚数を用いる)ことが設定されている場合には、S1605へ処理を進める。
(データサイズを用いて判定を行う場合)
S1603で、CPU11は、S1601において取得した判定対象期間と、S1404において記憶部13に保存された読取画像情報とに基づいて、判定対象期間において取得された画像データの総データサイズを算出する。例えば、判定対象期間が1回のスキャン処理の期間に設定されている場合、直近のスキャン処理で取得された画像データのサイズが取得される。次にS1604で、CPU11は、切替条件についての判定に用いる閾値として、設定された閾値データサイズ(図13の例では、10MB)を取得し、S1607へ処理を進める。
S1603で、CPU11は、S1601において取得した判定対象期間と、S1404において記憶部13に保存された読取画像情報とに基づいて、判定対象期間において取得された画像データの総データサイズを算出する。例えば、判定対象期間が1回のスキャン処理の期間に設定されている場合、直近のスキャン処理で取得された画像データのサイズが取得される。次にS1604で、CPU11は、切替条件についての判定に用いる閾値として、設定された閾値データサイズ(図13の例では、10MB)を取得し、S1607へ処理を進める。
S1607で、CPU11は、判定対象期間に対応する総データサイズ(算出値)が閾値データサイズ以上であるか否かを判定する。CPU11は、総データサイズが閾値データサイズ以上である場合には、S1608へ処理を進め、第二送信先を読取画像の画像データの送信先として決定し、処理を終了する。一方、CPU11は、総データサイズが閾値データサイズ以上ではない場合には、S1609へ処理を進め、第一送信先を読取画像の画像データの送信先として決定し、処理を終了する。
例えば、図913及び図15の例の場合、直近のスキャン処理で取得された画像データのサイズは13.5MBであり、閾値データサイズは10MBであるため、総データサイズ(算出値)が閾値データサイズ以上であると判定される。その結果、第二送信先が読取画像の画像データの送信先として決定される。
(原稿の枚数を用いて判定を行う場合)
S1605で、CPU11は、S1601において取得した判定対象期間と、S1404において記憶部13に保存された読取画像情報とに基づいて、判定対象期間においてスキャン処理が行われた原稿の総枚数(得られた読取画像の数)を算出する。次にS1604で、CPU11は、切替条件についての判定に用いる閾値として、設定された閾値原稿枚数(図13の例では、100枚)を取得し、S1607へ処理を進める。
S1605で、CPU11は、S1601において取得した判定対象期間と、S1404において記憶部13に保存された読取画像情報とに基づいて、判定対象期間においてスキャン処理が行われた原稿の総枚数(得られた読取画像の数)を算出する。次にS1604で、CPU11は、切替条件についての判定に用いる閾値として、設定された閾値原稿枚数(図13の例では、100枚)を取得し、S1607へ処理を進める。
S1607で、CPU11は、判定対象期間に対応する原稿の総枚数(算出値)が閾値原稿枚数以上であるか否かを判定する。CPU11は、原稿の総枚数が閾値原稿枚数以上である場合には、S1608へ処理を進め、第二送信先を読取画像の画像データの送信先として決定し、処理を終了する。一方、CPU11は、原稿の総枚数が閾値原稿枚数以上ではない場合には、S1609へ処理を進め、第一送信先を読取画像の画像データの送信先として決定し、処理を終了する。
以上説明したように、本実施形態の画像読取装置100において、CPU11は、複数の送信先にそれぞれ対応する、画像データを送信するための複数の送信方法を設定する。画像読取ユニット104は、原稿の画像を読み取って読取画像の画像データを生成する。CPU11は、画像読取ユニット104によって生成された画像データのデータ量に応じて送信先を切り替えるための切替条件に従って、複数の送信先のうちで当該画像データの送信先を決定する。更に、CPU11は、画像読取ユニット104によって生成された画像データを、決定された送信先に対応する送信方法に従って当該送信先へ送信する。
本実施形態において、複数の送信先は、第一送信先及び第二送信先を含みうる。第一送信先は、画像読取装置100を操作する操作ユーザ(がアクセス可能な端末装置)である。第二送信先は、操作ユーザ以外の、読取画像を確認するユーザ(がアクセス可能な端末装置)である。切替条件は、読取画像の画像データのデータ量に応じて、画像データの送信先を第一送信先から第二送信先に切り替えるための条件として定められる。
例えば、(第一送信先に設定されている)操作ユーザの上司を第二送信先として設定した場合、読取画像の画像データが、送信先の切替条件に従って、必要に応じて上司へ届くことになる。この場合、上司が読取画像を確認した上で、問題が無ければ操作ユーザへ画像データを転送し、問題が有れば画像データを転送することなく破棄することが可能である。このようにして、読取画像の画像データの送信による機密情報の流出を効率的に防ぐことが可能である。
また、上記の例では、上司によって直接、読取画像の確認が行われることになる。この場合、読取画像の画像データの確認を機械的に(例えば、所定の画像処理により)行う場合と比べて、より正確な機密情報の特定と、特定した機密情報の流出の防止を実現することが可能になる。更に、切替条件の設定により、大量の文書の読み取りが行われた場合にのみ、上司へ画像データが送信されるように制御可能である。このようにして、大量の機密情報の流出につながらないことが想定される場合には、上司への画像データが届くことなく、読取画像の確認の手間が不必要に増加することを防止できる。
なお、第一送信先の設定については必ずしも必要ではなく、第一送信先として予め定められた送信先及びそれに対応する送信方法(例えば、Webブラウザ経由の送信方法)が固定的に用いられてもよい。この場合、設定画面1300に、第一送信先に対応する送信方法の入力欄を表示しなくてもよい。
また、操作ユーザに対応する第一送信先以外の送信先として、複数の送信先(例えば、第二送信先及び第三送信先)を設定可能であってもよい。例えば、切替条件についての判定に、読取画像の画像データのデータサイズを用いる場合、データサイズに応じて第二送信先と第三送信先との切り替えが行われるように、複数の閾値データサイズが設定されうる。これにより、例えば、画像データの総データサイズが50MB以上である場合には第三送信先、総データサイズが50MB未満で、かつ、10MB以上である場合には第二送信先が、画像データの送信先として決定されうる。この場合、一例として、より多くの画像データの送信が行われる場合に、より高い役職者による読取画像の確認を必要とする制御が可能になる。
また、本実施形態は、第二送信先に対して画像データを送信せずに、第二送信先からの画像データの入手(閲覧)が可能になるように、画像データにアクセスするためのリンク(画像データの保存場所のURLへのリンク)を第二送信先へ送信してもよい。
また、本実施形態は、画像データを画像読取装置100から第一送信先、第二送信先に直接送信する態様について説明したが、これに限られない。例えば、画像データを画像読取装置100からクラウドサーバなど、所定の外部ストレージに送信しておき、そこから第一送信先、あるいは第二送信先に画像データを送信するように構成してもよい。この場合、上述したように、第二送信先が画像データにアクセスするためのリンクのみ画像読取装置100から送信してもよい。
[第4実施形態]
第4実施形態では、端末200から画像読取装置100に対するスキャン設定、スキャン指示をより簡易に実現する例について説明する。なお、第4実施形態の画像読取装置100の構成は第1実施形態と同様である。第4実施形態は第1実施形態と組み合わされてもよく、即ち、画像読取装置100は、第1実施形態の処理及び第4実施形態の処理を行うように構成されてもよいし、第4実施形態の処理のみを行うように構成されてもよい。
第4実施形態では、端末200から画像読取装置100に対するスキャン設定、スキャン指示をより簡易に実現する例について説明する。なお、第4実施形態の画像読取装置100の構成は第1実施形態と同様である。第4実施形態は第1実施形態と組み合わされてもよく、即ち、画像読取装置100は、第1実施形態の処理及び第4実施形態の処理を行うように構成されてもよいし、第4実施形態の処理のみを行うように構成されてもよい。
本実施形態では、端末200からWebサーバ500にアクセスすると、端末200のWebブラウザ210は、図17Aに示す初期画面(ログイン画面1700)をWebブラウザ画面として表示する。このログイン画面1700の上部には、タイトル表示部1701とURL表示部1702が設けられている。また、ログイン画面1700には、ログイン名入力用エディットボックス1703とパスワード入力用エディットボックス1704とログインボタン1705が配置されている。画面右上の終了ボタン1706を押すとログイン画面1700の表示が終了する。
ユーザは、ログイン名入力用エディットボックス1703とパスワード入力用エディットボックス1704のそれぞれに、ログイン名とパスワードを入力し、ログインボタン1705を押すと、Webサーバ500は、ログイン名とパスワードをチェックする。これらが正しければ図17Bに示す、スキャン設定が可能な画面であるスキャン設定画面1710をレスポンスとして返す。ログイン名とパスワードが違う場合、「ユーザ名またはパスワードが違います」エラーダイアログ(不図示)が表示され、ログイン画面1700のままとなる。
図17Bのスキャン設定画面1710では、スキャン設定(画像読取設定)を各項目から選択できる。スキャン設定画面1710においてスキャン設定として選択可能な項目は、カラーモード選択メニュー(選択肢:カラー・グレー・白黒)、解像度選択メニュー(選択肢:100DPI、300DPI)、用紙サイズ選択メニュー(選択肢:A4、レター)、読取面選択メニュー(選択肢:片面、両面)、ファイル形式選択メニュー(選択肢:PDF、JPEG)がある。選択肢は、すべてプルダウンメニューなどのコンボボックスなどで表示される。
ユーザは、スキャン設定を選択後、スキャンボタン1711を押すと、スキャンアプリケーション502が、スキャンを開始する。スキャンにより得られたスキャン画像は、Webブラウザ210によって表示される、スキャン画像のダウンロード用画面(不図示)に表示され、Webブラウザ210を通して端末200にダウンロードされる。もしくは、スキャン画像は、ダウンロード用画面や他の画面で指定した送信先に送信される。
一方、スキャン設定画面1710でユーザがジョブボタン1712を押すと、図17Cのジョブ登録画面1720に移動する。ジョブ登録画面1720では、ジョブ番号の入力エディットボックス1721と、スキャン画像を画像読取装置100から送信する送信先の入力エディットボックス1722と、送信先にアクセスするためのユーザ名及びパスワードの入力エディットボックス1723及び1724とが設けられている。入力エディットボックス1722~1724に入力される設定は、送信先設定に相当する。ジョブ番号は任意の数(例えば、1から99まで)を入力できる。ユーザが登録ボタン1725を押すと、画像読取装置100は、スキャン設定画面1710で設定されていたスキャン設定と、ジョブ登録画面1720で設定される送信先設定とを、まとめてジョブ番号と関連づけて記憶する。削除ボタン1726を押すと、対象のジョブ番号として登録されたジョブが削除される。
なお、このジョブ登録は、画像読取装置100とUSBやネットワークで接続された他の情報処理装置からも実行可能となっている。このとき、いずれの登録方法によって登録されたかに関わらず、図17Cのジョブ登録画面において、ジョブ番号を指定すると、対象のジョブ番号に関連づけて記憶されたジョブの設定情報が表示されるように構成してもよい。この場合、スキャン設定を確認するためのボタンを設けてもよい。
ユーザが図17Bのスキャン設定画面1710において「お気に入りに登録する」ボタン1713を押すと、お気に入り登録用の画面(図19)が表示される。お気に入り登録用画面については後述する。
次に、図18のフローチャートを用いてスキャン動作について説明する。スキャンアプリケーション502は、Webサーバ500から起動され、待機している(S1801)。スキャン命令を受信すると、次いであるいは同時にスキャン設定を受信する(S1802)。
次にスキャン開始の準備動作を行う。ここではシェーディングデータや背景データなど画像を作るための情報を取得する(S1803)。準備動作が終わると、スキャンを開始する(S1804)。スキャンが開始すると、まず原稿台102に原稿があるかを確認する(S1805)。原稿がある場合(S1805でYes)、スキャンを行う(S1806)。スキャン中は、重送などのエラーが発生していないか確認し(S1807)、エラーが発生していた場合(S1807でYes)、エラーを通知し(S1808)、処理を終了する。S1807でエラーが発生しなかった場合(S1807でNo)、画像を送信する(S1810)。なお、画像を送信するとは、例えば読み取った画像を表示してダウンロードすることが可能なダウンロード画面を表示させることを含む。原稿台102から原稿がなくなると(S1805でNo)、原稿なしを示すエラーを通知し(S1808)、処理を終了する。
次に、ジョブアプリケーション504の動作について説明する。本実施形態の画像読取装置100は、図5に示すように、スキャンアプリケーション502などに加えて、ジョブアプリケーション504を更に有する。ジョブアプリケーション504は、UI表示アプリケーション501がユーザ操作によりスキャン開始命令を受け付けると実行される。スキャンアプリケーション502とジョブアプリケーション504は、スキャナードライバを介して、画像読取装置100を制御する。
図3に示した操作部130において、ユーザがジョブ番号を選択し、スキャンスタートボタンを押すと、UI表示アプリケーション501がスキャンアプリケーション502を起動し、スキャンアプリケーション502から画像を取得する。次に、UI表示アプリケーション501は、取得した画像を引数にジョブアプリケーション504を起動する。ジョブアプリケーション504は、画像を送信設定に応じて送信する。本実施形態では画像をSMBプロトコルでネットワーク上のPCの共有フォルダへ送信している。しかし、これに限らずFTP、SMTP、またはこれらに相当する通信プロトコルで送信を行ってもよい。また、UI表示アプリケーション501が他のアプリケーションを起動することは一例に過ぎず、各アプリケーションは、いずれのアプリケーションやプロセスによって起動されてもよい。
図19は、図17Bの「お気に入りに登録する」ボタン1713が押された場合にWebブラウザ210によって表示されるお気に入りスキャン画面(画面1900)である。この画面1900には、スキャン設定の一覧1911が表示されている。なお、この一覧1911にはスキャン設定の一部のみが表示されていてもよい。また、画面1900の下部に「この画面をブラウザのお気に入りに登録してください。お気に入りを選択すると、スキャンが開始し画像が取得できるようになります。」という、お気に入り登録することで直接スキャンが実行可能であることの説明事項1912を表示し、ユーザに、この画面1900をWebブラウザ210のお気に入りリストに登録するように促している。戻るボタン1913を押下すると図17Bのスキャン設定画面1710に戻る。
画面1900のタイトル表示部1901には、「カラー/100dpi/A4/両面/PDF」が表示されている。これは、HTMLの<title>タグの内容である。ユーザがWebブラウザ210のお気に入りに画面1900を登録すると、お気に入りリストのタイトルが、「カラー/100dpi/A4/両面/PDF」となる。また、URL表示部1902に表示されるURLは、画像読取装置100のIPアドレス部分以降が、favoriteを先頭に、一意の文字列となるように、生成される。ユーザは2回目以降このURLにアクセスすると、画面1900が表示される代わりに、Webブラウザ210を通して、読み取った画像を取得するためのダウンロード画面が表示される。換言すると、画像読取装置100は、図17Bの「お気に入りに登録する」ボタン1713が選択されると、図19に示したURLを生成し、Webブラウザ210からの初回のアクセス時にはこの画面1900を返す。更に、画像読取装置100は、以後のこのURLへのアクセス時には、このURLに含まれるスキャン設定に従って画像の読取動作を実行しつつ、画面1900をWebブラウザ210に対して返さずに、この時に読み取った画像のダウンロード画面のURLをWebブラウザ210に返す。なお、2回目以降の図19に示すURLへのアクセス時、読み取り動作が完了するまでの間はWebブラウザ210に対し、スキャン中画面(例えば、「スキャン中」の表記とスキャン完了枚数が都度更新されながら表示される)を返してもよい。その後は図18のS1805に進み、以後の処理を実行すればよい。
なお、画面1900のURLが一意の文字列を含むようにしている理由は、第3者にこのURLを推測できないようにするためである。また、本実施形態においてはこのとき、画像読取装置100、特にWebサーバ500がURL生成部として機能するが、これに限られず、他の構成によってURLを生成してもよい。
次に、一意の文字列を含んだURLを生成するルールの一例について説明する。URLの生成処理はWebサーバ500が行う。まず、Webサーバ500は、スキャン設定を羅列した文字列(図19の例では「color/100dpi/A4/duplex/PDF」)を作成する。さらにログイン名とパスワードを並べて、ハッシュ化した文字列を、文字列「color/100dpi/A4/duplex/PDF」の後ろに足す。そして、得られた文字列の全体をbase64エンコードする。そして、エンコードにより得られた文字列をURLのfavorite以降につなげることで、「http://192.168.0.10/favorite/....」との文字列が完成する。
また、URLからスキャン設定を取り出すには、前述した手順の逆の手順を行う。そして、ハッシュ化されたログイン名とパスワードを取り出す。認証チェックでは、画像読取装置100内で保存されているログイン名とパスワードをハッシュ化し、これらと、URLから取り出した、ハッシュ化されたログイン名とパスワードを使って認証チェックを行う。認証チェックでエラーがなければ、URLからスキャン設定を取り出す。認証チェックでエラーが発生した場合、ユーザに操作部130を介して、エラーを通知する(不図示)。
なお、以上説明したURLの生成ルールは一例であり、これに限られない。例えばURL生成時にログイン名やパスワードを使用せずに生成してもよいし、時刻やいずれかのデバイス情報などを用いてもよい。また、URLには一意の識別情報のみが含まれており、その識別情報を画像読取装置100内に記憶されたスキャン設定と紐づけておくことで、URLへのアクセス時に対応するスキャン設定によるスキャンが実行されるように構成してもよい。
次に、ユーザが「お気に入りに登録する」ボタン1713を押したときに、図19の画面1900が表示されるまでの流れを説明する。ユーザがスキャン設定画面1710において「お気に入りに登録する」ボタン1713を押すと、Webサーバ500は、スキャン設定とログイン名とパスワードから、一意の文字列を含んだURL(図19の例: 「http://192.168.0.10/fovorite/nY2OabYnb=」)を作成する。Webサーバ500は、HTTPレスポンスコード「301」と、ヘッダーにLocationをつけてレスポンスを返す。Locationには、今回作成したURLを入れる。レスポンスを受け取ったWebブラウザ210はHTTPレスポンスコード「301」を確認したことでリダイレクトする。リダイレクト先は、ヘッダーのLocationに書かれたURLである。その後、図19の画面1900が表示される。
次に図20を用いて、Webサーバ500が、生成したURLへのリクエストを受信したときの動作について説明する。Webサーバ500が、生成したURLへのリクエストを受信する(S2001)と、このURLへのリクエストの受信が1回目かどうかを確認する(S2002)。1回目の場合、お気に入りスキャン画面(画面1900)をレスポンスとして返し(S2003)、処理を終了する。
このURLへのリクエスト受信が2回目以降は、スキャンアプリケーション502を起動しスキャンを行う(S2004)。スキャンが正常に終了した場合(S2005でNo)、読み取った画像をWebブラウザ210に送り(S2006)、処理を終了する。スキャン中にエラーが起きていた場合(S2005でYes)、エラーの内容を表示し、再スキャンができるようにスキャンボタンを配置した画面をWebブラウザ210に返し(S2007)、処理を終了する。
以上により、ユーザはスキャン設定をWebブラウザ210のお気に入りに登録できる。ユーザがWebブラウザ210に登録されたお気に入りを選択するだけで、画像読取装置100がスキャンを開始して画像を取得できるので、スキャン開始及び画像取得までの手順が少なく、手間が削減できる。さらに、URLに直接アクセスできるショートカットアイコンをデスクトップなどに配置すれば、そのアイコンをクリックするだけでスキャンが開始し画像を取得できるので、さらに手間を削減できる。
また、図17Bに示すスキャン設定画面1710において、スキャンボタン1711を押せばこの画面で設定されたスキャン設定でスキャンを開始することができるとともに、この画面において「お気に入りに登録する」ボタン1713を押せば、スキャン設定をお気に入りに登録することができる。すなわち、Webブラウザ210を介した通常のスキャン動作の中でそのままWebブラウザ210のお気に入りにスキャン設定を登録できるので、利便性を向上することができる。さらに、スキャンボタン1711と「お気に入りに登録する」ボタン1713の機能を組み合わせたボタンを設け、この画面で設定したスキャン設定によってスキャンの実行とお気に入りの登録の両方が実行可能なように構成してもよい。
なお、本実施形態においては、Webブラウザ210から画像読取装置100にアクセスする際に、ログインを要し、画像読取装置100内で保存されているログイン名とパスワードを用いて図19の画面1900のURLを生成する態様について説明したが、これに限られない。すなわち、Webブラウザ210から画像読取装置100にアクセスする際にログインせずに接続可能に構成し、その後、図19の画面1900のURLを生成する際に、ログイン情報を用いずに生成するようにしてもよい。この場合、デバイス情報や時刻情報などを用いてURLを生成することが好ましい。
また、本実施形態では、ユーザがWebブラウザ210のお気に入りを選択すると、図17Cのジョブ登録画面1720を介して設定したジョブのスキャン設定に従ってスキャンが開始し、画像を取得できるが、これに限らない。予め画像読取装置100に保存されたジョブをお気に入りに登録するように構成してもよい。ジョブには、スキャン設定と画像の送信先が登録されている。この場合、ユーザは、Webブラウザ210のお気に入りを選択すると、画像読取装置100がジョブ設定に従ってスキャンを開始し、スキャン画像をURLと紐づいて設定された送信先(例:共有フォルダ)へ送信する。この態様においては、図19の画面1900のURLを生成するときは、URLにジョブ番号を含ませて生成する。
また、ジョブが削除された場合、ユーザはWebブラウザ210のお気に入りでアクセスできなくなる。この場合は、Webブラウザ210は、図17Cのジョブ登録画面1720を表示し、ユーザに再登録を促す。
[第5実施形態]
以下、本発明の第5実施形態について説明する。なお、第4実施形態と共通の構成については同じ符号を用いるとともに説明を省略し、相違点についてのみ説明する。
以下、本発明の第5実施形態について説明する。なお、第4実施形態と共通の構成については同じ符号を用いるとともに説明を省略し、相違点についてのみ説明する。
図21は、本実施形態に係る画像読取装置100の操作部130に表示される画面の例である。図21の画面2100は、ジョブ表示部2101、二次元コード表示部2102、切替ボタン2103及び2104、並びに削除ボタン2105を含む。
本実施形態においては、UI表示アプリケーション501が、第4実施形態で説明したURLへのアクセスをきっかけに実行されるスキャン(クイックスキャン)を実行するためのURLを含んだ二次元コードを、二次元コード表示部2102に表示する。図21の例では、ジョブ表示部2101にジョブ番号「01」のジョブが表示された状態であり、二次元コード表示部2102に表示された二次元コードは、このジョブ番号「01」のジョブ情報を含んでいる。この画面2100で切替ボタン2103又は2104を押すと、ジョブ表示部2101に表示されるジョブが切り替わるとともに、二次元コード表示部2102に表示される二次元コードも対応するジョブ情報を含む二次元コードに切り替わる。また、削除ボタン2105を押下することで、ジョブ表示部2101に表示されたジョブ情報を削除できる。
このように、二次元コード表示部2102に表示された二次元コードを端末200のカメラなどを利用して撮影し、二次元コードをデコードして得られるURLにアクセスすることができる。このURLは、第4実施形態で説明した図19の画面1900のURLに対応する。すなわち、操作部130に表示可能にするために画像読取装置100に対して保存された状態であれば、以後のアクセスを二回目以降のアクセスと判断して、第一実施形態で説明したとおりの動作を実行することが可能である。
このとき、図21に示した画面2100には、ジョブとして画像読取装置100に登録されているものに加えて、図17Bの「お気に入りに登録する」ボタン1713を介して図19の画面1900を表示したURLに対応する二次元コードとスキャン設定を紐づけて表示するようにしてもよい。
発明は上記の実施形態に制限されるものではなく、発明の要旨の範囲内で、種々の変形・変更が可能である。
本願は、2023年6月29日提出の日本国特許出願特願2023-107199、2023年6月5日提出の日本国特許出願特願2023-092652、及び2023年6月12日提出の日本国特許出願特願2023-096444を基礎として優先権を主張するものであり、その記載内容の全てを、ここに援用する。
Claims (21)
- ネットワークを介して通信可能な端末装置からアクセスを受け付けると、前記端末装置との間でセッションを確立して管理する管理手段と、
前記セッションを介して受信した読取指示に従って、原稿の画像を読み取って読取画像の画像データを生成する読取処理を行う処理手段と、を備え、
前記処理手段は、予め設定された時間間隔において前記セッションを介したアクセスを受け付けている間、前記読取処理の実行を続ける、
ことを特徴とする画像読取装置。 - 前記管理手段は、前記セッションのセッションIDに固有のURLを生成し、前記セッションIDと前記URLとを関連付けて管理し、
前記処理手段は、前記予め設定された時間間隔において前記セッションを介したアクセスとして前記URLへのアクセスを受け付けている間、前記読取処理の実行を続ける、
ことを特徴とする請求項1に記載の画像読取装置。 - 前記読取処理の完了後に前記URLに対するアクセスを受け付けると、前記画像データを取得するための操作画面を前記端末装置に提供する提供手段を更に備える、
ことを特徴とする請求項2に記載の画像読取装置。 - 前記提供手段は、前記読取処理の完了後に前記URLに対するアクセスを受け付けると、前記画像データの取得用のURLへのアクセス先を変更するように、前記端末装置をリダイレクトする、
ことを特徴とする請求項3に記載の画像読取装置。 - 前記提供手段は、前記セッションが切断された後であっても、前記読取処理の完了後に前記URLに対するアクセスを受け付けると、前記操作画面を前記端末装置に提供する、
ことを特徴とする請求項3又は4に記載の画像読取装置。 - 前記提供手段は、前記読取処理のステータスを確認するためのリクエストを前記URLを介して前記端末装置から受信すると、前記読取処理のステータスを示すレスポンスを前記端末装置へ送信し、前記読取処理が完了している場合には更に、前記操作画面を前記端末装置に提供する、
ことを特徴とする請求項3乃至5のいずれか一項に記載の画像読取装置。 - 前記提供手段は、前記読取処理が完了した後、前記URLに対する最終アクセス時刻からタイムアウト時間が経過する前に、前記URLに対するアクセスを受け付けると、前記操作画面を前記端末装置に提供する、
ことを特徴とする請求項3乃至6のいずれか一項に記載の画像読取装置。 - 前記読取処理によって生成された前記画像データが格納される記憶手段を更に備え、
前記処理手段は、前記最終アクセス時刻から前記タイムアウト時間が経過すると、前記記憶手段から前記画像データを削除する、
ことを特徴とする請求項7に記載の画像読取装置。 - 前記管理手段は、前記URLに対する最終アクセス時刻から第1タイムアウト時間が経過すると、前記端末装置との間で確立された前記セッションを一時的に切断し、
前記処理手段は、前記最終アクセス時刻から、前記第1タイムアウト時間より長い第2タイムアウト時間が経過すると、前記読取処理の実行を中止する、
ことを特徴とする請求項2乃至6のいずれか一項に記載の画像読取装置。 - 前記読取処理によって生成された前記画像データが格納される記憶手段を更に備え、
前記処理手段は、前記最終アクセス時刻から前記第2タイムアウト時間が経過すると、前記記憶手段から前記画像データを削除する、
ことを特徴とする請求項9に記載の画像読取装置。 - 前記第1タイムアウト時間が経過した後、前記URLへの前記時間間隔のアクセスが途切れたことを前記端末装置のユーザに通知する通知手段を更に備える、
ことを特徴とする請求項9又は10に記載の画像読取装置。 - 前記通知手段は、前記画像読取装置の表示部に表示するメッセージを用いた通知、又は近距離無線通信を用いた前記端末装置への通知を行う、
ことを特徴とする請求項11に記載の画像読取装置。 - 前記管理手段は、前記第1タイムアウト時間の経過後に、前記セッションIDを用いたアクセスを前記端末装置から受け付けると、前記セッションIDを用いて前記端末装置との前記セッションを再確立する、
ことを特徴とする請求項9乃至12のいずれか一項に記載の画像読取装置。 - 前記管理手段は、前記端末装置との間で前記セッションを再確立する際に、前記端末装置の認証処理を行う、
ことを特徴とする請求項13に記載の画像読取装置。 - 前記管理手段は、前記第1タイムアウト時間の経過後に、前記端末装置以外の端末装置からのアクセスを受け付けると、当該端末装置とのセッションを新たに確立するように動作する、
ことを特徴とする請求項9乃至14のいずれか一項に記載の画像読取装置。 - 前記管理手段は、前記読取処理が完了した時点からタイムアウト時間が経過すると、前記端末装置との前記セッションを切断する、
ことを特徴とする請求項2乃至8のいずれか一項に記載の画像読取装置。 - 前記管理手段は、前記端末装置からアクセスを受け付けると、前記端末装置のIPアドレスを送信元IPアドレスとして取得し、前記送信元IPアドレスに対して前記セッションID及び前記URLを関連付けて管理する、
ことを特徴とする請求項2乃至16のいずれか一項に記載の画像読取装置。 - 前記管理手段は、
前記セッションID及び前記URLを管理テーブルに格納して管理しており、
前記端末装置以外の端末装置から読取指示が受信されると、前記セッションID及び前記URLを前記管理テーブルから削除する、
ことを特徴とする請求項2乃至17のいずれか一項に記載の画像読取装置。 - 前記管理手段は、
前記セッションID及び前記URLを管理テーブルに格納して管理しており、
前記画像データが前記端末装置によって取得されると、前記セッションID及び前記URLを前記管理テーブルから削除する、
ことを特徴とする請求項2乃至18のいずれか一項に記載の画像読取装置。 - ネットワークを介して通信可能な端末装置からアクセスを受け付けると、前記端末装置との間でセッションを確立して管理する管理工程と、
前記セッションを介して受信した読取指示に従って、原稿の画像を読み取って読取画像の画像データを生成する読取処理を行う処理工程と、を含み、
前記処理工程では、予め設定された時間間隔において前記セッションを介したアクセスを受け付けている間、前記読取処理の実行を続ける、
ことを特徴とする画像読取装置の制御方法。 - 画像読取装置のコンピュータに、請求項20に記載の画像読取装置の制御方法を実行させるためのプログラム。
Applications Claiming Priority (6)
| Application Number | Priority Date | Filing Date | Title |
|---|---|---|---|
| JP2023092652A JP2024174689A (ja) | 2023-06-05 | 2023-06-05 | 画像読取装置及びその制御方法、並びにプログラム |
| JP2023-092652 | 2023-06-05 | ||
| JP2023096444A JP2024177988A (ja) | 2023-06-12 | 2023-06-12 | 画像読取装置及びその制御方法、並びにプログラム |
| JP2023-096444 | 2023-06-12 | ||
| JP2023-107199 | 2023-06-29 | ||
| JP2023107199A JP2025006413A (ja) | 2023-06-29 | 2023-06-29 | 画像読取装置及びその制御方法、並びにプログラム |
Publications (1)
| Publication Number | Publication Date |
|---|---|
| WO2024253003A1 true WO2024253003A1 (ja) | 2024-12-12 |
Family
ID=93795906
Family Applications (1)
| Application Number | Title | Priority Date | Filing Date |
|---|---|---|---|
| PCT/JP2024/019717 Pending WO2024253003A1 (ja) | 2023-06-05 | 2024-05-29 | 画像読取装置及びその制御方法、並びにプログラム |
Country Status (1)
| Country | Link |
|---|---|
| WO (1) | WO2024253003A1 (ja) |
Citations (3)
| Publication number | Priority date | Publication date | Assignee | Title |
|---|---|---|---|---|
| JP2012142680A (ja) * | 2010-12-28 | 2012-07-26 | Canon Inc | 画像読取装置、その制御方法、および制御プログラム |
| JP2016046581A (ja) * | 2014-08-20 | 2016-04-04 | コニカミノルタ株式会社 | 文書共有システム、サーバ、端末装置、文書データ更新方法、およびコンピュータプログラム |
| JP2016143978A (ja) * | 2015-01-30 | 2016-08-08 | ブラザー工業株式会社 | 機能実行機器、通信機器のためのコンピュータプログラム、及び、通信機器 |
-
2024
- 2024-05-29 WO PCT/JP2024/019717 patent/WO2024253003A1/ja active Pending
Patent Citations (3)
| Publication number | Priority date | Publication date | Assignee | Title |
|---|---|---|---|---|
| JP2012142680A (ja) * | 2010-12-28 | 2012-07-26 | Canon Inc | 画像読取装置、その制御方法、および制御プログラム |
| JP2016046581A (ja) * | 2014-08-20 | 2016-04-04 | コニカミノルタ株式会社 | 文書共有システム、サーバ、端末装置、文書データ更新方法、およびコンピュータプログラム |
| JP2016143978A (ja) * | 2015-01-30 | 2016-08-08 | ブラザー工業株式会社 | 機能実行機器、通信機器のためのコンピュータプログラム、及び、通信機器 |
Similar Documents
| Publication | Publication Date | Title |
|---|---|---|
| KR102763348B1 (ko) | 화상 처리 장치, 그 제어 방법, 및 저장 매체 | |
| CN112825186B (zh) | 图像处理装置、其控制方法和存储介质 | |
| JP5231620B2 (ja) | サーバ装置 | |
| CN104350731B (zh) | 图像处理装置以及图像处理系统 | |
| US11509779B2 (en) | Image processing apparatus for setting a notification destination user when scanning an image | |
| JP5513107B2 (ja) | 情報処理装置及びその制御方法、並びにプログラム | |
| US11025787B2 (en) | Data transmission apparatus and control method for using data transmission functions | |
| US20220345574A1 (en) | Image processing apparatus, method of controlling same, and storage medium | |
| US20210195061A1 (en) | Image processing apparatus, method for controlling the same, and storage medium | |
| US11076059B2 (en) | Data transmission apparatus that can set destination such as e-mail address received from external apparatus on transmission setting screen and control method therefor | |
| JP6014562B2 (ja) | 画像形成装置 | |
| WO2024253003A1 (ja) | 画像読取装置及びその制御方法、並びにプログラム | |
| US20230216975A1 (en) | System having image processing apparatus, server apparatus, and information terminal, storage medium, control method for information terminal, and information terminal | |
| JP2014017592A (ja) | 画像形成装置及び画像形成方法 | |
| JP2011186527A (ja) | 画像管理装置、画像形成装置、画像管理システムの制御方法、制御プログラム及び記録媒体 | |
| JP5168347B2 (ja) | 画像処理装置、アップロード方法およびアップロードプログラム | |
| JP2024174689A (ja) | 画像読取装置及びその制御方法、並びにプログラム | |
| US12244676B2 (en) | Information processing system, method for controlling the same, mobile terminal, and method for controlling the same | |
| JP2024177988A (ja) | 画像読取装置及びその制御方法、並びにプログラム | |
| JP2013041554A (ja) | プリントサーバー、プリントデータ送信方法およびプリントデータ送信プログラム | |
| JP2024176027A (ja) | 画像読取装置及びその制御方法、並びにプログラム | |
| US20250097356A1 (en) | Image processing apparatus, control method of image processing apparatus, and recording medium | |
| US20240267476A1 (en) | Image processing apparatus, image processing method, and storage medium | |
| JP2025025059A (ja) | 画像読取装置及びその制御方法、並びにプログラム | |
| JP2025015209A (ja) | 画像読取システム、サーバ装置及び画像読取装置、それらの制御方法、並びにプログラム |
Legal Events
| Date | Code | Title | Description |
|---|---|---|---|
| 121 | Ep: the epo has been informed by wipo that ep was designated in this application |
Ref document number: 24819234 Country of ref document: EP Kind code of ref document: A1 |