WO2024166350A1 - 導光装置及びその製造方法 - Google Patents
導光装置及びその製造方法 Download PDFInfo
- Publication number
- WO2024166350A1 WO2024166350A1 PCT/JP2023/004532 JP2023004532W WO2024166350A1 WO 2024166350 A1 WO2024166350 A1 WO 2024166350A1 JP 2023004532 W JP2023004532 W JP 2023004532W WO 2024166350 A1 WO2024166350 A1 WO 2024166350A1
- Authority
- WO
- WIPO (PCT)
- Prior art keywords
- light
- section
- path
- guiding substrate
- substrate
- Prior art date
- Legal status (The legal status is an assumption and is not a legal conclusion. Google has not performed a legal analysis and makes no representation as to the accuracy of the status listed.)
- Ceased
Links
Images
Classifications
-
- G—PHYSICS
- G02—OPTICS
- G02B—OPTICAL ELEMENTS, SYSTEMS OR APPARATUS
- G02B27/00—Optical systems or apparatus not provided for by any of the groups G02B1/00 - G02B26/00, G02B30/00
- G02B27/02—Viewing or reading apparatus
-
- H—ELECTRICITY
- H04—ELECTRIC COMMUNICATION TECHNIQUE
- H04N—PICTORIAL COMMUNICATION, e.g. TELEVISION
- H04N13/00—Stereoscopic video systems; Multi-view video systems; Details thereof
- H04N13/30—Image reproducers
- H04N13/332—Displays for viewing with the aid of special glasses or head-mounted displays [HMD]
- H04N13/344—Displays for viewing with the aid of special glasses or head-mounted displays [HMD] with head-mounted left-right displays
-
- H—ELECTRICITY
- H04—ELECTRIC COMMUNICATION TECHNIQUE
- H04N—PICTORIAL COMMUNICATION, e.g. TELEVISION
- H04N5/00—Details of television systems
- H04N5/64—Constructional details of receivers, e.g. cabinets or dust covers
Definitions
- the present invention relates to a light guide device for use in an augmented reality system and a method for manufacturing the same.
- Augmented reality systems are used to display images of virtual objects as part of or overlaid on the surrounding environment, generating a virtual image of an augmented reality environment.
- Augmented reality systems may, for example, be realized as a head-mounted display or other form of wearable device.
- the augmented reality system includes a light source that generates a virtual image, a light entrance section that captures the generated virtual image, a light guide section that propagates the image captured in the light entrance section as a light beam, and a light exit section that receives the light beam from the light guide section, reconstructs an image from the light beam, and provides the image to the user.
- the light entrance section, light exit section, and light guide section are collectively referred to as a light guide device.
- Patent Documents 1-3 Various light guide devices have been developed to date (Patent Documents 1-3). However, no light guide device has been developed that has a sufficiently high efficiency of using light from a light source.
- the light-guiding device includes a light-guiding substrate that propagates light by internal reflection, a light entrance section having a first portion and a second portion that are one-dimensional diffraction gratings provided on the light-guiding substrate, the first portion being configured to propagate received light as a first light beam along a first path within the light-guiding substrate, and the second portion being configured to propagate received light as a second light beam along a second path within the light-guiding substrate, a first folding portion that is a one-dimensional diffraction grating provided on the light-guiding substrate and that is configured to change the direction of the first path of the first light beam, and a one-dimensional diffraction grating provided on the light-guiding substrate.
- the device includes a second folding section configured to change the direction of the second path of the second light beam, and a two-dimensional diffraction grating provided on the light guide substrate, the light emitting section configured to receive the first beam from the first folding section and the second beam from the second folding section, combine the first and second beams, and emit them to the outside of the light guide substrate, and on the surface of the light guide substrate, the center of the smallest circle that includes the first portion is farther from the light emitting section than the center of the smallest circle that includes the second portion, and the first path is configured to pass through the region of the light guide substrate in which the second portion is provided.
- the above light guiding device is configured such that the first path passes through the region of the light guiding substrate in which the second portion is provided, and therefore light rays propagating within the light guiding substrate as first-order diffracted light of both the first portion and the second portion can become stray light.
- Such stray light is peculiar to the above light guiding device. Therefore, there is a need for a light guiding device and a manufacturing method thereof that includes a stray light prevention structure for stray light propagating within the light guiding substrate as first-order diffracted light of both the first portion and the second portion.
- the objective of the present invention is to provide a light-guiding device equipped with a stray light prevention structure for preventing stray light propagating within a light-guiding substrate as first-order diffracted light from both the first and second parts of the light entrance section, and a method for manufacturing the same.
- the light-guiding device of the first aspect of the present invention is a light-guiding substrate that propagates light by internal reflection, and a light entrance section that includes a first portion and a second portion that are one-dimensional diffraction gratings provided on the light-guiding substrate, the first portion being configured to propagate received light as a first light beam along a first path within the light-guiding substrate, and the second portion being configured to propagate received light as a second light beam along a second path within the light-guiding substrate, and the one-dimensional diffraction grating provided on the light-guiding substrate.
- a first folding portion configured to change a direction of the first path of the first light beam, a one-dimensional diffraction grating provided on the light guiding substrate, a second folding portion configured to change a direction of the second path of the second light beam, and a two-dimensional diffraction grating provided on the light guiding substrate, a light exit portion configured to receive the first beam from the first folding portion and the second beam from the second folding portion, combine the first and second beams, and exit the light guiding substrate from the light guiding substrate.
- the light guiding device is configured such that, on a surface of the light guiding substrate, a center of a smallest circle that includes the first portion is farther from the light exit portion than a center of a smallest circle that includes the second portion, and the first path passes through a region of the light guiding substrate in which the second portion is provided.
- the light guide device has a stray light prevention structure in an area outside the first path and the second path, within the range of the path of a light ray that can be incident on the first portion, propagate as first-order diffracted light in both the first portion and the second portion, and reach the light exit portion.
- the light guide device of this embodiment is provided with a stray light prevention structure in an area outside the first path and the second path within the range of the path of a light ray that can enter the first portion, propagate as first-order diffracted light of both the first portion and the second portion, and reach the light exit portion, so that stray light that propagates within the light guide substrate as first-order diffracted light of both the first portion and the second portion can be effectively prevented.
- a method for manufacturing a light-guiding device includes a light-guiding substrate that propagates light by internal reflection, a light entrance portion having a first portion and a second portion that are one-dimensional diffraction gratings provided on the light-guiding substrate, the first portion being configured to propagate received light as a first light beam along a first path within the light-guiding substrate, and the second portion being configured to propagate received light as a second light beam along a second path within the light-guiding substrate, a first folding portion that is a one-dimensional diffraction grating provided on the light-guiding substrate and that is configured to change the direction of the first path of the first light beam, and a one-dimensional diffraction grating provided on the light-guiding substrate.
- a second folding portion configured to change the direction of the second path of the second light beam; and a two-dimensional diffraction grating provided on the light guiding substrate, the second folding portion configured to receive the first beam from the first folding portion and the second beam from the second folding portion, combine the first and second beams, and emit them to the outside of the light guiding substrate, wherein on a surface of the light guiding substrate, a center of the smallest circle that includes the first portion is farther from the light exit portion than a center of the smallest circle that includes the second portion, and the first path is configured to pass through a region of the light guiding substrate in which the second portion is provided.
- the method for manufacturing the light guide device includes the steps of: determining the angle and position of an incident light ray that can propagate through the light guide substrate as first-order diffracted light of both the first and second parts; determining the range of paths of light rays that can reach the light exit section and become stray light, among the rays of incident light that can propagate through the light guide substrate as first-order diffracted light of both the first and second parts; and installing a stray light prevention structure in an area outside the first path and the second path within the range of the path of the light rays that can become stray light.
- the manufacturing method of the light guide device of this aspect determines the range of paths of light rays that may reach the light exit section and become stray light, among the rays of incident light that may propagate within the light guide substrate as first-order diffracted light of both the first and second parts, and installs a stray light prevention structure in an area outside the first and second paths within the range of the paths of the light rays that may become stray light, thereby effectively preventing stray light from propagating within the light guide substrate as first-order diffracted light of both the first and second parts.
- the intensity of the light rays within the range of the path of the light rays that may become stray light is obtained, and the stray light prevention structure is installed in the path of the light rays whose intensity is greater than a predetermined value.
- the stray light prevention structure in the step of installing the stray light prevention structure, the position of the reflection point of the total reflection of the light ray within the range of the path of the light ray that may become the stray light is obtained, and the stray light prevention structure is installed in the vicinity of the position of the total reflection point.
- stray light can be effectively prevented by providing a diffraction grating or metasurface near the reflection point of the total reflection of a light ray that could become stray light on the surface of the light-guiding substrate.
- FIG. 1 is a perspective view of a light guide device according to the present invention
- 1 is a cross-sectional view of a light guide device according to the present invention
- 4 is a flow chart for explaining a method for designing a light guide device of the present invention.
- FIG. 2 is a diagram for explaining coordinates used in this specification.
- 1 is a diagram showing a light ray emitted from the center of the light emitting surface of the light source, incident on the light receiving surface of the light incident portion, and traveling within the light guide substrate in an xz cross section.
- 1 is a diagram showing an incidence angle ⁇ ax of a light ray incident on a light guiding substrate in an xz cross section and an incidence angle ⁇ gx of a light ray on the inner surface of the light guiding substrate.
- FIG. 1 is a diagram showing an incidence angle ⁇ ay of a light ray incident on a light guiding substrate in a yz cross section and an incidence angle ⁇ gy of a light ray on the inner surface of the light guiding substrate.
- 13 is a diagram showing the relationship between the angle of incidence on the light receiving surface of the light incident portion and the angle of incidence on the inner surface of the light guide substrate in the xz cross section.
- FIG. 1A is a diagram showing a region of a light entrance portion where light rays can propagate when the angle of incidence on the inner surface of a light-guiding substrate is equal to or greater than a critical angle and the pitch is smaller than the pupil size.
- FIG. FIG. 2 is a plan view of the light guide device according to the first embodiment.
- FIG. 2 is a diagram showing an xz cross section of the light guide device of the first embodiment.
- FIG. 13 is a plan view of a light guide device of a comparative example. 1 is a diagram showing an xz cross section of a light guide device of a comparative example.
- FIG. 11 is a plan view of a light guide device according to a second embodiment.
- FIG. 11 is a plan view of a light incident portion according to a second embodiment.
- FIG. 11 is a plan view of a light guide device according to a third embodiment.
- FIG. 11 is a plan view of a light incident portion according to a third embodiment.
- FIG. 13 is a plan view of a light guide device according to a fourth embodiment.
- FIG. 13 is a plan view of a light incident portion according to a fourth embodiment.
- FIG. 13 is a plan view of a light guide device according to a fifth embodiment.
- FIG. 13 is a plan view of a light incident portion according to a fifth embodiment.
- FIG. 1 is a diagram showing an example of a light guide device having a stray light prevention structure. 1 is a flow chart for explaining a method for manufacturing the stray light prevention structure. 24 is a flowchart for explaining step S2010 of FIG. 23. 4 is a diagram showing an incident light ray incident on a position of a point P on the surface of the light guide substrate.
- FIG. 2 is a diagram showing a cross section including a point P on the surface of the light-guiding substrate and parallel to the x-axis and z-axis.
- FIG. 2 is a diagram showing a cross section including a point P on the surface of the light guide substrate and parallel to the y-axis and z-axis.
- FIG. 23 is an enlarged view of the light incident portion and its surroundings in FIG. 22 .
- 24 is a flowchart for explaining step S2020 of FIG. 23.
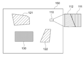
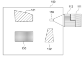
- FIG. 1 is a perspective view of a light guide device 100 according to the present invention.
- FIG. 2 is a cross-sectional view of a light guide device 100 according to the present invention.
- the light guiding device 100 includes a light guiding substrate 150, and a light entrance section 110, a first light return section 121, a second light return section 122, and a light exit section 130 provided on the light guiding substrate 150.
- the light entrance section 110 includes a first section 111 and a second section 112, each of which is a one-dimensional surface structure type diffraction grating.
- the first light return section 121 and the second light return section 122 are each a one-dimensional surface structure type diffraction grating.
- the light exit section 130 is a two-dimensional surface structure type diffraction grating.
- the light source 50 is configured to form an image on the light entrance section 110.
- the light source 50 may be a laser light source that forms an image on the light entrance section 110 by scanning a laser beam.
- the distance between the light source 50 and the light guide substrate 150 is represented by D.
- the light received by the first portion 111 of the light entrance section 110 is taken into the light guide substrate 150 as diffracted light, and is transmitted to the first light folding section 121 by total reflection within the light guide substrate 150.
- the thickness of the light guide substrate 150 is represented by d.
- the light that reaches the first light folding section 121 has its direction of travel changed by the first light folding section 121 and is transmitted to the light exit section 130.
- the light received by the second portion 112 of the light entrance section 110 is taken into the light guide substrate 150 as diffracted light, and is transmitted to the second light folding section 122 by total reflection within the light guide substrate 150.
- the light that reaches the second light folding unit 122 has its direction of travel changed by the second light folding unit 122 and is transmitted to the light emitting unit 130.
- the light emitting unit 130 combines the light received from the first light folding unit 121 and the second light folding unit 122 to form an image in the eye box 200.
- the eye box 200 refers to an area in which no part of the image is missing even if the observer's pupil moves.
- the distance between the eye box 200 and the light guiding substrate 150 is represented by D'.
- the path of the light ray in the light guiding substrate 150 in FIG. 2 is for explaining total reflection in the light guiding substrate 150 and does not show the actual path.
- FIG. 3 is a flow chart for explaining a method for designing the light guide device 100 of the present invention.
- the size of the light entrance portion 110 is determined in step S1010 of FIG. 3.
- FIG. 4 is a diagram for explaining the coordinates used in this specification.
- the x-axis is set in a direction corresponding to the horizontal direction when the light guide device 100 is in use, and the y-axis is set in a direction corresponding to the vertical direction.
- the x-axis coordinate is set so that the coordinate of the light emission section 130 is greater than the coordinate of the light incidence section 110, and the y-axis coordinate is set so that the coordinate of the light emission section 130 is smaller than the coordinate of the light incidence section 110.
- the z-axis is set to be perpendicular to both axes, with the intersection of the x-axis and y-axis as the origin.
- the x-axis and y-axis are defined on the light receiving surface of the light incident section 110, and the center of the light receiving surface is defined as the origin.
- the center of the light source 50 is located on the z-axis at a distance D from the origin.
- the z-axis coordinate is defined so that the coordinate of the center of the light source 50 is smaller than the coordinate of the origin.
- the angle of incidence of the light ray emitted from the center of the light source 50 and reaching point P on the light receiving surface of the light incident section 110 is represented by ⁇ .
- the x-axis component and y-axis component of ⁇ are represented by ⁇ x and ⁇ y, respectively.
- ⁇ x and ⁇ y are positive when the light ray travels so that the coordinate increases before entering. In FIG. 4, ⁇ x is negative and ⁇ y is positive.
- the length L1x in the x-axis direction and the length L1y in the y-axis direction of the light incidence section 110 are determined based on the following formulas.
- step S1020 of FIG. 3 the grating period ⁇ 1 of the first portion 111 of the light incidence portion 110 is determined.
- the grooves of the diffraction grating of the first portion 111 are assumed to be in the y-axis direction.
- Figure 5 is a diagram showing a ray of light emitted from the center of the light-emitting surface of the light source 50, incident on the light-receiving surface of the light entrance section 110, and traveling through the light-guiding substrate 150 in an xz cross section.
- the coordinate on the x-axis is set so that the coordinate of the light exit section 130 is greater than the coordinate of the light entrance section 110, so the direction of travel of the ray of light traveling through the light-guiding substrate 150 is the direction in which the coordinate increases along the x-axis.
- ⁇ x is negative.
- FIG. 6 is a diagram showing the angle of incidence ⁇ ax of a light ray incident on the light guiding substrate 150 in the xz cross section, and the angle of incidence ⁇ gx on the inner surface of the light guiding substrate 150.
- the light incidence section 110 is not shown in FIG. 6.
- the grooves of the diffraction grating are perpendicular to the paper surface.
- the diffraction equation is as follows. In the case of FIG. 6, the light ray travels in the direction of decreasing x coordinate before it is incident on the light incidence section 110, so the value of ⁇ ax is negative.
- the incident angle ⁇ gx on the inner surface of the light-guiding substrate 150 when the incident angle ⁇ gx on the inner surface of the light-guiding substrate 150 is equal to or greater than the critical angle, the light beam that enters the light-guiding substrate 150 from the light-receiving surface of the light entrance section 110 can travel through the light-guiding substrate 150 while being totally reflected as shown in FIG. 2. Therefore, the incident angle ⁇ ax on the light-receiving surface of the light entrance section 110 must be determined so that the incident angle ⁇ gx on the inner surface of the light-guiding substrate 150 is equal to or greater than the critical angle.
- Equation (2) the maximum angle of incidence - ⁇ xmax in the xz cross section is substituted for ⁇ ax to find ⁇ , and this value is designated as ⁇ 1.
- ⁇ xmax is an absolute value.
- equation (1) when the grating period is ⁇ 1, ⁇ gx increases as ⁇ ax increases (the absolute value of ⁇ ax decreases). Therefore, if ⁇ ax is equal to or greater than - ⁇ xmax, ⁇ gx becomes equal to or greater than the critical angle, and the light ray can travel through the light-guiding substrate 150 while being totally reflected.
- the absolute value of the incident angle at which ⁇ gx is equal to or greater than the critical angle increases by reducing the grating period.
- step S1030 of FIG. 3 the grating period ⁇ 2 of the second portion 112 of the light entrance portion 110 is found.
- the grooves of the diffraction grating of the second portion 112 are in the x-axis direction.
- the y-axis coordinate is set so that the coordinate of the light exit portion 130 is smaller than the coordinate of the light entrance portion 110, so the direction of travel of the light rays traveling within the light guide substrate 150 is the direction in which the coordinate decreases along the y-axis.
- Figure 7 is a diagram showing the angle of incidence ⁇ ay of a light ray incident on the light guiding substrate 150 in the yz cross section and the angle of incidence ⁇ gy on the inner surface of the light guiding substrate 150.
- the pitch p in Figure 7 indicates the distance between the points at which the light ray is totally reflected on the inner surface of the light guiding substrate 150 in the yz cross section shown in Figure 7.
- the light entrance section 110 is not shown in Figure 7.
- the grooves of the diffraction grating are in a direction perpendicular to the paper surface.
- the diffraction equation is as follows. In the case of Figure 7, the light ray travels in the direction of decreasing y coordinate before entering the light entrance section 110, so the value of ⁇ ay is negative.
- ⁇ ay is the incident angle in the yz cross section of the light receiving surface of the light incident portion
- ⁇ gy is the incident angle in the yz cross section of the inner surface of the light guide substrate.
- the pitch p In order to provide a stable image to the observer, the pitch p must be equal to or smaller than the pupil size.
- the angle of incidence ⁇ gy on the inner surface of the light guide substrate corresponding to the pitch p of the pupil size is called the pitch angle ⁇ p.
- the pitch angle ⁇ p is calculated from the pitch p of the pupil size by the following formula. By substituting ⁇ p for ⁇ gy in equation (1)′, the following equation is obtained.
- the grating period ⁇ is appropriately determined, and the incident angle ⁇ ay in the yz cross section of the light receiving surface of the light incident portion is calculated. If the absolute value of ⁇ ay is equal to or greater than the maximum incident angle in the yz cross section, that value is taken as ⁇ 2. If the absolute value of ⁇ ay is smaller than the maximum incident angle in the yz cross section, the grating period ⁇ is reduced to calculate ⁇ 2.
- the pitch length becomes smaller and the image becomes easier to observe. Therefore, it is preferable to increase the grating period as long as the maximum incident angle condition is satisfied.
- the relationship between the grating period and the pitch length will be explained in detail in Example 1.
- FIG. 8 is a diagram showing the relationship between the angle of incidence of the light receiving surface of the light entrance portion and the angle of incidence of the inner surface of the light guide substrate in the xz section.
- FIG. 8 shows the above relationship in Example 1, which will be described later.
- the horizontal axis of FIG. 8 indicates the angle of incidence of the light entrance portion 110 in the xz section
- the vertical axis of FIG. 8 indicates the angle of total reflection in the xz section of the inner surface of the light guide substrate. If the angle of incidence of the light receiving surface of the light entrance portion in the xz section is ⁇ acx or more, the angle of incidence of the light receiving surface of the inner surface of the light guide substrate in the xz section is equal to or greater than the critical angle.
- the pitch is smaller than the pupil size.
- ⁇ apx is the angle of incidence corresponding to the pitch angle in the xz section. In this way, the angle of incidence of the light receiving surface of the light entrance portion in the xz section must be in an angle range in which the angle of incidence of the light receiving surface of the light entrance portion in the xz section of the inner surface of the light guide substrate in the xz section is equal to or greater than the critical angle and the pitch is smaller than the pupil size.
- step S1040 of FIG. 3 the area of the light entrance section 110 that can propagate light rays so that the angle of incidence on the inner surface of the light-guiding substrate is equal to or greater than the critical angle and the pitch is smaller than the pupil size is determined.
- the condition for the incident angle on the inner surface of the light guide substrate to be equal to or larger than the critical angle can be expressed by the following formula.
- ⁇ ax is the angle of incidence of the light receiving surface of the light incident portion in the xz cross section
- ⁇ ay is the angle of incidence of the light receiving surface of the light incident portion in the yz cross section
- ⁇ is the inclination angle (counterclockwise) of the grooves of the grating from the y axis when the groove direction is approximately in the y axis direction.
- the condition for the incident angle on the inner surface of the light guide substrate to be equal to or larger than the critical angle can be expressed by the following formula.
- ⁇ ax is the angle of incidence of the light receiving surface of the light incident portion in the xz cross section
- ⁇ ay is the angle of incidence of the light receiving surface of the light incident portion in the yz cross section
- ⁇ is the inclination angle (counterclockwise) of the grooves of the grating from the x-axis when the groove direction is approximately in the x-axis direction.
- the condition of the incident angle for making the pitch in the light guide substrate equal to or smaller than the pupil size can be expressed by the following formula.
- ⁇ ax is the angle of incidence of the light receiving surface of the light incident portion in the xz cross section
- ⁇ ay is the angle of incidence of the light receiving surface of the light incident portion in the yz cross section
- ⁇ is the inclination angle (counterclockwise) of the grooves of the grating from the y axis when the groove direction is approximately in the y axis direction.
- the condition of the incident angle for making the pitch in the light guide substrate equal to or smaller than the pupil size can be expressed by the following equation.
- ⁇ ax is the angle of incidence of the light receiving surface of the light incident portion in the xz cross section
- ⁇ ay is the angle of incidence of the light receiving surface of the light incident portion in the yz cross section
- ⁇ is the inclination angle (counterclockwise) of the grooves of the grating from the x-axis when the groove direction is approximately in the x-axis direction.
- the following additional condition must be satisfied in order for the light rays to propagate so that the angle of incidence on the inner surface of the light-guiding substrate is equal to or greater than the critical angle and the pitch is smaller than the pupil size.
- the additional condition for the light beam incident on the first portion 111 can be expressed by the following equation.
- the incident angle ⁇ acx' on the light receiving surface corresponding to the critical angle is obtained by substituting ⁇ 2 for ⁇ in equation (2).
- the condition for the angle of incidence of the light beam incident on the first portion 112 can be expressed by the following equation.
- the incident angle ⁇ apy' on the light receiving surface corresponding to the critical angle is found by substituting ⁇ 1 for ⁇ in equation (3).
- FIG. 9 is a diagram showing the region of the light entrance section 110 where light rays can be propagated such that the angle of incidence on the inner surface of the light-guiding substrate is equal to or greater than the critical angle and the pitch is smaller than the pupil size.
- the x-axis of FIG. 9 represents tan( ⁇ ax), and the y-axis of FIG. 9 represents tan( ⁇ ay).
- Straight lines L1, L2, L3, and L4 in FIG. 9 represent equations (4), (5), (6), and (7), respectively.
- L1' and L4' represent equations (4)' and (7)', respectively.
- the region surrounded by straight lines L1', L2, L3, and L4' is the region where light rays can be propagated such that the angle of incidence on the inner surface of the light-guiding substrate is equal to or greater than the critical angle and the pitch is smaller than the pupil size. This region is called the overlap region.
- step S1050 of FIG. 3 the size of the light emission section 130 is determined.
- the origin of the coordinate system shown in FIG. 4 is aligned with the center of the surface of the light emitting unit 130, and the plane including the x-axis and y-axis is aligned with the surface of the light emitting unit 130.
- the center of the eye box 200 is set on the z-axis, and the eye box 200 is parallel to the plane including the x-axis and y-axis.
- the angle of incidence of the light ray emitted from point P' on the surface of the light emitting unit 130 and incident on the center of the eye box 200 is represented by ⁇ .
- the x-axis and y-axis components of ⁇ are represented by ⁇ x and ⁇ y, respectively.
- the length L2x of the light emitting portion 130 in the x-axis direction and the length L2y of the light emitting portion 130 in the y-axis direction are determined based on the following equations.
- D' is the distance from the center of the eyebox surface to the origin (the center of the light exit surface).
- L20x Eyebox length in the x-axis direction L20y Length of the eye box in the y-axis direction ⁇ xmax Maximum absolute value of ⁇ x ⁇ ymax Maximum absolute value of ⁇ y
- the light exit section 130 is a two-dimensional surface structure type diffraction grating provided on a light-guiding substrate, and the grating period of each of the two types of diffraction gratings is the same as the grating period of the one-dimensional diffraction grating of the corresponding first part 111 or second part 112 of the light entrance section 110.
- step S1060 of FIG. 3 the relative positions of the light entrance unit 110 and the light exit unit 130 are determined based on the interpupillary distance and the relative positions of the eyes and ears.
- step S1070 of FIG. 3 the division of the light entrance section 110 into the first section 111 and the second section 112 is changed while taking into account the overlapping area, and the brightness of the image observed by the pupil is evaluated by optical simulation (for example, using Virtuallab) to optimize the division.
- the shapes of the first light return section 121 and the second light return section 122 are optimized to match the light entrance section 110 divided in this way.
- the path of the light ray traveling from one of the first and second parts to the light exit section is configured not to pass through the area of the light-guiding substrate where the other part is provided.
- the light-guiding device of the present invention is configured such that, on the surface of the light-guiding substrate, the center of the smallest circle that includes the first part is farther from the light exit section than the center of the smallest circle that includes the second part, and the path of the light ray traveling from the first part to the light exit section passes through the area of the light-guiding substrate where the second part is provided. Therefore, the light-guiding device of the present invention has a much greater degree of freedom in how the light entrance section 110 is divided into the first part 111 and the second part 112 compared to the light-guiding device of the prior art.
- the material of the light guide substrate 150 which includes the light entrance section 110, the first light return section 121, the second light return section 122, and the light exit section 130, is polycarbonate, and the refractive index of light with a wavelength of 520 nanometers is 1.6748.
- the thickness of the light guide substrate 150 is 1.25 millimeters. Corresponding elements in each embodiment are denoted by the same reference numerals.
- the light entrance portion 110 is rectangular, with a length in the x-axis direction of 3.343 millimeters and a length in the y-axis direction of 2.49 millimeters.
- the grooves in the first portion 111 of the light entrance portion 110 are oriented approximately along the y-axis, and the grating period is 410 nanometers.
- the grooves in the second portion 112 of the light entrance portion 110 are oriented approximately along the x-axis, and the grating period is 460 nanometers.
- the light emitting portion 130 is rectangular, with a length in the x-axis direction of 21.207 millimeters and a length in the y-axis direction of 11.929 millimeters.
- the grating period of the light emitting portion 130 in the x-axis direction is 460 nanometers, and the grating period in the y-axis direction is 460 nanometers.
- the direction of the lattice grooves is expressed as a clockwise angle based on the y-axis.
- the direction of the lattice grooves is also called the lattice direction.
- the distance D between the light source 50 and the light entrance section 110 is 6.3 millimeters, and the distance D' between the light exit section 130 and the eye box 200 is 18 millimeters.
- the diagonal angle of view of the light entrance section 110 is 30 degrees.
- the light source 50 is a laser light source, with a spot that is 0.4 millimeters in the x-axis direction and 0.8 millimeters in the y-axis direction.
- the eye box 200 is 12.8 millimeters in the x-axis direction and 7.2 millimeters in the y-axis direction.
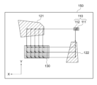
- FIG. 10 is a plan view of the light guide device 100 according to the first embodiment.
- FIG. 11 is a diagram showing the xz cross section of the light guide device 100 of the first embodiment.
- the lattice direction of the first portion 111 of the light entrance portion 110 is 0 degrees, and the lattice period is 410 nanometers.
- the lattice direction of the second portion 112 of the light entrance portion 110 is 90 degrees, and the lattice period is 460 nanometers.
- the first portion 111 and the second portion 112 are divided by a boundary line that passes through the center of the light entrance portion 110 and is parallel to the y-axis so that the areas of both portions are equal.
- the first section 111 is farther from the light exit section 130 than the second section 112, and the path of the light beam traveling from the first section 111 to the light exit section 130 passes through the region of the light guide substrate 150 in which the second section 112 is provided.
- the light beam traveling from the first section 111 to the first light folding section 121 travels in the x-axis direction so that the x-coordinate increases, and passes through the region of the light guide substrate 150 in which the second section 112 is provided.
- the light beam traveling from the second section 112 to the second light folding section 122 travels in the y-axis direction so that the y-coordinate decreases.
- the grating direction of the first optical folding section 121 is 45 degrees and the grating period is 290 nanometers.
- the grating direction of the second optical folding section 122 is 45 degrees and the grating period is 325 nanometers.
- Table 1 shows the luminance at the light receiving surface of the eye box.
- the luminance values are shown as a ratio (percentage) to the luminance of the light source. Note that the luminance values in Table 1 and the following tables were obtained by optical simulation (for example, using Virtuallab).
- the light receiving surface of the eye box 200 and the exit surface of the light emitting unit 130 are parallel, and the line connecting the centers of both surfaces is in the z-axis direction. Therefore, the position on the light receiving surface of the eye box 200 can be determined by the angle of incidence of the light ray emitted from the center of the exit surface of the light emitting unit 130.
- the horizontal angles in Table 1 represent the x-axis component of the incident angle, i.e., the coordinate in the x-axis direction
- the vertical angles in Table 1 represent the y-axis component of the incident angle, i.e., the coordinate in the y-axis direction.
- Table 2 shows pitch lengths in the light guiding substrate 150 for light rays with various angles of incidence in the light guiding device 100 of Example 1.
- the unit of the pitch length is millimeters.
- Table 3 shows pitch lengths in the light-guiding substrate 150 for light rays with various incident angles when the grating period of the second portion 111 of the light-guiding device 100 of Example 1 is changed from 460 nanometers to 410 nanometers.
- the unit of the pitch length is millimeters.
- the pitch length is increased compared to the case of Table 2 where the grating period is 460 nanometers. In this way, shortening the grating period increases the pitch length.
- FIG. 12 is a plan view of a light guide device 100' of a comparative example.
- FIG. 13 shows an xz cross section of a light guide device 100' as a comparative example.
- the lattice direction of the first portion 111' of the light incident portion 110' is 0 degrees, and the lattice period is 410 nanometers.
- the lattice direction of the second portion 112' of the light incident portion 110' is 90 degrees, and the lattice period is 460 nanometers.
- the first portion 111' and the second portion 112' are divided by a boundary line that passes through the center of the light incident portion 110' and is parallel to the y-axis so that the areas of both portions are equal.
- the path of the light ray traveling from one of the first and second parts to the light emitting section 130' is configured not to pass through the area of the light guiding substrate 150' that includes the other.
- the light ray traveling from the first part 111' to the first light folding section 121' travels in the x-axis direction so that the x coordinate increases
- the light ray traveling from the second part 112' to the second light folding section 122' travels in the y-axis direction so that the y coordinate decreases.
- the light ray emitted from one of the first part 111' and the second part 112' does not pass through the area of the light guiding substrate 150' that includes the other.
- the grating direction of the first optical folding section 121' is 45 degrees and the grating period is 325 nanometers.
- the grating direction of the second optical folding section 122' is 45 degrees and the grating period is 290 nanometers.
- Table 4 shows the luminance at the light receiving surface of the eye box.
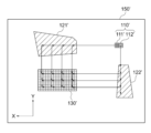
- FIG. 14 is a plan view of a light guide device 100 according to the second embodiment.
- the grating direction of the first part 111 of the light entrance part 110 is 2 degrees and the grating period is 410 nanometers.
- the grating direction of the second part 112 of the light entrance part 110 is 85 degrees and the grating period is 460 nanometers.
- the first section 111 is farther from the light output section 130 than the second section 112, and the path of the light beam traveling from the first section 111 to the light output section 130 passes through the region of the light guide substrate 150 in which the second section 112 is provided.
- FIG. 15 is a plan view of the light entrance portion 110 of the second embodiment.
- the boundary between the first portion 111 and the second portion 112 consists of four line segments in the x-axis direction and five line segments in the y-axis direction.
- a straight line that passes through the origin of coordinates, which is the center of the light incident portion 110, and is parallel to the direction of the diffraction grating grooves of the first portion 111 intersects with the boundary line at four points.
- the boundary line between the first part 111 and the second part 112 does not have a single direction, and the maximum angle difference between the line segment or tangent of the boundary line and the reference direction is 90 degrees.
- the area of the light entrance section 110 away from the light exit section 130 that is occupied by the second section 112 is 4.76%.
- the area that the first section 111 occupies in the region of the light entrance section 110 that is closer to the light exit section 130 is 13.72%.
- the grating direction of the first optical folding section 121 is 46 degrees and the grating period is 285 nanometers.
- the grating direction of the second optical folding section 122 is 42.5 degrees and the grating period is 310 nanometers.
- Table 5 shows the luminance at the light receiving surface of the eye box.
- FIG. 16 is a plan view of a light guide device 100 according to the third embodiment.
- the grating direction of the first part 111 of the light entrance part 110 is 5 degrees and the grating period is 410 nanometers.
- the grating direction of the second part 112 of the light entrance part 110 is 90 degrees and the grating period is 460 nanometers.
- the light input section 110 of Example 3 is configured such that the first section 111 is farther from the light output section 130 than the second section 112, and the path of the light beam traveling from the first section 111 to the light output section 130 passes through the region of the light-guiding substrate 150 in which the second section 112 is provided.
- FIG. 17 is a plan view of the light entrance portion 110 of the third embodiment.
- the boundary between the first portion 111 and the second portion 112 consists of one line segment in the x-axis direction and two line segments in the y-axis direction.
- the boundary line between the first part 111 and the second part 112 does not have a single direction, and the maximum angle difference between the line segment or tangent of the boundary line and the reference direction is 90 degrees.
- the area of the light entrance section 110 away from the light exit section 130 that is occupied by the second section 112 is 18.21%.
- the area that the first section 111 occupies in the region of the light entrance section 110 that is closer to the light exit section 130 is 18.21%.
- the grating direction of the first optical folding section 121 is 47.5 degrees and the grating period is 286 nanometers.
- the grating direction of the second optical folding section 122 is 45 degrees and the grating period is 325 nanometers.
- Table 6 shows the luminance at the light receiving surface of the eye box.
- FIG. 18 is a plan view of a light guide device 100 according to the fourth embodiment.
- the grating direction of the first part 111 of the light entrance part 110 is 0 degrees and the grating period is 410 nanometers.
- the grating direction of the second part 112 of the light entrance part 110 is 100 degrees and the grating period is 460 nanometers.
- the light input section 110 of Example 4 is configured such that the first section 111 is farther from the light output section 130 than the second section 112, and the path of the light beam traveling from the first section 111 to the light output section 130 passes through the region of the light-guiding substrate 150 in which the second section 112 is provided.
- FIG. 19 is a plan view of the light incidence portion 110 of the fourth embodiment.
- the boundary between the first portion 111 and the second portion 112 is a line segment inclined with respect to the y-axis.
- the area of the light entrance section 110 away from the light exit section 130 that is occupied by the second section 112 is 14.96%.
- the area that the first section 111 occupies in the region of the light entrance section 110 that is closer to the light exit section 130 is 14.96%.
- the grating direction of the first light-reflecting section 121 is 45 degrees and the grating period is 290 nanometers.
- the grating direction of the second light-reflecting section 122 is 50 degrees and the grating period is 360 nanometers.
- Table 7 shows the luminance at the light receiving surface of the eye box.
- FIG. 20 is a plan view of a light guide device 100 according to a fifth embodiment.
- the grating direction of the first part 111 of the light entrance part 110 is 2 degrees and the grating period is 410 nanometers.
- the grating direction of the second part 112 of the light entrance part 110 is 85 degrees and the grating period is 460 nanometers.
- the light input section 110 of Example 5 is configured such that the first section 111 is farther from the light output section 130 than the second section 112, and the path of the light beam traveling from the first section 111 to the light output section 130 passes through the region of the light-guiding substrate 150 in which the second section 112 is provided.
- FIG. 21 is a plan view of the light entrance portion 110 of the fifth embodiment.
- the boundary between the first portion 111 and the second portion 112 consists of one line segment in the x-axis direction and three line segments in the y-axis direction.
- the boundary line between the first part 111 and the second part 112 does not have a single direction, and the maximum angle difference between the line segment or tangent of the boundary line and the reference direction is 90 degrees.
- the area of the light entrance section 110 away from the light exit section 130 that is occupied by the second section 112 is 4.28%.
- the area that the first section 111 occupies in the region of the light entrance section 110 that is closer to the light exit section 130 is 23.93%.
- the second part 112 has two parts separated from each other by the first part 111.
- the grating direction of the first optical folding section 121 is 46 degrees and the grating period is 285 nanometers.
- the grating direction of the second optical folding section 122 is 42.5 degrees and the grating period is 310 nanometers.
- Table 8 shows the luminance at the light receiving surface of the eye box.
- Table 1 of the Example 1 is compared with Table 4 of the Comparative Example. If the threshold of observable luminance is set to 0.001%, all values in Table 1 are equal to or greater than the threshold. On the other hand, in Table 2, the nine values shown in black are less than the threshold. Therefore, the light utilization efficiency of the device of the Example 1 is higher than that of the device of the Comparative Example. This is because the path of the light beam in the Example 1 has a higher diffraction efficiency at the light entrance portion 110 than the path of the light beam in the Comparative Example.
- Example 1 (Table 1) 0.007%
- Example 2 (Table 5) 0.022%
- Example 3 (Table 6) 0.015%
- Example 4 (Table 7) 0.027%
- Example 5 (Table 8) 0.022%
- Example 2-5 by appropriately defining the boundary line between the first portion 111 and the second portion 112 of the light entrance portion 110, the minimum luminance value is significantly improved compared to Example 1, in which the first portion 111 and the second portion 112 are divided by a boundary line that passes through the center of the light entrance portion 110 and is parallel to the y-axis so that the areas of both portions are equal. This is because in Example 2-5, the positioning of the first portion 111 and the second portion 112 can be flexibly changed to improve the luminance of the light receiving surface of the eye box and reduce the difference in luminance due to position on the light receiving surface of the eye box.
- FIG. 22 shows an example of a light guide device 100 that has a stray light prevention structure.
- the material of the light guide substrate 150 which includes the light entrance section 110, the first light return section 121, the second light return section 122, and the light exit section 130, is polycarbonate, and the refractive index nd of light with a wavelength of 520 nanometers is 1.6748.
- the thickness d of the light guide substrate 150 is 1.25 millimeters.
- the light source 50 (not shown) is a laser light source, and the size of the spot in the x-axis direction is 0.4 millimeters, and the size in the y-axis direction is 0.8 millimeters.
- the wavelength ⁇ of the light from the light source is 520 nanometers.
- the distance D between the light source 50 and the light entrance part 110 is 6.3 millimeters.
- the direction of the grating grooves is expressed as a clockwise angle based on the y-axis.
- the first portion 111 and the second portion 112 are divided by a boundary line that passes through the center of the light incidence portion 110 and is parallel to the y-axis so that the areas of both portions are equal.
- the light guiding device of the present invention is configured such that a first path in the light guiding substrate 150 of a light ray incident on the first portion 111 of the light entrance portion 110 passes through a region of the light guiding substrate 150 in which the second portion 112 of the light entrance portion 110 is provided. Therefore, the light ray propagating in the light guiding substrate 150 as first-order diffracted light of both the first portion 111 and the second portion 112 can become stray light.
- the stray light generated in this manner is stray light specific to the light guiding device of the present invention, and it is preferable to prevent the stray light generated in this manner.
- the area between lines C and C' is the range through which the first-order diffracted light of the first part 111 of the light entrance section 110 passes, i.e., the first path.
- the area between lines D and D' is the range through which the first-order diffracted light of the second part 112 of the light entrance section 110 passes, i.e., the second path.
- the area between lines A and B is the range of the path of light rays that can become stray light, as described below.
- Figure 23 is a flow chart explaining the manufacturing method of the stray light prevention structure.
- step S2010 of FIG. 23 the range of paths of light rays that may become stray light is determined.
- FIG. 24 is a flow diagram for explaining step S2010 in FIG. 23.
- step S3010 of FIG. 24 the angle and position of the incident light propagating within the light-guiding substrate as first-order diffracted light from the first and second parts of the light entrance section are determined.
- Figure 25 is a diagram showing an incident ray of light incident at point P on the surface of light-guiding substrate 150.
- point S indicates the position of the center of the light source
- O indicates the origin on the surface of light-guiding substrate 150.
- Origin O is located at the center of light entrance section 110, and is defined as the foot of a perpendicular line drawn from point S to the surface of light-guiding substrate 150.
- the angles formed by the two straight lines projecting incident ray SP onto the xz plane and yz plane and the straight line connecting point S and point O are respectively ⁇ and ⁇ .
- the angles ⁇ and ⁇ are called the x-direction and y-direction components of the incidence angle ⁇ of incident ray SP.
- the wave number vector k in of the incident light ray can be expressed by the following equation.
- n represents the refractive index of air
- ⁇ represents the wavelength of the light from the light source.
- the diffraction condition K1 for the first order diffraction of the first portion 111 can be expressed by the following equation.
- Fig. 26 is a diagram showing a cross section including point P on the surface of light-guiding substrate 150 and parallel to the x-axis and z-axis.
- the light incident portion is not shown in Fig. 26.
- the x-direction component of the incident angle of the light ray traveling in light-guiding substrate 150 after diffraction by first portion 111 is represented as ⁇ 0 .
- Fig. 27 is a diagram showing a cross section including point P on the surface of light-guiding substrate 150 and parallel to the y-axis and z-axis. For simplicity, the light incident portion is not shown in Fig. 27.
- the y-direction component of the incident angle of the light ray traveling in light-guiding substrate 150 after diffraction by first portion 111 is represented as ⁇ 0 .
- the wave number vector k out of the above light ray can be expressed by the following equation.
- the diffraction condition K2 for the first-order diffraction of the second portion 112 can be expressed by the following equation.
- step S3020 of FIG. 23 the range of the path of the incident light ray determined in S3010 is determined by taking into consideration the positions of the first portion 111, the second portion 112, the first light returning portion 121, the second light returning portion 122, and the light emitting portion 130, and the range of the path of the light ray that may reach the light emitting portion 130 and become stray light.
- Fig. 28 is an enlarged view of the light entrance portion 110 and its surroundings in Fig. 22.
- Points P C and P D are the vertices of a rectangle that forms the boundary of the light entrance portion 110.
- the path of the light beam passing through the vicinity of the point P D of the second portion 112 is obtained by taking into consideration the formula (10).
- the above light beam is incident at the point P0 of the first portion 111 and propagates through total reflection within the light-guiding substrate 150 to the point P1 of the second portion 112 as the first-order diffracted light of the first portion 111.
- the point P1 is a point in the vicinity of the point P D.
- the above light beam propagates to the point P2 as the first-order diffracted light of the second portion 112.
- the points P1 and P2 are points where the light beam is totally reflected at the boundary surface of the substrate.
- the coordinates of points P0, P1, and P2 are expressed as (x0, y0), (x1, y1), and (x2, y2), respectively, the following equation is established.
- m0 and m1 respectively represent the number of times of total reflection of the first-order diffracted light in the first portion 111 and the second portion 112. In the case shown in FIG.
- 2dtan( ⁇ 0), 2dtan( ⁇ 0), 2dtan( ⁇ 1) and 2dtan( ⁇ 1) are distances corresponding to the distance indicated by p x in FIG. 26 or p y in FIG.
- the path of the light ray passing through points P0 ( x0 , y0 ), P1 ( x1 , y1 ), and P2 ( x2 , y2 ) obtained in this manner is one boundary of the range of the path of the light ray that can become stray light.
- the above boundary is indicated by A.
- the other boundary of the range of the path of the light ray that can become stray light is obtained from the path of the light ray that passes near the boundary between the first portion 111 and the second portion 112 among the incident light rays that propagate through the light-guiding substrate 150 by total reflection as the first-order diffracted light of both the first portion 111 and the second portion 112 obtained in step S3010.
- the above boundary is indicated by B.
- the straight line A' in FIG. 28 indicates the path of a light ray that is incident at point P0 and travels through the first path of the light-guiding substrate 150 as the first-order diffracted light of the first portion 111 and the zeroth-order diffracted light of the second portion 112.
- the range of the path of stray light specific to the light guiding device of the present invention which is caused by light rays propagating within the light guiding substrate 150 as first-order diffracted light of both the first portion 111 and the second portion 112, can be determined by the positions of the light source, the first portion 111, the second portion 112, the first light folding portion 121, the second light folding portion 122, and the light emitting portion 130, as well as the period of the one-dimensional diffraction gratings of the first portion 111 and the second portion 112.
- a stray light prevention structure is installed in an area outside the first and second paths within the range of the path of light rays that may become stray light.
- FIG. 29 is a flow diagram for explaining step S2020 in FIG. 23.
- step S4010 of Fig. 29 the intensity of the light beam within the range of the path of the light beam that may become stray light determined in S3020 and the position of the reflection point of total reflection are determined.
- the intensity of the light beam is determined by simulation. Since light beams with an intensity below a predetermined value do not need to be considered as stray light, light beams with an intensity greater than a predetermined value are regarded as stray light.
- point P1 ( x1 , y1 ) and point P2 ( x2 , y2 ) were determined, the position of the reflection point of total reflection of each light beam can be determined.
- a stray light prevention structure is installed in an area outside the first path and the second path within the range of the path of the light ray that may become stray light, taking into consideration the light ray intensity determined in S4010 and the position of the reflection point of total reflection.
- a stray light prevention structure 160 is provided so as to block stray light rays whose intensity is greater than that of the treatment position.
- the stray light prevention structure may be formed as a diffraction grating or metasurface on the surface of the light guiding substrate 150 and through holes in the light guiding substrate 150.
- the diffraction grating or metasurface is placed on the surface of the light guiding substrate 150 near the position of the reflection point of the total internal reflection of the light beam.
- the difference between the y-axis coordinate of the stray light prevention structure and the y-axis coordinate of the light exit section 130 is as large as possible. Therefore, it is preferable that the position of the stray light prevention structure is as close as possible to the light entrance section 110.
- the distance between the stray light prevention structure and the light entrance section 110 is too close, manufacturing problems may occur, such as the occurrence of welds when manufacturing by injection molding or the occurrence of distortion when providing through holes after molding. Welds and distortions have a significant impact on the optical performance of the light guide device. Therefore, it is preferable to increase the distance between the stray light prevention structure and the light entrance section 110 to an extent that the above-mentioned manufacturing problems do not occur.
- Embodiments of a Light Guide Device Other Than a Stray Light Prevention Structure An embodiment of a light guide device other than a stray light prevention structure is as follows.
- the light-guiding device of the present invention comprises a light-guiding substrate that propagates light by internal reflection, and a light entrance section having a first portion and a second portion that are one-dimensional diffraction gratings provided on the light-guiding substrate, the first portion being configured to propagate received light as a first light beam along a first path within the light-guiding substrate, and the second portion being configured to propagate received light as a second light beam along a second path within the light-guiding substrate, and a one-dimensional diffraction grating provided on the light-guiding substrate,
- the light guide device of the present invention includes a first folding section configured to change the direction of the first path of the first light beam, a one-dimensional diffraction grating provided on the light guide substrate, a second folding section configured to change the direction of the second path of the second light beam, and a two-dimensional diffraction grating provided on the light guide substrate, configured to receive the first beam from the first folding section and the second beam from the second folding section, combine the first and
- the light guide device of the present invention is configured such that, on the surface of the light guide substrate, the center of the smallest circle that includes the first portion is farther from the light exit section than the center of the smallest circle that includes the second portion, and the first path passes through the region of the light guide substrate in which the second portion is provided.
- the light guide device of the present invention is configured such that, on the surface of the light guide substrate, the center of the smallest circle that includes the first portion is farther from the light exit portion than the center of the smallest circle that includes the second portion, and the first path passes through the region of the light guide substrate in which the second portion is provided. This improves the diffraction efficiency when receiving light at the light entrance portion, compared to a conventional light guide device in which the path of the light ray from one of the first and second portions to the light exit portion does not pass through the region of the light guide substrate in which the other portion is provided.
- the degree of freedom in how the light entrance portion is divided into the first portion 1 and the second portion is much greater than in a conventional light guide device in which the path of the light ray from one of the first and second portions to the light exit portion does not pass through the region of the light guide substrate in which the other portion is provided. Therefore, the efficiency of use of light from the light source can be improved by changing the way the light entrance portion is divided into the first portion 1 and the second portion.
- the light guide device of the present invention is configured such that, on the surface of the light guide substrate, the area occupied by the second portion is 2% or more of the area of the light input portion on the side away from the light output portion, based on a straight line that passes through the center of the smallest circle that contains the light input portion and is in the direction of the grooves of the diffraction grating of the first portion.
- the area occupied by the second portion in the region of the light entrance portion on the side away from the light exit portion is set to 2% or more based on a straight line that passes through the center of the smallest circle that includes the entrance portion and is in the direction of the grooves of the diffraction grating of the first portion, thereby improving the efficiency of use of light from the light source compared to a case in which a straight line that passes through the center of the smallest circle that includes the entrance portion and is in the direction of the grooves of the diffraction grating of the first portion is used as the boundary between the first and second portions.
- the surface of the light guide substrate is configured such that the area occupied by the first portion in the region of the light entrance portion closer to the light exit portion is 10% or more, based on a straight line that passes through the center of the smallest circle that contains the light entrance portion and is in the direction of the grooves of the diffraction grating of the first portion.
- a line that passes through the center of the smallest circle that includes the light entrance portion and is in the direction of the diffraction grating grooves in the first portion is used as a reference, and by making the area occupied by the first portion 10% or more of the area of the light entrance portion closer to the light exit portion, it is possible to improve the efficiency of use of light from the light source compared to a case in which a line that passes through the center of the smallest circle that includes the entrance portion and is in the direction of the diffraction grating grooves in the first portion is used as the boundary between the first and second portions.
- the boundary line between the first portion and the second portion in the light incident portion on the surface of the light guide substrate is a straight line parallel to the direction of the diffraction grating grooves in the first portion, and is configured so that there is a straight line that intersects with the boundary line at two or more points.
- the boundary line between the first and second parts of the light entrance section on the surface of the light-guiding substrate is not oriented in a single direction, and the maximum angle difference between the line segment or tangent of the boundary line and a reference direction is 75 degrees or more.
- the efficiency of using light from the light source can be improved compared to when the boundary line between the first and second parts is a straight line passing through the center of the smallest circle that includes the incident part.
- the light guide substrate has at least two portions, at least one of the first portion and the second portion being separated from the other portion.
- At least one of the first and second parts on the surface of the light-guiding substrate has at least two parts separated from each other by the other, thereby improving the efficiency of use of light from the light source compared to the case where the boundary between the first and second parts is a straight line passing through the center of the smallest circle that contains the incident part.
- the x-axis and y-axis are defined in the horizontal and vertical directions respectively assumed when the device is in use, and the inclination of the groove direction of the first-order diffraction grating in the first portion from the y-axis is within 5 degrees, and the inclination of the groove direction of the one-dimensional diffraction grating in the second portion from the x-axis is within 15 degrees.
- the period of the one-dimensional diffraction grating in the first portion is less than or equal to the period of the one-dimensional diffraction grating in the second portion.
- the surface of the light guide substrate is configured such that the area of the second portion occupies 2% or more of the area of the light input portion on the side away from the light output portion, based on a vertical straight line that passes through the center of the smallest circle that contains the light input portion and is assumed to be the basis when the device is in use.
- the area occupied by the second portion in the region of the light entrance portion on the side away from the light exit portion is set to 2% or more based on a vertical line that passes through the center of the smallest circle that includes the entrance portion and is assumed to be the reference line when the device is in use. This improves the efficiency of use of light from the light source compared to when a line that passes through the center of the smallest circle that includes the entrance portion is used as the boundary line between the first and second portions.
- the surface of the light guide substrate is configured such that the area of the first portion occupies 10% or more of the area of the light entrance portion closer to the light exit portion, based on a vertical straight line that passes through the center of the smallest circle that contains the light entrance portion and is assumed to be the center of the vertical straight line when the device is in use.
- the area occupied by the first portion in the region of the light entrance portion closer to the light exit portion is set to 10% or more based on a vertical line that passes through the center of the smallest circle that includes the light entrance portion and is assumed to be a line when the device is in use. This improves the efficiency of use of light from the light source compared to when a line that passes through the center of the smallest circle that includes the entrance portion is used as the boundary between the first and second portions.
Landscapes
- Physics & Mathematics (AREA)
- Engineering & Computer Science (AREA)
- Multimedia (AREA)
- Signal Processing (AREA)
- General Physics & Mathematics (AREA)
- Optics & Photonics (AREA)
- Optical Couplings Of Light Guides (AREA)
Abstract
本発明の導光装置(100)は、内部反射によって光を伝搬する導光基板(150)を有し、該導光基板(150)は、1次元回折格子であって、受け取った光を第1の光ビームとして該導光基板(150)内の第1の経路に沿って伝搬させる第1の部分(111)、及び受け取った光を第2の光ビームとして該導光基板(150)内の第2の経路に沿って伝搬させる第2の部分(112)を有する光入射部(110)と、前記第1の光ビームを光射出部(130)に向ける第1の折り返し部(121)と、前記第2の光ビームを前記光射出部(130)に向ける第2の折り返し部(122)と、を備える。前記導光基板(150)の面において、前記第1の部分(111)を包含する最小の円の中心は、前記第2の部分(112)を包含する最小の円の中心よりも前記光射出部(130)から離れており、前記第1の経路が前記第2の部分(112)を備える前記導光基板(150)の領域を通過するように構成される。さらに、迷光防止構造が、前記第1の部分(111)に入射した光線が、前記第1の部分(111)及び前記第2の部分(112)の両方の1次回折光として伝搬し前記光射出部(130)に到達し得る光線の経路の範囲内であって、前記第1の経路及び前記第2の経路外の領域に備えられている。
Description
本発明は、拡張現実システムに使用される導光装置及びその製造方法に関する。
周囲の環境の一部として、または周囲の環境に重ねて仮想対象の画像を表示し、拡張現実環境の仮想画像を生成する拡張現実システム(augmented reality system)が使用されている。拡張現実システムは、一例としてヘッドマウントディスプレイ(head-mounted display)、またはその他の形態のウェアブル装置として実現される。
拡張現実システムは、仮想画像を生成する光源と、生成された仮想画像を取り込む光入射部と、光入射部に取り込まれた画像を光線として伝搬させる導光部と、導光部から光線を受け取り、光線から画像を再形成してユーザに提供する光射出部と、を含む。光入射部、光射出部及び導光部を導光装置と呼称する。
これまで様々な導光装置が開発されている(特許文献1-3)。しかし、光源からの光の利用効率が十分に高い導光装置は開発されていない。
このような状況下において本出願人は、光源からの光の利用効率が十分に高い新たな導光装置を開発した。上記の導光装置は、内部反射によって光を伝搬する導光基板と、それぞれ該導光基板上に備わる1次元回折格子である第1の部分と第2の部分とを備えた光入射部であって、該第1の部分は受け取った光を第1の光ビームとして該導光基板内の第1の経路に沿って伝搬させるように構成され、該第2の部分は受け取った光を第2の光ビームとして該導光基板内の第2の経路に沿って伝搬させるように構成された光入射部と、該導光基板上に備わる1次元回折格子であって、該第1の光ビームの該第1の経路の方向を変えるように構成された第1の折り返し部と、該導光基板上に備わる1次元回折格子であって、該第2の光ビームの該第2の経路の方向を変えるように構成された第2の折り返し部と、該導光基板上に備わる2次元回折格子であって、該第1の折り返し部からの該第1のビーム及び該第2の折り返し部からの該第2のビームを受け取り、該第1及び第2のビームを結合して該導光基板の外部に射出するように構成された光射出部と、を備え、該導光基板の面において、該第1の部分を包含する最小の円の中心は該第2の部分を包含する最小の円の中心よりも該光射出部から離れており、該第1の経路が該第2の部分が備わる該導光基板の領域を通過するように構成されている。
上記の導光装置は、該第1の経路が該第2の部分が備わる該導光基板の領域を通過するように構成されているので、該第1の部分及び該第2の部分の両方の1次回折光として該導光基板内を伝搬する光線が迷光となり得る。このような迷光は上記の導光装置に特有の迷光である。したがって、該第1の部分及び該第2の部分の両方の1次回折光として該導光基板内を伝搬する迷光に対する迷光防止構造を備えた導光装置及びその製造方法に対するニーズがある。
本発明の課題は、光入射部の第1の部分及び第2の部分の両方の1次回折光として導光基板内を伝搬する迷光に対する迷光防止構造を備えた導光装置及びその製造方法を提供することである。
本発明の第1の態様の導光装置は、内部反射によって光を伝搬する導光基板と、それぞれ該導光基板上に備わる1次元回折格子である第1の部分と第2の部分とを備えた光入射部であって、該第1の部分は受け取った光を第1の光ビームとして該導光基板内の第1の経路に沿って伝搬させるように構成され、該第2の部分は受け取った光を第2の光ビームとして該導光基板内の第2の経路に沿って伝搬させるように構成された光入射部と、該導光基板上に備わる1次元回折格子であって、該第1の光ビームの該第1の経路の方向を変えるように構成された第1の折り返し部と、該導光基板上に備わる1次元回折格子であって、該第2の光ビームの該第2の経路の方向を変えるように構成された第2の折り返し部と、該導光基板上に備わる2次元回折格子であって、該第1の折り返し部からの該第1のビーム及び該第2の折り返し部からの該第2のビームを受け取り、該第1及び第2のビームを結合して該導光基板の外部に射出するように構成された光射出部と、を備える。該導光装置は、該導光基板の面において、該第1の部分を包含する最小の円の中心は該第2の部分を包含する最小の円の中心よりも該光射出部から離れており、該第1の経路が該第2の部分が備わる該導光基板の領域を通過するように構成されている。該導光装置は、該第1の部分に入射した後、該第1の部分及び該第2の部分の両方の1次回折光として伝搬し該光射出部に到達し得る光線の経路の範囲内であって、該第1の経路及び該第2の経路外の領域に迷光防止構造を備えている。
本態様の導光装置は、該第1の部分に入射した後、該第1の部分及び該第2の部分の両方の1次回折光として伝搬し該光射出部に到達し得る光線の経路の範囲内であって、該第1の経路及び該第2の経路外の領域に迷光防止構造を備えているので、該第1の部分及び該第2の部分の両方の1次回折光として該導光基板内を伝搬する迷光を有効に防止することができる。
本発明の第2の態様の導光装置の製造方法は、内部反射によって光を伝搬する導光基板と、それぞれ該導光基板上に備わる1次元回折格子である第1の部分と第2の部分とを備えた光入射部であって、該第1の部分は受け取った光を第1の光ビームとして該導光基板内の第1の経路に沿って伝搬させるように構成され、該第2の部分は受け取った光を第2の光ビームとして該導光基板内の第2の経路に沿って伝搬させるように構成された光入射部と、該導光基板上に備わる1次元回折格子であって、該第1の光ビームの該第1の経路の方向を変えるように構成された第1の折り返し部と、該導光基板上に備わる1次元回折格子であって、該第2の光ビームの該第2の経路の方向を変えるように構成された第2の折り返し部と、該導光基板上に備わる2次元回折格子であって、該第1の折り返し部からの該第1のビーム及び該第2の折り返し部からの該第2のビームを受け取り、該第1及び第2のビームを結合して該導光基板の外部に射出するように構成された光射出部と、を備え、該導光基板の面において、該第1の部分を包含する最小の円の中心は該第2の部分を包含する最小の円の中心よりも該光射出部から離れており、該第1の経路が該第2の部分が備わる該導光基板の領域を通過するように構成された導光装置の製造方法である。該導光装置の製造方法は、該第1の部分及び該第2の部分の両方の1次回折光として該導光基板内を伝搬し得る入射光線の角度及び位置を求めるステップと、該第1の部分及び該第2の部分の両方の1次回折光として該導光基板内を伝搬し得る入射光の光線うち、該光射出部に到達して迷光となりうる光線の経路の範囲を定めるステップと、該迷光となりうる光線の経路の範囲内で該第1の経路及び該第2の経路外の領域に迷光防止構造を設置するステップと、を含む。
本態様の導光装置の製造方法は、該第1の部分及び該第2の部分の両方の1次回折光として該導光基板内を伝搬し得る入射光の光線うち、該光射出部に到達して迷光となりうる光線の経路の範囲を定め、該迷光となりうる光線の経路の範囲内で該第1の経路及び該第2の経路外の領域に迷光防止構造を設置するので、該第1の部分及び該第2の部分の両方の1次回折光として該導光基板内を伝搬する迷光を有効に防止することができる。
本発明の第2の態様の第1の実施形態の導光装置の製造方法においては、該迷光防止構造を設置するステップにおいて、該迷光となりうる光線の経路の範囲内の光線の強度を求め、強度が所定値よりも大きい光線の経路に迷光防止構造を設置する。
本実施形態によれば、強度が所定値よりも大きい迷光の光線を効率的に防止することができる。
本発明の第2の態様の第2の実施形態の導光装置の製造方法においては、該迷光防止構造を設置するステップにおいて、該迷光となりうる光線の経路の範囲内の光線の全反射の反射点の位置を求め、該全反射点の位置の近傍に迷光防止構造を設置する。
本実施形態によれば、該導光基板の表面の、迷光となりうる光線の全反射の反射点の位置の近傍に回折格子やメタサーフェスを設置することによって迷光を効率的に防止することができる。
図1は、本発明による導光装置100の透視図である。
図2は、本発明による導光装置100の断面図である。
導光装置100は、導光基板150と、導光基板150に備わる光入射部110、第1の光折り返し部121、第2の光折り返し部122及び光射出部130と、を備える。光入射部110はそれぞれ1次元表面構造型回折格子である第1の部分111及び第2の部分112を備える。第1の光折り返し部121及び第2の光折り返し部122はそれぞれ1次元表面構造型回折格子である。光射出部130は2次元表面構造型回折格子である。
光源50は光入射部110上に画像を形成するように構成されている。光源50はレーザビームの走査によって光入射部110上に画像を形成するレーザ光源であってもよい。図2において光源50と導光基板150との間の距離をDで表す。光入射部110の第1の部分111に受け取られた光は回折光として導光基板150内に取り込まれ、導光基板150内の全反射によって第1の光折り返し部121へ伝送される。図2において導光基板150の厚みをdで表す。第1の光折り返し部121へ到達した光は第1の光折り返し部121によって進行方向を変えられ光射出部130へ伝送される。光入射部110の第2の部分112に受け取られた光は回折光として導光基板150内に取り込まれ、導光基板150内の全反射によって第2の光折り返し部122へ伝送される。第2の光折り返し部122へ到達した光は第2の光折り返し部122によって進行方向を変えられ光射出部130へ伝送される。光射出部130は第1の光折り返し部121及び第2の光折り返し部122から受け取った光を結合してアイボックス200内に画像を形成する。アイボックス200は観察者の瞳孔が移動しても画像が欠けない範囲を指す。図2においてアイボックス200と導光基板150との間の距離をD’で表す。図2における導光基板150内の光線の経路は導光基板150内の全反射を説明するためのもので実際の経路を示すものではない。
図3は、本発明の導光装置100の設計方法を説明するための流れ図である。
図3のステップS1010において光入射部110のサイズを定める。
図4は、本明細書で使用する座標を説明するための図である。導光装置100の使用時の水平方向に対応する方向にx軸を定め、鉛直方向に対応する方向にy軸を定める。x軸の座標は光射出部130の座標が光入射部110の座標より大きくなるように定め、y軸の座標は光射出部130の座標が光入射部110の座標より小さくなるように定める。x軸及びy軸の交点を原点として両軸に直交するz軸を定める。
たとえば、光入射部110の受光面上にx軸及びy軸を定め、受光面の中心を原点とする。光源50の中心はz軸上で原点からDの距離に位置するものとする。z軸の座標は光源50の中心の座標が原点の座標より小さくなるように定める。光源50の中心から放出されて光入射部110の受光面上の点Pに到達する光線の入射角をθで表す。θのx軸方向の成分及びy軸方向の成分をそれぞれθx及びθyで表す。θx及びθyはそれぞれ光線が、座標が大きくなるように進行してから入射する場合に正とする。図4においてθxは負でありθyは正である。
光入射部110のx軸方向の長さL1x及びy軸方向の長さL1yはそれぞれ以下の式に基づいて定める。
図3のステップS1020において、光入射部110の第1の部分111の格子周期Λ1を求める。第1の部分111の回折格子の溝はy軸方向であるとする。
図5は、xz断面において、光源50の発光面の中心から放出されて光入射部110の受光面に入射し、導光基板150内を進行する光線を示す図である。図5においてx軸の座標は光射出部130の座標が光入射部110の座標より大きくなるように定めているので導光基板150内を進行する光線の進行方向はx軸に沿って座標が増加する方向である。また、θxは負である。
図6は、xz断面において導光基板150に入射する光線の入射角θax及び導光基板150の内面の入射角θgxを示す図である。簡単化のため図6において光入射部110は図示していない。回折格子の溝は紙面に垂直な方向である。回折の式は以下のとおりである。図6の場合に、光線はx座標が減少する方向に進行してから光入射部110に入射するのでθaxの値は負である。
na 空気の屈折率
ng 導光基板の屈折率
θax 光入射部の受光面のxz断面における入射角
θgx 導光基板の内面のxz断面における入射角
m 回折次数、m=1
λ 光線の波長
Λ 格子周期
図6において、導光基板150の内面の入射角θgxが臨界角以上である場合に光入射部110の受光面から導光基板150に入った光線は図2に示すように全反射しながら導光基板150内を進行することができる。したがって、光入射部110の受光面の入射角θaxは導光基板150の内面の入射角θgxが臨界角以上となるように定める必要がある。
式(2)において、θaxにxz断面における最大入射角-θxmaxを代入しΛを求めその値をΛ1とする。上述のようにθxmaxは絶対値である。式(1)によれば格子周期がΛ1の場合にθaxが大きくなる(θaxの絶対値が小さくなる)にしたがってθgxは大きくなる。したがって、θaxが-θxmax以上であればθgxは臨界角以上となって光線は全反射しながら導光基板150内を進行することができる。
一般的に、格子周期を小さくすることによってθgxが臨界角以上となる入射角度の絶対値は増加する。
図3のステップS1030において、光入射部110の第2の部分112の格子周期Λ2を求める。第2の部分112の回折格子の溝はx軸方向であるとする。y軸の座標は光射出部130の座標が光入射部110に座標より小さくなるように定めているので導光基板150内を進行する光線の進行方向はy軸に沿って座標が減少する方向である。
図7は、yz断面において導光基板150に入射する光線の入射角θay及び導光基板150の内面の入射角θgyを示す図である。図7のピッチpは図7に示すyz断面において光線が導光基板150の内面において全反射する点の間の間隔を示す。簡単化のため図7において光入射部110は図示していない。回折格子の溝は紙面に垂直な方向である。回折の式は以下のとおりである。図7の場合に、光線はy座標が減少する方向に進行してから光入射部110に入射するのでθayの値は負である。
観察者に安定した画像を提供するためにはピッチpは瞳孔のサイズ以下とする必要がある。瞳孔サイズのピッチpに対応する導光基板の内面の入射角θgyをピッチ角θpと呼称する。ピッチ角θpは瞳孔サイズのピッチpから以下の式によって求まる。
式(1)’においてθgyにθpを代入すると以下の式が得られる。
式(3)’において、格子周期Λを適切に定め、光入射部の受光面のyz断面における入射角θayを求める。θayの絶対値がyz断面における最大入射角以上であればその値をΛ2とする。θayの絶対値がyz断面における最大入射角よりも小さければ格子周期Λを小さくしてΛ2を求める。
一般的に格子周期を大きくすることによってピッチ長は小さくなり画像は観察しやすくなる。したがって、最大入射角の条件を満たす限り格子周期を大きくするのが好ましい。格子周期とピッチ長との関係については実施例1において詳細に説明する。
図8は、xz断面において光入射部の受光面の入射角と導光基板の内面の入射角との関係を示す図である。図8は後で説明する実施例1の上記の関係を示す。図8の横軸は光入射部110のxz断面における入射角を示し、図8の縦軸は導光基板の内面のxz断面における全反射角度を示す。光入射部の受光面のxz断面における入射角がθacx以上であれば導光基板の内面のxz断面における入射角は臨界角以上となる。光入射部の受光面のxz断面における入射角がθapx以下であればピッチは瞳孔サイズよりも小さくなる。θapxはxz断面においてピッチ角に対応する入射角である。このように光入射部の受光面のxz断面における入射角は、導光基板の内面のxz断面における入射角が臨界角以上となりピッチが瞳孔サイズよりも小さくなる角度範囲とする必要がある。
図3のステップS1040において、導光基板の内面の入射角が臨界角以上となりピッチが瞳孔サイズよりも小さくなるように光線を伝搬させることのできる光入射部110の領域を求める。
xz断面における光線の臨界角について考察する。xz断面において導光基板の内面の入射角が臨界角の場合の受光面の入射角θacxは負の値である。θacxは式(2)のΛにΛ1を代入して求める。
xz断面において、導光基板の内面の入射角を臨界角以上とするための入射角の条件は以下の式で表せる。
ここで
θax xz断面における光入射部の受光面の入射角
θay yz断面における光入射部の受光面の入射角
α 溝の方向がほぼy軸方向の格子の溝のy軸からの傾き角度(反時計回り)
θax xz断面における光入射部の受光面の入射角
θay yz断面における光入射部の受光面の入射角
α 溝の方向がほぼy軸方向の格子の溝のy軸からの傾き角度(反時計回り)
yz断面において、導光基板の内面の入射角を臨界角以上とするための入射角の条件は以下の式で表せる。
ここで
θax xz断面における光入射部の受光面の入射角
θay yz断面における光入射部の受光面の入射角
β 溝の方向がほぼx軸方向の格子の溝のx軸からの傾き角度(反時計回り)
θax xz断面における光入射部の受光面の入射角
θay yz断面における光入射部の受光面の入射角
β 溝の方向がほぼx軸方向の格子の溝のx軸からの傾き角度(反時計回り)
xz断面における光線のピッチについて考察する。導光基板における瞳孔サイズのピッチに対応する受光面の入射角θapxは正の値である。θapxは式(1)のθgxにθpを代入して得られる以下の式のΛにΛ1を代入して求める。
xz断面において、導光基板におけるピッチを瞳孔サイズ以下とするための入射角の条件は以下の式で表せる。
ここで
θax xz断面における光入射部の受光面の入射角
θay yz断面における光入射部の受光面の入射角
α 溝の方向がほぼy軸方向の格子の溝のy軸からの傾き角度(反時計回り)
θax xz断面における光入射部の受光面の入射角
θay yz断面における光入射部の受光面の入射角
α 溝の方向がほぼy軸方向の格子の溝のy軸からの傾き角度(反時計回り)
yz断面における光線のピッチについて考察する。導光基板における瞳孔サイズのピッチに対応する受光面の入射角θapyは負の値である。θapyは式(3)’のΛにΛ2を代入して求める。
yz断面において、導光基板におけるピッチを瞳孔サイズ以下とするための入射角の条件は以下の式で表せる。
ここで
θax xz断面における光入射部の受光面の入射角
θay yz断面における光入射部の受光面の入射角
β 溝の方向がほぼx軸方向の格子の溝のx軸からの傾き角度(反時計回り)
θax xz断面における光入射部の受光面の入射角
θay yz断面における光入射部の受光面の入射角
β 溝の方向がほぼx軸方向の格子の溝のx軸からの傾き角度(反時計回り)
なお、光入射部の第1及び第2の部分から放出された光は第1及び第2の光折り返し部でほぼ90度方向を変えるので波数空間で考慮すると、導光基板の内面の入射角が臨界角以上となりピッチが瞳孔サイズよりも小さくなるように光線を伝搬させるためにさらに以下の追加条件を満たす必要がある。
図9は、導光基板の内面の入射角が臨界角以上となりピッチが瞳孔サイズよりも小さくなるに光線を伝搬させることのできる光入射部110の領域を示す図である。図9のx軸はtan(θax)を示し、図9のy軸はtan(θay)を示す。図9の直線L1、L2、L3及びL4はそれぞれ式(4)、(5)、(6)及び(7)を表す。また、L1’及びL4’はそれぞれ式(4)’及び(7)’を表す。直線L1’、L2、L3及びL4’で囲まれた領域が導光基板の内面の入射角が臨界角以上となりピッチが瞳孔サイズよりも小さくなるように光線を伝搬させることのできる領域である。この領域を重複領域と呼称する。
図3のステップS1050において、光射出部130のサイズを定める。
図4に示した座標の原点を光射出部130の面の中心と一致させ、x軸及びy軸を含む面を光射出部130の面と一致させる。また、アイボックス200の中心をz軸上の定め、アイボックス200はx軸及びy軸を含む面と平行とする。光射出部130の面上の点P’から放出されてアイボックス200の中心に入射する光線の入射角をθで表す。θのx軸方向の成分及びy軸方向の成分をそれぞれθx及びθyで表す。
光射出部130のx軸方向の長さL2x及びy軸方向の長さL2yはそれぞれ以下の式に基づいて定める。
ここで
D’ アイボックスの面の中心から原点(光射出部の面の中心)までの距離
L20x アイボックスのx軸方向の長さ
L20y アイボックスのy軸方向の長さ
θxmax θxの絶対値の最大値
θymax θyの絶対値の最大値
D’ アイボックスの面の中心から原点(光射出部の面の中心)までの距離
L20x アイボックスのx軸方向の長さ
L20y アイボックスのy軸方向の長さ
θxmax θxの絶対値の最大値
θymax θyの絶対値の最大値
なお、光射出部130は、導光基板上に備わる2次元表面構造型回折格子であって、二種類の回折格子のそれぞれの格子周期は対応する光入射部110の第1の部分111または第2の部分112の1次元回折格子の格子周期と同じである。
図3のステップS1060において、瞳孔間距離と目と耳の位置関係から、光入射部110と光射出部130との相対的な位置を定める。
図3のステップS1070において、重複領域を考慮しながら光入射部110の第1の部分111及び第2の部分112への分割の仕方を変化させ瞳によって観察される画像の輝度を光学シミュレーション(たとえば、Virtuallabを使用したもの)によって評価して分割の仕方を最適化する。また、そのように分割された光入射部110に合わせて第1の光折り返し部121及び第2の光折り返し部122の形状を最適化する。
従来技術の装置においては、第1及び第2の部分の一方から光射出部へ向かう光線の経路が、他方が備わる導光基板の領域を通過しないように構成される。他方、本発明の導光装置は、導光基板の面において、第1の部分を包含する最小の円の中心は第2の部分を包含する最小の円の中心よりも光射出部から離れており、第1の部分から光射出部へ向かう光線の経路が、第2の部分が備わる導光基板の領域を通過するように構成されている。したがって、本発明の導光装置において光入射部110の第1の部分111及び第2の部分112への分割の仕方の自由度が従来技術の導光装置と比較してはるかに大きい。
以下において本発明の実施例及び比較例について説明する。
光入射部110、第1の光折り返し部121、第2の光折り返し部122及び光射出部130を備えた導光基板150の材料はポリカーボネートであり、波長520ナノメータの光の屈折率は1.6748である。導光基板150の厚さは1.25ミリメータである。各実施例の対応する素子は同じ符号で表す。
光入射部110は矩形であり、x軸方向の長さは3.343ミリメータ、y軸方向の長さは2.49ミリメータである。光入射部110の第1の部分111の溝はほぼy軸の方向であり、格子周期は410ナノメータである。光入射部110の第2の部分112の溝はほぼx軸の方向であり、格子周期は460ナノメータである。
光射出部130は矩形であり、x軸方向の長さは21.207ミリメータ、y軸方向の長さは11.929ミリメータである。光射出部130のx軸方向の格子周期は460ナノメータであり、y軸方向の格子周期は460ナノメータである。
格子の溝の方向はy軸を基準として時計回りの角度で表す。格子の溝の方向を格子の方向とも呼称する。
光源50と光入射部110との間の距離Dは6.3ミリメータ、光射出部130とアイボックス200との距離D’は18ミリメータである。光入射部110の対角画角は30度である。
光源50はレーザ光源であり、スポットはx軸方向が0.4ミリメータ、y軸方向が0.8ミリメータである。アイボックス200はx軸方向が12.8ミリメータ、y軸方向が7.2ミリメータである。
実施例1
図10は実施例1の導光装置100の平面図である。
図10は実施例1の導光装置100の平面図である。
図11は実施例1の導光装置100のxz断面を示す図である。
光入射部110の第1の部分111の格子の方向は0度であり、格子周期は410ナノメータである。光入射部110の第2の部分112の格子の方向は90度であり、格子周期は460ナノメータである。第1の部分111と第2の部分112とは光入射部110の中心を通りy軸と平行な境界線によって両者の面積が等しくなるように分割される。
実施例1の光入射部110は、第1の部分111は第2の部112部分よりも光射出部130から離れており、第1の部分111から光射出部130へ向かう光線の経路が、第2の部分112が備わる導光基板150の領域を通過するように構成されている。具体的に、第1の部分111から第1の光折り返し部121へ向かう光線はx座標が増加するようにx軸方向に進行し、導光基板150の第2の部112部分が備わる領域を通過する。第2の部分112から第2の光折り返し部122へ向かう光線はy座標が減少するようにy軸方向に進行する。
第1の光折り返し部121の格子の方向は45度であり、格子周期は290ナノメータである。第2の光折り返し部122の格子の方向は45度であり、格子周期は325ナノメータである。
表1はアイボックスの受光面における輝度を示す表である。輝度の数値は光源の輝度に対する比率(パーセント)で示す。なお、表1及び以下の表の輝度の数値は光学シミュレーション(たとえば、Virtuallabを使用したもの)によって求めた。
図2に示すように、アイボックス200の受光面と光射出部130の射出面とは平行であり、両方の面の中心を結ぶ直線はz軸方向である。そこで、光射出部130の射出面の中心から射出される光線の入射角度によってアイボックス200の受光面上の位置を定めることができる。表1の横方向の角度は入射角度のx軸方向の成分、すなわちx軸方向の座標を表し、表1の縦方向の角度は入射角度のy軸方向の成分、すなわちy軸方向の座標を表す。
表3は、実施例1の導光装置100の第2の部分111の格子周期を460ナノメータから410ナノメータに変えた場合に、様々な入射角度の光線についての導光基板150におけるピッチ長を示す表である。ピッチ長の単位はミリメータである。
格子周期が410ナノメータの表3の場合に格子周期が460ナノメータの表2の場合と比較してピッチ長は増加していている。このように格子周期を短くするとピッチ長は増加する。
比較例
図12は比較例の導光装置100’の平面図である。
図12は比較例の導光装置100’の平面図である。
図13は比較例の導光装置100’のxz断面を示す図である。
光入射部110’の第1の部分111’の格子の方向は0度であり、格子周期は410ナノメータである。光入射部110’の第2の部分112’の格子の方向は90度であり、格子周期は460ナノメータである。第1の部分111’と第2の部分112’とは光入射部110’の中心を通りy軸と平行な境界線によって両者の面積が等しくなるように分割される。
比較例において、第1及び第2の部分の一方から光射出部130’へ向かう光線の経路が、他方が備わる導光基板150’の領域を通過しないように構成されている。具体的に、第1の部分111’から第1の光折り返し部121’へ向かう光線はx座標が増加するようにx軸方向に進行し、第2の部分112’から第2の光折り返し部122’へ向かう光線はy座標が減少するようにy軸方向に進行する。このように第1の部分111’及び第2の部分112’の一方から射出された光線は他方が備わる導光基板150’の領域を通過しない。
第1の光折り返し部121’の格子の方向は45度であり、格子周期は325ナノメータである。第2の光折り返し部122’の格子の方向は45度であり、格子周期は290ナノメータである。
実施例2
図14は実施例2の導光装置100の平面図である。
図14は実施例2の導光装置100の平面図である。
光入射部110の第1の部分111の格子の方向は2度であり、格子周期は410ナノメータである。光入射部110の第2の部分112の格子の方向は85度であり、格子周期は460ナノメータである。
実施例2の光入射部110は、第1の部分111は第2の部112部分よりも光射出部130から離れており、第1の部分111から光射出部130へ向かう光線の経路が、第2の部分112が備わる導光基板150の領域を通過するように構成されている。
図15は実施例2の光入射部110の平面図である。第1の部分111と第2の部112部分との境界線はx軸方向の4本の線分及びy軸方向の5本の線分からなる。
たとえば、光入射部110の中心である座標の原点を通り第1の部分111の回折格子の溝の方向に平行な直線は境界線と四点で交わる。
第1の部分111と第2の部分112との境界線の方向が単一ではなく、該境界線の線分または接線の基準方向に対する角度の差の最大値は90度である。
光入射部110の中心である座標の原点を通り第1の部分111の回折格子の溝の方向の直線を基準として、光射出部130から離れた光入射部110の領域において第2の部分112が占める面積は4.76%である。
光入射部110の中心である座標の原点を通り第1の部分111の回折格子の溝の方向の直線を基準として、光射出部130により近い光入射部110の領域において第1の部分111が占める面積は13.72%である。
第1の光折り返し部121の格子の方向は46度であり、格子周期は285ナノメータである。第2の光折り返し部122の格子の方向は42.5度であり、格子周期は310ナノメータである。
実施例3
図16は実施例3の導光装置100の平面図である。
図16は実施例3の導光装置100の平面図である。
光入射部110の第1の部分111の格子の方向は5度であり、格子周期は410ナノメータである。光入射部110の第2の部分112の格子の方向は90度であり、格子周期は460ナノメータである。
実施例3の光入射部110は、第1の部分111は第2の部112部分よりも光射出部130から離れており、第1の部分111から光射出部130へ向かう光線の経路が、第2の部分112が備わる導光基板150の領域を通過するように構成されている。
図17は実施例3の光入射部110の平面図である。第1の部分111と第2の部分112との境界線はx軸方向の1本の線分及びy軸方向の2本の線分からなる。
第1の部分111と第2の部分112との境界線の方向が単一ではなく、該境界線の線分または接線の基準方向に対する角度の差の最大値は90度である。
光入射部110の中心である座標の原点を通り第1の部分111の回折格子の溝の方向の直線を基準として、光射出部130から離れた光入射部110の領域において第2の部分112が占める面積は18.21%である。
光入射部110の中心である座標の原点を通り第1の部分111の回折格子の溝の方向の直線を基準として、光射出部130により近い光入射部110の領域において第1の部分111が占める面積は18.21%である。
第1の光折り返し部121の格子の方向は47.5度であり、格子周期は286ナノメータである。第2の光折り返し部122の格子の方向は45度であり、格子周期は325ナノメータである。
実施例4
図18は実施例4の導光装置100の平面図である。
図18は実施例4の導光装置100の平面図である。
光入射部110の第1の部分111の格子の方向は0度であり、格子周期は410ナノメータである。光入射部110の第2の部分112の格子の方向は100度であり、格子周期は460ナノメータである。
実施例4の光入射部110は、第1の部分111は第2の部112部分よりも光射出部130から離れており、第1の部分111から光射出部130へ向かう光線の経路が、第2の部分112が備わる導光基板150の領域を通過するように構成されている。
図19は実施例4の光入射部110の平面図である。第1の部分111と第2の部112部分との境界線はy軸に対して傾斜した線分である。
光入射部110の中心である座標の原点を通り第1の部分111の回折格子の溝の方向の直線を基準として、光射出部130から離れた光入射部110の領域において第2の部分112が占める面積は14.96%である。
光入射部110の中心である座標の原点を通り第1の部分111の回折格子の溝の方向の直線を基準として、光射出部130により近い光入射部110の領域において第1の部分111が占める面積は14.96%である。
第1の光折り返し部121の格子の方向は45度であり、格子周期は290ナノメータである。第2の光折り返し部122の格子の方向は50度であり、格子周期は360ナノメータである。
実施例5
図20は実施例5の導光装置100の平面図である。
図20は実施例5の導光装置100の平面図である。
光入射部110の第1の部分111の格子の方向は2度であり、格子周期は410ナノメータである。光入射部110の第2の部分112の格子の方向は85度であり、格子周期は460ナノメータである。
実施例5の光入射部110は、第1の部分111は第2の部112部分よりも光射出部130から離れており、第1の部分111から光射出部130へ向かう光線の経路が、第2の部分112が備わる導光基板150の領域を通過するように構成されている。
図21は実施例5の光入射部110の平面図である。第1の部分111と第2の部112部分との境界線はx軸方向の1本の線分及びy軸方向の3本の線分からなる。
第1の部分111と第2の部分112との境界線の方向が単一ではなく、該境界線の線分または接線の基準方向に対する角度の差の最大値は90度である。
光入射部110の中心である座標の原点を通り第1の部分111の回折格子の溝の方向の直線を基準として、光射出部130から離れた光入射部110の領域において第2の部分112が占める面積は4.28%である。
光入射部110の中心である座標の原点を通り第1の部分111の回折格子の溝の方向の直線を基準として、光射出部130により近い光入射部110の領域において第1の部分111が占める面積は23.93%である。
第2の部分112は第1の部分111によって互いに分離された二つの部分を有する。
第1の光折り返し部121の格子の方向は46度であり、格子周期は285ナノメータである。第2の光折り返し部122の格子の方向は42.5度であり、格子周期は310ナノメータである。
実施例の性能の評価
アイボックスの受光面における輝度を示す表1及び表4-6によって実施例及び比較例の性能を評価する。最初に実施例1の表1と比較例の表4とを比較する。観察可能な輝度の閾値を0.001%とすると表1の全ての値は閾値以上である。他方、表2においては黒で示した9か所の値が閾値未満である。したがって、実施例1の装置の光利用効率は比較例の装置の光利用効率よりも高い。その理由は、実施例1における光線の経路の方が比較例における光線の経路よりも光入射部110における回折効率が高いからである。
アイボックスの受光面における輝度を示す表1及び表4-6によって実施例及び比較例の性能を評価する。最初に実施例1の表1と比較例の表4とを比較する。観察可能な輝度の閾値を0.001%とすると表1の全ての値は閾値以上である。他方、表2においては黒で示した9か所の値が閾値未満である。したがって、実施例1の装置の光利用効率は比較例の装置の光利用効率よりも高い。その理由は、実施例1における光線の経路の方が比較例における光線の経路よりも光入射部110における回折効率が高いからである。
つぎに、実施例1-5の輝度を示す表1及び表5-8において輝度の最小値は以下のとおりである。
実施例1(表1) 0.007%
実施例2(表5) 0.022%
実施例3(表6) 0.015%
実施例4(表7) 0.027%
実施例5(表8) 0.022%
実施例1(表1) 0.007%
実施例2(表5) 0.022%
実施例3(表6) 0.015%
実施例4(表7) 0.027%
実施例5(表8) 0.022%
実施例2-5においては、光入射部110の第1の部分111と第2の部分112との境界線を適切に定めることによって輝度の最小値は、第1の部分111と第2の部分112とを光入射部110の中心を通りy軸と平行な境界線によって両者の面積が等しくなるように分割した実施例1と比較して大幅に向上している。その理由は、実施例2-5においては、第1の部分111と第2の部分112との配置を柔軟に変化させることによって、アイボックスの受光面の輝度を向上させ、アイボックスの受光面における位置による輝度の差を小さくすることができるためである。
迷光防止構造
つぎに迷光防止構造について説明する。
つぎに迷光防止構造について説明する。
図22は、迷光防止構造を設置する導光装置100の一例を示す図である。
光入射部110、第1の光折り返し部121、第2の光折り返し部122及び光射出部130を備えた導光基板150の材料はポリカーボネートであり、波長520ナノメータの光の屈折率ndは1.6748である。導光基板150の厚さdは1.25ミリメータである。
図示しない光源50はレーザ光源であり、スポットのx軸方向のサイズは0.4ミリメータ、y軸方向のサイズは0.8ミリメータである。光源の光の波長λは520ナノメータである。光源50と光入射部110との間の距離Dは6.3ミリメータである。
光入射部110の第1の部分111の格子の溝の方向はθ1=0度であり、格子周期は410ナノメータである。光入射部110の第2の部分112の格子の溝の方向はθ2=90度であり、格子周期は460ナノメータである。格子の溝の方向はy軸を基準として時計回りの角度で表す。第1の部分111と第2の部分112とは光入射部110の中心を通りy軸と平行な境界線によって両者の面積が等しくなるように分割されている。
本発明の導光装置は、光入射部110の第1の部分111に入射した光線の導光基板150内の第1の経路が、光入射部110の第2の部分112が備わる導光基板150の領域を通過するように構成されている。したがって、第1の部分111及び第2の部分112の両方の1次回折光として導光基板150内を伝搬する光線が迷光となり得る。このように生じる迷光は本発明の導光装置に特有の迷光であり、このように生じる迷光を防止するのが好ましい。
図22において、直線C及びC’の間の領域は、光入射部110の第1の部分111の1次回折光が通過する範囲、すなわち第1の経路である。また、直線D及びD’の間の領域は、光入射部110の第2の部分112の1次回折光が通過する範囲、すなわち第2の経路である。直線A及びBの間の領域は、以下に説明する迷光となりうる光線の経路の範囲である。
図23は、迷光防止構造の製造方法を説明するための流れ図である。
図23のステップS2010において、迷光となりうる光線の経路の範囲を定める。
図24は、図23のステップS2010を説明するための流れ図である。
図24のステップS3010において、光入射部の第1の部分及び第2の部分の1次回折光として導光基板内を伝搬する入射光の角度及び位置を求める。
図25は、導光基板150の表面の点Pの位置に入射する入射光線を示す図である。図において光源の中心の位置を点Sで示し、導光基板150の面上の原点をOで示す。原点Oは、光入射部110の中心に位置し、点Sから導光基板150の面に下した垂線の足となるように定める。入射光線SPをxz平面及びyz平面に投影した2本の直線と点Sと点Oを結ぶ直線とのなす角度をそれぞれα及びβとする。角度α及びβを入射光線SPの入射角θのx方向及びy方向の成分と呼称する。
図26は、導光基板150の面上の点Pを含み、x軸及びz軸に平行な断面を示す図である。図26において簡単化のため光入射部は図示していない。第1の部分111による回折後に導光基板150内を進行する光線の入射角のx方向成分をα0で表す。
図27は、導光基板150の面上の点Pを含み、y軸及びz軸に平行な断面を示す図である。図27において簡単化のため光入射部は図示していない。第1の部分111による回折後に導光基板150内を進行する光線の入射角のy方向成分をβ0で表す。
第1の部分111の1次回折光がさらに第2の部分112で1次回折光として回折された後に導光基板150内を進行する光線の入射角のx方向成分及びy方向成分をそれぞれα1及びβ1とすると、上記の光線の波数のベクトルkoutは以下の式で表せる。
他方、
が成立するので式(8)乃至(13)を使用して、(α,β)、(α0,β0)及び(α1,β1)の関係を求めることができる。そこで、(α0,β0)及び(α1,β1)に対応する角度が全反射の臨界角以上となる(α,β)の範囲を求めることができる。このようにして、第1の部分111及び第2の部分112の両方の1次回折光として導光基板150内を全反射で伝搬する入射光線の(α,β)の範囲及び入射点Pの範囲を求めることができる。
図23のステップS3020において、S3010で求めた入射光線の経路のうち、第1の部分111、第2の部分112、第1の光折り返し部121、第2の光折り返し部122、及び光射出部130の位置を考慮して、光射出部130に到達して迷光となりうる光線の経路の範囲を定める。
図28は、図22の光入射部110及びその周囲の拡大図である。直線Cで表せる光線の入射角は、(α,β) = (-13.15°,7.48°)であり、入射位置は点PCである。直線Dで表せる光線の入射角は、(α,β) = (13.15°,-7.48°) であり、入射位置は点PDである。点PC及び点PDは光入射部110の境界を形成する矩形の頂点である。
ステップS3010において求めた、第1の部分111及び第2の部分112の両方の1次回折光として導光基板150内を全反射で伝搬する入射光線のうち、式(10)を考慮して第2の部分112の点PDの付近を通過する光線の経路を求める。図28において、上記の光線は、第1の部分111の点P0で入射し第1の部分111の1次回折光として第2の部分112の点P1まで導光基板150内の全反射で伝搬する。点P1は点PDの付近の点である。つぎに上記の光線は、第2の部分112の1次回折光として点P2まで伝搬する。点P1及び点P2は、光線が基板の境界面で全反射する点である。点P0、点P1及び点P2の座標をそれぞれ(x0,y0)、(x1,y1)及び(x2,y2)で表すと以下の式が成立する。
(x1,y1)= (x0+m0・2dtan(α0), y0+ m0・2dtan(β0))
(x2,y2)= (x0+ m0・2dtan(α0)+m1・2dtan(α1), y0+ m0・2dtan(β0)+m1・2dtan(β1))
上記の式においてm0及びm1は、それぞれ第1の部分111及び第2の部分112の1次回折光の全反射の回数を表す。図28に示した場合に、m0=1、m1=4である。
(x1,y1)= (x0+m0・2dtan(α0), y0+ m0・2dtan(β0))
(x2,y2)= (x0+ m0・2dtan(α0)+m1・2dtan(α1), y0+ m0・2dtan(β0)+m1・2dtan(β1))
上記の式においてm0及びm1は、それぞれ第1の部分111及び第2の部分112の1次回折光の全反射の回数を表す。図28に示した場合に、m0=1、m1=4である。
2dtan(α0)、2dtan(β0)、2dtan(α1)及び2dtan(β1)は、図26のpx、または図27のpyで示される距離に対応する距離である。
上記の光線に関するデータは以下のとおりである。下記のデータの角度の単位は度であり、長さの単位はミリメータである。
(α、β) =(-4, -7.48)
(x0, y0) =(-0.44, -0.83)
(α0、β0)=(45.86, -4.47)
(x1, y1) =(2.14, -1.02)
(α1、β1)=(45.86, 36.79)
(x2, y2) =(12.44, 6.46)
(α、β) =(-4, -7.48)
(x0, y0) =(-0.44, -0.83)
(α0、β0)=(45.86, -4.47)
(x1, y1) =(2.14, -1.02)
(α1、β1)=(45.86, 36.79)
(x2, y2) =(12.44, 6.46)
このようにして求めた、点P0(x0、y0)、点P1(x1,y1)及び点P2(x2,y2)を通過する光線の経路は、迷光となりうる光線の経路の範囲の一方の境界である。図22及び図28において上記の境界をAで示した。ステップS3010において求めた、第1の部分111及び第2の部分112の両方の1次回折光として導光基板150内を全反射で伝搬する入射光線のうち、第1の部分111及び第2の部分112の境界付近を通過する光線の経路から同様にして迷光となりうる光線の経路の範囲の他方の境界が求まる。図22及び図28において上記の境界をBで示した。
図28の直線A’は、点P0で入射し第1の部分111の1次回折光が第2の部分112の0次回折光として導光基板150の第1の経路内を進行する光線の経路を示す。
このように、第1の部分111及び第2の部分112の両方の1次回折光として導光基板150内を伝搬する光線による本発明の導光装置に特有の迷光の経路の範囲は、光源、第1の部分111、第2の部分112、第1の光折り返し部121、第2の光折り返し部122、及び光射出部130の位置、ならびに第1の部分111及び第2の部分112の1次元回折格子の周期によって定めることができる。
図23のステップS2020において、迷光となりうる光線の経路の範囲内で第1及び第2の経路外の領域に迷光防止構造を設置する。
図29は、図23のステップS2020を説明するための流れ図である。
図29のステップS4010において、S3020で求めた迷光となりうる光線の経路の範囲内の光線の強度及び全反射の反射点の位置を求める。光線の強度はシミュレーションによって求める。強度が所定値以下の光線は迷光として考慮する必要がないので、強度が所定値よりも大きい光線を迷光とする。また点P1(x1,y1)及び点P2(x2,y2)を求めたように、それぞれの光線の全反射の反射点の位置を求めることができる。
図29のステップS4020において、S4010で求めた光線の強度及び全反射の反射点の位置を考慮して迷光となりうる光線の経路の範囲で第1の経路及び第2の経路外の領域に迷光防止構造を設置する。図28において直線A及びBの間の領域である迷光の光線の経路の範囲内で第1の経路及び第2の経路外の領域において、強度が処置位置よりも大きい迷光の光線を遮断するように迷光防止構造160を設ける。
迷光防止構造は、導光基板150の表面の回折格子やメタサーフェス及び導光基板150の貫通孔として形成してもよい。回折格子やメタサーフェスは、導光基板150の表面の、光線の全反射の反射点の位置の近傍に設置する。
迷光防止構造160が、導光装置の使用者の視野に入らないようにするためには、迷光防止構造のy軸方向の座標と光射出部130のy軸方向の座標との差ができるだけ大きいのが好ましい。したがって、迷光防止構造の位置は光入射部110にできるだけ近いのが好ましい。しかし、迷光防止構造と光入射部110との距離が近すぎると、たとえば、射出成形で製造する場合のウェルドの発生や成形後に貫通孔を設ける場合の歪の発生など製造上の問題が生じうる。ウェルドや歪などは導光装置の光学的な性能に大きな影響を与える。そこで、上記の製造上の問題が生じない程度に迷光防止構造と光入射部110との距離を大きくするのが好ましい。
迷光防止構造以外の導光装置の実施形態
迷光防止構造以外の導光装置の実施形態は以下のとおりである。
迷光防止構造以外の導光装置の実施形態は以下のとおりである。
本発明の導光装置は、内部反射によって光を伝搬する導光基板と、それぞれ該導光基板上に備わる1次元回折格子である第1の部分と第2の部分とを備えた光入射部であって、該第1の部分は受け取った光を第1の光ビームとして該導光基板内の第1の経路に沿って伝搬させるように構成され、該第2の部分は受け取った光を第2の光ビームとして該導光基板内の第2の経路に沿って伝搬させるように構成された光入射部と、該導光基板上に備わる1次元回折格子であって、該第1の光ビームの該第1の経路の方向を変えるように構成された第1の折り返し部と、該導光基板上に備わる1次元回折格子であって、該第2の光ビームの該第2の経路の方向を変えるように構成された第2の折り返し部と、該導光基板上に備わる2次元回折格子であって、該第1の折り返し部からの該第1のビーム及び該第2の折り返し部からの該第2のビームを受け取り、該第1及び第2のビームを結合して該導光基板の外部に射出するように構成された光射出部と、を備える。本発明の導光装置は、該導光基板の面において、該第1の部分を包含する最小の円の中心は該第2の部分を包含する最小の円の中心よりも該光射出部から離れており、該第1の経路が該第2の部分が備わる該導光基板の領域を通過するように構成されている。
本発明の導光装置は、該導光基板の面において、第1の部分を包含する最小の円の中心は第2の部分を包含する最小の円の中心よりも光射出部から離れており、第1の経路が第2の部分が備わる導光基板の領域を通過するように構成されるので、第1及び第2の部分の一方から光射出部へ向かう光線の経路が、他方が備わる導光基板の領域を通過しないように構成される従来の導光装置と比較して、光入射部において光を受け取る際の回折効率を向上させることができる。また、第1の部分から光射出部へ向かう光線の経路が、第2の部分が備わる導光基板の領域を通過するように構成されるので、第1及び第2の部分の一方から光射出部へ向かう光線の経路が、他方が備わる導光基板の領域を通過しないように構成される従来の導光装置と比較して、光入射部の第1の部分1及び第2の部分への分割の仕方の自由度がはるかに大きい。したがって、光入射部の第1の部分1及び第2の部分への分割の仕方を変えることによって光源からの光の利用効率を向上させることができる。
本発明の実施形態の導光装置は、該導光基板の面において、該光入射部を包含する最小の円の中心を通り、該第1の部分の回折格子の溝の方向の直線を基準として、該光射出部から離れた側の該光入射部の領域において該第2の部分が占める面積が2%以上であるように構成されている。
本実施形態においては、導光基板の面において、入射部を包含する最小の円の中心を通り、第1の部分の回折格子の溝の方向の直線を基準として、光射出部から離れた側の光入射部の領域において第2の部分が占める面積を2%以上とすることによって、入射部を包含する最小の円の中心を通り、第1の部分の回折格子の溝の方向の直線を第1の部分と第2の部分との境界線とする場合と比較して光源からの光の利用効率を向上させることができる。
本発明の他の実施形態の導光装置は、該導光基板の面において、該光入射部を包含する最小の円の中心を通り、該第1の部分の回折格子の溝の方向の直線を基準として、該光射出部により近い側の該光入射部の領域において該第1の部分が占める面積が10%以上であるように構成されている。
本実施形態においては、導光基板の面において、光入射部を包含する最小の円の中心を通り、第1の部分の回折格子の溝の方向の直線を基準として、光射出部により近い側の光入射部の領域において第1の部分が占める面積を10%以上とすることによって、入射部を包含する最小の円の中心を通り、第1の部分の回折格子の溝の方向の直線を第1の部分と第2の部分との境界線とする場合と比較して光源からの光の利用効率を向上させることができる。
本発明の他の実施形態の導光装置は、該導光基板の面において、該光入射部における該第1の部分と該第2の部分との境界線は、該第1の部分の回折格子の溝の方向に平行な直線であって、該境界線と二以上の点で交わる直線が存在するように構成されている。
本発明の他の実施形態の導光装置は、該導光基板の面において、該光入射部における該第1の部分と該第2の部分との境界線の方向が単一ではなく、該境界線の線分または接線の基準方向に対する角度の差の最大値が75度以上であるように構成されている。
本実施形態においては、導光基板の面において、光入射部における第1の部分と第2の部分との境界線の線分または境界線の接線の基準方向に対する角度の差の絶対値が75度以上であるように構成することによって、入射部を包含する最小の円の中心を通る直線を第1の部分と第2の部分との境界線とする場合と比較して光源からの光の利用効率を向上させることができる。
本発明の他の実施形態の導光装置は、該導光基板の面において、該第1の部分及び該第2の部分の少なくとも一方は他方によって互いに分離された少なくとも二つの部分を有する。
本実施形態においては、導光基板の面において、第1の部分及び第2の部分の少なくとも一方は他方によって互いに分離された少なくとも二つの部分を有することによって、入射部を包含する最小の円の中心を通る直線を第1の部分と第2の部分との境界線とする場合と比較して光源からの光の利用効率を向上させることができる。
本発明の他の実施形態の導光装置は、該装置の使用時に想定される水平方向及び鉛直方向にそれぞれx軸及びy軸を定め、該第1の部分の該1次回折格子の溝の方向のy軸からの傾きが5度以内であり、該第2の部分の該1次元回折格子の溝の方向のx軸からの傾きが15度以内であるように構成されている。
本発明の他の実施形態の導光装置は、該第1の部分の該1次元回折格子の周期は該第2の部分の該1次元回折格子の周期以下であるように構成されている。
本発明の他の実施形態の導光装置は、該導光基板の面において、該光入射部を包含する最小の円の中心を通り、該装置の使用時に想定される鉛直方向の直線を基準として、該光射出部から離れた側の該光入射部の領域において該第2の部分が占める面積が2%以上であるように構成されている。
本実施形態においては、導光基板の面において、入射部を包含する最小の円の中心を通り、該装置の使用時に想定される鉛直方向の直線を基準として、光射出部から離れた側の光入射部の領域において第2の部分が占める面積を2%以上とすることによって、入射部を包含する最小の円の中心を通る直線を第1の部分と第2の部分との境界線とする場合と比較して光源からの光の利用効率を向上させることができる。
本発明の他の実施形態の導光装置は、該導光基板の面において、該光入射部を包含する最小の円の中心を通り、該装置の使用時に想定される鉛直方向の直線を基準として、該光射出部により近い側の該光入射部の領域において該第1の部分が占める面積が10%以上であるように構成されている。
本実施形態においては、導光基板の面において、光入射部を包含する最小の円の中心を通り、該装置の使用時に想定される鉛直方向の直線を基準として、光射出部により近い側の光入射部の領域において第1の部分が占める面積を10%以上とすることによって、入射部を包含する最小の円の中心を通る直線を第1の部分と第2の部分との境界線とする場合と比較して光源からの光の利用効率を向上させることができる。
Claims (4)
- 内部反射によって光を伝搬する導光基板と、
それぞれ該導光基板上に備わる1次元回折格子である第1の部分と第2の部分とを備えた光入射部であって、該第1の部分は受け取った光を第1の光ビームとして該導光基板内の第1の経路に沿って伝搬させるように構成され、該第2の部分は受け取った光を第2の光ビームとして該導光基板内の第2の経路に沿って伝搬させるように構成された光入射部と、
該導光基板上に備わる1次元回折格子であって、該第1の光ビームの該第1の経路の方向を変えるように構成された第1の折り返し部と、
該導光基板上に備わる1次元回折格子であって、該第2の光ビームの該第2の経路の方向を変えるように構成された第2の折り返し部と、
該導光基板上に備わる2次元回折格子であって、該第1の折り返し部からの該第1のビーム及び該第2の折り返し部からの該第2のビームを受け取り、該第1及び第2のビームを結合して該導光基板の外部に射出するように構成された光射出部と、を備え、
該導光基板の面において、該第1の部分を包含する最小の円の中心は該第2の部分を包含する最小の円の中心よりも該光射出部から離れており、該第1の経路が該第2の部分が備わる該導光基板の領域を通過するように構成され、
該第1の部分に入射した後、該第1の部分及び該第2の部分の両方の1次回折光として伝搬し該光射出部に到達し得る光線の経路の範囲内であって、該第1の経路及び該第2の経路外の領域に迷光防止構造を備えた導光装置。 - 内部反射によって光を伝搬する導光基板と、
それぞれ該導光基板上に備わる1次元回折格子である第1の部分と第2の部分とを備えた光入射部であって、該第1の部分は受け取った光を第1の光ビームとして該導光基板内の第1の経路に沿って伝搬させるように構成され、該第2の部分は受け取った光を第2の光ビームとして該導光基板内の第2の経路に沿って伝搬させるように構成された光入射部と、
該導光基板上に備わる1次元回折格子であって、該第1の光ビームの該第1の経路の方向を変えるように構成された第1の折り返し部と、
該導光基板上に備わる1次元回折格子であって、該第2の光ビームの該第2の経路の方向を変えるように構成された第2の折り返し部と、
該導光基板上に備わる2次元回折格子であって、該第1の折り返し部からの該第1のビーム及び該第2の折り返し部からの該第2のビームを受け取り、該第1及び第2のビームを結合して該導光基板の外部に射出するように構成された光射出部と、を備え、
該導光基板の面において、該第1の部分を包含する最小の円の中心は該第2の部分を包含する最小の円の中心よりも該光射出部から離れており、該第1の経路が該第2の部分が備わる該導光基板の領域を通過するように構成された導光装置の製造方法であって、
該第1の部分及び該第2の部分の両方の1次回折光として該導光基板内を伝搬し得る入射光線の角度及び位置を求めるステップと、
該第1の部分及び該第2の部分の両方の1次回折光として該導光基板内を伝搬し得る入射光の光線うち、該光射出部に到達して迷光となりうる光線の経路の範囲を定めるステップと、
該迷光となりうる光線の経路の範囲内で該第1の経路及び該第2の経路外の領域に迷光防止構造を設置するステップと、を含む導光装置の製造方法。 - 該迷光防止構造を設置するステップにおいて、該迷光となりうる光線の経路の範囲内の光線の強度を求め、強度が所定値よりも大きい光線の経路に迷光防止構造を設置する請求項2に記載の導光装置の製造方法。
- 該迷光防止構造を設置するステップにおいて、該迷光となりうる光線の経路の範囲内の光線の全反射の反射点の位置を求め、該全反射点の位置の近傍に迷光防止構造を設置する請求項2に記載の導光装置の製造方法。
Priority Applications (2)
| Application Number | Priority Date | Filing Date | Title |
|---|---|---|---|
| JP2024576039A JPWO2024166350A1 (ja) | 2023-02-10 | 2023-02-10 | |
| PCT/JP2023/004532 WO2024166350A1 (ja) | 2023-02-10 | 2023-02-10 | 導光装置及びその製造方法 |
Applications Claiming Priority (1)
| Application Number | Priority Date | Filing Date | Title |
|---|---|---|---|
| PCT/JP2023/004532 WO2024166350A1 (ja) | 2023-02-10 | 2023-02-10 | 導光装置及びその製造方法 |
Publications (1)
| Publication Number | Publication Date |
|---|---|
| WO2024166350A1 true WO2024166350A1 (ja) | 2024-08-15 |
Family
ID=92262246
Family Applications (1)
| Application Number | Title | Priority Date | Filing Date |
|---|---|---|---|
| PCT/JP2023/004532 Ceased WO2024166350A1 (ja) | 2023-02-10 | 2023-02-10 | 導光装置及びその製造方法 |
Country Status (2)
| Country | Link |
|---|---|
| JP (1) | JPWO2024166350A1 (ja) |
| WO (1) | WO2024166350A1 (ja) |
Citations (3)
| Publication number | Priority date | Publication date | Assignee | Title |
|---|---|---|---|---|
| US20200225498A1 (en) * | 2019-01-11 | 2020-07-16 | North Inc. | Single RGB Combiner with Large Field of View |
| WO2020226078A1 (ja) * | 2019-05-09 | 2020-11-12 | 富士フイルム株式会社 | 導光素子および画像表示装置 |
| JP2020536269A (ja) * | 2017-09-28 | 2020-12-10 | マジック リープ, インコーポレイテッドMagic Leap,Inc. | 光学結像システムの接眼レンズからの迷光放出を低減させる方法および装置 |
-
2023
- 2023-02-10 WO PCT/JP2023/004532 patent/WO2024166350A1/ja not_active Ceased
- 2023-02-10 JP JP2024576039A patent/JPWO2024166350A1/ja active Pending
Patent Citations (3)
| Publication number | Priority date | Publication date | Assignee | Title |
|---|---|---|---|---|
| JP2020536269A (ja) * | 2017-09-28 | 2020-12-10 | マジック リープ, インコーポレイテッドMagic Leap,Inc. | 光学結像システムの接眼レンズからの迷光放出を低減させる方法および装置 |
| US20200225498A1 (en) * | 2019-01-11 | 2020-07-16 | North Inc. | Single RGB Combiner with Large Field of View |
| WO2020226078A1 (ja) * | 2019-05-09 | 2020-11-12 | 富士フイルム株式会社 | 導光素子および画像表示装置 |
Also Published As
| Publication number | Publication date |
|---|---|
| JPWO2024166350A1 (ja) | 2024-08-15 |
Similar Documents
| Publication | Publication Date | Title |
|---|---|---|
| CN113777707B (zh) | 光学结构和光学装置 | |
| KR102857528B1 (ko) | 신규 격자 배열체 | |
| CN112088328B (zh) | 利用全息布拉格光栅的2d光瞳扩展器 | |
| JP2021512357A (ja) | 格子ミラーを有する回折ディスプレイ要素 | |
| CN118671976A (zh) | 用于显示器的光学系统 | |
| EP3959552A1 (en) | Display for augmented reality | |
| JP2012533125A (ja) | 物体の位置を符号化する装置、システム、および方法 | |
| CN114280790A (zh) | 一种衍射光波导器件及近眼显示设备 | |
| CN113325505A (zh) | 一种光波导镜片及三维显示装置 | |
| CN116171401A (zh) | 具有复合衍射光学元件的图像光导和由其制成的头戴式显示器 | |
| CN115509006B (zh) | 光学设备及电子设备 | |
| CN113568168A (zh) | 镜片单元和包括镜片单元的ar设备 | |
| CN107111151B (zh) | 光学设备、光学系统及检票机 | |
| CN116755253A (zh) | 一种光波导、显示组件及ar设备 | |
| WO2024166350A1 (ja) | 導光装置及びその製造方法 | |
| WO2019159622A1 (ja) | 導光板、車両用灯具 | |
| JP7309251B1 (ja) | 導光装置 | |
| US20240027762A1 (en) | Light guide plate and display device | |
| JP2020112614A (ja) | 射出瞳拡張素子、導波部材 | |
| CN121002407A (zh) | 显示结构 | |
| CN114063299B (zh) | 虚像显示装置 | |
| JP7531980B2 (ja) | 導光板、および、表示装置 | |
| WO2024087733A1 (zh) | 一种导光器件及可穿戴设备 | |
| CN117826311A (zh) | 导光器件以及头戴显示设备 | |
| WO2023162506A1 (ja) | 導光板及び画像表示装置 |
Legal Events
| Date | Code | Title | Description |
|---|---|---|---|
| 121 | Ep: the epo has been informed by wipo that ep was designated in this application |
Ref document number: 23921179 Country of ref document: EP Kind code of ref document: A1 |
|
| WWE | Wipo information: entry into national phase |
Ref document number: 2024576039 Country of ref document: JP |
|
| NENP | Non-entry into the national phase |
Ref country code: DE |







