WO2023089890A1 - 電機子及び回転電機 - Google Patents

電機子及び回転電機 Download PDF

Info

Publication number
WO2023089890A1
WO2023089890A1 PCT/JP2022/031450 JP2022031450W WO2023089890A1 WO 2023089890 A1 WO2023089890 A1 WO 2023089890A1 JP 2022031450 W JP2022031450 W JP 2022031450W WO 2023089890 A1 WO2023089890 A1 WO 2023089890A1
Authority
WO
WIPO (PCT)
Prior art keywords
coil
core
engaging
support member
armature
Prior art date
Legal status (The legal status is an assumption and is not a legal conclusion. Google has not performed a legal analysis and makes no representation as to the accuracy of the status listed.)
Ceased
Application number
PCT/JP2022/031450
Other languages
English (en)
French (fr)
Japanese (ja)
Inventor
敏夫 山本
祐史 林
Current Assignee (The listed assignees may be inaccurate. Google has not performed a legal analysis and makes no representation or warranty as to the accuracy of the list.)
Denso Corp
Original Assignee
Denso Corp
Priority date (The priority date is an assumption and is not a legal conclusion. Google has not performed a legal analysis and makes no representation as to the accuracy of the date listed.)
Filing date
Publication date
Application filed by Denso Corp filed Critical Denso Corp
Priority to DE112022005542.1T priority Critical patent/DE112022005542T5/de
Priority to CN202280075797.4A priority patent/CN118235314A/zh
Publication of WO2023089890A1 publication Critical patent/WO2023089890A1/ja
Priority to US18/666,400 priority patent/US20240305154A1/en
Anticipated expiration legal-status Critical
Ceased legal-status Critical Current

Links

Images

Classifications

    • HELECTRICITY
    • H02GENERATION; CONVERSION OR DISTRIBUTION OF ELECTRIC POWER
    • H02KDYNAMO-ELECTRIC MACHINES
    • H02K3/00Details of windings
    • H02K3/04Windings characterised by the conductor shape, form or construction, e.g. with bar conductors
    • H02K3/26Windings characterised by the conductor shape, form or construction, e.g. with bar conductors consisting of printed conductors
    • HELECTRICITY
    • H02GENERATION; CONVERSION OR DISTRIBUTION OF ELECTRIC POWER
    • H02KDYNAMO-ELECTRIC MACHINES
    • H02K1/00Details of the magnetic circuit
    • H02K1/06Details of the magnetic circuit characterised by the shape, form or construction
    • H02K1/12Stationary parts of the magnetic circuit
    • HELECTRICITY
    • H02GENERATION; CONVERSION OR DISTRIBUTION OF ELECTRIC POWER
    • H02KDYNAMO-ELECTRIC MACHINES
    • H02K15/00Processes or apparatus specially adapted for manufacturing, assembling, maintaining or repairing of dynamo-electric machines
    • H02K15/02Processes or apparatus specially adapted for manufacturing, assembling, maintaining or repairing of dynamo-electric machines of stator or rotor bodies
    • HELECTRICITY
    • H02GENERATION; CONVERSION OR DISTRIBUTION OF ELECTRIC POWER
    • H02KDYNAMO-ELECTRIC MACHINES
    • H02K15/00Processes or apparatus specially adapted for manufacturing, assembling, maintaining or repairing of dynamo-electric machines
    • H02K15/06Embedding prefabricated windings in the machines
    • HELECTRICITY
    • H02GENERATION; CONVERSION OR DISTRIBUTION OF ELECTRIC POWER
    • H02KDYNAMO-ELECTRIC MACHINES
    • H02K23/00DC commutator motors or generators having mechanical commutator; Universal AC/DC commutator motors
    • H02K23/26DC commutator motors or generators having mechanical commutator; Universal AC/DC commutator motors characterised by the armature windings

Definitions

  • the present disclosure relates to armatures and rotating electric machines.
  • Patent Document 1 discloses a cylindrical coil in which a coil pattern is formed on a cylindrical substrate by forming a coil pattern groove on the outer surface of a cylindrical substrate and filling the coil pattern groove with a conductor. It is With this cylindrical coil, it is possible to improve the roundness and deflection accuracy of the coil. In addition, in a rotating electric machine configured to include this cylindrical coil, it is possible to reduce the magnetic gap, and it is possible to improve the output and efficiency of the rotating electric machine.
  • the coil body can be supported by the armature core. It is important to ensure the positional accuracy of the coil body with respect to the armature core.
  • An object of the present disclosure is to obtain an armature and a rotating electric machine capable of supporting a coil body on an armature core and ensuring positional accuracy of the coil body with respect to the armature core.
  • the armature includes an armature core formed in a cylindrical shape using a soft magnetic material, and an armature core formed in a belt shape using an insulating material and annular along the circumferential direction.
  • an engaging member having a second engaging portion positioned with respect to the armature core.
  • a rotating electric machine is configured including this armature.
  • the coil body can be supported by the armature core, and the positional accuracy of the coil body with respect to the armature core can be ensured.
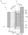
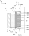
  • FIG. 1 is a cross-sectional view showing a cross section cut along the axial direction of the motor of the first embodiment
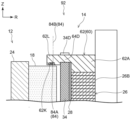
  • FIG. 2 is a cross-sectional view showing a cross section cut along the radial direction of the motor of the first embodiment
  • FIG. 3 is a perspective view schematically showing a coil body
  • FIG. 4 is a perspective view schematically showing a band member in a wound state
  • FIG. 5 is a diagram for explaining star connection
  • FIG. 6 is a diagram showing connection of a plurality of coils
  • FIG. 7 is a diagram schematically showing a coil
  • FIG. 1 is a cross-sectional view showing a cross section cut along the axial direction of the motor of the first embodiment
  • FIG. 2 is a cross-sectional view showing a cross section cut along the radial direction of the motor of the first embodiment
  • FIG. 3 is a perspective view schematically showing a coil body
  • FIG. 4 is a perspective view schematically showing a band member in a wound state
  • FIG. 5
  • FIG. 8 is a schematic diagram in which some of the coils that make up the U phase and some of the other coils are offset in the axial direction;
  • FIG. 9 is a diagram showing the unfolded coil body
  • FIG. 10 is a cross-sectional view showing part of the coil body
  • FIG. 11 is a cross-sectional view showing part of the coil body
  • FIG. 12 is a cross-sectional view showing part of the coil body
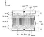
  • FIG. 13 is a cross-sectional view showing a cross section of the coil body cut along the radial direction
  • FIG. 14 is a cross-sectional view showing a vertical part laminate
  • FIG. 15 is a cross-sectional view showing the vertical part laminate
  • FIG. 16 is a cross-sectional view showing the vertical part laminate
  • FIG. 17 is an exploded perspective view showing a coil body and a coil body support member;
  • FIG. 18 is an enlarged perspective view showing an enlarged part of the coil body supporting member;
  • FIG. 19 is a view of the engaging portion between the coil body and the supporting member-side convex portion viewed from the radially inner side;
  • 20 is a cross-sectional view of the motor cut along the radial direction and the axial direction, and shows a cross-section cut along the line BB shown in FIG. 19,
  • FIG. 21 is an exploded perspective view showing a coil body and a coil body support member of the motor of the second embodiment;
  • FIG. 22 is a cross-sectional view corresponding to FIG. 20 in which the motor of the second embodiment is cut along the radial direction and the axial direction;
  • FIG. 23 is an exploded perspective view showing a coil body and a coil body support member of the motor of the third embodiment
  • FIG. 24 is a view of the engaging portion between the coil body and the support member-side recessed portion of the motor of the third embodiment, viewed from the inside in the radial direction
  • FIG. 25 is a cross-sectional view of the motor of the third embodiment cut along the radial direction and the axial direction, showing a cross section cut along the line BB shown in FIG.
  • FIG. 26 is a cross-sectional view schematically showing the insulator of the motor of the fourth embodiment
  • FIG. 27 is an enlarged perspective view of the stator core and coil body support member of the motor of the fifth embodiment;
  • FIG. 28 is an exploded perspective view showing an exploded coil body support member of the motor of the sixth embodiment
  • FIG. 29 is a cross-sectional view corresponding to FIG. 20 in which the motor of the sixth embodiment is cut along the radial direction and the axial direction
  • FIG. 30 is an exploded perspective view showing an exploded coil body support member of the motor of the seventh embodiment
  • FIG. 31 is a cross-sectional view corresponding to FIG. 20 in which the motor of the seventh embodiment is cut along the radial direction and the axial direction
  • FIG. 32 is a diagram schematically showing the manufacturing process of the stator core of the motor of the eighth embodiment
  • FIG. 33 is a diagram schematically showing the manufacturing process of the stator core of the motor of the eighth embodiment
  • FIG. 34 is an enlarged view of the coil body support member of the motor of the eighth embodiment
  • FIG. 35 is an enlarged view of an engaging portion between the coil body support member and the stator core of the motor of the eighth embodiment
  • FIG. 36 is an enlarged view of the coil body support member of the motor of the ninth embodiment
  • FIG. 37 is an enlarged view of an engaging portion between the coil body support member and the stator core of the motor of the ninth embodiment
  • FIG. 38 is a perspective view showing the coil body, stator core, and coil body support member of the motor of the tenth embodiment
  • FIG. 39 is a cross-sectional view corresponding to FIG. 20 in which the motor of the tenth embodiment is cut along the radial direction and the axial direction;
  • FIG. 40 is a perspective view showing the coil body, stator core, and coil body support member of the motor of the eleventh embodiment
  • FIG. 41 is a cross-sectional view corresponding to FIG. 20 in which the motor of the eleventh embodiment is cut along the radial direction and the axial direction
  • FIG. 42 is a view of the stator of the motor of the twelfth embodiment viewed from the inside in the radial direction
  • FIG. 43 is a cross-sectional view of the motor of the thirteenth embodiment cut along the radial direction and the axial direction
  • 44 is a cross-sectional view of the motor of the fourteenth embodiment cut along the radial direction and the axial direction
  • FIG. 45 is a cross-sectional view of the motor of the fifteenth embodiment cut along the radial direction and the axial direction;
  • FIG. 46 is a diagram schematically showing a coil body before being wound;
  • FIG. 47 is a diagram for explaining the pitch of the coil-body-side concave portions on each circumference;
  • FIG. 48 is a perspective view schematically showing a coil body,
  • FIG. 49 is a diagram schematically showing the initial state of the process of winding the coil body;
  • FIG. 50 is a diagram schematically showing the latter stage of the process of winding the coil body,
  • FIG. 51 is a diagram schematically showing the process of removing the coil body from the jig;
  • FIG. 52 is an enlarged perspective view showing another form of pin, FIG.
  • FIG. 53 is a perspective view showing another form of jig
  • FIG. 54 is a diagram showing the coil body of the motor of the sixteenth embodiment
  • FIG. 55 is a diagram schematically showing a process in which each band member is superimposed
  • FIG. 56 is a cross-sectional view corresponding to FIG. 20 in which the motor of the seventeenth embodiment is cut along the radial direction and the axial direction
  • FIG. 57 is a cross-sectional view corresponding to FIG. 20 in which the motor of the eighteenth embodiment is cut along the radial direction and the axial direction.
  • FIG. 10 A motor 10 according to a first embodiment of the present disclosure will be described with reference to FIGS. 1 to 20.
  • FIG. The arrow Z direction, arrow R direction, and arrow C direction appropriately shown in the drawings indicate one side in the rotation axis direction, the outer side in the rotation radial direction, and the one side in the rotation circumferential direction of the rotor 12, which will be described later. Further, hereinafter, when simply indicating the axial direction, the radial direction, and the circumferential direction, it indicates the rotating shaft direction, the rotating radial direction, and the rotating circumferential direction of the rotor 12 unless otherwise specified. Also, the motor 10 of the present embodiment and motors of embodiments described later are examples of a rotating electric machine.
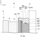
  • the motor 10 of this embodiment is an inner rotor type brushless motor in which a rotor 12 as a rotor is arranged radially inside a stator 14 as an armature and a stator.
  • . 1 and 2 are diagrams of the motor 10 and the like shown as an example. There is
  • the rotor 12 includes a rotating shaft 22 rotatably supported via a pair of bearings 20, a rotor core 24 formed in a free-bottom cylindrical shape and fixed to the rotating shaft 22, and a radially outer surface of the rotor core 24. and a plurality of magnets 18 fixed to.
  • the rotor core 24 includes a first cylindrical portion 24A to which the rotating shaft 22 is fixed by press fitting or the like, which is formed in a cylindrical shape, and a first cylindrical portion 24A, which is arranged radially outside the first cylindrical portion 24A and is formed in a cylindrical shape.
  • the second cylindrical portion 24B, the end portion of the first cylindrical portion 24A on one side in the axial direction, and the second cylindrical portion 2 A disk-shaped connection plate portion 24C that radially connects the end portion on one side in the axial direction of 4B.
  • the outer peripheral surface, which is the radially outer surface of the second cylindrical portion 24B, is formed in a cylindrical shape along the circumferential direction.
  • a magnet 18, which will be described later, is fixed to the outer peripheral surface of the second cylindrical portion 24B.
  • the plurality of magnets 18 are formed using a magnetic compound having an intrinsic coercive force Hc of 400 [kA/m] or more and a residual magnetic flux density Br of 1.0 [T] or more.
  • the magnet 18 of this embodiment is formed using a magnetic compound such as NdFe 11 TiN, Nd 2 Fe 14 B, Sm 2 Fe 17 N 3 , FeNi.
  • a plurality of magnets 18 are fixed to the outer peripheral surface of the second cylindrical portion 24B of the rotor core 24 .
  • the magnets 18 having N poles on the radially outer surfaces and the magnets 18 having S poles on the radially outer surfaces are alternately arranged in the circumferential direction.
  • the number of magnets 18 may be appropriately set in consideration of the output required of the motor 10 and the like.
  • the stator 14 includes a stator core 26 as an armature core formed in an annular shape, an insulator 28 attached to the stator core 26 by adhesion, fitting, or the like, a coil body 32 attached to the stator core 26 via the insulator 28, It has The stator 14 also includes a coil body support member 60 as an engaging member which will be described in detail later. As shown in FIGS. 1 to 3, the stator 14 of this embodiment has a toothless structure in which a portion of the stator core 26 is not arranged inside the coil 16 forming a portion of the coil body 32 .
  • the stator core 26 is annularly formed using a soft magnetic material such as steel.
  • the stator core 26 is arranged coaxially with the rotor 12, and the axial center position of the stator core 26 and the axial center positions of the plurality of magnets 18 fixed to the rotor core 24 are aligned in the axial direction. .
  • the insulator 28 is formed using resin, which is an insulating material, as an example.
  • the insulator 28 covers the radial inner surface of the stator core 26 when the insulator 28 is attached to the stator core 26 . 2, illustration of the insulator 28 is omitted.
  • the coil body 32 of the present embodiment includes a belt member 34 formed in a belt shape using an insulating material, and a plurality of coils 16 formed on the belt member 34. consists of
  • the belt member 34 is formed in a rectangular shape with the axial direction being the short side direction and the longitudinal direction being perpendicular to the axial direction.
  • the thickness of the strip member 34 is set to a thickness that allows the strip member 34 to be curved in the circumferential direction.
  • the band member 34 is cylindrical in a state in which the band member 34 is wound a plurality of times along the circumferential direction.
  • most of the belt member 34 has four layers in the radial direction.
  • a plurality of coils 16 are formed on a belt member 34. As shown in FIGS. 3 and 4, by winding the belt member 34 a plurality of times along the circumferential direction, the plurality of coils 16 are arranged at predetermined positions in the circumferential and radial directions. ing.
  • the plurality of coils 16 forming the U phase (U-phase coil group 42U) and the plurality of coils 16 forming the V-phase (V-phase coil group 42U) 42V) and a plurality of coils 16 constituting the W-phase (W-phase coil group 42W) are connected in a star connection.
  • 24 coils 16 forming a U-phase coil group 42U, 24 coils 16 forming a V-phase coil group 42V, and a W-phase coil group 24 coils 16 forming 42W are connected in a star connection.
  • U11, U12, U13, U21, U22, U23, U31, U32, U33, U41, U42, U43, U51, U52, U53, and U61 are arranged in the 24 coils 16 forming the U-phase coil group 42U.
  • the 24 coils 16 forming the V-phase coil group 42V include V11, V12, V13, V21, V22, V23, V31, V32, V33, V41, V42, V43, V51, V52, V53, V61, They are numbered V62, V63, V71, V72, V73, V81, V82 and V83, respectively.
  • the 24 coils 16 forming the W-phase coil group 42W include W11, W12, W13, W21, W22, W23, W31, W32, W33, W41, W42, W43, W51, W52, W53, W61, They are numbered W62, W63, W71, W72, W73, W81, W82 and W83, respectively.
  • a specific coil 16 may be indicated only by the coil number.
  • U11, U12, and U13 are connected in series.
  • U21, U22, and U23 are connected in series.
  • U31, U32, and U33 are connected in series.
  • U41, U42, and U43 are connected in series.
  • U51, U52, and U53 are connected in series.
  • U61, U62, and U63 are connected in series.
  • U71, U72, and U73 are connected in series.
  • U81, U82, and U83 are connected in series.
  • V11, V12, and V13 are connected in series.
  • V21, V22, and V23 are connected in series.
  • V31, V32, and V33 are connected in series.
  • V41, V42, and V43 are connected in series.
  • V51, V52, and V53 are connected in series.
  • V61, V62, and V63 are connected in series.
  • V71, V72, and V73 are connected in series.
  • V81, V82, and V83 are connected in series.
  • W11, W12, and W13 are connected in series.
  • W21, W22, and W23 are connected in series.
  • W31, W32, and W33 are connected in series.
  • W41, W42, and W43 are connected in series.
  • W51, W52, and W53 are connected in series.
  • W61, W62, and W63 are connected in series.
  • W71, W72, and W73 are connected in series.
  • W81, W82, and W83 are connected in series.
  • FIG. 7 schematically shows a plurality of U-phase coils 16 .
  • Each coil 16 is formed in a hexagonal shape when viewed from the thickness direction of the strip member 34 .
  • Each coil 16 has the same configuration as a 3-turn coil in which a conductive wire is wound 3 times.
  • the first turn portion of the coil U11 includes a first straight portion A1 which is inclined toward the other side in the circumferential direction toward the other side in the axial direction, and a first straight portion A1 which extends toward the other side in the axial direction from the first straight portion A1. It has two straight portions A2 and a third straight portion A3 that is inclined to one side in the circumferential direction from the second straight portion A2 toward the other side in the axial direction.
  • the first turn portion of the coil U11 includes a fourth straight portion A4 that is inclined toward the one side in the axial direction from the third straight portion A3, and a fourth straight portion A4 that is inclined toward the one side in the axial direction from the third straight portion A3.
  • the first straight portion A1, the second straight portion A2 and the third straight portion A3 are formed on one side surface 34A (see FIG. 10) of the belt member 34.
  • the fourth linear portion A4, the fifth linear portion A5, and the sixth linear portion A6 are formed on the other side surface 34B (see FIG. 10) of the belt member 34.
  • the third straight portion A3 and the fourth straight portion A4 are electrically connected via a through-hole (not shown) penetrating the belt member 34 or the like.
  • the portion of the coil U11 formed on one side surface 34A of the belt member 34 is indicated by a solid line.
  • a portion of the coil U11 formed on the other side surface 34B of the band member 34 is indicated by a dashed line.
  • the portions forming the second turn in the coil U11 are the first straight portion B1 which is inclined toward the other side in the circumferential direction from the sixth straight portion A6 of the first turn toward the other side in the axial direction, and the first straight portion B1. and a third straight portion B3 that inclines toward the one side in the circumferential direction from the second straight portion B2 toward the other side in the axial direction.
  • the second turn of the coil U11 is formed by a fourth straight portion B4 that is inclined toward the one side in the axial direction from the third straight portion B3, and a fourth straight portion B4 that is inclined toward the one side in the axial direction from the fourth straight portion B4.
  • It has a fifth straight portion B5 extending toward one side in the direction, and a sixth straight portion B6 inclined toward the other side in the circumferential direction from the fifth straight portion B5 toward the one side in the axial direction.
  • the sixth straight portion A6 and the first straight portion B1 are electrically connected via a through-hole (not shown) penetrating the band member 34 or the like.
  • the third straight portion B3 and the fourth straight portion B4 are electrically connected via a through hole (not shown) penetrating the belt member 34 or the like.
  • the portion forming the third turn in the coil U11 is the first straight portion C1 which is inclined toward the other side in the circumferential direction from the sixth straight portion B6 of the second turn toward the other side in the axial direction, and the first straight portion C1. a second straight portion C2 extending toward the other side in the axial direction, and a third straight portion C3 inclined toward the one side in the circumferential direction from the second straight portion C2 toward the other side in the axial direction.
  • the third turn portion of the coil U11 includes a fourth straight portion C4 that is inclined toward the one side in the axial direction from the third straight portion C3, and a fourth straight portion C4 that is inclined toward the one side in the axial direction.
  • It has a fifth straight portion C5 extending toward one side in the direction, and a sixth straight portion C6 inclined toward the other side in the circumferential direction from the fifth straight portion C5 toward the one side in the axial direction.
  • the sixth straight portion B6 and the first straight portion C1 are electrically connected via a through-hole (not shown) penetrating the belt member 34 or the like.
  • the third straight portion C3 and the fourth straight portion C4 are electrically connected via a not-shown through-hole or the like penetrating the band member 34 .
  • first straight portion B1 to sixth straight portion B6) forming the second turn in the coil U11 are the portions forming the first turn in the coil U11 (first straight portion A1 to sixth straight portion A6). are offset to one side in the circumferential direction.
  • portions (first straight portion C1 to sixth straight portion C6) forming the third turn in the coil U11 are the portions forming the second turn in the coil U11 (first straight portion B1 to sixth straight portion B6). are offset to one side in the circumferential direction.
  • other coils (U12 . . . U83) forming the U phase are also configured in the same manner as the coil U11. In other words, all the coils (U11...U83) forming the U phase have the same configuration.
  • the second linear portion A2 described above, B2, C2 and fifth straight portions A5, B5, C5 may be referred to as vertical portion 36.
  • the first straight portions A1, B1, C1 and the sixth straight portions A6, B6, C6 are called one coil end portion 38
  • the third straight portions A3, B3, C3 and the fourth straight portions A4, B4, C4 is sometimes called the other coil end portion 38 .
  • FIG. 8 shows a schematic diagram in which some of the coils U11, etc. and other parts of the coils U12, etc., which constitute the U phase are offset in the axial direction.
  • the fifth straight portion A5, the fifth straight portion B5 and the fifth straight portion C5 of the coil U11 correspond to the second straight portion A2, the second straight portion B2 and the second straight portion A2 of the coil U12. They are arranged at the same positions in the circumferential direction as the straight portions C2. That is, the fifth straight portion A5, the fifth straight portion B5 and the fifth straight portion C5 of the coil U11 are connected to the second straight portion A2, the second straight portion B2 and the second straight portion C2 of the coil U12 via the belt member 34. are overlapping.
  • the fifth straight portion A5, the fifth straight portion B5 and the fifth straight portion C5 of the coil U12 are the same in the circumferential direction as the second straight portion A2, the second straight portion B2 and the second straight portion C2 of the coil U13. placed in position. That is, the fifth straight portion A5, the fifth straight portion B5 and the fifth straight portion C5 of the coil U12 are connected to the second straight portion A2, the second straight portion B2 and the second straight portion C2 of the coil U13 via the belt member 34. are overlapping.
  • the fifth straight portion A5, the fifth straight portion B5 and the fifth straight portion C5 of the coil U13 are the same in the circumferential direction as the second straight portion A2, the second straight portion B2 and the second straight portion C2 of the coil U23. placed in position. That is, the fifth straight portion A5, the fifth straight portion B5 and the fifth straight portion C5 of the coil U13 are connected to the second straight portion A2, the second straight portion B2 and the second straight portion C2 of the coil U23 via the belt member 34. are overlapping.
  • the fifth straight portion A5, the fifth straight portion B5 and the fifth straight portion C5 of the coil U23 are the same in the circumferential direction as the second straight portion A2, the second straight portion B2 and the second straight portion C2 of the coil U22. placed in position. That is, the fifth straight portion A5, the fifth straight portion B5 and the fifth straight portion C5 of the coil U23 are connected to the second straight portion A2, the second straight portion B2 and the second straight portion C2 of the coil U22 via the belt member 34. are overlapping.
  • the fifth straight portion A5, the fifth straight portion B5 and the fifth straight portion C5 of the coil U22 are the same in the circumferential direction as the second straight portion A2, the second straight portion B2 and the second straight portion C2 of the coil U21. placed in position. That is, the fifth straight portion A5, the fifth straight portion B5 and the fifth straight portion C5 of the coil U22 are connected to the second straight portion A2, the second straight portion B2 and the second straight portion C2 of the coil U21 via the belt member 34. are overlapping.
  • the coils U11, U12, U13, U23, U22, and U21 described above are arranged in this order on the first round of the wound band member . That is, U11, U12, U13, U23, U22, and U21 are arranged in this order on the side of the wound band member 34 closest to the rotor 12. As shown in FIG.
  • the sixth straight portion C6 of the coil U11 and the sixth straight portion C6 of the coil U12 are connected. Also, the first straight portion A1 of the coil U12 and the first straight portion A1 of the coil U13 are connected. Also, the sixth straight portion C6 of the coil U23 and the sixth straight portion C6 of the coil U22 are connected. Also, the first straight portion A1 of the coil U22 and the first straight portion A1 of the coil U21 are connected.
  • the physical configuration of the coils U11, U12, U13, U23, U22, and U21 is coils wound in one direction (left-handed coils to be described later), Coils U11, U12, U13, U23, U22, U21 When energized, the coils U12, U23, U21 function in the same manner as the coils wound in the opposite direction to the coils U11, U13, U22 (right-handed coils).
  • the coils corresponding to the coils U11, U13, and U22 are called “left-handed coils”
  • the coils corresponding to the coils U12, U23, and U21 are called “right-handed coils” for convenience of explanation.
  • the coils U12, U23, and U21, which are right-handed coils are denoted by lines (bars).
  • left-handed coils and right-handed coils are arranged alternately along the circumferential direction.
  • the fifth straight portion A5, the fifth straight portion B5 and the fifth straight portion C5 of the coil U31 are the same in the circumferential direction as the second straight portion A2, the second straight portion B2 and the second straight portion C2 of the coil U32. placed in position. That is, the fifth straight portion A5, the fifth straight portion B5 and the fifth straight portion C5 of the coil U31 are connected to the second straight portion A2, the second straight portion B2 and the second straight portion C2 of the coil U32 via the belt member 34. are overlapping.
  • the fifth straight portion A5, the fifth straight portion B5 and the fifth straight portion C5 of the coil U32 are the same in the circumferential direction as the second straight portion A2, the second straight portion B2 and the second straight portion C2 of the coil U33. placed in position. That is, the fifth straight portion A5, the fifth straight portion B5 and the fifth straight portion C5 of the coil U32 are connected to the second straight portion A2, the second straight portion B2 and the second straight portion C2 of the coil U33 via the belt member 34. are overlapping.
  • the fifth straight portion A5, the fifth straight portion B5 and the fifth straight portion C5 of the coil U33 are the same in the circumferential direction as the second straight portion A2, the second straight portion B2 and the second straight portion C2 of the coil U43. placed in position. That is, the fifth straight portion A5, the fifth straight portion B5 and the fifth straight portion C5 of the coil U33 are connected to the second straight portion A2, the second straight portion B2 and the second straight portion C2 of the coil U43 via the belt member 34. are overlapping.
  • the fifth straight portion A5, the fifth straight portion B5 and the fifth straight portion C5 of the coil U43 are the same in the circumferential direction as the second straight portion A2, the second straight portion B2 and the second straight portion C2 of the coil U42. placed in position. That is, the fifth straight portion A5, the fifth straight portion B5 and the fifth straight portion C5 of the coil U43 are connected to the second straight portion A2, the second straight portion B2 and the second straight portion C2 of the coil U42 via the belt member 34. are overlapping.
  • the fifth straight portion A5, the fifth straight portion B5 and the fifth straight portion C5 of the coil U42 are the same in the circumferential direction as the second straight portion A2, the second straight portion B2 and the second straight portion C2 of the coil U41. placed in position. That is, the fifth straight portion A5, the fifth straight portion B5 and the fifth straight portion C5 of the coil U42 are connected to the second straight portion A2, the second straight portion B2 and the second straight portion C2 of the coil U41 via the belt member 34. are overlapping.
  • the coils U31, U32, U33, U43, U42, and U41 described above are arranged in this order on the second round of the wound band member . Further, the fifth straight portion A5, the fifth straight portion B5 and the fifth straight portion C5 of the coil U21 arranged on the first round are the second straight portion A2 and the second straight portion of the coil U31 arranged on the second round. It is arranged at the same position in the circumferential direction as the portion B2 and the second straight portion C2.
  • Coils U31, U32, U33, U43, U42, and U41 arranged on the second round of the strip member 34 are coils U11, U12, U13, U23, U22, and U21 arranged on the first round of the strip member 34. and are connected in the same relationship.
  • the coils U51 to U83 are also arranged on the band member 34 in the same relationship as the coils U11 to U43 described above. As a result, the coils U51, U52, U53, U6 3, U62, and U61 are arranged in this order on the third round of the wound strip member 34. As shown in FIG. In addition, the coils U71, U72, U73, U83, U72, and U81 are arranged in this order on the fourth turn of the wound belt member .
  • Coils U51, U52, U53, U63, U62, and U61 arranged on the third round of the strip member 34 are coils U11, U12, U13, U23, U22, and U21 arranged on the first round of the strip member 34. and are connected in the same relationship.
  • Coils U71, U72, U73, U83, U82, and U81 arranged on the fourth round of the strip member 34 are coils U11, U12, U13, U23, U22, and U21 arranged on the first round of the strip member 34. and are connected in the same relationship.
  • the coils V11 to V83 forming the V phase are also arranged on the belt member 34 in the same relationship as the coils U11 to U83 forming the U phase.
  • the coils W11 to W83 forming the W phase are also arranged on the belt member 34 in the same relationship as the coils U11 to U83 forming the U phase.
  • the coils V11 to V83 forming the V phase are connected so that their winding directions are opposite to those of the coils forming the U and W phases.
  • the coils V11 to V83 forming the V phase are arranged offset to one side in the circumferential direction with respect to the coils U11 to U83 forming the U phase. Further, the coils W11 to W83 forming the W phase are arranged offset to one side in the circumferential direction with respect to the coils V11 to V83 forming the V phase.
  • FIG. 10 shows part of the cross section of the belt member 34 and the plurality of coils 16 taken along line AA shown in FIG.
  • the cross section shown in FIG. 10 is a cross section at the end portion of the band member 34 on the other side in the circumferential direction.
  • U11T1, U11T2, U11T3, V11T3, V11T2, V11T1, W11T1, W11T2, and W11T3 are formed on one side surface 34A of the band member 34 in this order.
  • the symbols indicating the respective coils are suffixed with a symbol T1 indicating the first turn, a symbol T2 indicating the second turn, and a symbol T3 indicating the third turn.
  • U11T1 a portion indicating the first turn in the coil U11 is denoted by U11T1
  • U11T2 a portion indicating the second turn in the coil U11
  • U11T3 a portion indicating the third turn in the coil U11 is denoted.
  • the part is labeled U11T3.
  • FIG. 11 shows part of the cross section of the band member 34 and the plurality of coils 16 taken along line AA shown in FIG.
  • the cross section shown in FIG. 11 corresponds to the range indicated by arrow E in FIG.
  • the cross section shown in FIG. 11 is a cross section of a portion adjacent to the cross section shown in FIG. 10 in the circumferential direction.
  • U12T3, U12T2, U12T1, V12T1, V12T2, V12T3, W12T3, W12T2, and W12T1 are formed on one surface 34A side of the belt member 34 in this order.
  • U11T1, U11T2, U11T3, V11T3, V11T2, V11T1, W11T1, W11T2, and W11T3 are formed on the other side surface 34B of the band member 34 in this order.
  • U-phase coils U12, U13, U23 . . . U83, U82, U81
  • V-phase coils V12, V13, V23...V83, V82, V81
  • W-phase coils W12, W13, W23...W83, W82, W81
  • FIG. 12 shows part of a cross section of the band member 34 and the plurality of coils 16 taken along line AA shown in FIG. Note that the cross section shown in FIG. 12 is a cross section at one end of the band member 34 in the circumferential direction.
  • U81T1, U81T2, U81T3, V81T3, V81T2, V81T1, W81T1, W81T2, and W81T3 are formed on the other side surface 34B of the band member 34 in this order.
  • each coil 16 is connected via a connection pattern portion 40 provided on one side of the band member 34 in the axial direction.
  • a portion of the connection pattern portion 40 formed on one surface 34A of the band member 34 is indicated by a solid line.
  • a portion of the connection pattern portion 40 formed on the other side surface 34B of the band member 34 is indicated by a broken line.
  • a connection pattern portion 40 indicated by reference numeral 44 indicates a neutral point.
  • a connection pattern portion 40 indicated by reference numeral 43 indicates a connection portion connected to a control portion (not shown).
  • the connection between the coils 16 and the connection portions (40, 43, 44) connected to the control portion may be performed using bus bars, printed circuit boards, or the like, which are separate members.
  • FIG. 13 shows a part of a cross section obtained by cutting the coil body 32 around which the band member 34 is wound along the radial direction.
  • This cross section is the cross section of the portion corresponding to the vertical portion 36 (see FIG. 7) of each coil 16. As shown in FIG.
  • the vertical portions 36 of the plurality of coils 16 are radially stacked and arranged at regular intervals in the circumferential direction.
  • the first insulating layer 54A or the second insulating layer 54B is interposed between a pair of radially adjacent vertical portions 36.
  • the first insulating layer 54A is the strip member 34 .
  • the second insulating layer 54B is an insulating film formed to cover the coil 16 formed on the belt member 34, and is, for example, an insulating paint.
  • a vertical portion laminated body 56 what is formed by laminating the vertical portions 36 of the plurality of coils 16 in the radial direction.
  • the vertical laminate 56 has a rectangular cross section in which the dimension R1 in the radial direction is larger than the dimension S1 in the circumferential direction in a cross-sectional view cut along the radial direction. Further, in the present embodiment, the dimension S2 in the circumferential direction of the vertical portion 36 constituting the vertical portion laminate 56 is larger than the dimension R2 in the radial direction.
  • FIGS. 14, 15 and 16 a vertical laminate 56 whose radially inner end is U12T3, a vertical laminate 56 whose radially inner end is U12T2, Each vertical laminate 56 is shown with a U12T1 radially inner end.
  • U12T3, U11T1, U32T3, U31T1, U52T3, U51T1, U72T3, and U71T1 are arranged in order toward the radially outer side. are arranged side by side.
  • U12T2, U11T2, U32T2, U31T2, U52T2, U51T2, U72T2, and U71T2 are arranged in order toward the radially outer side. are arranged side by side.
  • U12T1, U11T3, U32T1, U31T3, U52T1, U51T3, U72T1, U71T3 are arranged in order toward the radially outer side. are arranged side by side.
  • the body 56 and the vertical laminate 56 having U12T1 at the radially inner end constitute a U-phase conductor group 46U arranged in this order in the circumferential direction.
  • the circumferential dimension S3 of the radially inner end of the U-phase conductor group 46U is larger than the radial dimension R1 of the vertical laminate 56 forming the U-phase conductor group 46U. set to large dimensions.
  • the vertical sections 36 of the plurality of other coils 16 also constitute the vertical section laminate 56 according to the same rules as above.
  • the V-phase conductor group 46V and the W-phase conductor group 46W are also configured according to the same rule as the U-phase conductor group 46U.
  • the U-phase conductor group 46U, the V-phase conductor group 46V, and the W-phase conductor group 46W are arranged in this order along the circumferential direction.
  • a U-phase coil group 42U, a V-phase coil group 42V, and a W-phase coil group 42U, which constitute a part of the stator 14 A rotating magnetic field is generated in the inner periphery of the stator 14 by switching the energization of the coil group 42W. This causes the rotor 12 to rotate.
  • the coil body 32 includes a belt member 34 formed in a belt shape using an insulating material, and a plurality of coils 16 formed on the belt member 34.
  • the band member 34 is By winding the band member 34 a plurality of times along the circumferential direction, the plurality of coils 16 are arranged at predetermined positions in the circumferential and radial directions.
  • the dimension S3 in the circumferential direction of the radially inner (on the magnet 18 side of the rotor 12) end of each phase conductor group 46U, 46V, 46W is The dimension is set to be larger than the dimension R1 in the radial direction of the vertical portion laminate 56 that constitutes the phase conductor groups 46U, 46V, and 46W.
  • the dimension R1 in the radial direction of the vertical laminate 56 is larger than the dimension S1 in the circumferential direction.
  • the dimension S2 in the circumferential direction of the vertical portion 36 constituting the vertical portion laminate 56 is larger than the dimension R2 in the radial direction.
  • the plurality of U-phase coils 16 are arranged side by side in the circumferential direction, and the physical winding direction of the plurality of U-phase coils 16 is one direction.
  • the plurality of U-phase coils 16 are energized, the U-phase coils 16 that are left-handed coils and the U-phase coils 16 that are right-handed coils are alternately arranged.
  • a plurality of U-phase coils 16 are connected.
  • the plurality of V-phase coils 16 and the plurality of W-phase coils 16 are similar to the plurality of U-phase coils 16 .
  • the potential difference between the vertical portions 36 laminated in the radial direction in the vertical portion laminated body 56 can be reduced. Specifically, even if the vertical portions 36 having different numbers of turns (T1 to T3) are arranged adjacent to each other in the radial direction, A potential difference can be reduced. As a result, the reliability of the insulation between the radially laminated vertical portions 36 can be improved, and the thicknesses of the first insulating layer 54A and the second insulating layer 54B can be reduced.
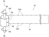
  • a coil body support member 60 is provided between the stator core 26 and the coil body 32. As shown in FIGS. The coil body 32 is supported by the stator core 26 via a coil body support member 60 .
  • the coil body support member 60 includes a first support member 62 attached to one end surface of the stator core 26 (see FIG. 20) in the axial direction, and a first support member 62 attached to the other end surface of the stator core 26 in the axial direction. and a second support member 64.
  • the first support member 62 is formed using resin, which is an insulating material.
  • the first support member 62 includes a support member main body 62A as an engaging member main body that is annularly formed when viewed from the axial direction. As shown in FIG. 20, the cross section obtained by cutting the support member main body 62A along the radial direction and the axial direction has a rectangular shape.
  • the radial thickness dimension of the support member main body 62A is set to be the same as the radial thickness dimension of the stator core 26 .
  • a radially inner surface of the support member main body 62A serves as a band member contact surface 62B that contacts one axial end of the band member 34 of the coil body 32 via an insulator 28 (not shown).
  • a surface of the support member main body 62A on the other side in the axial direction is a core contact surface 62C that contacts the end surface of the stator core 26 on the one side in the axial direction.
  • the support member main body 62A is fixed to the stator core 26 by means of concave-convex fitting, adhesion, or the like.
  • the first support member 62 includes a plurality of support member-side protrusions serving as second engaging portions that protrude radially inward from the radially inner surface of the support member main body 62A.
  • a portion 62D is provided.
  • six supporting member-side protrusions 62D are arranged at equal intervals in the circumferential direction.
  • the six supporting member-side convex portions 62D are formed in a rectangular parallelepiped shape.
  • the six supporting member-side protrusions 62D are arranged at positions offset to one side in the axial direction with respect to the axial center of the supporting member main body 62A.
  • the second support member 64 is made of resin, which is an insulating material, like the first support member 62. As shown in FIG. The configuration of the second support member 64 is similar to the configuration of the first support member 62 . Therefore, portions of the second support member 64 corresponding to those of the first support member 62 are assigned the same reference numerals as those of the first support member 62 .
  • the radially inner surface of the support member main body 62A of the second support member 64 is a band member contact surface 62B that contacts the other axial end of the band member 34 of the coil body 32 via an insulator 28 (not shown). It's becoming A surface of the support member main body 62A of the second support member 64 on one side in the axial direction serves as a core contact surface 62C that contacts the end surface of the stator core 26 on the other side in the axial direction.
  • the support member main body 62A of the second support member 64 is fixed to the stator core 26 by means of recess-projection fitting, adhesion, or the like.
  • the six supporting member-side projections 62D of the second supporting member 64 are arranged at positions offset to the other side in the axial direction with respect to the axial center of the supporting member main body 62A.
  • six support-member-side projections 62D of the first support member 62 are engaged with one axial end of the belt member 34 of the coil body 32, respectively.
  • Six coil body side concave portions 34D are formed as one engaging portion.
  • the shape of the coil body side concave portion 34D viewed from the inside in the radial direction is rectangular, and the shape of the edge portion thereof is U-shaped with one axial side open.
  • Six support member-side projections 62D of the second support member 64 are engaged with the end portion of the band member 34 of the coil body 32 on the other side in the axial direction as first engaging portions.
  • a coil body side recess 34D is formed.
  • the shape of the coil body side recess 34D viewed from the inside in the radial direction is a rectangle, and the shape of the edge portion is a U shape with the other side in the axial direction open.
  • the portion of the band member 34 that is wound in an annular shape is a band member main body 34E, it can also be said that each coil body-side concave portion 34D is formed in the band member main body 34E.
  • the six support-member-side protrusions 62D of the first support member 62 and the six support-member-side protrusions 62D formed at one end in the axial direction of the band member 34 of the coil body 32 are engaged with the coil body side recesses 34D.
  • the six supporting member-side convex portions 62D of the second supporting member 64 and the six coil body-side concave portions 34D formed at the end portion of the band member 34 of the coil body 32 on the other side in the axial direction are engaged with each other. .
  • the coil body 32 is supported by the stator core 26 via the coil body support member 60 (the first support member 62 and the second support member 64).
  • the coil body support member 60 (the first support member 62 and the second support member 64) positions the coil body 32 in the circumferential direction, the axial direction, and the radial direction with respect to the stator core 26. As shown in FIG. As described above, in this embodiment, by using the coil body support member 60 (the first support member 62 and the second support member 64), the coil body 32 can be mounted on the stator core 26 simply by assembling the stator 14 in a predetermined procedure. Positional accuracy can be ensured.
  • the coil body 32 in the configuration using the coil body support member 60 (the first support member 62 and the second support member 64), the coil body 32 can be stably held for a long period of time against stress such as torque generated in the coil body 32. can do.
  • the coil body support member 60 in the configuration using the coil body support member 60 (the first support member 62 and the second support member 64), it is possible to prevent the coil body 32 from idling with respect to the stator core 26.
  • each coil body side recess 34D is formed in the belt member main body 34E that is wound in an annular shape.
  • the coil body 32 can be supported by the stator core 26 via the coil body support member 60 (the first support member 62 and the second support member 64) without increasing the dimension of the band member 34 in the axial direction. can be done.
  • the position of the coil body side recess 34D is selected so that it overlaps a part of one wiring pattern 40 and a part of the other wiring pattern 40 in the circumferential direction and overlaps a part of one of the wiring patterns in the axial direction. , the axial dimension of the band member 34 can be further reduced (see FIG. 17).
  • the number, shape, and dimensions of the coil-body-side concave portions 34D and the number, shape, and dimensions of the support-member-side convex portions 62D are not limited to those described above. It can be set as appropriate.
  • the coil body support member 60 has a plurality of core engaging projections 62E as third engaging portions.
  • the stator core 26 of the motor 66 of the second embodiment is formed with a plurality of core-side concave portions 26A as fourth engaging portions with which the plurality of core engaging convex portions 62E are respectively engaged.
  • the first support member 62 includes a plurality of core engaging protrusions 62E that protrude from the surface of the support member body 62A on the other side in the axial direction toward the other side in the axial direction.
  • five core engaging protrusions 62E are arranged at regular intervals in the circumferential direction.
  • the five core engaging protrusions 62E are formed in a cylindrical shape.
  • the five core engaging projections 62E are arranged at positions offset radially outward from the radial center of the support member main body 62A.
  • the second support member 64 includes a plurality of core engaging protrusions 62E that protrude from the surface of the support member main body 62A on one side in the axial direction toward the one side in the axial direction.
  • five core engaging protrusions 62E are arranged at regular intervals in the circumferential direction.
  • the five core engaging protrusions 62E are formed in a cylindrical shape.
  • the five core engaging projections 62E are arranged at positions offset radially outward from the radial center of the support member main body 62A.
  • Five core engaging projections of the first support member 62 are provided on the end of the stator core 26 on the one axial side opposite to the side on which the coil body 32 is arranged (radially outer end).
  • Five core-side recesses 26A with which the portions 62E are engaged are formed.
  • the core-side recessed portion 26A is open on one axial side and on the radially outer side.
  • five core engaging members of the second support member 64 are provided at the end (radially outer end) of the stator core 26 on the other side in the axial direction opposite to the side on which the coil body 32 is arranged.
  • Five core-side recesses 26A are formed with which the mating protrusions 62E are respectively engaged.
  • the core-side recessed portion 26A is open on the other side in the axial direction and on the radially outer side.
  • each core-side concave portion 26A is formed in the core body 26B.
  • the five core-engaging protrusions 62E of the first support member 62 are engaged with the five core-side recesses 26A formed on one side of the stator core 26 in the axial direction.
  • the core engaging protrusions 62E are engaged with five core side recesses 26A formed on the other side of the stator core 26 in the axial direction.
  • the coil body support member 60 (the first support member 62 and the second support member 64) is attached to the stator core 26, and the coil body support member 60 is positioned with respect to the stator core 26 in the circumferential direction.
  • the coil body support member 60 can be positioned in the circumferential direction with respect to the stator core 26 only by the work of attaching the coil body support member 60 to the stator core 26 .
  • each core-side recessed portion 26A is formed at the end of the stator core 26 (core body 26B) opposite to the side on which the coil body 32 is arranged. This reduces the influence on the characteristics of the motor 66 compared to the configuration in which each core-side concave portion 26A is formed at the end of the stator core 26 (core body 26B) on the side where the coil body 32 is arranged. can be done.
  • the number, shape, and dimensions of the core-engaging projections 62E and the number, shape, and dimensions of the core-side recesses 26A are not limited to those described above, and may be set as appropriate in consideration of the dimensions of the stator core 26 and the like.
  • portions corresponding to the coil body side recess 34D and the support member side protrusion 62D of the motor 10 of the first embodiment described above are the first A coil-body-side convex portion 34F as a first engaging portion and a support-member-side concave portion 62F as a second engaging portion.
  • the first support member 62 includes six support member side recesses 62F that are recessed radially outward with respect to the radially inner surface of the support member main body 62A.
  • the six supporting member side recesses 62F are arranged at equal intervals in the circumferential direction.
  • the shape of the support member side recessed portion 62F when viewed from the axial direction is rectangular, and the shape of the edge portion thereof is a U shape that is open radially inward.
  • the first support member 62 has a passage recess 62G for allowing the connection portion 43 of the coil body 32 to pass therethrough in the axial direction.
  • the passage recess 62G is recessed radially outward with respect to the radially inner surface of the support member main body 62A.
  • the second support member 64 has six support member side recesses 62F corresponding to the six support member side recesses 62F of the first support member 62, respectively.
  • Six coil-body-side protrusions 34F that engage with the six support-member-side recesses 62F of the first support member 62 are formed at one axial end of the band member 34 of the coil body 32.
  • six coil-body-side projections 34F that engage with the six support-member-side projections 62D of the second support member 64 are formed at the end of the band member 34 of the coil body 32 on the other side in the axial direction. It is The shape of the coil-body-side convex portion 34F viewed from the inside in the radial direction is rectangular.
  • each coil body-side convex portion 34F protrudes from the band member main body 34E to one or the other side in the axial direction.
  • the six support member-side recesses 62F of the first support member 62 and the six recesses formed at one axial end of the belt member 34 of the coil body 32 The coil-body-side projections 34F are engaged with each other.
  • the six supporting member-side concave portions 62F of the second supporting member 64 and the six coil-body-side convex portions 34F formed at the end portion of the belt member 34 of the coil body 32 on the other side in the axial direction are engaged with each other. .
  • the coil body 32 is supported by the stator core 26 via the coil body support member 60 (the first support member 62 and the second support member 64).
  • the coil body support member 60 (the first support member 62 and the second support member 64) positions the coil body 32 in the circumferential direction, the axial direction, and the radial direction with respect to the stator core 26. As shown in FIG. As described above, in this embodiment, by using the coil body support member 60 (the first support member 62 and the second support member 64), the coil body 32 can be mounted on the stator core 26 simply by assembling the stator 14 in a predetermined procedure. Positional accuracy can be ensured.
  • each coil body-side convex portion 34F is configured to protrude from a band member main body 34E that is wound in an annular shape.
  • the coil body 32 is attached to the stator core 26 and the coil body support member 60 (the first support member 62) while suppressing the influence on the coil 16 and the connection pattern portion 40 formed on the band member 34 (band member main body 34E). and a second support member 64).
  • the number, shape, and dimensions of the coil body-side protrusions 34F and the number, shape, and dimensions of the support member-side recesses 62F are not limited to those described above, and are determined in consideration of the size of the motor 10, the torque generated in the coil body 32, and the like. It can be set as appropriate.
  • FIG. 26 shows an enlarged sectional view schematically showing a section of an insulator 28 that constitutes part of the motor of the fourth embodiment.
  • the insulator 28 is configured to include a soft magnetic portion 52 formed using a soft magnetic material in a base 50 formed using an insulating material.
  • the insulator 28 as a whole is configured to include the soft magnetic portion 52 in the base 50 .
  • a resin material is used as the substrate 50 in this embodiment.
  • atomized metal powder having soft magnetism such as iron is used as the soft magnetic portion 52 .
  • the magnetic flux of the magnet 18 can be introduced into the stator core 26 via the soft magnetic portion 52 in the insulator 28, and the magnetic resistance between the magnet 18 and the stator core 26 can be reduced. .
  • the magnetic flux of the magnet 18 can be effectively used, and the torque of the motor can be increased and the size of the motor can be reduced.
  • the coil body support member 60 has a plurality of core engaging recesses 62H as third engaging parts.
  • the stator core 26 of the motor of the fifth embodiment includes a plurality of core-side projections 26C as fourth engaging portions that engage with the plurality of core engaging recesses 62H.
  • a core engaging recess 62H is formed at the radially outer end of the support member main body 62A of the first support member 62 .
  • the shape of the core engaging recess 62H viewed from the axial direction is rectangular, and the shape of the edge portion is U-shaped with the radially outer side open.
  • a tongue-like piece protruding toward the one axial side is provided at the end of the stator core 26 on the one axial side opposite to the side where the coil body 32 is arranged (the radially outer end).
  • a core-side protrusion 26C is formed at the end of the stator core 26 on the one axial side opposite to the side where the coil body 32 is arranged (the radially outer end).
  • a core-side protrusion 26C is formed.
  • the core-side convex portion 26C is formed in a rectangular shape when viewed from the radial direction.
  • the core-side convex portion 26C is configured to protrude from the core body 26B.
  • the stator core 26 of the present embodiment is configured by stacking and integrating a plurality of core-constituting plates 70 cut into a predetermined shape in the axial direction.
  • a tongue-shaped portion that forms the core-side convex portion 26C is provided on the radially outer side of the core constituting plate 70 that constitutes one end portion in the axial direction of the plurality of core constituting plates 70 .
  • a core-side convex portion 26C is formed by bending the tongue-like portion toward one side in the axial direction.
  • a core-side protrusion 26C formed on one side in the axial direction of the stator core 26 is engaged with the core engagement recess 62H of the first support member 62 .
  • the coil body support member 60 (first support member 62) is attached to the stator core 26, and the coil body support member 60 is positioned with respect to the stator core 26 in the circumferential direction.
  • the coil body support member 60 can be positioned in the circumferential direction with respect to the stator core 26 only by the work of attaching the coil body support member 60 to the stator core 26 .
  • the core-side protrusion 26C is formed at the end of the stator core 26 (core body 26B) opposite to the side on which the coil body 32 is arranged, and protrudes from the core body 26B. It is configured. As a result, compared to the configuration in which each core-side protrusion 26C is formed at the end of the stator core 26 (core body 26B) on the side where the coil body 32 is arranged, the influence on the characteristics of the motor can be reduced. can be done.
  • the number, shape, and dimensions of the core engaging recesses 62H and the number, shape, and dimensions of the core-side protrusions 26C are not limited to those described above, and may be appropriately set in consideration of the dimensions of the stator core 26 and the like.
  • the core engaging concave portion 62H and the core-side convex portion 26C may be provided on the other axial side of the second supporting member 64 and the stator core 26 (not shown).
  • the coil body support member 60 and the insulator 28 are integrally formed. .
  • the insulator 28 is the second support member on one side of the first support member 62 and the second support member 64 that constitute the coil body support member 60 . It is integrally formed with the member 64 .
  • the insulator 28 is formed in a tubular shape extending from the radially inner end portion of the support member main body 62A of the second support member 64 to one side in the axial direction.
  • each portion of the insulator 28 is formed on the first support member 62 and the second support member 64 that constitute the coil body support member 60, respectively.
  • the insulator 28 has a two-part structure in the axial direction.
  • a portion of the insulator 28 on one side in the axial direction is formed in a tubular shape extending from the radially inner end portion of the support member main body 62A of the first support member 62 to the other side in the axial direction.
  • a portion of the insulator 28 on the other side in the axial direction is formed in a tubular shape extending from the radially inner end portion of the support member main body 62A of the second support member 64 to the one side in the axial direction.
  • the coil body support member 60 and the insulator 28 are integrally formed. Thereby, the number of parts constituting the motors 72 and 74 can be reduced.
  • a core-constituting plate 70 formed in a plate shape whose thickness direction is the axial direction is annularly wound in the circumferential direction and It is formed by being laminated to
  • the core configuration plate 70 is wound continuously in the circumferential direction.
  • FIG. 35 there is an axial height difference between the core main body 26B at the one end in the axial direction of the stator core 26 and the one end 70A of the core component plate 70.
  • a core-side stepped portion 26D is formed as an engaging portion.
  • a core as a fourth engaging portion having a height difference in the axial direction.
  • a side step portion 26D is formed.
  • a support member serving as a third engaging portion having a height difference in the axial direction is provided at the other axial end of the support member main body 62A of the first support member 62.
  • a side step portion 62J is formed.
  • a supporting member side stepped portion 62J as a third engaging portion having a difference in height in the axial direction is formed at one end portion in the axial direction of the supporting member main body 62A of the second supporting member 64. .
  • the support member side stepped portion 62J of the first support member 62 and the core side stepped portion 26D formed on one axial side of the stator core 26 are engaged with each other, and the support member side stepped portion of the second support member 64 is engaged.
  • 62J and a core-side stepped portion 26D formed on the other side in the axial direction of the stator core 26 are engaged.
  • the coil body support member 60 (the first support member 62 and the second support member 64) is attached to the stator core 26, and the coil body support member 60 is positioned with respect to the stator core 26 in the circumferential direction.
  • the coil body support member 60 can be positioned in the circumferential direction with respect to the stator core 26 only by the work of attaching the coil body support member 60 to the stator core 26 .
  • the core-constituting plate 70 is annularly wound in the circumferential direction and is axially wound in the same manner as the stator core 26 of the motor of the eighth embodiment. It is formed by being laminated to One end portion 70A of the core structure plate 70 at the end portion on the one axial side of the stator core 26 is bent so as to protrude toward the one axial side (the first support member 62 side) with respect to the core body 26B. .
  • the other end portion 70B of the core constituting plate 70 at the end portion on the other axial side of the stator core 26 is bent so as to protrude toward the other axial side (the second support member 64 side) with respect to the core body 26B. ing.
  • One end portion 70A and the other end portion 70B of the core structure plate 70 are an example of a fourth engaging portion.
  • a core engaging recess 62H that is open on the other axial side is formed at the end of the supporting member main body 62A of the first supporting member 62 on the other axial side.
  • a core engaging recess 62H that is open on one axial side is formed at one axial end of the supporting member main body 62A of the second supporting member 64 .
  • the core engaging recess 62H of the first support member 62 and one end portion 70A of the core configuration plate 70 on one axial side of the stator core 26 are engaged with each other, and the core engaging recess of the second support member 64 is engaged. 62H and the other end portion 70B of the core configuration plate 70 on the other axial side of the stator core 26 are engaged.
  • the coil body support member 60 (the first support member 62 and the second support member 64) is attached to the stator core 26, and the coil body support member 60 is positioned with respect to the stator core 26 in the circumferential direction.
  • the coil body support member 60 can be positioned in the circumferential direction with respect to the stator core 26 only by the work of attaching the coil body support member 60 to the stator core 26 .
  • the core engaging recess 62H of the first support member 62 and one end 70A of the core configuration plate 70 on one axial side of the stator core 26 are engaged,
  • the height is higher than that of the motor of the eighth embodiment. torque can be accommodated.
  • the motor 76 of the tenth embodiment and the motor 78 of the eleventh embodiment will be described.
  • the members and portions corresponding to the motor 10 and the like of the first embodiment already described are the motor 10 and the like of the first embodiment already described.
  • the same reference numerals as those of the members and portions corresponding to are attached, and the description thereof may be omitted.
  • part of the stator core 26 serves as the coil body support member 60.
  • the stator core 26 of the motor 76 of the tenth embodiment is constructed by axially laminating and integrating a plurality of core-constituting plates 70 cut into a predetermined shape. It is Here, among the plurality of core constituent plates 70 , two of the core constituent plates 70 arranged at the end portion on the other side in the axial direction have a configuration different from the shape of the other core constituent plates 70 . Here, of the plurality of core constituent plates 70 , two core constituent plates 70 arranged at the other end in the axial direction are referred to as coil body support plates 80 .
  • the two coil body support plates 80 correspond to the second support member 64 of the motor 10 of the first embodiment, and include a support member main body 62A and six support member-side protrusions 62D.
  • the first support member 62 of the motor 76 of the tenth embodiment has the same configuration as the first support member 62 of the motor 10 of the first embodiment.
  • two core configuration plates 70 arranged at one end in the axial direction of the plurality of core configuration plates 70 serve as coils.
  • the two core-constituting plates 70 arranged at the end on the other side in the axial direction serve as the coil body support plate 80 . That is, the two core configuration plates 70 arranged at one end in the axial direction serve as the first support member 62, and the two core configuration plates 70 arranged at the other end in the axial direction serve as the first support member 62. 2 supporting members 64 .
  • part of the stator core 26 can function as the coil body support member 60.
  • the motors 76, 78 of cogging torque can be adjusted.
  • the number of supporting member-side convex portions 62D is set to a number that is an integral multiple of a prime number that is not a prime factor of the number of magnetic poles of the motors 76 and 78, or a prime number that is not a prime factor of the number of supporting member-side convex portions 62D. It is desirable to set the number of magnetic poles to be an integer multiple.
  • the cogging torque of the motors 76, 78 can be reduced.
  • the circumferential positions (angles) of the plurality of supporting member-side protrusions 62D may be equally spaced or uneven.
  • the supporting member-side convex portion 62D (the shape of which is viewed from the axial direction) may not have a simple rectangular shape, and may be rounded or chamfered at the corners.
  • the supporting member side convex portion 62D may be formed in the coil body support plate 80.
  • the coil body 32 of the motor 68 of the third embodiment described above can be supported.
  • FIG. 42 shows a view of the stator 14 of the motor of the twelfth embodiment as seen from the inside in the radial direction.
  • the first support member 62 is located at a position 82A where a portion of the first support member 62 radially overlaps or does not overlap in the vicinity of one axial end of the coil end portion 38 on one axial side of the coil 16 of the coil body 32 . is arranged on the side opposite to the stator core 26 (one side in the axial direction). That is, the first support member 62 is arranged in the range indicated by D1 in FIG.
  • the second support member 64 extends from a position 82 ⁇ /b>B that partly overlaps or does not overlap radially with the stator core 26 in the vicinity of the other axial end of the coil end portion 38 on the other axial side of the coil 16 of the coil body 32 . It is arranged on the opposite side (the other side in the axial direction). That is, the second support member 64 is arranged in the range indicated by D2 in FIG. A stator core 26 is arranged in the range indicated by D3.
  • the coil body support member 60 (the first support member 62 and the second support member 64) is arranged at a position that does not overlap the vertical portion 36 of the coil 16 of the coil body 32 in the radial direction. It can also be said that there is a
  • the coil body support member 60 (the first support member 62 and the second support member 64) is arranged at a position that does not radially overlap the vertical portion 36 of the coil 16 of the coil body 32.
  • the coil body support member 60 (the first support member 62 and the second support member 64) is made of resin, which is a non-magnetic material.
  • the coil body support member 60 is made of resin, it is possible to suppress an increase in the weight of the motor compared to a configuration in which the coil body support member 60 is made of metal.
  • the resin forming the coil body support member 60 may be blended with a reinforcing filler such as glass fiber.
  • the coil body support member 60 may be formed of rubber, ceramics, paper, or wood-based molded material.
  • the sensor 84 is attached to the first support member 62 in the motor 88 of the thirteenth embodiment, the motor 90 of the fourteenth embodiment and the motor 92 of the fifteenth embodiment. ing.
  • the sensor 84 includes a sensor body portion 84A formed in a rectangular block shape, and a sensor wiring portion 84B projecting from the sensor body portion 84A.
  • the sensor 84 is, for example, a magnetic sensor used to detect rotation of the rotor 12, a temperature sensor to detect temperature, an acceleration sensor to detect vibration, or the like.
  • the sensor main body portion 84A of the sensor 84 is fixed to the radially inner surface of the support member-side convex portion 62D of the first support member 62. As shown in FIG. As a result, when the sensor 84 is a magnetic sensor, the magnetism of the magnet 18 of the rotor 12 can be accurately detected by the sensor 84 .
  • the sensor body 84A of the sensor 84 is located at the other axial end and the radially inner end of the support member body 62A of the first support member 62.
  • Sensor placement recesses 62K are formed therein.
  • the sensor main body portion 84A of one of the sensors 84 is placed in the support member main body 62A in a state of being arranged in the sensor arrangement recess 62K formed at the other end in the axial direction of the support member main body 62A of the first support member 62. Fixed.
  • the sensor main body portion 84A of the other sensor 84 is placed in the support member main body 62A in a state of being arranged in the sensor arrangement recess 62K formed at the radially inner end portion of the support member main body 62A of the first support member 62. Fixed.
  • the sensor body portion 84A of the other sensor 84 is arranged close to the coil body 32 . Therefore, when the other sensor 84 is a temperature sensor, the temperature of the coil body 32 can be detected with high accuracy.
  • the first support member 62 of the motor 92 of the fifteenth embodiment has a sensor attachment portion 62L that protrudes radially inward from the radially inner end portion of the support member-side convex portion 62D. It has A sensor placement recess 62K in which the sensor main body 84A of the sensor 84 is placed is formed at the other end of the sensor mounting portion 62L in the axial direction. The sensor main body 84A of the sensor 84 is fixed to the sensor mounting portion 62L while being placed in a sensor placement recess 62K formed at the other axial end of the sensor mounting portion 62L.
  • the sensor body portion 84A of the sensor 84 is arranged close to the end surface of the magnet 18 of the rotor 12 on one side in the axial direction. Therefore, in the motor 92 of the fifteenth embodiment in which the sensor 84 is a magnetic sensor, the magnetism of the magnet 18 of the rotor 12 is detected more accurately by the sensor 84 than in the configuration of the motor 88 of the thirteenth embodiment. can do.
  • Fig. 46 schematically shows the coil body 32 before being wound.
  • the configuration of the coil body 32 is the same as the configuration of the coil body 32 of the motor 10 of the first embodiment described above.
  • illustration of the coil 16, the connection pattern portion 40, and the like is omitted.
  • the coil body 32 is configured by winding a band member 34 in the circumferential direction multiple times. Therefore, the length in the circumferential direction of the portion forming the second round of the band member 34 is longer than the length in the circumferential direction of the portion forming the first round of the band member 34 . Also, the length in the circumferential direction of the portion forming the third round of the band member 34 is longer than the length in the circumferential direction of the portion forming the second round of the band member 34 . That is, the length in the circumferential direction of the portion forming the Nth round of the band member 34 is longer than the length in the circumferential direction of the portion forming the (N ⁇ 1)th round of the band member 34 . Therefore, as shown in FIG.
  • the interval P2 in the circumferential direction between the plurality of coil-body-side concave portions 34D formed in the portion forming the second round of the band member 34 is equal to that of the portion forming the first round of the band member 34. It is set larger than the interval P1 in the circumferential direction between the plurality of coil-body-side recesses 34D formed in the . Further, the intervals P3 in the circumferential direction between the plurality of coil-body-side concave portions 34D formed in the portion forming the third round of the band member 34 are set to the values of the plurality of coil-body-side recesses 34D formed in the portion forming the second round of the band member 34.
  • the interval P2 of the recesses 34D in the circumferential direction is set larger than the interval P2 of the recesses 34D in the circumferential direction. That is, the interval PN in the circumferential direction of the plurality of coil-body-side concave portions 34D formed in the portion forming the N-th round of the band member 34 is formed in the portion forming the (N ⁇ 1)-th round of the band member 34. It is set larger than the interval P(N ⁇ 1) in the circumferential direction between the plurality of coil-body-side concave portions 34D. As a result, as shown in FIG.
  • the band member 34 of the coil body 32 described above is wound using a jig 94 .
  • the jig 94 includes a pair of shaft portions 96 that are rotatably supported and coaxially arranged, a pair of rollers 98 that are formed in a cylindrical shape and are fixed to the pair of shaft portions 96, respectively. is composed of The pair of rollers 98 are cylindrical and set to have the same outer diameter. Six pins 100 projecting radially outward from the radially outer surface of the roller 98 are fixed to one axial end of the roller 98 arranged on one axial side.
  • pins 100 projecting radially outward from the radially outer surface of the roller 98 are fixed to the other axial end of the roller 98 arranged on the other axial side. there is These pins 100 are formed in a cylindrical shape with the radial direction as the axial direction.
  • the pair of rollers 98 are coupled together so as to be rotatable together while being in contact with each other in the axial direction.
  • one end of the band member 34 of the coil body 32 is arranged along the outer peripheral surface of the pair of rollers 98 , and each pin 100 fixed to the pair of rollers 98 is attached to the band member 34 of the coil body 32 . It is engaged with a coil body side recess 34D formed at one end of the member 34.
  • the pair of rollers 98 are rotated. Thereby, as shown in FIG. 50, the strip member 34 of the coil body 32 is wound in a predetermined layer.
  • a predetermined portion of the band member 34 of the coil body 32 is fixed by adhesion, caulking, rivets, clips, or the like. As a result, the band member 34 of the coil body 32 is kept in a ring-wound state.
  • the coil body 32 (band member 34) is removed from the jig 94 by separating the pair of rollers 98 from each other in the axial direction. The coil body 32 is manufactured through the above steps.
  • the pitch angle (interval in the circumferential direction) may be constant (equally divided) or may be uneven.
  • the strip member 34 of the coil body 32 is wound a plurality of times, the strip member 34 may be continuous in the circumferential direction or may be divided.
  • the number of divisions of the band member 34 in the circumferential direction may be set arbitrarily, and may be every 1 round, 2 rounds, or n rounds.
  • the interval of dividing the band member 34 in the circumferential direction may be equal division or may be unequal division (for example, 2 rounds + 3 rounds).
  • the band member 34 when the band member 34 is divided into a plurality of parts in the circumferential direction, after winding one band member 34, the coil body side concave portion 34D of the other band member 34 is engaged with the pin 100 to rotate the roller 98.
  • the belt member 34 can be wound up by adding parts.
  • the pin 100 in a configuration in which the coil-body-side concave portion 34D formed in the band member 34 is, for example, a circular opening, the pin 100 is made movable to fix the coil body 32 (the wound band member 34). It can be removed from tool 94 .
  • Examples of a movable pin 100 include a configuration in which the pin 100 is detachable from the roller 98 and a configuration in which the pin 100 is embedded in the roller 98 .
  • the circumferential dimension of the pin 100 it is preferable to set the circumferential dimension of the pin 100 to decrease radially outward. This makes it easier to engage the pin 100 with the coil body side recess 34D while the roller 98 is rotating.
  • FIG. A jig 102 having a configuration in which the tool-side concave portion 98A is formed in the roller 98 may be used.
  • the coil body 32 of the motor 68 of the third embodiment can be manufactured by using this jig 102 and performing the same processes as those described above.
  • the motor of the sixteenth embodiment will be described.
  • the members and parts corresponding to the motor 10 and the like of the already described first embodiment are denoted by the same reference numerals as the members and parts corresponding to the motor 10 and the like of the first embodiment already described. , and the description thereof may be omitted.
  • FIGS. 54 and 55 schematically show the coil body 32 forming part of the motor of the sixteenth embodiment.
  • the coil body 32 is composed of a plurality of belt members 34 wound in a ring.
  • the plurality of band members 34 wound in an annular shape may form a single layer in the radial direction, or may form a plurality of layers in the radial direction.
  • the coil body 32 is composed of four band members 34 .
  • the inner and outer diameters of the four band members 34 are different from each other.
  • the coil body 32 By arranging one band member 34 radially inside the other band member 34, the coil body 32 having four layers in the radial direction is formed. In this way, the coil body 32 can also be formed by a plurality of belt members 34 that are wound in an annular shape.
  • illustration of the coil 16, the coil-body-side concave portion 34D, and the like is omitted.
  • the motor 104 of the seventeenth embodiment and the motor 106 of the eighteenth embodiment will be described.
  • the members and portions corresponding to the motor 10 and the like of the first embodiment already described are the motor 10 and the like of the first embodiment already described.
  • the same reference numerals as those of the members and portions corresponding to are attached, and the description thereof may be omitted.
  • the stator 14 of the motor 104 of the seventeenth embodiment includes a coil body 32 arranged radially inside the stator core 26 and a coil body 32 arranged radially outside the stator core 26 .
  • a body 32 is provided.
  • the rotor 12 of the motor 104 of this embodiment includes the magnets 18 arranged radially inward with respect to the radially inner coil body 32 and the rotor 12 arranged radially outwardly with respect to the radially outer coil body 32 . and a magnet 18 .
  • the rotor 12 of the motor 106 of the eighteenth embodiment includes a magnet 18 fixed to the inner peripheral surface of the second cylindrical portion 24B of the rotor core 24 and an outer peripheral surface of the second cylindrical portion 24B of the rotor core 24. a magnet 18 fixed to the surface.
  • the stator 14 of the motor 106 of the eighteenth embodiment includes a stator core 26 and a coil body 32 arranged to face the magnet 18 fixed to the inner peripheral surface of the second cylindrical portion 24B, and the outer peripheral surface of the second cylindrical portion 24B.
  • a stator core 26 and a coil body 32 are provided so as to face the magnet 18 fixed to the stator core 26 .
  • the number and arrangement of the coil bodies 32 constituting the stator 14, the arrangement of the magnets 18 of the rotor 12, the number of the stator cores 26, etc. are determined according to the output characteristics, size, etc. required of the motor. It can be set as appropriate in consideration of this.
  • the plurality of coils 16 on the belt member 34 are connected by star connection, but they may be connected by delta connection.
  • the wiring pattern 40 may be different between one circumference and the other circumference of the band member 34 .
  • the engaging member main body 62A does not have to be a 360° continuous annular shape, but may be a partially notched annular shape (C-shaped or the like).
  • either the coil body support member (engagement member) 60 or each of the engagement portions (first to fourth engagement portions) may be provided only at one end or the other end of the stator core 26 in the axial direction.
  • the configuration of the motor 10 or the like may be appropriately selected according to the application of the motor 10 or the like. Also, the configuration of the motor 10 and the like may be applied to a generator. The configuration of the motor 10 and the like can also be applied to an outer rotor type brushless motor in which the rotor 12 is arranged radially outside the stator 14 . Moreover, the configuration of the present disclosure can also be applied to a rotor configured including the coil body 32 .

Landscapes

  • Engineering & Computer Science (AREA)
  • Power Engineering (AREA)
  • Manufacturing & Machinery (AREA)
  • Windings For Motors And Generators (AREA)
  • Iron Core Of Rotating Electric Machines (AREA)
  • Manufacture Of Motors, Generators (AREA)
PCT/JP2022/031450 2021-11-18 2022-08-19 電機子及び回転電機 Ceased WO2023089890A1 (ja)

Priority Applications (3)

Application Number Priority Date Filing Date Title
DE112022005542.1T DE112022005542T5 (de) 2021-11-18 2022-08-19 Anker und drehende elektrische maschine
CN202280075797.4A CN118235314A (zh) 2021-11-18 2022-08-19 电枢和旋转电机
US18/666,400 US20240305154A1 (en) 2021-11-18 2024-05-16 Armature and rotating electric machine

Applications Claiming Priority (2)

Application Number Priority Date Filing Date Title
JP2021-188164 2021-11-18
JP2021188164A JP7739967B2 (ja) 2021-11-18 2021-11-18 電機子及び回転電機

Related Child Applications (1)

Application Number Title Priority Date Filing Date
US18/666,400 Continuation US20240305154A1 (en) 2021-11-18 2024-05-16 Armature and rotating electric machine

Publications (1)

Publication Number Publication Date
WO2023089890A1 true WO2023089890A1 (ja) 2023-05-25

Family

ID=86396616

Family Applications (1)

Application Number Title Priority Date Filing Date
PCT/JP2022/031450 Ceased WO2023089890A1 (ja) 2021-11-18 2022-08-19 電機子及び回転電機

Country Status (5)

Country Link
US (1) US20240305154A1 (enExample)
JP (1) JP7739967B2 (enExample)
CN (1) CN118235314A (enExample)
DE (1) DE112022005542T5 (enExample)
WO (1) WO2023089890A1 (enExample)

Citations (2)

* Cited by examiner, † Cited by third party
Publication number Priority date Publication date Assignee Title
JPS5276608A (en) * 1975-12-23 1977-06-28 Citizen Watch Co Ltd Coreless motor
JPS58127870U (ja) * 1982-02-22 1983-08-30 株式会社東芝 無刷子形モ−タ

Family Cites Families (3)

* Cited by examiner, † Cited by third party
Publication number Priority date Publication date Assignee Title
JPS62172278U (enExample) * 1986-04-18 1987-10-31
WO2006126662A1 (ja) 2005-05-27 2006-11-30 Namiki Seimitsu Houseki Kabushikikaisha 円筒状コイル及びそれを用いた円筒型マイクロモータ
JP7054146B2 (ja) 2020-05-29 2022-04-13 史子 國枝 布マスクの支持部材およびそれを用いる布マスク

Patent Citations (2)

* Cited by examiner, † Cited by third party
Publication number Priority date Publication date Assignee Title
JPS5276608A (en) * 1975-12-23 1977-06-28 Citizen Watch Co Ltd Coreless motor
JPS58127870U (ja) * 1982-02-22 1983-08-30 株式会社東芝 無刷子形モ−タ

Also Published As

Publication number Publication date
CN118235314A (zh) 2024-06-21
JP2023074947A (ja) 2023-05-30
JP7739967B2 (ja) 2025-09-17
US20240305154A1 (en) 2024-09-12
DE112022005542T5 (de) 2024-09-19

Similar Documents

Publication Publication Date Title
US8829758B2 (en) Rotary electric machine
JP2011072182A (ja) 電気機械
US11329525B2 (en) Rotating electric machine
JP2003259571A (ja) 回転電機
WO2016136384A1 (ja) 電機子および回転電機
JP2007267565A (ja) コアレスモータ
CN108496293B (zh) 具有印刷的连接片的电工钢片
CN108886314B (zh) 旋转变压器
WO2023089890A1 (ja) 電機子及び回転電機
JP7632328B2 (ja) コイル体、電機子及び回転電機
US20200313473A1 (en) Electric motor having split core stator
JP7149497B2 (ja) ブラシレスモータ及びブラシレスモータの製造方法
WO2024024207A1 (ja) コイル体、電機子及び回転電機
TWI662769B (zh) 電動機及電動機的製造方法
JP7732351B2 (ja) コイル体、電機子及び回転電機
JP6851816B2 (ja) 回転子
CN120359686A (zh) 线圈体、电枢和旋转电机
WO2024214497A1 (ja) コイル体、電機子及び回転電機
US20230283134A1 (en) Stator and motor
JP2025003221A (ja) コイル体、電機子及び回転電機
WO2022264588A1 (ja) モータ
JP5987673B2 (ja) 回転電機のステータコア
JP2021013282A (ja) 回転電機

Legal Events

Date Code Title Description
121 Ep: the epo has been informed by wipo that ep was designated in this application

Ref document number: 22895178

Country of ref document: EP

Kind code of ref document: A1

WWE Wipo information: entry into national phase

Ref document number: 202280075797.4

Country of ref document: CN

122 Ep: pct application non-entry in european phase

Ref document number: 22895178

Country of ref document: EP

Kind code of ref document: A1