WO2023085291A1 - プログラム及び情報処理装置 - Google Patents

プログラム及び情報処理装置 Download PDF

Info

Publication number
WO2023085291A1
WO2023085291A1 PCT/JP2022/041622 JP2022041622W WO2023085291A1 WO 2023085291 A1 WO2023085291 A1 WO 2023085291A1 JP 2022041622 W JP2022041622 W JP 2022041622W WO 2023085291 A1 WO2023085291 A1 WO 2023085291A1
Authority
WO
WIPO (PCT)
Prior art keywords
player
currency
items
control means
item
Prior art date
Legal status (The legal status is an assumption and is not a legal conclusion. Google has not performed a legal analysis and makes no representation as to the accuracy of the status listed.)
Ceased
Application number
PCT/JP2022/041622
Other languages
English (en)
French (fr)
Japanese (ja)
Inventor
崇弘 大友
Current Assignee (The listed assignees may be inaccurate. Google has not performed a legal analysis and makes no representation or warranty as to the accuracy of the list.)
Sega Corp
Original Assignee
Sega Corp
Priority date (The priority date is an assumption and is not a legal conclusion. Google has not performed a legal analysis and makes no representation as to the accuracy of the date listed.)
Filing date
Publication date
Application filed by Sega Corp filed Critical Sega Corp
Publication of WO2023085291A1 publication Critical patent/WO2023085291A1/ja
Anticipated expiration legal-status Critical
Ceased legal-status Critical Current

Links

Images

Classifications

    • AHUMAN NECESSITIES
    • A63SPORTS; GAMES; AMUSEMENTS
    • A63FCARD, BOARD, OR ROULETTE GAMES; INDOOR GAMES USING SMALL MOVING PLAYING BODIES; VIDEO GAMES; GAMES NOT OTHERWISE PROVIDED FOR
    • A63F13/00Video games, i.e. games using an electronically generated display having two or more dimensions
    • A63F13/55Controlling game characters or game objects based on the game progress
    • A63F13/58Controlling game characters or game objects based on the game progress by computing conditions of game characters, e.g. stamina, strength, motivation or energy level
    • AHUMAN NECESSITIES
    • A63SPORTS; GAMES; AMUSEMENTS
    • A63FCARD, BOARD, OR ROULETTE GAMES; INDOOR GAMES USING SMALL MOVING PLAYING BODIES; VIDEO GAMES; GAMES NOT OTHERWISE PROVIDED FOR
    • A63F13/00Video games, i.e. games using an electronically generated display having two or more dimensions
    • A63F13/70Game security or game management aspects
    • A63F13/79Game security or game management aspects involving player-related data, e.g. identities, accounts, preferences or play histories
    • AHUMAN NECESSITIES
    • A63SPORTS; GAMES; AMUSEMENTS
    • A63FCARD, BOARD, OR ROULETTE GAMES; INDOOR GAMES USING SMALL MOVING PLAYING BODIES; VIDEO GAMES; GAMES NOT OTHERWISE PROVIDED FOR
    • A63F13/00Video games, i.e. games using an electronically generated display having two or more dimensions
    • A63F13/70Game security or game management aspects
    • A63F13/79Game security or game management aspects involving player-related data, e.g. identities, accounts, preferences or play histories
    • A63F13/792Game security or game management aspects involving player-related data, e.g. identities, accounts, preferences or play histories for payment purposes, e.g. monthly subscriptions

Definitions

  • the present invention relates to a program and an information processing device.
  • Patent Literature 1 discloses a technology that allows the player to acquire paid items through purchase procedures, or allows the player to acquire free items by logging into the game, clearing quests, completing missions, etc.
  • the present invention has been made in view of such problems, and its purpose is to provide a program and an information processing device that can sufficiently motivate players to acquire currency items.
  • a program performs a recovery process of allowing a player to acquire a currency item, consume the currency item, and recover the current stamina value associated with the player.
  • a program to be executed comprising: storage means for storing acquisition time when the player acquires the currency item; consumption means for consuming the currency item owned by the player in response to the execution request of the recovery process; It functions as control means for giving preferential treatment to the execution of the recovery process according to the acquisition timing of the consumed currency item.
  • control means preferentially executes the recovery process when the acquisition time is after a predetermined time.
  • control means preferentially executes the recovery process as the acquisition time is newer.
  • control means preferentially executes the recovery process when the acquisition time is earlier than the predetermined time.
  • control means preferentially executes the recovery process as the acquisition time is older.
  • control means when a plurality of currency items are consumed, the control means preferentially executes the recovery process according to the latest acquisition time among the acquisition times of the respective currency items. .
  • control means when a plurality of currency items are consumed, the control means preferentially executes the recovery process according to the oldest acquisition time among the acquisition times of the respective currency items. .
  • control means when a plurality of currency items are consumed, preferentially executes the recovery process according to the statistical information of the acquisition time of each currency item.
  • the preferential treatment is to increase the recovery amount of the current stamina value.
  • the preferential treatment is to restore the current stamina value to exceed the stamina upper limit value associated with the player.
  • the currency items include paid items obtainable through purchase procedures and free items obtainable through game execution.
  • the information processing apparatus provides information for executing a recovery process for causing the player to acquire a currency item, consume the currency item, and recover the current stamina value associated with the player.
  • a processing device comprising: storage means for storing acquisition time when the player acquires the currency item; consumption means for consuming the currency item owned by the player in accordance with the execution request for the recovery process; and control means for giving preferential treatment to the execution of the recovery process according to the acquisition time of the currency item.
  • the player can be sufficiently motivated to acquire currency items.
  • FIG. 1 It is a block diagram showing an example of the whole composition of a game system concerning a first embodiment. It is a figure which shows roughly an example of the hardware constitutions of a server apparatus.
  • 2 is a diagram illustrating an example of a hardware configuration of a smartphone as a terminal device illustrated in FIG. 1;
  • FIG. It is a block diagram which shows an example of the functional structure of a server apparatus.
  • 5 is a flowchart showing an example of the flow of processing performed by each functional unit shown in FIG. 4 in the game system according to the first embodiment; It is a figure which shows an example of the execution screen of the lottery game which concerns on 1st embodiment. It is a figure which shows an example of the result screen which concerns on 1st embodiment.
  • FIG. 9 is a flowchart showing an example of the flow of processing performed by each functional means in the game system according to the second embodiment;
  • FIG. It is a figure which shows an example of the execution screen of the recovery process which concerns on 2nd embodiment. It is a figure which shows an example of the result screen which concerns on 2nd embodiment.
  • FIG. 1 is a block diagram showing an example of the overall configuration of a game system 1 according to the first embodiment.
  • the game system 1 includes a server device 10 and one or more terminal devices 12. These server device 10 and terminal device 12 are communicably connected via a communication network NT such as an intranet, the Internet, or a telephone line.
  • a communication network NT such as an intranet, the Internet, or a telephone line.
  • the server device 10 is an information processing device that provides game execution results obtained by executing the game program 14 or the game program 14 itself to the players of each terminal device 12 via the communication network NT.
  • the server device 10 provides the game program 14 itself to the player of the terminal device 12 .
  • Each terminal device 12 is an information processing device owned by each player, and is an information processing device that provides a game to each player by executing the game program 14 received from the server device 10 after being installed.
  • These terminal devices 12 include various devices such as video game machines, arcade game machines, mobile phones, smart phones, tablets, and personal computers.
  • FIG. 2 is a diagram schematically showing an example of the hardware configuration of the server device 10. As shown in FIG.
  • the server device 10 includes a control device 20, a communication device 26, and a storage device 28.
  • the control device 20 mainly includes a CPU (Central Processing Unit) 22 and a memory 24 .
  • CPU Central Processing Unit
  • the CPU 22 functions as various functional means by executing a predetermined program stored in the memory 24, the storage device 28, or the like. The details of this functional means will be described later.
  • the communication device 26 is configured with a communication interface or the like for communicating with an external device.
  • the communication device 26 transmits and receives various information to and from the terminal device 12, for example.
  • the storage device 28 is composed of a hard disk or the like.
  • the storage device 28 stores various programs and information required for execution of processing in the control device 20, including the game program 14, and information on processing results.
  • the server device 10 can be realized using an information processing device such as a dedicated or general-purpose server computer. Further, the server device 10 may be composed of a single information processing device, or may be composed of a plurality of information processing devices distributed over the communication network NT. Moreover, FIG. 2 only shows a part of the main hardware configuration of the server device 10, and the server device 10 can have other configurations that servers generally have. Further, the hardware configuration of the plurality of terminal devices 12 can also have the same configuration as the server device 10 except that they include operation means, a display device, and a sound output device, for example.
  • FIG. 3 is a diagram showing an example of the hardware configuration of a smartphone as the terminal device 12 shown in FIG.
  • the terminal device 12 includes a main control unit 30, a touch panel (touch screen) 32, a camera 34, a mobile communication unit 36, a wireless LAN communication unit 38, a storage unit 40, a speaker 42 and.
  • the main control unit 30 includes a CPU, memory, and the like.
  • the main control unit 30 is connected to a touch panel 32 as a display input device, a camera 34 , a mobile communication unit 36 , a wireless LAN communication unit 38 , a storage unit 40 and a speaker 42 .
  • the main control unit 30 has a function of controlling these connection destinations.
  • the touch panel 32 has both a display function and an input function, and is composed of a display 32A responsible for the display function and a touch sensor 32B responsible for the input function.
  • the display 32A can display game images including operation input images such as button images, cross key images, and joystick images.
  • the touch sensor 32B can detect the player's input position with respect to the game image.
  • the camera 34 has a function of capturing still images and/or moving images and storing them in the storage unit 40 .
  • the mobile communication unit 36 has a function of connecting to a mobile communication network via an antenna 36A and communicating with other communication devices connected to the mobile communication network.
  • the wireless LAN communication unit 38 has a function of connecting to the communication network NT via the antenna 38A and communicating with other devices such as the server device 10 connected to the communication network NT.
  • the storage unit 40 stores various programs and data such as the game program 14 and play data indicating the progress of the game of the game program 14 and player information. Note that the play data may be stored in the server device 10 .
  • the speaker 42 has a function of outputting game sounds and the like.
  • the games according to the first embodiment include lottery games, quests, purchase games, missions, and the like in which the player can obtain content (for example, characters).
  • This lottery game is sometimes referred to as Gacha, Fukubiki, Summoning, or the like.
  • This quest is sometimes referred to as a battle game, dungeon, search, or the like.
  • one or more characters drawn (randomly selected) from a lottery target content group are selected according to an execution request (instruction) from a player to execute the lottery game.
  • This is a game that provides a plurality of contents (characters) to the player.
  • This lottery game is executed based on the consumption of currency items owned by the player.
  • the currency items include, for example, charged items (for example, paid stones) and non-charged items (for example, free stones).
  • a charged item is a paid item that can be acquired through a purchase procedure (payment) using money, a prepaid card, a credit card, electronic money, crypto assets, or the like.
  • One paid item can be purchased for 100 yen, for example.
  • non-chargeable items are free items that can be obtained by running the game.
  • the execution of the game includes the player's login to the game, initial clearing of a quest, achievement of a mission, and the like.
  • Free items can be consumed without distinction from paid items in various games. For example, in the lottery game according to the first embodiment, paid items and free items can be consumed without discrimination.
  • the quest according to the first embodiment is a game in which a team formed by one or more owned characters owned by the player and an enemy character play against each other based on an execution request (instruction) from the player to execute the quest.
  • the player can organize characters to be used in a quest by arbitrarily selecting one or more characters from owned characters in an organization menu for organizing characters to be used in the quest.
  • This quest is executed based on consumption of the current stamina value associated with the player. This current stamina value is recovered by consuming currency items (paid items or free items).
  • the player When the player clears the quest, that is, when the hit point of the enemy character (boss character) appearing at the end of the quest is reduced to 0 or less, the player can obtain a clear reward (reward content).
  • clear rewards include non-charging items (free items), gacha tickets, coins, characters, training items, and player experience points.
  • This breeding item is, for example, an item for increasing the character experience value of the character.
  • the player can choose to continue the quest by consuming one currency item (paid item or free item) or one continue item, or give up clearing the quest. can.
  • the purchase game according to the first embodiment is a game in which content (characters) selected by the player can be obtained based on a purchase request (instruction) from the player to purchase content (characters, for example). This purchase is executed based on the consumption of currency items (paid items or free items) owned by the player.
  • This purchase game is different from lottery games and quests in that the content (character) desired by the player can be obtained without fail.
  • the mission according to the first embodiment is a game that accomplishes tasks imposed by the game operator. These missions include reaching a predetermined number of login days, number of friends, player rank, number of clears of specific quests, total consumption of current stamina values, and the like. When this mission is accomplished, the player can obtain a mission reward (reward content). Examples of mission rewards include non-charging items (free items), gacha tickets, coins, characters, training items, and the like.
  • FIG. 4 is a block diagram showing an example of the functional configuration of the server device 10. As shown in FIG. 4
  • the server device 10 includes storage means 50, consumption means 52, and control means 54 as functional configurations.
  • the storage means 50 is realized by one or more storage devices 28 .
  • Functional means other than the storage means 50 are realized by the control device 20 executing the game program 14 stored in the storage device 28 or the like.
  • the storage means 50 is functional means for storing player information 50A, character information 50B, lottery game information 50C, quest information 50D, and the like.
  • the player information 50A is stored for each player in association with the player ID of the player.
  • This player information 50A includes, for example, the player's name, age, player rank, possessed content information, stamina information, and the like.
  • the player rank increases when the player acquires player experience points.
  • Owned content information includes owned character information, owned item information, owned coin information, etc.
  • the owned character information is associated with the character ID of each owned character owned by the player, and includes the ability parameters of each character (eg, level, hit points, attack power, defense power, etc.).
  • the possessed item information includes the number of each item, acquisition time, etc. in association with the item ID of each item owned by the player.
  • the items include paid items, free items, and the like.
  • acquisition times are stored in association with paid items and free items owned by the player.
  • This acquisition time includes, for example, the date.
  • the acquisition time of the first paid item owned by the player includes the date (for example, October 9, 2021) when the player performs the purchase procedure and acquires the first paid item.
  • the acquisition time of the first free item owned by the player includes the date (for example, October 10, 2021) when the player acquired the first free item as a login bonus.
  • the acquisition timing of the second free item owned by the player includes the date (for example, October 11, 2021) when the second free item was acquired as a reward for clearing the quest.
  • the acquisition time of the third free item owned by the player includes the date (for example, October 12, 2021) when the third free item was acquired as a mission reward.
  • "Owned coin information" includes the number of coins owned by the player.
  • Stamina information includes the current stamina value, stamina upper limit, and stamina recovery amount.
  • the current stamina value is a value consumed when executing quests in the game. This current stamina value recovers by a predetermined amount (eg, 1) after a certain period of time (eg, 3 minutes) elapses, and recovers to the stamina upper limit value.
  • the stamina upper limit value is the upper limit value at which the current stamina value recovers due to the passage of time or recovery processing.
  • the stamina upper limit increases, for example, as the player rank increases.
  • the stamina recovery amount includes the amount (eg, 10) of the current stamina value recovered by consuming one currency item. This stamina recovery amount increases by a predetermined amount (for example, 1) when the player rank increases by 1.
  • the character information 50B is stored for each character in association with the character ID of the character.
  • the character information 50B includes, for example, the name and image of the character, ability parameter information, rarity, and addition time. This character information 50B is updated from time to time by game update (version upgrade or update) by the game operator.
  • the ability parameter information includes the initial value and maximum value of each ability parameter of the character.
  • Rarity includes numbers from 1 to 6, for example. This number may be indicated, for example, by the number of stars. A character with a high rarity is set with an ability parameter or the like that is advantageous in a game event (for example, a quest).
  • the time of addition includes, for example, the date the character was newly added due to the game update (the date the game was updated). For example, the addition time for a certain character is October 1, 2021. It should be noted that the timing of addition of characters existing from the start of operation of the game includes the date of start of operation.
  • the lottery game information 50C is stored for each lottery game in association with the lottery game ID of the lottery game.
  • the lottery game information 50C includes lottery game names, prices, lottery target information, and the like.
  • the consideration includes the number of currency items (paid items or free items) required to execute one lottery.
  • the consideration for the first lottery game is five paid items or five free items.
  • the consideration for the second lottery game is two paid items or two free items.
  • the consideration for the third lottery game is one paid item or one free item.
  • the lottery target information includes the character ID of each character that constitutes the lottery target character group that is the lottery target of the lottery game, and the appearance frequency (weight) associated with the character ID.
  • the appearance frequency includes a numerical value from 1 to 10, for example.
  • a low numerical value is set for a character with a high rarity
  • a high numerical value is set for a character with a low rarity.
  • the appearance frequency may be set to different numerical values for characters of the same rarity (for example, rarity 6).
  • the lottery probability of one character is a value obtained by dividing the appearance frequency set for the one character by the total value of the appearance frequencies set for each character constituting the lottery target character group. Specifically, when the appearance frequency set for one character is 2 and the total value of the appearance frequencies set for each character constituting the lottery target character group is 400, the lottery for the character is performed. The probability is 2/400 (0.5%).
  • the quest information 50D is stored for each quest in association with the quest ID of the quest.
  • the quest information 50D includes quest names, consumption stamina values, enemy character information, clear reward information, and the like.
  • the consumed stamina value includes the value required to execute the quest.
  • the consumed stamina value is consumed from the player's current stamina value.
  • Consumption stamina value includes a high value, for example, so that the difficulty of a quest is high.
  • Enemy character information includes the character ID and ability parameters of each enemy character that appears in the quest. This enemy character includes a boss character that appears at the end of the quest.
  • the clear reward information includes the number of free items and coins that can be obtained when clearing the quest for the first time, the character ID and drop rate of characters that can be obtained, player experience points, etc.
  • a drop rate is a probability that a player acquires an obtainable character. In the first embodiment, the higher the difficulty of the quest, the higher the drop rate.
  • the consumption means 52 are functional means for consuming currency items owned by the player.
  • the consumption means 52 consumes one or more currency items owned by the player in response to the player's request to execute the lottery game. For example, if the player owns both paid items and free items, the consumption means 52 preferentially consumes the free items. Also, for example, when consuming the paid items owned by the player, the consuming means 52 consumes the paid items in order from the earliest acquisition time. Also, for example, when consuming free items owned by the player, the consuming means 52 consumes the free items in ascending order of acquisition time.
  • the consumption means 52 when three free items are consumed in response to a player's execution request for a lottery game, the consumption means 52 reduces the number of free items by 3 in the possessed item information and corresponds to each of the three free items. Delete the acquisition time to Further, for example, when two paid items are consumed in response to a player's execution request for a lottery game, the consumption means 52 reduces the number of paid items by 2 in the possessed item information and corresponds to each of the two paid items. Delete the acquisition time to
  • the control means 54 is functional means for controlling the entire game.
  • the control means 54 causes the player to acquire a charged item through a purchase procedure, or causes the player to acquire a free item through game execution.
  • the control means 54 updates the possessed item information in the player information 50A when allowing the player to acquire currency items.
  • the control means 54 increases the number of paid items by 5 in the possessed item information, and adds a corresponding item to each of the five paid items. Store the current date in Acquisition Time.
  • the control means 54 increases the number of free items by 3 in the possessed item information, and at acquisition times corresponding to each of the three free items. , to store the current date.
  • the control means 54 executes a lottery game in which one or a plurality of characters drawn from a character group for lottery are provided to the player in response to consumption of currency items by the consumption means 52. . Further, the control means 54 preferentially executes the lottery game according to the acquisition timing of the currency items consumed by the consumption means 52 . Specifically, the control means 54 makes it easier than usual to provide one or more specific characters (specific content), or increases the number of characters to be provided, depending on when the consumed currency item is acquired. , and provide additional content. Examples of the specific character include a character with a high rarity that is newly added due to a game update after a predetermined period of time, which will be described later. Specific examples of preferential treatment are described below.
  • (1) Raising the Lottery Probability of Specific Characters For example, as a preferential treatment, it is possible to increase the lottery probability corresponding to a specific character (specific content) with a high rarity included in the lottery target character group (lottery target content group) of the lottery game. mentioned. Specifically, the control means 54 increases by 2 the appearance frequency (weight) of each of the specific characters whose rarity is 6 included in the lottery target character group of the lottery game.
  • control means 54 increases the number of lotteries by a predetermined number (eg, 1) and increases the number of characters to be provided to the player by the predetermined number (eg, 1).
  • providing additional content may be given as preferential treatment.
  • the control means 54 provides additional content (bonus content) to the player in addition to the character drawn by lottery.
  • control means 54 preferentially executes the lottery game when the acquisition time of the currency item consumed by the consumption means 52 is after the predetermined time or before the predetermined time.
  • This predetermined time may be, for example, one day before (for example, October 30, 2021) or ten days before (for example, October 31, 2021) counting from the consumption time when the currency item was consumed (for example, October 31, 2021). month 21), 20 days ago (eg October 11, 2021), 30 days ago (eg October 1, 2021), 3 months ago (eg July 31, 2021), and the like.
  • Preferential treatment when it is after a predetermined time the control unit 54 gives preferential treatment to the execution of the lottery game when the acquisition time of the consumed currency item is after a predetermined time. Specifically, the control means 54 does not give preferential treatment to the execution of the lottery game when the acquisition time of the consumed currency item is before a predetermined time (for example, October 11, 2021). If it is after the predetermined time, preferential treatment is given to the execution of the lottery game.
  • the control means 54 controls the lottery game give preferential treatment to the execution of In addition, the control means 54 gives preferential treatment to the execution of the lottery game as the acquisition time of the consumed currency item is newer (closer to the consumption time).
  • the control means 54 increases the appearance frequency (weight) of the specific character included in the lottery target character group by 5.
  • the control means 54 increases the appearance frequency (weight) of the specific character included in the lottery target character group by 3.
  • the control means 54 increases the appearance frequency (weight) of the specific character included in the lottery target character group by 2.
  • the control means 54 preferentially executes the lottery game when the consumed currency item is acquired before the predetermined time. Specifically, the control means 54 does not give preferential treatment to the execution of the lottery game when the consumed currency item is acquired after a predetermined time (for example, July 31, 2021). If it is earlier than that, preferential treatment is given to the execution of the lottery game. That is, when the acquisition time of the consumed currency item and the consumption time when the currency item was consumed (for example, October 31, 2021) are separated (when the acquisition time is old), Favor the execution of lottery games. In addition, the control means 54 gives preferential treatment to the execution of the lottery game as the acquisition time of the consumed currency item is older (farther from the consumption time).
  • the control means 54 adds one type of specific character to the lottery target character group, and adds the one type of specific character. Set the appearance frequency (weight) to 1.
  • the control means 54 adds two types of specific characters to the lottery target character group, and the frequency of appearance of the two types of specific characters ( weight) to 2 respectively.
  • the control means 54 adds three types of specific characters to the lottery target character group, and sets the appearance frequency (weight) of each of the three types of specific characters to Set 3.
  • control means 54 preferentially executes the lottery game according to the acquisition timing of each of the currency items.
  • the control means 54 preferentially executes the lottery game according to the latest acquisition time among the acquisition times of the plurality of consumed currency items. Specifically, when five currency items are consumed by the execution request of the lottery game, the control means 54 determines whether or not the latest acquisition time among acquisition times of each of the five currency items is after a predetermined time. Execution of the lottery game is given preferential treatment depending on the situation. Also, for example, the control means 54 gives preferential treatment to the execution of the lottery game as the latest acquisition time of the acquisition times of the five currency items is closer (newer) to the consumption time. Note that the control means 54 may give preferential treatment to the execution of the lottery game as the latest acquisition time among the acquisition times of the five currency items is farther (older) from the consumption time.
  • the control means 54 preferentially executes the lottery game according to the oldest acquisition time among the acquisition times of the plurality of consumed currency items. Specifically, when five currency items are consumed by the execution request of the lottery game, the control means 54 determines whether or not the oldest acquisition time among acquisition times of each of the five currency items is after a predetermined time. Execution of the lottery game is given preferential treatment depending on the situation. Also, for example, the control means 54 gives preferential treatment to the execution of the lottery game as the oldest acquisition time among the acquisition times of the five currency items is farther (older) from the consumption time. Note that the control means 54 may give preferential treatment to the execution of the lottery game as the oldest acquisition time of the five currency items is closer (newer) to the consumption time.
  • the control means 54 preferentially executes the lottery game according to the statistical information of the acquisition timing of each of the plurality of consumed currency items. Specifically, when five currency items are consumed by the execution request of the lottery game, the control means 54 controls statistical information (for example, average value, median value, mode value etc.) is after a predetermined time, preferential treatment is given to the execution of the lottery game. Also, for example, the control means 54 gives preferential treatment to the execution of the lottery game as the statistical information of the acquisition time of each of the five currency items is closer (newer) to the consumption time. The control means 54 may give preferential treatment to the execution of the lottery game as the statistical information of the acquisition time of each of the five currency items is farther (older) from the consumption time.
  • statistical information for example, average value, median value, mode value etc.
  • FIG. 5 is a flowchart showing an example of the flow of processing performed by each functional means shown in FIG. 4 in the game system according to the first embodiment. Further, the processing of the following steps is started, for example, at the timing when the player selects the first lottery game (lottery game A) in the lottery game menu. Note that the order and contents of the following steps can be changed as appropriate.
  • first lottery game lottery game A
  • Step SP10 The control means 54 causes the touch panel 32 to display the execution screen of the lottery game (first lottery game).
  • FIG. 6 is a diagram showing an example of a lottery game execution screen 60 according to the first embodiment.
  • the execution screen 60 is provided with a lottery target information area 62, a provision ratio button 64, and an execution button 66.
  • the lottery target information area 62 displays a specific character (feature character) included in the lottery target character group of the lottery game (first lottery game). Further, the lottery target information area 62 indicates that the execution of the lottery game is preferentially treated when the average acquisition time of the consumed currency item is new.
  • the offer rate button 64 is a button for transitioning to a screen showing the names, rarities, and lottery probabilities of the characters constituting the lottery target character group of the lottery game.
  • the execution button 66 is a button for requesting execution of the lottery game (first lottery game).
  • the execution button 66 has, for example, two types of buttons, and the player can select the number of lottery times (for example, 1 or 10 times) to request execution with each button.
  • Step SP12 The control means 54 determines whether or not there is a request from the player to execute the lottery game (first lottery game). For example, the control means 54 determines whether or not the player presses the execution button of the lottery game. Then, when the determination is affirmative, the process proceeds to step SP14. On the other hand, if the determination is negative, the process ends the series of processes shown in FIG.
  • the consumption means 52 refers to the price of the lottery game information 50C, and acquires the number of currency items (eg, 5) to be consumed according to the number of times (eg, 1) of the lottery requested to be executed in step SP12. Subsequently, the consumption means 52 refers to the possessed item information of the player information 50A and obtains the acquisition time of each currency item to be consumed. Specifically, the consuming means 52 acquires acquisition timings of three free items and two paid items owned by the player. Then, the process shifts to the process of step SP16.
  • Step SP16 The consumption means 52 consumes the number of currency items to be consumed obtained in step SP14. For example, the consumption means 52 reduces the number of free items by 3 and the number of paid items by 2 in the possessed item information of the player information 50A. Subsequently, the consumption means 52 deletes the acquisition time corresponding to each of the three free items and the acquisition time corresponding to each of the two free items from the possessed item information of the player information 50A. Then, the process shifts to the process of step SP18.
  • Step SP18 The control means 54 determines whether or not the average value of acquisition times of the currency items to be consumed acquired in step SP14 is after a predetermined time (for example, 30 days before the current time). Then, when the determination is affirmative, the process proceeds to step SP20. On the other hand, if the determination is negative, the process proceeds to step SP22.
  • a predetermined time for example, 30 days before the current time
  • Step SP20 The control means 54 preferentially executes the lottery game.
  • the control means 54 increases the lottery probability corresponding to a specific character with a high rarity included in the lottery target character group in the first lottery game.
  • the control means 54 increases the appearance frequency (weight) of each specific character with a rarity of 6 by 2 in the lottery target information of the lottery game information 50C.
  • This specific character is, for example, a character newly added due to a game update after a predetermined period of time.
  • the control means 54 initializes the appearance frequency of the specific character in the lottery target information. Then, the process shifts to the process of step SP22.
  • Step SP22 The control means 54 draws the same number of characters (for example, 1 character) as the number of times of drawing requested in step SP12 (for example, 1) from the lottery object character group in the lottery game (first lottery game). For example, the control means 54 refers to the lottery target information of the lottery game information 50C, and draws a character according to the lottery probability of each character constituting the lottery target character group. Then, the process shifts to the process of step SP24.
  • Step SP24 The control means 54 provides the player with the character drawn in step SP22. For example, the control means 54 adds the drawn character to the possessed character information in the player information 50A. Then, the process shifts to the process of step SP26.
  • Step SP26 The control means 54 causes the touch panel 32 to display the result screen including the character provided in step SP24.
  • FIG. 7 is a diagram showing an example of a result screen 70 according to the first embodiment.
  • the result screen 70 is provided with a result information area 72 and a return button 74.
  • the result information area 72 characters drawn by lottery are displayed. Further, the result information area 72 indicates that the execution of the lottery game (first lottery game) is preferentially treated when the consumed currency item is acquired after a predetermined period of time.
  • the return button 74 is a button for returning to the execution screen of the lottery game (first lottery game).
  • a program for executing a lottery game in which a player acquires a currency item, consumes the currency item, and provides the player with content selected by lottery from a group of lottery target content, storage means 50 for storing acquisition time when the player acquires the currency item; consumption means 52 for consuming the currency item owned by the player in accordance with the execution request of the lottery game; It functions as a control means 54 that gives preferential treatment to the execution of the lottery game.
  • the execution of the lottery game is preferentially treated according to the acquisition time when the player acquires the currency item. Consumable benefits can be given. As a result, the player can be sufficiently motivated to acquire currency items.
  • control means 54 preferentially executes the lottery game when the acquisition time is after the predetermined time.
  • control means 54 gives preferential treatment to the execution of the lottery game as the acquisition time is newer.
  • control means 54 preferentially executes the lottery game when the acquisition time is earlier than the predetermined time.
  • the acquisition time is earlier than the predetermined time
  • the execution of the lottery game is preferentially treated, so it is possible to give the player the advantage of holding currency items for a long period of time. Therefore, it is possible to motivate players who have not consumed currency items for a long period of time to execute the lottery game, thereby activating the game.
  • control means 54 gives preferential treatment to the execution of the lottery game as the acquisition time is older.
  • control means 54 when a plurality of currency items are consumed, the control means 54 preferentially executes the lottery game according to the latest acquisition time among the acquisition times of the respective currency items.
  • the player who owns a plurality of currency items is more likely to receive the currency item. Strategicity can be given as to whether the currency item should be held for a long period of time or whether the currency item should be consumed early. Also, it is possible to prompt the player to collectively consume a plurality of currency items.
  • control means 54 when a plurality of currency items are consumed, the control means 54 preferentially executes the lottery game according to the oldest acquisition time among the acquisition times of the respective currency items.
  • the player who owns a plurality of currency items is more likely to receive the currency item. Strategicity can be given as to whether the currency item should be held for a long period of time or whether the currency item should be consumed early. Also, it is possible to prompt the player to collectively consume a plurality of currency items.
  • control means 54 when a plurality of currency items are consumed, the control means 54 preferentially executes the lottery game according to the statistical information of the acquisition time of each currency item.
  • preferential treatment is to increase the lottery probability corresponding to specific content with high rarity included in the lottery target content group.
  • preferential treatment is to add specific content with high rarity to the lottery target content group.
  • the specific content is content newly added due to a game update after a predetermined period of time.
  • currency items include paid items that can be acquired through purchase procedures and free items that can be acquired through game execution.
  • the player when a player acquires a paid item through a purchase procedure or acquires a free item by executing a game, the player can benefit from holding the paid item or the free item for a long period of time. , the merit of quickly consuming the paid item or the free item can be given. As a result, the player can be sufficiently motivated to acquire paid items and free items, and the game can be activated.
  • the consumption means 52 consumes the currency item owned by the player in response to the recovery process execution request, and the control means 54 preferentially executes the recovery process for recovering the current stamina value. It differs from the first embodiment.
  • the configuration and functions of the game system according to the second embodiment, which are not described below, are the same as those of the game system according to the first embodiment.
  • the consumption means 52 consumes one or more currency items owned by the player in response to the player's request to execute recovery processing for recovering the current stamina value.
  • the consumption means 52 when the player consumes two free items in response to a recovery request to restore the current stamina value, the consumption means 52 reduces the number of free items by 2 in the possessed item information, and reduces the number of free items by 2. Delete the acquisition time corresponding to each of the free items. Further, for example, when one paid item is consumed in response to a player's request to execute recovery processing for recovering the current stamina value, the consumption means 52 reduces the number of paid items by 1 in the possessed item information and Delete the acquisition time corresponding to each paid item.
  • control means 54 executes recovery processing for recovering the current stamina value associated with the player in response to the consumption of currency items by the consumption means 52 . Also, the control means 54 preferentially executes the recovery process according to the acquisition timing of the currency item consumed by the consumption means 52 . Specific examples of preferential treatment are described below.
  • (1) Increase the recovery amount For example, as a preferential treatment, it is possible to increase the recovery amount of the current stamina value. Specifically, the control means 54 increases the recovery amount of the current stamina value to twice (eg, 20) the normal (eg, 10).
  • the preferential treatment includes recovering the current stamina beyond the upper limit of stamina associated with the player.
  • the control means 54 allows the current stamina value to exceed the stamina upper limit value due to the execution of the recovery process.
  • providing additional content may be given as preferential treatment.
  • the control means 54 provides additional content (bonus content) to the player in addition to executing recovery processing.
  • control means 54 preferentially executes the recovery process when the acquisition time is after the predetermined time or before the predetermined time.
  • a specific example in which the control means 54 preferentially executes the recovery process according to the acquisition time will be described below.
  • the control means 54 gives preferential treatment to the execution of the recovery process when the consumed currency item is acquired after a predetermined time. Specifically, the control means 54 does not give preferential treatment to the execution of the recovery process when the consumed currency item is acquired before a predetermined time (for example, October 11, 2021), and the acquisition time is If it is after the predetermined time, preferential treatment is given to the execution of the recovery process. That is, the control means 54 preferentially executes the recovery process when the acquisition time of the consumed currency item is close to the consumption time of the currency item (for example, October 31, 2021).
  • control means 54 gives preferential treatment to the execution of the recovery process as the acquisition time of the consumed currency item is newer (closer to the consumption time). Specifically, when the acquisition time is from October 25, 2021 to October 31, 2021, the control means 54 quadruples the normal recovery amount (eg, 10). Further, when the acquisition time is from October 18 to October 24, 2021, the control means 54 triples the normal recovery amount (eg, 10). Also, when the acquisition time is from October 11, 2021 to October 17, 2021, the control means 54 doubles the normal recovery amount (eg, 10).
  • the control means 54 gives preferential treatment to the execution of the recovery process when the consumed currency item is acquired before the predetermined time. Specifically, the control means 54 does not give preferential treatment to the execution of the recovery process when the consumed currency item is obtained after a predetermined period of time (for example, July 31, 2021). If it is earlier than the time, preferential treatment is given to the execution of recovery processing. That is, the control means 54 preferentially executes the recovery process when the acquisition time of the consumed currency item is different from the consumption time (for example, October 31, 2021) when the currency item is consumed. . In addition, the control means 54 gives preferential treatment to the execution of the recovery process as the acquisition time of the consumed currency item is older (farther from the consumption time).
  • control means 54 doubles the normal recovery amount (eg, 10) when the acquisition time is from July 1, 2021 to July 31, 2021. Also, when the acquisition time is from June 1 to June 30, 2021, the control means 54 triples the normal recovery amount (eg, 10). Also, if the acquisition time is before May 31, 2021, the control means 54 quadruples the normal recovery amount (for example, 10).
  • control means 54 preferentially executes the recovery process according to the acquisition time of each currency item.
  • control means 54 preferentially executes the recovery process according to the latest acquisition time among the acquisition times of the respective currency items. Specifically, when five currency items are consumed by the recovery processing request, the control means 54 determines whether or not the latest acquisition time among acquisition times of each of the five currency items is after a predetermined time. to prioritize the execution of recovery actions. Also, for example, the control means 54 gives preferential treatment to the execution of the recovery process when the latest acquisition time of the acquisition times of the five currency items is closer (newer) to the consumption time. Note that the control means 54 may preferentially execute the recovery process when the latest acquisition time of the acquisition times of the five currency items is farther (older) from the consumption time.
  • control means 54 preferentially executes the recovery process according to the oldest acquisition time among the acquisition times of the respective currency items. Specifically, when five currency items are consumed by the recovery processing request, the control means 54 determines whether or not the oldest acquisition time of the five currency items is after a predetermined time. to prioritize the execution of recovery actions. Also, for example, the control means 54 gives preferential treatment to the execution of the recovery process as the oldest acquisition time among the acquisition times of the five currency items is farther (older) from the consumption time. Note that the control means 54 may give preferential treatment to the execution of the recovery process when the oldest acquisition time of each of the five currency items is closer (newer) to the consumption time.
  • control means 54 preferentially executes the recovery process according to the statistical information of the acquisition time of each currency item. Specifically, when five currency items are consumed by the recovery processing request, the control means 54 stores statistical information (for example, average value, median value, mode value, etc.) of acquisition timing of each of the five currency items. Execution of recovery processing is preferentially treated according to whether or not is after a predetermined time. Also, for example, the control means 54 gives preferential treatment to the execution of the recovery process when the statistical information of the acquisition time of each of the five currency items is closer (newer) to the consumption time. Note that the control means 54 may preferentially execute the recovery process as the statistical information of the acquisition time of each of the five currency items is farther (older) from the consumption time.
  • statistical information for example, average value, median value, mode value, etc.
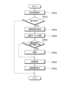
  • FIG. 8 is a flowchart showing an example of the flow of processing performed by each functional means in the game system according to the second embodiment. Further, the processing of the following steps is started, for example, when the player selects the recovery menu for the current stamina value. Note that the order and contents of the following steps can be changed as appropriate.
  • Step SP30 The control means 54 causes the touch panel 32 to display an execution screen for executing recovery processing of the current stamina value.
  • FIG. 9 is a diagram showing an example of a recovery processing execution screen 80 according to the second embodiment.
  • the execution screen 80 is provided with a currency item information area 82, a consumption number selection button 84, and an execution button 86.
  • the currency item information area 82 displays illustrations of currency items, the number of currency items consumed, the number of changes in the current stamina value, and the like. Also, in the currency item information area 82, it is indicated that the execution of the recovery process is preferentially treated when the average acquisition time of the consumed currency item is old.
  • the consumption number selection button 84 is a button for selecting the number (eg, 1 to 10) to consume the currency item. With this consumption number selection button 84, for example, the number of currency items to be consumed can be selected in a pull-down format.
  • the execute button 86 is a button for requesting execution of recovery processing for consuming the selected number of currency items and recovering the current stamina value.
  • Step SP32 The control means 54 determines whether or not the player has issued an execution request to execute recovery processing. For example, the control unit 54 determines whether or not the player has pressed a recovery process execution button. Then, when the determination is affirmative, the process proceeds to step SP34. On the other hand, if the determination is negative, the process ends the series of processes shown in FIG.
  • Step SP34 The consumption means 52 acquires the number of currency items to be consumed (for example, 5) selected on the execution screen. Subsequently, the consumption means 52 refers to the possessed item information of the player information 50A and obtains the acquisition time of each currency item to be consumed. Specifically, the consuming means 52 acquires acquisition timings of three free items and two paid items owned by the player. Then, the process shifts to the process of step SP36.
  • Step SP36 The consumption means 52 consumes the number of currency items to be consumed obtained in step SP34. For example, the consumption means 52 reduces the number of free items by 3 and the number of paid items by 2 in the possessed item information of the player information 50A. Subsequently, the consumption means 52 deletes the acquisition time corresponding to each of the three free items and the acquisition time corresponding to each of the two free items from the possessed item information of the player information 50A. Then, the process shifts to the process of step SP38.
  • Step SP38 The control means 54 determines whether or not the average value of acquisition times of the currency items to be consumed acquired in step SP34 is earlier than a predetermined time (for example, 30 days before the current time). Then, when the determination is affirmative, the process proceeds to step SP40. On the other hand, if the determination is negative, the process proceeds to step SP42.
  • a predetermined time for example, 30 days before the current time
  • Step SP40 The control means 54 preferentially executes recovery processing. For example, the control means 54 increases the recovery amount of the current stamina value. Specifically, the control means 54 increases (raises) the stamina recovery amount of the stamina information in the player information 50A by 2. That is, the control means 54 normally restores the current stamina value by 10 per currency item, but sets the current stamina value to be restored by 12 per currency item. It should be noted that the control means 54 initializes the stamina recovery amount when the execution of the recovery process is completed. Then, the process shifts to the process of step SP42.
  • Step SP42 The control means 54 restores the current stamina value associated with the player. For example, the control means 54 sets the current stamina value of the stamina information in the player information 50A to the number of currency items consumed in step SP36 (eg, 5) and the stamina recovery amount (eg, 12) of the stamina information in the player information 50A. is added (for example, 60). Then, the process moves to the process of step SP44.
  • Step SP44 The control means 54 causes the touch panel 32 to display a result screen including the current stamina value recovered in step SP42.
  • FIG. 10 is a diagram showing an example of the result screen 90 according to the second embodiment.
  • the result screen 90 is provided with a result information area 92 and a return button 94.
  • a result information area 92 displays the current stamina value recovered by executing the recovery process. Also, in the result information area 92, it is indicated that the execution of the recovery process is preferentially treated when the consumed currency item is acquired before the predetermined time.
  • the return button 94 is a button for returning to the execution screen for executing recovery processing of the current stamina value.
  • the program executes a recovery process for allowing the player to acquire currency items, consume the currency items, and recover the current stamina value associated with the player.
  • Storage means 50 for storing the acquisition time when the player acquires the currency item
  • Consumption means 52 for consuming the currency item owned by the player in response to the recovery process execution request
  • Recovery according to the acquisition time of the consumed currency item It functions as a control means 54 that prioritizes the execution of processing.
  • the execution of recovery processing for recovering the current stamina value is given preferential treatment according to the time when the player acquired the currency item. , can give the advantage of consuming currency items early. As a result, the player can be sufficiently motivated to acquire currency items.
  • control means 54 preferentially executes the recovery process when the acquisition time is after the predetermined time.
  • the acquisition time is after the predetermined time
  • the execution of the recovery process is preferentially treated, so it is possible to give the player the advantage of quickly consuming the currency item. Therefore, the player who has acquired the currency item can be motivated to perform the recovery process early, and the game can be activated. In addition, the game operator can reduce the burden of long-term management of the currency items owned by the players.
  • control means 54 gives preferential treatment to the execution of the recovery process as the acquisition time is newer.
  • control means 54 preferentially executes recovery processing when the acquisition time is earlier than the predetermined time.
  • control means 54 gives preferential treatment to the execution of the recovery process as the acquisition time is older.
  • the older the acquisition time the more preferential treatment is given to the execution of the recovery process, so it is possible to give the player the advantage of holding the currency item for a longer period of time. Therefore, the player who has not consumed the currency item for a long period of time can be sufficiently motivated to perform the recovery process, thereby revitalizing the game.
  • control means 54 when a plurality of currency items are consumed, the control means 54 preferentially executes the recovery process according to the latest acquisition time among the acquisition times of the respective currency items.
  • the player who owns a plurality of currency items is more likely to receive the currency item. Strategicity can be given as to whether the currency item should be held for a long period of time or whether the currency item should be consumed early. Also, it is possible to prompt the player to collectively consume a plurality of currency items.
  • control means 54 when a plurality of currency items are consumed, the control means 54 preferentially executes the recovery process according to the oldest acquisition time among the acquisition times of the respective currency items.
  • control means 54 when a plurality of currency items are consumed, the control means 54 preferentially executes the recovery process according to the statistical information of the acquisition time of each currency item.
  • the preferential treatment is to increase the recovery amount of the current stamina value.
  • the recovery amount of the current stamina value increases according to the acquisition time when the player acquires the currency item. can give benefits to consume.
  • the preferential treatment is to recover the current stamina value beyond the stamina upper limit value associated with the player.
  • the current stamina value exceeds the stamina upper limit value and recovers according to the acquisition time when the player acquires the currency item. You can give the merit of consuming items early.
  • currency items include paid items that can be acquired through purchase procedures and free items that can be acquired through game execution.
  • the player when a player acquires a paid item through a purchase procedure or acquires a free item by executing a game, the player can benefit from holding the paid item or the free item for a long period of time. , the merit of quickly consuming the paid item or the free item can be given. As a result, the player can be sufficiently motivated to acquire paid items and free items, and the game can be activated.
  • the consumption means 52 when the player owns both paid items and free items, the consumption means 52 preferentially consumes the free items. may Also, when the consuming means 52 consumes the paid items owned by the player, it has been described that the paid items are consumed in order from the earliest acquired time, but the consuming means 52 may consume the paid items in the latest acquired time. Also, when the consuming means 52 consumes the free items owned by the player, the explanation has been given for the case where the free items that were acquired earlier are consumed first.
  • the predetermined time is, for example, a past date (eg, 30 days before the present) calculated from the consumption time (current) when the currency item was consumed.
  • a past date eg, 30 days before the present
  • the consumption time current
  • the game operator for example, September 1, 2021.
  • the case where the execution screen indicates that the execution of the lottery game or the recovery process is given preferential treatment according to the acquisition time of the currency item to be consumed has been explained.
  • the acquisition timing of the currency item to be consumed, and the preferential treatment according to the acquisition timing may be represented.
  • the acquisition time of each currency item owned by the player may be viewed on a screen other than the execution screen (for example, a screen showing currency items owned by the player).
  • control means 54 gives preferential treatment to the execution of the lottery game or the recovery process according to the acquisition timing of the consumed currency item.
  • Preferential treatment may be given in each game item in which items can be consumed (for example, continued quests, expansion of the maximum number of characters owned, expansion of the maximum number of friends, etc.).
  • the control means 54 preferentially increases the ability parameters (for example, hit points, offensive power, defensive power, etc.) of the organized characters.
  • the control unit 54 gives preferential treatment to increase the number to be increased more than usual when increasing the upper limit number of owned characters and the upper limit number of friends.
  • control means 54 may differentiate the value of the first currency item acquired after a predetermined time and the value of the second currency item acquired before the predetermined time. Specifically, the control means 54 may treat the value of the first currency item as double the value of the second currency item. Similarly, the control means 54 may treat the value of the second currency item as double the value of the first currency item.
  • the stamina recovery amount of the stamina information in the player information 50A is, for example, 10 has been described, but it may be a value corresponding to the upper limit of stamina.
  • the stamina upper limit the same number as the stamina upper limit, half of the stamina upper limit, or the like can be mentioned.
  • the stamina recovery amount may be a fixed value common to each player. That is, the stamina recovery amount may not increase with the player's player rank.
  • the content is a character
  • it may be various items such as weapons and armor, cards, avatars, coins, points, and the like.

Landscapes

  • Engineering & Computer Science (AREA)
  • Multimedia (AREA)
  • Business, Economics & Management (AREA)
  • Computer Security & Cryptography (AREA)
  • General Business, Economics & Management (AREA)
  • Theoretical Computer Science (AREA)
  • Human Computer Interaction (AREA)
  • Management, Administration, Business Operations System, And Electronic Commerce (AREA)
PCT/JP2022/041622 2021-11-15 2022-11-08 プログラム及び情報処理装置 Ceased WO2023085291A1 (ja)

Applications Claiming Priority (2)

Application Number Priority Date Filing Date Title
JP2021185561A JP7143928B1 (ja) 2021-11-15 2021-11-15 プログラム及び情報処理装置
JP2021-185561 2021-11-15

Publications (1)

Publication Number Publication Date
WO2023085291A1 true WO2023085291A1 (ja) 2023-05-19

Family

ID=83446901

Family Applications (1)

Application Number Title Priority Date Filing Date
PCT/JP2022/041622 Ceased WO2023085291A1 (ja) 2021-11-15 2022-11-08 プログラム及び情報処理装置

Country Status (2)

Country Link
JP (3) JP7143928B1 (enExample)
WO (1) WO2023085291A1 (enExample)

Citations (4)

* Cited by examiner, † Cited by third party
Publication number Priority date Publication date Assignee Title
JP2016140675A (ja) * 2015-02-04 2016-08-08 株式会社セガゲームス ゲーム装置、プログラム、及び業務用ゲーム装置
JP2018057457A (ja) * 2016-09-30 2018-04-12 株式会社バンダイナムコエンターテインメント ゲームシステム、仮想通貨処理システム及びプログラム
JP2020048813A (ja) * 2018-09-26 2020-04-02 株式会社コロプラ ゲームプログラム、方法、および情報処理装置
JP2021019803A (ja) * 2019-07-26 2021-02-18 株式会社ポケモン ゲームプログラム、方法、情報処理装置

Family Cites Families (2)

* Cited by examiner, † Cited by third party
Publication number Priority date Publication date Assignee Title
JP6617813B1 (ja) 2018-10-08 2019-12-11 株式会社セガゲームス プログラム及び情報処理装置
JP6614377B1 (ja) 2019-03-01 2019-12-04 株式会社セガゲームス 情報処理装置及びプログラム

Patent Citations (4)

* Cited by examiner, † Cited by third party
Publication number Priority date Publication date Assignee Title
JP2016140675A (ja) * 2015-02-04 2016-08-08 株式会社セガゲームス ゲーム装置、プログラム、及び業務用ゲーム装置
JP2018057457A (ja) * 2016-09-30 2018-04-12 株式会社バンダイナムコエンターテインメント ゲームシステム、仮想通貨処理システム及びプログラム
JP2020048813A (ja) * 2018-09-26 2020-04-02 株式会社コロプラ ゲームプログラム、方法、および情報処理装置
JP2021019803A (ja) * 2019-07-26 2021-02-18 株式会社ポケモン ゲームプログラム、方法、情報処理装置

Also Published As

Publication number Publication date
JP2023073201A (ja) 2023-05-25
JP2023072866A (ja) 2023-05-25
JP7622713B2 (ja) 2025-01-28
JP7143928B1 (ja) 2022-09-29
JP2025061234A (ja) 2025-04-10

Similar Documents

Publication Publication Date Title
JP6624329B1 (ja) 情報処理装置及びプログラム
US12434144B2 (en) Recording medium and information processing device that present information for utilizing updated contents
JP6769572B1 (ja) プログラム及び情報処理装置
US20240296720A1 (en) Recording medium and information processing device
JP2023105137A (ja) 情報処理装置及びプログラム
JP2025159034A (ja) プログラム及び情報処理装置
JP7147951B1 (ja) プログラム及び情報処理装置
JP2021084015A (ja) プログラム及び情報処理装置
JP2025123265A (ja) プログラム及び情報処理装置
JP6703235B1 (ja) プログラム及び情報処理装置
JP6703234B1 (ja) プログラム及び情報処理装置
JP7501765B2 (ja) プログラム及び情報処理装置
JP7473061B1 (ja) プログラム及び情報処理装置
JP7143928B1 (ja) プログラム及び情報処理装置
JP7302610B2 (ja) 情報処理装置及びプログラム
JP7088373B1 (ja) プログラム及び情報処理装置
JP7074239B1 (ja) プログラム及び情報処理装置
JP7176587B2 (ja) プログラム及び情報処理装置
US20240082717A1 (en) Recording medium and information processing device
JP7491011B2 (ja) プログラム及び情報処理装置
JP2025120255A (ja) プログラム及び情報処理装置
JP2022069700A (ja) プログラム及び情報処理装置
JP2021084014A (ja) プログラム及び情報処理装置

Legal Events

Date Code Title Description
121 Ep: the epo has been informed by wipo that ep was designated in this application

Ref document number: 22892789

Country of ref document: EP

Kind code of ref document: A1

122 Ep: pct application non-entry in european phase

Ref document number: 22892789

Country of ref document: EP

Kind code of ref document: A1