WO2020189784A1 - 熱可塑性フィルム、及び合わせガラス - Google Patents

熱可塑性フィルム、及び合わせガラス Download PDF

Info

Publication number
WO2020189784A1
WO2020189784A1 PCT/JP2020/012513 JP2020012513W WO2020189784A1 WO 2020189784 A1 WO2020189784 A1 WO 2020189784A1 JP 2020012513 W JP2020012513 W JP 2020012513W WO 2020189784 A1 WO2020189784 A1 WO 2020189784A1
Authority
WO
WIPO (PCT)
Prior art keywords
light emitting
laminated glass
thermoplastic film
light
glass
Prior art date
Legal status (The legal status is an assumption and is not a legal conclusion. Google has not performed a legal analysis and makes no representation as to the accuracy of the status listed.)
Ceased
Application number
PCT/JP2020/012513
Other languages
English (en)
French (fr)
Japanese (ja)
Inventor
祐輔 太田
錦良 張
中島 大輔
孝則 濱田
Current Assignee (The listed assignees may be inaccurate. Google has not performed a legal analysis and makes no representation or warranty as to the accuracy of the list.)
Sekisui Chemical Co Ltd
Original Assignee
Sekisui Chemical Co Ltd
Priority date (The priority date is an assumption and is not a legal conclusion. Google has not performed a legal analysis and makes no representation as to the accuracy of the date listed.)
Filing date
Publication date
Application filed by Sekisui Chemical Co Ltd filed Critical Sekisui Chemical Co Ltd
Priority to KR1020217029778A priority Critical patent/KR20210145143A/ko
Priority to CN202080021491.1A priority patent/CN113573890B/zh
Priority to JP2020526637A priority patent/JPWO2020189784A1/ja
Priority to US17/439,192 priority patent/US11801667B2/en
Priority to EP20773804.8A priority patent/EP3943289A4/en
Publication of WO2020189784A1 publication Critical patent/WO2020189784A1/ja
Anticipated expiration legal-status Critical
Ceased legal-status Critical Current

Links

Images

Classifications

    • BPERFORMING OPERATIONS; TRANSPORTING
    • B32LAYERED PRODUCTS
    • B32BLAYERED PRODUCTS, i.e. PRODUCTS BUILT-UP OF STRATA OF FLAT OR NON-FLAT, e.g. CELLULAR OR HONEYCOMB, FORM
    • B32B27/00Layered products comprising a layer of synthetic resin
    • B32B27/18Layered products comprising a layer of synthetic resin characterised by the use of special additives
    • B32B27/20Layered products comprising a layer of synthetic resin characterised by the use of special additives using fillers, pigments, thixotroping agents
    • BPERFORMING OPERATIONS; TRANSPORTING
    • B32LAYERED PRODUCTS
    • B32BLAYERED PRODUCTS, i.e. PRODUCTS BUILT-UP OF STRATA OF FLAT OR NON-FLAT, e.g. CELLULAR OR HONEYCOMB, FORM
    • B32B17/00Layered products essentially comprising sheet glass, or glass, slag, or like fibres
    • B32B17/06Layered products essentially comprising sheet glass, or glass, slag, or like fibres comprising glass as the main or only constituent of a layer, next to another layer of a specific material
    • B32B17/10Layered products essentially comprising sheet glass, or glass, slag, or like fibres comprising glass as the main or only constituent of a layer, next to another layer of a specific material of synthetic resin
    • B32B17/10005Layered products essentially comprising sheet glass, or glass, slag, or like fibres comprising glass as the main or only constituent of a layer, next to another layer of a specific material of synthetic resin laminated safety glass or glazing
    • B32B17/1055Layered products essentially comprising sheet glass, or glass, slag, or like fibres comprising glass as the main or only constituent of a layer, next to another layer of a specific material of synthetic resin laminated safety glass or glazing characterized by the resin layer, i.e. interlayer
    • B32B17/10651Layered products essentially comprising sheet glass, or glass, slag, or like fibres comprising glass as the main or only constituent of a layer, next to another layer of a specific material of synthetic resin laminated safety glass or glazing characterized by the resin layer, i.e. interlayer comprising colorants, e.g. dyes or pigments
    • B32B17/10669Luminescent agents
    • BPERFORMING OPERATIONS; TRANSPORTING
    • B32LAYERED PRODUCTS
    • B32BLAYERED PRODUCTS, i.e. PRODUCTS BUILT-UP OF STRATA OF FLAT OR NON-FLAT, e.g. CELLULAR OR HONEYCOMB, FORM
    • B32B17/00Layered products essentially comprising sheet glass, or glass, slag, or like fibres
    • B32B17/06Layered products essentially comprising sheet glass, or glass, slag, or like fibres comprising glass as the main or only constituent of a layer, next to another layer of a specific material
    • B32B17/10Layered products essentially comprising sheet glass, or glass, slag, or like fibres comprising glass as the main or only constituent of a layer, next to another layer of a specific material of synthetic resin
    • BPERFORMING OPERATIONS; TRANSPORTING
    • B32LAYERED PRODUCTS
    • B32BLAYERED PRODUCTS, i.e. PRODUCTS BUILT-UP OF STRATA OF FLAT OR NON-FLAT, e.g. CELLULAR OR HONEYCOMB, FORM
    • B32B17/00Layered products essentially comprising sheet glass, or glass, slag, or like fibres
    • B32B17/06Layered products essentially comprising sheet glass, or glass, slag, or like fibres comprising glass as the main or only constituent of a layer, next to another layer of a specific material
    • B32B17/10Layered products essentially comprising sheet glass, or glass, slag, or like fibres comprising glass as the main or only constituent of a layer, next to another layer of a specific material of synthetic resin
    • B32B17/10005Layered products essentially comprising sheet glass, or glass, slag, or like fibres comprising glass as the main or only constituent of a layer, next to another layer of a specific material of synthetic resin laminated safety glass or glazing
    • B32B17/10009Layered products essentially comprising sheet glass, or glass, slag, or like fibres comprising glass as the main or only constituent of a layer, next to another layer of a specific material of synthetic resin laminated safety glass or glazing characterized by the number, the constitution or treatment of glass sheets
    • B32B17/10036Layered products essentially comprising sheet glass, or glass, slag, or like fibres comprising glass as the main or only constituent of a layer, next to another layer of a specific material of synthetic resin laminated safety glass or glazing characterized by the number, the constitution or treatment of glass sheets comprising two outer glass sheets
    • BPERFORMING OPERATIONS; TRANSPORTING
    • B32LAYERED PRODUCTS
    • B32BLAYERED PRODUCTS, i.e. PRODUCTS BUILT-UP OF STRATA OF FLAT OR NON-FLAT, e.g. CELLULAR OR HONEYCOMB, FORM
    • B32B17/00Layered products essentially comprising sheet glass, or glass, slag, or like fibres
    • B32B17/06Layered products essentially comprising sheet glass, or glass, slag, or like fibres comprising glass as the main or only constituent of a layer, next to another layer of a specific material
    • B32B17/10Layered products essentially comprising sheet glass, or glass, slag, or like fibres comprising glass as the main or only constituent of a layer, next to another layer of a specific material of synthetic resin
    • B32B17/10005Layered products essentially comprising sheet glass, or glass, slag, or like fibres comprising glass as the main or only constituent of a layer, next to another layer of a specific material of synthetic resin laminated safety glass or glazing
    • B32B17/10165Functional features of the laminated safety glass or glazing
    • B32B17/10541Functional features of the laminated safety glass or glazing comprising a light source or a light guide
    • BPERFORMING OPERATIONS; TRANSPORTING
    • B32LAYERED PRODUCTS
    • B32BLAYERED PRODUCTS, i.e. PRODUCTS BUILT-UP OF STRATA OF FLAT OR NON-FLAT, e.g. CELLULAR OR HONEYCOMB, FORM
    • B32B17/00Layered products essentially comprising sheet glass, or glass, slag, or like fibres
    • B32B17/06Layered products essentially comprising sheet glass, or glass, slag, or like fibres comprising glass as the main or only constituent of a layer, next to another layer of a specific material
    • B32B17/10Layered products essentially comprising sheet glass, or glass, slag, or like fibres comprising glass as the main or only constituent of a layer, next to another layer of a specific material of synthetic resin
    • B32B17/10005Layered products essentially comprising sheet glass, or glass, slag, or like fibres comprising glass as the main or only constituent of a layer, next to another layer of a specific material of synthetic resin laminated safety glass or glazing
    • B32B17/1055Layered products essentially comprising sheet glass, or glass, slag, or like fibres comprising glass as the main or only constituent of a layer, next to another layer of a specific material of synthetic resin laminated safety glass or glazing characterized by the resin layer, i.e. interlayer
    • B32B17/10614Layered products essentially comprising sheet glass, or glass, slag, or like fibres comprising glass as the main or only constituent of a layer, next to another layer of a specific material of synthetic resin laminated safety glass or glazing characterized by the resin layer, i.e. interlayer comprising particles for purposes other than dyeing
    • B32B17/10633Infrared radiation absorbing or reflecting agents
    • BPERFORMING OPERATIONS; TRANSPORTING
    • B32LAYERED PRODUCTS
    • B32BLAYERED PRODUCTS, i.e. PRODUCTS BUILT-UP OF STRATA OF FLAT OR NON-FLAT, e.g. CELLULAR OR HONEYCOMB, FORM
    • B32B17/00Layered products essentially comprising sheet glass, or glass, slag, or like fibres
    • B32B17/06Layered products essentially comprising sheet glass, or glass, slag, or like fibres comprising glass as the main or only constituent of a layer, next to another layer of a specific material
    • B32B17/10Layered products essentially comprising sheet glass, or glass, slag, or like fibres comprising glass as the main or only constituent of a layer, next to another layer of a specific material of synthetic resin
    • B32B17/10005Layered products essentially comprising sheet glass, or glass, slag, or like fibres comprising glass as the main or only constituent of a layer, next to another layer of a specific material of synthetic resin laminated safety glass or glazing
    • B32B17/1055Layered products essentially comprising sheet glass, or glass, slag, or like fibres comprising glass as the main or only constituent of a layer, next to another layer of a specific material of synthetic resin laminated safety glass or glazing characterized by the resin layer, i.e. interlayer
    • B32B17/10651Layered products essentially comprising sheet glass, or glass, slag, or like fibres comprising glass as the main or only constituent of a layer, next to another layer of a specific material of synthetic resin laminated safety glass or glazing characterized by the resin layer, i.e. interlayer comprising colorants, e.g. dyes or pigments
    • BPERFORMING OPERATIONS; TRANSPORTING
    • B32LAYERED PRODUCTS
    • B32BLAYERED PRODUCTS, i.e. PRODUCTS BUILT-UP OF STRATA OF FLAT OR NON-FLAT, e.g. CELLULAR OR HONEYCOMB, FORM
    • B32B17/00Layered products essentially comprising sheet glass, or glass, slag, or like fibres
    • B32B17/06Layered products essentially comprising sheet glass, or glass, slag, or like fibres comprising glass as the main or only constituent of a layer, next to another layer of a specific material
    • B32B17/10Layered products essentially comprising sheet glass, or glass, slag, or like fibres comprising glass as the main or only constituent of a layer, next to another layer of a specific material of synthetic resin
    • B32B17/10005Layered products essentially comprising sheet glass, or glass, slag, or like fibres comprising glass as the main or only constituent of a layer, next to another layer of a specific material of synthetic resin laminated safety glass or glazing
    • B32B17/1055Layered products essentially comprising sheet glass, or glass, slag, or like fibres comprising glass as the main or only constituent of a layer, next to another layer of a specific material of synthetic resin laminated safety glass or glazing characterized by the resin layer, i.e. interlayer
    • B32B17/10678Layered products essentially comprising sheet glass, or glass, slag, or like fibres comprising glass as the main or only constituent of a layer, next to another layer of a specific material of synthetic resin laminated safety glass or glazing characterized by the resin layer, i.e. interlayer comprising UV absorbers or stabilizers, e.g. antioxidants
    • BPERFORMING OPERATIONS; TRANSPORTING
    • B32LAYERED PRODUCTS
    • B32BLAYERED PRODUCTS, i.e. PRODUCTS BUILT-UP OF STRATA OF FLAT OR NON-FLAT, e.g. CELLULAR OR HONEYCOMB, FORM
    • B32B17/00Layered products essentially comprising sheet glass, or glass, slag, or like fibres
    • B32B17/06Layered products essentially comprising sheet glass, or glass, slag, or like fibres comprising glass as the main or only constituent of a layer, next to another layer of a specific material
    • B32B17/10Layered products essentially comprising sheet glass, or glass, slag, or like fibres comprising glass as the main or only constituent of a layer, next to another layer of a specific material of synthetic resin
    • B32B17/10005Layered products essentially comprising sheet glass, or glass, slag, or like fibres comprising glass as the main or only constituent of a layer, next to another layer of a specific material of synthetic resin laminated safety glass or glazing
    • B32B17/1055Layered products essentially comprising sheet glass, or glass, slag, or like fibres comprising glass as the main or only constituent of a layer, next to another layer of a specific material of synthetic resin laminated safety glass or glazing characterized by the resin layer, i.e. interlayer
    • B32B17/10761Layered products essentially comprising sheet glass, or glass, slag, or like fibres comprising glass as the main or only constituent of a layer, next to another layer of a specific material of synthetic resin laminated safety glass or glazing characterized by the resin layer, i.e. interlayer containing vinyl acetal
    • BPERFORMING OPERATIONS; TRANSPORTING
    • B32LAYERED PRODUCTS
    • B32BLAYERED PRODUCTS, i.e. PRODUCTS BUILT-UP OF STRATA OF FLAT OR NON-FLAT, e.g. CELLULAR OR HONEYCOMB, FORM
    • B32B5/00Layered products characterised by the non- homogeneity or physical structure, i.e. comprising a fibrous, filamentary, particulate or foam layer; Layered products characterised by having a layer differing constitutionally or physically in different parts
    • B32B5/14Layered products characterised by the non- homogeneity or physical structure, i.e. comprising a fibrous, filamentary, particulate or foam layer; Layered products characterised by having a layer differing constitutionally or physically in different parts characterised by a layer differing constitutionally or physically in different parts, e.g. denser near its faces
    • B32B5/145Variation across the thickness of the layer
    • BPERFORMING OPERATIONS; TRANSPORTING
    • B32LAYERED PRODUCTS
    • B32BLAYERED PRODUCTS, i.e. PRODUCTS BUILT-UP OF STRATA OF FLAT OR NON-FLAT, e.g. CELLULAR OR HONEYCOMB, FORM
    • B32B7/00Layered products characterised by the relation between layers; Layered products characterised by the relative orientation of features between layers, or by the relative values of a measurable parameter between layers, i.e. products comprising layers having different physical, chemical or physicochemical properties; Layered products characterised by the interconnection of layers
    • B32B7/02Physical, chemical or physicochemical properties
    • B32B7/023Optical properties
    • GPHYSICS
    • G02OPTICS
    • G02BOPTICAL ELEMENTS, SYSTEMS OR APPARATUS
    • G02B5/00Optical elements other than lenses
    • G02B5/20Filters
    • GPHYSICS
    • G02OPTICS
    • G02BOPTICAL ELEMENTS, SYSTEMS OR APPARATUS
    • G02B5/00Optical elements other than lenses
    • G02B5/20Filters
    • G02B5/208Filters for use with infrared or ultraviolet radiation, e.g. for separating visible light from infrared and/or ultraviolet radiation
    • GPHYSICS
    • G02OPTICS
    • G02BOPTICAL ELEMENTS, SYSTEMS OR APPARATUS
    • G02B5/00Optical elements other than lenses
    • G02B5/20Filters
    • G02B5/22Absorbing filters
    • G02B5/223Absorbing filters containing organic substances, e.g. dyes, inks or pigments
    • BPERFORMING OPERATIONS; TRANSPORTING
    • B32LAYERED PRODUCTS
    • B32BLAYERED PRODUCTS, i.e. PRODUCTS BUILT-UP OF STRATA OF FLAT OR NON-FLAT, e.g. CELLULAR OR HONEYCOMB, FORM
    • B32B2250/00Layers arrangement
    • B32B2250/022 layers
    • BPERFORMING OPERATIONS; TRANSPORTING
    • B32LAYERED PRODUCTS
    • B32BLAYERED PRODUCTS, i.e. PRODUCTS BUILT-UP OF STRATA OF FLAT OR NON-FLAT, e.g. CELLULAR OR HONEYCOMB, FORM
    • B32B2250/00Layers arrangement
    • B32B2250/033 layers
    • BPERFORMING OPERATIONS; TRANSPORTING
    • B32LAYERED PRODUCTS
    • B32BLAYERED PRODUCTS, i.e. PRODUCTS BUILT-UP OF STRATA OF FLAT OR NON-FLAT, e.g. CELLULAR OR HONEYCOMB, FORM
    • B32B2250/00Layers arrangement
    • B32B2250/044 layers
    • BPERFORMING OPERATIONS; TRANSPORTING
    • B32LAYERED PRODUCTS
    • B32BLAYERED PRODUCTS, i.e. PRODUCTS BUILT-UP OF STRATA OF FLAT OR NON-FLAT, e.g. CELLULAR OR HONEYCOMB, FORM
    • B32B2250/00Layers arrangement
    • B32B2250/055 or more layers
    • BPERFORMING OPERATIONS; TRANSPORTING
    • B32LAYERED PRODUCTS
    • B32BLAYERED PRODUCTS, i.e. PRODUCTS BUILT-UP OF STRATA OF FLAT OR NON-FLAT, e.g. CELLULAR OR HONEYCOMB, FORM
    • B32B2307/00Properties of the layers or laminate
    • B32B2307/40Properties of the layers or laminate having particular optical properties
    • B32B2307/412Transparent
    • BPERFORMING OPERATIONS; TRANSPORTING
    • B32LAYERED PRODUCTS
    • B32BLAYERED PRODUCTS, i.e. PRODUCTS BUILT-UP OF STRATA OF FLAT OR NON-FLAT, e.g. CELLULAR OR HONEYCOMB, FORM
    • B32B2307/00Properties of the layers or laminate
    • B32B2307/40Properties of the layers or laminate having particular optical properties
    • B32B2307/422Luminescent, fluorescent, phosphorescent
    • BPERFORMING OPERATIONS; TRANSPORTING
    • B32LAYERED PRODUCTS
    • B32BLAYERED PRODUCTS, i.e. PRODUCTS BUILT-UP OF STRATA OF FLAT OR NON-FLAT, e.g. CELLULAR OR HONEYCOMB, FORM
    • B32B2457/00Electrical equipment
    • B32B2457/20Displays, e.g. liquid crystal displays, plasma displays
    • BPERFORMING OPERATIONS; TRANSPORTING
    • B32LAYERED PRODUCTS
    • B32BLAYERED PRODUCTS, i.e. PRODUCTS BUILT-UP OF STRATA OF FLAT OR NON-FLAT, e.g. CELLULAR OR HONEYCOMB, FORM
    • B32B2605/00Vehicles
    • B32B2605/006Transparent parts other than made from inorganic glass, e.g. polycarbonate glazings

Definitions

  • the present invention relates to a thermoplastic film and a laminated glass provided with the thermoplastic film.
  • thermoplastic film in which a thermoplastic film containing a resin component is interposed and integrated between two glass plates is widely known.
  • the thermoplastic film is often formed from a plasticized polyvinyl acetal in which a plasticizer is mixed with a polyvinyl acetal resin.
  • Laminated glass is widely used as window glass for vehicles such as automobiles, aircraft, and buildings because it is safe because glass fragments are less likely to scatter even if it is damaged by an external impact.
  • a head-up display that displays information necessary for driving may be applied to the windshield of an automobile or the like within the same field of view as the windshield.
  • a widely known HUD is one in which the light from a projector provided on an instrument panel or the like is reflected by a windshield made of laminated glass so that the driver can see it.
  • thermoplastic film arranged between two sheets of glass has a light emitting sheet containing a binder resin and a light emitting material.
  • a fluorescent material that emits light when irradiated with excitation light may be used.
  • the windshield can be made to emit light by irradiating the windshield with excitation light, and therefore, application to HUD or the like is considered. ing.
  • Patent Document 1 discloses that a light emitting sheet is blended with an ultraviolet absorber, or a resin layer different from the light emitting sheet is provided and the UV absorber is blended in the resin layer.
  • a laminated glass having a light emitting sheet When a laminated glass having a light emitting sheet is used for a windshield of an automobile or the like, it is desired that the light emission intensity from the light emitting sheet is observed high inside the car from the viewpoint of clearly displaying information by light emission. .. On the other hand, in order to prevent information from leaking to the outside, it is desired that the light emission intensity from the light emitting sheet is observed low on the outside of the vehicle.
  • the conventional laminated glass having a light emitting sheet exhibits the same level of light emission intensity both inside and outside the vehicle, and therefore cannot sufficiently meet the above requirements.
  • the present invention comprises a thermoplastic film in which information is displayed relatively strongly on one surface and information is displayed relatively weakly on the other surface when a laminated glass is used, and a laminated glass provided with the same.
  • the purpose is to provide glass.
  • thermoplastic film provided with a light emitting layer, wherein the light emitting layer contains a thermoplastic resin and a light emitting material that emits light when irradiated with excitation light, and has a thickness conforming to JIS R 3211 (1998).
  • the laminated glass obtained by adhering two 2.5 mm clear glasses via the thermoplastic film is irradiated with excitation light capable of absorbing a light emitting material from one surface at a light amount of 7 mW / cm 2.
  • a thermoplastic film in which the difference (AB) between the brightness A observed on one surface side and the brightness B observed on the other surface side is 5 cd / m 2 or more.
  • Visible light transmittance Tv is 70% when a laminated glass obtained by adhering two pieces of clear glass having a thickness of 2.5 mm conforming to JIS R 3211 (1998) via the thermoplastic film is measured.
  • the thermoplastic film according to any one of the above [1] to [7] which is an interlayer film for laminated glass.
  • a laminated glass interlayer film made of the thermoplastic film according to the above [8] and two glass plates are provided, and the laminated glass interlayer film is arranged between the two glass plates. Glass.
  • a laminated glass including a first glass plate, a second glass plate, and a thermoplastic film arranged between the first glass plate and the second glass plate, and is a laminated glass containing excitation light.
  • Laminated glass having a difference (AB) from 5 cd / m 2 or more.
  • AB difference
  • the present invention provides a thermoplastic film in which information is displayed relatively strongly on one surface and information is displayed relatively weakly on the other surface when laminated glass is used.
  • a laminated glass provided with this can be provided.
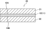
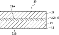
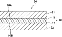
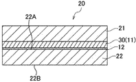
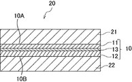
  • thermoplastic film which concerns on one Embodiment of this invention and the laminated glass which has the thermoplastic film. It is sectional drawing which shows the thermoplastic film which concerns on one Embodiment of this invention, and the laminated glass which has the thermoplastic film. It is sectional drawing which shows the thermoplastic film which concerns on one Embodiment of this invention, and the laminated glass which has the thermoplastic film. It is sectional drawing which shows the laminated glass which concerns on one Embodiment of this invention. It is sectional drawing which shows the laminated glass which concerns on one Embodiment of this invention. It is sectional drawing which shows the laminated glass which concerns on one Embodiment of this invention. It is sectional drawing which shows the laminated glass which concerns on one Embodiment of this invention. It is sectional drawing which shows the laminated glass which concerns on one Embodiment of this invention. It is sectional drawing which shows the laminated glass which concerns on one Embodiment of this invention. It is sectional drawing which shows the laminated glass which concerns on one Embodiment of
  • the thermoplastic film of the present invention includes a light emitting layer, and the light emitting layer includes a thermoplastic resin and a light emitting material that emits light when irradiated with excitation light.
  • the light emitting layer includes a thermoplastic resin and a light emitting material that emits light when irradiated with excitation light.
  • two pieces of clear glass having a thickness of 2.5 mm conforming to JIS R 3211 (1998) are used as the reference glass.
  • the laminated glass obtained by adhering the two reference glasses via the thermoplastic film of the present invention was irradiated with excitation light capable of absorbing a light emitting material from one surface at a light intensity of 7 mW / cm 2 .
  • the difference (AB) between the brightness A observed on one surface side and the brightness B observed on the other surface side is 5 cd / m 2 or more.
  • Luminance A and luminance B can be measured by the method described in Examples.
  • the difference (AB) between the brightness A and the brightness B is less than 5 cd / m 2 , the difference in brightness between one surface and the other surface of the laminated glass is small, so that information is displayed on one surface. It becomes difficult to make it difficult to confirm the information on the other side while displaying it clearly.
  • the difference (AB) between the luminance A and the luminance B is preferably 20 or more from the viewpoint of clearly displaying the information on one surface of the laminated glass and making it difficult to confirm the information on the other surface. It is more preferably 40 or more, further preferably 60 or more, and further preferably 100 or more.
  • the brightness A is preferably 30 or more, more preferably 50 or more, still more preferably 70 or more, from the viewpoint of clearly displaying information on one surface of the laminated glass.
  • the brightness A is preferably 10,000 or less, more preferably 7,000 or less, and further preferably 5,000 or less, from the viewpoint of improving the visibility on the other side of the display.
  • the brightness A is preferably 1000 or less, more preferably 800 or less, still more preferably 600 or less, from the viewpoint of making it difficult to confirm the information on the other side.
  • the visible light transmittance Tv when measuring the laminated glass made from the thermoplastic film and the reference glass as described above is preferably 70% or more, for example, in applications where transparency is required.
  • the visible light transmittance Tv is 70% or more, a certain degree of transparency can be ensured, and for example, it can be used for an automobile windshield or the like.
  • the visible light transmittance Tv is more preferably 75% or more, further preferably 80% or more, and 85% or more in order to ensure transparency so that it can be suitably used for window glass such as a windshield. More preferred.
  • the visible light transmittance Tv is the higher from the viewpoint of the transparency of the thermoplastic film, but practically it is 99% or less, and the difference in brightness between one surface and the other surface of the laminated glass is large. From the viewpoint of this, it is preferably 97% or less.
  • the visible light transmittance Tv may be low, for example, 50% or less, preferably 45% or less, and more preferably 40% or less. Further, from the viewpoint of ensuring a certain level of transparency, it is preferably 10% or more, more preferably 15% or more, still more preferably 20% or more.
  • the visible light transmittance at a wavelength of 380 to 780 nm of laminated glass can be measured in accordance with JIS R3211 (1998).
  • As the reference glass clear glass having a thickness of 2.5 mm and a visible light transmittance of 90.4% was used.
  • the difference in brightness between one surface and the other surface of the laminated glass and the visible light transmittance Tv can be determined from one surface and the other surface based on the thermoplastic film. It can be used as an index showing the difference in brightness and transmittance.
  • the light emitting layer contains the thermoplastic resin and the light emitting material as described above. By having a light emitting layer, the thermoplastic film becomes a light emitting film that emits light when irradiated with excitation light.
  • Luminescent material As the light emitting material used for the light emitting layer, for example, a lanthanoid complex, a light emitting material having a terephthalate ester structure, a light emitting material having a naphthalimide skeleton, a light emitting material having a coumarin skeleton, a light emitting material having a quinoline skeleton and the like can be used. ..
  • the luminescent material may be used alone or in combination of two or more. By combining a plurality of light emitting materials having different emission wavelengths, it is possible to display not only a single color image but also an image in which various colors are combined.
  • a lanthanoid complex and a light emitting material having a terephthalic acid ester structure are preferable, and a light emitting material having a terephthalic acid ester structure is more preferable.
  • the lanthanoid complex examples include those having a ligand containing a halogen atom.
  • the lanthanoid complex having a ligand containing a halogen atom emits light with high emission intensity when irradiated with light rays.
  • the lanthanoid complex having a ligand containing a halogen atom include a lanthanoid complex having a monodentate ligand containing a halogen atom, a lanthanoid complex having a bidentate ligand containing a halogen atom, and a tridentate complex containing a halogen atom.
  • Halogen such as a lanthanoid complex having a position, a lanthanoid complex having a tetradentate ligand containing a halogen atom, a lanthanoid complex having a pentadentate ligand containing a halogen atom, and a lanthanoid complex having a hexadental ligand containing a halogen atom.
  • Examples include lanthanoid complexes having polydentate ligands containing atoms.
  • a lanthanoid complex having a bidentate ligand containing a halogen atom or a lanthanoid complex having a tridentate ligand containing a halogen atom emits high visible light by irradiating light having a wavelength of 300 to 410 nm. It is possible to emit light at high intensity.
  • the lanthanoid complex having a bidentate ligand containing a halogen atom or the lanthanoid complex having a tridentate ligand containing a halogen atom is also excellent in heat resistance.
  • thermoplastic film When a thermoplastic film is used as a laminated glass to be described later, it is often used in a high temperature environment due to irradiation with infrared rays of sunlight. Therefore, a lanthanide having a bidentate ligand containing the halogen atom is described above. Deterioration of the luminescent material can be prevented by using a complex or a lanthanoid complex having a tridentate ligand containing a halogen atom.
  • the lanthanoid includes lanthanum, cerium, praseodymium, neodymium, promethium, samarium, europium, gadolinium, terbium, dysprosium, holmium, erbium, thulium, ytterbium or lutetium.
  • the lanthanoid is preferably neodymium, europium or terbium, more preferably europium or terbium, and even more preferably europium, because even higher luminescence intensity can be obtained.
  • Examples of the bidentate ligand containing the halogen atom include a ligand having a structure represented by the following general formula (1), a ligand having a structure represented by the following general formula (2), and the like. Can be mentioned.
  • R 1 and R 3 represents an organic group, at least one of R 1 and R 3 is an organic group containing a halogen atom, R 2 is the number 1 or more linear carbon Represents an organic group.
  • the R 1 and R 3 are preferably a hydrocarbon group, more preferably a hydrocarbon group having 1 to 10 carbon atoms, and further preferably a hydrocarbon group having 1 to 5 carbon atoms. It is particularly preferable that the hydrocarbon group has 1 to 3 carbon atoms.
  • a part of the hydrogen atom of the above hydrocarbon group may be replaced with an atom other than the hydrogen atom and a functional group.
  • Examples of the hydrocarbon group having 1 to 3 carbon atoms include a methyl group, an ethyl group and a propyl group in which a hydrogen atom is not substituted, and a methyl group, an ethyl group and a propyl group in which a part of the hydrogen atom is substituted with a halogen atom. Group and so on.
  • a halogen atom of the methyl group, the ethyl group or the propyl group in which a part of the hydrogen atom is replaced with the halogen atom a fluorine atom, a chlorine atom, a bromine atom and an iodine atom can be used.
  • the hydrocarbon group having 1 to 3 carbon atoms emits light with high emission intensity, it is preferably a methyl group, an ethyl group, or a propyl group in which a part of hydrogen atoms is substituted with a halogen atom. It is more preferably a fluoromethyl group.
  • the R 2 is preferably an alkylene group having 1 or more carbon atoms, more preferably an alkylene group having 1 to 5 carbon atoms, and most preferably a methylene group having 1 carbon atom. A part of the hydrogen atom of the alkylene group having 1 or more carbon atoms may be replaced with an atom other than the hydrogen atom and a functional group.
  • the lanthanoid complex having a ligand containing a halogen atom may have at least one ligand containing a halogen atom, and may have a ligand not containing a halogen atom.
  • the ligands that do not contain a halogen atom include ligands that are the same as the general formula (1) except that they do not contain a halogen atom, and structures represented by the following general formulas (2) to (8). Examples thereof include ligands having. In the ligand having the structure represented by the following general formulas (2) to (8), some or all hydrogen atoms are -COOR, -SO 3 , -NO 2 , -OH, alkyl group, -NH. It may be replaced with 2 or the like.
  • the two Ns may be anywhere in the bipyridine skeleton.
  • the two Ns may be anywhere in the bipyridine skeleton. Among them, it is preferable that there are two Ns at the 1st and 10th positions.
  • the two Ns may be anywhere in the bipyridine skeleton. Among them, it is preferable that there are two Ns at the 1st and 10th positions.
  • the three Ns may be anywhere in the terpyridine skeleton.
  • R 4 in the center represents a linear organic group having 1 or more carbon atoms.
  • two R 5 represents one or more linear organic group having a carbon number.
  • n represents an integer of 1 or 2.
  • the lanthanoid complex having a bidentate ligand containing a halogen atom is, for example, tris (trifluoroacetylacetone) phenanthroline europium (Eu (TFA) 3 phen), tris (trifluoroacetylacetone) diphenylphenanthroline europium (Eu (TFA) 3 ).
  • lanthanoid complexes having a bidentate ligand containing a halogen atom include, for example, tris (trifluoroacetylacetone) phenanthroline terbium (Tb (TFA) 3 phen) and tris (trifluoroacetylacetone) diphenylphenanthroline terbium (Tb (Tb).
  • halogen atom of the lanthanoid complex having the ligand containing the halogen atom a fluorine atom, a chlorine atom, a bromine atom and an iodine atom can be used.
  • a fluorine atom is preferable because it stabilizes the structure of the ligand.
  • the lanthanoid complexes having a bidentate ligand containing a halogen atom or the lanthanoid complex having a tridentate ligand containing a halogen atom since it is particularly excellent in initial luminescence, it has an acetylacetone skeleton containing a halogen atom.
  • a lanthanoid complex having a locus ligand is suitable.
  • the lanthanoid complex having a bidentate ligand having an acetylacetone skeleton containing a halogen atom is, for example, Eu (TFA) 3 phen, Eu (TFA) 3 dpphen, Eu (HFA) 3 phen, [Eu (FPD) 3 ].
  • Examples include bpy, [Eu (TFA) 3 ] tmphen, [Eu (FPD) 3 ] phen and the like.
  • the structure of a lanthanoid complex having a bidentate ligand having an acetylacetone skeleton containing these halogen atoms is shown.
  • lanthanoid complexes having a bidentate ligand having an acetylacetone skeleton containing a halogen atom include, for example, Tb (TFA) 3 phen, Tb (TFA) 3 dpphen, Tb (HFA) 3 phen, [Tb (FPD). ) 3 ] bpy, [Tb (TFA) 3 ] tmphen, [Tb (FPD) 3 ] phen and the like.
  • the lanthanoid complex having a ligand containing a halogen atom is preferably in the form of particles. By being in the form of particles, it becomes easier to finely disperse the lanthanoid complex having the ligand containing the halogen atom in the light emitting layer.
  • the preferable lower limit of the average particle size of the lanthanide complex is 0.01 ⁇ m
  • the preferable upper limit is 10 ⁇ m
  • the more preferable lower limit is 0.03 ⁇ m
  • the upper limit is 1 ⁇ m.
  • the lanthanoid complex was dispersed in methanol (refractive index of solvent: 1.3292, viscosity of solvent: 0.59 mPa ⁇ s) at a concentration of about 0.1% by mass, and then ultrasonic waves were applied to uniformly disperse the lanthanoid complex.
  • Laser diffraction / scattering type particle size distribution measuring device manufactured by HORIBA is used for measurement at a liquid temperature of 25 ° C.
  • the primary particle diameter (d50) when the cumulative volume is 50% is taken as the average particle diameter.
  • the luminescent material having the terephthalic acid ester structure emits light when irradiated with excitation light.
  • Examples of the light emitting material having the terephthalic acid ester structure include a compound having a structure represented by the following general formula (9) and a compound having a structure represented by the following general formula (10). These may be used alone or two or more kinds may be used.
  • R 6 represents an organic group, and x is 1, 2, 3 or 4. Since the visible light transmittance Tv of the thermoplastic film is further increased, x is preferably 1 or 2, and x is more preferably 2. Further, it is more preferable to have a hydroxyl group at the 2- or 5-position of the benzene ring, and it is further preferable to have a hydroxyl group at the 2-position and the 5-position of the benzene ring.
  • the organic group of R 6 is preferably a hydrocarbon group, more preferably a hydrocarbon group having 1 to 10 carbon atoms, and further preferably a hydrocarbon group having 1 to 5 carbon atoms. It is particularly preferable that the hydrocarbon group has 1 to 3 carbon atoms. When the number of carbon atoms of the hydrocarbon group is 10 or less, the light emitting material having the terephthalic acid ester structure can be easily dispersed in the light emitting layer.
  • the hydrocarbon group is preferably an alkyl group.
  • Examples of the compound having the structure represented by the above general formula (9) include diethyl-2,5-dihydroxyterephthalate, dimethyl-2,5-dihydroxyterephthalate and the like. Among them, the compound having the structure represented by the above general formula (9) is preferably diethyl-2,5-dihydroxylterephthalate.
  • R 7 represents an organic group
  • R 8 and R 9 represent a hydrogen atom or an organic group
  • y is 1, 2, 3 or 4.
  • the organic group of R 7 is preferably a hydrocarbon group, more preferably a hydrocarbon group having 1 to 10 carbon atoms, and further preferably a hydrocarbon group having 1 to 5 carbon atoms. It is particularly preferable that the hydrocarbon group has 1 to 3 carbon atoms. When the number of carbon atoms of the hydrocarbon group is not more than the above upper limit, the light emitting material having the above terephthalic acid ester structure can be easily dispersed in the light emitting layer.
  • the hydrocarbon group is preferably an alkyl group.
  • the organic groups of R 8 and R 9 are, for example, hydrocarbon groups having 1 to 10 carbon atoms, and the organic groups are preferably hydrocarbon groups having 1 to 5 carbon atoms. , More preferably, it is a hydrocarbon group having 1 to 3 carbon atoms, and the hydrocarbon group is preferably an alkyl group. Further, it is preferable that both R 8 and R 9 are hydrogen atoms. y is preferably 1 or 2, and more preferably 2. Further, it is more preferable to have NR 8 R 9 at the 2nd or 5th position of the benzene ring, and it is further preferable to have NR 8 R 9 at the 2nd or 5th position of the benzene ring. Diethyl-2,5-diaminoterephthalate is preferable as the compound having the structure represented by the general formula (10).
  • the luminescent material having the naphthalimide skeleton is, for example, 4-bromo-1,8-naphthalimide, 4-amino-1,8-naphthalimide, 4-methoxy-N-methylnaphthalateimide, naphthalimide.
  • Examples of the luminescent material having a coumarin skeleton include a derivative having an electron-donating substituent at the 7-position of the coumarin ring. More specifically, 3- (2'-benzothiazolyl) -7-diethylaminocoumarin (coumarin 6), 3- (2'-benzoimidazolyl)-which are derivatives characterized by having an amino group at the 7-position of the coumarin ring.
  • the content of the light emitting material in the light emitting layer is preferably 8 parts by mass or less, more preferably 5 parts by mass or less, and 1.5 parts by mass or less with respect to 100 parts by mass of the thermoplastic resin. Is even more preferable, and 0.8 parts by mass or less is even more preferable.
  • the content of the light emitting material in the light emitting layer is preferably 0.01 part by mass or more, more preferably 0.1 part by mass or more, and 0.2 part by mass with respect to 100 parts by mass of the thermoplastic resin. The above is more preferable, and 0.4 parts by mass or more is even more preferable.
  • the light emitting layer of the present invention contains a thermoplastic resin. Since the light emitting layer contains a thermoplastic resin, it is easy to function as an adhesive layer, and the adhesiveness with other layers such as a glass plate is improved.
  • the thermoplastic resin becomes a matrix component in the light emitting layer, and the above-mentioned light emitting material is dispersed or dissolved in the thermoplastic resin.
  • the thermoplastic resin is not particularly limited, and examples thereof include polyvinyl acetal resin, ethylene-vinyl acetate copolymer resin, ionomer resin, polyurethane resin, and thermoplastic elastomer. By using these resins, it becomes easy to secure the adhesiveness with the glass plate.
  • thermoplastic resin in the light emitting layer of the present invention, one type of thermoplastic resin may be used alone, or two or more types may be used in combination.
  • at least one selected from polyvinyl acetal resin and ethylene-vinyl acetate copolymer resin is preferable, and in particular, when used in combination with a plasticizer, it exhibits excellent adhesiveness to glass.
  • Polyvinyl acetal resin is more preferable.
  • the polyvinyl acetal resin is obtained by acetalizing polyvinyl alcohol with an aldehyde. Further, polyvinyl alcohol can be obtained by saponifying a polyvinyl ester such as polyvinyl acetate, for example. The polyvinyl acetal resin may be used alone or in combination of two or more.
  • the aldehyde used for acetalization is not particularly limited, but an aldehyde having 1 to 10 carbon atoms is preferably used, more preferably an aldehyde having 2 to 6 carbon atoms, and further preferably an aldehyde having 4 carbon atoms.
  • the aldehyde having 1 to 10 carbon atoms is not particularly limited, and for example, n-butyraldehyde, isobutylaldehyde, n-barrelaldehyde, 2-ethylbutylaldehyde, n-hexylaldehyde, n-octylaldehyde, and n-nonylaldehyde are not particularly limited.
  • N-decylaldehyde formaldehyde, acetaldehyde, benzaldehyde and the like.
  • n-butyraldehyde, n-hexylaldehyde, and n-barrelaldehyde are preferable, and n-butyraldehyde is more preferable.
  • These aldehydes may be used alone or in combination of two or more.
  • polyvinyl alcohol having a saponification degree of 80 to 99.8 mol% is generally used.
  • the average degree of polymerization of polyvinyl alcohol is preferably 500 or more, and preferably 4000 or less in order to adjust the average degree of polymerization of the polyvinyl acetal resin within a desired range.
  • the average degree of polymerization of polyvinyl alcohol is more preferably 1000 or more, and more preferably 3600 or less.
  • the average degree of polymerization of polyvinyl alcohol is determined by a method based on JIS K6726 "Polyvinyl alcohol test method".
  • the carbon number of the acetal group contained in the polyvinyl acetal resin is not particularly limited, but is preferably 1 to 10, more preferably 2 to 6, and even more preferably 4.
  • a butyral group is particularly preferable, and therefore, as the polyvinyl acetal resin, a polyvinyl butyral resin is preferable.
  • the degree of acetalization of the polyvinyl acetal resin is preferably 40 mol% or more, and preferably 85 mol% or less.
  • the degree of acetalization is more preferably 60 mol% or more, and more preferably 75 mol% or less.
  • the degree of acetalization means the degree of butyralization when the acetal group is a butyral group and the polyvinyl acetal resin is a polyvinyl butyral resin.
  • the amount of hydroxyl groups in the polyvinyl acetal resin is preferably 15 mol% or more, and preferably 35 mol% or less.
  • the amount of hydroxyl groups in the polyvinyl acetal resin is more preferably 20 mol% or more, and more preferably 33 mol% or less.
  • the degree of acetylation (the amount of acetyl groups) of the polyvinyl acetal resin is preferably 0.1 mol% or more, and preferably 20 mol% or less.
  • the degree of acetylation is at least the above lower limit value, compatibility with a plasticizer or the like tends to be good. Further, when the value is not more than the above upper limit value, the moisture resistance of the light emitting layer is increased. From these viewpoints, the degree of acetylation is more preferably 0.3 mol% or more, further preferably 0.5 mol% or more, still more preferably 10 mol% or less, still more preferably 5 mol% or less. is there.
  • the amount of hydroxyl groups, the degree of acetalization (degree of butyralization), and the degree of acetylation can be calculated from the results measured by a method based on JIS K6728 "Polyvinyl butyral test method".
  • the average degree of polymerization of the polyvinyl acetal resin is preferably 500 or more, and preferably 4000 or less. By setting the average degree of polymerization to 500 or more, the penetration resistance of the laminated glass becomes good. Further, by setting the average degree of polymerization to 4000 or less, it becomes easy to mold the laminated glass.
  • the degree of polymerization is more preferably 1000 or more, and more preferably 3600 or less.
  • the average degree of polymerization of the polyvinyl acetal resin is the same as the average degree of polymerization of polyvinyl alcohol as a raw material, and can be determined by the average degree of polymerization of polyvinyl alcohol.
  • the ethylene-vinyl acetate copolymer resin may be a non-crosslinked ethylene-vinyl acetate copolymer resin or a high-temperature crosslinked ethylene-vinyl acetate copolymer resin.
  • an ethylene-vinyl acetate modified resin such as an ethylene-vinyl acetate copolymer saponified product and an ethylene-vinyl acetate hydrolyzate can also be used.
  • the ethylene-vinyl acetate copolymer resin preferably has a vinyl acetate content of 10% by mass or more and 50% by mass or less as measured in accordance with JIS K 6730 "Ethylene-vinyl acetate resin test method" or JIS K 6924-2: 1997. , More preferably 20% by mass or more and 40% by mass or less.
  • the vinyl acetate content By setting the vinyl acetate content to these lower limit values or more, the adhesiveness to the glass is increased, and when the vinyl acetate is used for the laminated glass, the penetration resistance of the laminated glass is likely to be improved. Further, when the vinyl acetate content is set to be equal to or less than these upper limit values, the breaking strength of the light emitting layer is increased and the impact resistance of the laminated glass is improved.
  • the ionomer resin is not particularly limited, and various ionomer resins can be used. Specific examples thereof include ethylene-based ionomers, styrene-based ionomers, perfluorocarbon-based ionomers, telechelic ionomers, and polyurethane ionomers. Among these, ethylene-based ionomers are preferable because the mechanical strength, durability, transparency, etc. of the laminated glass, which will be described later, are improved, and the adhesiveness to the glass is excellent.
  • an ethylene / unsaturated carboxylic acid copolymer ionomer is preferably used because it has excellent transparency and toughness.
  • the ethylene / unsaturated carboxylic acid copolymer is a copolymer having at least a structural unit derived from ethylene and a structural unit derived from unsaturated carboxylic acid, and may have a structural unit derived from another monomer.
  • the unsaturated carboxylic acid include acrylic acid, methacrylic acid, maleic acid and the like, and acrylic acid and methacrylic acid are preferable, and methacrylic acid is particularly preferable.
  • examples of other monomers include acrylic acid ester, methacrylic acid ester, 1-butene and the like.
  • the ethylene / unsaturated carboxylic acid copolymer As the ethylene / unsaturated carboxylic acid copolymer, assuming that the total structural units of the copolymer are 100 mol%, it is preferable to have 75 to 99 mol% of the structural units derived from ethylene, and the copolymer is derived from unsaturated carboxylic acid. It preferably has 1 to 25 mol% of structural units.
  • the ionomer of the ethylene / unsaturated carboxylic acid copolymer is an ionomer resin obtained by neutralizing or cross-linking at least a part of the carboxyl groups of the ethylene / unsaturated carboxylic acid copolymer with metal ions. The degree of neutralization of the carboxyl group is usually 1 to 90%, preferably 5 to 85%.
  • Examples of the ion source in the ionomer resin include alkali metals such as lithium, sodium, potassium, rubidium and cesium, and polyvalent metals such as magnesium, calcium and zinc, and sodium and zinc are preferable.
  • the method for producing the ionomer resin is not particularly limited, and the ionomer resin can be produced by a conventionally known production method.
  • the ionomer resin when an ionomer of an ethylene / unsaturated carboxylic acid copolymer is used as the ionomer resin, for example, ethylene and unsaturated carboxylic acid are subjected to radical copolymerization at high temperature and high pressure to carry out radical copolymerization of ethylene / unsaturated carboxylic acid. Produce a copolymer.
  • polyurethane resin examples include polyurethane obtained by reacting an isocyanate compound with a diol compound, polyurethane obtained by reacting an isocyanate compound with a diol compound, and a chain length extender such as polyamine. Further, the polyurethane resin may contain a sulfur atom. In that case, some or all of the above diols may be selected from polythiols and sulfur-containing polyols.
  • the polyurethane resin can improve the adhesiveness with the organic glass. Therefore, it is preferably used when the glass plate is organic glass.
  • thermoplastic elastomer examples include styrene-based thermoplastic elastomers and aliphatic polyolefins.
  • the styrene-based thermoplastic elastomer is not particularly limited, and known ones can be used.
  • the styrene-based thermoplastic elastomer generally has a styrene monomer polymer block as a hard segment and a conjugated diene compound polymer block as a soft segment or a hydrogenated block thereof.
  • styrene-based thermoplastic elastomer examples include styrene-isoprene block copolymer, styrene-butadiene diblock copolymer, styrene-isoprene-styrene triblock copolymer, and styrene-butadiene / isoprene-styrene triblock.
  • examples include polymers, styrene-butadiene-styrene triblock copolymers, and hydrogenated products thereof.
  • the aliphatic polyolefin may be a saturated aliphatic polyolefin or an unsaturated aliphatic polyolefin.
  • the aliphatic polyolefin may be a polyolefin having a chain olefin as a monomer or a polyolefin having a cyclic olefin as a monomer. From the viewpoint of effectively enhancing the storage stability of the light emitting layer, the aliphatic polyolefin is preferably a saturated aliphatic polyolefin. Examples of the material for the aliphatic polyolefin include ethylene, propylene, 1-butene, trans-2-butene, cis-2-butene, 1-pentene, trans-2-pentene, cis-2-pentene, 1-hexene and trans.
  • the light emitting layer of the present invention may further contain a plasticizer.
  • the light emitting layer becomes flexible by containing a plasticizer, and as a result, the flexibility of the thermoplastic film and the laminated glass can be improved, and the penetration resistance of the laminated glass is also improved. Furthermore, it is possible to exhibit high adhesiveness to the glass plate.
  • the plasticizer is particularly effective when it is contained when a polyvinyl acetal resin is used as the thermoplastic resin.
  • the plasticizer include organic ester plasticizers such as monobasic organic acid esters and polybasic organic acid esters, and phosphoric acid plasticizers such as organic phosphoric acid plasticizers and organic subphosphate plasticizers. .. Of these, organic ester plasticizers are preferable.
  • Examples of the monobasic organic acid ester include an ester of glycol and a monobasic organic acid.
  • the glycol include polyalkylene glycols in which each alkylene unit has 2 to 4, preferably 2 or 3 carbon atoms, and the number of repetitions of the alkylene unit is 2 to 10, preferably 2 to 4.
  • the glycol may be a monoalkylene glycol having 2 to 4 carbon atoms, preferably 2 or 3 carbon atoms, and having a repeating unit of 1.
  • Specific examples of the glycol include ethylene glycol, diethylene glycol, triethylene glycol, tetraethylene glycol, propylene glycol, dipropylene glycol, tripropylene glycol, tetrapropylene glycol and butylene glycol.
  • Examples of the monobasic organic acid include organic acids having 3 to 10 carbon atoms, and specifically, butyric acid, isobutyric acid, caproic acid, 2-ethylbutyric acid, 2-ethylpentanoic acid, heptyl acid, and n-octyl. Acids, 2-ethylhexanoic acid, n-nonyl acid, decyl acid and the like can be mentioned.
  • monobasic organic acid examples include triethylene glycol di-2-ethylbutyrate, triethylene glycol di-2-ethylhexanoate, triethylene glycol dicaprylate, and triethylene glycol di-n-octanoate.
  • polybasic organic acid ester examples include an ester compound of a dibasic organic acid having 4 to 12 carbon atoms such as adipic acid, sebacic acid and azelaic acid and an alcohol having 4 to 10 carbon atoms. ..
  • the alcohol having 4 to 10 carbon atoms may have a linear structure, a branched structure, or a cyclic structure.
  • oil-modified sebacic acid alkyd or the like may be used.
  • the mixed adipate ester include an adipate ester prepared from two or more alcohols selected from an alkyl alcohol having 4 to 9 carbon atoms and a cyclic alcohol having 4 to 9 carbon atoms.
  • organic phosphoric acid plasticizer examples include phosphoric acid esters such as tributoxyethyl phosphate, isodecylphenyl phosphate and triisopropyl phosphate.
  • the plasticizer may be used alone or in combination of two or more.
  • the plasticizer is preferably an ester of glycol and a monobasic organic acid, and triethylene glycol-di-2-ethylhexanoate (3GO) is particularly preferably used.
  • the content of the plasticizer in the light emitting layer is not particularly limited, but is preferably 20 parts by mass or more, and preferably 80 parts by mass or less with respect to 100 parts by mass of the thermoplastic resin.
  • the content of the plasticizer is 20 parts by mass or more, the laminated glass becomes moderately flexible and the penetration resistance and the like become good. Further, when the content of the plasticizer is 80 parts by mass or less, the plasticizer is prevented from being separated from the light emitting layer.
  • the content of the plasticizer is more preferably 30 parts by mass or more, further preferably 35 parts by mass or more, still more preferably 70 parts by mass or less, still more preferably 63 parts by mass or less.
  • the light emitting layer is mainly composed of a thermoplastic resin or a thermoplastic resin and a plasticizer, and the total amount of the thermoplastic resin and the plasticizer is usually 70% by mass or more, preferably 70% by mass or more, based on the total amount of the light emitting layer. Is 80% by mass or more, more preferably 90% by mass or more and less than 100% by mass.
  • the thickness of the light emitting layer is preferably 0.05 to 1.5 mm, more preferably 0.1 to 1 mm, and even more preferably 0.2 to 0.8 mm.
  • the thickness of the light emitting layer is preferably 0.05 to 1.5 mm, more preferably 0.1 to 1 mm, and even more preferably 0.2 to 0.8 mm.
  • thermoplastic film of the present invention preferably contains a visible light absorber.
  • a visible light absorber By containing the visible light absorber, it is possible to absorb the light emitted from the light emitting material. Utilizing this fact, for example, with respect to light emitted by a light emitting material, when traveling to one surface side, it absorbs less light, and when traveling to the other surface side, it absorbs a large amount of light.
  • a visible light absorber in the thermoplastic film, it is possible to increase the difference in brightness between one surface and the other surface of the laminated glass.
  • the visible light absorber is a compound that absorbs light in the visible light region (360 to 780 nm), and has a maximum absorption wavelength peak in the wavelength region of 360 nm or more and 780 nm or less.
  • the visible light absorber may be appropriately selected depending on the intended use of the laminated glass and the like, but a preferred embodiment includes a visible light absorber that absorbs visible light on the short wavelength side.
  • the maximum absorption wavelength peak of the visible light absorber is preferably 380 nm or more and 430 nm or less, more preferably 390 nm or more and 430 nm or less, and further preferably 400 nm or more and 425 nm or less.
  • the visible light absorber that absorbs visible light on the short wavelength side as described above is also referred to as a "short wavelength visible light absorber".
  • a short-wavelength visible light absorber By using such a short-wavelength visible light absorber, it is possible to increase the difference in brightness between one and the other surface while maintaining a high visible light transmittance of the laminated glass.
  • the maximum absorption wavelength peak of the visible light absorber and the ultraviolet absorber described later can be measured by the following method. 0.0002 to 0.002 parts by mass of the compound to be measured is mixed with 100 parts by mass of chloroform to obtain a chloroform solution. The obtained chloroform solution is placed in a quartz cell for a spectrophotometer having an optical path length of 1.0 cm. Using a self-recording spectrophotometer (“U4100” manufactured by Hitachi, Ltd.), the transmittance at 300 to 2500 nm is measured to obtain the maximum absorption wavelength peak.
  • the maximum absorption wavelength peak is a wavelength at which the transmittance shows a minimum value, and there may be a plurality of wavelengths. In that case, the maximum absorption wavelength peak refers to the wavelength at which the minimum value is the minimum.
  • the short wavelength visible light absorber examples include indol compounds, benzotriazole compounds, cyanoacrylate compounds, and benzophenone compounds. Of these, indole compounds are preferred.
  • the short wavelength visible light absorber may be used alone or in combination of two or more.
  • the indole-based compound is a compound having an indole skeleton and capable of absorbing light in a wavelength region of at least 400 to 420 nm.
  • the indole-based compound preferably includes a compound represented by the following general formula (12).
  • R 21 represents an alkyl group having 1 to 3 carbon atoms
  • R 22 is a hydrogen atom, an alkyl group having 1 to 10 carbon atoms, or an aralkyl group having 7 to 10 carbon atoms. Represents.
  • the alkyl groups of R 21 and R 22 may each have a linear structure or may have a branched structure.
  • R 21 in the above formula (12) include a methyl group, an ethyl group, an isopropyl group, an n-propyl group and the like.
  • R 21 is preferably a methyl group, an ethyl group and an isopropyl group. From the viewpoint of light resistance, it is more preferably a methyl group or an ethyl group.
  • R 22 in the formula (12) is preferably an alkyl group having 1 to 10 carbon atoms, and more preferably an alkyl group having 1 to 8 carbon atoms.
  • alkyl group having 1 to 10 carbon atoms examples include a methyl group, an ethyl group, an isopropyl group, an n-propyl group, an isobutyl group, an n-butyl group, a pentyl group, a hexyl group, a 2-ethylhexyl group and an n-octyl group. Group etc. can be mentioned.
  • Examples of the aralkyl group having 7 to 10 carbon atoms include a benzyl group, a phenylethyl group, a phenylpropyl group and a phenylbutyl group.
  • the indole-based compound is not particularly limited, but has a maximum absorption wavelength peak of, for example, 380 to 400 nm, preferably 385 to 395 nm.
  • Benzotriazole compounds used as short-wavelength visible light absorbers include those provided with a heterocyclic group bonded to the 5th and 6th positions of the benzotriazole skeleton and forming a 5- or 6-membered ring together with a phenyl ring. Be done. Benzotriazole compounds generally absorb light in the ultraviolet region, but the absorption wavelength shifts to the longer wavelength side due to the formation of further heterocyclic groups. Therefore, the benzotriazole-based compound having the above structure can absorb visible light on the short wavelength side. Further, the maximum absorption wavelength peak can also be positioned in or near the wavelength region of 400 to 420 nm as described above.
  • Examples of the atom constituting the heterocyclic group include a nitrogen atom, an oxygen atom, and a sulfur atom. Further, in the polycyclic skeleton in which a heterocycle is bonded to the benzotriazole skeleton, two or more may be bonded via a cross-linking group.
  • the benzotriazole-based compound in which the absorption wavelength is shifted to the long wavelength side as described above is also described in, for example, International Publication No. 2008/000646.
  • Examples of the cyanoacrylate-based compound used as a short-wavelength visible light absorber include those having a basic skeleton of 2-cyano-3,3-diphenylacrylate and having an electron-withdrawing group bonded as a substituent on the benzene ring. Be done.
  • Examples of the electron-withdrawing group include a halogen group and an ester group.
  • the electron-withdrawing group is a heterocyclic group that forms a 5-membered ring or a 6-membered ring together with the benzene ring, and may form a polycycle together with the benzene ring.
  • a compound having a 2-cyano-3,3-diphenylacrylate skeleton absorbs ultraviolet rays, but the absorption wavelength region shifts to the long wavelength side due to the binding of electron-withdrawing groups as described above, and the upper 400 to It becomes possible to absorb visible light on the short wavelength side of 420 nm.
  • examples of the benzophenone-based compound used as the short-wavelength visible light absorber include those having a benzophenone skeleton and having an electron-withdrawing group bonded as a substituent of the benzene ring.
  • examples of the electron-withdrawing group include a halogen group and an ester group.
  • the electron-withdrawing group is a heterocyclic group that forms a 5-membered ring or a 6-membered ring with a benzene ring, and forms a polycycle with the benzene ring. It may be something to do.
  • a compound having a benzophenone skeleton absorbs ultraviolet rays, but by binding electron-withdrawing groups as described above, the absorption wavelength region shifts to the long wavelength side, making it possible to absorb short-wavelength visible light. Become.
  • the visible light absorber is to include at least one selected from dyes and pigments.
  • the difference in brightness between one surface and the other surface of the laminated glass can be further increased.
  • dyes and pigments light-shielding properties can be ensured and privacy protection can be enhanced.
  • the dye is not particularly limited, but for example, anthraquinone dye, quinoline dye, isoquinoline dye, monoazo dye, disazo dye, quinophthalone dye, perylene dye, triphenylmethane dye, methine dye and other yellow dyes, phthalocyanine compounds, naphthalocyanine compounds. , Anthracianin compounds, and the like.
  • a yellow dye and a phthalocyanine compound are preferable, and a yellow dye and a phthalocyanine compound are preferably used in combination from the viewpoint of increasing the difference in brightness between one surface and the other surface of the laminated glass.
  • the yellow dye is preferably a perillene dye
  • the phthalocyanine compound is preferably a phthalocyanine compound containing a vanadium atom or a copper atom, and a phthalocyanine compound containing a copper atom is more preferable.
  • black pigments such as titanium black, carbon black and aniline black, anthraquinone pigments and the like can be used, and carbon black is particularly preferable.
  • the pigment is preferably used in combination with the above-mentioned dye, and in particular, from the viewpoint of increasing the difference in brightness between one surface and the other surface of the laminated glass, a black pigment such as a phthalocyanine compound, a perylene dye, or carbon black is used. It is preferable to use them together, or to use an anthraquinone dye and a black pigment such as carbon black in combination. It is also preferable to use pigments in combination with each other. For example, it is also preferable to use an anthraquinone pigment and a black pigment such as carbon black in combination.
  • the visible light absorber may be contained in the light emitting layer, but a layer different from the light emitting layer may be provided and contained in the other layer (hereinafter, also referred to as “absorbent-containing layer”). preferable.
  • the absorbent-containing layer may be laminated directly on the light emitting layer or via another layer, and the thermoplastic film may have a multilayer structure.
  • the thermoplastic film has an absorbent-containing layer and is used for a window glass such as a windshield of an automobile, the light emitting layer is on the indoor side (that is, inside the automobile) and the absorbent-containing layer is on the outdoor side. (That is, in a car, it should be placed on the outside of the car).
  • the absorbent-containing layer When the absorbent-containing layer is arranged on the outdoor side, the light emitted by the light-emitting material is absorbed by the absorbent-containing layer when traveling to the outdoor side, and conversely, absorbed when traveling to the indoor side. Not done. As a result, the difference between the brightness on the indoor side and the brightness on the outdoor side becomes large, and it becomes difficult to see the information displayed on the windshield from the outdoor side.
  • the excitation light from the excitation light source is the visible light absorber. It is incident on the light emitting layer without being absorbed by the light source. Therefore, even if the thermoplastic film contains a visible light absorber, the visible light absorber does not inhibit the light emission of the light emitting layer by the excitation light.
  • the absorbent-containing layer preferably contains a thermoplastic resin in addition to the visible light absorber.
  • a thermoplastic resin in addition to the visible light absorber.
  • thermoplastic resin used for the absorbent-containing layer is not particularly limited, and examples thereof include polyvinyl acetal resin, ethylene-vinyl acetate copolymer resin, ionomer resin, polyurethane resin, and thermoplastic elastomer. By using these resins, it becomes easy to secure the adhesiveness with the glass plate.
  • one type of thermoplastic resin may be used alone, or two or more types may be used in combination.
  • at least one selected from polyvinyl acetal resin and ethylene-vinyl acetate copolymer resin is preferable, and in particular, when used in combination with a plasticizer, it exhibits excellent adhesiveness to glass.
  • Polyvinyl acetal resin is more preferable.
  • the same type of resin may be used for the thermoplastic resin in the light emitting layer and the thermoplastic resin in the absorbent-containing layer, or different types of resins may be used. Although it may be used, it is preferable to use the same type of resin.
  • the thermoplastic resin in the light emitting layer is a polyvinyl acetal resin
  • the thermoplastic resin in the absorbent-containing layer is also a polyvinyl acetal resin.
  • thermoplastic resin in the light emitting layer is an ethylene-vinyl acetate copolymer resin
  • thermoplastic resin in the absorbent-containing layer is also preferably an ethylene-vinyl acetate copolymer resin.
  • the details of the polyvinyl acetal resin, the ethylene-vinyl acetate copolymer resin, the ionomer resin, the polyurethane resin, and the thermoplastic elastomer are as described in the light emitting layer, and thus the description thereof will be omitted.
  • the absorbent-containing layer may further contain a plasticizer.
  • the absorbent-containing layer becomes flexible by containing a plasticizer, for example, when used for a laminated glass, the laminated glass is made flexible. Furthermore, it is possible to exhibit high adhesiveness to the glass plate.
  • a polyvinyl acetal resin is used as the thermoplastic resin
  • the absorbent-containing layer is particularly effective when it contains a plasticizer.
  • the plasticizer include organic ester plasticizers such as monobasic organic acid esters and polybasic organic acid esters, and phosphoric acid plasticizers such as organic phosphoric acid plasticizers and organic subphosphate plasticizers. .. Specific examples of the plasticizer are as described above.
  • an organic ester plasticizer is preferable, and triethylene glycol-di-2-ethylhexanoate (3GO) is particularly preferably used.
  • 3GO triethylene glycol-di-2-ethylhexanoate
  • one type of plasticizer may be used alone, or two or more types may be used in combination.
  • the content of the plasticizer is not particularly limited, but the preferable lower limit is 30 parts by mass and the preferable upper limit is 70 parts by mass with respect to 100 parts by mass of the thermoplastic resin.
  • the content of the plasticizer is 30 parts by mass or more, the laminated glass becomes moderately flexible and the handleability and the like are improved. Further, when the content of the plasticizer is 70 parts by mass or less, the plasticizer is prevented from being separated from the absorbent-containing layer.
  • the more preferable lower limit of the content of the plasticizer is 35 parts by mass, and the more preferable upper limit is 63 parts by mass.
  • the absorbent-containing layer is preferably made of a thermoplastic resin or a thermoplastic resin and a plasticizer as main components, and the total amount of the thermoplastic resin and the plasticizer is usually based on the total amount of the absorbent-containing layer. It is 70% by mass or more, preferably 80% by mass or more, and more preferably 90% by mass or more.
  • the content of the visible light absorber in the absorbent-containing layer is preferably 0.0001 parts by mass or more, more preferably 0.001 parts by mass or more, and 0.002 parts by mass or more with respect to 100 parts by mass of the thermoplastic resin. More preferred. Further, 5 parts by mass or less is preferable, 2 parts by mass or less is more preferable, and 1 part by mass or less is further preferable.
  • the content of the visible light absorber in the absorbent-containing layer is preferably adjusted appropriately depending on the type of the visible light absorber, and when a short-wavelength visible light absorber is used as the visible light absorber, the visible light absorber is used.
  • the content of is preferably 0.0001 parts by mass or more, more preferably 0.001 parts by mass or more, and further preferably 0.0015 parts by mass or more with respect to 100 parts by mass of the resin. Further, 0.5 parts by mass or less is preferable, 0.3 parts by mass or less is more preferable, 0.1 parts by mass or less is further preferable, and 0.01 parts by mass or less is further preferable.
  • the content of the visible light absorber By setting the content of the visible light absorber to the above lower limit value or more, the difference in brightness between one surface and the other surface of the laminated glass can be increased. Further, when the value is not more than the above upper limit value, it is possible to prevent the absorbent-containing layer from being colored by the visible light absorber, and it becomes easy to exert an effect commensurate with the content.
  • the content of the visible light absorber is preferably 0.001 part by mass or more with respect to 100 parts by mass of the resin. 01 parts by mass or more is more preferable, and 0.1 parts by mass or more is further preferable.
  • the content of the visible light absorber means the total content when a plurality of types are used.
  • the absorbent-containing layer is a layer that does not substantially contain a light emitting material. Since the absorbent-containing layer does not substantially contain the light emitting material, the difference in brightness between one surface and the other surface of the laminated glass can be increased.
  • the fact that the light emitting material is not substantially contained means that the light emitting material is not intentionally blended in the absorbent-containing layer, and the absorbent content may inevitably contain the light emitting material. For example, when the barrier layer described later is not provided, the light emitting material shifts from the light emitting layer to the absorbent-containing layer. In addition, it may be unavoidably mixed in the manufacturing process.
  • the content of the light-emitting material in the absorbent-containing layer is sufficiently smaller than the content of the light-emitting material in the light-emitting layer.
  • the content of the light emitting material with respect to 100 parts by mass of the thermoplastic resin in the absorbent layer is sufficiently smaller than the content of the light emitting material with respect to 100 parts by mass of the thermoplastic resin in the light emitting layer, for example, 1/5. It is preferably less than 1/10, preferably less than 1/10.
  • the thermoplastic film of the present invention preferably contains an ultraviolet absorber.
  • the ultraviolet absorber is preferably contained in at least one of the light emitting layer and the absorbent-containing layer, more preferably in at least the absorbent-containing layer, and is contained in both the light-emitting layer and the absorbent-containing layer. It is more preferably contained. That is, the absorbent-containing layer preferably contains an ultraviolet absorber in addition to the above-mentioned visible light absorber.
  • the thermoplastic film can more effectively suppress the decrease in emission intensity even after long-term irradiation with ultraviolet rays. Further, since the light emitting layer and the absorbent-containing layer contain an ultraviolet absorber, it is possible to prevent the light emitting layer and the absorbent-containing layer from being photodegraded by sunlight or the like. Further, when the thermoplastic film is used for a window glass, for example, it is possible to prevent ultraviolet rays from being transmitted to the indoor side (inside the vehicle) through the window glass.
  • the ultraviolet absorber is a compound having a maximum absorption wavelength peak in a wavelength region of 300 nm or more and less than 360 nm, preferably 330 nm or more and less than 360 nm, and more preferably 345 nm or more and less than 360 nm.
  • the ultraviolet absorber include a compound having a malonic acid ester skeleton, a compound having a oxalic acid anilide skeleton, a compound having a benzotriazole skeleton, a compound having a benzophenone skeleton, a compound having a triazine skeleton, and a compound having a benzoate skeleton.
  • Compounds having a hindered amine skeleton and the like can be used. Among these, a compound having a benzotriazole skeleton (benzotriazole-based compound) is preferable.
  • Preferred specific examples of the benzotriazole-based compound include a compound represented by the following general formula (13).
  • the compound represented by the following formula (13) is preferably contained in the light emitting layer, the absorbent-containing layer, or both of them, but more preferably contained in both the light emitting layer and the absorbent-containing layer. preferable.
  • R 31 represents a hydrogen atom, an alkyl group having 1 to 8 carbon atoms, or an alkoxycarbonylalkyl group having 4 to 20 carbon atoms
  • R 32 is a hydrogen atom or an alkyl group having 1 carbon number. Represents an alkyl group of ⁇ 8.
  • X is a chlorine atom or a hydrogen atom.
  • the alkyl groups of R 31 and R 32 may have a linear structure or may have a branched structure.
  • the alkoxycarbonylalkyl group may have a linear structure or may have a branched structure.
  • R 31 and R 32 include hydrogen atom, methyl group, ethyl group, n-propyl group, iso-propyl group, n-butyl group, tert-butyl group, pentyl group, hexyl group and octyl group.
  • R 31 includes a methoxycarbonylpropyl group, an octyloxycarbonylpropyl group and the like.
  • R 31 is preferably a hydrogen atom or an alkyl group, particularly preferably a hydrogen atom, a methyl group, a tert-butyl group, a pentyl group, or an octyl group.
  • R 31 and R 32 may be the same or different.
  • Specific examples of the compound represented by the formula (13) include 2- (3-t-butyl-5-methyl-2-hydroxyphenyl) -5-chlorobenzotriazole and 2- (3,5-di-).
  • the content of the ultraviolet absorber in the layer containing the ultraviolet absorber is based on 100 parts by mass of the thermoplastic resin. It is preferably 0.01 part by mass or more, more preferably 0.05 part by mass or more, and further preferably 0.1 part by mass or more.
  • the content of the ultraviolet absorber is preferably 2.0 parts by mass or less, more preferably 1.5 parts by mass or less, and further preferably 1.2 parts by mass or less with respect to 100 parts by mass of the thermoplastic resin. is there. By setting these lower limits or more, deterioration of each layer can be prevented. By setting these upper limit values or less, it is possible to prevent the layer from being colored by the ultraviolet absorber. Further, it is preferable to adjust the content of the ultraviolet absorber in each of the light emitting layer and the absorbent layer as follows.
  • the content of the ultraviolet absorber in the light emitting layer is, for example, 0.01 part by mass or more, preferably 0.05 part by mass or more, and more preferably 0.1 part by mass or more with respect to 100 parts by mass of the thermoplastic resin. By setting the content to these contents or more, it is possible to prevent the light emitting layer from being deteriorated by being irradiated with sunlight or the like.
  • the content of the ultraviolet absorber in the light emitting layer is, for example, 1.5 parts by mass or less, preferably 0.7 parts by mass or less, and more preferably 0.35 parts by mass or less with respect to 100 parts by mass of the thermoplastic resin.
  • the content of the ultraviolet absorber in the absorbent-containing layer is, for example, 0.1 part by mass or more, preferably more than 0.2 part by mass, more preferably 0.4 part by mass or more, and further, with respect to 100 parts by mass of the thermoplastic resin. It is preferably 0.6 parts by mass or more.
  • the content of the ultraviolet absorber in the absorbent-containing layer is preferably 2.0 parts by mass or less, more preferably 1.5 parts by mass or less, and further preferably 1.2 with respect to 100 parts by mass of the thermoplastic resin.
  • the ultraviolet absorber is less than a part by mass. By setting these upper limit values or less, it is possible to prevent the absorber-containing layer from being colored by the ultraviolet absorber.
  • the ultraviolet absorber can be appropriately dispersed or dissolved in the thermoplastic resin, and it becomes easy to exert an effect commensurate with the content.
  • the content of the ultraviolet absorber with respect to 100 parts by mass of the thermoplastic resin in the absorbent layer is 100 mass by mass of the thermoplastic resin in the light emitting layer. It is preferable that the content is larger than the content of the ultraviolet absorber in the portion.
  • the difference in content with respect to 100 parts by mass of the thermoplastic resin is, for example, 0.1 part by mass or more, preferably 0.3 part by mass or more, more preferably. Is 0.5 parts by mass or more.
  • the thermoplastic film may contain a dye other than the above-mentioned light emitting material, if necessary.
  • the dye may be contained in the absorbent layer, the light emitting layer, or both of them, but is preferably contained in the absorbent layer.
  • the absorbent-containing layer may be colored by containing a visible light absorber, but can be changed to a desired color by containing a dye.
  • the pigment is not particularly limited, but may be any pigment, dye, or any other pigment, and may be any pigment such as blue pigment, red pigment, yellow pigment, and green pigment.
  • thermoplastic film may further contain additives such as an infrared absorber, an antioxidant, a light stabilizer, an adhesive force adjusting agent, a fluorescent whitening agent, a crystal nucleating agent, and a dispersant, if necessary. Good.
  • the light emitting layer may contain one or more selected from these.
  • the absorbent-containing layer may also contain one or more selected from these.
  • the infrared absorber is not particularly limited as long as it has the ability to shield infrared rays, but for example, tin-doped indium oxide particles are suitable.
  • the absorbent-containing layer can exhibit high heat-shielding properties.
  • the antioxidant is not particularly limited, and for example, 2,2-bis [[[3- (3,5-di-tert-butyl-4-hydroxyphenyl) propionyl] oxy] methyl] propan-1,3- Diol 1,3-bis [3- (3,5-di-tert-butyl-4-hydroxyphenyl) propionate], 4,4'-thiobis (6-tert-butyl-3-methylphenol), 4,4 '-Dimethyl-6,6'-di (tert-butyl) [2,2'-methylenebis (phenol)], 2,6-di-t-butyl-p-cresol, 4,4'-butylidenebis- (6) -T-Butyl-3-methylphenol) and the like.
  • the crystal nucleating agent is not particularly limited, and examples thereof include dibenzylidene sorbitol, dibenzidenexylitol, dibenzideneacetonelcitol, dibenzidenemannitol, and calixarene.
  • the crystal nucleating agent is preferably used when an ethylene-vinyl acetate copolymer resin is used as the thermoplastic resin.
  • As the adhesive strength adjusting agent for example, various magnesium salts or potassium salts are used.
  • the thermoplastic film may further have a barrier layer between the light emitting layer and the absorbent-containing layer.
  • the barrier layer is a layer for preventing the light emitting material from diffusing, and specifically, it prevents the light emitting material blended in the light emitting layer from migrating to the absorbent-containing layer. Therefore, even after long-term use, the light-emitting material remains in the light-emitting layer and the ultraviolet absorber and visible light absorber remain in the absorbent-containing layer, thus reducing the difference in brightness between one surface and the other surface of the laminated glass. It will be easier.
  • the barrier layer may be made of a resin layer.
  • the resin constituting the resin layer include polyvinyl acetal resin such as polyvinyl butyral resin, polyester resin such as polyethylene terephthalate, and acrylic resin.
  • acrylic resin an acrylic polymer containing a structural unit derived from a hydroxyl group-containing (meth) acrylate is preferable, and specifically, polyhydroxypropyl methacrylate (HPMA resin), polyhydroxyethyl methacrylate (HEMA resin) and the like are preferable.
  • HPMA resin polyhydroxypropyl methacrylate
  • HEMA resin polyhydroxyethyl methacrylate
  • PET polyethylene terephthalate
  • the polyethylene terephthalate may be modified PET, for example, cyclohexanedimethylene modified PET (PETG) or the like is preferable.
  • the resin used for the barrier layer may be used alone or in combination of two or more.
  • the barrier layer may be made of the above resin alone, but may contain additives as long as its function is not impaired. Examples of the additive include an antioxidant, a light stabilizer, a fluorescent whitening agent, a crystal nucleating agent and the like. These details are as described above.
  • the barrier layer contains substantially no plasticizer. Since the barrier layer does not contain a plasticizer, it is possible to prevent diffusion of luminescent materials and the like. In particular, if both the light emitting layer and the absorbent-containing layer contain a plasticizer, diffusion of the light emitting material or the like is likely to occur. Therefore, while both the light emitting layer and the absorbent-containing layer contain the plasticizer, the barrier layer is plastic. It is preferable that the agent is substantially not contained.
  • the term "substantially free of plasticizer" means that the plasticizer may be contained in an amount as long as the function of the barrier layer is not impaired. For example, the plasticizer that is unavoidably mixed unintentionally is contained. May be good.
  • the content of the plasticizer in the barrier layer is, for example, preferably less than 2 parts by mass, preferably less than 1 part by mass, and less than 0.5 parts by mass with respect to 100 parts by mass of the thermoplastic resin. It is more preferably, most preferably 0 parts by mass.
  • the thickness of the barrier layer is preferably 15 to 300 ⁇ m. When the thickness is 15 ⁇ m or more, the barrier property is improved and diffusion of the light emitting material can be prevented. Further, by setting the thickness to 300 ⁇ m or less, the flexibility of the thermoplastic film can be ensured. From the viewpoint of barrier performance, the thickness of the barrier layer is more preferably 30 ⁇ m or more, still more preferably 50 ⁇ m or more. Further, from the viewpoint of the flexibility of the thermoplastic film, 200 ⁇ m or less is more preferable, and 150 ⁇ m or less is further preferable.
  • the thermoplastic film 10 may be composed of the light emitting layer 11 alone (see FIG. 1), but includes the light emitting layer 11 and the absorbent-containing layer 12 as shown in FIGS. 2 and 3. Is preferable.
  • the thermoplastic film 10 includes a light emitting layer 11 and an absorbent-containing layer 12 laminated on the light emitting layer 11, and may be composed of these two layers, but contains other layers.
  • a barrier layer 13 may be provided between the light emitting layer 11 and the absorbent-containing layer 12.
  • the thermoplastic film 10 is used for window glass, preferably a window glass for automobiles such as a windshield, but one surface 10A is on the indoor side (in the automobile, inside the vehicle) and the other surface 10B is on the side. It is placed on the outside (outside the car in a car).
  • the thermoplastic film 10 is irradiated with excitation light from an excitation light source to cause the light emitting layer 11 to emit light, and the excitation light from the excitation light source is incident on the indoor side, that is, from one surface 10A of the thermoplastic film 10.
  • the light emission of the light emitting layer 11 is generally observed from one surface 10A side (that is, the indoor side).
  • the thermoplastic film 10 includes the light emitting layer 11 and the absorbent-containing layer 12
  • the light emitting layer 11 is on one surface 10A side (that is, indoor side).
  • the absorbent-containing layer 12 may be arranged on the other surface 10B side (that is, the outdoor side).
  • the difference in brightness between the indoor side and the outdoor side can be increased, and the information can be made difficult to see on the outdoor side.
  • the excitation light from the excitation light source is not absorbed by the absorbent-containing layer 12 and is incident on the light emitting layer 11, the emission intensity of the light emitting layer 11 is lowered even if the absorbent-containing layer 12 is provided. Can be prevented.
  • the components (light emitting material, visible light absorber, ultraviolet absorber, etc.) contained in the light emitting layer 11 and the absorbent-containing layer 12 are usually uniformly dispersed in each layer, but are unevenly distributed. May be good.
  • the thermoplastic film 10 is composed of a light emitting layer 11 alone containing a light emitting material
  • the content ratio of the light emitting material is such that the region on one surface 10A side of the light emitting layer 11 is larger than the region on the other surface 10B side. It may be adjusted so that the content ratio gradually changes, for example.
  • the content ratio of the visible light absorber may be adjusted so that the region on the other surface 10B side of the light emitting layer 11 is larger than the region on the one surface 10A side, for example, the content ratio is gradually increased. It may be adjusted to change.
  • the content ratio of the ultraviolet absorber may be adjusted so that the region on the other surface 10B side of the light emitting layer 11 is larger than the region on the one surface 10A side, for example, the content ratio gradually changes. It may be adjusted to do so.
  • the light emitting material and the visible light absorber are unevenly distributed in this way, the difference in brightness between one surface and the other surface becomes large as in the case where the two layers of the light emitting layer 11 and the absorbent containing layer 12 are provided. can do.
  • the excitation light incident from one surface 10A is likely to be irradiated to the light emitting material before being absorbed by the visible light absorber, the ultraviolet absorber, or the like, so that the light emitting intensity of the light emitting layer 11 is prevented from being lowered. it can.
  • thermoplastic film of the present invention is preferably used by being laminated on a glass plate, for example, may be used by being laminated on one glass plate, but is preferably used as an interlayer film for laminated glass. ..
  • the laminated glass interlayer film made of a thermoplastic film is arranged between two glass plates as described later, and is used for adhering the two glass plates, thereby forming the glass interlayer film and the two glass plates. It can be a laminated glass provided with.
  • the laminated glass of the present invention includes a first glass plate, a second glass plate, and a thermoplastic film arranged between the first glass plate and the second glass plate.
  • the first glass plate and the second glass plate are adhered by a thermoplastic film. That is, the thermoplastic film is used as an interlayer film for laminated glass.
  • the laminated glass of the present invention contains a light emitting material that emits light when irradiated with excitation light, and when one surface is irradiated with excitation light that can be absorbed by the light emitting material, the brightness A observed on one surface side and the other
  • the difference (AB) from the brightness B observed on the surface side of is 5 cd / m 2 or more.
  • the laminated glass of the present invention by increasing the difference in brightness between one surface and the other surface, information is easily visible from one surface and difficult to be seen from the other surface.
  • the visible light transmittance Tv of the laminated glass of the present invention is preferably 70% or more, more preferably 75% or more, further preferably 80% or more, and further preferably 85%, as described above, for example, in applications where transparency is required. % Or more is more preferable.
  • the visible light transmittance Tv of the laminated glass is better, but it is practically 99% or less, and preferably 97% or less.
  • the visible light transmittance Tv may be low, for example, 50% or less, preferably 45% or less, and more preferably 40% or less. Further, as described above, it is preferably 10% or more, more preferably 15% or more, still more preferably 20% or more.
  • the glass plate used in the laminated glass may be either inorganic glass or organic glass, but inorganic glass is preferable.
  • the inorganic glass is not particularly limited, and examples thereof include clear glass, float glass, polished glass, template glass, meshed glass, wire-reinforced glass, and green glass.
  • the organic glass what is generally called resin glass is used, and examples thereof include organic glass composed of a resin such as polycarbonate, acrylic resin, acrylic copolymer resin, and polyester, although the glass is not particularly limited.
  • the two glass plates may be made of the same kind of material as each other, or may be made of different materials. For example, one may be inorganic glass and the other may be organic glass, but it is preferable that both of the two glass plates are inorganic glass or organic glass.
  • the thickness of each glass plate is not particularly limited, but is, for example, about 0.1 to 15 mm, preferably 0.5 to 5 mm.
  • the thickness of each glass plate may be the same as or different from each other, but is preferably the same.
  • the above-mentioned thermoplastic film of the present invention may be used as the thermoplastic film arranged between the first glass plate and the second glass plate. That is, when a laminated glass is produced using a reference glass from a thermoplastic film, the laminated glass is observed on one side when irradiated with excitation light that can be absorbed by a light emitting material from one side.
  • a thermoplastic film having a difference (AB) between the brightness A to be measured and the brightness B observed on the other surface side of 5 cd / m 2 or more may be used.
  • the laminated glass 20 of the present invention uses the first and second glass plates 21 and 22 as the thermoplastic film 10. It may be adhered through.
  • the first glass plate 21 is arranged on the indoor side (inside the car in an automobile) by being adhered to one surface 10A of the thermoplastic film 10, and the second glass plate 22 is adhered to the other surface 10B. By being done, it is placed on the outdoor side (outside the car in the case of a car).
  • thermoplastic film used for the laminated glass of the present invention is not limited to the thermoplastic film of the present invention described above, and may have other configurations.
  • a thermoplastic film has a light emitting layer containing the above-mentioned thermoplastic resin and a light emitting material, but when laminated glass is produced using a reference glass, excitation light that can be absorbed by the light emitting material is irradiated from one surface. Then, the difference (AB) between the brightness A and the brightness B may not be 5 cd / m 2 or more, and the film may not contain the above-mentioned visible light absorber.
  • the thermoplastic film may consist of a single light emitting layer, but other layers may be further laminated as appropriate.
  • a thermoplastic resin layer may be used as the other layer.
  • the thermoplastic resin layer does not contain the above-mentioned light emitting material and visible light absorber, but is a layer containing a thermoplastic resin, and may contain an ultraviolet absorber and other additives, if necessary.
  • the thermoplastic resin layer may have the structure as described in the light emitting layer except that it does not contain a light emitting material, and the specific contents thereof are as described above. The same applies to the case where the term "thermoplastic resin layer" is simply referred to in the following description.
  • thermoplastic film (interlayer film for laminated glass) used for the laminated glass of the present invention may have an absorbent-containing layer without having a light emitting layer.
  • the thermoplastic film may consist of a single layer containing an absorbent, but other layers may be further laminated.
  • a thermoplastic resin layer may be used.
  • the thermoplastic film used for the laminated glass of the present invention does not have to contain both a light emitting layer and an absorbent-containing layer, and in such a case, the thermoplastic film may be composed of a thermoplastic resin layer.
  • the laminated glass is different from the thermoplastic film.
  • the laminated glass can emit light even when the thermoplastic film does not have the light emitting layer.
  • the difference in brightness between one surface and the other surface cannot be increased by the thermoplastic film, the difference in brightness between one surface and the other surface can be increased by providing an absorbent-containing layer as another member. It becomes possible to do.
  • the light emitting layer and the absorbent-containing layer provided as separate members may be, for example, a coating film formed on the surface of either the first or second glass plate.
  • the light emitting layer made of a film is, for example, a film containing a light emitting material, and the film may contain a binder component made of a thermosetting resin, a thermoplastic resin, or the like, if necessary. Specifically, polyvinyl butyral or the like can be used as the binder component.
  • the content of the luminescent material based on the total amount of the coating film is preferably 0.1% by mass or more, more preferably 1% by mass or more, and preferably 50% by mass or less. It is preferably 40% by mass or less, and more preferably 40% by mass or less.
  • the light emission intensity of the laminated glass can be improved, and when it is at least these upper limit values, a certain amount or more of the binder can be contained, and the adhesion between the glass and the coating film is good. become.
  • the thickness of the coating film containing the light emitting material is preferably 1 ⁇ m or more, more preferably 10 ⁇ m or more, and preferably 300 ⁇ m or less, more preferably 200 ⁇ m or less.
  • Such a light emitting layer can be formed by applying a paint containing a light emitting material and a binder component and a solvent to be blended as necessary to a glass plate, and drying, curing, or the like as necessary.
  • the paint may contain additives such as an ultraviolet absorber, if necessary.
  • the solvent for example, ethanol, toluene and the like can be used.
  • the absorbent-containing layer made of a film is, for example, a film containing a visible light absorber, and the film may contain an ultraviolet absorber, if necessary, or a binder made of a thermosetting resin, a thermoplastic resin, or the like. It may contain an ingredient.
  • the binder component the same one as the light emitting layer made of the above-mentioned coating film can be used.
  • the content of the visible light absorber based on the total amount of the coating film is preferably 0.0001% by mass or more, more preferably 0.005% by mass or more, and 30% by mass. % Or less, more preferably 20% by mass or less.
  • the difference in brightness between one surface and the other surface can be increased, and information becomes difficult to see from the other surface.
  • a certain amount or more of the binder can be contained, and the adhesion between the glass and the coating film becomes good.
  • the thickness of the coating film containing the visible light absorber is preferably 1 ⁇ m or more, more preferably 10 ⁇ m or more, and preferably 300 ⁇ m or less, more preferably 200 ⁇ m or less.
  • Such a light emitting layer can be formed by applying a paint containing a visible light absorber and a binder component and a solvent to be blended as necessary to a glass plate, and drying, curing, or the like as necessary. ..
  • the paint may contain additives such as an ultraviolet absorber, if necessary.
  • the solvent a solvent used for forming a light emitting layer composed of the above-mentioned coating film can be used.
  • the laminated glass contains both the light emitting layer and the absorbent-containing layer as a whole. do it.
  • one of the light emitting layer and the absorbent-containing layer is a film formed on the surface of either the first or second glass plate, and the other is contained in a thermoplastic film (interlayer film for laminated glass). It is good. Then, the light emitting layer may be arranged on the indoor side (inside the vehicle in an automobile) of the absorbent-containing layer.
  • thermoplastic film 30 contains the light emitting layer 11
  • the absorbent-containing layer 12 is formed on the surfaces 22A and 22B of the second glass plate 22.
  • a film formed on the surface of either one is preferable.
  • FIGS. 4 and 5 show a mode in which the thermoplastic film 30 is composed of the light emitting layer 11 alone, a layer other than the light emitting layer 11 may be provided. Such a layer may be, for example, a thermoplastic resin layer.
  • the thermoplastic film 30 contains the absorbent-containing layer 12
  • the light emitting layer 11 is one of the surfaces 21A and 21B of the first glass plate 21. It is preferable that the film is formed on the surface.
  • FIGS. 6 and 7 show an embodiment in which the thermoplastic film 30 is composed of the absorbent-containing layer 12 alone, a layer other than the absorbent-containing layer 12 may be provided.
  • a layer may be, for example, the above-mentioned thermoplastic resin layer.
  • the thermoplastic film 30 does not contain both the light emitting layer 11 and the absorbent-containing layer 12
  • the light emitting layer 11 is any one of the surfaces 21A and 21B of the first glass plate 21. It may be formed on one surface and the absorbent-containing layer 12 may be formed on one of the surfaces 22A and 22B of the second glass plate 22.
  • the first glass plate 21 is arranged on the indoor side (inside the vehicle in the automobile), and the second glass plate 22 is arranged on the outdoor side (outside the vehicle in the automobile).
  • the laminated glass of the present invention contains both a light emitting layer and an absorbent-containing layer, and by arranging the absorbent-containing layer on the outdoor side, the difference in brightness between one surface and the other surface can be increased. This makes it difficult to see information based on light emission from the outside. Further, by irradiating the excitation light from the indoor side, the light emitting layer is made to emit light with high luminous efficiency by the excitation light.
  • the laminated glass of the present invention is used as, for example, a window glass, and more specifically, various vehicles such as automobiles, trains, ships, and aircraft, and various buildings such as buildings, condominiums, detached houses, halls, and gymnasiums. It is good to be used for window glass such as. It is preferable that the window glass is arranged on the outer surface of various buildings, the outer surface of various vehicles, and the like, and external light is incident through the window glass from the outside to the inside. Laminated glass is preferably used for vehicle glazing, especially automotive glazing.
  • the laminated glass can display various images by emitting light from the light emitting layer by irradiating the first glass plate described above with excitation light from the indoor side (in the car, the inside of the car). In addition, the display of the image becomes difficult to see from the second glass plate.
  • the window glass for automobiles may be a windshield, a rear glass, a side glass, or a roof glass, but it is preferably used for the windshield. When a laminated glass having a light emitting layer is used for the windshield, it can be suitably used for HUD applications.
  • the present invention also provides an image display system including the above-mentioned laminated glass and a light source.
  • the laminated glass is preferably a window glass
  • the first glass plate is arranged on the indoor side (inside the vehicle in the automobile) and the second glass plate is arranged on the outdoor side (outside the vehicle in the automobile).
  • the light source is not particularly limited as long as it emits excitation light capable of exciting the light emitting material contained in the laminated glass, but a laser light source, an LED light source, a xenon lamp, or the like is used.
  • the light source may be arranged indoors (in the vehicle, in the vehicle), whereby the excitation light from the light source may be applied to the first glass plate.
  • the laminated glass When the laminated glass is irradiated with excitation light from a light source, the light emitting material in the laminated glass emits light and an image is displayed on the laminated glass.
  • the image display system of the present invention can be favorably used as an automobile HUD when the laminated glass is used as an automobile windshield.
  • the light emitting layer may be formed of, for example, a thermoplastic resin composition composed of a material constituting the light emitting layer such as a thermoplastic resin, a light emitting material, a plasticizer added as necessary, an ultraviolet absorber, and other additives. ..
  • the absorbent-containing layer is a thermoplastic resin composition made of a material constituting the absorbent-containing layer such as a thermoplastic resin, a visible light absorber, a plasticizer added as needed, and other additives. It is good to form by.
  • the light emitting layer and the absorbent-containing layer may be produced by extrusion molding, press molding, or the like of a thermoplastic resin composition obtained by kneading the materials constituting the respective materials.
  • thermoplastic film of the present invention is composed of, for example, a single light emitting layer
  • the light emitting layer produced as described above may be used as the thermoplastic film.
  • the thermoplastic film of the present invention has a multilayer structure of two or more layers, each layer (for example, a light emitting layer, a barrier layer, an absorbent-containing layer, etc.) constituting the thermoplastic film is laminated and thermocompression bonded or the like. It can be manufactured by doing. Further, laminated glass can also be manufactured in the same manner, and can be manufactured by laminating each layer constituting a thermoplastic film between two glass plates and thermocompression bonding or the like.
  • a film is formed on the surface of the glass plate in advance before adhering the thermoplastic film to the glass plate. Just leave it.
  • Tv visible light transmittance
  • Luminance A (“SR-3AR” manufactured by Topcon Techno House Co., Ltd.) placed at an angle of 45 degrees from the surface of the first glass plate and at a position where the shortest distance from the surface of the first glass plate is 35 cm. cd / m 2 ) was measured. In addition, the brightness is measured by a luminance meter (“SR-3AR” manufactured by Topcon Techno House Co., Ltd.) arranged at an angle of 45 degrees from the surface of the second glass plate and at a position where the shortest distance from the surface of the second glass plate is 35 cm. B (cd / m 2 ) was measured. Luminance A-luminance B was determined and evaluated according to the following criteria. ⁇ ⁇ ⁇ Brightness A-Brightness B is 5 (cd / m 2 ) or more ⁇ ⁇ ⁇ Brightness A-Brightness B is less than 5 (cd / m 2 )
  • PVB Polyvinyl butyral resin, acetalization degree 69 mol%, hydroxyl group amount 30 mol%, acetylation degree 1 mol%, polymerization degree 1700
  • Plasticizer 3GO: Triethylene glycol di-2-ethylhexanoate (light emitting material) Terephthalic acid ester: diethyl-2,5-dihydroxyterephthalate
  • Quinoline system 2- (3-oxoindoline-1-iriden) methylquinoline (ultraviolet absorber)
  • Benzotriazole A compound represented by the formula (13), where X is a chlorine atom, R 31 is a methyl group, and R 32 is a tert-butyl group.
  • Phthalocyanine compound (chlorophthalocyanine) copper
  • Phthalocyanine compound (chlorophthalocyanine) copper
  • Perylene Dye N, N'-bis (3,5-dimethylphenyl) Perylene-3,4: 9,10-bis (dicarbimide)
  • Black pigment carbon black, pigment black 1 (P.BLA.1)
  • Anthraquinone Dye Pibment Blue 60 (P.B60), 6,15-dihydrodinafto [2,3-a: 2,3-h] Phenazine-5,9,14,18-Tetraone
  • Anthraquinone Dye Solvent Red ( S.R.146), 1-amino-4-hydroxy-2-phenoxy-9,10-anthraquinone
  • Example 1 (Preparation of light emitting layer) Polyvinyl butyral resin, plasticizer, luminescent material, and ultraviolet absorber were mixed according to the formulation shown in Table 1, and the obtained thermoplastic resin composition was extruded by a twin-screw isotropic extruder to a thickness of 760 ⁇ m. A light emitting layer was prepared.
  • a 760 ⁇ m absorbent-containing layer was prepared.
  • the obtained light emitting layer and absorbent-containing layer were kept at a constant temperature and humidity of 23 ° C. and a relative humidity of 28% for 4 hours. After that, two transparent clear glass plates (length 50 mm ⁇ width 50 mm ⁇ thickness 2.5 mm, visible light transmittance 90.4%) are prepared, and a light emitting layer and an absorbent are placed on one of the clear glass plates. The containing layer and the other clear glass plate were laminated in this order to form a laminated body.
  • the obtained laminate is transferred into a rubber bag, the rubber bag is connected to a suction decompression system, heated at the outside air heating temperature, and at the same time held under a reduced pressure of -600 mmHg (absolute pressure 160 mmHg) for 10 minutes to bring the temperature of the laminate After heating to 60 ° C. (preliminary crimping temperature), the pressure was returned to atmospheric pressure to perform temporary crimping.
  • the temporarily crimped laminate was held in an autoclave under the conditions of a temperature of 140 ° C. and a pressure of 1.3 MPa for 10 minutes, and then the temperature was lowered to 50 ° C. and returned to atmospheric pressure to complete the main crimping. I got a glass.
  • the laminated glass had a layer structure of a first glass plate / a light emitting layer / an absorbent-containing layer / a second glass plate.
  • Example 2 to 5 Laminated glass was obtained in the same manner as in Example 1 except that the composition of the light emitting layer and the absorbent-containing layer was changed as shown in Table 1.
  • the difference (AB) between the brightness A observed on one surface side and the brightness B observed on the other surface side is 5 cd / m. It was found that the number was 2 or more, and the information displayed on the laminated glass could be easily seen from one surface side, and the information could be difficult to see from the other surface side.
  • Thermoplastic film 11 Light emitting layer 12 Absorbent-containing layer 13 Barrier layer 20 Laminated glass 21 First glass plate 22 Second glass plate

Landscapes

  • Physics & Mathematics (AREA)
  • General Physics & Mathematics (AREA)
  • Optics & Photonics (AREA)
  • Life Sciences & Earth Sciences (AREA)
  • Chemical & Material Sciences (AREA)
  • Biochemistry (AREA)
  • Health & Medical Sciences (AREA)
  • Toxicology (AREA)
  • Laminated Bodies (AREA)
PCT/JP2020/012513 2019-03-20 2020-03-19 熱可塑性フィルム、及び合わせガラス Ceased WO2020189784A1 (ja)

Priority Applications (5)

Application Number Priority Date Filing Date Title
KR1020217029778A KR20210145143A (ko) 2019-03-20 2020-03-19 열가소성 필름, 및 접합 유리
CN202080021491.1A CN113573890B (zh) 2019-03-20 2020-03-19 热塑性膜及夹层玻璃
JP2020526637A JPWO2020189784A1 (enExample) 2019-03-20 2020-03-19
US17/439,192 US11801667B2 (en) 2019-03-20 2020-03-19 Thermoplastic film and laminated glass
EP20773804.8A EP3943289A4 (en) 2019-03-20 2020-03-19 THERMOPLASTIC FILM AND LAMINATED GLASS

Applications Claiming Priority (2)

Application Number Priority Date Filing Date Title
JP2019053906 2019-03-20
JP2019-053906 2019-03-20

Publications (1)

Publication Number Publication Date
WO2020189784A1 true WO2020189784A1 (ja) 2020-09-24

Family

ID=72520919

Family Applications (1)

Application Number Title Priority Date Filing Date
PCT/JP2020/012513 Ceased WO2020189784A1 (ja) 2019-03-20 2020-03-19 熱可塑性フィルム、及び合わせガラス

Country Status (7)

Country Link
US (1) US11801667B2 (enExample)
EP (1) EP3943289A4 (enExample)
JP (1) JPWO2020189784A1 (enExample)
KR (1) KR20210145143A (enExample)
CN (1) CN113573890B (enExample)
TW (1) TW202039788A (enExample)
WO (1) WO2020189784A1 (enExample)

Families Citing this family (1)

* Cited by examiner, † Cited by third party
Publication number Priority date Publication date Assignee Title
US11926122B2 (en) * 2019-04-03 2024-03-12 Acr Ii Glass America Inc. Luminescent glazing

Citations (8)

* Cited by examiner, † Cited by third party
Publication number Priority date Publication date Assignee Title
JPS5018008B1 (enExample) * 1965-01-05 1975-06-25
JPH03141138A (ja) * 1989-10-26 1991-06-17 Pioneer Electron Corp 自動車窓用遮光ガラス
WO2008000646A1 (en) 2006-06-27 2008-01-03 Ciba Holding Inc. Long wavelength shifted benzotriazole uv-absorbers and their use
WO2016104592A1 (ja) * 2014-12-24 2016-06-30 積水化学工業株式会社 ディスプレイ装置、合わせガラス用中間膜及び合わせガラス
JP2016130861A (ja) * 2011-08-29 2016-07-21 サン−ゴバン グラス フランスSaint−Gobain Glass France 合わせガラス板上に表示画像を生成するための方法、装置およびその装置を備えた建物、自動車、航空機、ヘリコプターまたは船舶
WO2018181269A1 (ja) * 2017-03-30 2018-10-04 積水化学工業株式会社 発光ディスプレイ、合わせガラス用中間膜、合わせガラス、及び、発光ディスプレイシステム
JP2018168061A (ja) * 2018-06-06 2018-11-01 積水化学工業株式会社 合わせガラス用中間膜、合わせガラス、及び、ディスプレイ装置
JP2018177637A (ja) * 2018-06-26 2018-11-15 積水化学工業株式会社 合わせガラス用中間膜、合わせガラス及び車両

Family Cites Families (12)

* Cited by examiner, † Cited by third party
Publication number Priority date Publication date Assignee Title
JPS538481B2 (enExample) 1973-06-12 1978-03-29
JP5292651B2 (ja) 2008-12-11 2013-09-18 山田化学工業株式会社 合わせガラス用中間膜及び合わせガラス
EP2409833A1 (de) * 2010-07-23 2012-01-25 Saint-Gobain Glass France Verbundglasscheibe als Head-Up-Display
EP2679558B1 (en) * 2011-02-23 2019-06-19 Sekisui Chemical Co., Ltd. Intermediate film for laminated glasses, and laminated glass
JP6192281B2 (ja) 2011-12-12 2017-09-06 積水化学工業株式会社 発光シート、合わせガラス用中間膜及び合わせガラス
JP6351626B2 (ja) 2013-01-11 2018-07-04 クラレイ ユーロップ ゲゼルシャフト ミット ベシュレンクテル ハフツングKuraray Europe GmbH 可塑剤含有ポリビニルアセタールより成る中間層フィルムを含有する蛍光ディスプレイ
WO2014162619A1 (ja) 2013-04-03 2014-10-09 住友金属鉱山株式会社 熱線遮蔽膜、熱線遮蔽合わせ透明基材、自動車および建造物
KR102260103B1 (ko) * 2013-06-14 2021-06-03 세키스이가가쿠 고교가부시키가이샤 접합 유리용 중간막, 접합 유리용 다층 중간막 및 접합 유리
CN105939978A (zh) * 2014-03-31 2016-09-14 积水化学工业株式会社 夹层玻璃用中间膜、发光性夹层玻璃用中间膜及夹层玻璃
CN106164008B (zh) 2014-04-07 2022-01-11 积水化学工业株式会社 夹层玻璃用中间膜及夹层玻璃
MX2017001152A (es) * 2014-09-29 2017-05-03 Sekisui Chemical Co Ltd Pelicula interlaminar para vidrio laminado, y vidrio laminado.
TWI811326B (zh) * 2018-03-29 2023-08-11 日商積水化學工業股份有限公司 層合玻璃、抬頭顯示器系統及抬頭顯示器系統之製造方法

Patent Citations (8)

* Cited by examiner, † Cited by third party
Publication number Priority date Publication date Assignee Title
JPS5018008B1 (enExample) * 1965-01-05 1975-06-25
JPH03141138A (ja) * 1989-10-26 1991-06-17 Pioneer Electron Corp 自動車窓用遮光ガラス
WO2008000646A1 (en) 2006-06-27 2008-01-03 Ciba Holding Inc. Long wavelength shifted benzotriazole uv-absorbers and their use
JP2016130861A (ja) * 2011-08-29 2016-07-21 サン−ゴバン グラス フランスSaint−Gobain Glass France 合わせガラス板上に表示画像を生成するための方法、装置およびその装置を備えた建物、自動車、航空機、ヘリコプターまたは船舶
WO2016104592A1 (ja) * 2014-12-24 2016-06-30 積水化学工業株式会社 ディスプレイ装置、合わせガラス用中間膜及び合わせガラス
WO2018181269A1 (ja) * 2017-03-30 2018-10-04 積水化学工業株式会社 発光ディスプレイ、合わせガラス用中間膜、合わせガラス、及び、発光ディスプレイシステム
JP2018168061A (ja) * 2018-06-06 2018-11-01 積水化学工業株式会社 合わせガラス用中間膜、合わせガラス、及び、ディスプレイ装置
JP2018177637A (ja) * 2018-06-26 2018-11-15 積水化学工業株式会社 合わせガラス用中間膜、合わせガラス及び車両

Also Published As

Publication number Publication date
TW202039788A (zh) 2020-11-01
EP3943289A1 (en) 2022-01-26
KR20210145143A (ko) 2021-12-01
CN113573890A (zh) 2021-10-29
JPWO2020189784A1 (enExample) 2020-09-24
US11801667B2 (en) 2023-10-31
EP3943289A4 (en) 2022-12-14
CN113573890B (zh) 2023-06-06
US20220152992A1 (en) 2022-05-19

Similar Documents

Publication Publication Date Title
JP6192281B2 (ja) 発光シート、合わせガラス用中間膜及び合わせガラス
JP6978185B2 (ja) 合わせガラス用中間膜及び合わせガラス
JP6351626B2 (ja) 可塑剤含有ポリビニルアセタールより成る中間層フィルムを含有する蛍光ディスプレイ
KR20160020425A (ko) 접합 유리용 중간막 및 접합 유리
US20170287369A1 (en) Display apparatus, interlayer film for laminated glass, and laminated glass
CN113573889B (zh) 热塑性膜及夹层玻璃
JP6188301B2 (ja) 合わせガラス用中間膜、合わせガラス、及び、ディスプレイ装置
JP6362500B2 (ja) 合わせガラス用中間膜、合わせガラス及び車両
CN113573900B (zh) 热塑性膜及夹层玻璃
KR102544849B1 (ko) 발광 디스플레이, 합판 유리용 중간막, 합판 유리, 및 발광 디스플레이 시스템
WO2020189784A1 (ja) 熱可塑性フィルム、及び合わせガラス
JP6423958B2 (ja) グラデーション模様を表示できるディスプレイ装置、自動車ルーフ用ガラス及び建築物用窓ガラス
JP7385513B2 (ja) 熱可塑性フィルム、及び合わせガラス
JP2021147287A (ja) 熱可塑性フィルム、及び合わせガラス
JP2018177637A (ja) 合わせガラス用中間膜、合わせガラス及び車両
JP6411153B2 (ja) 合わせガラス用中間膜及び合わせガラス
WO2022054849A1 (ja) 合わせガラス用中間膜、合わせガラス、及び合わせガラス用積層体

Legal Events

Date Code Title Description
ENP Entry into the national phase

Ref document number: 2020526637

Country of ref document: JP

Kind code of ref document: A

121 Ep: the epo has been informed by wipo that ep was designated in this application

Ref document number: 20773804

Country of ref document: EP

Kind code of ref document: A1

NENP Non-entry into the national phase

Ref country code: DE

ENP Entry into the national phase

Ref document number: 2020773804

Country of ref document: EP

Effective date: 20211020