WO2020049779A1 - 色評価装置、色評価方法、および、色評価方法に用いられる表示物 - Google Patents

色評価装置、色評価方法、および、色評価方法に用いられる表示物 Download PDF

Info

Publication number
WO2020049779A1
WO2020049779A1 PCT/JP2019/011936 JP2019011936W WO2020049779A1 WO 2020049779 A1 WO2020049779 A1 WO 2020049779A1 JP 2019011936 W JP2019011936 W JP 2019011936W WO 2020049779 A1 WO2020049779 A1 WO 2020049779A1
Authority
WO
WIPO (PCT)
Prior art keywords
color
sensor
display object
area
colors
Prior art date
Legal status (The legal status is an assumption and is not a legal conclusion. Google has not performed a legal analysis and makes no representation as to the accuracy of the status listed.)
Ceased
Application number
PCT/JP2019/011936
Other languages
English (en)
French (fr)
Japanese (ja)
Inventor
雄二 諏訪
航平 會田
森 俊介
繁貴 坪内
昌宏 川崎
好文 關口
Current Assignee (The listed assignees may be inaccurate. Google has not performed a legal analysis and makes no representation or warranty as to the accuracy of the list.)
Hitachi Ltd
Original Assignee
Hitachi Ltd
Priority date (The priority date is an assumption and is not a legal conclusion. Google has not performed a legal analysis and makes no representation as to the accuracy of the date listed.)
Filing date
Publication date
Application filed by Hitachi Ltd filed Critical Hitachi Ltd
Priority to CN201980047204.1A priority Critical patent/CN112469978B/zh
Priority to US17/252,857 priority patent/US11398055B2/en
Publication of WO2020049779A1 publication Critical patent/WO2020049779A1/ja
Anticipated expiration legal-status Critical
Ceased legal-status Critical Current

Links

Images

Classifications

    • GPHYSICS
    • G01MEASURING; TESTING
    • G01NINVESTIGATING OR ANALYSING MATERIALS BY DETERMINING THEIR CHEMICAL OR PHYSICAL PROPERTIES
    • G01N21/00Investigating or analysing materials by the use of optical means, i.e. using sub-millimetre waves, infrared, visible or ultraviolet light
    • G01N21/75Systems in which material is subjected to a chemical reaction, the progress or the result of the reaction being investigated
    • G01N21/77Systems in which material is subjected to a chemical reaction, the progress or the result of the reaction being investigated by observing the effect on a chemical indicator
    • G01N21/78Systems in which material is subjected to a chemical reaction, the progress or the result of the reaction being investigated by observing the effect on a chemical indicator producing a change of colour
    • G01N21/81Indicating humidity
    • GPHYSICS
    • G01MEASURING; TESTING
    • G01JMEASUREMENT OF INTENSITY, VELOCITY, SPECTRAL CONTENT, POLARISATION, PHASE OR PULSE CHARACTERISTICS OF INFRARED, VISIBLE OR ULTRAVIOLET LIGHT; COLORIMETRY; RADIATION PYROMETRY
    • G01J3/00Spectrometry; Spectrophotometry; Monochromators; Measuring colours
    • G01J3/02Details
    • G01J3/0264Electrical interface; User interface
    • GPHYSICS
    • G01MEASURING; TESTING
    • G01JMEASUREMENT OF INTENSITY, VELOCITY, SPECTRAL CONTENT, POLARISATION, PHASE OR PULSE CHARACTERISTICS OF INFRARED, VISIBLE OR ULTRAVIOLET LIGHT; COLORIMETRY; RADIATION PYROMETRY
    • G01J3/00Spectrometry; Spectrophotometry; Monochromators; Measuring colours
    • G01J3/02Details
    • G01J3/0272Handheld
    • GPHYSICS
    • G01MEASURING; TESTING
    • G01JMEASUREMENT OF INTENSITY, VELOCITY, SPECTRAL CONTENT, POLARISATION, PHASE OR PULSE CHARACTERISTICS OF INFRARED, VISIBLE OR ULTRAVIOLET LIGHT; COLORIMETRY; RADIATION PYROMETRY
    • G01J3/00Spectrometry; Spectrophotometry; Monochromators; Measuring colours
    • G01J3/46Measurement of colour; Colour measuring devices, e.g. colorimeters
    • G01J3/462Computing operations in or between colour spaces; Colour management systems
    • GPHYSICS
    • G01MEASURING; TESTING
    • G01JMEASUREMENT OF INTENSITY, VELOCITY, SPECTRAL CONTENT, POLARISATION, PHASE OR PULSE CHARACTERISTICS OF INFRARED, VISIBLE OR ULTRAVIOLET LIGHT; COLORIMETRY; RADIATION PYROMETRY
    • G01J3/00Spectrometry; Spectrophotometry; Monochromators; Measuring colours
    • G01J3/46Measurement of colour; Colour measuring devices, e.g. colorimeters
    • G01J3/50Measurement of colour; Colour measuring devices, e.g. colorimeters using electric radiation detectors
    • GPHYSICS
    • G01MEASURING; TESTING
    • G01JMEASUREMENT OF INTENSITY, VELOCITY, SPECTRAL CONTENT, POLARISATION, PHASE OR PULSE CHARACTERISTICS OF INFRARED, VISIBLE OR ULTRAVIOLET LIGHT; COLORIMETRY; RADIATION PYROMETRY
    • G01J3/00Spectrometry; Spectrophotometry; Monochromators; Measuring colours
    • G01J3/46Measurement of colour; Colour measuring devices, e.g. colorimeters
    • G01J3/52Measurement of colour; Colour measuring devices, e.g. colorimeters using colour charts
    • GPHYSICS
    • G01MEASURING; TESTING
    • G01JMEASUREMENT OF INTENSITY, VELOCITY, SPECTRAL CONTENT, POLARISATION, PHASE OR PULSE CHARACTERISTICS OF INFRARED, VISIBLE OR ULTRAVIOLET LIGHT; COLORIMETRY; RADIATION PYROMETRY
    • G01J3/00Spectrometry; Spectrophotometry; Monochromators; Measuring colours
    • G01J3/46Measurement of colour; Colour measuring devices, e.g. colorimeters
    • G01J3/52Measurement of colour; Colour measuring devices, e.g. colorimeters using colour charts
    • G01J3/524Calibration of colorimeters
    • GPHYSICS
    • G01MEASURING; TESTING
    • G01KMEASURING TEMPERATURE; MEASURING QUANTITY OF HEAT; THERMALLY-SENSITIVE ELEMENTS NOT OTHERWISE PROVIDED FOR
    • G01K11/00Measuring temperature based upon physical or chemical changes not covered by groups G01K3/00, G01K5/00, G01K7/00 or G01K9/00
    • G01K11/12Measuring temperature based upon physical or chemical changes not covered by groups G01K3/00, G01K5/00, G01K7/00 or G01K9/00 using changes in colour, translucency or reflectance
    • GPHYSICS
    • G01MEASURING; TESTING
    • G01NINVESTIGATING OR ANALYSING MATERIALS BY DETERMINING THEIR CHEMICAL OR PHYSICAL PROPERTIES
    • G01N21/00Investigating or analysing materials by the use of optical means, i.e. using sub-millimetre waves, infrared, visible or ultraviolet light
    • G01N21/17Systems in which incident light is modified in accordance with the properties of the material investigated
    • G01N21/25Colour; Spectral properties, i.e. comparison of effect of material on the light at two or more different wavelengths or wavelength bands
    • G01N21/27Colour; Spectral properties, i.e. comparison of effect of material on the light at two or more different wavelengths or wavelength bands using photo-electric detection ; circuits for computing concentration
    • GPHYSICS
    • G06COMPUTING OR CALCULATING; COUNTING
    • G06TIMAGE DATA PROCESSING OR GENERATION, IN GENERAL
    • G06T1/00General purpose image data processing
    • GPHYSICS
    • G06COMPUTING OR CALCULATING; COUNTING
    • G06TIMAGE DATA PROCESSING OR GENERATION, IN GENERAL
    • G06T7/00Image analysis
    • G06T7/90Determination of colour characteristics
    • HELECTRICITY
    • H04ELECTRIC COMMUNICATION TECHNIQUE
    • H04NPICTORIAL COMMUNICATION, e.g. TELEVISION
    • H04N1/00Scanning, transmission or reproduction of documents or the like, e.g. facsimile transmission; Details thereof
    • H04N1/46Colour picture communication systems
    • H04N1/56Processing of colour picture signals
    • H04N1/60Colour correction or control
    • GPHYSICS
    • G06COMPUTING OR CALCULATING; COUNTING
    • G06TIMAGE DATA PROCESSING OR GENERATION, IN GENERAL
    • G06T2207/00Indexing scheme for image analysis or image enhancement
    • G06T2207/10Image acquisition modality
    • G06T2207/10024Color image

Definitions

  • the present invention relates to a color evaluation device, a color evaluation method, and a display used in the color evaluation method.
  • a display object (a piece of paper or the like) colored with color ink (temperature detection ink) indicates a measurement value obtained by measuring (sensing) a physical quantity by a change in color.
  • the color sensor is applied to a measurement target in which it is difficult to convert a measured value into an electric signal, or is applied in response to a demand for low-cost sensing.
  • the color of the color sensor usually indicates an intermediate color somewhere between before the color change and the most color changed state. If it is sufficient to obtain a rough measurement value, it is only necessary to confirm the color with the naked eye.
  • a color evaluation device that reads the intermediate color of the sensed color sensor and converts it into a quantitative digital value (hereinafter, “color evaluation”) is required. Become.
  • Patent Document 1 ⁇ 3Three color samples were used for the color correction of Patent Document 1. For this reason, when attempting to color-correct a sensor color by coordinate conversion in a color space, the technique disclosed in Patent Document 1 can perform only linear conversion in which the origin does not move, and cannot perform affine transformation including translation.
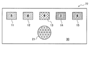
  • FIG. 3 shows a display object that displays an information code with respect to the display object of FIG. 3 according to an embodiment of the present invention.
  • FIG. 6 shows a display object in which a third reference color is applied to a background region instead of providing a reference color region for the display object of FIG. 3 according to an embodiment of the present invention.
  • FIG. 2 is a diagram illustrating the concept of color correction according to an embodiment of the present invention.
  • 1 is a configuration diagram illustrating details of a color evaluation system according to an embodiment of the present invention.
  • 5 is a flowchart illustrating an operation of a color evaluation unit according to the embodiment of the present invention. This is an example in which five reference colors are used to perform color correction in consideration of gamma correction according to an embodiment of the present invention.
  • FIG. 2 is a configuration diagram for describing a display method having a high color correction effect according to an embodiment of the present invention.
  • the display object 7 may be prepared in advance, for example, as a single card, panel, label, plate, or mount, may be attached as a sticker on the surface of a box or bag at the time of measurement, or may be printed from the outside. Good.
  • the material of the surface of the display object 7 is arbitrary.
  • the “display” in this specification includes not only a display (printing) for fixing a color by attaching ink on the paper surface of the display object 7 (that is, not only a piece of paper, etc.) but also a display of the display of the display object 7.
  • a display (electrical coloration) in which the surface of the panel is colored by passing light through the liquid crystal molecules may be included.
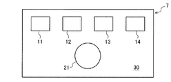
  • FIG. 2 is a configuration diagram for explaining each area of the display object 7.
  • the inside of the regions will be described without being colored.
  • One display object 7 is divided into a plurality of reference color regions 11 to 14 which are closed regions, one sensor region 21 which is a closed region, and a background region 30 other than the respective regions.
  • the “sensor color” of the color sensor changes according to the measurement result.
  • the “reference colors” are colored in the reference color areas 11 to 14. This reference color is used to obtain a conversion coefficient (details in FIG. 9) indicating the amount of change in the sensor color according to the shooting environment such as the illumination 8.
  • FIG. 1 has been described as the photographing device 5 for photographing the entire display object 7, strictly speaking, all the reference color regions 11 to 14 and one sensor region 21 are included in the same image. Just shoot. Therefore, the reference color regions 11 to 14 may be arranged near the sensor region 21 instead of being arranged in a row above the sensor region 21 illustrated in FIG. Good.
  • the area of the display object 73b can be reduced, so that, for example, even if the sensor area 21 is an area of color ink handwritten on a small frame of the entry slip, the same image as the reference color areas 11 to 14 is obtained. Can be taken.
  • the display object 7 is photographed in a photographing environment (such as a simple photographing device 5 such as a smartphone or a vehicle where the light source of the lighting 8 is constantly changing) actually measured.
  • a photographing environment such as a simple photographing device 5 such as a smartphone or a vehicle where the light source of the lighting 8 is constantly changing
  • the reference photographing color C1 has been photographed in the reference color area 11.
  • the reference reference color C02 is captured as the reference imaging color C2
  • the reference reference color C03 is captured as the reference imaging color C3
  • the reference reference color C04 is captured as the reference imaging color C4.
  • the actually measured photographing environment was a place brighter than the reference photographing environment, and thus the reference photographing color C1 was photographed brighter than the reference standard color C01 (broken line toward the upper right in FIG. 9). Arrow).
  • step S12 the color evaluation unit 62 uses the four reference shooting colors (the four reference shooting colors C01 to C04 described in FIG. 9) registered in advance to obtain the four reference shooting colors (see FIG.
  • the conversion coefficient of the reference color is obtained from the amount of change of the color information to the reference photographing colors C1 to C4 described in (4).
  • the following (Equation 1) to (Equation 3) are relational expressions between reference photographing colors C1 to C4 on the left side and reference reference colors C01 to C04 on the right side.
  • Equation 9 is used in (Procedure 3), nine variables a11 to a33 and three variables b1 to b3 are treated as determined numerical values. Since the single ⁇ coefficient is included in the sensor ⁇ correction color, the (procedure 3) can be executed by solving (Equation 9) for the single ⁇ coefficient.
  • Equation 9) is a nonlinear equation in which the sum of ⁇ -powers of different bases appears, so the method of solving is slightly more complicated than in the case of obtaining the ⁇ coefficient for each color. Can be solved numerically by a general solution.

Landscapes

  • Physics & Mathematics (AREA)
  • Spectroscopy & Molecular Physics (AREA)
  • General Physics & Mathematics (AREA)
  • Engineering & Computer Science (AREA)
  • Theoretical Computer Science (AREA)
  • Chemical & Material Sciences (AREA)
  • Computer Vision & Pattern Recognition (AREA)
  • Pathology (AREA)
  • Biochemistry (AREA)
  • General Health & Medical Sciences (AREA)
  • Analytical Chemistry (AREA)
  • Immunology (AREA)
  • Life Sciences & Earth Sciences (AREA)
  • Health & Medical Sciences (AREA)
  • Mathematical Physics (AREA)
  • Signal Processing (AREA)
  • Multimedia (AREA)
  • Chemical Kinetics & Catalysis (AREA)
  • Plasma & Fusion (AREA)
  • Human Computer Interaction (AREA)
  • Image Processing (AREA)
  • Spectrometry And Color Measurement (AREA)
  • Color Image Communication Systems (AREA)
  • Investigating Or Analysing Materials By The Use Of Chemical Reactions (AREA)
  • Facsimile Image Signal Circuits (AREA)
PCT/JP2019/011936 2018-09-03 2019-03-20 色評価装置、色評価方法、および、色評価方法に用いられる表示物 Ceased WO2020049779A1 (ja)

Priority Applications (2)

Application Number Priority Date Filing Date Title
CN201980047204.1A CN112469978B (zh) 2018-09-03 2019-03-20 颜色评价装置、颜色评价方法和颜色评价方法中使用的显示物
US17/252,857 US11398055B2 (en) 2018-09-03 2019-03-20 Color evaluation device, color evaluation method, and indication object used in color evaluation method

Applications Claiming Priority (2)

Application Number Priority Date Filing Date Title
JP2018-164226 2018-09-03
JP2018164226A JP7132041B2 (ja) 2018-09-03 2018-09-03 色評価装置、および、色評価方法

Publications (1)

Publication Number Publication Date
WO2020049779A1 true WO2020049779A1 (ja) 2020-03-12

Family

ID=69722025

Family Applications (1)

Application Number Title Priority Date Filing Date
PCT/JP2019/011936 Ceased WO2020049779A1 (ja) 2018-09-03 2019-03-20 色評価装置、色評価方法、および、色評価方法に用いられる表示物

Country Status (4)

Country Link
US (1) US11398055B2 (enExample)
JP (1) JP7132041B2 (enExample)
CN (1) CN112469978B (enExample)
WO (1) WO2020049779A1 (enExample)

Cited By (2)

* Cited by examiner, † Cited by third party
Publication number Priority date Publication date Assignee Title
CN112991159A (zh) * 2021-04-29 2021-06-18 南京甄视智能科技有限公司 人脸光照质量评估方法、系统、服务器与计算机可读介质
EP4215887A4 (en) * 2020-09-17 2024-03-06 FUJIFILM Corporation IMAGE PROCESSING DEVICE, IMAGE PROCESSING METHOD, PROGRAM AND RECORDING MEDIUM

Families Citing this family (5)

* Cited by examiner, † Cited by third party
Publication number Priority date Publication date Assignee Title
JP2022175888A (ja) 2021-05-14 2022-11-25 株式会社日立産機システム 印字物および読取システム
US20240280476A1 (en) * 2021-07-20 2024-08-22 Hitachi High-Tech Corporation Analysis method and analysis device
JP7538583B2 (ja) * 2022-06-08 2024-08-22 パナソニックオートモーティブシステムズ株式会社 検知システムおよび検知方法
CN115179659B (zh) * 2022-06-14 2024-02-13 深圳达捷科技有限公司 一种用于彩墨喷印的智能校色方法及系统
GB2631672A (en) * 2022-11-17 2025-01-15 Skyrocket Phytopharma Ltd System for determining an abnormal skin dryness

Citations (8)

* Cited by examiner, † Cited by third party
Publication number Priority date Publication date Assignee Title
JP2004135069A (ja) * 2002-10-10 2004-04-30 Dainippon Printing Co Ltd 色変換係数修正方法
JP2007101482A (ja) * 2005-10-07 2007-04-19 Matsushita Electric Ind Co Ltd 測定チップならびにその分析方法
JP2007259123A (ja) * 2006-03-23 2007-10-04 Konica Minolta Business Technologies Inc 画像読取装置、画像処理方法及びコンピュータ読み取り可能なプログラム
JP2010281728A (ja) * 2009-06-05 2010-12-16 Nippon Telegr & Teleph Corp <Ntt> ガス濃度測定装置及びガス濃度測定方法
JP2012093277A (ja) * 2010-10-28 2012-05-17 Nippon Telegr & Teleph Corp <Ntt> 測定装置および測定方法
US20150241358A1 (en) * 2012-08-08 2015-08-27 Scanadu Incorporated Method and apparatus for determining analyte concentration by quantifying and interpreting color information captured in a continuous or periodic manner
JP2015207085A (ja) * 2014-04-18 2015-11-19 富士通株式会社 画像処理装置、画像処理方法、及びプログラム
WO2016163266A1 (ja) * 2015-04-06 2016-10-13 コニカミノルタ株式会社 測色装置および測色方法

Family Cites Families (5)

* Cited by examiner, † Cited by third party
Publication number Priority date Publication date Assignee Title
US5953449A (en) * 1996-03-15 1999-09-14 Kabushiki Kaisha Toshiba Measuring apparatus and measuring method
US20040056965A1 (en) * 2002-09-20 2004-03-25 Bevans Michael L. Method for color correction of digital images
KR100866486B1 (ko) * 2007-01-04 2008-11-03 삼성전자주식회사 주변광 적응적인 색 보정 장치 및 방법
JP5887998B2 (ja) 2011-03-17 2016-03-16 株式会社リコー 測色装置、記録装置、測色方法及びプログラム
CN105100764B (zh) * 2015-06-26 2018-03-16 小米科技有限责任公司 拍摄方法和装置

Patent Citations (8)

* Cited by examiner, † Cited by third party
Publication number Priority date Publication date Assignee Title
JP2004135069A (ja) * 2002-10-10 2004-04-30 Dainippon Printing Co Ltd 色変換係数修正方法
JP2007101482A (ja) * 2005-10-07 2007-04-19 Matsushita Electric Ind Co Ltd 測定チップならびにその分析方法
JP2007259123A (ja) * 2006-03-23 2007-10-04 Konica Minolta Business Technologies Inc 画像読取装置、画像処理方法及びコンピュータ読み取り可能なプログラム
JP2010281728A (ja) * 2009-06-05 2010-12-16 Nippon Telegr & Teleph Corp <Ntt> ガス濃度測定装置及びガス濃度測定方法
JP2012093277A (ja) * 2010-10-28 2012-05-17 Nippon Telegr & Teleph Corp <Ntt> 測定装置および測定方法
US20150241358A1 (en) * 2012-08-08 2015-08-27 Scanadu Incorporated Method and apparatus for determining analyte concentration by quantifying and interpreting color information captured in a continuous or periodic manner
JP2015207085A (ja) * 2014-04-18 2015-11-19 富士通株式会社 画像処理装置、画像処理方法、及びプログラム
WO2016163266A1 (ja) * 2015-04-06 2016-10-13 コニカミノルタ株式会社 測色装置および測色方法

Cited By (2)

* Cited by examiner, † Cited by third party
Publication number Priority date Publication date Assignee Title
EP4215887A4 (en) * 2020-09-17 2024-03-06 FUJIFILM Corporation IMAGE PROCESSING DEVICE, IMAGE PROCESSING METHOD, PROGRAM AND RECORDING MEDIUM
CN112991159A (zh) * 2021-04-29 2021-06-18 南京甄视智能科技有限公司 人脸光照质量评估方法、系统、服务器与计算机可读介质

Also Published As

Publication number Publication date
JP7132041B2 (ja) 2022-09-06
CN112469978B (zh) 2023-08-29
JP2020038073A (ja) 2020-03-12
US11398055B2 (en) 2022-07-26
US20210158574A1 (en) 2021-05-27
CN112469978A (zh) 2021-03-09

Similar Documents

Publication Publication Date Title
JP7132041B2 (ja) 色評価装置、および、色評価方法
US8896706B2 (en) Colour calibration method for an image capture device
CN113170028B (zh) 生成基于机器学习的成像算法的图像数据的方法
CN113674164B (zh) 样品颜色校正方法、装置、电子设备及介质
US7522767B2 (en) True color communication
CN109036271A (zh) 曲面屏弯折区色偏修正的方法、装置、存储介质及终端
CN114170960B (zh) 一种硅基OLED微显示屏的定制Gamma校正方法
CN113495709A (zh) 色彩校正方法、ap芯片、终端和存储介质
US12385785B2 (en) Method and system for colour calibration using a barcode
CN113889028A (zh) 显示屏箱体的校正方法及装置
WO2022059342A1 (ja) 画像処理装置、画像処理方法、プログラムおよび記録媒体
CN109459136B (zh) 一种色度测量的方法与装置
CN102209202B (zh) 相机伽马校正曲线提取方法
CN118329391B (zh) 一种ar光波导杂散光的测试方法及系统
CN116152361A (zh) 用于估算色度的方法、电子设备及计算机可读存储介质
US8160355B1 (en) Method, device and computer program product for performing white balancing of a digital image
WO2008108761A1 (en) True color communication
CN117690364A (zh) 色度计Gamma校正方法、系统及显示屏补偿方法
KR20160001897A (ko) Cielab 색 공간에서의 통합된 멀티 스케일 레티넥스를 수행하는 이미지 처리 방법 및 장치
CN109119046A (zh) 灰阶亮度的调节系统及调节方法、存储器
Lee et al. A camera-based color calibration of tiled display systems under various illumination environments
Zolliker et al. Creating HDR video content for visual quality assessment using stop-motion
Tódová et al. Constrained spectral uplifting for HDR environment maps
JP7664609B2 (ja) 情報処理方法
CN116112651B (zh) 白平衡处理方法、装置、电子设备及存储介质

Legal Events

Date Code Title Description
121 Ep: the epo has been informed by wipo that ep was designated in this application

Ref document number: 19857511

Country of ref document: EP

Kind code of ref document: A1

NENP Non-entry into the national phase

Ref country code: DE

122 Ep: pct application non-entry in european phase

Ref document number: 19857511

Country of ref document: EP

Kind code of ref document: A1