WO2020044630A1 - 検出器生成装置、モニタリング装置、検出器生成方法及び検出器生成プログラム - Google Patents

検出器生成装置、モニタリング装置、検出器生成方法及び検出器生成プログラム Download PDF

Info

Publication number
WO2020044630A1
WO2020044630A1 PCT/JP2019/010187 JP2019010187W WO2020044630A1 WO 2020044630 A1 WO2020044630 A1 WO 2020044630A1 JP 2019010187 W JP2019010187 W JP 2019010187W WO 2020044630 A1 WO2020044630 A1 WO 2020044630A1
Authority
WO
WIPO (PCT)
Prior art keywords
detector
face image
learning data
data sets
learning
Prior art date
Legal status (The legal status is an assumption and is not a legal conclusion. Google has not performed a legal analysis and makes no representation as to the accuracy of the status listed.)
Ceased
Application number
PCT/JP2019/010187
Other languages
English (en)
French (fr)
Japanese (ja)
Inventor
成典 長江
倭 竹内
Current Assignee (The listed assignees may be inaccurate. Google has not performed a legal analysis and makes no representation or warranty as to the accuracy of the list.)
Omron Corp
Original Assignee
Omron Corp
Omron Tateisi Electronics Co
Priority date (The priority date is an assumption and is not a legal conclusion. Google has not performed a legal analysis and makes no representation as to the accuracy of the date listed.)
Filing date
Publication date
Application filed by Omron Corp, Omron Tateisi Electronics Co filed Critical Omron Corp
Publication of WO2020044630A1 publication Critical patent/WO2020044630A1/ja
Anticipated expiration legal-status Critical
Ceased legal-status Critical Current

Links

Images

Classifications

    • GPHYSICS
    • G06COMPUTING OR CALCULATING; COUNTING
    • G06TIMAGE DATA PROCESSING OR GENERATION, IN GENERAL
    • G06T7/00Image analysis

Definitions

  • the present invention relates to a detector generation device, a monitoring device, a detector generation method, and a detector generation program.
  • an organ of the driver's face is detected from an image obtained by photographing the driver.
  • the state of the driver can be estimated based on the positional relationship between the detected organs. For example, if each eye is detected from the face image and the position of each eye can be specified, the gaze direction of the driver can be estimated based on the specified positional relationship of each eye.
  • Patent Literature 1 proposes an apparatus for detecting a facial organ by using a convolutional neural network (Convolutional Neural Network). Specifically, the apparatus extracts a feature point candidate related to a facial organ from face image data using a convolutional neural network, and performs a geometric correction process on each extracted candidate. By doing so, the position of each feature point is determined. Thus, the device can recognize the target person based on the determined positions of the feature points.
  • Convolutional Neural Network Convolutional Neural Network
  • a detector constituted by a learning model such as a neural network may be employed.
  • This detector can detect the position of the facial organ from the input face image by machine learning.
  • a face image in which the face appears and position information indicating the positions of the facial organs are prepared.
  • the parameters of the detector are adjusted so as to output an output value corresponding to the position information.
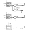
  • FIG. 1 schematically illustrates an example of a scene in which the position of a facial organ is detected by a conventional method.
  • FIG. 1 illustrates a scene in which an eye (specifically, an outer corner of the eye) is detected as an example of a facial organ.
  • the detector has the ability to output the same output value for the same face image, in other words, the ability to answer the same position to the same face image as the detection position of the target organ. To win. Therefore, if the driver does not move the facial organ, the detection position of the organ that is answered by the detector should be constant.
  • a plurality of continuously acquired images such as moving images may randomly include noise according to the performance of the imaging device, the imaging environment, and the like. Due to the effects of this random noise, it is difficult to obtain completely identical images, and each image may be slightly different. Due to the subtle differences between the images, the detected positions of the organs answered by the detector are blurred even though the driver does not move the facial organs. That is, as shown in FIG. 1, the detection position of the organ varies between face images due to the influence of noise included in each face image even though the organ (the outer corner of the eye) is not moved. The present inventors have found that can occur.
  • the estimation result of the gaze direction of the driver fluctuates because the detection position of each eye is blurred even though the driver has not changed his / her gaze. Will be. This may result in the system erroneously recognizing the driver's state, for example, recognizing that the driver is looking aside while the driver is gazing ahead. Occurs.
  • this problem is not a scene for detecting the facial organ of the driver as described above, but, for example, a scene for detecting a facial organ of a target person other than the driver, an object other than the facial organ of the target person.
  • This can occur in any scene where an object is detected, such as a scene where the object is detected.
  • a method using a conventional detector uses a method using a plurality of images even when the object is not moving. There may be a problem that the detection position of the object is blurred.
  • the present invention in one aspect, has been made in view of such circumstances, and a purpose thereof is to provide a technique for generating a detector that is robust to the influence of noise and that can detect an object with higher accuracy. It is to provide.
  • the present invention employs the following configuration in order to solve the above-described problems.
  • the detector generation device uses a combination of a first face image in which the face of a subject driving a vehicle is captured and position information indicating the position of the facial organ in the first face image.
  • a learning data acquisition unit that acquires a plurality of learning data sets configured respectively, and a learning processing unit that performs machine learning of a detector using the plurality of learning data sets. Then, performing the machine learning of the detector includes inputting the first face image of each of the learning data sets to the detector to generate a first output of each of the learning data sets for the first face image.
  • the detector generation device acquires a plurality of learning data sets each configured by a combination of the first face image and the position information, and uses the acquired plurality of learning data sets to perform machine learning of the detector. Is carried out.
  • the first face image corresponds to training data (input data)
  • the position information corresponds to correct answer data (teacher data).
  • the detector is configured to receive an input of a face image and output an output value corresponding to a result of detecting the position of a facial organ (for example, a coordinate value of the organ) in the input facial image.
  • the detector generation device obtains a first output value by inputting a first face image to the detector in a process of machine learning, and obtains an organ specified based on the obtained first output value.
  • a total value of a first error between the first detection position and the position indicated by the position information is calculated.
  • the total value of the first error corresponds to a loss between the result of detecting the organ from the first face image by the detector and the correct answer of the position of the organ specified by the position information. Therefore, the detector generation device according to the above configuration trains the detector so that the total value of the first errors becomes small.
  • a detector that has acquired the ability to detect an organ from the first face image is constructed so as to match the correct answer indicated by the position information.
  • the detector generation device generates a second face image by adding noise to the first face image, and inputs the generated second face image to the detector to generate a second output value. To get. Then, the detector generation device according to the above configuration calculates a total value of a second error between the first detection position and the second detection position of the organ specified based on the acquired second output value.
  • the total value of the second error is a blur of the detection result of the organ by the detector, and corresponds to a loss of the blur caused by the presence or absence of the noise. Therefore, the detector generation device according to the above configuration trains the detector such that the total value of the second error is reduced together with the total value of the first error. Thereby, it is possible to construct a detector in which the detection result of the organ is hardly affected by the noise.
  • the detector generating apparatus having the above configuration, the organ is detected from the first face image so as to coincide with the correct answer indicated by the position information, and the detection result is hardly affected by noise.
  • a constructed detector can be constructed. Therefore, it is possible to generate a detector that is robust against the influence of noise and that can detect an object (a facial organ in the above-described aspect) with higher accuracy.
  • the detector is composed of a learning model that can execute machine learning.
  • a detector may be constituted by a neural network, for example.
  • the type of organ detected from the face image is not particularly limited as long as it is some part included in the face, and may be appropriately selected according to the embodiment.
  • the organ to be detected may be selected from, for example, eyes, nose, mouth, eyebrows, chin, and combinations thereof.
  • the organ to be detected may include the contour of the face.
  • performing the machine learning of the detector includes applying a predetermined geometric transformation to the first face image of each of the learning data sets, so that each of the learning data sets Generating a third face image for the first face image, and inputting each of the third face images to the detector to obtain a third output value for each of the third face images.
  • the first detection position specified based on the first output value obtained for the first face image of each of the learning data sets and the first detection position generated for the first face image Calculating a total value of a third error between the organ and a third detection position specified based on the third output value obtained for the third face image.
  • the learning Management unit the sum of the first error may be trained sum and the detector so that the total value of the third error is smaller in the second error.
  • the present inventors have found that, in addition to the influence of random noise generated in the image, the problem that the detection position of the organ fluctuates due to the following reasons. That is, the position information used as the correct answer data of the machine learning may include noise. That is, the position information has an instability that the position of the target organ is not always accurately indicated according to a certain reference. For example, when the position information is input by a human, if the person who inputs the position information is different, the position specified as the position where the organ exists may be different. Even if the same person inputs the position information, it is difficult to specify a position that completely matches the same face image a plurality of times.
  • the input position information always indicates the position of the target organ in accordance with a certain standard. Is not always shown exactly. That is, the position at which the organ indicated by the position information exists may vary.
  • position information including such noise is used as correct data for machine learning
  • the detector learns not only to reproduce the position of a given organ with respect to the face image but also to reproduce this noise. .
  • the detected position of the organ that is answered by the learned detector is blurred. That is, as illustrated in FIG. 1 above, even though the organ (the outer corner of the eye) is not moved, the effect of learning the noise included in the position information used for the machine learning can be reduced between the face images. There may be a problem that the detection position fluctuates.
  • the detector generation device generates a third face image by applying a predetermined geometric transformation to the first face image, and inputs the generated third face image to the detector. Obtains the third output value. Then, the detector generation device according to the configuration calculates a total value of a third error between the first detection position and the third detection position of the organ specified based on the acquired third output value.
  • the detector constructed can capture some characteristic of the target organ corresponding to a certain criterion and accurately detect the position of the target organ. Therefore, the detector can also accurately detect the position of the target organ based on the characteristics of the third face image generated by performing the geometric transformation on the first face image.
  • the detector constructed by machine learning based on the first error can accurately detect the above features. Cannot detect it, and the position where the target organ is detected is blurred. Therefore, there is a high possibility that this detector cannot accurately detect the position of the target organ with respect to the third face image generated by geometrically transforming the first face image.
  • the position information given to each first face image does not indicate the position of the target organ according to a certain standard is, for example, in spite of the fact that the position of the face is shifted in each first face image. In this case, position information indicating a fixed position for each face image is added to each first face image.
  • the total value of the third error is a blur of the detection result of the organ by the detector, and corresponds to a loss of the blur caused by the influence of the geometric noise in the face image. Therefore, the detector generation device according to the configuration trains the detector so that the total value of the third error is reduced together with the total value of the first error and the second error. This makes it possible to construct a detector that is robust against the influence of image noise and geometric noise included in position information.
  • the predetermined geometric transformation may be, for example, translation, rotation, inversion, enlargement, reduction, or a combination thereof.
  • the predetermined geometric transformation may be a transformation involving translation and rotation. This makes it possible to construct a detector that is robust to the effects of the parallel movement and the rotational movement.
  • the position information of each of the learning data sets is obtained by inputting the first face image combined with the position information to another detector on which machine learning has been performed. May be provided based on output values obtained from the other detectors. According to this configuration, since the detection result of the other detector is used as the position information, it is possible to prevent the artificial noise from being included in the position information. This makes it possible to construct a detector that is robust to the influence of noise that may be included in the position information.
  • the other detector may be a temporary detector generated in the process of obtaining a final detector by machine learning. That is, the detector generation device may alternately and repeatedly execute a process of constructing a detector by machine learning using a learning data set and a process of updating position information by the constructed detector. In order to construct a detector that is robust to the influence of the artificial noise, only a part that alternately executes a process of constructing the detector and a process of updating the position information is extracted, and according to a new mode.
  • a detector generation device may be configured.
  • the detector generation device is configured by a combination of a face image showing a face of a subject driving a vehicle and first position information indicating a position of the facial organ shown in the face image.
  • a learning data acquisition unit that acquires a plurality of first learning data sets to be performed, and machine learning of a first detector using the plurality of first learning data sets, thereby obtaining each of the first learning data sets.
  • a learning processing unit configured to construct a first detector that outputs an output value corresponding to the first position information combined with the input face image when the set of face images is input. Then, the learning data obtaining unit inputs the face image of each of the first learning data sets and the face image to the constructed first detector, thereby obtaining an output value obtained from the first detector.
  • the learning processing unit performs machine learning of a second detector using the plurality of second learning data sets, so that the face image of each of the second learning data sets is input. And constructing a second detector that outputs an output value corresponding to the second position information combined with the input face image.
  • the first detector is an example of the above “other detector”, that is, a temporary detector.
  • the second detector constructed in one step is used as the first detector in the next step.
  • the second detector constructed last is an example of the above “detector”, that is, an example of a final detector.
  • the monitoring device has already performed machine learning by a data acquisition unit that acquires a face image of a face of a driver driving a vehicle and a detector generation device according to any one of the above embodiments.
  • a detection unit that obtains from the detector an output value corresponding to a result of detecting the facial organ of the driver, and a detector of the driver's face.
  • An output unit that outputs information on a result of detecting the organ.
  • the detector generation device and the monitoring device according to each of the above-described embodiments are not only used to detect a facial organ of a driver of a vehicle, but also to detect a facial organ of a worker of a production line.
  • the present invention may be applied to any scene where a facial organ of a subject other than the subject is detected.
  • the detector generation device and the monitoring device according to each of the above-described embodiments detect not only a scene for detecting a facial organ of a subject, but also, for example, a position of some characteristic (for example, a scratch) of a product flowing on a production line.
  • the present invention may be applied to any scene, such as a scene, in which the position of an object other than a person is detected from an image of the object.
  • the detector generation device is configured by a combination of a first face image in which a face of a subject is captured and position information indicating a position of the face organ in the first face image.
  • a learning data acquisition unit that acquires a plurality of learning data sets; and a learning processing unit that performs machine learning of the detector using the plurality of learning data sets. Then, performing the machine learning of the detector includes inputting the first face image of each of the learning data sets to the detector to generate a first output of each of the learning data sets for the first face image.
  • the detector generation device includes a plurality of images each of which is configured by a combination of a first image in which an object is captured and position information indicating a position of the object in the first image.
  • a learning data acquisition unit that acquires a learning data set; and a learning processing unit that implements machine learning of a detector using the plurality of learning data sets. Then, performing the machine learning of the detector includes inputting the first image of each of the learning data sets to the detector, thereby obtaining a first output value of each of the learning data sets for the first image. Acquiring from the detector, a first detection position of the target object specified based on the first output value obtained for the first image of each of the learning data sets, and the first image.
  • the detector generation device includes a plurality of face images each including a face image of a subject's face and first position information indicating a position of the facial organ in the face image.
  • a learning data acquisition unit for acquiring a first learning data set; and machine learning of a first detector using the plurality of first learning data sets, thereby obtaining the face of each of the first learning data sets.
  • a learning processing unit configured to construct a first detector that outputs an output value corresponding to the first position information combined with the input face image when an image is input. Then, the learning data obtaining unit inputs the face image of each of the first learning data sets and the face image to the constructed first detector, thereby obtaining an output value obtained from the first detector.
  • the learning processing unit performs machine learning of a second detector using the plurality of second learning data sets, so that the face image of each of the second learning data sets is input. And constructing a second detector that outputs an output value corresponding to the second position information combined with the input face image.
  • the detector generation device may include a plurality of first detectors each configured by a combination of an image of an object and first position information indicating a position of the object in the image.
  • a learning data acquisition unit that acquires a learning data set; and machine learning of a first detector using the plurality of first learning data sets, whereby the image of each of the first learning data sets is input.
  • a learning processing unit configured to construct a first detector that outputs an output value corresponding to the first position information combined with the input image. Then, the learning data acquisition unit is configured to input the image of each of the first learning data sets and the image to the constructed first detector, and to output the image based on an output value obtained from the first detector.
  • a plurality of second learning data sets each constituted by a combination of the second position information given by the second learning unit. Further, the learning processing unit performs machine learning of a second detector using the plurality of second learning data sets, and when the image of each of the second learning data sets is input, A second detector is further configured to output an output value corresponding to the second position information combined with the input image.
  • Training the detector is to adjust the parameters of the detector.
  • the parameters of the detector are used in an arithmetic process for detecting (obtaining an output value) any object from an image.
  • the parameters are, for example, the weight of the connection between each neuron, the threshold value of each neuron, and the like.
  • the type of the target object is not particularly limited as long as it can be captured in an image, and may be appropriately selected according to the embodiment.
  • the target object When an image of a person is acquired as the first image, the target object may be, for example, a facial organ, a face itself, or a body part other than the face.
  • the target object When an image of a product produced on the production line is obtained as the first image, the target object may be, for example, the product itself, or some feature (for example, a scratch) included in the product.
  • Each detection position is a position at which the detector detects an object for each image.
  • the second error corresponds to a difference between the detection position of the target with respect to the noise image (the second face image and the second image) and the detection position of the target with respect to the original image (the first face image and the first image).
  • the third error is a relative difference between the detection position of the target with respect to the geometrically transformed image (the third face image and the third image) and the detection position of the target with respect to the original image (the first face image and the first image). Is equivalent to The third error may be derived by calculating a difference between a position obtained by applying the inverse transform of the geometric transformation to the position detected from the geometrically transformed image and a position detected from the original image.
  • the third error may be derived by calculating a difference between a position detected from the geometrically transformed image and a position obtained by applying the geometric transformation to the position detected from the original image.
  • calculating “the third error between the first detection position of the organ specified based on the first output value and the third detection position of the organ specified based on the third output value” is equivalent to performing the geometric transformation. Calculating the difference between the position obtained by applying the inverse transformation of the geometric transformation to the position detected from the image and the position detected from the original image, and detecting from the position detected from the geometrically transformed image and the original image And calculating a difference from the position obtained by applying the geometric transformation to the set position.
  • the detector may be referred to as a “learner”.
  • the detector after machine learning may be referred to as a “learned learning device”.
  • the format of the position information need not be particularly limited, and may be appropriately determined according to the embodiment.
  • the position information may be constituted by, for example, coordinate values of the object, or may be constituted by information indicating an area of the object.
  • one aspect of the present invention may be an information processing method or a program for realizing each of the above configurations.
  • a computer-readable storage medium storing such a program may be used.
  • a storage medium readable by a computer or the like is a medium that stores information such as a program by electrical, magnetic, optical, mechanical, or chemical action.
  • a detection system according to one aspect of the present invention may be configured by the detector generation device and the monitoring device according to any one of the above-described embodiments.
  • the computer may include a first face image in which a face of a subject driving a vehicle is captured, and position information indicating a position of the face organ in the first face image.
  • Detector Acquiring, the first detection position specified based on the first output value obtained for the first face image of each of the learning data sets, and the first detection position specified for the first face image. Calculating a total value of a second error between the second detection position of the organ specified based on the second output value obtained for the second face image, and a total value of the first error Training the detector such that the sum of the second errors is small.
  • the detector generation program indicates to a computer a first face image in which a face of a subject driving a vehicle is captured, and a position of an organ of the face in the first face image.
  • the step of performing machine learning of the detector includes inputting the first face image of each of the learning data sets to the detector, thereby outputting a first output of each of the learning data sets for the first face image.
  • Detector Acquiring, the first detection position specified based on the first output value obtained for the first face image of each of the learning data sets, and the first detection position specified for the first face image. Calculating a total value of a second error between the second detection position of the organ specified based on the second output value obtained for the second face image, and a total value of the first error Training the detector such that the sum of the second errors is small.
  • the present invention it is possible to generate a detector that is robust to the influence of noise and that can detect an object with higher accuracy.
  • FIG. 1 is a diagram for explaining a problem that occurs in a conventional detector.
  • FIG. 2 schematically illustrates an example of a scene to which the present invention is applied.
  • FIG. 3 schematically illustrates an example of a hardware configuration of the detector generation device according to the embodiment.
  • FIG. 4 schematically illustrates an example of a hardware configuration of the monitoring device according to the embodiment.
  • FIG. 5 schematically illustrates an example of a software configuration of the detector generation device according to the embodiment.
  • FIG. 6 schematically illustrates an example of a software configuration of the monitoring device according to the embodiment.
  • FIG. 7 illustrates an example of a processing procedure of the detector generation device according to the embodiment.
  • FIG. 8A illustrates an example of a processing procedure of machine learning according to the embodiment.
  • FIG. 8A illustrates an example of a processing procedure of machine learning according to the embodiment.
  • FIG. 8B illustrates an example of a processing procedure of machine learning according to the embodiment.
  • FIG. 9 schematically illustrates an example of a scene in which machine learning is repeatedly performed.
  • FIG. 10 illustrates an example of a processing procedure of the monitoring device according to the embodiment.
  • FIG. 11 schematically illustrates an example of a software configuration of a detector generation device according to a modification.
  • FIG. 12 schematically illustrates another example of a scene to which the present invention is applied.
  • FIG. 13 schematically illustrates another example of a scene to which the present invention is applied.
  • FIG. 14 schematically illustrates an example of a software configuration of a detector generation device according to a modification.
  • FIG. 15 schematically illustrates an example of a software configuration of a detector generation device according to a modification.
  • the present embodiment will be described with reference to the drawings.
  • the present embodiment described below is merely an example of the present invention in every respect. It goes without saying that various improvements and modifications can be made without departing from the scope of the invention. That is, in implementing the present invention, a specific configuration according to the embodiment may be appropriately adopted.
  • the data appearing in the present embodiment is described in a natural language, more specifically, it is specified in a pseudo language, a command, a parameter, a machine language, and the like that can be recognized by a computer.
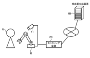
  • FIG. 2 schematically illustrates an example of an application scene of the detection system 100 according to the present embodiment.
  • a face of a driver driving a vehicle is photographed, and a facial organ is detected from an obtained face image.
  • the face image is an example of the “image” of the present invention
  • the facial organ is an example of the “object” of the present invention.
  • the application target of the present invention is not limited to such an example, and is applicable to any scene in which an object is detected from an image.
  • the detection system 100 includes a detector generation device 1 and a monitoring device 2 connected to each other via a network, and includes a detector for detecting a facial organ.
  • the generated and configured detector is configured to detect a facial organ of the driver.
  • the type of network between the detector generation device 1 and the monitoring device 2 may be appropriately selected from, for example, the Internet, a wireless communication network, a mobile communication network, a telephone network, a dedicated network, and the like.
  • the detector generation device 1 is a computer configured to construct a detector 5 for detecting a facial organ from a face image by performing machine learning. Specifically, the detector generation device 1 uses a combination of a first face image 611 showing the face of the subject T driving the vehicle and position information 612 indicating the position A1 of the facial organ shown in the first face image 611. A plurality of learning data sets 61 configured respectively are acquired.
  • the first face image 611 is obtained, for example, by the camera 31 installed at a position in the vehicle where the face of the subject T can be photographed.
  • the first face image 611 corresponds to training data (input data) in machine learning
  • the position information 612 corresponds to correct answer data (teacher data).
  • the detector generation device 1 performs machine learning of the detector 5 using such a plurality of learning data sets 61.
  • the detector generation device 1 first inputs the first face image 611 of each learning data set 61 to the detector 5 so that the first face image of each learning data set 61
  • the first output value for 611 is obtained from the detector 5.
  • the detector 5 is configured to receive an input of a face image and output an output value corresponding to a result of detecting a position of a facial organ appearing in the input face image. That is, the first output value corresponds to the result of the detector 5 detecting the position of the facial organ of the subject T appearing in the first face image 611.
  • Such a detector 5 is configured by a learning model capable of performing machine learning.
  • the detector 5 is configured by a neural network described later.
  • the detector generation device 1 determines the first detection position V1 of the organ specified based on the first output value obtained for the first face image 611 of each learning data set 61 and the first face image
  • the total value of the first error 71 from the position A1 indicated by the position information 612 combined with 611 is calculated. That is, for each learning data set 61, the detector generation device 1 calculates the difference between the first detection position V1 obtained for the first face image 611 and the position A1 indicated by the corresponding position information 612 as the first error.
  • the total value of the first errors 71 is calculated by adding the calculated first errors 71 to each other.
  • the detector generation device 1 generates a second face image 63 for the first face image 611 of each learning data set 61 by adding noise to the first face image 611 of each learning data set 61. . Subsequently, the detector generation device 1 acquires the second output value for each second face image 63 from the detector 5 by inputting each generated second face image 63 to the detector 5. Further, the detector generation device 1 determines the first detection position V1 specified based on the first output value obtained for the first face image 611 of each of the learning data sets 61 and the first detection image V11. A total value of the second error 72 between the second detection position V2 of the specified organ and the second specified position is calculated based on the second output value obtained for the second face image 63 generated as described above.
  • the detector generation device 1 obtains the first detection position V1 obtained for the first face image 611 and the second detection position V1 obtained for the corresponding second face image 63.
  • the difference between the positions V2 is calculated as the second errors 72, and the calculated second errors 72 are added to calculate the total value of the second errors 72.
  • the detector generation device 1 trains the detector 5 so that the total value of the first error 71 and the total value of the second error 72 become small.
  • Training the detector 5 is, in particular, adjusting the parameters of the detector 5.
  • the parameters of the detector 5 are used for arithmetic processing for detecting (obtaining an output value) any object from an image.
  • the detector 5 is configured by a neural network described later. Therefore, this parameter is, for example, the weight of the connection between each neuron, the threshold value of each neuron, and the like.
  • a known learning algorithm such as an error back propagation method may be used.
  • the total value of the first errors 71 corresponds to the loss between the result of detecting the organ from the first face image 611 by the detector 5 and the correct answer of the position of the organ specified by the position information 612.
  • the total value of the second errors 72 is the blur of the detection result of the organ by the detector 5, and corresponds to the blur loss caused by the presence or absence of noise in the first face image 611. Therefore, by the machine learning, the detector generation device 1 detects the organ from the first face image 611 so as to match the correct answer indicated by the position information 612, and the detection result is less likely to be affected by noise.
  • the trained (learned) detector 5 can be constructed (generated).
  • the monitoring device 2 uses the learned detector 5 constructed by the detector generation device 1 to detect the facial organ of the driver D driving the vehicle from the face image.
  • the monitoring device 2 acquires a face image in which the face of the driver D driving the vehicle is captured.
  • the face image is obtained, for example, by the camera 41 installed at a position in the vehicle where the driver D can photograph the face.
  • the monitoring device 2 inputs the acquired face image to the detector 5 on which the machine learning has been performed by the detector generation device 1 and outputs an output value corresponding to the result of detecting the facial organ of the driver D. From the detector 5. Then, the monitoring device 2 outputs information on the result of detecting the facial organ of the driver D. For example, the monitoring device 2 can estimate the state of the driver D such as the line of sight based on the detected position of the facial organ. Therefore, the monitoring device 2 may output, as information on the detection result, a result of estimating the state of the driver D based on the detection result. Thereby, the monitoring device 2 can monitor the state of the driver D.
  • the detector 5 is built robustly to the effects of noise. Therefore, the monitoring device 2 can detect the facial organ of the driver D with high accuracy by using the detector 5. Therefore, the monitoring device 2 can accurately estimate, for example, the state of the driver D's line of sight during the driving operation.
  • the detector generation device 1 and the monitoring device 2 are separate computers.
  • the configuration of the detection system 100 need not be limited to such an example.
  • the detector generation device 1 and the monitoring device 2 may be configured by an integrated computer. Further, the detector generation device 1 and the monitoring device 2 may each be configured by a plurality of computers. Further, the detector generation device 1 and the monitoring device 2 need not be connected to a network. In this case, data exchange between the detector generation device 1 and the monitoring device 2 may be performed via a storage medium such as a nonvolatile memory.
  • FIG. 2 illustrates an eye (specifically, an outer corner of the eye) as an example of a facial organ to be detected.
  • the facial organs to be detected need not be limited to the eyes.
  • the facial organ to be detected may be selected from, for example, eyes, nose, mouth, eyebrows, chin, and combinations thereof.
  • the organ to be detected may include the contour of the face. The same applies to FIGS. 5 and 11 described later.
  • FIG. 3 schematically illustrates an example of hardware of the detector generation device 1 according to the present embodiment.
  • the detector generation device 1 includes a computer in which a control unit 11, a storage unit 12, a communication interface 13, an input device 14, an output device 15, and a drive 16 are electrically connected. It is.
  • the communication interface is described as “communication I / F”.
  • the control unit 11 includes a CPU (Central Processing Unit) as a hardware processor, a RAM (Random Access Memory), a ROM (Read Only Memory), and the like, and is configured to execute information processing based on programs and various data.
  • the storage unit 12 is an example of a memory, and includes, for example, a hard disk drive, a solid state drive, and the like. In the present embodiment, the storage unit 12 stores various information such as a detector generation program 81, a plurality of learning data sets 61, learning result data 121, and the like.
  • the detector generation program 81 is a program for causing the detector generation device 1 to execute machine learning information processing (FIGS. 7, 8A, and 8B) to be described later to construct the learned detector 5.
  • the detector generation program 81 includes a series of instructions for this information processing.
  • Each learning data set 61 includes the first face image 611 and position information 612.
  • the learning result data 121 is data for setting the learned detector 5 constructed by machine learning using each learning data set 61.
  • the learning result data 121 is generated as an execution result of the detector generation program 81. Details will be described later.
  • the communication interface 13 is, for example, a wired LAN (Local Area Network) module, a wireless LAN module, or the like, and is an interface for performing wired or wireless communication via a network.
  • the detector generation device 1 can perform data communication via the network with another information processing device (for example, the monitoring device 2) by using the communication interface 13.
  • the input device 14 is a device for inputting, for example, a mouse and a keyboard.
  • the output device 15 is a device for outputting, for example, a display, a speaker, and the like. The operator can operate the detector generation device 1 by using the input device 14 and the output device 15.
  • the drive 16 is, for example, a CD drive, a DVD drive, or the like, and is a drive device for reading a program stored in the storage medium 91.
  • the type of the drive 16 may be appropriately selected according to the type of the storage medium 91.
  • At least one of the detector generation program 81 and the plurality of learning data sets 61 may be stored in the storage medium 91.
  • the storage medium 91 stores information such as a program by an electrical, magnetic, optical, mechanical, or chemical action so that a computer or other device or machine can read the information such as a recorded program. It is a medium for storing.
  • the detector generation device 1 may acquire at least one of the detector generation program 81 and the plurality of learning data sets 61 from the storage medium 91.
  • FIG. 3 illustrates a disk-type storage medium such as a CD or a DVD as an example of the storage medium 91.
  • the type of the storage medium 91 is not limited to the disk type, and may be other than the disk type.
  • Examples of the storage medium other than the disk type include a semiconductor memory such as a flash memory.
  • the control unit 11 may include a plurality of hardware processors.
  • the hardware processor may include a microprocessor, a field-programmable gate array (FPGA), a digital signal processor (DSP), and the like.
  • the storage unit 12 may be configured by a RAM and a ROM included in the control unit 11. At least one of the communication interface 13, the input device 14, the output device 15, and the drive 16 may be omitted.
  • the detector generation device 1 may further include an external interface for connecting to the camera 31. This external interface may be configured similarly to an external interface 24 of the monitoring device 2 described below.
  • the detector generation device 1 may be composed of a plurality of computers. In this case, the hardware configuration of each computer may or may not match.
  • the detector generation device 1 may be a general-purpose server device, a personal computer (PC), or the like, in addition to an information processing device designed specifically for a provided service.
  • FIG. 4 schematically illustrates an example of a hardware configuration of the monitoring device 2 according to the present embodiment.
  • the monitoring device 2 includes a control unit 21, a storage unit 22, a communication interface 23, an external interface 24, an input device 25, an output device 26, and a drive 27, which are electrically connected.
  • Computer In FIG. 4, the communication interface and the external interface are described as “communication I / F” and “external I / F”, respectively.
  • the control unit 21 to the communication interface 23 and the input device 25 to the drive 27 of the monitoring device 2 may be configured similarly to the control unit 11 to the drive 16 of the detector generation device 1, respectively. That is, the control unit 21 includes a hardware processor such as a CPU, a RAM, a ROM, and the like, and is configured to execute various types of information processing based on programs and data.
  • the storage unit 22 includes, for example, a hard disk drive, a solid state drive, and the like. The storage unit 22 stores various information such as the monitoring program 82 and the learning result data 121.
  • the monitoring program 82 is a program for causing the monitoring device 2 to execute information processing (FIG. 10) described below for monitoring the state of the driver D using the learned detector 5.
  • the monitoring program 82 includes a series of instructions for this information processing. Details will be described later.
  • the communication interface 23 is, for example, a wired LAN module, a wireless LAN module, or the like, and is an interface for performing wired or wireless communication via a network.
  • the monitoring device 2 can perform data communication via a network with another information processing device (for example, the detector generation device 1) by using the communication interface 23.
  • the external interface 24 is, for example, a USB (Universal Serial Bus) port, a dedicated port, or the like, and is an interface for connecting to an external device.
  • the type and number of external interfaces 24 may be appropriately selected according to the type and number of external devices to be connected.
  • the monitoring device 2 is connected to the camera 41 via the external interface 24.
  • the camera 41 is used to obtain a face image by photographing the face of the driver D.
  • the type and location of the camera 41 need not be particularly limited, and may be appropriately determined according to the embodiment.
  • a known camera such as a digital camera and a video camera may be used.
  • the camera 41 may be arranged, for example, above and in front of the driver's seat such that at least the upper body of the driver D is set as a shooting range.
  • the monitoring device 2 may be connected to the camera 41 via the communication interface 23 instead of the external interface 24.
  • the input device 25 is a device for inputting, for example, a mouse and a keyboard.
  • the output device 26 is, for example, a device for outputting a display, a speaker, or the like.
  • the operator such as the driver D can operate the monitoring device 2 by using the input device 25 and the output device 26.
  • the drive 27 is, for example, a CD drive, a DVD drive, or the like, and is a drive device for reading a program stored in the storage medium 92. At least one of the monitoring program 82 and the learning result data 121 may be stored in the storage medium 92. In addition, the monitoring device 2 may acquire at least one of the monitoring program 82 and the learning result data 121 from the storage medium 92.
  • the control unit 21 may include a plurality of hardware processors.
  • the hardware processor may be constituted by a microprocessor, an FPGA, a DSP, or the like.
  • the storage unit 22 may be configured by a RAM and a ROM included in the control unit 21. At least one of the communication interface 23, the external interface 24, the input device 25, the output device 26, and the drive 27 may be omitted.
  • the monitoring device 2 may be composed of a plurality of computers. In this case, the hardware configuration of each computer may or may not match.
  • a general-purpose server device a general-purpose desktop PC, a notebook PC, a tablet PC, a mobile phone including a smartphone, or the like may be used in addition to the information processing device designed exclusively for the provided service.
  • FIG. 5 schematically illustrates an example of a software configuration of the detector generation device 1 according to the present embodiment.
  • the control unit 11 of the detector generation device 1 expands the detector generation program 81 stored in the storage unit 12 in the RAM. Then, the control unit 11 controls the components by interpreting and executing the detector generation program 81 expanded in the RAM by the CPU.
  • the detector generation device 1 operates as a computer including the learning data acquisition unit 111, the learning processing unit 112, and the storage processing unit 113 as software modules. That is, in the present embodiment, each software module of the detector generation device 1 is realized by the control unit 11 (CPU).
  • the learning data acquisition unit 111 includes a plurality of sets each including a combination of a first face image 611 in which the face of the subject T driving the vehicle is captured and position information 612 indicating a position of a facial organ in the first face image 611.
  • the learning data set 61 is obtained.
  • the target organ may be selected from, for example, eyes, nose, mouth, eyebrows, chin, and combinations thereof. Further, the target organ may include a face outline.
  • the learning processing unit 112 performs machine learning of the detector 5 using the plurality of learning data sets 61. Specifically, as a process of machine learning, the learning processing unit 112 first inputs the first face image 611 of each learning data set 61 to the detector 5 so that the first face image of each learning data set 61 The first output value for 611 is obtained from the detector 5. Subsequently, the learning processing unit 112 determines the first detection position V1 of the organ specified based on the first output value obtained for the first face image 611 of each learning data set 61 and the first face image 611 Is calculated with respect to the position A1 indicated by the position information 612 combined with the first error 71.
  • the learning processing unit 112 generates a second face image 63 for the first face image 611 of each learning data set 61 by adding noise to the first face image 611 of each learning data set 61. Subsequently, the learning processing unit 112 acquires the second output value for each second face image 63 from the detector 5 by inputting each of the generated second face images 63 to the detector 5. Then, the learning processing unit 112 determines the first detection position V1 specified based on the first output value obtained for the first face image 611 of each learning data set 61 and the first face image 611. Based on the second output value obtained for the generated second face image 63, the total value of the second error 72 with the second detection position V2 of the specified organ is calculated.
  • the learning processing unit 112 applies a predetermined geometric transformation to the first face image 611 of each of the learning data sets 61 to thereby perform the first face image 611 of each of the learning data sets 61 on the first face image 611.
  • a three-face image 66 is generated.
  • the predetermined geometric transformation may be, for example, translation, rotation, inversion, enlargement, reduction, or a combination thereof.
  • the predetermined geometric transformation may be a transformation involving translation and rotation. In the example of FIG. 5, a scene in which a transformation involving translation and rotation is applied to the first face image 611 is illustrated.
  • the learning processing unit 112 acquires a third output value for each third face image 66 from the detector 5 by inputting each generated third face image 66 to the detector 5. Then, the learning processing unit 112 generates a first detection position specified based on the first output value obtained for the first face image 611 of each learning data set 61 and generates the first detection position for the first face image 611. Based on the third output value obtained for the obtained third face image 66, the total value of the third error 73 with the third detection position of the specified organ is calculated.
  • the learning processing unit 112 sets the coordinate axes of the first face image 611 and the coordinate axes of the third face image 66. And performs a conversion process to match.
  • the learning processing unit 112 specifies the third detection position V30 of the organ on the coordinate axis of the third face image 66 based on the third output value acquired from the detector 5.
  • the learning processing unit 112 applies an inverse transformation of a predetermined geometric transformation to the specified detection position V30, matches the coordinate axis of the third face image 66 with the coordinate axis of the first face image 611, and The third detection position V31 on the coordinate axis 611 is specified.
  • the learning processing unit 112 calculates the difference between the third detection position V31 and the first detection position V1 as a third error 73, and adds the third error 73 for each learning data set 61 to obtain the third error.
  • the total value of the errors 73 is calculated.
  • the method of calculating the total value of the third errors between the first detection position and the third detection position is not limited to such an example.
  • the learning processing unit 112 applies a predetermined inverse transformation to the first detection position V1 on the coordinate axis of the first face image 611, so that the coordinate axis of the first face image 611 matches the coordinate axis of the third face image 66. Good. Then, the learning processing unit 112 may calculate the difference between the first detection position and the third detection position V30 on the coordinate axis of the third face image 66 as the third error 73.
  • the learning processing unit 112 trains the detector 5 so that the total value of the first error 71, the total value of the second error 72, and the total value of the third error 73 become small. Accordingly, the learning processing unit 112 constructs the learned detector 5 for detecting the facial organ of the driver.
  • the detector 5 is configured by a neural network.
  • the detector 5 is configured by a multilayered neural network used for so-called deep learning, and includes an input layer 51, an intermediate layer (hidden layer) 52, and an output layer 53.
  • the neural network constituting the detector 5 includes one intermediate layer 52, the output of the input layer 51 is input to the intermediate layer 52, and the output of the intermediate layer 52 is output to the output layer. 53 has been input.
  • the configuration of the detector 5 need not be limited to such an example.
  • the number of the intermediate layers 52 may not be limited to one layer.
  • the detector 5 may include two or more intermediate layers 52.
  • Each of the layers 51 to 53 has one or more neurons.
  • the number of neurons in the input layer 51 may be set according to the number of pixels of the first face image 611.
  • the number of neurons in the intermediate layer 52 may be appropriately set according to the embodiment.
  • the number of neurons in the output layer 53 may be set according to the number of organs to be detected, the position expression, and the like.
  • each neuron in adjacent layers is appropriately connected to each other, and a weight (connection weight) is set for each connection.
  • connection weight is set for each connection.
  • each neuron is connected to all neurons in an adjacent layer.
  • the connection of the neurons is not limited to such an example, and may be appropriately set according to the embodiment.
  • a threshold is set for each neuron, and basically, the output of each neuron is determined by whether or not the sum of the product of each input and each weight exceeds the threshold. That is, the weight of the connection between these neurons and the threshold value of each neuron are examples of the parameters of the detector 5 used for the arithmetic processing.
  • the learning processing unit 112 inputs each face image (611, 63, 66) to the input layer 51, and executes the arithmetic processing of the detector 5 using these parameters.
  • the learning processing unit 112 acquires each output value from the output layer 53 as a detection result of an organ for each face image (611, 63, 66). Subsequently, the learning processing unit 112 calculates the total value of the errors 71 to 73 based on the obtained output values as described above. Then, the learning processing unit 112 adjusts the parameters of the detector 5 so as to reduce the total value of the errors 71 to 73 as the training process. Thereby, the learned detector 5 for detecting the facial organ of the driver is constructed.
  • the storage processing unit 113 includes a configuration of the constructed learned detector 5 (for example, the number of layers of the neural network, the number of neurons in each layer, a connection relationship between neurons, a transfer function of each neuron), and an operation parameter (for example, , Information indicating the weight of the connection between each neuron and the threshold value of each neuron) is stored in the storage unit 12 as the learning result data 121.
  • the constructed learned detector 5 for example, the number of layers of the neural network, the number of neurons in each layer, a connection relationship between neurons, a transfer function of each neuron
  • an operation parameter for example, Information indicating the weight of the connection between each neuron and the threshold value of each neuron
  • FIG. 6 schematically illustrates an example of a software configuration of the monitoring device 2 according to the present embodiment.
  • the control unit 21 of the monitoring device 2 loads the monitoring program 82 stored in the storage unit 22 into the RAM. Then, the control unit 21 interprets and executes the monitoring program 82 loaded on the RAM by the CPU, and controls each component. Accordingly, as illustrated in FIG. 6, the monitoring device 2 according to the present embodiment operates as a computer including the data acquisition unit 211, the detection unit 212, and the output unit 213 as software modules. That is, in the present embodiment, each software module of the monitoring device 2 is also realized by the control unit 21 (CPU), similarly to the detector generation device 1.
  • the data acquisition unit 211 acquires a face image 221 that shows the face of the driver D who drives the vehicle. For example, the data acquisition unit 211 acquires the face image 221 by photographing the face of the driver D using the camera 41.
  • the detection unit 212 includes the learned detector 5 by holding the learning result data 121. Specifically, the detection unit 212 sets the learned detector 5 with reference to the learning result data 121. Then, by inputting the acquired face image 221 to the detector 5, the detection unit 212 acquires from the detector 5 an output value corresponding to a result of detecting the facial organ of the driver D from the face image 221. .
  • the output unit 213 outputs information on the result of detecting the facial organ of the driver D.
  • each software module of the detector generation device 1 and the monitoring device 2 will be described in detail in an operation example described later.
  • an example is described in which each software module of the detector generation device 1 and the monitoring device 2 is realized by a general-purpose CPU.
  • some or all of the above software modules may be implemented by one or more dedicated processors.
  • the omission, replacement, and addition of software modules may be performed as appropriate according to the embodiment.
  • FIG. 7 is a flowchart illustrating an example of a processing procedure of the detector generation device 1 according to the present embodiment.
  • the processing procedure described below is an example of the “detector generation method” of the present invention.
  • the processing procedure described below is merely an example, and each processing may be changed as much as possible. Further, in the processing procedure described below, steps can be omitted, replaced, and added as appropriate according to the embodiment.
  • Step S101 the control unit 11 operates as the learning data acquisition unit 111, and acquires a plurality of learning data sets 61 each configured by a combination of the first face image 611 and the position information 612.
  • the method of acquiring the plurality of learning data sets 61 is not particularly limited and may be appropriately selected according to the embodiment.
  • a plurality of first face images 611 including the face of the subject T are obtained by preparing a vehicle equipped with the camera 31 and the subject T and photographing the subject T driving the vehicle under various conditions using the camera. Can be.
  • the number of vehicles and the number of subjects T to be prepared may be appropriately determined according to the embodiment.
  • the learning data sets 61 can be generated by combining the obtained first face images 611 with the position information 612 indicating the position of the target organ shown in each first face image 611.
  • the organ of interest may be selected from, for example, eyes, nose, mouth, eyebrows, jaws, and combinations thereof.
  • the target organ may include a face outline.
  • Each of the learning data sets 61 may be automatically generated or manually generated. Further, generation of each learning data set 61 may be performed by the detector generation device 1 or may be performed by a computer other than the detector generation device 1.
  • the control unit 11 acquires each first face image 611 from the camera 31 via an external interface, a network, a storage medium 91, and the like. Next, the control unit 11 generates position information 612 to be given to each first face image 611.
  • the control unit 11 accepts designation of the position of the organ via the input device 14 by the operator. Subsequently, the control unit 11 generates position information 612 indicating the position of the designated organ according to the operation of the input device 14 by the operator.
  • the control unit 11 detects the position of the target organ from each first face image 611.
  • control unit 11 For this detection, a known image processing method such as edge detection and pattern matching may be used, or a tentatively generated detector described later may be used. Subsequently, the control unit 11 generates position information 612 indicating the position of the detected organ. Then, the control unit 11 generates each learning data set 61 by combining the generated position information 612 with the first face image 611. Thereby, the control unit 11 may acquire a plurality of learning data sets 61.
  • each learning data set 61 is generated by another computer
  • the control unit 11 transmits a plurality of learning data sets 61 generated by another computer via a network, a storage medium 91, or the like. May be obtained.
  • each learning data set 61 may be generated in the same manner as in the detector generation device 1.
  • the data formats of the first face image 611 and the position information 612 may be appropriately selected according to the embodiment.
  • the position information 612 may indicate the position of the organ by a point using coordinate values or the like, or may indicate the position of the organ by an area.
  • the number of learning data sets 61 to be acquired is not particularly limited, and may be appropriately determined to the extent that machine learning of the detector 5 can be performed.
  • the control unit 11 proceeds to the next step S102.
  • Step S102 the control unit 11 operates as the learning processing unit 112, and performs machine learning of the detector 5 using the plurality of learning data sets 61 acquired in step S101.
  • the processing procedure of machine learning will be described later.
  • the control unit 11 proceeds to the next step S103.
  • Step S103 the control unit 11 operates as the storage processing unit 113, and generates information indicating the configuration and the operation parameters of the detector 5 constructed by machine learning as learning result data 121. Then, the control unit 11 stores the generated learning result data 121 in the storage unit 12. Thus, the control unit 11 ends the process according to the operation example.
  • the storage destination of the learning result data 121 is not limited to the storage unit 12.
  • the control unit 11 may store the learning result data 121 in a data server such as a NAS (Network Attached Storage). After constructing the learned detector 5, the control unit 11 may transfer the generated learning result data 121 to the monitoring device 2 at an arbitrary timing.
  • a data server such as a NAS (Network Attached Storage).
  • the monitoring device 2 may acquire the learning result data 121 by accepting the transfer from the detector generation device 1, or may acquire the learning result data 121 by accessing the detector generation device 1 or the data server. Good.
  • the learning result data 121 may be incorporated in the monitoring device 2 in advance.
  • step S102 is a flowcharts illustrating an example of a processing procedure of machine learning by the detector generation device 1 according to the present embodiment.
  • the process of step S102 according to the present embodiment includes the following processes of steps S201 to S210.
  • the processing procedure described below is merely an example, and each processing may be changed as much as possible. Further, in the processing procedure described below, steps can be omitted, replaced, and added as appropriate according to the embodiment.
  • the control unit 11 Before starting the process of step S201, the control unit 11 prepares a neural network (the detector 5 before learning) to be subjected to machine learning.
  • the configuration of the neural network to be prepared and each parameter may be provided by a template or may be provided by an operator input.
  • the control unit 11 may prepare a neural network based on the learning result data 121 to be re-learned.
  • the control unit 11 starts the process of step S201.
  • step S201 the control unit 11 inputs the first face image 611 of each learning data set 61 to the detector 5, and executes a calculation process of the detector 5. Specifically, the control unit 11 inputs each of the first face images 611 to the input layer 51 of the detector 5 and determines firing of each neuron included in each of the layers 51 to 53 in order from the input side. Thereby, the control unit 11 acquires the first output value for each first face image 611 from the output layer 53. Each first output value corresponds to a result of detection of the position of an organ from each first face image 611 by the detector 5 at the current stage. When acquiring the first output values, the control unit 11 proceeds to the next step S202.
  • the output value of the detector 5 is not particularly limited as long as the output value of the detector 5 can indicate the position at which the organ is detected, and is appropriately selected according to the embodiment. May be.
  • the output value of the detector 5 may directly indicate the position of the organ, such as a coordinate value.
  • the output value of the detector 5 may indirectly indicate the position of the organ, and information indicating the position of the organ may be obtained by applying some arithmetic processing to the output value of the detector 5. Regardless of the format, the output value of the detector 5 can be handled similarly. Therefore, in the following, for convenience of explanation, the output value of the detector 5 will be treated as directly indicating the position of the organ.
  • step S202 the control unit 11 calculates a total value of the first errors 71 between the first detection position V1 of the organ specified based on each first output value and the position A1 indicated by the corresponding position information 612. . Specifically, for each learning data set 61, the control unit 11 calculates the difference between the first detection position V1 obtained for each first face image 611 and the position A1 indicated by the corresponding position information 612. It is calculated as one error 71. Then, the control unit 11 calculates the total value of the first errors 71 by adding the calculated first errors 71.
  • the difference between the first detection position V1 and the position A1 may be appropriately calculated according to a format for specifying the position of the organ. For example, when the position of the organ is designated by a point, the control unit 11 may calculate the distance (norm) between the first detection position V1 and the position A1 as a difference. Further, for example, when the position of the organ is specified by the region, the control unit 11 may calculate the difference between the first detection position V1 and the position A1 using an index such as IoU (Intersection Over Union). Good. After calculating the total value of the first errors 71, the control unit 11 proceeds to the next step S203.
  • IoU Intersection Over Union
  • Step S203 the control unit 11 generates each second face image 63 by adding noise to the first face image 611 of each learning data set 61.
  • the type of noise given to each first face image 611 is not particularly limited and may be appropriately selected according to the embodiment.
  • the noise for example, Gaussian noise, Poisson noise, noise based on uniform random numbers, or the like may be used.
  • the control unit 11 may add random Gaussian noise to each first face image 611.
  • the control unit 11 may apply noise to each first face image 611 by applying a filter such as a local average filter to each first face image 611.
  • the type of noise given to each first face image 611 may be the same or different.
  • control unit 11 may add noise to a position where the detection by the detector 5 is likely to change so as to form a hostile example (Adversarial example). Whether or not the detection is likely to change can be determined, for example, based on a comparison between the amount of change in the detection position due to the addition of noise and a threshold. After generating each second face image 63, the control unit 11 proceeds to the next step S204.
  • Step S204 the control unit 11 inputs each of the generated second face images 63 to the detector 5, and executes the arithmetic processing of the detector 5.
  • the calculation process of the detector 5 may be the same as that in step S201.
  • the control unit 11 obtains the second output value for each second face image 63 from the output layer 53 of the detector 5.
  • Each second output value corresponds to the result of detection of the position of an organ from each second face image 63 by the detector 5 at this stage.
  • the control unit 11 proceeds to the next step S205.
  • Step S205 the control unit 11 is specified based on the second output value obtained for the second face image 63 corresponding to the first detection position V1 of the organ specified based on each first output value. Then, the total value of the second errors 72 between the second detection position V2 and the second detection position V2 is calculated. Specifically, for each learning data set 61, the control unit 11 calculates the second detection result V1 obtained for each first face image 611 and the second detection result V1 obtained for the second face image 63 corresponding to the first detection image V1. The difference from the detection position V2 is calculated as a second error 72. The method of calculating this difference may be the same as in step S202. Then, the control unit 11 calculates the total value of the second errors 72 by adding the calculated second errors 72. After calculating the total value of the second errors 72, the control unit 11 proceeds to the next step S206.
  • Step S206 the control unit 11 generates each third face image 66 by applying a predetermined geometric transformation to the first face image 611 of each learning data set 61.
  • the geometric transformation applied to each first face image 611 may be, for example, translation, rotation, inversion, enlargement, reduction, or a combination thereof.
  • the geometric transformation applied to each first face image 611 may be a transformation involving translation and rotation.
  • the geometric transformation applied to each third face image 66 may be the same or different.
  • the control unit 11 may generate each of the third face images 66 while randomly changing the parameters of the geometric transformation.
  • the parameters of the geometric transformation are, for example, each transformation amount (parallel movement amount, rotation amount, etc.).
  • Step S207 the control unit 11 inputs each of the generated third face images 66 to the detector 5, and executes the arithmetic processing of the detector 5.
  • the calculation process of the detector 5 may be the same as that in step S201.
  • the control unit 11 acquires the third output value for each third face image 66 from the output layer 53 of the detector 5.
  • Each third output value corresponds to the result of detection of the position of an organ from each third face image 66 by the detector 5 at the present stage.
  • the control unit 11 proceeds to the next step S208.
  • step S208 the control unit 11 is specified based on the third output value obtained for the third face image 66 corresponding to the first detection position of the organ specified based on each first output value.
  • the total value of the third error 73 from the third detection position of the organ is calculated.
  • the control unit 11 applies the inverse transformation of the geometric transformation to the third detection position V30 derived from the third output value obtained for each first face image 611, and performs the third detection position V31 is calculated.
  • the control unit 11 sets the third detection position V31 obtained for the third face image 66 corresponding to the first detection position V1 obtained for each first face image 611. Is calculated as a third error 73.
  • control unit 11 may calculate the difference between the position derived by applying the geometric transformation to the first detection position V1 and the third detection position V30 as the third error 73. Then, the control unit 11 calculates the total value of the third errors 73 by adding the calculated third errors 73. After calculating the total value of the third errors 73, the control unit 11 proceeds to the next step S209.
  • Step S209 the control unit 11 determines whether or not the sum of the calculated errors 71 to 73 is equal to or smaller than a threshold.
  • the threshold value is a criterion for determining whether or not the detector 5 has been sufficiently trained to appropriately detect the organ from the face image. This threshold may be set as appropriate.
  • the control unit 11 ends the machine learning process according to the present operation example (that is, completes the process of step S102). The process proceeds to step S103.
  • the control unit 11 proceeds to the next step S210.
  • Step S210 the control unit 11 performs training of the detector 5 so that the total value of the errors 71 to 73 becomes small. Specifically, the control unit 11 adjusts the parameters of the detector 5 so that the total value of the errors 71 to 73 decreases.
  • a known method such as an error back propagation method may be used for adjusting the parameter. That is, the control unit 11 calculates the error of each parameter such as the weight of connection between each neuron and the threshold value of each neuron in order from the output layer 53 using the total value of each error 71 to 73. Then, the control unit 11 updates the value of each parameter based on the calculated error.
  • the learning rate that determines the update width of each parameter may be set as appropriate.
  • the control unit 11 repeats the processing from step S201.
  • the control unit 11 optimizes the parameters of the detector 5 by repeating the processes of steps S201 to S210 such that the total value of the errors 71 to 73 is sufficiently small.
  • a known method such as a stochastic gradient descent method may be used for optimizing the parameter.
  • the detector 5 is trained so that the sum of the errors 71 to 73 becomes small. That is, in step S209, it is determined that the total value of the errors 71 to 73 is equal to or smaller than the threshold, and the machine learning process according to this operation example is completed.
  • step S202 is executed after step S201
  • step S204 is executed after step S203
  • the process of step S205 is executed after steps S201 and S204
  • the process of step S207 is executed after step S206. If the process of step S208 is performed after steps S201 and S207, the order of the processes of steps S201 to S208 may be appropriately changed.
  • the detector generation device 1 may repeat the processes of steps S101 to S103. In the course of this repetition, the position information 612 included in each of the learning data sets 61 may be updated using the provisionally generated detector 5. That is, in step S102, the detector generation device 1 generates the learned detector 5 using each learning data set 61, and then adds each first face image 611 to the generated learned detector 5. The position of an organ may be detected from each of the first face images 611 by input. Then, the detector generation device 1 indicates the position detected by the learned detector 5 from the original position (that is, the position indicated by the position information 612 when generating the learned detector 5). As described above, the position information 612 of each learning data set 61 may be updated.
  • FIG. 9 schematically illustrates an example of a scene in which machine learning is repeatedly performed.
  • the control unit 11 when performing steps S101 to S103 for the first time, in step S101, the control unit 11 obtains a plurality of learning data sets 62a each including the first face image 611 and the position information 622a. Assume that you have done.
  • the position information 622a may be given by an operator's designation, may be given by a known image processing method, or may be given based on an output value obtained from another detector. .
  • the control unit 11 executes the machine learning process of step S102 by using the obtained learning data sets 62a. Accordingly, given each learning data set 62a, the control unit 11 learns a trained detector trained to detect an organ from the first face image 611 so as to match the correct answer indicated by the position information 622a. 50a is provisionally generated. The control unit 11 may store the provisionally generated learning result data of the learned detector 50a in a predetermined storage area by executing the process of step S103. The generation of the learned detector 50a ends the first learning process.
  • the control unit 11 updates the position information 622a of each learning data set 62a using the provisionally generated learned detector 50a. That is, the control unit 11 inputs each of the first face images 611 to the learned detector 50a generated in the first learning process, and executes the arithmetic processing of the detector 50a. Thereby, the control unit 11 acquires an output value corresponding to the result of detecting the position of the organ from each first face image 611 from the learned detector 50a.
  • the control unit 11 specifies the position where the target organ is detected from each first face image 611 by the learned detector 50a based on the obtained output values. Then, the control unit 11 generates position information 622b indicating the specified detection position for each learning data set 62a, and replaces the generated position information 622b with the position information 622a. Accordingly, in step S101, the control unit 11 acquires each new learning data set 62b configured by a combination of the first face image 611 and the position information 622b.
  • the position information 622b is obtained by inputting the first face image 611 combined with the position information 622b to the detector 50a that has already performed the machine learning, thereby obtaining an output obtained from the detector 50a.
  • the learned detector 50a is an example of the “other detector” and the “first detector” of the present invention.
  • Each learning data set 62a is an example of a “first learning data set”.
  • Each learning data set 62b is an example of a “second learning data set”.
  • the control unit 11 executes the machine learning process of step S102 using each of the learning data sets 62b.
  • the control unit 11 learns a trained detector trained to detect an organ from the first face image 611 so as to match the correct answer indicated by the position information 622b. Generate 50b.
  • the control unit 11 may store the generated learning result data of the learned detector 50b in a predetermined storage area by executing the process of step S103. The generation of the learned detector 50b ends the second learning process.
  • the detector generation device 1 performs processing for generating a learned detector by machine learning using each learning data set, and updates position information using the generated learned detector.
  • the processing may be repeatedly executed alternately.
  • each learning data set finally obtained corresponds to each of the learning data sets 61
  • the learned detector that is automatically generated corresponds to the learned detector 5 described above.
  • the position information 612 is given based on an output value obtained from the learned detector by inputting the first face image 611 to the learned detector generated by the last previous learning process. .
  • FIG. 9 illustrates a case where the machine learning process is repeated three times or more.
  • the number of times of repeating the machine learning process is not limited to such an example, and may be appropriately selected according to the embodiment. The number of repetitions may be two.
  • FIG. 10 is a flowchart illustrating an example of a processing procedure of the monitoring device 2 according to the present embodiment.
  • the processing procedure described below is merely an example, and each processing may be changed as much as possible. Further, in the processing procedure described below, steps can be omitted, replaced, and added as appropriate according to the embodiment.
  • Step S301 the control unit 21 operates as the data acquisition unit 211, and acquires a face image 221 in which the face of the driver D driving the vehicle is captured.
  • the monitoring device 2 is connected to the camera 41 via the external interface 24. Therefore, the control unit 21 acquires the face image 221 from the camera 41.
  • the face image 221 may be moving image data or still image data.
  • the control unit 21 proceeds to the next step S302.
  • the path for acquiring the face image 221 is not limited to such an example, and may be appropriately selected according to the embodiment.
  • another computer different from the monitoring device 2 may be connected to the camera 41.
  • the control unit 21 may acquire the face image 221 by receiving the transmission of the face image 221 from another computer.
  • Step S302 the control unit 21 operates as the detection unit 212 and sets the learned detector 5 with reference to the learning result data 121. Subsequently, the control unit 21 inputs the acquired face image 221 to the learned detector 5 and executes the arithmetic processing of the detector 5.
  • the calculation process of the detector 5 may be the same as that in step S201. Thereby, the control unit 21 acquires from the detector 5 an output value corresponding to a result of detecting the facial organ of the driver D from the face image 221. After acquiring the output value, the control unit 21 proceeds to the next step S303.
  • Step S303 the control unit 21 operates as the output unit 213, and outputs information on the result of detecting the facial organ of the driver D.
  • the output destination and the content of the information to be output may be appropriately determined according to the embodiment.
  • the control unit 21 may output the result of detecting the facial organ of the driver D from the face image 221 in step S302 via the output device 26 as it is.
  • control unit 21 may execute some information processing such as estimating the state of the driver D based on the result of detecting the facial organ of the driver D from the face image 221. Then, the control unit 21 may output a result of executing the information processing.
  • the control unit 21 may estimate the gaze direction of the driver D based on the detected positional relationship of each eye. Then, the control unit 21 may output information related to the result of estimating the line-of-sight direction. For example, when the line of sight does not face the front of the vehicle, the control unit 21 may output a warning via the output device 26 to prompt the user to turn the line of sight to the front.
  • control unit 21 may estimate the facial expression of the driver D based on the detected positional relationship between the organs. Then, the control unit 21 may output information related to the result of estimating the facial expression. For example, when the expression of the driver D is tired, the control unit 21 may output, via the output device 26, a message urging the driver to stop.
  • the control unit 21 ends the processing according to this operation example.
  • the control unit 21 may continuously and repeatedly execute the series of processes of steps S301 to S303.
  • the monitoring device 2 can monitor the state of the driver D via detecting the position of the facial organ of the driver D from the face image.
  • the detector generation device 1 trains the detector 5 so that the total value of the respective errors 71 to 73 is reduced by the processes of steps S201 to S210.
  • the total value of the first errors 71 among the errors 71 to 73 is calculated as the loss between the result of detecting the organ from the first face image 611 by the detector 5 and the correct answer of the position of the organ specified by the position information 612. Equivalent to.
  • the total value of the second errors 72 is the blur of the detection result of the organ by the detector 5, and corresponds to the blur loss caused by the presence or absence of noise in the first face image 611.
  • the detector generation device 1 detects the organ from the first face image 611 so as to match the correct answer indicated by the position information 612 by the machine learning processing in steps S201 to S210, and the detection result is noise.
  • a trained (learned) detector 5 that is less susceptible to influence can be constructed (generated).
  • the total value of the third errors 73 is the blur of the detection result of the organ by the detector 5, and corresponds to the loss of the blur caused by the influence of the geometric noise included in the position information 612.
  • the detector generation device 1 can construct the detector 5 further trained so as to be hardly affected by the geometric noise included in the position information by the machine learning processing in steps S201 to S210. it can.
  • the neural network constituting the detector 5 is a fully connected neural network.
  • the structure and type of the neural network constituting the detector 5 need not be limited to such an example, and may be appropriately selected according to the embodiment.
  • a convolutional neural network, a recursive neural network, or the like may be used for the detector 5.
  • the detector 5 is configured by a neural network.
  • the type of the learning model constituting the detector 5 is not limited to the neural network, and may be appropriately selected according to the embodiment.
  • the method of machine learning may be appropriately selected depending on a learning model to be used.
  • the detector 5 may be trained so that an initial value of the position of the organ to be detected is given and the position is updated so that the position of the organ appearing in the target face image can be appropriately detected.
  • the average value of the correct answer data given to the learning face image can be used as the initial value of the position of the organ.
  • the update of the position can be performed by using the feature amount.
  • the feature amount for example, a Haar-like feature amount, a luminance difference, or the like may be used.
  • learning model for example, a support vector machine, a linear regression model, a random forest, or the like may be used.
  • the parameters of the detector 5 are, for example, a weight vector, a conversion vector, a threshold value of each branch, and the like.
  • the learning result data 121 includes information indicating the configuration of the learned neural network (detector 5).
  • the configuration of the learning result data 121 is not limited to such an example, and may be appropriately determined according to the embodiment as long as it can be used for setting the learned detector 5.
  • the learning result data 121 may not include information indicating the learned configuration of the neural network.
  • the detector generation device 1 adjusts the parameters of the detector 5 by machine learning in step S102 such that the total value of the errors 71 to 73 becomes smaller.
  • the process of machine learning need not be limited to such an example.
  • the third error 73 among the errors 71 to 73 may be omitted.
  • FIG. 11 schematically illustrates an example of a software configuration of the detector generation device 1A according to the present modification.
  • the hardware configuration of the detector generation device 1A is the same as that of the detector generation device 1 according to the above embodiment.
  • the software configuration of the detector generation device 1A is the same as that of the detector generation device 1 according to the above embodiment.
  • the detector generation device 1A operates in the same manner as the detector generation device 1 according to the above embodiment, except that the process of deriving the third error 73 is omitted. That is, the control unit of the detector generation device 1A executes the processing of steps S101 and S103, similarly to the detector generation device 1. Further, the control unit operates as the learning processing unit 112, and executes the process of step S102. In this modified example, in the machine learning process of step S102, the control unit omits the processes of steps S206 to S208. In other words, the control unit executes the processing of steps S201 to S205 and then executes the processing of step S209, as in the case of the detector generation device 1. Then, in step S209, the control unit determines whether the total value of the first error 71 and the total value of the second error 72 are equal to or smaller than a threshold.
  • step S210 the control unit performs training of the detector 5 so that the total value of the errors 71 to 72 becomes small.
  • the training of the detector 5, ie, the method of adjusting the parameters of the detector 5, may be the same as in the above embodiment.
  • the detector generation device 1A detects the organ from the first face image 611 so as to match the correct answer indicated by the position information 612, and the detection result is similar to the above-described embodiment.
  • a trained (learned) detector 5 that is less susceptible to noise can be constructed (generated).
  • the present invention is applied to a scene in which the face of a driver driving a vehicle is photographed and the position of a facial organ is detected from an obtained face image.
  • the applicable range of the present invention is not limited to the case where the position of the organ is detected from the face image of the driver.
  • INDUSTRIAL APPLICABILITY The present invention is widely applicable to scenes in which a facial organ of a subject other than a driver is detected from a face image.
  • FIG. 12 schematically illustrates an example of another scene to which the present invention is applied.
  • FIG. 12 shows an example in which the present invention is applied to a scene where an operator U who works at a production site is photographed and the facial organ of the operator U is detected from the obtained face image.
  • the hardware configuration and software configuration of the detector generation device 1B according to the present modification are the same as those of the detector generation device 1 according to the above embodiment.
  • the hardware configuration and software configuration of the monitoring device 2B according to the present modification are the same as those of the monitoring device 2 according to the above embodiment.
  • the detector generation device 1B and the monitoring device 2B according to the present modified example operate in the same manner as the detector generation device 1 and the monitoring device 2 according to the above-described embodiment, except that a face image of a subject other than the driver is handled. I do.
  • step S101 the control unit of the detector generation device 1B operates as a learning data acquisition unit, and outputs the first face image in which the subject's face is captured and the position information indicating the position of the face organ in the first face image.
  • a plurality of learning data sets each constituted by a combination are acquired.
  • the process of step S101 according to the present modification is the same as in the above embodiment.
  • the control unit operates as a learning processing unit, and implements machine learning of the detector using the plurality of acquired learning data sets.
  • the process of step S102 according to the present modification may be the same as the above-described embodiment, or may be the same as the above ⁇ 4.4>.
  • the control unit operates as a storage processing unit, and stores information indicating the configuration and operation parameters of the detector constructed by machine learning as learning result data.
  • the detector generation device 1B can generate a detector that has acquired the ability to detect the position of an organ from a face image in which the face of a target person other than the driver appears.
  • the monitoring device 2B uses the detector constructed by the detector generation device 1B to photograph the worker U working with the robot device R on the production line using the camera 41, and the monitoring device 2B is obtained for the worker U.
  • the position of a facial organ is detected from the face image.
  • the control unit of the monitoring device 2B operates as a data acquisition unit, and acquires, from the camera 41, a face image showing the face of the worker U working with the robot device R.
  • the control unit operates as a detection unit, and inputs the face image obtained to the learned detector constructed by the detector generation device 1B, thereby recognizing the facial organ of the worker U. An output value corresponding to the result detected from the face image is obtained from the detector.
  • the control unit outputs information on the result of detecting the facial organ of the worker U.
  • the content of the information to be output may be appropriately determined according to the embodiment, as in the above embodiment.
  • the control unit estimates the gaze direction of the worker U based on the detected positional relationship of each eye, and outputs information related to the estimation result of the gaze direction. You may.
  • the control unit may output a warning prompting the gaze direction to be directed to a direction related to the work. Good.
  • the control unit may output to the robot device R an instruction to perform an operation that matches the line of sight of the worker U.
  • the monitoring device 2B uses the detector generated by the detector generation device 1B to extract the position of the facial organ from the face image obtained by photographing the face of the worker U. Can be detected.
  • FIG. 13 schematically illustrates an example of another scene to which the present invention is applied. Specifically, FIG. 13 illustrates an example in which the present invention is applied to a case where a product UC flowing through a production line RC is photographed, and a defect is present in the product UC, and the position of the defect in the product UC is detected from an obtained image. Is shown.
  • FIG. 14 schematically illustrates an example of a software configuration of a detector generation device 1C according to the present modification.
  • the defect of the product UC according to the present modification is an example of the “object” of the present invention.
  • the “target” does not have to be limited to such a defect of the product, and may be appropriately selected according to the embodiment.
  • the “target” may be, for example, the face itself, a body part other than the face, or the like, in addition to the facial organ (the above embodiment).
  • the “object” may be, for example, the product itself, or some feature included in the product.
  • the hardware configuration of the detector generation device 1C according to this modification is the same as that of the detector generation device 1 according to the above embodiment.
  • the software configuration of the detector generation device 1C according to the present modification is the same as that of the detector generation device 1 according to the above embodiment.
  • the hardware configuration and the software configuration of the monitoring device 2C according to the present modification are the same as those of the monitoring device 2 according to the above embodiment.
  • the detector generation device 1C and the monitoring device 2C according to the present modification operate in the same manner as the detector generation device 1 and the monitoring device 2 according to the above-described embodiment, except that they handle images in which products are captured.
  • step S101 the control unit of the detector generation device 1C operates as the learning data acquisition unit 111, and outputs the first image 611C in which the product including the defect appears, and the position information indicating the position of the defect in the first image 611C.
  • a plurality of learning data sets 61C constituted by combinations of 612C are acquired.
  • the processing in step S101 according to this modified example is the same as that in the above-described embodiment, except that the object to be photographed is different.
  • control unit operates as the learning processing unit 112, and performs machine learning of the detector 5 using the acquired plurality of learning data sets 61C.
  • step S201 the control unit inputs the first image 611C of each learning data set 61C to the detector 5, and executes a calculation process of the detector 5. Thereby, the control unit acquires the first output value for each first image from the detector 5.
  • step S202 the control unit compares the first detection position V1C of the defect of the product specified based on the first output value obtained for each first image with the position A1C indicated by the corresponding position information 612C. The total value of the first errors 71C is calculated.
  • step S203 the control unit generates a second image 63C for each first image 611C by adding noise to each first image 611C.
  • step S204 the control unit inputs each of the generated second images 63C to the detector 5, and executes the arithmetic processing of the detector 5. Thereby, the control unit acquires the second output value for each second image 63C from the detector 5.
  • step S205 the control unit performs the second detection specified based on the second output value obtained for the second image 63C corresponding to the first detection position V1C specified based on each first output value. The total value of the second error 72C from the position V2C is calculated.
  • step S206 the control unit generates a third image 66C for each first image 611C by applying a predetermined geometric transformation to each first image 611C.
  • step S207 the control unit inputs each of the generated third images 66C to the detector 5, and executes the arithmetic processing of the detector 5. Thereby, the control unit obtains the third output value for each third image 66C from the detector 5.
  • step S208 the control unit determines the third detection position specified based on the third output value obtained for the third image 66C corresponding to the first detection position specified based on each first output value. Is calculated as the third error 73C.
  • step S208 the control unit is derived for the third image 66C corresponding to the first detection position V1C obtained for each first image 611C, as in the above embodiment.
  • the difference from the third detection position V31C may be calculated as the third error 73C.
  • the control unit calculates a difference between a position derived by applying a predetermined geometric transformation to the first detection position V1C obtained for each first image 611C and the third detection position V30C as a third error 73C. May be calculated as
  • step S209 the control unit determines whether or not the sum of the calculated errors 71C to 73C is equal to or smaller than a threshold. When determining that the total value of the errors 71C to 73C is equal to or less than the threshold, the control unit ends the machine learning process and proceeds to the next step S103. On the other hand, if it is determined that the total value of the errors 71C to 73C exceeds the threshold, the control unit proceeds to the next step S210. In step S210, the control unit performs training of the detector 5 so that the total value of the errors 71C to 73C becomes small. When the update of the parameter values of each layer 51 to 53 of the detector 5 is completed, the control unit repeats the processing from step S201.
  • step S102 according to the present modified example is the same as in the above embodiment.
  • the processing procedure of step S102 according to the present modification need not be limited to such an example, and may be, for example, the same as the above ⁇ 4.4>.
  • the processing of steps S206 to S208 may be omitted.
  • step S209 the control unit may determine whether or not the total value of the calculated errors 71C to 72C is equal to or smaller than a threshold. When determining that the total value of the errors 71C to 72C is equal to or less than the threshold, the control unit may proceed to the next step S103.
  • control unit may proceed to the next step S210.
  • the control unit may train the detector 5 so that the total value of the errors 71C to 72C becomes smaller.
  • step S103 the control unit operates as the storage processing unit 113, and stores information indicating the configuration and operation parameters of the detector 5 constructed by machine learning as learning result data 121C.
  • the detector generation device 1C can generate the detector 5 that has acquired the ability to detect the position of a defect (object) from an image of a product.
  • the monitoring device 2C takes an image of the product UC flowing through the production line RC by using the detector 5 constructed by the detector generation device 1C and, when the product UC has a defect, obtains a product from the obtained image. The position of the UC defect is detected.
  • the control unit of the monitoring device 2C operates as a data acquisition unit, and acquires an image of the product UC flowing through the production line RC from the camera 41.
  • the control unit operates as a detection unit and sets the learned detector 5 with reference to the learning result data 121C. Subsequently, the control unit obtains an output value corresponding to a result of detecting a defect of the product UC from the image by inputting the obtained image to the learned detector 5.
  • the control unit outputs information on the result of detecting a defect of the product UC.
  • the content of the information to be output may be appropriately determined according to the embodiment, as in the above embodiment.
  • the control unit may output information indicating the position of the detected defect.
  • the control unit may output an instruction to flow the product UC in which the defect is detected to another line to the production line RC.
  • the monitoring device 2C uses the detector 5 generated by the detector generation device 1C to detect a defect from an image of the product UC, thereby detecting the defect of the product UC flowing through the production line RC. Can be monitored.
  • the detector generation device 1 alternately repeats a process of generating a detector and a process of updating position information, thereby causing an artificial noise included in the position information. It is possible to construct a detector that is robust to the influence and capable of detecting the facial organ of the subject from the facial image. From the viewpoint of constructing a detector that is robust against the influence of artificial noise, only the part that alternately executes the process of generating the detector and the process of updating the position information is extracted, and the detection according to the new form is performed.
  • An apparatus generator may be configured.
  • FIG. 15 schematically illustrates an example of a software configuration of the detector generation device 1D according to the present modification.
  • the hardware configuration of a detector generation device 1D according to the present modification is the same as that of the detector generation device 1 according to the above embodiment.
  • the software configuration of a detector generation device 1D according to the present modification is also the same as that of the detector generation device 1 according to the above embodiment.
  • the detector generation device 1D operates basically in the same manner as the detector generation device 1 according to the above embodiment, except that the process of deriving the second error 72 and the third error 73 is omitted. That is, in step S101 of the first learning process, the control unit of the detector generation device 1D operates as the learning data acquisition unit 111, and appears in the face image 681 and the face image 681 of the face of the subject driving the vehicle.
  • a plurality of first learning data sets 68 each composed of a combination of the first position information 682 indicating the position of the facial organ are acquired.
  • the first position information 682 may be given by an operator.
  • step S ⁇ b> 102 the control unit operates as the learning processing unit 112, and implements the machine learning of the first detector 58 using the plurality of acquired first learning data sets 68.
  • steps S203 to S208 are omitted.
  • step S201 the control unit inputs each face image 681 to the first detector 58, and executes a calculation process of the first detector 58.
  • step S202 the control unit obtains the output value for each face image 681 from the first detector 58, the control unit determines whether the detection value is specified based on the output value obtained for each face image 681. The total value of the error between the position and the position indicated by the first position information 682 corresponding to the position is calculated.
  • step S209 the control unit determines whether the calculated total value of the errors is equal to or smaller than a threshold. When it is determined that the total value of the errors is equal to or smaller than the threshold, the control unit ends the machine learning process, and proceeds to step S103. On the other hand, when determining that the total value of the errors exceeds the threshold, the control unit proceeds to the next step S210.
  • step S210 the control unit performs training of the first detector 58 so that the total value of the errors becomes small.
  • the method of adjusting the parameters of the first detector 58 may be the same as in the above embodiment. Accordingly, when each face image 681 is input, the control unit constructs the detector 5 trained to output an output value corresponding to the corresponding first position information 682.
  • step S103 the control unit operates as the storage processing unit 113, and stores information indicating the configuration and operation parameters of the first detector 58 constructed by machine learning as learning result data. In the first learning process, the process of step S103 may be omitted.
  • the detector generation device 1D alternately repeats a series of processing of such machine learning and a processing of updating position information using a provisionally generated detector.
  • step S101 of the second learning process the control unit inputs the face image 681 to the face image 681 and the constructed first detector 58, thereby converting the output value obtained from the first detector 58 into the output value.
  • a plurality of second learning data sets 69 each constituted by a combination of the second position information 692 given based on the acquired information are acquired.
  • the control unit performs machine learning of the second detector 59 using the plurality of second learning data sets 69. This machine learning process is the same as the first learning process.
  • the control unit constructs the second detector 59 trained to output an output value corresponding to the corresponding second position information 692. Accordingly, the detector generation device 1D according to the present modification can generate a detector (second detector 59) that is robust to the influence of artificial noise. Note that the generated second detector 59 may be used in the same manner as the detector 5 described above.
  • FIG. 15 illustrates a case where the machine learning process is repeated twice.
  • the number of times of repeating the machine learning process is not limited to such an example, and may be appropriately selected according to the embodiment.
  • the number of repetitions may be three or more.
  • this modification is widely applicable to scenes in which a facial organ of a subject other than the driver is detected from a face image. Therefore, the face image 681 may be replaced with a face image that shows the face of a subject other than the driver. This makes it possible to construct a detector that has acquired the ability to detect the position of an organ from a face image in which the face of a target person other than the driver appears.
  • the present modified example can be widely applied to any scene where the position of any object is detected from an image. Therefore, the face image 681 may be replaced with an image in which some target object appears. Each position information (682, 692) may be replaced with position information indicating the position of the object. This makes it possible to construct a detector that has acquired the ability to detect the position of an object from an image.
  • each learning data set was prepared under the following conditions.
  • a learning network including a convolutional neural network and a fully connected neural network was used as the detector.
  • the output of the convolutional neural network was connected to the input of a fully connected neural network.
  • a detector generator general-purpose personal computer
  • the prepared detector generator was used to execute each process according to the above-described embodiment using each prepared learning data set.
  • a learned detector according to the first example was obtained.
  • the learned detector according to the first embodiment uses the learned detector according to the first embodiment to detect the position of the outer corner of the eye from the face image of each learning data set used in the first embodiment, and the position information is updated based on the detection result. Each learning data set was obtained. Then, using the obtained learning data sets, the detector generation device was caused to execute the machine learning processing according to the above embodiment. Thus, a learned detector according to the second embodiment was obtained. That is, the learned detector according to the second example corresponds to a learned detector generated by repeating the machine learning process according to the above-described embodiment twice.
  • the position of the outer corner of the eye is detected from the face image of each learning data set used in the second embodiment, and the position information is updated based on the detection result.
  • Each learning data set was obtained.
  • the detector generation device was caused to execute the machine learning processing according to the above embodiment.
  • a learned detector according to the third example was obtained. That is, the learned detector according to the third example corresponds to a learned detector generated by repeating the machine learning process according to the above-described embodiment three times.
  • the detector according to the comparative example was obtained by omitting the calculation of the second error 72 and the third error 73. That is, in the comparative example, the processing of steps S203 to S208 in the processing procedure according to the above embodiment is omitted. Then, in steps S209 and S210, each of the errors 71 to 73 was replaced with the first error 71.
  • the detection accuracy of the detectors according to the first to third examples and the comparative example was evaluated by the following method. That is, the face of the subject was photographed by a camera, and 5000 face images (64 ⁇ 64 pixels) for evaluation were prepared in the same manner as the face images for learning. Each face image for evaluation was input to each detector, and a first detection result of the position of the outer corner of the eye with respect to each face image was obtained from each detector. Further, a transformed image was generated by geometrically transforming (translating and rotating) each face image for evaluation. Each generated converted image was input to each detector, and a second detection result of the position of the outer corner of the eye with respect to each converted image was obtained from each detector.
  • the detection error of the detector according to the first to third embodiments for implementing the learning of the second error 72 and the third error 73 depends on the learning of the second error 72 and the third error 73 It was smaller than the comparative example without performing. From this, it was found that according to the above-described embodiment, it is possible to generate a detector with less fluctuation in the detection result than in the case where only the first error 71 is learned. In addition, as the third embodiment is changed from the first embodiment, the blur of the detection of the outer corner of the eye by the detector is reduced. From this, it was found that by alternately repeating the process of generating the detector and the process of updating the position information, it is possible to suppress the fluctuation of the detection of the detector. Therefore, according to the above-described embodiment, it has been found that a detector capable of detecting a target with higher accuracy can be generated.
  • Detector generator 11 control unit, 12: storage unit, 13: communication interface, 14 input device, 15 output device, 16 drive 111: learning data acquisition unit, 112: learning processing unit, 113: storage processing unit, 121: learning result data, 81: detector generation program, 91: storage medium, 2 ... Monitoring device, 21: control unit, 22: storage unit, 23: communication interface, 24 ... External interface, 25 input device, 26 output device, 27 drive 211: data acquisition unit, 212: detection unit, 213 ... output unit, 221 ... face image, 82: monitoring program, 92: storage medium, 31 ... camera, 41 ...

Landscapes

  • Engineering & Computer Science (AREA)
  • Computer Vision & Pattern Recognition (AREA)
  • Physics & Mathematics (AREA)
  • General Physics & Mathematics (AREA)
  • Theoretical Computer Science (AREA)
  • Image Analysis (AREA)
  • Image Processing (AREA)
PCT/JP2019/010187 2018-08-31 2019-03-13 検出器生成装置、モニタリング装置、検出器生成方法及び検出器生成プログラム Ceased WO2020044630A1 (ja)

Applications Claiming Priority (2)

Application Number Priority Date Filing Date Title
JP2018162683A JP6996455B2 (ja) 2018-08-31 2018-08-31 検出器生成装置、モニタリング装置、検出器生成方法及び検出器生成プログラム
JP2018-162683 2018-08-31

Publications (1)

Publication Number Publication Date
WO2020044630A1 true WO2020044630A1 (ja) 2020-03-05

Family

ID=69644087

Family Applications (1)

Application Number Title Priority Date Filing Date
PCT/JP2019/010187 Ceased WO2020044630A1 (ja) 2018-08-31 2019-03-13 検出器生成装置、モニタリング装置、検出器生成方法及び検出器生成プログラム

Country Status (2)

Country Link
JP (1) JP6996455B2 (enExample)
WO (1) WO2020044630A1 (enExample)

Families Citing this family (2)

* Cited by examiner, † Cited by third party
Publication number Priority date Publication date Assignee Title
JP7458857B2 (ja) * 2020-04-01 2024-04-01 キヤノン株式会社 画像処理装置、画像処理方法及びプログラム
WO2022097195A1 (ja) * 2020-11-04 2022-05-12 日本電信電話株式会社 学習方法、学習装置及びプログラム

Citations (1)

* Cited by examiner, † Cited by third party
Publication number Priority date Publication date Assignee Title
JP2008536211A (ja) * 2005-03-31 2008-09-04 フランス テレコム ニューラルネットワークを実現するオブジェクトイメージにおいて興味のあるポイントを位置決めするシステム及び方法

Patent Citations (1)

* Cited by examiner, † Cited by third party
Publication number Priority date Publication date Assignee Title
JP2008536211A (ja) * 2005-03-31 2008-09-04 フランス テレコム ニューラルネットワークを実現するオブジェクトイメージにおいて興味のあるポイントを位置決めするシステム及び方法

Non-Patent Citations (2)

* Cited by examiner, † Cited by third party
Title
YAMASHITA, TAKAYOSHI ET AL.: "Optimal Mini-Batch Generation Method for Facial Feature Point Detection Using Deep Convolutional Neural Network", PROCEEDINGS OF THE 21ST SYMPOSIUM ON SENSING VIA IMAGE INFORMATION, 10 June 2015 (2015-06-10) *
YAMASHITA, TAKAYOSHI: "An Illustrated Guide to Deep Learning", 22 February 2016, article YAMASHITA, TAKAYOSHI, pages: 70 - 73 *

Also Published As

Publication number Publication date
JP6996455B2 (ja) 2022-01-17
JP2020035290A (ja) 2020-03-05

Similar Documents

Publication Publication Date Title
JP6946831B2 (ja) 人物の視線方向を推定するための情報処理装置及び推定方法、並びに学習装置及び学習方法
CN110147721B (zh) 一种三维人脸识别方法、模型训练方法和装置
WO2021135827A1 (zh) 视线方向确定方法、装置、电子设备及存储介质
CN114503162B (zh) 具有不确定性的特征点位置估计的图像处理系统和方法
CN111696196B (zh) 一种三维人脸模型重建方法及装置
CN112200057B (zh) 人脸活体检测方法、装置、电子设备及存储介质
CN106683048A (zh) 一种图像超分辨率方法及设备
CN108921782A (zh) 一种图像处理方法、装置及存储介质
US11328418B2 (en) Method for vein recognition, and apparatus, device and storage medium thereof
CN110895807B (zh) 用于评估图像的系统、运行辅助方法和工作设备
US9165213B2 (en) Information processing apparatus, information processing method, and program
KR102420924B1 (ko) 딥러닝 기반 3d 시선 예측 방법 및 그 장치
JP2019148980A (ja) 画像変換装置及び画像変換方法
JP7586344B2 (ja) 入力画像の処理方法、入力画像の処理装置及びプログラム
CN118230394A (zh) 一种基于人脸3d关键点的面部表情驱动方法及装置
WO2020044630A1 (ja) 検出器生成装置、モニタリング装置、検出器生成方法及び検出器生成プログラム
CN111680573B (zh) 人脸识别方法、装置、电子设备和存储介质
JP2017519291A (ja) 画像特性推定方法およびデバイス
US11393069B2 (en) Image processing apparatus, image processing method, and computer readable recording medium
JP7310931B2 (ja) 視線推定装置、視線推定方法、モデル生成装置、及びモデル生成方法
WO2025130661A1 (zh) 一种样本数据生成方法、目标检测方法及设备
WO2020044629A1 (ja) 検出器生成装置、モニタリング装置、検出器生成方法及び検出器生成プログラム
WO2019228195A1 (zh) 空间环境的感知方法及装置
KR20210048622A (ko) 딥러닝 기반 이미지 복원을 이용한 성별 인식 장치 및 방법
JP7577526B2 (ja) 画像処理装置、画像処理方法、及びプログラム

Legal Events

Date Code Title Description
121 Ep: the epo has been informed by wipo that ep was designated in this application

Ref document number: 19854080

Country of ref document: EP

Kind code of ref document: A1

NENP Non-entry into the national phase

Ref country code: DE

122 Ep: pct application non-entry in european phase

Ref document number: 19854080

Country of ref document: EP

Kind code of ref document: A1