WO2020031619A1 - 組電池 - Google Patents

組電池 Download PDF

Info

Publication number
WO2020031619A1
WO2020031619A1 PCT/JP2019/027737 JP2019027737W WO2020031619A1 WO 2020031619 A1 WO2020031619 A1 WO 2020031619A1 JP 2019027737 W JP2019027737 W JP 2019027737W WO 2020031619 A1 WO2020031619 A1 WO 2020031619A1
Authority
WO
WIPO (PCT)
Prior art keywords
battery
heat medium
passage
restraining
cell
Prior art date
Legal status (The legal status is an assumption and is not a legal conclusion. Google has not performed a legal analysis and makes no representation as to the accuracy of the status listed.)
Ceased
Application number
PCT/JP2019/027737
Other languages
English (en)
French (fr)
Japanese (ja)
Inventor
大樹 内山
柴田 大輔
周平 吉田
啓善 山本
久 梅本
諒 太田
雅貴 内山
Current Assignee (The listed assignees may be inaccurate. Google has not performed a legal analysis and makes no representation or warranty as to the accuracy of the list.)
Denso Corp
Original Assignee
Denso Corp
Priority date (The priority date is an assumption and is not a legal conclusion. Google has not performed a legal analysis and makes no representation as to the accuracy of the date listed.)
Filing date
Publication date
Application filed by Denso Corp filed Critical Denso Corp
Priority to CN201980032614.9A priority Critical patent/CN112136244B/zh
Publication of WO2020031619A1 publication Critical patent/WO2020031619A1/ja
Anticipated expiration legal-status Critical
Ceased legal-status Critical Current

Links

Images

Classifications

    • HELECTRICITY
    • H01ELECTRIC ELEMENTS
    • H01MPROCESSES OR MEANS, e.g. BATTERIES, FOR THE DIRECT CONVERSION OF CHEMICAL ENERGY INTO ELECTRICAL ENERGY
    • H01M50/00Constructional details or processes of manufacture of the non-active parts of electrochemical cells other than fuel cells, e.g. hybrid cells
    • H01M50/20Mountings; Secondary casings or frames; Racks, modules or packs; Suspension devices; Shock absorbers; Transport or carrying devices; Holders
    • H01M50/262Mountings; Secondary casings or frames; Racks, modules or packs; Suspension devices; Shock absorbers; Transport or carrying devices; Holders with fastening means, e.g. locks
    • H01M50/264Mountings; Secondary casings or frames; Racks, modules or packs; Suspension devices; Shock absorbers; Transport or carrying devices; Holders with fastening means, e.g. locks for cells or batteries, e.g. straps, tie rods or peripheral frames
    • HELECTRICITY
    • H01ELECTRIC ELEMENTS
    • H01MPROCESSES OR MEANS, e.g. BATTERIES, FOR THE DIRECT CONVERSION OF CHEMICAL ENERGY INTO ELECTRICAL ENERGY
    • H01M10/00Secondary cells; Manufacture thereof
    • H01M10/60Heating or cooling; Temperature control
    • H01M10/61Types of temperature control
    • H01M10/613Cooling or keeping cold
    • HELECTRICITY
    • H01ELECTRIC ELEMENTS
    • H01MPROCESSES OR MEANS, e.g. BATTERIES, FOR THE DIRECT CONVERSION OF CHEMICAL ENERGY INTO ELECTRICAL ENERGY
    • H01M10/00Secondary cells; Manufacture thereof
    • H01M10/60Heating or cooling; Temperature control
    • H01M10/61Types of temperature control
    • H01M10/615Heating or keeping warm
    • HELECTRICITY
    • H01ELECTRIC ELEMENTS
    • H01MPROCESSES OR MEANS, e.g. BATTERIES, FOR THE DIRECT CONVERSION OF CHEMICAL ENERGY INTO ELECTRICAL ENERGY
    • H01M10/00Secondary cells; Manufacture thereof
    • H01M10/60Heating or cooling; Temperature control
    • H01M10/62Heating or cooling; Temperature control specially adapted for specific applications
    • H01M10/625Vehicles
    • HELECTRICITY
    • H01ELECTRIC ELEMENTS
    • H01MPROCESSES OR MEANS, e.g. BATTERIES, FOR THE DIRECT CONVERSION OF CHEMICAL ENERGY INTO ELECTRICAL ENERGY
    • H01M10/00Secondary cells; Manufacture thereof
    • H01M10/60Heating or cooling; Temperature control
    • H01M10/64Heating or cooling; Temperature control characterised by the shape of the cells
    • H01M10/647Prismatic or flat cells, e.g. pouch cells
    • HELECTRICITY
    • H01ELECTRIC ELEMENTS
    • H01MPROCESSES OR MEANS, e.g. BATTERIES, FOR THE DIRECT CONVERSION OF CHEMICAL ENERGY INTO ELECTRICAL ENERGY
    • H01M10/00Secondary cells; Manufacture thereof
    • H01M10/60Heating or cooling; Temperature control
    • H01M10/65Means for temperature control structurally associated with the cells
    • H01M10/655Solid structures for heat exchange or heat conduction
    • H01M10/6556Solid parts with flow channel passages or pipes for heat exchange
    • HELECTRICITY
    • H01ELECTRIC ELEMENTS
    • H01MPROCESSES OR MEANS, e.g. BATTERIES, FOR THE DIRECT CONVERSION OF CHEMICAL ENERGY INTO ELECTRICAL ENERGY
    • H01M10/00Secondary cells; Manufacture thereof
    • H01M10/60Heating or cooling; Temperature control
    • H01M10/65Means for temperature control structurally associated with the cells
    • H01M10/655Solid structures for heat exchange or heat conduction
    • H01M10/6556Solid parts with flow channel passages or pipes for heat exchange
    • H01M10/6557Solid parts with flow channel passages or pipes for heat exchange arranged between the cells
    • HELECTRICITY
    • H01ELECTRIC ELEMENTS
    • H01MPROCESSES OR MEANS, e.g. BATTERIES, FOR THE DIRECT CONVERSION OF CHEMICAL ENERGY INTO ELECTRICAL ENERGY
    • H01M10/00Secondary cells; Manufacture thereof
    • H01M10/60Heating or cooling; Temperature control
    • H01M10/65Means for temperature control structurally associated with the cells
    • H01M10/656Means for temperature control structurally associated with the cells characterised by the type of heat-exchange fluid
    • H01M10/6561Gases
    • HELECTRICITY
    • H01ELECTRIC ELEMENTS
    • H01MPROCESSES OR MEANS, e.g. BATTERIES, FOR THE DIRECT CONVERSION OF CHEMICAL ENERGY INTO ELECTRICAL ENERGY
    • H01M10/00Secondary cells; Manufacture thereof
    • H01M10/60Heating or cooling; Temperature control
    • H01M10/65Means for temperature control structurally associated with the cells
    • H01M10/656Means for temperature control structurally associated with the cells characterised by the type of heat-exchange fluid
    • H01M10/6567Liquids
    • H01M10/6568Liquids characterised by flow circuits, e.g. loops, located externally to the cells or cell casings
    • HELECTRICITY
    • H01ELECTRIC ELEMENTS
    • H01MPROCESSES OR MEANS, e.g. BATTERIES, FOR THE DIRECT CONVERSION OF CHEMICAL ENERGY INTO ELECTRICAL ENERGY
    • H01M10/00Secondary cells; Manufacture thereof
    • H01M10/60Heating or cooling; Temperature control
    • H01M10/65Means for temperature control structurally associated with the cells
    • H01M10/656Means for temperature control structurally associated with the cells characterised by the type of heat-exchange fluid
    • H01M10/6569Fluids undergoing a liquid-gas phase change or transition, e.g. evaporation or condensation
    • HELECTRICITY
    • H01ELECTRIC ELEMENTS
    • H01MPROCESSES OR MEANS, e.g. BATTERIES, FOR THE DIRECT CONVERSION OF CHEMICAL ENERGY INTO ELECTRICAL ENERGY
    • H01M50/00Constructional details or processes of manufacture of the non-active parts of electrochemical cells other than fuel cells, e.g. hybrid cells
    • H01M50/20Mountings; Secondary casings or frames; Racks, modules or packs; Suspension devices; Shock absorbers; Transport or carrying devices; Holders
    • H01M50/204Racks, modules or packs for multiple batteries or multiple cells
    • H01M50/207Racks, modules or packs for multiple batteries or multiple cells characterised by their shape
    • H01M50/209Racks, modules or packs for multiple batteries or multiple cells characterised by their shape adapted for prismatic or rectangular cells
    • YGENERAL TAGGING OF NEW TECHNOLOGICAL DEVELOPMENTS; GENERAL TAGGING OF CROSS-SECTIONAL TECHNOLOGIES SPANNING OVER SEVERAL SECTIONS OF THE IPC; TECHNICAL SUBJECTS COVERED BY FORMER USPC CROSS-REFERENCE ART COLLECTIONS [XRACs] AND DIGESTS
    • Y02TECHNOLOGIES OR APPLICATIONS FOR MITIGATION OR ADAPTATION AGAINST CLIMATE CHANGE
    • Y02EREDUCTION OF GREENHOUSE GAS [GHG] EMISSIONS, RELATED TO ENERGY GENERATION, TRANSMISSION OR DISTRIBUTION
    • Y02E60/00Enabling technologies; Technologies with a potential or indirect contribution to GHG emissions mitigation
    • Y02E60/10Energy storage using batteries

Definitions

  • the disclosure in this specification relates to an assembled battery.
  • Patent Document 1 describes a battery system having a cooling plate having a built-in cooling pipe through which a coolant for cooling a rectangular battery flows.
  • the cooling plate is provided in a thermally coupled state on the lower surface, which is the surface opposite to the electrode terminals, on the surface of the battery block in which the plurality of prismatic batteries are fixed to the stacked body.
  • Patent Literature 1 further improvement is required for the battery system from the viewpoint of multifunctionality of the components.
  • An object of the disclosure in this specification is to provide an assembled battery capable of achieving multifunctionality of constituent parts.
  • One of the disclosed assembled batteries includes a plurality of battery cells forming a battery stack, a heat medium passage member provided so that the heat medium flowing through the internal passage and the battery cells exchange heat, and a heat conduction member. And a pair of restraining members provided on both sides of the battery stack so as to be able to transfer heat to the battery cells so as to apply a restraining force to the battery stack from both sides in the stacking direction. .
  • the internal passage of the heat medium passage member is connected to a passage inside the restraining member provided inside at least one restraining member of the set of restraining members.
  • the heat medium flows through the internal passage of the heat medium passage member and exchanges heat with the battery cells, and also flows through the passage inside the restraining member and exchanges heat with the battery cells adjacent to the restraining member.
  • the restraining member has both a restraining function of restraining the plurality of battery cells in the stacking direction and a temperature adjusting function of controlling the temperature of the battery cells. Therefore, it is possible to provide an assembled battery that can achieve multifunctionality of constituent parts.
  • FIG. 2 is a perspective view showing the battery pack of the first embodiment.
  • FIG. 3 is a perspective view illustrating a heat medium passage member according to the first embodiment.
  • FIG. 3 is a partial cross-sectional view illustrating a configuration relating to a connection between a passage in a constraint plate and a pipe in the first embodiment. It is the fragmentary top view which showed the battery pack of 2nd Embodiment.
  • FIG. 9 is a perspective view illustrating a heat medium passage member according to a second embodiment. It is the fragmentary top view which showed the battery pack of 3rd Embodiment. It is the fragmentary top view which showed the battery pack of 4th Embodiment.
  • the battery pack 100 of the first embodiment is an apparatus having a configuration in which a plurality of battery cells 2 stacked and a heat medium flowing through an internal passage of the heat medium passage member 4 exchange heat.
  • the heat medium is a temperature-regulating fluid that can cool or heat the battery cells to adjust the temperature.
  • the heat medium is a gas, a liquid, or a gas-liquid mixed fluid, or may be a fluid that does not undergo a state change during use or a fluid that undergoes a phase change.
  • the assembled battery 100 is mounted on an electric vehicle such as a hybrid vehicle using a driving power source by combining an internal combustion engine and a motor driven by electric power charged in the battery, and an electric vehicle using a motor as a driving power source.
  • the plurality of battery cells 2 included in the assembled battery 100 are, for example, a nickel hydride secondary battery, a lithium ion secondary battery, an organic radical battery, an all-solid battery, and the like.
  • the thickness direction of the battery cell 2 is the stacking direction of the battery cells 2 in the battery stack, and is also referred to as the battery stacking direction.
  • the direction orthogonal to both the stacking direction and the vertical direction is the width direction or the lateral direction of the battery cell 2.
  • One side in the stacking direction is the upstream side of the heat medium flowing generally with respect to the battery stack, and the other side is the downstream side.
  • the battery pack 100 is controlled by electronic components used for charging and discharging the plurality of battery cells 2 or controlling the temperature.
  • the battery pack 100 is formed integrally by constraining a plurality of battery cells 2 that are connected to be able to conduct electricity and are stacked and installed in the stacking direction. Further, the battery pack 100 may be housed in a housing.
  • the above-mentioned electronic components are, for example, a DC / DC converter, a motor driving a fluid driving device for flowing a heat medium, an electronic component controlled by an inverter, various electronic control devices, and the like.
  • the battery pack 100 may be a device including such electronic components.
  • the battery cells 2 constituting the battery stack are unit cells having a rectangular outer case.
  • the rectangular unit cell has a rectangular parallelepiped shape whose outer peripheral surface is covered by an outer case made of, for example, aluminum, an aluminum alloy, or the like.
  • each of two electrode terminals 20 composed of a positive electrode terminal and a negative electrode terminal protrudes from the upper surface 21 of the outer case, and the direction of the protrusion is an upward direction perpendicular to the battery stacking direction.
  • the outer case of the battery cell 2 may be formed of, for example, resin in addition to metal. Further, the battery cell 2 may include a film in which a resin and an aluminum foil are laminated as an outer case.
  • the battery stack is formed integrally by sandwiching a battery stack in which a predetermined number of battery cells 2 are stacked by a pair of restraining plates 3 from both ends in the stacking direction and applying a restraining force inward.
  • the set of constraint plates 3 is an example of a set of constraint members that exert a constraint force on the battery stack from both sides in the stacking direction.
  • the constraining plates 3 may be in contact with the battery cells 2 on both sides in the stacking direction of the battery stack, or may be integrally installed with the battery cells 2 via a spacer member having thermal conductivity. Configuration.
  • the restraint plate 3 is also called an end plate because it is installed at the end of the battery stack.
  • the constraining plate 3 is formed in a flat box whose dimension in the thickness direction is smaller than the length in the vertical direction and the length in the width direction.
  • the restraint plate 3 includes an upper surface 30, a lower surface 32 facing the upper surface 30, a pair of vertically elongated side surfaces 33 adjacent to the upper surface 30 and the lower surface 32, and an inner width surface 31 facing the adjacent battery cell 2. , And an outer width surface facing the width surface 31.
  • the width surface 31 is also the abdominal surface having the largest area in the constraint plate 3.
  • the assembled battery 100 includes the heat medium passage member 4 integrally provided on at least one surface of the battery stack. As shown in FIG. 2, the heat medium passage member 4 is integrally provided on the lower surface of the battery stack.
  • the heat medium passage member 4 is formed of a material having thermal conductivity, for example, a metal containing aluminum, a metal containing copper, a resin material containing a metal, a carbon resin material, or the like.
  • a set of restraint plates 3 are provided on both sides of the battery stack of the battery pack 100 in the stacking direction so that heat can be transferred to the battery cells 2.
  • the constraining plate 3 is formed of a material having thermal conductivity, for example, a metal containing aluminum, a metal containing copper, a resin material containing a metal, a carbon resin material, or the like.
  • the restraining plate 3 is made of metal, it can be manufactured by casting such as a die casting method, and when it is made of resin, it can be manufactured by molding using a mold.
  • the battery pack 100 includes a plurality of battery cells 2, a set of restraint plates 3, a restraint band 5 that applies a compressive force to the set of restraint plates 3 from both sides, and the like.
  • the restraining band 5 includes a holding portion 50 disposed in the stacking direction with respect to the battery stack so as to cover a part of the side surface 23 of the battery cell 2 and fixing portions 51 provided at both ends of the holding portion.
  • the constraining band 5 is a band-like member that surrounds the outer periphery of the stacked structure in which the battery stack and the set of the constraining plates 3 are combined.
  • the battery pack 100 is restrained by two restraining bands 5 provided on the respective side surfaces 23 at intervals in the vertical direction.
  • the restraining band 5 maintains a state in which a required restraining force is provided to the battery stack because the fixing portion 51 of the restraining band 5 is fixed to each restraining plate 3 by a rivet. Further, the rivet can be replaced with fastening means such as bolts and nuts, and fixing means such as welding.
  • the restraining band 5 is formed of a material having excellent strength such as a metal or a hard resin material so that the plurality of battery cells 2 and the like can be pressed and integrated with a stable force.
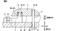
  • an inflow-side connection portion 40 a into which the heat medium flows and an outflow-side connection portion 42 c through which the heat medium flows out. are provided inside the constraint plate 3 located on one side.
  • the inflow-side connection portion 40a and the outflow-side connection portion 42c are provided near the lower surface 32 of the constraint plate 3, and communicate with two openings formed in the lower surface 32, respectively.
  • the constraining plate 3 is provided with through holes 3a and 3b through which bolts 6 which are fixing tools for fixing to the installation portion 10 are inserted so as to penetrate the constraining plate 3 vertically at its widthwise end. ing.
  • the one restraining plate 3 includes an upstream restraining member passage 40 that connects the inflow side connecting portion 40a and the heat medium passage 41 in the heat medium passage member 4, a heating medium passage 41 and the outflow side connecting portion 42c. And a passage 42 inside the restraining member on the downstream side for communicating with the inside.
  • the passage 40 in the restricting member extends in a U-shape along the width surface 31 of the restricting plate 3 so that the folded portion 40b is located at the upper portion from the inflow side connecting portion 40a at the upstream end to the downstream end 40c.
  • the passage 42 in the restricting member extends in a U-shape along the width surface 31 of the restricting plate 3 so that the folded portion 42b is located at the upper portion from the upstream end 42a to the outflow-side connecting portion 42c at the downstream end.
  • the restraining member passage 42 is provided so as to be adjacent to the restraining member passage 40 in the width direction.
  • the restraining member inner passage 40 and the restraining member inner passage 42 are passages having a length in the vertical direction equal to the vertical length of the adjacent battery cell 2.
  • the restraining member passage 40 and the restraining member passage 42 are provided such that the folded portion 40b and the folded portion 42b overlap the adjacent battery cells 2 in the stacking direction.
  • the passage 40 in the restraining member and the passage 42 in the restraining member are provided so that the whole in the width direction overlaps the adjacent battery cell 2 in the stacking direction. According to the passages 40 and 42 in the restraining member having each of these components, it contributes to enhancing the temperature control function for the battery cell 2.
  • the heat medium passage member 4 includes a plate portion having therein a heat medium passage 41 facing the lower surface of the battery stack.
  • through-holes 4 a for inserting bolts 6, which are fixing tools for fixing to the installation portion 10 are provided at four corners.
  • the through holes 4a are provided at positions corresponding to the through holes 3a, 3b of the restraint plate 3.
  • the heat medium passage 41 is a passage through which the heat medium flows in a U-shape such that the heat medium returns from one side in the stacking direction to the other side via the other side inside the plate portion.
  • the heat medium passage 41 is a U-shaped passage extending from the upstream passage 41a to the downstream passage 41c such that the folded portion 41b is located on the other side.
  • the upstream passage 41a is connected to the downstream end 40c of the restraining member inner passage 40 at the upstream end, and is connected to the turn-back portion 41b at the downstream end.
  • the downstream passage 41c is connected to the folded portion 41b at the upstream end, and is connected to the upstream end 42a of the restraining member inner passage 42 at the downstream end.
  • the one constraining plate 3 is an inflow tank portion that introduces a heat medium from outside the battery pack 100 into the heat medium passage member 4, and heat medium from inside the heat medium passage member 4 to the outside of the battery pack 100.
  • This is the outflow tank part that flows out.
  • the heat medium flows through the heat medium passage member 4 through the internal passage, so that the heat of the battery cells 2 is absorbed by the heat medium via the plate portion and the lower surface of the battery cells 2, thereby cooling each battery cell 2. can do.
  • the heat medium flows through the heat medium passage member 4 through the internal passage, heat of the heat medium is radiated to the battery cells 2 via the plate portion and the lower surface of the battery cells 2, so that each battery cell 2 can be heated. .
  • each restraining plate 3 is fixed to the installation part 10 by bolts 6 and nuts 61.
  • the pipe 7 is fixed to the installation section 10 by a pipe fixing member 70 and a screw 71.
  • the pipe fixing member 70 is a member that presses and holds the pipe 7 toward the installation section 10 below.
  • the screw 71 can screw-fix the pipe fixing member 70 in the state where the pipe 7 is pressed and held against the installation section 10 to the installation section 10.
  • Pipe 7 is a supply pipe or an inflow pipe.
  • the pipe 7 is formed in a shape extending upward from the shape along the surface of the installation part 10 at the end.
  • the end of the pipe 7 extending upward is installed so as to fit into the inflow-side connection portion 40a and the outflow-side connection portion 42c that open downward.
  • a seal member 72 such as an O-ring is provided between the end of the pipe 7 and the inflow side connection portion 40a or the outflow side connection portion 42c.
  • the battery pack 100 includes a battery stack, a heat medium passage member 4 for exchanging heat between the heat medium flowing through the internal passages and the battery cells 2, and having thermal conductivity from both sides in the stacking direction with respect to the battery stack.
  • a pair of restraining members provided on both sides of the battery stack so as to apply heat to the battery cells 2 so as to apply heat.
  • the internal passage of the heat medium passage member 4 is connected to the internal passages 40 and 42 of the restriction member provided inside at least one of the restriction members.
  • the heat medium flows through the internal passage of the heat medium passage member 4, exchanges heat with the battery cells 2, and also flows through the passages 40, 42 in the restraining member. Since the heat medium flowing through the restraining member passages 40 and 42 exchanges heat with the battery cells 2 adjacent to the restraining member, the restraining member has a restraining function of restraining the plurality of battery cells 2 in the stacking direction and a temperature control of the battery. It can also have an adjustable temperature control function. Therefore, the battery pack 100 can provide a product that can achieve multi-functionality of the constituent parts.
  • the restraining member has an inflow-side connecting portion 40a to which a supply pipe for supplying the heat medium to the restraining member passage 40 can be connected, and an outflow-side connection to which an outflow pipe through which the heating medium flows out from the restraining member passage 42 can be connected.
  • a portion 42c is provided inside.
  • the assembled battery 100 includes a fixture for fixing the restraining member to the installation section 10.
  • the outlet portion of the supply pipe and the inflow side connection portion 40a are fitted in a direction in which the restraining member approaches the installation portion 10 by the fixing force of the fixing tool.
  • the outlet portion of the supply pipe and the inflow side connection portion 40a can be fitted more deeply, so that the pipe connection is easily performed. be able to.
  • the configuration for connecting the supply pipe to the passage 40 in the restraining member can be simplified, and the connection workability can be improved.
  • the seal member 72 is interposed between the outlet of the supply pipe and the inflow-side connecting portion 40a, it is possible to provide the battery pack 100 having both the sealing property and the improvement of the workability.
  • the inlet of the outflow pipe and the outflow-side connecting portion 42c are fitted in a direction in which the restraining member approaches the installation portion 10 by the fixing force of the fixing tool.
  • the outlet portion of the outflow pipe and the outflow side connection portion 42c can be fitted more deeply, so that the pipe connection is easily performed. be able to.
  • the configuration for connecting the outflow pipe to the passage 40 in the restricting member can be simplified, and the connection workability can be improved.
  • the pipe connection can be performed without using a means by screwing a male screw and a female screw.
  • the seal member 72 is interposed between the outlet portion of the outflow pipe and the outflow side connection portion 42c, it is possible to provide the battery pack 100 having both the sealing property and the improvement of the workability.
  • the restricting member provided on one side in the stacking direction has an inflow side connection portion 40a and an outflow side connection portion 42c therein.
  • the heat medium that has flowed from the supply pipe into the restraining member passage 40 inside the one restraining member flows through the inner passage of the heating medium passage member 4 and exchanges heat with the battery cells 2. It flows out into the outflow pipe through the restraining member passage 42 inside the one restraining member. Accordingly, it is possible to provide the battery pack 100 having a heat medium flow path in which the heat medium flowing through the inside of the one restraining member and the battery cells 2 exchange heat.
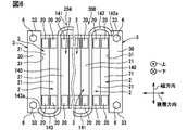
  • the battery pack 200 of the second embodiment is an apparatus having a configuration in which a plurality of battery cells 2 stacked and a heat medium flowing inside the inter-cell portion 140 exchange heat.
  • the assembled battery 200 includes a plurality of battery cells 2, an inter-cell portion 140 interposed between adjacent battery cells 2, a connecting portion 141 connecting between the adjacent inter-cell portions 140, a set of constraint plates 3, and a set of constraints.
  • the plate 3 is provided with a restraining band 5 for providing a restraining force from both sides.
  • a set in which a predetermined number of battery cells 2 and inter-cell portions 140 of the heat medium passage member 104 are alternately stacked is sandwiched by a set of restraint plates 3 from both ends in the stacking direction, and a restraining force directed inward is provided. Are formed integrally.
  • the heat medium passage member 104 includes a plurality of inter-cell portions 140 interposed between the battery cells 2 adjacent in the stacking direction.
  • a heat medium flows through the internal passage of the inter-cell portion 140.
  • the plurality of inter-cell portions 140 are arranged so as to be arranged in the stacking direction.
  • a space between the inter-cell portions 140 adjacent to each other in the stacking direction is provided with an interval equivalent to the thickness of the battery cell 2 in the stacking direction.
  • the inter-cell portion 140 is installed in a state of being in contact with the width surface of the battery cell 2 which forms a surface in the width direction and the vertical direction.
  • the width surface is also the belly surface having the largest area in the battery cell 2.
  • a spacer member having thermal conductivity may be interposed between the battery cell 2 and the inter-cell portion 140 so that the spacer member is sandwiched between the battery cell 2 and the inter-cell portion 140.
  • the heat medium passage member 104 includes a connecting portion 141 connecting the inter-cell portions 140 adjacent to each other in the stacking direction.
  • the heat medium flows through the internal passage of the connecting portion 141.
  • the connecting portion 141 is provided so as to be located outside the battery cell 2 in the width direction of the battery cell 2.
  • the connecting portion 141 is provided so as to face the side surface 23 of the battery cell 2 orthogonal to both the upper surface 21 and the width surface.
  • connection portion 141 is a turn portion that turns back the heat medium flowing inside the heat medium passage member 104 and changes the direction of the flow to form turn-back channels facing each other, and is also a turn portion.
  • the connecting portion 141 is a folded portion that changes the direction of the flow path to the opposite direction, and is provided at at least one position in the heat medium passage member 104.
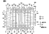
  • the heat medium passage member 104 forms a meandering flow path as shown in FIGS. 4 and 5 by continuously stacking folded flow paths via the connecting portion 141.
  • the heat medium passage member 104 includes an inflow portion 142a into which the heat medium flows into an end of the folded flow path in the stacking direction, that is, the battery stacking direction.
  • the inflow portion 142a is connected to the passage 40 in the restricting member of the restricting plate 3 provided on one side in the stacking direction.
  • the restraining member internal passage 40 is a passage extending flat along the width surface 31 of the restraining plate 3, and is formed inside the restraining plate 3.
  • the restraining member inner passage 40 is provided inside the restraining plate 3 so as to extend in a band shape or a flat shape from the inflow portion 142a located on one side in the width direction to the inflow side connection portion 40a located on the other side.
  • the restraining member inner passage 40 is formed in a belt shape or a flat shape having the same length in the vertical direction as the inter-cell portion 140.
  • the entirety of the restraining member passage 40 in the vertical direction is provided so as to overlap with the adjacent inter-cell portion 140 in the stacking direction.
  • the restraining member inner passage 40 is provided so that the whole in the width direction overlaps with the adjacent inter-cell portion 140 in the laminating direction. It is preferable that the restraining member inner passage 40 is provided so as to entirely overlap the adjacent inter-cell portion 140 in the stacking direction.
  • the passage 40 in the restraining member having each of these components contributes to enhancing the temperature control function for the battery cell 2.
  • the internal passage of the inter-cell portion 140 located at the end in the battery stacking direction and located at the upstream end of the heat medium is connected to the internal passage of one of the restraining plates 3 via the internal passages of the folded portion 142 and the inflow portion 142a. Communicating.
  • a pipe for introducing a heat medium from the outside of the battery pack 100 is connected to the one constraint plate 3.
  • the one constraining plate 3 is an inflow tank portion for introducing a heat medium from outside the battery pack 100 into the heat medium passage member 104.
  • the one constraining plate 3 is capable of conducting heat to the battery cells 2 such that the battery cells 2 located at one end of the battery stack and the heat medium flowing through the internal passage exchange heat. It is provided in.
  • the heat medium passage member 104 includes an outflow portion 143a through which the heat medium flows out from an end of the folded flow path in the stacking direction, that is, the battery stacking direction.
  • the outflow portion 143a is connected to the passage 42 in the restricting member of the restricting plate 3 provided on the other side in the stacking direction.
  • the restraining member internal passage 42 is provided in the restraining plate 3 so as to extend in a band shape or a flat shape from the outflow portion 143a located on one side in the width direction to the outflow side connection portion 42c located on the other side.
  • the restraining member passage 42 has a length equal to that of the inter-cell portion 140 in the vertical direction and is formed in a band shape or a flat shape.
  • the restraining member inner passage 42 is provided so that the whole in the up-down direction overlaps with the adjacent inter-cell portion 140 in the stacking direction.
  • the restraining member passage 42 is provided so that the whole in the width direction overlaps with the adjacent inter-cell portion 140 in the stacking direction. It is preferable that the entire passage 42 within the restraining member is provided so as to entirely overlap the inter-cell portion 140 adjacent thereto in the stacking direction. According to the passage 42 in the restricting member having these components, it contributes to enhancing the temperature control function for the battery cell 2.
  • the internal passage of the inter-cell part 140 located at the end in the battery stacking direction and located at the downstream end of the heat medium is connected to the internal passage of the constraint plate 3 on the other side via the internal passages of the folded part 143 and the outflow part 143a. Communicating.
  • a pipe that allows the heat medium to flow out of the battery pack 200 is connected to the other restraining plate 3.
  • the other constraining plate 3 is an outflow tank portion that allows the heat medium to flow out of the heat medium passage member 104 to the outside of the battery pack 200.
  • the restraint plate 3 on the other side is capable of conducting heat to the battery cells 2 so that the battery cells 2 located at the other end of the battery stack and the heat medium flowing through the internal passage exchange heat. It is provided in.
  • the heat medium passage member 104 includes the folded portion 142 and the five connecting portions 141 provided on the inflow portion 142a side and the five connected portions 141 and the folded portion 143 provided on the outflow portion 143a side. It has a meandering channel formed therethrough.
  • the internal passage of the heat medium passage member 104 is a flat tube elongated in the flow direction when the heat medium exchanges heat with the battery cells 2, that is, in the vertical direction orthogonal to both the width direction and the stacking direction.
  • the heat medium passage member 104 can be formed by a serpentine pipe obtained by bending the flat pipe.
  • the flat tube may have a plurality of passages therein and may be a flat multi-hole tube formed by extrusion.
  • the heat medium flows through the heat medium passage member 4 through the internal passage, so that the heat of the battery cells 2 is absorbed by the heat medium via the inter-cell portions 140, thereby cooling the battery cells 2. .
  • the heat medium flows through the heat medium passage member 104 through the internal passage, the heat of the heat medium is radiated to the battery cells 2 through the inter-cell portions 140, so that each battery cell 2 can be warmed.
  • the heat medium passage member 104 is interposed between the battery cells 2 adjacent to each other in the stacking direction.
  • the inter-cell portion 140 and the connecting portion 141 are provided so as to form a series of internal passages through which a heat medium that exchanges heat with all the battery cells 2 flows from one end to the other end in the stacking direction of the battery stack. ing.
  • a restraining function for restraining all the battery cells 2 included in the battery stack and the inter-cell portion 140 so as to enhance the heat transfer performance, and a temperature control function for the battery cells 2 adjacent to the restraining member are provided. Can be provided.
  • One restraining member adjacent to the battery cell 2 at one end of the pair of restraining members has an inflow-side connecting portion 40a to which a supply pipe for supplying a heat medium to the restraining member passage 40 can be connected.
  • the other restraining member adjacent to the battery cell 2 at the other end has an outflow-side connecting portion 42c to which an outflow pipe through which the heat medium flows out from the restraining member internal passage 42 can be connected.
  • the restraining function of restraining so as to enhance the heat transfer performance between all the battery cells 2 and the inter-cell portion 140 included in the battery stack, and the temperature control function for the battery cells 2 adjacent to each restraining member are provided.
  • a set of restraining members that can be provided can be provided.
  • FIG. 6 A third embodiment will be described with reference to FIG. 6, components having the same configuration as that of the above-described embodiment are denoted by the same reference numerals, and have similar functions and effects. Configurations, operations, and effects that are not particularly described in the third embodiment are the same as those in the above-described embodiment, and only differences from the above-described embodiment will be described.
  • the battery pack 300 of the third embodiment differs from the second embodiment in the configuration of the heat medium passage member 204.
  • the heat medium passage member 204 included in the assembled battery 300 has a configuration in which the inter-cell portion 140 is interposed only between specific battery cells 2 among all the adjacent battery cells 2 constituting the battery stack. Therefore, the heat medium passage member 204 includes a configuration including at least one inter-cell portion 140.
  • the battery pack 400 of the fourth embodiment includes a stacked tube portion 44 and a stacked tube portion 45 having the same function as the restraining plate 3 as the restraining member in the above-described embodiment. Therefore, the battery pack 400 does not include the restraining plate 3 but includes a set of restraining members having the same operation and effect as the above-described embodiment.
  • the laminated tube portion 44 is a portion where the tubes forming the heat medium passage member 304 are formed by being bent plurally at one end of the battery laminated body.
  • the laminated pipe section 44 constitutes a restraining member on the upstream side.
  • the internal passage of the laminated pipe section 44 is an internal passage of the restriction member on the upstream side.
  • the stacked tube portion 44 is integrally provided so as to be able to transfer heat to the battery cell 2 located at one end in the battery stack.
  • the stacked tube portion 44 may be in contact with the battery cell 2 at one end, or a spacer member having thermal conductivity may be interposed between the battery cell 2 and the stacked tube portion 44 to form a spacer member. You may comprise so that it may be pinched by the battery cell 2 and the laminated
  • the stacked tube portion 45 is a portion in which the tube forming the heat medium passage member 304 is formed by being bent plural times on the other end side of the battery stack.
  • the laminated pipe part 45 constitutes a restraining member on the downstream side.
  • the internal passage of the laminated tube portion 45 is a passage inside the restraining member on the downstream side.
  • the laminated tube portion 45 is integrally installed so as to be able to transfer heat to the battery cell 2 located at the other end in the battery laminate.
  • the stacked tube portion 45 may be in contact with the battery cell 2 at the other end, or a spacer member having thermal conductivity may be interposed between the battery cell 2 and the stacked tube portion 45 to form the spacer member.
  • the internal passage of the heat medium passage member 304 is connected to the internal passage of the restricting member provided inside each of the pair of restricting members.
  • One set of the restraining members is formed by stacked tube portions 44 and 45 in which tubes forming the heat medium passage member 304 are stacked a plurality of times on both sides of the battery stack. According to this, the assembled battery having both the function of restraining the plurality of battery cells 2 in the stacking direction by the stacked tube portions 44 and 45 on both sides in the stacking direction and the temperature control function of adjusting the temperature of the battery cells 2 is provided. 400 can be provided.
  • the battery pack 400 has a large temperature control effect on the battery cells 2 located on the upstream side, which is one end side, and the battery cells 2 located on the downstream side, which is the other end side, without using a restraining plate.
  • the rigidity for restraining the battery stack can be secured.
  • the disclosure of this specification is not limited to the illustrated embodiments.
  • the disclosure includes the illustrated embodiments and variations thereon based on those skilled in the art.
  • the disclosure is not limited to the combination of the components and elements shown in the embodiment, and can be implemented with various modifications.
  • the disclosure can be implemented in various combinations.
  • the disclosure may have additional parts that can be added to the embodiments.
  • the disclosure includes those in which the components and elements of the embodiments are omitted.
  • the disclosure encompasses the replacement or combination of parts, elements between one embodiment and another embodiment.
  • the disclosed technical scope is not limited to the description of the embodiments.
  • the technical scope disclosed is shown by the description of the claims, and should be construed to include all modifications within the meaning and scope equivalent to the description of the claims.
  • the assembled battery in the above-described embodiment is a stacked body of batteries formed by alternately stacking the battery cells 2 and the inter-cell portions 140, but the assembled battery capable of achieving the object disclosed in the specification is of this embodiment. It is not limited to.
  • the battery pack includes one having a configuration in which the inter-cell portion 140 is interposed only between specific battery cells 2 among all the adjacent battery cells 2 constituting the battery stack. Further, the battery pack 100 includes at least one inter-cell portion 140.

Landscapes

  • Chemical & Material Sciences (AREA)
  • Chemical Kinetics & Catalysis (AREA)
  • Electrochemistry (AREA)
  • General Chemical & Material Sciences (AREA)
  • Engineering & Computer Science (AREA)
  • Manufacturing & Machinery (AREA)
  • Secondary Cells (AREA)
  • Battery Mounting, Suspending (AREA)
PCT/JP2019/027737 2018-08-06 2019-07-12 組電池 Ceased WO2020031619A1 (ja)

Priority Applications (1)

Application Number Priority Date Filing Date Title
CN201980032614.9A CN112136244B (zh) 2018-08-06 2019-07-12 电池组

Applications Claiming Priority (2)

Application Number Priority Date Filing Date Title
JP2018-147794 2018-08-06
JP2018147794A JP6927169B2 (ja) 2018-08-06 2018-08-06 組電池

Publications (1)

Publication Number Publication Date
WO2020031619A1 true WO2020031619A1 (ja) 2020-02-13

Family

ID=69414684

Family Applications (1)

Application Number Title Priority Date Filing Date
PCT/JP2019/027737 Ceased WO2020031619A1 (ja) 2018-08-06 2019-07-12 組電池

Country Status (3)

Country Link
JP (1) JP6927169B2 (enExample)
CN (1) CN112136244B (enExample)
WO (1) WO2020031619A1 (enExample)

Cited By (2)

* Cited by examiner, † Cited by third party
Publication number Priority date Publication date Assignee Title
WO2024083785A1 (en) * 2022-10-17 2024-04-25 Plastic Omnium Clean Energy Systems Research Battery pack cell positioning
EP4386942A4 (en) * 2022-01-11 2025-01-08 LG Energy Solution, Ltd. Battery module and battery pack including same

Families Citing this family (1)

* Cited by examiner, † Cited by third party
Publication number Priority date Publication date Assignee Title
FR3147438A1 (fr) * 2023-03-29 2024-10-04 Valeo Systemes Thermiques Structure de maintien de cellules de batterie

Citations (2)

* Cited by examiner, † Cited by third party
Publication number Priority date Publication date Assignee Title
JP2012079510A (ja) * 2010-09-30 2012-04-19 Gs Yuasa Corp 電池モジュール及び組電池
JP2012248520A (ja) * 2011-05-31 2012-12-13 Toyota Motor Corp 積層電池

Family Cites Families (13)

* Cited by examiner, † Cited by third party
Publication number Priority date Publication date Assignee Title
JP2001073898A (ja) * 1999-08-31 2001-03-21 Fuji Heavy Ind Ltd エンジンの燃料供給装置
KR20040082437A (ko) * 2002-02-19 2004-09-24 쓰리엠 이노베이티브 프로퍼티즈 컴파니 고에너지 전기 화학 전지를 위한 온도 제어 장치 및 방법
JP5496604B2 (ja) * 2009-10-30 2014-05-21 三洋電機株式会社 電源装置及びこれを備える車両
US8765282B2 (en) * 2009-12-18 2014-07-01 GM Global Technology Operations LLC Battery assemblies
JP5535794B2 (ja) * 2010-06-30 2014-07-02 三洋電機株式会社 組電池
CN102986083A (zh) * 2010-08-30 2013-03-20 住友重机械工业株式会社 挖土机
JP5394343B2 (ja) * 2010-09-14 2014-01-22 本田技研工業株式会社 電池モジュール
JP2013012441A (ja) * 2011-06-30 2013-01-17 Sanyo Electric Co Ltd 電源装置及び電源装置を備える車両
FR3007896B1 (fr) * 2013-06-26 2016-12-16 Valeo Systemes Thermiques Module de batterie pour vehicule electrique ou hybride integrant un echangeur de chaleur
US9780413B2 (en) * 2013-08-01 2017-10-03 Denso Corporation Battery cooling system
US9806381B2 (en) * 2014-01-16 2017-10-31 Ford Global Technologies, Llc Serpentine cooling element for battery assembly
WO2017033412A1 (ja) * 2015-08-27 2017-03-02 三洋電機株式会社 バッテリシステム及びバッテリシステムを備える電動車両
CN207664194U (zh) * 2017-11-30 2018-07-27 北京长城华冠汽车科技股份有限公司 换热片连接结构及电池包

Patent Citations (2)

* Cited by examiner, † Cited by third party
Publication number Priority date Publication date Assignee Title
JP2012079510A (ja) * 2010-09-30 2012-04-19 Gs Yuasa Corp 電池モジュール及び組電池
JP2012248520A (ja) * 2011-05-31 2012-12-13 Toyota Motor Corp 積層電池

Cited By (2)

* Cited by examiner, † Cited by third party
Publication number Priority date Publication date Assignee Title
EP4386942A4 (en) * 2022-01-11 2025-01-08 LG Energy Solution, Ltd. Battery module and battery pack including same
WO2024083785A1 (en) * 2022-10-17 2024-04-25 Plastic Omnium Clean Energy Systems Research Battery pack cell positioning

Also Published As

Publication number Publication date
JP6927169B2 (ja) 2021-08-25
JP2020024814A (ja) 2020-02-13
CN112136244B (zh) 2024-04-26
CN112136244A (zh) 2020-12-25

Similar Documents

Publication Publication Date Title
US10850623B2 (en) Stacked electric vehicle inverter cells
CA2812198C (en) Conformal fluid-cooled heat exchanger for battery
EP2697860B1 (en) Battery system having an external thermal management system
US8944147B2 (en) Heat exchanger and method for manufacturing same
KR102351954B1 (ko) 전기소자 냉각용 열교환기
CN115606038A (zh) 优选用于至少部分电驱动车辆的具有电池单元模块和冷却设备的储能设备以及用于制造储能设备的方法
JP6063933B2 (ja) 再充電可能電気バッテリ
JP2013045578A (ja) 電池パック
WO2019049760A1 (ja) 電池モジュール
WO2020031619A1 (ja) 組電池
CN114079103A (zh) 用于电池模块的电池壳体、具有电池壳体的电池模块和车辆
WO2020179355A1 (ja) 組電池
JP5942765B2 (ja) 蓄電モジュール及び熱伝達部材
JP2012099748A (ja) 積層型冷却器
JP7135348B2 (ja) 電池装置
JP2019009022A (ja) 電池装置
CN215751861U (zh) 一种车载加热单元、车载电控设备及电动汽车
KR20240167831A (ko) 냉각 플레이트 배열, 전지 시스템, 전기 차량 및 조립 방법
US20220294030A1 (en) Battery module element, method for producing such a battery module element and a battery module
CN111902997A (zh) 用于冷却机动车辆电池单元的系统
JP2020021708A (ja) 組電池
JP7693731B2 (ja) 電池パック
CN112838319A (zh) 用于电池模块的电池壳体和带有电池壳体的电池模块
JP7508832B2 (ja) バッテリ温度調節装置
JP7604046B2 (ja) バッテリセル保持フレーム

Legal Events

Date Code Title Description
121 Ep: the epo has been informed by wipo that ep was designated in this application

Ref document number: 19848171

Country of ref document: EP

Kind code of ref document: A1

NENP Non-entry into the national phase

Ref country code: DE

122 Ep: pct application non-entry in european phase

Ref document number: 19848171

Country of ref document: EP

Kind code of ref document: A1