WO2019146467A1 - アンテナ装置 - Google Patents

アンテナ装置 Download PDF

Info

Publication number
WO2019146467A1
WO2019146467A1 PCT/JP2019/001116 JP2019001116W WO2019146467A1 WO 2019146467 A1 WO2019146467 A1 WO 2019146467A1 JP 2019001116 W JP2019001116 W JP 2019001116W WO 2019146467 A1 WO2019146467 A1 WO 2019146467A1
Authority
WO
WIPO (PCT)
Prior art keywords
patch
sub
loop
antenna device
slit
Prior art date
Legal status (The legal status is an assumption and is not a legal conclusion. Google has not performed a legal analysis and makes no representation as to the accuracy of the status listed.)
Ceased
Application number
PCT/JP2019/001116
Other languages
English (en)
French (fr)
Japanese (ja)
Inventor
杉本 勇次
池田 正和
小出 士朗
博之 泉
上田 哲也
周平 寺田
Current Assignee (The listed assignees may be inaccurate. Google has not performed a legal analysis and makes no representation or warranty as to the accuracy of the list.)
Kyoto Institute of Technology NUC
Denso Corp
Original Assignee
Kyoto Institute of Technology NUC
Denso Corp
Priority date (The priority date is an assumption and is not a legal conclusion. Google has not performed a legal analysis and makes no representation as to the accuracy of the date listed.)
Filing date
Publication date
Application filed by Kyoto Institute of Technology NUC, Denso Corp filed Critical Kyoto Institute of Technology NUC
Publication of WO2019146467A1 publication Critical patent/WO2019146467A1/ja
Anticipated expiration legal-status Critical
Ceased legal-status Critical Current

Links

Images

Classifications

    • HELECTRICITY
    • H01ELECTRIC ELEMENTS
    • H01QANTENNAS, i.e. RADIO AERIALS
    • H01Q13/00Waveguide horns or mouths; Slot antennas; Leaky-waveguide antennas; Equivalent structures causing radiation along the transmission path of a guided wave
    • H01Q13/08Radiating ends of two-conductor microwave transmission lines, e.g. of coaxial lines, of microstrip lines
    • HELECTRICITY
    • H01ELECTRIC ELEMENTS
    • H01QANTENNAS, i.e. RADIO AERIALS
    • H01Q5/00Arrangements for simultaneous operation of antennas on two or more different wavebands, e.g. dual-band or multi-band arrangements
    • H01Q5/30Arrangements for providing operation on different wavebands
    • H01Q5/307Individual or coupled radiating elements, each element being fed in an unspecified way
    • H01Q5/342Individual or coupled radiating elements, each element being fed in an unspecified way for different propagation modes
    • H01Q5/357Individual or coupled radiating elements, each element being fed in an unspecified way for different propagation modes using a single feed point
    • HELECTRICITY
    • H01ELECTRIC ELEMENTS
    • H01QANTENNAS, i.e. RADIO AERIALS
    • H01Q9/00Electrically-short antennas having dimensions not more than twice the operating wavelength and consisting of conductive active radiating elements
    • H01Q9/04Resonant antennas

Definitions

  • the present disclosure relates to an antenna device.
  • a flat metal conductor (hereinafter referred to as a ground plate) functioning as a ground and a feed point are provided at an arbitrary position while being disposed to face the ground plate.
  • an antenna device provided with a flat metal conductor (hereinafter, patch portion) and a short circuit portion electrically connecting a ground plane and the patch portion.
  • parallel resonance is generated at a frequency corresponding to the capacitance and the inductance by the capacitance formed between the ground plane and the patch portion and the inductance provided in the short circuit portion.
  • the capacitance formed between the ground plane and the patch portion is determined according to the area of the patch portion and the distance between the ground plane and the patch portion.
  • the inductance with which a short circuit part is equipped becomes settled according to the diameter of a short circuit part. Therefore, for example, by adjusting the area of the patch portion and the diameter of the short circuit portion, it is possible to set a desired frequency for transmission and reception (hereinafter, target frequency) in the antenna device.
  • target frequency a desired frequency for transmission and reception
  • the patch portion is divided into a plurality of sub patch portions so as to be line symmetrical or point symmetrical with respect to a straight line passing through the center of the patch portion, and a loop-shaped conductor member is provided outside the patch portion.
  • An arrangement in which a certain loop portion is disposed is disclosed.
  • the feeding point is provided in the loop portion, and each sub patch portion is fed via the loop portion.
  • the configuration described in Patent Document 2 is created by a part of the inventors of the present application.
  • the antenna device is required to be miniaturized.
  • the inventors of the present invention examined the configuration in which the patch portion has a rectangular or parallelogram in the configuration disclosed in Patent Document 2 for further downsizing and broadening the bandwidth, and the following findings were obtained.
  • the inductance provided by each short portion differs even if the distance from the patch center point to the short portion of each sub patch portion is set equal. This is because in the configuration in which the outline of the patch portion is a rectangle or parallelogram, the shapes of the two sets of sub patch portions formed in the patch portion are different, and the edge facing the loop portion in the sub patch portion It is believed that this is because the distance from the edge) to the short circuit is different.
  • the inductance provided by the short circuit is determined not by the distance from the patch center point to the short circuit, but by the distance from the loop opposite edge to the short circuit.
  • the fact that the operating frequency can be reduced means, in other words, that the antenna device can be miniaturized.
  • An object of the present disclosure is to provide an antenna device that can be further miniaturized and broadened in bandwidth.
  • a rectangular or parallelogram-shaped flat plate-shaped conductor member is disposed to face a ground plate that is a flat plate-shaped conductor member at a predetermined distance from the ground plate.
  • a loop portion which is a loop-like conductor member disposed around the patch portion so as to have a predetermined distance from the edge of the patch portion.
  • a feed point electrically connected to the feed line is provided in the loop portion, and the patch portion is a plurality of straight lines formed in a direction toward the patch center point, which is a point from the edge to the center of the patch portion.
  • a plurality of sub patch portions divided by the slit portion of The plurality of slits are formed such that other slits are present at positions symmetrical with respect to the patch center point, and each of the plurality of subpatches is electrically connected at the center of the patch.
  • Each of the plurality of sub patch portions is provided with a short circuit portion electrically connected to the ground plane through the conductive element, and the distance between the short patch portion and the patch center point in the sub patch portion is the sub patch portion In the region where the distance between the loop portion and the opposing edge portion of the loop which is the opposite edge portion is smaller.
  • the short circuit portion is provided at a position closer to the patch center point in the sub patch portion. Therefore, in the sub patch part, the distance from the loop facing part to the short circuit part becomes a relatively large value. Based on the findings obtained by the inventors as a result of various studies including the implementation of the simulation, the larger the distance from the loop facing edge to the short circuit, the larger the inductance provided by the short circuit.
  • the operating frequency can be set to a lower value than in the configuration in which the short circuit portion is arranged closer to the loop facing edge portion in the sub patch portion of the same dimension. Further, in order to operate at a predetermined frequency, the size can be reduced as compared with the configuration in which the short circuit portion is disposed closer to the loop opposing edge.
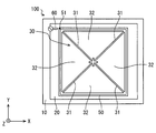
  • FIG. 5 is a top view of the antenna device 0.
  • FIG. FIG. 3 is a cross-sectional view of the antenna device taken along line III-III shown in FIG. It is a conceptual diagram which expands and shows the structure of patch center point vicinity. It is a figure for demonstrating the structure of a sub patch part. It is a figure for demonstrating the structure of a sub patch part. It is a figure which shows the equivalent circuit of a sub patch part. It is a figure which shows the equivalent circuit of a sub patch part. It is a figure which shows the equivalent circuit of a sub patch part. It is a figure which shows the equivalent circuit of a sub patch part. It is a figure which shows the equivalent circuit of a sub patch part. It is a figure which shows the equivalent circuit of a sub patch part. It is a figure which shows the equivalent circuit of a sub patch part.
  • FIG. 13 is a top view showing a schematic configuration of an antenna device of Modification 2;
  • FIG. 1 is an external perspective view showing an example of a schematic configuration of an antenna device 100 according to the present embodiment. Further, a top view of the antenna device 100 is shown in FIG.
  • FIG. 3 is a cross-sectional view of the antenna device 100 taken along line III-III shown in FIG.
  • illustration of reference numerals and lead lines already described in the other drawings is omitted.
  • the antenna device 100 is configured to transmit and receive radio waves of a predetermined frequency (hereinafter, target frequency).
  • target frequency a predetermined frequency
  • the antenna device 100 may be used only for either transmission or reception. Since transmission and reception of radio waves are reversible, the configuration capable of transmitting radio waves of a certain frequency is also the configuration capable of receiving radio waves of the frequency.
  • the target frequency may be designed appropriately, and here, for example, is 850 MHz.
  • the antenna device 100 can transmit and receive not only the target frequency but also radio waves of frequencies within a predetermined range before and after the target frequency.
  • a band of frequencies that can be transmitted and received by the antenna device 100 will also be described as an operating band.
  • the antenna device 100 is connected to a wireless device, for example, via a coaxial cable, and the signal received by the antenna device 100 is sequentially output to the wireless device. Further, the antenna device 100 converts an electric signal input from a wireless device into a radio wave and radiates it into space. The wireless device uses the signal received by the antenna device 100 and supplies high frequency power to the antenna device 100 according to the transmission signal.
  • the present embodiment is described on the assumption that the antenna device 100 and the wireless device are connected by a coaxial cable, they are connected by using other various communication cables (including wires) such as feeder wires. Also good.
  • the antenna device 100 and the wireless device may be connected via a matching circuit, a filter circuit, and the like.
  • the antenna device 100 includes a ground plane 10, a support portion 20, a patch portion 30, a short circuiting element 40, a loop portion 50, and a feed line 60, as shown in FIGS.
  • the ground plane 10 is a plate-like conductive member made of a conductor such as copper.
  • the plate shape here includes a thin film shape such as a foil. That is, the ground plate 10 may be formed in a pattern on the surface of a resin plate such as a printed wiring board.
  • the ground plane 10 is electrically connected to the outer conductor of the coaxial cable to provide a ground potential (in other words, a ground potential) in the antenna device 100.
  • the ground plane 10 may be formed to have the size of the patch portion 30 or more.
  • the shape (following, planar shape) which looked at the ground plate 10 from the upper side should just be designed suitably.
  • the planar shape of the ground plate 10 is a rectangular shape, but as another aspect, the planar shape of the ground plate 10 may be another polygonal shape such as a hexagon. Moreover, it may be circular. Of course, the shape may be a combination of straight and curved portions.
  • the support unit 20 is a member for supporting the position and posture of the patch unit 30 with respect to the ground plate 10.
  • the support portion 20 is a plate-like member having a predetermined thickness and made of an electrical insulating material such as a resin.
  • the support plate 20 holds the ground plate 10 and the patch unit 30 facing each other at a predetermined interval.
  • the thickness (in other words, the height) of the support portion 20 may be appropriately designed.
  • the surface on which the patch unit 30 is disposed is referred to as the upper surface
  • the surface on which the ground plate 10 is disposed is referred to as the lower surface.
  • the support part 20 should just play the above-mentioned role, and the shape of the support part 20 is not restricted to plate shape.
  • the support portion 20 may be a plurality of columns supporting the main plate 10 and the patch portion 30 so as to face each other at a predetermined distance.
  • resin namely, support part 20
  • the space between the ground plane 10 and the patch portion 30 may be hollow or vacuum, or may be filled with a dielectric having a predetermined dielectric ratio.
  • the structures exemplified above may be combined.
  • the antenna device 100 When the antenna device 100 is realized using a printed wiring board, a plurality of conductor layers (for example, conductor layers on both sides or an inner layer of a double-sided printed wiring board) included in the printed wiring board A resin layer separating the conductor layers may be used as the support portion 20 as well as 30.
  • a plurality of conductor layers for example, conductor layers on both sides or an inner layer of a double-sided printed wiring board
  • a resin layer separating the conductor layers may be used as the support portion 20 as well as 30.
  • the patch unit 30 is a plate-like member made of a conductor such as copper.
  • the plate shape here includes a thin film shape such as a foil. That is, the patch section 30 may be a conductor patterned on the surface of a resin board such as a printed wiring board.
  • the patch portion 30 is formed in a rectangular shape as a whole.
  • the term “rectangle” refers to a quadrangle in which four corners are 90 degrees and lengths of sides orthogonal to each other are different (that is, lengths in length and width are different). That is, it is a rectangle excluding a square.
  • the patch unit 30 is disposed opposite to the ground plane 10 via the support unit 20 in parallel.
  • Parallel here is not limited to perfect parallel. It may be inclined by several degrees to about ten degrees. That is, it may include a state that is substantially parallel (a so-called substantially parallel state).
  • the shape of the patch part 30 is made into a rectangle as an example here, as another structure, the parallelogram in which the corner
  • the edge of the patch portion 30 may be meandered or the corner may be rounded.
  • the direction orthogonal to the patch unit 30 will be referred to as the vertical direction.
  • the direction from the ground plane 10 toward the patch portion 30 is upward, and the direction from the patch portion 30 toward the ground plane 10 is downward.
  • a direction which is perpendicular to the vertical direction and which is parallel to the long side of the patch portion 30 is referred to as a longitudinal direction
  • a direction parallel to the short side is referred to as a short direction.
  • the X-axis shown in various drawings of FIG. 1 etc. represents the longitudinal direction
  • the Y-axis represents the short direction
  • the Z-axis represents the vertical direction.
  • the X-axis, Y-axis, and Z-axis are a concept for describing the configuration of the antenna device 100 in the right-handed three-dimensional coordinate system.
  • the patch section 30 is a linear notch having a predetermined length from each vertex (that is, corner) of the edge of the patch section 30 toward the center of the patch section 30 (hereinafter, patch center point Pc).
  • a certain slit portion 31 is formed. That is, a total of four slit parts 31 are extended along the diagonal from each corner.
  • the respective slit portions 31 are distinguished from one another, they are referred to as slit portions 31A to 31D.
  • the patch center point Pc is a point of intersection of diagonal lines and substantially corresponds to the center of gravity of the patch section 30.
  • the above configuration corresponds to a configuration in which the plurality of slits 31 are arranged such that the other slits 31 exist at positions symmetrical with respect to the patch center point Pc.
  • the slit portion 31A and the slit portion 31C are disposed at point-symmetrical positions with respect to the patch center point Pc as a symmetry center.
  • the slit portion 31B and the slit portion 31D are disposed at positions symmetrical with each other with the patch center point Pc as the symmetry center.
  • the some slit part 31 is formed as a notch part of one connection respectively in this embodiment, it does not restrict to this.
  • Slit part 31 may be realized by arranging a plurality of slits intermittently.
  • the patch unit 30 is electrically divided into four sub patch units 32 by the four slits 31.
  • the slit length Ds which is the length of each slit portion 31 is shorter than the half diagonal length which is half the diagonal length so that the plurality of sub patch portions 32 are electrically connected near the patch center point Pc. It is set to a value.
  • the slit length Ds is set to a value obtained by multiplying the half diagonal length by 0.9.
  • the half diagonal length corresponds to the length from the patch center point Pc to each vertex (in other words, the corner).
  • the specific length of the slit length Ds is not limited to the above.
  • the slit length Ds may be set to a value obtained by multiplying the half diagonal length by 0.8 or by 0.7.
  • the slit length Ds is set to a value such that the distance from the end on the patch center point Pc side of the slit portion 31 to the patch center point Pc is at least 1/100 of the wavelength of the radio wave of the target frequency (hereinafter, target wavelength). Is preferred. Further, it is assumed that the slit length Ds is set to a value larger than half of the half diagonal length.
  • the plurality of sub patch portions 32 are electrically connected near the patch center point Pc. That is, the patch unit 30 includes four sub patch units 32 divided by the plurality of slit units 31 and a central unit 33 connected to the sub patch units 32. Each sub patch portion 32 includes a loop facing edge which is an edge facing the loop portion 50.
  • each of the sub patch parts 32 is distinguished, it is described as sub patch parts 32A to 32D.
  • the sub patch part 32A is an area sandwiched between the slit part 31A and the slit part 31B
  • the sub patch part 32B is an area sandwiched between the slit part 31B and the slit part 31C.
  • the sub patch portion 32C is a region sandwiched between the slit portion 31C and the slit portion 31D
  • the sub patch portion 32D is a region sandwiched by the slit portion 31D and the slit portion 31A.
  • FIG. 4 is a conceptual view showing the vicinity of the patch center point Pc in an enlarged manner.
  • the broken line disposed so as to surround the patch center point Pc in FIG. 4 indicates the boundary between the sub patch portion 32 and the center portion 33.
  • a region surrounded by a broken line including the patch center point Pc corresponds to the central portion 33.
  • the boundary between the sub patch portion 32 and the central portion 33 corresponds to a line connecting ends of the two slit portions 31 forming the sub patch portion 32 on the patch center point Pc side.
  • central part 33 becomes a substantially rectangular shape which has an aspect ratio equivalent to patch part 30.
  • the end on the patch center point Pc side in the sub patch portion 32 will be referred to as the center side end.
  • the plurality of sub patch portions 32 also have other sub patch portions 32 at point symmetrical positions with respect to the patch center point Pc. It has become an arrangement mode. That is, the above configuration corresponds to a configuration in which the plurality of slit portions 31 are arranged such that two sets of sub patch portions 32 having a point-symmetrical relationship with each other exist. Specifically, the sub patch portion 32A and the sub patch portion 32 which is in point-symmetrical relation to each other with the patch center point Pc as the symmetry center is the sub patch portion 32C. Further, the sub patch portion 32B and the sub patch portion 32 which is in point-symmetrical relation to each other with the patch center point Pc as the symmetry center is a sub patch portion 32D.
  • FIG. 5 is a conceptual view showing the vicinity of the sub patch portion 32A in an enlarged manner
  • FIG. 6 is a conceptual view showing the vicinity of the sub patch portion 32B in an enlarged manner.
  • the hatching of the dot pattern is performed on the area corresponding to the sub patch portion 32A.
  • the hatching of the dot pattern is performed on the area corresponding to the sub patch portion 32B.
  • hatching with high dot density is given to a region that can be regarded as the vicinity of the center side end portion in each sub patch portion 32.
  • the vicinity of the central end may be, for example, a region where the distance from the central end is equal to or less than a quarter of the length D10 (or D20) from the loop facing edge to the central end.
  • the vicinity of the center side end of the sub patch portion 32 corresponds to the vicinity of the end on the patch center point side.
  • the sub patch portion 32A and the sub patch portion 32C have shapes different from those of the sub patch portion 32B and the sub patch portion 32D.
  • the length D10 from the loop facing edge to the center side end in the sub patch portion 32A and the sub patch portion 32C is the length from the loop facing edge to the center side end in the sub patch portion 32A and the sub patch portion 32C. Longer than D20.
  • the lengths of the loop opposing edge portions of the sub patch portion 32A and the sub patch portion 32C have values corresponding to the length of the patch portion 30 in the short direction.
  • the length of the loop facing edge in the sub patch portion 32B and the sub patch portion 32D is a value corresponding to the length in the longitudinal direction of the patch portion 30.
  • each sub patch portion 32 is disposed to face the ground plane 10, a capacitance corresponding to the area and distance between the sub patch portions 32 is formed between the sub patch portions 32 and the ground plane 10. That is, the sub patch portion 32 and the ground plane 10 function as a capacitor that provides capacitance according to the area and distance of the sub patch portion 32.
  • Each sub patch portion 32 is electrically connected to the ground plane 10 by a shorting element 40 in the vicinity of the center side end.
  • a shorting portion 34 a portion where the shorting element 40 is disposed in the sub patch portion 32 is referred to as a shorting portion 34.
  • One shorting portion 34 is disposed for each sub patch portion 32.
  • the short circuit part 34 is an electrical connection place of the short circuiting element 40 and the patch part 30, as shown in FIG.
  • the position of the short circuit part 34 is indicated by a solid line circle, but it is a component that is not visually recognized or hardly visible from the outside of the antenna device 100 in practice.
  • the shorting element 40 forming the shorting portion 34 described above is a conductive member (that is, a conductive element) electrically connected to the sub patch portion 32 and the ground plane 10.
  • a plurality of shorting elements 40 exist so as to correspond to each of the plurality of sub patch portions 32.
  • Such a configuration corresponds to a configuration in which the antenna device 100 includes a plurality of shorting elements 40 that electrically connect the patch unit 30 and the ground plane 10.
  • the short circuiting element 40 can be realized using a cylindrical conductive member whose diameter is relatively small (that is, thin) relative to the length in the height direction.
  • the shorting element 40 may be realized by a conductive pin (hereinafter, a shorting pin).
  • the cylindrical shape here includes a needle shape.
  • the short circuiting element 40 does not have to be cylindrical, but may be prismatic. Further, it may be in the shape of a semicircle or a sector having a columnar shape in cross section.
  • the inductance of the short circuit element 40 can be adjusted by the diameter (in other words, the thickness) of the conductive element as the short circuit element 40. The larger the diameter of the short circuit element 40, the smaller the value of the inductance provided by the short circuit element 40.
  • the inductance provided by the short circuiting element 40 in a certain sub patch portion 32 is determined according to the distance from the midpoint of the loop facing edge of the sub patch portion 32 to the short circuit portion 34. Specifically, the larger the distance from the middle point of the loop facing edge to the short circuit 34, the larger the inductance provided by the short circuiting element 40. In other words, the closer the shorting portion 34 is to the center end, the larger the inductance provided by the shorting element 40.
  • the short circuit portion 34 is preferably disposed in the vicinity of the central end.
  • the position where the shorting element 40 is provided in the sub patch portion 32 is a straight line connecting the patch center point Pc and the middle point of the loop facing edge from the viewpoint of directivity (hereinafter It is preferable to set it on a line).
  • the short circuit 34 does not have to be disposed on the subpatch centerline. If arranged at a position other than the subpatch center line, directivity deviation occurs according to the amount of deviation from the sub patch center line.
  • the short circuit portion 34 may be disposed at a position deviated from the sub patch center line within a range in which the directivity deviation falls within the predetermined allowable range.
  • the loop portion 50 is a loop-shaped conductor member.
  • the loop portion 50 is formed on the upper surface of the support portion 20 so as to have a predetermined distance G from the edge of the patch portion 30.
  • the interval G may be sufficiently small with respect to the target wavelength, and a specific value may be appropriately determined by simulation or test (hereinafter, test or the like).
  • the distance G is preferably at least one-fifth of the target wavelength or less.
  • the width of the loop portion 50 may also be sufficiently small with respect to the target wavelength, and the specific value thereof may be appropriately designed.
  • the feed line 60 is a microstrip line provided on the side of the patch of the support 20 to feed the loop 50.
  • One end of the feed line 60 is electrically connected to the inner conductor of the coaxial cable, and the other end is formed on the side of the patch so as to be electromagnetically coupled to the loop portion 50.
  • the current input from the feed line 60 is propagated to the patch unit 30 via the loop unit 50 to excite the patch unit 30.
  • the gap G between the loop unit 50 and the patch unit 30 is too large for the target wavelength, the inflow of current from the loop unit 50 to the patch unit 30 is reduced, and the performance (for example, gain) of the antenna device 100 is increased. to degrade. Therefore, as described above, it is preferable to set the interval G to one-fifth or less of the target wavelength.
  • the end on the side of the loop portion 50 in the feed line 60 is referred to as a loop-side end.
  • a point closest to the loop side end portion functions as the feeding point 51.
  • the feed line 60 is disposed such that the feed point 51 is located on the extension of the subpatch boundary. According to such a configuration, the current from the feed line 60 can be made to flow into the plurality of sub patch portions 32 simultaneously (in other words, in parallel).
  • an electromagnetic coupling feeding method using a microstrip line or the like is adopted as a feeding method to the loop unit 50, but the present invention is not limited to this.
  • a direct feed system in which the feed line 60 is directly connected to the loop unit 50 may be adopted.
  • the direct feed scheme may be implemented using conductive pins and vias.
  • the antenna device 100 described above is used, for example, in a mobile body such as a vehicle.
  • the antenna device 100 When the antenna device 100 is used in a vehicle, it may be installed on the roof of the vehicle so that the ground plate 10 is substantially horizontal and the direction from the ground plate 10 toward the patch unit 30 substantially coincides with the zenith direction .
  • FIG. 7A shows an equivalent circuit of the sub patch unit 32A.
  • 7A and 7B are also equivalent circuits of the subpatch section 32C because the subpatch section 32A and the subpatch section 32C have a symmetrical structure.
  • the electrostatic capacitance Cgp1 shown in FIGS. 7A and 7B represents the electrostatic capacitance derived from the distance (in other words, the gap) between the loop portion 50 and the loop opposing edge of the sub patch 32A, and the electrostatic capacitance Cs1 is a sub patch portion
  • the capacitance formed by the outside portion of the short circuiting element 40 and the ground plane 10 among 32A is shown.
  • the capacitance Cs1 is determined by the outer area of the shorting element 40 in the subpatch portion 32 and the distance from the ground plane 10.
  • the inductance La is an inductance provided by the short circuit element 40 itself, and is determined by the shape of the short circuit element 40.
  • the inductance Lb1 represents the inductance provided by the current path from the loop opposite edge to the short circuit. Accordingly, the inductance Lb1 has a larger value as the distance D11 from the loop facing edge to the short circuit portion 34 is longer. As the distance D11 from the loop opposing edge of the sub patch 32A to the short circuit 34, the distance from the midpoint M1 of the loop opposing edge of the sub patch 32A to the short circuit 34 can be approximately employed. . This is because the distance from the middle point M1 to the short circuit portion 34 representatively represents the distance from each point on the loop opposing edge to the short circuit portion 34.
  • the inductance Lc1 represents the inductance provided by the section from the short circuit portion 34 to the patch center point Pc in the patch portion 30.
  • the resistance value R represents the effect of radiation loss.
  • the inductance Ld1 is an inductance provided by a section from the short circuit portion 34 to the slit portion 31.
  • the capacitance Cd is a capacitance provided by the distance between the sub patch portions 32 (in other words, the width of the slit portion 31).
  • the excitation current flowing from the loop portion 50 into the sub patch portion 32 mainly flows from the loop opposing edge to the ground plane 10 through the short circuiting element 40. Therefore, the electrostatic capacitance Cd1, the resistance value R, and the inductance Ld1 can be ignored from the viewpoint of the antenna operation. In other words, these factors do not affect the resonant frequency.
  • the equivalent circuit of the subpatch section 32A can be regarded as a configuration represented by a solid line, ignoring the configuration represented by the dotted line in the antenna design shown in FIG. 7B.
  • the inductance La provided by the short circuiting element 40 and the inductance Lb1 provided by the section from the loop opposing edge to the short circuit portion 34 are connected in series, and La + Lb1 is provided as a combined inductance.
  • the capacitance Cgp1 formed by the distance D between the loop portion 50 and the sub patch portion 32 can be regarded as a large short circuit, Cs1 is provided as a combined capacitance. That is, the sum of the capacitances connected in parallel to the inductance La + Lb1 is Cs1. Therefore, the sub patch unit 32A causes parallel resonance at the frequency f1 determined by the following equation 1.
  • the resonance frequency f1 is determined according to the distance D11 from the loop facing edge to the shorting portion 34 in the subpatch portion 32A, the size of the subpatch portion 32, the distance between the ground plane 10 and the patch portion 30, the thickness of the shorting element 40, etc. It becomes settled. Therefore, by adjusting these parameters, the resonant frequency f1 can be made to substantially coincide with the desired target frequency. That is, the sub patch unit 32A performs parallel resonance at the target frequency, and can transmit and receive radio waves of the target frequency. In particular, if the distance D11 from the loop facing edge to the short circuit portion 34 is set large, the capacitance Cs1 and the inductance Lb1 become large, and the resonance frequency f1 can be lowered. In other words, the area of the sub patch portion 32A can be reduced. Although the operation of the sub patch portion 32A has been described above, the same is true for the sub patch portion 32C.
  • the feed line 60 also has an inductance and a resistance value of a size corresponding to its shape and material.
  • the elements corresponding to these feed lines 60 can be omitted for the purpose of describing the operation principle of the antenna device 100, and therefore the illustration is omitted in the equivalent circuits shown in FIGS. 7A and 7B.
  • FIG. 8A shows an equivalent circuit of the sub patch unit 32B. Since the sub patch portion 32B and the sub patch portion 32D have a symmetrical structure, FIGS. 8A and 8B are also equivalent circuits of the sub patch portion 32D.
  • the electrostatic capacitance Cgp2, the inductance La, and the resistance value R shown in FIGS. 8A and 8B are as described in FIGS. 7A and 7B.
  • the electrostatic capacitances Cs2 and Cd2, and the inductances Lb2, Lc2 and Ld2 are elements corresponding to the electrostatic capacitances Cs1 and Cd1 and the inductances Lb1, Lc1 and Ld1 in the sub patch portion 32A in order.
  • the capacitance Cs2 represents the capacitance formed by the sub patch portion 32B and the ground plane 10.
  • the capacitance Cs2 is determined by the area of the outer portion of the shorting element 40 and the distance between the ground plane 10 and the sub patch portion 32B, as described above.
  • the inductance Lb2 represents the inductance provided by the current path from the loop opposing edge of the sub patch portion 32B to the short circuit portion 34.
  • the inductance Lc2 represents the inductance provided by the section from the short circuit portion 34 of the sub patch portion 32B to the patch center point Pc.
  • the distance from the middle point M2 of the loop facing edge to the shorting portion 34 in the sub patch portion 32B can be approximately adopted. . This is because the distance from the middle point M2 to the short circuit portion 34 representatively represents the distance from each point on the loop opposing edge to the short circuit portion 34.
  • the inductance Ld2 is an inductance provided by the distance from the short circuit portion 34 of the sub patch portion 32B to the slit portion 31.
  • the capacitance Cd2 is a capacitance provided by the distance between the sub patch portions 32 (in other words, the width of the slit portion 31).
  • the excitation current flowing from the loop portion 50 into the sub patch portion 32 mainly flows from the loop opposite edge to the ground plane 10 through the short circuiting element 40. Therefore, the capacitance Cd2, the resistance value R, and the inductance Ld2 can be neglected in antenna design. In other words, these factors do not affect the resonant frequency.
  • the equivalent circuit of the sub patch unit 32B can be regarded as the configuration shown in FIG. 8B.
  • the inductance La provided by the short circuiting element 40 and the inductance Lb2 provided by the section from the loop facing edge to the short circuit portion 34 are connected in series, and La + Lb2 is provided as a combined inductance.
  • the capacitance Cgp2 formed by the distance D between the loop portion 50 and the sub patch portion 32 is sufficiently large, it can be regarded as a short circuit, and Cs2 is provided as a combined capacitance. That is, the sum of capacitances connected in parallel to the inductance La + Lb2 is Cs2. Therefore, the sub patch unit 32B causes parallel resonance at the frequency f2 determined by the following equation 2.
  • the resonance frequency f2 is determined according to the distance D21 from the loop facing edge to the shorting portion 34 in the subpatch portion 32B, the size of the subpatch portion 32, the distance between the ground plane 10 and the patch portion 30, the thickness of the shorting element 40, etc. It becomes settled. Therefore, by adjusting these parameters, the resonant frequency f2 can be made to substantially coincide with the desired target frequency. That is, the sub patch unit 32B performs parallel resonance at the target frequency, and can transmit and receive radio waves of the target frequency. In particular, if the distance D21 from the loop facing edge to the short circuit portion 34 is set large, the inductance Lb2 becomes large, and the resonance frequency f2 can be lowered. In other words, the area of the sub patch portion 32B can be reduced. Although the operation of the sub patch portion 32B has been described above, the same applies to the sub patch portion 32D.
  • the resonant frequency f1 and the resonant frequency f2 do not necessarily have to completely match the target frequency.
  • the operating band of the subpatch portions 32A and 32C and the subpatch portion 32B , 32D in combination, and the operating band of the entire antenna device 100 can be extended. That is, it is possible to realize reduction in operating frequency and miniaturization while providing wide band.
  • the actual bandwidth is not the relative relationship between f1 and f2 described above, but the total capacitance of the entire patch and the frequency (uniform field distribution) of the fundamental resonance mode determined by the total inductance created by the plurality of vias, It is considered that the band can be adjusted in relation to the frequency of the primary resonance mode operating as a patch antenna.
  • the operating frequency of the primary resonance mode may be appropriately adjusted in consideration of the overall characteristics in the operating band of the antenna device 100.
  • FIG. 9 is a conceptual view of a voltage standing wave ratio (VSWR) for each frequency of the antenna device 100.
  • the dashed-dotted line conceptually represents the operating characteristic of the sub patch portion 32A
  • the dashed-two dotted line conceptually represents the operating characteristic of the sub patch portion 32B.
  • the solid line represents the characteristics of the antenna device 100.
  • a range in which the VSWR is 3 or less is often regarded as a practical frequency (in other words, an operating band).
  • FIG. 9 exemplifies the case where the resonant frequency f1 of the sub patch portion 32A is lower than the resonant frequency f2 of the sub patch portion 32B, the present invention is not necessarily limited thereto. These height relationships can be interchanged depending on the shape of the patch section 30 and the like.
  • the operating frequency can be set to a lower value than in the configuration in which the short circuit portion 34 is disposed closer to the loop facing edge portion in the sub patch portion 32 having the same size. Further, in order to operate at a predetermined frequency, the size can be reduced as compared with the configuration in which the short circuit portion 34 is disposed closer to the loop opposing edge.
  • the region closer to the patch center point Pc in the sub patch portion 32 corresponds to a region in which the distance to the patch center point Pc in the sub patch portion 32 is smaller than the distance to the loop opposing edge. That is, in the configuration in which the short circuit portion 34 is provided closer to the patch center point Pc in the sub patch portion 32, the short circuit portion 34 in the sub patch portion 32 is a region where the distance to the patch center point Pc is smaller than the distance to the loop opposing edge. Corresponds to the configuration provided.
  • FIG. 10 shows a configuration in which the patch portion 30 is formed in a square shape after setting the target frequency to 2.9 GHz.
  • FIG. 11 is a graph showing the measurement results of VSWR in the configuration as the reference example.
  • the operation is performed at a predetermined frequency.
  • the patch portion 30 is set in a rectangular shape as in the embodiment described above, or in the configuration in which the patch portion 30 is set in a parallelogram as described later as the second embodiment
  • the operating frequency can be set to a desired frequency by arranging the point 31 at a point and adjusting the position of each part.
  • the patch section 30 may be a parallelogram. Such an aspect is disclosed below as a second embodiment.
  • the patch portion 30 of the present embodiment is formed in a parallelogram as shown in FIG.
  • the parallelogram refers to a quadrangle in which two pairs of opposite sides are parallel and one pair of diagonals is set to less than 90 degrees.
  • Parallelograms here may include rhombuses other than squares and rectangles. That is, the patch section 30 of the second embodiment is formed in a parallelogram except for a square or a rectangle.
  • Such patch section 30 comprises a set of obtuse diagonals and a set of sharp diagonals.
  • corner portions set at an obtuse angle in the parallelogram are referred to as obtuse angle portions
  • corner portions set at an acute angle are respectively referred to as acute angle portions.
  • an obtuse diagonal is referred to as an obtuse diagonal
  • an acute diagonal is referred to as an acute diagonal.
  • the outline of the patch section 30 is preferably a parallelogram in which one pair of diagonals is set to 30 degrees or more and less than 80 degrees. This is because a parallelogram in which one pair of diagonals is set to less than 30 degrees (in other words, a parallelogram having a high degree of inclination) is difficult to function as the sub patch portion 32. Moreover, it is more preferable that one pair of diagonals of the patch part 30 is set to 45 degrees or more and less than 80 degrees from such knowledge.
  • the patch unit 30 is a linear notch having a predetermined length from each vertex (that is, corner) of the edge of the patch unit 30 toward the patch center point Pc.
  • Slit portions 31A to 31D are formed.
  • the slits 31A and 31C are slits 31 provided from the obtuse angle toward the patch center point Pc.
  • the slit portion 31B and the slit portion 31D are the slit portion 31 provided from the acute angle portion toward the patch center point Pc.
  • the above configuration also corresponds to a configuration in which the plurality of slits 31 are arranged such that the other slits 31 exist at positions symmetrical with respect to the patch center point Pc.
  • the patch section 30 is electrically divided into four sub patch sections 32 by these four slit sections 31.
  • each slit portion 31 is provided such that the plurality of sub patch portions 32 are electrically connected near the patch center point Pc.
  • the diagonal connecting the obtuse angle parts hereinafter, dull diagonal line
  • the diagonal line connecting acute angle parts hereinafter, sharp acute line
  • the lengths of the slit portion 31A and the slit portion 31C are set to a value shorter than the semi-obt diagonal length that is half the length of the blunt diagonal.
  • the half blunt diagonal length corresponds, according to another aspect, to the linear distance from the blunt end to the patch center point Pc.
  • the slit length is set to a value obtained by multiplying the half blunt diagonal length by 0.9.
  • the first slit length is set to a value larger than half of the half blunt diagonal length.
  • the lengths of the slit portion 31B and the slit portion 31D are set to a value shorter than the semi-sharp diagonal length which is half the length of the sharp diagonal.
  • the semi-sharp diagonal length corresponds, according to another aspect, to the linear distance from the sharp corner to the patch center point Pc.
  • the slit length is set to a value obtained by multiplying the semi-sharp diagonal length by 0.9.
  • the second slit length is set to a value larger than half of the semi-sharp diagonal length.
  • the specific lengths of the first and second slit lengths are not limited to the above.
  • the first slit length may be set to a value obtained by multiplying the half blunt diagonal length by 0.8 or 0.7.
  • the second slit length is also the same.
  • the first and second slit lengths are such that the distance from the end on the patch center point Pc side of the slit portion 31 to the patch center point Pc is larger than a predetermined value (hereinafter, remaining length) larger than zero. It only needs to be set.
  • the remaining length is preferably, for example, at least 1/100 of the wavelength of the radio wave of the target frequency (hereinafter, target wavelength).
  • the patch unit 30 includes four sub patch units 32A to 32D divided by the plurality of slit units 31, and a central unit 33 connected to the sub patch units 32.
  • the length of each slit portion 31 is set so that the central portion 33 has a parallelogram shape similar to the general shape of the patch portion 30, but the present invention is not limited thereto.
  • the length of each slit portion 31 may be set such that the central portion 33 has a rectangular shape.
  • the plurality of sub patch portions 32 are also arranged at point symmetrical positions with respect to the patch center point Pc. It becomes an arrangement mode in which the sub patch part 32 exists. That is, the above configuration corresponds to a configuration in which two sets of sub patch portions 32 in a point-symmetrical relationship with each other are present. Specifically, the sub patch portion 32A and the sub patch portion 32C are point symmetric with each other with the patch center point Pc as the symmetry center, and the sub patch portion 32B and the sub patch portion 32D are point symmetric with each other with the patch center point Pc as the symmetry center. It is in.
  • FIG. 13 is a conceptual view showing the vicinity of the sub patch portion 32A in an enlarged manner
  • FIG. 14 is a conceptual view showing the vicinity of the sub patch portion 32B in an enlarged manner.
  • the hatching of the dot pattern is performed on the area corresponding to the sub patch portion 32A.
  • the hatching of the dot pattern is performed on the area corresponding to the sub patch section 32B.
  • hatching with high dot density is given to a region that can be regarded as the vicinity of the center side end portion in each sub patch portion 32.
  • the vicinity of the central end may be, for example, a region where the distance from the central end is equal to or less than a quarter of the length D10 (or D20) from the loop facing edge to the central end.
  • the sub patch portions 32 resonate in parallel according to the same operating principle as that of the first embodiment described above. Therefore, the same effect as that of the first embodiment described above is obtained.
  • the patch portion 30 a parallelogram, the distance between the loop corresponding edge and the short portion 34 can be increased under the condition that the length of the mounting space in the Y-axis direction is shorter than that in the X-axis direction. It can be set and the resonance frequency can be lowered.
  • it has an advantage in design that the difference in resonant frequency between the sub patch portion 32A and the sub patch portion 32B can be easily reduced.
  • the present invention is not limited thereto.
  • the slit portion 31 may be formed along a line parallel to each side passing the patch center point Pc with respect to the patch portion 30 on the parallelogram.
  • the configuration in which each sub patch portion 32 is electrically connected at the central portion 33 is similar to that of the second embodiment described above.
  • the middle point of the loop facing edge in the configuration of the first modification may be the middle point of both ends of the L-shaped loop facing edge.
  • the end of the loop facing edge corresponds to the end of the slit 31.
  • the mode which formed the slit part 31 toward the patch center point Pc from the middle point of each edge with which the parallelogram-shaped patch part 30 is equipped is shown in FIG. 15, it does not restrict to this.
  • the slit section 31 may be formed from the midpoint of each side toward the patch center point Pc.
  • the number of sub patch sections 32 is not limited to four. As shown in FIG. 16, a total of four sets of two slit portions 31 having a patch center point Pc as a symmetry center may be provided to form eight sub patch portions 32. Further, the number of sub patch parts 32 may be twelve. It can be a multiple of four. In FIG. 16, the planar shape of the patch portion 30 is a parallelogram, but it may be a rectangle, a polygon such as a hexagon, or an ellipse including a circle.

Landscapes

  • Waveguide Aerials (AREA)
PCT/JP2019/001116 2018-01-25 2019-01-16 アンテナ装置 Ceased WO2019146467A1 (ja)

Applications Claiming Priority (2)

Application Number Priority Date Filing Date Title
JP2018-010579 2018-01-25
JP2018010579A JP6930441B2 (ja) 2018-01-25 2018-01-25 アンテナ装置

Publications (1)

Publication Number Publication Date
WO2019146467A1 true WO2019146467A1 (ja) 2019-08-01

Family

ID=67394965

Family Applications (1)

Application Number Title Priority Date Filing Date
PCT/JP2019/001116 Ceased WO2019146467A1 (ja) 2018-01-25 2019-01-16 アンテナ装置

Country Status (2)

Country Link
JP (1) JP6930441B2 (enExample)
WO (1) WO2019146467A1 (enExample)

Cited By (2)

* Cited by examiner, † Cited by third party
Publication number Priority date Publication date Assignee Title
US12013476B2 (en) 2019-04-26 2024-06-18 Denso Corporation Positioning system
US12320912B2 (en) 2019-04-26 2025-06-03 Denso Corporation Positioning system

Families Citing this family (4)

* Cited by examiner, † Cited by third party
Publication number Priority date Publication date Assignee Title
JP7604807B2 (ja) * 2020-08-17 2024-12-24 株式会社Soken アンテナ装置
KR102427872B1 (ko) * 2021-03-23 2022-07-29 연세대학교 산학협력단 다중 급전 구조를 가지는 단일 패치 안테나, 이를 이용한 신경망 기반 방향 탐지 장치 및 방법
JP7530855B2 (ja) 2021-03-26 2024-08-08 株式会社Soken アンテナ装置、通信装置
CN117426020A (zh) 2021-06-03 2024-01-19 三星电子株式会社 包括用于基于超宽带的位置测量的天线结构的电子装置

Citations (5)

* Cited by examiner, † Cited by third party
Publication number Priority date Publication date Assignee Title
US20090051598A1 (en) * 2007-08-26 2009-02-26 Micro-Ant, Inc. Compact microstrip patch antenna
JP2011044997A (ja) * 2009-08-24 2011-03-03 Nippon Dengyo Kosaku Co Ltd アンテナ
JP2011199350A (ja) * 2010-03-17 2011-10-06 Japan Radio Co Ltd アンテナ
US20170033461A1 (en) * 2015-07-27 2017-02-02 Qualcomm Incorporated Low-profile antenna with high isolation for bluetooth and wifi coexistence
WO2017145831A1 (ja) * 2016-02-26 2017-08-31 株式会社デンソー アンテナ装置

Patent Citations (5)

* Cited by examiner, † Cited by third party
Publication number Priority date Publication date Assignee Title
US20090051598A1 (en) * 2007-08-26 2009-02-26 Micro-Ant, Inc. Compact microstrip patch antenna
JP2011044997A (ja) * 2009-08-24 2011-03-03 Nippon Dengyo Kosaku Co Ltd アンテナ
JP2011199350A (ja) * 2010-03-17 2011-10-06 Japan Radio Co Ltd アンテナ
US20170033461A1 (en) * 2015-07-27 2017-02-02 Qualcomm Incorporated Low-profile antenna with high isolation for bluetooth and wifi coexistence
WO2017145831A1 (ja) * 2016-02-26 2017-08-31 株式会社デンソー アンテナ装置

Cited By (2)

* Cited by examiner, † Cited by third party
Publication number Priority date Publication date Assignee Title
US12013476B2 (en) 2019-04-26 2024-06-18 Denso Corporation Positioning system
US12320912B2 (en) 2019-04-26 2025-06-03 Denso Corporation Positioning system

Also Published As

Publication number Publication date
JP6930441B2 (ja) 2021-09-01
JP2019129439A (ja) 2019-08-01

Similar Documents

Publication Publication Date Title
JP6977457B2 (ja) アンテナ装置
WO2019146467A1 (ja) アンテナ装置
JP6421769B2 (ja) アンテナ装置
JP6435829B2 (ja) アンテナ装置
US10886620B2 (en) Antenna
JP6528496B2 (ja) アンテナ装置
EP3518344B1 (en) Antenna device
JP2018061137A (ja) アンテナ装置
US12183973B2 (en) Antenna device
JP6516939B1 (ja) アレーアンテナ装置
JP2017098782A (ja) アンテナ素子
US11196166B2 (en) Antenna device
CN111816996A (zh) 天线装置
US10153553B2 (en) Antenna device having patch antenna
JP2013530623A (ja) 平面導電素子を有するアンテナ
CN221486824U (zh) 天线及天线装置
CN101258642A (zh) 谐振、双极化贴片天线
US10784581B2 (en) Antenna device
JP6393048B2 (ja) マルチバンドアンテナ
US12166294B2 (en) Antenna device
US8803754B2 (en) Antenna and wireless device having same
CN115441165B (zh) 带状线馈电结构、毫米波天线以及人体安检系统
JP6201651B2 (ja) アンテナ装置およびアレイアンテナ装置

Legal Events

Date Code Title Description
121 Ep: the epo has been informed by wipo that ep was designated in this application

Ref document number: 19743201

Country of ref document: EP

Kind code of ref document: A1

NENP Non-entry into the national phase

Ref country code: DE

122 Ep: pct application non-entry in european phase

Ref document number: 19743201

Country of ref document: EP

Kind code of ref document: A1