WO2019044201A1 - 車両用空調装置 - Google Patents

車両用空調装置 Download PDF

Info

Publication number
WO2019044201A1
WO2019044201A1 PCT/JP2018/026268 JP2018026268W WO2019044201A1 WO 2019044201 A1 WO2019044201 A1 WO 2019044201A1 JP 2018026268 W JP2018026268 W JP 2018026268W WO 2019044201 A1 WO2019044201 A1 WO 2019044201A1
Authority
WO
WIPO (PCT)
Prior art keywords
heat
heat medium
air
battery
cooling
Prior art date
Legal status (The legal status is an assumption and is not a legal conclusion. Google has not performed a legal analysis and makes no representation as to the accuracy of the status listed.)
Ceased
Application number
PCT/JP2018/026268
Other languages
English (en)
French (fr)
Japanese (ja)
Inventor
加藤 吉毅
Current Assignee (The listed assignees may be inaccurate. Google has not performed a legal analysis and makes no representation or warranty as to the accuracy of the list.)
Denso Corp
Original Assignee
Denso Corp
Priority date (The priority date is an assumption and is not a legal conclusion. Google has not performed a legal analysis and makes no representation as to the accuracy of the date listed.)
Filing date
Publication date
Application filed by Denso Corp filed Critical Denso Corp
Priority to CN201880056047.6A priority Critical patent/CN111094028B/zh
Publication of WO2019044201A1 publication Critical patent/WO2019044201A1/ja
Anticipated expiration legal-status Critical
Ceased legal-status Critical Current

Links

Images

Classifications

    • BPERFORMING OPERATIONS; TRANSPORTING
    • B60VEHICLES IN GENERAL
    • B60HARRANGEMENTS OF HEATING, COOLING, VENTILATING OR OTHER AIR-TREATING DEVICES SPECIALLY ADAPTED FOR PASSENGER OR GOODS SPACES OF VEHICLES
    • B60H1/00Heating, cooling or ventilating [HVAC] devices
    • B60H1/02Heating, cooling or ventilating [HVAC] devices the heat being derived from the propulsion plant
    • B60H1/04Heating, cooling or ventilating [HVAC] devices the heat being derived from the propulsion plant from cooling liquid of the plant
    • B60H1/08Heating, cooling or ventilating [HVAC] devices the heat being derived from the propulsion plant from cooling liquid of the plant from other radiator than main radiator
    • BPERFORMING OPERATIONS; TRANSPORTING
    • B60VEHICLES IN GENERAL
    • B60HARRANGEMENTS OF HEATING, COOLING, VENTILATING OR OTHER AIR-TREATING DEVICES SPECIALLY ADAPTED FOR PASSENGER OR GOODS SPACES OF VEHICLES
    • B60H1/00Heating, cooling or ventilating [HVAC] devices
    • B60H1/22Heating, cooling or ventilating [HVAC] devices the heat being derived otherwise than from the propulsion plant
    • BPERFORMING OPERATIONS; TRANSPORTING
    • B60VEHICLES IN GENERAL
    • B60LPROPULSION OF ELECTRICALLY-PROPELLED VEHICLES; SUPPLYING ELECTRIC POWER FOR AUXILIARY EQUIPMENT OF ELECTRICALLY-PROPELLED VEHICLES; ELECTRODYNAMIC BRAKE SYSTEMS FOR VEHICLES IN GENERAL; MAGNETIC SUSPENSION OR LEVITATION FOR VEHICLES; MONITORING OPERATING VARIABLES OF ELECTRICALLY-PROPELLED VEHICLES; ELECTRIC SAFETY DEVICES FOR ELECTRICALLY-PROPELLED VEHICLES
    • B60L50/00Electric propulsion with power supplied within the vehicle
    • B60L50/40Electric propulsion with power supplied within the vehicle using propulsion power supplied by capacitors
    • BPERFORMING OPERATIONS; TRANSPORTING
    • B60VEHICLES IN GENERAL
    • B60LPROPULSION OF ELECTRICALLY-PROPELLED VEHICLES; SUPPLYING ELECTRIC POWER FOR AUXILIARY EQUIPMENT OF ELECTRICALLY-PROPELLED VEHICLES; ELECTRODYNAMIC BRAKE SYSTEMS FOR VEHICLES IN GENERAL; MAGNETIC SUSPENSION OR LEVITATION FOR VEHICLES; MONITORING OPERATING VARIABLES OF ELECTRICALLY-PROPELLED VEHICLES; ELECTRIC SAFETY DEVICES FOR ELECTRICALLY-PROPELLED VEHICLES
    • B60L50/00Electric propulsion with power supplied within the vehicle
    • B60L50/50Electric propulsion with power supplied within the vehicle using propulsion power supplied by batteries or fuel cells
    • BPERFORMING OPERATIONS; TRANSPORTING
    • B60VEHICLES IN GENERAL
    • B60LPROPULSION OF ELECTRICALLY-PROPELLED VEHICLES; SUPPLYING ELECTRIC POWER FOR AUXILIARY EQUIPMENT OF ELECTRICALLY-PROPELLED VEHICLES; ELECTRODYNAMIC BRAKE SYSTEMS FOR VEHICLES IN GENERAL; MAGNETIC SUSPENSION OR LEVITATION FOR VEHICLES; MONITORING OPERATING VARIABLES OF ELECTRICALLY-PROPELLED VEHICLES; ELECTRIC SAFETY DEVICES FOR ELECTRICALLY-PROPELLED VEHICLES
    • B60L53/00Methods of charging batteries, specially adapted for electric vehicles; Charging stations or on-board charging equipment therefor; Exchange of energy storage elements in electric vehicles
    • BPERFORMING OPERATIONS; TRANSPORTING
    • B60VEHICLES IN GENERAL
    • B60LPROPULSION OF ELECTRICALLY-PROPELLED VEHICLES; SUPPLYING ELECTRIC POWER FOR AUXILIARY EQUIPMENT OF ELECTRICALLY-PROPELLED VEHICLES; ELECTRODYNAMIC BRAKE SYSTEMS FOR VEHICLES IN GENERAL; MAGNETIC SUSPENSION OR LEVITATION FOR VEHICLES; MONITORING OPERATING VARIABLES OF ELECTRICALLY-PROPELLED VEHICLES; ELECTRIC SAFETY DEVICES FOR ELECTRICALLY-PROPELLED VEHICLES
    • B60L55/00Arrangements for supplying energy stored within a vehicle to a power network, i.e. vehicle-to-grid [V2G] arrangements
    • BPERFORMING OPERATIONS; TRANSPORTING
    • B60VEHICLES IN GENERAL
    • B60LPROPULSION OF ELECTRICALLY-PROPELLED VEHICLES; SUPPLYING ELECTRIC POWER FOR AUXILIARY EQUIPMENT OF ELECTRICALLY-PROPELLED VEHICLES; ELECTRODYNAMIC BRAKE SYSTEMS FOR VEHICLES IN GENERAL; MAGNETIC SUSPENSION OR LEVITATION FOR VEHICLES; MONITORING OPERATING VARIABLES OF ELECTRICALLY-PROPELLED VEHICLES; ELECTRIC SAFETY DEVICES FOR ELECTRICALLY-PROPELLED VEHICLES
    • B60L58/00Methods or circuit arrangements for monitoring or controlling batteries or fuel cells, specially adapted for electric vehicles
    • FMECHANICAL ENGINEERING; LIGHTING; HEATING; WEAPONS; BLASTING
    • F28HEAT EXCHANGE IN GENERAL
    • F28DHEAT-EXCHANGE APPARATUS, NOT PROVIDED FOR IN ANOTHER SUBCLASS, IN WHICH THE HEAT-EXCHANGE MEDIA DO NOT COME INTO DIRECT CONTACT
    • F28D20/00Heat storage plants or apparatus in general; Regenerative heat-exchange apparatus not covered by groups F28D17/00 or F28D19/00
    • YGENERAL TAGGING OF NEW TECHNOLOGICAL DEVELOPMENTS; GENERAL TAGGING OF CROSS-SECTIONAL TECHNOLOGIES SPANNING OVER SEVERAL SECTIONS OF THE IPC; TECHNICAL SUBJECTS COVERED BY FORMER USPC CROSS-REFERENCE ART COLLECTIONS [XRACs] AND DIGESTS
    • Y02TECHNOLOGIES OR APPLICATIONS FOR MITIGATION OR ADAPTATION AGAINST CLIMATE CHANGE
    • Y02TCLIMATE CHANGE MITIGATION TECHNOLOGIES RELATED TO TRANSPORTATION
    • Y02T10/00Road transport of goods or passengers
    • Y02T10/60Other road transportation technologies with climate change mitigation effect
    • Y02T10/70Energy storage systems for electromobility, e.g. batteries
    • YGENERAL TAGGING OF NEW TECHNOLOGICAL DEVELOPMENTS; GENERAL TAGGING OF CROSS-SECTIONAL TECHNOLOGIES SPANNING OVER SEVERAL SECTIONS OF THE IPC; TECHNICAL SUBJECTS COVERED BY FORMER USPC CROSS-REFERENCE ART COLLECTIONS [XRACs] AND DIGESTS
    • Y02TECHNOLOGIES OR APPLICATIONS FOR MITIGATION OR ADAPTATION AGAINST CLIMATE CHANGE
    • Y02TCLIMATE CHANGE MITIGATION TECHNOLOGIES RELATED TO TRANSPORTATION
    • Y02T10/00Road transport of goods or passengers
    • Y02T10/60Other road transportation technologies with climate change mitigation effect
    • Y02T10/7072Electromobility specific charging systems or methods for batteries, ultracapacitors, supercapacitors or double-layer capacitors
    • YGENERAL TAGGING OF NEW TECHNOLOGICAL DEVELOPMENTS; GENERAL TAGGING OF CROSS-SECTIONAL TECHNOLOGIES SPANNING OVER SEVERAL SECTIONS OF THE IPC; TECHNICAL SUBJECTS COVERED BY FORMER USPC CROSS-REFERENCE ART COLLECTIONS [XRACs] AND DIGESTS
    • Y02TECHNOLOGIES OR APPLICATIONS FOR MITIGATION OR ADAPTATION AGAINST CLIMATE CHANGE
    • Y02TCLIMATE CHANGE MITIGATION TECHNOLOGIES RELATED TO TRANSPORTATION
    • Y02T10/00Road transport of goods or passengers
    • Y02T10/80Technologies aiming to reduce greenhouse gasses emissions common to all road transportation technologies
    • Y02T10/88Optimized components or subsystems, e.g. lighting, actively controlled glasses
    • YGENERAL TAGGING OF NEW TECHNOLOGICAL DEVELOPMENTS; GENERAL TAGGING OF CROSS-SECTIONAL TECHNOLOGIES SPANNING OVER SEVERAL SECTIONS OF THE IPC; TECHNICAL SUBJECTS COVERED BY FORMER USPC CROSS-REFERENCE ART COLLECTIONS [XRACs] AND DIGESTS
    • Y02TECHNOLOGIES OR APPLICATIONS FOR MITIGATION OR ADAPTATION AGAINST CLIMATE CHANGE
    • Y02TCLIMATE CHANGE MITIGATION TECHNOLOGIES RELATED TO TRANSPORTATION
    • Y02T90/00Enabling technologies or technologies with a potential or indirect contribution to GHG emissions mitigation
    • Y02T90/10Technologies relating to charging of electric vehicles
    • Y02T90/14Plug-in electric vehicles

Definitions

  • the present disclosure relates to an air conditioner used in a vehicle.
  • Patent Document 1 describes a battery temperature control device that performs air conditioning (that is, cooling and heating) and temperature control of the battery.
  • the battery temperature control device includes a compressor, an indoor condenser, an outdoor condenser, an evaporator, an expansion valve, a low temperature heat exchanger, and a battery temperature control unit. Then, when charging the battery from the outside of the vehicle, the battery is preheated by the power received from the outside of the vehicle, and the heat stored in the battery is used for heating and the like.
  • the battery temperature control device When the battery temperature control device performs charging from the outside of the vehicle, it determines the necessity of heat storage in the battery, and when it is determined that heat storage is necessary, the battery being charged is more than when it is determined that heat storage is unnecessary. Set the target temperature high.
  • the target temperature of the battery is not set uniformly, and when it is determined that heat storage is necessary, the target temperature is set higher than when it is determined that heat storage is unnecessary. Therefore, when it is not necessary to store heat, it is possible to suppress power consumption at the time of external charging, but when it is necessary to store heat, it is possible to store heat that can be dissipated in the battery.
  • the battery can be effectively used as a heat storage portion while eliminating waste of power consumption at the time of external charging.
  • energy saving of heating can be achieved by utilizing the heat stored in the battery for heating and the like.
  • the present disclosure is directed to an air conditioner that performs cooling and heating of air, in which the amount of heat storage at the time of charging is increased to further save energy.
  • a vehicle air conditioner is: A compressor that sucks, compresses and discharges the refrigerant; A heating unit that heats the air blown into the space to be air-conditioned using the heat of the refrigerant discharged from the compressor as a heat source; A heat dissipation unit that radiates the heat of the refrigerant to the outside air; A cooling unit that cools air using cold energy of the refrigerant; A heat medium cooling heat exchanger that exchanges heat between the refrigerant and the heat medium to cool the heat medium; A decompressor capable of decompressing the refrigerant flowing into the heat medium cooling heat exchanger; The heat medium cooling heat exchanger absorbs heat from the heat medium to the refrigerant, and the air heating mode heats the air in the heating unit; the air cooling mode heats the outside air from the refrigerant in the heat radiating unit and cools the air in the cooling unit; Mode switching unit for switching Supplying a power to a traveling motor of the vehicle,
  • the refrigerant cools the air in the cooling unit, and the refrigerant dissipates the outside air in the heat radiating unit, whereby the air cooling mode can be realized.
  • the refrigerant absorbs heat from the outside air in the heat radiating portion, and the air generated by the heating portion can be heated to realize the air heating mode.
  • the heat generated by the battery is stored in the heat medium of the heat medium circuit, so that the heat capacity of the battery can be exceeded and stored. Therefore, since the heat storage amount can be increased, it is possible to achieve further energy saving by more effectively using the heat generated by charging.
  • a vehicle air conditioner is: A compressor that sucks, compresses and discharges the refrigerant; A heating unit that heats the air blown into the space to be air-conditioned using the heat of the refrigerant discharged from the compressor as a heat source; A heat dissipation unit that radiates the heat of the refrigerant to the outside air; A cooling unit that cools air using cold energy of the refrigerant; A heat medium cooling heat exchanger that exchanges heat between the refrigerant and the heat medium to cool the heat medium; A decompressor capable of decompressing the refrigerant flowing into the heat medium cooling heat exchanger; The heat medium cooling heat exchanger absorbs heat from the heat medium to the refrigerant, and the air heating mode heats the air in the heating unit; the air cooling mode heats the outside air from the refrigerant in the heat radiating unit and cools the air in the cooling unit; Mode switching unit for switching A heat generating device which generates heat when a battery for
  • the air cooling mode and the air heating mode can be effectively realized.
  • the heat generated by the heat generating device is stored in the heat medium of the heat medium circuit, so that heat can be stored exceeding the heat capacity of the heat generating device. Therefore, since the heat storage amount can be increased, it is possible to achieve further energy saving by more effectively using the heat generated by charging.
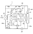
  • the vehicle air conditioner 1 shown in FIGS. 1 and 2 is an air conditioner that adjusts the vehicle interior space (in other words, the air conditioning target space) to an appropriate temperature.
  • the vehicle air conditioner 1 has a refrigeration cycle apparatus 10.
  • the refrigeration cycle apparatus 10 is mounted on a hybrid vehicle that obtains a driving force for vehicle traveling from an engine (in other words, an internal combustion engine) and a traveling motor (in other words, an electric motor).
  • the hybrid vehicle of the present embodiment is configured as a plug-in hybrid vehicle capable of charging a battery (in other words, an on-board battery) mounted on the vehicle with electric power supplied from an external power supply (in other words, a commercial power supply) It is done.
  • a battery in other words, an on-board battery
  • an external power supply in other words, a commercial power supply
  • a lithium ion battery can be used as the battery.
  • the high voltage is a voltage higher than the voltage of the home power source, and is, for example, a voltage such as 400 V or 500 V.
  • the driving force output from the engine is used not only for driving the vehicle but also for operating the generator.
  • the electric power generated by the generator and the electric power supplied from the external power supply can be stored in the battery, and the electric power stored in the battery constitutes the refrigeration cycle apparatus 10 as well as the driving motor. It is supplied to various in-vehicle devices including electric components.
  • the refrigeration cycle apparatus 10 includes a compressor 11, a condenser 12, a first expansion valve 80, an outdoor heat exchanger 81, a second expansion valve 13, an air cooling evaporator 14, a constant pressure valve 15, a third expansion valve 16, and cooling.
  • This is a vapor compression type refrigerator equipped with a water cooling evaporator 17.
  • a fluorocarbon-based refrigerant is used as the refrigerant, and a subcritical refrigeration cycle in which the high-pressure side refrigerant pressure does not exceed the critical pressure of the refrigerant is configured.
  • the refrigeration cycle apparatus 10 includes a series refrigerant flow path 10a, a first parallel refrigerant flow path 10b, a second parallel refrigerant flow path 10c, an outdoor unit bypass flow path 10d, and an evaporator bypass flow path 10e.
  • the series refrigerant flow path 10a, the first parallel refrigerant flow path 10b, the second parallel refrigerant flow path 10c, the outdoor unit bypass flow path 10d and the evaporator bypass flow path 10e are flow paths through which the refrigerant flows.
  • a refrigerant circulation circuit in which the refrigerant circulates is formed by the series refrigerant flow passage 10a, the first parallel refrigerant flow passage 10b, and the second parallel refrigerant flow passage 10c.
  • the first parallel refrigerant flow passage 10 b and the second parallel refrigerant flow passage 10 c are connected to the series refrigerant flow passage 10 a so that the refrigerant flows in parallel to each other.
  • the compressor 11, the condenser 12, the first expansion valve 80, and the outdoor heat exchanger 81 are arranged in series in this order in the refrigerant flow in the series refrigerant flow path 10a.
  • the second expansion valve 13 In the first parallel refrigerant flow passage 10b, the second expansion valve 13, the air cooling evaporator 14 and the constant pressure valve 15 are arranged in series in this order in the flow of the refrigerant.
  • the third expansion valve 16 and the cooling water cooling evaporator 17 are arranged in series in this order in the flow of the refrigerant.
  • the refrigerant is circulated in the order of the compressor 11, the condenser 12, the second expansion valve 13, the air cooling evaporator 14, the constant pressure valve 15, and the compressor 11 by the series refrigerant flow path 10a and the first parallel refrigerant flow path 10b.
  • a circulation circuit is formed.
  • a refrigerant circulation circuit in which the refrigerant circulates in the order of the compressor 11, the condenser 12, the third expansion valve 16, and the cooling water cooling evaporator 17 is formed by the series refrigerant flow passage 10a and the second parallel refrigerant flow passage 10c.
  • the outdoor unit bypass flow passage 10 d is a flow passage through which the refrigerant flowing out of the condenser 12 bypasses the outdoor heat exchanger 81.
  • the evaporator bypass flow passage 10 e is a flow passage through which the refrigerant flowing out of the outdoor heat exchanger 81 bypasses the air cooling evaporator 14.
  • junction of the outdoor bypass passage 10d and the series refrigerant passage 10a is located downstream of the junction of the evaporator bypass passage 10e and the series refrigerant passage 10a.
  • An outdoor unit bypass solenoid valve 83 is disposed in the outdoor unit bypass flow passage 10d.
  • the outdoor unit bypass solenoid valve 83 opens and closes the outdoor unit bypass flow passage 10d.
  • the operation of the outdoor unit bypass solenoid valve 83 is controlled by the control device 60.
  • the outdoor unit bypass solenoid valve 83 By controlling the outdoor unit bypass solenoid valve 83 such that the refrigerant flowing out of the condenser 12 flows through the outdoor unit bypass flow path 10d, the flow rate of the refrigerant flowing through the outdoor heat exchanger 81 is reduced, and the outdoor heat exchanger 81 The amount of heat exchange at can be reduced.
  • An evaporator bypass solenoid valve 84 is disposed in the evaporator bypass flow passage 10 e.
  • the evaporator bypass solenoid valve 84 opens and closes the evaporator bypass flow passage 10 e.
  • the operation of the evaporator bypass solenoid valve 84 is controlled by the controller 60.
  • the flow rate of the refrigerant flowing through the air cooling evaporator 14 is reduced to perform air cooling
  • the amount of heat exchange in the evaporator 14 can be reduced.
  • the compressor 11 is an electric compressor driven by electric power supplied from a battery, and sucks, compresses and discharges the refrigerant of the refrigeration cycle apparatus 10.
  • the compressor 11 may be a variable displacement compressor driven by a belt.
  • the condenser 12 is a high pressure side refrigerant heat medium heat exchanger that condenses the high pressure side refrigerant by heat exchange between the high pressure side refrigerant discharged from the compressor 11 and the cooling water of the high temperature cooling water circuit 20.
  • the condenser 12 is a heat medium heating heat exchanger that heats the cooling water of the high temperature cooling water circuit 20 by heat exchange between the high pressure side refrigerant discharged from the compressor 11 and the cooling water of the high temperature cooling water circuit 20. .
  • the cooling water of the high temperature cooling water circuit 20 is a fluid as a heat medium.
  • the cooling water of the high temperature cooling water circuit 20 is a high temperature heating medium.
  • a liquid containing at least ethylene glycol, dimethylpolysiloxane or a nanofluid, or an antifreeze liquid is used as the cooling water of the high temperature cooling water circuit 20.
  • the high temperature coolant circuit 20 is a high temperature heat medium circuit in which a high temperature heat medium circulates.
  • the first expansion valve 80 is a first decompression device that decompresses and expands the liquid phase refrigerant flowing out of the condenser 12.
  • the first expansion valve 80 is an electric variable throttle mechanism, and has a valve body and an electric actuator.
  • the valve body is configured to be capable of changing the passage opening degree of the refrigerant passage (in other words, the throttle opening degree).
  • the electric actuator has a stepping motor that changes the throttle opening of the valve body.
  • the first expansion valve 80 is configured by a variable throttle mechanism with a fully open function that fully opens the refrigerant passage. The operation of the first expansion valve 80 is controlled by a control signal output from the controller 60.
  • the outdoor heat exchanger 81 is a refrigerant outside air heat exchanger that exchanges heat between the refrigerant decompressed and expanded by the first expansion valve 80 and the outside air.
  • the outdoor heat exchanger 81 is a heat radiating portion that radiates the heat of the refrigerant to the outside air.
  • the outdoor heat exchanger 81 When the temperature of the refrigerant flowing through the outdoor heat exchanger 81 is lower than the temperature of the outside air, the outdoor heat exchanger 81 functions as a heat absorber that absorbs the heat of the outside air by the refrigerant. When the temperature of the refrigerant flowing through the outdoor heat exchanger 81 is higher than the temperature of the outside air, the outdoor heat exchanger 81 functions as a radiator that radiates the heat of the refrigerant to the outside air.
  • the first expansion valve 80 is a mode switching unit that switches between the heating mode and the cooling mode. By controlling the opening degree of the first expansion valve 80, it is possible to switch between the state in which the outdoor heat exchanger 81 functions as a heat absorber and the state in which the outdoor heat exchanger 81 functions as a radiator.
  • the outdoor heat exchanger 81 By making the outdoor heat exchanger 81 function as a heat absorber, the heat of the outside air can be used for heating. By causing the outdoor heat exchanger 81 to function as a radiator, it is possible to dissipate excess heat among the heat generated by the refrigeration cycle apparatus 10 to the outside air.
  • the second expansion valve 13 is a second decompression device that decompresses and expands the liquid phase refrigerant flowing out of the outdoor heat exchanger 81.
  • the second expansion valve 13 is a mechanical temperature expansion valve.
  • the mechanical expansion valve is a thermal expansion valve that has a temperature sensing unit and drives a valve body by a mechanical mechanism such as a diaphragm.
  • a first on-off valve 18 is disposed in the first parallel refrigerant flow passage 10b.
  • the first on-off valve 18 is an electromagnetic valve that opens and closes the first parallel refrigerant flow passage 10 b.
  • the operation of the first on-off valve 18 is controlled by a control signal output from the controller 60.
  • the first on-off valve 18 is a mode switching unit that switches between the heating mode and the cooling mode.
  • the second expansion valve 13 is configured by a variable throttle mechanism with a fully closing function that fully closes the refrigerant passage. That is, the second expansion valve 13 can shut off the flow of the refrigerant by fully closing the refrigerant passage.
  • the operation of the second expansion valve 13 is controlled by a control signal output from a controller 60 shown in FIG.
  • the air-cooling evaporator 14 is an air-cooling heat exchanger that exchanges heat between the refrigerant flowing out of the second expansion valve 13 and the air blown into the vehicle compartment to cool the air blown into the vehicle compartment.
  • the air cooling evaporator 14 is a cooling unit that cools air by using cold heat of a refrigerant. In the air cooling evaporator 14, the refrigerant absorbs heat from the air blown into the vehicle compartment.
  • the constant pressure valve 15 is a pressure adjusting unit (in other words, a pressure adjusting pressure reducing unit) that maintains the pressure of the refrigerant at the outlet side of the air cooling evaporator 14 at a predetermined value.
  • the constant pressure valve 15 is configured by a mechanical variable throttle mechanism. Specifically, when the pressure of the refrigerant at the outlet side of the air cooling evaporator 14 falls below a predetermined value, the constant pressure valve 15 reduces the passage area (i.e., the throttle opening degree) of the refrigerant passage, and the air cooling evaporator 14 When the pressure of the refrigerant at the outlet side of the valve exceeds a predetermined value, the passage area (i.e., the throttle opening) of the refrigerant passage is increased.
  • the passage area i.e., the throttle opening
  • a fixed throttle consisting of an orifice, a capillary tube or the like may be adopted.
  • the third expansion valve 16 is a third decompression device that decompresses and expands the liquid phase refrigerant flowing out of the outdoor heat exchanger 81.
  • the third expansion valve 16 is, like the second expansion valve 13, a mechanical temperature expansion valve.
  • the second on-off valve 19 is disposed in the second parallel refrigerant flow passage 10c.
  • the second on-off valve 19 is an electromagnetic valve that opens and closes the second parallel refrigerant flow passage 10c.
  • the operation of the second on-off valve 19 is controlled by a control signal output from the controller 60.
  • the cooling water cooling evaporator 17 is a low pressure side refrigerant heat medium heat exchanger that evaporates the low pressure refrigerant by heat exchange between the low pressure refrigerant flowing out of the third expansion valve 16 and the cooling water of the low temperature cooling water circuit 30. .
  • the cooling water cooling evaporator 17 is a heat medium cooling heat exchanger which exchanges heat between the refrigerant and the low temperature cooling water circuit 30 to cool the cooling water of the low temperature cooling water circuit 30.
  • the gas phase refrigerant evaporated in the cooling water cooling evaporator 17 is drawn into the compressor 11 and compressed.
  • the cooling water of the low temperature cooling water circuit 30 is a fluid as a heat medium.
  • the cooling water of the low temperature cooling water circuit 30 is a low temperature heating medium.
  • a liquid containing at least ethylene glycol, dimethylpolysiloxane or nanofluid, or an antifreeze liquid is used as the cooling water of the low temperature cooling water circuit 30.
  • the low temperature coolant circuit 30 is a low temperature heat medium circuit in which a low temperature heat medium circulates.
  • a condenser 12 In the high temperature coolant circuit 20, a condenser 12, a high temperature side pump 21, a heater core 22, a radiator 23, a two-way valve 24, and a high temperature side reserve tank 25 are disposed.
  • the high temperature side pump 21 is a heat medium pump that sucks in and discharges the cooling water.
  • the high temperature side pump 21 is an electric pump.
  • the high temperature side pump 21 is a high temperature side flow rate adjustment unit that adjusts the flow rate of the cooling water circulating in the high temperature cooling water circuit 20.
  • the first low temperature side pump 31 and the second low temperature side pump 34 are low temperature side flow rate adjustment units that adjust the flow rate of the cooling water circulating in the low temperature cooling water circuit 30.
  • the heater core 22 is an air heating heat exchanger that heat-exchanges the cooling water of the high-temperature coolant circuit 20 with the air blown into the vehicle compartment to heat the air blown into the vehicle compartment.
  • the heater core 22 is an air heating heat exchanger that heats the air by heat exchange between the cooling water of the high temperature coolant circuit 20 and the air blown into the vehicle compartment.
  • the condenser 12 and the heater core 22 are heating units that use the heat of the refrigerant discharged from the compressor 11 as a heat source to heat the air blown into the space to be air conditioned.
  • the radiator 23 is a high-temperature heat medium external air heat exchanger that exchanges heat between the cooling water of the high-temperature cooling water circuit 20 and the outside air.
  • the condenser 12 and the radiator 23 are heat radiating parts that radiate the heat of the refrigerant to the outside air.
  • the radiator 23 is a radiator common to both the high temperature coolant circuit 20 and the low temperature coolant circuit 30. Outside air is blown to the radiator 23 and the outdoor heat exchanger 81 by the outdoor blower 41.
  • the radiator 23 is a radiator common to both the high temperature coolant circuit 20 and the low temperature coolant circuit 30. Outside air is blown to the radiator 23 and the outdoor heat exchanger 81 by the outdoor blower 41 shown in FIG.
  • the outdoor blower 41 is an outside air blower that blows outside air toward the radiator 23 and the outdoor heat exchanger 81.
  • the outdoor blower 41 is an electric blower which drives a fan by an electric motor.
  • the radiator 23, the outdoor heat exchanger 81, and the outdoor blower 41 are disposed at the foremost part of the vehicle. Therefore, the traveling wind can be applied to the radiator 23 and the outdoor heat exchanger 81 when the vehicle travels.
  • the condenser 12, the high temperature side pump 21 and the heater core 22 are disposed in the high temperature side circulation flow passage 20a.
  • the high temperature side circulation flow passage 20a is a flow passage through which the high temperature side cooling water circulates.
  • the radiator 23 and the two-way valve 24 are disposed in the radiator flow passage 20b.
  • the radiator flow passage 20 b is a flow passage through which the high temperature side cooling water flows in parallel to the heater core 22.
  • a part of the radiator flow passage 20 b constitutes a part of the low temperature coolant circuit 30. That is, a part of the radiator flow passage 20 b is a cooling water flow passage common to both the high temperature cooling water circuit 20 and the low temperature cooling water circuit 30.
  • the two-way valve 24 is a solenoid valve that opens and closes the radiator flow passage 20b. The operation of the two-way valve 24 is controlled by the controller 60.
  • the two-way valve 24 is a high temperature switching unit that switches the flow of the cooling water in the high temperature cooling water circuit 20.
  • the two-way valve 24 may be a thermostat.
  • the thermostat is a cooling water temperature responsive valve provided with a mechanical mechanism that opens and closes the cooling water flow path by displacing the valve body by a thermowax that changes its volume depending on temperature.
  • the high temperature side reserve tank 25 is a cooling water storage unit that stores excess cooling water. By storing the excess cooling water in the high temperature side reserve tank 25, it is possible to suppress a decrease in the amount of cooling water circulating in each flow path.
  • the high temperature side reserve tank 25 is a closed reserve tank or an open air reserve tank.
  • the closed reserve tank is a reserve tank in which the pressure at the liquid surface of the stored cooling water is a predetermined pressure.
  • the open air type reserve tank is a reserve tank in which the pressure at the liquid surface of the stored cooling water is atmospheric pressure.
  • a cooling water cooling evaporator 17 In the low temperature cooling water circuit 30, a cooling water cooling evaporator 17, a first low temperature side pump 31, a radiator 23, a battery 33, a second low temperature side pump 34, an inverter 35, a charger 36, a motor generator 37, a first three-way valve 38, a second three-way valve 39 and a low temperature side reserve tank 40 are disposed.
  • the first low temperature side pump 31 and the second low temperature side pump 34 are heat medium pumps that suck and discharge the cooling water.
  • the first low temperature side pump 31 and the second low temperature side pump 34 are electric pumps.
  • the battery 33, the inverter 35, the charger 36, and the motor generator 37 shown in FIGS. 1 and 2 are in-vehicle devices mounted in a vehicle, and are heat generating devices that generate heat as they operate.
  • the battery 33 and the charger 36 are charging system heat generating devices that generate heat as the battery 33 is charged.
  • Inverter 35 and motor generator 37 are traveling system heat generating devices that generate heat in response to the supply of power from battery 33.
  • the battery 33, the inverter 35, the charger 36 and the motor generator 37 dissipate the waste heat generated as the operation is performed to the cooling water of the low temperature cooling water circuit 30.
  • the battery 33, the inverter 35, the charger 36 and the motor generator 37 supply heat to the cooling water of the low temperature cooling water circuit 30.
  • the inverter 35 is a power conversion unit that converts DC power supplied from the battery 33 into AC power and outputs the AC power to the motor generator 37.
  • the charger 36 is a charger for charging the battery 33.
  • the motor generator 37 generates driving power for traveling using the electric power output from the inverter 35, and generates regenerative electric power during deceleration or downhill.
  • the upper limit temperature of the battery 33 is about 50.degree.
  • the upper limit temperature of the inverter 35 and the motor generator 37 is higher than the upper limit temperature of the battery 33, and is about 65 ° C., for example.
  • the upper limit temperature of charger 36 is higher than the upper limit temperatures of inverter 35 and motor generator 37.
  • the battery 33, the inverter 35, the charger 36 and the motor generator 37 need to be maintained at a temperature lower than the upper limit temperature (in other words, the protection temperature) in order to prevent deterioration or failure.
  • the low temperature side reserve tank 40 is a cooling water storage unit that stores excess cooling water. By storing the excess cooling water in the low temperature side reserve tank 40, it is possible to suppress a decrease in the amount of cooling water circulating in each flow path.
  • the low temperature side reserve tank 40 is a closed reserve tank or an open air reserve tank.
  • the closed reserve tank is a reserve tank in which the pressure at the liquid surface of the stored cooling water is a predetermined pressure.
  • the open air type reserve tank is a reserve tank in which the pressure at the liquid surface of the stored cooling water is atmospheric pressure.
  • the first three-way valve 38, the first low temperature side pump 31, the cooling water cooling evaporator 17, and the low temperature side reserve tank 40 are disposed in the low temperature side main flow passage 30a.
  • the low temperature side main flow passage 30a is a flow passage through which the low temperature side cooling water flows.
  • the battery 33 and the charger 36 are disposed in the battery flow passage 30c.
  • the battery flow passage 30c is connected to the low temperature side main flow passage 30a.
  • the low temperature side main flow passage 30a and the battery flow passage 30c form a cooling water circuit in which the low temperature side cooling water is circulated.
  • a first three-way valve 38 is disposed at the connection between the low temperature side main flow passage 30a and the battery flow passage 30c.
  • the first three-way valve 38 switches between a state in which the cooling water in the low temperature side main flow path 30 a circulates in the battery flow path 30 c and a state in which the cooling water does not circulate.
  • the operation of the first three-way valve 38 is controlled by the controller 60.
  • the second low temperature side pump 34, the inverter 35 and the motor generator 37 are disposed in the device flow path 30d.
  • the low temperature side main flow passage 30a and the device flow passage 30d form a cooling water circuit in which the low temperature side cooling water circulates.
  • a bypass flow passage 30e is connected to the device flow passage 30d.
  • the device flow path 30 d and the bypass flow path 30 e form a cooling water circuit in which the low temperature side cooling water circulates.
  • a second three-way valve 39 is disposed at the connection between the device flow path 30d and the bypass flow path 30e.
  • the second three-way valve 39 switches between a state in which the cooling water in the low temperature side main flow passage 30a circulates in the device flow passage 30d and a state in which the cooling water in the device flow passage 30d circulates in the bypass flow passage 30e. Switch between non-circulating state.
  • the operation of the second three-way valve 39 is controlled by the controller 60.
  • the first three-way valve 38 and the second three-way valve 39 are low temperature switching units that switch the flow of the cooling water in the low temperature cooling water circuit 30.
  • the radiator connection channels 30f, 30g are cooling water channels connecting the low temperature side main channel 30a and the radiator channel 20b.
  • the low temperature side main flow passage 30a, the radiator connection flow passages 30f and 30g, and the radiator flow passage 20b form a cooling water circuit in which the low temperature side cooling water circulates.
  • a radiator two-way valve 42 is disposed in the radiator connection flow passage 30 f.
  • the radiator two-way valve 42 opens and closes the radiator connection flow passage 30 f.
  • the operation of the radiator two-way valve 42 is controlled by the controller 60.
  • the radiator two-way valve 42 is a low temperature switching unit that switches the flow of the cooling water in the low temperature cooling water circuit 30.
  • the radiator two-way valve 42 may be a thermostat.
  • the air cooling evaporator 14 and the heater core 22 are housed in a casing 51 (hereinafter referred to as an air conditioning casing) of the indoor air conditioning unit 50 shown in FIG. 1.
  • the indoor air conditioning unit 50 is disposed inside the instrument panel (not shown) at the front of the passenger compartment.
  • the air conditioning casing 51 is an air passage forming member that forms an air passage.
  • the heater core 22 is disposed on the air flow downstream side of the air cooling evaporator 14 in the air passage in the air conditioning casing 51.
  • an inside / outside air switching box 52 and an indoor blower 53 are disposed in the air conditioning casing 51.
  • the inside / outside air switching box 52 is an inside / outside air switching unit that switches and introduces inside air and outside air to the air passage in the air conditioning casing 51.
  • the indoor blower 53 sucks and blows the inside air and the outside air introduced into the air passage in the air conditioning casing 51 through the inside / outside air switching box 52.
  • An air mix door 54 is disposed between the air cooling evaporator 14 and the heater core 22 in the air passage in the air conditioning casing 51.
  • the air mix door 54 adjusts the volume ratio of the cold air flowing into the heater core 22 and the cold air flowing through the cold air bypass passage 55 among the cold air having passed through the air cooling evaporator 14.
  • the air mix door 54 is an air heating amount adjustment unit that adjusts the heating amount of air in the heater core 22.
  • the air mix door 54 is a mode switching unit that switches between the heating mode and the cooling mode.
  • the cold air bypass passage 55 is an air passage through which the cold air that has passed through the air cooling evaporator 14 flows to bypass the heater core 22.
  • the air mix door 54 is a rotary door having a rotary shaft rotatably supported on the air conditioning casing 51 and a door base portion coupled to the rotary shaft. By adjusting the position of the air mix door 54, the temperature of the conditioned air blown out from the air conditioning casing 51 into the vehicle compartment can be adjusted to a desired temperature.
  • the rotation shaft of the air mix door 54 is driven by a servomotor.
  • the operation of the servomotor is controlled by the controller 60.
  • the air mix door 54 may be a slide door that slides in a direction substantially orthogonal to the air flow.
  • the sliding door may be a plate-like door formed of a rigid body. It may be a film door formed of a flexible film material.
  • the conditioned air whose temperature has been adjusted by the air mix door 54 is blown out from the air outlet 56 formed in the air conditioning casing 51 into the vehicle compartment.
  • the control device 60 shown in FIG. 3 is composed of a known microcomputer including a CPU, a ROM, a RAM and the like, and peripheral circuits thereof.
  • the control device 60 performs various operations and processing based on the control program stored in the ROM.
  • Various control target devices are connected to the output side of the control device 60.
  • the control device 60 is a control unit that controls the operation of various control target devices.
  • the control target devices controlled by the control device 60 include the compressor 11, the first expansion valve 80, the second expansion valve 13, the third expansion valve 16, the outdoor blower 41, the high temperature side pump 21, the two-way valve 24, the first The low-temperature side pump 31, the second low-temperature side pump 34, the first three-way valve 38, the second three-way valve 39, the radiator two-way valve 42, and the like.
  • the software and hardware for controlling the electric motor of the compressor 11 in the control device 60 are a refrigerant discharge capacity control unit.
  • Software and hardware for controlling the first expansion valve 80, the second expansion valve 13, and the third expansion valve 16 in the control device 60 is a throttle control unit.
  • Software and hardware for controlling the high temperature side pump 21 in the control device 60 is a high temperature heat medium flow rate control unit.
  • the software and hardware for controlling the first low temperature side pump 31 and the second low temperature side pump 34 in the control device 60 is a low temperature heat medium flow rate control unit.
  • Software and hardware for controlling the outdoor blower 41 in the control device 60 are an outdoor air blowing capacity control unit.
  • the software and hardware for controlling the two-way valve 24 in the controller 60 is a two-way valve control unit.
  • the software and hardware for controlling the first three-way valve 38 in the controller 60 is a first three-way valve control unit.
  • Software and hardware for controlling the second three-way valve 39 in the controller 60 is a second three-way valve control unit.
  • Various control sensor groups such as a temperature sensor 68 and a window surface humidity sensor 69 are connected.
  • the inside air temperature sensor 61 detects a temperature Tr in the passenger compartment.
  • the outside air temperature sensor 62 detects the outside air temperature Tam.
  • the solar radiation amount sensor 63 detects the solar radiation amount Ts in the vehicle compartment.
  • the evaporator temperature sensor 64 is a temperature detection unit that detects the temperature of the air cooling evaporator 14.
  • the evaporator temperature sensor 64 is, for example, a fin thermistor that detects the temperature of heat exchange fins of the air cooling evaporator 14 or a refrigerant temperature sensor that detects the temperature of the refrigerant flowing through the air cooling evaporator 14.
  • the heater core temperature sensor 65 is a temperature detection unit that detects the temperature of the heater core 22.
  • the heater core temperature sensor 65 is, for example, a fin thermistor that detects the temperature of heat exchange fins of the heater core 22, a refrigerant temperature sensor that detects the temperature of cooling water flowing through the heater core 22, and air that detects the temperature of air flowing out of the heater core 22. It is a temperature sensor or the like.
  • the refrigerant pressure sensor 66 is a refrigerant pressure detection unit that detects the pressure of the refrigerant discharged from the compressor 11. Instead of the refrigerant pressure sensor 66, a refrigerant temperature sensor may be connected to the input side of the control device 60.
  • the refrigerant temperature sensor is a refrigerant pressure detection unit that detects the temperature of the refrigerant discharged from the compressor 11.
  • the controller 60 may estimate the pressure of the refrigerant based on the temperature of the refrigerant.
  • the high temperature coolant temperature sensor 67 is a temperature detection unit that detects the temperature of the coolant in the high temperature coolant circuit 20.
  • the high temperature coolant temperature sensor 67 detects the temperature of the coolant of the condenser 12.
  • the low temperature coolant temperature sensor 68 is a temperature detection unit that detects the temperature of the coolant in the low temperature coolant circuit 30. For example, the low temperature coolant temperature sensor 68 detects the temperature of the coolant of the coolant cooling evaporator 17.
  • the window surface humidity sensor 69 is configured of a near window humidity sensor, a near window air temperature sensor, and a window surface temperature sensor.
  • the near-window humidity sensor detects the relative humidity (hereinafter referred to as the near-window relative humidity) of the air in the vehicle room near the windshield in the vehicle room.
  • the near-window air temperature sensor detects the temperature of the air in the passenger compartment near the windshield.
  • the window surface temperature sensor detects the surface temperature of the windshield.
  • Various operation switches (not shown) are connected to the input side of the control device 60.
  • Various operation switches are provided on the operation panel 70 and operated by the occupant.
  • the operation panel 70 is disposed near the dashboard in the front of the vehicle compartment. Operation signals from various operation switches are input to the control device 60.
  • the various operation switches are an air conditioner switch, a temperature setting switch, and the like.
  • the air conditioner switch sets whether to cool the air in the indoor air conditioning unit 50 or not.
  • the temperature setting switch sets the set temperature of the vehicle interior.
  • the control device 60 switches the operation mode to one of the cooling mode shown in FIGS. 4 to 5 and the heating mode shown in FIGS. 6 to 7 based on the target blowing temperature TAO or the like.
  • the cooling mode is an air cooling mode for cooling the air blown into the vehicle compartment.
  • the heating mode is an air heating mode in which the air blown into the vehicle compartment is heated.
  • the target blowing temperature TAO is a target temperature of the blowing air blown out into the vehicle compartment.
  • Control device 60 calculates target blowout temperature TAO based on the following formula.
  • TAO Kset ⁇ Tset-Kr ⁇ Tr-Kam ⁇ Tam-Ks ⁇ Ts + C
  • Tset is a vehicle interior set temperature set by the temperature setting switch of the operation panel 70
  • Tr is the inside air temperature detected by the inside air temperature sensor 61
  • Tam is the outside air temperature detected by the outside air temperature sensor 62
  • Ts is It is a solar radiation amount detected by the solar radiation amount sensor 63.
  • Kset, Kr, Kam, and Ks are control gains
  • C is a correction constant.
  • the control device 60 switches to the dehumidifying and heating mode when it is determined that the window of the vehicle may become cloudy in the heating mode. For example, in the heating mode, the control device 60 calculates relative humidity RHW (hereinafter referred to as window surface relative humidity) of the vehicle interior side surface based on the detection value of the window surface humidity sensor 69, Based on the relative humidity RHW, it is determined whether the window of the vehicle may become cloudy.
  • RHW relative humidity
  • the window surface relative humidity RHW is an index that indicates the possibility of the windshield becoming cloudy. Specifically, the larger the value of the window surface relative humidity RHW, the higher the possibility of the windshield being clouded.
  • Cooling Mode In the cooling mode, the control device 60 sets the first expansion valve 80 in the fully open state, sets the second expansion valve 13 in the throttling state, and sets the third expansion valve 16 in the fully closed state.
  • the control device 60 determines operation states (control signals to be output to various control devices) of various control devices connected to the control device 60 based on the target blowout temperature TAO, detection signals of the sensor group, and the like.
  • the degree of superheat of the refrigerant flowing into the compressor 11 approaches a target degree of superheat determined in advance so that the coefficient of performance (so-called COP) of the cycle approaches the maximum value. To be determined.
  • the air mix door 54 With regard to the control signal output to the servo motor of the air mix door 54, the air mix door 54 is positioned at the solid line position in FIG. 1 to close the air passage of the heater core 22 and of the air passing through the air cooling evaporator 14. The total flow rate is determined to flow around the air passage of the heater core 22.
  • the compressor 11 and the high temperature side pump 21 are operated.
  • the two-way valve 24 opens the radiator flow passage 20b.
  • the cooling water of the high temperature cooling water circuit 20 circulates through the radiator 23 and the radiator 23 radiates heat to the outside air.
  • the cooling water of the high temperature cooling water circuit 20 also circulates through the heater core 22.
  • the air mixing door 54 blocks the air passage of the heater core 22, the heater core 22 hardly dissipates heat from the cooling water to the air. I can not do it.
  • the refrigerant flows as indicated by the broken line arrow in FIG. 1, and the state of the refrigerant circulating in the cycle changes as follows.
  • the high pressure refrigerant discharged from the compressor 11 flows into the condenser 12.
  • the refrigerant flowing into the condenser 12 releases heat to the cooling water of the high temperature cooling water circuit 20.
  • the refrigerant is cooled and condensed in the condenser 12.
  • the refrigerant flowing out of the condenser 12 flows into the first expansion valve 80. Since the first expansion valve 80 is fully open, the refrigerant is not decompressed and expanded in the first expansion valve 80.
  • the refrigerant flowing out of the first expansion valve 80 flows into the outdoor heat exchanger 81, and radiates heat to the outside air. Thereby, the refrigerant is cooled and condensed also in the first expansion valve 80.
  • the refrigerant flowing out of the first expansion valve 80 flows into the second expansion valve 13 and is decompressed and expanded in the second expansion valve 13 until it becomes a low pressure refrigerant.
  • the low-pressure refrigerant reduced in pressure by the second expansion valve 13 flows into the air cooling evaporator 14, absorbs heat from the air blown into the vehicle compartment, and is evaporated. Thus, the air blown into the vehicle compartment is cooled.
  • the low-pressure refrigerant can absorb heat from the air by the air cooling evaporator 14 to blow out the cooled air into the vehicle compartment. Thereby, cooling of the vehicle interior can be realized.
  • the third expansion valve 16 is put into a throttled state and the first low temperature side pump 31 is operated.
  • the refrigerant flowing out of the outdoor heat exchanger 81 flows into the third expansion valve 16 and is decompressed and expanded to the low pressure refrigerant by the third expansion valve 16. .
  • the low pressure refrigerant decompressed by the third expansion valve 16 flows into the cooling water cooling evaporator 17, absorbs heat from the cooling water of the low temperature cooling water circuit 30, and is evaporated. Thereby, the cooling water of the low temperature cooling water circuit 30 is cooled.
  • the first three-way valve 38 causes the cooling water in the low temperature side main flow passage 30a to circulate in the battery flow passage 30c.
  • the cooling water of the low temperature coolant circuit 30 circulates through the battery 33 and the charger 36 to cool the battery 33.
  • the second three-way valve 39 causes the cooling water in the low temperature side main flow passage 30a to circulate in the device flow passage 30d.
  • the cooling water of the low temperature cooling water circuit 30 circulates through the inverter 35 and the motor generator 37 to cool the inverter 35 and the motor generator 37.
  • the controller 60 brings the first expansion valve 80 into the throttling state, brings the second expansion valve 13 into the fully closed state, and brings the third expansion valve 16 into the throttling state.
  • the control device 60 determines operation states (control signals to be output to various control devices) of various control devices connected to the control device 60 based on the target blowout temperature TAO, detection signals of the sensor group, and the like.
  • the control signal output to the first expansion valve 80 is determined such that the temperature of the refrigerant flowing into the outdoor heat exchanger 81 is equal to or lower than the outside air temperature.
  • the control signal output to the third expansion valve 16 is determined so that the degree of superheat of the refrigerant flowing into the compressor 11 approaches a predetermined target degree of superheat.
  • the target degree of superheat is set so that the coefficient of performance (so-called COP) of the cycle approaches the maximum value.
  • the air mix door 54 With regard to the control signal output to the servo motor of the air mix door 54, the air mix door 54 is located at the broken line position in FIG. 1 to fully open the air passage of the heater core 22 and of the air passing through the air cooling evaporator 14. The total flow rate is determined to pass through the air passage of the heater core 22.
  • the compressor 11, the high temperature side pump 21, and the first low temperature side pump 31 are operated.
  • the two-way valve 24 closes the radiator flow passage 20b.
  • the cooling water of the high temperature cooling water circuit 20 circulates through the heater core 22 and is dissipated from the cooling water by the heater core 22 to the air blown into the vehicle compartment. Be done.
  • the first three-way valve 38 closes the battery flow passage 30c
  • the second three-way valve 39 closes the device flow passage 30d and the bypass flow passage 30e.
  • the refrigerant flows as indicated by solid arrows in FIG. 1, and the state of the refrigerant circulating in the cycle changes as follows.
  • the high pressure refrigerant discharged from the compressor 11 flows into the condenser 12, exchanges heat with the cooling water of the high temperature cooling water circuit 20, and radiates heat. Thereby, the cooling water of the high temperature cooling water circuit 20 is heated.
  • the refrigerant flowing out of the condenser 12 flows into the first expansion valve 80 and is depressurized so as to be equal to or lower than the outside air temperature. Then, the refrigerant decompressed by the first expansion valve 80 flows into the outdoor heat exchanger 81 and hardly exchanges heat with the outside air or absorbs heat from the outside air.
  • the refrigerant flowing out of the first expansion valve 80 flows into the third expansion valve 16 and is decompressed until it becomes a low pressure refrigerant. Then, the low pressure refrigerant decompressed by the third expansion valve 16 flows into the cooling water cooling evaporator 17, absorbs heat from the cooling water of the low temperature cooling water circuit 30, and evaporates.
  • the heat of the high pressure refrigerant discharged from the compressor 11 is dissipated to the cooling water of the high temperature cooling water circuit 20 by the condenser 12 and the heat of the cooling water of the high temperature cooling water circuit 20 is The heat can be released to the air by the heater core 22 and the air heated by the heater core 22 can be blown out into the vehicle interior. Thereby, heating of the vehicle interior can be realized.
  • the cooling water of the low temperature cooling water circuit 30 circulates through the radiator 23, the cooling water of the low temperature cooling water circuit 30 is absorbed from the outside air, and the low temperature refrigerant from the cooling water of the low temperature cooling water circuit 30 in the cooling water cooling evaporator 17 Can absorb heat. Therefore, the heat of the outside air can be used to heat the vehicle interior.
  • the outdoor unit bypass solenoid valve 83 may be opened to allow the refrigerant flowing out of the condenser 12 to flow by bypassing the first expansion valve 80 and the outdoor heat exchanger 81.
  • the battery 33, the inverter 35, the charger 36 and the motor generator 37 circulate the cooling water of the low temperature cooling water circuit 30, as shown by the thick lines in the low temperature cooling water circuit 30 of FIG. Absorbing waste heat of the inverter 35, the charger 36 and the motor generator 37 into the cooling water of the low temperature cooling water circuit 30, and absorbing heat from the cooling water of the low temperature cooling water circuit 30 into the low pressure refrigerant in the cooling water cooling evaporator 17. Can.
  • waste heat of battery 33, inverter 35, charger 36 and motor generator 37 can be used to heat the vehicle interior. Further, waste heat of the battery 33, the inverter 35, the charger 36 and the motor generator 37 can be used for defrosting of the radiator 23.
  • Waste heat can be used to heat and defrost the vehicle interior.
  • the temperature of the radiator 23 is increased by the heat remaining in the cooling water of the high temperature cooling water circuit 20 to melt the frost adhering to the surface of the radiator 23.
  • the control device 60 sets the first expansion valve 80 in the throttling state, sets the second expansion valve 13 in the fully closed state, and sets the third expansion valve 16 in the fully closed state.
  • the control device 60 determines operation states (control signals to be output to various control devices) of various control devices connected to the control device 60 based on the target blowout temperature TAO, detection signals of the sensor group, and the like.
  • the control signal output to the first expansion valve 80 is determined such that the temperature of the refrigerant flowing into the outdoor heat exchanger 81 is lower than the outside air temperature.
  • the control signal output to the third expansion valve 16 is determined so that the degree of superheat of the refrigerant flowing into the third expansion valve 16 approaches a predetermined target degree of superheat.
  • the target degree of superheat is set so that the coefficient of performance (so-called COP) of the cycle approaches the maximum value.
  • the air mix door 54 With regard to the control signal output to the servo motor of the air mix door 54, the air mix door 54 fully opens the air passage of the heater core 22, and the total flow rate of air passing through the air cooling evaporator 14 is the air passage of the heater core 22. It is decided to pass.
  • the compressor 11, the high temperature side pump 21, and the first low temperature side pump 31 are operated.
  • the two-way valve 24 closes the radiator flow passage 20b.
  • the cooling water of the high temperature cooling water circuit 20 circulates through the heater core 22 and is dissipated from the cooling water by the heater core 22 to the air blown into the vehicle compartment. Be done.
  • the refrigerant flows as indicated by the broken line arrow in FIG. 1, and the state of the refrigerant circulating in the cycle changes as follows.
  • the high pressure refrigerant discharged from the compressor 11 flows into the condenser 12, exchanges heat with the cooling water of the high temperature cooling water circuit 20, and radiates heat. Thereby, the cooling water of the high temperature cooling water circuit 20 is heated.
  • the refrigerant flowing out of the condenser 12 flows into the first expansion valve 80 and is depressurized so as to be lower than the outside air temperature. Then, the refrigerant decompressed by the first expansion valve 80 flows into the outdoor heat exchanger 81 and absorbs heat from the outside air.
  • the refrigerant flowing out of the outdoor heat exchanger 81 flows into the second expansion valve 13 and is decompressed until it becomes a low pressure refrigerant. Then, the low pressure refrigerant reduced in pressure by the second expansion valve 13 flows into the air cooling evaporator 14 and absorbs heat from the air blown into the vehicle compartment to evaporate. Thus, the air blown into the vehicle compartment is cooled and dehumidified. Then, the refrigerant flowing out of the air cooling evaporator 14 flows to the suction side of the compressor 11 and is compressed again by the compressor 11.
  • the heat of the high pressure refrigerant discharged from the compressor 11 is dissipated to the cooling water of the high temperature cooling water circuit 20 by the condenser 12 and the heat of the cooling water of the high temperature cooling water circuit 20 The heat is released to the air by the heater core 22.
  • the low pressure refrigerant decompressed by the third expansion valve 16 is absorbed from the air blown into the vehicle compartment by the air cooling evaporator 14, and the air cooled and dehumidified by the air cooling evaporator 14 is a heater core. It can heat at 22 and can blow out to a vehicle interior. Thereby, dehumidification heating of a vehicle interior can be realized.
  • the refrigerant expanded in pressure by the first expansion valve 80 flows into the outdoor heat exchanger 81 to absorb heat from the outside air by setting the first expansion valve 80 in the squeezed state. Therefore, the heat of the outside air can be used to heat the vehicle interior.
  • the low pressure refrigerant reduced in pressure by the third expansion valve 16 flows into the cooling water cooling evaporator 17 by bringing the third expansion valve 16 into a throttling state, and cooling of the low temperature cooling water circuit 30 It absorbs heat from water and evaporates.
  • the cooling water of the low temperature cooling water circuit 30 is circulated in the radiator 23 to absorb heat from the outside air to the cooling water of the low temperature cooling water circuit 30
  • the cooling water of the low temperature cooling water circuit 30 can absorb heat from the cooling water of the low temperature cooling water circuit 30 by the water cooling evaporator 17. Therefore, the heat of the outside air can be used to heat the vehicle interior.
  • the cooling water cooled by the cooling water cooling evaporator 17 is also circulated to the battery 33, the inverter 35, the charger 36 and the motor generator 37.
  • the waste heat of the battery 33, the inverter 35, the charger 36 and the motor generator 37 is absorbed by the cooling water of the low temperature cooling water circuit 30, and the cooling water of the low temperature cooling water circuit 30 is changed to a low pressure refrigerant in the cooling water cooling evaporator 17. It can be absorbed heat. Therefore, the waste heat of battery 33, inverter 35, charger 36 and motor generator 37 can be used to heat the vehicle interior.
  • proper cooling, heating, and dehumidifying heating of the vehicle compartment can be performed, and thus comfortable air conditioning of the vehicle compartment can be realized.
  • the control device 60 controls the first three-way valve 38 to be the battery flow path 30c and the first low temperature side.
  • the first three-way valve 38 and the second three-way valve 39 are controlled such that the second three-way valve 39 closes the device channel 30 d and the bypass channel 30 e while communicating with the pump 31.
  • the control device 60 controls the radiator two-way valve 42 so that the radiator two-way valve 42 closes the radiator connection flow passage 30 f.
  • a cooling water circuit is formed in which the cooling water is circulated among the cooling water cooling evaporator 17, the battery 33 and the charger 36.
  • the amount of heat generated by the battery 33 in the rapid charging can be stored in the cooling water circuit including the cooling water cooling evaporator 17. Therefore, the amount of stored heat can be used for heating after the start of the heating operation. Therefore, heating performance and cycle efficiency (so-called COP) can be improved.
  • the second three-way valve 39 opens the equipment flow path 30d and closes the bypass flow path 30e. Furthermore, the radiator two-way valve 42 closes the radiator connection channel 30f.
  • the switching temperature T1 is a temperature (for example, 45 ° C.) that may exceed the upper limit temperature (for example, about 50 ° C.) of the battery 33.
  • cooling water is circulated between cooling water cooling evaporator 17, battery 33, charger 36, inverter 35 and motor generator 37.
  • a circuit is formed.
  • the amount of heat generated by the battery 33 and the charger 36 in rapid charging can be stored in the cooling water circuit including not only the cooling water cooling evaporator 17 but also the inverter 35 and the motor generator 37. Can increase the heating performance and cycle efficiency (so-called COP).
  • the radiator two-way valve 42 may open the radiator connection channel 30f.
  • a cooling water circuit in which the cooling water is circulated is formed among the cooling water cooling evaporator 17, the battery 33, the charger 36, the inverter 35, the motor generator 37 and the radiator 23.
  • the radiator 23 hardly dissipates heat from the cooling water to the outside air.
  • the amount of heat generated by battery 33 and charger 36 in the rapid charging can be stored in the cooling water circuit including inverter 35, motor generator 37 and radiator 23 as well as cooling water cooling evaporator 17.
  • the heat storage amount can be further increased, which can further improve the heating performance and the cycle efficiency (so-called COP).
  • connection flow path 30 f may be opened, and the two-way valve 24 may open the radiator flow path 20 b.
  • the cooling water circuit in which the cooling water is circulated between the cooling water cooling evaporator 17, the battery 33, the charger 36, the inverter 35, the motor generator 37 and the condenser 12 is It is formed.
  • the radiator 23 hardly dissipates heat from the cooling water to the outside air. Further, since the indoor blower 53 is stopped and does not blow air to the heater core 22, heat dissipation from the cooling water to the air is hardly performed in the heater core 22.
  • the amount of heat generated by the battery 33 during rapid charging can be stored in the cooling water circuit that includes not only the cooling water cooling evaporator 17, the inverter 35, and the motor generator 37 but also the condenser 12.
  • the amount can be further increased, which can further improve the heating performance and cycle efficiency (so-called COP).
  • the first three-way valve 38 is at a low temperature. While making all the side main flow paths 30a and the battery flow path 30c communicate, the second three-way valve 39 closes the low temperature side main flow path 30a side and opens the bypass flow path 30e. Furthermore, the radiator two-way valve 42 opens the radiator connection flow passage 30f, and the two-way valve 24 opens the radiator flow passage 20b.
  • the heat release temperature T2 is a temperature (for example, 50 ° C.) near the upper limit temperature of the battery 33.
  • a cooling water circuit in which the cooling water circulates between the cooling water cooling evaporator 17, the battery 33, the charger 36, the radiator 23, the condenser 12, and the heater core 22;
  • a cooling water circuit in which the cooling water circulates is formed among the inverter 35, the motor generator 37, and the bypass flow passage 30e.
  • the heat possessed by the cooling water circulating through the battery 33 can be dissipated to the outside air by the radiator 23, so that the battery 33 can be protected from exceeding the upper limit temperature, and the battery 33 can be protected.
  • the heat quantity generated by the inverter 35 and the motor generator 37 can be stored in the cooling water circuit including the inverter 35, the motor generator 37 and the bypass flow passage 30e. Therefore, the protection of the battery 33 and the increase of the heat storage amount can be compatible.
  • bypass temperature T3 is a temperature (for example, 50 ° C.) near the upper limit temperature of the battery 33.
  • a cooling water circuit in which the cooling water circulates between the cooling water cooling evaporator 17, the battery 33 and the radiator 23, an inverter 35, a motor generator 37 and a bypass flow passage
  • a cooling water circuit is formed to circulate cooling water between 30e and 30e.
  • the heat possessed by the cooling water circulating the battery 33 can be dissipated to the outside air by the radiator 23, so that the battery 33 is suppressed from exceeding the upper limit temperature. It can protect.
  • inverter 35 and motor generator 37 Since the upper limit temperature of inverter 35 and motor generator 37 is higher than the upper limit temperature of battery 33, the temperature of inverter 35 and motor generator 37 at this time has a margin for the upper limit temperature. In view of this point, since the heat quantity generated by the inverter 35 and the motor generator 37 is stored in the cooling water circuit including the inverter 35, the motor generator 37 and the bypass flow passage 30e, protection of the battery 33 and increase of the stored heat amount Can be compatible.
  • the first three-way valve 38 and the second three-way valve 39 are cooled between the battery 33 and the charger 36 and the cooling water cooling evaporator 17 when the battery 33 is rapidly charged by the external power supply.
  • the flow of cooling water in the low temperature cooling water circuit 30 is switched so that the water circulates.
  • the heat generated by the battery 33 and the charger 36 is stored in the cooling water of the low temperature cooling water circuit 30, so the heat capacity of the battery 33 and the charger 36 is exceeded to store heat. can do. Therefore, since the heat storage amount can be increased, it is possible to achieve further energy saving by more effectively using the heat generated by the rapid charge.
  • the first three-way valve 38 and the second three-way valve 39 estimate that the temperature of the cooling water of the low temperature cooling water circuit 30 is equal to or higher than the switching temperature T1 when the battery 33 is charged by the external power supply. If so, the flow of the cooling water in the low temperature cooling water circuit 30 is switched so that the cooling water circulates between the battery 33, the cooling water cooling evaporator 17, the inverter 35 and the motor generator 37.
  • the heat generated by the battery 33 and the charger 36 is stored in the cooling water of the low temperature cooling water circuit 30, so that the heat capacity of the battery 33 and the charger 36 is exceeded and stored. be able to. Therefore, since the heat storage amount can be increased, it is possible to achieve further energy saving by more effectively using the heat generated by the rapid charge.
  • the two-way valve 24, the first three-way valve 38, the second three-way valve 39, and the radiator two-way valve 42 are cooling water of the low temperature cooling water circuit 30 when the battery 33 is charged by the external power supply.
  • the low temperature coolant circuit 30 and the high temperature coolant circuit 20 are connected when it is estimated that the temperature is higher than the switching temperature T1.
  • the heat generated by the battery 33 and the charger 36 is stored not only in the cooling water of the low temperature cooling water circuit 30 but also in the cooling water of the high temperature cooling water circuit 20.
  • the heat storage capacity can be further increased beyond the heat capacities of the battery 33 and the charger 36.
  • the first three-way valve 38 and the radiator two-way valve 42 estimate that the temperature of the cooling water of the low temperature cooling water circuit 30 is the radiation temperature T2 or more. If so, the flow of cooling water in the low temperature cooling water circuit 30 is switched such that the cooling water circulates between the battery 33 and the cooling water external air heat exchanger 32.
  • the battery 33 can be suppressed from exceeding the upper limit temperature, and the battery 33 can be protected.
  • the first three-way valve 38 and the second three-way valve 39 are estimated that the battery 33, the inverter 35 and the motor generator 37 have reached the bypass temperature T3 or more when the battery 33 is charged by the external power supply.
  • the flow of the cooling water in the low temperature cooling water circuit 30 is switched between the inverter 35 and the motor generator 37 and the bypass flow passage 30e so that the cooling water circulates independently of the battery 33.
  • the cooling water circuit in which the cooling water circulates between the cooling water cooling evaporator 17, the battery 33 and the radiator 23, and the cooling water circulates between the inverter 35, the motor generator 37 and the bypass flow passage 30 e Cooling water circuit is formed.
  • the amount of heat generated by inverter 35 and motor generator 37 includes inverter 35, motor generator 37 and bypass flow passage 30 e. Heat is stored in the cooling water circuit. This makes it possible to achieve both the protection of the battery 33 and the increase in the heat storage amount.
  • the first three-way valve 38 and the second three-way valve 39 circulate cooling water between the battery 33 and the charger 36 and the cooling water outside air heat exchanger 32. As described above, the flow of the cooling water in the low temperature cooling water circuit 30 may be switched.
  • the charger 36 is disposed in the battery channel 30c, but in the present embodiment, as shown in FIG. 14, the charger 36 is disposed in the device channel 30d. Also in the present embodiment, the same effects as those of the above embodiment can be obtained.
  • the first three-way valve 38 and the second three-way valve 39 charge the battery 36 when the temperature of the low temperature coolant circuit 30 is less than the cutoff temperature T4 while the battery 33 is being charged by the external power supply.
  • the cooling water is circulated between the battery 33 and the low temperature cooling water circuit 30 so that the cooling water does not circulate between the charger 36 and the battery 33 when the temperature of the low temperature cooling water circuit 30 is equal to or higher than the cutoff temperature T4. Switch the flow of cooling water at 30.
  • the cutoff temperature T4 is a temperature (for example, 50 ° C.) near the upper limit temperature of the battery 33.
  • a heat accumulator 85 is disposed in the cooling water circuit.
  • the heat storage unit 85 is a heat storage unit that stores the heat possessed by the cooling water.
  • the heat accumulator 85 has a larger heat capacity per unit volume than the cooling water.
  • the heat storage device 85 is disposed in the low temperature side main flow passage 30a, the battery flow passage 30c, and the device flow passage 30d.
  • the heat accumulator 85 may be disposed in at least one of the low temperature side main flow passage 30a, the battery flow passage 30c, and the device flow passage 30d.
  • the heat accumulator 85 is a portion of the low temperature cooling water circuit 30 where the cooling water circulates between the battery 33 and the charger 36 and the cooling water cooling evaporator 17, and the battery 33, the charger 36 and the inverter 35.
  • the motor generator 37 is disposed at least one of the sites through which the cooling water circulates.
  • the heat accumulator 85 can store the heat possessed by the cooling water during the rapid charge, the heat quantity generated by the battery 33 in the rapid charge can be further accumulated in the cooling water circuit. Therefore, since the heat storage amount can be further increased, the heating performance and the cycle efficiency (so-called COP) can be further improved.
  • the second expansion valve 13 and the third expansion valve 16 are mechanical temperature expansion valves, but the second expansion valve 13 and the third expansion valve 16 have electricity with a fully closed function. It may be a variable stop mechanism of the formula. In this case, the first on-off valve 18 and the second on-off valve 19 can be eliminated.
  • the electric variable throttle mechanism has a valve body and an electric actuator.
  • the valve body is configured to be capable of changing the passage opening degree of the refrigerant passage (in other words, the throttle opening degree).
  • the electric actuator has a stepping motor that changes the throttle opening of the valve body.
  • the operation of the second expansion valve 13 and the third expansion valve 16 can be controlled by a control signal output from the control device 60.
  • the constant pressure valve 15 is a mechanical variable throttle mechanism, but the constant pressure valve 15 may be an electrical variable throttle mechanism. In this case, the operation of the constant pressure valve 15 can be controlled by a control signal output from the control device 60.
  • radiator bypass flow passage is a cooling water flow passage through which the cooling water bypasses the radiator 23.
  • the bypass switching valve is an electromagnetic valve that switches a state in which the cooling water flows through the radiator 23 and a state in which the cooling water does not flow through the radiator 23. The operation of the bypass switching valve can be controlled by a control signal output from the controller 60.
  • the switching valve may be controlled so that the cooling water flows in the radiator bypass flow path and the cooling water does not flow in the radiator 23.
  • the charger 36 does not necessarily have to be mounted on the vehicle, and may be provided on equipment on the external power supply side.
  • cooling water is used as a heat carrier
  • various media such as oil, may be used as a heat carrier.
  • Nano fluid may be used as a heat carrier.
  • the nanofluid is a fluid in which nanoparticles having a particle size of nanometer order are mixed.
  • the following effects can be obtained by mixing the nanoparticles in the heat medium.
  • the effect of improving the thermal conductivity in a specific temperature zone the effect of increasing the heat capacity of the heat medium, the effect of preventing corrosion of metal piping and the deterioration of rubber piping, and the heat medium at extremely low temperature
  • Such effects vary depending on the particle configuration of the nanoparticles, the particle shape, the blending ratio, and the additive substance.
  • the thermal conductivity can be improved, it is possible to obtain the same cooling efficiency even with a small amount of heat medium as compared with the cooling water using ethylene glycol.
  • the heat capacity of the heat medium can be increased, the amount of stored heat due to the sensible heat of the heat medium itself can be increased.
  • the aspect ratio of the nanoparticles is preferably 50 or more. It is because sufficient thermal conductivity can be obtained.
  • the aspect ratio is a shape index that represents the ratio of length x width of the nanoparticles.
  • nanoparticles those containing any of Au, Ag, Cu and C can be used. Specifically, Au nanoparticles, Ag nanowires, CNTs, graphene, graphite core-shell nanoparticles, Au nanoparticle-containing CNTs, and the like can be used as constituent atoms of the nanoparticles.
  • CNTs are carbon nanotubes.
  • the graphite core-shell type nanoparticles are particles in which a structure such as a carbon nanotube is present so as to surround the atoms.
  • a fluorocarbon refrigerant is used as the refrigerant, but the type of refrigerant is not limited to this, and a natural refrigerant such as carbon dioxide, a hydrocarbon refrigerant, etc. You may use.
  • the refrigeration cycle apparatus 10 of the above embodiment constitutes a subcritical refrigeration cycle in which the high pressure side refrigerant pressure does not exceed the critical pressure of the refrigerant, but a supercritical refrigeration cycle in which the high pressure side refrigerant pressure exceeds the critical pressure of the refrigerant May be configured.
  • the radiator 23 common to both the high temperature coolant circuit 20 and the low temperature coolant circuit 30 is provided, but separate radiators are provided for the high temperature coolant circuit 20 and the low temperature coolant circuit 30. It may be provided. The separate radiators may be joined together by common fins.
  • an intermediate pressure refrigerant or high pressure refrigerant may flow to the air cooling evaporator 14. That is, the opening degree of the first expansion valve 80 and the second expansion valve 13 may be adjusted so that the intermediate pressure refrigerant or the high pressure refrigerant flows into the air cooling evaporator 14.
  • the air is cooled by heat exchange between the low pressure refrigerant and the air by the air cooling evaporator 14, but heat exchange may be made between the low pressure refrigerant and the air via the cooling water. .
  • the low temperature cooling water circuit 30 may be provided with an air-cooling heat exchanger that exchanges heat between the cooling water and the air to cool the air.

Landscapes

  • Engineering & Computer Science (AREA)
  • Power Engineering (AREA)
  • Mechanical Engineering (AREA)
  • Transportation (AREA)
  • Sustainable Energy (AREA)
  • Life Sciences & Earth Sciences (AREA)
  • Sustainable Development (AREA)
  • Physics & Mathematics (AREA)
  • Thermal Sciences (AREA)
  • Chemical & Material Sciences (AREA)
  • Combustion & Propulsion (AREA)
  • Air-Conditioning For Vehicles (AREA)
  • Electric Propulsion And Braking For Vehicles (AREA)
PCT/JP2018/026268 2017-08-31 2018-07-12 車両用空調装置 Ceased WO2019044201A1 (ja)

Priority Applications (1)

Application Number Priority Date Filing Date Title
CN201880056047.6A CN111094028B (zh) 2017-08-31 2018-07-12 车辆用空调装置

Applications Claiming Priority (2)

Application Number Priority Date Filing Date Title
JP2017166627A JP6838527B2 (ja) 2017-08-31 2017-08-31 車両用空調装置
JP2017-166627 2017-08-31

Publications (1)

Publication Number Publication Date
WO2019044201A1 true WO2019044201A1 (ja) 2019-03-07

Family

ID=65525355

Family Applications (1)

Application Number Title Priority Date Filing Date
PCT/JP2018/026268 Ceased WO2019044201A1 (ja) 2017-08-31 2018-07-12 車両用空調装置

Country Status (3)

Country Link
JP (1) JP6838527B2 (enExample)
CN (1) CN111094028B (enExample)
WO (1) WO2019044201A1 (enExample)

Cited By (5)

* Cited by examiner, † Cited by third party
Publication number Priority date Publication date Assignee Title
CN113370739A (zh) * 2020-03-10 2021-09-10 丰田自动车株式会社 车载温度调节系统
CN113400887A (zh) * 2020-03-17 2021-09-17 丰田自动车株式会社 热管理装置
CN113492643A (zh) * 2020-03-19 2021-10-12 丰田自动车株式会社 电动汽车用的热管理系统
CN113492646A (zh) * 2020-04-01 2021-10-12 丰田自动车株式会社 热管理装置
CN115397682A (zh) * 2020-03-04 2022-11-25 三电有限公司 车辆用空调装置

Families Citing this family (16)

* Cited by examiner, † Cited by third party
Publication number Priority date Publication date Assignee Title
JP6973446B2 (ja) 2019-05-10 2021-11-24 トヨタ自動車株式会社 車載温調装置
JP7354599B2 (ja) * 2019-06-10 2023-10-03 株式会社デンソー 車両用熱管理システム
JP7115452B2 (ja) 2019-09-30 2022-08-09 トヨタ自動車株式会社 冷却システム
JP7111082B2 (ja) 2019-09-30 2022-08-02 トヨタ自動車株式会社 冷却システム
CN111483343B (zh) * 2020-05-11 2020-12-25 王永宽 一种新能源汽车智能安全充电系统
CN111591102A (zh) * 2020-05-18 2020-08-28 中国计量大学 一种新能源汽车热管理系统
JP7446933B2 (ja) * 2020-06-29 2024-03-11 本田技研工業株式会社 温度調整回路
JP7593136B2 (ja) * 2021-01-25 2024-12-03 株式会社デンソー 熱管理システム
JP2022147311A (ja) * 2021-03-23 2022-10-06 サンデン・アドバンストテクノロジー株式会社 冷媒回路及び車両用ヒートポンプ装置
JP7567678B2 (ja) * 2021-06-18 2024-10-16 株式会社Soken 温調装置
JP7685888B2 (ja) 2021-06-24 2025-05-30 サンデン株式会社 熱媒体温調システム
JP7629836B2 (ja) * 2021-10-20 2025-02-14 サンデン株式会社 蓄熱管理システム
WO2023162258A1 (ja) * 2022-02-28 2023-08-31 三菱重工サーマルシステムズ株式会社 車両用冷凍サイクルユニット
JP7372414B1 (ja) 2022-09-16 2023-10-31 三菱重工サーマルシステムズ株式会社 車両用の温調システムおよび温調方法
JP7361177B1 (ja) 2022-09-16 2023-10-13 三菱重工サーマルシステムズ株式会社 車両用の温調システムおよび温調方法
JP2025170502A (ja) * 2024-05-07 2025-11-19 株式会社デンソー 冷凍サイクル装置

Citations (4)

* Cited by examiner, † Cited by third party
Publication number Priority date Publication date Assignee Title
JP2012232730A (ja) * 2011-04-18 2012-11-29 Denso Corp 車両用温度調整装置、および車載用熱システム
JP2014037180A (ja) * 2012-08-13 2014-02-27 Calsonic Kansei Corp 電動車両用熱管理システム
JP2015154521A (ja) * 2014-02-12 2015-08-24 株式会社デンソー 車両用熱管理システム
JP2015186989A (ja) * 2014-03-12 2015-10-29 カルソニックカンセイ株式会社 車載温調装置、車両用空調装置及びバッテリ温調装置

Family Cites Families (7)

* Cited by examiner, † Cited by third party
Publication number Priority date Publication date Assignee Title
US6059016A (en) * 1994-08-11 2000-05-09 Store Heat And Produce Energy, Inc. Thermal energy storage and delivery system
KR100649596B1 (ko) * 2004-12-10 2006-11-28 엘지전자 주식회사 열병합 발전 시스템
JP2010169050A (ja) * 2009-01-26 2010-08-05 Toyota Motor Corp 機関システム
JP6060797B2 (ja) * 2012-05-24 2017-01-18 株式会社デンソー 車両用熱管理システム
FR3008036B1 (fr) * 2013-07-05 2015-06-26 Renault Sa Dispositif de gestion thermique de la batterie d'un vehicule electrique
US9533544B2 (en) * 2014-10-21 2017-01-03 Atieva, Inc. EV multi-mode thermal management system
US10770766B2 (en) * 2015-09-28 2020-09-08 Honda Motor Co., Ltd. Heating control device

Patent Citations (4)

* Cited by examiner, † Cited by third party
Publication number Priority date Publication date Assignee Title
JP2012232730A (ja) * 2011-04-18 2012-11-29 Denso Corp 車両用温度調整装置、および車載用熱システム
JP2014037180A (ja) * 2012-08-13 2014-02-27 Calsonic Kansei Corp 電動車両用熱管理システム
JP2015154521A (ja) * 2014-02-12 2015-08-24 株式会社デンソー 車両用熱管理システム
JP2015186989A (ja) * 2014-03-12 2015-10-29 カルソニックカンセイ株式会社 車載温調装置、車両用空調装置及びバッテリ温調装置

Cited By (8)

* Cited by examiner, † Cited by third party
Publication number Priority date Publication date Assignee Title
CN115397682A (zh) * 2020-03-04 2022-11-25 三电有限公司 车辆用空调装置
CN113370739A (zh) * 2020-03-10 2021-09-10 丰田自动车株式会社 车载温度调节系统
CN113370739B (zh) * 2020-03-10 2023-08-25 丰田自动车株式会社 车载温度调节系统
CN113400887A (zh) * 2020-03-17 2021-09-17 丰田自动车株式会社 热管理装置
CN113492643A (zh) * 2020-03-19 2021-10-12 丰田自动车株式会社 电动汽车用的热管理系统
CN113492643B (zh) * 2020-03-19 2024-03-01 丰田自动车株式会社 电动汽车用的热管理系统
CN113492646A (zh) * 2020-04-01 2021-10-12 丰田自动车株式会社 热管理装置
CN113492646B (zh) * 2020-04-01 2024-04-30 丰田自动车株式会社 热管理装置

Also Published As

Publication number Publication date
CN111094028B (zh) 2023-06-06
JP6838527B2 (ja) 2021-03-03
CN111094028A (zh) 2020-05-01
JP2019043262A (ja) 2019-03-22

Similar Documents

Publication Publication Date Title
CN111094028B (zh) 车辆用空调装置
KR102279199B1 (ko) 공조 장치
US11299014B2 (en) Refrigeration cycle device
JP6708099B2 (ja) 冷凍サイクル装置
CN108779942B (zh) 制冷循环装置
CN105307883B (zh) 车辆用热管理系统
US10723203B2 (en) Refrigeration cycle device
CN105916711B (zh) 车辆用热管理系统
JP7434847B2 (ja) 冷凍サイクル装置および流量調整機構
CN110914082B (zh) 空调装置
US20180201098A1 (en) Refrigeration cycle device
JP5971202B2 (ja) 冷凍サイクル装置
WO2018042859A1 (ja) 冷凍サイクル装置

Legal Events

Date Code Title Description
121 Ep: the epo has been informed by wipo that ep was designated in this application

Ref document number: 18850150

Country of ref document: EP

Kind code of ref document: A1

NENP Non-entry into the national phase

Ref country code: DE

122 Ep: pct application non-entry in european phase

Ref document number: 18850150

Country of ref document: EP

Kind code of ref document: A1