WO2018139260A1 - Camera module, manufacturing method therefor, and electronic apparatus - Google Patents

Camera module, manufacturing method therefor, and electronic apparatus Download PDF

Info

Publication number
WO2018139260A1
WO2018139260A1 PCT/JP2018/000955 JP2018000955W WO2018139260A1 WO 2018139260 A1 WO2018139260 A1 WO 2018139260A1 JP 2018000955 W JP2018000955 W JP 2018000955W WO 2018139260 A1 WO2018139260 A1 WO 2018139260A1
Authority
WO
WIPO (PCT)
Prior art keywords
substrate
lenses
camera module
lens
light
Prior art date
Legal status (The legal status is an assumption and is not a legal conclusion. Google has not performed a legal analysis and makes no representation as to the accuracy of the status listed.)
Ceased
Application number
PCT/JP2018/000955
Other languages
English (en)
French (fr)
Inventor
Atsushi Yamamoto
Current Assignee (The listed assignees may be inaccurate. Google has not performed a legal analysis and makes no representation or warranty as to the accuracy of the list.)
Sony Semiconductor Solutions Corp
Original Assignee
Sony Semiconductor Solutions Corp
Priority date (The priority date is an assumption and is not a legal conclusion. Google has not performed a legal analysis and makes no representation as to the accuracy of the date listed.)
Filing date
Publication date
Application filed by Sony Semiconductor Solutions Corp filed Critical Sony Semiconductor Solutions Corp
Priority to KR1020197021376A priority Critical patent/KR102511467B1/ko
Priority to US16/478,096 priority patent/US20190369370A1/en
Priority to CN201880007558.9A priority patent/CN110235030B/zh
Publication of WO2018139260A1 publication Critical patent/WO2018139260A1/en
Anticipated expiration legal-status Critical
Ceased legal-status Critical Current

Links

Images

Classifications

    • GPHYSICS
    • G02OPTICS
    • G02BOPTICAL ELEMENTS, SYSTEMS OR APPARATUS
    • G02B3/00Simple or compound lenses
    • G02B3/0006Arrays
    • G02B3/0037Arrays characterized by the distribution or form of lenses
    • G02B3/0043Inhomogeneous or irregular arrays, e.g. varying shape, size, height
    • GPHYSICS
    • G02OPTICS
    • G02BOPTICAL ELEMENTS, SYSTEMS OR APPARATUS
    • G02B13/00Optical objectives specially designed for the purposes specified below
    • G02B13/001Miniaturised objectives for electronic devices, e.g. portable telephones, webcams, PDAs, small digital cameras
    • G02B13/0085Miniaturised objectives for electronic devices, e.g. portable telephones, webcams, PDAs, small digital cameras employing wafer level optics
    • GPHYSICS
    • G02OPTICS
    • G02BOPTICAL ELEMENTS, SYSTEMS OR APPARATUS
    • G02B27/00Optical systems or apparatus not provided for by any of the groups G02B1/00 - G02B26/00, G02B30/00
    • G02B27/0075Optical systems or apparatus not provided for by any of the groups G02B1/00 - G02B26/00, G02B30/00 with means for altering, e.g. increasing, the depth of field or depth of focus
    • GPHYSICS
    • G02OPTICS
    • G02BOPTICAL ELEMENTS, SYSTEMS OR APPARATUS
    • G02B3/00Simple or compound lenses
    • G02B3/0006Arrays
    • G02B3/0037Arrays characterized by the distribution or form of lenses
    • G02B3/0062Stacked lens arrays, i.e. refractive surfaces arranged in at least two planes, without structurally separate optical elements in-between
    • GPHYSICS
    • G03PHOTOGRAPHY; CINEMATOGRAPHY; ANALOGOUS TECHNIQUES USING WAVES OTHER THAN OPTICAL WAVES; ELECTROGRAPHY; HOLOGRAPHY
    • G03BAPPARATUS OR ARRANGEMENTS FOR TAKING PHOTOGRAPHS OR FOR PROJECTING OR VIEWING THEM; APPARATUS OR ARRANGEMENTS EMPLOYING ANALOGOUS TECHNIQUES USING WAVES OTHER THAN OPTICAL WAVES; ACCESSORIES THEREFOR
    • G03B30/00Camera modules comprising integrated lens units and imaging units, specially adapted for being embedded in other devices, e.g. mobile phones or vehicles

Definitions

  • the present technology relates to a camera module, a manufacturing method therefor, and an electronic apparatus, and more particularly, to a camera module, a manufacturing method therefor, and an electronic apparatus that enable unoccupied regions between lenses in a plane direction to be efficiently used in a camera module in which wafer substrates are stacked.
  • PTL 1 proposes a method in which when a lens material is filled into through-holes formed in a substrate to form a lens, the lens material itself is used as an adhesive to stack wafer substrates.
  • the present technology has been made in view of the above-mentioned circumstances to enable the unoccupied regions between the lenses in the plane direction to be efficiently used in the camera module in which the wafer substrates are stacked.
  • a camera module including a plurality of lens substrates including a first lens substrate including a plurality of first through-holes arranged at a first pitch, and a plurality of second through-holes provided between adjacent first through-holes of the plurality of first through-holes and arranged at a second pitch different from the first pitch, a first optical unit located in a first through-hole of the plurality of first through-holes; and a first light-receiving element corresponding to the first optical unit, where a first diameter of the plurality of first through-holes is different from a second diameter of the plurality of second through-holes.
  • a method of manufacturing a camera module includes forming a plurality of first through-holes at a first pitch in a first lens substrate, forming a plurality of second through-holes at a second pitch in the first lens substrate, wherein the plurality of second through-holes are between adjacent first through-holes of the plurality of first through-holes, and forming a first optical unit in a first through-hole of the plurality of first through-holes, where a first diameter of the plurality of first through-holes is different from a second diameter of the plurality of second through-holes.
  • an electronic apparatus that includes a camera module.
  • the camera module may include a plurality of lens substrates including a first lens substrate including: a plurality of first through-holes arranged at a first pitch, and a plurality of second through-holes provided between adjacent first through-holes of the plurality of first through-holes and arranged at a second pitch different from the first pitch, a first optical unit located in a first through-hole of the plurality of first through-holes, and a first light-receiving element corresponding to the first optical unit, where a first diameter of the plurality of first through-holes is different from a second diameter of the plurality of second through-holes.
  • unoccupied regions between lenses in a plane direction are stacked can be efficiently used in a camera module in which wafer substrates.
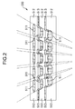
  • Fig. 1 is a diagram illustrating a first embodiment of a camera module which uses a stacked lens structure to which the present technology is applied.
  • Fig. 2 is a diagram illustrating a cross-sectional structure of the stacked lens structure disclosed in Patent Literature 1.
  • Fig. 3 is a diagram illustrating a cross-sectional structure of the stacked lens structure of the camera module illustrated in Fig. 1.
  • Fig. 4 is a diagram illustrating direct bonding of a substrate with lenses.
  • Fig. 5 is a diagram illustrating a step of forming the camera module illustrated in Fig. 1.
  • Fig. 6 is a diagram illustrating a step of forming the camera module illustrated in Fig. 1.
  • Fig. 7 is a diagram illustrating another step of forming the camera module illustrated in Fig. 1.
  • Fig. 8 is a diagram illustrating a configuration of a substrate with lenses.
  • Fig. 9 is a diagram illustrating a second embodiment of a camera module which uses a stacked lens structure to which the present technology is applied.
  • Fig. 10 is a diagram illustrating a third embodiment of a camera module which uses a stacked lens structure to which the present technology is applied.
  • Fig. 11 is a diagram illustrating a fourth embodiment of a camera module which uses a stacked lens structure to which the present technology is applied.
  • Fig. 12 is a diagram illustrating a fifth embodiment of a camera module which uses a stacked lens structure to which the present technology is applied.
  • Fig. 13 is a diagram illustrating a detailed configuration of the camera module according to the fourth embodiment.
  • Fig. 10 is a diagram illustrating a configuration of a substrate with lenses.
  • Fig. 9 is a diagram illustrating a second embodiment of a camera module which uses a stacked lens structure to which the present technology is applied.
  • Fig. 14 illustrates a plan view and cross-sectional views of a support substrate and a lens resin portion.
  • Fig. 15 is a cross-sectional view illustrating a stacked lens structure and a diaphragm plate.
  • Fig. 16 is a diagram illustrating a sixth embodiment of a camera module which uses a stacked lens structure to which the present technology is applied.
  • Fig. 17 is a diagram illustrating a seventh embodiment of a camera module which uses a stacked lens structure to which the present technology is applied.
  • Fig. 18 is a cross-sectional view illustrating a detailed configuration of a substrate with lenses.
  • Fig. 19 is a diagram illustrating a method of manufacturing the substrate with lenses.
  • Fig. 20 is a diagram illustrating a method of manufacturing the substrate with lenses.
  • Fig. 21 is a diagram illustrating a method of manufacturing the substrate with lenses.
  • Fig. 22 is a diagram illustrating a method of manufacturing the substrate with lenses.
  • Fig. 23 is a diagram illustrating a method of manufacturing the substrate with lenses.
  • Fig. 24 is a diagram illustrating a method of manufacturing the substrate with lenses.
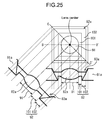
  • Fig. 25 is a diagram illustrating a method of manufacturing the substrate with lenses.
  • Fig. 26 is a diagram illustrating a method of manufacturing the substrate with lenses.
  • Fig. 27 is a diagram illustrating a method of manufacturing the substrate with lenses.
  • Fig. 28 is a diagram illustrating a method of manufacturing the substrate with lenses.
  • Fig. 29 is a diagram illustrating a method of manufacturing the substrate with lenses.
  • Fig. 21 is a diagram illustrating a method of manufacturing the substrate with lenses.
  • Fig. 22 is a diagram illustrating a method of manufacturing the substrate with lenses.
  • Fig. 23 is a diagram illustrating a
  • FIG. 30 is a diagram illustrating bonding of substrates with lenses in a substrate state.
  • Fig. 31 is a diagram illustrating bonding of substrates with lenses in a substrate state.
  • Fig. 32 is a diagram illustrating a first stacking method of stacking five substrates with lenses in a substrate state.
  • Fig. 33 is a diagram illustrating a second stacking method of stacking five substrates with lenses in a substrate state.
  • Fig. 34 is a diagram illustrating an eighth embodiment of a camera module which uses a stacked lens structure to which the present technology is applied.
  • Fig. 35 is a diagram illustrating a ninth embodiment of a camera module which uses a stacked lens structure to which the present technology is applied.
  • Fig. 31 is a diagram illustrating bonding of substrates with lenses in a substrate state.
  • Fig. 32 is a diagram illustrating a first stacking method of stacking five substrates with lenses in a substrate state.
  • Fig. 33 is a diagram illustrating
  • FIG. 36 is a diagram illustrating a tenth embodiment of a camera module which uses a stacked lens structure to which the present technology is applied.
  • Fig. 37 is a diagram illustrating an eleventh embodiment of a camera module which uses a stacked lens structure to which the present technology is applied.
  • Fig. 38 is a cross-sectional view of a wafer-level stacked structure as Comparative Structure Example 1.
  • Fig. 39 is a cross-sectional view of a lens array substrate as Comparative Structure Example 2.
  • Fig. 40 is a diagram illustrating a method of manufacturing the lens array substrate illustrated in Fig. 39.
  • Fig. 41 is a cross-sectional view of a lens array substrate as Comparative Structure Example 3.
  • Fig. 42 is a diagram illustrating a method of manufacturing the lens array substrate illustrated in Fig. 41.
  • Fig. 43 is a cross-sectional view of a lens array substrate as Comparative Structure Example 4.
  • Fig. 44 is a diagram illustrating a method of manufacturing the lens array substrate illustrated in Fig. 43.
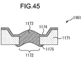
  • Fig. 45 is a cross-sectional view of a lens array substrate as Comparative Structure Example 5.
  • Fig. 46 is a diagram illustrating the effects of a resin which forms a lens.
  • Fig. 47 is a diagram illustrating the effects of a resin which forms a lens.
  • Fig. 48 is a diagram schematically illustrating a lens array substrate as Comparative Structure Example 6.
  • Fig. 49 is a cross-sectional view of a stacked lens structure as Comparative Structure Example 7.
  • Fig. 50 is a diagram illustrating the effects of the stacked lens structure illustrated in Fig. 49.
  • Fig. 51 is a cross-sectional view of a stacked lens structure as Comparative Structure Example 8.
  • Fig. 52 is a diagram illustrating the effects of a stacked lens structure illustrated in Fig. 51.
  • Fig. 53 is a cross-sectional view of a stacked lens structure which employs the present structure.
  • Fig. 54 is a diagram schematically illustrating the stacked lens structure illustrated in Fig. 53.
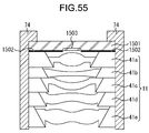
  • Fig. 55 is a diagram illustrating a first configuration example in which a diaphragm is added to a cover glass.
  • Fig. 56 is a diagram for describing a method of manufacturing the cover glass illustrated in Fig. 55.
  • Fig. 56 is a diagram for describing a method of manufacturing the cover glass illustrated in Fig. 55.
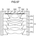
  • Fig. 57 is a diagram illustrating a second configuration example in which a diaphragm is added to a cover glass.
  • Fig. 58 is a diagram illustrating a third configuration example in which a diaphragm is added to a cover glass.
  • Fig. 59 is a diagram illustrating a configuration example in which an opening itself of a through-hole is configured as a diaphragm mechanism.
  • Fig. 60 is a diagram for describing wafer-level attachment using metal bonding.
  • Fig. 61 is a diagram illustrating an example of a substrate with lenses which uses a highly-doped substrate.
  • Fig. 62 is a diagram for describing a method of manufacturing the substrate with lenses illustrated in A of Fig. 61.
  • Fig. 64 is a diagram illustrating a planar shape of a diaphragm plate included in a camera module.
  • Fig. 65 is a diagram for describing a configuration of a light receiving area of a camera module.
  • Fig. 66 is a diagram illustrating a first example of a pixel arrangement in a light receiving area of a camera module.
  • Fig. 67 is a diagram illustrating a second example of a pixel arrangement in alight receiving area of a camera module.
  • Fig. 68 is a diagram illustrating a third example of a pixel arrangement in alight receiving area of a camera module.
  • Fig. 70 is a diagram illustrating a modification of the pixel arrangement illustrated in Fig. 66.
  • Fig. 71 is a diagram illustrating a modification of the pixel arrangement illustrated in Fig. 68.
  • Fig. 72 is a diagram illustrating a modification of the pixel arrangement illustrated in Fig. 69.
  • Fig. 73 is a diagram illustrating a fifth example of a pixel arrangement in a light receiving area of a camera module.
  • Fig. 74 is a diagram illustrating a sixth example of a pixel arrangement in alight receiving area of a camera module.
  • Fig. 75 is a diagram illustrating a seventh example of a pixel arrangement in alight receiving area of a camera module.
  • Fig. 76 is a diagram illustrating an eighth example of a pixel arrangement in alight receiving area of a camera module.
  • Fig. 77 is a diagram illustrating a ninth example of a pixel arrangement in alight receiving area of a camera module.
  • Fig. 78 is a diagram illustrating a tenth example of a pixel arrangement in alight receiving area of a camera module.
  • Fig. 79 is a diagram illustrating an eleventh example of a pixel arrangement in a light receiving area of a camera module.
  • Fig. 80 is a block diagram illustrating a configuration example of an imaging apparatus as an electronic apparatus to which the present technology is applied.
  • Fig. 81 is a graph showing filter characteristics of a wavelength selection filter of Fig. 80.
  • Fig. 82 is a cross-sectional view illustrating a modification of a twelfth embodiment.
  • Fig. 83 is a diagram for describing a manufacturing method the stacked lens structure used in the camera module according to the twelfth embodiment.
  • Fig. 84 is a diagram for describing other configurations of the camera module according to the twelfth embodiment.
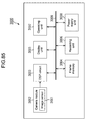
  • Fig. 85 is a block diagram illustrating a configuration example of an imaging apparatus as an electronic apparatus to which the present technology is applied.
  • Fig. 81 is a graph showing filter characteristics of a wavelength selection filter of Fig. 80.
  • Fig. 82 is a cross-sectional view illustrating a modification of a twelfth embodiment.
  • Fig. 83 is
  • Fig. 86 is a block diagram illustrating an example of a schematic configuration of an internal information acquisition system.
  • Fig. 87 is a diagram illustrating an example of a schematic configuration of an endoscopy surgery system.
  • Fig. 88 is a block diagram illustrating an example of a functional configuration of a camera head and a CCU.
  • Fig. 89 is a block diagram illustrating an example of a schematic configuration of a vehicle control system.
  • Fig. 90 is an explanatory diagram illustrating examples of mounting positions of a vehicle exterior information detector and image capture units.
  • a and B of Fig. 1 are diagrams illustrating a first embodiment of a camera module which uses a stacked lens structure to which the present technology is applied.
  • a of Fig. 1 is a schematic diagram illustrating a configuration of a camera module 1A as a first embodiment of a camera module 1.
  • B of Fig. 1 is a schematic cross-sectional view of the camera module 1A.
  • the camera module 1A includes a stacked lens structure 11 and a light receiving element 12.
  • the stacked lens structure 11 includes twenty five optical units 13 in total, five optical units in the vertical and horizontal directions each.
  • the light receiving element 12 is a solid-state imaging apparatus including a plurality of light receiving areas (pixel arrays) corresponding to the optical units 13.
  • the optical units 13 each include a plurality of lenses 21 in one optical axis direction such that rays of incident light are converged onto corresponding ones of light receiving areas of the light receiving element 12.
  • the camera module 1A is a multi-ocular camera module including a plurality of optical units 13.
  • the optical axes of the plurality of optical units 13 included in the camera module 1A are disposed so as to spread toward the outer side of the module as illustrated in B of Fig. 1. Due to this, it is possible to photograph a wide-angle image.
  • the stacked lens structure 11 illustrated in B of Fig. 1 has a structure in which the lenses 21 are stacked in three layers only for the sake of simplicity, a larger number of lenses 21 may naturally be stacked.
  • the camera module 1A illustrated in A and B of Fig. 1 can stitch a plurality of images photographed by the plurality of optical units 13 together to create one wide-angle image.
  • high accuracy is demanded in the formation and the arrangement of the optical units 13 photographing the images.
  • the optical units 13 particularly on the wide-angle side have a small incidence angle of light incident on the lenses 21, high accuracy is demanded in the positional relation and the arrangement of the lenses 21 in the optical unit 13.
  • Fig. 2 is a diagram illustrating a cross-sectional structure of a stacked lens structure which uses a resin-based fixing technique, disclosed in Patent Literature 1.
  • a resin 513 is used as a unit for fixing substrates 512 each having lenses 511.
  • the resin 513 is an energy-curable resin such as an UV-curable resin.
  • a layer of the resin 513 is formed on an entire surface of the substrate 512. After that, the substrates 512 are attached together, and the resin 513 is cured. In this way, the attached substrates 512 are fixed together.
  • the resin 513 when the resin 513 is cured, the resin 513 experiences curing shrinkage. In the case of the structure illustrated in Fig. 2, since the resin 513 is cured after the layer of the resin 513 is formed on the entire substrate 512, the amount of displacement of the resin 513 increases.
  • the stacked lens structure 500 formed by attaching the substrates 512 together is divided into individual imaging elements and the imaging elements are combined to form a camera module
  • the stacked lens structure 500 provided in the camera module has the resin 513 entirely between the substrates 512 having lenses 511 as illustrated in Fig. 2. Due to this, when the camera module is mounted into the housing of a camera and is used actually, the resin between the substrates of the stacked lens structure 500 may experience thermal expansion due to an increase in the temperature caused by the heat generated by the apparatus.
  • Fig. 3 is a diagram illustrating a cross-sectional structure of the stacked lens structure 11 only of the camera module 1A illustrated in A and B of Fig. 1.
  • the stacked lens structure 11 of the camera module 1A is also formed by stacking a plurality of substrates with lenses 41 having the lenses 21.
  • a fixing unit which is completely different from that used in the stacked lens structure 500 illustrated in Fig. 2 or that disclosed in the related art is used as a unit for fixing the substrates with lenses 41 having the lenses 21 together.
  • two substrates with lenses 41 to be stacked are directly bonded by a covalent bond between an oxide or nitride-based surface layer formed on the surface of one substrate and an oxide or nitride-based surface layer formed on the surface of the other substrate.
  • a silicon oxide film or a silicon nitride film is formed on the surfaces of the two substrates with lenses 41 to be stacked as a surface layer, and a hydroxyl radical is combined with the film.
  • the two substrates with lenses 41 are attached together and are heated and subjected to dehydration condensation.
  • a silicon-oxygen covalent bond is formed between the surface layers of the two substrates with lenses 41.
  • the two substrates with lenses 41 are directly bonded.
  • atoms included in the two surface layers may directly form a covalent bond.
  • direct bonding means fixing the two substrates with lenses 41 by the layer of an inorganic material disposed between the two substrates with lenses 41.
  • direct bonding means fixing the two substrates with lenses 41 by chemically combining the layers of an inorganic material disposed on the surfaces of the two substrates with lenses 41.
  • direct bonding means fixing the two substrates with lenses 41 by forming a dehydration condensation-based bond between the layers of an inorganic material disposed on the surfaces of the two substrates with lenses 41.
  • direct bonding means fixing the two substrates with lenses 41 by forming an oxygen-based covalent bond between the layers of an inorganic material disposed on the surfaces of the two substrates with lenses 41 or a covalent bond between atoms included in the layers of the inorganic material.
  • direct bonding means fixing the two substrates with lenses 41 by forming a silicon-oxygen covalent bond or a silicon-silicon covalent bond between silicon oxide layers or silicon nitride layers disposed on the surfaces of the two substrates with lenses 41.
  • direct bonding may refer to substrates being directly bonded.
  • lenses are formed in a substrate state using a substrate used in the field of manufacturing semiconductor devices and flat-panel display devices, dehydration condensation based on attachment and heating is realized in a substrate state, and bonding based on a covalent bond is realized in a substrate state.
  • the structure in which the layers of an inorganic material formed between the surfaces of the two substrates with lenses 41 are bonded by a covalent bond has an effect or an advantage that the structure suppresses a deformation caused by curing shrinkage of the resin 513 in the entire substrate and a deformation caused by thermal expansion of the resin 513 during actual use, which may occur when the technique described in Fig. 2, disclosed in Patent Literature 1 is used.
  • Figs. 5 and 6 are diagrams illustrating a step of combining the stacked lens structure 11 and the light receiving elements 12 to form the camera module 1A illustrated in A and B of Fig. 1.
  • a plurality of substrates with lenses 41W on which a plurality of lenses 21 (not illustrated) is formed in a plane direction are prepared and are stacked together.
  • a stacked lens structure 11W in a substrate state in which a plurality of substrates with lenses 41W in a substrate state is stacked is obtained.
  • a sensor substrate 43W in a substrate state in which a plurality of light receiving elements 12 is formed in a plane direction is manufactured and prepared separately from the stacked lens structure 11 W in the substrate state illustrated in Fig. 5.
  • the sensor substrate 43W in the substrate state and the stacked lens structure 11 W in the substrate state are stacked and attached together, and external terminals are attached to respective modules of the attached substrates to obtain a camera module 44W in a substrate state.
  • the camera module 44W in the substrate state is divided into respective modules or chips.
  • the divided camera module 44 is enclosed in a housing (not illustrated) prepared separately whereby a final camera module 44 is obtained.
  • components denoted by reference numerals with “W” added thereto like the substrate with lenses 41W indicate that the components are in a substrate state (wafer state), and components denoted by reference numerals without “W” like the substrate with lenses 41, for example, indicate that the components are divided into respective modules or chips.
  • the same is applied for the sensor substrate 43W, the camera module 44W, and the like.
  • Fig. 7 is a diagram illustrating another step of combining the stacked lens structure 11 and the light receiving elements 12 to form the camera module 1A illustrated in A and B of Fig. 1.
  • a stacked lens structure 11W in a substrate state on which a plurality of substrates with lenses 41W in a substrate state are stacked is manufactured.
  • the stacked lens structure 11 W in the substrate state is divided into individual pieces.
  • a sensor substrate 43W in a substrate state is manufactured and prepared separately from the stacked lens structure 11 W in the substrate state.
  • the divided stacked lens structures 11 are mounted one by one on the respective light receiving elements 12 of the sensor substrate 43W in the substrate state.
  • the sensor substrate 43W in the substrate state on which the divided stacked lens structures 11 are mounted is divided into respective modules or chips.
  • the divided sensor substrate 43 on which the stacked lens structure 11 is mounted is enclosed in a housing (not illustrated) prepared separately and external terminals are attached thereto to obtain a final camera module 44.
  • a sensor substrate 43W in a substrate state illustrated in Fig. 7 may be divided into individual light receiving elements 12, and the divided stacked lens structures 11 may be mounted on the individual light receiving elements 12 to obtain a divided camera module 44.
  • a to H of Fig. 8 are diagrams illustrating a configuration of the substrate with lenses 41 of the camera module 1A.
  • a of Fig. 8 is a schematic diagram similar to A of Fig. 1, illustrating a configuration of the camera module 1A.
  • B of Fig. 8 is a schematic cross-sectional view similar to B of Fig. 1, of the camera module 1A.
  • the camera module 1A is a multi-ocular camera module including a plurality of optical units 13 having one optical axis, formed by combining a plurality of lenses 21.
  • the stacked lens structure 11 includes twenty five optical units 13 in total, five optical units in vertical and horizontal directions each.
  • the optical axes of the plurality of optical units 13 are disposed so as to spread toward the outer side of the module. Due to this, it is possible to photograph a wide-angle image.
  • the stacked lens structure 11 illustrated in B of Fig. 8 has a structure in which only three substrates with lenses 41 are stacked for the sake of simplicity, a larger number of substrates with lenses 41 may naturally be stacked.
  • C to E of Fig. 8 are diagrams illustrating planar shapes of the three substrates with lenses 41 that form the stacked lens structure 11.
  • C of Fig. 8 is a plan view of the substrate with lenses 41 on the top layer among the three layers
  • D of Fig. 8 is a plan view of the substrate with lenses 41 on the middle layer
  • E of Fig. 8 is a plan view of the substrate with lenses 41 on the bottom layer. Since the camera module 1 is a multi-ocular wide-angle camera module, the diameter of the lens 21 and the lens-to-lens pitch increase as it ascends from the bottom layer to the top layer.
  • FIG. 8 are plan views of the substrates with lenses 41W in the substrate state, for obtaining the substrates with lenses 41 illustrated in C to E of Fig. 8, respectively.
  • the substrate with lenses 41W illustrated in F of Fig. 8 illustrates the substrate state corresponding to the substrate with lenses 41 illustrated in C of Fig. 8, the substrate with lenses 41W illustrated in G of Fig. 8 illustrates the substrate state corresponding to the substrate with lenses 41 illustrated in D of Fig. 8, and the substrate with lenses 41W illustrated in H of Fig. 8 illustrates the substrate state corresponding to the substrate with lenses 41 illustrated in E of Fig. 8.
  • the substrates with lenses 41W in the substrate state, illustrated in F to H of Fig. 8 are configured to obtain eight camera modules 1A illustrated in A of Fig. 8 for one substrate.
  • the lens-to-lens pitch of the substrate with lenses 41W on the top layer, in the substrates with lenses 41 of respective modules is different from that of the substrate with lenses 41W on the bottom layer, and that in each substrate with lenses 41W, the arrangement pitch of the substrates with lenses 41 of the respective modules is constant from the substrate with lenses 41W on the top layer to the substrate with lenses 41W on the bottom layer.
  • FIG. 9 are diagrams illustrating a second embodiment of a camera module which uses a stacked lens structure to which the present technology is applied.
  • a of Fig. 9 is a schematic diagram illustrating an appearance of a camera module 1B as the second embodiment of the camera module 1.
  • B of Fig. 9 is a schematic cross-sectional view of the camera module 1B.
  • the camera module 1B includes two optical units 13.
  • the two optical units 13 include a diaphragm plate 51 on the top layer of the stacked lens structure 11.
  • An opening 52 is formed in the diaphragm plate 51.
  • the two optical units 13 have different optical parameters. That is, the camera module 1B includes two optical units 13 having different optical performances.
  • the two types of optical units 13 may include an optical unit 13 having a short focal distance for photographing a close-range view and an optical unit 13 having a long focal distance for photographing a distant view.
  • the lenses 21 of the camera module 1B may have such a planar shape that the two optical units 13 may have lenses 21 having the same diameter as illustrated in C of Fig. 9 and may have lenses 21 having different shapes as illustrated in D of Fig. 9, and one of the two optical units 13 may have a void 21X without having the lens 21 as illustrated in E of Fig. 9.
  • FIG. 9 are plan views of the substrates with lenses 41W in a substrate state, for obtaining the substrates with lenses 41 illustrated in C to E of Fig. 9, respectively.
  • the substrate with lenses 41W illustrated in F of Fig. 9 illustrates the substrate state corresponding to the substrate with lenses 41 illustrated in C of Fig. 9, the substrate with lenses 41W illustrated in G of Fig. 9 illustrates the substrate state corresponding to the substrate with lenses 41 illustrated in D of Fig. 9, and the substrate with lenses 41W illustrated in H of Fig. 9 illustrates the substrate state corresponding to the substrate with lenses 41 illustrated in E of Fig. 9.
  • the substrates with lenses 41W in the substrate state illustrated in F to H of Fig. 9 are configured to obtain sixteen camera modules 1B illustrated in A of Fig. 9 for one substrate.
  • lenses having the same shape or lenses having different shapes may be formed on the entire surface of the substrate with lenses 41W in the substrate state and lenses may be formed or not.
  • a to F of Fig. 10 are diagrams illustrating a third embodiment of a camera module which uses a stacked lens structure to which the present technology is applied.
  • a of Fig. 10 is a schematic diagram illustrating an appearance of a camera module 1C as the third embodiment of the camera module 1.
  • B of Fig. 10 is a schematic cross-sectional view of the camera module 1C.
  • the camera module 1C includes four optical units 13 in total, two in vertical and horizontal directions each, on a light incidence surface.
  • the lenses 21 have the same shape in the four optical units 13.
  • the four optical units 13 include a diaphragm plate 51 on the top layer of the stacked lens structure 11, the sizes of the openings 52 of the diaphragm plates 51are different among the four optical units 13. Due to this, the camera module 1C can realize the following camera module 1C, for example.
  • the camera module 1C which uses light receiving elements 12 including a light receiving pixel that includes three types of RGB color filters and receives three types of RGB light beams for the purpose of monitoring color images in the day time and a light receiving pixel that does not include RGB color filters for the purpose of monitoring monochrome images in the night time
  • the lenses 21 of one camera module 1C have such a planar shape that the lenses 21 included in the four optical units 13 have the same diameter as illustrated in C of Fig. 10, and the size of the opening 52 of the diaphragm plate 51 is different depending on the optical unit 13 as illustrated in D of Fig. 10.
  • E of Fig. 10 is a plan view of the substrate with lenses 41W in the substrate state, for obtaining the substrate with lenses 41 illustrated in C of Fig. 10.
  • F of Fig. 10 is a plan view of the diaphragm plate 51W in the substrate state, for obtaining the diaphragm plate 51 illustrated in D of Fig. 10.
  • the substrate with lenses 41W in the substrate state illustrated in E of Fig. 10 and the diaphragm plate 51W in the substrate state illustrated in F of Fig. 10 are configured to obtain eight camera modules 1C illustrated in A of Fig. 10 for one substrate.
  • the sizes of the openings 52 can be set to be different for the respective optical units 13 included in the camera module 1C.
  • FIG. 11 are diagrams illustrating a fourth embodiment of a camera module which uses a stacked lens structure to which the present technology is applied.
  • a of Fig. 11 is a schematic diagram illustrating an appearance of a camera module 1D as the fourth embodiment of the camera module 1.
  • B of Fig. 11 is a schematic cross-sectional view of the camera module 1D.
  • the camera module 1D includes four optical units 13 in total, two in vertical and horizontal directions each, on a light incidence surface similarly to the camera module 1C.
  • the lenses 21 have the same shape and the openings 52 of the diaphragm plates 51have the same size in the four optical units 13.
  • the optical axes of the two sets of optical units 13 disposed in the vertical and horizontal directions of the light incidence surface extend in the same direction.
  • One-dot chain line illustrated in B of Fig. 11 indicates the optical axis of each of the optical units 13.
  • the camera module 1D having such a structure is ideal for photographing a higher resolution image using a super-resolution technique than photographing using one optical unit 13.
  • the camera module 1D it is possible to obtain a plurality of images which are not necessarily identical while the optical axes being directed in the same direction by photographing images using a plurality of light receiving elements 12 disposed at different positions while the optical axes in each of the vertical and horizontal directions being directed in the same direction or by photographing images using light receiving pixels in different regions of one light receiving element 12.
  • the lenses 21 of one camera module 1D preferably have the same planar shape in the four optical units 13 as illustrated in C of Fig. 11.
  • FIG D of Fig. 11 is a plan view of the substrate with lenses 41W in the substrate state, for obtaining the substrate with lenses 41 illustrated in C of Fig. 11.
  • the substrate with lenses 41W in the substrate state is configured to obtain eight camera modules 1D illustrated in A of Fig. 11 for one substrate.
  • the camera module 1D in the substrate with lenses 41W in the substrate state, in order to form the camera module 1D, the camera module 1D includes a plurality of lenses 21 and a plurality of module lens groups is disposed on the substrate at a fixed pitch.
  • a to D of Fig. 12 are diagrams illustrating a fifth embodiment of a camera module which uses a stacked lens structure to which the present technology is applied.
  • a of Fig. 12 is a schematic diagram illustrating an appearance of a camera module 1E as a fifth embodiment of the camera module 1.
  • B of Fig. 12 is a schematic cross-sectional view of the camera module 1E.
  • the camera module 1E is a monocular camera module in which one optical unit 13 having one optical axis is provided in the camera module 1E.
  • FIG. 12 is a plan view of the substrate with lenses 41, illustrating a planar shape of the lenses 21 of the camera module 1E.
  • the camera module 1E includes one optical unit 13.
  • FIG D of Fig. 12 is a plan view of the substrate with lenses 41W in the substrate state, for obtaining the substrate with lenses 41 illustrated in C of Fig. 12.
  • the substrate with lenses 41W in the substrate state is configured to obtain thirty two camera modules 1E illustrated in A of Fig. 12 for one substrate.
  • a plurality of lenses 21 for the camera module 1E is disposed on the substrate at a fixed pitch.
  • Fig. 13 is a cross-sectional view of the camera module 1D illustrated in B of Fig. 11.
  • the camera module 1D is configured to include a stacked lens structure 11 in which a plurality of substrates with lenses 41a to 41e are stacked and a light receiving element 12.
  • the stacked lens structure 11 includes a plurality of optical units 13.
  • One dot chain line 84 indicates an optical axis of each of the optical units 13.
  • the light receiving element 12 is disposed on the lower side of the stacked lens structure 11. In the camera module 1D, light entering the camera module 1D from above passes through the stacked lens structure 11 and the light is received by the light receiving element 12 disposed on the lower side of the stacked lens structure 11.
  • the stacked lens structure 11 includes five stacked substrates with lenses 41a to 41e.
  • the substrates with lenses 41a to 41e are not distinguished particularly, the substrates with lenses will be referred to simply as substrates with lenses 41.
  • a cross-sectional shape of a through-hole 83 of the substrates with lenses 41 that form the stacked lens structure 11 has a so-called downward tapered shape such that an opening width decreases as it advances toward the lower side (the side on which the light receiving element 12 is disposed).
  • a diaphragm plate 51 is disposed on the stacked lens structure 11.
  • the diaphragm plate 51 has a layer formed of a material having a light absorbing property or a light blocking property, for example.
  • An opening 52 is formed in the diaphragm plate 51.
  • the light receiving element 12 is formed of a front or back-illuminated complementary metal oxide semiconductor (CMOS) image sensor, for example.
  • CMOS complementary metal oxide semiconductor
  • On-chip lenses 71 are formed on a surface on an upper side of the light receiving element 12 close to the stacked lens structure 11, and external terminals 72 for inputting and outputting signals are formed on a surface on a lower side of the light receiving element 12.
  • the stacked lens structure 11, the light receiving element 12, the diaphragm plate 51, and the like are accommodated in a lens barrel 74.
  • a structure material 73 is disposed on the upper side of the light receiving element 12.
  • the stacked lens structure 11 and the light receiving element 12 are fixed by the structure material 73.
  • the structure material 73 is an epoxy-based resin, for example.
  • the stacked lens structure 11 includes five stacked substrates with lenses 41a to 41e, the number of stacked substrates with lenses 41 is not particularly limited as long as two substrates with lenses or more are stacked.
  • Each of the substrates with lenses 41 that form the stacked lens structure 11 is configured by adding a lens resin portion 82 to a support substrate 81.
  • the support substrate 81 has the through-hole 83, and the lens resin portion 82 is formed on the inner side of the through-hole 83.
  • the lens resin portion 82 is a portion which includes the above-mentioned lenses 21 and extends up to the support substrate 81 and which is integrated with a portion that supports the lens 21 by a material that forms the lens 21.
  • the support substrates 81, the lens resin portions 82, or the through-holes 83 of the respective substrates with lenses 41a to 41e are distinguished, the respective components will be referred to as support substrates 81a to 81e, lens resin portions 82ato 82e, or through-holes 83a to 83e so as to correspond to the substrates with lenses 41a to 41e as illustrated in Fig. 13.
  • lens resin portion 82 ⁇ Detailed Description of Lens Resin Portion> Next, the shape of the lens resin portion 82 will be described by way of an example of the lens resin portion 82a of the substrate with lenses 41a.
  • Fig. 14 illustrates a plan view and cross-sectional views of the support substrate 81a and the lens resin portion 82a that form the substrate with lenses 41a.
  • cross-sectional views of the support substrate 81a and the lens resin portion 82aillustrated in Fig. 14 are cross-sectional views taken along lines B-B’ and C-C’ in the plan view.
  • the lens resin portion 82a is a portion formed integrally by the material that forms the lens 21 and includes a lens portion 91 and a support portion 92.
  • the lens 21 corresponds to the entire lens portion 91 or the entire lens resin portion 82a.
  • the lens portion 91 is a portion having the performance of a lens, and in other words, is “a portion that refracts light so that light converges or diverges” or “a portion having a curved surface such as a convex surface, a concave surface, and an aspherical surface, or a portion in which a plurality of polygons used in a lens which uses a Fresnel screen or a diffraction grating are continuously disposed”.
  • the support portion 92 is a portion that extends from the lens portion 91 up to the support substrate 81a to support the lens portion 91.
  • the support portion 92 includes an arm portion 101 and a leg portion 102 and is positioned at the outer circumference of the lens portion 91.
  • the arm portion 101 is a portion that is disposed on the outer side of the lens portion 91 in contact with the lens portion 91 and extends outward from the lens portion 91 in a constant thickness.
  • the leg portion 102 is a portion of the support portion 92 other than the arm portion 101 and includes a portion that is in contact with the side wall of the through-hole 83a.
  • the thickness of the resin in the leg portion 102 is preferably larger than that of the arm portion 101.
  • the planar shape of the through-hole 83a formed in the support substrate 81a is circular, and the cross-sectional shape is naturally the same regardless of the diametrical direction.
  • the cross-sectional shape of the lens resin portion 82a which is the shape determined by the upper and lower molds during forming of a lens is the same regardless of the diametrical direction.
  • Fig. 15 is a cross-sectional view illustrating the stacked lens structure 11 and the diaphragm plate 51 which are part of the camera module 1D illustrated in Fig. 13.
  • the light entering the module is narrowed by the diaphragm plate 51, the light is widened inside the stacked lens structure 11 and is incident on the light receiving element 12 (not illustrated in Fig. 15) disposed on the lower side of the stacked lens structure 11. That is, in a general view of the entire stacked lens structure 11, the light entering the module moves while widening substantially in a fan shape toward the lower side from the opening 52 of the diaphragm plate 51. Due to this, as an example of the size of the lens resin portion 82 provided in the stacked lens structure 11, in the stacked lens structure 11 illustrated in Fig.
  • the lens resin portion 82a provided in the substrate with lenses 41a disposed immediately below the diaphragm plate 51 is the smallest, and the lens resin portion 82e provided in the substrate with lenses 41e disposed on the bottom layer of the stacked lens structure 11 is the largest.
  • the lens resin portion 82 of the substrate with lenses 41 has a constant thickness, it is more difficult to manufacture a larger lens than a smaller lens. This is because a large lens is likely to be deformed due to a load applied to the lens when manufacturing the lens and it is difficult to maintain the strength. Due to this, it is preferable to increase the thickness of a large lens to be larger than the thickness of a small lens.
  • the thickness of the lens resin portion 82e provided in the substrate with lenses 41e disposed on the bottom layer is the largest among the lens resin portions 82.
  • the stacked lens structure 11 illustrated in Fig. 15 has at least one of the following features in order to increase the degree of freedom in a lens design.
  • the thickness of the support substrate 81 is different at least among the plurality of substrates with lenses 41 that forms the stacked lens structure 11.
  • the thickness of the support substrate 81 in the substrate with lenses 41 on the bottom layer is the largest.
  • An opening width of the through-hole 83 provided in the substrate with lenses 41 is different at least among the plurality of substrates with lenses 41 that forms the stacked lens structure 11.
  • the opening width of the through-hole 83 in the substrate with lenses 41 on the bottom layer is the largest.
  • the diameter of the lens portion 91 provided in the substrate with lenses 41 is different at least among the plurality of substrates with lenses 41 that forms the stacked lens structure 11.
  • the diameter of the lens portion 91 in the substrate with lenses 41 on the bottom layer is the largest.
  • the thickness of the lens portion 91 provided in the substrate with lenses 41 is different at least among the plurality of substrates with lenses 41 that forms the stacked lens structure 11.
  • the thickness of the lens portion 91 in the substrate with lenses 41 on the bottom layer is the largest.
  • the distance between the lenses provided in the substrate with lenses 41 is different at least among the plurality of substrates with lenses 41 that forms the stacked lens structure 11.
  • the volume of the lens resin portion 82 provided in the substrate with lenses 41 is different at least among the plurality of substrates with lenses 41 that forms the stacked lens structure 11.
  • the volume of the lens resin portion 82 in the substrate with lenses 41 on the bottom layer is the largest.
  • the material of the lens resin portion 82 provided in the substrate with lenses 41 is different at least among the plurality of substrates with lenses 41 that forms the stacked lens structure 11.
  • light incident on a camera module includes vertical incident light and oblique incident light.
  • a large part of the oblique incident light strikes the diaphragm plate 51 and is absorbed therein or is reflected outside the camera module 1D.
  • the oblique incident light which is not narrowed by the diaphragm plate 51 may strike the side wall of the through-hole 83 depending on an incidence angle thereof and may be reflected therefrom.
  • the moving direction of the reflected light of the oblique incident light is determined by the incidence angle of oblique incident light 85 and the angle of the side wall of the through-hole 83 as illustrated in Fig. 13.
  • the opening of the through-hole 83 has a so-called fan shape such that the opening width increases as it advances from the incidence side toward the light receiving element 12
  • the oblique incident light 85 of a specific incidence angle which is not narrowed by the diaphragm plate 51 strikes the side wall of the through-hole 83, the oblique incident light may be reflected in the direction of the light receiving element 12, and the reflected light may become stray light or noise light.
  • the through-hole 83 has a so-called downward tapered shape such that the opening width decreases as it advances toward the lower side (the side on which the light receiving element 12 is disposed).
  • the oblique incident light 85 striking the side wall of the through-hole 83 is reflected in the upper direction (so-called the incidence side direction) rather than the lower direction (so-called the direction of the light receiving element 12 ). Due to this, an effect or an advantage of suppressing the occurrence of stray light or noise light is obtained.
  • a light absorbing material may be disposed in the side wall of the through-hole 83 of the substrate with lenses 41 in order to suppress light which strikes the side wall and is reflected therefrom.
  • a material obtained by dispersing carbon particles as a material absorbing the first light (visible light) into a resin that is cured by the second light (UV light) may be applied or sprayed to the surface of the support substrate 81, the resin of the side wall portion only of the through-hole 83 may be cured by irradiation with the second light (UV light), and the resin in the other region may be removed.
  • a layer of a material having a property of absorbing the first light (visible light) may be formed on the side wall of the through-hole 83.
  • the stacked lens structure 11 illustrated in Fig. 15 is an example of a structure in which the diaphragm plate 51 is disposed on top of the plurality of stacked substrates with lenses 41.
  • the diaphragm plate 51 may be disposed by being inserted in any of the intermediate substrates with lenses 41 rather than on top of the plurality of stacked substrates with lenses 41.
  • a layer of a material having a light absorbing property may be formed on the surface of the substrate with lenses 41 so as to function as a diaphragm.
  • a material obtained by dispersing carbon particles as a material absorbing the first light (visible light) in a resin that is cured by the second light (UV light) may be applied or sprayed to the surface of the substrate with lenses 41, the resin in a region other than a region through which light is to pass when the layer functions as a diaphragm may be irradiated with the second light (UV light) to cure the resin so as to remain, and the resin in the region that is not cured (that is, the region through which light is to pass when the layer functions as a diaphragm) may be removed.
  • the diaphragm may be formed on the surface of the substrate with lenses 41.
  • the substrate with lenses 41 in which the diaphragm is formed on the surface may be the substrate with lenses 41 disposed on the top layer of the stacked lens structure 11 or may be the substrate with lenses 41 which is an inner layer of the stacked lens structure 11.
  • the stacked lens structure 11 illustrated in Fig. 15 has a structure in which the substrates with lenses 41 are stacked.
  • the stacked lens structure 11 may have a structure which includes a plurality of substrates with lenses 41 and at least one support substrate 81which does not have the lens resin portion 82.
  • the support substrate 81which does not have the lens resin portion 82 may be disposed on the top layer or the bottom layer of the stacked lens structure 11 and may be disposed as an inner layer of the stacked lens structure 11.
  • This structure provides an effect or an advantage, for example, that the distance between the plurality of lenses included in the stacked lens structure 11 and the distance between the lens resin portion 82 on the bottom layer of the stacked lens structure 11 and the light receiving element 12 disposed on the lower side of the stacked lens structure 11 can be set arbitrarily.
  • this structure provides an effect or an advantage that, when the opening width of the support substrate 81 which does not have the lens resin portion 82 is set appropriately and a material having a light absorbing property is disposed in a region excluding the opening, the material can function as a diaphragm plate.
  • FIG. 16 is a diagram illustrating a sixth embodiment of a camera module which uses a stacked lens structure to which the present technology is applied.
  • Fig. 16 the portions corresponding to those of the fourth embodiment illustrated in Fig. 13 will be denoted by the same reference numerals, and different portions from those of the camera module 1D illustrated in Fig. 13 will be described mainly.
  • a camera module 1F illustrated in Fig. 16 similarly to the camera module 1D illustrated in Fig. 13, after incident light is narrowed by the diaphragm plate 51, the light is widened inside the stacked lens structure 11 and is incident on the light receiving element 12 disposed on the lower side of the stacked lens structure 11. That is, in a general view of the entire stacked lens structure 11, the light moves while widening substantially in a fan shape toward the lower side from the opening 52 of the diaphragm plate 51.
  • the camera module 1F illustrated in Fig. 16 is different from the camera module 1D illustrated in Fig. 13 in that the cross-sectional shape of the through-holes 83 of the substrates with lenses 41 that form the stacked lens structure 11 has a so-called fan shape such that the opening width increases as it advances toward the lower side (the side on which the light receiving element 12 is disposed).
  • the stacked lens structure 11 of the camera module 1F has a structure in which incident light moves while widening in a fan shape from the opening 52 of the diaphragm plate 51 toward the lower side.
  • a fan shape that the opening width of the through-hole 83 increases toward the lower side makes the support substrate 81 less likely to obstruct an optical path than such a downward tapered shape that the opening width of the through-hole 83 decreases toward the lower side. Due to this, an effect of increasing the degree of freedom in a lens design is obtained.
  • the cross-sectional area in the substrate plane direction of the lens resin portion 82 including the support portion 92 has a specific size in the lower surface of the lens resin portion 82 in order to transmit light entering the lens 21.
  • the cross-sectional area increases as it advances from the lower surface of the lens resin portion 82 toward the upper surface.
  • the cross-sectional area in the lower surface of the lens resin portion 82 is substantially the same as the case of the downward tapered shape. However, the cross-sectional area decreases as it advances from the lower surface of the lens resin portion 82 toward the upper surface.
  • the structure in which the opening width of the through-hole 83 increases toward the lower side provides an effect or an advantage that the size of the lens resin portion 82 including the support portion 92 can be reduced. As a result, it is possible to provide an effect or an advantage that the above-mentioned difficulty in forming lenses, occurring when the lens is large can be reduced.
  • FIG. 17 is a diagram illustrating a seventh embodiment of a camera module which uses a stacked lens structure to which the present technology is applied.
  • Fig. 17 the portions corresponding to those of the fourth embodiment illustrated in Fig. 13 will be denoted by the same reference numerals, and different portions from those of the camera module 1D illustrated in Fig. 13 will be described mainly.
  • a camera module 1G illustrated in Fig. 17 the shapes of the lens resin portions 82 and the through-holes 83 of the substrates with lenses 41 that form the stacked lens structure 11 are different from those of the camera module 1D illustrated in Fig. 13.
  • the stacked lens structure 11 of the camera module 1G includes both a substrate with lenses 41 in which the through-hole 83 has a so-called downward tapered shape such that the opening width decreases toward the lower side (the side on which the light receiving element 12 is disposed) and a substrate with lenses 41 in which the through-hole 83 has a so-called fan shape such that the opening width increases toward the lower side.
  • the through-hole 83 has a so-called downward tapered shape that the opening width decreases toward the lower side, the oblique incident light 85 striking the side wall of the through-hole 83 is reflected in the upper direction (so-called the incidence side direction) as described above. Due to this, an effect or an advantage of suppressing the occurrence of stray light or noise light is obtained.
  • a plurality of substrates with lenses 41 in which the through-hole 83 has the so-called downward tapered shape that the opening width decreases toward the lower side is used particularly on the upper side (the incidence side) among the plurality of substrates with lenses 41 that forms the stacked lens structure 11.
  • the support substrate 81 provided in the substrate with lenses 41 is rarely likely to obstruct the optical path as described above. Due to this, an effect or an advantage of increasing the degree of freedom in a lens design or reducing the size of the lens resin portion 82 including the support portion 92 provided in the substrate with lenses 41 is obtained.
  • the lens resin portion 82 provided in several substrates with lenses 41 disposed on the lower side among the plurality of substrates with lenses 41 that forms the stacked lens structure 11 has a large size.
  • the through-hole 83 having the fan shape is used in such a large lens resin portion 82, a remarkable effect of reducing the size of the lens resin portion 82 is obtained.
  • a plurality of substrates with lenses 41 in which the through-hole 83 has the so-called fan shape that the opening width increases toward the lower side is used particularly on the lower side among the plurality of substrates with lenses 41 that forms the stacked lens structure 11.
  • a to C of Fig. 18 are cross-sectional views illustrating a detailed configuration of the substrate with lenses 41.
  • a to C of Fig. 18 illustrate the substrate with lenses 41a on the top layer among the five substrates with lenses 41a to 41e, the other substrates with lenses 41 are configured similarly.
  • the substrate with lenses 41 may have any one of the configurations illustrated in A to C of Fig. 18.
  • the lens resin portion 82 is formed so as to block the through-hole 83 when seen from the upper surface in relation to the through-hole 83 formed in the support substrate 81.
  • the lens resin portion 82 includes the lens portion 91 (not illustrated) at the center and the support portion 92 (not illustrated) in the periphery.
  • a film 121 having a light absorbing property or a light blocking property is formed on the side wall of the through-hole 83 of the substrate with lenses 41 in order to prevent ghost or flare resulting from reflection of light.
  • Such a film 121 will be referred to as a light blocking film 121 for the sake of convenience.
  • An upper surface layer 122 containing oxides, nitrides, or other insulating materials is formed on an upper surface of the support substrate 81 and the lens resin portion 82,and a lower surface layer 123 containing oxides, nitrides, or other insulating materials is formed on a lower surface of the support substrate 81 and the lens resin portion 82.
  • the upper surface layer 122 forms an anti-reflection film in which a low refractive index film and a high refractive index film are stacked alternately in a plurality of layers.
  • the anti-reflection film can be formed by alternately stacking a low refractive index film and a high refractive index film in four layers in total.
  • the low refractive index film is formed of an oxide film such as SiOx (1 ⁇ x ⁇ 2), SiOC, and SiOF
  • the high refractive index film is formed of a metal oxide film such as TiO, TaO, and Nb2O5.
  • the configuration of the upper surface layer 122 may be designed so as to obtain a desired anti-reflection performance using an optical simulation, for example, and the material, the thickness, the number of stacked layers, and the like of the low refractive index film and the high refractive index film are not particularly limited.
  • the top surface of the upper surface layer 122 is a low refractive index film which has a thickness of 20 to 1000 nm, for example, a density of 2.2 to 2.5 g/cm 3 , for example, and a flatness of approximately 1 nm or smaller in root mean roughness Rq (RMS), for example.
  • the upper surface layer 122 also serve as a bonding film when it is bonded to other substrates with lenses 41, which will be described in detail later.
  • the upper surface layer 122 may be an anti-reflection film in which a low refractive index film and a high refractive index film are stacked alternately in a plurality of layers, and among such anti-reflection films, the upper surface layer 122 may be an anti-reflection film of an inorganic material.
  • the upper surface layer 122 may be a single-layer film containing oxides, nitrides, or other insulating materials, and among such single-layer films, the upper surface layer 122 may be a film of an inorganic material.
  • the lower surface layer 123 may be an anti-reflection film in which a low refractive index film and a high refractive index film are stacked alternately in a plurality of layers, and among such anti-reflection films, the lower surface layer 123 may be an anti-reflection film of an inorganic material.
  • the lower surface layer 123 may be a single-layer film containing oxides, nitrides, or other insulating materials, and among such single-layer films, the lower surface layer 123 may be a film of an inorganic material.
  • a film formed on the lower surface of the support substrate 81 and the lens resin portion 82 is different from that of the substrate with lenses 41 illustrated in A of Fig. 18.
  • a lower surface layer 124 containing oxides, nitrides, or other insulating materials is formed on the lower surface of the support substrate 81, and the lower surface layer 124 is not formed on the lower surface of the lens resin portion 82.
  • the lower surface layer 124 may be formed of the same material as or a different material from the upper surface layer 122.
  • Such a structure can be formed by a manufacturing method of forming the lower surface layer 124 on the lower surface of the support substrate 81 before forming the lens resin portion 82 and then forming the lens resin portion 82.
  • a structure can be formed by forming a mask on the lens resin portion 82 after forming the lens resin portion 82 and then depositing a film that forms the lower surface layer 124 to the lower surface of the support substrate 81 according to PVD, for example, in a state in which a mask is not formed on the support substrate 81.
  • the upper surface layer 125 containing oxides, nitrides, or other insulating materials is formed on the upper surface of the support substrate 81, and the upper surface layer 125 is not formed on the upper surface of the lens resin portion 82.
  • the lower surface layer 124 containing oxides, nitrides, or other insulating materials is formed on the lower surface of the support substrate 81, and the lower surface layer 124 is not formed on the lower surface of the lens resin portion 82.
  • Such a structure can be formed by a manufacturing method of forming the upper surface layer 125 and the lower surface layer 124 on the support substrate 81 before the lens resin portion 82 is formed and then forming the lens resin portion 82.
  • a structure can be formed by forming a mask on the lens resin portion 82 after forming the lens resin portion 82 and then depositing a film that forms the upper surface layer 125 and the lower surface layer 124 to the surface of the support substrate 81 according to PVD, for example, in a state in which a mask is not formed on the support substrate 81.
  • the lower surface layer 124 and the upper surface layer 125 may be formed of the same material or different materials.
  • the substrate with lenses 41 can be formed in the above-mentioned manner.
  • a support substrate 81W in a substrate state in which a plurality of through-holes 83 is formed is prepared.
  • a silicon substrate used in general semiconductor devices, for example, can be used as the support substrate 81W.
  • the support substrate 81W has a circular shape as illustrated in A of Fig. 19, for example, and the diameter thereof is 200 mm or 300 mm, for example.
  • the support substrate 81W may be a glass substrate, a resin substrate, or a metal substrate, for example, other than the silicon substrate.
  • planar shape of the through-hole 83 is circular as illustrated in A of Fig. 19, the planar shape of the through-hole 83 may be a polygonal shape such as a rectangle as illustrated in B of Fig. 19.
  • the opening width of the through-hole 83 may be between approximately 100 ⁇ m and approximately 20 mm, for example. In this case, for example, approximately 100 to 5,000,000 through-holes 83 can be disposed in the support substrate 81W.
  • the size of the through-hole 83 in the plane direction of the substrate with lenses 41 is referred to as an opening width.
  • the opening width means the length of one side when the planar shape of the through-hole 83 is rectangular and means the diameter when the planar shape of the through-hole 83 is circular unless particularly stated otherwise.
  • the through-hole 83 is configured such that a second opening width 132 in a second surface facing a first surface of the support substrate 81W is smaller than a first opening width 131 in the first surface.
  • the through-hole 83 may have a truncated conical shape as illustrated in A of Fig. 20 and may have a truncated polygonal pyramidal shape.
  • the cross-sectional shape of the side wall of the through-hole 83 may be linear as illustrated in A of Fig. 20 and may be curved as illustrated in B of Fig. 20.
  • the cross-sectional shape may have a step as illustrated in C of Fig. 20.
  • the resin that forms the lens resin portion 82 receives force from the two facing mold members and is pressed against the side wall of the through-hole 83. Due to this, it is possible to obtain an effect of increasing the adhesion strength between the support substrate and the resin that forms the lens resin portion 82.
  • the through-hole 83 may have such a shape that the first opening width 131 is the same as the second opening width 132 (that is, a shape that the cross-sectional shape of the side wall of the through-hole 83 is vertical).
  • the through-holes 83 of the support substrate 81W can be formed by etching the support substrate 81W according to wet-etching. Specifically, before the support substrate 81W is etched, an etching mask for preventing a non-opening region of the support substrate 81W from being etched is formed on the surface of the support substrate 81W. An insulating film such as a silicon oxide film and a silicon nitride film, for example, is used as the material of the etching mask.
  • the etching mask is formed by forming the layer of an etching mask material on the surface of the support substrate 81W and opening a pattern that forms the planar shape of the through-hole 83 in the layer. After the etching mask is formed, the support substrate 81W is etched whereby the through-holes 83 are formed in the support substrate 81W.
  • crystal anisotropic wet-etching which uses an alkaline solution such as KOH may be used to form the through-hole 83.
  • etching for forming the through-hole wet-etching which uses a chemical liquid capable of etching silicon in an arbitrary shape without any limitation of crystal orientations, disclosed in International Patent Publication No. 2011/017739 or the like may be used.
  • this chemical liquid include a chemical liquid obtained by adding at least one of polyoxyethylene alkylphenyl ethers, polyoxyalkylenealkyl ethers, and polyethylene glycols which are surfactants to an aqueous solution of TMAH (tetramethylammonium hydroxide) or a chemical liquid obtained by adding isopropyl alcohols to an aqueous solution of KOH.
  • TMAH tetramethylammonium hydroxide
  • the through-holes 83 When etching for forming the through-holes 83 is performed on the support substrate 81W which is single-crystal silicon of which the substrate plane orientation is (100) using any one the above-mentioned chemical liquids, the through-holes 83 in which the planar shape is circular when the planar shape of the opening of the etching mask is circular, the second opening width 132 is smaller than the first opening width 131, and the three-dimensional shape is a truncated conical shape or a similar shape are obtained.
  • the through-holes 83 in which the planar shape is rectangular, the second opening width 132 is smaller than the first opening width 131, and the three-dimensional shape is a truncated pyramidal shape or a similar shape are obtained.
  • the angle of the side wall of the through-hole 83 having the truncated conical shape or the truncated pyramidal shape is approximately 45° with respect to the substrate plane.
  • etching for forming the through-holes 83 dry-etching can be also used rather than the wet-etching.
  • an etching mask 141 is formed on one surface of the support substrate 81W.
  • the etching mask 141 has a mask pattern in which portions that form the through-holes 83 are open.
  • the support substrate 81W is etched to a predetermined depth according to dry-etching as illustrated in C of Fig. 21.
  • the protective film 142 on the surface of the support substrate 81W and the surface of the etching mask 141 is removed, the protective film 142 on the side surface of the etching mask 141 remains and the side wall of the etching mask 141 is protected.
  • the protective film 142 on the side wall is removed and the etching mask 141 is removed in a direction of increasing the size of the opening pattern.
  • a protective film forming step, a dry-etching step, and an etching mask removal step illustrated in B to D of Fig. 21 are repeatedly performed a plurality of number of times.
  • the support substrate 81W is etched in a stair shape (concave-convex shape) having periodic steps.
  • the through-holes 83 having a stair shaped side wall are formed in the support substrate 81W as illustrated in F of Fig. 21.
  • the width (the width of one step) in the plane direction of the stair shape of the through-hole 83 is between approximately 400 nm and 1 ⁇ m, for example.
  • a protective film forming step, a dry-etching step, and an etching mask removal step are executed repeatedly.
  • the side wall of the through-hole 83 has a periodic stair shape (concave-convex shape), it is possible to suppress reflection of incident light. If the side wall of the through-hole 83 has a concave-convex shape of a random size, a void (cavity) is formed in an adhesion layer between the side wall and the lens formed in the through-hole 83, and the adhesion to the lens may decrease due to the void.
  • the adhesion property is improved, and a change in optical characteristics due to a positional shift of lenses can be suppressed.
  • the support substrate 81W may be single-crystal silicon
  • the etching mask 141 may be a photoresist
  • the protective film 142 may be fluorocarbon polymer formed using gas plasma such as C4F8 and CHF3.
  • the etching process may use plasma etching which uses gas that contains F such as SF6/O2 and C4F8/SF6.
  • the mask removing step may use plasma etching which uses O2 gas or gas that contains O2 such as CF4/O2.
  • the support substrate 81W may be single-crystal silicon
  • the etching mask 141 may be SiO2
  • etching may use plasma that contains Cl2
  • the protective film 142 may use an oxide film obtained by oxidating an etching target material using O2 plasma
  • the etching process may use plasma using gas that contains Cl2
  • the etching mask removal step may use plasma etching which uses gas that contains F such as CF4/O2.
  • through-grooves 151 may be formed in a region in which the through-holes 83 are not formed, of the support substrate 81W as illustrated in A of Fig. 22.
  • FIG. 22 is a plan view of the support substrate 81W in which the through-groove 151 as well as the through-hole 83 are formed.
  • the through-groove 151 is disposed only in a portion between the through-holes 83 in each of the row and column directions outside the plurality of through-holes 83 disposed in a matrix form.
  • the through-grooves 151 of the support substrate 81W can be formed at the same position in the respective substrates with lenses 41 that form the stacked lens structure 11. In this case, in a state in which a plurality of support substrates 81W is stacked as the stacked lens structure 11, the through-grooves 151 of the plurality of support substrates 81W pass between the plurality of support substrates 81W as in the cross-sectional view of B of Fig. 22.
  • the through-groove 151 of the support substrate 81W as a portion of the substrate with lenses 41 can provide an effect or an advantage of alleviating a deformation of the substrate with lenses 41 resulting from stress when the stress that deforms the substrate with lenses 41 is applied from the outside of the substrate with lenses 41.
  • the through-groove 151 can provide an effect or an advantage of alleviating a deformation of the substrate with lenses 41 resulting from stress when the stress that deforms the substrate with lenses 41 is generated from the inside of the substrate with lenses 41.
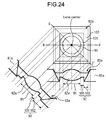
  • a support substrate 81W in which a plurality of through-holes 83 is formed is prepared as illustrated in A of Fig. 23.
  • a light blocking film 121 is formed on the side wall of the through-hole 83.
  • a number of through-holes 83 are actually formed in the plane direction of the support substrate 81W as illustrated in A and B of Fig. 19.
  • an alignment mark (not illustrated) for positioning is formed in a region close to the outer circumference of the support substrate 81W.
  • a front planar portion 171 on an upper side of the support substrate 81W and a rear planar portion 172 on a lower side thereof are planar surfaces formed so flat as to allow plasma bonding performed in a later step.
  • the thickness of the support substrate 81W also plays the role of a spacer that determines a lens-to-lens distance when the support substrate 81W is finally divided as the substrate with lenses 41 and is superimposed on another substrate with lenses 41.
  • a base material having a low thermal expansion coefficient of 10 ppm/°C or less is preferably used as the support substrate 81W.
  • the support substrate 81W is disposed on a lower mold 181 in which a plurality of concave optical transfer surfaces 182 is disposed at a fixed interval. More specifically, the rear planar portion 172 of the support substrate 81W and the planar surface 183 of the lower mold 181 are superimposed together so that the concave optical transfer surface 182 is positioned inside the through-hole 83 of the support substrate 81W.
  • the optical transfer surfaces 182 of the lower mold 181 are formed so as to correspond to the through-holes 83 of the support substrate 81W in one-to-one correspondence, and the positions in the plane direction of the support substrate 81W and the lower mold 181 are adjusted so that the centers of the corresponding optical transfer surface 182 and the through-hole 83 are identical in the optical axis direction.
  • the lower mold 181 is formed of a hard mold member and is configured using metal, silicon, quartz, or glass, for example.
  • an energy-curable resin 191 is filled (dropped) into the through-holes 83 of the lower mold 181 and the support substrate 81W superimposed together.
  • the lens resin portion 82 is formed using the energy-curable resin 191.
  • the energy-curable resin 191 is preferably subjected to a defoaming process in advance so that bubbles are not included.
  • a vacuum defoaming process or a defoaming process which uses centrifugal force is preferably performed as the defoaming process.
  • the vacuum defoaming process is preferably performed after the filling. When the defoaming process is performed, it is possible to form the lens resin portion 82 without any bubble included therein.
  • the upper mold 201 is disposed on the lower mold 181 and the support substrate 81W superimposed together.
  • a plurality of concave optical transfer surfaces 202 is disposed at a fixed interval in the upper mold 201, and similarly to the case of disposing the lower mold 181, the upper mold 201 is disposed after the through-holes 83 and the optical transfer surfaces 202 are aligned with high accuracy so that the centers thereof are identical in the optical axis direction.
  • the position of the upper mold 201 is fixed so that the interval between the upper mold 201 and the lower mold 181 reaches a predetermined distance with the aid of a controller that controls the interval between the upper mold 201 and the lower mold 181.
  • the space interposed between the optical transfer surface 202 of the upper mold 201 and the optical transfer surface 182 of the lower mold 181 is equal to the thickness of the lens resin portion 82 (the lens 21) calculated by optical design.
  • the planar surface 203 of the upper mold 201 and the front planar portion 171 of the support substrate 81W may be superimposed together.
  • the distance between the upper mold 201 and the lower mold 181 is the same as the thickness of the support substrate 81W, and high-accuracy alignment can be realized in the plane direction and the height direction.
  • the amount of the energy-curable resin 191 dropped into the through-holes 83 of the support substrate 81W is controlled to such an amount that the resin does not overflow the through-holes 83 of the support substrate 81W and the space surrounded by the upper mold 201 and the lower mold 181 disposed on the upper and lower sides of the support substrate 81W. Due to this, it is possible to reduce the manufacturing cost without wasting the material of the energy-curable resin 191.
  • a process of curing the energy-curable resin 191 is performed.
  • the energy-curable resin 191 is cured by being irradiated with heat or UV light as energy and being left for a predetermined period, for example.
  • the upper mold 201 is pushed downward and is subjected to alignment, whereby a deformation resulting from shrinkage of the energy-curable resin 191 can be suppressed as much as possible.
  • thermoplastic resin may be used instead of the energy-curable resin 191.
  • the upper mold 201 and the lower mold 181 are heated whereby the energy-curable resin 191 is molded in a lens shape and is cured by being cooled.
  • the controller that controls the positions of the upper mold 201 and the lower mold 181 moves the upper mold 201 upward and the lower mold 181 downward so that the upper mold 201 and the lower mold 181 are separated from the support substrate 81W.
  • the lens resin portion 82 including the lenses 21 is formed inside the through-holes 83 of the support substrate 81W.
  • the surfaces of the upper mold 201 and the lower mold 181 that make contact with the support substrate 81W may be coated with a fluorine-based or silicon-based mold releasing agent. By doing so, the support substrate 81W can be easily separated from the upper mold 201 and the lower mold 181. Moreover, various coatings such as fluorine-containing diamond-like carbon (DLC) may be performed as a method of separating the support substrate 81W from the contact surface easily.
  • DLC fluorine-containing diamond-like carbon
  • the upper surface layer 122 is formed on the surface of the support substrate 81W and the lens resin portion 82, and the lower surface layer 123 is formed on the rear surface of the support substrate 81W and the lens resin portion 82.
  • CMP chemical mechanical polishing
  • the energy-curable resin 191 is pressure-molded (imprinted) into the through-holes 83 formed in the support substrate 81W using the upper mold 201 and the lower mold 181, it is possible to form the lens resin portion 82 and to manufacture the substrate with lenses 41.
  • the shape of the optical transfer surface 182 and the optical transfer surface 202 is not limited to the concave shape described above but may be determined appropriately according to the shape of the lens resin portion 82.
  • the lens shape of the substrates with lenses 41a to 41e may take various shapes derived by optical design.
  • the lens shape may have a biconvex shape, a biconcave shape, a plano-convex shape, a plano-concave shape, a convex meniscus shape, a concave meniscus shape, or a high-order aspherical shape.
  • optical transfer surface 182 and the optical transfer surface 202 may have such a shape that the lens shape after forming has a moth-eye structure.
  • the manufacturing method since a variation in the distance in the plane direction between the lens resin portions 82 due to a curing shrinkage of the energy-curable resin 191 can be prevented by the interposed support substrate 81W, it is possible to control the lens-to-lens distance with high accuracy. Moreover, the manufacturing method provides an effect of reinforcing the weak energy-curable resin 191 with the strong support substrate 81W. Due to this, the manufacturing method provides an advantage that it is possible to provide the lens array substrate in which a plurality of lenses having good handling properties is disposed and to suppress a warp of the lens array substrate.
  • planar shape of the through-hole 83 may be a polygonal shape such as a rectangle.
  • Fig. 24 illustrates a plan view and cross-sectional views of the support substrate 81a and the lens resin portion 82a of the substrate with lenses 41a when the planar shape of the through-hole 83 is rectangular.
  • cross-sectional views of the substrate with lenses 41a illustrated in Fig. 24 are cross-sectional views taken along lines B-B’ and C-C’ in the plan view.
  • the through-hole 83a is rectangular, the distance from the center of the through-hole 83a to an upper outer edge of the through-hole 83a and the distance from the center of the through-hole 83a to a lower outer edge of the through-hole 83a are different in the side direction and the diagonal direction of the through-hole 83a which is a rectangle, and the distance in the diagonal direction is larger than that in the side direction.
  • the distance from the outer circumference of the lens portion 91 to the side wall of the through-hole 83a (that is, the length of the support portion 92) needs to be different in the side direction and the diagonal direction of the rectangle.
  • the lens resin portion 82a illustrated in Fig. 24 has the following structures. (1) The length of the arm portion 101 disposed on the outer circumference of the lens portion 91 is the same in the side direction and the diagonal direction of the rectangle. (2) The length of the leg portion 102 disposed on the outer side of the arm portion 101 to extend up to the side wall of the through-hole 83a is set such that the length of the leg portion 102 in the diagonal direction of the rectangle is larger than the length of the leg portion 102 in the side direction of the rectangle.
  • the leg portion 102 is not in direct-contact with the lens portion 91, and the arm portion 101 is in direct-contact with the lens portion 91.
  • the length and the thickness of the arm portion 101 being in direct-contact with the lens portion 91 are constant over the entire outer circumference of the lens portion 91.
  • the entire lens portion 91 is supported with constant force without deviation, it is possible to obtain an effect or an advantage that, when stress is applied from the support substrate 81a surrounding the through-holes 83a to the entire outer circumference of the through-hole 83a, for example, the stress is transmitted to the entire lens portion 91 without deviation whereby transmission of stress to a specific portion of the lens portion 91 in a deviated manner is prevented.
  • Fig. 25 illustrates a plan view and a cross-sectional view of the support substrate 81a and the lens resin portion 82a of the substrate with lenses 41a, illustrating another example of the through-hole 83 of which the planar shape is rectangular.
  • cross-sectional views of the substrate with lenses 41a illustrated in Fig. 25 are cross-sectional views taken along lines B-B’ and C-C’ in the plan view.
  • the distance from the center of the through-hole 83a to an upper outer edge of the through-hole 83a and the distance from the center of the through-hole 83a to a lower outer edge of the through-hole 83a are different in the side direction and the diagonal direction of the through-hole 83a which is a rectangle, and the distance in the diagonal direction is larger than that in the side direction.
  • the distance from the outer circumference of the lens portion 91 to the side wall of the through-hole 83a (that is, the length of the support portion 92) needs to be different in the side direction and the diagonal direction of the rectangle.
  • the lens resin portion 82a illustrated in Fig. 25 has the following structures.
  • the length of the leg portion 102 disposed on the outer circumference of the lens portion 91 is constant along the four sides of the rectangle of the through-hole 83a.
  • the length of the arm portion 101 is set such that the length of the arm portion in the diagonal direction of the rectangle is larger than the length of the arm portion in the side direction of the rectangle.
  • the thickness of the resin in the leg portion 102 is larger than the thickness of the resin in the arm portion 101. Due to this, the volume of the leg portion 102 per unit area in the plane direction of the substrate with lenses 41a is larger than the volume of the arm portion 101.
  • Fig. 26 is a cross-sectional view illustrating another embodiment of the lens resin portion 82 and the through-hole 83 of the substrate with lenses 41.
  • the lens resin portion 82 and the through-hole 83 illustrated in Fig. 26 have the following structures.
  • the side wall of the through-hole 83 has a stair shape having a stair portion 221.
  • the leg portion 102 of the support portion 92 of the lens resin portion 82 is disposed on the upper side of the side wall of the through-hole 83 and is also disposed on the stair portion 221 provided in the through-hole 83 so as to extend in the plane direction of the substrate with lenses 41.
  • an etching stop film 241 having resistance to the wet etching when forming through-holes is formed on one surface of the support substrate 81W.
  • the etching stop film 241 may be a silicon nitride film, for example.
  • a hard mask 242 having resistance to the wet-etching when forming through-holes is formed on the other surface of the support substrate 81W.
  • the hard mask 242 may also be a silicon nitride film, for example.
  • a predetermined region of the hard mask 242 is opened to perform a first round of etching.
  • a portion of the through-hole 83, which forms the upper end of the stair portion 221 is etched. Due to this, the opening of the hard mask 242 for the first round of etching is a region corresponding to the opening, of the surface of the upper surface of the substrate with lenses 41 illustrated in Fig. 26.
  • wet-etching is performed so that the support substrate 81W is etched to a predetermined depth according to the opening of the hard mask 242.
  • a hard mask 243 is formed again on the surface of the etched support substrate 81W, and the hard mask 243 is opened in a region corresponding to the lower portion of the stair portion 221 of the through-hole 83.
  • the second hard mask 243 may also be a silicon nitride film, for example.
  • wet-etching is performed so that the support substrate 81W is etched to reach the etching stop film 241 according to the opening of the hard mask 243.
  • Fig. 28 illustrates a plan view and cross-sectional views of the support substrate 81a and the lens resin portion 82a of the substrate with lenses 41a when the through-hole 83a has the stair portion 221 and the planar shape of the through-hole 83a is circular.
  • cross-sectional views of the substrate with lenses 41a in Fig. 28 are cross-sectional views taken along lines B-B’ and C-C’ in the plan view.
  • the cross-sectional shape of the through-hole 83a is naturally the same regardless of the diametrical direction.
  • the cross-sectional shapes of the outer edge, the arm portion 101, and the leg portion 102 of the lens resin portion 82a are the same regardless of the diametrical direction.
  • the through-hole 83a having the stair shape illustrated in Fig. 28 provides an effector an advantage that the area in which the leg portion 102 of the support portion 92 of the lens resin portion 82 makes contact with the side wall of the through-hole 83a can be increased as compared to the through-hole 83a illustrated in Fig. 14 in which the stair portion 221 is not provided in the through-hole 83a. Due to this, it is possible to provide an effect or an advantage of increasing the adhesion strength between the lens resin portion 82 and the side wall of the through-hole 83a (that is, the adhesion strength between the lens resin portion 82a and the support substrate 81W).
  • Fig. 29 illustrates a plan view and cross-sectional views of the support substrate 81a and the lens resin portion 82a of the substrate with lenses 41a when the through-hole 83a has the stair portion 221 and the planar shape of the through-hole 83a is rectangular.
  • cross-sectional views of the substrate with lenses 41a in Fig. 29 are cross-sectional views taken along lines B-B’ and C-C’ in the plan view.
  • the lens resin portion 82 and the through-hole 83 illustrated in Fig. 29 have the following structures.
  • the length of the arm portion 101 disposed on the outer circumference of the lens portion 91 is the same in the side direction and the diagonal direction of the rectangle.
  • the length of the leg portion 102 disposed on the outer side of the arm portion 101 to extend up to the side wall of the through-hole 83a is set such that the length of the leg portion 102 in the diagonal direction of the rectangle is larger than the length of the leg portion 102 in the side direction of the rectangle.
  • the leg portion 102 is not in direct-contact with the lens portion 91 whereas the arm portion 101 is in direct-contact with the lens portion 91.
  • the length and the thickness of the arm portion 101 being indirect-contact with the lens portion 91 are constant over the entire outer circumference of the lens portion 91. Due to this, it is possible to provide an effect or an advantage that the entire lens portion 91 is supported with constant force without deviation.
  • the entire lens portion 91 is supported with constant force without deviation, it is possible to obtain an effect or an advantage that, when stress is applied from the support substrate 81a surrounding the through-holes 83a to the entire outer circumference of the through-hole 83a, for example, the stress is transmitted to the entire lens portion 91 without deviation whereby transmission of stress to a specific portion of the lens portion 91 in a deviated manner is prevented.
  • the structure of the through-hole 83a illustrated in Fig. 29 provides an effector an advantage that the area in which the leg portion 102 of the support portion 92 of the lens resin portion 82a makes contact with the side wall of the through-hole 83a can be increased as compared to the through-hole 83a illustrated in Fig. 24 and the like in which the stair portion 221 is not provided in the through-hole 83a. Due to this, it is possible to provide an effect or an advantage of increasing the adhesion strength between the lens resin portion 82a and the side wall of the through-hole 83a (that is, the adhesion strength between the lens resin portion 82a and the support substrate 81a).
  • the substrate with lenses 41W in the substrate state in which the plurality of substrates with lenses 41a is formed will be referred to as a substrate with lenses 41W-a
  • the substrate with lenses 41W in the substrate state in which the plurality of substrates with lenses 41b is formed will be referred to as a substrate with lenses 41W-b
  • the other substrates with lenses 41c to 41e are similarly referred to.
  • the upper surface layer 122 or 125 are formed on the upper surface of the substrates with lenses 41W-a and 41W-b.
  • the lower surface layer 123 or 124 is formed on the lower surface of the substrates with lenses 41W-a and 41W-b.
  • a plasma activation process is performed on the entire lower surface including the rear planar portion 172 of the substrate with lenses 41W-a and the entire upper surface including the front planar portion 171 of the substrate with lenses 41W-b, serving as the bonding surfaces of the substrates with lenses 41W-a and 41W-b.
  • the gas used in the plasma activation process may be arbitrary gas which can be plasma-processed such as O2, N2, He, Ar, and H2.
  • the same gas as the constituent elements of the upper surface layer 122 and the lower surface layer 123 is used as the gas used in the plasma activation process. By doing so, degeneration of the film itself of the upper surface layer 122 and the lower surface layer 123 can be suppressed.
  • the rear planar portion 172 of the substrate with lenses 41W-a in the activated surface state and the front planar portion 171 of the substrate with lenses 41W-b are attached together.
  • a hydrogen bond is formed between the hydrogen of the OH radical on the surface of the lower surface layer 123 or 124 of the substrate with lenses 41W-a and the hydrogen of the OH radical on the surface of the upper surface layer 122 or 125 of the substrate with lenses 41W-b. Due to this, the substrates with lenses 41W-a and 41W-b are fixed together.
  • the attachment process of the substrates with lenses can be performed under the condition of the atmospheric pressure.
  • An annealing process is performed on the attached substrates with lenses 41W-a and 41W-b.
  • dehydration condensation occurs from the state in which the OH radicals form a hydrogen bond
  • an oxygen-based covalent bond is formed between the lower surface layer 123 or 124 of the substrate with lenses 41W-a and the upper surface layer 122 or 125 of the substrate with lenses 41W-b.
  • the element contained in the lower surface layer 123 or 124 of the substrate with lenses 41W-a and the element contained in the upper surface layer 122 or 125 of the substrate with lenses 41W-b form a covalent bond.
  • a state in which a covalent bond is formed between the lower surface layer 123 or 124 of the substrate with lenses 41W disposed on the upper side and the upper surface layer 122 or 125 of the substrate with lenses 41W disposed on the lower side whereby the two substrates with lenses 41W are fixed together is referred to as direct bonding in the present specification.
  • the method of fixing a plurality of substrates with lenses by the resin formed on the entire surface, disclosed in Patent Literature 1 has a problem that the resin may experience curing shrinkage and thermal expansion and the lens may be deformed.
  • the direct bonding of the present technology provides an effect or an advantage that, since the resin is not used when fixing the plurality of substrates with lenses 41W, the plurality of substrates with lenses 41W can be fixed without causing a curing shrinkage and a thermal expansion.
  • the annealing process can be performed under the condition of the atmospheric pressure. This annealing process can be performed at a temperature of 100°C or higher, 150°C or higher, or 200°C or higher in order to realize dehydration condensation. On the other hand, this annealing process can be performed at a temperature of 400°C or lower, 350°C or lower, or 300°C or lower from the perspective of protecting the energy-curable resin 191 for forming the lens resin portion 82 from heat and the perspective of suppressing degassing from the energy-curable resin 191.
  • the upper surface layer 122 or the lower surface layer 123 is formed on the rear planar portion 172 of the substrate with lenses 41W-a and the front planar portion 171 of the substrate with lenses 41W-b.
  • a dangling bond is likely to be formed due to the plasma activation process performed previously. That is, the lower surface layer 123 formed on the rear planar portion 172 of the substrate with lenses 41W-a and the upper surface layer 122 formed on the front planar portion 171 of the substrate with lenses 41W-a also have the function of increasing the bonding strength.
  • the upper surface layer 122 or the lower surface layer 123 is formed of an oxide film, since the layer is not affected by a change in the film property due to plasma (O2), it is possible to provide an effect of suppressing plasma-based corrosion of the lens resin portion 82.
  • the substrate with lenses 41W-a in the substrate state in which the plurality of substrates with lenses 41a is formed and the substrate with lenses 41W-b in the substrate state in which the plurality of substrates with lenses 41b is formed are direct-bonded after being subjected to a plasma-based surface activation process (that is, the substrates are bonded using plasma bonding).
  • a to F of Fig. 32 illustrate a first stacking method of stacking five substrates with lenses 41a to 41e corresponding to the stacked lens structure 11 illustrated in Fig. 13 in the substrate state using the method of bonding the substrates with lenses 41W in the substrate state described with reference to A and B of Fig. 31.
  • a substrate with lenses 41W-e in the substrate state positioned on the bottom layer of the stacked lens structure 11 is prepared.
  • a substrate with lenses 41W-d in the substrate state positioned on the second layer from the bottom of the stacked lens structure 11 is bonded to the substrate with lenses 41W-e in the substrate state.
  • a substrate with lenses 41W-c in the substrate state positioned on the third layer from the bottom of the stacked lens structure 11 is bonded to the substrate with lenses 41W-d in the substrate state.
  • a substrate with lenses 41W-b in the substrate state positioned on the fourth layer from the bottom of the stacked lens structure 11 is bonded to the substrate with lenses 41W-c in the substrate state.
  • a substrate with lenses 41W-a in the substrate state positioned on the fifth layer from the bottom of the stacked lens structure 11 is bonded to the substrate with lenses 41W-b in the substrate state.
  • a diaphragm plate 51W positioned on the upper layer of the substrate with lenses 41a of the stacked lens structure 11 is bonded to the substrate with lenses 41W-a in the substrate state.
  • a to F of Fig. 33 illustrate a second stacking method of stacking five substrates with lenses 41a to 41e corresponding to the stacked lens structure 11 illustrated in Fig. 13 in the substrate state using the method of bonding the substrates with lenses 41W in the substrate state described with reference to A and B of Fig. 31.
  • a diaphragm plate 51W positioned on the upper layer of the substrate with lenses 41a of the stacked lens structure 11 is prepared.
  • a substrate with lenses 41W-a in the substrate state positioned on the top layer of the stacked lens structure 11 is inverted upside down and is then bonded to the diaphragm plate 51W.
  • a substrate with lenses 41W-b in the substrate state positioned on the second layer from the top of the stacked lens structure 11 is inverted upside down and is then bonded to the substrate with lenses 41W-a in the substrate state.
  • a substrate with lenses 41W-c in the substrate state positioned on the third layer from the top of the stacked lens structure 11 is inverted upside down and is then bonded to the substrate with lenses 41W-b in the substrate state.
  • a substrate with lenses 41W-d in the substrate state positioned on the fourth layer from the top of the stacked lens structure 11 is inverted upside down and is then bonded to the substrate with lenses 41W-c in the substrate state.
  • a substrate with lenses 41W-e in the substrate state positioned on the fifth layer from the top of the stacked lens structure 11 is inverted upside down and is then bonded to the substrate with lenses 41W-d in the substrate state.
  • the five substrates with lenses 41W-a to 41W-e in the substrate state stacked by the stacking method described in A to F of Fig. 32 or A to F of Fig. 33 are divided in respective modules or chips using a blade, a laser, or the like whereby the stacked lens structure 11 in which the five substrates with lenses 41a to 41e are stacked is obtained.
  • FIG. 34 is a diagram illustrating an eighth embodiment of a camera module which uses a stacked lens structure to which the present technology is applied.
  • Fig. 35 is a diagram illustrating a ninth embodiment of a camera module which uses a stacked lens structure to which the present technology is applied.
  • a camera module 1H illustrated in Fig. 34 and a camera module 1J illustrated in Fig. 35 the portion of the structure material 73 of the camera module E illustrated in Fig. 13 is replaced with another structure.
  • the portion of the structure material 73 of the camera module 1J is replaced with structure materials 301a and 301b and alight transmitting substrate 302.
  • the structure material 301a is disposed in a portion of the upper side of the light receiving element 12.
  • the light receiving element 12 and the light transmitting substrate 302 are fixed by the structure material 301a.
  • the structure material 301a is an epoxy-based resin, for example.
  • the structure material 301b is disposed on the upper side of the light transmitting substrate 302.
  • the light transmitting substrate 302 and the stacked lens structure 11 are fixed by the structure material 301b.
  • the structure material 301b is an epoxy-based resin, for example.
  • the portion of the structure material 301a of the camera module 1H illustrated in Fig. 34 is replaced with a resin layer 311 having a light transmitting property.
  • the resin layer 311 is disposed on the entire upper surface of the light receiving element 12.
  • the light receiving element 12 and the light transmitting substrate 302 are fixed by the resin layer 311.
  • the resin layer 311 disposed on the entire upper surface of the light receiving element 12 provides an effect or an advantage that, when stress is applied to the light transmitting substrate 302 from the upper side of the light transmitting substrate 302, the resin layer 311 prevents the stress from concentrating on a partial region of the light receiving element 12 so that the stress is received while being distributed to the entire surface of the light receiving element 12.
  • the structure material 301b is disposed on the upper side of the light transmitting substrate 302.
  • the light transmitting substrate 302 and the stacked lens structure 11 are fixed by the structure material 301b.
  • the camera module 1H illustrated in Fig. 34 and the camera module 1J illustrated in Fig. 35 include the light transmitting substrate 302 on the upper side of the light receiving element 12.
  • the light transmitting substrate 302 provides an effect or an advantage of suppressing the light receiving element 12 from being damaged in the course of manufacturing the camera module 1H or 1J, for example.
  • FIG. 36 is a diagram illustrating a tenth embodiment of a camera module which uses a stacked lens structure to which the present technology is applied.
  • the stacked lens structure 11 is accommodated in a lens barrel 74.
  • the lens barrel 74 is fixed to a moving member 332 moving along a shaft 331 by a fixing member 333.
  • a drive motor not illustrated
  • the distance from the stacked lens structure 11 to the imaging surface of the light receiving element 12 is adjusted.
  • the lens barrel 74, the shaft 331, the moving member 332, and the fixing member 333 are accommodated in the housing 334.
  • a protective substrate 335 is disposed on an upper portion of the light receiving element 12, and the protective substrate 335 and the housing 334 are connected by an adhesive 336.
  • the mechanism that moves the stacked lens structure 11 provides an effect or an advantage of allowing a camera which uses the camera module 1J to perform an autofocus operation when photographing an image.
  • Fig. 37 is a diagram illustrating an eleventh embodiment of a camera module which uses a stacked lens structure to which the present technology is applied.
  • a camera module 1L illustrated in Fig. 37 is a camera module in which a focus adjustment mechanism based on a piezoelectric element is added.
  • a structure material 301a is disposed in a portion of the upper side of the light receiving element 12 similarly to the camera module 1H illustrated in Fig. 34.
  • the light receiving element 12 and the light transmitting substrate 302 are fixed by the structure material 301a.
  • the structure material 301a is an epoxy-based resin, for example.
  • a piezoelectric element 351 is disposed on an upper side of the light transmitting substrate 302.
  • the light transmitting substrate 302 and the stacked lens structure 11 are fixed by the piezoelectric element 351.
  • the stacked lens structure 11 when a voltage is applied to the piezoelectric element 351 disposed on the lower side of the stacked lens structure 11 and the voltage is blocked, the stacked lens structure 11 can be moved up and down.
  • the means for moving the stacked lens structure 11 is not limited to the piezoelectric element 351, but another device of which the shape changes when a voltage is applied or blocked can be used.
  • a MEMS device can be used.
  • the mechanism that moves the stacked lens structure 11 provides an effect or an advantage of allowing a camera which uses the camera module 1L to perform an autofocus operation when photographing an image.
  • the stacked lens structure 11 has a structure (hereinafter, referred to as a present structure) in which the substrates with lenses 41 are fixed by direct bonding.
  • a present structure a structure in which the substrates with lenses 41 are fixed by direct bonding. The effect and the advantage of the present structure will be described in comparison with other structures of a substrate with lenses in which lenses are formed.
  • Fig. 38 is a cross-sectional view of a first substrate structure (hereinafter, referred to as Comparative Structure Example 1) for comparing with the present structure and is across-sectional view of a wafer-level stacked structure disclosed in Fig. 14B of Japanese Patent Application Laid-open No. 2011-138089 (hereinafter, referred to as Comparative Literature 1).
  • a wafer-level stacked structure 1000 illustrated in Fig. 38 has a structure in which two lens array substrates 1021 are stacked on a sensor array substrate 1012 in which a plurality of image sensors 1011 is arranged on a wafer substrate 1010 with a columnar spacer 1022 interposed.
  • Each lens array substrate 1021 includes a substrate with lenses 1031 and lenses 1032 formed in a plurality of through-hole portions formed in the substrate with lenses 1031.
  • Fig. 39 is a cross-sectional view of a second substrate structure (hereinafter, referred to as Comparative Structure Example 2) for comparing with the present structure and is a cross-sectional view of a lens array substrate disclosed in Fig. 5A of Japanese Patent Application Laid-open No. 2009-279790 (hereinafter, referred to as Comparative Literature 2).
  • lenses 1053 are provided in a plurality of through-holes 1052 formed in a planar substrate 1051.
  • Each lens 1053 is formed of a resin (energy-curable resin) 1054, and the resin 1054 is also formed on the upper surface of the substrate 1051.
  • a of Fig. 40 illustrates a state in which the substrate 1051 in which the plurality of through-holes 1052 is formed is placed on a lower mold 1061.
  • the lower mold 1061 is a metal mold that presses the resin 1054 toward the upper side from the lower side in a subsequent step.
  • B of Fig. 40 illustrates a state in which, after the resin 1054 is applied to the inside of the plurality of through-holes 1052 and the upper surface of the substrate 1051, the upper mold 1062 is disposed on the substrate 1051 and pressure-molding is performed using the upper mold 1062 the lower mold 1061.
  • the upper mold 1062 is a metal mold that presses the resin 1054 toward the lower side from the upper side. In a state illustrated in B of Fig. 40, the resin 1054 is cured.
  • FIG. 40 illustrates a state in which, after the resin 1054 is cured, the upper mold 1062 and the lower mold 1061 are removed and the lens array substrate 1041 is obtained.
  • the lens array substrate 1041 is characterized in that (1) the resin 1054 formed at the positions of the through-holes 1052 of the substrate 1051 forms the lenses 1053 whereby a plurality of lenses 1053 is formed in the substrate 1051 and (2) a thin layer of the resin 1054 is formed on the entire upper surface of the substrate 1051 positioned between the plurality of lenses 1053.
  • the substrates 1041 when the plurality of lens array substrates 1041 is stacked to form a structure, since the area of attaching the substrates can be increased as compared to the wafer-level stacked structure 1000 illustrated in Fig. 38 as Comparative Structure Example 1, the substrates can be attached with stronger force.
  • Comparative Literature 2 which discloses the lens array substrate 1041 illustrated in Fig. 39 as Comparative Structure Example 2, it is described that the resin 1054 serving as the lenses 1053 provides the following effects.
  • an energy-curable resin is used as the resin 1054.
  • a photo-curable resin is used as an example of the energy-curable resin.
  • the resin 1054 is irradiated with UV light, the resin 1054 is cured. With this curing, a curing shrinkage occurs in the resin 1054.
  • the lens array substrate 1041 illustrated in Fig. 39 even when a curing shrinkage of the resin 1054 occurs, since the substrate 1051 is interposed between the plurality of lenses 1053, it is possible to prevent a variation in the distance between the lenses 1053 resulting from a curing shrinkage of the resin 1054. As a result, it is possible to suppress a warp of the lens array substrate 1041 in which the plurality of lenses 1053 is disposed.
  • Fig. 41 is a cross-sectional view of a third substrate structure (hereinafter, referred to as Comparative Structure Example 3) for comparing with the present structure and is across-sectional view of a lens array substrate disclosed in Fig. 1 of Japanese Patent Application Laid-open No. 2010-256563 (hereinafter, referred to as Comparative Document 3).
  • lenses 1093 are provided in a plurality of through-holes 1092 formed in a planar substrate 1091.
  • Each lens 1093 is formed of a resin (energy-curable resin) 1094, and the resin 1094 is also formed on the upper surface of the substrate 1091 in which the through-hole 1092 is not formed.
  • a of Fig. 42 illustrates a state in which the substrate 1091 in which the plurality of through-holes 1092 is formed is placed on a lower mold 1101.
  • the lower mold 1101 is a metal mold that presses the resin 1094 toward the upper side from the lower side in a subsequent step.
  • B of Fig. 42 illustrates a state in which, after the resin 1094 is applied to the inside of the plurality of through-holes 1092 and the upper surface of the substrate 1091, an upper mold 1102 is disposed on the substrate 1091 and pressure-molding is performed using the upper mold 1102 and the lower mold 1101.
  • the upper mold 1102 is a metal mold that presses the resin 1094 toward the lower side from the upper side.
  • the resin 1094 is cured.
  • FIG. 42 illustrates a state in which, after the resin 1094 is cured, the upper mold 1102 and the lower mold 1101 are removed to obtain the lens array substrate 1081.
  • the lens array substrate 1081 is characterized in that (1) the resin 1094 formed at the positions of the through-holes 1092 of the substrate 1091 forms the lenses 1093 whereby a plurality of lenses 1093 is formed in the substrate 1091 and (2) a thin layer of the resin 1094 is formed on the entire upper surface of the substrate 1091 positioned between the plurality of lenses 1093.
  • Comparative Literature 3 which discloses the lens array substrate 1081 illustrated in Fig. 41 as Comparative Structure Example 3, it is described that the resin 1094 serving as the lenses 1093 provides the following effects.
  • an energy-curable resin is used as the resin 1094.
  • a photo-curable resin is used as an example of the energy-curable resin.
  • the resin 1094 is irradiated with UV light, the resin 1094 is cured. With this curing, a curing shrinkage occurs in the resin 1094.
  • the lens array substrate 1081 illustrated in Fig. 41 even when a curing shrinkage of the resin 1094 occurs, since the substrate 1091 is interposed between the plurality of lenses 1093, it is possible to prevent a variation in the distance between the lenses 1093 resulting from a curing shrinkage of the resin 1094. As a result, it is possible to suppress a warp of the lens array substrate 1081 in which the plurality of lenses 1093 is disposed.
  • Comparative Literature 2 and 3 it is described that a curing shrinkage occurs when a photo-curable resin is cured.
  • the curing shrinkage occurring when a photo-curable resin is cured is also disclosed in Japanese Patent Application Laid-open No. 2013-1091 or the like as well as Comparative Literature 2 and 3.
  • the problem of a curing shrinkage occurring in a resin when the resin is molded into the shape of lenses and the molded resin is cured is not limited to the photo-curable resin.
  • a curing shrinkage occurring during curing is also a problem in a heat-curable resin which is one type of an energy-curable resin similarly to the photo-curable resin. This is also disclosed in Japanese Patent Application Laid-open No. 2010-204631 or the like as well as Comparative Literature 1 and 3, for example.
  • Fig. 43 is a cross-sectional view of a fourth substrate structure (hereinafter, referred to as Comparative Structure Example 4) for comparing with the present structure and is across-sectional view of a lens array substrate disclosed in Fig. 6 of Comparative Literature 2 described above.
  • Comparative Structure Example 4 a fourth substrate structure for comparing with the present structure and is across-sectional view of a lens array substrate disclosed in Fig. 6 of Comparative Literature 2 described above.
  • a lens array substrate 1121 illustrated in Fig. 43 is different from the lens array substrate 1041 illustrated in Fig. 39 in that the shape of a substrate 1141 other than the through-holes 1042 protrudes toward the lower side as well as the upper side and a resin 1144 is also formed in a portion of the lower surface of the substrate 1141.
  • the other configurations of the lens array substrate 1121 are similar to those of the lens array substrate 1041 illustrated in Fig. 39.
  • Fig. 44 is a diagram illustrating a method of manufacturing the lens array substrate 1121 illustrated in Fig. 43 and is a diagram corresponding to B of Fig. 40.
  • Fig. 44 illustrates a state in which, after the resin 1144 is applied to the inside of the plurality of through-holes 1142 and the upper surface of the substrate 1141, pressure molding is performed using an upper mold 1152 and a lower mold 1151. The resin 1144 is also injected between the lower surface of the substrate 1141 and the lower mold 1151. In the state illustrated in Fig. 44, the resin 1144 is cured.
  • the lens array substrate 1121 is characterized in that (1) the resin 1144 formed at the positions of the through-holes 1142 of the substrate 1141 forms the lenses 1143 whereby a plurality of lenses 1143 is formed in the substrate 1141 and (2) a thin layer of the resin 1144 is formed on the entire upper surface of the substrate 1141 positioned between the plurality of lenses 1143 and a thin layer of the resin 1144 is also formed in a portion of the lower surface of the substrate 1141.
  • Comparative Literature 2 which discloses the lens array substrate 1121 illustrated in Fig. 43 as Comparative Structure Example 4, it is described that the resin 1144 serving as the lenses 1143 provides the following effects.
  • a photo-curable resin which is an example of an energy-curable resin is used as the resin 1144.
  • the resin 1144 is irradiated with UV light, the resin 1144 is cured. With this curing, a curing shrinkage occurs in the resin 1144 similarly to Comparative Structure Examples 2 and 3.
  • a thin layer of the resin 1144 is formed in a certain region of the lower surface of the substrate 1141 as well as the entire upper surface of the substrate 1141 positioned between the plurality of lenses 1143.
  • the lens array substrate 1121 illustrated in Fig. 43 it is possible to provide a lens array substrate in which the amount of a warp is reduced as compared to the lens array substrate 1041 illustrated in Fig. 39.
  • Fig. 45 is a cross-sectional view of a fifth substrate structure (hereinafter, referred to as Comparative Structure Example 5) for comparing with the present structure and is across-sectional view of a lens array substrate disclosed in Fig. 9 of Comparative Literature 2 described above.
  • a lens array substrate 1161 illustrated in Fig. 45 is different from the lens array substrate 1041 illustrated in Fig. 39 in that a resin protrusion region 1175 is formed on a rear surface of a substrate 1171 near through-holes 1172 formed in the substrate 1171.
  • the other configurations of the lens array substrate 1161 are similar to those of the lens array substrate 1041 illustrated in Fig. 39.
  • Fig. 45 illustrates the divided lens array substrate 1161.
  • the lens array substrate 1161 is characterized in that (1) a resin 1174 formed at the positions of the through-holes 1172 of the substrate 1171 forms lenses 1173 whereby a plurality of lenses 1173 is formed in the substrate 1171 and (2) a thin layer of the resin 1174 is formed on the entire upper surface of the substrate 1171 positioned between the plurality of lenses 1173 and a thin layer of the resin 1174 is also formed in a portion of the lower surface of the substrate 1171.
  • Comparative Literature 2 which discloses the lens array substrate 1161 illustrated in Fig. 45 as Comparative Structure Example 5, it is described that the resin 1174 serving as the lenses 1173 provides the following effects.
  • a photo-curable resin which is an example of an energy-curable resin is used as the resin 1174.
  • the resin 1174 is irradiated with UV light, the resin 1174 is cured. With this curing, a curing shrinkage occurs in the resin 1174 similarly to Comparative Structure Examples 2 and 3.
  • a thin layer (the resin protrusion region 1175) of the resin 1174 is formed in a certain region of the lower surface of the substrate 1171 as well as the entire upper surface of the substrate 1171 positioned between the plurality of lenses 1173. Due to this, it is possible to provide a lens array substrate in which the direction of a warp of the entire lens array substrate 1171 is canceled and the amount of a warp is reduced.
  • a to C of Fig. 46 are diagrams schematically illustrating a structure in which a resin layer is disposed on the entire upper surface of a lens array substrate and are diagrams illustrating the effect of the resin serving as lenses.
  • a curing shrinkage occurs in the layer of a photo-curable resin 1212 disposed on the upper surface of a lens array substrate 1211 (lenses and through-holes are not illustrated) when irradiated with UV light for curing.
  • force in the shrinking direction resulting from the photo-curable resin 1212 occurs in the layer of the photo-curable resin 1212.
  • the lens array substrate 1211 itself does not shrink or expand even when irradiated with UV light. That is, force resulting from the substrate does not occur in the lens array substrate 1211 itself. As a result, the lens array substrate 1211 warps in a downward convex shape as illustrated in C of Fig. 46.
  • a to C of Fig. 47 are diagrams schematically illustrating a structure in which a resin layer is disposed on both the upper surface and the lower surface of a lens array substrate and is a diagram illustrating the effect of the resin serving as lenses.
  • a curing shrinkage occurs in the layer of a photo-curable resin 1212 disposed on the upper surface of a lens array substrate 1211 when irradiated with UV light for curing.
  • force in the shrinking direction resulting from the photo-curable resin 1212 occurs in the layer of the photo-curable resin 1212 disposed on the upper surface of the lens array substrate 1211. Due to this, force that warps the lens array substrate 1211 in a downward convex shape acts on the upper surface side of the lens array substrate 1211.
  • the lens array substrate 1211 itself does not shrink or expand even when irradiated with UV light. That is, force resulting from the substrate does not occur in the lens array substrate 1211 itself.
  • a curing shrinkage occurs in the layer of the photo-curable resin 1212 disposed on the lower surface of the lens array substrate 1211 when irradiated with UV light for curing.
  • force in the shrinking direction resulting from the photo-curable resin 1212 occurs in the layer of the photo-curable resin 1212 disposed on the lower surface of the lens array substrate 1211. Due to this, force that warps the lens array substrate 1211 in an upward convex shape acts on the lower surface side of the lens array substrate 1211.
  • the amount of a warp of the lens array substrate 1211 in Comparative Structure Examples 4 and 5 is smaller than the amount of a warp in Comparative Structure Examples 2 and 3 illustrated in C of Fig. 46.
  • the force that warps the lens array substrate and the amount of a warp of the lens array substrate are affected by a relative relation between (1) the direction and the magnitude of the force acting on the lens array substrate on the upper surface of the lens array substrate and (2) the direction and the magnitude of the force acting on the lens array substrate on the lower surface of the lens array substrate.
  • a lens array substrate structure in which the layer and the area of the photo-curable resin 1212 disposed on the upper surface of the lens array substrate 1211 are the same as the layer and the area of the photo-curable resin 1212 disposed on the lower surface of the lens array substrate 1211 can be considered.
  • This lens array substrate structure will be referred to as a sixth substrate structure (hereinafter, referred to as Comparative Structure Example 6) for comparison with the present structure.
  • force in a shrinking direction resulting from the photo-curable resin 1212 occurs in the layer of the photo-curable resin 1212 disposed on the lower surface of the lens array substrate 1211.
  • Force resulting from the substrate does not occur in the lens array substrate 1211 itself. Due to this, force that warps the lens array substrate 1211 in an upward convex shape acts on the lower surface side of the lens array substrate 1211.
  • the two types of force that warps the lens array substrate 1211 act in the direction of canceling each other more effectively than the structure illustrated in A of Fig. 47. As a result, the force that warps the lens array substrate 1211 and the amount of a warp of the lens array substrate 1211 are further reduced as compared to Comparative Structure Examples 4 and 5.
  • the shapes of the substrates with lenses that form the stacked lens structure assembled into a camera module are not the same. More specifically, among the plurality of substrates with lenses that forms a stacked lens structure, for example, the thicknesses of the substrates with lenses and the sizes of the through-holes may be different and the thicknesses, shapes, volumes, and the like of lenses formed in the through-holes may be different. Further specifically, the thickness of a photo-curable resin formed on the upper surface and the lower surface of a substrate with lenses may be different from one substrate with lenses to another.
  • Fig. 49 is a cross-sectional view of a stacked lens structure formed by stacking three substrates with lenses as a seventh substrate structure (hereinafter, referred to as Comparative Structure Example 7).
  • Comparative Structure Example 7 a seventh substrate structure
  • a stacked lens structure 1311 illustrated in Fig. 49 includes three substrates with lenses 1321 to 1323.
  • the substrate with lenses 1321 on the middle layer will be referred to as a first substrate with lenses 1321
  • the substrate with lenses 1322 on the top layer will be referred to as a second substrate with lenses 1322
  • the substrate with lenses 1323 on the bottom layer will be referred to as a third substrate with lenses 1323.
  • the substrate thickness and the lens thickness in the second substrate with lenses 1322 disposed on the top layer are different from those of the third substrate with lenses 1323 disposed on the bottom layer.
  • the lens thickness in the third substrate with lenses 1323 is larger than the lens thickness in the second substrate with lenses 1322.
  • the substrate thickness in the third substrate with lenses 1323 is larger than the substrate thickness in the second substrate with lenses 1322.
  • a resin 1341 is formed on an entire contact surface between the first and second substrates with lenses 1321 and 1322 and an entire contact surface between the first and third substrates with lenses 1321 and 1323.
  • the cross-sectional shape of the through-holes of the three substrates with lenses 1321 to 1323 has such a so-called fan shape that the upper surface of the substrate is wider than the lower surface of the substrate.
  • a to C of Fig. 50 are diagrams schematically illustrating the stacked lens structure 1311 illustrated in Fig. 49.
  • the force of warping the stacked lens structure 1311 and the amount of a warp of the stacked lens structure 1311 change depending on the position in the thickness direction of the stacked lens structure 1311 at which the layer of the resin 1341 present in the entire contact surface of the three substrates with lenses 1321 to 1323 is present.
  • the layer of the resin 1341 present in the entire contact surface of the three substrates with lenses 1321 to 1323 is disposed symmetrical about a line that passes through the central line (that is, the central point in the thickness direction of the stacked lens structure 1311) of the stacked lens structure 1311 and runs in the plane direction of the substrate, the effect of the force occurring due to a curing shrinkage of the resin 1341 disposed on the upper surface and the lower surface of the first substrate with lenses 1321 is not canceled completely as illustrated in C of Fig. 48. As a result, the stacked lens structure 1311 warps in a certain direction.
  • the two layers of the resin 1341 on the upper surface and the lower surface of the first substrate with lenses 1321 are disposed to be shifted in an upper direction than the central line in the thickness direction of the stacked lens structure 1311, if a curing shrinkage occurs in the two layers of the resin 1341, the stacked lens structure 1311 warps in a downward convex shape as illustrated in C of Fig. 50.
  • the cross-sectional shape of the through-hole in a thinner substrate among the second and third substrates with lenses 1322 and 1323 has such a shape that widens toward the first substrate with lenses 1321, the possibility of the loss or breakage of lenses may increase.
  • the cross-sectional shape of the through-hole in the second substrate with lenses 1322 having the smaller thickness among the second and third substrates with lenses 1322 and 1323 has such a fan shape that widens toward the first substrate with lenses 1321.
  • force that warps the stacked lens structure 1311 in a downward convex shape as illustrated in C of Fig. 50 acts on the stacked lens structure 1311.
  • This force acts as force acting in the direction of separating the lenses and the substrate in the second substrate with lenses 1322 as illustrated in D of Fig. 50.
  • the possibility that the lenses 1332 of the second substrate with lenses 1322 are lost or broken increases.
  • Fig. 51 is a cross-sectional view of a stacked lens structure formed by stacking three substrates with lenses as an eighth substrate structure (hereinafter, referred to as Comparative Structure Example 8).
  • Comparative Structure Example 8 a stacked lens structure formed by stacking three substrates with lenses as an eighth substrate structure (hereinafter, referred to as Comparative Structure Example 8).
  • this stacked lens structure similarly to Comparative Structure Example 6 illustrated in A to C of Fig. 48, it is assumed that the layer and the area of the photo-curable resin disposed on the upper surface and the lower surface of each of the substrates with lenses are the same.
  • Comparative Structure Example 8 illustrated in Fig. 51 is different from Comparative Structure Example 7 illustrated in Fig. 49 in that the cross-sectional shape of the through-holes of the three substrates with lenses 1321 to 1323 has such a so-called downward tapered shape that the lower surface of the substrate is narrower than the upper surface of the substrate.
  • FIG. 52 A to C of Fig. 52 are diagrams schematically illustrating the stacked lens structure 1311 illustrated in Fig. 51.
  • the temperature in the housing of a camera increases with an increase in power consumption accompanied by the operation of the camera and the temperature of the camera module also increases.
  • the resin 1341 disposed on the upper surface and the lower surface of the first substrate with lenses 1321 of the stacked lens structure 1311 illustrated in Fig. 51 is expanded thermally.
  • the two layers of the resin 1341 on the upper surface and the lower surface of the first substrate with lenses 1321 are disposed to be shifted in an upper direction than the central line in the thickness direction of the stacked lens structure 1311, if thermal expansion occurs in the two layers of the resin 1341, the stacked lens structure 1311 warps in an upward convex shape as illustrated in C of Fig. 52.
  • the cross-sectional shape of the through-hole of the second substrate with lenses 1322 having a smaller thickness among the second and third substrates with lenses 1322 and 1323 has a downward tapered shape that narrows toward the first substrate with lenses 1321.
  • force that warps the stacked lens structure 1311 in an upward convex shape acts on the stacked lens structure 1311.
  • This force acts as force acting in the direction of separating the lenses and the substrate in the second substrate with lenses 1322 as illustrated in D of Fig. 52. With this action, the possibility that the lenses 1332 of the second substrate with lenses 1322 are lost or broken increases.
  • a and B of Fig. 53 are diagrams illustrating a stacked lens structure 1371 including three substrates with lenses 1361 to 1363, which employs the present structure.
  • a of Fig. 53 illustrates a structure corresponding to the stacked lens structure 1311 illustrated in Fig. 49, in which the cross-sectional shape of the through-hole has a so-called fan shape.
  • B of Fig. 53 illustrates a structure corresponding to the stacked lens structure 1311 illustrated in Fig. 51, in which the cross-sectional shape of the through-hole has a so-called downward tapered shape.
  • a to C of Fig. 54 are diagrams schematically illustrating the stacked lens structure 1371 illustrated in A and B of Fig. 53 in order to describe the effect of the present structure.
  • the stacked lens structure 1371 has a structure in which a second substrate with lenses 1362 is disposed on a first substrate with lenses 1361 at the center, and a third substrate with lenses 1363 is disposed under the first substrate with lenses 1361.
  • the substrate thickness and the lens thickness in the second substrate with lenses 1362 disposed on the top layer are different from those of the third substrate with lenses 1363 disposed on the bottom layer. More specifically, the lens thickness in the third substrate with lenses 1363 is larger than the lens thickness in the second substrate with lenses 1362. Thus, the substrate thickness in the third substrate with lenses 1363 is larger than the substrate thickness in the second substrate with lenses 1362.
  • direct bonding of substrates is used as the means for fixing substrates with lenses.
  • substrates with lenses to be fixed are subjected to a plasma activation process, and two substrates with lenses to be fixed are plasma-bonded.
  • a silicon oxide film is formed on the surfaces of the two substrates with lenses to be stacked, and a hydroxyl radical is combined with the film.
  • the two substrates with lenses are attached together and are heated and subjected to dehydration condensation. In this way, the two substrates with lenses are direct-bonded by a silicon-oxygen covalent bond.
  • resin-based attachment is not used as the means for fixing substrates with lenses. Due to this, a resin for forming lenses or a resin for attaching substrates is not disposed between the substrates with lenses. Moreover, since a resin is not disposed on the upper surface or the lower surface of the substrate with lenses, thermal expansion or a curing shrinkage of the resin does not occur in the upper surface or the lower surface of the substrate with lenses.
  • the present structure in which substrates with lenses are fixed by direct bonding provides an effect and an advantage that, even when substrates with lenses having different lens thicknesses and different substrate thicknesses are stacked on and under the present structure, it is possible to suppress a warp of the substrate more effectively than Comparative Structure Examples 1 to 8 described above.
  • a cover glass is sometimes provided in an upper portion of the stacked lens structure 11 in order to protect the surface of the lens 21 of the stacked lens structure 11.
  • the cover glass may have the function of an optical diaphragm.
  • Fig. 55 is a diagram illustrating a first configuration example in which a cover glass has the function of an optical diaphragm.
  • a cover glass 1501 is further stacked on the stacked lens structure 11. Moreover, a lens barrel 74 is disposed on an outer side of the stacked lens structure 11 and the cover glass 1501.
  • a light blocking film 1502 is formed on a surface (in the figure, the lower surface of the cover glass 1501) of the cover glass 1501 close to the substrate with lenses 41a.
  • a predetermined range from the lens centers (optical centers) of the substrates with lenses 41a to 41e is configured as an opening 1503 in which the light blocking film 1502 is not formed, and the opening 1503 functions as an optical diaphragm.
  • the diaphragm plate 51 formed in the camera module 1D or the like illustrated in Fig. 13, for example, is omitted.
  • a and B of Fig. 56 are diagrams for describing a method of manufacturing the cover glass 1501 in which the light blocking film 1502 is formed.
  • a light absorbing material is deposited by spin coating to an entire area of one surface of the cover glass (glass substrate) 1501W in a wafer or panel form, for example, whereby the light blocking film 1502 is formed.
  • a resin having light absorbing properties containing a carbon black pigment or a titanium black pigment, for example, is used.
  • a predetermined region of the light blocking film 1502 is removed by lithography or etching, whereby a plurality of openings 1503 is formed at a predetermined interval as illustrated in B of Fig. 56.
  • the arrangement of the openings 1503 corresponds to the arrangement of the through-holes 83 of the support substrate 81W illustrated in A to G of Fig. 23 in one-to-one correspondence.
  • a method of jetting a light absorbing material that forms the light blocking film 1502 to an area excluding the opening 1503 by an ink-jet method can be used.
  • the cover glass 1501W in the substrate state manufactured in this way is attached to a plurality of substrates with lenses 41W in the substrate state, the substrates with lenses 41W are divided by dicing or the like which uses a blade or a laser. In this way, the stacked lens structure 11 on which the cover glass 1501 having the diaphragm function is stacked, illustrated in Fig. 55 is obtained.
  • the cover glass 1501 is formed as a step of semiconductor processes in this manner, it is possible to suppress the occurrence of dust-caused defects which may occur when the cover glass is formed by another assembling step.
  • the light blocking film 1502 can be formed as thin as approximately 1 ⁇ m. Moreover, it is possible to suppress deterioration (light attenuation in a peripheral portion) of an optical performance resulting from shielded incident light due to the diaphragm mechanism having a predetermined thickness.
  • the cover glass 1501W was divided after the cover glass 1501W was bonded to the plurality of substrates with lenses 41W, the cover glass 1501W may be divided before the bonding.
  • the bonding of the cover glass 1501 having the light blocking film 1502 and the five substrates with lenses 41a to 41e may be performed in the wafer level or the chip level.
  • the surface of the light blocking film 1502 may be roughened. In this case, since it is possible to suppress surface reflection on the surface of the cover glass 1501 having the light blocking film 1502 formed thereon and to increase the surface area of the light blocking film 1502, it is possible to improve the bonding strength between the cover glass 1501 and the substrate with lenses 41.
  • a method of roughening the surface of the light blocking film 1502 a method of roughening the surface by etching or the like after depositing a light absorbing material that forms the light blocking film 1502, a method of depositing alight absorbing material after roughening the surface of the cover glass 1501 before deposition of the light absorbing material, a method of forming an uneven surface after forming the film using a coagulating light absorbing material, and a method of forming an uneven surface after forming the film using a light absorbing material that contains a solid content may be used.
  • an anti-reflection film may be formed between the light blocking film 1502 and the cover glass 1501.
  • cover glass 1501 also serves as the support substrate of the diaphragm, it is possible to reduce the size of the camera module 1.
  • Fig. 57 is a diagram illustrating a second configuration example in which a cover glass has the function of an optical diaphragm.
  • the cover glass 1501 is disposed at the position of the opening of the lens barrel 74.
  • the other configuration is the same as that of the first configuration example illustrated in Fig. 55.
  • Fig. 58 is a diagram illustrating a third configuration example in which a cover glass has the function of an optical diaphragm.
  • the light blocking film 1502 is formed on an upper surface of the cover glass 1501 (that is, on the opposite side from the substrate with lenses 41a).
  • the other configuration is the same as that of the first configuration example illustrated in Fig. 55.
  • the light blocking film 1502 may be formed on the upper surface of the cover glass 1501.
  • FIG. 59 is a diagram illustrating a first configuration example in which the opening itself of the through-hole 83 is configured as a diaphragm mechanism.
  • a stacked lens structure 11f illustrated in A of Fig. 59 has a configuration in which the substrate with lenses 41a located closest to the light incidence side and farthest from the light receiving element 12 among the five substrates with lenses 41a to 41e that form the stacked lens structure 11 illustrated in Fig. 58 is replaced with a substrate with lenses 41f.
  • the hole diameter in the upper surface of the substrate with lenses 41a illustrated in Fig. 58 is larger than the hole diameter in the lower surface whereas the hole diameter D1 in the upper surface of the substrate with lenses 41f illustrated in A to C of Fig. 59 is smaller than the hole diameter D2 in the lower surface. That is, the cross-sectional shape of the through-hole 83 of the substrate with lenses 41f has a so-called fan shape.
  • a height position of the top surface of the lens 21 formed in the through-hole 83 of the substrate with lenses 41f is lower than the position of the top surface of the substrate with lenses 41f indicated by a one-dot chain line in A of Fig. 59.
  • the hole diameter on the light incidence side of the through-hole 83 of the substrate with lenses 41f on the top layer among the plurality of substrates with lenses 41 is the smallest, whereby the portion (the portion corresponding to the hole diameter D1) having the smallest hole diameter, of the through-hole 83 functions as an optical diaphragm that limits the rays of incident light.
  • FIG. 59 is a diagram illustrating a second configuration example in which the opening itself of the through-hole 83 is configured as a diaphragm mechanism.
  • a stacked lens structure 11g illustrated in B of Fig. 59 has a configuration in which the substrate with lenses 41a on the top layer among the five substrates with lenses 41a to 41e that form the stacked lens structure 11 illustrated in Fig. 58 is replaced with a substrate with lenses 41g. Moreover, a substrate 1511 is further stacked on the substrate with lenses 41g.
  • the hole diameter of the through-hole 83 of the substrate with lenses 41g has such a fan shape that the hole diameter on the light incidence side is small similarly to the substrate with lenses 41f illustrated in A of Fig. 59.
  • the substrate 1511 is a substrate that has the through-hole 83 but does not hold the lens 21.
  • the cross-sectional shapes of the through-holes 83 of the substrate with lenses 41g and the substrate 1511 have a so-called fan shape.
  • the substrate 1511 is stacked on the substrate with lenses 41g, a planar region on which incident light is incident is further narrowed than the substrate with lenses 41f illustrated in A of Fig. 59.
  • the hole diameter D3 in the upper surface of the substrate 1511 is smaller than the hole diameter D4 in the curved surface portion (the lens portion 91) of the lens 21. Due to this, the portion (the portion corresponding to the hole diameter D3) having the smallest hole diameter, of the through-hole 83 of the substrate 1511 functions as an optical diaphragm that limits the rays of incident light.
  • the position of the optical diaphragm can be located as far as possible in the opposite direction from the light incidence direction from the lens 21 of the substrate with lenses 41g, which is the lens 21 on the top surface of the stacked lens structure 11 g and the shading can be suppressed.
  • FIG. 59 is a diagram illustrating a third configuration example in which the opening itself of the through-hole 83 is configured as a diaphragm mechanism.
  • a stacked lens structure 11h illustrated in C of Fig. 59 has a configuration in which a substrate 1512 is further stacked on the substrate with lenses 41a among the five substrates with lenses 41a to 41f that form the stacked lens structure 11 illustrated in Fig. 58.
  • the substrate 1512 is a substrate that has the through-hole 83 but does not hold the lens 21.
  • the through-hole 83 of the substrate 1512 has such a so-called fan shape that the hole diameter in the top surface of the substrate 1512 is different from that in the bottom surface, and the hole diameter D5 in the upper surface is smaller than the hole diameter D5 in the lower surface.
  • the hole diameter D5 in the top surface of the substrate 1512 is smaller than the diameter of the curved surface portion (the lens portion 91) of the lens 21. Due to this, the portion (the portion corresponding to the hole diameter D5) having the smallest hole diameter, of the through-hole 83 functions as an optical diaphragm that limits the rays of incident light.
  • the substrate 1512 may have such a so-called downward tapered shape that the hole diameter D5 in the upper surface is larger than the hole diameter D5 in the lower surface.
  • the hole diameter of the through-hole 83 of the substrate with lenses 41f on the top surface (at the position farthest from the light receiving element 12 ) among the plurality of substrates with lenses 41 that form the stacked lens structure 11 is configured as the optical diaphragm or the hole diameter of the through-hole 83 of the substrate 1511 or 1512 disposed on the top layer is configured as the optical diaphragm.
  • the hole diameter of any one of the through-holes 83 of the substrates with lenses 41b to 41e on layers other than the top layer among the plurality of substrates with lenses 41 that form the stacked lens structure 11 may be configured similarly to the substrate with lenses 41f or the substrate 1511 or 1512 so as to function as the optical diaphragm.
  • the substrate with lenses 41 having the function of the optical diaphragm may be disposed on the top layer or as close as possible to the top layer (at the position farthest from the light receiving element 12 ).
  • the optical diaphragm When the optical diaphragm is integrated with the substrate with lenses 41 that holds the lens 21, it is possible to improve the positional accuracy between the optical diaphragm and the curved lens surface closest to the diaphragm which affects the imaging performance and to improve the imaging performance.
  • the substrates with lenses 41W in which the lens 21 is formed in the through-hole 83 are attached by plasma bonding, the substrates with lenses may be attached using metal bonding.
  • a to E of Fig. 60 are diagrams for describing wafer-level attachment using metal bonding.
  • the substrate with lenses 1531W corresponds to the substrate with lenses 41W in the substrate state described above.
  • the anti-reflection film 1535 corresponds to the upper surface layer 122 and the lower surface layer 123 described above.
  • the upper surface of the substrate with lenses 1531W-a is a surface that is bonded to a substrate with lenses 1531W-b in the step of D of Fig. 60.
  • a metal film 1542 is formed on the upper surface of the substrate with lenses 1531W-a, which is the surface bonded to the substrate with lenses 1531W-b.
  • the portion of the through-hole 1532 in which the lens 1533 is formed is masked using a metal mask 1541 so that the metal film 1542 is not formed.
  • Cu which is often used for metal bonding can be used as a material of the metal film 1542.
  • a PVD method such as a deposition method, a sputtering method, and an ion plating method which can form a film at a low temperature can be used.
  • Ni, Co, Mn, Al, Sn, In, Ag, Zn, or the like and an alloy of two or more of these materials may be used as the material of the metal film 1542.
  • materials other than the above-mentioned materials may be used as long as the materials are metal materials which are easily plastically deformed.
  • an ink-jet method which uses metal nanoparticles such as silver particles may be used instead of the method which uses a PVD method and a metal mask.
  • an oxide film formed on the surface of the metal film 1542 when exposed to the air is removed using a reducing gas such as a formic acid, a hydrogen gas, and a hydrogen radical, whereby the surface of the metal film 1542 is cleaned.
  • a reducing gas such as a formic acid, a hydrogen gas, and a hydrogen radical
  • Ar ions in the plasma may be radiated to the metal surface to physically remove the oxide film by sputtering instead of using the reducing gas.
  • a substrate with lenses 1531W-b which is the other substrate with lenses 1531W in the substrate state to be bonded is prepared.
  • the substrates with lenses 1531W-a and 1531W-b are disposed so that the bonding surfaces thereof face each other and alignment is performed. After that, when appropriate pressure is applied, the metal film 1542 of the substrate with lenses 1531W-a and the metal film 1542 of the substrate with lenses 1531W-b are bonded by metal bonding.
  • a foreign material 1543 is also mixed into the lower surface of the substrate with lenses 1531W-b which is the bonding surface of the substrate with lenses 1531W-b, for example.
  • the metal film 1542 since a metal material which is easily plastically deformed is used as the metal film 1542, the metal film 1542 is deformed and the substrates with lenses 1531W-a and 1531W-b are bonded together.
  • a heat treatment is performed to accelerate atomic bonding and crystallization of metal to increase the bonding strength. This heat treatment step may be omitted.
  • the substrates with lenses 1531W in which the lens 1533 is formed in each of the plurality of through-holes 1532 can be bonded using metal bonding.
  • a film that serves as an adhesion layer may be formed between the substrate with lenses 1531W-a and the metal film 1542.
  • the adhesion layer is formed on an upper side (outer side) of the anti-reflection film 1535 (that is, between the anti-reflection film 1535 and the metal film 1542).
  • Ti, Ta, W, or the like for example, can be used as the adhesion layer.
  • a nitride or an oxide of Ti, Ta, W, or the like or a stacked structure of a nitride and an oxide may be used. The same can be applied to the bonding between the substrate with lenses 1531W-b and the metal film 1542.
  • the material of the metal film 1542 formed on the substrate with lenses 1531W-a and the material of the metal film 1542 formed on the substrate with lenses 1531W-b may be different metal materials.
  • the metal film 1542 has excellent sealing properties and can prevent light and moisture from entering the side surface, it is possible to manufacture the stacked lens structure 11 and the camera module 1 which have high reliability.
  • a and B of Fig. 61 are cross-sectional views of substrates with lenses 41a’-1 and 41a’-2 which are modifications of the substrate with lenses 41a described above.
  • the substrate with lenses 41a’-1 illustrated in A of Fig. 61 is a highly-doped substrate obtained by diffusing (ion-implanting) boron (B) of high concentration into a silicon substrate.
  • An impurity concentration in the substrate with lenses 41a’-1 is approximately 1*10 19 cm -3 , and the substrate with lenses 41a’-1 can efficiently absorb light in a wide range of wavelengths.
  • the other configuration of the substrate with lenses 41a’-1 is similar to the substrate with lenses 41a described above.
  • the region of the silicon substrate is divided into two regions (that is, a first region 1551 and a second region 1552) having different impurity concentrations.
  • the first region 1551 is formed to a predetermined depth (for example, approximately 3 ⁇ m) from the substrate surface on the light incidence side.
  • the impurity concentration in the first region 1551 is as high as approximately 1*10 16 cm -3 , for example.
  • the impurity concentration in the second region 1552 is approximately 1*10 10 cm -3 , for example, and is lower than the first concentration.
  • the ions diffused (ion-implanted) into the first and second regions 1551 and 1552 are boron (B) similarly to the substrate with lenses 41a’-1, for example.
  • the impurity concentration in the first region 1551 on the light incidence side of the substrate with lenses 41a’-2 is approximately 1*10 16 cm -3 and is lower than the impurity concentration (for example, 1*10 19 cm -3 ) of the substrate with lenses 41a’-1.
  • the thickness of a light blocking film 121’ formed on a side wall of the through-hole 83 of the substrate with lenses 41a’-2 is larger than the thickness of a light blocking film 121 of the substrate with lenses 41a’-1 illustrated in A of Fig. 61.
  • the thickness of the light blocking film 121 of the substrate with lenses 41a’-1 is 2 ⁇ m
  • the thickness of the light blocking film 121’ of the substrate with lenses 41a’-2 is 5 ⁇ m.
  • the other configuration of the substrate with lenses 41a’-2 is similar to the substrate with lenses 41a described above.
  • the substrates with lenses 41a’-1 and 41a’-2 since the substrate itself can absorb light which has passed through the light blocking film 121 and the upper surface layer 122 and reached the substrate, it is possible to suppress reflection of light.
  • the doping amount can be appropriately set depending on the amount of light reaching the substrate and the thickness of the light blocking film 121 and the upper surface layer 122 since it is only necessary to absorb light having reached the substrate.
  • the substrates with lenses 41a’-1 and 41a’-2 since a silicon substrate which is easy to handle is used as the substrates with lenses 41a’-1 and 41a’-2, it is easy to handle the substrates with lenses. Since the substrate itself can absorb light which has passed through the light blocking film 121 and the upper surface layer 122 and reached the substrate, it is possible to decrease the thicknesses of the light blocking film 121, the upper surface layer 122, and the stacked substrate itself and to simplify the structure.
  • the ion doped into the silicon substrate is not limited to boron (B). Instead of this, phosphor (P), arsenic (As), antimony (Sb),or the like may be used, for example. Further, an arbitrary element which can have a band structure that increases the amount of absorbed light may be used.
  • the other substrates with lenses 41b to 41e that form the stacked lens structure 11 may have configurations similar to those of the substrates with lenses 41a’-1 and 41a’-2.
  • a highly-doped substrate 1561W in a substrate state in which boron (B) of a high concentration is diffused (ion-implanted) is prepared.
  • the impurity concentration of the highly-doped substrate 1561W is approximately 1*10 19 cm -3 , for example.
  • through-holes 83 are formed by etching at predetermined positions of the highly-doped substrate 1561W.
  • a to D of Fig. 62 although only two through-holes 83 are illustrated due to limitation of the drawing surface, a number of through-holes 83 are actually formed in the plane direction of the highly-doped substrate 1561W.
  • a light blocking film 121 is formed on a sidewall of the through-hole 83 by depositing a black resist material by spray coating.
  • a lens resin portion 82 including the lens 21 is formed on the inner side of the through-hole 83 by pressure molding using the upper mold 201 and the lower mold 181 described with reference to A to G of Fig. 23.
  • an upper surface layer 122 is formed on the upper surface of the highly-doped substrate 1561W and the lens resin portion 82, and a lower surface layer 123 is formed on the lower surface of the highly doped substrate 1561W and the lens resin portion 82, and the structure is divided. In this way, the substrate with lenses 41a’-1 illustrated in A of Fig. 61 is obtained.
  • a doped substrate 1571W in a substrate state in which boron (B) of a predetermined concentration is diffused (ion-implanted) is prepared.
  • the impurity concentration of the doped substrate 1571W is approximately 1*10 10 cm -3 , for example.
  • through-holes 83 are formed by etching at predetermined positions of the doped substrate 1571W.
  • a to F of Fig. 63 although only two through-holes 83 are illustrated due to limitation of the drawing surface, a number of through-holes 83 are actually formed in the plane direction of the doped substrate 1571W.
  • a heat treatment is performed at 900°C.
  • a first region 1551 having a high impurity concentration and a second region 1552 having a lower impurity concentration are formed.
  • a light blocking film 121 is formed on a sidewall of the through-hole 83 by depositing a black resist material by spray coating.
  • a lens resin portion 82 including the lens 21 is formed on the inner side of the through-hole 83 by pressure molding using the upper mold 201 and the lower mold 181 described with reference to A to G of Fig. 23.
  • an upper surface layer 122 is formed on the upper surface of the doped substrate 1571W and the lens resin portion 82, and a lower surface layer 123 is formed on the lower surface of the doped substrate 1571W and the lens resin portion 82, and the structure is divided. In this way, the substrate with lenses 41a’-2 illustrated in B of Fig. 61 is obtained.
  • the respective substrates with lenses 41a to 41e that form the stacked lens structure 11 illustrated in A and B of Fig. 1 may be configured as such a highly-doped substrate as illustrated in A and B of Fig. 61. In this way, it is possible to increase the amount of light absorbed by the substrate itself.
  • a to D of Fig. 64 are diagrams illustrating examples of the planar shape of the diaphragm plate 51 included in the camera module 1 illustrated in A to F of Fig. 10 and A to D of Fig. 11.
  • the diaphragm plate 51 includes a shielding region 51a that absorbs or reflects light to prevent entrance of the light and an opening region 51b that transmits light.
  • the opening regions 51b of the diaphragm plates 51 thereof may have the same opening diameter and may have different opening diameters as illustrated in A to D of Fig. 64.
  • symbols “L”, “M”, and “S” indicate that the opening diameter of the opening region 51b is “Large”, “Middle”, and “Small”, respectively.
  • the four opening regions 51b have the same opening diameter.
  • two opening regions 51b are standard diaphragm openings having a “Middle” opening diameter.
  • the diaphragm plate 51 may slightly overlap the lens 21 of the substrate with lenses 41. That is, the opening region 51b of the diaphragm plate 51 may be slightly smaller than the diameter of the lens 21.
  • the remaining two opening regions 51b of the diaphragm plate 51 illustrated in B of Fig. 64 have a “Large” opening diameter. That is, the remaining two opening regions 51b have a larger opening diameter than the “Middle” opening diameter.
  • These large opening regions 51b have an effect of allowing a larger amount of light to enter the light receiving element 12 included in the camera module 1 when the illuminance of a subject is low, for example.
  • two opening regions 51b are standard diaphragm openings having a “Middle” opening diameter.
  • the remaining two opening regions 51b of the diaphragm plate 51 illustrated in C of Fig. 64 have a “Small” opening diameter. That is, the remaining two opening regions 51b have a smaller opening diameter than the “Middle” opening diameter.
  • These small opening regions 51b have an effect of decreasing the amount of light entering the light receiving element 12 when the illuminance of a subject is high, and the amount of charge generated in a photoelectric conversion unit included in the light receiving element 12 may exceed a saturation charge amount of the photoelectric conversion unit if light entering from these opening regions is incident on the light receiving element 12 included in the camera module 1 through the opening regions 51b having the “Middle” opening diameter, for example.
  • two opening regions 51b are standard diaphragm openings having a “Middle” opening diameter.
  • One of the remaining two opening regions 51b of the diaphragm plate 51 illustrated in D of Fig. 64 has the “Large” opening diameter and the other has the “Small” opening diameter.
  • These opening regions 51b have effects similar to those of the opening regions 51b having the “Large” and “Small” opening diameters described with reference to B and C of Fig. 64.
  • Fig. 65 illustrates a configuration of a light receiving area of the camera module 1 illustrated in A to F of Fig. 10 and A to D of Fig. 11.
  • the camera module 1 includes four optical units 13 (not illustrated). Moreover, light components incident on these four optical units 13 are received by light receiving units corresponding to the respective optical units 13. Thus, the light receiving element 12 of the camera module 1 illustrated in A to F of Fig. 10 and A to D of Fig. 11 includes four light receiving areas 1601a1 to 1601a4.
  • the light receiving element 12 may include one light receiving area 1601a that receives light incident on one optical unit 13 included in the camera module 1, and the camera module 1 includes a number of light receiving elements 12 corresponding to the number of optical units 13 included in the camera module 1.
  • the camera module 1 includes four optical units 13.
  • the light receiving areas 1601a1 to 1601a4 include pixel arrays 1601b1 to 1601b4, respectively, in which pixels for receiving light are arranged in an array form.
  • a circuit for driving the pixels included in the pixel array and a circuit for reading pixels are not illustrated, and the light receiving areas 1601a1 to 1601a4 are illustrated in the same size as the pixel arrays 1601b1 to 1601b4.
  • the pixel arrays 1601b1 to 1601b4 included in the light receiving areas 1601a1 to 1601a4 include pixel repetition units 1602c1 to 1602c4 made up of a plurality of pixels. These repetition units 1602c1 to 1602c4 are arranged in a plurality of array forms in both vertical and horizontal directions whereby the pixel arrays 1601b1 to 1601b4 are formed.
  • the optical units 13 are disposed on the four light receiving areas 1601a1 to 1601a4 included in the light receiving element 12.
  • the four optical units 13 include the diaphragm plate 51 as a part thereof.
  • the opening region 51b of the diaphragm plate 51 illustrated in D of Fig. 64 is depicted by a broken line as an example of the opening diameter of the four opening regions 51b of the diaphragm plate 51.
  • a super-resolution technique is known as a technique of obtaining images having a high resolution by applying the super resolution technique to an original image.
  • An example thereof is disclosed in Japanese Patent Application Laid-open No. 2015-102794, for example.
  • the camera module 1 illustrated in A to F of Fig. 10 and A to D of Fig. 11 may have the structures illustrated in Figs. 13, 16, 17, 34, 35, 37, and 55 as a cross-sectional structure thereof.
  • the optical axes of the two optical units 13 each disposed in each of the vertical and horizontal directions of the surface of the module 1 serving as the light incidence surface extend in the same direction. Due to this, it is possible to obtain a plurality of non-identical images using different light receiving areas with the optical axes extending in the same direction.
  • the camera module 1 having such a structure is suitable for obtaining an image having a higher resolution based on the obtained plurality of original images than that of one image obtained from one optical unit 13 by applying the super-resolution technique to these images.
  • Figs. 66 to 69 illustrate configuration examples of pixels in the light receiving area of the camera module 1 illustrated in A to F of Fig. 10 and A to D of Fig. 11.
  • G pixels indicate pixels that receive light in the green wavelength
  • R pixels indicate pixels that receive light in the red wavelength
  • B pixels indicate pixels that receive light in the blue wavelength
  • C pixels indicate pixels that receive light in the entire wavelength region of visible light.
  • Fig. 66 illustrates a first example of a pixel arrangement of the four pixel arrays 1601b1 to 1601b4 included in the light receiving element 12 of the camera module 1.
  • the repetition units 1602c1 to 1602c4 are repeatedly arranged in row and column directions in the four pixel arrays 1601b1 to 1601b4, respectively.
  • the repetition units 1602c1 to 1602c4 illustrated in Fig. 66 are made up of R, G, B, and G pixels, respectively.
  • the pixel arrangement illustrated in Fig. 66 has an effect that the pixel arrangement is suitable for splitting incident light from a subject irradiated with visible light into red (R), green (G), and blue (B) light components to obtain an image made up of the three colors R, G, and B.
  • Fig. 67 illustrates a second example of a pixel arrangement of the four pixel arrays 1601b1 to 1601b4 included in the light receiving element 12 of the camera module 1.
  • the combination of wavelengths (colors) of light that the respective pixels that form the repetition units 1602c1 to 1602c4 receive is different from that of the pixel arrangement illustrated in Fig. 66.
  • the repetition units 1602c1 to 1602c4 illustrated in Fig. 67 are made up of R, G, B, and C pixels, respectively.
  • the pixel arrangement illustrated in Fig. 67 does not split light into the R, G, and Blight components as described above but has C pixels that receive light in the entire wavelength region of visible light.
  • the C pixels receive a larger amount of light than the R, G, and B pixels that receive a portion of the split light components. Due to this, this configuration has an effect that, even when the illuminance of a subject is low, for example, it is possible to obtain an image having higher lightness or an image having a larger luminance gradation using information (for example, luminance information of the subject) obtained by the C pixels which receives a large amount of light.
  • Fig. 68 illustrates a third example of a pixel arrangement of the four pixel arrays 1601b1 to 1601b4 included in the light receiving element 12 of the camera module 1.
  • the repetition units 1602c1 to 1602c4 illustrated in Fig. 68 are made up of R, C, B, and C pixels, respectively.
  • the pixel repetition units 1602c1 to 1602c4 illustrated in Fig. 68 do not include G pixels.
  • Information corresponding to the G pixels is obtained by arithmetically processing the information obtained from the C, R, and B pixels. For example, the information corresponding to the G pixels is obtained by subtracting the output values of the R and B pixels from the output value of the C pixels.
  • Each of the pixel repetition units 1602c1 to 1602c4 illustrated in Fig. 68 includes two C pixels that receive light in the entire wavelength region, which is twice the number of C pixels in each of the repetition units 1602c1 to 1602c4 illustrated in Fig. 67. Moreover, in the pixel repetition units 1602c1 to 1602c4 illustrated in Fig. 68, two C pixels are disposed in the diagonal direction of the contour of the repetition unit 1602c so that the pitch of C pixels in the pixel array 1601b illustrated in Fig. 68 is twice the pitch of C pixels in the pixel array 1601b illustrated in Fig. 67 in both vertical and horizontal directions of the pixel array 1601b.
  • the configuration illustrated in Fig. 68 has an effect that, even when the illuminance of a subject is low, for example, it is possible to obtain information (for example, luminance information) obtained from the C pixels that receive a large amount of light with a resolution twice that of the configuration illustrated in Fig. 67 whereby a clear image having a resolution twice higher than that obtained by the configuration illustrated in Fig. 67 can be obtained.
  • information for example, luminance information
  • Fig. 69 illustrates a fourth example of a pixel arrangement of the four pixel arrays 1601b1 to 1601b4 included in the light receiving element 12 of the camera module 1.
  • the repetition units 1602c1 to 1602c4 illustrated in Fig. 69 are made up of R, C, C, and C pixels, respectively.
  • a color image is not typically necessary in many cases. It is often necessary to recognize a red brake lamp of a vehicle traveling on the forward side and the red signal of a traffic signal on a road and to recognize the shape of other subjects.
  • the configuration illustrated in Fig. 69 includes R pixels which can recognize the red brake lamp of a vehicle and the red signal of a traffic signal on a road and includes a larger number of C pixels that receive a large amount of light than the C pixels included in the pixel repetition unit 1602c illustrated in Fig. 68, the configuration illustrated in Fig. 69 provides an effect that, even when the illuminance of a subject is low, for example, it is possible to obtain a clear image having a higher resolution.
  • the camera modules 1 including the light receiving element 12 illustrated in Figs. 66 to 69 may use any one of the shapes of the diaphragm plate 51 illustrated in A to D of Fig. 64.
  • the optical axes of the two optical units 13 each disposed in the vertical and horizontal directions of the surface of the camera module 1 serving as a light incidence surface extend in the same direction.
  • the camera module 1 having such a structure has an effect that it is possible to obtain an image having a higher resolution by applying the super-resolution technique to the obtained plurality of original images.
  • Fig. 70 illustrates a modification of the pixel arrangement illustrated in Fig. 66.
  • the repetition units 1602c1 to 1602c4 illustrated in Fig. 66 are made up of R, G, B, and G pixels, respectively, and the two G pixels of the same color have the same structure.
  • the repetition units 1602c1 to 1602c4 illustrated in Fig. 70 are made up of R, G1, B, and G2 pixels, respectively, and the two G pixels of the same color (that is, G1 and G2 pixels) have different structures.
  • a signal generation unit (for example, a photodiode) included in the G2 pixel has a higher appropriate operation limit (for example, a saturation charge amount) than the G1 pixel.
  • a signal conversion unit (for example, a charge voltage conversion capacitor) included in the G2 pixel is a larger size than the G1 pixel.
  • the configuration since an output signal of the G2 pixel when the pixel generates a predetermined amount of signal (for example, charge) per unit time is smaller than that of the G1 pixel and the saturation charge amount of the G2 pixel is larger than that of the G1 pixel, the configuration provides an effect that, even when the illuminance of a subject is high, for example, the pixels do not reach its operation limit and an image having a high gradation is obtained.
  • a predetermined amount of signal for example, charge
  • the configuration provides an effect that, even when the illuminance of a subject is low, for example, an image having a high gradation is obtained.
  • the light receiving element 12 illustrated in Fig. 70 includes such G1 and G2 pixels, the light receiving element 12 provides an effect that an image having a high gradation in a wide illuminance range (that is, an image having a wide dynamic range) is obtained.
  • Fig. 71 illustrates a modification of the pixel arrangement illustrated in Fig. 68.
  • the repetition units 1602c1 to 1602c4 illustrated in Fig. 68 are made up of R, C, B, and C pixels, respectively, and the two C pixels of the same color have the same structure.
  • the repetition units 1602c1 to 1602c4 illustrated in Fig. 71 are made up of R, C1, B, and C2 pixels, respectively, and the two C pixels of the same color (that is, C1 and C2 pixels) have different structures.
  • a signal generation unit (for example, a photodiode) included in the C2 pixel has a higher operation limit (for example, a saturation charge amount) than the C1 pixel.
  • a signal conversion unit (for example, a charge voltage conversion capacitor) included in the C2 pixel is a larger size than the C1 pixel.
  • Fig. 72 illustrates a modification of the pixel arrangement illustrated in Fig. 69.
  • the repetition units 1602c1 to 1602c4 illustrated in Fig. 69 are made up of R, C, C, and C pixels, respectively, and the three C pixels of the same color have the same structure.
  • the repetition units 1602c1 to 1602c4 illustrated in Fig. 72 are made up of R, C1, C2, and C3 pixels, respectively, and the three C pixels of the same color (that is, C1 to C3 pixels) have different structures.
  • a signal generation unit (for example, a photodiode) included in the C2 pixel has a higher operation limit (for example, a saturation charge amount) than the C1 pixel
  • a signal generation unit (for example, a photodiode) included in the C3 pixel has a higher operation limit (for example, a saturation charge amount) than the C2 pixel
  • a signal conversion unit (for example, a charge voltage conversion capacitor) included in the C2 pixel is a larger size than the C1 pixel
  • a signal conversion unit (for example, a charge voltage conversion capacitor) included in the C3 pixel is a larger size than the C2 pixel.
  • the light receiving element 12 illustrated in Figs. 71 and 72 has the above described configuration, the light receiving element 12 provides an effect that an image having a high gradation in a wide illuminance range (that is, an image having a wide dynamic range) is obtained similarly to the light receiving element 12 illustrated in Fig. 70.
  • the diaphragm plate 51 of the camera module 1 including the light receiving element 12 illustrated in Figs. 70 to 72 may have various configurations of the diaphragm plates 51 illustrated in A to D of Fig. 64 and the modifications thereof.
  • the optical axes of the two optical units 13 each disposed in the vertical and horizontal directions of the surface of the camera module 1 serving as a light incidence surface extend in the same direction.
  • the camera module 1 having such a structure has an effect that it is possible to obtain an image having a higher resolution by applying the super-resolution technique to the obtained plurality of original images.
  • a of Fig. 73 illustrates a fifth example of the pixel arrangement of the four pixel arrays 1601b1 to 1601b4 included in the light receiving element 12 of the camera module 1.
  • the four pixel arrays 1601b1 to 1601b4 included in the light receiving element 12 may not necessarily have the same structure as described above but may have different structures as illustrated in A of Fig. 73.
  • the pixel arrays 1601b1 and 1601b4 have the same structure and the repetition units 1602c1 and 1602c4 that form the pixel arrays 1601b1 and 1601b4 have the same structure.
  • the pixel arrays 1601b2 and 1601b3 have a different structure from the pixel arrays 1601b1 and 1601b4. Specifically, the pixels included in the repetition units 1602c2 and 1602c3 of the pixel arrays 1601b2 and 1601b3 have a larger size than the pixels of the repetition units 1602c1 and 1602c4 of the pixel arrays 1601b1 and 1601b4. More specifically, the photoelectric conversion unit included in the pixels of the repetition units 1602c2 and 1602c3 has a larger size than that of the repetition units 1602c1 and 1602c4.
  • the region of the repetition units 1602c2 and 1602c3 has a larger size than the region of the repetition units 1602c1 and 1602c4 since the pixels of the repetition units 1602c2 and 1602c3 have a larger size than the pixels of the repetition units 1602c1 and 1602c4. Due to this, although the pixel arrays 1601b2 and 1601b3 have the same area as the pixel arrays 1601b1 and 1601b4, the pixel arrays 1601b2 and 1601b3 are made up of a smaller number of pixels than the pixel arrays 1601b1 and 1601b4.
  • the diaphragm plate 51 of the camera module 1 including the light receiving element 12 illustrated in A of Fig. 73 may have various configurations of the diaphragm plates 51 illustrated in A to C of Fig. 64, the configurations of the diaphragm plates 51 illustrated in B to D of Fig. 73, or the modifications thereof.
  • a light receiving element which uses large pixels provides an effect that an image having a better signal-to-noise ratio (S/N ratio) than a light receiving element which uses small pixels is obtained.
  • S/N ratio signal-to-noise ratio
  • the magnitude of noise generated in a signal readout circuit and a signal amplification circuit in a light receiving element which uses large pixels is the same as that of a light receiving element which uses small pixels
  • the magnitude of a signal generated by a signal generation unit included in a pixel increases as the size of a pixel increases.
  • the light receiving element which uses large pixels provides an effect that an image having a better signal-to-noise ratio (S/N ratio) than the light receiving element which uses small pixels is obtained.
  • S/N ratio signal-to-noise ratio
  • a light receiving element which uses small pixels provides a higher resolution than a light receiving element which uses large pixels.
  • the light receiving element which uses small pixels provides an effect that an image having a higher resolution than the light receiving element which uses large pixels is obtained.
  • the configuration of the light receiving element 12 illustrated in A of Fig. 73 provides an effect that, when the illuminance of a subject is high, and therefore, a large signal is obtained in the light receiving element 12, for example, it is possible to obtain images having a high resolution using the light receiving areas 1601a1 and 1601a4 in which the pixels have a small size and the resolution is high, and an image having a high resolution is obtained by applying the super-resolution technique to these two images.
  • the camera module 1 including the light receiving element 12 illustrated in A of Fig. 73 may use the shape of the diaphragm plate 51 illustrated in B of Fig. 73, for example, among the three shapes of the diaphragm plates 51 illustrated in B to D of Fig. 73.
  • the opening region 51b of the diaphragm plate 51 which is used in combination with the light receiving areas 1601a2 and 1601a3 which use large pixels is larger than the opening region 51b of the diaphragm plate 51 which is used in combination with the other light receiving area.
  • the camera module 1 which uses a combination of the light receiving element 12 illustrated in A of Fig. 73 and the diaphragm plate 51 illustrated in C of Fig. 73 among the three shapes of the diaphragm plates 51 illustrated in B to D of Fig. 73 provides an effect that, when the illuminance of a subject is low, and therefore, a large signal is not obtained in the light receiving element 12, for example, images having a higher S/N ratio can be obtained in the light receiving areas 1601a2 and 1601a3 than the camera module 1 which uses a combination of the light receiving element 12 illustrated in A of Fig. 73 and the diaphragm plate 51 illustrated in B of Fig. 73.
  • the opening region 51b of the diaphragm plate 51 which is used in combination with the light receiving areas 1601a2 and 1601a3 which use large pixels is smaller than the opening region 51b of the diaphragm plate 51 which is used in combination with the other light receiving area.
  • the camera module 1 which uses a combination of the light receiving element 12 illustrated in A of Fig. 73 and the diaphragm plate 51 illustrated in D of Fig. 73 among the three shapes of the diaphragm plates 51 illustrated in B to D of Fig. 73 provides an effect that, when the illuminance of a subject is high, and therefore, a large signal is not obtained in the light receiving element 12, for example, the amount of light incident on the light receiving areas 1601a2 and 1601a3 is suppressed more than the camera module 1 which uses a combination of the light receiving element 12 illustrated in A of Fig. 73 and the diaphragm plate 51 illustrated in B of Fig. 73 among the three shapes of the diaphragm plates 51 illustrated in B to D of Fig. 73.
  • a of Fig. 74 illustrates a sixth example of the pixel arrangement of the four pixel arrays 1601b1 to 1601b4 included in the light receiving element 12 of the camera module 1.
  • the region of the repetition unit 1602c1 of the pixel array 1601b1 has a smaller size than the region of the repetition units 1602c1 and 1602c2 of the pixel arrays 1601b2 and 1601b3.
  • the region of the repetition unit 1602c4 of the pixel array 1601b4 has a larger size than the region of the repetition units 1602c1 and 1602c2 of the pixel arrays 1601b2 and 1601b3.
  • the diaphragm plate 51 of the camera module 1 including the light receiving element 12 illustrated in A of Fig. 74 may have various configurations of the diaphragm plates 51 illustrated in A to C of Fig. 64, the configurations of the diaphragm plates 51 illustrated in B to D of Fig. 74, or the modifications thereof.
  • the configuration of the light receiving element 12 illustrated in A of Fig. 74 provides an effect that, when the illuminance of a subject is high, and therefore, a large signal is obtained in the light receiving element 12, for example, it is possible to obtain images having a high resolution using the light receiving area 1601a1 in which the pixels have a small size and the resolution is high.
  • the camera module 1 including the light receiving element 12 illustrated in A of Fig. 74 may use the shape of the diaphragm plate 51 illustrated in B of Fig. 74, for example, among the three shapes of the diaphragm plates 51 illustrated in B to D of Fig. 74.
  • the opening region 51b of the diaphragm plate 51 which is used in combination with the light receiving areas 1601a2 and 1601a3 which use large pixels is larger than the opening region 51b of the diaphragm plate 51 which is used in combination with the light receiving area 1601a1 which use small pixels.
  • the opening region 51b of the diaphragm plate 51 which is used in combination with the light receiving area 1601a4 which use still larger pixels is still larger.
  • the camera module 1 which uses a combination of the light receiving element 12 illustrated in A of Fig. 74 and the diaphragm plate 51 illustrated in C of Fig. 74 among the three shapes of the diaphragm plates 51 illustrated in B to D of Fig.
  • the 74 provides an effect that, when the illuminance of a subject is low, and therefore, a large signal is not obtained in the light receiving element 12, for example, images having a higher S/N ratio can be obtained in the light receiving areas 1601a2 and 1601a3 and that, when the illuminance of a subject is further lower, for example, it is possible to obtain images having a higher S/N ratio in the light receiving area 1601a4 than the camera module 1 which uses a combination of the light receiving element 12 illustrated in A of Fig. 74 and the diaphragm plate 51 illustrated in B of Fig. 74 among the three shapes of the diaphragm plates 51 illustrated in B to D of Fig. 74.
  • the opening region 51b of the diaphragm plate 51 which is used in combination with the light receiving areas 1601a2 and 1601a3 which use large pixels is smaller than the opening region 51b of the diaphragm plate 51 which is used in combination with the light receiving area 1601a1 which use small pixels.
  • the opening region 51b of the diaphragm plate 51 which is used in combination with the light receiving area 1601a4 which use still larger pixels is still smaller.
  • the camera module 1 which uses a combination of the light receiving element 12 illustrated in A of Fig. 74 and the diaphragm plate 51 illustrated in D of Fig. 74 among the three shapes of the diaphragm plates 51 illustrated in B to D of Fig. 74 provides an effect that, when the illuminance of a subject is high, and therefore, a large signal is obtained in the light receiving element 12, for example, the amount of light incident on the light receiving areas 1601a2 and 1601a3 is suppressed more than the camera module 1 which uses a combination of the light receiving element 12 illustrated in A of Fig. 74 and the diaphragm plate 51 illustrated in B of Fig. 74 among the three shapes of the diaphragm plates 51 illustrated in B to D of Fig. 74.
  • a structure may be used in which a camera module includes the diaphragm plate 51 of which the opening region 51b is variable and the size of the opening of a diaphragm is changed according to the illuminance of a subject.
  • a structure may be used in which the shape illustrated in C of Fig. 73 or C of Fig. 74 among the three shapes of the diaphragm plates 51 illustrated in B to D of Fig. 73 or B to D of Fig. 74 is used when the illuminance of a subject is low, the shape illustrated in B of Fig. 73 or B of Fig. 74 is used when the illuminance of the subject is higher than the above-mentioned illuminance, and the shape illustrated in D of Fig. 73 or D of Fig. 74 is used when the illuminance of the subject is further higher than the above-mentioned illuminance.
  • Fig. 75 illustrates a seventh example of the pixel arrangement of the four pixel arrays 1601b1 to 1601b4 included in the light receiving element 12 of the camera module 1.
  • all pixels of the pixel array 1601b1 are made up of pixels that receive light in the green wavelength.
  • All pixels of the pixel array 1601b2 are made up of pixels that receive light in the blue wavelength.
  • All pixels of the pixel array 1601b3 are made up of pixels that receive light in the red wavelength.
  • All pixels of the pixel array 1601b4 are made up of pixels that receive light in the green wavelength.
  • Fig. 76 illustrates an eighth example of the pixel arrangement of the four pixel arrays 1601b1 to 1601b4 included in the light receiving element 12 of the camera module 1.
  • all pixels of the pixel array 1601b1 are made up of pixels that receive light in the green wavelength.
  • All pixels of the pixel array 1601b2 are made up of pixels that receive light in the blue wavelength.
  • All pixels of the pixel array 1601b3 are made up of pixels that receive light in the red wavelength.
  • All pixels of the pixel array 1601b4 are made up of pixels that receive light in the entire wavelength region of visible light.
  • Fig. 77 illustrates a ninth example of the pixel arrangement of the four pixel arrays 1601b1 to 1601b4 included in the light receiving element 12 of the camera module 1.
  • all pixels of the pixel array 1601b1 are made up of pixels that receive light in the entire wavelength region of visible light.
  • All pixels of the pixel array 1601b2 are made up of pixels that receive light in the blue wavelength.
  • All pixels of the pixel array 1601b3 are made up of pixels that receive light in the red wavelength.
  • All pixels of the pixel array 1601b4 are made up of pixels that receive light in the entire wavelength region of visible light.
  • Fig. 78 illustrates a tenth example of the pixel arrangement of the four pixel arrays 1601b1 to 1601b4 included in the light receiving element 12 of the camera module 1.
  • all pixels of the pixel array 1601b1 are made up of pixels that receive light in the entire wavelength region of visible light.
  • All pixels of the pixel array 1601b2 are made up of pixels that receive light in the entire wavelength region of visible light.
  • All pixels of the pixel array 1601b3 are made up of pixels that receive light in the red wavelength.
  • All pixels of the pixel array 1601b4 are made up of pixels that receive light in the entire wavelength region of visible light.
  • the pixel arrays 1601b1 to 1601b4 of the light receiving element 12 can be configured so that each of the respective pixel arrays receives light in the same wavelength region.
  • a known RGB three-plate type solid-state imaging apparatus in related art includes three light receiving elements, and the respective light receiving elements capture R, G, and B images only, respectively.
  • the known RGB three-plate type solid-state imaging apparatus in related art light incident on one optical unit is split in three directions by a prism and the split light components are received using three light receiving elements. Due to this, the positions of the subject images incident on the three light receiving elements are the same. Thus, it is difficult to obtain a highly sensitive image by applying the super-resolution technique to these three images.
  • two optical units 13 are disposed in each of the vertical and horizontal directions of the surface of the camera module 1 serving as the light incidence surface, and the optical axes of these four optical units 13 extend in the same direction in parallel to each other. Due to this, it is possible to obtain a plurality of images which are not necessarily identical using the four different light receiving areas 1601a1 to 1601a4 included in the light receiving element 12 with the optical axes extending in the same direction.
  • the camera module 1 having such a structure provides an effect that it is possible to obtain an image having a higher resolution based on a plurality of images obtained from the four optical units 13 having the above-mentioned arrangement than that of one image obtained from one optical unit 13 by applying the super-resolution technique to these images.
  • the configuration in which four images of the colors G, R, G, and B are obtained by the light receiving element 12 illustrated in Fig. 75 provides an effect similar to that provided by the configuration of the light receiving element 12 illustrated in Fig. 66 in which the four pixels of the colors G, R, G, and B form a repetition unit.
  • the configuration in which four images of the colors R, G, B, and C are obtained by the light receiving element 12 illustrated in Fig. 76 provides an effect similar to that provided by the configuration of the light receiving element 12 illustrated in Fig. 67 in which the four pixels of the colors R, G, B, and C form a repetition unit.
  • the configuration in which four images of the colors R, C, B, and C are obtained by the light receiving element 12 illustrated in Fig. 77 provides an effect similar to that provided by the configuration of the light receiving element 12 illustrated in Fig. 68 in which the four pixels of the colors R, C, B, and C form a repetition unit.
  • the configuration in which four images of the colors R, C, C, and C are obtained by the light receiving element 12 illustrated in Fig. 78 provides an effect similar to that provided by the configuration of the light receiving element 12 illustrated in Fig. 69 in which the four pixels of the colors R, C, C, and C form a repetition unit.
  • the diaphragm plate 51 of the camera module 1 including any one of the light receiving elements 12 illustrated in Figs. 75 to 78 may have various configurations of the diaphragm plates 51 illustrated in A to D of Fig. 64 and the modifications thereof.
  • a of Fig. 79 illustrates an eleventh example of the pixel arrangement of the four pixel arrays 1601b1 to 1601b4 included in the light receiving element 12 of the camera module 1.
  • the pixel sizes of each pixel of the pixel arrays 1601b1 to 1601b4 or the wavelengths of light received by each pixel are different.
  • the pixel array 1601b1 has the smallest size
  • the pixel arrays 1601b2 and 1601b3 have the same size which is larger than the pixel array 1601b1
  • the pixel array 1601b4 has a larger size than the pixel arrays 1601b2 and 1601b3.
  • the pixel size is proportional to the size of the photoelectric conversion unit included in each pixel.
  • the pixel arrays 1601b1, 1601b2, and 1601b4 are made up of pixels that receive light in the entire wavelength region of visible light, and the pixel array 1601b3 is made up of pixels that receive light in the red wavelength.
  • the configuration of the light receiving element 12 illustrated in A of Fig. 79 provides an effect that, when the illuminance of a subject is high, and therefore, a large signal is obtained in the light receiving element 12, for example, it is possible to obtain images having a high resolution using the light receiving area 1601a1 in which the pixels have a small size.
  • the configuration in which the light receiving element 12 illustrated in A of Fig. 79 is used in combination with the diaphragm plate 51 illustrated in B of Fig. 79 among the three shapes of the diaphragm plates 51 illustrated in B to D of Fig. 79 provides an effect similar to that provided by the configuration in which the light receiving element 12 illustrated in A of Fig. 74 is used in combination with the diaphragm plate 51 illustrated in B of Fig. 74 among the three shapes of the diaphragm plates 51 illustrated in B to D of Fig. 74.
  • the configuration in which the light receiving element 12 illustrated in A of Fig. 79 is used in combination with the diaphragm plate 51 illustrated in C of Fig. 79 among the three shapes of the diaphragm plates 51 illustrated in B to D of Fig. 79 provides an effect similar to that provided by the configuration in which the light receiving element 12 illustrated in A of Fig. 74 is used in combination with the diaphragm plate 51 illustrated in C of Fig. 74 among the three shapes of the diaphragm plates 51 illustrated in B to D of Fig. 74.
  • the configuration in which the light receiving element 12 illustrated in A of Fig. 79 is used in combination with the diaphragm plate 51 illustrated in D of Fig. 79 among the three shapes of the diaphragm plates 51 illustrated in B to D of Fig. 79 provides an effect similar to that provided by the configuration in which the light receiving element 12 illustrated in A of Fig. 74 is used in combination with the diaphragm plate 51 illustrated in D of Fig. 74 among the three shapes of the diaphragm plates 51 illustrated in B to D of Fig. 74.
  • the camera module 1 including the light receiving element 12 illustrated in A of Fig. 79 may have the configuration of the diaphragm plate 51 illustrated in A or D of Fig. 64, the configurations of the diaphragm plates 51 illustrated in B to D of Fig. 79, or the modifications thereof.
  • a and B of Fig. 80 are diagrams illustrating a twelfth embodiment of a camera module which uses a stacked lens structure to which the present technology is applied.
  • a of Fig. 80 is a schematic diagram illustrating an appearance of a camera module 1M as the twelfth embodiment of the camera module 1.
  • B of Fig. 80 is a cross-sectional view of the camera module 1M taken along a line X-X’ depicted by a long dashed short dashed line in A of Fig. 80.
  • the camera module 1M includes a stacked lens structure 11 and a light receiving element 12.
  • a plurality of substrates with lenses 41a to 41e are stacked.
  • the stacked lens structure 11 includes nine optical units 13.
  • the light receiving element 12 includes light receiving portions (light receiving areas) 2011 that receive light entering through the optical units 13. The light receiving portions are provided corresponding to the nine optical units 13.
  • the camera module 1M is a multi-ocular camera module.
  • a diaphragm plate 51 is disposed on an upper surface of the stacked lens structure 11. Openings 52 are formed in the diaphragm plate 51, corresponding to the nine optical units 13. The nine openings 52 corresponding to the nine optical units 13 are classified into four openings 52A each having a larger opening diameter and five openings 52B each having a smaller opening diameter.
  • the four openings 52A each having a larger opening diameter correspond to the optical units 13 with the lenses 21 each having a larger diameter.
  • the four openings 52A each having a larger opening diameter are disposed, spaced apart from one another by a first pitch PA.
  • the five openings 52B each having a smaller opening diameter correspond to the optical units 13 with the lenses 21 each having a smaller diameter.
  • the five openings 52B each having a smaller opening diameter are disposed, spaced apart from one another by a second pitch PB that is different from a first pitch PA.
  • the optical units 13 with the lenses 21 each having a larger diameter, which are disposed spaced apart from one another by the first pitch PA will be referred to as the first optical units 13A and the optical units 13 with the lenses 21 each having a smaller diameter, which are disposed spaced apart from one another by the second pitch PB, will be referred to as second optical units 13B.
  • the four first optical units 13A which are disposed spaced apart from one another by the first pitch PA have configurations similar to those of the optical units 13 of the camera module 1D illustrated in A to D of Fig. 11 as the fourth embodiment.
  • the camera module 1M includes a cover glass 2002 on the upper surface of the diaphragm plate 51.
  • Wavelength selection filters 2003 are formed on an upper surface of the cover glass 2002.
  • the wavelength selection filter 2003 selects light having a predetermined wavelength and transmits that light therethrough.
  • the wavelength selection filters 2003 are formed at five positions on the cover glass 2002, corresponding to the five openings 52B each having a smaller opening diameter.
  • the five wavelength selection filters 2003 are different in the wavelength for transmitting light therethrough and distinguished as wavelength selection filters 2003R, 2003G, 2003B, 2003C, and 2003IR.
  • Fig. 81 is a graph showing filter characteristics of the wavelength selection filters 2003R, 2003G, 2003B, 2003C, and 2003IR.
  • the wavelength selection filter 2003R transmits light having a red (R) wavelength therethrough.
  • the wavelength selection filter 2003G transmits light having a green (G) wavelength therethrough.
  • the wavelength selection filter 2003B transmits light having a blue (B) wavelength therethrough.
  • the wavelength selection filter 2003C transmits light having a visible light (RGB) wavelength therethrough.
  • the wavelength selection filter 2003IR transmits light having an infrared light (IR) wavelength therethrough.
  • the light receiving portions 2011 of the light receiving element 12 are formed below the nine optical units 13. Light passing through each optical unit 13 enters the corresponding light receiving portion 2011 and is received.
  • the plurality of second optical units 13B each having a smaller lens diameter are arranged at the second pitch PB different from the first pitch PA in the regions between the plurality of first optical units 13A arranged at the first pitch PA, which are similar to the camera module 1D illustrated in A to D of Fig. 11.
  • the wavelength selection filters 2003 are formed above the openings 52B of the second optical units 13B arranged at the second pitch PB.
  • an amount of light for each wavelength of the red, green, blue, visible light, and infrared light can be detected in the light receiving portions 2011 corresponding to the plurality of optical units 13 arranged at the second pitch PB.
  • a light source can be estimated on the basis of the detected amount of light for each wavelength.
  • the estimation result of the light source can be used for white balance adjustment, for example.
  • a of Fig. 82 is a cross-sectional view illustrating a first modification of the twelfth embodiment.
  • the wavelength selection filters 2003 are formed in the openings 52B of a lower surface of the cover glass 2002, not the upper surface of the cover glass 2002.
  • the positions at which the wavelength selection filters 2003 are formed may be other than the upper surface or the lower surface of the cover glass 2002.
  • the wavelength selection filters 2003 may be disposed above the light receiving portion 2011 or the lenses 21 themselves may have the functions of the wavelength selection filters.
  • the wavelength selection filters 2003 may be disposed at any positions as long as the wavelength selection filters 2003 are disposed on the optical axes of the second optical units 13B.
  • the lenses 21 of the substrates with lenses 41 of the layers that form the stacked lens structure 11 can be omitted in a manner that depends on designs, specifications, and the like.
  • FIG. B of Fig. 82 is a cross-sectional view illustrating a second modification of the twelfth embodiment.
  • the wavelength selection filters 2003 are omitted.
  • optical parameters of the second optical units 13B arranged at the second pitch PB are different from optical parameters of the first optical units 13A arranged at the first pitch PA.
  • the second optical units 13B arranged at the second pitch PB each include five lenses 21 similarly to the first optical units 13A arranged at the first pitch PA.
  • the second optical units 13B arranged at the second pitch PB each include only two lenses 21.
  • the first optical units 13A arranged at the first pitch PA and the second optical units 13B arranged at the second pitch PB are different in the focal distance.
  • the two types of optical units 13, i.e., the first optical units 13A arranged at the first pitch PA and the second optical units 13B arranged at the second pitch PB can be, for example, the first optical units 13A each having a short focal distance for photographing a close-range view and the second optical units 13B each having a long focal distance for photographing a distant view.
  • the pixel arrangement of the light receiving portions 2011 below the second optical units 13B can be similar to the pixel arrangement of the light receiving portions 2011 below the first optical units 13A, which have been described above with reference to Figs. 66 to 78.
  • FIG. 82 is a cross-sectional view illustrating a third modification of the twelfth embodiment.
  • a light emitting diode (LED) 2021 that is a light emitting portion that emits light is provided on the optical axis of each of the second optical units 13B arranged at the second pitch PB.
  • the light receiving portion 2011 of the light receiving element 12 below the second optical unit 13B is replaced by the LED 2021 serving as the light emitting portion.
  • the lenses 21 of the substrates with lenses 41a to 41e and the wavelength selection filters 2003 on the optical axis of each of the second optical units 13B arranged at the second pitch PB are omitted.
  • the camera module 1M can be provided with a distance measurement function to measure a distance to a subject by using time of flight (ToF) method.
  • ToF time of flight
  • a substrate with lenses 41W’-e in the substrate state positioned in the bottom layer in the stacked lens structure 11 is prepared.
  • first through-hole 83A a through-hole 83 of each of the first optical units 13A arranged at the first pitch PA
  • second through-hole 83B a through-hole 83 of each of the second optical units 13B arranged at the second pitch PB
  • the lenses 21 are formed inside the first through-hole 83A of the first optical unit 13A while the lenses 21 are not formed inside the second through-hole 83B of the second optical unit 13B.
  • broken lines near the second through-hole 83B indicates that the substrate with lenses 41W’-e are connected with the single substrate in portions other than the second through-hole 83B.
  • a substrate with lenses 41W’-d in the substrate state positioned on the second layer from the bottom of the stacked lens structure 11 is bonded on the substrate with lenses 41W’-e in the substrate state by using the method of bonding the substrates with lenses 41W in the substrate state together, which has been described above with reference to A and B of Fig. 31.
  • a substrate with lenses 41W’-c in the substrate state positioned on the third layer from the bottom of the stacked lens structure 11 is bonded on a substrate with lenses 41W’-d in the substrate state by using the method of bonding the substrates with lenses 41W in the substrate state together, which has been described above with reference to A and B of Fig. 31.
  • a substrate with lenses 41W’-b in the substrate state positioned on the fourth layer from the bottom of the stacked lens structure 11 is bonded on the substrate with lenses 41W’-c in the substrate state by using the method of bonding the substrates with lenses 41W in the substrate state together, which has been described above with reference to A and B of Fig. 31.
  • a substrate with lenses 41W’-a in the substrate state positioned on the fifth layer from the bottom of the stacked lens structure 11 is bonded on the substrate with lenses 41W’-b in the substrate state by using the method of bonding the substrates with lenses 41W in the substrate state together, which has been described above with reference to A and B of Fig. 31.
  • a diaphragm plate 51W positioned on the top layer of the substrate with lenses 41a in the stacked lens structure 11 is bonded on the substrate with lenses 41W’-a in the substrate state by using the method of bonding the substrates with lenses 41W in the substrate state together, which has been described above with reference to A and B of Fig. 31.
  • a stacked lens structure 11W’ in the substrate state is obtained by sequentially stacking, as described above, the five substrates with lenses 41W’-a to 41W’-e in the substrate state from the substrate with lenses 41W’ which is a lower layer of the stacked lens structure 11 to the substrate with lenses 41W’ which is an upper layer of the stacked lens structure 11 one by one.
  • a final camera module 1M is obtained by stacking the cover glass 2002 provided with the wavelength selection filters 2003 formed in necessary regions and the sensor substrate 43W in the substrate state in a manner as described above with reference to Figs. 6 and 7, for example, and then dividing it into pieces in units of modules.
  • the stacked lens structure 11W’ in the substrate state can also be manufactured by sequentially stacking the five substrates with lenses 41W’-a to 41W’-e in the substrate state from the substrate with lenses 41W’ which is the upper layer of the stacked lens structure 11 to the substrate with lenses 41W’ which is the lower layer of the stacked lens structure 11 one by one as described above with reference to A to F of Fig. 33.
  • the camera module 1M includes: the stacked lens structure 11 including the substrates with lenses 41, the substrates with lenses 41 being respectively provided with the first through-hole 83A and the second through-hole 83B having different opening widths, and being stacked and bonded to each other by direct bonding, at least the first through-hole 83A of the first through-hole 83A and the second through-hole 83B including the lens 21 disposed therein; and the light receiving element 12 including the plurality of light receiving portions 2011 that receive light entering through the first optical units 13A each including the lenses 21 stacked in the optical axis direction in such a manner that the substrates with lenses 41 are stacked and bonded to each other by direct bonding, the plurality of light receiving portions 2011 being provided corresponding to the first optical units 13A.
  • the plurality of second optical units 13B with the through-holes 83 each having the opening width smaller than that of the first optical unit 13A are disposed in the regions between the plurality of first optical units 13A arranged at the first pitch PA, the plurality of second optical units 13B being arranged at the second pitch PB different from the first pitch PA.
  • the unoccupied regions of the first optical units 13A can be efficiently used in comparison with the case of including the plurality of first optical units 13A arranged at the first pitch PA as in the camera module 1D illustrated in A to D of Fig. 11.
  • Information different from image information obtained by the light receiving portions 2011 of the plurality of first optical units 13A can be obtained.
  • information that can be obtained can be increased without increasing the chip size of the camera module 1.
  • the amount of light for each wavelength of the red, green, blue, visible light, and infrared light can be detected, and color temperature information can be obtained.
  • image information different in the focal distance from image information captured by the first optical units 13A arranged at the first pitch PA can be obtained.
  • distance information indicating a distance to a subject can be obtained.
  • the first pitch PA may be longer than the second pitch PB or the second pitch PB may be longer than the first pitch PA.
  • the second through-hole 83B of the second optical unit 13B has an opening width smaller than that of the first through-hole 83A of the first optical unit 13.
  • the two-by-two, four first optical units 13A arranged at the first pitch PA are disposed and the five second optical units 13B are disposed in the unoccupied regions thereof.
  • the number of first optical units 13A and the number of second optical units 13B which form the camera module 1M can be arbitrarily set.
  • a and B of Fig. 84 are plan views of the diaphragm plate 51 for describing other arrangement examples of the first optical units 13A and the second optical units 13B in the camera module 1M.
  • the positions of the openings 52 of the diaphragm plate 51 and the number thereof correspond to the positions of the first optical units 13A and the second optical units 13B in the camera module 1M and the number thereof.
  • a of Fig. 84 illustrates a diaphragm plate 51 corresponding to a camera module 1M including two first optical units 13A in a one-by-two array and two second optical units 13B disposed therebetween.
  • FIG. 84 illustrates a diaphragm plate 51 corresponding to a camera module 1M including nine first optical units 13A in a three-by-three array and two-by-two, four second optical units 13B disposed therebetween.
  • the array of the first optical units 13A may be five-by-five, seven-by-seven, or the like.
  • the second optical units 13B may also be disposed in an outer peripheral portion of the camera module 1M besides the regions between the first optical units 13A.
  • the positions of the first optical units 13A arranged at the first pitch PA and the second optical units 13B arranged at the second pitch PB and the number thereof in the single camera module 1M can be designed as appropriate.
  • the above-mentioned camera module 1 may be used in a form of being incorporated into an electronic apparatus that uses a solid-state imaging apparatus in an image capturing unit (photoelectric conversion unit), an imaging apparatus such as a digital still camera and a video camera, a mobile terminal apparatus that has an imaging function, and a copying machine that uses the solid-state imaging apparatus in an image reading unit.
  • an image capturing unit photoelectric conversion unit
  • an imaging apparatus such as a digital still camera and a video camera
  • a mobile terminal apparatus that has an imaging function
  • a copying machine that uses the solid-state imaging apparatus in an image reading unit.
  • Fig. 85 is a block diagram illustrating a configuration example of an imaging apparatus as an electronic apparatus to which the present technology is applied.
  • An imaging apparatus 3000 illustrated in Fig. 85 includes a camera module 3002 and a digital signal processor (DSP) circuit 3003 as a camera signal processing circuit. Further, the imaging apparatus 3000 also includes a frame memory 3004, a display unit 3005, a recording unit 3006, an operating unit 3007, and a power supply unit 3008. The DSP circuit 3003, the frame memory 3004, the display unit 3005, the recording unit 3006, the operating unit 3007, the power supply unit 3008 are connected to each other via a bus line 3009.
  • DSP digital signal processor
  • An image sensor 3001 in the camera module 3002 captures incident light (image light) from a subject, converts an amount of the incident light formed into an image on an imaging surface to electrical signals in pixel units, and outputs the electrical signals as pixel signals.
  • the above-mentioned camera module 1 is employed as the camera module 3002, and the image sensor 3001 corresponds to the above-mentioned light receiving element 12.
  • the image sensor 3001 receives light passing through the respective lens 21 of the optical unit 13 having the stacked lens structure 11 in the camera module 3002 and outputs a pixel signal.
  • the display unit 3005 is a panel-type display apparatus such as a liquid crystal panel and an organic electro-luminescence (EL) panel, and displays a moving image or a still image captured by the image sensor 3001.
  • the recording unit 3006 records the moving image or the still image captured by the image sensor 3001 on a recording medium such as a hard disk and a semiconductor memory.
  • the operating unit 3007 issues an operation instruction on various functions of the imaging apparatus 3000 in response to an operation by a user.
  • the power supply unit 3008 that supplies various types of power as operation power as appropriate to the DSP circuit 3003, the frame memory 3004, the display unit 3005, the recording unit 3006, and the operating unit 3007.
  • the camera module 3002 when the camera module 1, to which the stacked lens structure 11 formed by positioning and bonding (stacking) the substrates with lenses 41 with high accuracy is mounted, is used as the camera module 3002, it is possible to increase image quality and to achieve downsizing.
  • the camera module when the camera module is incorporated in the imaging apparatus 3000 such as a video camera, a digital still camera, and a mobile apparatus such as a mobile phone, it is possible to achieve downsizing of semiconductor packages in the imaging apparatus 3000 and to increase image quality of an image to be captured with the imaging apparatus 3000.
  • information different from image information obtained by the light receiving portions 2011 of the plurality of first optical units 13A can be obtained by using the camera module 1M according to the twelfth embodiment as the camera module 3002.
  • the technology according to the present disclosure may be applied to various products.
  • the technology according to the present disclosure may be applied to an internal information acquisition system for a patient, which uses an endoscopic capsule.
  • Fig. 86 is a block diagram illustrating an example of a schematic configuration of an internal information acquisition system for a patient, which uses an endoscopic capsule, to which the technology (present technology) according to the present disclosure may be applied.
  • An internal information acquisition system 10001 includes an endoscopic capsule 10100 and an external control device 10200.
  • the endoscopic capsule 10100 is swallowed by a patient in an examination.
  • the endoscopic capsule 10100 has an image capture function and a wireless communication function.
  • the endoscopic capsule 10100 moves through the interior of organs such as the stomach and the intestines by peristaltic movement or the like until being excreted naturally from the patient, while also successively capturing images (hereinafter, also referred to as internal images) of the interior of the relevant organs at predetermined intervals, and successively wirelessly transmitting information about the internal images to the external control device 10200 outside the body.
  • the external control device 10200 centrally controls the operation of the internal information acquisition system 10001. Further, the external control device 10200 receives information about the internal images transmitted from the endoscopic capsule 10100. Based on the received information about the internal images, the external control device 10200 generates image data for displaying the internal images on a display device (not illustrated).
  • images depicting the patient’s internal conditions can be obtained continually from the time the endoscopic capsule 10100 is swallowed to the time the endoscopic capsule 10100 is excreted.
  • the endoscopic capsule 10100 includes a capsule-shaped housing 10101, and includes a light source unit 10111, an image capture unit 10112, an image processing unit 10113, a wireless communication unit 10114, a power supply unit 10115, a power source unit 10116, and a control unit 10117 built in the capsule-shaped housing 10101.
  • the light source unit 10111 includes a light source such as a light-emitting diode (LED), for example, and irradiates the imaging field of the image capture unit 10112 with light.
  • a light source such as a light-emitting diode (LED), for example, and irradiates the imaging field of the image capture unit 10112 with light.
  • LED light-emitting diode
  • the image capture unit 10112 includes an image sensor, and an optical system made up of multiple lenses provided in front of the image sensor. Reflected light (hereinafter, referred to as observation light) from the light radiated to a body tissue which is an object of observation is condensed by the optical system and incident on the image sensor.
  • the image sensor of the image capture unit 10112 receives and photoelectrically converts the observation light, to thereby generate an image signal corresponding to the observation light.
  • the image signal generated by the image capture unit 10112 is provided to the image processing unit 10113.
  • the image processing unit 10113 includes a processor such as a central processing unit (CPU) and a graphics processing unit (GPU), and performs various types of signal processing on the image signal generated by the image capture unit 10112.
  • the image processing unit 10113 provides the image signal subjected to the signal processing to the wireless communication unit 10114 as raw data.
  • the wireless communication unit 10114 performs predetermined processing such as modulation processing on the image signal that was subjected to the signal processing by the image processing unit 10113, and transmits the image signal to the external control device 10200 via an antenna 10114A.
  • the wireless communication unit 10114 receives, from the external control device 10200 via the antenna 10114A, a control signal related to driving control of the endoscopic capsule 10100.
  • the wireless communication unit 10114 provides control signals received from the external control device 10200 to the control unit 10117.
  • the power supply unit 10115 includes, for example, an antenna coil for receiving power, a power regeneration circuit for regenerating power from a current produced in the antenna coil, and a voltage step-up circuit.
  • the principle of what is called contactless or wireless charging is used for generating power.
  • the power source unit 10116 includes a secondary battery, and stores power generated by the power supply unit 10115.
  • Fig. 86 omits arrows or the like indicating the recipients of power from the power source unit 10116 for brevity, but power stored in the power source unit 10116 is supplied to the light source unit 10111, the image capture unit 10112, the image processing unit 10113, the wireless communication unit 10114, and the control unit 10117, and may be used for driving these components.
  • the control unit 10117 includes a processor such as a CPU.
  • the control unit 10117 appropriately controls driving of the light source unit 10111, the image capture unit 10112, the image processing unit 10113, the wireless communication unit 10114, and the power supply unit 10115 in accordance with a control signal transmitted from the external control device 10200.
  • the external control device 10200 includes a processor such as a CPU and GPU, a microcomputer or a control board on which a processor and a storage element such as a memory are mounted, and the like.
  • the external control device 10200 controls the operation of the endoscopic capsule 10100 by transmitting a control signal to the control unit 10117 of the endoscopic capsule 10100 via an antenna 10200A.
  • a light irradiation condition under which the light source unit 10111 irradiates a target of observation with light may be changed by a control signal from the external control device 10200.
  • an image capture condition (such as the frame rate and the exposure level in the image capture unit 10112) may be changed by a control signal from the external control device 10200.
  • the content of processing in the image processing unit 10113 and a condition (such as the transmission interval and the number of images to be transmitted) under which the wireless communication unit 10114 transmits the image signal may be changed by a control signal from the external control device 10200.
  • the external control device 10200 performs various types of image processing on the image signal transmitted from the endoscopic capsule 10100, and generates image data for displaying a captured internal image on a display device.
  • image processing various known signal processing, such as a development process (demosaicing process), an image quality-improving process (such as a band enhancement process, a super-resolution process, a noise reduction (NR) process, and/or a shake correction process), and/or an enlargement process (electronic zoom process), may be performed.
  • the external control device 10200 controls driving of a display device (not illustrated), and causes the display device to display a captured internal image on the basis of the generated image data.
  • the external control device 10200 may also cause a recording device (not illustrated) to record the generated image data, or cause a printing device (not illustrated) to make a printout of the generated image data.
  • the above describes an example of the internal information acquisition system to which the technology according to the present disclosure may be applied.
  • the technology according to the present disclosure may be applied to the image capture unit 10112 of the above-mentioned configurations.
  • the camera module 1 according to the first to twelfth embodiments can be applied as the image capture unit 10112.
  • the endoscopic capsule 10100 can be further downsized. Therefore, it is possible to further reduce the burden on the patient. Moreover, it is possible to obtain a clearer surgical-site image while downsizing the endoscopic capsule 10100. Therefore, the accuracy of examination can be enhanced.
  • the technology according to the present disclosure may be applied to various products.
  • the technology according to the present disclosure may be applied to an endoscopy surgery system.
  • Fig. 87 is a diagram illustrating an example of a schematic configuration of an endoscopy surgery system, to which the technology according to the present disclosure (present technology) may be applied.
  • Fig. 87 illustrates that a surgeon (doctor) 11131 performs surgery on a patient 11132 on a patient bed 11133 by using an endoscopy surgery system 11000.
  • the endoscopy surgery system 11000 includes an endoscope 11100, other surgical instruments 11110 such as a pneumoperitoneum tube 11111 and an energy surgical tool 11112, a support arm device 11120 that supports the endoscope 11100, and a cart 11200 including various kinds of built-in endoscopy-surgical devices.
  • the endoscope 11100 includes a lens tube 11101 and a camera head 11102, part of the lens tube 11101 from the tip having a predetermined length being inserted in the body cavity of the patient 11132, the camera head 11102 being connected to the base of the lens tube 11101.
  • the figure illustrates the endoscope 11100 including the rigid lens tube 11101, i.e., a so-called rigid endoscope, for example.
  • the endoscope 11100 may be a so-called flexible endoscope including a flexible lens tube.
  • the lens tube 11101 has an opening at the tip, an objective lens being fitted in the opening.
  • a light source device 11203 is connected to the endoscope 11100.
  • the light source device 11203 generates light, a light guide extending in the lens tube 11101 guides the light to the tip of the lens tube, the light passes through the objective lens, and an object of observation in the body cavity of the patient 11132 is irradiated with the light.
  • the endoscope 11100 may be a direct-viewing endoscope, an oblique-viewing endoscope, or a side-viewing endoscope.
  • the camera head 11102 includes an optical system and an image sensor inside. Reflected light (observation light) from the object of observation is condensed on the image sensor by the optical system.
  • the image sensor photoelectrically converts the observation light to thereby generate an electric signal corresponding to the observation light, i.e., an image signal corresponding to an observation image.
  • the image signal as raw data, is transmitted to a camera control unit (CCU) 11201.
  • CCU camera control unit
  • the CCU 11201 includes a central processing unit (CPU), a graphics processing unit (GPU), or the like, and centrally controls the operation of the endoscope 11100 and a display device 11202. Further, the CCU 11201 receives the image signal from the camera head 11102, and performs various types of image processing, e.g., a development process (demosaicing process) and the like, on the image signal. An image is to be displayed on the basis of the image signal.
  • a development process demosaicing process
  • the display device 11202 displays an image on the basis of the image signal subjected to the image processing by the CCU 11201.
  • the light source device 11203 includes a light source such as a light emitting diode (LED), for example, and supplies light to the endoscope 11100, a surgery site or the like being irradiated with the light when its image is captured.
  • a light source such as a light emitting diode (LED), for example, and supplies light to the endoscope 11100, a surgery site or the like being irradiated with the light when its image is captured.
  • LED light emitting diode
  • An input device 11204 is an input interface for the endoscopy surgery system 11000.
  • a user may input various kinds of information and instructions in the endoscopy surgery system 11000 via the input device 11204.
  • a user inputs instructions to change image capture conditions (kind of irradiation light, magnifying power, focal length, and the like) of the endoscope 11100, and other instructions.
  • a surgical tool control device 11205 controls the driving of the energy surgical tool 11112 that cauterizes a tissue, incises a tissue, seals a blood vessel, or the like.
  • a pneumoperitoneum device 11206 feeds gas into the body cavity via the pneumoperitoneum tube 11111 in order to swell up the body cavity of the patient 11132 for the purpose of securing the imaging field of the endoscope 11100 and securing the workspace for a surgeon.
  • a recorder 11207 is a device capable of recording various kinds of surgical information.
  • a printer 11208 is a device capable of printing the various kinds of surgical information in various kinds of formats such as a text, an image, and a graph.
  • the light source device 11203 which supplies irradiation light to the endoscope 11100 when an image of a surgery site is captured, may include an LED, a laser light source, or a white light source including a combination of them, for example. Where the white light source includes a combination of RGB laser light sources, the light source device 11203 may adjust the white balance of a captured image since the output intensity and the output timing of each color (each wavelength) may be controlled with a high degree of accuracy.
  • images respectively corresponding to RGB may be captured in time-division.
  • the image sensor without color filters may obtain color images.
  • the driving of the light source device 11203 may be controlled to change the intensity of output light at predetermined time intervals.
  • the driving of the image sensor of the camera head 11102 in synchronization with the timings of changing the intensity of the light to thereby obtain images in time-division and by combining the images, high-dynamic-range images without so-called black-clipping and white-clipping may be generated.
  • the light source device 11203 may be configured to be capable of supplying light having a predetermined wavelength band corresponding to special light imaging.
  • An example of the special light imaging is so-called narrow band imaging, which makes use of the fact that absorption of light by a body tissue depends on the wavelength of light.
  • narrow band imaging a body tissue is irradiated with light having a narrower band than the band of irradiation light (i.e., white light) in the normal imaging, and thereby a high-contrast image of a predetermined tissue such as a blood vessel of a mucous membrane surface is captured.
  • fluorescence imaging in which a body tissue is irradiated with excitation light, fluorescence is thereby generated, and a fluorescence image is obtained.
  • a body tissue is irradiated with excitation light, and fluorescence from the body tissue is imaged (auto-fluorescence imaging).
  • a reagent such as indocyanine green (ICG) is locally injected into a body tissue and, in addition, the body tissue is irradiated with excitation light corresponding to the fluorescence wavelength of the reagent to thereby obtain a fluorescence image.
  • the light source device 11203 may be configured to be capable of supplying narrow band light and/or excitation light corresponding to the special light imaging.
  • Fig. 88 is a block diagram illustrating an example of a functional configuration of the camera head 11102 and the CCU 11201 of Fig. 87.
  • the camera head 11102 includes a lens unit 11401, an image capture unit 11402, a driving unit 11403, a communication unit 11404, and a camera head control unit 11405.
  • the CCU 11201 includes a communication unit 11411, an image processing unit 11412, and a control unit 11413.
  • the camera head 11102 is connected to the CCU 11201 via a transmission cable 11400, which enables bidirectional communication.
  • the lens unit 11401 is an optical system provided at a portion of the camera head 11102, to which the lens tube 11101 is connected. Observation light is introduced from the tip of the lens tube 1110, is guided to the camera head 11102, and enters the lens unit 11401.
  • the lens unit 11401 includes a plurality of lenses including a zoom lens and a focus lens in combination.
  • the image capture unit 11402 includes an image sensor/image sensors.
  • the image capture unit 11402 may include one (i.e., single) image sensor or a plurality of (i.e., multiple) image sensors. Where the image capture unit 11402 includes multiple image sensors, for example, the respective image sensors may generate image signals corresponding to RGB, and a color image may be obtained by combining the RGB image signals.
  • the image capture unit 11402 may include a pair of image sensors for obtaining right-eye and left-eye image signals corresponding to 3D (Dimensional) display. Thanks to the 3D display, the surgeon 11131 is capable of grasping the depth of a biological tissue at a surgery site more accurately. Where the image capture unit 11402 includes multiple image sensors, a plurality of series of lens units 11401 may be provided corresponding to the image sensors, respectively.
  • the image capture unit 11402 is not necessarily provided in the camera head 11102.
  • the image capture unit 11402 may be provided immediately after the objective lens in the lens tube 11101.
  • the driving unit 11403 includes an actuator. Controlled by the camera head control unit 11405, the driving unit 11403 causes the zoom lens and the focus lens of the lens unit 11401 to move for a predetermined distance along the optical axis. As a result, the magnifying power and the focus of an image captured by the image capture unit 11402 may be adjusted appropriately.
  • the communication unit 11404 includes a communication device for transmitting/receiving various kinds of information to/from the CCU 11201.
  • the communication unit 11404 transmits the image signal obtained from the image capture unit 11402 to the CCU 11201 via the transmission cable 11400 as raw data.
  • the communication unit 11404 receives a control signal related to driving control of the camera head 11102 from the CCU 11201, and supplies the control signal to the camera head control unit 11405.
  • the control signal includes information about image capture conditions, which includes information for specifying the frame rate of a captured image, information for specifying the exposure level when capturing an image, information for specifying the magnifying power and the focus of a captured image, and/or the like.
  • the above-mentioned image capture conditions such as the frame rate, the exposure level, the magnifying power, and the focus may be specified appropriately by a user, or may be set automatically on the basis of the obtained image signal by the control unit 11413 of the CCU 11201. In the latter case, it is expected that the endoscope 11100 has the so-called AE (Auto Exposure) function, AF (Auto Focus) function, and AWB (Auto White Balance) function.
  • AE Auto Exposure
  • AF Automatic Focus
  • AWB Automatic White Balance
  • the camera head control unit 11405 controls the driving of the camera head 11102 on the basis of the control signal received from the CCU 11201 via the communication unit 11404.
  • the communication unit 11411 includes a communication device for transmitting/receiving various kinds of information to/from the camera head 11102.
  • the communication unit 11411 receives the image signal transmitted from the camera head 11102 via the transmission cable 11400.
  • the communication unit 11411 transmits the control signal related to driving control of the camera head 11102 to the camera head 11102.
  • the image signal and the control signal may be transmitted via the electric communication, the optical communication, or the like.
  • the image processing unit 11412 performs various types of image processing on the image signal transmitted from the camera head 11102 as raw data.
  • the control unit 11413 performs various types of control on capturing an image of a surgery site or the like by the endoscope 11100 and control on displaying the captured image obtained by capturing the surgery site or the like. For example, the control unit 11413 generates a control signal related to driving control of the camera head 11102.
  • control unit 11413 causes the display device 11202 to display a captured image of the surgery site or the like on the basis of the image signal subjected to the image processing by the image processing unit 11412.
  • the control unit 11413 may recognize various kinds of objects in the captured image by making use of various kinds of image recognition techniques. For example, by detecting the edge shape, the color, and the like of an object in the captured image, the control unit 11413 is capable of recognizing a surgical instrument such as forceps, a certain biological site, bleeding, mist generated when using the energy surgical tool 11112, and the like.
  • control unit 11413 When the control unit 11413 causes the display device 11202 to display a captured image, the control unit 11413 may display various kinds of surgery assistance information superimposed on the image of the surgery site by making use of the result of the recognition. By displaying the surgery assistance information superimposed on the image, which is presented to the surgeon 11131, it is possible to reduce the burden on the surgeon 11131 and it is possible for the surgeon 11131 to reliably carry on the surgery.
  • the transmission cable 11400 which connects the camera head 11102 and the CCU 11201, is an electric signal cable that supports electric signal communication, an optical fiber that supports optical communication, or a composite cable of them.
  • wired communication is performed via the transmission cable 11400.
  • communication between the camera head 11102 and the CCU 11201 may be performed wirelessly.
  • the above describes an example of the endoscopy surgery system to which the technology according to the present disclosure may be applied.
  • the technology according to the present disclosure may be applied to the lens unit 11401 and the image capture unit 11402 of the camera head 11102 of the above-mentioned configuration.
  • the camera module 1 of the first to twelfth embodiments may be applied to the lens unit 11401 and the image capture unit 11402.
  • the technology according to the present disclosure is applied to the lens unit 11401 and the image capture unit 11402
  • the camera head 11102 is downsized and, in addition, a clearer image of a surgery site may be obtained.
  • the technology according to the present disclosure may be applied to another system, e.g., a microscope surgery system or the like.
  • the technology (present technology) according to the present disclosure can be applied to various products.
  • the technology according to the present disclosure may be realized as a device mounted on any kind of movable objects such as a car, an electric car, a hybrid electric car, a motorcycle, a bicycle, a personal mobility, an aircraft, a drone, a ship, and a robot.
  • Fig. 89 is a block diagram illustrating an example of a schematic configuration of a vehicle control system, which is an example of a movable object control system to which the technology according to the present disclosure is applied.
  • a vehicle control system 12000 includes a plurality of electronic control units connected to each other via a communication network 12001.
  • the vehicle control system 12000 includes a drive-system control unit 12010, a body-system control unit 12020, a vehicle exterior information detection unit 12030, a vehicle interior information detection unit 12040, and an integrated-control unit 12050.
  • a microcomputer 12051, a sound/image output unit 12052, and an in-vehicle network interface (I/F) 12053 are illustrated.
  • the drive-system control unit 12010 executes various kinds of programs, to thereby control the operations of the devices related to the drive system of the vehicle.
  • the drive-system control unit 12010 functions as a control device that controls driving force generation devices such as an internal-combustion engine and a driving motor for generating a driving force of the vehicle, a driving force transmission mechanism for transmitting the driving force to wheels, a steering mechanism that adjusts the steering angle of the vehicle, a brake device that generates a braking force of the vehicle, and the like.
  • the body-system control unit 12020 executes various kinds of programs, to thereby control the operations of the various kinds devices equipped in a vehicle body.
  • the body-system control unit 12020 functions as a control device that controls a keyless entry system, a smart key system, a power window device, or various lamps such as head lamps, back lamps, brake lamps, side-turn lamps, and fog lamps.
  • an electric wave transmitted from a mobile device in place of a key or signals from various switches may be input in the body-system control unit 12020.
  • the body-system control unit 12020 receives the input electric wave or signal, and controls a door lock device, the power window device, the lamps, and the like of the vehicle.
  • the vehicle exterior information detection unit 12030 detects information outside the vehicle including the vehicle control system 12000.
  • an image capture unit 12031 is connected to the vehicle exterior information detection unit 12030.
  • the vehicle exterior information detection unit 12030 causes the image capture unit 12031 to capture an environment image and receives the captured image.
  • the vehicle exterior information detection unit 12030 may perform an object detection process of detecting a man, a vehicle, an obstacle, a sign, a signage on a road, or the like on the basis of the received image, or may perform a distance detection process on the basis of the received image.
  • the image capture unit 12031 is an optical sensor that receives light and outputs an electric signal corresponding to the amount of light received.
  • the image capture unit 12031 may output the electric signal as an image or may output as distance measurement information. Further, the light that the image capture unit 12031 receives may be visible light or invisible light such as infrared light.
  • the vehicle interior information detection unit 12040 detects vehicle interior information.
  • a driver condition detector 12041 that detects the condition of a driver is connected to the vehicle interior information detection unit 12040.
  • the driver condition detector 12041 may include a camera that captures an image of a driver.
  • the vehicle interior information detection unit 12040 may calculate the fatigue level or the concentration level of the driver on the basis of the detected information input from the driver condition detector 12041, and may determine whether the driver is sleeping.
  • the microcomputer 12051 may calculate the control target value of the driving force generation device, the steering mechanism, or the brake device on the basis of the vehicle interior/vehicle exterior information obtained by the vehicle exterior information detection unit 12030 or the vehicle interior information detection unit 12040, and may output a control command to the drive-system control unit 12010.
  • the microcomputer 12051 may perform coordinated control for the purpose of realizing the advanced driver assistance system (ADAS) function including avoiding a vehicle collision, lowering impacts of a vehicle collision, follow-up driving based on a distance between vehicles, constant speed driving, vehicle collision warning, a vehicle’s lane departure warning, or the like.
  • ADAS advanced driver assistance system
  • the microcomputer 12051 may perform coordinated control for the purpose of realizing self-driving, i.e., autonomous driving without the need of drivers’ operations, and the like.
  • the microcomputer 12051 may output a control command to the body-system control unit 12020 on the basis of vehicle exterior information obtained by the vehicle exterior information detection unit 12030.
  • the microcomputer 12051 may perform coordinated control including controlling the head lamps on the basis of the location of a leading vehicle or an oncoming vehicle detected by the vehicle exterior information detection unit 12030 and changing high beams to low beams, for example, for the purpose of anti-glare.
  • the sound/image output unit 12052 transmits at least one of a sound output signal and an image output signal to an output device, which is capable of notifying a passenger of the vehicle or a person outside the vehicle of information visually or auditorily.
  • an audio speaker 12061, a display unit 12062, and an instrument panel 12063 are illustrated as examples of the output devices.
  • the display unit 12062 may include at least one of an on-board display and a head-up display.
  • Fig. 90 is a diagram illustrating examples of mounting positions of the image capture units 12031.
  • a vehicle 12100 includes, as the image capture units 12031, image capture units 12101, 12102, 12103, 12104, and 12105.
  • the image capture units 12101, 12102, 12103, 12104, and 12105 are provided at positions such as the front nose, the side-view mirrors, the rear bumper or the rear door, and an upper part of the windshield in the cabin of the vehicle 12100.
  • Each of the image capture unit 12101 on the front nose and the image capture unit 12105 on the upper part of the windshield in the cabin mainly obtains an image of the front of the vehicle 12100.
  • Each of the image capture units 12102 and 12103 on the side-view mirrors mainly obtains an image of a side of the vehicle 12100.
  • the image capture unit 12104 on the rear bumper or the rear door mainly obtains an image of the rear of the vehicle 12100.
  • the images of the front obtained by the image capture units 12101 and 12105 are mainly used for detecting a leading vehicle or detecting a pedestrian, an obstacle, a traffic light, a traffic sign, a lane, or the like.
  • Fig. 90 illustrates examples of image capture ranges of the image capture units 12101 to 12104.
  • the image capture range 12111 indicates the image capture range of the image capture unit 12101 on the front nose
  • the image capture ranges 12112 and 12113 indicate the image capture ranges of the image capture units 12102 and 12103 on the side-view mirrors, respectively
  • the image capture range 12114 indicates the image capture range of the image capture unit 12104 on the rear bumper or the rear door.
  • At least one of the image capture units 12101 to 12104 may have a function of obtaining distance information.
  • at least one of the image capture units 12101 to 12104 may be a stereo camera including a plurality of image sensors or an image sensor including pixels for phase difference detection.
  • the microcomputer 12051 may extract, as a leading vehicle, a 3D object which is especially the closest 3D object driving on the track on which the vehicle 12100 is driving at a predetermined speed (e.g., 0 km/h or more) in the direction substantially the same as the driving direction of the vehicle 12100.
  • a predetermined speed e.g., 0 km/h or more
  • the microcomputer 12051 may perform autobrake control (including follow-up stop control), automatic acceleration control (including follow-up start-driving control), and the like. In this way, it is possible to perform coordinated control for the purpose of realizing self-driving, i.e., autonomous driving without the need of drivers’ operations, and the like.
  • the microcomputer 12051 may sort 3D object data of 3D objects into motorcycles, standard-size vehicles, large-size vehicles, pedestrians, and the other 3D objects such as utility poles on the basis of the distance information obtained from the image capture units 12101 to 12104, extract data, and use the data to automatically avoid obstacles.
  • the microcomputer 12051 sorts obstacles around the vehicle 12100 into obstacles that a driver of the vehicle 12100 can see and obstacles that it is difficult for the driver to see. Then, the microcomputer 12051 determines a collision risk, which indicates a hazard level of a collision with each obstacle.
  • the microcomputer 12051 may perform driving assistance to avoid a collision, in which the microcomputer 12051 outputs warning to the driver via the audio speaker 12061 or the display unit 12062, or mandatorily reduces the speed or performs collision-avoidance steering via the drive-system control unit 12010.
  • At least one of the image capture units 12101 to 12104 may be an infrared camera that detects infrared light.
  • the microcomputer 12051 may recognize a pedestrian by determining whether or not images captured by the image capture units 12101 to 12104 include the pedestrian.
  • the method of recognizing a pedestrian includes, for example, the step of extracting characteristic points in the images captured by the image capture units 12101 to 12104 being infrared cameras, and the step of performing the pattern matching process with respect to a series of characteristic points indicating an outline of an object, to thereby determine whether or not the object is a pedestrian.
  • the sound/image output unit 12052 controls the display unit 12062 to display a rectangular contour superimposed on the recognized pedestrian to emphasize the pedestrian. Further, the sound/image output unit 12052 may control the display unit 12062 to display an icon or the like indicating a pedestrian at a desired position.
  • the above describes an example of the vehicle control system to which the technology according to the present disclosure may be applied.
  • the technology according to the present disclosure may be applied to the image capture unit 12031 of the above-mentioned configurations.
  • the camera module 1 according to the first to twelfth embodiments can be applied as the image capture unit 12031.
  • the image capture unit 12031, to which the technology according to the present disclosure is applied is effective for downsizing the image capture unit 12031, obtaining a clearer captured image, and obtaining distance information. Further, by making use of obtained captured images and distance information, it is possible to reduce fatigue of a driver and improve safety of the driver and the vehicle.
  • the present technology is not limited to application to a camera module that detects a distribution of incident light intensity of visible light to photograph the distribution as an image.
  • the present technology can be applied to a camera module that photographs a distribution of incident intensity of infrared light, X-ray, or particles as an image and an overall camera module (physical quantity detection device) such as a finger print detection sensor that detects a distribution of other physical quantities such as pressure and electrostatic capacitance to photograph the distribution as an image in a broader sense of meaning.
  • Embodiments of the present technology are not limited to the above-mentioned embodiments but various changes can be made without departing from the gist of the present technology.
  • a camera module including: a stacked lens structure including a plurality of substrates with lenses, the plurality of substrates with lenses being respectively provided with a first through-hole and a second through-hole having different opening widths, and being stacked and bonded to each other by direct bonding, at least the first through-hole of the first through-hole and the second through-hole including a lens disposed therein; and a light receiving element including a plurality of light receiving portions configured to receive light entering through a plurality of first optical units each including the lenses stacked in an optical axis direction in such a manner that the plurality of substrates with lenses are stacked and bonded to each other by direct bonding, the plurality of first optical units arranged at a first pitch, the plurality of light receiving portions being provided corresponding to the plurality of first optical units.
  • the camera module according to (1) in which the second through-hole includes a plurality of second through-holes provided in a region between the plurality of first optical units and arranged at a second pitch different from the first pitch.
  • the camera module according to (4) or (5) in which the light receiving element further includes a light receiving portion configured to receive light entering through the second optical unit.
  • the camera module according to (6) further including a wavelength selection filter configured to select light having a predetermined wavelength and transmit the light having the predetermined wavelength therethrough, the wavelength selection filter is located on an optical axis of the second optical unit.
  • the camera module according to (4) further including a light emitting portion configured to emit light, the light emitting portion being located on an optical axis of the second optical unit.
  • a manufacturing method for a camera module including: forming a stacked lens structure by stacking and bonding a plurality of substrates with lenses to each other by direct bonding, the plurality of substrates with lenses being respectively provided with a first through-hole and a second through-hole having different opening widths, at least the first through-hole of the first through-hole and the second through-hole including a lens disposed therein; and stacking the stacked lens structure to a light receiving element including a plurality of light receiving portions configured to receive light entering through a plurality of first optical units each including the lenses stacked in an optical axis direction in such a manner that the plurality of substrates with lenses are stacked and bonded to each other by direct bonding, the plurality of first optical units arranged at a first pitch, the plurality of light receiving portions being provided corresponding to the plurality of first optical units.
  • An electronic apparatus including a camera module, including a stacked lens structure including a plurality of substrates with lenses, the plurality of substrates with lenses being respectively provided with a first through-hole and a second through-hole having different opening widths, and being stacked and bonded to each other by direct bonding, at least the first through-hole of the first through-hole and the second through-hole including a lens disposed therein, and a light receiving element including a plurality of light receiving portions configured to receive light entering through a plurality of first optical units each including the lenses stacked in an optical axis direction in such a manner that the plurality of substrates with lenses are stacked and bonded to each other by direct bonding, the plurality of first optical units arranged at a first pitch, the plurality of light receiving portions being provided corresponding to the plurality of first optical units.
  • a camera module including: a plurality of lens substrates including a first lens substrate including: a plurality of first through-holes arranged at a first pitch, and a plurality of second through-holes provided between adjacent first through-holes of the plurality of first through-holes and arranged at a second pitch different from the first pitch, a first optical unit located in a first through-hole of the plurality of first through-holes; and a first light-receiving element corresponding to the first optical unit, where, a first diameter of the plurality of first through-holes is different from a second diameter of the plurality of second through-holes.
  • a first layer is formed on the first lens substrate and a second layer is formed on the second lens substrate, and wherein each of the first and second layers include one or more of an oxide, nitride material, or carbon.
  • the first lens substrate is directly bonded to the second lens substrate via the first layer and the second layer.
  • the first layer and the second layer include a plasma bonded portion.
  • the light-receiving element further includes a light-receiving portion configured to receive light entering through the second optical unit.
  • a method of manufacturing a camera module including: forming a plurality of first through-holes at a first pitch in a first lens substrate; forming a plurality of second through-holes at a second pitch in the first lens substrate, wherein the plurality of second through-holes are between adjacent first through-holes of the plurality of first through-holes; and forming a first optical unit in a first through-hole of the plurality of first through-holes, where a first diameter of the plurality of first through-holes is different from a second diameter of the plurality of second through-holes.
  • An electronic apparatus comprising: a camera module, including: a plurality of lens substrates including a first lens substrate including: a plurality of first through-holes arranged at a first pitch, and a plurality of second through-holes provided between adjacent first through-holes of the plurality of first through-holes and arranged at a second pitch different from the first pitch, a first optical unit located in a first through-hole of the plurality of first through-holes, and a first light-receiving element corresponding to the first optical unit, where, a first diameter of the plurality of first through-holes is different from a second diameter of the plurality of second through-holes.
  • Camera module 11 Stacked lens structure 12
  • Light receiving element 13 13A, 13B
  • Optical unit 21 Lens 41 (41a to 41g) Substrate with lenses 43
  • Sensor substrate 51 Diaphragm plate 52 Opening 81
  • Lens resin portion 83 (83A, 83B) Through-hole 2011
  • Light receiving portion 2002 Cover glass 2003
  • Wavelength selection filter 2021 LED 3000 Imaging apparatus 3001
  • Image sensor 3002 Camera module

Landscapes

  • Physics & Mathematics (AREA)
  • General Physics & Mathematics (AREA)
  • Optics & Photonics (AREA)
  • Lens Barrels (AREA)
  • Studio Devices (AREA)
  • Cameras In General (AREA)
  • Transforming Light Signals Into Electric Signals (AREA)
  • Blocking Light For Cameras (AREA)
  • Camera Bodies And Camera Details Or Accessories (AREA)
  • Optical Filters (AREA)
PCT/JP2018/000955 2017-01-26 2018-01-16 Camera module, manufacturing method therefor, and electronic apparatus Ceased WO2018139260A1 (en)

Priority Applications (3)

Application Number Priority Date Filing Date Title
KR1020197021376A KR102511467B1 (ko) 2017-01-26 2018-01-16 카메라 모듈 및 그 제조 방법, 및 전자기기
US16/478,096 US20190369370A1 (en) 2017-01-26 2018-01-16 Camera module, manufacturing method therefor, and electronic apparatus
CN201880007558.9A CN110235030B (zh) 2017-01-26 2018-01-16 相机模块及其制造方法以及电子装置

Applications Claiming Priority (2)

Application Number Priority Date Filing Date Title
JP2017-011990 2017-01-26
JP2017011990A JP6918409B2 (ja) 2017-01-26 2017-01-26 カメラモジュールおよびその製造方法、並びに電子機器

Publications (1)

Publication Number Publication Date
WO2018139260A1 true WO2018139260A1 (en) 2018-08-02

Family

ID=61163770

Family Applications (1)

Application Number Title Priority Date Filing Date
PCT/JP2018/000955 Ceased WO2018139260A1 (en) 2017-01-26 2018-01-16 Camera module, manufacturing method therefor, and electronic apparatus

Country Status (5)

Country Link
US (1) US20190369370A1 (enExample)
JP (1) JP6918409B2 (enExample)
KR (1) KR102511467B1 (enExample)
CN (1) CN110235030B (enExample)
WO (1) WO2018139260A1 (enExample)

Families Citing this family (12)

* Cited by examiner, † Cited by third party
Publication number Priority date Publication date Assignee Title
US11128817B2 (en) * 2019-11-26 2021-09-21 Microsoft Technology Licensing, Llc Parallax correction using cameras of different modalities
US11156826B2 (en) * 2019-12-11 2021-10-26 Visera Technologies Company Limited Optical devices
CN113109978B (zh) * 2019-12-25 2025-10-14 舒子轩 一种外置式闪光灯及拍摄系统
WO2021147097A1 (zh) * 2020-01-23 2021-07-29 杭州芯格微电子有限公司 相机模块
CN111447352B (zh) * 2020-05-19 2021-08-31 Oppo广东移动通信有限公司 支架、摄像组件及终端设备
CN214669574U (zh) * 2020-09-14 2021-11-09 神盾股份有限公司 具有杂散光导离结构的tof光学感测模组
KR20220043556A (ko) * 2020-09-29 2022-04-05 에스케이하이닉스 주식회사 이미지 센싱 장치
JP2022060730A (ja) * 2020-10-05 2022-04-15 ソニーグループ株式会社 半導体装置、光学構造物
CN112596068B (zh) * 2020-10-28 2025-01-28 深圳奥锐达科技有限公司 一种采集器、距离测量系统及电子设备
US12216383B2 (en) 2022-09-29 2025-02-04 Nichia Corporation Light emitting module
CN116203657A (zh) * 2023-02-10 2023-06-02 安徽省东超科技有限公司 等效负折射率平板透镜及其制备方法
US12442509B2 (en) 2023-09-20 2025-10-14 Nichia Corporation Light-emitting module with cover member and light-transmissive member having higher hardness than cover member

Citations (12)

* Cited by examiner, † Cited by third party
Publication number Priority date Publication date Assignee Title
JP2009279790A (ja) 2008-05-20 2009-12-03 Sharp Corp レンズ及びその製造方法、並びに、レンズアレイ、カメラモジュール及びその製造方法、電子機器
JP2010204631A (ja) 2009-02-06 2010-09-16 Fujifilm Corp ウェハレベルレンズアレイの製造方法、ウェハレンズアレイ、レンズモジュール及び撮像ユニット
JP2010256563A (ja) 2009-04-23 2010-11-11 Sharp Corp レンズアレイおよび当該レンズアレイの製造方法、並びに、その利用
JP2011138089A (ja) 2010-01-04 2011-07-14 Fujifilm Corp ウェハレベルレンズアレイ、レンズモジュール及び撮像ユニット
US8000041B1 (en) * 2010-09-20 2011-08-16 Visera Technologies Company Limited Lens modules and fabrication methods thereof
JP2013001091A (ja) 2011-06-21 2013-01-07 Konica Minolta Advanced Layers Inc 光学素子の製造方法
JP2015102794A (ja) 2013-11-27 2015-06-04 キヤノン株式会社 複眼撮像装置
US20150256745A1 (en) * 2014-03-07 2015-09-10 Canon Kabushiki Kaisha Compound eye image pickup apparatus
US20150312450A1 (en) * 2014-04-23 2015-10-29 Samsung Electronics Co., Ltd. Image pickup apparatus including lens elements having different diameters
US20160006913A1 (en) * 2013-02-22 2016-01-07 Heptagon Micro Optics Pte. Ltd. Optical imaging apparatus, in particular for computational imaging, having further functionality
US20160124196A1 (en) * 2014-10-31 2016-05-05 Everready Precision Ind. Corp. Optical apparatus
US20160252721A1 (en) * 2015-02-28 2016-09-01 Scholly Fiberoptic Gmbh Optical arrangement, endoscope and corresponding production method

Family Cites Families (7)

* Cited by examiner, † Cited by third party
Publication number Priority date Publication date Assignee Title
WO2011052387A1 (ja) * 2009-10-30 2011-05-05 日本電気株式会社 発光素子、光源装置及び投射型表示装置
FR2963114B1 (fr) * 2010-07-26 2013-05-10 Commissariat Energie Atomique Dispositif optique, boitier a l'echelle d'une tranche pour un tel dispositif optique et procede correspondant.
JP2013044893A (ja) * 2011-08-23 2013-03-04 Ricoh Co Ltd 複眼撮像装置及び距離画像取得装置
US9699379B1 (en) * 2012-09-17 2017-07-04 Amazon Technologies, Inc. Camera arrangements for wide-angle imaging
JP6163398B2 (ja) * 2013-09-18 2017-07-12 ソニーセミコンダクタソリューションズ株式会社 撮像素子、製造装置、製造方法
US9553126B2 (en) * 2014-05-05 2017-01-24 Omnivision Technologies, Inc. Wafer-level bonding method for camera fabrication
CN114363484A (zh) * 2020-10-12 2022-04-15 南昌欧菲光电技术有限公司 摄像头模组及电子产品

Patent Citations (12)

* Cited by examiner, † Cited by third party
Publication number Priority date Publication date Assignee Title
JP2009279790A (ja) 2008-05-20 2009-12-03 Sharp Corp レンズ及びその製造方法、並びに、レンズアレイ、カメラモジュール及びその製造方法、電子機器
JP2010204631A (ja) 2009-02-06 2010-09-16 Fujifilm Corp ウェハレベルレンズアレイの製造方法、ウェハレンズアレイ、レンズモジュール及び撮像ユニット
JP2010256563A (ja) 2009-04-23 2010-11-11 Sharp Corp レンズアレイおよび当該レンズアレイの製造方法、並びに、その利用
JP2011138089A (ja) 2010-01-04 2011-07-14 Fujifilm Corp ウェハレベルレンズアレイ、レンズモジュール及び撮像ユニット
US8000041B1 (en) * 2010-09-20 2011-08-16 Visera Technologies Company Limited Lens modules and fabrication methods thereof
JP2013001091A (ja) 2011-06-21 2013-01-07 Konica Minolta Advanced Layers Inc 光学素子の製造方法
US20160006913A1 (en) * 2013-02-22 2016-01-07 Heptagon Micro Optics Pte. Ltd. Optical imaging apparatus, in particular for computational imaging, having further functionality
JP2015102794A (ja) 2013-11-27 2015-06-04 キヤノン株式会社 複眼撮像装置
US20150256745A1 (en) * 2014-03-07 2015-09-10 Canon Kabushiki Kaisha Compound eye image pickup apparatus
US20150312450A1 (en) * 2014-04-23 2015-10-29 Samsung Electronics Co., Ltd. Image pickup apparatus including lens elements having different diameters
US20160124196A1 (en) * 2014-10-31 2016-05-05 Everready Precision Ind. Corp. Optical apparatus
US20160252721A1 (en) * 2015-02-28 2016-09-01 Scholly Fiberoptic Gmbh Optical arrangement, endoscope and corresponding production method

Also Published As

Publication number Publication date
JP6918409B2 (ja) 2021-08-11
KR102511467B1 (ko) 2023-03-16
KR20190107678A (ko) 2019-09-20
CN110235030B (zh) 2022-03-18
JP2018120113A (ja) 2018-08-02
US20190369370A1 (en) 2019-12-05
CN110235030A (zh) 2019-09-13

Similar Documents

Publication Publication Date Title
US11614606B2 (en) Camera module, method of manufacturing the same, and electronic apparatus
WO2018139260A1 (en) Camera module, manufacturing method therefor, and electronic apparatus
US11543621B2 (en) AF module, camera module, and electronic apparatus
JP6976688B2 (ja) カメラモジュールおよびその製造方法、並びに電子機器
US11493671B2 (en) Stacked lens structure, camera module, and electronic apparatus
CN110431460B (zh) 层叠透镜结构、层叠透镜结构的制造方法和电子设备
US11460712B2 (en) Camera module, method of manufacturing the same, and electronic apparatus
TWI741108B (zh) 透鏡模組,生產透鏡模組之方法,成像裝置及電子裝置
US11609362B2 (en) Stacked lens structure and method of manufacturing the same, and electronic apparatus

Legal Events

Date Code Title Description
121 Ep: the epo has been informed by wipo that ep was designated in this application

Ref document number: 18703377

Country of ref document: EP

Kind code of ref document: A1

ENP Entry into the national phase

Ref document number: 20197021376

Country of ref document: KR

Kind code of ref document: A

NENP Non-entry into the national phase

Ref country code: DE

122 Ep: pct application non-entry in european phase

Ref document number: 18703377

Country of ref document: EP

Kind code of ref document: A1