WO2017212665A1 - 熱媒体加熱装置およびこれを用いた車両用空調装置 - Google Patents

熱媒体加熱装置およびこれを用いた車両用空調装置 Download PDF

Info

Publication number
WO2017212665A1
WO2017212665A1 PCT/JP2016/081340 JP2016081340W WO2017212665A1 WO 2017212665 A1 WO2017212665 A1 WO 2017212665A1 JP 2016081340 W JP2016081340 W JP 2016081340W WO 2017212665 A1 WO2017212665 A1 WO 2017212665A1
Authority
WO
WIPO (PCT)
Prior art keywords
heat medium
header space
heating device
inlet
outlet
Prior art date
Legal status (The legal status is an assumption and is not a legal conclusion. Google has not performed a legal analysis and makes no representation as to the accuracy of the status listed.)
Ceased
Application number
PCT/JP2016/081340
Other languages
English (en)
French (fr)
Japanese (ja)
Inventor
足立 知康
Current Assignee (The listed assignees may be inaccurate. Google has not performed a legal analysis and makes no representation or warranty as to the accuracy of the list.)
Mitsubishi Heavy Industries Thermal Systems Ltd
Original Assignee
Mitsubishi Heavy Industries Automotive Thermal Systems Co Ltd
Priority date (The priority date is an assumption and is not a legal conclusion. Google has not performed a legal analysis and makes no representation as to the accuracy of the date listed.)
Filing date
Publication date
Application filed by Mitsubishi Heavy Industries Automotive Thermal Systems Co Ltd filed Critical Mitsubishi Heavy Industries Automotive Thermal Systems Co Ltd
Priority to DE112016006954.5T priority Critical patent/DE112016006954T5/de
Priority to US16/087,482 priority patent/US20190135078A1/en
Priority to CN201680084057.1A priority patent/CN109311368A/zh
Publication of WO2017212665A1 publication Critical patent/WO2017212665A1/ja
Anticipated expiration legal-status Critical
Ceased legal-status Critical Current

Links

Images

Classifications

    • BPERFORMING OPERATIONS; TRANSPORTING
    • B60VEHICLES IN GENERAL
    • B60HARRANGEMENTS OF HEATING, COOLING, VENTILATING OR OTHER AIR-TREATING DEVICES SPECIALLY ADAPTED FOR PASSENGER OR GOODS SPACES OF VEHICLES
    • B60H1/00Heating, cooling or ventilating [HVAC] devices
    • B60H1/22Heating, cooling or ventilating [HVAC] devices the heat being derived otherwise than from the propulsion plant
    • B60H1/2215Heating, cooling or ventilating [HVAC] devices the heat being derived otherwise than from the propulsion plant the heat being derived from electric heaters
    • B60H1/2221Heating, cooling or ventilating [HVAC] devices the heat being derived otherwise than from the propulsion plant the heat being derived from electric heaters arrangements of electric heaters for heating an intermediate liquid
    • BPERFORMING OPERATIONS; TRANSPORTING
    • B60VEHICLES IN GENERAL
    • B60HARRANGEMENTS OF HEATING, COOLING, VENTILATING OR OTHER AIR-TREATING DEVICES SPECIALLY ADAPTED FOR PASSENGER OR GOODS SPACES OF VEHICLES
    • B60H1/00Heating, cooling or ventilating [HVAC] devices
    • B60H1/22Heating, cooling or ventilating [HVAC] devices the heat being derived otherwise than from the propulsion plant
    • FMECHANICAL ENGINEERING; LIGHTING; HEATING; WEAPONS; BLASTING
    • F24HEATING; RANGES; VENTILATING
    • F24HFLUID HEATERS, e.g. WATER OR AIR HEATERS, HAVING HEAT-GENERATING MEANS, e.g. HEAT PUMPS, IN GENERAL
    • F24H3/00Air heaters
    • F24H3/002Air heaters using electric energy supply
    • FMECHANICAL ENGINEERING; LIGHTING; HEATING; WEAPONS; BLASTING
    • F24HEATING; RANGES; VENTILATING
    • F24HFLUID HEATERS, e.g. WATER OR AIR HEATERS, HAVING HEAT-GENERATING MEANS, e.g. HEAT PUMPS, IN GENERAL
    • F24H3/00Air heaters
    • F24H3/02Air heaters with forced circulation
    • F24H3/04Air heaters with forced circulation the air being in direct contact with the heating medium, e.g. electric heating element
    • FMECHANICAL ENGINEERING; LIGHTING; HEATING; WEAPONS; BLASTING
    • F24HEATING; RANGES; VENTILATING
    • F24HFLUID HEATERS, e.g. WATER OR AIR HEATERS, HAVING HEAT-GENERATING MEANS, e.g. HEAT PUMPS, IN GENERAL
    • F24H3/00Air heaters
    • F24H3/02Air heaters with forced circulation
    • F24H3/06Air heaters with forced circulation the air being kept separate from the heating medium, e.g. using forced circulation of air over radiators
    • FMECHANICAL ENGINEERING; LIGHTING; HEATING; WEAPONS; BLASTING
    • F24HEATING; RANGES; VENTILATING
    • F24HFLUID HEATERS, e.g. WATER OR AIR HEATERS, HAVING HEAT-GENERATING MEANS, e.g. HEAT PUMPS, IN GENERAL
    • F24H9/00Details
    • F24H9/18Arrangement or mounting of grates or heating means
    • F24H9/1854Arrangement or mounting of grates or heating means for air heaters
    • F24H9/1863Arrangement or mounting of electric heating means
    • F24H9/1872PTC resistor
    • HELECTRICITY
    • H05ELECTRIC TECHNIQUES NOT OTHERWISE PROVIDED FOR
    • H05BELECTRIC HEATING; ELECTRIC LIGHT SOURCES NOT OTHERWISE PROVIDED FOR; CIRCUIT ARRANGEMENTS FOR ELECTRIC LIGHT SOURCES, IN GENERAL
    • H05B1/00Details of electric heating devices
    • H05B1/02Automatic switching arrangements specially adapted to apparatus ; Control of heating devices
    • H05B1/0227Applications
    • H05B1/023Industrial applications
    • H05B1/0236Industrial applications for vehicles
    • HELECTRICITY
    • H05ELECTRIC TECHNIQUES NOT OTHERWISE PROVIDED FOR
    • H05BELECTRIC HEATING; ELECTRIC LIGHT SOURCES NOT OTHERWISE PROVIDED FOR; CIRCUIT ARRANGEMENTS FOR ELECTRIC LIGHT SOURCES, IN GENERAL
    • H05B3/00Ohmic-resistance heating
    • H05B3/20Heating elements having extended surface area substantially in a two-dimensional plane, e.g. plate-heater
    • H05B3/22Heating elements having extended surface area substantially in a two-dimensional plane, e.g. plate-heater non-flexible
    • FMECHANICAL ENGINEERING; LIGHTING; HEATING; WEAPONS; BLASTING
    • F24HEATING; RANGES; VENTILATING
    • F24HFLUID HEATERS, e.g. WATER OR AIR HEATERS, HAVING HEAT-GENERATING MEANS, e.g. HEAT PUMPS, IN GENERAL
    • F24H2250/00Electrical heat generating means
    • F24H2250/04Positive temperature coefficients [PTC]; Negative temperature coefficients [NTC]
    • HELECTRICITY
    • H05ELECTRIC TECHNIQUES NOT OTHERWISE PROVIDED FOR
    • H05BELECTRIC HEATING; ELECTRIC LIGHT SOURCES NOT OTHERWISE PROVIDED FOR; CIRCUIT ARRANGEMENTS FOR ELECTRIC LIGHT SOURCES, IN GENERAL
    • H05B2203/00Aspects relating to Ohmic resistive heating covered by group H05B3/00
    • H05B2203/02Heaters using heating elements having a positive temperature coefficient

Definitions

  • the present invention relates to a heat medium heating device for heating a heat medium using a PTC (Positive Temperature Coefficient) heater, and a vehicle air conditioner using the same.
  • PTC Physical Temperature Coefficient
  • a heat medium engine cooling water, brine, etc. supplied to the radiator for air heating in the vehicle
  • the liquid is heated by a dedicated heating medium heating device.
  • a heating medium heating device one to which a PTC heater as disclosed in Patent Documents 1 to 3 is applied is known.
  • the PTC heater has a positive characteristic thermistor element, that is, a so-called PTC element as a heat generating element, and can be formed in a thin flat plate shape, so that there is an advantage that the heat medium heating device can be configured thin and compact.
  • a PTC heater is interposed between a first heat medium flow box and a second heat medium flow box, each having a heat medium flow passage formed therein. In close contact with each other.
  • the heat medium flows from the one end to the other end of the heat medium flow passage of the first heat medium flow box, and then U-turned to make a heat medium flow passage of the second heat medium flow box from one end to the other end, By flowing so as to make a U-turn from the other end to one end, it exchanges heat with both sides of the PTC heater and is heated.
  • the substrate for controlling the PTC heater and the substrate accommodation unit for accommodating the heat generating electronic parts are in the form of a housing.
  • the heat generated from the electronic component is cooled by heat exchange between the electronic component and the heat medium contained therein.
  • an inlet for letting the heat medium flow into the heat medium flow passage of the first heat medium flow box and an outlet for letting the heat medium flow out of the heat medium flow passage of the second heat medium flow box are respectively Alternatively, it is formed on the side of the second heat medium distribution box.
  • the inlet portion and the outlet portion are configured to be able to connect hose members constituting the heat medium circulation circuit.
  • the thickness of the first or second heat medium distribution box has to be increased, which causes a problem that the compactness of the thickness (height) dimension of the heat medium heating device is impaired.
  • the present invention has been made to solve such problems, and it reduces the pressure loss of the heat medium inside the heat medium heater, as well as increases the heat exchange efficiency, and at the same time, makes the heat medium heater compact. It is an object of the present invention to provide a heat medium heating device capable of achieving the same and an air conditioner for a vehicle using the same.
  • the heat medium heating device comprises a PTC heater and a first heat medium circulation box in which a first heat medium flow passage is formed in close contact with one surface side of the PTC heater.
  • a second heat medium flow box closely formed in close contact with the other surface side of the PTC heater and having a second heat medium flow passage formed therein, and joined to the first heat medium flow box;
  • An inlet header space and an outlet header space for connecting the upstream ends and the downstream ends of the first and second heat medium flow passages, an inlet for flowing the heat medium into the inlet header space, and the outlet And an outlet for flowing out the heat medium from the header space.
  • the heat medium flowing from the inlet portion into the inlet header space is the first heat medium flow passage formed in the first heat medium flow box, and the second heat medium flow passage. It is divided into the second heat medium flow passage formed in the box, flows in the same direction respectively and heats by exchanging heat with the PTC heater, then merges in the outlet header space and flows out from the outlet part and heat medium It flows to the radiator connected downstream of the heating device.
  • the heat medium flows linearly and in the same direction through the first and second heat medium flow passages formed inside the heat medium heating device, and there is no U-turn flow, so Pressure loss can be reduced.
  • the inlet header space and the outlet header space are respectively formed along the flow passage width direction of the first and second heat medium flow passages, and the first and second heat medium flow passages. It may be configured to extend over the entire width of the flow passage width of the heat medium flow passage.
  • the heat medium flowing into the inlet header space from the inlet portion spreads quickly to the entire width of the first heat medium flow passage and the second heat medium flow passage without being reduced or diverted. Flow. Further, the heat medium having flowed through the first heat medium flow passage and the second heat medium flow passage is quickly collected in the outlet header space and flows out from the outlet portion. Therefore, the pressure loss of the heat medium can be further reduced.
  • a protrusion extending in a direction intersecting the inflow direction of the heat medium from the inlet portion is formed at a position near the inlet portion on the inner surface of the inlet header space. Good.
  • the heat medium when a part of the heat medium flowing from the inlet to the inlet header space abuts on the protrusion, the heat medium can easily flow into the relatively near side of the first and second heat medium flow passages. Therefore, the heat medium can be more evenly flowed over the entire area of the passage widths of the first and second heat medium flow passages, whereby the heat exchange efficiency can be enhanced.
  • the inlet portion and the outlet portion are arranged such that their axial directions in plan view are substantially on the extension of the axial direction of the inlet header space and the outlet header space.
  • the projection may be formed on the inner surface of the inlet header space on the side away from the first and second heat medium flow passages.
  • the heat medium heating device can be made compact in the longitudinal direction.
  • a part of the heat medium which flows from the inlet portion and tries to flow straight to the back side of the inlet header space as it strikes the projection portion the direction of the flow is changed, and the first and second heats are generated. It is guided to a range relatively near the medium flow passage. For this reason, the heat medium can be more uniformly flowed over the entire area of the passage widths of the first and second heat medium flow passages, whereby the heat exchange efficiency can be enhanced.
  • any one of the first heat medium circulation box and the second heat medium circulation box is an electronic component storage box member for housing an electronic component for controlling the PTC heater.
  • the inlet portion and the outlet portion may be provided in the electronic component storage box member.
  • the electronic component housing box member having the largest thickness (height) dimension among the plurality of box constituent members constituting the first or second heat medium distribution box is provided with the inlet portion and the outlet portion. Provided. For this reason, even if a certain diameter is given to the inlet part and the outlet part in order to make it possible to connect a hose member of a predetermined thickness, the thickness of the first or second heat medium circulation box due to this There is no increase in size. Thus, the thickness (height) of the heat medium heating device can be made compact.
  • an inflow temperature detection sensor detecting an inflow temperature of the heat medium flowing in the inlet header space, or an outflow temperature detection sensor detecting an outflow temperature of the heat medium flowing in the outlet header space At least one may be provided.
  • the inflow temperature detection sensor and the outflow temperature detection sensor are provided in the inlet header space and the outlet header space disposed in the vicinity of the electronic component storage chamber. Therefore, it is possible to increase the temperature detection accuracy by these temperature detection sensors, and to store these temperature detection sensors together with other electronic components in the electronic component storage room, thereby bringing together the electronic components into one.
  • the heat medium heating device can be made compact.
  • At least one of the inflow temperature detection sensor or the outflow temperature detection sensor may be provided in the vicinity of a sloped wall surface on which the heat medium flows.
  • the temperature detection sensor is provided at a portion where the temperature of the heat medium is favorably transmitted by the flow of the heat medium, the temperature detection accuracy of the heat medium can be enhanced. Since the portion to which the flow of the heat transfer medium strikes is sloped, the flow of the heat transfer medium does not have a large resistance.
  • a vehicle air conditioner includes a blower for circulating external air or cabin air, a cooler provided downstream of the blower, and a radiator provided downstream of the cooler.
  • the heat medium according to any one of the above-described heat medium heating devices can be circulated in the radiator, and the above-described actions and effects can be achieved.
  • the heat medium heating device As described above, according to the heat medium heating device and the vehicle air conditioner using the same according to the present invention, the pressure loss of the heat medium in the heat medium heating device is reduced, and the heat exchange efficiency is enhanced. Thus, the heat medium heating device can be made compact.
  • FIG. 5 is a longitudinal cross-sectional view of the heat medium heating device along the line VV of FIG. 4;
  • FIG. 6 is a cross-sectional view of the heat medium heating device, taken along line VI-VI of FIG. 5;
  • FIG. 7 is a longitudinal cross-sectional view of the heat medium heating device, taken along line VII-VII of FIG. 5;
  • FIG. 8 is a longitudinal sectional view of the heat medium heating device, taken along the line VIII-VIII in FIGS. 4 and 5;
  • FIG. 1 shows a schematic configuration diagram of a vehicle air conditioner according to the present embodiment.
  • the vehicle air conditioner 1 is, for example, an air conditioner of a hybrid vehicle or an electric vehicle, and is a casing for forming an air flow path 2 for taking in the outside air or the air in the passenger compartment, controlling the temperature, and guiding it into the passenger compartment. It has three.
  • outside air or cabin air is taken in sequentially from the upstream side to the downstream side of the air flow path 2, and the blower 4 that feeds it downstream and the air pumped by the blower 4 are cooled Adjusting a ratio of a cooler 5, a radiator 6 for heating air cooled by passing through the cooler 5, an amount of air passing through the radiator 6, and an amount of air flowing bypassing the radiator 6;
  • An air mix damper 7 is provided to adjust the temperature of the air mixed downstream of the air mix damper 7.
  • the downstream side of the casing 3 is connected to a plurality of blowout ports (not shown) for blowing out the temperature-controlled air into the vehicle interior via a blowout mode switching damper and a duct (not shown).
  • the cooler 5 constitutes a refrigerant circuit together with a compressor, a condenser, and an expansion valve (not shown), and cools the air passing therethrough by evaporating the adiabatically expanded refrigerant by the expansion valve.
  • the radiator 6 constitutes a heat medium circulation circuit 11 together with a tank 8, a pump 9, an engine (not shown) and a heat medium heating device 10 according to the present invention.
  • a heat medium flowing through the heat medium circulation circuit 11 engine cooling water of a hybrid vehicle is used. In the case of an electrically powered vehicle without an engine, brine or the like is used.
  • the heating medium circulation circuit 11 heats the engine cooling water by the heating medium heating device 10 when the temperature of the engine cooling water which is the heating medium does not rise so much at the time of hybrid operation or the like, and the heated engine cooling water is By circulating the heat medium circulation circuit 11, the air passing through the radiator 6 in the casing 3 is heated.
  • FIG. 2 is a perspective view of the heating medium heating device 10
  • FIG. 3 is a front view of the heating medium heating device 10
  • FIG. 4 is a plan view of the heating medium heating device 10 taken along line IV-IV in FIG. It is a longitudinal cross-sectional view of the thermal-medium heating apparatus 10 in alignment with the VV line
  • the X, Y, and Z directions shown in FIG. 2 are defined as the “longitudinal direction”, the “short side direction”, and the “thickness direction” of the heating medium heating device 10, respectively.
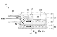
  • the heat medium heating device 10 is configured such that, for example, three box component members 21, 22 and 23 are overlapped to form a casing.
  • a second heat medium distribution box 20 and two box component members 51 and 52 are stacked to form a casing, and a second heat medium distribution box 20 is joined to the lower surface of the first heat medium distribution box 20 in a fluid-tight manner.
  • the heat medium flow box 50 and the PTC heater 40 interposed between the first and second heat medium flow boxes 20 and 50 are configured.
  • the upper heat medium distribution box 22 similarly having a rectangular shape is liquid-tightly joined to the lower surface of the rectangular electronic component storage box 21 in plan view.
  • the upper lid member 23 is liquid-tightly coated on the upper surface.
  • the second heat medium distribution box 50 has a configuration in which the lower cover member 52 is liquid-tightly covered on the lower surface of the lower heat medium distribution box 51 having the same rectangular shape as the upper heat medium distribution box 22.
  • These box component members 21, 22, 23, 51, 52 are formed of a heat conductive material such as an aluminum alloy.
  • the upper cover member 23 is fastened to the upper surface of the electronic component storage box 21 by a plurality of fixing bolts 25, and the upper heat medium distribution box 22, the lower heat medium distribution box 51, and the lower cover member 52 are formed in plurality.
  • the fixing bolt 26 is fastened to the lower surface of the electronic component storage box 21.
  • the PTC heater 40 has a rectangular shape and a flat plate shape smaller than the upper heat medium flow box 22 and the lower heat medium flow box 51. As shown in FIGS. 5 and 7, the PTC heater accommodating chamber 28 is formed by sealing the tray-shaped concave portion formed on the lower surface of the upper heat medium distribution box 22 by the flat upper surface of the lower heat medium distribution box 51. The PTC heater 40 is accommodated here. The upper surface and the lower surface of the PTC heater 40 are in close contact with the lower surface of the upper heat medium distribution box 22 and the upper surface of the lower heat medium distribution box 51 via thin heat transfer sheets, heat transfer paste or the like.
  • the inside of the electronic component storage box 21 is an electronic component storage chamber 30, and a control board (electronic component) 31 for controlling the PTC heater 40 is stored and installed therein.
  • the control substrate 31 is a heat-generating electronic component 32 such as an IGBT (Insulated Gate Bipolar Transistor) or an FET (Field Effect Transistor), and other electronic components 33, and a control circuit, A power supply circuit or the like is incorporated.
  • the bottom surface of the electronic component storage box 21 is a flat electronic component cooling wall portion 30a.
  • the control substrate 31 is fixed at a position higher than the electronic component cooling wall portion 30 a by a fixing structure (not shown), and the heat generating electronic component 32 is disposed on the lower surface side of the control substrate 31. Heat is transferred to the electronic component cooling wall portion 30a through an insulating layer (not shown).
  • a wire lead-out portion 35 is formed on one end surface of the electronic component housing box 21, and a wiring member 36 extending from the control substrate 31 is lead out from the wire lead-out portion 35.
  • the tray-like concave portion formed on the lower surface of the electronic component storage box 21 constituting the first heat medium distribution box 20 is the flat upper surface of the upper heat medium distribution box 22.
  • the first heat medium flow passage 41 is formed in the first heat medium flow box 20 by being hermetically sealed.
  • a plurality of heat radiation fins 22a are formed on the upper surface of the upper heat medium circulation box 22 along the longitudinal direction (see FIGS. 6 to 8), and these heat radiation fins 22a form a first heat medium flow passage 41. Are divided into a plurality of parallel flow channels.
  • the tray-shaped concave portion formed on the lower surface of the lower heat medium distribution box 51 constituting the second heat medium distribution box 50 is sealed by the flat upper surface of the lower lid member 52, whereby the second heat medium distribution is conducted.
  • a second heat medium flow passage 42 is formed inside the box 50.
  • a plurality of heat radiation fins 51a are formed along the longitudinal direction (see FIG. 7 and FIG. 8), and the second heat medium flow passage 42 is formed by these heat radiation fins 51a. Are divided into a plurality of parallel flow channels.
  • the first heat medium flow passage 41 and the second heat medium flow passage 42 having the flat shape are formed so as to sandwich the PTC heater storage chamber 28 and the PTC heater 40 having the flat shape. ing. Then, as shown in FIG. 5, FIG. 6, and FIG. 8, the inlets connecting the upstream end portions and the downstream end portions of the first heat medium flow passage 41 and the second heat medium flow passage 42 respectively. A header space 44 and an outlet header space 45 are formed. These header spaces 44, 45 are formed at both ends in the longitudinal direction of the heat medium heating device 10 in plan view, as shown by a two-dot chain line in FIG. 6, and the first and second heat medium flows, respectively. It extends along the flow passage width direction (short direction) of the passages 41 and 42 and over the entire width of the flow passage width W of the first and second heat medium flow passages 41 and 42.
  • an inlet portion 47 and an outlet portion 48 are provided to enable connection of the heat medium circulation circuit 11 (see FIG. 1) through which the heat medium circulates in the inlet header space 44 and the outlet header space 45, respectively.
  • the inlet portion 47 and the outlet portion 48 are in the form of a union joint to which a hose member constituting the heat medium circulation circuit 11 can be connected, and as shown in FIGS. Is formed integrally with the electronic component storage box 21 so as to overlap with the thickness (height) range of the electronic component storage chamber 30 formed inside the electronic component storage box 21 (see FIGS. 5, 7 and 8). .
  • the axial directions 47 a and 48 a are substantially extensions of the axial directions 44 a and 45 a of the inlet header space 44 and the outlet header space 45 in plan view. It is arranged to be located. That is, in plan view, the inlet portion 47 is linearly connected to the inlet header space 44, and the outlet portion 48 is linearly connected to the outlet header space 45.
  • first and second heat medium flow passages 41 are provided on the inner surface of the inlet header space 44 at a position near the inlet portion 47 and on the side away from the first and second heat medium flow passages 41 and 42. , 42 are formed.
  • the height of the projection 55 is set to, for example, about 10 to 40% of the inner diameter of the inlet 47 or the passage width of the inlet header space 44.
  • the inlet portion 47 is positioned so that the axial direction 47 a thereof passes above the inlet header space 44.
  • a sloped portion 56 which is a sloped wall surface is formed in the passage on the inner back side of the inlet portion 47, and the heat medium flowing from the inlet portion 47 strikes the sloped portion 56 and the flow is diverted downward, and the inlet header It is designed to flow into the space 44.
  • the outlet portion 48 is also positioned such that its axial direction passes above the outlet header space 45, and a sloped portion (not shown) is formed in the passage on the inner back side of the outlet portion 48. It is done. The heat medium flows upward from the outlet header space 45 and strikes the slope, and the flow is diverted to flow out of the outlet 48.
  • an inlet temperature detection sensor 58 is provided in the inlet header space 44, and an outlet temperature detection sensor 59 is provided in the outlet header space 45.
  • the temperature detection sensors 58 and 59 are fixed by screws 60 in the vicinity of the above-described sloped portion 56, respectively.
  • the inflow temperature detection sensor 58 detects the inflow temperature of the heat medium flowing in the inlet header space 44
  • the outflow temperature detection sensor 59 detects the outflow temperature of the heat medium flowing in the outlet header space 45.
  • the heat medium flowing through the heat medium circulation circuit 11 shown in FIG. 1 flows from the inlet portion 47 of the heat medium heating device 10 as shown in FIGS. Then, it is guided to the inlet header space 44. Thereafter, the heat medium is divided into the first and second heat medium flow passages 41 and 42, and further divided into the flow paths between the radiation fins 22a and 51a of the respective heat medium flow passages 41 and 42 in the same direction ( It flows from the right side to the left side in FIGS. 5 and 6).
  • the heat medium exchanges heat with the PTC heater 40 and is heated.
  • the heat mediums having passed through the first and second heat medium flow passages 41, 42 join in the outlet header space 45, flow out from the outlet portion 48, and are thermally released connected to the downstream side of the heat medium heating device 10.
  • the heat of the heated heat medium is supplied to the passenger compartment to heat the passenger compartment.
  • the heat-generating electronic component 32 mounted on the control substrate 31 housed in the electronic component housing chamber 30 of the electronic component housing box 21 and in contact with the electronic component cooling wall portion 30a is the electronic component cooling wall portion 30a.
  • the heat medium flowing through the first heat medium flow passage 41 the heat is cooled. Therefore, the heat medium is heated by the PTC heater 40 and also heated by the heat of the electronic component 32.
  • the heat medium heating device 10 of this configuration the heat medium flows linearly and in the same direction through the first and second heat medium flow passages 41 and 42 formed inside the heat medium heating device 10. Since there is no flow to turn, the pressure loss of the heat transfer medium can be reduced.
  • the inlet header space 44 and the outlet header space 45 extend in the direction of the flow passage width W of the first and second heat medium flow passages 41 and 42 and extend over the entire width of the flow passage W, respectively. There is. For this reason, the heat medium flowing from the inlet portion 47 into the inlet header space 44 is swiftly extended to the entire width of the first heat medium flow passage 41 and the second heat medium flow passage 42 without being reduced or diverted. It spreads and flows. Further, the heat medium having flowed through the first heat medium flow passage 41 and the second heat medium flow passage 42 is promptly collected in the outlet header space 45 and flows out from the outlet portion 48. Therefore, the pressure loss of the heat medium can be further reduced.
  • the inlet portion 47 and the outlet portion 48 are arranged such that their axial directions 47a and 48a are located on a substantially extension of the axial directions 44a and 45a of the inlet header space 44 and the outlet header space 45 in plan view (see FIG. 6) It is done. For this reason, the inlet portion 47 and the outlet portion 48 do not protrude in the longitudinal direction from both end portions of the heat medium heating device 10, thereby achieving downsizing of the heat medium heating device 10 in the longitudinal direction. it can.
  • the heat medium flowing from the inlet portion 47 tries to flow straight to the back of the inlet header space 44 as it is, but flows from the inlet portion 47 by the projection 55 formed on the inner surface of the inlet header space 44 A part of the heat transfer medium is diverted in flow and is guided to a range relatively near to the first and second heat transfer medium flow passages 41 and 42. Therefore, the heat medium can be more evenly flowed over the entire area of the flow channel width W of the first and second heat medium flow passages 41 and 42, whereby the heat medium is efficiently heat-exchanged with the PTC heater 40. Thus, the heat exchange efficiency of the heat medium heating device 10 can be enhanced.
  • the electronic component storage chamber 30 is provided inside the three box components 21, 22, 23 constituting the first heat medium distribution box 20, and the thickness (height) is set.
  • the inlet portion 47 and the outlet portion 48 are provided in the electronic component storage box 21 having the largest dimensions, and as shown in FIGS. 5, 7 and 8, the inlet portion 47 (outlet portion 48) is an electronic component storage chamber. Over 30 thickness (height) ranges.
  • An inlet 47 and an outlet 48 are provided in the component housing box 21. For this reason, even if the inlet 47 and the outlet 48 are given a certain diameter so as to allow connection of a hose member of a predetermined thickness, the first or second heat medium distribution box 20, There is no increase in the 50 thickness dimension. Thereby, the thickness (height) dimension of the heat medium heating device 10 can be made compact.
  • the heat medium heating device 10 also has an inflow temperature detection sensor 58 for detecting the inflow temperature of the heat medium flowing through the inlet header space 44 and an outflow temperature detection sensor 59 for detecting the outflow temperature of the heat medium flowing through the outlet header space 45.
  • the inflow temperature detection sensor 58 and the outflow temperature detection sensor 59 are provided in the inlet header space 44 and the outlet header space 45 disposed in the vicinity of the electronic component storage chamber 30. Therefore, it is possible to increase the temperature detection accuracy by the temperature detection sensors 58 and 59, and to store the temperature detection sensors 58 and 59 in the electronic component storage chamber 30 together with other electronic components.
  • the heat medium heating device can be made compact by combining the two into one.
  • the inflow temperature detection sensor 58 and the outflow temperature detection sensor 59 are provided in the vicinity of the slope portion 56 to which the flow of the heat medium impinges. That is, since the temperature detection sensors 58 and 59 are provided at a portion where the temperature of the heat medium is favorably transmitted by the flow of the heat medium without stagnation, the temperature detection accuracy of the heat medium can be enhanced. Since the slope portion 56 to which the flow of the heat transfer medium is shaped like a slope, the flow of the heat transfer medium is not greatly resisted.
  • the pressure loss of the heat medium in the heat medium heating device 10 is reduced and the heat is also reduced.
  • the exchange efficiency can be enhanced and, at the same time, the heat medium heating device 10 can be made compact.
  • the present invention is not limited to only the configuration of the above-described embodiment, and modifications and improvements can be made as appropriate. Embodiments in which such modifications and improvements are added are also included in the scope of the present invention. I assume. For example, the internal shape, layout, and the like of the heat medium heating device 10 according to the present invention may be changed as long as it does not deviate from the scope of the claims. Further, the configuration of the vehicle air conditioner 1 according to the present invention does not necessarily have to be the same as the configuration described in FIG. 1, and its component parts and layout can be changed as appropriate.

Landscapes

  • Engineering & Computer Science (AREA)
  • Physics & Mathematics (AREA)
  • Thermal Sciences (AREA)
  • Mechanical Engineering (AREA)
  • Chemical & Material Sciences (AREA)
  • Combustion & Propulsion (AREA)
  • General Engineering & Computer Science (AREA)
  • Air-Conditioning For Vehicles (AREA)
  • Resistance Heating (AREA)
PCT/JP2016/081340 2016-06-10 2016-10-21 熱媒体加熱装置およびこれを用いた車両用空調装置 Ceased WO2017212665A1 (ja)

Priority Applications (3)

Application Number Priority Date Filing Date Title
DE112016006954.5T DE112016006954T5 (de) 2016-06-10 2016-10-21 Heizmedium-Heizvorrichtung und Fahrzeugklimaanlage, die diese verwendet
US16/087,482 US20190135078A1 (en) 2016-06-10 2016-10-21 Heating medium heating device and vehicle air conditioner using same
CN201680084057.1A CN109311368A (zh) 2016-06-10 2016-10-21 热介质加热装置及使用其的车辆用空调装置

Applications Claiming Priority (2)

Application Number Priority Date Filing Date Title
JP2016116317A JP6698434B2 (ja) 2016-06-10 2016-06-10 熱媒体加熱装置およびこれを用いた車両用空調装置
JP2016-116317 2016-06-10

Publications (1)

Publication Number Publication Date
WO2017212665A1 true WO2017212665A1 (ja) 2017-12-14

Family

ID=60577684

Family Applications (1)

Application Number Title Priority Date Filing Date
PCT/JP2016/081340 Ceased WO2017212665A1 (ja) 2016-06-10 2016-10-21 熱媒体加熱装置およびこれを用いた車両用空調装置

Country Status (5)

Country Link
US (1) US20190135078A1 (enExample)
JP (1) JP6698434B2 (enExample)
CN (1) CN109311368A (enExample)
DE (1) DE112016006954T5 (enExample)
WO (1) WO2017212665A1 (enExample)

Families Citing this family (2)

* Cited by examiner, † Cited by third party
Publication number Priority date Publication date Assignee Title
EP3722124B1 (en) * 2019-04-08 2023-12-13 Borgwarner Emissions Systems Spain, S.L.U. Heating device for use thereof in a vehicle
CN112895846B (zh) * 2021-02-02 2022-04-26 镇江海姆霍兹传热传动系统有限公司 电动车辆、电加热器及其电加热腔总成

Citations (4)

* Cited by examiner, † Cited by third party
Publication number Priority date Publication date Assignee Title
JP2011152907A (ja) * 2010-01-28 2011-08-11 Mitsubishi Heavy Ind Ltd 電気式加熱装置及び車両用空気調和装置
JP2012131433A (ja) * 2010-12-22 2012-07-12 Mitsubishi Heavy Ind Ltd 熱媒体加熱装置
JP2013056641A (ja) * 2011-09-09 2013-03-28 Mitsubishi Heavy Ind Ltd 熱媒体加熱装置およびそれを備えた車両用空調装置
JP2014129090A (ja) * 2014-02-10 2014-07-10 Mitsubishi Heavy Ind Ltd 熱媒体加熱装置およびそれを用いた車両用空調装置

Family Cites Families (6)

* Cited by examiner, † Cited by third party
Publication number Priority date Publication date Assignee Title
JPS5535740B2 (enExample) 1972-04-25 1980-09-16
JPS5535742B2 (enExample) 1972-09-30 1980-09-16
KR101082474B1 (ko) * 2004-12-28 2011-11-11 한라공조주식회사 열교환기
US20080023185A1 (en) * 2006-07-25 2008-01-31 Henry Earl Beamer Heat exchanger assembly
JP4981386B2 (ja) 2006-08-30 2012-07-18 三菱重工業株式会社 熱媒体加熱装置およびそれを用いた車両用空調装置
JP2013180690A (ja) * 2012-03-02 2013-09-12 Mitsubishi Heavy Ind Ltd 熱媒体加熱装置およびそれを備えた車両用空調装置

Patent Citations (4)

* Cited by examiner, † Cited by third party
Publication number Priority date Publication date Assignee Title
JP2011152907A (ja) * 2010-01-28 2011-08-11 Mitsubishi Heavy Ind Ltd 電気式加熱装置及び車両用空気調和装置
JP2012131433A (ja) * 2010-12-22 2012-07-12 Mitsubishi Heavy Ind Ltd 熱媒体加熱装置
JP2013056641A (ja) * 2011-09-09 2013-03-28 Mitsubishi Heavy Ind Ltd 熱媒体加熱装置およびそれを備えた車両用空調装置
JP2014129090A (ja) * 2014-02-10 2014-07-10 Mitsubishi Heavy Ind Ltd 熱媒体加熱装置およびそれを用いた車両用空調装置

Also Published As

Publication number Publication date
JP2017218117A (ja) 2017-12-14
DE112016006954T5 (de) 2019-02-21
JP6698434B2 (ja) 2020-05-27
CN109311368A (zh) 2019-02-05
US20190135078A1 (en) 2019-05-09

Similar Documents

Publication Publication Date Title
JP5535742B2 (ja) 熱媒体加熱装置およびそれを用いた車両用空調装置
JP5535740B2 (ja) 熱媒体加熱装置およびそれを用いた車両用空調装置
JP5979892B2 (ja) 熱媒体加熱装置およびそれを備えた車両用空調装置
US20140050465A1 (en) Heat medium heating device and vehicular air-conditioning device including the same
US20120237192A1 (en) Heat medium heating apparatus and vehicular air-conditioning system including the same
JP5951205B2 (ja) 熱媒体加熱装置およびそれを備えた車両用空調装置
US9186956B2 (en) Heat medium heating unit and vehicle air conditioning apparatus provided with the same
US20140037277A1 (en) Heat medium heating device and vehicular air-conditioning device including the same
WO2013157357A1 (ja) 熱媒体加熱装置およびそれを備えた車両用空調装置
JP6675937B2 (ja) 熱媒体加熱装置およびこれを用いた車両用空調装置
JP2014129090A (ja) 熱媒体加熱装置およびそれを用いた車両用空調装置
JP2012017031A (ja) 熱媒体加熱装置およびそれを用いた車両用空気調和装置
WO2017212665A1 (ja) 熱媒体加熱装置およびこれを用いた車両用空調装置
JP2013060098A (ja) 熱媒体加熱装置およびそれを備えた車両用空調装置
JP2013075616A (ja) 熱媒体加熱装置およびそれを備えた車両用空調装置
JP2013159134A (ja) 熱媒体加熱装置およびそれを備えた車両用空調装置

Legal Events

Date Code Title Description
121 Ep: the epo has been informed by wipo that ep was designated in this application

Ref document number: 16904698

Country of ref document: EP

Kind code of ref document: A1

122 Ep: pct application non-entry in european phase

Ref document number: 16904698

Country of ref document: EP

Kind code of ref document: A1