WO2016199873A1 - 無線端末にipネットワークへのアクセスを提供するための通信システム及び通信方法 - Google Patents
無線端末にipネットワークへのアクセスを提供するための通信システム及び通信方法 Download PDFInfo
- Publication number
- WO2016199873A1 WO2016199873A1 PCT/JP2016/067291 JP2016067291W WO2016199873A1 WO 2016199873 A1 WO2016199873 A1 WO 2016199873A1 JP 2016067291 W JP2016067291 W JP 2016067291W WO 2016199873 A1 WO2016199873 A1 WO 2016199873A1
- Authority
- WO
- WIPO (PCT)
- Prior art keywords
- server group
- data
- communication system
- server
- wireless terminal
- Prior art date
- Legal status (The legal status is an assumption and is not a legal conclusion. Google has not performed a legal analysis and makes no representation as to the accuracy of the status listed.)
- Ceased
Links
Images
Classifications
-
- H—ELECTRICITY
- H04—ELECTRIC COMMUNICATION TECHNIQUE
- H04W—WIRELESS COMMUNICATION NETWORKS
- H04W8/00—Network data management
- H04W8/18—Processing of user or subscriber data, e.g. subscribed services, user preferences or user profiles; Transfer of user or subscriber data
- H04W8/183—Processing at user equipment or user record carrier
-
- H—ELECTRICITY
- H04—ELECTRIC COMMUNICATION TECHNIQUE
- H04L—TRANSMISSION OF DIGITAL INFORMATION, e.g. TELEGRAPHIC COMMUNICATION
- H04L12/00—Data switching networks
- H04L12/28—Data switching networks characterised by path configuration, e.g. LAN [Local Area Networks] or WAN [Wide Area Networks]
- H04L12/46—Interconnection of networks
-
- H—ELECTRICITY
- H04—ELECTRIC COMMUNICATION TECHNIQUE
- H04L—TRANSMISSION OF DIGITAL INFORMATION, e.g. TELEGRAPHIC COMMUNICATION
- H04L12/00—Data switching networks
- H04L12/66—Arrangements for connecting between networks having differing types of switching systems, e.g. gateways
-
- H—ELECTRICITY
- H04—ELECTRIC COMMUNICATION TECHNIQUE
- H04L—TRANSMISSION OF DIGITAL INFORMATION, e.g. TELEGRAPHIC COMMUNICATION
- H04L45/00—Routing or path finding of packets in data switching networks
- H04L45/74—Address processing for routing
-
- H—ELECTRICITY
- H04—ELECTRIC COMMUNICATION TECHNIQUE
- H04L—TRANSMISSION OF DIGITAL INFORMATION, e.g. TELEGRAPHIC COMMUNICATION
- H04L61/00—Network arrangements, protocols or services for addressing or naming
- H04L61/09—Mapping addresses
- H04L61/25—Mapping addresses of the same type
- H04L61/2503—Translation of Internet protocol [IP] addresses
- H04L61/2521—Translation architectures other than single NAT servers
- H04L61/2528—Translation at a proxy
-
- H—ELECTRICITY
- H04—ELECTRIC COMMUNICATION TECHNIQUE
- H04L—TRANSMISSION OF DIGITAL INFORMATION, e.g. TELEGRAPHIC COMMUNICATION
- H04L69/00—Network arrangements, protocols or services independent of the application payload and not provided for in the other groups of this subclass
- H04L69/22—Parsing or analysis of headers
-
- H—ELECTRICITY
- H04—ELECTRIC COMMUNICATION TECHNIQUE
- H04W—WIRELESS COMMUNICATION NETWORKS
- H04W76/00—Connection management
- H04W76/10—Connection setup
- H04W76/12—Setup of transport tunnels
-
- H—ELECTRICITY
- H04—ELECTRIC COMMUNICATION TECHNIQUE
- H04L—TRANSMISSION OF DIGITAL INFORMATION, e.g. TELEGRAPHIC COMMUNICATION
- H04L12/00—Data switching networks
- H04L12/28—Data switching networks characterised by path configuration, e.g. LAN [Local Area Networks] or WAN [Wide Area Networks]
- H04L12/46—Interconnection of networks
- H04L12/4633—Interconnection of networks using encapsulation techniques, e.g. tunneling
-
- H—ELECTRICITY
- H04—ELECTRIC COMMUNICATION TECHNIQUE
- H04L—TRANSMISSION OF DIGITAL INFORMATION, e.g. TELEGRAPHIC COMMUNICATION
- H04L61/00—Network arrangements, protocols or services for addressing or naming
- H04L61/50—Address allocation
- H04L61/5007—Internet protocol [IP] addresses
-
- H—ELECTRICITY
- H04—ELECTRIC COMMUNICATION TECHNIQUE
- H04L—TRANSMISSION OF DIGITAL INFORMATION, e.g. TELEGRAPHIC COMMUNICATION
- H04L67/00—Network arrangements or protocols for supporting network services or applications
- H04L67/01—Protocols
- H04L67/02—Protocols based on web technology, e.g. hypertext transfer protocol [HTTP]
-
- H—ELECTRICITY
- H04—ELECTRIC COMMUNICATION TECHNIQUE
- H04L—TRANSMISSION OF DIGITAL INFORMATION, e.g. TELEGRAPHIC COMMUNICATION
- H04L67/00—Network arrangements or protocols for supporting network services or applications
- H04L67/01—Protocols
- H04L67/10—Protocols in which an application is distributed across nodes in the network
-
- H—ELECTRICITY
- H04—ELECTRIC COMMUNICATION TECHNIQUE
- H04W—WIRELESS COMMUNICATION NETWORKS
- H04W88/00—Devices specially adapted for wireless communication networks, e.g. terminals, base stations or access point devices
- H04W88/16—Gateway arrangements
Definitions
- the present invention relates to a communication system and a communication method for providing a wireless terminal with access to an IP network.
- MVNO virtual mobile telecommunications carriers
- MNOs mobile carriers
- MNO's wireless communication infrastructure to provide end users with their own wireless communication services. I will provide a.
- MVNO MVNO
- a form that does not have any communication infrastructure in-house a form that has its own communication infrastructure and that provides the wireless communication service by connecting that communication infrastructure to the MNO communication infrastructure (see Fig. 1). can do.
- the former also has a communication infrastructure in-house, so that it is possible to set a price according to communication quality such as communication speed and communication capacity, and attempts to meet various needs.
- mass communication stores sell SIM cards for wireless communication services that have a reduced price by setting a maximum communication capacity that allows high-speed data communication.
- such an MVNO receives a SIM card from MNO and provides it to end users.
- the MVNO manages the communication quality such as speed limit and capacity limit set for each SIM card in a database together with the identification number of each SIM card, and the mobile terminals such as smartphones and tablets that have requested access to the Internet.
- MVNE virtual mobile communication service provider
- MNO mobile network operator
- MVNE virtual mobile communication service provider
- MVNE receives SIM card from MNO, and further May be provided to MVNO.
- the MVNO or MVNE owns the gateway that is the core network endpoint (GGSN for 3G, P-GW for LTE) as its communication infrastructure, the MNO communication infrastructure (3G SGSN, LTE S-GW) ) And L2 connections (full MVNO connection (S5 / S8 interface in LTE, Gn interface in 3G)), and an L2 tunnel is formed between the wireless terminal with the end user's SIM card and the gateway.
- L2 connection is attracting attention because it offers more freedom in designing wireless communication services than L3 connection (light MVNO connection).
- Gateway that MVNO or MVNE needs to possess for L2 connection is expensive hardware of 1 billion yen, and its performance is focused on the number of devices that can be connected simultaneously. Therefore, if additional data processing is performed in the gateway, the number of devices that can be connected simultaneously is inevitably reduced due to physical limitations of the server on which the gateway is mounted.
- the number of gateways that MVNO or MVNE can connect to the MNO communication infrastructure is mostly determined by the MNO and has a limited number of units. It is not possible to accept the increase in the number of devices that can be connected simultaneously by adding wear.
- IoT devices wireless devices that can be connected to a computer network including the Internet.
- IoT devices include mobile devices such as smartphones and tablets held by humans, but they are different from humans, such as moving means such as automobiles that move faster than humans, and sensors that do not move from a specific location.
- moving means such as automobiles that move faster than humans
- sensors that do not move from a specific location.
- the communication speed and frequency of communication required vary widely.
- each IoT device has a myriad of devices even if it only performs low-capacity communication at a low frequency. In consideration of communication, a large number of simultaneous connections is required. In order to meet such needs, it is necessary to realize high added value of the wireless communication service without suppressing an increase in the number of simultaneously connectable devices.
- the number of devices that can be connected at the same time is limited by the tunneling process of the GTP header without additional data processing at the gateway, and the burden of data processing can be increased. It has become an obstacle to doing.
- the present invention has been made in view of such problems, and an object of the present invention is to increase the number of devices that can be simultaneously connected in a communication system and a communication method for providing wireless terminals with access to an IP network. It is to make it possible to increase.
- a first aspect of the present invention is a communication system for providing a wireless terminal with access to an IP network, wherein data from the wireless terminal passes through the IP network. And a gateway for receiving data from the wireless terminal, and a selection unit for selecting one of a plurality of destination addresses based on a header of the received data.
- a first server group having a transfer unit that transfers the data to the transmission destination address selected by the selection unit, and each of the first server groups is one of the plurality of transmission destination addresses. The data is transferred to a server constituting the corresponding second server group.
- the second aspect of the present invention is characterized in that, in the first aspect, the gateway is a GGSN or a P-GW.
- the communication system further includes a C-plane server group that receives a connection start request from the wireless terminal, and the first server The group performs the processing described in the first or second mode in response to a connection start request received by the C plane server group.
- the number of servers constituting the first server group is equal to or less than a predetermined number.
- a fifth aspect of the present invention is characterized in that, in the fourth aspect, the predetermined number is determined by MNO.
- the number of servers constituting the second server group exceeds the number of servers constituting the first server group.
- each of the first and second server groups includes the transmission destination address indicated by the header, A correspondence table between a plurality of transmission destination addresses is provided for each tunnel established by the wireless terminal.
- the correspondence table is associated with an identifier included in a GTP header in the header.
- the selection unit rewrites the transmission destination address indicated by the header, so that any one of the plurality of transmission destination addresses of the transfer destination can be rewritten. It is characterized by specifying.
- the plurality of destination addresses are determined so as not to assign the same destination address.
- any one of the first to ninth aspects at least a part of the plurality of transmission destination addresses is the same.
- an L2 tunnel is formed as a communication path between the wireless terminal and the first server group. To do.
- each server constituting the second server group is an instance on the cloud.
- each server constituting the first server group is an instance on the cloud.
- the fifteenth aspect of the present invention is characterized in that, in the fourteenth aspect, the second server group is shared by each server of the first server group.
- the sixteenth aspect includes a third server group connected to the second server group, and the third server group includes: The number of servers constituting the second server group is controlled.
- the seventeenth aspect of the present invention is characterized in that, in the sixteenth aspect, the third server group is constituted by an instance constituting the second server group.
- the number of instances constituting the second server group is reduced to zero according to the processing load of the second server group. It is possible.
- the nineteenth aspect of the present invention is characterized in that, in any of the thirteenth to eighteenth aspects, the gateway is a multi-tenant.
- the twentieth aspect of the present invention is characterized in that, in any of the first to nineteenth aspects, the second server group performs data processing on the data.
- a twenty-first aspect of the present invention is the data processing method according to the twentieth aspect, wherein the data processing includes encryption of the payload of the data, protocol conversion of the data, throughput control of data transmission from the wireless terminal, and It is at least one of credential grants for the payload of data.
- the second server group performs data processing during downlink for data transmitted from the gateway to the wireless terminal. It is characterized by performing.
- the downlink data processing includes resolution conversion of an image or a moving image included in the data, throughput control of data reception of the wireless terminal, the wireless terminal This is characterized in that it is at least one of priority control of data reception and execution of a function based on HTML5.
- a communication method for providing a wireless terminal with access to an IP network the gateway for allowing data from the wireless terminal to pass through the IP network.
- the first server group included in the receiving step receives data from the wireless terminal, and the first server group selects one from a plurality of destination addresses based on the received header of the data.
- a transfer step in which the first server group transfers the data to the selected destination address, and each of the first server groups includes the transfer step.
- the data is transferred to a server constituting a second server group corresponding to any one of a plurality of transmission destination addresses.
- a program for causing a gateway for passing data from a wireless terminal to an IP network to execute a communication method for providing the wireless terminal with access to the IP network includes a reception step in which the first server group included in the gateway receives data from the wireless terminal, and the first server group receives the data received from the wireless terminal.
- each of the first server groups configures a second server group corresponding to one of the plurality of destination addresses. Characterized by transferring the data to a server that.
- a first server group that receives data from a wireless terminal and additional data processing or a first server in a gateway for passing data from the wireless terminal to the IP network.
- FIG. 6 is a diagram illustrating additional data processing for a payload according to an embodiment of the present invention. It is a figure which shows the flow of the data processing of the protocol conversion in one Embodiment of this invention.
- the MVNO has a gateway
- the present invention can also be applied to the case where the MVNE or MNO has a gateway.
- MNO Mobility Management Entity
- MVNE Mobility Management Entity
- MVNO Mobility Management Entity
- MVNO Mobility Management Entity
- the present invention that can increase the number of devices that can be connected simultaneously even under a gateway with a limited number of installable devices is still applicable.
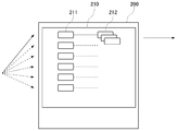
- FIG. 2 shows an outline of a communication system including a gateway according to the present invention.
- the communication system 200 is a communication system for providing access to an IP network or the like to a wireless terminal, and includes a gateway 210 for allowing data from the wireless terminal to pass through the IP network.
- the gateway 210 has a first server group 211.
- the MNO communication infrastructure core network
- the IP addresses of the servers constituting the first server group 211 are registered in advance in the MNO database, and the MNO refers to the list of registered IP addresses, and the data from the wireless terminal is sent to the first server.
- Which server in the group 211 is to be transmitted For example, it can be allocated in a round robin manner.
- the information to be registered may be a transmission destination address for identifying a transmission destination such as a MAC address in addition to the IP address.
- Each server constituting the first server group 211 includes a receiving unit that receives data from the wireless terminal, a selection unit that selects one of a plurality of destination addresses based on the header of the received data, And a transfer unit that transfers the received data to the transmission destination address selected by the selection unit.
- the transfer unit rewrites the IP address indicated by the header of the data received from the wireless terminal to one of a plurality of IP addresses.
- the data includes a payload and a header.
- the upper part of the HTTP layer is shown as the payload.
- the upper part (left side in FIG. 3) of the GTP layer is the payload, in this case the GTP payload. You can also see it.
- the rewriting can be performed by rewriting the IP address indicated by the IP header in the header. Specifically, from which wireless terminal the first server group 211 determines the SIM card identification number such as IMSI and ICCID from the identifier (TEID) in the GTP header included in the arrived IP packet. And the IP address of any one of the servers in the second server group 212 associated with the identifier can be rewritten.
- the SIM card identification number such as IMSI and ICCID from the identifier (TEID) in the GTP header included in the arrived IP packet.
- TEID identifier
- the rewriting is an example of processing necessary for transferring the data received by each of the first server group 211 to the servers constituting the second server group 212, and other tunneling (IPIP, GRE, IPsec , GTP, etc.) can also be transferred.
- IPIP IP, GRE, IPsec , GTP, etc.
- the plurality of IP addresses corresponding to the second server group 212 of the transfer destination are simultaneously set to the same IP address of the plurality of servers in the second server group 212 from the private IP address or the global IP address space. It can be decided not to assign an address. It is also possible to assign at least a part of a plurality of IP addresses to the same one and assign them to a plurality of servers at the same time. In this case, among the allocated servers to which the same IP address is assigned. Only one is active and the others are in standby. Further, depending on the contents of the contract, it is possible to make some IP addresses accessible only when a specific identifier (TEID) is used.
- TEID specific identifier
- each of the first server group 211 and the second server group 212 displays a correspondence table between the IP address before rewriting indicated by the header and the plurality of IP addresses after rewriting as an L2 or L3 tunnel. Can be held every time.
- Each correspondence table can be associated with each wireless terminal by an identifier or the like in the GTP header. Further, the correspondence table can be provided only to the second server group 212, and the first server group 211 can make an inquiry to the second server group 212.
- the operation of the gateway 210 mainly assumes a scene in which communication is performed on the GTP U-plane for access to the IP network after the L2 tunnel is formed as a communication path with the mobile terminal.
- the present invention can also be applied in a situation where a tunnel such as an L3 tunnel is formed.
- the gateway 210 is separated into the first server group 211 that is a part that connects the MNO communication infrastructure and the second server group 212 that is a part that performs additional data processing and the like.
- the gateway 210 avoids the occupation of computing resources that limit the increase in the number of devices that can be connected simultaneously in the gateway 210, and the gateway 210 has rich functions and complicated functions. It can be implemented.
- the first server group 211 substantially only rewrites the IP address indicated by the header of the received data to one of a plurality of IP addresses.
- the limited computing resources of the first server group 211 are mainly transferred to the second server group 212 without such limitation. It is possible to increase the number of gateways that can be connected at the same time within the limit on the number of gateways that can be connected to the MNO communication infrastructure.
- the GTP header tunneling process may be performed in the second server group 212.
- New Year's or New Year's communication restrictions are mainly due to exceeding any one of the CPU, memory, storage or network traffic design capacity of the server that handles the communication.
- an IP address of a server with a low load is allocated, or when the capacity of the entire second server group 212 is insufficient, a new By distributing the processing by starting the server, the number of simultaneously connectable devices and the capacity of the entire communication system can be increased.
- each server constituting the second server group 212 can be an instance on the cloud, and by doing so, the number of instances can be increased and scaled out as necessary. Therefore, computing resources can be used virtually inexhaustibly.
- cloud in this specification refers to a system that can dynamically provision and provide computing resources such as CPU, memory, storage, and network bandwidth according to demand on the network.
- computing resources such as CPU, memory, storage, and network bandwidth according to demand on the network.
- the cloud can be used by AWS or the like.
- each server constituting the first server group 211 can be an instance on the cloud, and in this way, the IP address of each server can be virtualized to improve fault tolerance. it can. Even if a certain server goes down, the correspondence relationship between the first server group 211 and the second server group 212 is maintained in the latest state in real time on the database of the third server group 500 described later, for example. It is possible to recover from a failure instantly by changing the IP address to another server.
- scale-up and scale-down can be performed freely by using cloud computing, so it is possible to select an instance having the optimal CPU, memory, storage, and network bandwidth according to the processing load. As a result, it is not necessary to always prepare hardware according to the maximum demand at the peak time, and the cost can be optimized. The same applies to the second server group 212 in the cloud.
- the private system includes a different IP network on the same cloud or an IP network on a different cloud, and the communication system 200 or the gateway 210.
- the private system can be connected by a dedicated line or a virtual dedicated line.
- the communication system 200 further includes a third server group 500, and controls the number of servers constituting the second server group 212 based on processing capacity metrics. Scale out and scale in.
- the third server group 500 monitors the metrics of the processing capacity of the instances used in the first server group 211 and the second server group 212, and each time a connection request is received from a wireless terminal, the instance with a low processing load Connections can be allocated.
- metrics to be monitored include CPU load, memory usage rate, disk read, disk write, network traffic reception, network traffic transmission, and the like.
- the correspondence relationship between the first server group 211 and the second server group 212 can be selected using the third server group 500.
- a GTP connection start request GTP-C
- IMSI IMSI
- TEID TEID
- the third server group 500 is created by continuously or intermittently monitoring the usage status of the computing resources of the second server group 212 such as CPU, memory, storage, and network traffic.
- the second server group 212 as the transfer destination can be selected based on the processing capacity metrics.
- the L2 tunnel session can be restored when the first server group 211 or the second server group 212 fails.
- the first server group 211 receives the connection start request, and the first server group 211 also performs the function on the C plane, but as a part of the gateway 210 or a part of the communication system 200.
- a C plane server group that performs functions on the C plane can be separately provided. In this way, the computing resource of the first server group 211 can be used for simultaneous connection with more devices. In this case, the first server group 211 does not receive the connection start request and has no function on the C plane.
- the server which comprises the 1st server group 211 transfers the data from a wireless terminal to either of the 2nd server groups 212 corresponding to the several IP address after rewriting.
- FIG. 7 shows that each of the first server group 211 and the second server group 212 has three instances, and the second server group 212 is shared by each server of the first server group 211. However, it is not limited to such an example.
- the number of servers configuring the second server group 212 exceeds the number of servers configuring the first server group 211. If the number of servers constituting the second server group 212 is less than or equal to the number of servers constituting the first server group 211, resources such as the number of sessions and the number of IP flows determined by the number of servers or instances will not increase. , May not be fully scalable.
- a new instance can be started to add a server.
- the processing load of the entire instance group of the second server group 212 falls below the set level, select one of the active instances, and if there is a communicating L2 tunnel, etc., change it to another instance After moving, the selected instance can be stopped.
- the number of instances constituting the second server group 212 may be zero.
- the third server group 500 can also set the number of instances to scale out / scale in the second server group 212 according to a predetermined schedule. For example, it can be said that the number of instances is automatically increased from 11:30 just before lunch break when communication demand reaches a peak, and the number of instances is automatically decreased to 13:30 after the peak. .
- the third server group 500 is provided outside the gateway 210.
- the gateway 210 may include the third server group 500 and configure the second server group 212. It can also be configured by instance.
- the third server group 500 has a common database and can process in parallel with a plurality of instances.
- the server corresponding to the second server group 212 that has received the payload with the header added from the first server group 211 first removes all the headers. Then, after encrypting the HTTP payload part (HTTP payload), a new HTTPS header is added, and the TCP / IP header is also re-added.
- HTTP payload part HTTP payload
- the payload can be encrypted instead of a wireless terminal without adding a load to the first server group 211, so that communication security can be improved.
- a wireless terminal such as an IoT device with relatively low performance can add a required added value on the communication system (communication platform) side.
- the TCP payload portion (TCP payload) is encrypted, but it can also be encrypted from the IP payload portion (IP payload).
- IP payload IP payload portion
- the IP header included in the GTP payload may be temporarily removed and the IP payload may be encrypted.
- Credential grant The corresponding server in the second server group 212 that has received the payload to which the header is added from the first server group 211 identifies the identifier included in the GTP header in the process of removing the header.
- the subscriber information such as the identification number can be specified. Therefore, for example, credentials such as a password attached to subscriber information recorded in the database of the third server group 500 can be acquired.
- the second server group 212 can capture communication from a wireless terminal destined for a specific HTTP server, generate a signature with the necessary credentials for the HTTP server, and then transmit the signature using HTTPS.
- “Credentials” here is a general term for information used for user authentication, including IDs and passwords.
- wireless terminals such as IoT devices that do not have sufficient storage capacity can be given credentials such as passwords to communicate with servers on the Internet.
- the first server group 211 receives data according to protocols such as HTTP, MQTT, TELNET, FTP, and TCP transmitted from the wireless terminal.
- the corresponding server in the second server group 212 that has received the payload with the header added from the first server group 211 first removes all the headers. Then, add the credentials required for saving to the cloud computing storage and pass the data in the data description language such as JSON and re-attach the HTTP header, or encrypt the HTTP payload part and HTTPS
- the header can be newly added, and the data in the payload can be stored in the computing storage or database on the cloud.
- This kind of data processing makes it possible to save data easily even if a wireless terminal such as an IoT device has no storage capacity and only has a communication function.
- An instance of the second server group 212 that receives data carried by a protocol such as HTTP, HTTPS, MQTT, TELNET, FTP, TCP, etc. transmitted from the wireless terminal to the endpoint via the first server group 211 is as follows:
- the subscriber information of the wireless terminal as the transmission source can be determined by identifying the identifier included in the GTP header.
- the source IP address in the IP header is replaced so that the IP address of the instance itself becomes a destination for communication with the outside, and the subscriber information is handled from the database of the third server group 500, for example.
- protocols other than those sent from wireless terminals can be re-attached and the payload can be encrypted or unencrypted and sent to any server (target) on the Internet.
- the second server group 212 acts as a relay to perform protocol conversion. This makes it possible to communicate with a server on the Internet side.
- Throughput control By measuring the amount of data transmitted and received between the wireless terminal and the IP network with the second server group 212, the amount of data communication per unit time can be controlled. When the amount of data transmitted from the wireless terminal or the amount of received data exceeds the limit value, the second server group 212 can control the flow rate of data by discarding IP buffers or buffering for a certain period of time. As a result, throughput control becomes possible.
- Total data traffic control The amount of data transmitted / received between the wireless terminal and the IP network is measured by the second server group 212, transmitted to the third server group 500, and transmitted / received communication amounts of individual wireless terminals in the database of the third server group 500 Can manage the total data traffic. Since the correspondence between the wireless terminal and the second server group 212 can be determined as described above when GTP is connected, the total data communication amount passing through the second server group 212 is measured only with a specific server. I can't do it. However, when the amount of data transmitted / received by a specific wireless terminal exceeds a set value within a certain period by counting in real time in the third server group 500, transmission / reception data communication to the wireless terminal is stopped. Alternatively, the throughput can be controlled to a flow rate below a certain value.
- the total data traffic of individual wireless terminals based on the database of the third server group 500 can be added in real time without applying a load to the first server group 211.
- a large number of wireless terminals can be collected as one group and the total data communication amount can be grasped.
- Response and priority control Prioritize data sent from the Internet to wireless terminals. For example, in the transmission queue of the second server group 212, data directed to a high priority SIM card is placed in the transmission queue of a high priority instance, and data of other low priority SIM cards. Is placed in the transmission queue of the low-priority instance and the processing of the high-priority transmission queue is performed first, so that priority transmission processing according to the priority is performed to improve response performance. Can be controlled. Alternatively, by discarding data to the SIM card having a low priority in the second server group 212, the data to the SIM card having a high priority can be preferentially processed, and the response can be improved.
- Time zone restriction The corresponding server in the second server group 212 that has received the payload with the header added from the first server group 211 determines whether the data communication from a specific wireless terminal is performed and stops the data communication according to the time zone. Throughput can be controlled to a flow rate below a certain value. For example, in the case of a wireless terminal that permits communication only during midnight, the second server when the first server group 211 does not accept a new request other than the permitted time or when a communication path has already been established. Communication processing can be stopped in the group 212.
- Such data processing allows data from IoT devices to be stopped when wireless data communication reaches its peak, and conversely, the time zone during which wireless data communication is off-peak can be used effectively.
- the first server group 211 receives data according to protocols such as HTTP, MQTT, TELNET, FTP, and TCP transmitted from the wireless terminal.
- the server corresponding to the second server group 212 that has received the payload with the header added from the first server group 211 first removes all the headers. Then, based on the information stored in the third server group 500, SMS or e-mail is sent to the destination for notification, or a payload is input to a program prepared in advance and a specific program is executed. To do.
- Such data processing makes it possible to easily realize a process of notifying by e-mail or automatically executing a predetermined program when a specific event such as a failure occurs.
- the second server group 212 can determine the throughput by measuring the data transmission amount per unit time for each individual wireless terminal. When the throughput drops below a certain value, the second server group 212 extracts the image / movie data included in the transmission data and converts it to a bit rate of a codec that matches the currently available throughput. After that, data can be transmitted to the wireless terminal.
- Such data processing enables images to be sent to IoT devices that require real-time performance, such as surveillance cameras, without video transmission delays.
- Thin client Applications that comply with HTML5 are increasing for mobile terminals such as smartphones and tablets. Therefore, such applications are not executed on the web browser of the mobile terminal, but are performed in the second server group 212. Thus, only the screen display can be performed on the mobile terminal side.
- networking function HTTP or HTTPS
- image or video data compression function shrinking optimized to the screen size of the mobile terminal, etc.
- image or video codec conversion function addition of DRM -Conversion function
- Javascript registered trademark
- interpreter or compiler
- data cache function with function to predict the next page to be read by the user
- rendering function with function to predict the page to be read next by the user
- Public cloud The communication system 200 can be implemented on the cloud, and in particular can be implemented on a public cloud.
- public cloud refers to a cloud that can be used by a plurality of tenants.
- Communication system (communication platform) 210 Gateway 211 First server group 212 Second server group 500 Third server group
Landscapes
- Engineering & Computer Science (AREA)
- Computer Networks & Wireless Communication (AREA)
- Signal Processing (AREA)
- Computer Security & Cryptography (AREA)
- Databases & Information Systems (AREA)
- Mobile Radio Communication Systems (AREA)
- Data Exchanges In Wide-Area Networks (AREA)
Priority Applications (8)
| Application Number | Priority Date | Filing Date | Title |
|---|---|---|---|
| US15/580,962 US11310655B2 (en) | 2015-06-10 | 2016-06-09 | Communication system and communication method for providing access to IP network to wireless cable |
| CN201680033845.8A CN107637029B (zh) | 2015-06-10 | 2016-06-09 | 用于向无线终端提供对ip网络的访问的通信系统及通信方法 |
| JP2016557161A JP6097467B1 (ja) | 2015-06-10 | 2016-06-09 | 無線端末にipネットワークへのアクセスを提供するための通信システム及び通信方法 |
| EP16807579.4A EP3310008B1 (en) | 2015-06-10 | 2016-06-09 | Communication system and communication method for providing ip network access to wireless terminals |
| SG11201710105TA SG11201710105TA (en) | 2015-06-10 | 2016-06-09 | Communication system and communication method for providing ip network access to wireless terminals |
| CN202110928895.5A CN113473651B (zh) | 2015-06-10 | 2016-06-09 | 用于向无线终端提供对ip网络的访问的通信系统及通信方法 |
| US17/686,995 US11765571B2 (en) | 2015-06-10 | 2022-03-04 | Communication system and communication method for providing access to IP network to wireless terminals |
| US18/235,620 US12096517B2 (en) | 2015-06-10 | 2023-08-18 | Communication system and communication method for providing access to IP network to wireless terminals |
Applications Claiming Priority (2)
| Application Number | Priority Date | Filing Date | Title |
|---|---|---|---|
| JP2015117661 | 2015-06-10 | ||
| JP2015-117661 | 2015-06-10 |
Related Child Applications (2)
| Application Number | Title | Priority Date | Filing Date |
|---|---|---|---|
| US15/580,962 A-371-Of-International US11310655B2 (en) | 2015-06-10 | 2016-06-09 | Communication system and communication method for providing access to IP network to wireless cable |
| US17/686,995 Continuation US11765571B2 (en) | 2015-06-10 | 2022-03-04 | Communication system and communication method for providing access to IP network to wireless terminals |
Publications (1)
| Publication Number | Publication Date |
|---|---|
| WO2016199873A1 true WO2016199873A1 (ja) | 2016-12-15 |
Family
ID=57503653
Family Applications (1)
| Application Number | Title | Priority Date | Filing Date |
|---|---|---|---|
| PCT/JP2016/067291 Ceased WO2016199873A1 (ja) | 2015-06-10 | 2016-06-09 | 無線端末にipネットワークへのアクセスを提供するための通信システム及び通信方法 |
Country Status (6)
| Country | Link |
|---|---|
| US (3) | US11310655B2 (enExample) |
| EP (1) | EP3310008B1 (enExample) |
| JP (2) | JP6097467B1 (enExample) |
| CN (2) | CN107637029B (enExample) |
| SG (2) | SG11201710105TA (enExample) |
| WO (1) | WO2016199873A1 (enExample) |
Cited By (3)
| Publication number | Priority date | Publication date | Assignee | Title |
|---|---|---|---|---|
| JP2020508019A (ja) * | 2017-02-15 | 2020-03-12 | 華為技術有限公司Huawei Technologies Co.,Ltd. | データ伝送方法、基地局、ローカル・ブレイクアウトコントローラ、ゲートウェイ、及びシステム |
| WO2022014561A1 (ja) * | 2020-07-13 | 2022-01-20 | 株式会社ソラコム | データ処理のための装置、方法及びプログラム |
| CN114143729A (zh) * | 2017-10-10 | 2022-03-04 | 株式会社宙连 | 用于与IoT设备进行数据收发的装置、方法及计算机可读存储介质 |
Families Citing this family (44)
| Publication number | Priority date | Publication date | Assignee | Title |
|---|---|---|---|---|
| US11128489B2 (en) * | 2017-07-18 | 2021-09-21 | Nicira, Inc. | Maintaining data-plane connectivity between hosts |
| US9225638B2 (en) | 2013-05-09 | 2015-12-29 | Vmware, Inc. | Method and system for service switching using service tags |
| US9774537B2 (en) | 2014-09-30 | 2017-09-26 | Nicira, Inc. | Dynamically adjusting load balancing |
| US9825810B2 (en) | 2014-09-30 | 2017-11-21 | Nicira, Inc. | Method and apparatus for distributing load among a plurality of service nodes |
| US10516568B2 (en) | 2014-09-30 | 2019-12-24 | Nicira, Inc. | Controller driven reconfiguration of a multi-layered application or service model |
| US10594743B2 (en) | 2015-04-03 | 2020-03-17 | Nicira, Inc. | Method, apparatus, and system for implementing a content switch |
| US11310655B2 (en) * | 2015-06-10 | 2022-04-19 | Soracom, Inc. | Communication system and communication method for providing access to IP network to wireless cable |
| WO2018004589A1 (en) * | 2016-06-30 | 2018-01-04 | Intel IP Corporation | Apparatus, system and method of internet connectivity via a relay station |
| CN110169037A (zh) * | 2017-01-03 | 2019-08-23 | 德国电信股份有限公司 | 用于使用移动通信网络来在一方面应用服务器与另一方面至少一个物联网通信设备之间进行数据传输的方法、移动通信网络、系统、物联网通信设备、程序和计算机程序产品 |
| JP2019005189A (ja) * | 2017-06-23 | 2019-01-17 | 株式会社三洋物産 | 遊技機 |
| JP2019005194A (ja) * | 2017-06-23 | 2019-01-17 | 株式会社三洋物産 | 遊技機 |
| JP2019005193A (ja) * | 2017-06-23 | 2019-01-17 | 株式会社三洋物産 | 遊技機 |
| JP2019005196A (ja) * | 2017-06-23 | 2019-01-17 | 株式会社三洋物産 | 遊技機 |
| JP2019005190A (ja) * | 2017-06-23 | 2019-01-17 | 株式会社三洋物産 | 遊技機 |
| JP2019005202A (ja) * | 2017-06-23 | 2019-01-17 | 株式会社三洋物産 | 遊技機 |
| JP2019005188A (ja) * | 2017-06-23 | 2019-01-17 | 株式会社三洋物産 | 遊技機 |
| JP2019005187A (ja) * | 2017-06-23 | 2019-01-17 | 株式会社三洋物産 | 遊技機 |
| JP2019005191A (ja) * | 2017-06-23 | 2019-01-17 | 株式会社三洋物産 | 遊技機 |
| JP2019005195A (ja) * | 2017-06-23 | 2019-01-17 | 株式会社三洋物産 | 遊技機 |
| JP2019005192A (ja) * | 2017-06-23 | 2019-01-17 | 株式会社三洋物産 | 遊技機 |
| JP2019005201A (ja) * | 2017-06-23 | 2019-01-17 | 株式会社三洋物産 | 遊技機 |
| JP2019005204A (ja) * | 2017-06-23 | 2019-01-17 | 株式会社三洋物産 | 遊技機 |
| US10805181B2 (en) | 2017-10-29 | 2020-10-13 | Nicira, Inc. | Service operation chaining |
| US10708229B2 (en) | 2017-11-15 | 2020-07-07 | Nicira, Inc. | Packet induced revalidation of connection tracker |
| US11012420B2 (en) | 2017-11-15 | 2021-05-18 | Nicira, Inc. | Third-party service chaining using packet encapsulation in a flow-based forwarding element |
| US10757077B2 (en) * | 2017-11-15 | 2020-08-25 | Nicira, Inc. | Stateful connection policy filtering |
| US10797910B2 (en) | 2018-01-26 | 2020-10-06 | Nicira, Inc. | Specifying and utilizing paths through a network |
| US10805192B2 (en) | 2018-03-27 | 2020-10-13 | Nicira, Inc. | Detecting failure of layer 2 service using broadcast messages |
| US11595250B2 (en) | 2018-09-02 | 2023-02-28 | Vmware, Inc. | Service insertion at logical network gateway |
| US10402589B1 (en) * | 2018-12-20 | 2019-09-03 | Vijay K. Madisetti | Method and system for securing cloud storage and databases from insider threats and optimizing performance |
| US11321113B2 (en) | 2019-02-22 | 2022-05-03 | Vmware, Inc. | Creating and distributing service chain descriptions |
| DE102019208056A1 (de) * | 2019-06-03 | 2020-12-03 | Robert Bosch Gmbh | System und Verfahren zum Betreiben eines Systems |
| JP7577065B2 (ja) * | 2019-09-05 | 2024-11-01 | 三菱電機株式会社 | 無線通信ネットワーク装置、無線通信端末、無線通信システム、及び、通信方法 |
| US11140218B2 (en) | 2019-10-30 | 2021-10-05 | Vmware, Inc. | Distributed service chain across multiple clouds |
| US11283717B2 (en) | 2019-10-30 | 2022-03-22 | Vmware, Inc. | Distributed fault tolerant service chain |
| US11223494B2 (en) | 2020-01-13 | 2022-01-11 | Vmware, Inc. | Service insertion for multicast traffic at boundary |
| US11153406B2 (en) | 2020-01-20 | 2021-10-19 | Vmware, Inc. | Method of network performance visualization of service function chains |
| US11659061B2 (en) | 2020-01-20 | 2023-05-23 | Vmware, Inc. | Method of adjusting service function chains to improve network performance |
| US11743172B2 (en) | 2020-04-06 | 2023-08-29 | Vmware, Inc. | Using multiple transport mechanisms to provide services at the edge of a network |
| US11734043B2 (en) | 2020-12-15 | 2023-08-22 | Vmware, Inc. | Providing stateful services in a scalable manner for machines executing on host computers |
| US11611625B2 (en) | 2020-12-15 | 2023-03-21 | Vmware, Inc. | Providing stateful services in a scalable manner for machines executing on host computers |
| CN112910981B (zh) * | 2021-01-27 | 2022-07-26 | 联想(北京)有限公司 | 一种控制方法及装置 |
| US11611631B2 (en) * | 2021-02-18 | 2023-03-21 | Panduit Corp. | Secure remotely controlled system, device, and method |
| JP7097518B1 (ja) | 2021-06-21 | 2022-07-07 | 株式会社ソラコム | 通信サービスの状態を診断するための装置、方法及びそのためのプログラム |
Citations (4)
| Publication number | Priority date | Publication date | Assignee | Title |
|---|---|---|---|---|
| WO2007052348A1 (ja) * | 2005-11-02 | 2007-05-10 | Fujitsu Limited | 移動通信ネットワーク運用方法 |
| JP2014155136A (ja) * | 2013-02-13 | 2014-08-25 | Nippon Telegr & Teleph Corp <Ntt> | Apl−gw−fe |
| WO2014146999A1 (en) * | 2013-03-18 | 2014-09-25 | Koninklijke Kpn N.V. | Redirecting a client device from a first gateway to a second gateway for accessing a network node function |
| JP2015050772A (ja) * | 2013-08-29 | 2015-03-16 | 株式会社Nttドコモ | パケットゲートウェイユーザプレーンを実装する装置及び方法 |
Family Cites Families (46)
| Publication number | Priority date | Publication date | Assignee | Title |
|---|---|---|---|---|
| US7804815B1 (en) * | 1999-09-17 | 2010-09-28 | Intertex Data Ab | System and apparatus for telecommunication |
| US6510464B1 (en) * | 1999-12-14 | 2003-01-21 | Verizon Corporate Services Group Inc. | Secure gateway having routing feature |
| JP3655575B2 (ja) * | 2001-10-30 | 2005-06-02 | 株式会社日立コミュニケーションテクノロジー | ゲートウェイ装置 |
| JP4797297B2 (ja) | 2001-08-06 | 2011-10-19 | 凸版印刷株式会社 | 発行ビューロ側システム、通信事業者側システム、usimカード発行方法、usimカード発行指示方法、及び通信id変更方法 |
| US7454489B2 (en) * | 2003-07-01 | 2008-11-18 | International Business Machines Corporation | System and method for accessing clusters of servers from the internet network |
| US20050202392A1 (en) * | 2004-01-30 | 2005-09-15 | Allen J. V. | Web service api for student information and course management systems |
| US7480794B2 (en) * | 2004-09-22 | 2009-01-20 | Cisco Technology, Inc. | System and methods for transparent encryption |
| US8325614B2 (en) | 2010-01-05 | 2012-12-04 | Jasper Wireless, Inc. | System and method for connecting, configuring and testing new wireless devices and applications |
| US8032181B2 (en) | 2007-09-01 | 2011-10-04 | Apple Inc. | Service provider activation with subscriber identity module policy |
| JP4920564B2 (ja) * | 2007-11-29 | 2012-04-18 | 株式会社日立製作所 | パケット通信網およびユーザ関連情報配信制御装置 |
| CN102047745A (zh) * | 2008-05-30 | 2011-05-04 | 诺基亚西门子通信公司 | 在通信系统内分配资源 |
| GB0916582D0 (en) | 2009-09-22 | 2009-10-28 | Software Cellular Network Ltd | Subscriber identification management broker for fixed/mobile networks |
| US8537846B2 (en) * | 2010-04-27 | 2013-09-17 | Hewlett-Packard Development Company, L.P. | Dynamic priority queue level assignment for a network flow |
| KR101649994B1 (ko) | 2010-04-30 | 2016-08-22 | 삼성전자주식회사 | 이중 모드 단말기에서 네트워크 환경에 따른 자동 심카드 선택을 위한 장치및 방법 |
| US8837418B2 (en) * | 2010-07-15 | 2014-09-16 | Rivada Networks, Llc | Methods and systems for dynamic spectrum arbitrage |
| US8762450B2 (en) | 2010-07-27 | 2014-06-24 | Qualcomm Incorporated | Apparatus and method for reducing frequent server messages |
| KR101338489B1 (ko) | 2011-02-07 | 2013-12-10 | 주식회사 케이티 | 시그널링 부하 분산을 위한 이동통신 시스템, 미등록된 엠투엠 단말의 동작 방법 및 등록된 엠투엠 단말의 동작 방법 |
| US8825002B2 (en) * | 2011-02-08 | 2014-09-02 | Macheen, Inc. | Fractional applications product catalog |
| US20130225130A1 (en) | 2011-03-22 | 2013-08-29 | Nec Europe Ltd. | Method for operating a network and a network |
| US8873398B2 (en) | 2011-05-23 | 2014-10-28 | Telefonaktiebolaget L M Ericsson (Publ) | Implementing EPC in a cloud computer with openflow data plane |
| US9253630B2 (en) | 2011-06-02 | 2016-02-02 | Truphone Limited | Identity management for mobile devices |
| US20130021904A1 (en) * | 2011-07-20 | 2013-01-24 | Alcatel-Lucent Usa Inc. | System and method for congestion control in a core network |
| JP5342615B2 (ja) | 2011-08-15 | 2013-11-13 | 株式会社日立システムズ | 仮想サーバ制御システム及びプログラム |
| US9445257B2 (en) | 2011-08-15 | 2016-09-13 | Globetouch, Inc. | Method and system for providing cloud subscriber identity module (SIM) |
| US8762501B2 (en) | 2011-08-29 | 2014-06-24 | Telefonaktiebolaget L M Ericsson (Publ) | Implementing a 3G packet core in a cloud computer with openflow data and control planes |
| US20130142201A1 (en) | 2011-12-02 | 2013-06-06 | Microsoft Corporation | Connecting on-premise networks with public clouds |
| JP5698115B2 (ja) | 2011-12-15 | 2015-04-08 | Kddi株式会社 | ユーザ識別モジュールカードのアプリケーションの遠隔管理システム、遠隔管理方法、およびプログラム |
| GB201121814D0 (en) | 2011-12-19 | 2012-02-01 | Eseye Ltd | Lifecycle configuration of mobile subscriber |
| EP2823618A4 (en) | 2012-03-08 | 2015-11-11 | Hewlett Packard Development Co | Modification of Virtual Machine Communication |
| WO2013144747A1 (en) | 2012-03-29 | 2013-10-03 | Telefonaktiebolaget L M Ericsson (Publ) | Implementing epc in a cloud computer with openflow data plane |
| US20130336210A1 (en) * | 2012-06-15 | 2013-12-19 | Telefonaktiebolaget L M Ericsson (Publ) | Wholesale partner and video services enablement using a mobile virtual network enabler (MVNE) |
| US9407557B2 (en) * | 2012-12-22 | 2016-08-02 | Edgewater Networks, Inc. | Methods and systems to split equipment control between local and remote processing units |
| JP5818830B2 (ja) | 2013-02-15 | 2015-11-18 | 株式会社Nttドコモ | 通信システム、制御装置、アプリケーションサーバ及びデバイス |
| US10237377B2 (en) * | 2013-03-07 | 2019-03-19 | Nec Corporation | Packet rewriting apparatus, control apparatus, communication system, packet transmission method and program |
| US9173158B2 (en) | 2013-03-08 | 2015-10-27 | Tellabs Operations, Inc. | Method and apparatus for improving LTE enhanced packet core architecture using openflow network controller |
| CN103458136B (zh) | 2013-08-15 | 2016-08-24 | 华为终端有限公司 | 多卡多通终端的通话管理方法及装置 |
| JP5975955B2 (ja) | 2013-08-30 | 2016-08-23 | 株式会社Kddi研究所 | ゲートウェイ装置におけるデバイス装置の設定方法、デバイス装置設定システム及びデバイス装置設定プログラム |
| US9647935B2 (en) * | 2013-10-23 | 2017-05-09 | Verizon Patent And Licensing Inc. | Inter-layer quality of service preservation |
| US9642077B2 (en) | 2013-10-23 | 2017-05-02 | Cisco Technology, Inc. | Node selection in virtual evolved packet core |
| JP2015100028A (ja) | 2013-11-19 | 2015-05-28 | 株式会社日立製作所 | 通信装置、通信システムおよび通信制御方法 |
| EP2879417B1 (en) * | 2013-11-29 | 2018-10-31 | Comptel Corporation | Service provisioning and activation in telecommunications network |
| US20170161120A1 (en) * | 2014-07-22 | 2017-06-08 | Nec Corporation | Information processing system and network resource management method |
| US10075841B2 (en) | 2014-09-17 | 2018-09-11 | Simless, Inc. | Apparatuses, methods and systems for implementing a trusted subscription management platform |
| US10237722B2 (en) | 2015-03-11 | 2019-03-19 | Futurewei Technologies, Inc. | System and method for multi-SIM profiles or embedded SIM |
| US10148509B2 (en) * | 2015-05-13 | 2018-12-04 | Oracle International Corporation | Methods, systems, and computer readable media for session based software defined networking (SDN) management |
| US11310655B2 (en) * | 2015-06-10 | 2022-04-19 | Soracom, Inc. | Communication system and communication method for providing access to IP network to wireless cable |
-
2016
- 2016-06-09 US US15/580,962 patent/US11310655B2/en active Active
- 2016-06-09 EP EP16807579.4A patent/EP3310008B1/en active Active
- 2016-06-09 CN CN201680033845.8A patent/CN107637029B/zh active Active
- 2016-06-09 SG SG11201710105TA patent/SG11201710105TA/en unknown
- 2016-06-09 CN CN202110928895.5A patent/CN113473651B/zh active Active
- 2016-06-09 WO PCT/JP2016/067291 patent/WO2016199873A1/ja not_active Ceased
- 2016-06-09 JP JP2016557161A patent/JP6097467B1/ja active Active
- 2016-06-09 SG SG10201911899VA patent/SG10201911899VA/en unknown
-
2017
- 2017-02-18 JP JP2017028558A patent/JP2017123674A/ja not_active Withdrawn
-
2022
- 2022-03-04 US US17/686,995 patent/US11765571B2/en active Active
-
2023
- 2023-08-18 US US18/235,620 patent/US12096517B2/en active Active
Patent Citations (4)
| Publication number | Priority date | Publication date | Assignee | Title |
|---|---|---|---|---|
| WO2007052348A1 (ja) * | 2005-11-02 | 2007-05-10 | Fujitsu Limited | 移動通信ネットワーク運用方法 |
| JP2014155136A (ja) * | 2013-02-13 | 2014-08-25 | Nippon Telegr & Teleph Corp <Ntt> | Apl−gw−fe |
| WO2014146999A1 (en) * | 2013-03-18 | 2014-09-25 | Koninklijke Kpn N.V. | Redirecting a client device from a first gateway to a second gateway for accessing a network node function |
| JP2015050772A (ja) * | 2013-08-29 | 2015-03-16 | 株式会社Nttドコモ | パケットゲートウェイユーザプレーンを実装する装置及び方法 |
Cited By (8)
| Publication number | Priority date | Publication date | Assignee | Title |
|---|---|---|---|---|
| JP2020508019A (ja) * | 2017-02-15 | 2020-03-12 | 華為技術有限公司Huawei Technologies Co.,Ltd. | データ伝送方法、基地局、ローカル・ブレイクアウトコントローラ、ゲートウェイ、及びシステム |
| US11044600B2 (en) | 2017-02-15 | 2021-06-22 | Huawei Technologies Co., Ltd. | Apparatus and method for performing local breakout service on use requipment |
| CN114143729A (zh) * | 2017-10-10 | 2022-03-04 | 株式会社宙连 | 用于与IoT设备进行数据收发的装置、方法及计算机可读存储介质 |
| CN114143729B (zh) * | 2017-10-10 | 2023-11-24 | 株式会社宙连 | 用于与IoT设备进行数据收发的装置、方法及计算机可读存储介质 |
| US12101703B2 (en) | 2017-10-10 | 2024-09-24 | Soracom, Inc. | Apparatus, method and program for transmitting and receiving data to and from IOT device |
| WO2022014561A1 (ja) * | 2020-07-13 | 2022-01-20 | 株式会社ソラコム | データ処理のための装置、方法及びプログラム |
| JP2022016935A (ja) * | 2020-07-13 | 2022-01-25 | 株式会社ソラコム | データ処理のための装置、方法及びプログラム |
| JP7584204B2 (ja) | 2020-07-13 | 2024-11-15 | 株式会社ソラコム | データ処理のための装置、方法及びプログラム |
Also Published As
| Publication number | Publication date |
|---|---|
| JPWO2016199873A1 (ja) | 2017-06-22 |
| SG10201911899VA (en) | 2020-01-30 |
| CN107637029A (zh) | 2018-01-26 |
| US20230396981A1 (en) | 2023-12-07 |
| CN107637029B (zh) | 2021-09-14 |
| US20220279339A1 (en) | 2022-09-01 |
| JP2017123674A (ja) | 2017-07-13 |
| US12096517B2 (en) | 2024-09-17 |
| JP6097467B1 (ja) | 2017-03-15 |
| EP3310008B1 (en) | 2021-02-17 |
| SG11201710105TA (en) | 2018-01-30 |
| CN113473651B (zh) | 2024-04-30 |
| EP3310008A4 (en) | 2018-11-21 |
| US11765571B2 (en) | 2023-09-19 |
| US20180184281A1 (en) | 2018-06-28 |
| EP3310008A1 (en) | 2018-04-18 |
| US11310655B2 (en) | 2022-04-19 |
| CN113473651A (zh) | 2021-10-01 |
Similar Documents
| Publication | Publication Date | Title |
|---|---|---|
| JP6097467B1 (ja) | 無線端末にipネットワークへのアクセスを提供するための通信システム及び通信方法 | |
| US12294886B2 (en) | Communication apparatus, system, method, allocation apparatus, and non-transitory recording medium | |
| JP6637059B2 (ja) | 移動体通信システムのゲートウェイの制御装置 | |
| EP2942992A1 (en) | Customizable mobile broadband network system, and method for customizing mobile broadband network | |
| US10511640B2 (en) | Providing cellular-specific transport layer service by way of cell-site proxying in a network environment | |
| JP7076558B2 (ja) | アンカーレス・バックホールのサポートのためのgtpトンネル | |
| EP3113539A1 (en) | Load balancing user plane traffic in a telecommunication network | |
| JP5938507B1 (ja) | 無線端末に外部ネットワークへのアクセスを提供するための通信システム及び通信方法 | |
| JP5938498B1 (ja) | 無線端末に外部ネットワークへのアクセスを提供するための通信システム及び通信方法 | |
| EP3652980B1 (en) | Virtual anchoring in anchorless mobile networks | |
| WO2016148049A1 (ja) | 通信装置とシステムと方法並びに割り当て装置とプログラム |
Legal Events
| Date | Code | Title | Description |
|---|---|---|---|
| ENP | Entry into the national phase |
Ref document number: 2016557161 Country of ref document: JP Kind code of ref document: A |
|
| 121 | Ep: the epo has been informed by wipo that ep was designated in this application |
Ref document number: 16807579 Country of ref document: EP Kind code of ref document: A1 |
|
| WWE | Wipo information: entry into national phase |
Ref document number: 11201710105T Country of ref document: SG |
|
| WWE | Wipo information: entry into national phase |
Ref document number: 15580962 Country of ref document: US |
|
| NENP | Non-entry into the national phase |
Ref country code: DE |
|
| WWE | Wipo information: entry into national phase |
Ref document number: 2016807579 Country of ref document: EP |