WO2016121227A1 - プラズマトーチ用センタパイプ、接触子、電極、及びプラズマトーチ - Google Patents

プラズマトーチ用センタパイプ、接触子、電極、及びプラズマトーチ Download PDF

Info

Publication number
WO2016121227A1
WO2016121227A1 PCT/JP2015/084161 JP2015084161W WO2016121227A1 WO 2016121227 A1 WO2016121227 A1 WO 2016121227A1 JP 2015084161 W JP2015084161 W JP 2015084161W WO 2016121227 A1 WO2016121227 A1 WO 2016121227A1
Authority
WO
WIPO (PCT)
Prior art keywords
electrode
peripheral surface
contact
outer peripheral
plasma torch
Prior art date
Legal status (The legal status is an assumption and is not a legal conclusion. Google has not performed a legal analysis and makes no representation as to the accuracy of the status listed.)
Ceased
Application number
PCT/JP2015/084161
Other languages
English (en)
French (fr)
Japanese (ja)
Inventor
山口 義博
圭太 近藤
茂夫 森本
齋尾 克男
Current Assignee (The listed assignees may be inaccurate. Google has not performed a legal analysis and makes no representation or warranty as to the accuracy of the list.)
Komatsu Ltd
Komatsu Industries Corp
Original Assignee
Komatsu Ltd
Komatsu Industries Corp
Priority date (The priority date is an assumption and is not a legal conclusion. Google has not performed a legal analysis and makes no representation as to the accuracy of the date listed.)
Filing date
Publication date
Application filed by Komatsu Ltd, Komatsu Industries Corp filed Critical Komatsu Ltd
Priority to KR1020167036908A priority Critical patent/KR101940595B1/ko
Priority to KR1020197001232A priority patent/KR102042546B1/ko
Priority to US15/325,313 priority patent/US10232460B2/en
Priority to CN201580035372.0A priority patent/CN106660159B/zh
Priority to KR1020197001231A priority patent/KR102042545B1/ko
Priority to DE112015003758.6T priority patent/DE112015003758B4/de
Publication of WO2016121227A1 publication Critical patent/WO2016121227A1/ja
Anticipated expiration legal-status Critical
Priority to US16/264,838 priority patent/US11014188B2/en
Ceased legal-status Critical Current

Links

Images

Classifications

    • BPERFORMING OPERATIONS; TRANSPORTING
    • B23MACHINE TOOLS; METAL-WORKING NOT OTHERWISE PROVIDED FOR
    • B23KSOLDERING OR UNSOLDERING; WELDING; CLADDING OR PLATING BY SOLDERING OR WELDING; CUTTING BY APPLYING HEAT LOCALLY, e.g. FLAME CUTTING; WORKING BY LASER BEAM
    • B23K10/00Welding or cutting by means of a plasma
    • HELECTRICITY
    • H05ELECTRIC TECHNIQUES NOT OTHERWISE PROVIDED FOR
    • H05HPLASMA TECHNIQUE; PRODUCTION OF ACCELERATED ELECTRICALLY-CHARGED PARTICLES OR OF NEUTRONS; PRODUCTION OR ACCELERATION OF NEUTRAL MOLECULAR OR ATOMIC BEAMS
    • H05H1/00Generating plasma; Handling plasma
    • H05H1/24Generating plasma
    • H05H1/26Plasma torches
    • H05H1/28Cooling arrangements
    • HELECTRICITY
    • H05ELECTRIC TECHNIQUES NOT OTHERWISE PROVIDED FOR
    • H05HPLASMA TECHNIQUE; PRODUCTION OF ACCELERATED ELECTRICALLY-CHARGED PARTICLES OR OF NEUTRONS; PRODUCTION OR ACCELERATION OF NEUTRAL MOLECULAR OR ATOMIC BEAMS
    • H05H1/00Generating plasma; Handling plasma
    • H05H1/24Generating plasma
    • H05H1/26Plasma torches
    • H05H1/32Plasma torches using an arc
    • H05H1/34Details, e.g. electrodes, nozzles
    • H05H1/3423Connecting means, e.g. electrical connecting means or fluid connections
    • HELECTRICITY
    • H05ELECTRIC TECHNIQUES NOT OTHERWISE PROVIDED FOR
    • H05HPLASMA TECHNIQUE; PRODUCTION OF ACCELERATED ELECTRICALLY-CHARGED PARTICLES OR OF NEUTRONS; PRODUCTION OR ACCELERATION OF NEUTRAL MOLECULAR OR ATOMIC BEAMS
    • H05H1/00Generating plasma; Handling plasma
    • H05H1/24Generating plasma
    • H05H1/26Plasma torches
    • H05H1/32Plasma torches using an arc
    • H05H1/34Details, e.g. electrodes, nozzles
    • H05H1/3436Hollow cathodes with internal coolant flow
    • HELECTRICITY
    • H05ELECTRIC TECHNIQUES NOT OTHERWISE PROVIDED FOR
    • H05HPLASMA TECHNIQUE; PRODUCTION OF ACCELERATED ELECTRICALLY-CHARGED PARTICLES OR OF NEUTRONS; PRODUCTION OR ACCELERATION OF NEUTRAL MOLECULAR OR ATOMIC BEAMS
    • H05H1/00Generating plasma; Handling plasma
    • H05H1/24Generating plasma
    • H05H1/26Plasma torches
    • H05H1/32Plasma torches using an arc
    • H05H1/34Details, e.g. electrodes, nozzles
    • H05H1/3457Nozzle protection devices

Definitions

  • the present invention relates to a center pipe for a plasma torch, a contact, an electrode, and a plasma torch.
  • the plasma torch has an electrode serving as an arc generation point and a nozzle arranged so as to cover the electrode.
  • the electrode is attached to the electrode base of the torch body.
  • the nozzle is attached to the electrode via an insulating guide.
  • the insulating guide positions the nozzle so that the nozzle is concentric with the electrode.
  • the plasma torch generates a plasma arc between the electrode and the workpiece through the nozzle orifice.
  • the electrode Since the electrode is a consumable item, it can be detachably attached to the electrode base of the torch body.
  • the electrode includes a distal end side cylindrical portion, a flange portion, and a proximal end side cylindrical portion.
  • the flange portion has a larger outer diameter than the distal end side cylindrical portion and the proximal end side cylindrical portion.
  • An electrode is attached to an electrode base because a base end side cylinder part joins with the inner surface of an electrode base by frictional resistance.
  • an internal thread portion is formed on the electrode base, and an external thread portion is formed on the proximal end side cylinder portion.
  • the electrode is attached to the electrode pedestal when the male threaded portion of the base end side cylindrical portion is screwed into the female threaded portion of the electrode pedestal.
  • the end face in the axial direction of the flange portion contacts the tip of the electrode pedestal.
  • the outer peripheral surface of the base end side cylinder part contacts the inner peripheral surface of an electrode base.
  • the outer peripheral surface of the base end side cylinder portion and the end surface in the axial direction of the flange portion serve as a current-carrying surface with the electrode base.
  • the above-described plasma torch has a problem in that the structure of the electrode or the electrode pedestal is complicated in order to connect the base end side cylindrical portion and the inner peripheral surface of the electrode pedestal. Further, when the base end side cylinder portion and the electrode base are connected by a screw structure, a dedicated tool is required for attaching and detaching the electrodes. Furthermore, there is a problem in that the torch body of the plasma torch has to be replaced when the energizing surface between the base end side cylinder portion and the electrode base is damaged due to energization failure.
  • the problem of the present invention is that the electrode can be easily attached and detached without a dedicated tool, the structure of the electrode or the electrode base can be simplified, and the plasma does not require replacement of the torch body even if a current failure occurs.
  • the center pipe according to the first aspect of the present invention is used in a plasma torch for plasma cutting having a base portion and an electrode.
  • the center pipe is inserted into the electrode and supplies cooling water into the electrode.
  • the center pipe includes a pipe body and a contact.
  • the pipe body is electrically connected to a power source outside the plasma torch via the base portion.
  • the pipe body has a cooling water passage inside.
  • the pipe body is formed of a conductor.
  • the contact is provided on the outer peripheral surface of the pipe body, and energizes the electrode by contacting the inner peripheral surface of the electrode.
  • the contact has elasticity so as to generate a reaction force when pressed in the radial direction of the pipe body.
  • the contact is made of a conductor.
  • the contact is separate from the pipe body and may be attached to the outer peripheral surface of the pipe body.
  • the outer peripheral surface of the pipe body may have a recess to which a contact is attached.
  • the contact may have a first ring part, a second ring part, and a plurality of curved parts.
  • the second ring part may be arranged away from the first ring part in the axial direction of the contact.
  • the plurality of bending portions may connect the first ring portion and the second ring portion and bulge outward in the radial direction of the contact.
  • the contact may be provided between a plurality of curved portions and have a plurality of slits extending in the axial direction of the contact.
  • the contact according to the second aspect of the present invention is used in a plasma torch for plasma cutting having an electrode and a pipe body.
  • the pipe body is inserted into the electrode.
  • the pipe body has a cooling water passage for supplying cooling water into the electrode.
  • the contact includes a mounting portion and a contact portion.
  • the attachment portion is attached to the outer peripheral surface of the pipe body.
  • the contact portion contacts the inner peripheral surface of the electrode.
  • the contact portion may have elasticity so as to generate a reaction force when pressed in the radial direction of the contact.
  • the mounting part may have a first ring part and a second ring part.
  • the second ring part may be arranged away from the first ring part in the axial direction of the contact.
  • the contact portion may have a plurality of curved portions. The plurality of bending portions connect the first ring portion and the second ring portion, and bulge outward in the radial direction of the contact.
  • the contact portion may further have a plurality of slits.
  • the plurality of slits may be provided between the plurality of curved portions and may extend in the axial direction of the contact.
  • the electrode according to the third aspect of the present invention is used in a plasma torch for plasma cutting having a center pipe.
  • the center pipe has a cooling water passage inside.
  • the electrode includes an internal passage into which the center pipe is inserted. At least a part of the inner peripheral surface of the internal passage forms a first current-carrying surface.
  • the first energizing surface is in contact with the contact.
  • the contact is provided on the center pipe and has elasticity.
  • the base end surface of the electrode may include a second current-carrying surface.
  • the end face of the base end of the electrode may include the entrance of the internal passage.
  • the inner peripheral surface of the internal passage may include a tapered portion that expands in the radial direction toward the inlet of the internal passage.
  • the first current-carrying surface may be disposed adjacent to the tapered portion on the tip side of the tapered portion.
  • the electrode may include an electrode main body portion and a flange portion.
  • the electrode body portion may include the tip of the electrode.
  • the flange portion may include a base end of the electrode and have a larger outer diameter than the electrode main body portion.
  • the tapered portion may be shorter than the flange portion in the axial direction of the electrode.
  • the plasma torch according to the fourth aspect of the present invention includes the above-described center pipe and the above-described electrode.
  • the electrode is energized by the contact of the center pipe contacting the inner peripheral surface of the electrode. Therefore, the structure for connecting the base end side cylindrical portion of the electrode and the inner peripheral surface of the electrode base as described above becomes unnecessary. For this reason, the structure of an electrode or an electrode base can be simplified. Further, since the above-described screw structure is not necessary, the electrode can be easily attached and detached without a dedicated tool. Furthermore, it is not necessary to replace the torch main body even if energization failure occurs.
  • FIG. 22 is a sectional view taken along line AA in FIG. 21. It is a perspective view of a center pipe. It is a perspective view of a center pipe. It is sectional drawing of a center pipe. It is a perspective view of a pipe body. It is a perspective view of a contact. It is the figure which looked at the contactor from the axial direction.
  • FIG. 22 is a sectional view taken along line AA in FIG. 21.
  • FIG. 2 is an enlarged view of a replacement part unit in FIG. 1 and its surrounding configuration. It is sectional drawing different from FIG. 1 along the center axis line of the plasma torch.
  • FIG. 31 is an enlarged view of the replacement part unit in FIG. 30 and the surrounding configuration. It is sectional drawing along the center axis line of the plasma torch concerning a 2nd embodiment. It is sectional drawing of the replacement component unit which concerns on 2nd Embodiment. It is a perspective view of the replacement part unit which concerns on 2nd Embodiment. It is a perspective view of the replacement part unit which concerns on 2nd Embodiment. It is a perspective view of the replacement part unit which concerns on 2nd Embodiment. It is a perspective view of the nozzle which concerns on 2nd Embodiment. It is a perspective view of the nozzle which concerns on 2nd Embodiment. It is sectional drawing along the center axis line of the plasma torch concerning other embodiments.
  • FIG. 1 is a cross-sectional view taken along the central axis of the plasma torch 1a according to the first embodiment.
  • FIG. 2 is an exploded view of the plasma torch 1a.
  • the plasma torch 1a is a plasma torch 1a for oxygen plasma cutting.
  • the plasma torch 1a may be a plasma torch for plasma cutting using a gas not containing oxygen such as nitrogen or argon.
  • the plasma torch 1a includes a replacement part unit 2a, a torch body 3, a first retainer cap 4, and a second retainer cap 5.
  • the replacement part unit 2 a, the first retainer cap 4, and the second retainer cap 5 are disposed concentrically with the central axis of the torch body 3.
  • the replacement part unit 2 a is attached to the torch body 3.
  • the replacement part unit 2 a includes an electrode 6, an insulation guide 7, a nozzle 8, an insulation ring 9, and a shield cap 10.
  • the replacement part unit 2a will be described in detail later.
  • the torch body 3 is attached to the connection pipe 32 via a fixing ring 31.
  • the torch body 3 includes a base portion 33, an electrode pedestal 34, a center pipe 20, a nozzle pedestal 36, an insulating sleeve 37, and a holder 38.
  • the base portion 33, the electrode base 34, the center pipe 20, the nozzle base 36, the insulating sleeve 37, and the holder 38 are disposed concentrically with the central axis of the torch body 3.
  • the base portion 33 has a cylindrical shape.
  • the base part 33 is formed of a conductor.
  • the center pipe 20, the electrode pedestal 34, and the insulating sleeve 37 are inserted into the holes of the base portion 33.
  • the electrode base 34 has a circular tubular shape.
  • the electrode pedestal 34 is formed of a conductor.
  • the base portion 33 is electrically connected to a cable from a power source (not shown).
  • the center pipe 20 is inserted into the hole of the electrode base 34.
  • the center pipe 20 has a tubular shape.
  • the center pipe 20 is made of a conductor.
  • the tip of the center pipe 20 protrudes from the tip of the nozzle base 36.
  • the center pipe 20 will be described in detail later.
  • the insulating sleeve 37 has a tubular shape.
  • the insulating sleeve 37 is formed of an insulator. A part of the insulating sleeve 37 is disposed in the hole of the base portion 33.
  • the insulating sleeve 37 is located between the electrode base 34 and the nozzle base 36.
  • the nozzle pedestal 36 has a circular tubular shape.
  • the tip of the nozzle pedestal 36 has a tapered shape.
  • the nozzle base 36 is formed of an insulator.
  • a contact (not shown) that makes electrical contact with the nozzle is attached to the nozzle base 36. The contact is electrically connected to a cable from the power source.
  • the base portion 33 is inserted into the hole of the nozzle pedestal 36.
  • the insulating sleeve 37 is inserted into the hole of the nozzle base 36. The distal end portion of the insulating sleeve 37 protrudes from the base portion 33 and is disposed in the hole of the nozzle base 36.
  • the holder 38 has a circular tubular shape.
  • the holder 38 is attached to the connection pipe 32 by means such as adhesion.
  • the nozzle base 36 is inserted into the hole of the holder 38.
  • the tip of the nozzle base 36 protrudes from the holder 38.
  • the first retainer cap 4 has a cylindrical shape with a tapered tip.
  • the first retainer cap 4 is attached to the torch body 3 so as to cover the nozzle base 36.
  • the tip of the first retainer cap 4 has an opening 41 into which the shield cap 10 is inserted.
  • the holder 38 and the nozzle pedestal 36 are disposed in the first retainer cap 4.
  • a male screw portion 311 is provided on the outer peripheral surface of the holder 38.
  • a female screw portion 42 is provided on the inner peripheral surface of the base end portion of the first retainer cap 4.
  • the first retainer cap 4 is attached to the torch body 3 by the male screw portion 311 of the holder 38 being screwed into the female screw portion 42 of the first retainer cap 4.
  • the second retainer cap 5 has a cylindrical shape with a tapered tip.
  • the tip of the second retainer cap 5 has an opening 51 into which the shield cap 10 is inserted.
  • the second retainer cap 5 is attached to the first retainer cap 4 so as to cover the first retainer cap 4.
  • the first retainer cap 4 is disposed in the second retainer cap 5.
  • the first retainer cap 4 and the second retainer cap 5 hold and replace the replacement part unit 2a.
  • An O-ring R ⁇ b> 1 is disposed on the outer peripheral surface of the first retainer cap 4.
  • a male screw 401 is provided on the outer peripheral surface of the first retainer cap 4, and a female screw 501 is provided on the inner peripheral surface of the second retainer cap 5.
  • the second retainer cap 5 is attached to the first retainer cap 4 by the male screw 401 of the first retainer cap 4 and the female screw 501 of the second retainer cap 5 being screwed together.
  • FIG. 3 is a side view of the replacement part unit 2a.
  • FIG. 4 is a cross-sectional view taken along the central axis of the replacement part unit 2a.
  • the replacement part unit 2a is obtained by integrating the electrode 6, the insulating guide 7, the nozzle 8, the insulating ring 9, and the shield cap 10 by press-fitting.
  • the electrode 6, the insulating guide 7, the nozzle 8, the insulating ring 9, and the shield cap 10 are arranged concentrically with each other. Since the replacement part unit 2a is disposed concentrically with the central axis of the torch body 3, the axes of the electrode 6, the insulating guide 7, the nozzle 8, the insulating ring 9, and the shield cap 10 are different from those of the torch body 3. Match the central axis.
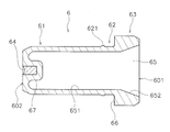
  • FIGS. 5 and 6 are perspective views of the electrode 6.
  • FIG. 7 is a cross-sectional view of the electrode 6.
  • the electrode 6 has a cylindrical shape.
  • the electrode 6 is made of a conductor.
  • the electrode 6 includes an electrode main body portion 61, a joint portion 62, and a flange portion 63.
  • the electrode body 61 includes the tip of the electrode 6.
  • a heat resistant insert 64 is embedded in the center of the tip surface 602 of the electrode 6.
  • the heat resistant insert 64 is made of, for example, hafnium.
  • an electrode material other than hafnium may be used as the heat resistant insert 64.
  • a part of the electrode main body 61 is disposed in the hole of the insulating guide 7.
  • the tip of the electrode main body 61 projects from the insulating guide 7.
  • the tip of the electrode main body 61 has a tapered shape.
  • the joint portion 62 is located on the proximal end side of the electrode main body portion 61.
  • the joint portion 62 is located between the electrode main body portion 61 and the flange portion 63 in the axial direction of the electrode 6.
  • the joining portion 62 is joined to the insulating guide 7 by press-fitting. Therefore, the joining portion 62 is joined to the insulating guide 7 so as to seal the fluid without an O-ring.
  • the outer peripheral surface of the joining portion 62 has an uneven shape that is locked to the inner peripheral surface of the insulating guide 7.
  • the joint portion 62 has a convex portion 621.
  • the convex part 621 protrudes from the outer peripheral surface of the joint part 62.
  • the convex part 621 extends in the circumferential direction of the joint part 62.
  • the flange part 63 is located on the proximal end side of the joint part 62.
  • the flange portion 63 includes the proximal end of the electrode 6.
  • the flange part 63 has a larger outer diameter than the joint part 62.
  • the flange portion 63 is longer than the joint portion 62 in the axial direction of the electrode 6.
  • the outer peripheral surface of the flange portion 63 extends in the axial direction of the electrode 6.
  • the outer peripheral surface of the flange part 63 has a flat shape without unevenness in a sectional view.
  • the proximal end portion of the outer peripheral surface of the flange portion 63 is chamfered.
  • a step portion 66 is provided between the flange portion 63 and the joint portion 62.
  • the step portion 66 is a surface perpendicular to the axial direction of the electrode 6.
  • the electrode 6 has an internal passage 65.
  • the center pipe 20 shown in FIG. 1 is inserted into the internal passage 65.
  • the proximal end surface 601 of the electrode 6 is provided with an inlet for the internal passage 65.
  • the internal passage 65 extends along the axial direction of the electrode 6 from the base end surface 601 of the electrode 6 toward the tip.
  • a convex portion 67 is provided on the end of the electrode 6 on the internal passage 65 side.
  • the heat-resistant insert 64 described above is disposed in the convex portion 67. In a state where the replacement part unit 2 a is attached to the torch body 3, a part of the convex portion 67 is disposed in the cooling water channel of the center pipe 20.
  • the inner peripheral surface of the internal passage 65 has a straight portion 651 and a tapered portion 652.
  • the straight line portion 651 extends parallel to the axial direction of the electrode 6.
  • the tapered portion 652 expands in the radial direction toward the inlet of the internal passage 65.
  • FIG. 10 is a cross-sectional view of the insulating guide 7.
  • the insulating guide 7 electrically insulates the electrode 6 and the nozzle 8 and connects the electrode 6 and the nozzle 8.
  • the insulating guide 7 positions the electrode 6 and the nozzle 8 with respect to each other in the axial direction and the radial direction.
  • the insulating guide 7 has a tubular shape.
  • the insulation guide 7 is formed of an insulator.
  • the insulating guide 7 has a hole 706 into which the electrode 6 is inserted.
  • the hole 706 of the insulating guide 7 passes through the insulating guide 7 in the axial direction of the insulating guide 7.
  • the insulating guide 7 is formed of a material having an elastic modulus smaller than that of ceramic.
  • the insulation guide 7 is made of resin such as engineer plastic.
  • the insulating guide 7 is made of a resin having a continuous use temperature of 100 ° C. or higher. Furthermore, it is preferable that continuous use temperature is 300 degrees C or less.
  • the insulating guide 7 may be formed of a material other than resin.
  • the inner peripheral surface of the insulating guide 7 has a first inner peripheral surface 71, an inner stepped portion 72, and a second inner peripheral surface 73.
  • the first inner peripheral surface 71 extends in the axial direction of the insulating guide 7 and reaches the distal end surface 701 of the insulating guide 7.
  • the first inner peripheral surface 71 has a larger inner diameter than the second inner peripheral surface 73.
  • the first inner peripheral surface 71 faces the outer peripheral surface of the electrode main body 61 with a gap.
  • the first inner peripheral surface 71 forms a gas passage between the outer peripheral surface of the electrode main body 61.
  • the inner diameter of the first inner peripheral surface 71 is substantially the same as the inner diameter of the nozzle 8. Therefore, the inner diameter of the gas passage between the first inner peripheral surface 71 and the electrode 6 is substantially the same as the inner diameter of the nozzle 8.
  • the inner stepped portion 72 is located on the proximal end side of the first inner peripheral surface 71.
  • the inner stepped portion 72 is located between the first inner peripheral surface 71 and the second inner peripheral surface 73 in the axial direction of the insulating guide 7.
  • the inner stepped portion 72 is inclined with respect to the axial direction of the insulating guide 7 so as to expand radially toward the distal end side.
  • a heat resistant coating 707 is formed on the first inner peripheral surface 71 and the inner stepped portion 72.
  • the heat resistant coating 707 is formed of a ceramic material.
  • the heat resistant coating 707 is formed of, for example, boron nitride.
  • the heat resistant coating 707 may be formed of a ceramic material other than boron nitride.
  • the heat resistant coating 707 may be formed of a heat resistant material other than a ceramic material.
  • the heat resistant coating 707 may be omitted.
  • the second inner peripheral surface 73 is located on the proximal end side of the inner stepped portion 72.
  • the second inner peripheral surface 73 extends in the axial direction of the insulating guide 7 and reaches the proximal end surface 702 of the insulating guide 7.
  • the second inner peripheral surface 73 has a first joint portion 74.
  • the first joint 74 is joined to the joint 62 of the electrode 6 by press fitting. Accordingly, the first joint 74 of the insulating guide 7 is joined to the electrode 6 so as to seal the fluid without an O-ring.
  • the first joint 74 of the insulating guide 7 is joined to the joint 62 of the electrode 6, whereby the electrode 6 and the insulating guide 7 are positioned relative to each other in the radial direction. Further, the base end surface 702 of the insulating guide 7 contacts the stepped portion 66 of the flange portion 63 of the electrode 6, whereby the electrode 6 and the insulating guide 7 are positioned with respect to each other in the axial direction.
  • the first joint portion 74 has an uneven shape that is locked to the outer peripheral surface of the electrode 6. Specifically, the first joint 74 has a convex portion 741. The convex portion 741 protrudes from the second inner peripheral surface 73. The convex portion 741 extends in the circumferential direction of the second inner peripheral surface 73. The convex portion 741 of the first joint portion 74 of the insulating guide 7 is engaged with the convex portion 621 of the joint portion 62 of the electrode 6. Thereby, the insulation guide 7 is firmly prevented from coming off from the electrode 6.
  • the outer peripheral surface of the insulating guide 7 has a first outer peripheral surface 75, a second outer peripheral surface 76, and a third outer peripheral surface 77.
  • the first outer peripheral surface 75 extends in the axial direction of the insulating guide 7 and reaches the distal end surface 701 of the insulating guide 7.
  • the first outer peripheral surface 75 is disposed in the first hole 811 of the nozzle 8.
  • the first outer peripheral surface 75 has a second joint portion 78.
  • the second joining portion 78 is joined to the inner peripheral surface of the nozzle 8 by press fitting. Accordingly, the second joint 78 of the insulating guide 7 is joined to the nozzle 8 so as to seal the fluid without an O-ring.
  • the second joint portion 78 of the insulating guide 7 has a concavo-convex shape that engages with the inner peripheral surface of the nozzle 8. Specifically, the second joint portion 78 of the insulating guide 7 has a convex portion 781.
  • the convex part 781 protrudes from the first outer peripheral surface 75.
  • the convex part 781 extends in the circumferential direction of the first outer peripheral surface 75.
  • the second outer peripheral surface 76 is located on the proximal end side of the first outer peripheral surface 75.
  • the second outer peripheral surface 76 extends in the axial direction of the insulating guide 7.
  • the second outer peripheral surface 76 has a flat shape with no irregularities in a cross-sectional view.
  • the second outer peripheral surface 76 is disposed between the first outer peripheral surface 75 and the third outer peripheral surface 77 in the axial direction of the insulating guide 7.
  • the second outer peripheral surface 76 is disposed outside the nozzle 8.
  • the second outer peripheral surface 76 has a smaller outer diameter than the first outer peripheral surface 75. In other words, the outer diameter of the first outer peripheral surface 75 is larger than the outer diameter of the second outer peripheral surface 76.
  • the first outer peripheral surface 75 is shorter than the second outer peripheral surface 76 in the axial direction of the insulating guide 7.
  • the third outer peripheral surface 77 is located on the proximal end side of the second outer peripheral surface 76.
  • the third outer peripheral surface 77 has a smaller outer diameter than the second outer peripheral surface 76.
  • the third outer peripheral surface 77 extends in the axial direction of the insulating guide 7 and reaches the proximal end surface 702 of the insulating guide 7.
  • the second outer peripheral surface 76 is longer than the third outer peripheral surface 77.
  • the third outer peripheral surface 77 is shorter than the second outer peripheral surface 76 in the axial direction of the insulating guide 7.
  • the third outer peripheral surface 77 is shorter than the first outer peripheral surface 75.
  • the outer peripheral surface of the insulating guide 7 has an outer stepped portion 79.
  • the outer stepped portion 79 is disposed between the second outer peripheral surface 76 and the third outer peripheral surface 77.
  • the outer stepped portion 79 is a surface perpendicular to the axial direction of the insulating guide 7.
  • FIG. 11 is a view of the insulating guide 7 as seen from the base end side.
  • the insulating guide 7 has a plurality of communication paths 703.
  • the insulating guide 7 has six communication paths 703.
  • the number of communication paths 703 is not limited to six, and may be less than six or more than six.
  • FIG. 12 shows a cross section of the insulating guide 7 including the axis of one communication path 703.
  • the communication path 703 communicates the outside of the insulating guide 7 with the inside of the hole 706 of the insulating guide 7.
  • the communication passage 703 communicates the outside of the insulation guide 7 and the gas passage in the insulation guide 7.
  • the communication path 703 extends in a direction inclined with respect to the axial direction.
  • the communication path 703 is inclined so as to approach the axis of the insulating guide 7 toward the tip of the insulating guide 7.
  • the inclination angle of the communication path 703 with respect to the axial direction of the insulating guide 7 is preferably 30 degrees or more and 60 degrees or less.
  • the inclination angle of the communication path 703 with respect to the axial direction of the insulating guide 7 is 45 degrees.
  • the communication path 703 is connected to the inner stepped portion 72.
  • the other end of the communication path 703 is connected to the outer stepped portion 79.
  • the communication path 703 is connected to the outer peripheral surface of the insulation guide 7 at a position closer to the base end side than the center in the axial direction of the insulation guide 7.
  • the communication path 703 includes a first communication path 704 and a second communication path 705. Have.
  • the first communication path 704 has a larger flow path cross section than the second communication path 705.
  • the first communication path 704 is connected to the outer stepped portion 79.
  • the first communication path 704 communicates with the outside of the insulating guide 7.
  • the second communication path 705 is connected to the inner stepped portion 72.
  • the second communication passage 705 communicates with the gas passage in the insulating guide 7.
  • FIG. 12 only one communication path 703 is shown, but the other communication paths 703 have the same structure as the communication path 703 in FIG.
  • the plurality of communication paths 703 are inclined with respect to the circumferential direction and the radial direction. All the communication paths 703 are inclined in the same direction with respect to the circumferential direction. All the communication paths 703 are inclined in the same direction with respect to the radial direction. Thereby, the gas blown out from the communication path 703 becomes a swirling flow.
  • the plurality of communication paths 703 are arranged at equal intervals in the circumferential direction of the insulating guide 7. When viewed from the axial direction of the insulating guide 7, the axis of the communication path 703 is parallel to the axis of the communication path 703 and is separated from the straight line passing through the center of the insulating guide 7 by a predetermined distance.
  • FIG. 15 is a cross-sectional view of the nozzle 8.
  • the nozzle 8 has a cylindrical shape having a tapered tip portion.
  • the nozzle 8 has a hole 811 into which the insulating guide 7 is inserted, and is joined to the insulating guide 7 by press-fitting.
  • the nozzle 8 includes a first nozzle portion 81, a second nozzle portion 82, and a third nozzle portion 83.
  • the first nozzle portion 81 includes the base end of the nozzle 8.
  • the first nozzle portion 81 has a first hole 811.
  • the second nozzle part 82 is located on the tip side of the first nozzle part 81.
  • the second nozzle part 82 is located between the first nozzle part 81 and the third nozzle part 83 in the axial direction of the nozzle 8. In the axial direction of the nozzle 8, the second nozzle portion 82 is longer than the first nozzle portion 81.
  • the second nozzle part 82 has a second hole 821 communicating with the first hole 811.
  • the second hole 821 has a smaller inner diameter than the first hole 811. Therefore, an inner step 84 is provided between the inner peripheral surface 812 of the first nozzle portion 81 and the inner peripheral surface 822 of the second nozzle portion 82.
  • the inner stepped portion 84 is a surface perpendicular to the axial direction of the nozzle 8.
  • the outer diameter of the second nozzle part 82 is the same as the outer diameter of the first nozzle part 81. Therefore, the outer peripheral surface 823 of the second nozzle portion 82 is flush with the outer peripheral surface 813 of the first nozzle portion 81.
  • the base end of the outer peripheral surface 813 of the first nozzle portion 81 is chamfered.
  • the second nozzle portion 82 has a larger radial thickness than the first nozzle portion 81.
  • the third nozzle portion 83 includes the tip of the nozzle 8.
  • the third nozzle portion 83 is located on the tip side of the second nozzle portion 82.
  • the third nozzle portion 83 has an injection hole 831.
  • the injection hole 831 has an inner diameter smaller than that of the second hole 821.
  • the injection hole 831 extends in the axial direction of the nozzle 8 and reaches the tip end surface 801 of the nozzle 8. In the axial direction of the nozzle 8, the first hole 811 described above is shorter than the injection hole 831.
  • the injection hole 831 communicates with the second hole 821 through the tapered hole 832.
  • the tapered hole 832 is located between the injection hole 831 and the second hole 821 in the axial direction of the nozzle 8, and connects the injection hole 831 and the second hole 821.
  • the tapered hole 832 decreases in the radial direction toward the tip of the nozzle 8.
  • the outer peripheral surface of the nozzle 8 has a first outer peripheral surface 85, a second outer peripheral surface 86, and a third outer peripheral surface 87.
  • the first outer peripheral surface 85 reaches the base end surface 802 of the nozzle 8.
  • the first outer peripheral surface 85 includes an outer peripheral surface 813 of the first nozzle portion 81 and an outer peripheral surface 823 of the second nozzle portion 82.
  • the first outer peripheral surface 85 has a linear shape extending in the axial direction of the nozzle 8 in a sectional view. In other words, the first outer peripheral surface 85 has a flat shape without unevenness in a cross-sectional view.
  • the second outer peripheral surface 86 is located on the front end side of the first outer peripheral surface 85.
  • the second outer peripheral surface 86 is located between the first outer peripheral surface 85 and the third outer peripheral surface 87 in the axial direction of the nozzle 8.
  • the second outer peripheral surface 86 has a smaller outer diameter than the first outer peripheral surface 85. Therefore, an outer step 88 is provided between the first outer peripheral surface 85 and the second outer peripheral surface 86.
  • the outer stepped portion 88 is a surface perpendicular to the axial direction of the nozzle 8.
  • the third outer peripheral surface 87 is located on the distal end side of the second outer peripheral surface 86.
  • the third outer peripheral surface 87 reaches the tip surface 801 of the nozzle 8.
  • the third outer peripheral surface 87 is inclined so as to decrease in the radial direction toward the tip.
  • the insulating guide 7 is inserted into the first hole 811 of the first nozzle portion 81.
  • the electrode 6 is inserted into the second hole 821 of the second nozzle portion 82.
  • the inner peripheral surface 822 of the second nozzle portion 82 faces the electrode main body portion 61 with a gap therebetween.
  • the tip of the electrode 6 faces the tapered hole 832 of the third nozzle portion 83.
  • the first nozzle portion 81 is joined to the insulating guide 7. Specifically, the second joint portion 78 of the insulating guide 7 is inserted into the first hole 811, and the first nozzle portion 81 is joined to the second joint portion 78 of the insulating guide 7 by press-fitting. Thereby, the inner peripheral surface 812 of the first nozzle portion 81 is joined to the insulating guide 7 so as to seal the fluid without an O-ring.
  • the nozzle 8 and the insulating guide 7 are positioned relative to each other in the radial direction. Further, the tip surface 701 of the insulating guide 7 contacts the inner stepped portion 84 of the nozzle 8, whereby the nozzle 8 and the insulating guide 7 are positioned with respect to each other in the axial direction.
  • the inner peripheral surface 812 of the first nozzle portion 81 has an uneven shape that is locked to the outer peripheral surface of the insulating guide 7. Specifically, the inner peripheral surface 812 of the first nozzle portion 81 has a convex portion 814. The convex portion 814 of the first nozzle portion 81 is engaged with the convex portion 781 of the second joint portion 78 of the insulating guide 7. Thereby, the nozzle 8 is prevented from coming off from the insulating guide 7.
  • the second outer peripheral surface 86 has an uneven shape that is locked to the inner peripheral surface of the insulating ring 9. Specifically, the second outer peripheral surface 86 has a convex portion 861.
  • FIGS. 16 and 17 are perspective views of the insulating ring 9.
  • FIG. 18 is a cross-sectional view of the insulating ring 9. As shown in FIGS. 16 to 18, the insulating ring 9 has a hole 903 into which the nozzle 8 is inserted.
  • the inner peripheral surface 91 of the insulating ring 9 has a convex portion 911.
  • the outer peripheral surface 92 of the insulating ring 9 has a convex portion 921.
  • the insulating ring 9 has a flange portion 93.
  • the flange portion 93 protrudes from the outer peripheral surface 92 of the insulating ring 9. Therefore, a step portion 94 is provided between the outer peripheral surface 92 of the insulating ring 9 and the flange portion 93.
  • the step portion 94 is a surface perpendicular to the axial direction of the insulating ring 9.
  • the insulating ring 9 is joined to the nozzle 8 by press-fitting. Specifically, the inner peripheral surface 91 of the insulating ring 9 is joined to the second outer peripheral surface 86 of the nozzle 8 by press-fitting. When the inner peripheral surface 91 of the insulating ring 9 is joined to the second outer peripheral surface 86 of the nozzle 8, the insulating ring 9 and the nozzle 8 are positioned relative to each other in the radial direction.
  • the insulating ring 9 and the nozzle 8 are positioned relative to each other in the axial direction.
  • the convex portion 911 of the inner peripheral surface 91 of the insulating ring 9 is engaged with the convex portion 861 of the second outer peripheral surface 86 of the nozzle 8. Thereby, the insulating ring 9 is firmly prevented from coming off from the nozzle 8.
  • FIGS. 19 and 20 are perspective views of the shield cap 10.
  • FIG. 21 is a cross-sectional view of the shield cap 10. As shown in FIGS. 19 to 21, the shield cap 10 has a hole 103. The nozzle 8 is inserted into the hole 103 of the shield cap 10. The shield cap 10 has an injection hole 104. The injection hole 104 communicates with the hole 103 and penetrates the distal end surface 101 of the shield cap 10 in the axial direction.
  • the shield cap 10 has a first inner peripheral surface 11 and a second inner peripheral surface 12.
  • the first inner peripheral surface 11 extends in the axial direction of the shield cap 10 and reaches the proximal end surface 102 of the shield cap 10.
  • the first inner peripheral surface 11 has a convex portion 111.
  • the second inner peripheral surface 12 is located on the tip side of the first inner peripheral surface 11.
  • the second inner peripheral surface 12 is inclined so as to decrease in the radial direction toward the tip.
  • the shield cap 10 has a first outer peripheral surface 13, a flange portion 14, a second outer peripheral surface 15, and a third outer peripheral surface 16.
  • the first outer peripheral surface 13 extends in the axial direction of the shield cap 10 and reaches the proximal end surface 102 of the shield cap 10.
  • the flange portion 14 is located on the distal end side of the first outer peripheral surface 13.
  • the flange portion 14 is located between the first outer peripheral surface 13 and the second outer peripheral surface 15 in the axial direction of the shield cap 10.
  • the flange portion 14 protrudes from the first outer peripheral surface 13.
  • the flange portion 14 protrudes from the second outer peripheral surface 15.
  • An outer stepped portion 17 is provided between the flange portion 14 and the second outer peripheral surface 15.
  • the outer stepped portion 17 is a surface perpendicular to the axial direction of the shield cap 10.
  • the outer diameter of the flange portion 14 is larger than the diameter of the opening 41 of the first retainer cap 4.
  • the outer diameter of the flange portion 14 is larger than the diameter of the opening 51 of the second retainer cap 5.
  • the second outer peripheral surface 15 is located on the front end side of the flange portion 14.
  • the second outer peripheral surface 15 has a smaller outer diameter than the first outer peripheral surface 13.
  • the second outer peripheral surface 15 extends in the axial direction of the shield cap 10.
  • the third outer peripheral surface 16 is located on the distal end side of the second outer peripheral surface 15.
  • the third outer peripheral surface 16 reaches the front end surface 101 of the shield cap 10.
  • the third outer peripheral surface 16 is inclined with respect to the axial direction of the shield cap 10 so as to decrease in the radial direction toward the tip.
  • FIG. 22 is a cross-sectional view taken along the line AA in FIG.
  • the shield cap 10 has a plurality of communication paths 105.
  • the communication path 105 communicates the outside of the shield cap 10 and the inside of the hole 103 of the shield cap 10.
  • One end of the communication path 105 reaches the first outer peripheral surface 13.
  • the other end of the communication path 105 reaches the first inner peripheral surface 11.
  • the communication path 105 is arranged at equal intervals in the circumferential direction of the shield cap 10.
  • the axis of the communication path 105 is parallel to the axis of the communication path 105 and is separated from a straight line passing through the center of the insulating guide 7 by a predetermined distance.
  • All the communication paths 105 are inclined in the same direction with respect to the circumferential direction.
  • All the communication paths 105 are inclined in the same direction with respect to the radial direction. Thereby, the gas blown out from the communication path 105 becomes a swirling flow.
  • the shield cap 10 is joined to the insulating ring 9 by press-fitting. Specifically, the first inner peripheral surface 11 of the shield cap 10 is joined to the outer peripheral surface 92 of the insulating ring 9 by press-fitting. The convex portion 111 of the first inner peripheral surface 11 of the shield cap 10 is engaged with the convex portion 921 of the outer peripheral surface 92 of the insulating ring 9. As a result, the shield cap 10 is firmly retained from the insulating ring 9.
  • the shield cap 10 and the insulating ring 9 are positioned relative to each other in the radial direction. Thereby, the injection hole 104 of the shield cap 10 and the injection hole 831 of the nozzle 8 are arrange
  • the shield cap 10 and the insulating ring 9 are positioned relative to each other in the axial direction.
  • the shield cap 10 is disposed with a gap with respect to the nozzle 8.
  • the second inner peripheral surface 12 of the shield cap 10 is disposed with a gap from the third outer peripheral surface 87 of the nozzle 8.
  • a gas passage which will be described later is formed between the shield cap 10 and the nozzle 8.
  • the communication path 105 of the shield cap 10 is located on the tip side of the tip of the insulating ring 9.
  • the communication path 105 of the shield cap 10 communicates with a gas path between the shield cap 10 and the nozzle 8.
  • FIG. 23 and 24 are perspective views of the center pipe 20.
  • FIG. 25 is a sectional view of the center pipe 20.
  • the center pipe 20 is inserted into the internal passage 65 of the electrode 6 and supplies cooling water into the electrode 6.
  • the center pipe 20 is made of a conductor.
  • the center pipe 20 has a pipe body 21 and a contact 22.
  • FIG. 26 is a perspective view of the pipe body 21.
  • FIG. 27 is a perspective view of the contact 22.
  • the pipe body 21 has a tubular shape.
  • the pipe body 21 is formed of a conductor.
  • the outer peripheral surface of the pipe body 21 includes a flange portion 23, a first outer peripheral surface 24, a second outer peripheral surface 25, and a third outer peripheral surface 26.
  • the flange portion 23 includes the proximal end of the pipe body 21.
  • the flange portion 23 protrudes from the first outer peripheral surface 24. Therefore, a step portion 27 is provided between the flange portion 23 and the first outer peripheral surface 24.
  • the step portion 27 is a surface perpendicular to the axial direction of the pipe body 21.
  • 1st outer peripheral surface 24 is located in the front end side of the flange part 23.
  • FIG. The first outer peripheral surface 24 is located between the flange portion 23 and the second outer peripheral surface 25 in the axial direction of the pipe body 21.
  • the first outer peripheral surface 24 extends in the axial direction of the pipe body 21.
  • the second outer peripheral surface 25 is located on the front end side of the first outer peripheral surface 24.
  • the second outer peripheral surface 25 is located between the first outer peripheral surface 24 and the third outer peripheral surface 26 in the axial direction of the pipe body 21.
  • the second outer peripheral surface 25 extends in the axial direction of the pipe body 21. In the axial direction of the pipe body 21, the second outer peripheral surface 25 is shorter than the first outer peripheral surface 24.
  • the second outer peripheral surface 25 has a smaller outer diameter than the first outer peripheral surface 24.
  • the third outer peripheral surface 26 is located on the front end side of the second outer peripheral surface 25.
  • the third outer peripheral surface 26 includes the tip of the pipe body 21.
  • the third outer peripheral surface 26 extends in the axial direction of the pipe body 21.
  • the third outer peripheral surface 26 is longer than the first outer peripheral surface 24 in the axial direction of the pipe body 21.
  • the third outer peripheral surface 26 has a smaller outer diameter than the second outer peripheral surface 25.
  • a concave portion 261 is provided at an intermediate portion of the third outer peripheral surface 26 in the axial direction.
  • the contact 22 is attached to the recess 261.
  • the pipe body 21 has a cooling water passage inside.
  • the cooling water passage passes through the pipe body 21 in the axial direction.
  • the cooling water passage includes a first passage 211, a second passage 212, and a third passage 231.
  • the first passage 211 reaches the proximal end surface 201 of the pipe body 21.
  • path 211 inclines with respect to the axial direction of the pipe main body 21 so that it may become small to radial direction toward a front-end
  • the second passage 212 is located on the tip side of the first passage 211.
  • the second passage 212 is located between the first passage 211 and the third passage 231 in the axial direction of the pipe body 21.
  • the second passage 212 is longer than the third passage 231 in the axial direction of the pipe body 21.
  • the second passage 212 extends in the axial direction of the pipe body 21.
  • the third passage 231 is located on the front end side of the second passage 212.
  • the third passage 231 reaches the distal end surface 202 of the pipe body 21.
  • the third passage 231 has a larger inner diameter than the second passage 212.
  • the convex portion 67 of the electrode 6 described above is arranged in the third passage 231.
  • the contact 22 is a separate body from the pipe body 21.
  • the contact 22 is made of a conductor.
  • the contact 22 is detachably attached to the pipe body 21.
  • the contact 22 is attached to the outer peripheral surface of the pipe body 21. Specifically, the contact 22 is attached to the pipe body 21 by being fitted into the recess 261 of the third outer peripheral surface 26 of the pipe body 21.
  • the contact 22 has an attachment portion 28 and a contact portion 29.
  • the attachment portion 28 is attached to the outer peripheral surface of the pipe body 21.
  • the attachment portion 28 has a first ring portion 281 and a second ring portion 282.
  • the second ring portion 282 is disposed away from the first ring portion 281 in the axial direction of the contact 22.
  • the first ring part 281 and the second ring part 282 are fitted into the recesses 261 of the pipe body 21, respectively.
  • the contact portion 29 contacts the inner peripheral surface of the electrode 6.
  • the contact portion 29 has elasticity so as to generate a reaction force when pressed in the radial direction of the contact 22.
  • the contact portion 29 has a plurality of curved portions 291.
  • the bending portion 291 connects the first ring portion 281 and the second ring portion 282.
  • the curved portion 291 has a plate shape that bulges outward in the radial direction of the contact 22.
  • the contact part 29 has a plurality of slits 292.
  • the slit 292 is provided between the plurality of curved portions 291 and extends in the axial direction of the contact 22. In the drawing, only a part of the slit 292 is denoted by reference numeral 292 and the other slits 292 are omitted.
  • FIG. 28 is a view of the contact 22 as viewed from the axial direction.
  • the plurality of bending portions 291 are arranged at equal intervals in the circumferential direction of the contact 22.
  • the plurality of slits 292 are arranged at equal intervals in the circumferential direction of the contact 22.
  • the contact 22 has eight curved portions 291 and eight slits 292.
  • the number of contacts 22 is not limited to eight, and may be less than eight or more than eight.
  • the number of slits 292 is not limited to eight, and may be less than eight or more than eight.
  • the flange portion 23 of the center pipe 20 is disposed between the base end surface 341 of the electrode base 34 and the bottom surface 331 of the hole of the base portion 33.
  • the flange portion 23 is in contact with the proximal end surface 341 of the electrode base 34.
  • the center pipe 20 and the electrode base 34 are electrically connected.
  • the center pipe 20 is positioned in the radial direction and the axial direction.
  • FIG. 29 is an enlarged view of the replacement part unit 2a in FIG. 1 and the surrounding configuration.
  • the contact 22 of the center pipe 20 is in contact with the inner peripheral surface of the electrode 6.
  • the contact 22 is elastically deformed radially inward by being inserted into the internal passage 65 of the electrode 6.
  • the contact 22 is pressed against the inner peripheral surface of the electrode 6 by a reaction force of elastic deformation.
  • the center pipe 20 is electrically connected to the electrode base 34. Accordingly, the contact 22 energizes the electrode 6 by contacting the inner peripheral surface of the electrode 6.
  • the electrode 6 has a first energizing surface 603 and a second energizing surface 601.
  • the first energization surface 603 is a portion in contact with the contact 22 on the inner peripheral surface of the internal passage 65.
  • the electrode 6 is electrically connected to the electrode pedestal 34 via the center pipe 20 and the first energization surface 603.
  • the first current-carrying surface 603 is disposed adjacent to the tapered portion 652 on the distal end side of the tapered portion 652.
  • the 1st electricity supply surface 603 is located in the cooling water channel
  • the second energizing surface 601 is the base end surface 601 of the electrode 6.
  • the second energizing surface 601 is in contact with the tip surface 342 of the electrode pedestal 34.
  • the electrode 6 is electrically connected to the electrode pedestal 34 via the second energization surface 601.
  • the 2nd electricity supply surface 601 is adjacent to the cooling water channel
  • FIG. 1 Solid arrows indicate the flow of cooling water.
  • a cooling water supply pipe 45 is connected to the base portion 33.
  • the cooling water supply pipe 45 is connected to the second cooling water passage W ⁇ b> 2 in the nozzle pedestal 36 via the first cooling water passage W ⁇ b> 1 in the base portion 33.
  • the first cooling water passage W ⁇ b> 1 extends from the base end surface of the base portion 33 toward the outer peripheral surface of the base portion 33.
  • the second cooling water passage W ⁇ b> 2 extends from the inner peripheral surface of the nozzle pedestal 36 toward the tip of the nozzle pedestal 36.
  • the second cooling water passage W2 is connected to the third cooling water passage W3.
  • the third cooling water passage W3 is an annular passage surrounded by the nozzle base 36, the first retainer cap 4, and the replacement part unit 2a.
  • a gap is provided between the distal end surface 371 of the insulating sleeve 37 and the proximal end surface 802 of the nozzle 8, and this gap constitutes a part of the third cooling water passage W3. Yes. Accordingly, the base end surface 802 of the nozzle 8 is disposed in the third cooling water passage W3. Further, the gap between the distal end surface 371 of the insulating sleeve 37 and the proximal end surface 802 of the nozzle 8 reaches the second outer peripheral surface 76 of the insulating guide 7. Accordingly, a part of the second outer peripheral surface 76 of the insulating guide 7 is disposed in the third cooling water passage W3.
  • the third cooling water passage W3 includes a fourth cooling water passage W4 in the nozzle pedestal 36, a fifth cooling water passage W5 between the nozzle pedestal 36 and the insulating sleeve 37, and the insulating sleeve 37.
  • the sixth cooling water passage W6 and the seventh cooling water passage W7 in the electrode base 34 are connected to the eighth cooling water passage W8.
  • the fourth cooling water passage W4 extends from the tip of the nozzle base 36 toward the inner peripheral surface of the nozzle base 36.
  • the fifth cooling water passage W5 is an annular passage provided between the nozzle base 36 and the insulating sleeve 37.
  • the sixth cooling water passage W ⁇ b> 6 is a plurality of passages extending in the radial direction from the outer peripheral surface of the insulating sleeve 37 toward the inner peripheral surface of the insulating sleeve 37.
  • the seventh cooling water passage W ⁇ b> 7 is a plurality of passages extending in the radial direction from the outer peripheral surface of the electrode base 34 toward the inner peripheral surface of the electrode base 34.
  • the eighth cooling water passage W8 is a passage between the electrode pedestal 34 and the center pipe 20.
  • the eighth cooling water passage W8 is connected to a ninth cooling water passage W9 between the electrode 6 and the center pipe 20.
  • the ninth cooling water passage W9 communicates with the tenth cooling water passage W10 in the center pipe 20 at the tip of the center pipe 20.
  • the tenth cooling water passage W ⁇ b> 10 is connected to the cooling water discharge pipe 46 via the eleventh cooling water passage W ⁇ b> 11 in the base portion 33.
  • the cooling water is supplied from the cooling water supply source through the cooling water supply pipe 45, the first cooling water passage W1 in the base portion 33, the second cooling water passage W2 in the nozzle base 36, and the third cooling water passage W3. To be supplied.
  • the cooling water flows from the third cooling water passage W3 to the fourth cooling water passage W4 in the nozzle pedestal 36, the fifth cooling water passage W5 between the nozzle pedestal 36 and the insulating sleeve 37, and the sixth cooling water in the insulating sleeve 37.
  • Through the passage W6 and the seventh cooling water passage W7 in the electrode pedestal 34 it is supplied to the eighth cooling water passage W8 between the electrode pedestal 34 and the center pipe 20.
  • the cooling water flows from the eighth cooling water passage W8 to the ninth cooling water passage W9 between the electrode 6 and the center pipe 20, the tenth cooling water passage W10 in the center pipe 20, and the eleventh cooling water in the base portion 33. It is discharged to the outside of the plasma torch 1a through the passage W11 and the cooling water discharge pipe 46.
  • the plasma gas path of the plasma torch 1a will be described.
  • the plasma gas is oxygen gas.
  • other gases such as argon or nitrogen may be used.
  • 30 is a cross-sectional view different from FIG. 1 along the central axis of the plasma torch 1a.
  • broken arrows indicate the flow of plasma gas.
  • the broken line arrows in FIG. 30 indicate the flow of the main gas.
  • broken arrows indicate the flow of assist gas.
  • a main gas supply pipe 47 is connected to the base portion 33.
  • the main gas supply pipe 47 is connected to the second main gas passage MG ⁇ b> 2 between the base portion 33 and the insulating sleeve 37 via the first main gas passage MG ⁇ b> 1 in the base portion 33.
  • the first main gas passage MG1 extends in the axial direction from the base end surface of the base portion 33 toward the step portion 332 on the inner peripheral surface of the base portion 33.
  • the second main gas passage MG ⁇ b> 2 is an annular passage formed between the step portion 332 on the inner peripheral surface of the base portion 33 and the step portion 372 on the outer peripheral surface of the insulating sleeve 37.
  • the second main gas passage MG2 is connected to the fourth main gas passage MG4 via the third main gas passage MG3 in the insulating sleeve 37.
  • the third main gas passage MG ⁇ b> 3 extends in the axial direction from a step 372 on the outer peripheral surface of the insulating sleeve 37.
  • the fourth main gas passage MG4 is an annular passage between the insulating sleeve 37 and the replacement part unit 2a.
  • FIG. 31 is an enlarged view of the replacement part unit 2a in FIG. 30 and the surrounding configuration.
  • the fourth main gas passage MG ⁇ b> 4 is configured by the inner peripheral surface of the insulating sleeve 37, the outer peripheral surface of the insulating guide 7, and the outer peripheral surface of the electrode 6.
  • a step portion 373 is provided on the inner peripheral surface of the insulating sleeve 37.
  • the step portion 373 is a surface perpendicular to the axial direction of the insulating sleeve 37.
  • the outer stepped portion 79 of the insulating guide 7 is disposed with a gap from the stepped portion 373 on the inner peripheral surface of the insulating sleeve 37.
  • the fourth main gas passage MG ⁇ b> 4 passes through a gap between the outer stepped portion 79 of the insulating guide 7 and the stepped portion 373 on the inner peripheral surface of the insulating sleeve 37.
  • the fourth main gas passage MG4 is sealed by the O-ring R2 with respect to the above-described third cooling water passage W3.
  • the O-ring R ⁇ b> 2 is fitted into a recess 374 provided on the inner peripheral surface of the insulating sleeve 37.
  • the O-ring R ⁇ b> 2 is in contact with a part of the second outer peripheral surface 76 of the insulating guide 7. That is, the second outer peripheral surface 76 of the insulating guide 7 has a seal surface 761 that comes into contact with the O-ring.
  • a portion of the second outer peripheral surface 76 on the tip side of the seal surface 761 is disposed in the third cooling water passage W3.
  • a portion of the second outer peripheral surface 76 that is proximal to the seal surface 761 is disposed in the fourth main gas passage MG4. Similarly to the second outer peripheral surface 76, the third outer peripheral surface 77 is also disposed in the fourth main gas passage MG4.
  • the fourth main gas passage MG4 is sealed by the O-ring R3 with respect to the sixth cooling water passage W6 and the seventh cooling water passage W7 described above.
  • the O-ring R3 is fitted in a recess 375 provided on the inner peripheral surface of the insulating sleeve 37.
  • the O-ring R3 is in contact with a part of the outer peripheral surface of the flange portion 63 of the electrode 6. That is, the outer peripheral surface of the flange portion 63 has a seal surface 631 that comes into contact with the O-ring R3.
  • a portion of the outer peripheral surface of the flange portion 63 on the tip side of the seal surface 631 is disposed in the fourth main gas passage MG4.
  • the fourth main gas passage MG4 is connected to the fifth main gas passage MG5 between the insulating guide 7 and the electrode 6 through the plurality of communication passages 703 of the insulating guide 7.
  • the fifth main gas passage MG5 is an annular passage between the inner peripheral surface of the insulating guide 7 and the outer peripheral surface of the electrode 6.
  • the fifth main gas passage MG5 is connected to a sixth main gas passage MG6 between the nozzle 8 and the electrode 6.
  • the inner diameter of the fifth main gas passage MG5 is the same as the inner diameter of the sixth main gas passage MG6.
  • the sixth main gas passage MG6 communicates with the injection hole 831 of the nozzle 8.
  • the main gas is supplied from the main gas supply source, the first main gas passage MG1 in the base portion 33, the second main gas passage MG2 between the base portion 33 and the insulating sleeve 37, and the third main gas in the insulating sleeve 37. It flows through the passage MG3 to the fourth main gas passage MG4 between the insulating sleeve 37 and the replacement part unit 2a.
  • the main gas passes through the communication passage 703 from the fourth main gas passage MG4 to become a swirling flow, and is ejected to the fifth main gas passage MG5.
  • the main gas that has become a swirling flow passes through the sixth main gas passage MG6 and is ejected from the injection hole 831 of the nozzle 8.
  • an assist gas supply pipe 48 is connected to the base portion 33.
  • the assist gas supply pipe 48 is connected to the second assist gas passage AG2 in the nozzle base 36 via the first assist gas passage AG1 in the base portion 33.
  • the first assist gas passage AG ⁇ b> 1 extends from the base end surface of the base portion 33 toward the outer peripheral surface of the base portion 33.
  • the second assist gas passage AG ⁇ b> 2 extends from the inner peripheral surface of the nozzle base 36 toward the outer peripheral surface of the nozzle base 36.
  • the second assist gas passage AG2 is connected to a fourth assist gas passage AG4 between the holder 38 and the second retainer cap 5 via a third assist gas passage AG3 in the holder 38.
  • the third assist gas passage AG3 extends from the inner peripheral surface of the holder 38 toward the outer peripheral surface.
  • the fourth assist gas passage AG ⁇ b> 4 is an annular passage between the outer peripheral surface of the holder 38 and the inner peripheral surface of the second retainer cap 5.
  • the fourth assist gas passage AG4 is connected to the sixth assist gas passage AG6 between the first retainer cap 4 and the second retainer cap 5 via the fifth assist gas passage AG5 in the second retainer cap 5.
  • the fifth assist gas passage AG5 is a plurality of passages extending from the inner peripheral surface of the second retainer cap 5 toward the outer peripheral surface.
  • the sixth assist gas passage AG6 is an annular passage between the inner peripheral surface of the first retainer cap 4 and the outer peripheral surface of the second retainer cap 5.
  • the sixth assist gas passage AG6 is connected to the seventh assist gas passage AG7 between the nozzle 8 and the shield cap 10 through the plurality of communication passages 105 of the shield cap 10. As shown in FIG.
  • the seventh assist gas passage AG7 communicates with the injection hole 831 of the nozzle 8 and the injection hole 104 of the shield cap 10.
  • the sixth assist gas passage AG6 is sealed by the O-ring R4 with respect to the above-described third cooling water passage W3.
  • the O-ring R4 is fitted into a recess 44 provided at the tip of the inner peripheral surface of the first retainer cap 4.
  • the O-ring R4 is in contact with the first outer peripheral surface 13 of the shield cap 10. That is, the first outer peripheral surface 13 of the shield cap 10 has the seal surface 131 that comes into contact with the O-ring R4.
  • the insulating ring 9 is joined to the nozzle 8 by press-fitting.
  • the insulating ring 9 is joined to the shield cap 10 by press fitting.
  • the seventh assist gas passage AG7 is sealed by the insulating ring 9 with respect to the third cooling water passage W3 described above.
  • the assist gas is supplied from the assist gas supply source by the first assist gas passage AG1 in the base portion 33, the second assist gas passage AG2 in the nozzle base 36, the third assist gas passage AG3 in the holder 38, the holder 38 and the first gas.
  • 6th assist between the 1st retainer cap 4 and the 2nd retainer cap 5 through 4th assist gas passage AG4 between 2 retainer caps 5 and 5th assist gas passage AG5 in 2nd retainer caps 5 It flows into the gas passage AG6.
  • the assist gas becomes a swirl flow by passing through the communication path 105 from the sixth assist gas path AG6 and is ejected to the seventh assist gas path AG7.
  • the assist gas that has become a swirling flow passes through the seventh assist gas passage AG7 and is ejected from the injection hole 104 of the shield cap 10 together with the main gas.
  • the replacement part unit 2a is a consumable item. For this reason, the replacement part unit 2a is detachably attached to the torch main body 3, and is replaced with a new one when the wear has progressed to the extent that replacement is necessary.
  • the stepped portion 17 of the shield cap 10 is pressed in the axial direction by the edge portion of the opening 51 of the second retainer cap 5.
  • the flange portion 14 of the shield cap 10 is sandwiched between the edge portion of the opening 41 of the first retainer cap 4 and the edge portion of the opening 51 of the second retainer cap 5. Thereby, the replacement part unit 2a is fixed. Therefore, when replacing the replacement part unit 2a, first, the second retainer cap 5 is removed.
  • the replacement part unit 2a In the state where the second retainer cap 5 is removed, the replacement part unit 2a is held by the elastic force of the O-rings R2, R3, and R4. Accordingly, by pulling out the replacement part unit 2a from the opening 41 of the first retainer cap 4 to the tip side, the insulating guide 7 and the electrode 6 of the replacement part unit 2a are pulled out from the insulating sleeve 37. At that time, the contact 22 of the center pipe 20 slides along the inner peripheral surface of the electrode 6, and the electrode 6 is extracted from the center pipe 20. As described above, the replacement part unit 2a can be easily detached from the torch body 3 integrally.
  • first retainer cap 4 may be loosened before the replacement part unit 2a is pulled out from the opening 41 of the first retainer cap 4 to the tip side. Accordingly, the flange portion 14 of the shield cap 10 is caught by the edge portion of the opening 41 of the first retainer cap 4 and pushed out. Thereby, the replacement part unit 2a can be easily removed.
  • the replacement part unit 2a When attaching a new replacement part unit 2a, the replacement part unit 2a is inserted from the opening 41 of the first retainer cap 4 toward the proximal end side. As a result, the electrode 6 and the insulation guide 7 of the replacement part unit 2 a are inserted into the insulation sleeve 37. At that time, the center pipe 20 is inserted into the electrode 6, and the contact 22 of the center pipe 20 slides along the inner peripheral surface of the electrode 6.
  • the edge of the opening 51 of the second retainer cap 5 presses the stepped portion 17 of the shield cap 10 toward the proximal end side.
  • the replacement part unit 2a is pushed toward the base end side until the base end surface 601 of the electrode 6 contacts the front end surface 342 of the electrode base 34.
  • the flange part 14 of the shield cap 10 is sandwiched and held by the edge part of the opening 41 of the first retainer cap 4 and the edge part of the opening 51 of the second retainer cap 5, whereby the replacement part unit 2 a is Fixed.
  • the electrode 6 is energized by the contact 22 of the center pipe 20 coming into contact with the inner peripheral surface of the electrode 6. Therefore, unlike the conventional plasma torch, a structure for connecting the base end side cylindrical portion of the electrode 6 and the inner peripheral surface of the electrode base 34 becomes unnecessary. For this reason, the structure of the electrode 6 or the electrode base 34 can be simplified. Moreover, since the screw structure for connecting the electrode 6 and the electrode pedestal 34 is not required, the electrode 6 can be easily attached and detached without a dedicated tool. Further, it is not necessary to replace the torch body 3 even if an energization failure occurs.
  • the contact 22 has elasticity so as to generate a reaction force when pressed in the radial direction of the pipe body 21. For this reason, the contact 22 is urged toward the inner peripheral surface of the electrode 6 by elasticity. For this reason, the contactor 22 and the electrode 6 can be contacted stably. Thereby, the contactor 22 and the electrode 6 can be stably energized.
  • the contact 22 is separate from the pipe body 21 and is attached to the outer peripheral surface of the pipe body 21. For this reason, when the contact 22 is damaged, only the contact 22 can be replaced. Thereby, cost can be reduced.
  • the internal passage 65 of the electrode 6 includes a tapered portion 652 that expands in the radial direction toward the inlet of the internal passage 65. For this reason, the contact 22 can be easily inserted into the internal passage 65.
  • the first energizing surface 603 is disposed adjacent to the tapered portion 652 on the distal end side of the tapered portion 652. For this reason, when the center pipe 20 is taken in and out of the electrode 6, the distance that the contact 22 slides with the internal passage 65 can be reduced. Thereby, abrasion of the contactor 22 and the electrode 6 can be suppressed. Further, since the contact 22 is inserted into the cooling water passage in the electrode 6, it is cooled by the cooling water flow during operation. Therefore, even if the contact 22 has a cross-sectional area as a small electric conductor, it is possible to energize a large current.
  • FIG. 32 is a cross-sectional view taken along the central axis of the plasma torch 1b according to the second embodiment.
  • FIG. 33 is a cross-sectional view of the replacement part unit 2b according to the second embodiment.
  • 34 and 35 are perspective views of the replacement part unit 2b.
  • 36 and 37 are perspective views of the nozzle 8 according to the second embodiment.
  • the first outer peripheral surface 85 of the nozzle 8 has a recess 851.
  • the recess 851 is provided in the second nozzle portion 82.
  • the recess 851 is recessed inward in the radial direction of the nozzle 8 and extends in the circumferential direction of the nozzle 8. In the axial direction of the nozzle 8, the recess 851 is disposed at substantially the same position as the tip of the electrode 6.
  • the outer diameter of the bottom of the recess 851 is smaller than the inner diameter of the inner peripheral surface 812 of the nozzle 8.
  • the recess 851 has a first wall surface 852 on the proximal end side and a second wall surface 853 on the distal end side.
  • the first wall surface 852 is inclined with respect to the radial direction of the nozzle 8.
  • the second wall surface 853 extends in the radial direction of the nozzle 8. As shown in FIG. 32, the first wall surface 852 extends in parallel with the inclined inner peripheral surface of the first retainer cap 4.
  • the recess 851 is disposed in the third cooling water passage W3.
  • the first retainer cap 4 is provided with a plurality of holes 43 communicating with the third cooling water passage W3.
  • the hole 43 of the first retainer cap 4 communicates with an annular cooling water passage W12 between the first retainer cap 4 and the second retainer cap 5.
  • the recess 851 is disposed at substantially the same position as the hole 43 of the first retainer cap 4.
  • the concave portion 851 is provided in the nozzle 8, the surface area of the nozzle 8 that comes into contact with the cooling water can be increased. Therefore, the cooling performance of the nozzle 8 can be improved. Moreover, since the recessed part 851 is arrange
  • the cooling water passage W12 can also cool the second retainer cap 5 with water. For this reason, the replacement part unit 2b according to the present embodiment is suitable for plasma cutting using a large current.
  • the structure of the replacement part units 2a and 2b may be changed.
  • the structures of the torch body 3, the first retainer cap 4, and the second retainer cap 5 may be changed.
  • the structure of the pipe main body 21 or the contact 22 may be changed.
  • the electrode 6, the insulating guide 7, and the nozzle 8 may be detachably joined to each other.
  • the electrode 6 and the insulating guide 7 may be joined not by press fitting but by adhesion.
  • the insulating guide 7 and the nozzle 8 may be joined not by press fitting but by adhesion.
  • the nozzle 8 and the insulating ring 9 may be joined not by press fitting but by adhesion.
  • the insulating ring 9 and the shield cap 10 may be joined not by press fitting but by adhesion.
  • the insulating ring 9 and the shield cap 10 may not be included in the replacement part units 2a and 2b. That is, a replacement part unit may be configured by the electrode 6, the insulation guide 7, and the nozzle 8. The insulating ring 9 and the shield cap 10 may be easily attached to and detached from the replacement part unit.
  • the inner diameter of the gas passage in the insulating guide 7 may be larger than the inner diameter of the nozzle 8. That is, as shown in FIG. 38, the inner diameter of the fifth main gas passage MG5 in the insulating guide 7 may be larger than the inner diameter of the sixth main gas passage MG6 in the nozzle 8.
  • the electrode can be easily attached and detached without a dedicated tool, the structure of the electrode or the electrode pedestal can be simplified, and the plasma does not require replacement of the torch body even if a power failure occurs.
  • Torch center pipes, contacts, electrodes, and plasma torches can be provided.

Landscapes

  • Engineering & Computer Science (AREA)
  • Physics & Mathematics (AREA)
  • Plasma & Fusion (AREA)
  • Spectroscopy & Molecular Physics (AREA)
  • Mechanical Engineering (AREA)
  • Arc Welding In General (AREA)
  • Plasma Technology (AREA)
PCT/JP2015/084161 2015-01-30 2015-12-04 プラズマトーチ用センタパイプ、接触子、電極、及びプラズマトーチ Ceased WO2016121227A1 (ja)

Priority Applications (7)

Application Number Priority Date Filing Date Title
KR1020167036908A KR101940595B1 (ko) 2015-01-30 2015-12-04 플라즈마 토치용 센터 파이프, 접촉자, 전극, 및 플라즈마 토치
KR1020197001232A KR102042546B1 (ko) 2015-01-30 2015-12-04 플라즈마 토치용 센터 파이프, 접촉자, 전극, 및 플라즈마 토치
US15/325,313 US10232460B2 (en) 2015-01-30 2015-12-04 Center pipe for plasma torch, contact piece, electrode, and plasma torch
CN201580035372.0A CN106660159B (zh) 2015-01-30 2015-12-04 等离子体火炬用中心管、接触件、电极及等离子体火炬
KR1020197001231A KR102042545B1 (ko) 2015-01-30 2015-12-04 플라즈마 토치용 센터 파이프, 접촉자, 전극, 및 플라즈마 토치
DE112015003758.6T DE112015003758B4 (de) 2015-01-30 2015-12-04 Mittelrohr für einen plasmabrenner, kontaktstück, elektrode und plasmabrenner
US16/264,838 US11014188B2 (en) 2015-01-30 2019-02-01 Center pipe for plasma torch, electrode, and plasma torch

Applications Claiming Priority (2)

Application Number Priority Date Filing Date Title
JP2015-017463 2015-01-30
JP2015017463A JP6522967B2 (ja) 2015-01-30 2015-01-30 プラズマトーチ用センタパイプ、接触子、電極、及びプラズマトーチ

Related Child Applications (2)

Application Number Title Priority Date Filing Date
US15/325,313 A-371-Of-International US10232460B2 (en) 2015-01-30 2015-12-04 Center pipe for plasma torch, contact piece, electrode, and plasma torch
US16/264,838 Continuation US11014188B2 (en) 2015-01-30 2019-02-01 Center pipe for plasma torch, electrode, and plasma torch

Publications (1)

Publication Number Publication Date
WO2016121227A1 true WO2016121227A1 (ja) 2016-08-04

Family

ID=56542862

Family Applications (1)

Application Number Title Priority Date Filing Date
PCT/JP2015/084161 Ceased WO2016121227A1 (ja) 2015-01-30 2015-12-04 プラズマトーチ用センタパイプ、接触子、電極、及びプラズマトーチ

Country Status (6)

Country Link
US (2) US10232460B2 (enExample)
JP (1) JP6522967B2 (enExample)
KR (3) KR101940595B1 (enExample)
CN (1) CN106660159B (enExample)
DE (1) DE112015003758B4 (enExample)
WO (1) WO2016121227A1 (enExample)

Families Citing this family (12)

* Cited by examiner, † Cited by third party
Publication number Priority date Publication date Assignee Title
US10721812B2 (en) * 2012-08-06 2020-07-21 Hypertherm, Inc. Asymmetric consumables for a plasma arc torch
JP6636249B2 (ja) * 2015-01-30 2020-01-29 株式会社小松製作所 プラズマトーチ用交換部品ユニット
JP6522968B2 (ja) * 2015-01-30 2019-05-29 株式会社小松製作所 プラズマトーチ用絶縁ガイド、及び交換部品ユニット
US10561010B2 (en) * 2015-12-21 2020-02-11 Hypertherm, Inc. Internally energized electrode of a plasma arc torch
FR3067559B1 (fr) * 2017-06-07 2019-07-05 Akryvia Procede de coupage plasma et torche pour la mise en oeuvre de ce procede
JP6918603B2 (ja) * 2017-06-28 2021-08-11 コマツ産機株式会社 三次元レーザ加工機および三次元レーザ加工機の制御方法
US11134559B2 (en) * 2017-07-04 2021-09-28 Norsk Titanium As Plasma torch system
US11089669B2 (en) * 2018-06-12 2021-08-10 Agilent Technologies, Inc. ICP spectroscopy torch with removable one-piece injector
CN112413114B (zh) * 2019-08-23 2022-04-05 上海汽车集团股份有限公司 一种cvt用的液压调节系统及其液压阀
EP4179852A1 (en) 2020-07-08 2023-05-17 Hypertherm, Inc. Jacket for a cartridge of a liquid-cooled plasma arc torch
JP7474676B2 (ja) * 2020-10-19 2024-04-25 コマツ産機株式会社 プラズマトーチ及びプラズマトーチ用センタパイプ
WO2022108625A1 (en) * 2020-11-17 2022-05-27 American Torch Tip Company Threadless electrode with high contact for use in plasma cutting torch

Citations (3)

* Cited by examiner, † Cited by third party
Publication number Priority date Publication date Assignee Title
JPH0314076U (enExample) * 1989-06-20 1991-02-13
JPH10505706A (ja) * 1994-08-04 1998-06-02 サルザー メトコ エイジー 高速、高圧プラズマ銃
JP2001503194A (ja) * 1996-10-28 2001-03-06 ハイパーサーム インコーポレイテッド プラズマアークトーチにおける改良されたアセンブリ同中心性のための装置及び方法

Family Cites Families (14)

* Cited by examiner, † Cited by third party
Publication number Priority date Publication date Assignee Title
US5756959A (en) * 1996-10-28 1998-05-26 Hypertherm, Inc. Coolant tube for use in a liquid-cooled electrode disposed in a plasma arc torch
US5906758A (en) * 1997-09-30 1999-05-25 The Esab Group, Inc. Plasma arc torch
JP3625040B2 (ja) 1999-08-11 2005-03-02 株式会社小松製作所 プラズマ加工機、プラズマトーチ及びその部品の着脱方法
US6320156B1 (en) 1999-05-10 2001-11-20 Komatsu Ltd. Plasma processing device, plasma torch and method for replacing components of same
US6852944B2 (en) * 2003-04-07 2005-02-08 Thermal Dynamics Corporation Retractable electrode coolant tube
US20080116179A1 (en) 2003-04-11 2008-05-22 Hypertherm, Inc. Method and apparatus for alignment of components of a plasma arc torch
US6946617B2 (en) * 2003-04-11 2005-09-20 Hypertherm, Inc. Method and apparatus for alignment of components of a plasma arc torch
US8866038B2 (en) * 2007-01-23 2014-10-21 Hypertherm, Inc. Consumable component parts for a plasma torch
CN101632328B (zh) * 2007-02-16 2013-04-24 海别得公司 气体冷却的等离子体电弧割炬
US8420975B2 (en) * 2007-07-12 2013-04-16 Komatsu Industries Corp. Plasma torch, plasma torch nozzle, and plasma-working machine
US20120031881A1 (en) * 2010-08-09 2012-02-09 The Esab Group, Inc. Blow-Back Plasma Arc Torch With Shield Fluid-Cooled Electrode
JP6082967B2 (ja) * 2012-12-27 2017-02-22 株式会社小松製作所 プラズマ切断機および切断方法
EP2804450B1 (de) * 2013-05-16 2022-05-04 Kjellberg-Stiftung Mehrteiliges Isolierteil für einen Lichtbogenplasmabrenner, Brenner und zugehörige Anordnungen mit demselben und zugehörigen Verfahren
US10561010B2 (en) * 2015-12-21 2020-02-11 Hypertherm, Inc. Internally energized electrode of a plasma arc torch

Patent Citations (3)

* Cited by examiner, † Cited by third party
Publication number Priority date Publication date Assignee Title
JPH0314076U (enExample) * 1989-06-20 1991-02-13
JPH10505706A (ja) * 1994-08-04 1998-06-02 サルザー メトコ エイジー 高速、高圧プラズマ銃
JP2001503194A (ja) * 1996-10-28 2001-03-06 ハイパーサーム インコーポレイテッド プラズマアークトーチにおける改良されたアセンブリ同中心性のための装置及び方法

Also Published As

Publication number Publication date
KR20190006616A (ko) 2019-01-18
KR102042545B1 (ko) 2019-11-08
DE112015003758T5 (de) 2017-07-13
KR101940595B1 (ko) 2019-01-21
US11014188B2 (en) 2021-05-25
KR20170012474A (ko) 2017-02-02
US20190160584A1 (en) 2019-05-30
KR20190006615A (ko) 2019-01-18
DE112015003758B4 (de) 2022-01-27
US20170182585A1 (en) 2017-06-29
JP6522967B2 (ja) 2019-05-29
JP2016140871A (ja) 2016-08-08
CN106660159B (zh) 2019-12-13
US10232460B2 (en) 2019-03-19
CN106660159A (zh) 2017-05-10
KR102042546B1 (ko) 2019-11-08

Similar Documents

Publication Publication Date Title
KR101940595B1 (ko) 플라즈마 토치용 센터 파이프, 접촉자, 전극, 및 플라즈마 토치
JP6636249B2 (ja) プラズマトーチ用交換部品ユニット
JP4607852B2 (ja) プラズマアークトーチ、並びにプラズマアークトーチの組立及び分解方法
MX2014005807A (es) Conector para tubo conductor de soldadura con arco para pistolas de mig de soldadura con arco roboticas/manuales de gmaw.
JP6902587B2 (ja) プラズマトーチ用交換部品ユニット
KR101957866B1 (ko) 플라즈마 토치용 절연 가이드, 및 교환 부품 유닛
JP6910116B2 (ja) プラズマトーチ用絶縁ガイドの製造方法
JP6998208B2 (ja) プラズマトーチ用ノズル、及び交換部品ユニット
CN114731756A (zh) 聚焦孔对准的等离子弧焊矩
CN114728363A (zh) 等离子弧焊炬耗材保持器
JP2000343228A (ja) プラズマトーチ及びその部品

Legal Events

Date Code Title Description
121 Ep: the epo has been informed by wipo that ep was designated in this application

Ref document number: 15880119

Country of ref document: EP

Kind code of ref document: A1

WWE Wipo information: entry into national phase

Ref document number: 15325313

Country of ref document: US

WWE Wipo information: entry into national phase

Ref document number: 112015003758

Country of ref document: DE

122 Ep: pct application non-entry in european phase

Ref document number: 15880119

Country of ref document: EP

Kind code of ref document: A1