WO2016068268A1 - 発泡成形体の製造方法及び製造装置 - Google Patents

発泡成形体の製造方法及び製造装置 Download PDF

Info

Publication number
WO2016068268A1
WO2016068268A1 PCT/JP2015/080643 JP2015080643W WO2016068268A1 WO 2016068268 A1 WO2016068268 A1 WO 2016068268A1 JP 2015080643 W JP2015080643 W JP 2015080643W WO 2016068268 A1 WO2016068268 A1 WO 2016068268A1
Authority
WO
WIPO (PCT)
Prior art keywords
molten resin
fluid
plasticizing cylinder
starvation zone
zone
Prior art date
Legal status (The legal status is an assumption and is not a legal conclusion. Google has not performed a legal analysis and makes no representation as to the accuracy of the status listed.)
Ceased
Application number
PCT/JP2015/080643
Other languages
English (en)
French (fr)
Japanese (ja)
Inventor
智史 山本
遊佐 敦
英斗 後藤
Current Assignee (The listed assignees may be inaccurate. Google has not performed a legal analysis and makes no representation or warranty as to the accuracy of the list.)
Maxell Ltd
Original Assignee
Hitachi Maxell Ltd
Priority date (The priority date is an assumption and is not a legal conclusion. Google has not performed a legal analysis and makes no representation as to the accuracy of the date listed.)
Filing date
Publication date
Application filed by Hitachi Maxell Ltd filed Critical Hitachi Maxell Ltd
Priority to CN201580056062.7A priority Critical patent/CN107073770B/zh
Priority to EP15853790.2A priority patent/EP3213898A4/en
Publication of WO2016068268A1 publication Critical patent/WO2016068268A1/ja
Priority to US15/498,815 priority patent/US10703029B2/en
Anticipated expiration legal-status Critical
Ceased legal-status Critical Current

Links

Images

Classifications

    • BPERFORMING OPERATIONS; TRANSPORTING
    • B29WORKING OF PLASTICS; WORKING OF SUBSTANCES IN A PLASTIC STATE IN GENERAL
    • B29CSHAPING OR JOINING OF PLASTICS; SHAPING OF MATERIAL IN A PLASTIC STATE, NOT OTHERWISE PROVIDED FOR; AFTER-TREATMENT OF THE SHAPED PRODUCTS, e.g. REPAIRING
    • B29C44/00Shaping by internal pressure generated in the material, e.g. swelling or foaming ; Producing porous or cellular expanded plastics articles
    • B29C44/34Auxiliary operations
    • B29C44/3442Mixing, kneading or conveying the foamable material
    • B29C44/3446Feeding the blowing agent
    • BPERFORMING OPERATIONS; TRANSPORTING
    • B29WORKING OF PLASTICS; WORKING OF SUBSTANCES IN A PLASTIC STATE IN GENERAL
    • B29CSHAPING OR JOINING OF PLASTICS; SHAPING OF MATERIAL IN A PLASTIC STATE, NOT OTHERWISE PROVIDED FOR; AFTER-TREATMENT OF THE SHAPED PRODUCTS, e.g. REPAIRING
    • B29C44/00Shaping by internal pressure generated in the material, e.g. swelling or foaming ; Producing porous or cellular expanded plastics articles
    • B29C44/02Shaping by internal pressure generated in the material, e.g. swelling or foaming ; Producing porous or cellular expanded plastics articles for articles of definite length, i.e. discrete articles
    • BPERFORMING OPERATIONS; TRANSPORTING
    • B29WORKING OF PLASTICS; WORKING OF SUBSTANCES IN A PLASTIC STATE IN GENERAL
    • B29CSHAPING OR JOINING OF PLASTICS; SHAPING OF MATERIAL IN A PLASTIC STATE, NOT OTHERWISE PROVIDED FOR; AFTER-TREATMENT OF THE SHAPED PRODUCTS, e.g. REPAIRING
    • B29C44/00Shaping by internal pressure generated in the material, e.g. swelling or foaming ; Producing porous or cellular expanded plastics articles
    • B29C44/34Auxiliary operations
    • B29C44/36Feeding the material to be shaped
    • B29C44/38Feeding the material to be shaped into a closed space, i.e. to make articles of definite length
    • B29C44/42Feeding the material to be shaped into a closed space, i.e. to make articles of definite length using pressure difference, e.g. by injection or by vacuum
    • BPERFORMING OPERATIONS; TRANSPORTING
    • B29WORKING OF PLASTICS; WORKING OF SUBSTANCES IN A PLASTIC STATE IN GENERAL
    • B29CSHAPING OR JOINING OF PLASTICS; SHAPING OF MATERIAL IN A PLASTIC STATE, NOT OTHERWISE PROVIDED FOR; AFTER-TREATMENT OF THE SHAPED PRODUCTS, e.g. REPAIRING
    • B29C45/00Injection moulding, i.e. forcing the required volume of moulding material through a nozzle into a closed mould; Apparatus therefor
    • BPERFORMING OPERATIONS; TRANSPORTING
    • B29WORKING OF PLASTICS; WORKING OF SUBSTANCES IN A PLASTIC STATE IN GENERAL
    • B29CSHAPING OR JOINING OF PLASTICS; SHAPING OF MATERIAL IN A PLASTIC STATE, NOT OTHERWISE PROVIDED FOR; AFTER-TREATMENT OF THE SHAPED PRODUCTS, e.g. REPAIRING
    • B29C45/00Injection moulding, i.e. forcing the required volume of moulding material through a nozzle into a closed mould; Apparatus therefor
    • B29C45/0001Injection moulding, i.e. forcing the required volume of moulding material through a nozzle into a closed mould; Apparatus therefor characterised by the choice of material
    • CCHEMISTRY; METALLURGY
    • C08ORGANIC MACROMOLECULAR COMPOUNDS; THEIR PREPARATION OR CHEMICAL WORKING-UP; COMPOSITIONS BASED THEREON
    • C08JWORKING-UP; GENERAL PROCESSES OF COMPOUNDING; AFTER-TREATMENT NOT COVERED BY SUBCLASSES C08B, C08C, C08F, C08G or C08H
    • C08J9/00Working-up of macromolecular substances to porous or cellular articles or materials; After-treatment thereof
    • C08J9/04Working-up of macromolecular substances to porous or cellular articles or materials; After-treatment thereof using blowing gases generated by a previously added blowing agent
    • C08J9/06Working-up of macromolecular substances to porous or cellular articles or materials; After-treatment thereof using blowing gases generated by a previously added blowing agent by a chemical blowing agent
    • C08J9/08Working-up of macromolecular substances to porous or cellular articles or materials; After-treatment thereof using blowing gases generated by a previously added blowing agent by a chemical blowing agent developing carbon dioxide
    • CCHEMISTRY; METALLURGY
    • C08ORGANIC MACROMOLECULAR COMPOUNDS; THEIR PREPARATION OR CHEMICAL WORKING-UP; COMPOSITIONS BASED THEREON
    • C08JWORKING-UP; GENERAL PROCESSES OF COMPOUNDING; AFTER-TREATMENT NOT COVERED BY SUBCLASSES C08B, C08C, C08F, C08G or C08H
    • C08J9/00Working-up of macromolecular substances to porous or cellular articles or materials; After-treatment thereof
    • C08J9/04Working-up of macromolecular substances to porous or cellular articles or materials; After-treatment thereof using blowing gases generated by a previously added blowing agent
    • C08J9/12Working-up of macromolecular substances to porous or cellular articles or materials; After-treatment thereof using blowing gases generated by a previously added blowing agent by a physical blowing agent
    • C08J9/122Hydrogen, oxygen, CO2, nitrogen or noble gases
    • BPERFORMING OPERATIONS; TRANSPORTING
    • B29WORKING OF PLASTICS; WORKING OF SUBSTANCES IN A PLASTIC STATE IN GENERAL
    • B29KINDEXING SCHEME ASSOCIATED WITH SUBCLASSES B29B, B29C OR B29D, RELATING TO MOULDING MATERIALS OR TO MATERIALS FOR MOULDS, REINFORCEMENTS, FILLERS OR PREFORMED PARTS, e.g. INSERTS
    • B29K2023/00Use of polyalkenes or derivatives thereof as moulding material
    • B29K2023/10Polymers of propylene
    • B29K2023/12PP, i.e. polypropylene
    • BPERFORMING OPERATIONS; TRANSPORTING
    • B29WORKING OF PLASTICS; WORKING OF SUBSTANCES IN A PLASTIC STATE IN GENERAL
    • B29KINDEXING SCHEME ASSOCIATED WITH SUBCLASSES B29B, B29C OR B29D, RELATING TO MOULDING MATERIALS OR TO MATERIALS FOR MOULDS, REINFORCEMENTS, FILLERS OR PREFORMED PARTS, e.g. INSERTS
    • B29K2055/00Use of specific polymers obtained by polymerisation reactions only involving carbon-to-carbon unsaturated bonds, not provided for in a single one of main groups B29K2023/00 - B29K2049/00, e.g. having a vinyl group, as moulding material
    • B29K2055/02ABS polymers, i.e. acrylonitrile-butadiene-styrene polymers
    • BPERFORMING OPERATIONS; TRANSPORTING
    • B29WORKING OF PLASTICS; WORKING OF SUBSTANCES IN A PLASTIC STATE IN GENERAL
    • B29KINDEXING SCHEME ASSOCIATED WITH SUBCLASSES B29B, B29C OR B29D, RELATING TO MOULDING MATERIALS OR TO MATERIALS FOR MOULDS, REINFORCEMENTS, FILLERS OR PREFORMED PARTS, e.g. INSERTS
    • B29K2105/00Condition, form or state of moulded material or of the material to be shaped
    • B29K2105/04Condition, form or state of moulded material or of the material to be shaped cellular or porous
    • CCHEMISTRY; METALLURGY
    • C08ORGANIC MACROMOLECULAR COMPOUNDS; THEIR PREPARATION OR CHEMICAL WORKING-UP; COMPOSITIONS BASED THEREON
    • C08JWORKING-UP; GENERAL PROCESSES OF COMPOUNDING; AFTER-TREATMENT NOT COVERED BY SUBCLASSES C08B, C08C, C08F, C08G or C08H
    • C08J2203/00Foams characterized by the expanding agent
    • C08J2203/02CO2-releasing, e.g. NaHCO3 and citric acid
    • CCHEMISTRY; METALLURGY
    • C08ORGANIC MACROMOLECULAR COMPOUNDS; THEIR PREPARATION OR CHEMICAL WORKING-UP; COMPOSITIONS BASED THEREON
    • C08JWORKING-UP; GENERAL PROCESSES OF COMPOUNDING; AFTER-TREATMENT NOT COVERED BY SUBCLASSES C08B, C08C, C08F, C08G or C08H
    • C08J2203/00Foams characterized by the expanding agent
    • C08J2203/06CO2, N2 or noble gases
    • CCHEMISTRY; METALLURGY
    • C08ORGANIC MACROMOLECULAR COMPOUNDS; THEIR PREPARATION OR CHEMICAL WORKING-UP; COMPOSITIONS BASED THEREON
    • C08JWORKING-UP; GENERAL PROCESSES OF COMPOUNDING; AFTER-TREATMENT NOT COVERED BY SUBCLASSES C08B, C08C, C08F, C08G or C08H
    • C08J2203/00Foams characterized by the expanding agent
    • C08J2203/18Binary blends of expanding agents
    • C08J2203/184Binary blends of expanding agents of chemical foaming agent and physical blowing agent, e.g. azodicarbonamide and fluorocarbon
    • CCHEMISTRY; METALLURGY
    • C08ORGANIC MACROMOLECULAR COMPOUNDS; THEIR PREPARATION OR CHEMICAL WORKING-UP; COMPOSITIONS BASED THEREON
    • C08JWORKING-UP; GENERAL PROCESSES OF COMPOUNDING; AFTER-TREATMENT NOT COVERED BY SUBCLASSES C08B, C08C, C08F, C08G or C08H
    • C08J2323/00Characterised by the use of homopolymers or copolymers of unsaturated aliphatic hydrocarbons having only one carbon-to-carbon double bond; Derivatives of such polymers
    • C08J2323/02Characterised by the use of homopolymers or copolymers of unsaturated aliphatic hydrocarbons having only one carbon-to-carbon double bond; Derivatives of such polymers not modified by chemical after treatment
    • C08J2323/10Homopolymers or copolymers of propene
    • C08J2323/12Polypropene
    • CCHEMISTRY; METALLURGY
    • C08ORGANIC MACROMOLECULAR COMPOUNDS; THEIR PREPARATION OR CHEMICAL WORKING-UP; COMPOSITIONS BASED THEREON
    • C08JWORKING-UP; GENERAL PROCESSES OF COMPOUNDING; AFTER-TREATMENT NOT COVERED BY SUBCLASSES C08B, C08C, C08F, C08G or C08H
    • C08J2355/00Characterised by the use of homopolymers or copolymers, obtained by polymerisation reactions only involving carbon-to-carbon unsaturated bonds, not provided for in groups C08J2323/00 - C08J2353/00
    • C08J2355/02Acrylonitrile-Butadiene-Styrene [ABS] polymers

Definitions

  • the present invention relates to a method and apparatus for producing a foamed molded product.
  • Patent Documents 1 to 3 an injection foam molding method using nitrogen or carbon dioxide in a supercritical state as a physical foaming agent has been studied and put into practical use.
  • the injection foam molding method using a physical foaming agent is performed as follows. First, a physical foaming agent is introduced into a hermetically sealed plasticizing cylinder, and contact dispersed in the plasticized and melted resin. While maintaining the inside of the plasticizing cylinder at a high pressure so that the physical foaming agent is in a supercritical state, the molten resin in which the physical foaming agent is dispersed is weighed and injected into the mold. The supercritical fluid that is compatible with the molten resin is rapidly decompressed and gasified during injection filling, and the molten resin is solidified to form bubbles (foamed cells) inside the molded body.
  • Patent Document 4 discloses a foam injection molding method using a physical foaming agent, in which a part of the physical foaming agent contained in the molten resin is separated in the middle of molding and exhausted out of the plasticizing cylinder (kneading device). Is disclosed. Patent Document 4 discloses a kneading apparatus having a mechanism in which a vent for exhausting a physical foaming agent is formed and a pressure in a region where the vent is formed (decompression zone) is kept constant.
  • a method for producing a foamed molded article using a chemical foaming agent instead of a physical foaming agent has also been proposed.
  • a foaming agent that decomposes with heat during plasticization and melting is added to a thermoplastic resin, and bubbles (foamed cells) are formed inside the molded body by a gas generated when the foaming agent is decomposed. Since the molding method using a chemical foaming agent does not require a device for supplying a physical foaming agent, there is an advantage that the cost of the device can be suppressed.
  • Patent Document 5 discloses a method for producing a foam molded article using a physical foaming agent and a chemical foaming agent in combination. According to Patent Document 5, the amount of the chemical foaming agent is reduced by mixing the hydrogen carbonate and carboxylate, which are chemical foaming agents, into the thermoplastic resin at a constant ratio and using a high-pressure physical foaming agent. The foam cell can be made finer.
  • the physical foaming agent concentration in the molten resin is saturated (saturated concentration) after partial exhaust of the physical foaming agent by employing the above-described kneading apparatus.
  • Many foam nuclei can be formed using a relatively low pressure physical blowing agent.
  • the injection foam molding method of Patent Document 4 has the following problems. Inert gases such as carbon dioxide and nitrogen, which are physical foaming agents, have low solubility in the resin. When using a thermoplastic resin with low compatibility with these inert gases, if the pressure in the decompression zone is low, sufficient foaming nuclei are not formed inside the molded body, resulting in an increase in cell diameter and a decrease in cell density. There was a risk of it happening. On the other hand, when the pressure in the decompression zone is increased, the foamed cell diameter is reduced and the cell density is increased, but the molten resin and the physical foaming agent are easily separated, and appearance defects such as swirl marks and blisters are formed on the surface of the molded body. There was a problem that it was likely to occur.
  • Inert gases such as carbon dioxide and nitrogen, which are physical foaming agents
  • the foam molding method using a chemical foaming agent has the following problems.
  • the foam molding method using a chemical foaming agent if the amount of foaming agent used is small, sufficient foam cells are not formed. Therefore, it is necessary to add a large amount of chemical foaming agent exceeding 2% by weight to the thermoplastic resin, for example. Since the chemical foaming agent is expensive, the material cost of the molded body is increased, and dirt due to the decomposition residue of the chemical foaming agent tends to adhere to the molding machine and the mold, causing a molding defect.
  • the present invention solves the above-described various problems in the method for producing a foam molded article.
  • the present invention can reduce the amount of chemical foaming agent used in a method for producing a foamed molded article using both a physical foaming agent and a chemical foaming agent, and omit or simplify a complex control device for a fluid that functions as a physical foaming agent.
  • a method for producing a foam-molded article that can be formed.
  • a method for producing a foamed molded article wherein a resin material containing a thermoplastic resin and a chemical foaming agent is plasticized and melted in a plasticizing cylinder in which a screw is provided.
  • a resin material containing a thermoplastic resin and a chemical foaming agent is plasticized and melted in a plasticizing cylinder in which a screw is provided.
  • a fluid at a constant pressure into the plasticizing cylinder to pressurize the molten resin
  • foam-molding the molten resin The production method is characterized in that the chemical foaming agent is contained in an amount of 0.1 to 2% by weight.
  • the constant pressure may be 1 MPa to 10 MPa.
  • the fluid may be a physical foaming agent, and may be carbon dioxide, nitrogen, or air.
  • the manufacturing method of this aspect further includes taking out the fluid decompressed to the constant pressure by a pressure reducing valve from a cylinder in which the fluid is stored, and pressurizing the molten resin with the fluid taken out from the cylinder.
  • the chemical foaming agent may include a hydrogen carbonate salt, and the chemical foaming agent may be sodium hydrogen carbonate.
  • the plasticizing cylinder may have a starvation zone in which the molten resin is not filled, and the molten resin may be pressurized with the fluid at the constant pressure in the starvation zone.
  • the fluid may be brought into contact with the molten resin at the constant pressure, and the pressure of the starvation zone may be maintained at the constant pressure.
  • the plasticizing cylinder may be provided with a mechanism for increasing the flow resistance of the molten resin on the upstream side of the starvation zone in the flow direction of the molten resin, and further on the upstream side in the flow direction of the molten resin.
  • the compression zone and the starvation zone are provided adjacent to each other in this order, and a mechanism for increasing the flow resistance of the molten resin is provided between the compression zone and the starvation zone, whereby the molten resin in the compression zone is provided.
  • the molten resin may be unfilled in the starvation zone.
  • An inlet for introducing the fluid into the starvation zone may be formed in the starvation zone of the plasticizing cylinder, and the fluid may be introduced from the inlet into the starvation zone at the constant pressure.
  • the fluid of the constant pressure may be continuously supplied into the plasticizing cylinder during the production of the foam molded article.
  • the resin material may be plasticized and melted and the molten resin may be foam-molded while continuously supplying the fluid of the constant pressure into the plasticizing cylinder.
  • pressurizing the molten resin continuously supplies a fluid at a constant pressure into the plasticizing cylinder while flowing the molten resin in a predetermined flow direction in the plasticizing cylinder.
  • the molten resin may be pressurized with pressure.
  • a manufacturing apparatus for manufacturing a foam molded article which is a plasticizing cylinder that plasticizes and melts a resin material to form a molten resin, and the molten resin is not filled.
  • a manufacturing apparatus comprising: a plasticizing cylinder having a starvation zone; and a fluid supply mechanism that continuously supplies a fluid of a constant pressure to the starvation zone of the plasticizing cylinder during the manufacture of the foamed molded article.
  • the plasticizing cylinder may further include a mechanism for increasing the flow resistance of the molten resin upstream of the starvation zone in the flow direction of the molten resin, and further, the starvation zone in the flow direction of the molten resin.
  • a compression zone provided adjacent to the starvation zone on the upstream side, and a mechanism for increasing the flow resistance of the molten resin provided between the compression zone and the starvation zone. The pressure of the molten resin in the compression zone may be increased, and the molten resin may be unfilled in the starvation zone.
  • an inlet for introducing the fluid into the starvation zone may be formed.
  • the inner diameter of the introduction port may be 15% to 100% of the inner diameter of the plasticizing cylinder.
  • a drive valve may not be provided at the introduction port.
  • the production method of the present invention can reduce the content of the chemical foaming agent in the resin material to a small amount of 0.1 wt% to 2 wt%. Since the amount of the expensive chemical foaming agent used can be reduced, the material cost of the molded product can be suppressed, and adhesion of contaminants (contamination) due to the by-product of the chemical foaming agent to the mold or the like can be suppressed.
  • the production method of the present invention does not require control of the introduction amount, introduction time, etc. of the fluid functioning as a physical foaming agent into the molten resin. Therefore, a complicated control device can be omitted or simplified, and the device cost can be reduced. Moreover, since the fluid used in the present invention is at a lower pressure than the conventional physical foaming agent, the load on the apparatus is small.
  • FIG. 3 is a partially enlarged view of the manufacturing apparatus shown in FIG. 2.
  • 4 (a) is an optical micrograph of a cross section of the molded body produced in Example 1
  • FIG. 4 (b) is an optical micrograph of the cross section of the molded body produced in Comparative Example 1.
  • FIG. ) Is an optical micrograph of a cross section of the molded product produced in Comparative Example 3.
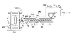
  • a foam molded body is manufactured using a manufacturing apparatus (injection molding apparatus) 1000 shown in FIG.
  • the manufacturing apparatus 1000 mainly includes a plasticizing cylinder 210 in which the screw 20 is installed, a fluid supply mechanism (cylinder) 100 that supplies fluid to the plasticizing cylinder 210, and a mold clamping unit 250 in which a mold is provided. And a control device (not shown) for controlling the operation of the plasticizing cylinder 210 and the mold clamping unit 250.
  • the molten resin plasticized and melted in the plasticizing cylinder 210 flows from the right hand to the left hand in FIG. Therefore, in the plasticizing cylinder 210 of the present embodiment, the right hand in FIG. 2 is defined as “upstream” or “rear”, and the left hand is defined as “downstream” or “front”.
  • a resin material containing a thermoplastic resin and a chemical foaming agent is plasticized and melted to obtain a molten resin containing a chemical foaming agent (step S1 in FIG. 1).
  • thermoplastic resin various resins can be used depending on the type of the target molded product. Specifically, for example, polypropylene, polymethyl methacrylate, polyamide, polycarbonate, amorphous polyolefin, polyetherimide, polyethylene terephthalate, polyetheretherketone, ABS resin (acrylonitrile / butadiene / styrene copolymer resin), polyphenylene sulfide, polyamideimide , Thermoplastic resins such as polylactic acid and polycaprolactone, and composite materials thereof can be used. These thermoplastic resins may be used alone or in combination of two or more.
  • thermoplastic resin is preferably one that is plasticized and melted in a temperature range where the chemical foaming agent to be added decomposes and generates gas.
  • the chemical foaming agent is not particularly limited as long as it decomposes at a temperature at which the thermoplastic resin is plasticized and melted and generates a foaming gas.
  • azodicarbonamide (ADCA) N, N′-dinitrosopenta Organic blowing agents such as methylenetetramine, 4,4′-oxybis (benzenesulfonylhydrazide), diphenylsulfone-3,3′-disulfonylhydrazide, p-toluenesulfonyl semicarbazide, trihydrazinotriazine and azobisisobutyronitrile;
  • Polycarboxylic acids such as citric acid, oxalic acid, fumaric acid, phthalic acid, malic acid, tartaric acid, cyclohexane-1,2-dicarboxylic acid, camphoric acid, ethylenediaminetetraacetic acid, triethylenetetraminehexaacetic acid and
  • chemical foaming agents may be used alone or in combination of two or more.
  • inorganic foaming agents such as bicarbonate are preferable, and sodium bicarbonate is particularly preferable.
  • By-products at the time of decomposition of hydrogen carbonate such as sodium hydrogen carbonate are mainly carbon dioxide and water, and there is little possibility of contaminating the production apparatus and the mold.
  • the chemical foaming agent is contained in the resin material in an amount of 0.1% to 2% by weight. Further, the content of the chemical foaming agent in the resin material is preferably 0.1% by weight to 1% by weight, and more preferably 0.1% by weight to 0.5% by weight. If the content of the chemical foaming agent in the resin material is less than 0.1% by weight, sufficient foaming performance cannot be obtained, and if it exceeds 2% by weight, contamination caused by byproducts of the chemical foaming agent (contamination) ) May adhere to a mold, an extrusion die, etc., and as a result, the surface of the foamed molded product may be contaminated.
  • the fluid for pressurizing the molten resin which will be described later, functions as a physical foaming agent
  • a foamed molded product can be formed with a small amount of chemical foaming agent of 0.1 wt% to 2 wt%. Since the amount of expensive chemical foaming agent used can be reduced, the material cost can be reduced, and the amount of by-products generated when the chemical foaming agent is decomposed can also be reduced. When the amount of the chemical foaming agent used is large, it is necessary to frequently clean the mold or the like in order to remove the by-products, but in the present embodiment, this is not necessary, so the productivity of the foamed molded product can be improved.
  • thermoplastic resin is a main component in the resin material, and can be contained, for example, in an amount of 40% by weight to 99.9% by weight in the resin material.
  • the resin material of the present embodiment may include various general-purpose additives such as the inorganic filler described above as necessary.
  • the resin material is plasticized and melted in the plasticizing cylinder 210 in which the screw 20 shown in FIG. 2 is installed.
  • a band heater (not shown) is disposed on the outer wall surface of the plasticizing cylinder 210, whereby the plasticizing cylinder 210 is heated and the thermoplastic resin is plasticized and melted.
  • a fluid having a constant pressure is supplied into the plasticizing cylinder 210 to pressurize the molten resin (step S2 in FIG. 1).
  • fluid means any of liquid, gas, and supercritical fluid.
  • the fluid used in the present embodiment is a pressurized fluid having a constant pressure.
  • the molten resin may be pressurized by continuously supplying a fluid at a constant pressure into the plasticizing cylinder 210 while flowing the molten resin in a predetermined direction (flow direction) in the plasticizing cylinder 210. .
  • a predetermined amount of a high-pressure physical foaming agent is forcibly introduced into a molten resin within a predetermined time. Therefore, it is necessary to increase the pressure of the physical foaming agent to a high pressure and accurately control the amount introduced into the molten resin, the introduction time, etc., and the physical foaming agent contacts the molten resin only for a short introduction time. .
  • a relatively low pressure fluid is continuously introduced into the plasticizing cylinder at a constant pressure while flowing the molten resin in the flow direction. To supply.
  • the fluid is continuously brought into contact with the molten resin, and the molten resin is pressurized by the fluid.
  • a constant pressure fluid is continuously supplied into the plasticizing cylinder during the production of the foamed molded body.
  • foaming including the above-described plasticizing and melting of the resin material (step S1 in FIG. 1) and foaming molding of the molten resin (step S3) described later.
  • the manufacturing method of a molded object is implemented.
  • pressurizing the molten resin with a constant pressure” with a fluid means that a fluid with a constant pressure is brought into contact with the molten resin, or a fluid is brought into contact with the molten resin, and the pressure of the fluid is adjusted to a constant pressure. It is to be.
  • the molten resin for the next shot is also obtained during the injection process, the cooling process of the molded body, and the removal process of the molded body. Prepared in the plasticizing cylinder, the molten resin for the next shot is also pressurized by the fluid at a constant pressure.
  • the molten resin in the multiple shot injection molding performed continuously, the molten resin is always in contact with the fluid at a constant pressure in the plasticizing cylinder, that is, the molten resin is constant pressure by the fluid in the plasticizing cylinder.
  • one cycle of injection molding including the plasticizing and metering step, the injection step, the cooling step of the molded body, the removal step, and the like is performed.
  • the molten resin when performing continuous molding such as extrusion molding, the molten resin is always in contact with the fluid at a constant pressure in the plasticizing cylinder, that is, the molten resin is fluid in the plasticizing cylinder.
  • molding is performed in a state of being constantly pressurized at a constant pressure.
  • the fluid of the present embodiment has a lower pressure than the conventional physical foaming agent, but since it is always in contact with the molten resin, a necessary and sufficient amount of fluid in this embodiment penetrates into the molten resin. Presumed to function as a physical foaming agent.
  • the molten resin containing the chemical foaming agent is always pressurized by the fluid at a pressure higher than the foaming pressure of the chemical foaming agent. Thereby, foaming of the chemical foaming agent in the molten resin before molding can be suppressed, and foaming efficiency in the mold can be improved.
  • the fluid carbon dioxide, nitrogen, air or the like is preferably used from the viewpoint of cost and environmental load. These fluids can function as physical blowing agents. Since the pressure of the fluid in this embodiment is relatively low, for example, a fluid extracted from a cylinder in which a fluid such as a nitrogen cylinder, a carbon dioxide cylinder, or an air cylinder is decompressed to a constant pressure by a pressure reducing valve is used. be able to. In this case, since the booster is not necessary, the cost of the entire manufacturing apparatus can be reduced. Further, if necessary, a fluid whose pressure is increased to a predetermined pressure may be used as a fluid for pressurizing the molten resin. For example, when air is used as the fluid, the air existing around the manufacturing apparatus may be used by increasing the pressure to a predetermined pressure.
  • the pressure for pressurizing the molten resin is constant, preferably 1 MPa to 10 MPa, more preferably 1 MPa to 6 MPa, and even more preferably 3 MPa to 6 MPa.
  • the pressure of the fluid can be set lower than the pressure of the conventional physical foaming agent.
  • the pressure of the fluid is low, since the fluid is always brought into contact with the molten resin, a necessary and sufficient amount of fluid in the present embodiment can be permeated into the molten resin.
  • the pressure of the fluid that pressurizes the molten resin is“ constant ”” means that the fluctuation range of the pressure with respect to the predetermined pressure is preferably within ⁇ 10%, more preferably within ⁇ 5%.
  • a fluid is introduced into the plasticizing cylinder 210 from the cylinder 100 shown in FIG. 2, and the molten resin in the plasticizing cylinder 210 is constantly pressurized at a constant pressure by the introduced fluid.
  • the fluid is decompressed to a predetermined pressure using a decompression valve 151 provided at the outlet of the cylinder 100 and then introduced into the plasticizing cylinder 210 without passing through a booster or the like.
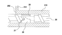
  • the plasticizing cylinder 210 used in the present embodiment includes a starvation zone 23 in which the molten resin is not filled, and a compression zone 22 that is disposed adjacent to the starvation zone 23 at an upstream thereof and the molten resin is compressed to increase pressure.
  • a mechanism (ring) 26 that increases the flow resistance of the molten resin is provided between the compression zone 22 and the starvation zone 23, and the presence of the ring 26 reduces the flow rate of resin supplied from the compression zone 22 to the starvation zone 23.
  • the molten resin is compressed to increase the pressure, and in the downstream starvation zone 23, the molten resin is not full (starved state).
  • the screw 20 is compared to the part located in the compression zone 22, i.e. compared to the part upstream of the ring 26, the part located in the starvation zone 23, i.e. the ring.
  • the thickness of the shaft of the downstream part of 26 is thin, and the screw flight has a deep structure.
  • the ring 26 is used as a mechanism for increasing the flow resistance. As shown in FIG. 3, the ring 26 is a half-shaped ring whose position and rotational operation are fixed with respect to the screw 20 by a pin 27 provided on the screw 20. By using the inner diameter of the ring 26 and the clearance portion 28 of the screw 20 as a flow path of the molten resin, the flow resistance of the molten resin can be increased.
  • the mechanism for increasing the flow resistance of the molten resin include a portion provided in the screw, a portion having a screw diameter larger than the other portion, a portion in which the screw flight is provided opposite to the other portion, and the like. It is done.
  • the part where the screw diameter is large reduces the inner diameter of the cylinder and the clearance of the screw, and the part where the screw flight is provided in the direction opposite to the resin supply direction reduces the amount of resin supplied downstream,
  • the flow resistance of the molten resin can be increased.
  • the mechanism for increasing the flow resistance of the molten resin may be provided in the screw as a ring separate from the screw, or may be provided integrally with the screw as part of the screw structure.
  • the mechanism that increases the flow resistance of the molten resin is provided as a ring that is a separate member from the screw, the size of the clearance part that is the flow path of the molten resin can be changed by changing the ring, so the molten resin can be easily There is an advantage that the magnitude of the flow resistance can be changed.
  • the fluid is continuously introduced into the starvation zone 23, and the molten resin is constantly pressurized at a constant pressure with the fluid in the starvation zone 23. Since the starvation zone 23 is not filled with the molten resin (starved state) and there is a space where fluid can exist, the molten resin can be pressurized efficiently. In addition, since the internal pressure of the resin also decreases in the starvation zone 23, a low-pressure fluid can be introduced into the plasticizing cylinder 210 relatively easily. In the present embodiment, in the starvation zone 23, the fluid is constantly in contact with the molten resin at a constant pressure, and the pressure of the starvation zone pressure 23 is always controlled to the constant pressure.
  • the starvation zone 22 of the plasticizing cylinder 210 is provided with an introduction port 202 for introducing fluid into the starvation zone 22.
  • a mechanism for controlling them for example, a drive valve using a check valve or a solenoid valve is not necessary. It is. Since the introduction port 202 does not have a drive valve, it is always opened, and the fluid decompressed to a predetermined pressure by the pressure reducing valve 151 from the introduction port 202 that is always opened is continuously supplied to the plasticizing cylinder 210. be introduced.
  • the introduction port 202 of the present embodiment has a larger inner diameter than the introduction port of the high-pressure physical foaming agent in the conventional manufacturing apparatus, and even a relatively low-pressure fluid is efficiently introduced into the plasticizing cylinder 210. it can.
  • the inner diameter of the introduction port 202 is preferably 15% to 100% of the inner diameter of the plasticizing cylinder 210, and more preferably 15% to 50%. If the inner diameter of the introduction port 202 is too small, the fluid is not efficiently introduced into the plasticizing cylinder 210, and it becomes difficult to sufficiently pressurize the molten resin. If the inner diameter of the introduction port 202 is too large, a stay portion of the molten resin is generated. , Molding defects are likely to occur. In the starvation zone 23, since the flight of the screw 20 is deep and the amount of resin deposited is small, it is possible to suppress the molten resin from bulging out from the inlet 202 even if the diameter of the inlet 202 is increased.
  • a molten resin containing a chemical foaming agent is subjected to foam molding (step S3 in FIG. 1).
  • the molding method is not particularly limited, and for example, the molded body can be molded by injection foam molding, extrusion foam molding, foam blow molding or the like.
  • molten resin is injected and filled into the cavity 253 in the mold from the plasticizing cylinder 210 shown in FIG.
  • injection foam molding a short shot method is used in which a mold cavity is filled with a molten resin having a filling capacity of 75% to 95% of the mold cavity volume, and the mold cavity is filled while bubbles expand.
  • a core back method may be used in which after filling a molten resin having a mold cavity volume of 100%, the cavity volume is expanded and foamed. Since the obtained foamed molded article has foamed cells inside, shrinkage at the time of cooling of the thermoplastic resin is suppressed, sinking and warping are reduced, and a molded article having a low specific gravity can be obtained.
  • Example 1 an ABS resin was used as the thermoplastic resin, and a foamed molded article was produced using sodium bicarbonate (NaHCO 3 ), which is a hydrogen carbonate salt, as the chemical foaming agent.
  • NaHCO 3 sodium bicarbonate
  • ABS resin pellets Toyolac 500, manufactured by Toray, Inc.
  • master batch pellets Sankyo
  • a foam molded article was manufactured from a resin material mixed so that the content of sodium hydrogen carbonate was 0.2% by weight. Nitrogen was used as a fluid for pressurizing the molten resin.
  • the manufacturing apparatus 1000 shown in FIG. 2 used in the present embodiment is an injection molding apparatus.
  • the plasticizing cylinder 210 in which the screw 20 is installed the fluid supply mechanism (cylinder) 100 that supplies fluid to the plasticizing cylinder 210, and the gold A mold clamping unit 250 provided with a mold, and a control device (not shown) for controlling the operation of the plasticizing cylinder 210 and the mold clamping unit 250 are provided.
  • the nozzle tip 29 of the plasticizing cylinder 210 is provided with a shut-off valve 36 that opens and closes by driving the air cylinder 12, and the inside of the plasticizing cylinder 210 can be held at a high pressure.
  • a die is brought into close contact with the nozzle tip 29, and molten resin is injected and filled from the nozzle tip 29 into a cavity 253 formed by the die.
  • a plastic supply port 201 for supplying a resin material to the plasticizing cylinder 210 and an introduction port 202 for introducing a fluid into the plasticizing cylinder 210 are formed on the upper side surface of the plasticizing cylinder 210 in order from the upstream side.
  • the A resin supply hopper 211 and a small container 212 are disposed in the resin supply port 201 and the introduction port 202, respectively.
  • the cylinder 100 is connected to the small container 212 via a pressure reducing valve 151 and a pressure gauge 152. Further, a sensor 25 for monitoring pressure is provided at a position facing the introduction port 202 on the lower side surface side of the plasticizing cylinder 210.
  • the screw 20 is disposed in the plasticizing cylinder 210 so as to be able to rotate and advance and retract in order to promote plasticizing and melting of the thermoplastic resin and to measure and inject the molten resin.
  • the screw 20 is provided with the half-shaped ring 26 shown in FIG. 3 as a mechanism for increasing the flow resistance of the molten resin.
  • thermoplastic resin is supplied from the resin supply port 201 into the plasticizing cylinder 210, and the thermoplastic resin is plasticized by a band heater (not shown) to become molten resin, so that the screw 20 rotates in the forward direction. Sent downstream. Due to the presence of the ring 26 provided on the screw 20, the molten resin is compressed on the upstream side of the ring 26 to increase the pressure, and on the downstream side of the ring 26, the molten resin is not full (starved state). Become. Further, the resin sent downstream is recompressed near the tip of the plasticizing cylinder 210 and measured before injection.
  • the plasticizing cylinder 210 in order from the upstream side, the plasticizing zone 21 in which the thermoplastic resin is plasticized and melted, the compression zone 22 in which the molten resin is compressed and the pressure is increased, and the starvation in which the molten resin is unfilled
  • a recompression zone 24 is formed in which the molten resin decompressed in the zone 23 and the starvation zone is compressed again.
  • a ring 26 provided on the screw 20 is located between the compression zone 22 and the starvation zone 23.
  • the introduction port 202 into which the fluid is introduced is provided in the starvation zone 23.
  • a plurality of rings 26 are provided in the screw 20 and a plurality of inlets 202 are provided in the plasticizing cylinder 210, and a compression zone 22 and a starvation zone 23 are provided in the plasticizing cylinder 210.
  • a plurality of each may be formed.
  • the inner diameter of the plasticizing cylinder 210 was 3.5 cm, and the inner diameter of the introduction port 202 was 0.8 cm. Therefore, the inner diameter of the introduction port 202 was 23% of the inner diameter of the plasticizing cylinder 210.
  • a mold having a cavity 253 with a size of 100 mm ⁇ 200 mm ⁇ 3 mm was used.
  • the plasticizing zone 21 was adjusted to 200 ° C, the compression zone 22 to 210 ° C, the starvation zone 23 to 220 ° C, and the recompression zone 24 to 220 ° C by a band heater (not shown). And the resin material was supplied from the resin supply hopper 211, and the screw 20 was rotated forward. Thereby, in the plasticization zone 21, the resin material was heated and kneaded to obtain a molten resin containing a chemical foaming agent. By rotating the screw 20 forward, the molten resin was caused to flow from the plasticization zone 21 to the compression zone 22 and further to the starvation zone 23.
  • the supply amount of the molten resin to the starvation zone 23 is limited. It was done. As a result, the molten resin was compressed in the compression zone 22 on the upstream side of the ring 26 to increase the pressure, and in the starvation zone 23 on the downstream side, the molten resin became unfilled (starved state). In the starvation zone 23, since the molten resin is not full (starved state), the fluid (nitrogen) introduced from the introduction port 202 exists in a space where the molten resin does not exist, and the molten resin is pressurized by the fluid. .
  • the molten resin was sent to the recompression zone 24 and recompressed, and the molten resin for one shot was measured at the tip of the plasticizing cylinder 210. Thereafter, the shut-off valve 36 is opened, and molten resin is injected and filled into the cavity 253 so as to have a filling rate of 95% of the internal volume of the cavity 253 to form a flat-plate foam molded body (short shot). Law). After molding, the foamed molded product was taken out of the mold after waiting for the foamed molded product to cool. The cooling time was 20 seconds.
  • the injection molding of the molded body described above was performed continuously for 30 shots to obtain 30 foam molded bodies.
  • the pressure in the starvation zone 23 in the plasticizing cylinder 210 was measured by the pressure sensor 25 at all times.
  • the pressure in the starvation zone 23 was always constant at 6 MPa.
  • the value of the pressure gauge 152 indicating the pressure of nitrogen supplied to the starvation zone 23 was always 6 MPa during the production of the foamed molded product. From the above, the molten resin was constantly pressurized with 6 MPa nitrogen in the starvation zone 23 through one cycle of injection molding including the plasticizing and metering step, the injection step, the cooling step of the molded body, the removal step, etc. Was confirmed.
  • Example 2 a foamed molded article was produced using polypropylene (PP) resin as the thermoplastic resin and sodium hydrogen carbonate, which is a hydrogen carbonate salt, as the chemical foaming agent in the same manner as in Example 1.
  • PP resin pellets made by Prime Polymer, Prime Polypro J105G) (pellet A) not containing a reinforcing material such as an inorganic filler, and talc as an inorganic filler are used.
  • a carbon dioxide cylinder filled with carbon dioxide at 6 MPa was used as the cylinder 100.
  • the value of the pressure reducing valve 151 is set to 3 MPa
  • the cylinder 100 is opened, and 3 MPa carbon dioxide is supplied to the starvation zone 23 from the inlet 202 of the plasticizing cylinder 210 via the pressure reducing valve 151 and the pressure gauge 152. did.
  • the cylinder 100 was always open.
  • Example 2 In the same manner as in Example 1, the resin material was supplied from the resin supply hopper 211 into the plasticizing cylinder 210, and the plasticizing measurement of the resin material was performed in the plasticizing cylinder 210.
  • the shut-off valve 36 is opened, and the molten resin is injected and filled into the cavity 253 so that the filling rate is 100% of the internal volume of the cavity 253.
  • the mold clamping unit 250 is driven backward to drive the cavity.
  • the mold was opened so that the volume expanded from 100% to 200%, and a foamed molded article was molded (core back method). After molding, the foamed molded product was taken out of the mold after waiting for the foamed molded product to cool.
  • the cooling time was 30 seconds.
  • Example 2 since the core back method was used, compared with Example 1 using the short shot method, the thickness of the molded body was increased and the heat insulation effect was increased. Therefore, the cooling time was made longer than that in Example 1. .
  • the injection molding of the molded body described above was performed continuously for 30 shots to obtain 30 foam molded bodies.
  • the pressure in the starvation zone 23 in the plasticizing cylinder 210 was measured by the pressure sensor 25 at all times.
  • the pressure in the starvation zone 23 was always constant at 3 MPa.
  • the value of the pressure gauge 152 indicating the pressure of carbon dioxide supplied to the starvation zone 23 was always 3 MPa during the production of the foamed molded product.
  • the molten resin was constantly pressurized with 3 MPa carbon dioxide in the starvation zone 23 through one cycle of injection molding including the plasticizing and metering step, the injection step, the molding cooling step, the removal step, and the like. I was able to confirm.
  • Example 3 In this example, 30 foam molded articles were continuously produced by the same method as in Example 1 except that the value of the pressure reducing valve 151 was set to 0.5 MPa.
  • the pressure in the starvation zone 23 in the plasticizing cylinder 210 was measured by the pressure sensor 25 at all times. As a result, the pressure in the starvation zone 23 was always constant at 0.5 MPa. Further, the value of the pressure gauge 152 indicating the pressure of nitrogen supplied to the starvation zone 23 was always 0.5 MPa during the production of the foam molded article. From the above, the molten resin is constantly pressurized with 0.5 MPa nitrogen in the starvation zone 23 through one cycle of injection molding including the plasticizing and metering step, the injection step, the cooling step of the molded body, the removal step, and the like. I was able to confirm.
  • Example 4 In this example, 30 foamed molded articles were continuously produced by the same method as in Example 1 except that the value of the pressure reducing valve 151 was set to 10 MPa. However, the cooling time of the foamed molded product was 30 seconds.
  • the pressure in the starvation zone 23 in the plasticizing cylinder 210 was measured by the pressure sensor 25 at all times. As a result, the pressure in the starvation zone 23 was always constant at 10 MPa. In addition, the value of the pressure gauge 152 indicating the pressure of nitrogen supplied to the starvation zone 23 was always 10 MPa during the production of the foam molded article. From the above, the molten resin was constantly pressurized with 10 MPa of nitrogen in the starvation zone 23 through one cycle of injection molding including the plasticizing and metering step, the injection step, the cooling step of the molded body, the removal step, etc. Was confirmed.
  • Example 1 In this comparative example, 30 foamed molded articles were continuously produced by the same method as in Example 1 except that no chemical foaming agent was contained. Specifically, a foam-molded article was manufactured using a resin material made only of ABS resin pellets (Toyolac 500, manufactured by Toray, Inc.) that does not contain the chemical foaming agent used in Example 1.
  • a resin material made only of ABS resin pellets Toyolac 500, manufactured by Toray, Inc.
  • Example 2 In this comparative example, 30 foam molded articles were continuously produced in the same manner as in Example 2 except that the resin material contained 3 wt% of the chemical foaming agent. Specifically, using the pellet A, the pellet B, and the pellet C containing the chemical foaming agent used in Example 2, the weight ratio of the pellet A and the pellet B is 80:20, and the chemical foaming agent (carbonic acid) A foam molded article was produced using a resin material mixed so that the content of (sodium hydride) was 3% by weight.
  • Comparative Example 3 In this comparative example, 30 foam molded articles were continuously produced by the same method as in Example 1 except that the fluid was not introduced into the plasticizing cylinder 210.
  • Example 2 Average cell diameter of foam
  • the average cell diameter of the obtained foamed molded body was determined by the following method. First, the cross sections of the foamed molded products obtained in the respective examples and comparative examples were observed with a microscope. And the diameter of the cell which exists in the area
  • ABS Acrylonitrile / butadiene / styrene copolymer resin
  • PP Polypropylene * 2
  • SS Short shot method
  • CB Core back method
  • the average cell diameter was as small as about 100 ⁇ m, and occurrence of short shots, swelling of the molded body surface, swirl marks, and mold contamination were not confirmed.
  • the foam molded articles produced in Examples 1 to 4 have uniform cell densities and cell diameters in the gate part, the central part, and the terminal part, and the foamed cells in any part. The density was high and the foamed state was good.
  • Example 3 in which the fluid pressure was 0.5 MPa, the cell density was slightly lower than in Examples 1 and 2. This is presumably because the foaming performance was lowered as compared with Examples 1 and 2 because the pressure of the fluid functioning as a physical foaming agent was lower than that of Examples 1 and 2. Further, in Example 4 in which the fluid pressure was 10 MPa, since the fluid pressure was high, the molded body was likely to swell, and in order to suppress this, it was necessary to extend the cooling time compared to Example 1, resulting in production efficiency. Slightly decreased.
  • the pressure of the fluid for pressurizing the molten resin is preferably 1 MPa to 6 MPa and more preferably 3 MPa to 6 MPa from the viewpoint of more efficiently producing a foam molded article having a higher cell density.
  • Comparative Example 1 in which no chemical foaming agent was used, as shown in Table 1, the average cell diameter was as large as 300 ⁇ m, and swirl marks and blisters occurred, resulting in poor surface properties. Further, as shown in FIG. 4 (b), the molded body produced in Comparative Example 1 has a slightly larger cell diameter at the gate portion and a lower cell density than those in the central portion and the end portion. Compared with the foaming performance was reduced. In Comparative Example 2 in which the content of the chemical foaming agent was 3% by weight, as shown in Table 1, contaminants (contamination) adhered to the mold cavity surface. Similar contaminants also adhered to the surface of the foamed molded product, causing poor appearance.
  • the production method of the present invention can reduce the content of the chemical foaming agent in the resin material, and can simplify the device mechanism related to the physical foaming agent. Therefore, it is possible to efficiently produce a foamed molded article excellent in foamability at low cost.

Landscapes

  • Chemical & Material Sciences (AREA)
  • Engineering & Computer Science (AREA)
  • Medicinal Chemistry (AREA)
  • Materials Engineering (AREA)
  • Health & Medical Sciences (AREA)
  • Chemical Kinetics & Catalysis (AREA)
  • Polymers & Plastics (AREA)
  • Organic Chemistry (AREA)
  • Manufacturing & Machinery (AREA)
  • Mechanical Engineering (AREA)
  • General Chemical & Material Sciences (AREA)
  • Injection Moulding Of Plastics Or The Like (AREA)
  • Extrusion Moulding Of Plastics Or The Like (AREA)
  • Molding Of Porous Articles (AREA)
  • Processing And Handling Of Plastics And Other Materials For Molding In General (AREA)
PCT/JP2015/080643 2014-10-31 2015-10-30 発泡成形体の製造方法及び製造装置 Ceased WO2016068268A1 (ja)

Priority Applications (3)

Application Number Priority Date Filing Date Title
CN201580056062.7A CN107073770B (zh) 2014-10-31 2015-10-30 发泡成型体的制造方法和制造装置
EP15853790.2A EP3213898A4 (en) 2014-10-31 2015-10-30 Process and device for producing foamed molded object
US15/498,815 US10703029B2 (en) 2014-10-31 2017-04-27 Process and device for producing foamed molded object

Applications Claiming Priority (2)

Application Number Priority Date Filing Date Title
JP2014-222874 2014-10-31
JP2014222874A JP6023149B2 (ja) 2014-10-31 2014-10-31 発泡成形体の製造方法及び製造装置

Related Child Applications (1)

Application Number Title Priority Date Filing Date
US15/498,815 Continuation US10703029B2 (en) 2014-10-31 2017-04-27 Process and device for producing foamed molded object

Publications (1)

Publication Number Publication Date
WO2016068268A1 true WO2016068268A1 (ja) 2016-05-06

Family

ID=55857603

Family Applications (1)

Application Number Title Priority Date Filing Date
PCT/JP2015/080643 Ceased WO2016068268A1 (ja) 2014-10-31 2015-10-30 発泡成形体の製造方法及び製造装置

Country Status (5)

Country Link
US (1) US10703029B2 (enExample)
EP (1) EP3213898A4 (enExample)
JP (1) JP6023149B2 (enExample)
CN (1) CN107073770B (enExample)
WO (1) WO2016068268A1 (enExample)

Families Citing this family (9)

* Cited by examiner, † Cited by third party
Publication number Priority date Publication date Assignee Title
EP4108406B1 (en) * 2015-07-08 2024-04-24 Maxell, Ltd. Process and device for producing molded foam
CN108472845B (zh) * 2016-03-15 2020-09-18 麦克赛尔株式会社 发泡成形体的制造方法及制造装置
JP6777553B2 (ja) * 2017-01-11 2020-10-28 マクセル株式会社 発泡成形体の製造方法及び製造装置
JP6846243B2 (ja) 2017-03-10 2021-03-24 マクセル株式会社 発泡成形体の製造方法及び製造装置
JP7021406B2 (ja) * 2017-06-26 2022-02-17 マクセル株式会社 発泡成形体の製造方法
US20190118432A1 (en) * 2017-10-23 2019-04-25 Trexel, Inc. Blowing agent introduction in polymer foam processing
EP3987004A4 (en) * 2019-06-20 2023-08-23 Trexel, Inc. Blowing agents in polymer foam processing systems
CN111976097A (zh) * 2020-07-23 2020-11-24 深圳市华益盛模具股份有限公司 一种高压注塑机实现低压成型的模具
JP7267386B1 (ja) * 2021-11-19 2023-05-01 三恵技研工業株式会社 発泡成形体製造装置及び発泡成形体製造装置用スクリュ

Citations (5)

* Cited by examiner, † Cited by third party
Publication number Priority date Publication date Assignee Title
JPH1134130A (ja) * 1997-07-22 1999-02-09 Niigata Eng Co Ltd 発泡成形用射出成形機
JP2001009882A (ja) * 1999-06-30 2001-01-16 Japan Steel Works Ltd:The 熱可塑性樹脂発泡体の成形方法
JP2002079545A (ja) * 2000-06-22 2002-03-19 Mitsui Chemicals Inc 射出発泡成形方法、並びにそれに適した射出成形機および樹脂組成物
JP2003191272A (ja) * 2001-12-25 2003-07-08 Sekisui Chem Co Ltd 熱可塑性樹脂発泡体の製造方法
JP2008142997A (ja) * 2006-12-08 2008-06-26 Toyota Boshoku Corp 射出発泡成形体の製造方法および該方法によって得られる成形体

Family Cites Families (14)

* Cited by examiner, † Cited by third party
Publication number Priority date Publication date Assignee Title
US5158986A (en) 1991-04-05 1992-10-27 Massachusetts Institute Of Technology Microcellular thermoplastic foamed with supercritical fluid
US5997781A (en) 1996-04-04 1999-12-07 Mitsui Chemicals, Inc. Injection-expansion molded, thermoplastic resin product and production process thereof
JP4144916B2 (ja) 1996-04-04 2008-09-03 三井化学株式会社 熱可塑性樹脂発泡射出成形体およびその製造方法
US7172333B2 (en) * 1999-04-02 2007-02-06 Southco, Inc. Injection molding screw
US6435853B1 (en) 1999-06-18 2002-08-20 The Japan Steelworks, Ltd. Apparatus for plasticizing material for molding thermoplastic resin foam
DE60117322T2 (de) 2000-06-22 2006-11-02 Mitsui Chemicals, Inc. Verfahren, Vorrichtung und Zusammensetzung zum Spritzgiessen von Schaum
JP4618910B2 (ja) 2001-03-08 2011-01-26 株式会社プライムポリマー 射出発泡用樹脂組成物
JP3788750B2 (ja) 2001-07-30 2006-06-21 株式会社日本製鋼所 発泡剤用ガス供給装置、それを用いた熱可塑性樹脂発泡体の成形装置及び熱可塑性樹脂発泡体の成形方法
DE10147070A1 (de) * 2001-09-25 2003-04-17 Microcell Polymer Technology G Verfahren und Vorrichtung zur Herstellung eines aufgeschäumten Kunststoffprodukts sowie aufgeschäumtes Kunststoffprodukt
US7318713B2 (en) * 2002-07-18 2008-01-15 Trexel, Inc. Polymer processing systems including screws
JP5084559B2 (ja) * 2008-02-29 2012-11-28 株式会社プライムポリマー 耐湿性軽量樹脂成形体の製造方法
JP2010120335A (ja) * 2008-11-21 2010-06-03 Prime Polymer Co Ltd 耐湿性軽量樹脂成形体の製造方法
DE102011105772B4 (de) * 2011-06-24 2014-10-30 Wittmann Battenfeld Gmbh Vorrichtung zum Spritzgießen von Kunststoff-Formteilen aus thermoplastischem Kunststoff
EP2746025B1 (en) 2011-08-19 2017-01-11 Hitachi Maxell, Ltd. Kneading device and method for producing thermoplastic resin molded body

Patent Citations (5)

* Cited by examiner, † Cited by third party
Publication number Priority date Publication date Assignee Title
JPH1134130A (ja) * 1997-07-22 1999-02-09 Niigata Eng Co Ltd 発泡成形用射出成形機
JP2001009882A (ja) * 1999-06-30 2001-01-16 Japan Steel Works Ltd:The 熱可塑性樹脂発泡体の成形方法
JP2002079545A (ja) * 2000-06-22 2002-03-19 Mitsui Chemicals Inc 射出発泡成形方法、並びにそれに適した射出成形機および樹脂組成物
JP2003191272A (ja) * 2001-12-25 2003-07-08 Sekisui Chem Co Ltd 熱可塑性樹脂発泡体の製造方法
JP2008142997A (ja) * 2006-12-08 2008-06-26 Toyota Boshoku Corp 射出発泡成形体の製造方法および該方法によって得られる成形体

Also Published As

Publication number Publication date
US20170225372A1 (en) 2017-08-10
US10703029B2 (en) 2020-07-07
EP3213898A1 (en) 2017-09-06
JP6023149B2 (ja) 2016-11-09
CN107073770A (zh) 2017-08-18
JP2016087887A (ja) 2016-05-23
EP3213898A4 (en) 2018-07-18
CN107073770B (zh) 2020-08-21

Similar Documents

Publication Publication Date Title
JP6023149B2 (ja) 発泡成形体の製造方法及び製造装置
JP6843919B2 (ja) 射出成形装置のスクリュ及び射出成形装置
JP6728440B2 (ja) 発泡成形体の製造方法
JP7101471B2 (ja) 発泡成形体の製造方法及び製造装置
JP6777553B2 (ja) 発泡成形体の製造方法及び製造装置
JP6846243B2 (ja) 発泡成形体の製造方法及び製造装置
CN114630858A (zh) 成型体和成型体的制造方法
JP4951894B2 (ja) 射出装置
JP6997847B2 (ja) 発泡成形体の製造方法及び製造装置

Legal Events

Date Code Title Description
121 Ep: the epo has been informed by wipo that ep was designated in this application

Ref document number: 15853790

Country of ref document: EP

Kind code of ref document: A1

NENP Non-entry into the national phase

Ref country code: DE

REEP Request for entry into the european phase

Ref document number: 2015853790

Country of ref document: EP