WO2016002149A1 - 光通信方法およびシステム - Google Patents

光通信方法およびシステム Download PDF

Info

Publication number
WO2016002149A1
WO2016002149A1 PCT/JP2015/003018 JP2015003018W WO2016002149A1 WO 2016002149 A1 WO2016002149 A1 WO 2016002149A1 JP 2015003018 W JP2015003018 W JP 2015003018W WO 2016002149 A1 WO2016002149 A1 WO 2016002149A1
Authority
WO
WIPO (PCT)
Prior art keywords
photon
polarizer
photon pair
correlated
shutter
Prior art date
Legal status (The legal status is an assumption and is not a legal conclusion. Google has not performed a legal analysis and makes no representation as to the accuracy of the status listed.)
Ceased
Application number
PCT/JP2015/003018
Other languages
English (en)
French (fr)
Japanese (ja)
Inventor
森本 政仁
Current Assignee (The listed assignees may be inaccurate. Google has not performed a legal analysis and makes no representation or warranty as to the accuracy of the list.)
Furukawa Electric Co Ltd
Original Assignee
Furukawa Electric Co Ltd
Priority date (The priority date is an assumption and is not a legal conclusion. Google has not performed a legal analysis and makes no representation as to the accuracy of the date listed.)
Filing date
Publication date
Application filed by Furukawa Electric Co Ltd filed Critical Furukawa Electric Co Ltd
Publication of WO2016002149A1 publication Critical patent/WO2016002149A1/ja
Priority to US15/393,355 priority Critical patent/US9935721B2/en
Anticipated expiration legal-status Critical
Ceased legal-status Critical Current

Links

Images

Classifications

    • HELECTRICITY
    • H04ELECTRIC COMMUNICATION TECHNIQUE
    • H04BTRANSMISSION
    • H04B10/00Transmission systems employing electromagnetic waves other than radio-waves, e.g. infrared, visible or ultraviolet light, or employing corpuscular radiation, e.g. quantum communication
    • H04B10/80Optical aspects relating to the use of optical transmission for specific applications, not provided for in groups H04B10/03 - H04B10/70, e.g. optical power feeding or optical transmission through water
    • H04B10/85Protection from unauthorised access, e.g. eavesdrop protection
    • HELECTRICITY
    • H04ELECTRIC COMMUNICATION TECHNIQUE
    • H04BTRANSMISSION
    • H04B10/00Transmission systems employing electromagnetic waves other than radio-waves, e.g. infrared, visible or ultraviolet light, or employing corpuscular radiation, e.g. quantum communication
    • H04B10/50Transmitters
    • H04B10/516Details of coding or modulation
    • H04B10/532Polarisation modulation
    • HELECTRICITY
    • H04ELECTRIC COMMUNICATION TECHNIQUE
    • H04BTRANSMISSION
    • H04B10/00Transmission systems employing electromagnetic waves other than radio-waves, e.g. infrared, visible or ultraviolet light, or employing corpuscular radiation, e.g. quantum communication
    • H04B10/70Photonic quantum communication
    • HELECTRICITY
    • H04ELECTRIC COMMUNICATION TECHNIQUE
    • H04LTRANSMISSION OF DIGITAL INFORMATION, e.g. TELEGRAPHIC COMMUNICATION
    • H04L9/00Cryptographic mechanisms or cryptographic arrangements for secret or secure communications; Network security protocols
    • H04L9/08Key distribution or management, e.g. generation, sharing or updating, of cryptographic keys or passwords
    • H04L9/0816Key establishment, i.e. cryptographic processes or cryptographic protocols whereby a shared secret becomes available to two or more parties, for subsequent use
    • H04L9/0852Quantum cryptography

Definitions

  • the present invention relates to an optical communication method and system for transmitting and receiving information using photons.
  • Non-Patent Documents 1 and 2 In recent years, research and experiments have been conducted on quantum cryptography communication using quantum mechanics principles (Non-Patent Documents 1 and 2).
  • Conventional quantum cryptography communication has been studied on the premise that quantum photon superposed photons exist in the communication path. When superposed photons are observed by an eavesdropper, they transition from a superposed state to a unique state having definitive information. Due to such an effect, the eavesdropper cannot reproduce the original superposition state, and thus it is impossible to eavesdrop without affecting the transmitted / received information. For this reason, the original sender / receiver can detect the presence / absence of eavesdropping to ensure safety.
  • Non-Patent Document 3 discloses an optical communication method as quantum cryptography communication.
  • a transmitter performs phase modulation according to information to be transmitted to a photon, and transmits the photon to a receiver.
  • the phase used by the sender cannot be known, so that a photon subjected to the same phase modulation cannot be retransmitted to the receiver.
  • the mismatch (error) between the information transmitted by the sender and the information received by the receiver increases, so that the presence of an eavesdropper can be detected.
  • the eavesdropper can measure the photons transmitted and received through the communication path.
  • information for example, an encryption key
  • it is possible to cope with eavesdropping by discarding information (for example, an encryption key) related to photons that may be illegally measured when the presence of an eavesdropper is detected. It cannot be denied that the photon gives some information to the eavesdropper. Therefore, it is more desirable to make it difficult for the eavesdropper to measure the photons themselves.
  • the present invention has been made in view of the above-described problems, and an object thereof is to provide an optical communication method and system that is more difficult to wiretap than in the past.
  • a first aspect of the present invention is an optical communication system, which is provided on one optical path of a correlated photon pair and a photon pair generating unit that generates a correlated photon pair, and is oriented based on transmitted information.
  • a changeable polarizer, a shutter provided between the photon pair generation unit and the polarizer on the one optical path of the correlated photon pair, and capable of blocking the one of the correlated photon pairs; and the correlation And a photon detector provided on the other optical path of the photon pair.
  • an optical communication method wherein the orientation of a polarizer is set based on transmitted information, and correlation is performed by a photon pair generation unit after the orientation of the polarizer is set. Generating a photon pair; blocking one of the correlated photon pairs by a shutter after the correlated photon pair is generated; and detecting a correlated photon pair by the detector after the correlated photon pair is generated. Detecting the other, wherein the shutter and the polarizer are disposed on the one optical path of the correlated photon pair, and the detector is disposed on the other optical path of the correlated photon pair. It is arranged.
  • 1 is a schematic configuration diagram of an optical communication system according to an embodiment of the present invention. It is a figure which shows the flowchart of the optical communication method which concerns on one Embodiment of this invention. It is a figure which shows the typical plot of the result measured by the optical communication method which concerns on one Embodiment of this invention. It is a figure which shows the typical plot of the result measured by the optical communication method which concerns on one Embodiment of this invention. 1 is a schematic configuration diagram of an optical communication system according to an embodiment of the present invention. It is a figure which shows the flowchart of the optical communication method which concerns on one Embodiment of this invention.
  • FIG. 1 is a schematic configuration diagram of an optical communication system 100 according to the present embodiment.
  • the optical communication system 100 includes a receiver 110 and a transmitter 120, and the receiver 110 and the transmitter 120 are connected by a communication path 130 that is an information transmission path.
  • the communication path 130 is a free space, but at least a part of the communication path 130 may be an optical waveguide such as an optical fiber or PLC.
  • the names of the receiver 110 and the transmitter 120 are defined based on the direction of information transmission, and are opposite to the direction of photon transmission, as will be described later. That is, the transmission direction of information is from the transmitter 120 to the receiver 110, but the transmission direction of photons is from the receiver 110 to the transmitter 120.
  • a photon source 111 that outputs photons according to control by the reception control unit 119, and a photon pair generation unit 112 that generates a correlated photon pair when a photon enters from the photon source 111 are provided.
  • One of the photon pairs is a photon p, and the other is a photon s.
  • the photon p and the photon s have a correlation so as to have polarizations orthogonal to each other. That is, when the photon p is longitudinally polarized, the photon s is transversely polarized or vice versa.
  • a BBO crystal ( ⁇ -BaB 2 O 4 crystal) that generates a correlated photon pair by parametric down-conversion is used, but any photon pair that generates a correlated photon pair is used. Substances or devices may be used.
  • Two QWPs 113a and 113b (1/4 wavelength plates) and a double slit plate 114 are provided in the emission direction of the photons s by the photon pair generator 112, that is, on the optical path of the photons s.
  • the double slit plate 114 has two parallel slits.
  • the first QWP 113a is arranged so that the photon s passing through it is incident on one of the two slits
  • the second QWP 113b is arranged so that the photon s passing through it is incident on the other of the two slits. Placed in.
  • the QWPs 113a and 113b When linearly polarized photons s are incident at an inclination of ⁇ 45 ° or 45 ° with respect to the fast axes of the QWPs 113a and 113b (the polarization of the photons s at this time is assumed to be obliquely polarized), the QWPs 113a and 113b Is converted into circularly polarized light and output.
  • the QWP 113a, 113b when the linearly polarized photon s is incident with an inclination of 0 ° or 90 ° with respect to the high-speed axis of the QWP 113a, 113b (the polarization of the photon s at this time is set as vertical polarization or horizontal polarization), the QWP 113a, 113b outputs the photon s as linearly polarized light. Furthermore, the directions when the QWPs 113a and 113b convert the photons s into circularly polarized light are opposite to each other.
  • the first QWP 113a converts photons s to right circularly polarized light
  • the second QWP 113b converts photons s to left circularly polarized light (or vice versa).
  • the slit plate 115 and the reception detector 116 are provided at the point where the photon s passes through the double slit plate 114, that is, on the optical path of the photon s.
  • the slit plate 115 has a slit that restricts the photons s to be input to the reception detector 116 from a predetermined direction.
  • the reception detector 116 outputs a predetermined signal to the reception control unit 119 when detecting the photon s.
  • an APD active photodiode
  • the reception detector 116 is connected to a drive unit 117 that moves the reception detector 116 in a direction perpendicular to the emission direction of the photon s (the optical path of the photon s) by the photon pair generation unit 112.
  • the drive unit 117 is an arbitrary drive unit such as a motor or an actuator.
  • a shutter 118 is provided in the emission direction of the photon p by the photon pair generation unit 112, that is, on the optical path of the photon p.
  • the shutter 118 can be switched between a state in which the photon p is opened to pass through the communication path 130 and a state in which the shutter 118 is closed so as to block the photon p from the communication path 130 according to control by the reception control unit 119. It is.
  • any device that can be switched between open and closed mechanically or electromagnetically may be used.
  • a reception control unit 119 is connected to the photon source 111, the reception detector 116 and the shutter 118.
  • the reception control unit 119 electrically controls each member, communicates with the transmitter 120 via the synchronization transmission path 140, records the measured data, and inputs / outputs to / from the user.
  • the reception control unit 119 includes an arbitrary computer or an electric circuit.
  • a polarizer 121 (polarizing plate) is provided in the incident direction of the photon p from the receiver 110, that is, on the optical path of the photon p.
  • the polarizer 121 is between a first state in which a photon having polarized light in a predetermined direction passes completely and a second state inclined from the first state by + 45 ° or ⁇ 45 ° with respect to the transmission direction of the photon. Switching is possible.
  • longitudinally polarized light or laterally polarized light is used as the polarized light in the predetermined direction.
  • the polarizer 121 in the first state passes the vertically or horizontally polarized photon, and the polarizer 121 in the second state is obliquely polarized light. Let the photons pass through.
  • the polarizer 121 is switched between the first state and the second state according to control by the transmission control unit 122.
  • a slit plate 123 and a transmission detector 124 are provided at a point where the photon p passes through the polarizer 121.
  • the slit plate 123 has a slit that restricts the photon p to be input to the transmission detector 124 from a predetermined direction.
  • the transmission detector 124 outputs a predetermined signal to the transmission control unit 122 when detecting the photon p.
  • information is transmitted from the transmitter 120 to the receiver 110 depending on the orientation of the polarizer 121, and therefore the transmission detector 124 is not necessarily required for information transmission.
  • the transmission detector 124 receives photons from the receiver 110 to align the optical axis of the communication path 130 between the transmitter 120 and the receiver 110 or between the transmitter 120 and the receiver 110. It is used to measure the distance.
  • a transmission control unit 122 is connected to the polarizer 121 and the transmission detector 124.
  • the transmission control unit 122 electrically controls each member, communicates with the receiver 110 via the synchronization transmission path 140, records the measured data, and inputs / outputs to / from the user.
  • the transmission control unit 122 includes an arbitrary computer or an electric circuit.
  • the receiver 110 and the transmitter 120 are connected by a synchronization transmission line 140.
  • the synchronization transmission path 140 may be an arbitrary communication path such as an optical fiber communication path or a wireless communication path.
  • the transmission control unit 122 synchronizes transmission / reception timing by transmitting a synchronization signal to the reception control unit 119 via the synchronization transmission path 140.
  • Transmission / reception timing synchronization is performed by an arbitrary synchronization method using a signal indicating a transmission time, a periodic signal, or the like.
  • the correlated photon pair has a state
  • This state is expressed by equation (1).
  • y> that have passed through a device for aligning polarized light are polarized light inclined by + 45 ° or ⁇ 45 ° as represented by the equation (2). It was supposed to be a superposition of.
  • ⁇ > indicates the direction of the polarizer (the polarizer 121 in the optical communication system 100),
  • the presence of the polarizer directs the nonlocal potential
  • ⁇ > follows the Maxwell equation and propagates from the polarizer at the speed of light.
  • ⁇ > reaches a BBO crystal (a photon pair generating unit 112 in the optical communication system 100) that generates a photon pair, the BBO crystal is directed to this oriented delocalized potential
  • ⁇ > reaches the BBO crystal from the polarizer that exists in the direction in which the photons are emitted from the BBO crystal.
  • ⁇ 1 > is reached, so that the BBO crystal can generate the photon p only with the horizontal polarization
  • the other photon s of the correlated photon pair becomes longitudinally polarized light
  • the polarizer when the polarizer is oriented vertically, the delocalized potential
  • the polarization of photons that can be generated by the BBO crystal is constrained by the orientation of the polarizer that exists in the direction in which the photons are emitted from the BBO crystal. Note that longitudinally polarized light or laterally polarized light has been described here.
  • the correlated photon pair generated by the BBO crystal if one is longitudinally polarized light
  • FIG. 2 is a diagram illustrating a flowchart of an optical communication method using the optical communication system 100.
  • the transmission control unit 122 sets the orientation of the polarizer 121 based on the transmitted information (step S101).
  • the polarizer 121 is set to the first state in which the vertically or horizontally polarized photons are completely passed, and “0” is transmitted as the second information.
  • the polarizer 121 is moved from the first state to the second state inclined by + 45 ° or ⁇ 45 ° with respect to the photon transmission direction.
  • the direction of polarized light passing through in the first state may be set to other than longitudinally polarized light or laterally polarized light, and “0” and “1” as transmitted information may be reversed.
  • the receiver 110 may be configured by appropriately changing the definition of the relationship between the polarization direction and the transmitted information.
  • the reception control unit 119 generates photons from the photon source 111 (step S102).
  • the timing for generating a photon from the photon source 111 is set so that the photon from the photon source 111 reaches the photon pair generating unit 112 after the nonlocal potential from the polarizer 121 reaches the photon pair generating unit 112. .
  • the time when the orientation of the polarizer 121 is set is t 1
  • the time required for the nonlocal potential from the polarizer 121 to reach the photon pair generation unit 112 is a
  • the photon from the photon source 111 is
  • the time required to reach the photon pair generating unit 112 is b
  • the time t 2 for generating photons from the photon source 111 is expressed by equation (6).
  • the times a and b can be calculated from the distance between the members.
  • the time t 1 when the orientation of the polarizer 121 is set is determined based on the synchronization signal received from the transmission control unit 122 via the synchronization transmission path 140.
  • the photon pair generation unit 112 When receiving a photon from the photon source 111, the photon pair generation unit 112 generates photons p and s which are correlated photon pairs (step S103). At this time, since the nonlocal potential from the polarizer 121 has already reached the photon pair generation unit 112, the polarization directions of the photons p and s are determined by the nonlocal potential. Specifically, when the polarizer 121 is in the first state in which the vertically or horizontally polarized photons are completely passed, the photon p from the photon pair generation unit 112 to the polarizer 121 is vertically or horizontally polarized light. And the other photon s is also longitudinally polarized light or transversely polarized light.
  • the photon p directed from the photon pair generator 112 to the polarizer 121 is It is obliquely polarized light, and the other photon s is also obliquely polarized light.
  • the reception control unit 119 closes the shutter 118 (step S104).
  • the timing of closing the shutter 118 is after the photon p and s are generated in the photon pair generation unit 112 and before the photon p reaches the shutter 118.
  • c be the time required for the photon pair generation unit 112 to generate photons p and s
  • d be the time required for the photon p from the photon pair generation unit 112 to reach the shutter 118.
  • time t 3 when closing the shutter 118 is expressed by equation (7). Since the photon moves at the speed of light, the times c and d can be calculated from the distance between the members.
  • the reception detector 116 detects the photons s that have passed through the QWPs 113a and 113b and the double slit plate 114, and records the presence or absence of detection in the reception control unit 119 (step S105). Thereafter, the reception control unit 119 opens the shutter 118 (step S106).
  • steps S102 to S106 are repeated a predetermined number of times at each measurement location while the reception detector 116 is moved by a predetermined distance by the drive unit 117 without changing the direction of the polarizer 121 (step S107) (step S107).
  • steps S102 to S107 are executed 50 times (total 1000 times) at 20 locations.
  • the reception control unit 119 determines the transmitted information by plotting the number of detected photons for each measurement location (step S109). Specifically, when interference is observed in the plot, the photon s before entering the QWPs 113a and 113b is longitudinally polarized light or laterally polarized light, so the other photon p is also longitudinally polarized light or laterally polarized light. . Therefore, it can be seen that the polarizer 121 on the optical path of the photon p is in the first state in which the vertically or horizontally polarized photon is completely passed, so the reception control unit 119 receives the information transmitted from the transmitter 120 as the first state. “1”, which is information of 1, is determined.
  • the reception control unit 119 transmits the information transmitted from the transmitter 120. Is determined as “0” as the second information.
  • FIG. 3A and 3B are diagrams showing schematic plots of results measured by the reception detector 116.
  • FIG. 3A when the plot is a mountain shape having a single vertex, since no interference occurs, the photon s before entering the QWPs 113a and 113b is obliquely polarized light.
  • FIG. 3B when the plot has a wave shape having a plurality of vertices, interference occurs, and thus the photons s before entering the QWPs 113a and 113b are longitudinally polarized light or laterally polarized light. .
  • These determinations may be performed by the reception control unit 119 or a user.
  • a non-local potential that cannot be observed is transmitted from the transmitter 120 to the receiver 110, and the polarization of photons that can be generated from the photon pair generator 112 is constrained by the non-local potential.
  • the receiver 110 and the transmitter 120 of the optical communication system 100 are arranged at positions where photons can be transmitted and received. However, before the photons are actually emitted from the receiver 110 to the transmitter 120, the photons are blocked by the shutter 118. To do. For this reason, an eavesdropper cannot read information by stealing photons transmitted and received. Furthermore, since observable photons do not pass through the transmission path of information from the transmitter 120 to the receiver 110, it is difficult for an eavesdropper to know the transmission path itself.
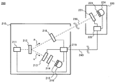
  • FIG. 4 is a schematic configuration diagram of an optical communication system 200 according to the present embodiment.
  • the optical communication system 200 includes a receiver 210 and a transmitter 220, and the receiver 210 and the transmitter 220 are connected by a communication path 230 that is an information transmission path.
  • the communication path 230 is a free space, but at least a part of the communication path 230 may be an optical waveguide such as an optical fiber or PLC.
  • a photon source 211 that outputs photons according to control by the reception control unit 219, and a photon pair generation unit 212 that generates a correlated photon pair when a photon enters from the photon source 211 are provided.
  • One of the photon pairs is a photon p, and the other is a photon s.
  • the photon p and the photon s have a correlation so as to have polarizations orthogonal to each other. That is, when the photon p is longitudinally polarized, the photon s is transversely polarized or vice versa.
  • a BBO crystal ⁇ -BaB 2 O 4 crystal
  • Substances or devices may be used.
  • a second shutter 213 and a second polarizer 214 are provided in the emission direction of photons s by the photon pair generator 212, that is, on the optical path of the photons s.
  • the second shutter 213 is opened to pass the photon s through the second polarizer 214 and closed to block the photon s from the second polarizer 214 according to control by the reception control unit 219. It is possible to switch between these states.
  • any device that can be switched between open and closed mechanically or electromagnetically may be used.
  • the second polarizer 214 passes a photon having a polarization in a predetermined direction and does not pass a photon having a polarization other than the predetermined direction.
  • the second polarizer 214 since the horizontally polarized light is used as the polarized light in the predetermined direction, the second polarizer 214 passes when the photon s is horizontally polarized light, and passes through other polarized light, that is, vertically polarized light or obliquely polarized light. Do not pass.
  • a slit plate 215 and a reception detector 216 are provided at a point where the photon s passes through the second polarizer 214.
  • the slit plate 215 has a slit that restricts the photons s to be input to the reception detector 216 from a predetermined direction.
  • the reception detector 216 outputs a predetermined signal to the reception control unit 219 when detecting the photon s.
  • an APD active photodiode
  • any device capable of detecting photons may be used.
  • a first shutter 218 is provided in the emission direction of photons p by the photon pair generator 212, that is, on the optical path of the photons p.
  • the first shutter 218 is between a state where the first shutter 218 is opened so as to pass the photon p through the communication path 230 and a state where the first shutter 218 is closed so as to block the photon p from the communication path 230.
  • any device that can be switched between open and closed mechanically or electromagnetically may be used.
  • a reception control unit 219 is connected to the photon source 211, the reception detector 216, the first shutter 218, and the second shutter 213.
  • the reception control unit 219 electrically controls each member, communicates with the transmitter 220 via the synchronization transmission path 240, records the measured data, and inputs / outputs to / from the user.
  • the reception control unit 219 includes an arbitrary computer or an electric circuit.
  • a first polarizer 221 (polarizing plate) is provided in the incident direction of the photon p from the receiver 210, that is, on the optical path of the photon p.
  • the first polarizer 221 has a first state in which a photon having polarized light in a predetermined direction passes completely, and a predetermined angle (for example, + 90 ° or ⁇ 90 °) with respect to the transmission direction of the photon from the first state. Switching between the tilted second state is possible.
  • the polarizer 121 in the first state passes the vertically polarized photon, and the polarizer 121 in the second state passes the horizontally polarized photon.
  • the first polarizer 221 is switched between the first state and the second state according to control by the transmission control unit 222.
  • a slit plate 223 and a transmission detector 224 are provided at the point where the photon p passes through the first polarizer 221.
  • the slit plate 223 has a slit that restricts the photon p to be input to the transmission detector 224 from a predetermined direction.
  • the transmission detector 224 outputs a predetermined signal to the transmission control unit 222 when detecting the photon p.
  • information is transmitted from the transmitter 220 to the receiver 210 according to the orientation of the first polarizer 221 as in the first embodiment. Therefore, the transmission detector 224 is not necessarily used for information transmission. Not necessary.
  • the transmission detector 224 receives the photons from the receiver 210 to align the optical axis of the communication path 230 between the transmitter 220 and the receiver 210 or between the transmitter 220 and the receiver 210. It is used to measure the distance.
  • a transmission control unit 222 is connected to the first polarizer 221 and the transmission detector 224.
  • the transmission control unit 222 electrically controls each member, communicates with the receiver 210 via the synchronization transmission path 240, records the measured data, and inputs / outputs to / from the user.
  • the transmission control unit 222 includes an arbitrary computer or an electric circuit.
  • the receiver 210 and the transmitter 220 are connected by a synchronization transmission path 240.
  • the synchronization transmission path 240 may be an arbitrary communication path such as an optical fiber communication path or a wireless communication path.
  • the transmission control unit 222 synchronizes transmission / reception timing by transmitting a synchronization signal to the reception control unit 219 via the synchronization transmission path 240.
  • Transmission / reception timing synchronization is performed by an arbitrary synchronization method using a signal indicating a transmission time, a periodic signal, or the like.
  • FIG. 5 is a diagram showing a flowchart of an optical communication method using the optical communication system 200.
  • the transmission control unit 222 changes the direction of the first polarizer 221 based on the transmitted information.
  • Set (step S201) In this embodiment, when “1” is transmitted as the first information, the first polarizer 221 is set to the first state in which the vertically polarized photons are completely passed, and “0” is transmitted as the second information. In this case, the first polarizer 221 is set to the second state inclined from the first state by a predetermined angle (for example, + 90 ° or ⁇ 90 °).
  • the direction of polarized light passing in the first state may be set to other than vertically polarized light, and “0” and “1” as transmitted information may be reversed.
  • the receiver 210 may be configured by appropriately changing the definition of the relationship between the polarization direction and the transmitted information.
  • the reception control unit 219 generates photons from the photon source 211 (step S202).
  • the timing for generating a photon from the photon source 211 is such that the photon from the photon source 211 reaches the photon pair generating unit 212 after the delocalized potential from the first polarizer 221 reaches the photon pair generating unit 212.
  • the timing can be calculated by Expression (6) as in the first embodiment.
  • the photon pair generation unit 212 Upon receiving a photon from the photon source 211, the photon pair generation unit 212 generates photons p and s which are correlated photon pairs (step S203). At this time, since the delocalization potential from the first polarizer 221 has already reached the photon pair generation unit 212, the polarization directions of the photons p and s are determined by the delocalization potential. Specifically, when the first polarizer 221 is in the first state in which the vertically polarized photons are completely passed, the photon p heading from the photon pair generation unit 212 to the first polarizer 221 is vertically polarized. And the other photon s is transversely polarized.
  • the photon pair generating unit When the first polarizer 221 is in the second state where the first polarizer 221 is tilted from the first state by a predetermined angle (in this case, + 90 ° or ⁇ 90 °) and passes the horizontally polarized light, the photon pair generating unit The photon p heading from 212 to the first polarizer 221 is laterally polarized, and the other photon s is vertically polarized.
  • a predetermined angle in this case, + 90 ° or ⁇ 90 °
  • the reception control unit 219 closes the first shutter 218 (step S204).
  • the timing for closing the first shutter 218 is after photons p and s are generated in the photon pair generation unit 212 and before the photon p reaches the first shutter 218.
  • the timing can be calculated by Expression (7) as in the first embodiment.
  • the reception control unit 219 opens the second shutter 213 (step S205).
  • the timing for opening the second shutter 213 is after the photon pair generation unit 212 generates photons p and s, but before the photon s reaches the second shutter 213.
  • the time required for the photon s from the photon pair generation unit 212 to reach the second shutter 213 is represented by e.
  • the time t 4 when opening the second shutter 213 is expressed by equation (8). Since the photon moves at the speed of light, the time e can be calculated from the distance between the members.
  • the reception detector 216 detects the photon s that has passed through the second polarizer 214, and records the presence or absence of detection in the reception control unit 219 (step S206). Thereafter, the reception control unit 219 opens the first shutter 218 and closes the second shutter 213 (step S207).
  • the reception control unit 219 determines the transmitted information using the result measured by the reception detector 216 (step S208). Specifically, when the photon is detected by the reception detector 216, the photon s before entering the second polarizer 214 is laterally polarized, so the other photon p is longitudinally polarized. Therefore, since it can be seen that the first polarizer 221 on the optical path of the photon p is in the first state in which the vertically polarized photon is completely passed, the reception control unit 219 receives the information transmitted from the transmitter 220 as the first state. “1”, which is information of 1, is determined.
  • the reception control unit 219 is transmitted from the transmitter 220.
  • the information is determined to be the second information “0”.
  • optical communication system 200 in addition to the effects achieved by the first embodiment, it is possible to transmit one piece of information by only one transmission, so that the transmission speed can be further improved. It is.
  • the present invention has been described using the terms of longitudinally polarized light, laterally polarized light, and obliquely polarized light as the polarization of photons, but the present invention is not limited to a specific direction of polarized light. In the practice of the present invention, polarized light in other directions may be used based on the symmetry of the polarized light. When using polarized light in other directions, the description in this specification may be read as appropriate.

Landscapes

  • Engineering & Computer Science (AREA)
  • Physics & Mathematics (AREA)
  • Electromagnetism (AREA)
  • Computer Networks & Wireless Communication (AREA)
  • Signal Processing (AREA)
  • Computer Security & Cryptography (AREA)
  • Optics & Photonics (AREA)
  • Theoretical Computer Science (AREA)
  • Optical Communication System (AREA)
  • Polarising Elements (AREA)
PCT/JP2015/003018 2014-07-02 2015-06-17 光通信方法およびシステム Ceased WO2016002149A1 (ja)

Priority Applications (1)

Application Number Priority Date Filing Date Title
US15/393,355 US9935721B2 (en) 2014-07-02 2016-12-29 Optical communication method and optical communication system

Applications Claiming Priority (2)

Application Number Priority Date Filing Date Title
JP2014-136718 2014-07-02
JP2014136718A JP5959577B2 (ja) 2014-07-02 2014-07-02 光通信方法およびシステム

Related Child Applications (1)

Application Number Title Priority Date Filing Date
US15/393,355 Continuation US9935721B2 (en) 2014-07-02 2016-12-29 Optical communication method and optical communication system

Publications (1)

Publication Number Publication Date
WO2016002149A1 true WO2016002149A1 (ja) 2016-01-07

Family

ID=55018730

Family Applications (1)

Application Number Title Priority Date Filing Date
PCT/JP2015/003018 Ceased WO2016002149A1 (ja) 2014-07-02 2015-06-17 光通信方法およびシステム

Country Status (3)

Country Link
US (1) US9935721B2 (enExample)
JP (1) JP5959577B2 (enExample)
WO (1) WO2016002149A1 (enExample)

Cited By (1)

* Cited by examiner, † Cited by third party
Publication number Priority date Publication date Assignee Title
CN109274420A (zh) * 2018-11-16 2019-01-25 西安电子科技大学 一种用于星地下行链路的纠缠光子对传输率估计方法

Families Citing this family (2)

* Cited by examiner, † Cited by third party
Publication number Priority date Publication date Assignee Title
KR102150232B1 (ko) * 2020-04-22 2020-08-31 이우진 광학 암호통신 시스템의 광학 암호통신 방법
KR102150233B1 (ko) * 2020-04-22 2020-08-31 이우진 광학 암호통신 시스템의 광학 암호통신 방법

Citations (4)

* Cited by examiner, † Cited by third party
Publication number Priority date Publication date Assignee Title
JP2001339387A (ja) * 2000-05-29 2001-12-07 Akio Motoyoshi 量子通信方法及び装置
WO2005112335A1 (ja) * 2004-05-17 2005-11-24 Mitsubishi Denki Kabushiki Kaisha 量子暗号通信装置
US20100166187A1 (en) * 2006-09-11 2010-07-01 Alexei Trifonov Qkd using high-altitude paltforms
JP2011217344A (ja) * 2009-10-29 2011-10-27 Hit Design:Kk 量子通信装置,量子通信方法および量子情報処理方法

Family Cites Families (4)

* Cited by examiner, † Cited by third party
Publication number Priority date Publication date Assignee Title
US6314189B1 (en) * 1997-10-02 2001-11-06 Akio Motoyoshi Method and apparatus for quantum communication
JP2001217344A (ja) * 2000-02-04 2001-08-10 Nec Corp 半導体装置およびその製造方法
JP4095536B2 (ja) * 2003-10-30 2008-06-04 株式会社東芝 秘密鍵配布方法および秘密鍵配布装置
EP1988649A1 (en) * 2007-05-04 2008-11-05 Nokia Siemens Networks Oy Methods, systems, apparatuses and related computer program product for allocation of communication resources

Patent Citations (4)

* Cited by examiner, † Cited by third party
Publication number Priority date Publication date Assignee Title
JP2001339387A (ja) * 2000-05-29 2001-12-07 Akio Motoyoshi 量子通信方法及び装置
WO2005112335A1 (ja) * 2004-05-17 2005-11-24 Mitsubishi Denki Kabushiki Kaisha 量子暗号通信装置
US20100166187A1 (en) * 2006-09-11 2010-07-01 Alexei Trifonov Qkd using high-altitude paltforms
JP2011217344A (ja) * 2009-10-29 2011-10-27 Hit Design:Kk 量子通信装置,量子通信方法および量子情報処理方法

Non-Patent Citations (1)

* Cited by examiner, † Cited by third party
Title
MASAHITO MORIMOTO: "Resolution of Single Photon and Electron Interference Enigma", VIXRA.ORG E-PRINT ARCHIVE, vol. 1312.009, December 2013 (2013-12-01), XP055249997, Retrieved from the Internet <URL:http://rxiv.org/pdf/1312.0097v1.pdf> [retrieved on 20150827] *

Cited By (2)

* Cited by examiner, † Cited by third party
Publication number Priority date Publication date Assignee Title
CN109274420A (zh) * 2018-11-16 2019-01-25 西安电子科技大学 一种用于星地下行链路的纠缠光子对传输率估计方法
CN109274420B (zh) * 2018-11-16 2020-05-05 西安电子科技大学 一种用于星地下行链路的纠缠光子对传输率估计方法

Also Published As

Publication number Publication date
US20170111121A1 (en) 2017-04-20
JP5959577B2 (ja) 2016-08-02
JP2016015620A (ja) 2016-01-28
US9935721B2 (en) 2018-04-03

Similar Documents

Publication Publication Date Title
US11411723B2 (en) Apparatus and method for quantum enhanced physical layer security
JP2017046044A (ja) サニャックループ型非対称マッハ・ツェンダ干渉計及び量子鍵配送用受信装置
Lee et al. Asymmetric delay attack on an entanglement-based bidirectional clock synchronization protocol
JP5959577B2 (ja) 光通信方法およびシステム
Lo et al. Quantum cryptography
CN101040482B (zh) 用于wdm网络的双选通qkd系统
US20240340091A1 (en) Encoder, decoder, systems and methods for d-dimensional frequency-encoded quantum communication and information processing
US20120269345A1 (en) Integrated circuit (ic) card
Pavičić In quantum direct communication an undetectable eavesdropper can always tell Ψ from Φ Bell states in the message mode
Wittmann et al. Witnessing effective entanglement over a 2 km fiber channel
Makarov Quantum cryptography and quantum cryptanalysis
JP4763166B2 (ja) 光信号伝送装置及び光信号伝送装置の光信号伝送方法
Ali et al. Optimizing Quantum Key Distribution Protocols using Decoy State Techniques and Experimental Validation
JP6402665B2 (ja) 複合型マッハ・ツェンダ干渉計及び量子鍵配送用受信装置
JP2013201523A (ja) 量子暗号鍵配付システム、量子暗号鍵受信装置
Amellal et al. A quantum optical firewall based on simple quantum devices
Avella et al. Review on recent groundbreaking experiments on quantum communication with orthogonal states
Vybornyi et al. Backflash light as a security vulnerability in quantum key distribution systems
Khan et al. Towards Robust Quantum Communication: A Taxonomy of Vulnerabilities and Attacks over a decade in Quantum Key Distribution
Trifonov et al. Practical quantum cryptography
Reinhardt Quantum Cryptography: Exploring the Future of Secure Communication
Pljonkin Synchronization Safety Problem in Quantum Key Distribution System
Inoue et al. Differential-phase-shift quantum key distribution utilizing decoy pulses
Ali et al. How is quantum cryptography used for secure financial transactions
Verma et al. Quantum Cryptography: State-of-the-Art Techniques and Future Directions

Legal Events

Date Code Title Description
121 Ep: the epo has been informed by wipo that ep was designated in this application

Ref document number: 15814948

Country of ref document: EP

Kind code of ref document: A1

NENP Non-entry into the national phase

Ref country code: DE

122 Ep: pct application non-entry in european phase

Ref document number: 15814948

Country of ref document: EP

Kind code of ref document: A1