WO2015198583A1 - 測定装置及び測定方法 - Google Patents

測定装置及び測定方法 Download PDF

Info

Publication number
WO2015198583A1
WO2015198583A1 PCT/JP2015/003116 JP2015003116W WO2015198583A1 WO 2015198583 A1 WO2015198583 A1 WO 2015198583A1 JP 2015003116 W JP2015003116 W JP 2015003116W WO 2015198583 A1 WO2015198583 A1 WO 2015198583A1
Authority
WO
WIPO (PCT)
Prior art keywords
contact
test site
control unit
unit
illuminance
Prior art date
Legal status (The legal status is an assumption and is not a legal conclusion. Google has not performed a legal analysis and makes no representation as to the accuracy of the status listed.)
Ceased
Application number
PCT/JP2015/003116
Other languages
English (en)
French (fr)
Japanese (ja)
Inventor
真人 藤代
Current Assignee (The listed assignees may be inaccurate. Google has not performed a legal analysis and makes no representation or warranty as to the accuracy of the list.)
Kyocera Corp
Original Assignee
Kyocera Corp
Priority date (The priority date is an assumption and is not a legal conclusion. Google has not performed a legal analysis and makes no representation as to the accuracy of the date listed.)
Filing date
Publication date
Application filed by Kyocera Corp filed Critical Kyocera Corp
Priority to CN201580033273.9A priority Critical patent/CN106456027A/zh
Priority to EP15812071.7A priority patent/EP3162286A4/en
Priority to US15/316,943 priority patent/US20170112394A1/en
Publication of WO2015198583A1 publication Critical patent/WO2015198583A1/ja
Anticipated expiration legal-status Critical
Ceased legal-status Critical Current

Links

Images

Classifications

    • AHUMAN NECESSITIES
    • A61MEDICAL OR VETERINARY SCIENCE; HYGIENE
    • A61BDIAGNOSIS; SURGERY; IDENTIFICATION
    • A61B5/00Measuring for diagnostic purposes; Identification of persons
    • A61B5/02Detecting, measuring or recording for evaluating the cardiovascular system, e.g. pulse, heart rate, blood pressure or blood flow
    • A61B5/026Measuring blood flow
    • A61B5/0261Measuring blood flow using optical means, e.g. infrared light
    • AHUMAN NECESSITIES
    • A61MEDICAL OR VETERINARY SCIENCE; HYGIENE
    • A61BDIAGNOSIS; SURGERY; IDENTIFICATION
    • A61B5/00Measuring for diagnostic purposes; Identification of persons
    • AHUMAN NECESSITIES
    • A61MEDICAL OR VETERINARY SCIENCE; HYGIENE
    • A61BDIAGNOSIS; SURGERY; IDENTIFICATION
    • A61B5/00Measuring for diagnostic purposes; Identification of persons
    • A61B5/02Detecting, measuring or recording for evaluating the cardiovascular system, e.g. pulse, heart rate, blood pressure or blood flow
    • A61B5/026Measuring blood flow
    • AHUMAN NECESSITIES
    • A61MEDICAL OR VETERINARY SCIENCE; HYGIENE
    • A61BDIAGNOSIS; SURGERY; IDENTIFICATION
    • A61B5/00Measuring for diagnostic purposes; Identification of persons
    • A61B5/68Arrangements of detecting, measuring or recording means, e.g. sensors, in relation to patient
    • A61B5/6801Arrangements of detecting, measuring or recording means, e.g. sensors, in relation to patient specially adapted to be attached to or worn on the body surface
    • A61B5/6813Specially adapted to be attached to a specific body part
    • A61B5/6825Hand
    • A61B5/6826Finger
    • AHUMAN NECESSITIES
    • A61MEDICAL OR VETERINARY SCIENCE; HYGIENE
    • A61BDIAGNOSIS; SURGERY; IDENTIFICATION
    • A61B5/00Measuring for diagnostic purposes; Identification of persons
    • A61B5/68Arrangements of detecting, measuring or recording means, e.g. sensors, in relation to patient
    • A61B5/6801Arrangements of detecting, measuring or recording means, e.g. sensors, in relation to patient specially adapted to be attached to or worn on the body surface
    • A61B5/6843Monitoring or controlling sensor contact pressure
    • AHUMAN NECESSITIES
    • A61MEDICAL OR VETERINARY SCIENCE; HYGIENE
    • A61BDIAGNOSIS; SURGERY; IDENTIFICATION
    • A61B5/00Measuring for diagnostic purposes; Identification of persons
    • A61B5/68Arrangements of detecting, measuring or recording means, e.g. sensors, in relation to patient
    • A61B5/6887Arrangements of detecting, measuring or recording means, e.g. sensors, in relation to patient mounted on external non-worn devices, e.g. non-medical devices
    • A61B5/6898Portable consumer electronic devices, e.g. music players, telephones, tablet computers
    • AHUMAN NECESSITIES
    • A61MEDICAL OR VETERINARY SCIENCE; HYGIENE
    • A61BDIAGNOSIS; SURGERY; IDENTIFICATION
    • A61B5/00Measuring for diagnostic purposes; Identification of persons
    • A61B5/74Details of notification to user or communication with user or patient; User input means
    • A61B5/7405Details of notification to user or communication with user or patient; User input means using sound
    • AHUMAN NECESSITIES
    • A61MEDICAL OR VETERINARY SCIENCE; HYGIENE
    • A61BDIAGNOSIS; SURGERY; IDENTIFICATION
    • A61B5/00Measuring for diagnostic purposes; Identification of persons
    • A61B5/74Details of notification to user or communication with user or patient; User input means
    • A61B5/742Details of notification to user or communication with user or patient; User input means using visual displays
    • GPHYSICS
    • G06COMPUTING OR CALCULATING; COUNTING
    • G06VIMAGE OR VIDEO RECOGNITION OR UNDERSTANDING
    • G06V40/00Recognition of biometric, human-related or animal-related patterns in image or video data
    • G06V40/60Static or dynamic means for assisting the user to position a body part for biometric acquisition
    • G06V40/67Static or dynamic means for assisting the user to position a body part for biometric acquisition by interactive indications to the user
    • AHUMAN NECESSITIES
    • A61MEDICAL OR VETERINARY SCIENCE; HYGIENE
    • A61BDIAGNOSIS; SURGERY; IDENTIFICATION
    • A61B2560/00Constructional details of operational features of apparatus; Accessories for medical measuring apparatus
    • A61B2560/02Operational features
    • A61B2560/029Operational features adapted for auto-initiation

Definitions

  • the present invention relates to a measuring apparatus and a measuring method.
  • a measuring apparatus that acquires biological output information from a test site such as a fingertip of a subject (user) and measures the biological information is known.
  • a blood flow measuring device that measures blood flow as biological information irradiates a fingertip with a laser beam and measures blood flow based on scattered light from blood flow of capillaries at the fingertip (see, for example, Patent Document 1). ).
  • the measurement accuracy of biological information varies depending on the contact state of the test site with respect to the measurement device. However, it is difficult for a subject who does not have expertise related to measurement of biological information to bring the test site into contact with the measurement device in an appropriate state. In order to measure the biological information with high accuracy, it is desirable that the measurement device causes the subject to contact the subject in an appropriate contact state.
  • An object of the present invention made in view of such circumstances is to provide a measuring apparatus and a measuring method capable of improving the measurement accuracy of biological information.
  • a measuring apparatus provides: A measuring device for measuring biological information by bringing a test site into contact with a contact part, A contact state detection unit for detecting a contact state of the test site in the contact unit; A biological sensor for acquiring biological information from the test site; A notification unit; A control unit that measures the biological information based on the output of the biological sensor, The control unit determines the contact state of the test site in the contact unit based on an output from the contact state detection unit, and causes the notification unit to report information on the contact state.
  • the control unit may activate the biological sensor when determining that the contact state is suitable for the measurement of the biological information.
  • the information relating to the contact state may include information relating to the pressure at which the test site contacts the contact portion and / or information relating to the positional relationship between the test site and the contact portion.
  • the contact state detection unit includes an illuminance measurement unit,
  • the said control part may judge the said contact state based on the output of the information regarding the illumination intensity which the said illumination intensity measurement part measured.
  • a plurality of the illuminance measurement units are arranged around the biosensor in the measurement device,
  • the control unit may determine the contact state based on an output of information related to illuminance measured by each of the plurality of illuminance measurement units.
  • the plurality of illuminance measuring units may be arranged on the same circumference centered on the biological sensor.
  • the control unit When the illuminance measured by each of the plurality of illuminance measurement units is equal to or greater than a predetermined illuminance threshold, the control unit notifies the notification unit that the pressure at which the test site contacts the contact portion should be increased. You may let them.
  • the control unit identifies an illuminance measurement unit that measures the highest illuminance among the plurality of illuminance measurement units, You may make it alert
  • the contact state detection unit includes a plurality of strain sensors arranged around the biosensor, The control unit may determine the contact state based on an output of information related to distortion of the contact unit detected by each of the plurality of strain sensors.
  • the control unit informs that the pressure at which the test site is in contact with the contact portion should be increased from the notification unit. You may make it alert
  • the control unit when the amount of strain detected by any of the plurality of strain sensors is equal to or greater than a predetermined strain amount threshold, specifies a strain sensor that detects the smallest amount of strain among the plurality of strain sensors, You may make it alert
  • the contact state detection unit includes a touch panel,
  • the said control part may judge the said contact state based on the output of the information regarding the contact position of the said test site
  • the biological information may include information related to blood flow.
  • the present invention can be realized as a method substantially corresponding to the measurement apparatus described above, and these are also included in the scope of the present invention.
  • the measuring method is: In measuring biological information by bringing the test site into contact with the contact part, Detecting a contact state of the test site in the contact portion by a contact state detection unit; A step of determining, by the control unit, the contact state of the test site in the contact unit based on an output from the contact state detection unit, and notifying information on the contact state from the notification unit; Obtaining biological information from the test site by a biological sensor; Measuring the biological information based on the output of the biological sensor by the control unit.
  • the measurement apparatus and measurement method according to the present invention can improve the measurement accuracy of biological information.
  • FIG. 1 is a functional block diagram showing a schematic configuration of the measuring apparatus according to the first embodiment of the present invention.
  • the measurement apparatus 10 includes a contact state detection unit 11, a notification unit 12, a biosensor 13, a contact unit 14, a control unit 15, and a storage unit 16.
  • the contact state detection unit 11 includes a single illuminance measurement unit.
  • the measuring device 10 may be, for example, an electronic device such as a mobile phone, or may be a dedicated device for measuring biological information.
  • the electronic device may be a wide variety of devices such as a portable music player, a notebook computer, a wristwatch, a tablet terminal, and a game machine.
  • the measurement apparatus 10 will be described below as a mobile phone.
  • FIG. 2 is a diagram illustrating an example of a usage state of the measurement apparatus 10.
  • the measuring apparatus 10 includes a contact portion 14 on the back side of the main body 20 of the mobile phone.
  • the subject measures the biological information with the measuring device 10 while pressing the finger of the hand, which is the subject site, against the contact portion 14.
  • the biological information measured by the measuring device 10 can be any biological information that can be measured using the biological sensor 13.
  • the measurement device 10 will be described below as an example of measuring the blood flow of a subject, which is information related to blood flow.
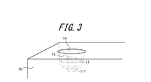
  • FIG. 3 is a schematic enlarged perspective view showing a positional relationship among the illuminance measuring unit 111, the biosensor 13 and the contact unit 14 in the measuring apparatus 10.
  • a transparent disk-shaped contact portion 14 is disposed on the back surface of the main body 20.
  • the biosensor 13 and the illuminance measurement unit 111 are arranged in the vertical direction with respect to the back surface in the internal direction of the main body 20 from the contact unit 14.
  • the biosensor 13 is disposed on a transparent disk-like base 17 provided between the contact unit 14 and the illuminance measurement unit 111, for example.
  • the illuminance measurement unit 111 measures the illuminance of external light incident from the contact unit 14.
  • the biosensor 13 emits measurement light to the test site that contacts the contact unit 14 and receives scattered light from the test site.
  • the measurement apparatus 10 measures biological information based on the output (biological measurement output) acquired from the biological sensor 13.
  • the illuminance measurement unit 111 constituting the contact state detection unit 11 measures the illuminance of external light incident from the contact unit 14.
  • the illuminance measurement unit 111 is configured by a digital video camera, for example.
  • the illuminance measurement unit 111 may be configured by an illuminance sensor using a phototransistor, a photodiode, or the like, for example.
  • the illuminance measurement unit 111 will be described as a digital video camera.
  • Information on the illuminance measured by the illuminance measurement unit 111 is transmitted to the control unit 15, and is used by the control unit 15 to determine a contact state of the test site with the contact unit 14.
  • the notification unit 12 notifies information on the contact state of the test site in the contact unit 14 based on the control of the control unit 15.
  • the information regarding the contact state includes, for example, information regarding the positional relationship between the test site and the contact portion 14.
  • the measurement accuracy of the blood flow volume may change depending on the positional relationship between the biological sensor 13 and the test site. Therefore, it is preferable for the subject to arrange the test site at a suitable position with respect to the biosensor 13 so that the error in the blood flow measurement result falls within a predetermined error range.
  • the notification unit 12 allows the subject to place the test site on the biosensor 13 at a suitable position on the contact unit 14. Notification.
  • reporting part 12 can alert
  • the notification unit 12 performs notification by a visual method
  • the notification unit 12 performs notification by displaying an image or a character as a display device.
  • reporting part 12 may alert
  • the notification unit 12 performs notification by outputting an alarm sound, a voice guide, or the like as a sound generating device such as a speaker.
  • the notification performed by the notification unit 12 is not limited to a visual or auditory method, and may be any method that can be recognized by the subject. Specific control of the notification unit 12 by the control unit 15 will be described later.
  • the biological sensor 13 acquires biological information from the test site.
  • the biological sensor 13 includes an emitting unit 21 and a light receiving unit 22.
  • the emitting unit 21 emits laser light based on the control of the control unit 15.
  • the emitting unit 21 emits laser light having a wavelength capable of detecting a predetermined component contained in blood, for example, as measurement light to a test site, and is configured by, for example, an LD (Laser Diode: Laser Diode). .
  • LD Laser Diode: Laser Diode
  • the light receiving unit 22 receives the scattered light of the measurement light from the test site as biological information.
  • the light receiving unit 22 is configured by, for example, a PD (photodiode: Photo Diode).
  • the biological sensor 13 transmits the photoelectric conversion signal (biological measurement output) of the scattered light received by the light receiving unit 22 to the control unit 15.
  • the contact portion 14 is a portion in the measuring apparatus 10 that makes the subject contact a subject part such as a finger in order to measure biological information.
  • the contact part 14 is comprised by the plate-shaped member, for example.
  • the contact portion 14 is formed of a member that is transparent to at least the measurement light from the emission portion 21 and the scattered light from the contacted test site.
  • the control unit 15 is a processor that controls and manages the entire measurement apparatus 10 including each functional block of the measurement apparatus 10.
  • the control unit 15 includes a processor such as a CPU (Central Processing Unit) that executes a program defining a control procedure, and the program is stored in the storage unit 16 or an external storage medium, for example.
  • a processor such as a CPU (Central Processing Unit) that executes a program defining a control procedure, and the program is stored in the storage unit 16 or an external storage medium, for example.
  • CPU Central Processing Unit
  • the control unit 15 determines the contact state of the site to be examined in the contact unit 14 based on the output from the contact state detection unit 11. In this Embodiment, the control part 15 judges the contact state of the test site
  • the biosensor 13 when the test site is in contact with the contact unit 14 at the center of the contact unit 14. Therefore, it is considered that the measurement accuracy of blood flow is high. It is considered that the measurement accuracy of the blood flow rate is lowered as the location where the test site is in contact with the contact portion 14 is away from the center portion.
  • the test site is closer to the peripheral portion of the contact portion 14, and the area where the test site covers the contact portion 14 becomes smaller.
  • the illuminance of external light entering the illuminance measuring unit 111 from the contact unit 14 is increased. Therefore, when the illuminance measured by the illuminance measuring unit 111 is less than the first illuminance threshold, the control unit 15 is located at a position closer to the center than the predetermined range in the contact unit 14. In this case, it is determined that the region to be examined is in a position suitable for blood flow measurement. Conversely, when the illuminance measured by the illuminance measuring unit 111 is equal to or greater than the first illuminance threshold, the control unit 15 determines that the test site is not in a suitable position.
  • the control unit 15 notifies the information on the determined contact state from the notification unit 12. For example, if the control unit 15 determines that the test site is in a suitable position, the control unit 15 may notify the notification unit 12 that the test site is in a suitable position. In this case, the control unit 15 may notify the start of measurement of blood flow from the notification unit 12.
  • control unit 15 determines that the test site is not in a suitable position
  • the control unit 15 notifies the notification unit 12 that the test site is not in a suitable position.
  • the control unit 15 may perform a notification from the notification unit 12 to instruct the subject to move the test site to the center of the contact unit 14.
  • the subject who has recognized the notification can move the position of the test site relative to the contact portion 14 and adjust the test site to be arranged at a suitable position.
  • control unit 15 determines that the contact state is suitable for measurement of biological information
  • the control unit 15 activates the biological sensor 13.
  • the control unit 15 activates the biosensor 13 when determining that the test site is in a suitable position.
  • the activated biosensor 13 acquires biometric information.
  • the control unit 15 measures biological information based on the biological measurement output from the biological sensor 13. Specifically, the control unit 15 generates biological information based on the output from the light receiving unit 22.
  • the control unit 15 emits laser light from the emitting unit 21 into the living tissue (test site) and receives scattered light scattered from the living tissue by the light receiving unit 22. . And the control part 15 calculates a blood flow rate based on the output regarding the received scattered light.
  • the control unit 15 detects a beat signal (also referred to as a beat signal) generated by light interference between scattered light from a stationary tissue and scattered light from a moving blood cell.
  • This beat signal represents the intensity as a function of time.
  • the control part 15 makes this beat signal the power spectrum which represented power as a function of frequency.
  • the Doppler shift frequency is proportional to the blood cell velocity, and the power corresponds to the amount of blood cells.
  • the control part 15 calculates
  • control unit 15 determines whether or not the acquisition of the biological information by the biological sensor 13 is finished. For example, the control unit 15 may determine that the acquisition of the biological information has ended after a predetermined time has elapsed since the biological sensor 13 started acquiring the biological information. Further, for example, the control unit 15 may determine that the acquisition of the biological information is completed when the biological sensor 13 acquires sufficient biological information for measuring the biological information.
  • control unit 15 determines that the acquisition of the biological information has been completed, the control unit 15 stops the emission of the laser light from the emission unit 21.
  • the control unit 15 may display the measured biological information on a display device or the like included in the measurement apparatus 10 configured by a known display such as a liquid crystal display, an organic EL display, or an inorganic EL display.
  • the storage unit 16 can be composed of a semiconductor memory, a magnetic memory, or the like, and stores various information, a program for operating the measuring apparatus 10, and the like, and also functions as a work memory.
  • the storage unit 16 stores, for example, a first illuminance threshold that serves as a reference for the control unit 15 to determine the position of the test site.
  • FIG. 4 is a flowchart illustrating an example of processing (contact position adjustment processing) performed by the control unit 15 to adjust the contact position of the test site.
  • FIG. 5 is a flowchart illustrating an example of the biological information measurement process performed by the control unit 15. The control unit 15 starts the flow of FIG. 4 when, for example, the subject operates the measurement device 10 and the measurement device 10 becomes capable of measuring biological information.
  • the control unit 15 acquires information on the illuminance measured by the illuminance measurement unit 111 (step S101).
  • the control unit 15 refers to the storage unit 16 and determines whether or not the measured illuminance is less than the first illuminance threshold (step S102).
  • control unit 15 determines that the measured illuminance is greater than or equal to the first illuminance threshold value (No in step S102)
  • the control unit 15 determines that the test site is not in a suitable position in the contact unit 14, and notifies the notification unit 12 From this, a notification is given to instruct the subject to move the test site to the center of the contact portion 14 (step S103).
  • the subject who has recognized the notification moves the position of the test site with respect to the contact portion 14 and adjusts the test site to be arranged at a suitable position. Then, this flow moves to step S101.
  • control unit 15 determines that the measured illuminance is less than the first illuminance threshold (Yes in step S102)
  • the control unit 15 determines that the test site is in a suitable position in the contact unit 14.
  • the control unit 15 notifies the notification unit 12 that the test site is in a suitable position in the contact unit 14 (step S104), and ends this flow.
  • control unit 15 starts the measurement process flow shown in FIG. 5 and measures biological information.
  • the control unit 15 emits laser light from the emitting unit 21 (step S201). Acquisition of biological information by the biological sensor 13 is started by the emission of the laser light.
  • the control unit 15 determines whether or not the biometric information has been acquired by the biosensor 13 (step S202).
  • control unit 15 determines that the acquisition of biometric information has not ended (No in step S202), the control unit 15 repeats step S202 until it determines that the acquisition of biometric information has ended.
  • control unit 15 determines that the acquisition of the biological information has been completed (Yes in step S202)
  • the control unit 15 stops the emission of the laser light from the emission unit 21 (step S203).
  • control unit 15 acquires an output related to biological information acquired by the biological sensor 13, that is, a biological measurement output from the biological sensor 13 (step S204).
  • the control unit 15 measures biological information based on the biological measurement output acquired from the biological sensor 13 (step S205).
  • the control unit 15 displays the measurement result of the measured biological information on the display device (step S206).
  • the subject can know the blood flow volume by confirming the displayed measurement result.
  • the control unit 15 determines the contact state of the test site in the contact unit 14 based on the illuminance measured by the illuminance measurement unit 111.
  • the control unit 15 determines that the test site is not in a suitable position for measurement of biological information in the contact unit 14, the control unit 15 notifies the test subject of information related to the contact state. Therefore, since the subject can adjust the position of the test site according to the notification, it becomes easy to adjust the contact state of the test site to a suitable position for measuring biological information.
  • the measuring apparatus 10 can improve the measurement accuracy of biological information.
  • control unit 15 emits a laser beam from the emitting unit 21 when the test site is arranged at a suitable position, and stops the emission of the laser beam when the acquisition of the biological information is completed. Thereby, the control part 15 can suppress the unnecessary power consumption of the measuring apparatus 10.
  • FIG. 6 is a schematic enlarged perspective view showing a positional relationship among the contact state detection unit 11, the biosensor 13 and the contact unit 14 in the measurement apparatus 10 according to the second embodiment of the present invention.
  • the contact state detection unit 11 includes a plurality of illuminance measurement units 111 configured by, for example, an illuminance sensor.
  • the plurality of illuminance measuring units 111 are arranged around the biosensor 13.
  • description of the same points as in the first embodiment will be omitted, and different points will be described.
  • a transparent disk-shaped contact portion 14 is disposed on the back surface of the main body 20 of the mobile phone.
  • the biosensor 13 is disposed at a position facing the central portion of the contact portion 14.
  • four illuminance measuring units 111a, 111b, 111c, and 111d are arranged at equal intervals on the periphery of the contact unit 14. In the case where the four illuminance measurement units 111a, 111b, 111c, and 111d are not distinguished from each other, they are hereinafter referred to as the illuminance measurement unit 111.
  • the quantity of the illuminance measurement unit 111 included in the measurement apparatus 10 may be any number.
  • the illuminance measurement unit 111 is an arbitrary position as long as the position at which the test site is in contact with the contact unit 14 can determine whether or not the position relative to the biosensor 13 is suitable for measurement of biometric information. It may be arranged in a position. The position where it can be determined whether or not it is suitable for the measurement of biological information is, for example, the vicinity of the biological sensor 13.
  • the number and arrangement of the illuminance measurement units 111 are not limited to the case where the four illuminance measurement units 111 are arranged at equal intervals as described above, and the number and arrangement may be changed as appropriate.
  • illuminance measuring units 111 are arranged on the side where the base of the finger is located. You may control each function part so that a test site
  • reporting part 12 adds the information regarding the pressure which a test site
  • the pressure at which the test site contacts the contact portion 14 is preferably such that the error in the blood flow measurement result falls within a predetermined error range based on, for example, a statistical relationship between the pressure and the blood flow measurement error. It is preferable to be included in the range of pressure.
  • the control unit 15 determines the contact state of the site to be examined in the contact unit 14 based on information on the illuminance measured by each of the plurality of illuminance measurement units 111. For example, when the illuminance measured by each of the plurality of illuminance measuring units 111 is less than the second illuminance threshold, the control unit 15 determines that the test site is in a state suitable for measuring blood flow. Because, when the illuminance measured by the four illuminance measuring units 111 is less than the second illuminance threshold value, the test site covers the biosensor 13 located at the center of the four illuminance measuring units 111.
  • the control unit 15 may notify the notification unit 12 that the test site is in a suitable position. In this case, the control unit 15 may notify the start of measurement of blood flow from the notification unit 12.
  • the control unit 15 determines that the test site is not in a state suitable for blood flow measurement. In this case, the control unit 15 determines in more detail the contact state of the test site by determining whether the illuminance measured by each of the plurality of illuminance measurement units 111 is equal to or greater than the third illuminance threshold. I can judge.
  • the contact pressure at which the test site contacts the contact portion 14 may have an appropriate pressure range suitable for blood flow measurement. For example, when the contact pressure at the contact portion 14 is too weak, the measuring apparatus 10 may not be able to measure accurate biological information due to the influence of noise.
  • the control unit 15 can determine the state related to the contact pressure based on the output of the illuminance measurement unit 111. Further, the control unit 15 can determine, for example, in which direction the test site is preferably moved based on the output of the illuminance measurement unit 111. Hereinafter, detailed determination performed by the control unit 15 will be described.
  • the third illuminance threshold value can be an appropriate value that is equal to or greater than the second illuminance threshold value.
  • the control unit 15 when the illuminance measured by each of the plurality of illuminance measuring units 111 is all equal to or greater than the third illuminance threshold, the control unit 15 is located at the center of the four illuminance measuring units 111. However, it can be determined that the contact pressure at which the test site contacts the contact portion 14 is weak. This is because when the illuminance measured by each of the plurality of illuminance measuring units 111 is all equal to or greater than the third illuminance threshold, all the illuminance measuring units 111 are not sufficiently covered with the test site. In this case, the control unit 15 notifies the notification unit 12 that the region to be examined should be brought into contact with the contact unit 14 more strongly. When the subject who has confirmed the notification increases the contact pressure and the illuminance measured by the illuminance measurement unit 111 becomes lower than the third illuminance threshold, the control unit 15 measures the biological information by the contact pressure. It is judged to be strong enough.
  • the control unit 15 specifies the illuminance measurement unit 111 that measures the highest illuminance among the four illuminance measurement units 111.
  • FIG. 7 is a diagram schematically illustrating an example of the contact state of the test site in the contact portion 14.
  • FIG. 7 is a view of the contact state of the test site as viewed from the back side of the main body 20, and shows only the illuminance measurement unit 111, the biosensor 13, the contact unit 14, and the test site.
  • the illuminance measurement unit 111c is covered with the test site, and thus measures the lowest illuminance.
  • the illuminance measurement units 111b and 111d measure the illuminance according to the external light incident from the portion of the contact unit 14 that is not covered with the test site.
  • the illuminance measurement unit 111a is not covered with the test site, and measures the highest illuminance among the four illuminance measurement units 111a, 111b, 111c, and 111d.
  • the illuminance measurement unit 111a that measures the highest illuminance is not covered by the test site or is covered by the test site most of the four illuminance measurement units 111 depending on the position of the test site. The area is considered small.
  • the control unit 15 determines that the test site is biased in contact with the opposite direction of the specified illuminance measurement unit 111a, that is, in the direction of the illuminance measurement unit 111c, with the biosensor 13 interposed therebetween in the contact unit 14. To do. In this case, the control unit 15 notifies the notification unit 12 that the test site should be moved in the direction of the specified illuminance measurement unit 111a with the biosensor 13 interposed therebetween.
  • the control unit 15 can determine that the test site has been adjusted to move to the center of the contact unit 14.
  • the control unit 15 is based on the illuminance measured by each of the illuminance measurement units 111 using a predetermined algorithm, for example. By performing weighting, the direction in which the test site is moved and the distance to be moved may be calculated in order to obtain an appropriate contact state. For example, in the example of FIG. 7A, the control unit 15 performs weighting based on the illuminances measured by the four illuminance measurement units 111a, 111b, 111c, and 111d, and the contact state shown in FIG. 7B.
  • the control unit 15 notifies the calculated result from the notification unit 12.
  • the control unit 15 determines that the test site is a contact unit. 14 can be determined to have been adjusted so as to move to the central portion of 14.
  • control unit 15 starts the flow of FIG. 8 when, for example, the subject operates the measuring device 10 and the measuring device 10 can measure biological information.
  • the control unit 15 acquires information on the illuminance measured by the four illuminance measuring units 111 (step S301).
  • the control unit 15 determines whether or not the illuminance measured by each of the four illuminance measurement units 111 is less than the second illuminance threshold (step S302).
  • control unit 15 determines that at least one of the illuminances is equal to or greater than the second illuminance threshold (No in step S302), the illuminances measured by the four illuminance measurement units 111 are all third. It is determined whether or not the illumination threshold value is exceeded (step S303).
  • step S303 When the control unit 15 determines that the illuminances measured by each of the four illuminance measurement units 111 are all equal to or greater than the third illuminance threshold (Yes in step S303), the contact pressure at the test site in the contact unit 14 is weak. It is judged that the contact pressure should be increased from the notification unit 12 (step S304). Then, the flow moves to step S301.
  • control unit 15 determines that at least one of the illuminances is less than the third illuminance threshold (No in step S303), the control unit 15 determines that the test site is not in contact with the central portion of the contact unit 14, and Among the illuminance measuring units 111, the illuminance measuring unit 111 that measures the highest illuminance is specified (step S305).
  • the control unit 15 notifies the notification unit 12 that the region to be examined should be moved in the direction of the illuminance measurement unit 111 specified when the highest illuminance is measured (step S306). Then, the flow moves to step S301.
  • step S302 When the control unit 15 determines in step S302 that all the illuminances measured by the four illuminance measurement units 111 are less than the second illuminance threshold value (Yes in step S302), the contact state of the test site is preferable. Is notified from the notification unit 12 (step S307), and this flow ends.
  • control unit 15 starts the measurement process flow shown in FIG. 5 and measures biological information.
  • the control unit 15 determines the contact state of the test site in the contact unit 14 based on the illuminance measured by the plurality of illuminance measurement units 111.
  • the control unit 15 determines whether the contact pressure is weak or the position of the test site is not appropriate based on the illuminance measured by the plurality of illuminance measurement units 111, The determined result is notified.
  • the control unit 15 can notify which direction the test site should be moved. Therefore, since the subject can adjust the position of the test site according to the notification, it becomes easy to adjust the contact state of the test site to a suitable position for measuring biological information.
  • the measuring apparatus 10 can improve the measurement accuracy of biological information.
  • FIG. 9 is a schematic enlarged perspective view showing the positional relationship among the contact state detection unit 11, the biosensor 13 and the contact unit 14 in the measurement apparatus 10 according to the third embodiment of the present invention.
  • the contact state detection unit 11 includes, for example, a plurality of strain sensors. The plurality of strain sensors are arranged around the biosensor 13.
  • a transparent disk-shaped contact portion 14 is disposed on the back surface of the main body 20 of the mobile phone.
  • the contact part 14 is comprised by the member which has flexibility.
  • Four strain sensors 112a, 112b, 112c, and 112d are arranged at equal intervals on the peripheral edge of the contact portion. In the case where the four strain sensors 112a, 112b, 112c, and 112d are not distinguished from each other, they are hereinafter referred to as strain sensors 112.
  • the measuring apparatus 10 in the present embodiment includes a support plate 18 that supports the biosensor 13 inside the main body 20.
  • the support plate 18 is composed of a member that is transparent at least with respect to the measurement light from the emitting portion 21 and the scattered light from the contacted test site.
  • a biosensor 13 is disposed at a position facing the central portion of the support plate 18.
  • Each strain sensor 112 detects the distortion of the contact portion 14 caused by the pressure applied to the contact portion 14 when the subject brings the test portion into contact with the contact portion 14.
  • Each strain sensor 112 is configured by, for example, a piezoelectric element that detects information regarding strain caused by pressing as a voltage.
  • the piezoelectric element may be, for example, a unimorph, bimorph, or multilayer piezoelectric element.
  • the strain sensor 112 is not limited to a piezoelectric element, and any strain sensor capable of detecting the strain of the contact portion 14 such as a semiconductor strain sensor or a resistor strain sensor can be used.
  • the number of strain sensors 112 included in the measuring apparatus 10 may be any number.
  • the strain sensor 112 may be in any position as long as the position where the test site is in contact with the contact portion 14 can determine whether or not the position to be measured is suitable for measurement of biological information in the positional relationship with the biological sensor 13. May be arranged.
  • the position where it can be determined whether or not it is suitable for the measurement of biological information is, for example, the vicinity of the biological sensor 13.
  • the number and arrangement of the strain sensors 112 are not limited to the case where the four strain sensors 112 are arranged at equal intervals as described above, and the number and arrangement may be changed as appropriate.
  • strain sensors 112 are arranged on the side where the base of the finger is located.
  • Each functional unit may be controlled so that the test site is appropriately brought into contact with the contact unit 14.
  • reports the information regarding the positional relationship between a test site
  • the pressure at which the test site contacts the contact portion 14 is preferably such that the error in the blood flow measurement result falls within a predetermined error range based on, for example, a statistical relationship between the pressure and the blood flow measurement error. It is preferable to be included in the range of pressure.
  • the control unit 15 determines the contact state of the region to be examined in the contact unit 14 based on information on the strain detected by each of the plurality of strain sensors 112. For example, when all the strain amounts detected by the plurality of strain sensors 112 are equal to or greater than the first strain amount threshold value, the control unit 15 determines that the test site is in a state suitable for blood flow measurement. . Because, when all the strain amounts detected by the four strain sensors 112 are equal to or greater than the first strain amount threshold value, the test site covers the biosensor 13 located at the center of the four strain sensors 112. This is because it can be determined that the positional relationship between the biosensor 13 and the region to be examined is suitable for measuring blood flow. When it is determined that the test site is in a state suitable for blood flow measurement, the control unit 15 may notify the notification unit 12 that the test site is in a suitable position. In this case, the control unit 15 may notify the start of measurement of blood flow from the notification unit 12.
  • the control unit 15 determines that the test site is not in a state suitable for blood flow measurement. In this case, the control unit 15 determines whether or not the amount of strain detected by each of the plurality of strain sensors 112 is less than the second strain amount threshold value, so that the contact state of the site to be examined is more detailed. Can be judged.
  • the contact pressure at which the test site contacts the contact portion 14 may have an appropriate pressure range suitable for blood flow measurement. For example, when the contact pressure at the contact portion 14 is too weak, the measuring apparatus 10 may not be able to measure accurate biological information due to the influence of noise.
  • the control unit 15 can determine the state related to the contact pressure based on the output of the strain sensor 112. Further, the control unit 15 can determine, for example, in which direction the test site is preferably moved based on the output of the strain sensor 112. Hereinafter, detailed determination performed by the control unit 15 will be described.
  • the second distortion amount threshold value can be an appropriate value equal to or less than the first distortion amount threshold value.
  • the control unit 15 when all of the strain amounts detected by the plurality of strain sensors 112 are less than the second strain amount threshold value, the control unit 15 is located at the center of the four strain sensors 112. However, it can be determined that the contact pressure at which the test site contacts the contact portion 14 is weak. This is because when all the strain amounts detected by the plurality of strain sensors 112 are less than the second strain amount threshold value, all the strain sensors 112 are not sufficiently pressed by the test site. In this case, the control unit 15 notifies the notification unit 12 that the region to be examined should be brought into contact with the contact unit 14 more strongly. When the subject who has confirmed the notification increases the contact pressure and the strain amount detected by the strain sensor 112 is equal to or greater than the second strain amount threshold, the control unit 15 measures the biological information. It is judged to be strong enough.
  • the control unit 15 detects the strain sensor 112 that has detected the strain amount greater than or equal to the second strain amount threshold. Since it is pressed by the test site, it is determined that a strain amount equal to or greater than the second strain amount threshold is detected. In this case, the control unit 15 specifies the strain sensor 112 that detects the lowest strain amount among the four strain sensors 112.
  • FIG. 10 is a diagram schematically illustrating an example of a contact state of a test site in the contact portion 14.
  • FIG. 10 is a view of the contact state of the test site as viewed from the back side of the main body 20, and shows only the strain sensor 112, the biosensor 13, the contact portion 14, and the test site.
  • the strain sensor 112c is pressed by the region to be examined, and thus detects the largest amount of strain.
  • the strain sensors 112b and 112d detect the amount of strain due to the pressing of the test site, but since the pressing force applied to the strain sensors 112b and 112d from the test site is smaller than the pressing force applied to the strain sensor 112c, the strain sensor 112b. And 112d are smaller than the strain detected by the strain sensor 112c. Since the strain sensor 112a is not pressed by the region to be examined, it does not detect strain. Thus, the strain sensor 112 a that detects the smallest strain amount is not pressed by the region to be examined, or is not subjected to the most pressing force among the four strain sensors 112.
  • the control unit 15 determines that the test site is biased in contact with the opposite direction of the specified strain sensor 112a, that is, the direction of the strain sensor 112c, with the biosensor 13 interposed therebetween in the contact unit 14. In this case, the control unit 15 notifies the notification unit 12 that the test site should be moved in the direction of the specified strain sensor 112a with the biosensor 13 interposed therebetween.
  • the control unit 15 can determine that the test site has been adjusted to move to the center of the contact unit 14.
  • the control unit 15 uses, for example, a predetermined algorithm to set the strain amount detected by each strain sensor 112. By performing weighting based on this, the direction in which the test site is moved and the distance to be moved may be calculated in order to obtain an appropriate contact state. For example, in the example of FIG. 10A, the control unit 15 performs weighting based on the strain amounts detected by the four strain sensors 112a, 112b, 112c, and 112d, and the contact state illustrated in FIG. In order to achieve this, the direction in which the test site is moved and the distance to be moved are calculated. The control unit 15 notifies the calculated result from the notification unit 12.
  • the control unit 15 determines that the test site is a contact unit. 14 can be determined to have been adjusted so as to move to the central portion of 14.
  • control unit 15 in the third embodiment will be described with reference to the flowchart shown in FIG.
  • the control unit 15 starts the flow of FIG.
  • the control unit 15 acquires information related to the strain detected by the four strain sensors 112 (step S401).
  • the control unit 15 determines whether or not the strain amounts detected by the four strain sensors 112 are all equal to or greater than the first strain amount threshold value (step S402).
  • the control unit 15 determines that at least one of the distortion amounts is less than the first distortion amount threshold (No in step S402), the distortion amounts detected by the four strain sensors 112 are all first. It is determined whether or not the distortion amount threshold value is less than 2 (step S403).
  • step S403 When the control unit 15 determines that the strain amounts detected by the four strain sensors 112 are all less than the second strain amount threshold value (Yes in step S403), the contact pressure of the test site in the contact unit 14 is increased. It judges that it is weak, and alert
  • control unit 15 determines that at least one of the distortion amounts is equal to or greater than the second distortion amount threshold (No in step S403), the control unit 15 determines that the test site is not in contact with the central portion of the contact unit 14, Among the four strain sensors 112, the strain sensor 112 that detects the smallest strain amount is specified (step S405).
  • the control unit 15 notifies the notification unit 12 that the region to be examined should be moved in the direction of the strain sensor 112 specified when the smallest amount of distortion is detected (step S406). Then, the flow moves to step S401.
  • control unit 15 determines in step S402 that all the strain sensors detected by each of the four strain sensors 112 are equal to or greater than the first strain amount threshold value (Yes in step S402), the contact state of the test site is determined.
  • the notification unit 12 notifies that it is suitable (step S407), and ends this flow.
  • control unit 15 starts the measurement processing flow shown in FIG. 5 and measures biological information.
  • the control unit 15 determines the contact state of the test site in the contact unit 14 based on the strain amounts detected by the plurality of strain sensors 112. When determining that the contact state is not suitable, the control unit 15 determines whether the contact pressure is weak or the position of the test site is not appropriate based on the amount of strain detected by the plurality of strain sensors 112, and the like. The determined result is notified. Furthermore, when it is determined that the position of the test site is not appropriate, the control unit 15 can notify which direction the test site should be moved. Therefore, since the subject can adjust the position of the test site according to the notification, it becomes easy to adjust the contact state of the test site to a suitable position for measuring biological information. Thus, the measuring apparatus 10 can improve the measurement accuracy of biological information.
  • FIG. 12 is a schematic enlarged perspective view showing the positional relationship between the contact state detection unit 11 and the biosensor 13 in the measurement apparatus 10 according to the fourth embodiment of the present invention.
  • the contact state detection unit 11 is configured as a touch panel.
  • the touch panel 113 also functions as the contact unit 14 that contacts the test site when the test subject uses the measuring apparatus 10 to measure the biological information.
  • the touch panel 113 detects contact by the subject's test site on the touch surface.
  • the touch panel 113 detects, as information on the contact state, a region where the test site contacts the touch surface as a contact position.
  • the touch panel 113 notifies the control unit 15 of information related to the detected contact position of the test site.
  • a disk-shaped touch panel 113 is disposed on the back surface of the main body 20 of the mobile phone.
  • the touch panel 113 can be configured by a known method such as a resistance film method, a capacitance method, and an optical method.
  • the touch panel 113 is composed of a member that is transparent at least with respect to the measurement light from the emitting portion 21 and the scattered light from the contacted test site.
  • the control unit 15 determines whether or not the contact position of the test site is a suitable position for measuring the blood flow based on the information related to the contact position of the test site output from the touch panel 113. . For example, the control unit 15 determines that the test site is in a position suitable for blood flow measurement when the test site is located closer to the central part where the biosensor 13 is disposed than a predetermined range in the contact unit 14. To do. Control part 15 judges that it is not in a suitable position, when a tested part is in a position away from the central part rather than the predetermined range. The control unit 15 notifies the information about whether or not the contact position of the test site is a suitable position for blood flow measurement from the notification unit 12.
  • the control unit 15 determines the direction in which the subject should move the test site in order to place the test site at a suitable position. And the distance to be moved. Then, the control unit 15 notifies the calculated result from the notification unit 12.
  • the touch panel 113 detects the movement of the test site and notifies the control unit 15 of information related to the contact position of the test site. Based on the information regarding the contact position acquired from the touch panel 113, the control unit 15 determines whether or not the test site has become a suitable position for blood flow measurement.
  • control unit 15 determines that the test site is not in a suitable position for measuring blood flow, the subject should move the test site in order to place the test site in a suitable position. The direction and the distance to be moved are calculated, and the calculation result is notified from the notification unit 12. On the other hand, when the control unit 15 determines that the test site is in a position suitable for blood flow measurement, the control unit 15 notifies the notification unit 12 that the position of the test site is preferable.
  • control unit 15 in the fourth embodiment will be described with reference to the flowchart shown in FIG.
  • the control unit 15 starts the flow of FIG.
  • the control unit 15 acquires information regarding the contact position detected by the touch panel 113 (step S501).
  • the control unit 15 determines whether or not the contact position of the test site detected by the touch panel 113 is a position suitable for blood flow measurement (step S502).
  • control unit 15 determines that the contact position of the test site is not a suitable position (No in step S502), the control unit 15 calculates a direction and a distance to move the test site in order to make the contact position a suitable position ( Step S503).
  • reports the calculation result in step S503 from the alerting
  • the subject who has confirmed the notification can easily place the test site at a suitable position by moving the test site based on the notification content. Then, the flow moves to step S501.
  • step S502 when the control unit 15 determines that the contact position of the test site is a suitable position (Yes in step S502), the control unit 15 notifies the notification unit 12 that the contact position of the test site is preferable. (Step S505), this flow is finished.
  • control unit 15 starts the measurement process flow shown in FIG. 5 and measures the biological information.
  • the control unit 15 determines the contact state of the test site based on the contact position of the test site detected by the touch panel 113.
  • the control part 15 can alert
  • each component, each step, etc. can be rearranged so that there is no logical contradiction, and multiple components, steps, etc. can be combined or divided into one It is.
  • the control unit 15 determines that the contact state is suitable when the illuminance measured by the illuminance measurement unit 111 is less than the first illuminance threshold.
  • the determination of the contact state performed by is not limited to this.
  • the control unit 15 may determine the contact state based on a fourth illuminance threshold value that is higher than the first illuminance threshold value. For example, when the illuminance measured by the illuminance measurement unit 111 is equal to or greater than the fourth illuminance threshold, the control unit 15 has a lot of external light incident from the contact unit 14 and the contact unit 14 is sufficiently covered by the test site. Judge that there is no. In this case, the control unit 15 determines that the contact pressure of the test site in the contact unit 14 is weak, and notifies the notification unit 12 that the contact pressure should be increased.
  • the fourth illuminance threshold is stored in the storage unit 16, for example.
  • control unit 15 may determine the contact state of the test site based on an image captured by a camera that is the illuminance measurement unit 111. Specifically, the control unit 15 can determine the positional relationship between the test site and the biological sensor 13 based on the position of the test site reflected in the camera. The control unit 15 may determine the contact pressure of the test site based on the area of the test site reflected in the camera.
  • control unit 15 may further determine the contact state based on a fifth illuminance threshold value that is lower than the second illuminance threshold value.
  • the control unit 15 may determine whether or not the illuminances measured by the four illuminance measurement units 111 are all less than the fifth illuminance threshold.
  • the controller 15 determines that the illuminance measured by each of the four illuminance measuring units 111 is less than the fifth illuminance threshold, the contact pressure is strong, and the capillaries at the test site are crushed. It is determined that the contact state is not suitable for measurement of biological information. In this case, the control unit 15 may notify the notification unit 12 that the contact pressure should be reduced.
  • the fifth illuminance threshold is stored in the storage unit 16, for example.
  • control unit 15 may further determine the contact state based on a third distortion amount threshold value that is larger than the first distortion amount threshold value.
  • the control unit 15 may determine whether or not the strain amounts detected by the four strain sensors 112 are all equal to or greater than the third strain amount threshold value.
  • the control unit 15 determines that the strain amounts detected by the four strain sensors 112 are all equal to or greater than the third strain amount threshold value, the contact pressure is strong and the capillaries at the site to be examined are crushed. It is determined that the contact state is not suitable for the measurement of biological information. In this case, the control unit 15 may notify the notification unit 12 that the contact pressure should be reduced.
  • the third distortion amount threshold value is stored in the storage unit 16, for example.
  • the contact part 14 was disk shape and demonstrated that the some illumination intensity measurement part 111 was arrange
  • the contact portion 14 may have a shape other than the disc shape.
  • the plurality of illuminance measuring units 111 may be arranged at arbitrary positions where it can be determined whether or not the measurement is suitable for the measurement of biological information based on the positional relationship with the biological sensor 13.
  • the contact part 14 may be a rectangle, and the plurality of illuminance measurement parts 111 may be arranged on the same circumference with the biosensor 13 as the center. The same applies to the shape of the contact portion 14 and the arrangement of the plurality of strain sensors 112 in the third embodiment.
  • the touch panel 113 in the fourth embodiment is not limited to a disk shape, but may be an arbitrary shape.
  • the contact state detection unit 11 is the illuminance measurement unit 111, the strain sensor 112, or the touch panel 113 . It is not limited to these.
  • the contact state detection unit 11 can have an arbitrary configuration capable of detecting the contact state of the test site in the contact unit 14.
  • the contact state detection part 11 can be comprised by temperature sensors, such as a thermocouple, for example.
  • the control unit 15 determines the contact state based on the temperature change detected by the plurality of temperature sensors.
  • the contact state detection part 11 may be configured by combining the illuminance measurement unit 111, the strain sensor 112, or the touch panel 113.
  • the contact state detection unit 11 may be configured by the two illuminance measurement units 111 and the two strain sensors 112, or may be configured by a part of the strain sensor 112 and the other part of the touch panel 113. . In this way, the contact state detection unit 11 can be configured by combining the illuminance measurement unit 111, the strain sensor 112, or the touch panel 113 in an appropriate number and arrangement.
  • control unit 15 may continuously determine the contact state of the test site while the biosensor 13 is acquiring biometric information.
  • the control unit 15 determines that the contact state is not suitable while the biosensor 13 is acquiring biometric information, the control unit 15 stops the emission of the laser light from the emission unit 21. In this way, the control unit 15 can suppress unnecessary power consumption of the measuring apparatus 10.
  • the control unit 15 included in the measurement device 10 generates biological information based on the output of the light receiving unit 22.
  • generation of biological information is controlled by the measurement device 10. It is not restricted to the case where the part 15 performs.
  • a server device connected to the measurement device 10 via a wired or wireless network or a combination thereof includes a functional unit corresponding to the control unit 15, and biometric information is generated by the server device having this functional unit. It may be done.
  • the measuring apparatus 10 acquires a biometric output by the biosensor 13 and transmits the acquired biometric output to the server apparatus from a communication unit that is separately provided.
  • the server device generates biological information based on the biological measurement output, and transmits the generated biological information to the measuring device 10.
  • the user can browse the biometric information received by the measurement apparatus 10 by displaying the biometric information on the display device.
  • the measurement device 10 can be reduced in size and the like as compared with the case where all the functional units illustrated in FIG. 1 are realized on one measurement device 10. .

Landscapes

  • Health & Medical Sciences (AREA)
  • Life Sciences & Earth Sciences (AREA)
  • Engineering & Computer Science (AREA)
  • Physics & Mathematics (AREA)
  • Surgery (AREA)
  • Public Health (AREA)
  • Biomedical Technology (AREA)
  • Heart & Thoracic Surgery (AREA)
  • Medical Informatics (AREA)
  • Molecular Biology (AREA)
  • Biophysics (AREA)
  • Animal Behavior & Ethology (AREA)
  • General Health & Medical Sciences (AREA)
  • Pathology (AREA)
  • Veterinary Medicine (AREA)
  • Multimedia (AREA)
  • Hematology (AREA)
  • Cardiology (AREA)
  • Physiology (AREA)
  • Human Computer Interaction (AREA)
  • General Physics & Mathematics (AREA)
  • Theoretical Computer Science (AREA)
  • Measuring Pulse, Heart Rate, Blood Pressure Or Blood Flow (AREA)
PCT/JP2015/003116 2014-06-24 2015-06-22 測定装置及び測定方法 Ceased WO2015198583A1 (ja)

Priority Applications (3)

Application Number Priority Date Filing Date Title
CN201580033273.9A CN106456027A (zh) 2014-06-24 2015-06-22 测量装置和测量方法
EP15812071.7A EP3162286A4 (en) 2014-06-24 2015-06-22 Measurement device and measurement method
US15/316,943 US20170112394A1 (en) 2014-06-24 2015-06-22 Measurement apparatus and measurement method

Applications Claiming Priority (4)

Application Number Priority Date Filing Date Title
JP2014-129206 2014-06-24
JP2014129206 2014-06-24
JP2014-217402 2014-10-24
JP2014217402A JP2016026518A (ja) 2014-06-24 2014-10-24 測定装置及び測定方法

Publications (1)

Publication Number Publication Date
WO2015198583A1 true WO2015198583A1 (ja) 2015-12-30

Family

ID=54937691

Family Applications (1)

Application Number Title Priority Date Filing Date
PCT/JP2015/003116 Ceased WO2015198583A1 (ja) 2014-06-24 2015-06-22 測定装置及び測定方法

Country Status (5)

Country Link
US (1) US20170112394A1 (enExample)
EP (1) EP3162286A4 (enExample)
JP (1) JP2016026518A (enExample)
CN (1) CN106456027A (enExample)
WO (1) WO2015198583A1 (enExample)

Families Citing this family (4)

* Cited by examiner, † Cited by third party
Publication number Priority date Publication date Assignee Title
JP6907475B2 (ja) * 2016-07-15 2021-07-21 富士フイルムビジネスイノベーション株式会社 生体情報測定装置、及び生体情報測定プログラム
KR102750435B1 (ko) * 2018-12-17 2025-01-07 삼성전자주식회사 Ppg 센서, 이를 포함하는 전자 장치 및 이의 제어 방법
WO2020162741A1 (en) * 2019-02-07 2020-08-13 Happitech B.V. Method of providing spoken instructions for a device for determining a heartbeat
KR20220030089A (ko) * 2020-09-02 2022-03-10 삼성전자주식회사 생체정보 추정 장치 및 방법

Citations (5)

* Cited by examiner, † Cited by third party
Publication number Priority date Publication date Assignee Title
JP2000005139A (ja) * 1998-06-23 2000-01-11 Seiko Epson Corp 脈波検出装置および触覚検出装置
JP2003169780A (ja) * 2001-12-06 2003-06-17 Nippon Seimitsu Sokki Kk 光電脈波式脈拍測定装置
JP2011122972A (ja) * 2009-12-11 2011-06-23 Sumitomo Rubber Ind Ltd グリップ圧の測定方法及び測定装置
JP2011191838A (ja) * 2010-03-12 2011-09-29 Hitachi Ltd 指静脈認証装置
JP2014102845A (ja) * 2009-10-16 2014-06-05 Hitachi Omron Terminal Solutions Corp 生体認証装置および生体認証方法

Family Cites Families (3)

* Cited by examiner, † Cited by third party
Publication number Priority date Publication date Assignee Title
JP5451540B2 (ja) * 2009-10-16 2014-03-26 日立オムロンターミナルソリューションズ株式会社 生体認証装置および生体認証方法
JP5213908B2 (ja) * 2010-06-03 2013-06-19 日立オムロンターミナルソリューションズ株式会社 生体認証ユニット
WO2012055047A1 (en) * 2010-10-29 2012-05-03 Nir Science Corporation Method and apparatus for analyte detection

Patent Citations (5)

* Cited by examiner, † Cited by third party
Publication number Priority date Publication date Assignee Title
JP2000005139A (ja) * 1998-06-23 2000-01-11 Seiko Epson Corp 脈波検出装置および触覚検出装置
JP2003169780A (ja) * 2001-12-06 2003-06-17 Nippon Seimitsu Sokki Kk 光電脈波式脈拍測定装置
JP2014102845A (ja) * 2009-10-16 2014-06-05 Hitachi Omron Terminal Solutions Corp 生体認証装置および生体認証方法
JP2011122972A (ja) * 2009-12-11 2011-06-23 Sumitomo Rubber Ind Ltd グリップ圧の測定方法及び測定装置
JP2011191838A (ja) * 2010-03-12 2011-09-29 Hitachi Ltd 指静脈認証装置

Non-Patent Citations (1)

* Cited by examiner, † Cited by third party
Title
See also references of EP3162286A4 *

Also Published As

Publication number Publication date
EP3162286A4 (en) 2018-02-21
CN106456027A (zh) 2017-02-22
JP2016026518A (ja) 2016-02-18
US20170112394A1 (en) 2017-04-27
EP3162286A1 (en) 2017-05-03

Similar Documents

Publication Publication Date Title
US11607133B2 (en) Biological component measuring apparatus and biological component measuring method
US8781791B2 (en) Touchscreen with dynamically-defined areas having different scanning modes
US8751194B2 (en) Power consumption management of display in portable device based on prediction of user input
US8768648B2 (en) Selection of display power mode based on sensor data
JP2016054840A (ja) 生体情報測定装置
WO2015198583A1 (ja) 測定装置及び測定方法
US20170319084A1 (en) Measuring apparatus and measuring method
JP6216303B2 (ja) 測定装置及び測定方法
JP6616936B2 (ja) 測定装置、測定方法、および測定装置を備える電子機器
US20170127955A1 (en) Measurement apparatus and measurement method
JP6335673B2 (ja) 測定装置及び測定方法
US10709344B2 (en) Measurement apparatus
WO2015198584A1 (ja) 測定装置及び測定方法
JP6680837B2 (ja) 測定装置、測定方法、および測定装置を備える電子機器
WO2016031223A1 (ja) 測定装置及び測定方法
JP2016047120A (ja) 測定装置及び測定方法
WO2015162924A1 (ja) 測定装置、測定システム、測定方法、及び測定装置を備える電子機器
JP2016067405A (ja) 測定装置、測定方法、および測定装置を備える電子機器
JP2016007504A (ja) 測定装置、測定システム、測定方法、および測定装置を備える電子機器

Legal Events

Date Code Title Description
121 Ep: the epo has been informed by wipo that ep was designated in this application

Ref document number: 15812071

Country of ref document: EP

Kind code of ref document: A1

WWE Wipo information: entry into national phase

Ref document number: 15316943

Country of ref document: US

REEP Request for entry into the european phase

Ref document number: 2015812071

Country of ref document: EP

WWE Wipo information: entry into national phase

Ref document number: 2015812071

Country of ref document: EP

NENP Non-entry into the national phase

Ref country code: DE