WO2015182286A1 - 内視鏡、受信装置、無線内視鏡システム、画像送信方法、画像受信方法、およびプログラム - Google Patents

内視鏡、受信装置、無線内視鏡システム、画像送信方法、画像受信方法、およびプログラム Download PDF

Info

Publication number
WO2015182286A1
WO2015182286A1 PCT/JP2015/061954 JP2015061954W WO2015182286A1 WO 2015182286 A1 WO2015182286 A1 WO 2015182286A1 JP 2015061954 W JP2015061954 W JP 2015061954W WO 2015182286 A1 WO2015182286 A1 WO 2015182286A1
Authority
WO
WIPO (PCT)
Prior art keywords
communication unit
wireless
image data
unit
wireless communication
Prior art date
Legal status (The legal status is an assumption and is not a legal conclusion. Google has not performed a legal analysis and makes no representation as to the accuracy of the status listed.)
Ceased
Application number
PCT/JP2015/061954
Other languages
English (en)
French (fr)
Japanese (ja)
Inventor
隆久 遠藤
Current Assignee (The listed assignees may be inaccurate. Google has not performed a legal analysis and makes no representation or warranty as to the accuracy of the list.)
Olympus Corp
Original Assignee
Olympus Corp
Priority date (The priority date is an assumption and is not a legal conclusion. Google has not performed a legal analysis and makes no representation as to the accuracy of the date listed.)
Filing date
Publication date
Application filed by Olympus Corp filed Critical Olympus Corp
Priority to CN201580027485.6A priority Critical patent/CN106413517B/zh
Priority to DE112015001891.3T priority patent/DE112015001891T5/de
Publication of WO2015182286A1 publication Critical patent/WO2015182286A1/ja
Priority to US15/333,828 priority patent/US10524635B2/en
Anticipated expiration legal-status Critical
Ceased legal-status Critical Current

Links

Images

Classifications

    • AHUMAN NECESSITIES
    • A61MEDICAL OR VETERINARY SCIENCE; HYGIENE
    • A61BDIAGNOSIS; SURGERY; IDENTIFICATION
    • A61B1/00Instruments for performing medical examinations of the interior of cavities or tubes of the body by visual or photographical inspection, e.g. endoscopes; Illuminating arrangements therefor
    • A61B1/00002Operational features of endoscopes
    • A61B1/00011Operational features of endoscopes characterised by signal transmission
    • A61B1/00016Operational features of endoscopes characterised by signal transmission using wireless means
    • AHUMAN NECESSITIES
    • A61MEDICAL OR VETERINARY SCIENCE; HYGIENE
    • A61BDIAGNOSIS; SURGERY; IDENTIFICATION
    • A61B1/00Instruments for performing medical examinations of the interior of cavities or tubes of the body by visual or photographical inspection, e.g. endoscopes; Illuminating arrangements therefor
    • A61B1/00002Operational features of endoscopes
    • A61B1/00004Operational features of endoscopes characterised by electronic signal processing
    • A61B1/00009Operational features of endoscopes characterised by electronic signal processing of image signals during a use of endoscope
    • AHUMAN NECESSITIES
    • A61MEDICAL OR VETERINARY SCIENCE; HYGIENE
    • A61BDIAGNOSIS; SURGERY; IDENTIFICATION
    • A61B1/00Instruments for performing medical examinations of the interior of cavities or tubes of the body by visual or photographical inspection, e.g. endoscopes; Illuminating arrangements therefor
    • A61B1/04Instruments for performing medical examinations of the interior of cavities or tubes of the body by visual or photographical inspection, e.g. endoscopes; Illuminating arrangements therefor combined with photographic or television appliances
    • GPHYSICS
    • G02OPTICS
    • G02BOPTICAL ELEMENTS, SYSTEMS OR APPARATUS
    • G02B23/00Telescopes, e.g. binoculars; Periscopes; Instruments for viewing the inside of hollow bodies; Viewfinders; Optical aiming or sighting devices
    • G02B23/24Instruments or systems for viewing the inside of hollow bodies, e.g. fibrescopes
    • GPHYSICS
    • G02OPTICS
    • G02BOPTICAL ELEMENTS, SYSTEMS OR APPARATUS
    • G02B23/00Telescopes, e.g. binoculars; Periscopes; Instruments for viewing the inside of hollow bodies; Viewfinders; Optical aiming or sighting devices
    • G02B23/24Instruments or systems for viewing the inside of hollow bodies, e.g. fibrescopes
    • G02B23/2476Non-optical details, e.g. housings, mountings, supports
    • G02B23/2484Arrangements in relation to a camera or imaging device
    • GPHYSICS
    • G06COMPUTING OR CALCULATING; COUNTING
    • G06FELECTRIC DIGITAL DATA PROCESSING
    • G06F11/00Error detection; Error correction; Monitoring
    • G06F11/07Responding to the occurrence of a fault, e.g. fault tolerance
    • G06F11/14Error detection or correction of the data by redundancy in operations
    • HELECTRICITY
    • H04ELECTRIC COMMUNICATION TECHNIQUE
    • H04NPICTORIAL COMMUNICATION, e.g. TELEVISION
    • H04N23/00Cameras or camera modules comprising electronic image sensors; Control thereof
    • H04N23/56Cameras or camera modules comprising electronic image sensors; Control thereof provided with illuminating means
    • GPHYSICS
    • G06COMPUTING OR CALCULATING; COUNTING
    • G06FELECTRIC DIGITAL DATA PROCESSING
    • G06F11/00Error detection; Error correction; Monitoring
    • G06F11/07Responding to the occurrence of a fault, e.g. fault tolerance
    • G06F11/14Error detection or correction of the data by redundancy in operations
    • G06F11/1402Saving, restoring, recovering or retrying
    • G06F11/1415Saving, restoring, recovering or retrying at system level
    • G06F11/1443Transmit or communication errors
    • GPHYSICS
    • G06COMPUTING OR CALCULATING; COUNTING
    • G06FELECTRIC DIGITAL DATA PROCESSING
    • G06F11/00Error detection; Error correction; Monitoring
    • G06F11/22Detection or location of defective computer hardware by testing during standby operation or during idle time, e.g. start-up testing
    • G06F11/2205Detection or location of defective computer hardware by testing during standby operation or during idle time, e.g. start-up testing using arrangements specific to the hardware being tested
    • G06F11/221Detection or location of defective computer hardware by testing during standby operation or during idle time, e.g. start-up testing using arrangements specific to the hardware being tested to test buses, lines or interfaces, e.g. stuck-at or open line faults
    • HELECTRICITY
    • H04ELECTRIC COMMUNICATION TECHNIQUE
    • H04NPICTORIAL COMMUNICATION, e.g. TELEVISION
    • H04N23/00Cameras or camera modules comprising electronic image sensors; Control thereof
    • H04N23/50Constructional details
    • H04N23/555Constructional details for picking-up images in sites, inaccessible due to their dimensions or hazardous conditions, e.g. endoscopes or borescopes

Definitions

  • the present invention relates to a technique used in a wireless endoscope system.
  • This application claims priority based on Japanese Patent Application No. 2014-110594 filed in Japan on May 28, 2014, the contents of which are incorporated herein by reference.
  • an endoscope having an insertion unit transmits a light guide cable that guides illumination light generated by a light source device to the endoscope, or an image obtained by the endoscope to a video processor. It is connected to an external device by a signal cable. Thereby, the movement range of the endoscope is limited and the operability of the endoscope is hindered.
  • a wireless endoscope system that wirelessly transmits an image obtained by an endoscope is considered.
  • the restriction on the movement range of the endoscope is relaxed, and the operability is improved.
  • This still image data is still image data whose compression rate is lower than that of moving image data, or uncompressed still image data.
  • Patent Document 1 discloses a moving image monitoring apparatus that transmits moving image video data and selected still image video data simultaneously on the same transmission path.
  • Patent Document 1 When the technique disclosed in Patent Document 1 is applied to a wireless endoscope system, transmission of moving image data and transmission of still image data are performed on the same transmission path, that is, the same wireless channel. For this reason, the usage rate of a radio channel increases. As a result, there is a possibility that the number of data retransmissions may be limited when a communication error occurs. That is, there is a possibility that the probability that the moving image is interrupted increases due to the inability to retransmit data.
  • the present invention provides a technique capable of performing moving image transmission more stably.
  • the endoscope captures an object and outputs image data, and a moving image generation unit that generates moving image data from the image data output from the imaging unit.
  • a still image generation unit that generates still image data from the image data output from the imaging unit, a release instruction unit that receives an image recording instruction from a user, and a communication quality of each of a plurality of wireless channels.
  • the first wireless communication unit for transmitting the still image data to the receiving device when the release instruction unit receives the recording instruction
  • a second wireless communication unit for transmitting the moving image data to the receiving device using a wireless channel different from the wireless channel used by the first wireless communication unit
  • An endoscope having a first setting unit, the the radio channel determined from the communication quality information regarding the communication quality of the used radio channel is set to the second wireless communication unit.
  • the first wireless communication unit is configured to perform a predesignated time when the release instruction unit receives the recording instruction.
  • the still image data may be transmitted to the receiving device by sequentially changing wireless channels at intervals.
  • the first wireless communication unit when the release instruction unit receives the recording instruction, has only one wireless channel. May be used to transmit the still image data to the receiving device.
  • the first radio communication unit or the second radio communication unit is a radio channel determined from the communication quality information.
  • the first setting unit may set the wireless channel indicated by the wireless channel information in the second wireless communication unit.
  • the first wireless communication unit or the second wireless communication unit indicates that the test data has been received.
  • the reception information is received from the reception device, and the first setting unit generates the communication quality information based on the reception information, and determines a radio channel based on the generated communication quality information.
  • a wireless channel may be set in the second wireless communication unit.
  • the first setting unit has a predetermined communication quality of a radio channel used by the second radio communication unit.
  • the wireless channel determined from the communication quality information may be set in the second wireless communication unit when the quality is less than the quality of the second wireless communication unit.
  • the first wireless communication unit transmits information identifying the test data and the still image data to the receiving device. You may send it.
  • the receiving device receives test data for detecting the communication quality of each of the plurality of radio channels from the endoscope by sequentially changing the radio channels, and still image data
  • a fourth wireless communication unit for receiving moving image data from the endoscope using a wireless channel different from the wireless channel used by the third wireless communication unit and the third wireless communication unit.
  • a second setting unit that sets, in the fourth wireless communication unit, a wireless channel determined from communication quality information related to the communication quality of the wireless channel used for transmitting the test data. .
  • a wireless endoscope system includes an endoscope and a receiving device, and the endoscope images an object and outputs image data; A moving image generation unit that generates moving image data from the image data output from the imaging unit, a still image generation unit that generates still image data from the image data output from the imaging unit, and an instruction to record an image from the user
  • the release instruction unit receives the test data for detecting the communication quality of each of the plurality of wireless channels, the wireless channel is sequentially changed and transmitted to the receiving device, and the release instruction unit receives the recording instruction
  • the first wireless communication unit for transmitting the still image data to the receiving device, and the reception of the moving image data using a wireless channel different from a wireless channel used by the first wireless communication unit A first wireless communication unit configured to transmit to the first wireless communication unit, and a second wireless communication unit configured to set a wireless channel determined from communication quality information related to communication quality of the wireless channel used for transmitting the test data in the second wireless communication unit
  • a first setting unit wherein the first wireless
  • the first wireless communication unit receives the test data for detecting the communication quality of each of the plurality of wireless channels by sequentially changing the wireless channel. And when the image recording instruction is received from the user, the first wireless communication unit transmits the still image data generated from the image data output from the imaging unit to the receiving device.
  • the second wireless communication unit transmits the moving image data generated from the image data to the receiving device using a wireless channel different from the wireless channel used by the first wireless communication unit;
  • test data for detecting the communication quality of each of a plurality of radio channels is changed in order by the radio channel being sequentially changed and the third radio communication unit is introspected.
  • the program changes test data for detecting the communication quality of each of the plurality of radio channels to the receiving device by sequentially changing the radio channel and using the first radio communication unit. Transmitting, and when receiving an image recording instruction from the user, transmitting the still image data generated from the image data output from the imaging unit to the receiving device by the first wireless communication unit; Transmitting the moving image data generated from the image data to the receiving device by a second wireless communication unit using a wireless channel different from the wireless channel used by the first wireless communication unit; A radio channel determined from communication quality information relating to the communication quality of the radio channel used for transmitting the test data is set in the second radio communication unit. A step, the causes the computer to execute.
  • the program sequentially changes test data for detecting the communication quality of each of the plurality of radio channels, and the third radio communication unit performs an endoscope.
  • the wireless channel different from the wireless channel used by the third wireless communication unit, receiving the still image data from the endoscope by the third wireless communication unit, Receiving the moving image data from the endoscope by a fourth wireless communication unit, and determining the wireless channel determined from the communication quality information related to the communication quality of the wireless channel used for transmitting the test data, And making the computer execute the step of setting in the wireless communication unit.
  • moving image transmission can be performed more stably. Further, by setting the wireless channel determined from the communication quality information related to the communication quality of the wireless channel used for transmitting the test data in the second wireless communication unit or the fourth wireless communication unit, the moving image transmission is further performed. It can be performed stably.
  • it is a reference figure which shows the example of a mode that test data are transmitted.
  • it is a reference diagram showing a configuration example of a packet of test data.
  • it is a reference diagram showing a configuration example of a packet of still image data.
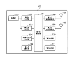
  • FIG. 1 shows a configuration example of a wireless endoscope system 10 according to the present embodiment.
  • the wireless endoscope system 10 includes an endoscope 100 and a receiving device 200.
  • the endoscope 100 and the receiving device 200 perform wireless communication.
  • the receiving device 200 is connected to the display device 300 by a cable or the like.
  • FIG. 2 shows an electrical configuration example of the endoscope 100.
  • the endoscope 100 includes an imaging unit 101, a moving image generation unit 102, a still image generation unit 103, a test data generation unit 104, a first operation unit 105, and a first wireless.
  • the communication unit 106, the first antenna 107, the second wireless communication unit 108, the second antenna 109, the first ROM 110, the first RAM 111, and the first control unit 112 are included.
  • the imaging unit 101 converts a lens that forms incident light, an image sensor (such as a CCD or CMOS sensor) that converts the imaged light into an electrical signal, and converts an analog electrical signal output from the image sensor into a digital electrical signal.
  • An imaging module having an AD converter (analog-digital converter) or the like.
  • the imaging unit 101 images a subject and outputs image data.
  • the moving image generation unit 102 generates moving image data from the image data output from the imaging unit 101.
  • the image data output from the imaging unit 101 is RAW data
  • the moving image generation unit 102 generates moving image data by converting the image data into data suitable for a predetermined moving image format.
  • the moving image generation unit 102 may generate moving image data by performing moving image compression on the image data output from the imaging unit 101.
  • the still image generation unit 103 generates still image data from the image data output from the imaging unit 101.
  • the image data output from the imaging unit 101 is RAW data
  • the still image generation unit 103 generates still image data by converting the image data into data suitable for a predetermined still image format.
  • the still image generation unit 103 may generate still image data by performing still image compression on the image data output from the imaging unit 101.
  • Still image data may be uncompressed data.
  • the number of pixels of moving image data may be different from the number of pixels of still image data. For example, the number of pixels of moving image data may be smaller than the number of pixels of still image data.
  • the test data generation unit 104 generates test data for detecting the communication quality of each of the plurality of radio channels. For example, the test data generation unit 104 generates a plurality of test data composed of random code strings that are repeated at a constant cycle, such as a PN code. Test data may be input to the endoscope 100 from an external device, and the input test data may be stored in the first RAM 111 or the like. Therefore, the test data generation unit 104 is not an essential configuration for the endoscope 100.
  • the first operation unit 105 has a plurality of switches such as a power switch and a release switch.
  • the first operation unit 105 notifies the first control unit 112 of the state of these switches and changes in the state.
  • the first operation unit 105 functions as a release instruction unit that receives an image recording instruction from a user. The user can save still image data at the time when the release switch is operated by operating the release switch of the first operation unit 105. Detailed diagnosis or the like is possible based on the stored still image data.
  • the first wireless communication unit 106 and the second wireless communication unit 108 perform wireless communication with the receiving device 200 using any of a plurality of wireless channels.
  • Each frequency band of the plurality of radio channels is different.
  • the center frequency of each frequency band of a plurality of radio channels is different.
  • a part of each frequency band of the plurality of radio channels may overlap.
  • the first wireless communication unit 106 and the second wireless communication unit 108 are a communication interface (communication module) having a high-frequency circuit unit necessary for wireless communication, a circuit unit for encoding and decoding, and a buffer memory. ).
  • a first antenna 107 is connected to the first wireless communication unit 106.
  • the second antenna 109 is connected to the second wireless communication unit 108.
  • a wireless LAN IEEE 802.11 or the like is used as an example of a wireless communication method.
  • the first wireless communication unit 106 performs wireless communication with the receiving device 200 via the first antenna 107. For example, the first wireless communication unit 106 sequentially changes the wireless channel and transmits the test data to the receiving device 200. In addition, when the release switch receives a recording instruction, the first wireless communication unit 106 transmits still image data to the receiving device 200. More specifically, when the release switch receives a recording instruction, the first wireless communication unit 106 transmits the still image data to the receiving device 200 for a predetermined period, that is, a period in which still image data for one frame is transmitted. To do. Further, the first wireless communication unit 106 transmits the test data to the receiving apparatus 200 by sequentially changing the wireless channel during the period excluding this period.
  • the second wireless communication unit 108 performs wireless communication with the receiving device 200 via the second antenna 109.
  • the second wireless communication unit 108 transmits moving image data to the receiving apparatus 200 using a wireless channel different from the wireless channel used by the first wireless communication unit 106.
  • the first wireless communication unit 106 and the second wireless communication unit 108 can perform wireless communication in parallel.
  • the radio channel set in the second radio communication unit 108 becomes a radio channel with better communication quality. Be changed. A radio channel with better communication quality is selected based on the communication result of the test data.
  • the receiving device 200 or the endoscope 100 determines a wireless channel.
  • the first ROM 110 is a non-volatile memory such as a Flash ROM. Program data for controlling the endoscope 100 and various setting information including communication setting parameters are stored in the first ROM 110.
  • the first RAM 111 is a volatile memory.
  • the first RAM 111 is a buffer that temporarily stores image data output from the imaging unit 101, a work area for operations by the first control unit 112, and an area that temporarily stores various setting information. Used as.
  • the first antenna 107, the second antenna 109, the first ROM 110, and the first RAM 111 are not characteristic configurations of the endoscope 100.
  • the first control unit 112 operates according to a program stored in the first ROM 110, and controls the operation of the endoscope 100. For example, the first control unit 112 transmits and receives data using the first wireless communication unit 106 and the second wireless communication unit 108. That is, the first control unit 112 causes the first wireless communication unit 106 and the second wireless communication unit 108 to transmit and receive data.
  • the first control unit 112 functions as a first setting unit that sets, in the second wireless communication unit 108, a wireless channel determined from communication quality information related to the communication quality of the wireless channel used for transmitting test data. .
  • the first control unit 112 sets the radio channel determined from the communication quality information to the second radio channel when the communication quality of the radio channel used by the second radio communication unit 108 is lower than a predetermined quality. Set in the communication unit 108.
  • the first control unit 112 sets a wireless channel in the first wireless communication unit 106, and sequentially changes the wireless channel set in the first wireless communication unit 106 at predetermined time intervals.
  • the first control unit 112 may have at least one of the functions of the moving image generation unit 102, the still image generation unit 103, and the test data generation unit 104.
  • the function of the first control unit 112 can be realized as a software function by, for example, reading and executing a program including an instruction defining the operation of the first control unit 112 by the computer of the endoscope 100.
  • the program may be provided by a “computer-readable recording medium” such as a flash memory.
  • the above-described program is input to the endoscope 100 by being transmitted to the endoscope 100 via a transmission medium or by a transmission wave in the transmission medium from a computer storing the program in a storage device or the like. May be.
  • the “transmission medium” for transmitting the program is a medium having a function of transmitting information, such as a network (communication network) such as the Internet or a communication line (communication line) such as a telephone line.
  • the above-described program may realize a part of the functions described above.
  • the above-described program may be a so-called difference file (difference program) that can realize the above-described function in combination with a program already recorded in the computer
  • FIG. 3 shows an example of the electrical configuration of the receiving device 200.
  • the reception device 200 includes a third wireless communication unit 201, a third antenna 202, a fourth wireless communication unit 203, a fourth antenna 204, and a second operation unit 205.
  • the third wireless communication unit 201 and the fourth wireless communication unit 203 include a communication interface (communication module) including a high-frequency circuit unit necessary for wireless communication, a circuit unit for encoding and decoding, and a buffer memory. ).
  • a third antenna 202 is connected to the third wireless communication unit 201.
  • the fourth antenna 204 is connected to the fourth wireless communication unit 203.
  • the third wireless communication unit 201 uses the same wireless channel as the wireless channel used by the first wireless communication unit 106 of the endoscope 100 and wirelessly communicates with the endoscope 100 via the third antenna 202. I do. For example, the third wireless communication unit 201 receives test data for detecting the communication quality of each of the plurality of wireless channels from the endoscope 100 by sequentially changing the wireless channels. Further, the third wireless communication unit 201 receives still image data from the endoscope 100. More specifically, when the first operation unit 105 of the endoscope 100 receives a recording instruction, the third wireless communication unit 201 receives a recording instruction for a predetermined period, that is, a period for receiving still image data for one frame, Still image data is received from the endoscope 100. Further, the third wireless communication unit 201 receives the test data from the endoscope 100 by sequentially changing the wireless channel during the period excluding this period.
  • the fourth wireless communication unit 203 uses the same wireless channel as the second wireless communication unit 108 of the endoscope 100 and wirelessly communicates with the endoscope 100 via the fourth antenna 204. I do.
  • the fourth wireless communication unit 203 receives moving image data from the endoscope 100 using a wireless channel different from the wireless channel used by the third wireless communication unit 201.
  • the third wireless communication unit 201 and the fourth wireless communication unit 203 can perform wireless communication in parallel.
  • the second operation unit 205 has a plurality of switches such as a power switch.
  • the second operation unit 205 notifies the second control unit 210 of the state of these switches and changes in the state.
  • the image processing unit 206 performs image processing on the received moving image data, and converts the moving image data into display data in a format used for displaying an image.
  • the image processing unit 206 expands the moving image data and converts the expanded moving image data into display data.
  • the image processing unit 206 outputs the processed display data to the display device 300.
  • the display device 300 displays a moving image based on the display data.
  • the image processing unit 206 may perform image processing on the received still image data and convert the still image data into display data in a format used for displaying an image.
  • the image processing unit 206 may expand the still image data and convert the expanded still image data into display data.
  • the display device 300 may display a still image based on the display data.
  • the image data storage unit 207 is a recording medium such as a hard disk.
  • the image data storage unit 207 stores the received still image data.
  • the image data storage unit 207 may be a storage device independent of the reception device 200. Therefore, the image data storage unit 207 is not an essential component for the receiving device 200.
  • the second ROM 208 is a non-volatile memory such as a Flash ROM.
  • Program data for controlling the receiving apparatus 200 and various setting information including communication setting parameters are stored in the second ROM 208.
  • the second RAM 209 is a volatile memory.
  • the second RAM 209 includes a buffer that temporarily stores data received by the third wireless communication unit 201 and the fourth wireless communication unit 203, a work area for calculation by the second control unit 210, It is also used as an area for temporarily storing various setting information.
  • the third antenna 202, the fourth antenna 204, the second operation unit 205, the image processing unit 206, the second ROM 208, and the second RAM 209 are characteristic configurations of the reception device 200. Absent.
  • the second control unit 210 operates according to a program stored in the second ROM 208, and controls the operation of the receiving device 200. For example, the second control unit 210 transmits and receives data using the third wireless communication unit 201 and the fourth wireless communication unit 203. That is, the second control unit 210 causes the third wireless communication unit 201 and the fourth wireless communication unit 203 to transmit and receive data.
  • the second control unit 210 serves as a second setting unit that sets, in the fourth wireless communication unit 203, the wireless channel determined from the communication quality information related to the communication quality of the wireless channel used for transmitting the test data. Function. When the communication quality of the wireless channel used by the fourth wireless communication unit 203 becomes less than a predetermined quality, the second control unit 210 sets the wireless channel determined from the communication quality information to the fourth wireless Set in the communication unit 203.
  • the second control unit 210 sets a wireless channel in the third wireless communication unit 201, and sequentially changes the wireless channel set in the third wireless communication unit 201 at a time interval specified in advance.
  • the second control unit 210 functions as an output unit that outputs still image data to the image data storage unit 207.
  • the second control unit 210 may have the function of the image processing unit 206.
  • the function of the second control unit 210 can be realized as a software function by, for example, reading and executing a program including an instruction defining the operation of the second control unit 210 by the computer of the receiving device 200.
  • This program mounting method may be the same as the program mounting method for controlling the operation of the first control unit 112 of the endoscope 100.
  • moving image data and still image data are transmitted through different wireless channels. For this reason, moving image transmission can be performed more stably as compared with the conventional technique in which moving image data and still image data are transmitted through the same wireless channel.
  • the second wireless communication unit 108 or the fourth wireless communication unit 203 is set with the wireless channel determined from the communication quality information related to the communication quality of the wireless channel used for transmitting the test data. . As a result, it is possible to use a wireless channel with better communication quality for moving picture transmission. For this reason, video transmission can be performed more stably.
  • FIG. 31 shows an example of how moving image data is transmitted.
  • the right direction in FIG. 31 is the direction in which the time advances.
  • n radio channels CH1 to CHn are shown.
  • n is a natural number of 2 or more.
  • Moving picture data for one frame is transmitted within one frame time corresponding to the time for displaying an image for one frame. Multiple frames of moving image data are transmitted continuously.
  • the moving image data is transmitted through a predetermined wireless channel.
  • moving image data is transmitted through the wireless channel CH1.
  • the radio channel used for transmitting moving image data is changed from the radio channel CH1 to another radio channel.
  • FIG. 32 shows an example of how test data is transmitted.
  • the right direction in FIG. 32 is the direction in which the time advances.
  • n radio channels CH1 to CHn are shown.
  • n is a natural number of 2 or more.
  • a plurality of test data is transmitted within a channel test time which is a predetermined time.
  • two pieces of test data are transmitted within the channel test time. Each time the channel test time elapses, the radio channel is changed. For example, the channel test time is a time longer than one frame time.
  • the receiving apparatus 200 determines a wireless channel to be used for transmitting moving image data.
  • the endoscope 100 determines a wireless channel to be used for transmitting moving image data.
  • still image data is transmitted using a fixed wireless channel.
  • the receiving apparatus 200 determines a wireless channel to be used for transmitting moving image data.
  • 4 to 9 show an example of the procedure of the operation of the endoscope 100 in the first operation example.
  • 4 and 5 show main operations of the endoscope 100.
  • FIG. 6 to 9 show details of the operation shown in FIG. 4 or FIG.
  • the mode of the endoscope 100 is an AFS (Auto-Frequency-Select) mode or a release mode.
  • the AFS mode is a mode in which test data is transmitted by the first wireless communication unit 106.
  • the release mode is a mode in which still image data is transmitted by the first wireless communication unit 106.
  • the mode of the endoscope 100 is set to the AFS mode.
  • the mode of the endoscope 100 is set to the release mode.
  • the mode of the endoscope 100 is set to the AFS mode.
  • the first control unit 112 When the power of the endoscope 100 is turned on, the first control unit 112 initializes each functional block of the endoscope 100 (step S101). At this time, the first control unit 112 sets, as initial values, a value TEST_CH indicating a radio channel used for transmission of test data and a value indicating a radio channel used for transmission of moving image data. For example, the initial value of the value TEST_CH is 1. Also, the initial value of the value indicating the radio channel used for transmitting moving image data is different from the initial value of the value TEST_CH. The first control unit 112 sets a radio channel for the first radio communication unit 106 and the second radio communication unit 108 based on these initial values.
  • the first control unit 112 sets a value TEST_NO indicating the test data number to an initial value.
  • the initial value of the value TEST_NO is 1.
  • the first control unit 112 sets the mode of the endoscope 100 to the AFS mode. Information indicating the set mode is stored in the first RAM 111.
  • step S101 the imaging unit 101 starts imaging.
  • the moving image generation unit 102 starts generating moving image data.
  • the still image generation unit 103 starts generating still image data.
  • the test data generation unit 104 starts generating test data.
  • the first control unit 112 waits for reception of a connection request packet transmitted from the receiving device 200 (step S102).
  • the connection request packet is a packet for requesting a connection to receive data from a connection partner of wireless communication.
  • the connection request packet includes the MAC address of the receiving device 200.
  • the first control unit 112 receives the connection request packet by the first wireless communication unit 106 or the second wireless communication unit 108.
  • the first control unit 112 When the connection request packet is received, the first control unit 112 generates a connection request response packet, and the generated connection request response packet is received by the first wireless communication unit 106 or the second wireless communication unit 108. It transmits to the apparatus 200 (step S103). As a result, a wireless connection between the endoscope 100 and the receiving device 200 is established.
  • the connection request response packet is a response to the connection request packet.
  • the first control unit 112 After the connection request response packet is transmitted, the first control unit 112 detects the state of the moving image generation unit 102 and determines whether moving image data has been prepared (step S104). When the moving image data is not prepared, the process of step S104 is performed again.
  • the first control unit 112 clears the channel test time timer (step S105). As a result, the time measured by the channel test time timer is initialized.
  • the channel test time timer is a timer for measuring the channel test time.
  • the first control unit 112 After the channel test time timer is cleared, the first control unit 112 generates a frame start packet, and the first radio communication unit 106 or the second radio communication unit 108 receives the generated frame start packet. 200 (step S106).
  • the frame start packet is a packet that notifies the start of one frame time.
  • the first control unit 112 transmits the moving image data for one packet out of the moving image data generated by the moving image generation unit 102 to the receiving device 200 by the second wireless communication unit 108. (Step S107). That is, the first control unit 112 uses moving image data generated from the image data output from the imaging unit 101 using a wireless channel different from the wireless channel used by the first wireless communication unit 106, Transmission is performed by the second wireless communication unit 108 to the receiving device 200.
  • the first control unit 112 determines whether the mode of the endoscope 100 is the release mode based on information indicating the mode of the endoscope 100 (step S108). .
  • Information indicating the mode of the endoscope 100 is stored in the first RAM 111.
  • step S109 If the mode of the endoscope 100 is the release mode, still image data is transmitted (step S109). Details of step S109 will be described later.
  • test data is transmitted (step S110). Details of step S110 will be described later.
  • step S109 or step S110 the first control unit 112 determines whether or not one frame of moving image data has been transmitted (step S111). If transmission of moving image data for one frame has not been completed, the process of step S107 is performed again.
  • the first control unit 112 detects the time measured by the channel test time timer and determines whether or not the time exceeds the channel test time (step S112). ).
  • test channel is changed (step S113).
  • the test channel is a radio channel used for transmitting test data. Details of step S113 will be described later. If the time measured by the channel test time timer does not exceed the channel test time, the test channel is not changed.
  • the first control unit 112 detects the state of the first operation unit 105 and determines whether or not the release switch has been pressed (step S114). When the release switch is pressed, a release process is performed (step S115). The release process is a process for transmitting still image data. Details of step S115 will be described later. If the release switch is not pressed, the release process is not performed.
  • the first control unit 112 waits for reception of a channel change instruction packet transmitted from the receiving device 200 (step S116).
  • the channel change instruction packet is a packet for instructing change of a wireless channel used for transmission of moving image data.
  • the channel change instruction packet includes radio channel information indicating a radio channel determined from communication quality information related to the communication quality of the radio channel used for transmitting the test data.
  • the first control unit 112 receives the channel change instruction packet by the first wireless communication unit 106 or the second wireless communication unit 108.
  • the first control unit 112 sets the wireless channel indicated by the wireless channel information included in the channel change instruction packet in the second wireless communication unit 108 (step S117). That is, the first control unit 112 sets the radio channel determined from the communication quality information related to the communication quality of the radio channel used for transmitting the test data in the second radio communication unit 108. As a result, the wireless channel set in the second wireless communication unit 108 is changed. When the channel change instruction packet is not received, the wireless channel used by the second wireless communication unit 108 is not changed.
  • the first control unit 112 detects the state of the moving image generation unit 102 and determines whether moving image data has been prepared (step S118). When the moving image data is not prepared, the process of step S112 is performed again. Further, when the moving image data is prepared, the process of step S106 is performed again.
  • FIG. 6 shows details of step S115. Since the release switch has been pressed, the first control unit 112 sets the mode of the endoscope 100 to the release mode (step S1151). Information indicating the set mode is stored in the first RAM 111.
  • the first control unit 112 waits for the still image data to be generated by the still image generation unit 103.
  • the first control unit 112 stores the generated still image data in a buffer provided in the first RAM 111 (step S1152).
  • step S1152 still image data generated at the timing designated by the user by operating the release switch is stored in the buffer.
  • the still image generation unit 103 may stop operating when the release switch is not operated, and the still image generation unit 103 may start generating still image data when the release switch is operated.
  • the process of step S115 ends.
  • FIG. 7 shows details of step S109.
  • the first control unit 112 determines whether there is still image data in the buffer provided in the first RAM 111 (step S1091). Still image data generated by the still image generation unit 103 is stored in a buffer.
  • the first control unit 112 uses the first wireless communication unit 106 to receive still image data for one packet among the still image data generated by the still image generation unit 103 by the receiving device 200. (Step S1092). That is, when the first control unit 112 receives an image recording instruction from the user, the first wireless communication unit 106 receives still image data generated from the image data output from the imaging unit 101 by the receiving device 200. Send to. As described above, when the image recording instruction is received from the user, the first control unit 112 transmits the still image data to the receiving device 200 by the first wireless communication unit 106 instead of the test data.
  • the first control unit 112 determines whether still image data for one frame has been transmitted (step S1093). If transmission of still image data for one frame has not been completed, the processing in step S109 ends.
  • step S1094 When the transmission of still image data for one frame is completed, the first control unit 112 erases the still image data stored in the buffer provided in the first RAM 111 (step S1094). After the still image data is erased, the process of step S109 ends.
  • the first control unit 112 sets the mode of the endoscope 100 to the AFS mode (step S1095).
  • Information indicating the set mode is stored in the first RAM 111.
  • FIG. 8 shows details of step S110.
  • the first control unit 112 transmits the TEST_NO-th test data generated by the test data generation unit 104 to the reception device 200 by the first wireless communication unit 106 (step S1101). For example, one test data is divided into a plurality of data, and a plurality of packets including each divided data is transmitted.
  • the first control unit 112 increments the value TEST_NO indicating the test data number by 1 (step S1102). After the value TEST_NO increases by 1, the first control unit 112 determines whether or not the value TEST_NO is larger than the value TEST_MAX (step S1103).
  • the value TEST_MAX is the maximum value of the test data number.
  • the value TEST_MAX is stored in the first RAM 111 in advance.
  • step S110 If the value TEST_NO is less than or equal to the value TEST_MAX, the process of step S110 ends.
  • the first control unit 112 sets the value TEST_NO to 1 that is an initial value (step S1104). After the value TEST_NO is set to 1, the process of step S110 ends.
  • FIG. 9 shows details of step S113.
  • the first control unit 112 increases the value TEST_CH indicating the radio channel used for transmission of the test data by 1 (step S1131).
  • the first control unit 112 determines whether or not the radio channel corresponding to the value TEST_CH is being used by the second radio communication unit 108 (step S1132). At this time, the first control unit 112 determines by comparing the value TEST_CH with a value indicating the radio channel used by the second radio communication unit 108, that is, the radio channel used for transmission of moving image data. I do. When the two values are the same, it is determined that the radio channel corresponding to the value TEST_CH is being used by the second radio communication unit 108. If the two values are different, it is determined that the radio channel corresponding to the value TEST_CH is not used by the second radio communication unit 108.
  • the first control unit 112 increments the value TEST_CH by 1 (step S1133).
  • the wireless channel used by the first wireless communication unit 106 and the wireless channel used by the second wireless communication unit 108 do not overlap.
  • the radio channel corresponding to the value TEST_CH is not used by the second radio communication unit 108, the value TEST_CH does not increase.
  • the first control unit 112 determines whether or not the value TEST_CH is larger than the value CH_MAX (step S1134).
  • the value CH_MAX is the maximum value of the radio channel number.
  • the value CH_MAX is stored in the first RAM 111 in advance.
  • the first control unit 112 sets the value TEST_CH to 1 which is an initial value (step S1135). If value TEST_CH is less than or equal to value CH_MAX, value TEST_CH is not changed.
  • the first control unit 112 clears the channel test time timer (step S1136). As a result, the time measured by the channel test time timer is initialized.
  • the test channel change instruction packet is a packet for instructing setting of a radio channel used for transmitting test data.
  • the test channel change instruction packet includes radio channel information indicating a radio channel used for transmitting test data. The value indicated by the radio channel information is the same as the value TEST_CH.
  • the first control unit 112 sets the radio channel indicated by the value TEST_CH in the first radio communication unit 106 (step S1138). As a result, the wireless channel set in the first wireless communication unit 106 is changed. After the radio channel is changed, the process of step S113 ends.
  • step S112 and the processing in step S113 are performed both while the test data is being transmitted and while the still image data is being transmitted. If the time measured by the channel test time timer exceeds the channel test time during the transmission of the test data, the radio channel is changed by the process of step S113. That is, the first control unit 112 sequentially changes the test data for detecting the communication quality of each of the plurality of radio channels by changing the radio channel at a predetermined time, that is, at an interval of the channel test time. Is transmitted to the receiving device 200 by the wireless communication unit 106.
  • the radio channel is changed by the process of step S113. That is, when the release switch receives a still image recording instruction from the user, the first control unit 112 sequentially changes the wireless channel of the first wireless communication unit 106 at intervals of a channel test time specified in advance. The first wireless communication unit 106 transmits still image data to the receiving device 200.
  • transmission of still image data and acquisition of information on the communication quality of the wireless channel used for transmission of the still image data are performed in parallel by transmitting still image data by sequentially changing the wireless channel. Can be done.
  • still image data can be used as test data. That is, in the first operation example, still image data is equivalent to test data.
  • FIG. 33A and 33B show configuration examples of a test data packet and a still image data packet.
  • FIG. 33A shows the configuration of a packet PCK1 that is a packet of test data.
  • a data identifier is stored in the top area of the packet PCK1.
  • the data identifier indicates either test data or still image data.
  • the data identifier of the packet PCK1 indicates test data.
  • test data is stored in an area following the top area.
  • the test data includes a test data number and a test data body.
  • FIG. 33B shows a configuration of a packet PCK2 that is a packet of still image data.
  • a data identifier is stored in the top area of the packet PCK2.
  • the data identifier of the packet PCK2 indicates still image data.
  • still image data is stored in an area following the head area.
  • the still image data includes a still image data number, an end mark, and the main body of the still image data.
  • the still image data number indicates the order of data when still image data for one frame is divided into data stored in each packet.
  • the end mark indicates a packet transmitted last among a plurality of packets transmitting still image data for one frame.
  • the first control unit 112 of the endoscope 100 transmits the packet PCK1 or the packet PCK2 to the receiving device 200 through the first wireless communication unit 106. Accordingly, the first control unit 112 can transmit information for identifying test data and still image data, that is, a data identifier, to the receiving device 200 by the first wireless communication unit 106.
  • the second control unit 210 of the receiving apparatus 200 receives the packet PCK1 or the packet PCK2 from the endoscope 100 by the third wireless communication unit 201. Accordingly, the second control unit 210 can receive information for identifying test data and still image data, that is, a data identifier, from the endoscope 100 by the third wireless communication unit 201. The second control unit 210 performs processing related to test data or still image data included in the packet PCK1 or the packet PCK2 according to the received data identifier. Accordingly, the receiving device 200 can perform processing according to the type of data.
  • 10 to 15 show an example of the procedure of the operation of the receiving apparatus 200 in the first operation example.
  • 10 and 11 show main operations of the receiving apparatus 200.
  • FIG. 12 to 15 show details of the operation shown in FIG. 10 or FIG.
  • the second control unit 210 When the power of the receiving device 200 is turned on, the second control unit 210 initializes each functional block of the receiving device 200 (step S201). At this time, the second control unit 210 sets a value TEST_CH indicating a radio channel used for receiving test data and a value indicating a radio channel used for receiving moving image data as initial values. For example, the initial value of the value TEST_CH is 1. Also, the initial value of the value indicating the radio channel used for transmitting moving image data is different from the initial value of the value TEST_CH. The second control unit 210 sets a radio channel for the third radio communication unit 201 and the fourth radio communication unit 203 based on these initial values.
  • the second control unit 210 sets a value F_COUNT indicating a frame number and a value F_ERR indicating the number of errors in transmission of moving image data as initial values. For example, these initial values are zero.
  • F_COUNT indicating a frame number
  • F_ERR indicating the number of errors in transmission of moving image data
  • the second control unit 210 sets a value D_AMOUNT [n] indicating the amount of data received for each radio channel and a value CH_STATUS [n] indicating the communication rate for each radio channel as initial values.
  • n indicates a radio channel number.
  • the value D_AMOUNT [n] indicates the amount of data received on the nth radio channel.
  • the value CH_STATUS [n] indicates the communication rate of the nth radio channel. For example, these initial values are zero.
  • the value D_AMOUNT [n] and the value CH_STATUS [n] are stored in the second RAM 209.
  • the second control unit 210 After each functional block of the endoscope 100 is initialized, the second control unit 210 detects the content of the operation by the user based on the signal from the second operation unit 205, and the user detects the content of the connection partner. It waits for selection of the endoscope 100 (step S202). Information of the endoscope 100 that can be selected as a connection partner is stored in the second ROM 208 in advance.
  • the second control unit 210 identifies the endoscope 100 selected as the connection partner based on the signal from the second operation unit 205.
  • the second control unit 210 generates a connection request packet, and the endoscope selected as the connection partner by the third wireless communication unit 201 or the fourth wireless communication unit 203 using the generated connection request packet. 100 (step S203).
  • the second control unit 210 waits for reception of a connection request response packet transmitted from the endoscope 100 (step S204).
  • the second control unit 210 receives the connection request response packet by the third wireless communication unit 201 or the fourth wireless communication unit 203.
  • the second control unit 210 determines whether or not the time elapsed since the connection request packet was transmitted has exceeded a predetermined time (step S205). If the time elapsed since the connection request packet was transmitted does not exceed the predetermined time, the process of step S203 is performed again. If the time elapsed since the connection request packet was transmitted exceeds a predetermined time, the second control unit 210 causes the display device 300 to display a connection error (step S206). After the connection error is displayed, the process of step S202 is performed again.
  • the second control unit 210 waits for reception of a frame start packet transmitted from the endoscope 100 (step S207).
  • the second control unit 210 receives the frame start packet by the third wireless communication unit 201 or the fourth wireless communication unit 203.
  • the second control unit 210 clears the frame error measurement timer and the channel monitoring time timer (step S208).
  • the frame error measurement timer is a timer for measuring the time for detecting the number of occurrences of errors in moving image data.
  • the channel monitoring time timer is a timer for measuring the channel monitoring time.
  • the channel monitoring time is the time for monitoring the state of the radio channel for measuring the communication rate.
  • the second control unit 210 clears the frame time timer (step S209). Thereby, the time measured by the frame time timer is initialized.
  • the frame time timer is a timer for measuring one frame time.
  • the second control unit 210 waits for reception of moving image data for one packet transmitted from the endoscope 100.
  • the second control unit 210 receives the moving image data by the fourth wireless communication unit 203 (step S210). That is, the second control unit 210 receives moving image data from the endoscope 100 by the fourth wireless communication unit 203 using a wireless channel different from the wireless channel used by the third wireless communication unit 201. To do.
  • step S211 processing related to reception of test data is performed. Details of the processing in step S211 will be described later.
  • step S212 After processing related to the reception of test data, processing related to reception of still image data is performed (step S212). Details of the processing in step S212 will be described later. The order in which the process of step S211 and the process of step S212 are performed may be reversed.
  • the second control unit 210 determines whether or not the time measured by the frame time timer has exceeded a predetermined time, that is, one frame time (step S213). If the time measured by the frame time timer does not exceed one frame time, the process of step S210 is performed again.
  • the second control unit 210 increases the value F_COUNT by 1 (step S214). After the value F_COUNT has increased by 1, the second control unit 210 determines whether or not one frame of moving image data has been normally received (step S215). When reception of one frame of moving image data is completed within one frame time, it is determined that one frame of moving image data has been normally received. Further, if the reception of moving image data for one frame is not completed within one frame time due to an increase in the amount of retransmission, it is determined that the moving image data for one frame has not been received normally.
  • the second control unit 210 When the moving image data for one frame is normally received, the second control unit 210 performs image processing of the moving image data by the image processing unit 206 and displays the image for one frame constituting the moving image by the display device 300. (Step S216). That is, the second control unit 210 causes the display device 300 to display an image based on the received moving image data. When the moving image data for one frame is not normally received, the second control unit 210 increments the value F_ERR by 1 (step S217).
  • step S218 After the image is displayed or the value F_ERR is incremented by 1, the error rate of the moving image data for one frame is calculated (step S218). Details of step S218 will be described later.
  • the second control unit 210 waits for reception of a test channel change instruction packet transmitted from the endoscope 100 (step S219).
  • the second control unit 210 receives the test channel change instruction packet by the third wireless communication unit 201 or the fourth wireless communication unit 203.
  • step S220 When the test channel change instruction packet is received, information on the radio channel is updated (step S220). Details of step S220 will be described later.
  • step S220 After the information on the wireless channel is updated, the second control unit 210 changes the wireless channel set in the third wireless communication unit 201 based on the result of the process in step S220 (step S221). Details of step S221 will be described later.
  • step S220 When the test channel change instruction packet has not been received, the process of step S220 and the process of step S221 are not performed.
  • the second control unit 210 waits for reception of a frame start packet transmitted from the endoscope 100 (step S222).
  • the second control unit 210 receives the frame start packet by the third wireless communication unit 201 or the fourth wireless communication unit 203.
  • step S219 is performed again.
  • step S209 is performed again.
  • FIG. 12 shows details of step S211.
  • the second control unit 210 waits for reception of test data transmitted from the endoscope 100 (step S2111).
  • the second control unit 210 receives the test data by the third wireless communication unit 201.
  • the first wireless communication unit 106 of the endoscope 100 sequentially changes the wireless channel and transmits the test data to the receiving device 200.
  • the second control unit 210 of the receiving apparatus 200 sequentially changes the wireless channel
  • the third wireless communication unit 201 receives the test data.
  • the second control unit 210 increases the value D_AMOUNT [TEST_CH] by the amount of the received data (step S2112).
  • the amount of data received may be the number of packets received. If no test data has been received, the value D_AMOUNT [TEST_CH] is not updated. With the above process, the process of step S211 ends.
  • FIG. 13 shows details of step S212.
  • the second control unit 210 waits for reception of still image data transmitted from the endoscope 100 (step S2121).
  • the second control unit 210 receives still image data through the third wireless communication unit 201.
  • the first wireless communication unit 106 of the endoscope 100 sequentially changes the wireless channel and transmits still image data to the receiving device 200.
  • the second control unit 210 of the reception device 200 sequentially changes the wireless channel
  • the third wireless communication unit 201 receives still image data.
  • the second control unit 210 increases the value D_AMOUNT [TEST_CH] by the amount of received data (step S2122).
  • the amount of data received may be the number of packets received. Since still image data is also used as test data, the communication result of the still image data is reflected in the value D_AMOUNT [TEST_CH].
  • the process of step S2122 may not be performed. If still image data has not been received, the value D_AMOUNT [TEST_CH] is not updated.
  • step S2123 After the value D_AMOUNT [TEST_CH] is updated, the second control unit 210 stores the received still image data in the image data storage unit 207 (step S2123). After the still image data is saved, the process of step S212 is terminated.
  • FIG. 14 shows details of step S220.
  • the second controller 210 sets the value CH_STATUS [TEST_CH] to a value obtained by dividing the value D_AMOUNT [TEST_CH] by the channel monitoring time (step S2201).
  • the value CH_STATUS [TEST_CH] indicates the communication rate of the TEST_CH th radio channel. That is, the value CH_STATUS [TEST_CH] is communication quality information related to the communication quality of the radio channel from which the test data is received.
  • the channel monitoring time is a time measured by a channel monitoring time timer.
  • the second control unit 210 sets the value TEST_CH to the number of the radio channel indicated by the test channel change instruction packet (step S2202).
  • the test channel change instruction packet includes radio channel information indicating a radio channel used for transmitting test data.
  • the second control unit 210 sets the value TEST_CH to the radio channel number indicated by the radio channel information. For this reason, the radio channel number indicated by the value TEST_CH is the same as the radio channel number indicated by the radio channel information.
  • the second control unit 210 sets the value D_AMOUNT [TEST_CH] to 0 (step S2203). After D_AMOUNT [TEST_CH] is set to 0, the second controller 210 clears the channel monitoring time timer (step S2204). As a result, the time measured by the channel monitoring time timer is initialized. After the channel monitoring time timer is cleared, the process of step S220 ends.
  • the second control unit 210 sets the radio channel indicated by the value TEST_CH in the third radio communication unit 201.
  • the value TEST_CH is the number of the radio channel indicated by the test channel change instruction packet.
  • the same wireless channel as that set in the first wireless communication unit 106 of the endoscope 100 is set in the third wireless communication unit 201.
  • the second control unit 210 sequentially changes the wireless channel at a time specified in advance, that is, at a time interval corresponding to the channel test time in the endoscope 100, and the third wireless communication unit 201 performs test data. Receive.
  • FIG. 15 shows details of step S218.
  • the second controller 210 determines whether the time measured by the frame error measurement timer has exceeded a predetermined time (step S2181).
  • the predetermined time is a time obtained by multiplying one frame time by a natural number. If the time measured by the frame error measurement timer does not exceed the predetermined time, the process of step S218 ends.
  • the second control unit 210 sets the value F_ERR_RATE to a value obtained by dividing the value F_ERR by the value F_COUNT (step S2182).
  • the value F_ERR_RATE indicates the error rate of the moving image data, that is, the communication quality of the radio channel used for transmitting the moving image data.
  • the value F_ERR_RATE is the same as the value obtained by dividing the value F_ERR by the value F_COUNT.
  • the value F_ERR_RATE is stored in the second RAM 209.
  • the second control unit 210 sets the value F_COUNT and the value F_ERR to 0 (step S2183). After the value F_COUNT and the value F_ERR are set to 0, the second control unit 210 clears the frame error measurement timer (step S2184). As a result, the time measured by the frame error measurement timer is initialized.
  • the second control unit 210 determines whether the value F_ERR_RATE exceeds a predetermined value (step S2185). That is, the second control unit 210 determines whether or not the error rate of the moving image data exceeds a predetermined value. In other words, the second control unit 210 determines whether the communication quality of the radio channel used by the second radio communication unit 108 and the fourth radio communication unit 203 is less than a predetermined quality. .
  • the value F_ERR_RATE does not exceed the predetermined value, that is, when the communication quality of the radio channel used by the second radio communication unit 108 and the fourth radio communication unit 203 is equal to or higher than the predetermined quality, the process proceeds to step S218. Processing ends.
  • the second The control unit 210 determines a wireless channel used for transmission of moving image data, that is, a wireless channel set in the fourth wireless communication unit 203 (step S2186). At this time, the second control unit 210 determines a radio channel based on the value CH_STATUS [n].
  • the value CH_STATUS [n] indicates the communication rate of the nth radio channel.
  • the value CH_STATUS [n] is communication quality information regarding the communication quality of the radio channel from which the test data is received.
  • the second control unit 210 determines a radio channel based on the communication quality information. For example, the second controller 210 selects a radio channel corresponding to the highest value CH_STATUS [n] among the values CH_STATUS [n] corresponding to each of the plurality of radio channels.
  • the second control unit 210 determines a radio channel so that the radio channel set in the fourth radio communication unit 203 is different from the radio channel set in the third radio communication unit 201. May be. Alternatively, when the determined wireless channel is the same wireless channel as that set in the third wireless communication unit 201, the second control unit 210 sets the third wireless communication unit 201. The determined radio channel may be changed to a radio channel different from the determined radio channel. When the wireless channel set in the third wireless communication unit 201 is changed, the second control unit 210 sends a test channel change instruction packet to the third wireless communication unit 201 or the fourth wireless communication unit 203. It is desirable to transmit to the endoscope 100.
  • the second control unit 210 After the wireless channel is determined, the second control unit 210 generates a channel change instruction packet, and the generated channel change instruction packet is displayed by the third wireless communication unit 201 or the fourth wireless communication unit 203. It transmits to the mirror 100 (step S2187).
  • the channel change instruction packet includes radio channel information indicating the radio channel determined in step S2186.
  • the second control unit 210 sets the wireless channel determined in step S2186 in the fourth wireless communication unit 203 (step S2188). That is, the second control unit 210 sets the wireless channel determined from the communication quality information in the fourth wireless communication unit 203. As a result, the wireless channel set in the fourth wireless communication unit 203 is changed. After the radio channel is changed, the process of step S218 ends.
  • the second control unit 210 of the reception device 200 generates communication quality information related to the communication quality of the radio channel used for transmitting the test data (step S2201).
  • the second control unit 210 determines a wireless channel based on the generated communication quality information (Ste S2186).
  • the second control unit 210 sets the determined radio channel in the fourth radio communication unit 203 (step S2188).
  • the third wireless communication unit 201 or the fourth wireless communication unit 203 transmits wireless channel information indicating the determined wireless channel to the endoscope 100 (step S2187).
  • the first wireless communication unit 106 or the second wireless communication unit 108 of the endoscope 100 receives the wireless channel information from the receiving device 200 (step S116).
  • the first control unit 112 sets the radio channel indicated by the received radio channel information in the second radio communication unit 108 (step S117).
  • the second radio communication unit 108 and the fourth radio communication unit 203 when the communication quality of the radio channel used by the second radio communication unit 108 and the fourth radio communication unit 203 is less than a predetermined quality, the second radio communication unit 108 is used. And the fourth wireless communication unit 203 are changed.
  • the test data is communicated immediately after the endoscope 100 and the receiving device 200 are turned on, and the second wireless communication unit 108 and the fourth wireless communication unit 203 use the communication based on the result of the communication.
  • the radio channel to be used may be determined.
  • a wireless communication unit using a wireless channel with better communication quality may transmit wireless channel information to the endoscope 100. Similarly, even if the wireless communication unit using the wireless channel with better communication quality among the first wireless communication unit 106 and the second wireless communication unit 108 receives the wireless channel information from the receiving device 200. Good.
  • the endoscope 100 determines a wireless channel to be used for transmitting moving image data.
  • 16 to 19 show an example of the procedure of the operation of the endoscope 100 in the second operation example. A description of the processing that has already been described is omitted.
  • the endoscope 100 performs the processes shown in FIGS. 4 and 16 instead of the processes shown in FIGS. 4 and 5.
  • the processing shown in FIG. 4 will be described only with respect to differences from the processing in the first operation example.
  • step S101 the first control unit 112 performs the following processing in addition to the processing described in the first operation example.
  • the first control unit 112 sets a value D_AMOUNT [n] indicating the amount of data received for each radio channel and a value CH_STATUS [n] indicating a communication rate for each radio channel as initial values. For example, these initial values are zero.
  • the value D_AMOUNT [n] and the value CH_STATUS [n] are stored in the first RAM 111.
  • step S116 in the process shown in FIG. 5 is changed to step S121. Further, in the process shown in FIG. 16, step S122 and step S123 are added to the process shown in FIG. Further, in the process shown in FIG. 16, step S117 in the process shown in FIG. 5 is changed to step S124. Only the differences between the processing shown in FIG. 16 and the processing shown in FIG. 5 will be described.
  • the first control unit 112 waits for reception of a channel change request packet transmitted from the receiving device 200 (step S121).
  • the channel change request packet is a packet for requesting a change of the radio channel.
  • the first control unit 112 receives the channel change request packet by the first wireless communication unit 106 or the second wireless communication unit 108.
  • step S118 the process of step S118 is performed.
  • the first control unit 112 determines a radio channel used for transmitting moving image data, that is, a radio channel set in the second radio communication unit 108 (step S122). ). At this time, the first control unit 112 determines a radio channel based on the value CH_STATUS [n].
  • the value CH_STATUS [n] indicates the communication rate of the nth radio channel.
  • the value CH_STATUS [n] is communication quality information regarding the communication quality of the radio channel from which the test data is received. That is, in step S122, the first control unit 112 determines a radio channel based on the communication quality information.
  • the first control unit 112 selects a radio channel corresponding to the highest value CH_STATUS [n] among the values CH_STATUS [n] corresponding to each of the plurality of radio channels.
  • the receiving device 200 calculates the value CH_STATUS [n]
  • the endoscope 100 calculates the value CH_STATUS [n].
  • the first control unit 112 determines the radio channel so that the radio channel set in the second radio communication unit 108 is different from the radio channel set in the first radio communication unit 106. May be. Alternatively, the first control unit 112 sets the first radio communication unit 106 when the determined radio channel is the same radio channel as the radio channel set in the first radio communication unit 106. The determined radio channel may be changed to a radio channel different from the determined radio channel. When the wireless channel set in the first wireless communication unit 106 is changed, the first control unit 112 sends a test channel change instruction packet to the first wireless communication unit 106 or the second wireless communication unit 108. It is desirable to transmit to the receiving device 200.
  • the first control unit 112 After the wireless channel is determined, the first control unit 112 generates a channel change instruction packet, and the generated channel change instruction packet is received by the first wireless communication unit 106 or the second wireless communication unit 108. 200 (step S123).
  • the channel change instruction packet is a packet for instructing change of a radio channel used for transmission of moving image data.
  • the channel change instruction packet includes radio channel information indicating the radio channel determined in step S122.
  • the first control unit 112 sets the wireless channel determined in step S122 in the second wireless communication unit 108 (step S124). That is, the first control unit 112 sets the radio channel determined from the communication quality information related to the communication quality of the radio channel used for transmitting the test data in the second radio communication unit 108. As a result, the wireless channel set in the second wireless communication unit 108 is changed.
  • FIG. 17 shows details of step S109 of the process shown in FIG. In the process shown in FIG. 17, step S1291 and step S1292 are added to the process shown in FIG. Only the differences between the processing shown in FIG. 17 and the processing shown in FIG. 7 will be described.
  • the first control unit 112 waits for reception of an ACK transmitted from the receiving apparatus 200 for a predetermined time from the time when the still image data is transmitted (step S1291).
  • the ACK is a packet transmitted from the receiving device 200 when the data transmitted from the endoscope 100 is normally received.
  • ACK is reception information indicating that still image data has been received.
  • the first control unit 112 receives the ACK by the first wireless communication unit 106.
  • the first control unit 112 may receive information corresponding to ACK by the second wireless communication unit 108.
  • step S1093 If the ACK is not received within a predetermined time from the time when the still image data is transmitted, the process of step S1093 is performed.
  • the first control unit 112 increases the value D_AMOUNT [TEST_CH] by the amount of transmitted data (step S1292). .
  • the amount of data transmitted may be the number of packets transmitted. After the value D_AMOUNT [TEST_CH] is updated, the process of step S1093 is performed.
  • FIG. 18 shows details of step S110 of the process shown in FIG. In the process shown in FIG. 18, step S1311 and step S1312 are added to the process shown in FIG. The process shown in FIG. 18 will be described only with respect to differences from the process shown in FIG.
  • the first control unit 112 waits for reception of an ACK transmitted from the receiving apparatus 200 for a predetermined time from the time when the test data is transmitted (step S1311).
  • the ACK received in step S1311 is reception information indicating that test data has been received.
  • the first control unit 112 receives the ACK by the first wireless communication unit 106.
  • the first control unit 112 may receive information corresponding to ACK by the second wireless communication unit 108.
  • step S1102 If the ACK is not received within a predetermined time from the time when the test data is transmitted, the process of step S1102 is performed. Further, when the ACK is received within a predetermined time from the time when the test data is transmitted, the first control unit 112 increases the value D_AMOUNT [TEST_CH] by the amount of the transmitted data (step S1312). The amount of data transmitted may be the number of packets transmitted. Subsequently, the process of step S1102 is performed.
  • FIG. 19 shows details of step S113 of the process shown in FIG. In the process shown in FIG. 19, step S1331 is added to the process shown in FIG. The process shown in FIG. 19 will be described only with respect to differences from the process shown in FIG.
  • step S1331 the information regarding the radio channel is updated (step S1331).
  • FIG. 20 shows details of step S1331 of the processing shown in FIG. In the process shown in FIG. 20, step S2202 and step S2204 are excluded from the process shown in FIG. In the process shown in FIG. 20, step S2201 of the process shown in FIG. 14 is changed to step S2401. Only the differences from the process shown in FIG. 14 will be described with respect to the process shown in FIG.
  • step S2401 the first control unit 112 sets the value CH_STATUS [TEST_CH] to a value obtained by dividing the value D_AMOUNT [TEST_CH] by the time measured by the channel test time timer.
  • the value D_AMOUNT [TEST_CH] is updated when an ACK transmitted from the receiving apparatus 200, that is, reception information is received.
  • the value CH_STATUS [n] is communication quality information related to the communication quality of the radio channel from which the test data is received. Accordingly, in step S2401, the first control unit 112 generates communication quality information based on the reception information. Therefore, in step S122 in FIG. 16, a radio channel is determined based on the value CH_STATUS [TEST_CH].
  • step S1331 After the value CH_STATUS [TEST_CH] is set, D_AMOUNT [TEST_CH] is set to 0 in step S2203. After D_AMOUNT [TEST_CH] is set to 0, the process of step S1331 ends.
  • FIG. 21 to FIG. 25 show an example of the operation procedure of the receiving apparatus 200 in the second operation example. A description of the processing that has already been described is omitted.
  • the receiving apparatus 200 performs the processes shown in FIGS. 21 and 22 instead of the processes shown in FIGS. 10 and 11.
  • step S231 is added to FIG. Only the differences between the processing shown in FIG. 21 and the processing shown in FIG. 10 will be described.
  • the second control unit 210 clears the frame error measurement timer (step S231). As a result, the time measured by the frame error measurement timer is initialized. As described above, the frame error measurement timer is a timer for measuring the time for detecting the number of occurrences of errors in moving image data. After the frame error measurement timer is cleared, the process of step S209 is performed.
  • step S220 is removed from FIG. Further, in the process shown in FIG. 22, Step S232 and Step S233 are added to the process shown in FIG. Only the differences between the processing shown in FIG. 22 and the processing shown in FIG. 11 will be described.
  • the second control unit 210 uses the endoscope. Waiting for reception of a channel change instruction packet transmitted from 100 (step S232).
  • the first control unit 112 receives the channel change instruction packet by the first wireless communication unit 106 or the second wireless communication unit 108.
  • the second control unit 210 sets the wireless channel indicated by the wireless channel information included in the channel change instruction packet in the fourth wireless communication unit 203 (step S233). That is, the second control unit 210 sets the wireless channel determined from the communication quality information related to the communication quality of the wireless channel used for transmitting the test data in the fourth wireless communication unit 203. As a result, the wireless channel set in the fourth wireless communication unit 203 is changed. After the radio channel is changed, the process of step S222 is performed.
  • FIG. 23 shows details of step S211 of the process shown in FIG. In the process shown in FIG. 23, step S2112 is removed from the process shown in FIG. In the process shown in FIG. 23, step S2311 is added to the process shown in FIG. Only the differences between the processing shown in FIG. 23 and the processing shown in FIG. 12 will be described.
  • step S2111 When the test data is received in step S2111, the second control unit 210 generates an ACK and transmits the generated ACK to the endoscope 100 by the third wireless communication unit 201 (step S2311). The second control unit 210 may transmit information corresponding to ACK to the endoscope 100 by the fourth wireless communication unit 203. After ACK is transmitted, the process of step S211 ends.
  • FIG. 24 shows details of step S212 of the process shown in FIG. In the process shown in FIG. 24, step S2122 is excluded from the process shown in FIG. In the process shown in FIG. 24, step S2331 is added to the process shown in FIG. The process shown in FIG. 24 will be described only with respect to differences from the process shown in FIG.
  • the second control unit 210 stores the received still image data in the image data storage unit 207 (step S2123). After the still image data is stored, the second control unit 210 generates an ACK and transmits the generated ACK to the endoscope 100 by the third wireless communication unit 201 (step S2321). The second control unit 210 may transmit information corresponding to ACK to the endoscope 100 by the fourth wireless communication unit 203. After the ACK is transmitted, the process of step S212 ends.
  • FIG. 25 shows details of step S218 of the process shown in FIG. In the process shown in FIG. 25, step S2186 and step S2188 are excluded from the process shown in FIG. In the process shown in FIG. 25, step S2187 of the process shown in FIG. 15 is changed to step S2381. Only the differences between the processing shown in FIG. 25 and the processing shown in FIG. 15 will be described.
  • step S2185 When the value F_ERR_RATE exceeds the predetermined value in step S2185, the second control unit 210 generates a channel change request packet, and the generated channel change request packet is transmitted to the third radio communication unit 201 or the fourth radio. It transmits to the endoscope 100 by the communication unit 203 (step S2381). After the channel change request packet is transmitted, the process of step S218 ends.
  • the third wireless communication unit 201 or the fourth wireless communication unit 203 of the reception device 200 sends reception information indicating that the test data has been received to the endoscope 100. Transmit (step S2311).
  • the first wireless communication unit 106 or the second wireless communication unit 108 of the endoscope 100 receives the reception information from the reception device 200 (step S1311).
  • the first control unit 112 generates communication quality information related to the communication quality of the radio channel used for transmitting the test data based on the received reception information (step S2201).
  • the first control unit 112 determines a radio channel based on the generated communication quality information (step S122).
  • the first control unit 112 sets the determined radio channel in the second radio communication unit 108 (step S124).
  • the first wireless communication unit 106 or the second wireless communication unit 108 transmits wireless channel information indicating the determined wireless channel to the receiving device 200 (step S123).
  • the third wireless communication unit 201 or the fourth wireless communication unit 203 of the reception device 200 receives the wireless channel information from the endoscope 100 (step S232).
  • the second control unit 210 sets the wireless channel indicated by the received wireless channel information in the fourth wireless communication unit 203 (step S233).
  • a wireless communication unit using a wireless channel with better communication quality may receive the reception information from the receiving device 200. Similarly, even if the wireless communication unit using the wireless channel with better communication quality among the third wireless communication unit 201 and the fourth wireless communication unit 203 transmits the reception information to the endoscope 100. Good.
  • the third operation example is a modification of the second operation example.
  • still image data is transmitted using a fixed wireless channel.
  • the process shown in FIG. 6 is changed to the process shown in FIG.
  • the process shown in FIG. 19 is changed to the process shown in FIG.
  • Processes other than the processes shown in FIGS. 26 and 27 are the same as the processes in the second operation example.
  • step S1351, step S1352, step S1353, and step S1354 are added to the process shown in FIG. Only the differences between the processing shown in FIG. 26 and the processing shown in FIG. 6 will be described.
  • the first control unit 112 determines a wireless channel used for transmitting the still image data, that is, a wireless channel set in the first wireless communication unit 106. (Step S1351). At this time, the first control unit 112 determines a radio channel based on the value CH_STATUS [n].
  • the value CH_STATUS [n] indicates the communication rate of the nth radio channel.
  • the value CH_STATUS [n] is communication quality information related to the communication quality of the radio channel from which the test data is received. That is, in step S1351, the first control unit 112 determines a radio channel based on the communication quality information. For example, the first control unit 112 selects a radio channel corresponding to the highest value CH_STATUS [n] among the values CH_STATUS [n] corresponding to each of the plurality of radio channels.
  • the first control unit 112 sets the value TEST_CH to the determined radio channel number (step S1352). Thereby, the value TEST_CH is updated with the determined radio channel number.
  • the first control unit 112 After the value TEST_CH is set, the first control unit 112 generates a test channel change instruction packet, and the generated test channel change instruction packet is transmitted by the first radio communication unit 106 or the second radio communication unit 108. It transmits to the receiving apparatus 200 (step S1353).
  • the test channel change instruction packet transmitted in step S1353 is a packet instructing setting of a wireless channel used for transmitting still image data.
  • the test channel change instruction packet includes wireless channel information indicating a wireless channel used for transmitting still image data. The value indicated by the radio channel information is the same as the value TEST_CH.
  • the first control unit 112 sets the radio channel indicated by the value TEST_CH in the first radio communication unit 106. (Step S1354). As a result, the wireless channel set in the first wireless communication unit 106 is changed. After the radio channel is changed, the process of step S115 ends.
  • step S1431 is added to the process shown in FIG. Only the differences between the processing shown in FIG. 27 and the processing shown in FIG. 19 will be described.
  • the first control unit 112 determines whether the mode of the endoscope 100 is the release mode based on the information indicating the mode of the endoscope 100. (Step S1431). Information indicating the mode of the endoscope 100 is stored in the first RAM 111.
  • step S1136 When the mode of the endoscope 100 is the release mode, the process of step S1136 is performed.
  • the mode of the endoscope 100 is not the release mode, that is, when the mode of the endoscope 100 is the AFS mode, the process of step S1131 is performed.
  • the radio channel set in the first radio communication unit 106 in step S1138 is set in the first radio communication unit 106 immediately before. It is the same as the radio channel that was used. That is, the wireless channel set in the first wireless communication unit 106 is not changed. Therefore, when the release switch receives an image recording instruction from the user, the first wireless communication unit 106 transmits still image data to the receiving apparatus 200 using only one wireless channel.
  • the radio channel indicated by the radio channel information included in the test channel change instruction packet transmitted in step S1137 is not changed. For this reason, the wireless channel set in the 3rd wireless communication part 201 of the receiver 200 is not changed. Therefore, the third wireless communication unit 201 receives still image data from the endoscope 100 using only one wireless channel.
  • step S1137 and the process of step S1138 may not be performed.
  • the fourth operation example is a modification of the first operation example.
  • still image data is transmitted using a fixed wireless channel.
  • the process shown in FIG. 6 is changed to the process shown in FIG.
  • the process shown in FIG. 9 is changed to the process shown in FIG.
  • the process shown in FIG. 11 is changed to the process shown in FIG. Processes other than the processes shown in FIGS. 28, 29, and 30 are the same as the processes in the first operation example.
  • step S1551, step S1552, and steps S1351 to S1354 are added to the process shown in FIG. Only the differences between the processing shown in FIG. 28 and the processing shown in FIG. 6 will be described.
  • the first control unit 112 After the still image data is stored in the buffer in step S1152, the first control unit 112 generates a channel information request packet, and the generated channel information request packet is transmitted to the first wireless communication unit 106 or the second wireless communication unit 106.
  • the communication unit 108 transmits the data to the receiving device 200 (step S1551).
  • the channel information request packet is a packet for requesting information for determining a wireless channel used for transmission of still image data.
  • the channel information packet is a packet including information for determining a radio channel used for transmitting still image data.
  • the value CH_STATUS [n] for all radio channels is included in the channel information packet.
  • the value CH_STATUS [n] indicates the communication rate of the nth radio channel.
  • the value CH_STATUS [n] is communication quality information regarding the communication quality of the radio channel from which the test data is received.
  • Step S1351 After the channel information packet is received, the process of step S1351 is performed. Steps S1351 to S1354 are the same as steps S1351 to S1354 shown in FIG.
  • step S1431 is added to FIG. Only the differences between the processing shown in FIG. 29 and the processing shown in FIG. 9 will be described.
  • the first control unit 112 determines whether or not the mode of the endoscope 100 is the release mode based on information indicating the mode of the endoscope 100 (step S1431). Information indicating the mode of the endoscope 100 is stored in the first RAM 111.
  • step S1136 When the mode of the endoscope 100 is the release mode, the process of step S1136 is performed. If the mode of the endoscope 100 is not the release mode, that is, if the mode of the endoscope 100 is the AFS mode, the process of step S1131 is performed.
  • the first wireless communication unit 106 transmits still image data to the receiving apparatus 200 using only one wireless channel. To do.
  • the third wireless communication unit 201 receives still image data from the endoscope 100 using only one wireless channel.
  • step S1137 and the process of step S1138 may not be performed.
  • step S241 and step S242 are added to the process shown in FIG. Only the differences between the process shown in FIG. 30 and the process shown in FIG. 11 will be described.
  • the second control unit 210 waits for reception of a channel information request packet transmitted from the endoscope 100. (Step S241). When the channel information request packet is transmitted from the endoscope 100, the second control unit 210 receives the channel information request packet by the third wireless communication unit 201 or the fourth wireless communication unit 203.
  • the second control unit 210 After the channel information request packet is received, the second control unit 210 generates a channel information packet, and the generated channel information packet is viewed by the third wireless communication unit 201 or the fourth wireless communication unit 203. It transmits to the mirror 100 (step S242). As described above, the channel information packet includes the value CH_STATUS [n] for all radio channels. If the channel information request packet has not been received, the channel information packet is not transmitted. After the channel information packet is transmitted, the process of step S222 is performed.
  • the imaging unit 101 that captures an image of a subject and outputs image data
  • the moving image generation unit 102 that generates moving image data from the image data output from the imaging unit 101
  • the output from the imaging unit 101 Still image generation unit 103 that generates still image data from image data
  • a release instruction unit (first operation unit 105) that receives an image recording instruction from a user
  • a communication quality of each of a plurality of wireless channels The first wireless communication unit 106 that transmits still image data to the receiving device 200 when the release instruction unit accepts the recording instruction
  • Second wireless communication unit 1 that transmits moving image data to receiving apparatus 200 using a wireless channel different from the wireless channel used by one wireless communication unit 106 8 and a first setting unit (first control unit 112) that sets, in the second wireless communication unit 108, a wireless channel determined from communication quality information related to the communication quality of the wireless channel used to transmit the test data.
  • test data for detecting the communication quality of each of a plurality of wireless channels is received from the endoscope 100 by sequentially changing the wireless channels, and still image data is received from the endoscope 100.
  • a third wireless communication unit 201 that receives the moving image data from the endoscope 100 using a wireless channel that is different from the wireless channel used by the third wireless communication unit 201, and
  • a second setting unit (second control unit 210) that sets, in the fourth wireless communication unit 203, a wireless channel determined from communication quality information related to the communication quality of the wireless channel used to transmit the test data;
  • a receiving apparatus 200 having the above is configured.
  • a wireless endoscope system 10 having an endoscope 100 and a receiving device 200, the endoscope 100 images an object and outputs image data, and an imaging A moving image generating unit 102 that generates moving image data from the image data output from the unit 101, a still image generating unit 103 that generates still image data from the image data output from the imaging unit 101, and an instruction to record an image from the user.
  • the release instruction unit (first operation unit 105) to receive and the test data for detecting the communication quality of each of the plurality of wireless channels are transmitted to the receiving apparatus 200 by sequentially changing the wireless channel.
  • the first wireless communication unit 106 that transmits the still image data to the receiving device 200 and the wireless channel used by the first wireless communication unit 106
  • a second wireless communication unit 108 that transmits moving image data to the receiving apparatus 200 using a different wireless channel, and a wireless channel determined from communication quality information related to the communication quality of the wireless channel used for transmitting the test data.
  • a wireless endoscope system 10 having a second setting unit (second control unit 210) that sets a wireless channel determined from information in the fourth wireless communication unit 203 is configured.
  • step S1101 in which the first wireless communication unit 106 transmits the test data for detecting the communication quality of each of the plurality of wireless channels to the receiving device 200 by sequentially changing the wireless channel;
  • the first wireless communication unit 106 transmits the still image data generated from the image data output from the imaging unit 101 to the receiving device 200, and from the image data, step S1092
  • Step S107 in which the second wireless communication unit 108 transmits the generated moving image data to the receiving device 200 using a wireless channel different from the wireless channel used by the first wireless communication unit 106;
  • the wireless channel determined from the communication quality information related to the communication quality of the wireless channel used for transmission is assigned to the first setting unit (first control unit).
  • Part 112 an image transmission method configured to have a step S117 to set in the second wireless communication unit 108, a.
  • the test data for detecting the communication quality of each of the plurality of radio channels is received by the third radio communication unit 201 from the endoscope 100 by sequentially changing the radio channels, and step S2111.
  • Step SS2121 in which the third wireless communication unit 201 receives still image data from the endoscope 100, and a fourth wireless communication using a wireless channel different from the wireless channel used by the third wireless communication unit 201.
  • the communication unit 203 receives the moving image data from the endoscope 100 and the second setting unit (second setting) determines the wireless channel determined from the communication quality information related to the communication quality of the wireless channel used for transmitting the test data.
  • the control unit 210) sets in the fourth wireless communication unit 203, step S2188 is configured.
  • the test data for detecting the communication quality of each of the plurality of radio channels is transmitted to the receiving apparatus 200 by the first radio communication unit 106 by sequentially changing the radio channels, and step S1101
  • the first wireless communication unit 106 transmits the still image data generated from the image data output from the imaging unit 101 to the receiving device 200;
  • Step S107 in which the second wireless communication unit 108 transmits the moving image data generated from the second wireless communication unit 108 to the reception device 200 using a wireless channel different from the wireless channel used by the first wireless communication unit 106;
  • the radio channel determined from the communication quality information related to the communication quality of the radio channel used for data transmission Program for executing the steps S117 to set the second wireless communication unit 108, to the computer is configured.
  • the test data for detecting the communication quality of each of the plurality of radio channels is received from the endoscope 100 by the third radio communication unit 201 by sequentially changing the radio channels.
  • a program for causing the computer to execute step S2188 set to 203 is configured.
  • moving image data and still image data are transmitted through different wireless channels, so that moving image transmission can be performed more stably.
  • moving image transmission is performed. This can be performed more stably.
  • transmission of still image data and communication of a wireless channel used for transmission of still image data are performed by sequentially changing the wireless channel and transmitting still image data. Acquisition of information on quality can be performed in parallel.
  • still image data is transmitted using a wireless channel with the best communication quality by transmitting still image data using a fixed wireless channel. Can do.
  • the wireless channel determined from the communication quality information is used for transmitting the moving image data. By using it, video transmission can be performed more stably.
  • the receiving device 200 by transmitting information identifying test data and still image data to the receiving device 200, the receiving device 200 can perform processing according to the type of data.
  • the above embodiment can provide an endoscope, a receiving device, a wireless endoscope system, an image transmission method, an image reception method, and a program that can perform moving image transmission more stably.

Landscapes

  • Life Sciences & Earth Sciences (AREA)
  • Health & Medical Sciences (AREA)
  • Physics & Mathematics (AREA)
  • Engineering & Computer Science (AREA)
  • Surgery (AREA)
  • Optics & Photonics (AREA)
  • Molecular Biology (AREA)
  • Biophysics (AREA)
  • Heart & Thoracic Surgery (AREA)
  • Biomedical Technology (AREA)
  • Veterinary Medicine (AREA)
  • Public Health (AREA)
  • General Health & Medical Sciences (AREA)
  • Medical Informatics (AREA)
  • Nuclear Medicine, Radiotherapy & Molecular Imaging (AREA)
  • Pathology (AREA)
  • Radiology & Medical Imaging (AREA)
  • Animal Behavior & Ethology (AREA)
  • General Physics & Mathematics (AREA)
  • Astronomy & Astrophysics (AREA)
  • Signal Processing (AREA)
  • Multimedia (AREA)
  • Theoretical Computer Science (AREA)
  • Computer Networks & Wireless Communication (AREA)
  • Quality & Reliability (AREA)
  • General Engineering & Computer Science (AREA)
  • Endoscopes (AREA)
  • Instruments For Viewing The Inside Of Hollow Bodies (AREA)
PCT/JP2015/061954 2014-05-28 2015-04-20 内視鏡、受信装置、無線内視鏡システム、画像送信方法、画像受信方法、およびプログラム Ceased WO2015182286A1 (ja)

Priority Applications (3)

Application Number Priority Date Filing Date Title
CN201580027485.6A CN106413517B (zh) 2014-05-28 2015-04-20 内窥镜、接收装置、无线内窥镜系统、图像发送方法、图像接收方法和程序
DE112015001891.3T DE112015001891T5 (de) 2014-05-28 2015-04-20 Endoskop, Empfangsvorrichtung, drahtloses Endoskopsystem, Bildübertragungsverfahren, Bildempfangsverfahren und Programm
US15/333,828 US10524635B2 (en) 2014-05-28 2016-10-25 Endoscope, reception device, wireless endoscope system, image transmission method, image reception method, and non-transitory computer readable recording medium storing program

Applications Claiming Priority (2)

Application Number Priority Date Filing Date Title
JP2014110594A JP6395445B2 (ja) 2014-05-28 2014-05-28 内視鏡、受信装置、無線内視鏡システム、画像受信装置の作動方法、およびプログラム
JP2014-110594 2014-05-28

Related Child Applications (1)

Application Number Title Priority Date Filing Date
US15/333,828 Continuation US10524635B2 (en) 2014-05-28 2016-10-25 Endoscope, reception device, wireless endoscope system, image transmission method, image reception method, and non-transitory computer readable recording medium storing program

Publications (1)

Publication Number Publication Date
WO2015182286A1 true WO2015182286A1 (ja) 2015-12-03

Family

ID=54698627

Family Applications (1)

Application Number Title Priority Date Filing Date
PCT/JP2015/061954 Ceased WO2015182286A1 (ja) 2014-05-28 2015-04-20 内視鏡、受信装置、無線内視鏡システム、画像送信方法、画像受信方法、およびプログラム

Country Status (5)

Country Link
US (1) US10524635B2 (enExample)
JP (1) JP6395445B2 (enExample)
CN (1) CN106413517B (enExample)
DE (1) DE112015001891T5 (enExample)
WO (1) WO2015182286A1 (enExample)

Families Citing this family (7)

* Cited by examiner, † Cited by third party
Publication number Priority date Publication date Assignee Title
DE102017130980B4 (de) * 2017-12-21 2024-07-25 Schölly Fiberoptic GmbH Bildübertragungsanordnung und Verfahren zur Bildübertragung
WO2021064882A1 (ja) * 2019-10-02 2021-04-08 オリンパス株式会社 受信システム
KR102411712B1 (ko) * 2020-03-26 2022-06-22 주식회사 레인보우솔루션 인체통신에 적합한 다채널 통신 커넥터 장치
KR102591975B1 (ko) * 2020-12-04 2023-10-23 주식회사 메디트 치과 치료를 위한 스캐너 및 그의 데이터 전송 방법
KR102801234B1 (ko) * 2021-08-10 2025-05-14 주식회사 메디트 무선 스캐닝 시스템 및 무선 스캐닝 시스템의 페어링 방법
WO2023018148A1 (ko) * 2021-08-10 2023-02-16 주식회사 메디트 무선 스캐닝 시스템 및 무선 스캐닝 시스템의 페어링 방법
KR102765943B1 (ko) * 2022-02-18 2025-02-12 주식회사 메디트 전자 장치 및 그 동작 방법

Citations (3)

* Cited by examiner, † Cited by third party
Publication number Priority date Publication date Assignee Title
JP2006279927A (ja) * 2005-03-01 2006-10-12 Omron Corp 監視制御装置、監視システム、監視方法、プログラムおよび記録媒体
JP2010288186A (ja) * 2009-06-15 2010-12-24 Olympus Corp 画像送信装置及び画像受信装置
JP2010284274A (ja) * 2009-06-10 2010-12-24 Olympus Corp 無線内視鏡装置およびその受信装置ならびに受信方法

Family Cites Families (21)

* Cited by examiner, † Cited by third party
Publication number Priority date Publication date Assignee Title
JP3247349B2 (ja) 1998-12-15 2002-01-15 株式会社東芝 動画像監視装置及び監視方法
EP1699028B1 (en) 2005-03-01 2014-05-07 OMRON Corporation Wireless alarm system with remote alarm receipt
JP2007179555A (ja) * 2005-03-01 2007-07-12 Omron Corp 監視システム
JP2006271432A (ja) * 2005-03-28 2006-10-12 Fujinon Corp 電子内視鏡装置
JP4864673B2 (ja) * 2006-12-07 2012-02-01 Hoya株式会社 電子内視鏡用プロセッサ及び電子内視鏡システム
US8300661B2 (en) * 2007-04-10 2012-10-30 Samsung Electronics Co., Ltd. System and method for wireless communication of uncompressed video using mode changes based on channel feedback (CF)
JP5464817B2 (ja) * 2008-04-01 2014-04-09 オリンパスメディカルシステムズ株式会社 手持式内視鏡
EP2109317B1 (en) * 2008-04-10 2020-12-30 Sony Corporation Improving video robustness using spatial and temporal diversity
EP2359598A1 (en) * 2008-11-21 2011-08-24 Stryker Corporation Wireless operating room communication system including video output device and video display
KR20100058190A (ko) * 2008-11-24 2010-06-03 한국전자통신연구원 무선 통신 시스템에서의 데이터 전송/수신방법 및 그 장치
JP4835723B2 (ja) * 2009-05-25 2011-12-14 カシオ計算機株式会社 無線通信装置及びプログラム
JP5378147B2 (ja) * 2009-10-21 2013-12-25 オリンパス株式会社 内視鏡スコープおよび無線内視鏡システム
JP5635252B2 (ja) * 2009-10-22 2014-12-03 オリンパス株式会社 画像送信装置、画像通信システム、画像送信方法、およびプログラム
JP5642373B2 (ja) * 2009-10-23 2014-12-17 オリンパス株式会社 携帯無線端末、無線通信システムおよび携帯無線端末の無線通信方法
JP4879367B2 (ja) * 2009-12-04 2012-02-22 オリンパスメディカルシステムズ株式会社 手持式無線内視鏡
US8858430B2 (en) * 2010-03-09 2014-10-14 Zipline Health, Inc. Ear ailment diagnostic device and method
JP5945384B2 (ja) * 2010-08-04 2016-07-05 オリンパス株式会社 無線画像通信システム、受信機、送信機、およびプログラム
US20150208900A1 (en) * 2010-09-20 2015-07-30 Endochoice, Inc. Interface Unit In A Multiple Viewing Elements Endoscope System
JP5032646B2 (ja) * 2010-11-24 2012-09-26 株式会社東芝 撮像装置、撮像装置の作動方法及び内視鏡装置
EP2731488B1 (en) * 2011-07-12 2017-05-03 Anderson, David, Ryan Intraoral imaging system
WO2013035384A1 (ja) * 2011-09-09 2013-03-14 オリンパスメディカルシステムズ株式会社 無線映像伝送システム及び送信装置

Patent Citations (3)

* Cited by examiner, † Cited by third party
Publication number Priority date Publication date Assignee Title
JP2006279927A (ja) * 2005-03-01 2006-10-12 Omron Corp 監視制御装置、監視システム、監視方法、プログラムおよび記録媒体
JP2010284274A (ja) * 2009-06-10 2010-12-24 Olympus Corp 無線内視鏡装置およびその受信装置ならびに受信方法
JP2010288186A (ja) * 2009-06-15 2010-12-24 Olympus Corp 画像送信装置及び画像受信装置

Also Published As

Publication number Publication date
CN106413517A (zh) 2017-02-15
DE112015001891T5 (de) 2017-02-02
US10524635B2 (en) 2020-01-07
CN106413517B (zh) 2018-04-17
US20170035272A1 (en) 2017-02-09
JP6395445B2 (ja) 2018-09-26
JP2015223364A (ja) 2015-12-14

Similar Documents

Publication Publication Date Title
JP6395445B2 (ja) 内視鏡、受信装置、無線内視鏡システム、画像受信装置の作動方法、およびプログラム
US20120134410A1 (en) Image transmission apparatus and image reception apparatus
JP5378147B2 (ja) 内視鏡スコープおよび無線内視鏡システム
US9438784B2 (en) Camera operation terminal, camera, imaging system, imaging method, and computer-readable device
US20180027420A1 (en) Image communication system, image transmission apparatus, image transmission method, and recording medium
US20130044232A1 (en) Camera, contrl method thereof, camera system using the same
US9872601B2 (en) Endoscope system with error occurrence processing
US8553996B2 (en) Image transmission terminal
US8692923B2 (en) Digital camera
JP2013115551A (ja) 電子機器およびプログラム
US20170295339A1 (en) Imaging device, imaging method, and imaging program
JP2014171532A (ja) 表示制御装置、表示制御方法及びプログラム
US20110157461A1 (en) Lens system
JP2014239303A (ja) 無線撮像システム、無線撮像システムの制御方法、プログラムおよび無線通信装置
US10764616B2 (en) Image transmission apparatus, image transmission method, and recording medium
WO2020172809A1 (zh) 拍摄装置的视频回放方法和拍摄装置
JP4842678B2 (ja) 通信システム、情報処理装置及びプログラム
US9350910B2 (en) Operation device, imaging device, and remote imaging system
JP6646132B2 (ja) 画像受信端末、画像通信システム、画像受信方法、およびプログラム
US12395715B2 (en) Camera, accessory apparatus, communication control method, and storage medium that changes a content of communication error processing according to a type of error by switching a specific accessory apparatus in a predetermined order
JP7194744B2 (ja) 通信システム、受信端末、通信方法、およびプログラム
KR101212947B1 (ko) 데이터 전송 장치
WO2019193867A1 (ja) 内視鏡装置
JP2010193045A (ja) 無線データ伝送方法及び無線データ送受信装置
WO2017033617A1 (ja) 動画像送受信システム

Legal Events

Date Code Title Description
121 Ep: the epo has been informed by wipo that ep was designated in this application

Ref document number: 15800611

Country of ref document: EP

Kind code of ref document: A1

WWE Wipo information: entry into national phase

Ref document number: 112015001891

Country of ref document: DE

122 Ep: pct application non-entry in european phase

Ref document number: 15800611

Country of ref document: EP

Kind code of ref document: A1