WO2015105057A1 - Systems and methods for carrier aggregation - Google Patents

Systems and methods for carrier aggregation Download PDF

Info

Publication number
WO2015105057A1
WO2015105057A1 PCT/JP2015/000112 JP2015000112W WO2015105057A1 WO 2015105057 A1 WO2015105057 A1 WO 2015105057A1 JP 2015000112 W JP2015000112 W JP 2015000112W WO 2015105057 A1 WO2015105057 A1 WO 2015105057A1
Authority
WO
WIPO (PCT)
Prior art keywords
subframe
cell
harq
ack
tdd
Prior art date
Legal status (The legal status is an assumption and is not a legal conclusion. Google has not performed a legal analysis and makes no representation as to the accuracy of the status listed.)
Ceased
Application number
PCT/JP2015/000112
Other languages
English (en)
French (fr)
Inventor
Zhanping Yin
Shohei Yamada
Current Assignee (The listed assignees may be inaccurate. Google has not performed a legal analysis and makes no representation or warranty as to the accuracy of the list.)
Sharp Corp
Original Assignee
Sharp Corp
Priority date (The priority date is an assumption and is not a legal conclusion. Google has not performed a legal analysis and makes no representation as to the accuracy of the date listed.)
Filing date
Publication date
Application filed by Sharp Corp filed Critical Sharp Corp
Priority to EP15735301.2A priority Critical patent/EP3092847A4/en
Priority to CN201580003761.5A priority patent/CN105874844B/zh
Priority to JP2016544895A priority patent/JP2017508343A/ja
Publication of WO2015105057A1 publication Critical patent/WO2015105057A1/en
Anticipated expiration legal-status Critical
Ceased legal-status Critical Current

Links

Images

Classifications

    • HELECTRICITY
    • H04ELECTRIC COMMUNICATION TECHNIQUE
    • H04LTRANSMISSION OF DIGITAL INFORMATION, e.g. TELEGRAPHIC COMMUNICATION
    • H04L1/00Arrangements for detecting or preventing errors in the information received
    • H04L1/12Arrangements for detecting or preventing errors in the information received by using return channel
    • H04L1/16Arrangements for detecting or preventing errors in the information received by using return channel in which the return channel carries supervisory signals, e.g. repetition request signals
    • H04L1/18Automatic repetition systems, e.g. Van Duuren systems
    • H04L1/1867Arrangements specially adapted for the transmitter end
    • H04L1/1887Scheduling and prioritising arrangements
    • HELECTRICITY
    • H04ELECTRIC COMMUNICATION TECHNIQUE
    • H04LTRANSMISSION OF DIGITAL INFORMATION, e.g. TELEGRAPHIC COMMUNICATION
    • H04L1/00Arrangements for detecting or preventing errors in the information received
    • H04L1/12Arrangements for detecting or preventing errors in the information received by using return channel
    • H04L1/16Arrangements for detecting or preventing errors in the information received by using return channel in which the return channel carries supervisory signals, e.g. repetition request signals
    • H04L1/1607Details of the supervisory signal
    • H04L1/1671Details of the supervisory signal the supervisory signal being transmitted together with control information
    • HELECTRICITY
    • H04ELECTRIC COMMUNICATION TECHNIQUE
    • H04LTRANSMISSION OF DIGITAL INFORMATION, e.g. TELEGRAPHIC COMMUNICATION
    • H04L1/00Arrangements for detecting or preventing errors in the information received
    • H04L1/12Arrangements for detecting or preventing errors in the information received by using return channel
    • H04L1/16Arrangements for detecting or preventing errors in the information received by using return channel in which the return channel carries supervisory signals, e.g. repetition request signals
    • H04L1/18Automatic repetition systems, e.g. Van Duuren systems
    • H04L1/1829Arrangements specially adapted for the receiver end
    • H04L1/1861Physical mapping arrangements
    • HELECTRICITY
    • H04ELECTRIC COMMUNICATION TECHNIQUE
    • H04LTRANSMISSION OF DIGITAL INFORMATION, e.g. TELEGRAPHIC COMMUNICATION
    • H04L5/00Arrangements affording multiple use of the transmission path
    • H04L5/0001Arrangements for dividing the transmission path
    • H04L5/0003Two-dimensional division
    • H04L5/0005Time-frequency
    • H04L5/0007Time-frequency the frequencies being orthogonal, e.g. OFDM(A) or DMT
    • H04L5/001Time-frequency the frequencies being orthogonal, e.g. OFDM(A) or DMT the frequencies being arranged in component carriers
    • HELECTRICITY
    • H04ELECTRIC COMMUNICATION TECHNIQUE
    • H04LTRANSMISSION OF DIGITAL INFORMATION, e.g. TELEGRAPHIC COMMUNICATION
    • H04L5/00Arrangements affording multiple use of the transmission path
    • H04L5/003Arrangements for allocating sub-channels of the transmission path
    • H04L5/0053Allocation of signalling, i.e. of overhead other than pilot signals
    • H04L5/0055Physical resource allocation for ACK/NACK
    • HELECTRICITY
    • H04ELECTRIC COMMUNICATION TECHNIQUE
    • H04LTRANSMISSION OF DIGITAL INFORMATION, e.g. TELEGRAPHIC COMMUNICATION
    • H04L5/00Arrangements affording multiple use of the transmission path
    • H04L5/14Two-way operation using the same type of signal, i.e. duplex
    • HELECTRICITY
    • H04ELECTRIC COMMUNICATION TECHNIQUE
    • H04LTRANSMISSION OF DIGITAL INFORMATION, e.g. TELEGRAPHIC COMMUNICATION
    • H04L5/00Arrangements affording multiple use of the transmission path
    • H04L5/14Two-way operation using the same type of signal, i.e. duplex
    • H04L5/1469Two-way operation using the same type of signal, i.e. duplex using time-sharing
    • HELECTRICITY
    • H04ELECTRIC COMMUNICATION TECHNIQUE
    • H04WWIRELESS COMMUNICATION NETWORKS
    • H04W72/00Local resource management
    • H04W72/04Wireless resource allocation
    • H04W72/044Wireless resource allocation based on the type of the allocated resource
    • H04W72/0446Resources in time domain, e.g. slots or frames

Definitions

  • the present disclosure relates generally to communication systems. More specifically, the present disclosure relates to systems and methods for carrier aggregation.
  • a wireless communication system may provide communication for a number of wireless communication devices, each of which may be serviced by a base station.
  • a base station may be a device that communicates with wireless communication devices.
  • wireless communication devices may communicate with one or more devices using a communication structure.
  • the communication structure used may only offer limited flexibility and/or efficiency.
  • systems and methods that improve communication flexibility and/or efficiency may be beneficial.
  • a user equipment for performing carrier aggregation, comprising: a processor; memory in electronic communication with the processor, wherein instructions stored in the memory are executable to: determine a duplex method of each serving cell for carrier aggregation, wherein a primary cell is a frequency-division duplexing (FDD) cell and a secondary cell is a time-division duplexing (TDD) cell; and for transmitting hybrid automatic repeat request acknowledgement/negative acknowledgement (HARQ-ACK) information using a physical uplink control channel (PUCCH) format 1b with channel selection in a subframe n: determine to use a single FDD serving cell HARQ-ACK reporting procedure based on whether a subframe n-4 is an uplink subframe for the secondary cell.
  • FDD frequency-division duplexing
  • TDD time-division duplexing
  • an evolved Node B for performing carrier aggregation, comprising: a processor; memory in electronic communication with the processor, wherein instructions stored in the memory are executable to: determine a duplex method of each serving cell for carrier aggregation for a use equipment (UE), wherein a primary cell is a frequency-division duplexing (FDD) cell and a secondary cell is a time-division duplexing (TDD) cell; and for receiving hybrid automatic repeat request acknowledgement/negative acknowledgement (HARQ-ACK) information using a physical uplink control channel (PUCCH) format 1b with channel selection in a subframe n: determine to use a single FDD serving cell HARQ-ACK reporting procedure based on whether a subframe n-4 is an uplink subframe for the secondary cell.
  • UE use equipment
  • PUCCH physical uplink control channel
  • Another embodiment of the present invention discloses a method for performing carrier aggregation by a user equipment (UE), comprising: determining a duplex method of each serving cell for carrier aggregation, wherein a primary cell is a frequency-division duplexing (FDD) cell and a secondary cell is a time-division duplexing (TDD) cell; and for transmitting hybrid automatic repeat request acknowledgement/negative acknowledgement (HARQ-ACK) information using a physical uplink control channel (PUCCH) format 1b with channel selection in a subframe n: determine to use a single FDD serving cell HARQ-ACK reporting procedure based on whether a subframe n-4 is an uplink subframe for the secondary cell.
  • FDD frequency-division duplexing
  • TDD time-division duplexing
  • Another embodiment of the present invention discloses a method for performing carrier aggregation by an evolved Node B (eNB), comprising: determining a duplex method of each serving cell for carrier aggregation for a use equipment (UE), wherein a primary cell is a frequency-division duplexing (FDD) cell and a secondary cell is a time-division duplexing (TDD) cell; and for receiving hybrid automatic repeat request acknowledgement/negative acknowledgement (HARQ-ACK) information using a physical uplink control channel (PUCCH) format 1b with channel selection in a subframe n: determining to use a single FDD serving cell HARQ-ACK reporting procedure based on whether a subframe n-4 is an uplink subframe for the secondary cell.
  • eNB evolved Node B
  • Figure 1 is a block diagram illustrating one configuration of one or more evolved Node Bs (eNBs) and one or more user equipments (UEs) in which systems and methods for carrier aggregation may be implemented.
  • Figure 2 is a flow diagram illustrating one implementation of a method for performing carrier aggregation by a UE.
  • Figure 3 is a flow diagram illustrating another implementation of a method for performing carrier aggregation by a UE.
  • Figure 4 is a block diagram illustrating one implementation of a coding unit according to the described systems and methods.
  • Figure 5 is a diagram illustrating one example of a radio frame that may be used in accordance with the systems and methods disclosed herein.
  • Figure 6 is a diagram illustrating some Time-Division Duplexing (TDD) uplink-downlink (UL/DL) configurations in accordance with the systems and methods described herein.
  • Figure 7 illustrates the association timings of a Frequency Division Duplexing (FDD) cell.
  • Figure 8 illustrates the association timings of a FDD primary cell (PCell) and a TDD secondary cell (SCell).
  • Figure 9 illustrates the association timings of a FDD PCell, a first TDD SCell and a second TDD SCell.
  • Figure 10 illustrates various components that may be utilized in a UE.
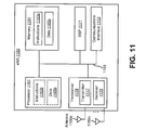
  • Figure 11 illustrates various components that may be utilized in an eNB.
  • Figure 12 is a block diagram illustrating one configuration of a UE in which systems and methods for performing carrier aggregation may be implemented.
  • Figure 13 is a block diagram illustrating one configuration of an eNB in which systems and methods for performing carrier aggregation may be implemented.
  • a user equipment (UE) for performing carrier aggregation includes a processor and memory in electronic communication with the processor. Instructions stored in the memory are executable by the processor to determine a duplex method of each serving cell for carrier aggregation.
  • a primary cell is a FDD cell.
  • the instructions are also executable to generate two negative acknowledgments (NACKs) for a PDSCH transmission in an earlier subframe for a serving cell when a configured downlink transmission mode supports up to two transport blocks, the serving cell is a TDD cell and an earlier subframe is an uplink subframe for the serving cell.
  • NACKs negative acknowledgments
  • the instructions are further executable to generate a single NACK for a PDSCH transmission in an earlier subframe for a serving cell when a configured downlink transmission mode supports a single transport block, the serving cell is a TDD cell and an earlier subframe is an uplink subframe for the serving cell.
  • the instructions are executable to set at least one discontinuous transmission (DTX) bit to a HARQ-ACK bit for a PDSCH transmission in an earlier subframe for a serving cell when the serving cell is a TDD cell and the earlier subframe is an uplink subframe for the serving cell.
  • DTX discontinuous transmission
  • Determining whether the earlier subframe is an uplink subframe for the TDD serving cell may be based on an uplink/downlink (UL/DL) configuration defined by a radio resource control common secondary cell (RRCCommonSCell) message. Determining whether the earlier subframe is an uplink subframe for the TDD serving cell may be further based on an explicit reconfiguration downlink control information (DCI) signaling of the TDD serving cell.
  • DCI downlink control information
  • the one or two NACKs may be multiplexed with HARQ-ACK bits of other serving cells. Generating one or two NACKs may depend on a number of codewords configured for a subframe of the TDD serving cell.
  • the UE may also monitor the earlier subframe of the TDD serving cell for the PDSCH transmission. The UE may further determine that the earlier subframe is an uplink subframe for the TDD serving cell. No HARQ-ACK bit may be generated for the TDD serving cell in the later subframe.
  • the eNB includes a processor and memory in electronic communication with the processor. Instructions stored in the memory are executable by the processor to determine a duplex method of each serving cell for carrier aggregation.
  • a primary cell is a FDD cell.
  • the instructions are also executable to receive two NACKs for a PDSCH transmission in an earlier subframe for a serving cell when a configured downlink transmission mode supports up to two transport blocks, the serving cell is a TDD cell and an earlier subframe is an uplink subframe for the serving cell.
  • the instructions are further executable to receive a single NACK for a PDSCH transmission in an earlier subframe for a serving cell when a configured downlink transmission mode supports a single transport block, the serving cell is a TDD cell and an earlier subframe is an uplink subframe for the serving cell.
  • the instructions are executable to receive at least one DTX bit for a HARQ-ACK bit for a PDSCH transmission in an earlier subframe for a serving cell when the serving cell is a TDD cell and the earlier subframe is an uplink subframe for the serving cell.
  • Determining whether the earlier subframe is an uplink subframe for the TDD serving cell may be based on an UL/DL configuration defined by a RRCCommonSCell message. Determining whether the earlier subframe is an uplink subframe for the TDD serving cell may be further based on an explicit reconfiguration DCI signaling of the TDD serving cell.
  • the one or two NACKs may be multiplexed with HARQ-ACK bits of other serving cells. Receiving one or two NACKs may depend on a number of codewords configured for a subframe of the TDD serving cell.
  • a method for performing carrier aggregation by a UE includes determining a duplex method of each serving cell for carrier aggregation.
  • a primary cell is a FDD cell.
  • the method also includes generating two NACKs for a PDSCH transmission in an earlier subframe for a serving cell when a configured downlink transmission mode supports up to two transport blocks, the serving cell is a TDD cell and an earlier subframe is an uplink subframe for the serving cell.
  • the method further includes generating a single NACK for a PDSCH transmission in an earlier subframe for a serving cell when a configured downlink transmission mode supports a single transport block, the serving cell is a TDD cell and an earlier subframe is an uplink subframe for the serving cell.
  • a method for performing carrier aggregation by an evolved Node B includes determining a duplex method of each serving cell for carrier aggregation.
  • a primary cell is a FDD cell.
  • the method also includes receiving two NACKs for a PDSCH transmission in an earlier subframe for a serving cell when a configured downlink transmission mode supports up to two transport blocks, the serving cell is a TDD cell and an earlier subframe is an uplink subframe for the serving cell.
  • the method further includes receiving a single NACK for a PDSCH transmission in an earlier subframe for a serving cell when a configured downlink transmission mode supports a single transport block, the serving cell is a TDD cell and an earlier subframe is an uplink subframe for the serving cell.
  • 3GPP Long Term Evolution is the name given to a project to improve the Universal Mobile Telecommunications System (UMTS) mobile phone or device standard to cope with future requirements.
  • UMTS has been modified to provide support and specification for the Evolved Universal Terrestrial Radio Access (E-UTRA) and Evolved Universal Terrestrial Radio Access Network (E-UTRAN).
  • E-UTRA Evolved Universal Terrestrial Radio Access
  • E-UTRAN Evolved Universal Terrestrial Radio Access Network
  • At least some aspects of the systems and methods disclosed herein may be described in relation to the 3GPP LTE, LTE-Advanced (LTE-A) and other standards (e.g., 3GPP Releases 8, 9, 10, 11 and/or 12). However, the scope of the present disclosure should not be limited in this regard. At least some aspects of the systems and methods disclosed herein may be utilized in other types of wireless communication systems.
  • LTE LTE-Advanced
  • other standards e.g., 3GPP Releases 8, 9, 10, 11 and/or 12
  • a wireless communication device may be an electronic device used to communicate voice and/or data to a base station, which in turn may communicate with a network of devices (e.g., public switched telephone network (PSTN), the Internet, etc.).
  • a wireless communication device may alternatively be referred to as a mobile station, a UE, an access terminal, a subscriber station, a mobile terminal, a remote station, a user terminal, a terminal, a subscriber unit, a mobile device, etc.
  • Examples of wireless communication devices include cellular phones, smart phones, personal digital assistants (PDAs), laptop computers, netbooks, e-readers, wireless modems, etc.
  • PDAs personal digital assistants
  • a wireless communication device is typically referred to as a UE.
  • the terms "UE” and “wireless communication device” may be used interchangeably herein to mean the more general term "wireless communication device.”
  • a base station In 3GPP specifications, a base station is typically referred to as a Node B, an eNB, a home enhanced or evolved Node B (HeNB) or some other similar terminology.
  • the terms “base station,” “Node B,” “eNB,” and “HeNB” may be used interchangeably herein to mean the more general term “base station.”
  • a “base station” is an access point.
  • An access point may be an electronic device that provides access to a network (e.g., Local Area Network (LAN), the Internet, etc.) for wireless communication devices.
  • the term “communication device” may be used to denote both a wireless communication device and/or a base station.
  • a "cell” may be any communication channel that is specified by standardization or regulatory bodies to be used for International Mobile Telecommunications-Advanced (IMT-Advanced) and all of it or a subset of it may be adopted by 3GPP as licensed bands (e.g., frequency bands) to be used for communication between an eNB and a UE. It should also be noted that in an E-UTRA and E-UTRAN overall description, as used herein, a “cell” may be defined as "combination of downlink and optionally uplink resources.” The linking between the carrier frequency of the downlink resources and the carrier frequency of the uplink resources may be indicated in the system information transmitted on the downlink resources.
  • Configured cells are those cells of which the UE is aware and is allowed by an eNB to transmit or receive information.
  • Configured cell(s) may be serving cell(s). The UE may receive system information and perform the required measurements on all configured cells.
  • Configured cell(s)” for a radio connection may consist of a primary cell and/or no, one or more secondary cell(s).
  • Activated cells are those configured cells on which the UE is transmitting and receiving. That is, activated cells are those cells for which the UE monitors the physical downlink control channel (PDCCH) and in the case of a downlink transmission, those cells for which the UE decodes a physical downlink shared channel (PDSCH).
  • PDCCH physical downlink control channel
  • PDSCH physical downlink shared channel
  • Deactivated cells are those configured cells that the UE is not monitoring the transmission PDCCH. It should be noted that a “cell” may be described in terms of differing dimensions. For example, a “cell” may have temporal, spatial (e.g., geographical) and frequency characteristics.
  • the UE may have one radio resource control (RRC) connection with the network.
  • RRC radio resource control
  • One radio interface may provide carrier aggregation.
  • one serving cell may provide non-access stratum (NAS) mobility information (e.g., a tracking area identity (TAI)).
  • NAS non-access stratum
  • TAI tracking area identity
  • one serving cell may provide a security input.
  • This cell may be referred to as the primary cell (PCell).
  • the component carrier corresponding to the PCell may be the downlink primary component carrier (DL PCC), while in the uplink it may be the uplink primary component carrier (UL PCC).
  • one or more SCells may be configured to form together with the PCell a set of serving cells.
  • the component carrier corresponding to a SCell may be a downlink secondary component carrier (DL SCC), while in the uplink it may be an uplink secondary component carrier (UL SCC).
  • DL SCC downlink secondary component carrier
  • UL SCC uplink secondary component carrier
  • the configured set of serving cells for the UE may consist of one PCell and one or more SCells.
  • the usage of uplink resources by the UE may be configurable.
  • the number of DL SCCs configured may be larger than or equal to the number of UL SCCs and no SCell may be configured for usage of uplink resources only.
  • each uplink resource may belong to one serving cell.
  • the number of serving cells that may be configured depends on the aggregation capability of the UE.
  • the PCell may only be changed using a handover procedure (e.g., with a security key change and a random access channel (RACH) procedure).
  • the PCell may be used for transmission of the PUCCH.
  • the PCell may not be de-activated. Re-establishment may be triggered when the PCell experiences radio link failure (RLF), not when the SCells experience RLF.
  • NAS information may be taken from the PCell.
  • RRC may also add, remove or reconfigure SCells for usage with a target PCell.
  • dedicated RRC signaling may be used for sending all required system information of the SCell (e.g., while in connected mode, UEs need not acquire broadcasted system information directly from the SCells).
  • the systems and methods disclosed herein describe carrier aggregation.
  • the systems and methods disclosed herein describe LTE enhanced carrier aggregation (eCA) with hybrid duplexing.
  • the systems and methods describe downlink (DL) association sets and PDSCH hybrid automatic repeat request acknowledgement/negative acknowledgement (HARQ-ACK) transmission timings that may be used in time division duplexing (TDD) and frequency division duplexing (FDD) carrier aggregation (CA).
  • DL downlink
  • HARQ-ACK hybrid automatic repeat request acknowledgement/negative acknowledgement
  • TDD time division duplexing
  • FDD frequency division duplexing
  • CA carrier aggregation
  • a primary cell may report uplink control information (UCI).
  • a secondary cell (SCell) may be configured as a reporting cell for the UCI.
  • Carrier aggregation refers to the concurrent utilization of more than one carrier.
  • carrier aggregation more than one cell may be aggregated to a UE.
  • carrier aggregation may be used to increase the effective bandwidth available to a UE.
  • the same TDD uplink-downlink (UL/DL) configuration has to be used for TDD CA in Release-10, and for intra-band CA in Release-11.
  • UL/DL TDD uplink-downlink
  • inter-band TDD CA with different TDD UL/DL configurations is supported.
  • the inter-band TDD CA with different TDD UL/DL configurations may provide the flexibility of a TDD network in CA deployment.
  • enhanced interference management with traffic adaptation eIMTA
  • dynamic UL/DL reconfiguration may allow flexible TDD UL/DL reconfiguration based on the network traffic load.
  • a FDD cell requires spectrum (e.g., radio communication frequencies or channels) in which contiguous subsets of the spectrum are entirely allocated to either UL or DL but not both. Accordingly, FDD may have carrier frequencies that are paired (e.g., paired DL and UL carrier frequencies). However, TDD does not require paired channels. Instead, TDD may allocate UL and DL resources on the same carrier frequency. Therefore, TDD may provide more flexibility on spectrum usage. With the increase in wireless network traffic, and as spectrum resources become very precious, new allocated spectrum tends to be fragmented and has smaller bandwidth, which is more suitable for TDD and/or small cell deployment. Furthermore, TDD may provide flexible channel usage through traffic adaptation with different TDD UL/DL configurations and dynamic UL/DL re-configuration.
  • TDD may provide flexible channel usage through traffic adaptation with different TDD UL/DL configurations and dynamic UL/DL re-configuration.
  • the systems and methods described herein include carrier aggregation (CA) under the same scheduler control, with a macro cell and a small cell (e.g., femtocell, picocell, microcell, etc.) heterogeneous network scenario.
  • CA carrier aggregation
  • a macro cell e.g., femtocell, picocell, microcell, etc.
  • small cell e.g., femtocell, picocell, microcell, etc.
  • FDD-LTE Frequency Division Duplex
  • TDD-LTE is becoming more and more important in many markets.
  • a TDD implementation may provide flexibility for small cells with fast traffic adaptation.
  • the macro cells and pico/small cells may use different frequency bands.
  • a frequency band is a small section of the spectrum, in which communication channels may be established.
  • the macro cell may use a lower frequency band and the pico/small cell may use a higher frequency band.
  • the pico/small cell may use a higher frequency band.
  • hybrid duplexing networks a possible combination is to have FDD on a macro cell and TDD on a pico/small cell.
  • the HARQ-ACK bits of all configured cells can be reported on the physical uplink control channel (PUCCH) of the PCell, or on a physical uplink shared channel (PUSCH).
  • PUCCH physical uplink control channel
  • PUSCH physical uplink shared channel
  • CA for FDD cells and CA for TDD cell with the same or different UL/DL configurations are specified.
  • Support for carrier aggregation between TDD and FDD cells e.g., TDD-FDD CA
  • TDD and FDD cells have very different HARQ-ACK reporting mechanisms.
  • the systems and methods described herein provide procedures for HARQ-ACK multiplexing and reporting for TDD-FDD CA when a FDD cell is the PCell and at least one SCell is a TDD cell. Furthermore, multiplexing procedures for both PUCCH and PUSCH reporting are described herein.
  • a TDD SCell may follow the FDD cell for the PDSCH HARQ-ACK timing.
  • TDD CA HARQ-ACK multiplexing and FDD CA HARQ-ACK multiplexing are defined separately.
  • the HARQ-ACK of all cells may be reported on the PUCCH of the PCell.
  • the HARQ-ACK bits can also be reported on the PUSCH.
  • a TDD SCell may follow the FDD timing for the PDSCH HARQ-ACK reporting.
  • a TDD serving cell has UL subframe allocations. Therefore, a UE should determine how to handle this case.
  • a TDD SCell may be an eIMTA cell (e.g., a cell that supports dynamic UL/DL reconfiguration with traffic adaptation). In this case, how the UE handles a flexible subframe that can be changed between downlink and uplink should be specified.
  • the systems and methods described herein provide procedures for HARQ-ACK generation for TDD-FDD CA when the PCell is a FDD cell on PUCCH format 1b with channel selection, PUCCH format 3 and reporting on PUSCH.
  • CA in a hybrid duplexing network that includes FDD and TDD cells may operate seamlessly. Resource use may be flexible when both FDD and TDD are used by a UE.
  • HARQ-ACK reporting methods may support the dynamic UL/DL reconfiguration of TDD cells. TDD cell association timings may be extended to FDD cells in a TDD and FDD CA scenario.
  • PUCCH reporting cell (e.g., reference cell) configuration by physical (PHY) layer signaling, implicit signaling and/or higher layer signaling may be supported.
  • Figure 1 is a block diagram illustrating one configuration of one or more evolved Node Bs (eNBs) 160 and one or more user equipments (UEs) 102 in which systems and methods for carrier aggregation may be implemented.
  • the one or more UEs 102 communicate with one or more eNBs 160 using one or more antennas 122a-n.
  • a UE 102 transmits electromagnetic signals to the eNB 160 and receives electromagnetic signals from the eNB 160 using the one or more antennas 122a-n.
  • the eNB 160 communicates with the UE 102 using one or more antennas 180a-n.
  • one or more of the UEs 102 described herein may be implemented in a single device.
  • multiple UEs 102 may be combined into a single device in some implementations.
  • one or more of the eNBs 160 described herein may be implemented in a single device.
  • multiple eNBs 160 may be combined into a single device in some implementations.
  • a single device may include one or more UEs 102 in accordance with the systems and methods described herein.
  • one or more eNBs 160 in accordance with the systems and methods described herein may be implemented as a single device or multiple devices.
  • the UE 102 and the eNB 160 may use one or more channels 119, 121 to communicate with each other.
  • a UE 102 may transmit information or data to the eNB 160 using one or more uplink channels 121 and signals.
  • uplink channels 121 include a physical uplink control channel (PUCCH) and a physical uplink shared channel (PUSCH), etc.
  • uplink signals include a demodulation reference signal (DMRS) and a sounding reference signal (SRS), etc.
  • the one or more eNBs 160 may also transmit information or data to the one or more UEs 102 using one or more downlink channels 119 and signals, for instance.
  • downlink channels 119 include a PDCCH, a PDSCH, etc.
  • downlink signals include a primary synchronization signal (PSS), a Cell-specific reference signal (CRS), and a channel state information (CSI) reference channel (CSI-RS), etc.
  • PSS primary synchronization signal
  • CRS Cell-specific reference signal
  • Each of the one or more UEs 102 may include one or more transceivers 118, one or more demodulators 114, one or more decoders 108, one or more encoders 150, one or more modulators 154, one or more data buffers 104 and one or more UE operations modules 124.
  • one or more reception and/or transmission paths may be implemented in the UE 102.
  • only a single transceiver 118, decoder 108, demodulator 114, encoder 150 and modulator 154 are illustrated in the UE 102, though multiple parallel elements (e.g., transceivers 118, decoders 108, demodulators 114, encoders 150 and modulators 154) may be implemented.
  • the transceiver 118 may include one or more receivers 120 and one or more transmitters 158.
  • the one or more receivers 120 may receive signals from the eNB 160 using one or more antennas 122a-n.
  • the receiver 120 may receive and downconvert signals to produce one or more received signals 116.
  • the one or more received signals 116 may be provided to a demodulator 114.
  • the one or more transmitters 158 may transmit signals to the eNB 160 using one or more antennas 122a-n.
  • the one or more transmitters 158 may upconvert and transmit one or more modulated signals 156.
  • the demodulator 114 may demodulate the one or more received signals 116 to produce one or more demodulated signals 112.
  • the one or more demodulated signals 112 may be provided to the decoder 108.
  • the UE 102 may use the decoder 108 to decode signals.
  • the decoder 108 may produce one or more decoded signals 106, 110.
  • a first UE-decoded signal 106 may comprise received payload data, which may be stored in a data buffer 104.
  • a second UE-decoded signal 110 may comprise overhead data and/or control data.
  • the second UE-decoded signal 110 may provide data that may be used by the UE operations module 124 to perform one or more operations.
  • module may mean that a particular element or component may be implemented in hardware, software or a combination of hardware and software. However, it should be noted that any element denoted as a “module” herein may alternatively be implemented in hardware.
  • the UE operations module 124 may be implemented in hardware, software or a combination of both.
  • the UE operations module 124 may enable the UE 102 to communicate with the one or more eNBs 160.
  • the UE operations module 124 may include one or more of a UE HARQ-ACK reporting module 126.
  • the UE HARQ-ACK reporting module 126 may include a PUCCH format 1b reporting module 128 and a PUCCH format 3/PUSCH reporting module 130.
  • the UE HARQ-ACK reporting module 126 may determine a duplex method of each serving cell for FDD and TDD carrier aggregation.
  • the UE 102 may be located in a wireless communication network in which carrier aggregation may be performed with one or more FDD cells and one or more TDD cells.
  • the wireless communication network may be an LTE network.
  • the UE 102 may communicate with an eNB 160 over a serving cell using either FDD or TDD duplexing.
  • the UE HARQ-ACK reporting module 126 may determine the duplex method of each of the configured serving cells used in FDD and TDD carrier aggregation. In other words, the UE HARQ-ACK reporting module 126 may determine whether a serving cell is a FDD cell or a TDD cell.
  • the PUCCH format 1b reporting module 128 may generate HARQ-ACK bits for a TDD serving cell when transmitting PDSCH HARQ-ACK information using a PUCCH format 1b with channel selection in a later subframe.
  • the primary cell may be an FDD cell and a secondary cell may be a TDD serving cell. If a UE 102 is configured with two cells and PUCCH format 1b with channel selection, then the FDD PUCCH format 1b with channel selection procedures may be reused. In this case, no HARQ-ACK bit will be needed for a UL subframe on the TDD secondary cell, and the PUCCH format 1b reporting module 128 may produce a single FDD cell HARQ-ACK report.
  • the single FDD cell HARQ-ACK reporting procedure can be used for a subframe where a UL is configured on the secondary TDD serving cell.
  • the Format 1b with channel selection tables can be reused by reporting DTX bits for a subframe that is configured as UL on the secondary TDD serving cell.
  • the PUCCH format 1b reporting module 128 may monitor the subframe for PDSCH transmission.
  • the PUCCH format 1b reporting module 128 may use two DTX bits for a serving cell configured with a downlink transmission mode that supports up to two transport blocks.
  • the PUCCH format 1b reporting module 128 may use one DTX bit for a serving cell configured with a downlink transmission mode that does not support up to two transport blocks.
  • the secondary cell may be a TDD cell supporting dynamic UL/DL reconfiguration with traffic adaptation (e.g., an eIMTA cell) and the serving cell is configured with a DL HARQ reference configuration by radio resource control (RRC) signaling.
  • RRC radio resource control
  • the reconfiguration signaling is correctly detected, and the subframe is a DL or special subframe indicated by a downlink control information (DCI) format for the reconfiguration (e.g., the reconfiguration DCI format)
  • DCI downlink control information
  • the PUCCH format 1b reporting module 128 may monitor the subframe for PDSCH transmission.
  • the PUCCH format 1b reporting module 128 may use two DTX bits for a serving cell configured with a downlink transmission mode that supports up to two transport blocks, and one DTX bit otherwise.
  • the PUCCH format 1b reporting module 128 may monitor the subframe for PDSCH transmission. If the subframe is a UL subframe defined by the TDD UL/DL configuration of the serving cell in the RRCCommonSCell (e.g., the UL HARQ reference configuration), then the PUCCH format 1b reporting module 128 may use two DTX bits for a serving cell configured with a downlink transmission mode that supports up to two transport blocks, and one DTX bit otherwise.
  • the PUCCH format 1b reporting module 128 may monitor the subframe for PDSCH transmission. If the subframe is a UL subframe defined by the DL HARQ reference configuration in RRC signaling, then the PUCCH format 1b reporting module 128 may use two DTX bits for a serving cell configured with a downlink transmission mode that supports up to two transport blocks, and one DTX bit otherwise.
  • the PUCCH format 3/PUSCH reporting module 130 may generate HARQ-ACK bits for a TDD serving cell when transmitting PDSCH HARQ-ACK information using a PUCCH format 3 or PUSCH in a later subframe.
  • the PCell may be a FDD cell, and PUCCH format 3 may be configured.
  • the HARQ-ACK bits may be generated and multiplexed for all serving cells.
  • the HARQ-ACK multiplexing of PUCCH format 3 may be used. In these cases, there are two procedures to handle the HARQ-ACK bits of a TDD SCell.
  • the HARQ-ACK may be reported for a TDD serving cell in all cases.
  • the HARQ-ACK bits of all serving cells may be multiplexed together and reported on PUCCH format 3 or a PUSCH transmission.
  • the PUCCH format 3/PUSCH reporting module 130 may monitor the subframe for PDSCH transmission. If a secondary serving cell is a TDD cell, for a subframe that is configured as UL, the PUCCH format 3/PUSCH reporting module 130 may generate and multiplex NACK bits with HARQ-ACK bits of other serving cells. The PUCCH format 3/PUSCH reporting module 130 may use two NACK bits for the serving cell configured with a downlink transmission mode that supports up to two transport blocks, and one NACK bit otherwise.
  • a secondary cell is a TDD cell supporting dynamic UL/DL reconfiguration with traffic adaptation (e.g., an eIMTA cell)
  • the serving cell may be configured with a DL HARQ reference configuration by RRC signaling. If the reconfiguration signaling is correctly detected, and the subframe is a DL or special subframe indicated by the reconfiguration DCI format, then the PUCCH format 3/PUSCH reporting module 130 may monitor the subframe for PDSCH transmission. If the reconfiguration signaling is correctly detected, and the subframe is a UL subframe indicated by the reconfiguration DCI format, the PUCCH format 3/PUSCH reporting module 130 may use two NACK bits for a serving cell configured with a downlink transmission mode that support up to two transport blocks, and one NACK bit otherwise.
  • Determining whether an earlier subframe (e.g., 'n-4') is an uplink subframe for the TDD serving cell may be based on an uplink/downlink (UL/DL) configuration defined by a radio resource control common secondary cell (RRCCommonSCell) message. If the reconfiguration signaling is not correctly detected, and the subframe is a DL or special subframe defined by the TDD UL/DL configuration of the serving cell in the RRCCommonSCell (e.g., the UL HARQ reference configuration), the PUCCH format 3/PUSCH reporting module 130 may monitor the subframe for PDSCH transmission.
  • RRCCommonSCell radio resource control common secondary cell
  • the PUCCH format 3/PUSCH reporting module 130 may use two NACK bits for a serving cell configured with a downlink transmission mode that support up to two transport blocks, and one NACK bit otherwise.
  • a secondary cell is a TDD cell supporting dynamic UL/DL reconfiguration with traffic adaptation (e.g., an eIMTA cell) and the cell is configured with a DL HARQ reference configuration by RRC signaling
  • the reconfiguration signaling may not be correctly detected.
  • the subframe is a DL or special subframe defined by the DL HARQ reference configuration by RRC signaling and there is no UL grant associated with the subframe
  • the PUCCH format 3/PUSCH reporting module 130 may monitor the subframe for PDSCH transmission.
  • the PUCCH format 3/PUSCH reporting module 130 may use two NACK bits for a serving cell configured with a downlink transmission mode that support up to two transport blocks, and one NACK bit otherwise.
  • the UE operations module 124 may provide information 148 to the one or more receivers 120. For example, the UE operations module 124 may inform the receiver(s) 120 when or when not to send PDSCH HARQ-ACK information based on the set of downlink subframe associations.
  • the UE operations module 124 may provide information 138 to the demodulator 114. For example, the UE operations module 124 may inform the demodulator 114 of a modulation pattern anticipated for transmissions from the eNB 160.
  • the UE operations module 124 may provide information 136 to the decoder 108. For example, the UE operations module 124 may inform the decoder 108 of an anticipated encoding for transmissions from the eNB 160.
  • the UE operations module 124 may provide information 142 to the encoder 150.
  • the information 142 may include data to be encoded and/or instructions for encoding.
  • the UE operations module 124 may instruct the encoder 150 to encode transmission data 146 and/or other information 142.
  • the other information 142 may include PDSCH HARQ-ACK information.
  • the encoder 150 may encode transmission data 146 and/or other information 142 provided by the UE operations module 124. For example, encoding the data 146 and/or other information 142 may involve error detection and/or correction coding, mapping data to space, time and/or frequency resources for transmission, multiplexing, etc.
  • the encoder 150 may provide encoded data 152 to the modulator 154.
  • the UE operations module 124 may provide information 144 to the modulator 154.
  • the UE operations module 124 may inform the modulator 154 of a modulation type (e.g., constellation mapping) to be used for transmissions to the eNB 160.
  • the modulator 154 may modulate the encoded data 152 to provide one or more modulated signals 156 to the one or more transmitters 158.
  • the UE operations module 124 may provide information 140 to the one or more transmitters 158.
  • This information 140 may include instructions for the one or more transmitters 158.
  • the UE operations module 124 may instruct the one or more transmitters 158 when to transmit a signal to the eNB 160.
  • the one or more transmitters 158 may upconvert and transmit the modulated signal(s) 156 to one or more eNBs 160.
  • the eNB 160 may include one or more transceivers 176, one or more demodulators 172, one or more decoders 166, one or more encoders 109, one or more modulators 113, a data buffer 162 and an eNB operations module 182.
  • one or more reception and/or transmission paths may be implemented in an eNB 160.
  • only a single transceiver 176, decoder 166, demodulator 172, encoder 109 and modulator 113 are illustrated in the eNB 160, though multiple parallel elements (e.g., transceivers 176, decoders 166, demodulators 172, encoders 109 and modulators 113) may be implemented.
  • the transceiver 176 may include one or more receivers 178 and one or more transmitters 117.
  • the one or more receivers 178 may receive signals from the UE 102 using one or more antennas 180a-n.
  • the receiver 178 may receive and downconvert signals to produce one or more received signals 174.
  • the one or more received signals 174 may be provided to a demodulator 172.
  • the one or more transmitters 117 may transmit signals to the UE 102 using one or more antennas 180a-n.
  • the one or more transmitters 117 may upconvert and transmit one or more modulated signals 115.
  • the demodulator 172 may demodulate the one or more received signals 174 to produce one or more demodulated signals 170.
  • the one or more demodulated signals 170 may be provided to the decoder 166.
  • the eNB 160 may use the decoder 166 to decode signals.
  • the decoder 166 may produce one or more decoded signals 164, 168.
  • a first eNB-decoded signal 164 may comprise received payload data, which may be stored in a data buffer 162.
  • a second eNB-decoded signal 168 may comprise overhead data and/or control data.
  • the second eNB-decoded signal 168 may provide data (e.g., PDSCH HARQ-ACK information) that may be used by the eNB operations module 182 to perform one or more operations.
  • the eNB operations module 182 may enable the eNB 160 to communicate with the one or more UEs 102.
  • the eNB operations module 182 may include one or more of an eNB HARQ-ACK reporting module 194.
  • the eNB HARQ-ACK reporting module 194 may include a PUCCH format 1b reporting module 196 and a PUCCH format 3/PUSCH reporting module 198.
  • the eNB HARQ-ACK reporting module 194 may determine a duplex method of each serving cell for FDD and TDD carrier aggregation.
  • the eNB 160 may communicate with a UE 102 over a serving cell using either FDD or TDD duplexing.
  • the eNB HARQ-ACK reporting module 194 may determine the duplex method of each of the configured serving cells used in FDD and TDD carrier aggregation. In other words, the eNB HARQ-ACK reporting module 194 may determine whether a serving cell is a FDD cell or a TDD cell.
  • the PUCCH format 1b reporting module 196 may receive HARQ-ACK information when receiving PDSCH HARQ-ACK information using a PUCCH format 1b with channel selection in a later subframe. If a UE 102 is configured with two cells and PUCCH format 1b with channel selection, then the FDD PUCCH format 1b with channel selection procedures may be reused. In this case, no HARQ-ACK bit will be needed for a UL subframe on a TDD secondary cell, and the PUCCH format 1b reporting module 196 may receive a single FDD cell HARQ-ACK report.
  • the Format 1b with channel selection tables can be reused by reporting DTX bits for a subframe that is configured as UL on the secondary TDD serving cell. Therefore, for a subframe that is configured as DL or special subframe on the secondary TDD serving cell, the PUCCH format 1b reporting module 196 may receive HARQ-ACK information for the earlier subframe. For a subframe that is configured as UL on the secondary TDD serving cell, the PUCCH format 1b reporting module 196 may not receive HARQ-ACK information corresponding to the UL subframe on the TDD SCell.
  • the secondary cell may be a TDD cell supporting dynamic UL/DL reconfiguration with traffic adaptation (e.g., an eIMTA cell) and the serving cell is configured with a DL HARQ reference configuration by RRC signaling.
  • the PUCCH format 1b reporting module 196 may not receive HARQ-ACK information corresponding to the UL subframe on the TDD SCell. This is due to the UE 102 setting at least one discontinuous transmission (DTX) bit to a HARQ-ACK bit for the UL subframe of the TDD serving cell.
  • DTX discontinuous transmission
  • the PUCCH format 3/PUSCH reporting module 198 may receive HARQ-ACK information for a TDD serving cell when receiving PDSCH HARQ-ACK information using a PUCCH format 3 or PUSCH in a later subframe.
  • the HARQ-ACK information may be reported for a TDD serving cell in all cases.
  • the HARQ-ACK bits of all serving cells may be multiplexed together and reported on PUCCH format 3 or a PUSCH transmission.
  • the PUCCH format 3/PUSCH reporting module 198 may receive one or more NACKs for the TDD serving cell.
  • the one or more NACKs for the TDD serving cell may be multiplexed with HARQ-ACK bits of other serving cells.
  • the PUCCH format 3/PUSCH reporting module 198 may receive two NACK bits for the serving cell configured with a downlink transmission mode that supports up to two transport blocks, and one NACK bit otherwise.
  • the eNB operations module 182 may provide information 190 to the one or more receivers 178. For example, the eNB operations module 182 may inform the receiver(s) 178 when or when not to receive PDSCH HARQ-ACK information based on the set of downlink subframe associations.
  • the eNB operations module 182 may provide information 188 to the demodulator 172. For example, the eNB operations module 182 may inform the demodulator 172 of a modulation pattern anticipated for transmissions from the UE(s) 102.
  • the eNB operations module 182 may provide information 186 to the decoder 166. For example, the eNB operations module 182 may inform the decoder 166 of an anticipated encoding for transmissions from the UE(s) 102.
  • the eNB operations module 182 may provide information 101 to the encoder 109.
  • the information 101 may include data to be encoded and/or instructions for encoding.
  • the eNB operations module 182 may instruct the encoder 109 to encode transmission data 105 and/or other information 101.
  • the encoder 109 may encode transmission data 105 and/or other information 101 provided by the eNB operations module 182. For example, encoding the data 105 and/or other information 101 may involve error detection and/or correction coding, mapping data to space, time and/or frequency resources for transmission, multiplexing, etc.
  • the encoder 109 may provide encoded data 111 to the modulator 113.
  • the transmission data 105 may include network data to be relayed to the UE 102.
  • the eNB operations module 182 may provide information 103 to the modulator 113.
  • This information 103 may include instructions for the modulator 113.
  • the eNB operations module 182 may inform the modulator 113 of a modulation type (e.g., constellation mapping) to be used for transmissions to the UE(s) 102.
  • the modulator 113 may modulate the encoded data 111 to provide one or more modulated signals 115 to the one or more transmitters 117.
  • the eNB operations module 182 may provide information 192 to the one or more transmitters 117.
  • This information 192 may include instructions for the one or more transmitters 117.
  • the eNB operations module 182 may instruct the one or more transmitters 117 when to (or when not to) transmit a signal to the UE(s) 102.
  • the one or more transmitters 117 may upconvert and transmit the modulated signal(s) 115 to one or more UEs 102.
  • one or more of the elements or parts thereof included in the eNB(s) 160 and UE(s) 102 may be implemented in hardware.
  • one or more of these elements or parts thereof may be implemented as a chip, circuitry or hardware components, etc.
  • one or more of the functions or methods described herein may be implemented in and/or performed using hardware.
  • one or more of the methods described herein may be implemented in and/or realized using a chipset, an application-specific integrated circuit (ASIC), a large-scale integrated circuit (LSI) or integrated circuit, etc.
  • ASIC application-specific integrated circuit
  • LSI large-scale integrated circuit
  • FIG. 2 is a flow diagram illustrating one implementation of a method 200 for performing carrier aggregation by a UE 102.
  • the UE 102 may be located in a wireless communication network in which carrier aggregation may be performed with one or more FDD cells and one or more TDD cells.
  • the wireless communication network may be an LTE network.
  • the UE 102 may communicate with an eNB 160 over a serving cell using either FDD or TDD duplexing.
  • a serving cell may be a set of communication channels 119, 121.
  • CA carrier aggregation
  • more than one serving cell may be aggregated to a UE 102.
  • the primary cell is a FDD cell.
  • a secondary cell may be a TDD serving cell.
  • a physical downlink shared channel (PDSCH) transmission may be sent in an earlier subframe (e.g., subframe 'n-4') for the serving cell.
  • PDSCH physical downlink shared channel
  • the UE 102 may determine 202 the duplex method of each of the configured serving cells used in FDD and TDD carrier aggregation. In other words, the UE 102 may determine 202 whether a serving cell is a FDD cell or a TDD cell.
  • the UE 102 may generate 204 PDSCH HARQ-ACK information for the TDD serving cell.
  • Different combinations of uplink control information (UCI) on PUCCH may be supported in different PUCCH formats.
  • format 1a may be used for 1-bit HARQ-ACK or in the case of FDD for 1-bit HARQ-ACK with positive scheduling request (SR).
  • Format 1b may be used for 2-bit HARQ-ACK or for 2-bit HARQ-ACK with positive SR.
  • Format 1b may be used for up to 4-bit HARQ-ACK with channel selection when the UE 102 is configured with more than one serving cell or, in the case of TDD, when the UE 102 is configured with a single serving cell.
  • Format 1 may be used for positive SR.
  • a PUCCH format 2 may be used for a CSI report when not multiplexed with HARQ-ACK.
  • Format 2a may be used for a CSI report multiplexed with 1-bit HARQ-ACK for a normal cyclic prefix.
  • Format 2b may be used for a CSI report multiplexed with 2-bit HARQ-ACK for a normal cyclic prefix.
  • Format 2 may also be used for a CSI report multiplexed with HARQ-ACK for an extended cyclic prefix.
  • a PUCCH format 3 may be used for up to 10-bit HARQ-ACK for FDD and for up to 20-bit HARQ-ACK for TDD. Format 3 may also be used for up to 11-bit corresponding to 10-bit HARQ-ACK and 1-bit positive/negative SR for FDD and for up to 21-bit corresponding to 20-bit HARQ-ACK and 1-bit positive/negative SR for TDD. Format 3 may further be used for HARQ-ACK, 1-bit positive/negative SR (if any) and a CSI report for one serving cell.
  • a UE 102 may be configured with PUCCH format 3 and HARQ-ACK transmission on PUSCH or using PUCCH format 3.
  • the UE 102 may be configured with two serving cells and PUCCH format 1b with channel selection and HARQ-ACK transmission on PUSCH.
  • the UE 102 may be configured with one serving cell and PUCCH format 1b with channel selection and HARQ-ACK transmission on PUSCH.
  • the UE 102 may generate a NACK for the other transport block if spatial HARQ-ACK bundling is not applied.
  • the UE 102 may generate two NACKs when the configured downlink transmission mode supports up to two transport blocks. Furthermore, the UE 102 may generate a single NACK when the configured downlink transmission mode supports a single transport block. The two NACKs may be multiplexed with HARQ-ACK bits of other serving cells.
  • PDCH physical downlink control channel
  • EPDCCH physical downlink control channel
  • the UE 102 may generate two NACKs when the configured downlink transmission mode supports up to two transport blocks.
  • the UE 102 may also generate a single NACK when the configured downlink transmission mode supports a single transport block.
  • the single NACK may be multiplexed with HARQ-ACK bits of other serving cells.
  • both HARQ-ACK and SR may be transmitted in the same subframe.
  • a UE 102 may transmit the HARQ-ACK on its assigned HARQ-ACK PUCCH format 1a/1b resource for a negative SR transmission and may transmit the HARQ-ACK on its assigned SR PUCCH resource for a positive SR transmission.
  • both HARQ-ACK and SR may be transmitted in the same subframe.
  • a UE 102 may transmit the HARQ-ACK on its assigned HARQ-ACK PUCCH resource with channel selection for a negative SR transmission and may transmit one HARQ-ACK bit per serving cell on its assigned SR PUCCH resource for a positive SR transmission.
  • the HARQ-ACK bit for the serving cell is the HARQ-ACK bit corresponding to the transport block or the PDCCH/EPDCCH indicating downlink SPS release. If two transport blocks are received on a serving cell, the HARQ-ACK bit for the serving cell may be generated by spatially bundling the HARQ-ACK bits corresponding to the transport blocks. If neither PDSCH transmission for which HARQ-ACK response is provided nor PDCCH/EPDCCH indicating downlink SPS release is detected for a serving cell, the HARQ-ACK bit for the serving cell may be set to NACK.
  • the HARQ-ACK bits for the primary cell and the secondary cell may be mapped to 'b'(0) and 'b' (1) bits, respectively.
  • the 'b'(0) and 'b'(1) bits may be transmitted on a PUCCH resource based on the channel selection tables below.
  • Table (1) (based on 3GPP TS 36.213, Table 10.1.2.2.1-3)
  • Table (2) (based on 3GPP TS 36.213, Table 10.1.2.2.1-4)
  • Table (3) (based on 3GPP TS 36.213, Table 10.1.2.2.1-5),
  • a PUCCH format 3 transmission of HARQ-ACK may coincide with a sub-frame configured to the UE 102 by higher layers for transmission of a scheduling request.
  • the UE 102 may multiplex HARQ-ACK and SR bits on HARQ-ACK PUCCH. If the HARQ-ACK corresponds to a PDSCH transmission on the primary cell only or a PDCCH/EPDCCH indicating downlink SPS release on the primary cell only, then the SR may be transmitted as for FDD as a primary cell with PUCCH format 1a/1b.
  • a UE 102 may not transmit HARQ-ACK on PUSCH in subframe 'n' if the UE 102 does not receive PDSCH or PDCCH indicating downlink SPS release in subframe 'n-4'.
  • a UE 102 may use PUCCH Format 1 for the SR resource.
  • the primary cell may be an FDD cell and a secondary cell may be a TDD serving cell.
  • a secondary cell may be a TDD serving cell.
  • the FDD PUCCH format 1b with channel selection methods can be reused.
  • the TDD secondary cell may have a UL subframe. In this case, no HARQ-ACK bit will be needed for the UL subframe on the TDD secondary cell.
  • a single FDD cell HARQ-ACK report may be transmitted.
  • the single FDD cell HARQ-ACK reporting procedure can be used for a subframe where a UL is configured on the secondary TDD serving cell.
  • the Format 1b with channel selection tables can be reused by reporting DTX bits for a subframe that is configured as UL on the secondary TDD serving cell.
  • the UE 102 may monitor the earlier subframe (e.g., 'n-4') for a PDSCH transmission.
  • the UE 102 may set at least one discontinuous transmission (DTX) bit to a HARQ-ACK bit for the TDD serving cell.
  • DTX discontinuous transmission
  • the UE 102 may use two DTX bits for a serving cell configured with a downlink transmission mode that supports up to two transport blocks.
  • the UE 102 may use one DTX bit for a serving cell configured with a downlink transmission mode that does not support up to two transport blocks.
  • determining whether an earlier subframe (e.g., 'n-4') is an uplink subframe for the TDD serving cell may be based on an explicit reconfiguration downlink control information (DCI) signaling of the TDD serving cell.
  • the secondary cell may be a TDD cell supporting dynamic UL/DL reconfiguration with traffic adaptation (e.g., an eIMTA cell) and the serving cell is configured with a DL HARQ reference configuration by RRC signaling. If the reconfiguration signaling is correctly detected, and the subframe is a DL or special subframe indicated by a downlink control information (DCI) format for the reconfiguration (e.g., the reconfiguration DCI format), then the UE 102 may monitor the subframe for PDSCH transmission.
  • DCI downlink control information
  • the UE 102 may use two DTX bits for a serving cell configured with a downlink transmission mode that supports up to two transport blocks, and one DTX bit otherwise.
  • determining whether the earlier subframe is an uplink subframe for the TDD serving cell may be based on an uplink/downlink (UL/DL) configuration defined by a radio resource control common secondary cell (RRCCommonSCell) message. If the reconfiguration signaling is not correctly detected, and the subframe is a DL or special subframe defined by the TDD UL/DL configuration of the serving cell in the RRCCommonSCell (e.g., the UL HARQ reference configuration), then the UE 102 may monitor the subframe for a PDSCH transmission.
  • RRCCommonSCell radio resource control common secondary cell
  • the UE 102 may use two DTX bits for a serving cell configured with a downlink transmission mode that supports up to two transport blocks, and one DTX bit otherwise. With this configuration, a PDSCH transmission on the secondary cell may be missed and reported as DTX, but there is no new UE 102 behavior for monitoring a subframe. In this configuration, the UE 102 knows the type of the subframe (e.g., UL, DL, or special subframe).
  • the type of the subframe e.g., UL, DL, or special subframe.
  • the UE 102 may monitor the subframe for PDSCH transmission. If the subframe is a UL subframe defined by the DL HARQ reference configuration in RRC signaling, then the UE 102 may use two DTX bits for a serving cell configured with a downlink transmission mode that supports up to two transport blocks, and one DTX bit otherwise. With this configuration, the potential PDSCH transmission is monitored, but new UE 102 behavior may be introduced for monitoring a subframe. In this configuration, the UE 102 may not be certain of the type of the subframe (e.g., UL, DL, or special subframe).
  • the UE 102 may not be certain of the type of the subframe (e.g., UL, DL, or special subframe).
  • Tables (1)- (3) below show the masked PUCCH format 1b with channel selection tables.
  • 'A' is the number of PUCCH resources and is a PUCCH resource.
  • the SCell PUCCH resource may not be reserved for a subframe that is configured as UL on the secondary TDD serving cell. Therefore, for simplicity of the specification, the TDD-FDD CA PUCCH format 1b with channel selection may follow FDD CA.
  • the "FDD as primary cell” may include the cases of two FDD cells and two serving cells and the primary cell is a FDD cell and the secondary cell is a TDD cell.
  • condition "for FDD as a primary cell with two configured serving cells and PUCCH format 1b with channel selection” may also be referred to as "for FDD with two configured serving cells and two configured serving cells with a FDD cell as primary cell and a TDD cell as a secondary cell, and PUCCH format 1b with channel selection.”
  • the UE 102 may transmit 206 PDSCH HARQ-ACK information using PUCCH format 1b with channel selection in a later subframe (e.g., subframe 'n').
  • the PDSCH HARQ-ACK information for the TDD serving cell may be multiplexed with the other serving cells as described in connection with Figure 4.
  • the PDSCH HARQ-ACK information may then be sent to the eNB 160 using PUCCH format 1b with channel selection.
  • the FDD as a primary cell HARQ-ACK feedback procedures for more than one configured serving cell may be based either on a PUCCH format 1b with channel selection HARQ-ACK procedure (as described in connection with Figure 2) or a PUCCH format 3 HARQ-ACK procedure (as described in connection with Figure 3).
  • HARQ-ACK transmission on two antenna ports is supported for PUCCH format 3.
  • HARQ-ACK transmission on two antenna ports is supported for PUCCH format 1b with channel selection and FDD as a primary cell with two configured serving cells.
  • HARQ-ACK ('j') in subframe 'n' may be set to DTX.
  • the UE 102 may transmit 'b'(0)'b'(1) on PUCCH resource mapped to antenna port 'p' using PUCCH format 1b.
  • the UE 102 may transmit 'b'(0)'b'(1) on PUCCH resource mapped to antenna port 'p' using PUCCH format 1b.
  • antenna port 'p0' where is selected from 'A' PUCCH resources, according to Table (1), (2) and (3) in subframe 'n'.
  • HARQ-ACK('j') denotes the ACK/NACK/DTX response for a transport block or SPS release PDCCH/EPDCCH associated with serving cell 'c', where the transport block and serving cell for HARQ-ACK('j') and 'A' PUCCH resources are given by Table (4) (from 3GPP TS 36.213 v11.4.0, Table 10.1.2.2.1-1) below.
  • antenna port 'p1' When the UE 102 is configured with two antenna port transmission for PUCCH format 1b with channel selection, may be used for antenna port 'p1'. is selected from 'A' PUCCH resources. may be configured by higher layers, where according to Table (1), (2) and (3) by replacing in subframe 'n'.
  • a UE 102 may use the same HARQ-ACK response for both the transport blocks in response to a PDSCH transmission with a single transport block or a PDCCH/EPDCCH indicating downlink SPS release associated with the serving cell 'c'.
  • the UE 102 may determine the 'A' PUCCH resources, associated with HARQ-ACK('j'), where in Table (4).
  • the PUCCH resource is is the number of the first control channel element (CCE) used for transmission of the corresponding PDCCH and is configured by higher layers.
  • CCE first control channel element
  • the value of may be determined according to higher layer configuration and Table (5) (from 3GPP TS 36.213 v11.4.0, Table 9.2-2).
  • the PUCCH resource For a transmission mode that supports up to two transport blocks, the PUCCH resource
  • a PUCCH resource value in Table (6) maps to two PUCCH resources otherwise, the PUCCH resource value maps to a single PUCCH resource
  • a PDSCH transmission may be indicated by the detection of a corresponding EPDCCH in subframe 'n-4' on the primary cell, or an EPDCCH may indicate downlink SPS release in subframe 'n-4' on the primary cell.
  • the PUCCH resource may be given by If EPDCCH-PRB-set 'q' is configured for localized transmission, the PUCCH resource may be given by
  • is the number of the first enhanced control channel element (ECCE) (e.g., the lowest ECCE index used to construct the EPDCCH) used for transmission of the corresponding DCI assignment in EPDCCH-PRB-set 'q'. is determined from the HARQ-ACK resource offset field in the DCI format of the corresponding EPDCCH as given in Table (7) (from 3GPP TS 36.213 v11.4.0, Table 10.1.2.1-1).
  • EPDCCH-PRB-set 'q' may be configured by the higher layer parameter 'pucch-ResourceStartOffset-r11'. may be determined from the antenna port used for localized EPDCCH transmission.
  • is the number of ECCEs per resource-block pair for EPDCCH-PRB-set 'q'. is the number of enhanced resource element groups (EREGs) per ECCE.
  • the PUCCH resource may be determined for a transmission mode that supports up to two transport blocks. If EPDCCH-PRB- set 'q' is configured for distributed transmission, then If EPDCCH-PRB-set 'q' is configured for localized transmission, then
  • FIG 3 is a flow diagram illustrating another implementation of a method 300 for performing carrier aggregation by a UE 102.
  • the UE 102 may be located in a wireless communication network in which carrier aggregation may be performed with one or more FDD cells and one or more TDD cells.
  • the wireless communication network may be an LTE network.
  • the UE 102 may communicate with an eNB 160 over a serving cell using either FDD or TDD duplexing.
  • CA carrier aggregation
  • more than one serving cell may be aggregated to a UE 102.
  • the primary cell is a FDD cell.
  • a secondary cell may be a TDD serving cell.
  • a physical downlink shared channel (PDSCH) transmission may be sent in an earlier subframe (e.g., subframe 'n-4') for the serving cell.
  • PDSCH physical downlink shared channel
  • the UE 102 may determine 302 the duplex method of each of the configured serving cells used in FDD and TDD carrier aggregation. In other words, the UE 102 may determine 302 whether a serving cell is a FDD cell or a TDD cell.
  • the UE 102 may generate 304 PDSCH HARQ-ACK information for the TDD serving cell.
  • a UE 102 may be configured with two or more cells.
  • the PCell may be a FDD cell, and PUCCH format 3 may be configured.
  • the HARQ-ACK bits should be generated and multiplexed for all serving cells.
  • the HARQ-ACK multiplexing of PUCCH format 3 may be used. In these cases, there are two procedures to handle the HARQ-ACK bits of a TDD SCell.
  • the HARQ-ACK may be reported for a TDD serving cell in all cases.
  • the HARQ-ACK bits of all serving cells may be multiplexed together and reported on PUCCH format 3 or a PUSCH transmission.
  • a secondary serving cell is a TDD cell, for a subframe that is configured as DL or special subframe on the secondary TDD serving cell, the UE 102 may monitor the subframe for PDSCH transmission. If a secondary serving cell is a TDD cell, for a subframe that is configured as UL, NACK may be generated and multiplexed with HARQ-ACK bits of other serving cells. The UE 102 may use two NACK bits for the serving cell configured with a downlink transmission mode that supports up to two transport blocks, and one NACK bit otherwise.
  • a secondary cell is a TDD cell supporting dynamic UL/DL reconfiguration with traffic adaptation (e.g., an eIMTA cell)
  • the serving cell may be configured with a DL HARQ reference configuration by RRC signaling. If the reconfiguration signaling is correctly detected, and the subframe is a DL or special subframe indicated by the reconfiguration DCI format, then the UE 102 may monitor the subframe for PDSCH transmission. If the reconfiguration signaling is correctly detected, and the subframe is a UL subframe indicated by the reconfiguration DCI format, the UE 102 may use two NACK bits for a serving cell configured with a downlink transmission mode that supports up to two transport blocks, and one NACK bit otherwise.
  • Determining whether an earlier subframe (e.g., subframe n-4) is an uplink subframe for the TDD serving cell may be based on an uplink/downlink (UL/DL) configuration defined by a radio resource control common secondary cell (RRCCommonSCell) message. If the reconfiguration signaling is not correctly detected, and the subframe is a DL or special subframe defined by the TDD UL/DL configuration of the serving cell in the RRCCommonSCell (e.g., the UL HARQ reference configuration), the UE 102 may monitor the subframe for PDSCH transmission.
  • RRCCommonSCell radio resource control common secondary cell
  • the UE 102 may use two NACK bits for a serving cell configured with a downlink transmission mode that support up to two transport blocks, and one NACK bit otherwise.
  • a secondary cell is a TDD cell supporting dynamic UL/DL reconfiguration with traffic adaptation (e.g., an eIMTA cell) and the cell is configured with a DL HARQ reference configuration by RRC signaling
  • the reconfiguration signaling may not be correctly detected. If the subframe is a DL or special subframe defined by the DL HARQ reference configuration by RRC signaling and there is no UL grant associated with the subframe, the UE 102 should monitor the subframe for PDSCH transmission.
  • the UE 102 may use two NACK bits for a serving cell configured with a downlink transmission mode that support up to two transport blocks, and one NACK bit otherwise.
  • the UE 102 may transmit 306 PDSCH HARQ-ACK information using PUCCH format 3 or PUSCH in a later subframe.
  • the PDSCH HARQ-ACK information for the TDD serving cell may be multiplexed with the other serving cells as described in connection with Figure 4.
  • the PDSCH HARQ-ACK information may then be sent to the eNB 160.
  • the first procedure described in connection with Figure 3 may reuse FDD CA rules for HARQ-ACK multiplexing and reporting. Therefore, this procedure may result in minimal specification changes. However, this procedure generates unnecessary HARQ-ACK bits for the HARQ-ACK reporting on PUCCH and PUSCH. For the PUCCH, this procedure will potentially cause PUCCH performance degradation. For the PUSCH, more HARQ-ACK bits means more resources are used by the HARQ-ACK multiplexing, which may reduce the performance of PUSCH data transmission.
  • HARQ-ACK bits of all serving cells may be multiplexed together and reported on PUCCH format 3 or a PUSCH transmission.
  • a secondary serving cell is a TDD cell, for a subframe that is configured as DL or special subframe on the secondary TDD serving cell, the UE 102 may monitor the subframe for PDSCH transmission. The UE 102 may generate HARQ-ACK bits accordingly. If a secondary serving cell is a TDD cell, for a subframe that is configured as UL, no HARQ-ACK bit is generated for the serving cell.
  • the UL/DL configuration can be changed dynamically. Occasionally, the UE 102 may misdetect a reconfiguration DCI format. To avoid potential issues and provide a consistent HARQ-ACK payload for each subframe, no HARQ-ACK is reported in the fixed UL subframes (e.g., the UL subframes indicated by the DL HARQ reference configuration by RRC signaling). NACK may be reported for a subframe with unclear subframe type if the reconfiguration DCI signaling is not correctly detected.
  • a secondary cell is a TDD cell supporting dynamic UL/DL reconfiguration with traffic adaptation (e.g., an eIMTA cell) and the serving cell is configured with a DL HARQ reference configuration by RRC signaling, for a subframe that is configured as UL in the DL HARQ reference configuration by RRC signaling, no HARQ-ACK bit is generated for the serving cell.
  • traffic adaptation e.g., an eIMTA cell
  • a secondary cell is a TDD cell supporting dynamic UL/DL reconfiguration with traffic adaptation (e.g., an eIMTA cell) and the serving cell is configured with a DL HARQ reference configuration by RRC signaling, and if the reconfiguration signaling is correctly detected, for a subframe that is a DL or special subframe indicated by the reconfiguration DCI format, the UE 102 may monitor the subframe for PDSCH transmission.
  • a secondary cell is a TDD cell supporting dynamic UL/DL reconfiguration with traffic adaptation (e.g., an eIMTA cell) and the serving cell is configured with a DL HARQ reference configuration by RRC signaling
  • the UE 102 may use two NACK bits for a serving cell configured with a downlink transmission mode that support up to two transport blocks, and one NACK bit otherwise.
  • a secondary cell may be a TDD cell supporting dynamic UL/DL reconfiguration with traffic adaptation (e.g., an eIMTA cell) and the cell may be configured with a DL HARQ reference configuration by RRC signaling.
  • the reconfiguration signaling is not correctly detected, and the subframe is a DL or special subframe defined by the TDD UL/DL configuration of the serving cell in the RRCCommonSCell (e.g., the UL HARQ reference configuration), then the UE 102 may monitor the subframe for PDSCH transmission.
  • the UE 102 may use two NACK bits for a serving cell configured with a downlink transmission mode that supports up to two transport blocks, and one NACK bit otherwise.
  • the UE 102 may monitor the subframe for PDSCH transmission.
  • This procedure may require some minor specification changes and extra UE 102 behavior. However, this procedure reduces the total number of HARQ-ACK bits for the HARQ-ACK reporting on PUCCH and PUSCH. Therefore, it can enhance the HARQ-ACK report performance on PUCCH, and the data transmission performance on PUSCH.
  • the term “FDD as primary cell” includes the case of more than one FDD cells.
  • the term “FDD as primary cell” may also include more than one serving cells where the primary cell is a FDD cell and at least one secondary cell is a TDD cell.
  • the UE 102 may use PUCCH resource for transmission of HARQ-ACK in subframe 'n' for mapped to antenna port 'p'.
  • the UE 102 may use PUCCH format 1a/1b and PUCCH resource In this case, is the number of the first CCE (i.e. lowest CCE index used to construct the PDCCH) used for transmission of the corresponding PDCCH and is configured by higher layers.
  • the UE 102 may use PUCCH format 1a/1b and PUCCH resource
  • the value of may be determined according to higher layer configuration and Table (5) above.
  • a PUCCH resource value in Table (5) maps to two PUCCH resources with the first PUCCH resource for antenna port 'p0' and the second PUCCH resource for antenna port 'p1', otherwise, the PUCCH resource value maps to a single PUCCH resource for antenna port 'p0'.
  • the UE 102 may use PUCCH format 3 and PUCCH resource is determined according to higher layer configuration and Table (8) (from 3GPP TS 36.213 v11.4.0, Table 10.1.2.2.2-1) below.
  • the TPC field in the DCI format of the corresponding PDCCH/EPDCCH may be used to determine the PUCCH resource values from one of the four resource values configured by higher layers, with the mapping defined in Table (8).
  • a PUCCH resource value in Table (8) maps to two PUCCH resources with the first PUCCH resource for antenna port 'p0' and the second PUCCH resource for antenna port 'p1', otherwise, the PUCCH resource value maps to a single PUCCH resource for antenna port 'p0'.
  • a UE 102 may assume that the same HARQ-ACK PUCCH resource value is transmitted in each DCI format of the corresponding secondary cell PDCCH assignments in a given subframe.
  • the UE 102 may use PUCCH format 1a/1b and PUCCH resource If EPDCCH-PRB-set 'q' is configured for distributed transmission, then If EPDCCH-PRB-set 'q' is configured for localized transmission, then
  • antenna port 'p0' where is the number of the first ECCE (e.g., the lowest ECCE index used to construct the EPDCCH) used for transmission of the corresponding DCI assignment in EPDCCH-PRB-set 'q', is determined from the HARQ-ACK resource offset field in the DCI format of the corresponding EPDCCH as given in Table (7) above, for EPDCCH-PRB-set 'q' is configured by the higher layer parameter 'pucch-ResourceStartOffset-r11', and is determined from the antenna port used for localized EPDCCH transmission.
  • the number of the first ECCE e.g., the lowest ECCE index used to construct the EPDCCH
  • a two antenna port transmission may be configured for PUCCH format 1a/1b. If EPDCCH-PRB-set 'q' is configured for distributed transmission, then the PUCCH resource for antenna port 'p1' is given by If EPDCCH-PRB-set 'q' is configured for localized transmission, then the PUCCH resource for antenna port 'p1' is given by
  • Figure 4 is a block diagram illustrating one implementation of a coding unit 443 according to the described systems and methods.
  • the coding unit 443 may be included in a UE 102. Data may arrive at the coding unit 443 in the form of indicators for measurement indication, scheduling requests and HARQ acknowledgement.
  • the coding unit 443 may receive an input bit sequence 445
  • the coding unit 443 may produce an output bit sequence 447 based on the input bit sequence 445.
  • channel coding Three forms may be used.
  • One form of channel coding may be used for HARQ-ACK and for a combination of HARQ-ACK and periodic CSI transmitted on PUCCH format 3, including the cases with scheduling request.
  • Another form of channel coding may be used for the channel quality information (e.g., CQI or Precoding Matrix Indicator (PMI)) transmitted on PUCCH format 2.
  • Yet another form of channel coding may be used for a combination of CQI/PMI and HARQ-ACK transmitted on PUCCH format 2/2a/2b.
  • the HARQ-ACK bits may be received from higher layers for each subframe of each cell.
  • Each positive acknowledgement (ACK) may be encoded as a binary '1' and each negative acknowledgement (NACK) may be encoded as a binary '0'.
  • the HARQ-ACK feedback may consist of the concatenation of HARQ-ACK bits for each of the serving cells.
  • 1 bit of HARQ-ACK information ('a k ') may be used for that cell.
  • 2 bits of HARQ-ACK information may be used for those cells (e.g., 'a k ', 'a k+1 '), with 'a k ' corresponding to HARQ-ACK bit for codeword 0 and 'a k+1 ' corresponding to that for codeword 1. Therefore, generating one or two NACKs may depend on the number of codewords configured for a subframe of the TDD serving cell.
  • the sequence of bits is the result of the concatenation of HARQ-ACK bits for different cells.
  • the sequence of bits may be determined according to Listing (1).
  • HARQ-ACK bits may be reported for all subframes and NACK may be generated if no PDSCH is detected in a subframe or the subframe is a UL subframe in a TDD serving cell.
  • a HARQ-ACK bit is not reported for a fixed UL subframe in a TDD secondary cell and NACK is generated if no PDSCH is detected in a subframe or the subframe is a UL subframe in a TDD serving cell.
  • the sequence of bits may be determined according to Listing (2).
  • sequence of bits may be determined according to Listing (3).
  • the periodic CSI bits for the CSI report may be appended at the end of the sequence of concatenated HARQ-ACK bits and scheduling request bit (if any).
  • the procedure above may be used with including the number of periodic CSI bits and scheduling request bit (if any). For may be obtained by setting the bit sequence may be obtained by setting if 'i' is even and if 'i' is odd. the sequence of bits may be encoded according to Equation (1) .
  • LTE frame structure may be encoded according to Equations (2) and (3).
  • the output bit sequence may be obtained by an alternate concatenation of the bit sequences according to Listing (4).
  • the HARQ-ACK bits may be processed for transmission.
  • Control data may arrive at the coding unit 443 in the form of channel quality information (CQI and/or PMI), HARQ-ACK and rank indication.
  • CQI and/or PMI channel quality information
  • HARQ-ACK HARQ-ACK
  • rank indication HARQ-ACK
  • Different coding rates for the control information may be achieved by allocating different numbers of coded symbols for the control information transmission.
  • the bit sequence may be obtained by concatenation of multiple encoded HARQ-ACK blocks where is the total number of coded bits for all the encoded HARQ-ACK blocks.
  • the last concatenation of the encoded HARQ-ACK block may be partial so that the total bit sequence length is equal to
  • bit sequence is the result of the concatenation of HARQ-ACK bits for the multiple DL cells. This may be accomplished according to Listing (5).
  • FIG. 5 is a diagram illustrating one example of a radio frame 535 that may be used in accordance with the systems and methods disclosed herein.
  • This radio frame 535 structure illustrates a TDD structure.
  • Each radio frame 535 may have a length of where 'T f ' is a radio frame 535 duration and 'T s ' is a time unit equal to
  • the radio frame 535 may include two half-frames 533, each having a length of Each half-frame 533 may include five subframes 523a-e, 523f-j each having a length of
  • TDD UL/DL configurations 0-6 are given below in Table (10) (from Table 4.2-2 in 3GPP TS 36.211).
  • UL/DL configurations with both 5 millisecond (ms) and 10 ms downlink-to-uplink switch-point periodicity may be supported.
  • seven UL/DL configurations are specified in 3GPP specifications, as shown in Table (10) below.
  • Table (10) "D” denotes a downlink subframe, "S” denotes a special subframe and "U” denotes a UL subframe.
  • D indicates that the subframe is reserved for downlink transmissions
  • U indicates that the subframe is reserved for uplink transmissions
  • S indicates a special subframe with three fields: a downlink pilot time slot (DwPTS), a guard period (GP) and an uplink pilot time slot (UpPTS).
  • DwPTS downlink pilot time slot
  • GP guard period
  • UpPTS uplink pilot time slot
  • UL/DL configurations with both 5 ms and 10 ms downlink-to-uplink switch-point periodicity are supported.
  • the special subframe exists in both half-frames.
  • the special subframe exists in the first half-frame only.
  • Subframes 0 and 5 and DwPTS may be reserved for downlink transmission.
  • UpPTS and the subframe immediately following the special subframe may be reserved for uplink transmission.
  • some types of subframes 523 that may be used include a downlink subframe, an uplink subframe and a special subframe 531.
  • a downlink subframe an uplink subframe
  • a special subframe 531 In the example illustrated in Figure 5, which has a 5 ms periodicity, two standard special subframes 531a-b are included in the radio frame 535.
  • the first special subframe 531a includes a downlink pilot time slot (DwPTS) 525a, a guard period (GP) 527a and an uplink pilot time slot (UpPTS) 529a.
  • the first standard special subframe 531a is included in subframe one 523b.
  • the second standard special subframe 531b includes a downlink pilot time slot (DwPTS) 525b, a guard period (GP) 527b and an uplink pilot time slot (UpPTS) 529b.
  • the second standard special subframe 531b is included in subframe six 523g.
  • the length of the DwPTS 525a-b and UpPTS 529a-b may be given by Table 4.2-1 of 3GPP TS 36.211 (illustrated in Table (11) above) subject to the total length of each set of DwPTS 525, GP 527 and UpPTS 529 being equal to
  • Each subframe 'i' 523a-j (where 'i' denotes a subframe ranging from subframe zero 523a (e.g., 0) to subframe nine 523j (e.g., 9) in this example) is defined as two slots, '2i' and '2i+1' of length in each subframe 523.
  • subframe zero (e.g., 0) 523a may include two slots, including a first slot.
  • FIG. 5 illustrates one example of a radio frame 535 with 5 ms switch-point periodicity.
  • each half-frame 533 includes a standard special subframe 531a-b.
  • a special subframe 531 may exist in the first half-frame 533 only.
  • Subframe zero (e.g., 0) 523a and subframe five (e.g., 5) 523f and DwPTS 525a-b may be reserved for downlink transmission.
  • the UpPTS 529a-b and the subframe(s) immediately following the special subframe(s) 531a-b (e.g., subframe two 523c and subframe seven 523h) may be reserved for uplink transmission.
  • special subframes 531 may be considered DL subframes in order to determine a set of DL subframe associations that indicate UCI transmission uplink subframes of a UCI transmission cell.
  • Figure 6 is a diagram illustrating some TDD UL/DL configurations 637a-g in accordance with the systems and methods described herein. There are seven different TDD UL/DL configurations, all with different association timings.
  • Figure 6 illustrates UL/DL configuration zero 637a (e.g., "UL/DL configuration 0") with subframes 623a and subframe numbers 639a, UL/DL configuration one 637b (e.g., "UL/DL configuration 1") with subframes 623b and subframe numbers 639b, UL/DL configuration two 637c (e.g., "UL/DL configuration 2") with subframes 623c and subframe numbers 639c and UL/DL configuration three 637d (e.g., "UL/DL configuration 3") with subframes 623d and subframe numbers 639d.
  • UL/DL configuration zero 637a e.g., "UL/DL configuration 0”
  • UL/DL configuration one 637b e.g., "UL/
  • Figure 6 also illustrates UL/DL configuration four 637e (e.g., "UL/DL configuration 4") with subframes 623e and subframe numbers 639e, UL/DL configuration five 637f (e.g., "UL/DL configuration 5") with subframes 623f and subframe numbers 639f and UL/DL configuration six 637g (e.g., "UL/DL configuration 6") with subframes 623g and subframe numbers 639g.
  • UL/DL configuration four 637e e.g., "UL/DL configuration 4
  • UL/DL configuration five 637f e.g., "UL/DL configuration 5
  • 637g e.g., "UL/DL configuration 6
  • Figure 6 further illustrates PDSCH HARQ-ACK associations 641 (e.g., PDSCH HARQ-ACK feedback on PUCCH or PUSCH associations).
  • the PDSCH HARQ-ACK associations 641 may indicate HARQ-ACK reporting subframes corresponding to subframes for PDSCH transmissions (e.g., subframes in which PDSCH transmissions may be sent and/or received). It should be noted that some of the radio frames illustrated in Figure 6 have been truncated for convenience.
  • Figure 7 illustrates the association timings of a FDD cell.
  • the FDD cell may include paired downlink subframes 749 and uplink subframes 751.
  • the PDSCH HARQ-ACK associations 741 for an FDD cell are illustrated.
  • the PDSCH HARQ-ACK associations 741 may indicate HARQ-ACK reporting subframes corresponding to subframes for PDSCH transmissions (e.g., subframes in which PDSCH transmissions may be sent and/or received).
  • the PDSCH HARQ-ACK reporting may occur on a PUCCH or a PUSCH.
  • a fixed 4 ms interval may be applied to the PDSCH HARQ-ACK associations 741.
  • each of the downlink subframes 749 and uplink subframes 751 may be 1 ms. Therefore, the PDSCH HARQ-ACK transmission in subframe 'm+4' may be associated with a PDSCH transmission in subframe 'm'. Similarly, a PDSCH transmission in subframe 'n-4' may be associated with the PDSCH HARQ-ACK transmission in subframe 'n'.
  • Figure 8 illustrates the association timings of a FDD PCell 855 and a TDD SCell 857.
  • the FDD PCell 855 and the TDD SCell 857 may be configured for TDD-FDD CA with the FDD cell 855 as the PCell.
  • each of the downlink subframes 849 and uplink subframes 851 may be 1 ms, as described above in connection with Figure 7.
  • the TDD SCell 857 may be configured with an UL/DL configuration 637, as described above in connection with Figure 6. In this case, the TDD SCell 857 is configured with UL/DL configuration one 637b. However, other UL/DL configurations 637 may be used.
  • the HARQ-ACK for a PDSCH transmission in subframe 1 may be reported in subframe 5. Because both the FDD PCell 855 and the TDD SCell 857 are DL or special subframe, the FDD CA procedures can be reused.
  • the HARQ-ACK for a PDSCH transmission typically would be reported in subframe 7.
  • the TDD SCell 857 is a UL subframe
  • the FDD CA procedures may not be reused. Instead, HARQ-ACK reporting may be accomplished as described above in connection with Figure 2 and Figure 3.
  • Figure 9 illustrates the association timings of a FDD PCell 955, a first TDD SCell 957a and a second TDD SCell 957b.
  • the FDD PCell 955, the first TDD SCell 957a and the second TDD SCell 957b may be configured for TDD-FDD CA with the FDD cell 955 as the PCell.
  • each of the downlink subframes 949 and uplink subframes 951 may be 1 ms, as described above in connection with Figure 7.
  • the second TDD SCell 957b may be configured with an UL/DL configuration 637, as described above in connection with Figure 6.
  • the second TDD SCell 957b is configured with UL/DL configuration one 637b.
  • other UL/DL configurations 637 may be used.
  • the first TDD SCell 957a may be configured with dynamic UL/DL reconfiguration.
  • the first TDD SCell 957a may be an eIMTA cell.
  • the HARQ-ACK for a PDSCH transmission in subframe 3 typically would be reported in subframe 7.
  • the subframe of the first TDD SCell 957a is a flexible subframe and the subframe of the second TDD SCell 957b is a UL subframe. Therefore, the FDD CA procedures may not be reused. Instead, HARQ-ACK reporting may be accomplished as described above in connection with Figure 2 and Figure 3.
  • Figure 10 illustrates various components that may be utilized in a UE 1002.
  • the UE 1002 described in connection with Figure 10 may be implemented in accordance with the UE 102 described in connection with Figure 1.
  • the UE 1002 includes a processor 1061 that controls operation of the UE 1002.
  • the processor 1061 may also be referred to as a central processing unit (CPU).
  • Memory 1067 which may include read-only memory (ROM), random access memory (RAM), a combination of the two or any type of device that may store information, provides instructions 1063a and data 1065a to the processor 1061.
  • a portion of the memory 1067 may also include non-volatile random access memory (NVRAM).
  • Instructions 1063b and data 1065b may also reside in the processor 1061.
  • Instructions 1063b and/or data 1065b loaded into the processor 1061 may also include instructions 1063a and/or data 1065a from memory 1067 that were loaded for execution or processing by the processor 1061.
  • the instructions 1063b may be executed by the processor 1061 to implement one or more of the methods 200 and 300 described above.
  • the UE 1002 may also include a housing that contains one or more transmitters 1058 and one or more receivers 1020 to allow transmission and reception of data.
  • the transmitter(s) 1058 and receiver(s) 1020 may be combined into one or more transceivers 1018.
  • One or more antennas 1022a-n are attached to the housing and electrically coupled to the transceiver 1018.
  • the various components of the UE 1002 are coupled together by a bus system 1069, which may include a power bus, a control signal bus and a status signal bus, in addition to a data bus. However, for the sake of clarity, the various buses are illustrated in Figure 10 as the bus system 1069.
  • the UE 1002 may also include a digital signal processor (DSP) 1071 for use in processing signals.
  • DSP digital signal processor
  • the UE 1002 may also include a communications interface 1073 that provides user access to the functions of the UE 1002.
  • the UE 1002 illustrated in Figure 10 is a functional block diagram rather than a listing of specific components.
  • FIG 11 illustrates various components that may be utilized in an eNB 1160.
  • the eNB 1160 described in connection with Figure 11 may be implemented in accordance with the eNB 160 described in connection with Figure 1.
  • the eNB 1160 includes a processor 1161 that controls operation of the eNB 1160.
  • the processor 1161 may also be referred to as a central processing unit (CPU).
  • Memory 1167 which may include read-only memory (ROM), random access memory (RAM), a combination of the two or any type of device that may store information, provides instructions 1163a and data 1165a to the processor 1161. A portion of the memory 1167 may also include non-volatile random access memory (NVRAM).
  • Instructions 1163b and data 1165b may also reside in the processor 1161. Instructions 1163b and/or data 1165b loaded into the processor 1161 may also include instructions 1163a and/or data 1165a from memory 1167 that were loaded for execution or processing by the processor 1161.
  • the eNB 1160 may also include a housing that contains one or more transmitters 1117 and one or more receivers 1178 to allow transmission and reception of data.
  • the transmitter(s) 1117 and receiver(s) 1178 may be combined into one or more transceivers 1176.
  • One or more antennas 1180a-n are attached to the housing and electrically coupled to the transceiver 1176.
  • the various components of the eNB 1160 are coupled together by a bus system 1169, which may include a power bus, a control signal bus and a status signal bus, in addition to a data bus. However, for the sake of clarity, the various buses are illustrated in Figure 11 as the bus system 1169.
  • the eNB 1160 may also include a digital signal processor (DSP) 1171 for use in processing signals.
  • DSP digital signal processor
  • the eNB 1160 may also include a communications interface 1173 that provides user access to the functions of the eNB 1160.
  • the eNB 1160 illustrated in Figure 11 is a functional block diagram rather than a listing of specific components.
  • Figure 12 is a block diagram illustrating one implementation of a UE 1202 in which systems and methods for performing carrier aggregation may be implemented.
  • the UE 1202 includes transmit means 1258, receive means 1220 and control means 1224.
  • the transmit means 1258, receive means 1220 and control means 1224 may be configured to perform one or more of the functions described in connection with Figure 2, Figure 3 and Figure 10 above.
  • Figure 10 above illustrates one example of a concrete apparatus structure of Figure 12.
  • Other various structures may be implemented to realize one or more of the functions of Figure 2, Figure 3 and Figure 10.
  • a DSP may be realized by software.
  • Figure 13 is a block diagram illustrating one implementation of an eNB 1360 in which systems and methods for performing carrier aggregation may be implemented.
  • the eNB 1360 includes transmit means 1317, receive means 1378 and control means 1382.
  • the transmit means 1317, receive means 1378 and control means 1382 may be configured to perform one or more of the functions described above.
  • Figure 13 above illustrates one example of a concrete apparatus structure of Figure 11.
  • Other various structures may be implemented to realize one or more of the functions of Figure 11.
  • a DSP may be realized by software.
  • computer-readable medium refers to any available medium that can be accessed by a computer or a processor.
  • computer-readable medium may denote a computer- and/or processor-readable medium that is non-transitory and tangible.
  • a computer-readable or processor-readable medium may comprise RAM, ROM, EEPROM, CD-ROM or other optical disk storage, magnetic disk storage or other magnetic storage devices, or any other medium that can be used to carry or store desired program code in the form of instructions or data structures and that can be accessed by a computer or processor.
  • Disk and disc includes compact disc (CD), laser disc, optical disc, digital versatile disc (DVD), floppy disk and Blu-ray (registered trademark) disc where disks usually reproduce data magnetically, while discs reproduce data optically with lasers.
  • one or more of the methods described herein may be implemented in and/or performed using hardware.
  • one or more of the methods described herein may be implemented in and/or realized using a chipset, an application-specific integrated circuit (ASIC), a large-scale integrated circuit (LSI) or integrated circuit, etc.
  • ASIC application-specific integrated circuit
  • LSI large-scale integrated circuit
  • Each of the methods disclosed herein comprises one or more steps or actions for achieving the described method.
  • the method steps and/or actions may be interchanged with one another and/or combined into a single step without departing from the scope of the claims.
  • the order and/or use of specific steps and/or actions may be modified without departing from the scope of the claims.

Landscapes

  • Engineering & Computer Science (AREA)
  • Signal Processing (AREA)
  • Computer Networks & Wireless Communication (AREA)
  • Mobile Radio Communication Systems (AREA)
PCT/JP2015/000112 2014-01-10 2015-01-13 Systems and methods for carrier aggregation Ceased WO2015105057A1 (en)

Priority Applications (3)

Application Number Priority Date Filing Date Title
EP15735301.2A EP3092847A4 (en) 2014-01-10 2015-01-13 Systems and methods for carrier aggregation
CN201580003761.5A CN105874844B (zh) 2014-01-10 2015-01-13 用于载波聚合的系统和方法
JP2016544895A JP2017508343A (ja) 2014-01-10 2015-01-13 キャリアアグリゲーションためのシステムおよび方法

Applications Claiming Priority (2)

Application Number Priority Date Filing Date Title
US14/152,759 2014-01-10
US14/152,759 US9853779B2 (en) 2014-01-10 2014-01-10 Systems and methods for carrier aggregation

Publications (1)

Publication Number Publication Date
WO2015105057A1 true WO2015105057A1 (en) 2015-07-16

Family

ID=53522252

Family Applications (1)

Application Number Title Priority Date Filing Date
PCT/JP2015/000112 Ceased WO2015105057A1 (en) 2014-01-10 2015-01-13 Systems and methods for carrier aggregation

Country Status (5)

Country Link
US (1) US9853779B2 (enExample)
EP (1) EP3092847A4 (enExample)
JP (1) JP2017508343A (enExample)
CN (1) CN105874844B (enExample)
WO (1) WO2015105057A1 (enExample)

Cited By (5)

* Cited by examiner, † Cited by third party
Publication number Priority date Publication date Assignee Title
WO2017027997A1 (en) * 2015-08-14 2017-02-23 Lenovo Innovations Limited (Hong Kong) Determining hybrid automatic repeat request acknowledgment response timing for a tdd secondary cell with carrier aggregation
EP3190739A4 (en) * 2014-09-01 2018-04-25 LG Electronics Inc. Method and device for transmitting and receiving wireless signal in wireless communication system
WO2019051304A1 (en) * 2017-09-11 2019-03-14 Qualcomm Incorporated FEATURE SYNCHRONIZATION INFORMATION RESOURCE MANAGEMENT AND UPLINK CONTROL FOR CARRIER AGGREGATION ACTIVATION
JP2019510441A (ja) * 2016-03-30 2019-04-11 インターデイジタル パテント ホールディングス インコーポレイテッド Lteネットワークにおける物理チャネルでのレイテンシの低減
CN111226405A (zh) * 2017-09-08 2020-06-02 At&T知识产权一部有限合伙公司 在无线通信系统中报告混合自动重传请求确认

Families Citing this family (22)

* Cited by examiner, † Cited by third party
Publication number Priority date Publication date Assignee Title
JP6027368B2 (ja) * 2012-08-10 2016-11-16 株式会社Nttドコモ ユーザ端末、無線通信方法及び無線通信システム
KR102352394B1 (ko) * 2014-02-18 2022-01-18 엘지전자 주식회사 무선 자원의 용도 변경을 지원하는 무선 통신 시스템에서 채널 상태 정보 보고 방법 및 이를 위한 장치
JP5745121B1 (ja) * 2014-02-19 2015-07-08 株式会社Nttドコモ 移動通信システム及び移動局装置
EP3119027A4 (en) * 2014-03-10 2017-11-08 Lg Electronics Inc. Method for determining validity of signal in wireless communication system supporting usage change of radio resource, and apparatus therefor
KR102163635B1 (ko) 2014-03-21 2020-10-08 후아웨이 테크놀러지 컴퍼니 리미티드 Tdd-fdd ca를 고려한 tpc 명령 타이밍 제어 방법 및 그 장치
CN105099633B (zh) * 2014-04-25 2019-08-09 北京三星通信技术研究有限公司 物理下行共享信道的传输方法及装置
WO2015194825A1 (ko) * 2014-06-16 2015-12-23 엘지전자 주식회사 무선 통신 시스템에서 하향링크 신호 전송 방법 및 장치
US11115174B2 (en) * 2014-07-01 2021-09-07 Ntt Docomo, Inc. Base station, user terminal, radio communication system, and communication control method
WO2016010390A1 (ko) 2014-07-18 2016-01-21 삼성전자 주식회사 무선 통신 시스템에서 단말 간 통신을 위한 동기화 방법 및 장치
WO2016048110A1 (en) 2014-09-26 2016-03-31 Samsung Electronics Co., Ltd. Broadcast resource congestion control method and apparatus for use in wireless communication system
AU2015340135B2 (en) * 2014-10-31 2019-07-11 Samsung Electronics Co., Ltd. Method and apparatus for transmitting control channel in intra-cell carrier aggregation system
US9985742B2 (en) * 2015-04-06 2018-05-29 Samsung Electronics Co., Ltd. Transmission power control for an uplink control channel
US11362759B2 (en) 2015-04-06 2022-06-14 Samsung Electronics Co., Ltd. Transmission power control for an uplink control channel
US10575287B2 (en) * 2015-08-23 2020-02-25 Lg Electronics Inc. Method for transmitting PUCCH using FDD frame in wireless communication system and device therefor
JP6937202B2 (ja) * 2017-09-14 2021-09-22 シャープ株式会社 端末装置、基地局装置、および、通信方法
JP7115843B2 (ja) * 2017-12-13 2022-08-09 シャープ株式会社 端末装置、基地局装置、通信方法、および、集積回路
JP7027150B2 (ja) * 2017-12-13 2022-03-01 シャープ株式会社 端末装置、基地局装置、通信方法、および、集積回路
WO2019160809A2 (en) * 2018-02-15 2019-08-22 Sharp Laboratories Of America, Inc. Simultaneous harq-ack and sr transmission on nr pucch
US11252772B2 (en) * 2019-01-03 2022-02-15 Qualcomm Incorporated Single transmitter switching for dual connectivity
WO2021015275A1 (en) * 2019-07-24 2021-01-28 Sharp Kabushiki Kaisha Priority differentiation of sr transmissions with harq-ack codebooks of different service types
WO2021030931A1 (en) * 2019-08-16 2021-02-25 Qualcomm Incorporated Methods and apparatuses for sr and csi report
CN118828734B (zh) * 2023-07-13 2025-10-03 中国移动通信集团设计院有限公司 小区切换方法、装置、设备和存储介质

Family Cites Families (14)

* Cited by examiner, † Cited by third party
Publication number Priority date Publication date Assignee Title
CN102971981B (zh) 2010-10-28 2015-12-16 Lg电子株式会社 用于发送控制信息的方法和装置
WO2012110493A1 (en) * 2011-02-14 2012-08-23 Nokia Siemens Networks Oy Multiplexing of ack/nack and channel state information on uplink control channel
CN103444118B (zh) * 2011-03-14 2016-05-18 Lg电子株式会社 在无线通信系统中发射ack/nack的方法和设备
KR20140018977A (ko) 2011-04-29 2014-02-13 인터디지탈 패튼 홀딩스, 인크 서브프레임 제한을 갖는 반송파들의 반송파 집성
EP2720428B1 (en) * 2011-06-08 2021-12-15 LG Electronics Inc. Method and device for information transmission in wireless communication system
US20130229953A1 (en) 2011-08-16 2013-09-05 Samsung Electronics Co., Ltd. Apparatus and method for indicating synchronization signals in a wireless network
WO2013043025A2 (ko) * 2011-09-23 2013-03-28 엘지전자 주식회사 제어 정보를 전송하는 방법 및 이를 위한 장치
CN103199961A (zh) * 2012-01-06 2013-07-10 北京三星通信技术研究有限公司 一种采用发送分集技术传输harq-ack信息的方法
CN103326806B (zh) * 2012-03-19 2016-08-03 电信科学技术研究院 一种下行控制信令的传输方法及装置
US8885752B2 (en) * 2012-07-27 2014-11-11 Intel Corporation Method and apparatus for feedback in 3D MIMO wireless systems
US9967079B2 (en) * 2012-10-12 2018-05-08 Google Llc Controlling uplink power for transmission of an uplink channel and an uplink reference signal
US20140119263A1 (en) * 2012-10-26 2014-05-01 Qualcomm Incorporated Primary cell signaling for embms in carrier aggregation
KR102024132B1 (ko) * 2013-01-25 2019-09-24 삼성전자주식회사 셀 내의 캐리어 집적 시스템에서 제어 채널 전송 방법 및 장치
US9924506B2 (en) * 2013-12-19 2018-03-20 Nec Corporation Methods for inter-system carrier aggregation in advanced wireless communication systems

Non-Patent Citations (3)

* Cited by examiner, † Cited by third party
Title
LG ELECTRONICS: "Considerations on HARQ-ACK and DCI for TDD-FDD CA", 3GPP TSG RAN WG1 MEETING #75 RL-135464, November 2013 (2013-11-01), XP050735137 *
See also references of EP3092847A4 *
SHARP: "Comparison of HARQ-ACK timing approaches for eIMTA cell", 3GPP TSG RAN WG1 MEETING #74 RL-133230, August 2013 (2013-08-01), XP050716405 *

Cited By (14)

* Cited by examiner, † Cited by third party
Publication number Priority date Publication date Assignee Title
EP3190739A4 (en) * 2014-09-01 2018-04-25 LG Electronics Inc. Method and device for transmitting and receiving wireless signal in wireless communication system
WO2017027997A1 (en) * 2015-08-14 2017-02-23 Lenovo Innovations Limited (Hong Kong) Determining hybrid automatic repeat request acknowledgment response timing for a tdd secondary cell with carrier aggregation
US11272483B2 (en) 2016-03-30 2022-03-08 Interdigital Patent Holdings, Inc. Determining physical channel resources in a wireless network
JP2019510441A (ja) * 2016-03-30 2019-04-11 インターデイジタル パテント ホールディングス インコーポレイテッド Lteネットワークにおける物理チャネルでのレイテンシの低減
JP2022103438A (ja) * 2016-03-30 2022-07-07 インターデイジタル パテント ホールディングス インコーポレイテッド Lteネットワークにおける物理チャネルでのレイテンシの低減
US11737102B2 (en) 2016-03-30 2023-08-22 Interdigital Patent Holdings, Inc. Determining physical channel resources in a wireless network
US12267838B2 (en) 2016-03-30 2025-04-01 Interdigital Patent Holdings, Inc. Determining physical channel resources in a wireless network
CN111226405A (zh) * 2017-09-08 2020-06-02 At&T知识产权一部有限合伙公司 在无线通信系统中报告混合自动重传请求确认
CN111226405B (zh) * 2017-09-08 2022-08-19 At&T知识产权一部有限合伙公司 在无线通信系统中报告混合自动重传请求确认
US11564127B2 (en) 2017-09-08 2023-01-24 At&T Intellectual Property I, L.P. Reporting hybrid automatic repeat request-acknowledgements in wireless communication systems
US11019610B2 (en) 2017-09-11 2021-05-25 Qualcomm Incorporated Feedback timing and uplink control information resource management for carrier aggregation activation
WO2019051304A1 (en) * 2017-09-11 2019-03-14 Qualcomm Incorporated FEATURE SYNCHRONIZATION INFORMATION RESOURCE MANAGEMENT AND UPLINK CONTROL FOR CARRIER AGGREGATION ACTIVATION
EP4057717A1 (en) * 2017-09-11 2022-09-14 QUALCOMM Incorporated Feedback timing and uplink control information resource management for carrier aggregation activation
US11582741B2 (en) 2017-09-11 2023-02-14 Qualcomm Incorporated Feedback timing and uplink control information resource management for carrier aggregation activation

Also Published As

Publication number Publication date
US9853779B2 (en) 2017-12-26
EP3092847A4 (en) 2017-08-30
JP2017508343A (ja) 2017-03-23
CN105874844A (zh) 2016-08-17
US20150200752A1 (en) 2015-07-16
CN105874844B (zh) 2019-11-01
EP3092847A1 (en) 2016-11-16

Similar Documents

Publication Publication Date Title
CN105874844B (zh) 用于载波聚合的系统和方法
US10880065B2 (en) Systems and methods for carrier aggregation
US10063350B2 (en) Devices for sending and receiving hybrid automatic repeat request information for carrier aggregation
US9537616B2 (en) Systems and methods for subframe offset
US9602251B2 (en) Devices for reconfiguring uplink and downlink allocations in time domain duplexing wireless systems
US10389488B2 (en) Method and apparatus for transmitting ACK/NACK in wireless communication system
US9185564B2 (en) Devices for sending and receiving feedback information
US10257812B2 (en) Method for communicating in a mobile network
WO2015104767A1 (en) Enhanced pucch reporting for carrier aggregation
JP2021521673A (ja) 通信システムにおける制御情報シグナリング
WO2013187072A1 (en) Devices for sending and receiving feedback information
WO2014112377A1 (en) Systems and methods for dynamically configuring a flexible subframe
WO2014141641A1 (en) Systems and methods for feedback reporting
KR20170017225A (ko) 상향링크 제어 채널의 자원을 동적으로 할당하는 장치 및 방법
KR20170017223A (ko) 상향링크 확인응답 정보 및 주기적 채널상태정보를 동시 전송하는 장치 및 방법

Legal Events

Date Code Title Description
121 Ep: the epo has been informed by wipo that ep was designated in this application

Ref document number: 15735301

Country of ref document: EP

Kind code of ref document: A1

ENP Entry into the national phase

Ref document number: 2016544895

Country of ref document: JP

Kind code of ref document: A

NENP Non-entry into the national phase

Ref country code: DE

REEP Request for entry into the european phase

Ref document number: 2015735301

Country of ref document: EP

WWE Wipo information: entry into national phase

Ref document number: 2015735301

Country of ref document: EP