WO2015076337A1 - 吸収性物品 - Google Patents

吸収性物品 Download PDF

Info

Publication number
WO2015076337A1
WO2015076337A1 PCT/JP2014/080780 JP2014080780W WO2015076337A1 WO 2015076337 A1 WO2015076337 A1 WO 2015076337A1 JP 2014080780 W JP2014080780 W JP 2014080780W WO 2015076337 A1 WO2015076337 A1 WO 2015076337A1
Authority
WO
WIPO (PCT)
Prior art keywords
outline
wing
shaped flap
line
contour line
Prior art date
Legal status (The legal status is an assumption and is not a legal conclusion. Google has not performed a legal analysis and makes no representation as to the accuracy of the status listed.)
Ceased
Application number
PCT/JP2014/080780
Other languages
English (en)
French (fr)
Japanese (ja)
Inventor
美帆子 倉持
Current Assignee (The listed assignees may be inaccurate. Google has not performed a legal analysis and makes no representation or warranty as to the accuracy of the list.)
Daio Paper Corp
Original Assignee
Daio Paper Corp
Priority date (The priority date is an assumption and is not a legal conclusion. Google has not performed a legal analysis and makes no representation as to the accuracy of the date listed.)
Filing date
Publication date
Application filed by Daio Paper Corp filed Critical Daio Paper Corp
Priority to US15/039,239 priority Critical patent/US10258513B2/en
Priority to KR1020167015874A priority patent/KR102390577B1/ko
Priority to CN201480064324.XA priority patent/CN105764460B/zh
Priority to EP14863283.9A priority patent/EP3075365B1/en
Publication of WO2015076337A1 publication Critical patent/WO2015076337A1/ja
Anticipated expiration legal-status Critical
Ceased legal-status Critical Current

Links

Images

Classifications

    • AHUMAN NECESSITIES
    • A61MEDICAL OR VETERINARY SCIENCE; HYGIENE
    • A61FFILTERS IMPLANTABLE INTO BLOOD VESSELS; PROSTHESES; DEVICES PROVIDING PATENCY TO, OR PREVENTING COLLAPSING OF, TUBULAR STRUCTURES OF THE BODY, e.g. STENTS; ORTHOPAEDIC, NURSING OR CONTRACEPTIVE DEVICES; FOMENTATION; TREATMENT OR PROTECTION OF EYES OR EARS; BANDAGES, DRESSINGS OR ABSORBENT PADS; FIRST-AID KITS
    • A61F13/00Bandages or dressings; Absorbent pads
    • A61F13/15Absorbent pads, e.g. sanitary towels, swabs or tampons for external or internal application to the body; Supporting or fastening means therefor; Tampon applicators
    • A61F13/45Absorbent pads, e.g. sanitary towels, swabs or tampons for external or internal application to the body; Supporting or fastening means therefor; Tampon applicators characterised by the shape
    • A61F13/47Sanitary towels, incontinence pads or napkins
    • A61F13/4704Sanitary towels, incontinence pads or napkins having preferential bending zones, e.g. fold lines or grooves
    • AHUMAN NECESSITIES
    • A61MEDICAL OR VETERINARY SCIENCE; HYGIENE
    • A61FFILTERS IMPLANTABLE INTO BLOOD VESSELS; PROSTHESES; DEVICES PROVIDING PATENCY TO, OR PREVENTING COLLAPSING OF, TUBULAR STRUCTURES OF THE BODY, e.g. STENTS; ORTHOPAEDIC, NURSING OR CONTRACEPTIVE DEVICES; FOMENTATION; TREATMENT OR PROTECTION OF EYES OR EARS; BANDAGES, DRESSINGS OR ABSORBENT PADS; FIRST-AID KITS
    • A61F13/00Bandages or dressings; Absorbent pads
    • A61F13/15Absorbent pads, e.g. sanitary towels, swabs or tampons for external or internal application to the body; Supporting or fastening means therefor; Tampon applicators
    • A61F13/45Absorbent pads, e.g. sanitary towels, swabs or tampons for external or internal application to the body; Supporting or fastening means therefor; Tampon applicators characterised by the shape
    • A61F13/47Sanitary towels, incontinence pads or napkins
    • A61F13/472Sanitary towels, incontinence pads or napkins specially adapted for female use
    • A61F13/47236Sanitary towels, incontinence pads or napkins specially adapted for female use characterised by an unusual contour
    • AHUMAN NECESSITIES
    • A61MEDICAL OR VETERINARY SCIENCE; HYGIENE
    • A61FFILTERS IMPLANTABLE INTO BLOOD VESSELS; PROSTHESES; DEVICES PROVIDING PATENCY TO, OR PREVENTING COLLAPSING OF, TUBULAR STRUCTURES OF THE BODY, e.g. STENTS; ORTHOPAEDIC, NURSING OR CONTRACEPTIVE DEVICES; FOMENTATION; TREATMENT OR PROTECTION OF EYES OR EARS; BANDAGES, DRESSINGS OR ABSORBENT PADS; FIRST-AID KITS
    • A61F13/00Bandages or dressings; Absorbent pads
    • A61F13/15Absorbent pads, e.g. sanitary towels, swabs or tampons for external or internal application to the body; Supporting or fastening means therefor; Tampon applicators
    • A61F13/45Absorbent pads, e.g. sanitary towels, swabs or tampons for external or internal application to the body; Supporting or fastening means therefor; Tampon applicators characterised by the shape
    • A61F13/47Sanitary towels, incontinence pads or napkins
    • A61F13/476Sanitary towels, incontinence pads or napkins characterised by encircling the crotch region of the undergarment, e.g. with flaps
    • AHUMAN NECESSITIES
    • A61MEDICAL OR VETERINARY SCIENCE; HYGIENE
    • A61FFILTERS IMPLANTABLE INTO BLOOD VESSELS; PROSTHESES; DEVICES PROVIDING PATENCY TO, OR PREVENTING COLLAPSING OF, TUBULAR STRUCTURES OF THE BODY, e.g. STENTS; ORTHOPAEDIC, NURSING OR CONTRACEPTIVE DEVICES; FOMENTATION; TREATMENT OR PROTECTION OF EYES OR EARS; BANDAGES, DRESSINGS OR ABSORBENT PADS; FIRST-AID KITS
    • A61F13/00Bandages or dressings; Absorbent pads
    • A61F13/15Absorbent pads, e.g. sanitary towels, swabs or tampons for external or internal application to the body; Supporting or fastening means therefor; Tampon applicators
    • A61F13/51Absorbent pads, e.g. sanitary towels, swabs or tampons for external or internal application to the body; Supporting or fastening means therefor; Tampon applicators characterised by the outer layers of the pads
    • A61F13/514Backsheet, i.e. the impermeable cover or layer furthest from the skin
    • A61F13/51401Backsheet, i.e. the impermeable cover or layer furthest from the skin characterised by the material
    • AHUMAN NECESSITIES
    • A61MEDICAL OR VETERINARY SCIENCE; HYGIENE
    • A61FFILTERS IMPLANTABLE INTO BLOOD VESSELS; PROSTHESES; DEVICES PROVIDING PATENCY TO, OR PREVENTING COLLAPSING OF, TUBULAR STRUCTURES OF THE BODY, e.g. STENTS; ORTHOPAEDIC, NURSING OR CONTRACEPTIVE DEVICES; FOMENTATION; TREATMENT OR PROTECTION OF EYES OR EARS; BANDAGES, DRESSINGS OR ABSORBENT PADS; FIRST-AID KITS
    • A61F13/00Bandages or dressings; Absorbent pads
    • A61F13/15Absorbent pads, e.g. sanitary towels, swabs or tampons for external or internal application to the body; Supporting or fastening means therefor; Tampon applicators
    • A61F13/51Absorbent pads, e.g. sanitary towels, swabs or tampons for external or internal application to the body; Supporting or fastening means therefor; Tampon applicators characterised by the outer layers of the pads
    • A61F13/514Backsheet, i.e. the impermeable cover or layer furthest from the skin
    • A61F13/51474Backsheet, i.e. the impermeable cover or layer furthest from the skin characterised by its structure
    • AHUMAN NECESSITIES
    • A61MEDICAL OR VETERINARY SCIENCE; HYGIENE
    • A61FFILTERS IMPLANTABLE INTO BLOOD VESSELS; PROSTHESES; DEVICES PROVIDING PATENCY TO, OR PREVENTING COLLAPSING OF, TUBULAR STRUCTURES OF THE BODY, e.g. STENTS; ORTHOPAEDIC, NURSING OR CONTRACEPTIVE DEVICES; FOMENTATION; TREATMENT OR PROTECTION OF EYES OR EARS; BANDAGES, DRESSINGS OR ABSORBENT PADS; FIRST-AID KITS
    • A61F13/00Bandages or dressings; Absorbent pads
    • A61F13/15Absorbent pads, e.g. sanitary towels, swabs or tampons for external or internal application to the body; Supporting or fastening means therefor; Tampon applicators
    • A61F13/51Absorbent pads, e.g. sanitary towels, swabs or tampons for external or internal application to the body; Supporting or fastening means therefor; Tampon applicators characterised by the outer layers of the pads
    • A61F13/515Absorbent pads, e.g. sanitary towels, swabs or tampons for external or internal application to the body; Supporting or fastening means therefor; Tampon applicators characterised by the outer layers of the pads characterised by the interconnection of the topsheet and the backsheet
    • AHUMAN NECESSITIES
    • A61MEDICAL OR VETERINARY SCIENCE; HYGIENE
    • A61FFILTERS IMPLANTABLE INTO BLOOD VESSELS; PROSTHESES; DEVICES PROVIDING PATENCY TO, OR PREVENTING COLLAPSING OF, TUBULAR STRUCTURES OF THE BODY, e.g. STENTS; ORTHOPAEDIC, NURSING OR CONTRACEPTIVE DEVICES; FOMENTATION; TREATMENT OR PROTECTION OF EYES OR EARS; BANDAGES, DRESSINGS OR ABSORBENT PADS; FIRST-AID KITS
    • A61F13/00Bandages or dressings; Absorbent pads
    • A61F13/15Absorbent pads, e.g. sanitary towels, swabs or tampons for external or internal application to the body; Supporting or fastening means therefor; Tampon applicators
    • A61F13/53Absorbent pads, e.g. sanitary towels, swabs or tampons for external or internal application to the body; Supporting or fastening means therefor; Tampon applicators characterised by the absorbing medium
    • A61F13/539Absorbent pads, e.g. sanitary towels, swabs or tampons for external or internal application to the body; Supporting or fastening means therefor; Tampon applicators characterised by the absorbing medium characterised by the connection of the absorbent layers with each other or with the outer layers
    • AHUMAN NECESSITIES
    • A61MEDICAL OR VETERINARY SCIENCE; HYGIENE
    • A61FFILTERS IMPLANTABLE INTO BLOOD VESSELS; PROSTHESES; DEVICES PROVIDING PATENCY TO, OR PREVENTING COLLAPSING OF, TUBULAR STRUCTURES OF THE BODY, e.g. STENTS; ORTHOPAEDIC, NURSING OR CONTRACEPTIVE DEVICES; FOMENTATION; TREATMENT OR PROTECTION OF EYES OR EARS; BANDAGES, DRESSINGS OR ABSORBENT PADS; FIRST-AID KITS
    • A61F13/00Bandages or dressings; Absorbent pads
    • A61F13/15Absorbent pads, e.g. sanitary towels, swabs or tampons for external or internal application to the body; Supporting or fastening means therefor; Tampon applicators
    • A61F13/56Supporting or fastening means
    • A61F13/5605Supporting or fastening means specially adapted for sanitary napkins or the like
    • A61F13/5616Supporting or fastening means specially adapted for sanitary napkins or the like using flaps, e.g. adhesive, for attachment to the undergarment
    • AHUMAN NECESSITIES
    • A61MEDICAL OR VETERINARY SCIENCE; HYGIENE
    • A61FFILTERS IMPLANTABLE INTO BLOOD VESSELS; PROSTHESES; DEVICES PROVIDING PATENCY TO, OR PREVENTING COLLAPSING OF, TUBULAR STRUCTURES OF THE BODY, e.g. STENTS; ORTHOPAEDIC, NURSING OR CONTRACEPTIVE DEVICES; FOMENTATION; TREATMENT OR PROTECTION OF EYES OR EARS; BANDAGES, DRESSINGS OR ABSORBENT PADS; FIRST-AID KITS
    • A61F13/00Bandages or dressings; Absorbent pads
    • A61F13/15Absorbent pads, e.g. sanitary towels, swabs or tampons for external or internal application to the body; Supporting or fastening means therefor; Tampon applicators
    • A61F13/51Absorbent pads, e.g. sanitary towels, swabs or tampons for external or internal application to the body; Supporting or fastening means therefor; Tampon applicators characterised by the outer layers of the pads
    • A61F13/511Topsheet, i.e. the permeable cover or layer facing the skin
    • A61F13/51121Topsheet, i.e. the permeable cover or layer facing the skin characterised by the material
    • A61F2013/51143Topsheet, i.e. the permeable cover or layer facing the skin characterised by the material being papers
    • AHUMAN NECESSITIES
    • A61MEDICAL OR VETERINARY SCIENCE; HYGIENE
    • A61FFILTERS IMPLANTABLE INTO BLOOD VESSELS; PROSTHESES; DEVICES PROVIDING PATENCY TO, OR PREVENTING COLLAPSING OF, TUBULAR STRUCTURES OF THE BODY, e.g. STENTS; ORTHOPAEDIC, NURSING OR CONTRACEPTIVE DEVICES; FOMENTATION; TREATMENT OR PROTECTION OF EYES OR EARS; BANDAGES, DRESSINGS OR ABSORBENT PADS; FIRST-AID KITS
    • A61F13/00Bandages or dressings; Absorbent pads
    • A61F13/15Absorbent pads, e.g. sanitary towels, swabs or tampons for external or internal application to the body; Supporting or fastening means therefor; Tampon applicators
    • A61F13/51Absorbent pads, e.g. sanitary towels, swabs or tampons for external or internal application to the body; Supporting or fastening means therefor; Tampon applicators characterised by the outer layers of the pads
    • A61F13/511Topsheet, i.e. the permeable cover or layer facing the skin
    • A61F13/51121Topsheet, i.e. the permeable cover or layer facing the skin characterised by the material
    • A61F2013/51147Topsheet, i.e. the permeable cover or layer facing the skin characterised by the material being polymeric films
    • AHUMAN NECESSITIES
    • A61MEDICAL OR VETERINARY SCIENCE; HYGIENE
    • A61FFILTERS IMPLANTABLE INTO BLOOD VESSELS; PROSTHESES; DEVICES PROVIDING PATENCY TO, OR PREVENTING COLLAPSING OF, TUBULAR STRUCTURES OF THE BODY, e.g. STENTS; ORTHOPAEDIC, NURSING OR CONTRACEPTIVE DEVICES; FOMENTATION; TREATMENT OR PROTECTION OF EYES OR EARS; BANDAGES, DRESSINGS OR ABSORBENT PADS; FIRST-AID KITS
    • A61F13/00Bandages or dressings; Absorbent pads
    • A61F13/15Absorbent pads, e.g. sanitary towels, swabs or tampons for external or internal application to the body; Supporting or fastening means therefor; Tampon applicators
    • A61F13/51Absorbent pads, e.g. sanitary towels, swabs or tampons for external or internal application to the body; Supporting or fastening means therefor; Tampon applicators characterised by the outer layers of the pads
    • A61F13/514Backsheet, i.e. the impermeable cover or layer furthest from the skin
    • A61F13/51474Backsheet, i.e. the impermeable cover or layer furthest from the skin characterised by its structure
    • A61F2013/51486Backsheet, i.e. the impermeable cover or layer furthest from the skin characterised by its structure with specially shaped backsheets
    • A61F2013/51488Backsheet, i.e. the impermeable cover or layer furthest from the skin characterised by its structure with specially shaped backsheets for napkins
    • AHUMAN NECESSITIES
    • A61MEDICAL OR VETERINARY SCIENCE; HYGIENE
    • A61FFILTERS IMPLANTABLE INTO BLOOD VESSELS; PROSTHESES; DEVICES PROVIDING PATENCY TO, OR PREVENTING COLLAPSING OF, TUBULAR STRUCTURES OF THE BODY, e.g. STENTS; ORTHOPAEDIC, NURSING OR CONTRACEPTIVE DEVICES; FOMENTATION; TREATMENT OR PROTECTION OF EYES OR EARS; BANDAGES, DRESSINGS OR ABSORBENT PADS; FIRST-AID KITS
    • A61F13/00Bandages or dressings; Absorbent pads
    • A61F13/15Absorbent pads, e.g. sanitary towels, swabs or tampons for external or internal application to the body; Supporting or fastening means therefor; Tampon applicators
    • A61F13/53Absorbent pads, e.g. sanitary towels, swabs or tampons for external or internal application to the body; Supporting or fastening means therefor; Tampon applicators characterised by the absorbing medium
    • A61F13/539Absorbent pads, e.g. sanitary towels, swabs or tampons for external or internal application to the body; Supporting or fastening means therefor; Tampon applicators characterised by the absorbing medium characterised by the connection of the absorbent layers with each other or with the outer layers
    • A61F2013/5395Absorbent pads, e.g. sanitary towels, swabs or tampons for external or internal application to the body; Supporting or fastening means therefor; Tampon applicators characterised by the absorbing medium characterised by the connection of the absorbent layers with each other or with the outer layers with thermoplastic agent, i.e. softened by heat
    • AHUMAN NECESSITIES
    • A61MEDICAL OR VETERINARY SCIENCE; HYGIENE
    • A61FFILTERS IMPLANTABLE INTO BLOOD VESSELS; PROSTHESES; DEVICES PROVIDING PATENCY TO, OR PREVENTING COLLAPSING OF, TUBULAR STRUCTURES OF THE BODY, e.g. STENTS; ORTHOPAEDIC, NURSING OR CONTRACEPTIVE DEVICES; FOMENTATION; TREATMENT OR PROTECTION OF EYES OR EARS; BANDAGES, DRESSINGS OR ABSORBENT PADS; FIRST-AID KITS
    • A61F13/00Bandages or dressings; Absorbent pads
    • A61F13/15Absorbent pads, e.g. sanitary towels, swabs or tampons for external or internal application to the body; Supporting or fastening means therefor; Tampon applicators
    • A61F13/56Supporting or fastening means
    • A61F13/58Adhesive tab fastener elements
    • A61F2013/586Adhesive tab fastener elements on lateral flaps

Definitions

  • the present invention relates to an absorbent article provided with a wing-shaped flap that is used so as to be wound around the crotch portion of the underwear when being fixed to the underwear.
  • an absorbent article N such as a sanitary napkin, a panty liner, a cage sheet, an incontinence pad, for example, as shown in FIG. 10, a liquid-impermeable back sheet 50 made of a polyethylene sheet or a polyethylene laminated nonwoven fabric, for example.
  • an absorbent body 52 made of cotton-like pulp or the like is known between a non-woven fabric or a liquid-permeable surface sheet 51 made of a porous plastic sheet.
  • one or more adhesive layers 53, 53 are formed on the non-skin contact surface (outer surface) in order to prevent misalignment in the mounted state, and the length of the napkin body is long.
  • the wing-shaped flaps W, W extending outward are integrally formed on both sides in the direction, and the pressure-sensitive adhesive layer is formed on the surface (outer surface) of the wing-shaped flaps W, W on the liquid-impermeable back sheet 50 side.
  • 54 and 54 are provided (see Patent Documents 1 and 2 below).
  • the absorbent article N is applied to a locally corresponding portion of the undergarment 60, and the wing-shaped flaps W, W projecting sideways are put on the undergarment.
  • the outer wing flaps W and W are folded back at the folding lines RL and RL and adhered to the outer surface of the crotch portion of the underwear 60 so that the crotch portion of the underwear is wound, and then the underwear is worn on the body. I have to.
  • the wing part is easily bent along the crotch side edge of the underwear, and is easily and quickly fixed to the underwear.
  • An absorbent body having an absorbent layer and a leak-proof layer and a pair of wing parts provided on both sides of the absorbent body in the opposite part of the excretory part
  • An absorbent article is disclosed in which the shape of each of the pair of wing portions is asymmetric before and after a transverse line passing through the midpoint of the edge of the tip of each wing portion.
  • the wing-shaped flap W can be a very effective means for securing to the shorts.
  • the wing-shaped flap W is folded back carelessly, only a part of the wing-shaped flap W is folded back.
  • the folding line RL cannot be folded back, the folding line of the wing-shaped flap is bent at an angle, and the wing-shaped flap cannot be firmly fixed to the shorts.
  • the wing portion has a pair of front and rear edges (front outline and rear outline) and the edge of the wing tip extending from these edges (tip outline).
  • the front end side outline is formed by a straight line substantially parallel to the longitudinal direction of the napkin, and is substantially the same as the tangential direction of the rear outline at the connection portion with the rear outline. It is formed to extend in the orthogonal direction. For this reason, when moving the hand along the rear outline along the rear outline from the proximal end to the distal end, the hand can be moved only within the range of the rear outline. Further, it is necessary to change the angle at which the hand is moved to the tip side more rapidly, and thus it was not possible to continuously move the hand. Therefore, there is a problem that it is difficult to manually hold the front end side of the wing-shaped flap, and the wing-shaped flap is easily turned over due to insufficient fixing of the front end side.
  • a main problem of the present invention is to provide an absorbent article that can be firmly fixed to the underwear by placing a hand along the tip of the wing-shaped flap.
  • underwear is attached to each of both side portions of the main body portion where the absorbent body is interposed between the liquid-permeable top sheet and the liquid-impervious back sheet.
  • the wing-shaped flap includes a front outline extending outward from the main body part, a rear outline extending outward from the main body, and a front outline connecting the front outline and the rear outline.
  • the front end side outline includes a front end side outline front part extending outward from the front side outline and a front end side outline rear part extending outward from the rear outline, and the front side outline front And the intersection of the rear end portion of the front end side line forms the outermost end in the width direction of the wing-shaped flap, and the length of the absorbent article between the end portion of the front outer shape line and the end portion of the rear outer shape line
  • An absorbent article is provided that is located in front of a center point in the direction length.
  • the planar shape of the wing-shaped flap has a front end side outline connecting the front outer outline and the rear outer outline, and the front end outline is connected to the front end of the front end outline. And the intersection of the front end side contour line front portion and the front end side contour line rear portion forms the outermost end in the width direction of the wing-shaped flap, and the front side contour line It is set as the shape located in the front side from the center point of the longitudinal direction length of an absorbent article with an edge part and the edge part of the said rear side outline.
  • the absorbent article according to claim 1 wherein the front outline is a wavy line, a curve, or a combination thereof.
  • the rigidity of the front side of the wing-shaped flap can be increased, so when the wing-shaped flap is folded back, It will be able to be worn without wrinkles or twists.
  • FIG. FIG. 3 is a view taken along line III-III in FIG. It is a principal part enlarged plan view of the wing-shaped flap W.
  • FIG. It is a top view which shows the modification of the wing-shaped flap W which concerns on this invention. It is a top view which shows the modification of the wing-shaped flap W which concerns on this invention.
  • FIG. (A) is a case of a conventional wing-shaped flap
  • (B) is a case of a wing-shaped flap according to the present invention.
  • the mechanism of action force when the wing-shaped flap W is folded back is shown.
  • (A) is a case of a conventional wing-shaped flap
  • (B) is a case of a wing-shaped flap according to the present invention.
  • the sanitary napkin 1 has a liquid-impervious back sheet 2 made of a polyethylene sheet, a polypropylene sheet, etc.
  • the liquid surface sheet 3 the absorbent body 4 made of cotton-like pulp or synthetic pulp interposed between the two sheets 2 and 3, and the absorbent body 4 for maintaining the shape of the absorbent body 4 and improving the diffusibility.
  • Crepe paper 5 surrounding the sheet a second sheet 6 made of a hydrophilic non-woven fabric interposed between the liquid-permeable surface sheet 3 and the crepe paper 5, and sides formed along the longitudinal direction on both sides of the surface. It is comprised from the nonwoven fabric 7,7.
  • the outer edge portions of the liquid-impervious back sheet 2 and the liquid-permeable surface sheet 3 are joined by an adhesive such as hot melt or an adhesive means such as heat seal.
  • the liquid-impervious back sheet 2 and the side nonwoven fabric 7 that extend laterally from the absorbent body 4 at both side edges thereof are bonded to each other by an adhesive such as hot melt or an adhesive means such as heat seal.
  • the structure of the sanitary napkin 1 will be described in detail.
  • a sheet material having at least water shielding properties such as an olefin resin sheet such as polyethylene or polypropylene is used.
  • a laminated nonwoven fabric obtained by laminating a nonwoven fabric on a polyethylene sheet or the like, or A nonwoven fabric sheet (in this case, the waterproof film and the nonwoven fabric constitute a liquid-impervious back sheet) can be used after substantially impervious to liquid imperviousness by interposing a waterproof film.
  • those having moisture permeability tend to be used from the viewpoint of preventing stuffiness.
  • This water- and moisture-permeable sheet material is a microporous sheet obtained by forming a sheet by melting and kneading an inorganic filler in an olefin resin such as polyethylene or polypropylene, and then stretching in a uniaxial or biaxial direction. It is.
  • the liquid-permeable surface sheet 3 is preferably a porous or non-porous nonwoven fabric or a porous plastic sheet.
  • the material fibers constituting the nonwoven fabric include synthetic fibers such as polyethylene or polypropylene, synthetic fibers such as polyester and polyamide, recycled fibers such as rayon and cupra, and natural fibers such as cotton.
  • a nonwoven fabric obtained by an appropriate processing method such as a lace method, a spun bond method, a thermal bond method, a melt blown method, or a needle punch method can be used.
  • the spunlace method is excellent in terms of flexibility and drapeability
  • the thermal bond method is excellent in terms of being bulky and soft.
  • the absorbent body 4 interposed between the liquid-impervious back sheet 2 and the liquid-permeable top sheet 3 is composed of, for example, fluffy pulp and a water-absorbing polymer.
  • the water-absorbing polymer is mixed in the pulp constituting the absorber, for example, as granular powder.
  • the pulp include chemical fibers obtained from wood, cellulose fibers such as dissolved pulp, and artificial cellulose fibers such as rayon and acetate.
  • Softwood pulp having a longer fiber length than hardwood pulp functions and It is preferably used in terms of price.
  • the second sheet 6 made of a hydrophilic non-woven fabric interposed between the liquid-permeable surface sheet 3 and the crepe paper 5 is made of, for example, synthetic fibers such as olefin-based, polyester-based, and polyamide-based fibers such as polyethylene or polypropylene, and rayon.
  • synthetic fibers such as olefin-based, polyester-based, and polyamide-based fibers such as polyethylene or polypropylene, and rayon.
  • Synthetic fibers can be made to swell or become porous by a method such as partially dissolving the surface to make it porous and depositing metal hydroxide, etc., and applying capillary action to impart hydrophilicity.
  • side non-woven fabrics 7 and 7 are provided on both sides of the sanitary napkin 1 along the longitudinal direction and almost the entire length of the napkin 1, respectively.
  • Wing-like flaps W, W are formed by a part of the liquid-impervious back sheet 2 that extends sideways and also extends sideways. The wing-shaped flap W will be described in detail later.
  • a water-repellent treated nonwoven fabric or a hydrophilic treated nonwoven fabric can be used from the viewpoint of important functions. For example, if importance is placed on functions such as preventing permeation of menstrual blood or vaginal discharge, or enhancing the touch feeling, water repellent treatment coated with silicon, paraffin or alkylchromic chloride water repellent It is desirable to use a nonwoven fabric.
  • a method of polymerizing a compound having a hydrophilic group for example, an oxidation product of polyethylene glycol, in the process of producing a synthetic fiber, ,
  • a metal salt such as stannic chloride
  • partially dissolving the surface to make it porous and depositing metal hydroxides to swell or make the synthetic fiber porous, applying capillary action to make it hydrophilic
  • the hydrophilic treatment nonwoven fabric which gave is used.
  • the non-skin contact surface of the main body part in which the absorbent body 4 is interposed between the liquid-permeable top sheet 3 and the liquid-impervious back sheet 2 is for fixing to the underwear.
  • a wings prevention adhesive layer 9 is formed on the surface of the wing-shaped flaps W, W on the liquid-impermeable back sheet 2 side, and the wings prevention adhesive layers 9, 9 are not shown. Covered with a release material.
  • the release material is formed by joining the release material for the main body and the release material for wings arranged in the transverse direction at an intersection so that the release material can be removed with a single peeling operation.
  • W and W may be so-called belly folds that fold to the liquid-permeable topsheet 3 side in the individual packaging state, or may be so-called back folds that fold to the liquid-impermeable backsheet 2 side.
  • a release treatment liquid such as a silicone resin, a fluorine resin, or a tetrafluoroethylene resin is applied to the contact surfaces with respect to the anti-displacement adhesive layers 8 and 9, or spray coating is performed.
  • a release-treated paper or plastic sheet can be used.
  • a styrenic polymer for example, a styrenic polymer, a tackifier, or a plasticizer that is a main component is preferably used.
  • the styrenic polymer include styrene-ethylene-butylene-styrene block copolymers, styrene-butylene-styrene block copolymers, and styrene-isobutylene-styrene copolymers. It may be used or two or more polymer blends. Of these, a styrene-ethylene-butylene-styrene block copolymer is preferred because of its good thermal stability.
  • tackifier and plasticizer those that are solid at room temperature can be preferably used.
  • the tackifier include C5 petroleum resins, C9 petroleum resins, dicyclopentadiene petroleum resins, and rosin petroleum resins.
  • Polyterpene resin, terpene phenol resin, etc., and examples of the plasticizer include monomer plasticizers such as trifresil phosphate, dibutyl phthalate, dioctyl phthalate, and polymer plasticizers such as vinyl polymers and polyesters. It is done.
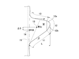
  • the wing-shaped flap W includes a front outline 10 extending outward from the main body portion, a rear outline 11 extending outward from the main portion, and the front outline 10. And an outer shape composed of a front end side outline 12 connecting the rear outline 11.
  • the front end side outline 12 includes a front end side outline front part 12a extending outward from the end A of the front side outline 10, and a front end side outline extending outward from the end C of the rear outline 11.
  • the rear part 12b is comprised. As shown in FIG. 4, the end A of the front outline 10 and the end C of the rear outline 11 are straight lines when the front outline 10 or the rear outline 11 is formed as a straight line.
  • the front outline 10 or the rear outline 11 is formed by a wavy line consisting of a combination of a convex curve and a concave curve, refers to the part away from the tangent line connecting the tops of the convex curves,
  • the front outer shape line 10 or the rear outer shape line 11 is formed as a curve, it indicates a portion where a curve where the radius of curvature suddenly decreases or the position of the center of curvature changes abruptly starts.
  • the intersection B between the front end side outline front portion 12a and the front end side outline rear portion 12b constitutes the outermost end in the width direction of the wing-shaped flap W.
  • the outermost end in the width direction of the wing-shaped flap W is a front end portion in the width direction in which the outline of the wing-shaped flap W is in contact with the napkin longitudinal direction line M on the outermost side.
  • intersection B is located on the front side of the napkin from the center point (K / 2) of the length K in the napkin longitudinal direction between the end A of the front outline 10 and the end C of the rear outline 11. Yes. That is, as shown in FIG. 4, when the longitudinal lengths of the napkins of AB and BC are a and b, respectively, a ⁇ b may be satisfied, but preferably a: b is 1: 1.5 to 1: It is preferable to provide the point B at a position where it is about 3.
  • FIG. 4 shows the outer side of line AC which ties the edge part A of the front side outline 10 and the edge part C of the back side outline 11 will be shown.
  • An outer bulging portion having the apex at the widthwise outer end B of the wing-shaped flap W biased to the front side of the napkin from the middle point is formed.
  • the triangle ABC is a basic shape
  • the side AB and the side BC are each configured by a curve, a straight line, or a combination thereof.
  • the sides AB and BC are each configured by curves that bulge outward.
  • the outer end on the front end side extends outward and obliquely forward toward the outer end B in the width direction of the wing-shaped flap W outside the end C of the rear outer contour line 11.
  • a line rear portion 12b is provided.
  • the wing-shaped flap W By making the wing-shaped flap W into such a shape, when the wing-shaped flap W is folded when the napkin is attached, the wing-shaped flap W can be folded back along the almost entire width of the wing-shaped flap W. Can be firmly fixed to the underwear. Specifically, as described in detail later, when the wing-shaped flap W is folded, as shown in FIG. 8 (B), the rear outline 11 of the wing-shaped flap W is moved from the proximal side to the distal direction. In the case of the conventional isosceles trapezoidal wing-shaped flap W, the length of the rear outline from the wing base end side to the tip end side is short, and the tip end side is further moved.
  • the outline is formed by a straight line substantially parallel to the longitudinal direction of the napkin, there is a structural defect that it is difficult to move the hand up to the distal end side outline. For this reason, the wing-shaped flap cannot be properly folded at the normal folding position, and the wing-shaped flap may not be securely attached to the underwear. In particular, there is a problem in that the tip of the wing-shaped flap, which is difficult to reach along the hand, is easily peeled off.
  • the hand when the wing-shaped flap W is folded back, the hand is moved forward along the rear outline 11 and the front outline rear 12b.
  • the wing-shaped flap when the wing-shaped flap is folded back by hand, the wing-shaped flap can be worn in a proper state, and the hand can be placed up to the tip of the wing-shaped flap W, so that it can be firmly attached to the underwear.
  • a straight line BC front end outline rear part 12 b connecting the end C of the rear outline 11 and the outermost end B in the width direction of the wing-shaped flap W, and the rear outline 11 Is preferably about 115 ° ⁇ ⁇ ⁇ 160 °.
  • the front end side outline front part 12a and the front end side outline rear part 12b can be curved lines that bulge outward.
  • the rear end 12b of the front end side With a curved line, the outer line from the end C of the rear outer line 11 to the outermost end B in the width direction of the wing-shaped flap W is connected by a smooth curve.
  • the front end side outline front part 12a With a curved line, the end A of the front side outline 10 to the outermost end B in the width direction of the wing-shaped flap W are connected by a smooth curve. It becomes possible to prevent the part from being turned over.
  • the rear outline 11 is preferably formed by a straight line or a curve that bulges slightly outward in order to make it easier for the hands to follow when the wing-shaped flap W is folded back. If the rear outline 11 is a wavy line or a curved line that bulges outward, when the hand is moved along the rear outline 11, a finger will be caught by the irregularities or curve of the wavy line. It is not preferable.
  • the distal end side outline rear part 12b can also be constituted by a straight line. As a result, it is easy to place the hand linearly also at the rear end portion 12b on the front end side.
  • the connection part (C) of the front end side outline rear part 12b and the rear side outline 11 it is desirable to connect with a gentle curve so that a corner
  • the front outline 10 can be formed by a wavy line, a curve, or a combination thereof, as shown in FIG.
  • the wavy line is composed of a combination of a convex curve 10b and a concave curve 10a.
  • the wavy line is a line passing through the central portion of the convex curve 10b and the concave curve 10a.
  • One or more convex portions and concave portions are formed.
  • the curve is preferably a curve that bulges outward, but may be a curve that bulges inward.
  • the front side outline 10 is formed by a wavy line, a curve, or a combination thereof, and the front side Since the wavy line or curve is provided in a series of continuous shapes from the outer shape line 10 to the front end side outer shape line front portion 12a, the effect of using the front outer shape line 10 as a wavy line or the like is more easily exhibited.
  • the outer contour line of the wing-shaped flap W shown in FIG. 6 will be described in more detail.
  • the front outer contour line 10 is formed by a wavy line composed of a convex curve 10b and a concave curve 10a, and from a curve connected to the side edge of the main body portion.
  • a concave curve 10a is provided so as to extend, a convex curve 10b and a concave curve 10a are provided on the outer side thereof, and a distal end side outer shape so as to extend from the top (A) of the convex curve 10b provided on the outer side thereof.
  • An arc that bulges outside the line front portion 12a starts and extends to point B.
  • the front end side outline front portion 12 a is formed by an arc having a single radius of curvature Ra, and the center of curvature is located on a napkin width direction line passing through the point B.
  • the curvature radius Ra is preferably about 10 mm to 20 mm.
  • the rear outline 11 is formed by a straight line connected to the side edge of the main body portion by a curve, and starts a curve that bulges outside the distal end outline rear part 12b with the end C as a boundary. It extends to.
  • the distal end side outline rear portion 12b is configured by a combination of arcs having a plurality of curvature radii, and at the connection portion with the point B, the arc component of the curvature radius Rb where the center of curvature is located on the napkin width direction line passing through the point B. have.
  • the curvature radius Rb is preferably about 70 mm to 120 mm.
  • the shape of the wing-shaped flap W is more than the angle ⁇ formed by the width direction line of the sanitary napkin 1 and the front outline 10.
  • the angle ⁇ formed by the width direction line of the napkin 1 and the rear outline 11 is set larger, and the center of gravity 13 of the wing-shaped flap W is the center of the joint line 15 between the root of the wing-shaped flap W and the main body portion. It is preferable to deviate forward from the point 14 by ⁇ S.
  • the front outline 10, the rear outline 11 and the tip outline 12 do not have to be straight lines, and may be wavy lines, curves, or combinations thereof. In this case, the angles ⁇ and ⁇ may have a gradient formed by the center line of these wavy or curved outlines.
  • An angle ⁇ formed between the width direction line of the sanitary napkin 1 and the front outer shape line 10 is set to about 0 to 20 °, and an angle ⁇ formed between the width direction line of the sanitary napkin 1 and the rear outer shape line 11. Is preferably about 20 to 45 °.
  • the angle ⁇ formed by the width direction line of the sanitary napkin 1 and the front outer shape line 10, the width direction line of the sanitary napkin 1 and the rear side The angle difference with the angle ⁇ formed with the outline 11 is preferably 25 ° or more. When this angle difference is 25 ° or more, a sufficient eccentric distance ⁇ S can be secured, and when the wing-shaped flap W is folded, the wing-shaped flap is folded by hand while moving the hand forward as described later. However, it will be able to be worn in the correct state.
  • the wing-shaped flap W By making the wing-shaped flap W into the outer shape as described above, the wing-shaped flap can be easily folded back and adhered properly at the regular folding position without causing problems such as adhesion between adhesives or erroneous adhesion. At the same time, it is possible to bring advantages such as being able to attach the hand to the tip of the wing-shaped flap W and firmly attach it to the underwear. This point will be further described in detail by comparison with a conventional isosceles trapezoidal wing-shaped flap W (see FIG. 10).
  • the shorts 20 is lowered and lowered, so that the napkin 1 is located in front of the body as shown in FIG. Will be installed.
  • FIG. 8 (A) In the case of a conventional isosceles trapezoidal wing-shaped flap W, as shown in FIG. 8 (A), a structure that cannot be mounted successfully unless the wing-shaped flap is folded back from the state where hands are attached to both sides of the napkin. It has become. However, because the wearing position is on the front side of the body, if you are not careful, the action of moving your hand to the front side (Fig. 8 (B)) will enter, and only a part of the wing-shaped flap will be folded back, Adhesives are bonded to each other and wrinkles and bulges are formed, and there are problems such as erroneous adhesion in which the wing-shaped flap W is folded back and bonded to the adhesive layer.
  • the folding line of the wing-shaped flap may be bent at an angle. Therefore, in the present invention, as shown in FIG. 8 (B), when the wing-shaped flap W is folded, even if the wing-shaped flap is folded by hand while moving the hand to the front side, it is exactly legitimate.
  • the wing shape is such that it can be mounted in a state and the hand can be placed to the tip of the wing-shaped flap W.
  • FIG. 9 (A) shows the action force mechanism when folding back the conventional isosceles trapezoidal wing-shaped flap W.
  • a load acting downward from the rear outline of the wing-shaped flap W to the tip side acts, and assuming a concentrated load ⁇ P that summarizes these distributed loads, the base point of the moment generated by this concentrated load ⁇ P is It becomes the center point 14 of the joint line 15 of the wing-shaped flap, and twisting occurs when the wing-shaped flap W is folded back, and the fold line 16 gradually progressing from the base end of the rear outline 11 is inclined outward. become.
  • FIG. 9 (B) it is assumed that a downward load acts on the central portion of the inclined rear outline 11 and these distributed loads are summarized.
  • the base point of the moment generated by this concentrated load ⁇ P is the center-of-gravity dividing point 13 ′ shifted to the front side of the center point 14 of the joint line 15 of the wing-shaped flap (almost 1: 2 division point of the joint line 15). Therefore, the folding line 16 gradually progressing from the base end of the rear outline 11 coincides with the joining line 15 and is folded at the regular folding position. become.
  • the flap is folded back by tracing the outline of the rear side of the flap from the rear outline 11 to the rear outline 12b. For this reason, the folding line 16 gradually proceeds gradually from the base end of the rear outline 11 toward the front side.
  • the wrap-shaped line RL can be formed without causing problems such as adhesion between adhesives or erroneous adhesion to the wing-shaped flap W. It will be folded.
  • the protruding length L of the wing-shaped flap W is 40 to 50 mm, preferably longer than half the crotch width of the shorts 20. By making it longer than half of the crotch width of the shorts 20, it is possible to firmly fix the shorts to the shorts.
  • the wings-stopping adhesive layer 9 provided on the back side of the wing-shaped flap W is such that the longitudinal width of the napkin 1 is narrower at the distal end side SL than at the proximal end side NL.
  • SYMBOLS 1 Sanitary napkin, 2 ... Liquid impervious back sheet, 3 ... Liquid permeable top sheet, 4 ... Absorber, 5 ... Crepe paper, 6 ... Second sheet, 7 ... Side nonwoven fabric, 8 ... Main body slip prevention adhesive Layer, 9 ... Wingsling prevention adhesive layer, 10 ... front side outline, 11 ... rear side outline, 12 ... tip side outline, 12a ... tip side outline front, 12b ... tip side outline rear, A ... End of front outline 10, B: outermost end in width direction of wing-shaped flap W, C: end of rear outline 11, W: Wing-shaped flap

Landscapes

  • Health & Medical Sciences (AREA)
  • Epidemiology (AREA)
  • Engineering & Computer Science (AREA)
  • Biomedical Technology (AREA)
  • Heart & Thoracic Surgery (AREA)
  • Vascular Medicine (AREA)
  • Life Sciences & Earth Sciences (AREA)
  • Animal Behavior & Ethology (AREA)
  • General Health & Medical Sciences (AREA)
  • Public Health (AREA)
  • Veterinary Medicine (AREA)
  • Dermatology (AREA)
  • Absorbent Articles And Supports Therefor (AREA)
PCT/JP2014/080780 2013-11-25 2014-11-20 吸収性物品 Ceased WO2015076337A1 (ja)

Priority Applications (4)

Application Number Priority Date Filing Date Title
US15/039,239 US10258513B2 (en) 2013-11-25 2014-11-20 Absorbent article
KR1020167015874A KR102390577B1 (ko) 2013-11-25 2014-11-20 흡수성 물품
CN201480064324.XA CN105764460B (zh) 2013-11-25 2014-11-20 吸收性物品
EP14863283.9A EP3075365B1 (en) 2013-11-25 2014-11-20 Absorbent article

Applications Claiming Priority (2)

Application Number Priority Date Filing Date Title
JP2013-242628 2013-11-25
JP2013242628A JP6005027B2 (ja) 2013-11-25 2013-11-25 吸収性物品

Publications (1)

Publication Number Publication Date
WO2015076337A1 true WO2015076337A1 (ja) 2015-05-28

Family

ID=53179597

Family Applications (1)

Application Number Title Priority Date Filing Date
PCT/JP2014/080780 Ceased WO2015076337A1 (ja) 2013-11-25 2014-11-20 吸収性物品

Country Status (6)

Country Link
US (1) US10258513B2 (enExample)
EP (1) EP3075365B1 (enExample)
JP (1) JP6005027B2 (enExample)
KR (1) KR102390577B1 (enExample)
CN (1) CN105764460B (enExample)
WO (1) WO2015076337A1 (enExample)

Families Citing this family (14)

* Cited by examiner, † Cited by third party
Publication number Priority date Publication date Assignee Title
JP6668011B2 (ja) * 2015-07-31 2020-03-18 大王製紙株式会社 吸収性物品
ES3028346T3 (en) 2017-05-12 2025-06-18 Procter & Gamble Feminine hygiene article
EP3621572A1 (en) 2017-05-12 2020-03-18 The Procter and Gamble Company Feminine hygiene article
WO2018209234A1 (en) * 2017-05-12 2018-11-15 The Procter & Gamble Company Feminine hygiene article
HUE069918T2 (hu) * 2017-05-12 2025-04-28 Procter & Gamble Nõi higiéniai termék
CN110545773B (zh) 2017-05-17 2021-09-24 宝洁公司 用于将印刷在热敏吸收制品组件上的墨干燥的方法和设备
USD1097144S1 (en) * 2017-05-30 2025-10-07 Rachel R. Doolittle Feminine hygiene pad pocket and removable insert
AU2017422275B2 (en) * 2017-07-07 2021-05-13 Essity Hygiene And Health Aktiebolag Absorbent article and method for manufacturing an absorbent article
ES2955284T3 (es) * 2017-07-07 2023-11-29 Essity Hygiene & Health Ab Artículo absorbente y método para fabricar un artículo absorbente
USD902394S1 (en) 2018-07-02 2020-11-17 The Procter & Gamble Company Sanitary napkin
USD917692S1 (en) * 2019-03-19 2021-04-27 Johnson & Johnson Consumer Inc. Absorbent article
USD919084S1 (en) 2019-03-19 2021-05-11 Johnson & Johnson Consumer Inc. Absorbent article
USD978342S1 (en) * 2019-09-06 2023-02-14 Kimberly-Clark Worldwide, Inc. Feminine pad
MX2022007098A (es) 2019-12-13 2022-07-11 Essity Hygiene & Health Ab Articulo sanitario que tiene alas de sujecion asimetricas.

Citations (5)

* Cited by examiner, † Cited by third party
Publication number Priority date Publication date Assignee Title
JP2003111799A (ja) 2001-10-03 2003-04-15 Daio Paper Corp 吸収性物品
JP2004113590A (ja) 2002-09-27 2004-04-15 Daio Paper Corp 吸収性物品
JP2008012098A (ja) 2006-07-06 2008-01-24 Kao Corp 吸収性物品
JP2013176695A (ja) * 2013-06-25 2013-09-09 Daio Paper Corp 吸収性物品
JP2013220225A (ja) * 2012-04-17 2013-10-28 Kao Corp 吸収性物品

Family Cites Families (6)

* Cited by examiner, † Cited by third party
Publication number Priority date Publication date Assignee Title
US6569138B2 (en) 2000-04-13 2003-05-27 Sca Hygiene Products Ab Sanitary napkin
US20050124959A1 (en) * 2003-12-09 2005-06-09 Kimberly-Clark Worldwide, Inc. Absorbent articles with asymmetric protective wing portions
JP2009125430A (ja) * 2007-11-27 2009-06-11 Daio Paper Corp 吸収性物品
JP5059899B2 (ja) * 2010-03-29 2012-10-31 大王製紙株式会社 吸収性物品の製造方法
JP5856789B2 (ja) * 2011-09-30 2016-02-10 大王製紙株式会社 吸収性物品
KR102000311B1 (ko) * 2011-10-31 2019-07-15 다이오 페이퍼 코퍼레이션 흡수성 물품

Patent Citations (5)

* Cited by examiner, † Cited by third party
Publication number Priority date Publication date Assignee Title
JP2003111799A (ja) 2001-10-03 2003-04-15 Daio Paper Corp 吸収性物品
JP2004113590A (ja) 2002-09-27 2004-04-15 Daio Paper Corp 吸収性物品
JP2008012098A (ja) 2006-07-06 2008-01-24 Kao Corp 吸収性物品
JP2013220225A (ja) * 2012-04-17 2013-10-28 Kao Corp 吸収性物品
JP2013176695A (ja) * 2013-06-25 2013-09-09 Daio Paper Corp 吸収性物品

Also Published As

Publication number Publication date
EP3075365A1 (en) 2016-10-05
CN105764460B (zh) 2019-12-17
US20160361210A1 (en) 2016-12-15
KR20160090320A (ko) 2016-07-29
KR102390577B1 (ko) 2022-04-25
EP3075365A4 (en) 2017-05-24
JP2015100502A (ja) 2015-06-04
JP6005027B2 (ja) 2016-10-12
CN105764460A (zh) 2016-07-13
EP3075365B1 (en) 2019-07-03
US10258513B2 (en) 2019-04-16

Similar Documents

Publication Publication Date Title
JP6005027B2 (ja) 吸収性物品
JP2015100502A5 (enExample)
CN101878011B (zh) 吸收性物品
JP2009125430A5 (enExample)
JP5856789B2 (ja) 吸収性物品
JP6031444B2 (ja) 吸収性物品
CN109475453B (zh) 吸收性物品
JP5832164B2 (ja) 吸収性物品
JP2008161250A (ja) 吸収性物品
JP5059899B2 (ja) 吸収性物品の製造方法
JP5826216B2 (ja) 吸収性物品
JP5306419B2 (ja) 吸収性物品
JP2017080244A (ja) 吸収性物品
JP6151510B2 (ja) 吸収性物品
JP2013121462A5 (enExample)
JP5876243B2 (ja) 吸収性物品
JP5968641B2 (ja) 吸収性物品
JP7286371B2 (ja) 吸収性物品
JP6668011B2 (ja) 吸収性物品
JP2019058427A (ja) 吸収性物品

Legal Events

Date Code Title Description
121 Ep: the epo has been informed by wipo that ep was designated in this application

Ref document number: 14863283

Country of ref document: EP

Kind code of ref document: A1

NENP Non-entry into the national phase

Ref country code: DE

WWE Wipo information: entry into national phase

Ref document number: 15039239

Country of ref document: US

REEP Request for entry into the european phase

Ref document number: 2014863283

Country of ref document: EP

WWE Wipo information: entry into national phase

Ref document number: 2014863283

Country of ref document: EP

ENP Entry into the national phase

Ref document number: 20167015874

Country of ref document: KR

Kind code of ref document: A