WO2014087608A1 - ヘッドアップディスプレイ装置 - Google Patents

ヘッドアップディスプレイ装置 Download PDF

Info

Publication number
WO2014087608A1
WO2014087608A1 PCT/JP2013/006961 JP2013006961W WO2014087608A1 WO 2014087608 A1 WO2014087608 A1 WO 2014087608A1 JP 2013006961 W JP2013006961 W JP 2013006961W WO 2014087608 A1 WO2014087608 A1 WO 2014087608A1
Authority
WO
WIPO (PCT)
Prior art keywords
reflection
image
virtual image
reflection surface
display light
Prior art date
Legal status (The legal status is an assumption and is not a legal conclusion. Google has not performed a legal analysis and makes no representation as to the accuracy of the status listed.)
Ceased
Application number
PCT/JP2013/006961
Other languages
English (en)
French (fr)
Japanese (ja)
Inventor
孝啓 南原
Current Assignee (The listed assignees may be inaccurate. Google has not performed a legal analysis and makes no representation or warranty as to the accuracy of the list.)
Denso Corp
Original Assignee
Denso Corp
Priority date (The priority date is an assumption and is not a legal conclusion. Google has not performed a legal analysis and makes no representation as to the accuracy of the date listed.)
Filing date
Publication date
Application filed by Denso Corp filed Critical Denso Corp
Priority to US14/650,011 priority Critical patent/US9423616B2/en
Priority to KR1020157014730A priority patent/KR101681856B1/ko
Priority to DE112013005835.9T priority patent/DE112013005835B4/de
Publication of WO2014087608A1 publication Critical patent/WO2014087608A1/ja
Anticipated expiration legal-status Critical
Ceased legal-status Critical Current

Links

Images

Classifications

    • GPHYSICS
    • G02OPTICS
    • G02BOPTICAL ELEMENTS, SYSTEMS OR APPARATUS
    • G02B27/00Optical systems or apparatus not provided for by any of the groups G02B1/00 - G02B26/00, G02B30/00
    • G02B27/01Head-up displays
    • G02B27/0101Head-up displays characterised by optical features
    • BPERFORMING OPERATIONS; TRANSPORTING
    • B60VEHICLES IN GENERAL
    • B60KARRANGEMENT OR MOUNTING OF PROPULSION UNITS OR OF TRANSMISSIONS IN VEHICLES; ARRANGEMENT OR MOUNTING OF PLURAL DIVERSE PRIME-MOVERS IN VEHICLES; AUXILIARY DRIVES FOR VEHICLES; INSTRUMENTATION OR DASHBOARDS FOR VEHICLES; ARRANGEMENTS IN CONNECTION WITH COOLING, AIR INTAKE, GAS EXHAUST OR FUEL SUPPLY OF PROPULSION UNITS IN VEHICLES
    • B60K35/00Instruments specially adapted for vehicles; Arrangement of instruments in or on vehicles
    • B60K35/20Output arrangements, i.e. from vehicle to user, associated with vehicle functions or specially adapted therefor
    • B60K35/21Output arrangements, i.e. from vehicle to user, associated with vehicle functions or specially adapted therefor using visual output, e.g. blinking lights or matrix displays
    • B60K35/23Head-up displays [HUD]
    • B60K35/235Head-up displays [HUD] with means for detecting the driver's gaze direction or eye points
    • BPERFORMING OPERATIONS; TRANSPORTING
    • B60VEHICLES IN GENERAL
    • B60KARRANGEMENT OR MOUNTING OF PROPULSION UNITS OR OF TRANSMISSIONS IN VEHICLES; ARRANGEMENT OR MOUNTING OF PLURAL DIVERSE PRIME-MOVERS IN VEHICLES; AUXILIARY DRIVES FOR VEHICLES; INSTRUMENTATION OR DASHBOARDS FOR VEHICLES; ARRANGEMENTS IN CONNECTION WITH COOLING, AIR INTAKE, GAS EXHAUST OR FUEL SUPPLY OF PROPULSION UNITS IN VEHICLES
    • B60K35/00Instruments specially adapted for vehicles; Arrangement of instruments in or on vehicles
    • B60K35/60Instruments characterised by their location or relative disposition in or on vehicles
    • BPERFORMING OPERATIONS; TRANSPORTING
    • B60VEHICLES IN GENERAL
    • B60KARRANGEMENT OR MOUNTING OF PROPULSION UNITS OR OF TRANSMISSIONS IN VEHICLES; ARRANGEMENT OR MOUNTING OF PLURAL DIVERSE PRIME-MOVERS IN VEHICLES; AUXILIARY DRIVES FOR VEHICLES; INSTRUMENTATION OR DASHBOARDS FOR VEHICLES; ARRANGEMENTS IN CONNECTION WITH COOLING, AIR INTAKE, GAS EXHAUST OR FUEL SUPPLY OF PROPULSION UNITS IN VEHICLES
    • B60K2360/00Indexing scheme associated with groups B60K35/00 or B60K37/00 relating to details of instruments or dashboards
    • B60K2360/20Optical features of instruments
    • B60K2360/23Optical features of instruments using reflectors
    • BPERFORMING OPERATIONS; TRANSPORTING
    • B60VEHICLES IN GENERAL
    • B60KARRANGEMENT OR MOUNTING OF PROPULSION UNITS OR OF TRANSMISSIONS IN VEHICLES; ARRANGEMENT OR MOUNTING OF PLURAL DIVERSE PRIME-MOVERS IN VEHICLES; AUXILIARY DRIVES FOR VEHICLES; INSTRUMENTATION OR DASHBOARDS FOR VEHICLES; ARRANGEMENTS IN CONNECTION WITH COOLING, AIR INTAKE, GAS EXHAUST OR FUEL SUPPLY OF PROPULSION UNITS IN VEHICLES
    • B60K2360/00Indexing scheme associated with groups B60K35/00 or B60K37/00 relating to details of instruments or dashboards
    • B60K2360/60Structural details of dashboards or instruments
    • B60K2360/66Projection screens or combiners
    • GPHYSICS
    • G02OPTICS
    • G02BOPTICAL ELEMENTS, SYSTEMS OR APPARATUS
    • G02B27/00Optical systems or apparatus not provided for by any of the groups G02B1/00 - G02B26/00, G02B30/00
    • G02B27/01Head-up displays
    • G02B27/0101Head-up displays characterised by optical features
    • G02B2027/0118Head-up displays characterised by optical features comprising devices for improving the contrast of the display / brillance control visibility
    • G02B2027/012Head-up displays characterised by optical features comprising devices for improving the contrast of the display / brillance control visibility comprising devices for attenuating parasitic image effects
    • G02B2027/0121Parasitic image effect attenuation by suitable positioning of the parasitic images
    • GPHYSICS
    • G02OPTICS
    • G02BOPTICAL ELEMENTS, SYSTEMS OR APPARATUS
    • G02B27/00Optical systems or apparatus not provided for by any of the groups G02B1/00 - G02B26/00, G02B30/00
    • G02B27/01Head-up displays
    • G02B27/0101Head-up displays characterised by optical features
    • G02B2027/013Head-up displays characterised by optical features comprising a combiner of particular shape, e.g. curvature

Definitions

  • the present disclosure relates to a head-up display device (hereinafter referred to as “HUD device”) that displays a virtual image of a display light image so as to be visible from an occupant.
  • HUD device head-up display device
  • a HUD device a device provided with a display member that allows an outdoor outside world image to be visible from a passenger in a room such as a vehicle, and a projector that projects a display light image onto the display member. ,Are known.
  • the one disclosed in Patent Document 1 has a front reflection surface that generates a virtual image by reflecting a display light image on the indoor side, and a virtual image by reflecting the display light image on the indoor outside.
  • the back reflecting surface to be generated is provided on the display member.
  • the optical axes from the front reflecting surface and the back reflecting surface toward the occupant's eye point are superimposed on each other. As a result, it is possible to improve the visibility of the display light image by suppressing the visual displacement (double viewing) of the virtual image by each reflecting surface.
  • the curvature radius of the convex curved back reflection surface is smaller than the curvature radius of the concave curved front reflection surface.
  • the position is closer to the imaging position of the virtual image by each reflecting surface.
  • the present disclosure has been made in view of the problems described above, and an object thereof is to provide a HUD device that improves the simultaneous visibility of a display light image and an external image.
  • the display light is projected on the display member by projecting a display light image to the display member, and a display member that allows an outdoor outside image to pass through from a passenger in the room.
  • a head-up display device comprising a projector that displays a virtual image of an image so as to be visible from the occupant.
  • the display member reflects the display light image on the indoor side and generates a surface virtual image as a virtual image by reflecting the display light image on the indoor side, and reflects the display light image on the outdoor side.
  • a convex reflecting back reflecting surface that generates a back virtual image as the virtual image.
  • the optical axis of the display light image reflected by the back reflection surface and emitted from the front reflection surface and the optical axis of the display light image reflected by the front reflection surface are coaxial with each other, and the occupant
  • the eye point is assumed to be preliminarily assumed as the eye point.
  • the curvature radius of the front reflection surface at the reflection point on the front reflection surface where the optical axis of the display light image reflected by the front reflection surface is located is that of the display light image reflected by the back reflection surface. It is smaller than the radius of curvature of the back reflecting surface at the reflection point on the back reflecting surface where the optical axis is located.
  • FIG. 1 is a configuration diagram illustrating a HUD device according to an embodiment of the present disclosure.
  • FIG. 2 is a schematic diagram showing a display state by the HUD device of FIG.
  • FIG. 3 is a cross-sectional view showing a characteristic portion of the HUD device of FIG.
  • FIG. 4 is a schematic diagram for explaining the characteristics of the HUD device of FIG.
  • FIG. 5A is a schematic diagram showing a front virtual image and a back virtual image formed in the HUD device of FIG. 1, and
  • FIG. 5B shows a front virtual image and a back virtual image formed in the HUD device of the comparative example. It is a schematic diagram shown.
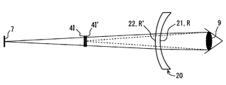
  • the HUD device 1 As shown in FIGS. 1 and 2, the HUD device 1 according to an embodiment of the present disclosure is mounted on a vehicle 2 as a “moving body” and is accommodated in an instrument panel 3.
  • the HUD device 1 includes a projector 10 and a combiner 20 as a “display member”.
  • the projector 10 is composed of a display 12 such as a liquid crystal panel and an optical system 14 such as a mirror and a lens.
  • the image displayed on the display device 12 is incident on the optical system 14 as the display light image 4 and is projected to the indoor region 2 a of the vehicle 2 through the system 14.
  • the combiner 20 is formed in a plate shape with a translucent resin and is disposed closer to the driver's seat 6 than the windshield 5 in the indoor region 2a. Although the combiner 20 of this embodiment is provided away from the windshield 5 toward the driver's seat 6, the combiner 20 may be attached to the windshield 5. With such a configuration, the combiner 20 allows the outside image 7 (see FIG. 2) in the outdoor region 2b in front of the vehicle 2 to be visible from the passenger 8 on the driver's seat 6 in the indoor region 2a.
  • the combiner 20 has a front reflecting surface 21 on the indoor region 2a side and a back reflecting surface 22 on the outdoor region 2b side.
  • the combiner 20 is positioned on the optical axis of the display light image 4 projected from the projector 10, thereby reflecting the light image 4 by the respective reflecting surfaces 21 and 22.
  • the display light image 4 reflected by the front reflecting surface 21 is incident on the pupil 9 of the occupant 8, thereby forming a surface virtual image 4I that is formed in front of the combiner 20 (on the side opposite to the driver seat 6). It is displayed so as to be visible from the occupant 8.
  • the display light image 4 reflected by the back reflecting surface 22 is incident on the pupil 9, and is formed in front of the combiner 20 as a rear surface virtual image 4I ′ that is superimposed on the front surface virtual image 4I. It is displayed so as to be visible.
  • the front reflecting surface 21 that generates the surface virtual image 4I is formed by a free curved surface such as an aspheric surface in a concave curved surface shape that is concave toward the side opposite to the driver's seat 6.
  • the back reflecting surface 22 for generating the back virtual image 4I ′ is formed by a free curved surface such as an aspheric surface in a convex curved shape that is convex toward the side opposite to the driver's seat 6.
  • the back reflection surface 22 sandwiches a wedge angle ⁇ that extends obliquely upward between tangents C and C ′ passing through reflection points P and P ′ on the optical axes Xf and Xb, respectively.
  • the combiner 20 that sandwiches the wedge angle ⁇ between the reflecting surfaces 21 and 22 has a wedge shape in which the thickness continuously increases from the lower end toward the upper end.
  • the optical axes Xf and Xb extending from the respective reflecting surfaces 21 and 22 toward the predetermined assumed eye point 9a are changed from the reflecting point P to the assumed eye point 9a as shown by the one-dot chain line in FIG.
  • the wedge angle ⁇ is set so as to overlap (match) each other on the side.
  • the optical axis Xb of the display light image 4 reflected by the back reflection surface 22 and emitted from the front reflection surface 21 and the optical axis Xf of the display light image 4 reflected by the front reflection surface 21 are: These are coaxial with each other and extend to the assumed eye point 9a.
  • the tangent line C ′ intersects each other at a predetermined angle (ie, wedge angle ⁇ ).
  • the assumed eye point 9a is the center position of the pupil 9 assumed in advance according to the specification of the vehicle 2 with respect to the passenger 8 on the driver's seat 6.
  • the wedge angle ⁇ (°) is defined by the incident angle ⁇ r on the optical axis Xb incident from the reflection point P ′ on the back reflection surface 22 to the reflection point P on the front reflection surface 21, and the optical axis at the reflection point P ′.
  • the following formula (1) is satisfied between the reflection angle ⁇ ref on Xb.
  • the wedge angle ⁇ is set between the refraction angle ⁇ r ′ on the surface reflection surface 21 on the optical axis Xb toward the reflection point P ′ and the reflection angle ⁇ ref on the optical axis Xb at the reflection point P ′. Equation (2) is satisfied. Therefore, the following formula (3) is derived by arranging the following formulas (1) and (2).
  • the incident angle ⁇ r and the refraction angle ⁇ r ′ are determined by the incident angles ⁇ i and ⁇ i ′ on the optical axes Xf and Xb incident on the reflection points P and P ′ from the projector 10 and the refractive index n of the combiner 20.
  • the following formula (4) is satisfied.
  • the distance between the refraction point P ′′ on the front reflection surface 21 on the optical axis Xb emitted to the reflection point P ′ and the reflection point P is D
  • the perpendicular from the reflection point P ′ to the front reflection surface 21 is D
  • the following formula (5) is established between the distances D and d
  • the distance from the projector 10 to the reflection point P is La
  • the following formula (6) is established between the distances D and La. Therefore, the following formula (7) is derived by arranging the following formulas (5) and (6).
  • the incident angle ⁇ r and the refraction angle ⁇ r ′ are obtained from the above equations (4) and (7).
  • the wedge angle ⁇ can be set from the above equation (3).
  • an alternate long and two short dashes line Lf indicates a chief ray directed from the end E of the surface virtual image 4I to the assumed eye point 9a at the imaging position of the surface virtual image 4I.
  • a two-dot chain line Lb indicates a principal ray from the end E ′ of the back virtual image 4I ′ adjacent to the end E of the front virtual image 4I toward the assumed eye point 9a at the imaging position of the back virtual image 4I ′.
  • the principal rays Lf and Lb are superimposed (matched) with each other as shown in FIG. 3, and the curvature radius R at the reflection point P of the front reflection surface 21 and the reflection of the back reflection surface 22 are made to be coaxial.
  • a radius of curvature R ′ at the point P ′ is set.
  • a value obtained by dividing the focal length at which the projector 10 and the back surface virtual image 4I ′ are conjugate by f ′ and the distance between the reflection points P and P ′ by the refractive index n is obtained from the reflection point P to the back surface virtual image 4I ′.
  • the air conversion distance subtracted from the distance to the image position is Lb ′
  • the following formula (9) is established between the distances F ′ and Lb ′.
  • La ′ in the following formula (9) is an air conversion distance from the projector 10 to the reflection point P ′ via the refraction point P ′′, and is represented by the following formula (10).
  • the optical axis (specifically, the optical axis Xb of the display light image 4 reflected by the back reflection surface 22 and emitted from the front reflection surface 21, and the optical axis Xf of the display light image 4 reflected by the front reflection surface 21. ),
  • the angles ⁇ and ⁇ ′ formed by the principal rays Lf and Lb may be set equal to each other, so that the following expression (11) is established.
  • Lc in the following formula (11) is a distance from the imaging position of the front virtual image 4I to the assumed eye point 9a
  • Lc ′ in the following formula (11) is assumed from the imaging position of the back virtual image 4I ′. This is the distance to the eye point 9a.
  • the focal length f in the surface reflection can be obtained from the above equation (8), and the curvature radius R satisfying the distance f can be set on the front reflecting surface 21. It becomes.
  • the distances La, Lb, Lc, Lc ′ and the variables for setting the wedge angle are given, so that the equations (9), (10), (11) are given.
  • the focal length f ′ in the back surface reflection is obtained, and the curvature radius R ′ satisfying the distance f ′ can be set on the back reflecting surface 22.
  • the curvature radius R of the front reflection surface 21 having a concave curved surface shape as shown in FIGS. 3 and 4 is larger than the curvature radius R ′ of the back reflection surface 22 having a convex curved surface shape.
  • the curvature radius R of the front reflection surface 21 at the reflection point P on the front reflection surface 21 where the optical axis Xf of the display light image 4 reflected by the front reflection surface 21 is located is displayed on the back reflection surface 22. It is set smaller than the radius of curvature R ′ of the back reflecting surface 22 at the reflection point P ′ on the back reflecting surface 22 where the optical axis Xb of the optical image 4 is located.
  • the imaging position of the external image 7 that is viewed through the combiner 20 is farther than the imaging positions of the front virtual image 4I and the back virtual image 4I ′. is there.
  • the curvature radius R of the reflection point P on the optical axis Xf on the front reflection surface 21 and the reflection point on the optical axis Xb on the back reflection surface 22 that is, the reflection point corresponding to the reflection point P.
  • the relationship between P ′ and the radius of curvature R ′ is illustrated.
  • the relationship between the radius of curvature of the other reflecting points on the front reflecting surface 21 and the radius of curvature of the reflecting points on the back reflecting surface 22 corresponding to this reflecting point is also related to the radius of curvature R of the reflecting point P and the reflecting point P. This is the same as the relationship with 'curvature radius R'.
  • the optical axes Xf and Xb extending from the front reflecting surface 21 on the indoor side and the rear reflecting surface 22 on the outdoor side of the combiner 20 toward the assumed eye point 9 a of the occupant 8 are superimposed on each other. To do. Therefore, the visual discrepancy between the front virtual image 4I and the rear virtual image 4I 'visually recognized by the reflection on each of the reflection surfaces 21 and 22 can be suppressed on the superimposed optical axis.
  • the radius of curvature R of the concavely curved front reflecting surface 21 is smaller than the radius of curvature R ′ of the convexly curved back reflecting surface 22, the external image 7 that is visible through the combiner 20.
  • the image forming positions of the image are farther from the image forming positions of the front surface virtual image 4I and the back surface virtual image 4I ′ due to the concave lens effect. As a result, it becomes easy for the occupant 8 to visually recognize the external image 7 far from the imaging position while simultaneously adjusting the viewpoint to each imaging position of the virtual images 4I and 4I ′. According to the above, it is possible to improve the simultaneous visibility of the display light image 4 and the external image 7 displayed as the virtual images 4I and 4I ′.
  • the visual misalignment of the virtual images 4I and 4I ′ due to the difference in imaging magnification can be suppressed on the principal rays Lf and Lb.
  • the imaging position of the back virtual image 4I ′ is the front surface. It can be correctly superimposed on the imaging position of the virtual image 4I. Therefore, it is possible to enhance the effect of improving the visibility of the display light image 4 that is simultaneously viewed with the external image 7.
  • the wedge angle ⁇ is sandwiched between the tangent lines C and C ′ passing through the reflection points P and P ′ on the optical axes Xf and Xb at the respective reflection surfaces 21 and 22. Therefore, the optical axes Xf and Xb heading from the respective reflecting surfaces 21 and 22 toward the assumed eye point 9a can be reliably overlapped with each other, and the visual shift of the virtual images 4I and 4I ′ on the superimposed optical axes can be suppressed. .
  • the end portions E of the virtual images 4I and 4I ′. , E ′ to the assumed eye point 9a may be shifted from each other.
  • the “display member” may be configured by a part of the windshield 5 in addition to the “display member” configured by the combiner 20 that is separate from the windshield 5.
  • the present disclosure may be applied to various moving bodies (transport equipment) such as a ship other than the vehicle 2 or an airplane.

Landscapes

  • Engineering & Computer Science (AREA)
  • Physics & Mathematics (AREA)
  • Chemical & Material Sciences (AREA)
  • Combustion & Propulsion (AREA)
  • Transportation (AREA)
  • Mechanical Engineering (AREA)
  • General Physics & Mathematics (AREA)
  • Optics & Photonics (AREA)
  • Instrument Panels (AREA)
PCT/JP2013/006961 2012-12-07 2013-11-27 ヘッドアップディスプレイ装置 Ceased WO2014087608A1 (ja)

Priority Applications (3)

Application Number Priority Date Filing Date Title
US14/650,011 US9423616B2 (en) 2012-12-07 2013-11-27 Head-up display device and combiner thereof
KR1020157014730A KR101681856B1 (ko) 2012-12-07 2013-11-27 헤드업 디스플레이 장치 및 컴바이너
DE112013005835.9T DE112013005835B4 (de) 2012-12-07 2013-11-27 Blickfeldanzeigevorrichtung und Kombinierer für diese

Applications Claiming Priority (2)

Application Number Priority Date Filing Date Title
JP2012-268619 2012-12-07
JP2012268619A JP5831434B2 (ja) 2012-12-07 2012-12-07 ヘッドアップディスプレイ装置

Publications (1)

Publication Number Publication Date
WO2014087608A1 true WO2014087608A1 (ja) 2014-06-12

Family

ID=50883050

Family Applications (1)

Application Number Title Priority Date Filing Date
PCT/JP2013/006961 Ceased WO2014087608A1 (ja) 2012-12-07 2013-11-27 ヘッドアップディスプレイ装置

Country Status (5)

Country Link
US (1) US9423616B2 (enExample)
JP (1) JP5831434B2 (enExample)
KR (1) KR101681856B1 (enExample)
DE (1) DE112013005835B4 (enExample)
WO (1) WO2014087608A1 (enExample)

Families Citing this family (11)

* Cited by examiner, † Cited by third party
Publication number Priority date Publication date Assignee Title
JP6205595B2 (ja) 2013-04-23 2017-10-04 カルソニックカンセイ株式会社 車両用表示装置
WO2016079926A1 (ja) * 2014-11-19 2016-05-26 パナソニックIpマネジメント株式会社 ヘッドアップディスプレイ及び車両
JP6569898B2 (ja) * 2015-06-30 2019-09-04 パナソニックIpマネジメント株式会社 表示装置および表示方法
JP6561323B2 (ja) * 2015-08-31 2019-08-21 パナソニックIpマネジメント株式会社 ヘッドアップディスプレイ
EP3381880B1 (en) * 2015-11-24 2022-01-26 AGC Inc. Laminated glass
KR102038566B1 (ko) * 2016-01-20 2019-11-26 동서대학교 산학협력단 다중 화면으로 구성된 헤드업 디스플레이 장치
EP3422080B1 (en) * 2016-02-25 2020-03-25 Konica Minolta, Inc. Screen and head-up display device
JP6451686B2 (ja) 2016-04-26 2019-01-16 株式会社デンソー ヘッドアップディスプレイ装置
KR102392543B1 (ko) 2018-11-27 2022-04-28 주식회사 엘지에너지솔루션 전기 저항 용접 장치 및 이를 이용한 전지 제조 방법
KR20230048916A (ko) 2021-10-05 2023-04-12 현대모비스 주식회사 스마트폰을 이용한 헤드업 디스플레이 장치
CN118862290A (zh) * 2024-07-08 2024-10-29 东风汽车集团股份有限公司 车窗玻璃的成像位置确定方法、设备及存储介质

Citations (4)

* Cited by examiner, † Cited by third party
Publication number Priority date Publication date Assignee Title
JPH03209210A (ja) * 1989-09-28 1991-09-12 Hughes Aircraft Co ヘッドアップデイスプレイ、楔形フロントガラス及び楔形フロントガラスの組立方法
JPH07195959A (ja) * 1991-08-20 1995-08-01 Ppg Ind Inc ヘッドアップディスプレー装置
WO1999063389A1 (fr) * 1998-06-03 1999-12-09 Nippon Sheet Glass Co., Ltd. Dispositif de visualisation tete haute
JP2011207645A (ja) * 2010-03-29 2011-10-20 Nippon Sheet Glass Co Ltd 車両用合わせガラス

Family Cites Families (6)

* Cited by examiner, † Cited by third party
Publication number Priority date Publication date Assignee Title
JPH02279437A (ja) 1989-03-29 1990-11-15 Nissan Motor Co Ltd 車両用表示装置
US5812332A (en) 1989-09-28 1998-09-22 Ppg Industries, Inc. Windshield for head-up display system
US6534152B2 (en) 1989-09-28 2003-03-18 Ppg Industries Ohio, Inc. Windshield for head-up display system
KR100901155B1 (ko) * 2007-09-11 2009-06-04 중앙대학교 산학협력단 입체 디스플레이 장치 및 이의 운용방법
PT2217438T (pt) * 2007-12-07 2018-07-05 Saint Gobain Para-brisas curvo para veículos fabricado em vidro laminado
JP5802002B2 (ja) * 2010-09-13 2015-10-28 矢崎総業株式会社 ヘッドアップディスプレイ

Patent Citations (4)

* Cited by examiner, † Cited by third party
Publication number Priority date Publication date Assignee Title
JPH03209210A (ja) * 1989-09-28 1991-09-12 Hughes Aircraft Co ヘッドアップデイスプレイ、楔形フロントガラス及び楔形フロントガラスの組立方法
JPH07195959A (ja) * 1991-08-20 1995-08-01 Ppg Ind Inc ヘッドアップディスプレー装置
WO1999063389A1 (fr) * 1998-06-03 1999-12-09 Nippon Sheet Glass Co., Ltd. Dispositif de visualisation tete haute
JP2011207645A (ja) * 2010-03-29 2011-10-20 Nippon Sheet Glass Co Ltd 車両用合わせガラス

Also Published As

Publication number Publication date
DE112013005835B4 (de) 2020-02-06
KR20150082470A (ko) 2015-07-15
KR101681856B1 (ko) 2016-12-01
JP5831434B2 (ja) 2015-12-09
US20150338649A1 (en) 2015-11-26
JP2014115417A (ja) 2014-06-26
DE112013005835T5 (de) 2015-08-20
US9423616B2 (en) 2016-08-23

Similar Documents

Publication Publication Date Title
JP5831434B2 (ja) ヘッドアップディスプレイ装置
JP5990998B2 (ja) 虚像表示装置
JP6601431B2 (ja) ヘッドアップディスプレイ装置
US20180356631A1 (en) Free-form surface lens and head-up display
JP6579180B2 (ja) 虚像表示装置
WO2016158333A1 (ja) ヘッドアップディスプレイ
US11131851B2 (en) Virtual image display device
CN110300915A (zh) 虚像显示装置
KR102215823B1 (ko) 표시 장치 및 표시 방법
JP2021128329A (ja) ヘッドアップディスプレイ
JP6593464B2 (ja) 虚像表示装置
WO2018207630A1 (ja) ヘッドアップディスプレイ装置
CN119717272A (zh) 光学系统及抬头显示器
JP6593465B2 (ja) 虚像表示装置
JP2020073963A (ja) 虚像表示装置
JP6593463B2 (ja) 虚像表示装置
WO2019240230A1 (ja) 虚像表示装置
JP6593494B1 (ja) 虚像表示装置

Legal Events

Date Code Title Description
121 Ep: the epo has been informed by wipo that ep was designated in this application

Ref document number: 13859757

Country of ref document: EP

Kind code of ref document: A1

ENP Entry into the national phase

Ref document number: 20157014730

Country of ref document: KR

Kind code of ref document: A

WWE Wipo information: entry into national phase

Ref document number: 14650011

Country of ref document: US

WWE Wipo information: entry into national phase

Ref document number: 1120130058359

Country of ref document: DE

Ref document number: 112013005835

Country of ref document: DE

122 Ep: pct application non-entry in european phase

Ref document number: 13859757

Country of ref document: EP

Kind code of ref document: A1