WO2014024688A1 - 表示装置および照明装置 - Google Patents

表示装置および照明装置 Download PDF

Info

Publication number
WO2014024688A1
WO2014024688A1 PCT/JP2013/070130 JP2013070130W WO2014024688A1 WO 2014024688 A1 WO2014024688 A1 WO 2014024688A1 JP 2013070130 W JP2013070130 W JP 2013070130W WO 2014024688 A1 WO2014024688 A1 WO 2014024688A1
Authority
WO
WIPO (PCT)
Prior art keywords
light
electrode
scattering
linear
illumination
Prior art date
Legal status (The legal status is an assumption and is not a legal conclusion. Google has not performed a legal analysis and makes no representation as to the accuracy of the status listed.)
Ceased
Application number
PCT/JP2013/070130
Other languages
English (en)
French (fr)
Japanese (ja)
Inventor
章吾 新開
明 蛭子井
Current Assignee (The listed assignees may be inaccurate. Google has not performed a legal analysis and makes no representation or warranty as to the accuracy of the list.)
Sony Corp
Original Assignee
Sony Corp
Priority date (The priority date is an assumption and is not a legal conclusion. Google has not performed a legal analysis and makes no representation as to the accuracy of the date listed.)
Filing date
Publication date
Application filed by Sony Corp filed Critical Sony Corp
Priority to EP13828432.8A priority Critical patent/EP2884332B1/en
Priority to CN201380040718.7A priority patent/CN104508546B/zh
Priority to US14/418,769 priority patent/US9785006B2/en
Publication of WO2014024688A1 publication Critical patent/WO2014024688A1/ja
Anticipated expiration legal-status Critical
Ceased legal-status Critical Current

Links

Images

Classifications

    • GPHYSICS
    • G02OPTICS
    • G02FOPTICAL DEVICES OR ARRANGEMENTS FOR THE CONTROL OF LIGHT BY MODIFICATION OF THE OPTICAL PROPERTIES OF THE MEDIA OF THE ELEMENTS INVOLVED THEREIN; NON-LINEAR OPTICS; FREQUENCY-CHANGING OF LIGHT; OPTICAL LOGIC ELEMENTS; OPTICAL ANALOGUE/DIGITAL CONVERTERS
    • G02F1/00Devices or arrangements for the control of the intensity, colour, phase, polarisation or direction of light arriving from an independent light source, e.g. switching, gating or modulating; Non-linear optics
    • G02F1/01Devices or arrangements for the control of the intensity, colour, phase, polarisation or direction of light arriving from an independent light source, e.g. switching, gating or modulating; Non-linear optics for the control of the intensity, phase, polarisation or colour 
    • G02F1/13Devices or arrangements for the control of the intensity, colour, phase, polarisation or direction of light arriving from an independent light source, e.g. switching, gating or modulating; Non-linear optics for the control of the intensity, phase, polarisation or colour  based on liquid crystals, e.g. single liquid crystal display cells
    • G02F1/133Constructional arrangements; Operation of liquid crystal cells; Circuit arrangements
    • G02F1/1333Constructional arrangements; Manufacturing methods
    • G02F1/1335Structural association of cells with optical devices, e.g. polarisers or reflectors
    • G02F1/133526Lenses, e.g. microlenses or Fresnel lenses
    • GPHYSICS
    • G02OPTICS
    • G02BOPTICAL ELEMENTS, SYSTEMS OR APPARATUS
    • G02B3/00Simple or compound lenses
    • G02B3/0006Arrays
    • G02B3/0037Arrays characterized by the distribution or form of lenses
    • G02B3/0043Inhomogeneous or irregular arrays, e.g. varying shape, size, height
    • GPHYSICS
    • G02OPTICS
    • G02BOPTICAL ELEMENTS, SYSTEMS OR APPARATUS
    • G02B3/00Simple or compound lenses
    • G02B3/0006Arrays
    • G02B3/0037Arrays characterized by the distribution or form of lenses
    • G02B3/005Arrays characterized by the distribution or form of lenses arranged along a single direction only, e.g. lenticular sheets
    • GPHYSICS
    • G02OPTICS
    • G02BOPTICAL ELEMENTS, SYSTEMS OR APPARATUS
    • G02B30/00Optical systems or apparatus for producing three-dimensional [3D] effects, e.g. stereoscopic images
    • G02B30/20Optical systems or apparatus for producing three-dimensional [3D] effects, e.g. stereoscopic images by providing first and second parallax images to an observer's left and right eyes
    • G02B30/26Optical systems or apparatus for producing three-dimensional [3D] effects, e.g. stereoscopic images by providing first and second parallax images to an observer's left and right eyes of the autostereoscopic type
    • G02B30/27Optical systems or apparatus for producing three-dimensional [3D] effects, e.g. stereoscopic images by providing first and second parallax images to an observer's left and right eyes of the autostereoscopic type involving lenticular arrays
    • GPHYSICS
    • G02OPTICS
    • G02BOPTICAL ELEMENTS, SYSTEMS OR APPARATUS
    • G02B30/00Optical systems or apparatus for producing three-dimensional [3D] effects, e.g. stereoscopic images
    • G02B30/20Optical systems or apparatus for producing three-dimensional [3D] effects, e.g. stereoscopic images by providing first and second parallax images to an observer's left and right eyes
    • G02B30/26Optical systems or apparatus for producing three-dimensional [3D] effects, e.g. stereoscopic images by providing first and second parallax images to an observer's left and right eyes of the autostereoscopic type
    • G02B30/30Optical systems or apparatus for producing three-dimensional [3D] effects, e.g. stereoscopic images by providing first and second parallax images to an observer's left and right eyes of the autostereoscopic type involving parallax barriers
    • GPHYSICS
    • G02OPTICS
    • G02FOPTICAL DEVICES OR ARRANGEMENTS FOR THE CONTROL OF LIGHT BY MODIFICATION OF THE OPTICAL PROPERTIES OF THE MEDIA OF THE ELEMENTS INVOLVED THEREIN; NON-LINEAR OPTICS; FREQUENCY-CHANGING OF LIGHT; OPTICAL LOGIC ELEMENTS; OPTICAL ANALOGUE/DIGITAL CONVERTERS
    • G02F1/00Devices or arrangements for the control of the intensity, colour, phase, polarisation or direction of light arriving from an independent light source, e.g. switching, gating or modulating; Non-linear optics
    • G02F1/01Devices or arrangements for the control of the intensity, colour, phase, polarisation or direction of light arriving from an independent light source, e.g. switching, gating or modulating; Non-linear optics for the control of the intensity, phase, polarisation or colour 
    • G02F1/13Devices or arrangements for the control of the intensity, colour, phase, polarisation or direction of light arriving from an independent light source, e.g. switching, gating or modulating; Non-linear optics for the control of the intensity, phase, polarisation or colour  based on liquid crystals, e.g. single liquid crystal display cells
    • G02F1/133Constructional arrangements; Operation of liquid crystal cells; Circuit arrangements
    • G02F1/1333Constructional arrangements; Manufacturing methods
    • G02F1/1335Structural association of cells with optical devices, e.g. polarisers or reflectors
    • G02F1/133504Diffusing, scattering, diffracting elements
    • GPHYSICS
    • G02OPTICS
    • G02FOPTICAL DEVICES OR ARRANGEMENTS FOR THE CONTROL OF LIGHT BY MODIFICATION OF THE OPTICAL PROPERTIES OF THE MEDIA OF THE ELEMENTS INVOLVED THEREIN; NON-LINEAR OPTICS; FREQUENCY-CHANGING OF LIGHT; OPTICAL LOGIC ELEMENTS; OPTICAL ANALOGUE/DIGITAL CONVERTERS
    • G02F1/00Devices or arrangements for the control of the intensity, colour, phase, polarisation or direction of light arriving from an independent light source, e.g. switching, gating or modulating; Non-linear optics
    • G02F1/01Devices or arrangements for the control of the intensity, colour, phase, polarisation or direction of light arriving from an independent light source, e.g. switching, gating or modulating; Non-linear optics for the control of the intensity, phase, polarisation or colour 
    • G02F1/13Devices or arrangements for the control of the intensity, colour, phase, polarisation or direction of light arriving from an independent light source, e.g. switching, gating or modulating; Non-linear optics for the control of the intensity, phase, polarisation or colour  based on liquid crystals, e.g. single liquid crystal display cells
    • G02F1/133Constructional arrangements; Operation of liquid crystal cells; Circuit arrangements
    • G02F1/1333Constructional arrangements; Manufacturing methods
    • G02F1/1335Structural association of cells with optical devices, e.g. polarisers or reflectors
    • G02F1/133528Polarisers
    • GPHYSICS
    • G02OPTICS
    • G02FOPTICAL DEVICES OR ARRANGEMENTS FOR THE CONTROL OF LIGHT BY MODIFICATION OF THE OPTICAL PROPERTIES OF THE MEDIA OF THE ELEMENTS INVOLVED THEREIN; NON-LINEAR OPTICS; FREQUENCY-CHANGING OF LIGHT; OPTICAL LOGIC ELEMENTS; OPTICAL ANALOGUE/DIGITAL CONVERTERS
    • G02F1/00Devices or arrangements for the control of the intensity, colour, phase, polarisation or direction of light arriving from an independent light source, e.g. switching, gating or modulating; Non-linear optics
    • G02F1/01Devices or arrangements for the control of the intensity, colour, phase, polarisation or direction of light arriving from an independent light source, e.g. switching, gating or modulating; Non-linear optics for the control of the intensity, phase, polarisation or colour 
    • G02F1/13Devices or arrangements for the control of the intensity, colour, phase, polarisation or direction of light arriving from an independent light source, e.g. switching, gating or modulating; Non-linear optics for the control of the intensity, phase, polarisation or colour  based on liquid crystals, e.g. single liquid crystal display cells
    • G02F1/133Constructional arrangements; Operation of liquid crystal cells; Circuit arrangements
    • G02F1/1333Constructional arrangements; Manufacturing methods
    • G02F1/1347Arrangement of liquid crystal layers or cells in which the final condition of one light beam is achieved by the addition of the effects of two or more layers or cells
    • G02F1/13476Arrangement of liquid crystal layers or cells in which the final condition of one light beam is achieved by the addition of the effects of two or more layers or cells in which at least one liquid crystal cell or layer assumes a scattering state
    • GPHYSICS
    • G09EDUCATION; CRYPTOGRAPHY; DISPLAY; ADVERTISING; SEALS
    • G09GARRANGEMENTS OR CIRCUITS FOR CONTROL OF INDICATING DEVICES USING STATIC MEANS TO PRESENT VARIABLE INFORMATION
    • G09G3/00Control arrangements or circuits, of interest only in connection with visual indicators other than cathode-ray tubes
    • G09G3/001Control arrangements or circuits, of interest only in connection with visual indicators other than cathode-ray tubes using specific devices not provided for in groups G09G3/02 - G09G3/36, e.g. using an intermediate record carrier such as a film slide; Projection systems; Display of non-alphanumerical information, solely or in combination with alphanumerical information, e.g. digital display on projected diapositive as background
    • G09G3/003Control arrangements or circuits, of interest only in connection with visual indicators other than cathode-ray tubes using specific devices not provided for in groups G09G3/02 - G09G3/36, e.g. using an intermediate record carrier such as a film slide; Projection systems; Display of non-alphanumerical information, solely or in combination with alphanumerical information, e.g. digital display on projected diapositive as background to produce spatial visual effects
    • GPHYSICS
    • G09EDUCATION; CRYPTOGRAPHY; DISPLAY; ADVERTISING; SEALS
    • G09GARRANGEMENTS OR CIRCUITS FOR CONTROL OF INDICATING DEVICES USING STATIC MEANS TO PRESENT VARIABLE INFORMATION
    • G09G3/00Control arrangements or circuits, of interest only in connection with visual indicators other than cathode-ray tubes
    • G09G3/20Control arrangements or circuits, of interest only in connection with visual indicators other than cathode-ray tubes for presentation of an assembly of a number of characters, e.g. a page, by composing the assembly by combination of individual elements arranged in a matrix no fixed position being assigned to or needed to be assigned to the individual characters or partial characters
    • G09G3/34Control arrangements or circuits, of interest only in connection with visual indicators other than cathode-ray tubes for presentation of an assembly of a number of characters, e.g. a page, by composing the assembly by combination of individual elements arranged in a matrix no fixed position being assigned to or needed to be assigned to the individual characters or partial characters by control of light from an independent source
    • G09G3/3406Control of illumination source
    • GPHYSICS
    • G09EDUCATION; CRYPTOGRAPHY; DISPLAY; ADVERTISING; SEALS
    • G09GARRANGEMENTS OR CIRCUITS FOR CONTROL OF INDICATING DEVICES USING STATIC MEANS TO PRESENT VARIABLE INFORMATION
    • G09G3/00Control arrangements or circuits, of interest only in connection with visual indicators other than cathode-ray tubes
    • G09G3/20Control arrangements or circuits, of interest only in connection with visual indicators other than cathode-ray tubes for presentation of an assembly of a number of characters, e.g. a page, by composing the assembly by combination of individual elements arranged in a matrix no fixed position being assigned to or needed to be assigned to the individual characters or partial characters
    • G09G3/34Control arrangements or circuits, of interest only in connection with visual indicators other than cathode-ray tubes for presentation of an assembly of a number of characters, e.g. a page, by composing the assembly by combination of individual elements arranged in a matrix no fixed position being assigned to or needed to be assigned to the individual characters or partial characters by control of light from an independent source
    • G09G3/36Control arrangements or circuits, of interest only in connection with visual indicators other than cathode-ray tubes for presentation of an assembly of a number of characters, e.g. a page, by composing the assembly by combination of individual elements arranged in a matrix no fixed position being assigned to or needed to be assigned to the individual characters or partial characters by control of light from an independent source using liquid crystals
    • HELECTRICITY
    • H04ELECTRIC COMMUNICATION TECHNIQUE
    • H04NPICTORIAL COMMUNICATION, e.g. TELEVISION
    • H04N13/00Stereoscopic video systems; Multi-view video systems; Details thereof
    • H04N13/30Image reproducers
    • H04N13/302Image reproducers for viewing without the aid of special glasses, i.e. using autostereoscopic displays
    • H04N13/305Image reproducers for viewing without the aid of special glasses, i.e. using autostereoscopic displays using lenticular lenses, e.g. arrangements of cylindrical lenses
    • HELECTRICITY
    • H04ELECTRIC COMMUNICATION TECHNIQUE
    • H04NPICTORIAL COMMUNICATION, e.g. TELEVISION
    • H04N13/00Stereoscopic video systems; Multi-view video systems; Details thereof
    • H04N13/30Image reproducers
    • H04N13/302Image reproducers for viewing without the aid of special glasses, i.e. using autostereoscopic displays
    • H04N13/307Image reproducers for viewing without the aid of special glasses, i.e. using autostereoscopic displays using fly-eye lenses, e.g. arrangements of circular lenses
    • HELECTRICITY
    • H04ELECTRIC COMMUNICATION TECHNIQUE
    • H04NPICTORIAL COMMUNICATION, e.g. TELEVISION
    • H04N13/00Stereoscopic video systems; Multi-view video systems; Details thereof
    • H04N13/30Image reproducers
    • H04N13/302Image reproducers for viewing without the aid of special glasses, i.e. using autostereoscopic displays
    • H04N13/31Image reproducers for viewing without the aid of special glasses, i.e. using autostereoscopic displays using parallax barriers
    • HELECTRICITY
    • H04ELECTRIC COMMUNICATION TECHNIQUE
    • H04NPICTORIAL COMMUNICATION, e.g. TELEVISION
    • H04N13/00Stereoscopic video systems; Multi-view video systems; Details thereof
    • H04N13/30Image reproducers
    • H04N13/302Image reproducers for viewing without the aid of special glasses, i.e. using autostereoscopic displays
    • H04N13/31Image reproducers for viewing without the aid of special glasses, i.e. using autostereoscopic displays using parallax barriers
    • H04N13/312Image reproducers for viewing without the aid of special glasses, i.e. using autostereoscopic displays using parallax barriers the parallax barriers being placed behind the display panel, e.g. between backlight and spatial light modulator [SLM]
    • HELECTRICITY
    • H04ELECTRIC COMMUNICATION TECHNIQUE
    • H04NPICTORIAL COMMUNICATION, e.g. TELEVISION
    • H04N13/00Stereoscopic video systems; Multi-view video systems; Details thereof
    • H04N13/30Image reproducers
    • H04N13/302Image reproducers for viewing without the aid of special glasses, i.e. using autostereoscopic displays
    • H04N13/317Image reproducers for viewing without the aid of special glasses, i.e. using autostereoscopic displays using slanted parallax optics
    • HELECTRICITY
    • H04ELECTRIC COMMUNICATION TECHNIQUE
    • H04NPICTORIAL COMMUNICATION, e.g. TELEVISION
    • H04N13/00Stereoscopic video systems; Multi-view video systems; Details thereof
    • H04N13/30Image reproducers
    • H04N13/356Image reproducers having separate monoscopic and stereoscopic modes
    • H04N13/359Switching between monoscopic and stereoscopic modes
    • GPHYSICS
    • G02OPTICS
    • G02BOPTICAL ELEMENTS, SYSTEMS OR APPARATUS
    • G02B6/00Light guides; Structural details of arrangements comprising light guides and other optical elements, e.g. couplings
    • G02B6/0001Light guides; Structural details of arrangements comprising light guides and other optical elements, e.g. couplings specially adapted for lighting devices or systems
    • G02B6/0011Light guides; Structural details of arrangements comprising light guides and other optical elements, e.g. couplings specially adapted for lighting devices or systems the light guides being planar or of plate-like form
    • G02B6/0033Means for improving the coupling-out of light from the light guide
    • G02B6/0035Means for improving the coupling-out of light from the light guide provided on the surface of the light guide or in the bulk of it
    • G02B6/0038Linear indentations or grooves, e.g. arc-shaped grooves or meandering grooves, extending over the full length or width of the light guide
    • GPHYSICS
    • G02OPTICS
    • G02BOPTICAL ELEMENTS, SYSTEMS OR APPARATUS
    • G02B6/00Light guides; Structural details of arrangements comprising light guides and other optical elements, e.g. couplings
    • G02B6/0001Light guides; Structural details of arrangements comprising light guides and other optical elements, e.g. couplings specially adapted for lighting devices or systems
    • G02B6/0011Light guides; Structural details of arrangements comprising light guides and other optical elements, e.g. couplings specially adapted for lighting devices or systems the light guides being planar or of plate-like form
    • G02B6/0033Means for improving the coupling-out of light from the light guide
    • G02B6/0035Means for improving the coupling-out of light from the light guide provided on the surface of the light guide or in the bulk of it
    • G02B6/0045Means for improving the coupling-out of light from the light guide provided on the surface of the light guide or in the bulk of it by shaping at least a portion of the light guide
    • G02B6/0046Tapered light guide, e.g. wedge-shaped light guide
    • GPHYSICS
    • G02OPTICS
    • G02BOPTICAL ELEMENTS, SYSTEMS OR APPARATUS
    • G02B6/00Light guides; Structural details of arrangements comprising light guides and other optical elements, e.g. couplings
    • G02B6/0001Light guides; Structural details of arrangements comprising light guides and other optical elements, e.g. couplings specially adapted for lighting devices or systems
    • G02B6/0011Light guides; Structural details of arrangements comprising light guides and other optical elements, e.g. couplings specially adapted for lighting devices or systems the light guides being planar or of plate-like form
    • G02B6/0033Means for improving the coupling-out of light from the light guide
    • G02B6/0058Means for improving the coupling-out of light from the light guide varying in density, size, shape or depth along the light guide
    • G02B6/0061Means for improving the coupling-out of light from the light guide varying in density, size, shape or depth along the light guide to provide homogeneous light output intensity
    • GPHYSICS
    • G02OPTICS
    • G02BOPTICAL ELEMENTS, SYSTEMS OR APPARATUS
    • G02B6/00Light guides; Structural details of arrangements comprising light guides and other optical elements, e.g. couplings
    • G02B6/0001Light guides; Structural details of arrangements comprising light guides and other optical elements, e.g. couplings specially adapted for lighting devices or systems
    • G02B6/0011Light guides; Structural details of arrangements comprising light guides and other optical elements, e.g. couplings specially adapted for lighting devices or systems the light guides being planar or of plate-like form
    • G02B6/0066Light guides; Structural details of arrangements comprising light guides and other optical elements, e.g. couplings specially adapted for lighting devices or systems the light guides being planar or of plate-like form characterised by the light source being coupled to the light guide
    • G02B6/0068Arrangements of plural sources, e.g. multi-colour light sources
    • GPHYSICS
    • G02OPTICS
    • G02BOPTICAL ELEMENTS, SYSTEMS OR APPARATUS
    • G02B6/00Light guides; Structural details of arrangements comprising light guides and other optical elements, e.g. couplings
    • G02B6/0001Light guides; Structural details of arrangements comprising light guides and other optical elements, e.g. couplings specially adapted for lighting devices or systems
    • G02B6/0011Light guides; Structural details of arrangements comprising light guides and other optical elements, e.g. couplings specially adapted for lighting devices or systems the light guides being planar or of plate-like form
    • G02B6/0066Light guides; Structural details of arrangements comprising light guides and other optical elements, e.g. couplings specially adapted for lighting devices or systems the light guides being planar or of plate-like form characterised by the light source being coupled to the light guide
    • G02B6/007Incandescent lamp or gas discharge lamp
    • G02B6/0071Incandescent lamp or gas discharge lamp with elongated shape, e.g. tube
    • GPHYSICS
    • G02OPTICS
    • G02FOPTICAL DEVICES OR ARRANGEMENTS FOR THE CONTROL OF LIGHT BY MODIFICATION OF THE OPTICAL PROPERTIES OF THE MEDIA OF THE ELEMENTS INVOLVED THEREIN; NON-LINEAR OPTICS; FREQUENCY-CHANGING OF LIGHT; OPTICAL LOGIC ELEMENTS; OPTICAL ANALOGUE/DIGITAL CONVERTERS
    • G02F1/00Devices or arrangements for the control of the intensity, colour, phase, polarisation or direction of light arriving from an independent light source, e.g. switching, gating or modulating; Non-linear optics
    • G02F1/01Devices or arrangements for the control of the intensity, colour, phase, polarisation or direction of light arriving from an independent light source, e.g. switching, gating or modulating; Non-linear optics for the control of the intensity, phase, polarisation or colour 
    • G02F1/13Devices or arrangements for the control of the intensity, colour, phase, polarisation or direction of light arriving from an independent light source, e.g. switching, gating or modulating; Non-linear optics for the control of the intensity, phase, polarisation or colour  based on liquid crystals, e.g. single liquid crystal display cells
    • G02F1/133Constructional arrangements; Operation of liquid crystal cells; Circuit arrangements
    • G02F1/1333Constructional arrangements; Manufacturing methods
    • G02F1/1334Constructional arrangements; Manufacturing methods based on polymer dispersed liquid crystals, e.g. microencapsulated liquid crystals
    • GPHYSICS
    • G02OPTICS
    • G02FOPTICAL DEVICES OR ARRANGEMENTS FOR THE CONTROL OF LIGHT BY MODIFICATION OF THE OPTICAL PROPERTIES OF THE MEDIA OF THE ELEMENTS INVOLVED THEREIN; NON-LINEAR OPTICS; FREQUENCY-CHANGING OF LIGHT; OPTICAL LOGIC ELEMENTS; OPTICAL ANALOGUE/DIGITAL CONVERTERS
    • G02F1/00Devices or arrangements for the control of the intensity, colour, phase, polarisation or direction of light arriving from an independent light source, e.g. switching, gating or modulating; Non-linear optics
    • G02F1/01Devices or arrangements for the control of the intensity, colour, phase, polarisation or direction of light arriving from an independent light source, e.g. switching, gating or modulating; Non-linear optics for the control of the intensity, phase, polarisation or colour 
    • G02F1/13Devices or arrangements for the control of the intensity, colour, phase, polarisation or direction of light arriving from an independent light source, e.g. switching, gating or modulating; Non-linear optics for the control of the intensity, phase, polarisation or colour  based on liquid crystals, e.g. single liquid crystal display cells
    • G02F1/133Constructional arrangements; Operation of liquid crystal cells; Circuit arrangements
    • G02F1/1333Constructional arrangements; Manufacturing methods
    • G02F1/1335Structural association of cells with optical devices, e.g. polarisers or reflectors
    • G02F1/1336Illuminating devices
    • GPHYSICS
    • G02OPTICS
    • G02FOPTICAL DEVICES OR ARRANGEMENTS FOR THE CONTROL OF LIGHT BY MODIFICATION OF THE OPTICAL PROPERTIES OF THE MEDIA OF THE ELEMENTS INVOLVED THEREIN; NON-LINEAR OPTICS; FREQUENCY-CHANGING OF LIGHT; OPTICAL LOGIC ELEMENTS; OPTICAL ANALOGUE/DIGITAL CONVERTERS
    • G02F1/00Devices or arrangements for the control of the intensity, colour, phase, polarisation or direction of light arriving from an independent light source, e.g. switching, gating or modulating; Non-linear optics
    • G02F1/01Devices or arrangements for the control of the intensity, colour, phase, polarisation or direction of light arriving from an independent light source, e.g. switching, gating or modulating; Non-linear optics for the control of the intensity, phase, polarisation or colour 
    • G02F1/13Devices or arrangements for the control of the intensity, colour, phase, polarisation or direction of light arriving from an independent light source, e.g. switching, gating or modulating; Non-linear optics for the control of the intensity, phase, polarisation or colour  based on liquid crystals, e.g. single liquid crystal display cells
    • G02F1/133Constructional arrangements; Operation of liquid crystal cells; Circuit arrangements
    • G02F1/1333Constructional arrangements; Manufacturing methods
    • G02F1/1335Structural association of cells with optical devices, e.g. polarisers or reflectors
    • G02F1/1336Illuminating devices
    • G02F1/133602Direct backlight
    • G02F1/133606Direct backlight including a specially adapted diffusing, scattering or light controlling members
    • GPHYSICS
    • G02OPTICS
    • G02FOPTICAL DEVICES OR ARRANGEMENTS FOR THE CONTROL OF LIGHT BY MODIFICATION OF THE OPTICAL PROPERTIES OF THE MEDIA OF THE ELEMENTS INVOLVED THEREIN; NON-LINEAR OPTICS; FREQUENCY-CHANGING OF LIGHT; OPTICAL LOGIC ELEMENTS; OPTICAL ANALOGUE/DIGITAL CONVERTERS
    • G02F1/00Devices or arrangements for the control of the intensity, colour, phase, polarisation or direction of light arriving from an independent light source, e.g. switching, gating or modulating; Non-linear optics
    • G02F1/01Devices or arrangements for the control of the intensity, colour, phase, polarisation or direction of light arriving from an independent light source, e.g. switching, gating or modulating; Non-linear optics for the control of the intensity, phase, polarisation or colour 
    • G02F1/13Devices or arrangements for the control of the intensity, colour, phase, polarisation or direction of light arriving from an independent light source, e.g. switching, gating or modulating; Non-linear optics for the control of the intensity, phase, polarisation or colour  based on liquid crystals, e.g. single liquid crystal display cells
    • G02F1/133Constructional arrangements; Operation of liquid crystal cells; Circuit arrangements
    • G02F1/1333Constructional arrangements; Manufacturing methods
    • G02F1/1335Structural association of cells with optical devices, e.g. polarisers or reflectors
    • G02F1/1336Illuminating devices
    • G02F1/133602Direct backlight
    • G02F1/133606Direct backlight including a specially adapted diffusing, scattering or light controlling members
    • G02F1/133607Direct backlight including a specially adapted diffusing, scattering or light controlling members the light controlling member including light directing or refracting elements, e.g. prisms or lenses
    • GPHYSICS
    • G02OPTICS
    • G02FOPTICAL DEVICES OR ARRANGEMENTS FOR THE CONTROL OF LIGHT BY MODIFICATION OF THE OPTICAL PROPERTIES OF THE MEDIA OF THE ELEMENTS INVOLVED THEREIN; NON-LINEAR OPTICS; FREQUENCY-CHANGING OF LIGHT; OPTICAL LOGIC ELEMENTS; OPTICAL ANALOGUE/DIGITAL CONVERTERS
    • G02F1/00Devices or arrangements for the control of the intensity, colour, phase, polarisation or direction of light arriving from an independent light source, e.g. switching, gating or modulating; Non-linear optics
    • G02F1/01Devices or arrangements for the control of the intensity, colour, phase, polarisation or direction of light arriving from an independent light source, e.g. switching, gating or modulating; Non-linear optics for the control of the intensity, phase, polarisation or colour 
    • G02F1/13Devices or arrangements for the control of the intensity, colour, phase, polarisation or direction of light arriving from an independent light source, e.g. switching, gating or modulating; Non-linear optics for the control of the intensity, phase, polarisation or colour  based on liquid crystals, e.g. single liquid crystal display cells
    • G02F1/133Constructional arrangements; Operation of liquid crystal cells; Circuit arrangements
    • G02F1/1333Constructional arrangements; Manufacturing methods
    • G02F1/1335Structural association of cells with optical devices, e.g. polarisers or reflectors
    • G02F1/1336Illuminating devices
    • G02F1/133626Illuminating devices providing two modes of illumination, e.g. day-night
    • HELECTRICITY
    • H04ELECTRIC COMMUNICATION TECHNIQUE
    • H04NPICTORIAL COMMUNICATION, e.g. TELEVISION
    • H04N13/00Stereoscopic video systems; Multi-view video systems; Details thereof
    • H04N13/30Image reproducers
    • H04N13/324Colour aspects

Definitions

  • the present technology relates to a display device capable of performing two-dimensional display (planar display) and three-dimensional display (stereoscopic display), and an illumination device suitably applicable as a backlight of such a display device.
  • Some display devices capable of three-dimensional display require special glasses and others do not require special glasses.
  • a lenticular lens and a parallax barrier are used so that a stereoscopic image can be viewed with the naked eye.
  • the video information is distributed to the left and right eyes, whereby different videos are observed between the left and right eyes, and as a result, three-dimensional display is possible.
  • Patent Document 1 proposes a method of using such a diffuser to make a simple configuration.
  • Patent Document 1 a polarization-dependent scatterer is used as a diffuser, and a polarizer is used to make polarized light incident on the polarization-dependent scatterer. For this reason, there is a problem that light is absorbed by the polarizer and the display luminance is lowered.
  • An illumination device is used as an illumination device capable of outputting illumination light in a display device including a display panel that generates image light by modulating illumination light according to an image signal. is there.
  • An illumination device includes an illumination optical system that generates illumination light and a plurality of lenses that narrow the divergence angle of the illumination light.
  • the illumination optical system includes a first substrate and a second substrate that are spaced apart from each other and a light source that irradiates light to an end surface of the first substrate or the second substrate.
  • the illumination optical system also includes a light modulation layer that is provided in the gap between the first substrate and the second substrate and exhibits scattering or transparency with respect to the light from the light source according to the magnitude of the electric field. Yes.
  • the illumination optical system further generates an electric field for generating a plurality of linear scattering regions or a plurality of first point scattering regions arranged in a plurality of rows in the light modulation layer in the three-dimensional display mode,
  • the light modulation layer has an electrode that generates an electric field that generates a planar scattering region or a plurality of second point-like scattering regions arranged in a matrix.
  • the plurality of lenses are arranged side by side in the extending direction of the linear scattering region, or in the arrangement direction of the plurality of first point scattering regions arranged in a row or the plurality of second point scattering regions arranged in a row. .
  • the plurality of lenses are further arranged in a direction intersecting with the extending direction of the linear scattering regions, or the alignment direction of the plurality of first point scattering regions arranged in a row or the plurality of second point scattering regions arranged in a row. They are arranged side by side.
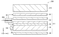
  • the display device includes an illumination device that can output illumination light and a display panel that generates image light by modulating the illumination light according to the image signal.
  • the lighting device mounted on this display device has the same configuration as the lighting device of the above embodiment.
  • a light modulation layer that exhibits scattering or transparency with respect to light from the light source is provided in the illumination device in accordance with the magnitude of the electric field.
  • the light emitted from the light source and propagating through the first substrate or the like passes through a region showing transparency by electric field control in the light modulation layer and is totally reflected on the upper surface of the lighting device or highly reflected. Reflected at rate.
  • the brightness of the area corresponding to the transparent area in the light emission area of the lighting device (hereinafter simply referred to as “transparent area in the light emission area”) is higher than that of the case where the entire surface emits light uniformly. Become lower.
  • the brightness of the area corresponding to the scattering area in the light emitting area of the illuminating device (hereinafter, simply referred to as “scattering area in the light emitting area”) is compared with the case where the entire surface emits light uniformly. Become higher.
  • the brightness of the partial white display (brightness increase) is increased by the amount that the brightness of the transparent area in the light emission area is reduced.
  • a plurality of linear scattering regions or a plurality of first point scattering regions arranged in a plurality of rows are generated in the light modulation layer.
  • a planar scattering region or a plurality of second point-like scattering regions arranged in a matrix is generated in the light modulation layer.
  • a plurality of linear lights or a plurality of linear lights formed by a plurality of dotted illumination lights arranged in a line
  • planar light (or planar light formed by a plurality of dotted illumination lights arranged in a line) is emitted from the light modulation layer using light from the light source.
  • the three-dimensional display and the two-dimensional display can be switched without using a physical barrier or a polarizer.
  • a plurality of lenses that narrow the divergence angle of the illumination light are provided in the illumination device. The plurality of lenses are arranged side by side in the extending direction of the linear scattering regions, or in the arrangement direction of the plurality of first point scattering regions arranged in a row or the plurality of second point scattering regions arranged in a row.
  • the plurality of lenses are further arranged in a direction intersecting with the extending direction of the linear scattering regions, or the alignment direction of the plurality of first point scattering regions arranged in a row or the plurality of second point scattering regions arranged in a row. They are arranged side by side. Thereby, compared with the case where the some lens is not provided, the light quantity of the light which injects into a display panel with a suitable viewing angle can be increased.
  • the illumination device and the display device of the embodiment of the present technology it is possible to switch between the three-dimensional display and the two-dimensional display without using a physical barrier or a polarizer, and to enter the display panel at an appropriate viewing angle. Since the amount of light to be increased can be increased, high luminance can be obtained in the display image.
  • FIG. 3 is a diagram illustrating a planar configuration example of a lower electrode in FIG. 2. It is a figure which represents typically an example of an effect
  • FIG. 5A It is a figure showing an example of the optical characteristic of the bulk of FIG. 5A, and microparticles
  • FIG. 8 is a diagram illustrating a cross-sectional configuration example of the lens sheet of FIG. 7 together with a light guide plate and a light modulation element.
  • FIG. 9 is a diagram illustrating a cross-sectional configuration example of the lens sheet of FIG. 8 together with a light guide plate and a light modulation element. It is a figure showing the 1st modification of the cross-sectional structure example of the lens sheet of FIG. 7 with a light-guide plate and a light modulation element. It is a figure showing the 1st modification of the cross-sectional structure example of the lens sheet of FIG. 8 with a light guide plate and a light modulation element. It is a figure showing the 2nd modification of the cross-sectional structure example of the lens sheet
  • the partial electrode of the lower electrode of FIG. It is a figure showing the 4th modification of the lower electrode of FIG. It is a figure showing an example of the positional relationship of the convex part of the lens sheet of FIG. 7, FIG. 8, and the partial electrode of the lower electrode of FIG. It is a figure showing the other example of the positional relationship of the convex part of the lens sheet of FIG. 7, FIG. 8, and the partial electrode of the lower electrode of FIG. It is a figure showing the 5th modification of the lower electrode of FIG. It is a figure showing an example of the positional relationship of the convex part of the lens sheet of FIG. 7, FIG. And the partial electrode of the lower electrode of FIG. It is a figure showing the 6th modification of the lower electrode of FIG.
  • FIG. 39 is a diagram illustrating a planar configuration example of the upper electrode in FIG. 38.
  • FIG. 39 is a diagram illustrating a first modification of the upper electrode in FIG. 38.
  • FIG. 39 is a diagram illustrating a second modification of the upper electrode in FIG. 38.
  • FIG. 39 is a diagram illustrating a third modification of the upper electrode in FIG. 38.
  • FIG. 39 is a diagram illustrating a fourth modification example of the upper electrode in FIG. 38.
  • FIG. 39 is a diagram illustrating a fifth modification of the upper electrode in FIG. 38. It is a figure showing the 2nd modification of the cross-sectional structure of the light modulation element of FIG. FIG.
  • FIG. 46 is a diagram illustrating a planar configuration example of the upper electrode in FIG. 45.
  • FIG. 46 is a diagram illustrating a planar configuration example of a lower electrode in FIG. 45.
  • FIG. 46 is a diagram illustrating a first modification of the combination of the upper electrode and the lower electrode in FIG. 45.
  • FIG. 46 is a diagram illustrating a second modification of the combination of the upper electrode and the lower electrode in FIG. 45.
  • FIG. 46 is a diagram illustrating a third modification example of the combination of the upper electrode and the lower electrode in FIG. 45.
  • FIG. 46 is a diagram illustrating a fourth modification example of the combination of the upper electrode and the lower electrode in FIG. 45.
  • FIG. 45 is a diagram illustrating a planar configuration example of the upper electrode in FIG. 45.
  • FIG. 46 is a diagram illustrating a fifth modification example of the combination of the upper electrode and the lower electrode in FIG. 45.
  • FIG. 46 is a diagram illustrating a sixth modification example of the combination of the upper electrode and the lower electrode in FIG. 45.
  • FIG. 46 is a diagram illustrating a seventh modification example of the combination of the upper electrode and the lower electrode in FIG. 45.
  • FIG. 46 is a diagram illustrating an eighth modification example of the combination of the upper electrode and the lower electrode in FIG. 45.
  • FIG. 34 is a diagram illustrating a modification of the lower electrode in FIGS. 2 and 33.
  • FIG. 34 is a diagram illustrating another modification of the lower electrode in FIGS. 2 and 33.
  • FIG. 44 is a diagram illustrating a modification of the upper electrode in FIGS. 2 and 43.
  • FIG. 44 is a diagram illustrating another modification of the upper electrode in FIGS. 2 and 43. It is a figure showing the 1st modification of the cross-sectional structure of the illuminating device of FIG. It is a figure showing the 2nd modification of the cross-sectional structure of the illuminating device of FIG. It is a figure showing an example of the edge part of the lower side electrode of FIG. 2, FIG. 45, and the upper side electrode of FIG.
  • FIG. 46 is a diagram illustrating another example of the lower electrode of FIGS. 2 and 45 and an end portion of the upper electrode of FIGS. 38 and 45. It is a figure showing an example of the pattern density distribution in an electrode. It is a figure showing the 1st modification of the pattern density distribution in an electrode.
  • FIG. 67 is a diagram illustrating an example of a luminance distribution when an electrode having the pattern density of FIG. 66 is used. It is a schematic diagram for demonstrating an example of an effect
  • FIG. 73A It is a schematic diagram showing an example of an effect
  • FIG. 80 is a diagram illustrating an example of a luminance distribution when an electrode having the pattern density of FIG. 79 is used. It is a figure showing the modification of a lower electrode. It is a figure showing the modification of a lower electrode. It is a figure showing the modification of a lower electrode. It is a figure showing the modification of a lower electrode. It is a figure showing the modification of a lower electrode. It is a figure showing the modification of a lower electrode. It is a figure showing the modification of a lower electrode. It is a figure showing the modification of a lower electrode. It is a figure showing the modification of a lower electrode. It is a figure showing the modification of a lower electrode.
  • FIG. 1 is a figure showing the modification of a cross-sectional structure of the light modulation element of FIG.
  • 2nd modification of the cross-sectional structure of the light modulation element of FIG. is a figure showing the 3rd modification of the cross-sectional structure of the light modulation element of FIG.
  • 3rd modification of the cross-sectional structure of the illuminating device of FIG. is a figure showing an example of the transmission / reception system of the television broadcast signal which concerns on the 2nd Embodiment of this technique.
  • FIG. 1 ist modification of the cross-sectional structure of the light modulation element of FIG.
  • 2nd modification of the cross-sectional structure of the light modulation element of FIG. is a figure showing the 3rd modification of the cross-sectional structure of the light modulation element of FIG.
  • 3rd modification of the cross-sectional structure of the illuminating device of FIG. is a figure showing an example of the transmission / reception system of the television broadcast signal which concerns on the 2nd Embodiment of
  • FIG. 93 is a diagram illustrating an example of functional blocks of a reception-side apparatus in FIG. 92.
  • FIG. 93 is a diagram illustrating a cross-sectional configuration example of a display unit in the reception-side apparatus in FIG. 92.
  • FIG. 95 is a perspective view illustrating an example of a relationship between a rubbing direction and a transmission axis of a polarizing plate in the display unit in FIG. 94.
  • FIG. 95 is a perspective view illustrating another example of the relationship between the rubbing direction and the transmission axis of the polarizing plate in the display unit in FIG. 94. It is a schematic diagram for demonstrating the three-dimensional display in the display part of FIG. It is a schematic diagram for demonstrating the two-dimensional display in the display part of FIG.
  • FIG. 102 is a schematic diagram illustrating a cross-sectional configuration example of the display unit in FIG. 101. It is a schematic diagram showing an example of the relationship between the pixel of a display panel, and backlight light. It is a schematic diagram showing an example of backlight light.
  • FIG. 102 is a schematic diagram illustrating a cross-sectional configuration example of the display unit in FIG. 101. It is a schematic diagram showing an example of the relationship between the pixel of a display panel, and backlight light. It is a schematic diagram showing an example of backlight light.
  • FIG. 106B is a schematic diagram illustrating an example of a relationship between a pixel of the display panel and the backlight light of FIG. 106A. It is a schematic diagram showing the other example of backlight light. It is a schematic diagram showing an example of the relationship between the pixel of a display panel, and the backlight of FIG. 107A. It is a schematic diagram showing an example of the time division drive in a three-dimensional display.
  • FIG. 109 is a schematic diagram illustrating an example of time-division driving following FIG. 108.
  • FIG. 110 is a schematic diagram illustrating an example of time-division driving following FIG. 109.
  • FIG. 111 is a schematic diagram illustrating an example of time-division driving following FIG. 110. It is sectional drawing showing the 5th modification of the display part of FIG. It is sectional drawing showing the 6th modification of the display part of FIG.
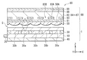
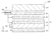
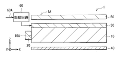
  • FIG. 1 illustrates a cross-sectional configuration of the illumination device 1 according to the first embodiment of the present technology.
  • the illumination device 1 can be applied as a backlight of a display device, and can output illumination light.
  • the illuminating device 1 includes, for example, a light guide plate 10, a light source 20 disposed on a side surface of the light guide plate 10, a light modulation element 30 disposed inside the light guide plate 10, and a reflection plate 40 disposed behind the light guide plate 10.
  • the lens sheet 50 disposed on the light guide plate 10 and a drive circuit 60 for driving the light modulation element 30 are provided.
  • the light guide plate 10 corresponds to a specific example of “first substrate” or “second substrate” of the present technology.
  • the light source 20 corresponds to a specific example of “light source” of the present technology.
  • the optical system including the light source 20, the light modulation element 30, and the reflection plate 40 corresponds to a specific example of “illumination optical system” of the present technology.
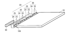
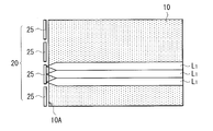
  • the light guide plate 10 guides light from the light source 20 disposed on the side surface of the light guide plate 10 to the upper surface side of the light guide plate 10 (specifically, the light exit surface 1A of the lighting device 1).
  • the light guide plate 10 has a shape corresponding to an object to be irradiated (for example, a display panel 210 described later) disposed on the upper surface of the light guide plate 10.
  • the light guide plate 10 has a rectangular parallelepiped shape surrounded by the upper surface, the lower surface, and the side surfaces. It has become.
  • the side surface on which light from the light source 20 enters among the side surfaces of the light guide plate 10 is referred to as a light incident surface 10A.
  • the light guide plate 10 has, for example, a predetermined patterned shape on at least one of an upper surface and a lower surface, and has a function of scattering and uniformizing light incident from the light incident surface 10A. Yes.
  • a non-patterned flat light guide plate can be used as the light guide plate 10.
  • the light guide plate 10 is, for example, a transparent substrate mainly including a transparent thermoplastic resin such as polycarbonate resin (PC) or acrylic resin (polymethyl methacrylate (PMMA)).
  • the light source 20 is a linear light source.
  • a hot cathode fluorescent lamp (HCFL), a cold cathode fluorescent lamp (CCFL), or a plurality of LEDs (Light Emitting Diodes) are arranged in a line. It consists of things.
  • the light source 20 is composed of a plurality of LEDs, it is preferable that all the LEDs are white LEDs from the viewpoints of efficiency, thickness reduction, and uniformity.
  • the light source 20 may be configured to include, for example, a red LED, a green LED, and a blue LED.
  • the light source 20 may be provided only on one side surface of the light guide plate 10 (see FIG. 1), or may be provided on two side surfaces, three side surfaces, or all side surfaces of the light guide plate 10.
  • the light modulation element 30 is in close contact with the inside of the light guide plate 10 without an air layer, and is adhered to the light guide plate 10 via, for example, an adhesive (not shown).
  • the light modulation element 30 includes a transparent substrate 31, a lower electrode 32, an alignment film 33, a light modulation layer 34, an alignment film 35, an upper electrode 36, and a transparent substrate 37 on the reflection plate 40 side. Are arranged in order.
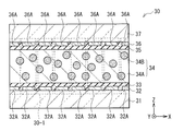
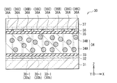
  • FIG. 2 shows a cross-sectional configuration example of the light modulation element 30.
  • the lower electrode 32 and the upper electrode 36 correspond to a specific example of “electrode” of the present technology.
  • the light modulation layer 34 corresponds to a specific example of “light modulation layer” of the present technology.
  • the transparent substrates 31 and 37 are arranged so as to be opposed to each other at a distance.
  • the transparent substrates 31 and 37 support the light modulation layer 34 and are generally made of a substrate transparent to visible light, such as a glass plate or a plastic film.
  • the upper electrode 36 and the lower electrode 32 generate an electric field that generates a plurality of linear scattering regions or a plurality of dotted scattering regions arranged in a plurality of rows in the light modulation layer 34 in the three-dimensional display mode. It has become.
  • the upper electrode 36 and the lower electrode 32 further generate an electric field for generating a planar scattering region or a plurality of dotted scattering regions arranged in a matrix in the light modulation layer 34 in the two-dimensional display mode. It has become.
  • the linear scattering region, the point-like scattering region, and the planar scattering region will be described in detail when the light modulation layer 34 is described.
  • the upper electrode 36 is provided on the surface of the transparent substrate 37 facing the transparent substrate 31, and is composed of, for example, one sheet-like electrode (solid film) formed over the entire surface.
  • the lower electrode 32 is provided on the surface of the transparent substrate 31 that faces the transparent substrate 37.
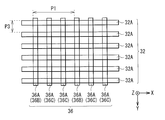
  • the lower electrode 32 includes a plurality of partial electrodes 32A. ing.
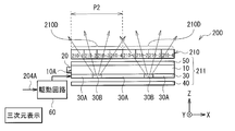
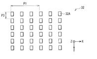
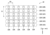
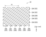
  • FIG. 3 shows an example of a planar configuration of the lower electrode 32.
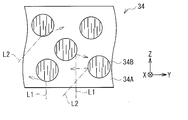
  • each partial electrode 32A has a block shape, and a plurality of partial electrodes 32A are arranged in a matrix.
  • the plurality of partial electrodes 32A are arranged side by side in a direction parallel to the light incident surface 10A, and are arranged in a direction orthogonal to the light incident surface 10A.
  • the arrangement direction of the linear electrodes 32D corresponds to the parallax direction in the three-dimensional display.
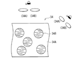
  • the lower electrode 32 is a linear scattering region (or a plurality of dotted scattering regions arranged in a line) with respect to the light modulation layer 34 when performing three-dimensional display on the display device (in the three-dimensional display mode). It is designed to generate an electric field that generates multiple columns.
  • a specific plurality of linear electrodes 32D (hereinafter, referred to as “linear electrodes 32B”) are arranged in the light-scattering layer 34 in the three-dimensional display mode.
  • an electric field for generating a plurality of dotted scattering regions arranged in a row is generated.
  • the partial electrodes 32A is required to generate a plurality of lines of linear scattering regions (or a plurality of dotted scattering regions arranged in a row) with respect to the light modulation layer 34. Is used.
  • the plurality of linear electrodes 32B are arranged at a pitch P1 (same or close to the pixel pitch P2) corresponding to the pixel pitch P2 (see FIG. 97) when performing three-dimensional display in the display device. .
  • a plurality of linear electrodes 32D excluding the linear electrode 32B perform two-dimensional display on the display device (in the two-dimensional display mode).
  • an electric field for generating a planar scattering region or a plurality of point-like scattering regions arranged in a matrix is generated with respect to the light modulation layer 34 together with the linear electrode 32B. That is, in the two-dimensional display mode, all the partial electrodes 32A are used to generate a planar scattering region or a plurality of dot-like scattering regions arranged in a matrix with respect to the light modulation layer 34.
  • the illumination light generated by driving the linear electrode 32B looks linear or dotted depends on the size of the pitch P3 of the plurality of partial electrodes 32A included in the linear electrode 32D.
  • the scattering region in the light modulation layer 34 becomes a light emitting region when light propagates in the scattering region, as will be described later. Therefore, the plurality of linear electrodes 32B are used to generate linear illumination light or a plurality of point illumination lights arranged in a line in the three-dimensional display mode. All the linear electrodes 32D are used to generate planar illumination light or a plurality of point illumination lights arranged in a matrix in the two-dimensional display mode.
  • the plurality of linear electrodes 32B and the plurality of linear electrodes 32C are regularly arranged in a direction orthogonal to the light incident surface 10A.
  • one linear electrode 32B and two linear electrodes 32C are used as a set, and a plurality of sets of linear electrodes are arranged in a direction orthogonal to the light incident surface 10A.
  • the width of the linear electrode 32B is narrower than the width of the pixel of the display device, for example.
  • the linear electrode group does not always need to be composed of one linear electrode 32B and two linear electrodes 32C.
  • one linear electrode 32B and three linear electrodes It may be composed of 32C.
  • Both the lower electrode 32 and the upper electrode 36 are made of a translucent conductive film (or transparent conductive film).
  • the translucent conductive film (or transparent conductive film) is made of, for example, ITO.
  • the lower electrode 32 and the upper electrode 36 may be made of indium zinc oxide (IZO), metal nanowires, carbon nanotubes, graphene, or the like.
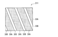
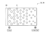
  • a modulation cell 30-1 is configured (see FIG. 2). Each light modulation cell 30-1 corresponds to a specific example of “a point-like scattering region” of the present technology.
  • a cell constituted by a plurality of light modulation cells 30-1 arranged in a row corresponds to a specific example of “a linear scattering region” or “a plurality of dot scattering regions arranged in a row” of the present technology. .
  • a cell constituted by all the light modulation cells 30-1 corresponds to a specific example of “a planar scattering region” or “a plurality of dotted scattering regions arranged in a matrix” of the present technology.
  • the light modulation cell 30-1 corresponds to a portion of the light modulation element 30 corresponding to a portion where the lower electrode 32 and the upper electrode 36 face each other.
  • the linear illumination light or a plurality of lines arranged in a line Used to generate point illumination light.
  • the planar illumination light is combined with the plurality of light modulation cells 30a. Used to generate That is, when two-dimensional display is performed on the display device, all the light modulation cells 30-1 are used to generate planar illumination light or a plurality of dot illumination lights arranged in a matrix.
  • Each light modulation cell 30-1 can be driven independently by applying a predetermined voltage to the partial electrode 32A and the upper electrode 36.
  • Each light modulation cell 30-1 exhibits transparency with respect to the light from the light source 20 or exhibits scattering depending on the magnitude of the voltage value applied to the partial electrode 32A and the upper electrode 36. It has become. The transparency and scattering properties will be described in detail when the light modulation layer 34 is described.
  • the alignment films 33 and 35 are for aligning liquid crystals and monomers used for the light modulation layer 34, for example.
  • the alignment film include a vertical alignment film and a horizontal alignment film.
  • horizontal alignment films are used as the alignment films 33 and 35.
  • the horizontal alignment film include an alignment film formed by rubbing polyimide, polyamideimide, polyvinyl alcohol, and the like, and an alignment film provided with a groove shape by transfer or etching.
  • an alignment film formed by oblique deposition of an inorganic material such as silicon oxide, a diamond-like carbon alignment film formed by ion beam irradiation, an alignment formed with an electrode pattern slit A membrane is mentioned.
  • the firing temperature after applying the alignment films 33 and 35 on the surfaces of the transparent substrates 31 and 37 in the manufacturing process is as low as possible.
  • 35 is preferably a polyamideimide that can be formed at a temperature of 100 ° C. or lower.
  • the alignment film When a voltage is used to form the alignment film, separate electrodes for alignment and driving may be formed, or a two-frequency liquid crystal in which the sign of dielectric anisotropy is inverted depending on the frequency may be used for the liquid crystal material. it can. Further, when a magnetic field is used for forming the alignment film, it is preferable to use a material having a large magnetic anisotropy as the alignment film, for example, a material having many benzene rings.
  • the light modulation layer 34 is provided in the gap between the transparent substrate 31 and the transparent substrate 37.
  • the light modulation layer 34 exhibits scattering or transparency with respect to the light from the light source 20 depending on the magnitude of the electric field.
  • the light modulation layer 34 exhibits transparency with respect to light from the light source 20 when the electric field is relatively small, and exhibits scattering with respect to light from the light source 20 when the electric field is relatively large. It is.
  • the light modulation layer 34 is a composite layer including a bulk 34A and a plurality of fine particles 34B dispersed in the bulk 34A.
  • the bulk 34A and the fine particles 34B have optical anisotropy.
  • FIG. 4A schematically shows an example of the orientation state in the fine particles 34B when no voltage is applied between the lower electrode 32 and the upper electrode 36.
  • FIG. 4A the description of the orientation state in the bulk 34A is omitted.
  • FIG. 4B shows an example of a refractive index ellipsoid showing refractive index anisotropy of the bulk 34A and the fine particles 34B when no voltage is applied between the lower electrode 32 and the upper electrode 36.
  • This refractive index ellipsoid is a tensor ellipsoid representing the refractive index of linearly polarized light incident from various directions.
  • FIG. 4C shows an example of how the light L1 traveling in the front direction and the light L2 traveling in the oblique direction pass through the light modulation layer 34 when no voltage is applied between the lower electrode 32 and the upper electrode 36. This is a schematic representation.
  • FIG. 5A schematically shows an example of the orientation state in the fine particles 34B when a voltage is applied between the lower electrode 32 and the upper electrode 36.
  • FIG. 5A the description of the orientation state in the bulk 34A is omitted.
  • FIG. 5B shows an example of a refractive index ellipsoid showing refractive index anisotropy of the bulk 34A and the fine particles 34B when a voltage is applied between the lower electrode 32 and the upper electrode 36.
  • FIG. 5C shows an example of how light L1 traveling in the front direction and light L2 traveling in the oblique direction are scattered in the light modulation layer 34 when a voltage is applied between the lower electrode 32 and the upper electrode 36. Is a schematic representation.
  • the bulk 34A and the fine particles 34B have an optical axis AX1 of the bulk 34A and an optical axis of the fine particles 34B when no voltage is applied between the lower electrode 32 and the upper electrode 36.
  • the configuration is such that the directions of AX2 coincide with each other (become parallel).
  • the optical axes AX1 and AX2 indicate lines parallel to the traveling direction of the light beam so that the refractive index becomes one value regardless of the polarization direction.
  • the directions of the optical axis AX1 and the optical axis AX2 do not always have to coincide with each other, and the direction of the optical axis AX1 and the direction of the optical axis AX2 may be slightly shifted due to, for example, a manufacturing error.
  • the fine particles 34B have a configuration in which, for example, the optical axis AX2 is parallel to the light incident surface 10A of the light guide plate 10 when no voltage is applied between the lower electrode 32 and the upper electrode 36.
  • the fine particles 34B further have a configuration in which, for example, the optical axis AX2 intersects the surfaces of the transparent substrates 31 and 37 at a slight angle ⁇ 1 when no voltage is applied between the lower electrode 32 and the upper electrode 36. (See FIG. 4B).
  • the angle ⁇ 1 will be described in detail when describing the material constituting the fine particles 34B.
  • the bulk 34A has a configuration in which, for example, the optical axis AX1 of the bulk 34A is constant regardless of whether or not voltage is applied between the lower electrode 32 and the upper electrode 36.
  • the bulk 34A is a transparent substrate, for example, as shown in FIGS. 4A, 4B, 5A, and 5B, in which the optical axis AX1 of the bulk 34A is parallel to the light incident surface 10A of the light guide plate 10. It is configured to intersect the surfaces 31 and 37 at a predetermined angle ⁇ 1. That is, the optical axis AX1 of the bulk 34A is parallel to the optical axis AX2 of the fine particles 34B when no voltage is applied between the lower electrode 32 and the upper electrode 36.
  • the optical axis AX2 is always parallel to the light incident surface 10A and does not need to intersect the surfaces of the transparent substrates 31 and 37 at an angle ⁇ 1, for example, due to manufacturing errors, It may intersect at an angle slightly different from the angle ⁇ 1.
  • the optical axes AX1 and AX2 do not always have to be parallel to the light incident surface 10A, and may intersect the light incident surface 10A at a small angle due to, for example, manufacturing errors.
  • the ordinary light refractive indexes of the bulk 34A and the fine particles 34B are equal to each other, and the extraordinary refractive indexes of the bulk 34A and the fine particles 34B are equal to each other.
  • the light L1 traveling in the front direction and the light L2 traveling in the oblique direction pass through the light modulation layer 34 without being scattered in the light modulation layer 34.
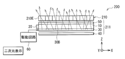
  • the light L from the light source 20 (light from an oblique direction) is an interface (transparent substrate) of a transparent region (transmission region 30A) in the light modulation layer 34.
  • 31 is totally reflected on the lower surface of 31 and the upper surface of the light guide plate 10, and the luminance of the transmission region 30A (black display luminance) is lower than that in the case where the entire surface emits light uniformly (one-dot chain line in FIG. 6B).
  • the front luminance profile in FIG. 6B is obtained by installing a diffusion sheet (not shown) on the light guide plate 10 and measuring through the diffusion sheet.
  • the upper surface (light emitting surface 10B in FIG. 6) of the light guide plate 10 that is one of the interfaces of the transmission region 30A is in contact with a material having a refractive index lower than the refractive index of the upper surface of the light guide plate 10. preferable.
  • a low refractive index material is typically air.
  • the low refractive index material in contact with the upper surface of the light guide plate 10 is an adhesive or an adhesive. May be.
  • the directions of the optical axis AX1 and the optical axis AX2 are different from each other as shown in FIGS. 5A and 5B. It has a configuration (intersecting or almost orthogonal).
  • the fine particle 34B has the optical axis AX2 of the fine particle 34B parallel to the light incident surface 10A of the light guide plate 10 and the transparent substrate 31, It intersects with the surface of 37 at an angle ⁇ 2 (for example, 90 °) larger than the angle ⁇ 1.
  • the angle ⁇ 2 will be described in detail when the material constituting the fine particles 34B is described.
  • the refractive index difference increases in all directions including the front direction and the oblique direction in the light modulation layer 34, and a high scattering property is obtained.
  • the light L ⁇ b> 1 traveling in the front direction and the light L ⁇ b> 2 traveling in the oblique direction are scattered in the light modulation layer 34.
  • the light L from the light source 20 passes through the interface of the scattering region 30B (the interface between the transparent substrate 31 or the light guide plate 10 and air).
  • the light transmitted to the reflecting plate 40 side is reflected by the reflecting plate 40 and passes through the light modulation element 30. Accordingly, the brightness of the scattering region 30B is extremely higher than that in the case where the entire surface is made to emit light uniformly (the one-dot chain line in FIG. 6B), and a partial white display corresponding to the reduction in the brightness of the transmission region 30A. The brightness (increased brightness) increases.
  • the ordinary light refractive indexes of the bulk 34A and the fine particles 34B may be slightly deviated due to, for example, a manufacturing error, and are preferably 0.1 or less, and more preferably 0.05 or less. Further, the extraordinary light refractive indexes of the bulk 34A and the fine particles 34B may be slightly deviated due to, for example, manufacturing errors, and are preferably 0.1 or less, and more preferably 0.05 or less.
  • it is 0.05 or more, more preferably 0.1 or more, and further preferably 0.15 or more. This is because, when the difference in refractive index between the bulk 34A and the fine particles 34B is large, the light modulation layer 34 has a high scattering ability, the light guide conditions can be easily broken, and the light from the light guide plate 10 can be easily taken out. .
  • the bulk 34A and the fine particles 34B have different response speeds with respect to the electric field.
  • the bulk 34A has, for example, a streak structure, a porous structure, or a rod-like structure having a response speed slower than that of the fine particles 34B.
  • the bulk 34A is formed of, for example, a polymer material obtained by polymerizing a low molecular weight monomer.
  • the bulk 34A is obtained by polymerizing a material having alignment properties and polymerizability (for example, a monomer) aligned along the alignment direction of the fine particles 34B or the alignment direction of the alignment films 33 and 35 with at least one of heat and light. Is formed.
  • the streaky structure, the porous structure, or the rod-shaped structure of the bulk 34A is, for example, parallel to the light incident surface 10A of the light guide plate 10 and has a long axis in a direction intersecting with the surfaces of the transparent substrates 31 and 37 at a slight angle ⁇ 1.
  • the average streak size in the short axis direction is 0.1 ⁇ m or more and 10 ⁇ m or less from the viewpoint of enhancing the light guide light scattering property. It is preferable that it is in the range of 0.2 ⁇ m or more and 2.0 ⁇ m or less.
  • the scattering ability in the light modulation element 30 is substantially equal in the visible region of 380 to 780 nm. For this reason, only light of a specific wavelength component does not increase or decrease in the plane, so that a balance in the visible region can be achieved in the plane.
  • the average streak size in the minor axis direction is less than 0.1 ⁇ m or more than 10 ⁇ m, the light modulation element 30 has low scattering power regardless of the wavelength, and the light modulation element 30 is light modulated. It is difficult to function as an element.
  • the average streak size in the minor axis direction is preferably in the range of 0.5 ⁇ m to 5 ⁇ m, and preferably in the range of 1 to 3 ⁇ m. Is more preferable.
  • the wavelength dependence of scattering in the bulk 34A. Sex is suppressed.
  • the size of the streak tissue can be observed with a polarizing microscope, a confocal microscope, an electron microscope, or the like.
  • the fine particles 34B are mainly composed of, for example, a liquid crystal material, and have a response speed sufficiently faster than the response speed of the bulk 34A.
  • the liquid crystal material (liquid crystal molecules) contained in the fine particles 34B is, for example, a rod-like molecule.
  • the liquid crystal molecules contained in the fine particles 34B those having positive dielectric anisotropy (so-called positive liquid crystal) are preferably used.
  • the major axis direction of the liquid crystal molecules is parallel to the optical axis AX1 in the fine particles 34B.
  • the major axis of the liquid crystal molecules in the fine particles 34B is parallel to the light incident surface 10A of the light guide plate 10 and intersects the surfaces of the transparent substrates 31 and 37 at a slight angle ⁇ 1. That is, the liquid crystal molecules in the fine particles 34B are aligned in a state inclined by an angle ⁇ 1 in a plane parallel to the light incident surface 10A of the light guide plate 10 when no voltage is applied between the lower electrode 32 and the upper electrode 36. is doing.
  • This angle ⁇ 1 is called a pretilt angle, and is preferably in the range of 0.1 ° to 30 °, for example.
  • the angle ⁇ 1 is more preferably in the range of 0.5 ° to 10 °, and still more preferably in the range of 0.7 ° to 2 °.
  • Increasing the angle ⁇ 1 tends to decrease the scattering efficiency for reasons described later.
  • the angle ⁇ 1 is too small, the azimuth angle at which the liquid crystal rises varies when a voltage is applied. For example, the liquid crystal may rise in a direction opposite to 180 ° (reverse tilt). Thereby, since the refractive index difference between the fine particles 34B and the bulk 34A cannot be effectively used, the scattering efficiency tends to be low and the luminance tends to be low.
  • the major axis direction of the liquid crystal molecules intersects (or is orthogonal to) the optical axis AX1 in the fine particles 34B.
  • the major axis of the liquid crystal molecules in the fine particles 34B is parallel to the light incident surface 10A of the light guide plate 10 and intersects the surfaces of the transparent substrates 31 and 37 at an angle ⁇ 2 (for example, 90 °) larger than the angle ⁇ 1. ing.
  • any material that has optical anisotropy and is composited with liquid crystal may be used.
  • a low molecular weight monomer that cures with ultraviolet rays It is preferable that It is preferable that the direction of optical anisotropy between the liquid crystal and the one formed by polymerizing a low molecular weight monomer (polymer material) in the state where no voltage is applied is the same before UV curing.
  • the liquid crystal and the low molecular weight monomer are preferably aligned in the same direction.
  • liquid crystal is used as the fine particles 34B, when the liquid crystal is a rod-like molecule, it is preferable that the monomer material used has a rod-like shape.
  • a material having both polymerizability and liquid crystallinity as the monomer material.
  • a polymerizable functional group an acrylate group, a methacrylate group, an acryloyloxy group, a methacryloyloxy group, a vinyl ether group, and an epoxy group. It preferably has at least one functional group selected from the group consisting of These functional groups can be polymerized by irradiation with ultraviolet rays, infrared rays or electron beams, or by heating.
  • a liquid crystalline material having a polyfunctional group can also be added in order to suppress a decrease in the degree of alignment during ultraviolet irradiation.
  • a bifunctional liquid crystalline monomer as a raw material for the bulk 34A.
  • a monofunctional monomer may be added to the raw material of the bulk 34A for the purpose of adjusting the temperature exhibiting liquid crystallinity, or a trifunctional or higher functional monomer may be added for the purpose of improving the crosslinking density.
  • the reflection plate 40 returns light leaking from the back of the light guide plate 10 through the light modulation element 30 to the light guide plate 10 side.
  • the reflector 40 has functions such as reflection, diffusion, and scattering. Thereby, the emitted light from the light source 20 can be used efficiently, and it is also useful for improving the front luminance.
  • the reflection plate 40 is made of, for example, foamed PET (polyethylene terephthalate), a silver vapor deposition film, a multilayer film reflection film, white PET, or the like.
  • the reflecting plate 40 has a function of regular reflection (specular reflection)
  • the reflecting plate 40 is preferably composed of, for example, a silver vapor deposition film, a multilayer film reflection film, an aluminum vapor deposition film, or the like. Further, the reflector 40 may be provided with a shape for reflecting light in a specific direction.
  • the lens sheet 50 narrows the divergence angle of light (illumination light) emitted from the upper surface of the light guide plate 10.
  • the lens sheet 50 has a gap G formed between the light incident surface (lower surface) of the lens sheet 50 and the light emitting surface (upper surface) of the light guide plate 10. It is disposed on the light guide plate 10.
  • the gap G is a layer filled with a material having a refractive index lower than the refractive index of the light emitting surface (upper surface) of the light guide plate 10, and is, for example, an air layer.
  • the gap G does not always need to be an air layer.
  • the gap G is filled with a pressure-sensitive adhesive or adhesive made of a material having a refractive index lower than that of the light exit surface (upper surface) of the light guide plate 10. It may be a layer.
  • the lens sheet 50 has an uneven surface in which a plurality of convex portions 50 ⁇ / b> A are arranged in a matrix in the surface.
  • the convex portion 50A corresponds to a specific example of “lens” of the present technology.
  • the uneven surface may be arranged on the light emitting side of the lens sheet 50, but as shown in FIG. 8, the light incident side (light modulation layer 34) of the lens sheet 50. Side).
  • the uneven surface is disposed on the light incident side of the lens sheet 50, light at a shallow angle among the light emitted from the light guide plate 10 can be raised vertically.
  • the surface opposite to the uneven surface is, for example, a flat surface as shown in FIGS.
  • the flat surface of the lens sheet 50 can be directly bonded to the display panel (or polarizing plate) using an adhesive or an adhesive.
  • the convex portion 50A is formed of a UV curable resin or the like, it can be directly formed on the display panel (or polarizing plate).
  • the lens sheet 50 is disposed such that the flat surface is parallel or substantially parallel to the upper surface of the light guide plate 10.
  • the plurality of convex portions 50A are arranged side by side in a direction parallel to the extending direction of the linear electrode 32D, and are arranged side by side in a direction intersecting with the extending direction of the linear electrode 32D.
  • the light modulation cell 30a is in a scattering state
  • the light modulation cell 30a is a point-like scattering region.
  • the plurality of convex portions 50A are arranged side by side in a direction parallel to the extending direction of the linear scattering regions or the arrangement direction of the plurality of dotted scattering regions arranged in a line. They are arranged side by side in the direction in which the scattering region extends or in the direction intersecting with the direction in which a plurality of point-like scattering regions arranged in a row.
  • the convex portion 50A includes a curved surface.
  • the light emitting surface of the convex portion 50A may be configured only by a curved surface, or may be configured by a composite surface of a curved surface and a flat surface or a polygonal surface. May be.
  • the convex part 50A is arrange
  • the convex portion 50 ⁇ / b> A has a convex shape protruding to the light emitting side of the lens sheet 50 when the convex portion 50 ⁇ / b> A is disposed on the light emitting side of the lens sheet 50. Further, the convex portion 50 ⁇ / b> A has a convex shape protruding to the light incident side of the lens sheet 50 when the convex portion 50 ⁇ / b> A is disposed on the light incident side of the lens sheet 50.
  • the convex portion 50A is arranged so that the vertex position of the convex portion 50A faces the lower electrode 32 (or the light modulation cell 30a).
  • the convex portion 50A is arranged so that the vertex position of the convex portion 50A faces the linear scattering region or a plurality of dotted scattering regions arranged in a line.
  • Each convex portion 50A is preferably arranged so that one convex portion 50A and one point-like scattering region correspond one-to-one.
  • the convex portion 50A is preferably rotationally symmetric about the top of the convex portion 50A.
  • the convex portion 50A viewed from the Z-axis direction is a square
  • the convex portion 50A is preferably four-fold rotationally symmetric about the top of the convex portion 50A.
  • the convex portion 50A has two-fold rotational symmetry about the top of the convex portion 50A. It is preferable that
  • the curved surface of the convex portion 50A has a three-dimensional shape such that the cross section perpendicular to the Y axis in the figure or the cross section perpendicular to the X axis in the figure has a cylindrical shape as shown in FIGS. 9A and 9B, for example. Yes.
  • the cross section of the convex portion 50A (the cross section perpendicular to the Y axis in the drawing or the cross section perpendicular to the X axis in the drawing) has a cylindrical shape
  • the curved surface of the convex portion 50A has a true spherical shape or an aspherical shape.
  • the cross section of the convex portion 50A (the cross section perpendicular to the Y axis in the drawing or the cross section perpendicular to the X axis in the drawing) has a cylindrical shape
  • the first cross section of the convex portion 50A (perpendicular to the Y axis in the drawing).
  • the cross section) or the second cross section of the protrusion 50A (the cross section perpendicular to the X axis in the drawing) may be a perfect circle, an ellipse, a parabola, or a hyperbola.
  • FIGS. 7 and 8 depiction is made as if two ridge lines intersecting each other exist on the curved surface of the convex portion 50A, but this is convenient for expressing the shape of the convex portion 50A. Is provided. Therefore, FIG. 7 and FIG. 8 do not mean that such a ridge line necessarily exists on the curved surface of the convex portion 50A. For example, even if the entire curved surface of the convex portion 50A is composed of only a smooth curved surface. Good.
  • the focal length of the convex portion 50A can be increased.
  • the distance between the light modulation cell 30a and the convex portion 50A can be increased by an amount corresponding to the increase in the focal length of the convex portion 50A. Can be high.
  • the first cross section of the convex portion 50A (cross section perpendicular to the Y axis in the drawing) and the second cross section of the convex portion 50A (cross section perpendicular to the X axis in the drawing) may have different shapes.
  • the curved surface of the convex portion 50A for example, an anamorphic aspherical expression as shown in Equation 1 can be given.
  • Rx is a radius of curvature in the direction orthogonal to the extending direction of the linear electrode 32D in the convex portion 50A.
  • Ry is a radius of curvature of the convex portion 50A in a direction parallel to the extending direction of the linear electrode 32D.
  • kx is a conic coefficient in the X-axis direction.
  • ky is a conic coefficient in the Y-axis direction.
  • the curved surface of the convex portion 50A corresponds to the shape when -1 ⁇ kx ⁇ 0 in Equation 1.
  • the curved surface of the convex portion 50A corresponds to the shape when kx ⁇ 1 in Equation 1.
  • the curved surface of the convex portion 50A corresponds to the shape when ky ⁇ 1 in Equation 1.
  • FIGS. 10 to 17 illustrate an example of a cross-sectional configuration of the lens sheet 50 together with the light guide plate 10 and the light modulation element 30.
  • FIG. 10 to 17 show cross-sectional configuration examples on the XZ plane.
  • FIGS. 10 to 17 illustrate examples in which the ridge line of the first cross section of the convex portion 50A is a perfect circle, but in the following description, the ridge line of the first cross section of the convex portion 50A is a perfect circle. This is also true when the shape is other than the shape.
  • the pitch P2 of the concave and convex surfaces is equal to the width of the convex part 50A.
  • the pitch P2 between the concave and convex surfaces is equal to the periodic change period of the width of the convex portions 50A.
  • the pitch P2 of the uneven surface is, for example, P1, as shown in FIG. 10, FIG. 11, FIG. 12, and FIG.
  • the widths of the convex portions 50A do not always have to be equal to each other.
  • the convex portions 50A are alternately wide and narrow. It may be arranged.
  • the protrusion 50A having a wide width is disposed at a position facing the light modulation cell 30a.
  • the radius of the convex portion 50A (the radius of curvature Rx in the parallax direction when performing three-dimensional display) is P1, the pitch of the light modulation cell 30a (part that can be a linear scattering region), and the number of viewpoints in three-dimensional display.
  • N it is preferable that P1 / N ⁇ 0.6 ⁇ R ⁇ P1 / N ⁇ 1.4. Furthermore, it is more preferable that P1 / N ⁇ 0.8 ⁇ R ⁇ P1 / N ⁇ 1.2.
  • the convex part 50A is arranged so that the center in the width direction of the convex part 50A faces the light modulation cell 30a (part that can be a scattering region).
  • the convex portion 50A is preferably arranged so that the center in the width direction of the convex portion 50A faces the center in the width direction of the light modulation cell 30a.
  • the distance Lz between the convex portion 50A and the light modulation cell 30a is set such that the radius of curvature of the convex portion 50A (the radius of curvature in the parallax direction when performing three-dimensional display) is Rx, and the refractive index of the convex portion 50A is n1.
  • n2 is a refractive index between the convex portion 50A and the light modulation cell 30a.
  • Rx / (n2 (n1-1)) ⁇ 0.7 ⁇ Lz ⁇ R / (n2 (n1-1)) ⁇ 1.2. In such a case, the brightness in the front direction is higher than that in the case where the distance Lz between the convex portion 50A and the light modulation cell 30a is located at a position away from the above range.
  • the lens sheet 50 is preferably made of a material having an isotropic refractive index.
  • the light emitted from the upper surface of the light guide plate 10 is polarized light having a polarization axis in a direction parallel to the optical axis AX1 of the bulk 34A having low electric field response. Therefore, for example, when it is preferable from the viewpoint of improving the brightness of the display panel that the light emitted from the lighting device 1 is polarized light, the light emitted from the upper surface of the light guide plate 10 is disturbed in polarization. What is necessary is just to utilize as emitted light of the illuminating device 1 as it is.
  • the lens sheet 50 has a large phase difference, the polarization component of the light emitted from the illumination device 1 is disturbed by the lens sheet 50. Therefore, from the viewpoint of not disturbing the polarization component of the light emitted from the upper surface of the light guide plate 10, the lens sheet 50 is preferably made of a material having an isotropic refractive index.
  • FIGS. 19 to 26 show another example of the cross-sectional configuration of the lens sheet 50 together with the light guide plate 10 and the light modulation element 30.
  • FIG. 19 to 26 show examples of cross-sectional configurations on the YZ plane.
  • FIGS. 19 to 26 illustrate examples in which the cross section perpendicular to the X axis in the drawing of the convex portion 50A is a perfect circle, but the following explanation is based on the X axis in the drawing of the convex portion 50A. This also applies when the vertical cross section has a shape other than a perfect circle.
  • the pitch P4 of the uneven surface is equal to the width of the convex portions 50A.
  • the pitch P4 of the concave and convex surfaces is equal to the periodic change period of the width of the convex portions 50A.
  • the pitch P4 of the uneven surface is, for example, P3 ⁇ N as shown in FIGS.
  • the widths of the convex portions 50A do not always have to be equal to each other.
  • the convex portions 50A are alternately wide and narrow. It may be arranged.
  • the pitch P4 of the uneven surface is, for example, FIG. As shown in FIG. 24, it may be P3 ⁇ 2, or, for example, it may be P3 as shown in FIGS.
  • P4 P3
  • a plurality of convex portions 50A arranged in a matrix are arranged at positions facing one partial electrode 32A. It is preferable.
  • the radius of curvature Ry in the direction perpendicular to the parallax direction when the convex portion 50A is three-dimensionally displayed is preferably P3 ⁇ 0.6 ⁇ Ry ⁇ P3 ⁇ 1.4. Furthermore, it is more preferable that P3 ⁇ 0.8 ⁇ Ry ⁇ P3 ⁇ 1.2.
  • the convex part 50A is arranged so that the center in the width direction of the convex part 50A faces the light modulation cell 30a (part that can be a linear scattering region).
  • the convex portion 50A is preferably arranged so that the center in the width direction of the convex portion 50A faces the center in the width direction of the light modulation cell 30a.
  • the distance Lz between the convex portion 50A and the light modulation cell 30a is set such that the radius of curvature in the direction perpendicular to the parallax direction when performing three-dimensional display of the convex portion 50A is Ry, and the refractive index of the convex portion 50A is n1.
  • n2 is a refractive index between the convex portion 50A and the light modulation cell 30a.
  • R / (n2 (n1-1)) ⁇ 0.7 ⁇ Lz ⁇ Ry / (n2 (n1-1)) ⁇ 1.2. In such a case, the brightness in the front direction is higher than that in the case where the distance Lz between the convex portion 50A and the light modulation cell 30a is located at a position away from the above range.
  • the optical axis AX2 of the fine particle 34B in one light modulation cell 30-1 is parallel or substantially parallel to the optical axis AX1 of the bulk 34A, and the optical axis of the fine particle 34B in the other light modulation cell 30-2.
  • the magnitude of the voltage applied to the pair of electrodes (partial electrode 32A, upper electrode 36) of each light modulation cell 30-1 is controlled so that AX2 intersects or is orthogonal to the optical axis AX1 of the bulk 34A. . That is, the drive circuit 60 can make the directions of the optical axes AX1 and AX2 of the bulk 34A and the fine particles 34B coincide (or substantially coincide) with each other or can be different (or orthogonal) by electric field control. It has become.
  • the drive circuit 60 When a signal designating three-dimensional display is input as the control signal 20A (that is, in the three-dimensional display mode), the drive circuit 60 is arranged in a plurality of linear illumination lights from the light modulation element 30 or in a line. A plurality of point illumination lights are output. Specifically, the drive circuit 60 applies a voltage at which the light modulation layer 34 exhibits scattering properties to a specific plurality of partial electrodes 32B among the plurality of partial electrodes 32A, and a plurality of the plurality of partial electrodes 32A. The light modulation layer 34 applies a voltage indicating transparency to the plurality of partial electrodes 32C excluding the partial electrode 32B.
  • the optical axis AX2 of the fine particle 34B intersects the optical axis AX1 of the bulk 34A in each light modulation cell 30a in the light modulation element 30, and the fine particle 34B in the light modulation cell 30b in the light modulation element 30.
  • the magnitude of the voltage applied to the pair of electrodes (partial electrode 32A, upper electrode 36) of each light modulation cell 30-1 is controlled so that the optical axis AX2 of the light is parallel to the optical axis AX1 of the bulk 34A. It has become.
  • the drive circuit 60 causes the light modulation cell 30a including the partial electrode 32B to generate the scattering region 30B, and causes the light modulation cell 30b including the partial electrode 32C to generate the transmission region 30A.
  • Linear illumination light or a plurality of point illumination lights arranged in a line are output.
  • the drive circuit 60 when a signal designating two-dimensional display is input as the control signal 20A (that is, in the two-dimensional display mode), the drive circuit 60 is arranged in a planar illumination light or matrix form from the light modulation element 30. A plurality of point illumination lights are output. Specifically, the drive circuit 60 applies a voltage at which the light modulation layer 34 exhibits scattering properties to each partial electrode 32A. In other words, the drive circuit 60 is configured so that the optical axis AX2 of the fine particles 34B intersects or is orthogonal (or substantially orthogonal) to the optical axis AX1 of the bulk 34A in all the light modulation cells 30-1 included in the light modulation element 30.
  • each light modulation cell 30-1 The magnitude of the voltage applied to the pair of electrodes (partial electrode 32A, upper electrode 36) of each light modulation cell 30-1 is controlled.
  • the drive circuit 60 causes each light modulation cell 30-1 to generate the scattering region 30B, thereby outputting planar illumination light or a plurality of point illumination lights arranged in a matrix form from the light modulation element 30. It is supposed to let you.
  • the optical axis AX2 of the fine particle 34B intersects or is orthogonal to the optical axis AX1 of the bulk 34A in each light modulation cell 30a, and the fine particle 34B in each light modulation cell 30b.
  • a voltage is applied to the pair of electrodes (partial electrode 32A, upper electrode 36) of each light modulation cell 30-1 so that the optical axis AX2 of the light is parallel or substantially parallel to the optical axis AX1 of the bulk 34A.
  • the light emitted from the light source 20 and entering the light guide plate 10 is transmitted through the transmission region 30A of the light modulation element 30, and is scattered in the scattering region 30B of the light modulation element 30 (FIG. 6A).
  • the light transmitted through the lower surface of the scattering region 30 ⁇ / b> B is reflected by the reflecting plate 40, returned again to the light guide plate 10, and then emitted from the upper surface of the lighting device 1.
  • light scattered toward the upper surface of the scattering region 30 ⁇ / b> B is emitted from the upper surface of the illumination device 1 after passing through the light guide plate 10.
  • the optical axis AX2 of the fine particle 34B intersects or is orthogonal to the optical axis AX1 of the bulk 34A.
  • a voltage is applied to a pair of electrodes (partial electrode 32A, upper electrode 36) of each light modulation cell 30-1.
  • the light transmitted through the lower surface of the scattering region 30 ⁇ / b> B is reflected by the reflecting plate 40, returned again to the light guide plate 10, and then emitted from the upper surface of the lighting device 1.
  • light scattered toward the upper surface of the scattering region 30 ⁇ / b> B is emitted from the upper surface of the illumination device 1 after passing through the light guide plate 10.
  • a lens sheet 50 that narrows the divergence angle of illumination light is provided.
  • luminance of a front direction can be made high compared with the case where the lens sheet 50 is not provided.
  • the amount of light incident on the display panel in the display device at an angle of 0 ° to an appropriate viewing angle (for example, 15 °) can be increased. Therefore, high luminance can be obtained in the display image.
  • the plurality of partial electrodes 32A and the plurality of protrusions 50A are both arranged in a matrix, and each protrusion 50A has one protrusion 50A and one protrusion 50A.
  • the partial electrodes 32A or one point-like scattering region
  • two arrangement directions (X direction and Y direction) of the convex portions 50A are displayed in the three-dimensional display.
  • the divergence angle of illumination light can be narrowed.
  • high brightness can be obtained in the three-dimensional display image.
  • the divergence angle of the illumination light can be narrowed in the two arrangement directions (X direction and Y direction) of the convex portions 50A.
  • PDLC is formed by mixing liquid crystal material and isotropic low molecular weight material and causing phase separation by ultraviolet irradiation or solvent drying, and the fine particles of liquid crystal material are dispersed in the polymer material. It is a composite layer.
  • the liquid crystal material in this composite layer is scattered in a random direction when no voltage is applied, but is oriented in the direction of the electric field when a voltage is applied, so the normal refractive index of the liquid crystal material and the refractive index of the polymer material Are equal to each other, high transparency is exhibited in the front direction (normal direction of PDLC).
  • the difference between the extraordinary refractive index of the liquid crystal material and the refractive index of the polymer material becomes significant in the oblique direction, and even if the front direction is transparent, the scattering property is exhibited in the oblique direction. End up.
  • a light modulation element using PDLC often has a structure in which PDLC is sandwiched between two glass plates each having a transparent conductive film formed on the surface thereof.
  • the light incident from the oblique direction is refracted by the difference in refractive index between the air and the glass plate, and at a smaller angle.
  • the light enters the PDLC. Therefore, no large scattering occurs in such a light modulation element. For example, when light is incident at an angle of 80 degrees from the air, the incident angle of the light on the PDLC is reduced to about 40 degrees due to refraction at the glass interface.
  • the front direction (the normal direction of the PDLC)
  • the difference in refractive index increases in the oblique direction.
  • an optical film such as a diffusion film
  • oblique leakage light is also diffused in the front direction by the diffusion film, etc., so that light leakage in the front direction increases, and the modulation ratio in the front direction is increased. Will be lower.
  • the bulk 34A and the fine particles 34B are mainly formed of the optically anisotropic material, the scattering property is reduced in the oblique direction, and the transparency can be improved.
  • the bulk 34 ⁇ / b> A and the fine particles 34 ⁇ / b> B mainly include optically anisotropic materials having the same ordinary light refractive index and the same extraordinary light refractive index, and a voltage between the lower electrode 32 and the upper electrode 36. In the region where no is applied, the directions of these optical axes coincide or substantially coincide. Thereby, the refractive index difference is reduced or eliminated in all directions including the front direction (normal direction of the light modulation element 30) and the oblique direction, and high transparency is obtained. As a result, light leakage in a range with a large viewing angle can be reduced or almost eliminated, and viewing angle characteristics can be improved.
  • a liquid crystal having an ordinary light refractive index of 1.5 and an extraordinary light refractive index of 1.65 is mixed with a liquid crystalline monomer having an ordinary light refractive index of 1.5 and an extraordinary light refractive index of 1.65, and the liquid crystal is formed by an alignment film or electric field
  • the liquid crystalline monomer is polymerized in a state where the liquid crystalline monomer is aligned, the optical axis of the liquid crystal and the optical axis of the polymer formed by polymerizing the liquid crystalline monomer coincide with each other.
  • the refractive index can be matched in all directions, in such a case, a highly transparent state can be realized, and the viewing angle characteristics can be further improved.
  • the luminance of the transmissive region 30A (black display luminance) is uniformly emitted over the entire surface (the chain line in FIG. 8B). It is lower than On the other hand, the brightness of the scattering region 30B is extremely higher than that when the entire surface is made to emit light uniformly (the one-dot chain line in FIG. 8B), and a partial white display corresponding to the reduction in the brightness of the transmission region 30A. The brightness (increased brightness) increases.
  • increasing the luminance is a technique for increasing the luminance when the white display is partially performed as compared with the case where the entire white is displayed.
  • This technique is commonly used in CRT and PDP.
  • the backlight emits light uniformly regardless of the image, and thus the brightness cannot be partially increased.
  • the backlight is an LED backlight in which a plurality of LEDs are two-dimensionally arranged, the LEDs can be partially turned off.
  • the luminance is lower than when all the LEDs are turned on.
  • it is possible to increase the luminance by increasing the current flowing to the partially lit LED, but in such a case, a large current flows in a very short time, Problems remain in terms of circuit load and reliability.
  • the bulk 34A and the fine particles 34B are mainly formed by including an optically anisotropic material, scattering in an oblique direction is suppressed, and light leaked from the light guide plate in a dark state is prevented. Few. Thereby, since the light is guided from the partial dark state portion to the partial bright state portion, it is possible to increase the luminance without increasing the input power to the lighting device 1.
  • the optical axis AX2 of the fine particle 34B is parallel to the light incident surface 10A of the light guide plate 10 in a region where no voltage is applied between the lower electrode 32 and the upper electrode 36. In addition, it intersects the surfaces of the transparent substrates 31 and 37 at a slight angle ⁇ 1. That is, the liquid crystal molecules contained in the fine particles 34B are aligned in a state inclined by an angle ⁇ 1 (a state where a pretilt angle is given) in a plane parallel to the light incident surface 10A. Therefore, when a voltage is applied between the lower electrode 32 and the upper electrode 36, the liquid crystal material contained in the fine particles 34B does not rise in a random orientation but rises in a plane parallel to the light incident surface 10A.
  • the optical axes AX1 and AX2 of the bulk 34A and the fine particles 34B intersect or are orthogonal to each other in a plane parallel to the light incident surface 10A.
  • the light that vibrates perpendicularly to the transparent substrate 31 feels the difference between the extraordinary refractive index of the fine particles 34B and the ordinary refractive index of the bulk 34A.
  • the difference between the extraordinary refractive index of the fine particles 34 ⁇ / b> B and the ordinary refractive index of the bulk 34 ⁇ / b> A is large, the scattering efficiency of light oscillating perpendicularly to the transparent substrate 31 is increased.
  • the light oscillating parallel to the transparent substrate 31 feels the difference between the ordinary light refractive index of the fine particles 34B and the extraordinary light refractive index of the bulk 34A.
  • the difference between the ordinary light refractive index of the fine particles 34B and the extraordinary light refractive index of the bulk 34A is large, the scattering efficiency of light oscillating parallel to the transparent substrate 31 is also increased. Therefore, the light propagating through the region where the voltage is applied between the lower electrode 32 and the upper electrode 36 includes a large amount of oblique components.
  • an acrylic light guide plate is used as the light guide plate 10
  • light in a region where a voltage is applied between the lower electrode 32 and the upper electrode 36 propagates at an angle of 41.8 degrees or more.
  • the refractive index difference is increased in all directions including the oblique direction, and high scattering properties can be obtained, so that the display luminance can be improved.
  • the display brightness can be further improved by the effect of increasing the brightness.
  • the optical axes AX1 and AX2 of the bulk 34A and the fine particles 34B are arranged perpendicular to the light incident surface 10A of the light guide plate 10, and a voltage is applied between the lower electrode 32 and the upper electrode 36.
  • the liquid crystal material contained in the fine particles 34B rises in a plane perpendicular to the light incident surface 10A, the light oscillating perpendicularly to the transparent substrate 31 is the same as described above.
  • the difference between the extraordinary refractive index of the fine particles 34B and the ordinary refractive index of the bulk 34A is the difference between the ordinary refractive index of the fine particles 34B and the ordinary refractive index of the bulk 34A. You will feel the difference.
  • the scattering efficiency of light oscillating perpendicularly to the transparent substrate 31 is high, but the scattering efficiency of light oscillating parallel to the transparent substrate 31 is low or zero. Therefore, when the optical axes AX1 and AX2 are arranged perpendicular to the light incident surface 10A, the scattering efficiency is lower than when the optical axes AX1 and AX2 are arranged parallel to the light incident surface 10A. Therefore, the luminance that can be extracted from the light guide plate 10 is lower than that of the light modulation element 30 of the present embodiment.
  • display luminance can be improved while reducing or hardly eliminating light leakage in a range with a large viewing angle.
  • the modulation ratio in the front direction can be increased.
  • each linear electrode 32D extends in a direction parallel to the light incident surface 10A.
  • the linear electrodes 32D may extend in a direction that obliquely intersects the light incident surface 10A while the layout remains the same as in the above embodiment.
  • each convex portion 50A includes one convex portion 50A and one partial electrode 32A. It is preferable that they are arranged so as to correspond to each other, and more preferably, they are arranged so as to face each other.
  • each convex part 50A became a rectangular shape in FIG. 20A, for example, as shown to FIG. 20B, you may become a parallelogram shape or a rhombus shape.
  • each linear electrode 32D extends in a direction orthogonal to the light incident surface 10A while the layout of the plurality of partial electrodes 32A remains the same as that of the above embodiment, for example, as shown in FIG. Also good.
  • each convex portion 50A includes one convex portion 50A and one partial electrode 32A. It is preferable that they are arranged so as to correspond to each other, and more preferably, they are arranged so as to face each other.
  • each linear electrode 32D extends in a direction intersecting with an arrangement direction of pixels of a display panel 210 described later (see FIG. 94 described later). In this case, at the time of three-dimensional display, the difference between the resolution in the direction parallel to the normal line of the light incident surface 10A and the resolution in the direction parallel to the light incident surface 10A can be reduced.
  • each partial electrode 32A has a block shape, but may have a strip shape.
  • each partial electrode 32A extends in a direction parallel to the light incident surface 10A, and the plurality of partial electrodes 32A are orthogonal to the light incident surface 10A. You may arrange
  • the plurality of convex portions 50A are arranged so that the plurality of convex portions 50A arranged in a line and one partial electrode 32A correspond one-to-one. It is preferable that
  • each partial electrode 32A extends in a direction obliquely intersecting the light incident surface 10A, and a plurality of partial electrodes 32A extend from the partial electrode 32A.
  • the plurality of convex portions 50A are arranged so that the plurality of convex portions 50A arranged in a line and one partial electrode 32A correspond to each other on a one-to-one basis.
  • each convex part 50A became a rectangular shape in FIG. 34A, for example, as shown in FIG. 34B, it may have a parallelogram shape or a rhombus shape.
  • each partial electrode 32A extends in a direction orthogonal to the light incident surface 10A, and the plurality of partial electrodes 32A are parallel to the light incident surface 10A. May be arranged side by side.
  • the plurality of convex portions 50A are arranged so that the plurality of convex portions 50A arranged in a line and one partial electrode 32A correspond one-to-one. It is preferable that
  • the partial electrode 32A (or the linear electrode 32D) may be narrow.
  • the emission line width (the width of the scattering region) in the illumination device 1 becomes narrow.
  • the upper electrode 36 is a sheet-like electrode (solid film) formed on the entire surface, and the lower electrode 32 is constituted by a plurality of partial electrodes 32A. It was. However, for example, as shown in FIG. 38, the upper electrode 36 may be a sheet-like electrode (solid film) formed by a plurality of partial electrodes 36 ⁇ / b> A and the lower electrode 32 formed on the entire surface. . In this case, each partial electrode 36A has the same configuration as each partial electrode 32A.
  • each partial electrode 36A has a block shape, and a plurality of partial electrodes 36A are arranged in a matrix.
  • the plurality of partial electrodes 36A are, for example, arranged side by side in a direction parallel to the light incident surface 10A, and are arranged in a direction orthogonal to the light incident surface 10A.
  • the arrangement direction of each linear electrode 36D corresponds to the parallax direction in the three-dimensional display.
  • the upper electrode 36 displays a linear scattering region (or a plurality of dotted scattering regions arranged in a line) with respect to the light modulation layer 34 when performing three-dimensional display (in the three-dimensional display mode) on the display device.
  • the electric field to be generated is generated in multiple rows.
  • a specific plurality of linear electrodes 36D (hereinafter referred to as “linear electrodes 36B”) are arranged in the light-scattering layer 34 in the three-dimensional display mode.
  • an electric field for generating a plurality of dotted scattering regions arranged in a row is generated.
  • the partial electrodes 36A is used to generate a plurality of rows of linear scattering regions (or a plurality of dotted scattering regions arranged in a row) with respect to the light modulation layer 34. Is used.
  • the plurality of linear electrodes 36B are arranged at a pitch P1 (the same pitch as the pixel pitch P2 or a pitch close thereto) corresponding to the pixel pitch P2 (see FIG. 97) when performing three-dimensional display in the display device. .
  • a plurality of linear electrodes 36D excluding the linear electrode 36B perform two-dimensional display on the display device (in the two-dimensional display mode).
  • an electric field for generating a planar scattering region or a plurality of dotted scattering regions arranged in a matrix is generated with respect to the light modulation layer 34 together with the linear electrode 36B. That is, in the two-dimensional display mode, all the partial electrodes 36A are used to generate a planar scattering region or a plurality of dot-like scattering regions arranged in a matrix with respect to the light modulation layer 34.
  • the illumination light generated by driving the linear electrode 36B looks linear or dotted depends on the size of the pitch P3 of the plurality of partial electrodes 36A included in the linear electrode 36D.
  • the scattering region in the light modulation layer 34 becomes a light emitting region when light propagates in the scattering region, as will be described later. Therefore, the plurality of linear electrodes 36B are used to generate linear illumination light or a plurality of point illumination lights arranged in a line in the three-dimensional display mode. All the linear electrodes 36D are used to generate planar illumination light or a plurality of dot illumination lights arranged in a matrix in the two-dimensional display mode.
  • the plurality of linear electrodes 36B and the plurality of linear electrodes 36C are regularly arranged in a direction orthogonal to the light incident surface 10A.
  • one linear electrode 36B and two linear electrodes 36C are used as a set, and a plurality of sets of linear electrodes are arranged in a direction orthogonal to the light incident surface 10A.
  • the width of the linear electrode 36B is smaller than the width of the pixel of the display device.
  • the linear electrode group does not always need to be composed of one linear electrode 36B and two linear electrodes 36C.
  • one linear electrode 36B and three linear electrodes You may be comprised by 36C.
  • each linear electrode 36D extends in a direction parallel to the light incident surface 10A.
  • the linear electrodes 36D may extend in a direction that obliquely intersects the light incident surface 10A while the layout remains the same as in the fifth modification.
  • they are arranged so as to face each other.
  • Each convex portion 50A may have a rectangular shape, a parallelogram shape, or a rhombus shape.
  • each convex portion 50A is arranged so that one convex portion 50A and one partial electrode 32A correspond one-to-one. Furthermore, it is more preferable that they are arranged so as to face each other.
  • each linear electrode 36D extends in a direction intersecting with an arrangement direction of pixels of a display panel 210 described later (see FIG. 96 described later).
  • the difference between the resolution in the direction parallel to the normal line of the light incident surface 10A and the resolution in the direction parallel to the light incident surface 10A can be reduced.
  • each partial electrode 36A may be strip
  • each partial electrode 36A extends in a direction parallel to the light incident surface 10A, and a plurality of partial electrodes 36A are orthogonal to the light incident surface 10A. You may arrange
  • each partial electrode 36A extends in a direction obliquely intersecting the light incident surface 10A, and a plurality of partial electrodes 36A extend from the partial electrode 36A.
  • Each convex portion 50A may have a rectangular shape, a parallelogram shape, or a rhombus shape.
  • each partial electrode 36A extends in a direction orthogonal to the light incident surface 10A, and the plurality of partial electrodes 36A are parallel to the light incident surface 10A. May be arranged side by side. At this time, it is preferable that the plurality of convex portions 50A are arranged so that the plurality of convex portions 50A arranged in a line and one partial electrode 36A correspond one-to-one.
  • the width of the partial electrode 36A (or the linear electrode 36D) may be narrowed.
  • the emission line width (the width of the scattering region) in the illumination device 1 becomes narrow.
  • a linear electrode 36C having a width wider than the width of the linear electrode 36B may be provided between the adjacent linear electrodes 36B.
  • one of the lower electrode 32 and the upper electrode 36 is composed of a plurality of partial electrodes, but both the lower electrode 32 and the upper electrode 36 are You may be comprised with the some partial electrode.
  • the lower electrode 32 may be configured by a plurality of strip-shaped partial electrodes 32A
  • the upper electrode 36 may be configured by a plurality of strip-shaped partial electrodes 36A.
  • the partial electrode 32A and the partial electrode 36A face each other.
  • the lower electrode 32 is composed of a plurality of linear electrodes 32B and 32C, and as shown in FIG.
  • the upper electrode 36 is not partially driven at the time of three-dimensional display, and is a plurality of parts that are collectively driven. You may be comprised with the electrode 36A. Further, the upper electrode 36 is composed of a plurality of linear electrodes 36B and 36C, and as shown in FIG. 47, the lower electrode 32 is not partially driven at the time of three-dimensional display, and is a plurality of parts that are collectively driven.
  • the electrode 32A may be configured.
  • the lower electrode 32 and the upper electrode 36 are not formed at locations that do not contribute to light emission, so that the lower electrode 32 and the upper electrode 36 can be compared with the case where the lower electrode 32 or the upper electrode 36 is formed on the entire surface. Light absorption by the upper electrode 36 can be reduced.
  • the lower electrode 32 is composed of a plurality of strip-like partial electrodes 32A, and the upper electrode 36 extends in a direction orthogonal to the extending direction of the lower electrode 32. You may be comprised by the some partial electrode 36A extended. In such a case, in the light modulation layer 34, a portion where the partial electrode 32A and the partial electrode 36A intersect with each other (a portion facing each other) becomes the light modulation cell 30-1.
  • each partial electrode 32A extends in a direction parallel to the light incident surface 10A, and a plurality of partial electrodes 32A are orthogonal to the light incident surface 10A. You may arrange
  • each partial electrode 36A extends in a direction orthogonal to the light incident surface 10A, and a plurality of partial electrodes 36A are parallel to the light incident surface 10A. You may arrange
  • each partial electrode 32A extends in a direction orthogonal to the light incident surface 10A, and a plurality of partial electrodes 32A are parallel to the light incident surface 10A. You may arrange
  • each partial electrode 36A extends in a direction parallel to the light incident surface 10A, and a plurality of partial electrodes 36A are orthogonal to the light incident surface 10A. You may arrange
  • each partial electrode 32A and each partial electrode 36A is an electrode that is partially driven during three-dimensional display.
  • the lower electrode 32 is composed of a plurality of strip-like partial electrodes 32A, and the upper electrode 36 obliquely intersects the extending direction of the lower electrode 32. You may be comprised with the some partial electrode 36A extended in the direction.
  • each partial electrode 32A extends in a direction parallel to the light incident surface 10A, and a plurality of partial electrodes 32A are orthogonal to the light incident surface 10A. You may arrange
  • each partial electrode 32A extends in a direction obliquely intersecting the light incident surface 10A, and a plurality of partial electrodes 32A extend from the partial electrode 32A. You may arrange
  • each partial electrode 36A extends in a direction parallel to the light incident surface 10A, and a plurality of partial electrodes 36A are orthogonal to the light incident surface 10A. You may arrange
  • any one of the partial electrodes 32A and the partial electrodes 36A is an electrode that is partially driven during three-dimensional display.
  • the partial electrodes 32A included in the linear electrode 32D may be formed separately from each other. For example, as shown in FIGS. 56A and 56B, the partial electrodes 32A It may be connected. When the partial electrodes 32A included in the linear electrode 32D are connected to each other through a thin line, the linear electrode 32D is a so-called stepped electrode.
  • the illuminating device 1 emits linear illumination light or a plurality of point-like illumination lights (substantially linear illumination light) arranged in a row corresponding to each linear electrode 32D. It has become.
  • the partial electrodes 36A included in the linear electrode 36D may be formed separately from each other. For example, as shown in FIG. 57A and FIG. May be connected to each other.
  • the linear electrode 36D is a so-called stepped electrode.
  • the illuminating device 1 emits linear illumination light or a plurality of point-like illumination lights (substantially linear illumination light) arranged in a row corresponding to each linear electrode 36D. It has become.
  • the light modulation element 30 is tightly bonded to the inside of the light guide plate 10 without an air layer.
  • the light modulation element 30 may be in close contact with the upper surface of the optical plate 10 without interposing an air layer.
  • the light modulation element 30 may be in close contact with the back (lower surface) of the light guide plate 10 without an air layer interposed therebetween.
  • the sides of the lower electrode 32 and the upper electrode 36 are linear, but they may be non-linear.
  • the side part adjacent to the partial electrode 36C among the partial electrodes 36B may be uneven.
  • the side part adjacent to the partial electrode 36B may be uneven
  • the side part adjacent to the partial electrode 32C among the partial electrodes 32B may be uneven
  • the side part adjacent to the partial electrode 32B may be uneven
  • each partial electrode 32B, 32C, 36B, 36C is, for example, a zigzag shape, a wave shape, a ramp shape, a trapezoidal shape, or a random shape, as shown in FIGS. 60A to 60E.
  • 36B (32B) means 36B or 32B, and the same applies to the other symbols.
  • each partial electrode 36B is configured by a plurality of convex portions 36-1 arranged along the side portions, and the concavo-convex shape of each partial electrode 36C is a plurality of convex portions arranged along the side portions.
  • the unit 36-2 is configured.
  • the plurality of protrusions 36-1 and the plurality of protrusions 36-2 are alternately arranged as shown in FIGS. 60A to 60E, for example.
  • the concavo-convex shape of each partial electrode 32B is configured by a plurality of convex portions 32-1 arranged along the side portion, and the concavo-convex shape of each partial electrode 32C is arranged along the side portion. It is composed of a plurality of convex portions 32-2.
  • the plurality of convex portions 32-1 and the plurality of convex portions 32-2 are alternately arranged as shown in FIGS. 60A to 60E, for example.
  • the width of the gap (slit portion) between the side portion where the uneven shape of each partial electrode 36B is formed and the side portion where the uneven shape of each partial electrode 36C is formed becomes a predetermined size or less. Yes. Similarly, the width of the gap (slit portion) between the side portion where the uneven shape of each partial electrode 32B is formed and the side portion where the uneven shape of each partial electrode 32C is formed is also a predetermined size or less. It has become. For example, as shown in FIGS. 60A to 60E, the tip 36-3 of each convex portion 36-1 is disposed outside the concave portion 36-4 formed between the two convex portions 36-2 adjacent to each other. Has been. Similarly, the tip 32-3 of each convex portion 32D is located outside the concave portion 32-4 formed between two adjacent convex portions 32-3, as shown in FIGS. 60A to 60E, for example. Is arranged.
  • each convex portion 36-1 may be disposed in the concave portion 36-4 as shown in FIGS. 61A to 61E, for example.
  • the tip 32-3 of each convex portion 32-1 may be disposed in the concave portion 32-4 as shown in FIGS. 61A to 61E, for example.
  • the width of the slit portion can be made narrower than the layouts shown in FIGS. 60A to 60E.
  • the slit part The width of is preferably as narrow as possible.
  • the width of the slit portion is not too narrow.
  • each partial electrode 36B and each partial electrode 36C it is not always necessary to provide an uneven shape on both sides adjacent to each other, and an uneven shape is provided only on one of the sides. Also good.
  • each partial electrode 32B and each partial electrode 32C it is not always necessary to provide an uneven shape on both sides adjacent to each other, and an uneven shape is provided only on one of the sides. May be.
  • the lower electrode 32 and the upper electrode 36 are not patterned inside, but are patterned inside at least one of the lower electrode 32 and the upper electrode 36. May be given. In this case, the pattern density of the patterned electrodes of the lower electrode 32 and the upper electrode 36 may be different depending on the distance from the light source 20.
  • the lower electrode 32 or the upper electrode 36 is a planar electrode, for example, as shown in FIGS. 62 and 63, a plurality of openings H are provided in the lower electrode 32 or the upper electrode 36,
  • the density of the openings H differs depending on the distance from the light source 20 (light incident surface 10A) with respect to the upper electrode 36 or the lower electrode 32 as a whole.
  • Both the lower electrode 32 and the upper electrode 36 are planar electrodes having a plurality of openings H, and the density of the openings H is a distance from the light source 20 in both the lower electrode 32 and the upper electrode 36. May be different.
  • the shape of the opening H is, for example, a circular shape as shown in FIGS.
  • the shape of the opening H may be other shapes, for example, an elliptical shape or a polygonal shape.
  • the number of openings H per unit area is constant regardless of the distance from the light source 20, and the diameter r of the opening H increases as the distance from the light source 20 increases. It is getting smaller.
  • FIG. 63 illustrates a case where the diameter r in the vicinity of the light source 20 is a2, and the diameter r farthest from the light source 20 is a3 ( ⁇ a2).
  • the density of the openings H becomes sparse (decreases) as the distance from the light source 20 increases.
  • the pattern density of the upper electrode 36 or the lower electrode 32 increases as the distance from the light source 20 increases. (It is growing).
  • the partial electrodes 32A and 36A are provided with a plurality of openings H, and the openings H Is different depending on the distance from the light source 20 (light incident surface 10A) for each of the partial electrodes 32A and 36A.
  • the density of opening H may differ according to the distance from the light source 20, and may be constant irrespective of the distance from the light source 20.
  • Both the partial electrodes 32A and 36A have a plurality of openings H, and the density of the openings H depends on the distance from the light source 20 for each of the partial electrodes 32A and 36A in both the partial electrodes 32A and 36A. May be different.
  • the shape of the opening H may be other shapes, for example, an elliptical shape or a polygonal shape.
  • FIG. 65 illustrates a case where the diameter r in the vicinity of the light source 20 is a2, and the diameter r farthest from the light source 20 is a3 ( ⁇ a2). Accordingly, in both the examples of FIGS. 64 and 65, the density of the openings H (occupation ratio of the openings H per unit area) becomes sparse (decreases) as the distance from the light source 20 increases. ). In other words, the pattern density of the partial electrodes 32A and 36A (occupation rate per unit area of the partial electrodes 32A and 36A other than the opening H) becomes denser as the distance from the light source 20 increases (larger). )
  • the density distribution of the transmission region 30A and the scattering region 30B in the light emission region can be set to a desired distribution.
  • region of the illuminating device 1 is suppressed lower than the case where the light modulation element 30 is not provided, and it separated from the light source 20 among the light emission area
  • the brightness of the region can be made higher than when the light modulation element 30 is not provided.
  • the in-plane luminance is made uniform.
  • white display is performed in a region close to the light source 20 and a region far from the light source 20
  • black luminance of these regions can be made equal.
  • either the lower electrode 32 or the upper electrode 36 may have a patterning density distribution as shown in FIG. 66B shows the pattern density distribution when neither the lower electrode 32 nor the upper electrode 36 is patterned according to the distance from the light source 20.
  • the same voltage may be applied from the drive circuit 60 to each partial electrode 32A regardless of the distance from the light source 20, or the light source 20 A voltage corresponding to the distance from the drive circuit 60 may be applied from the drive circuit 60.
  • the same voltage may be applied from the drive circuit 60 to each partial electrode 36A regardless of the distance from the light source 20.
  • the voltage corresponding to the distance from the light source 20 may be applied from the drive circuit 60.
  • the illumination light is such that only a part of the upper surface of the illumination device 1 has white luminance. Can be reduced when the white brightness portion is close to the light source 20 and when it is far from the light source 20.
  • each partial electrode 32A may be further configured by a plurality of microelectrodes.
  • each partial electrode 36A may be configured by a plurality of microelectrodes.
  • the drive circuit 60 applies a voltage to the lower electrode 32 and the upper electrode 36 so as to scan the scattering region 30B in a direction orthogonal to the light incident surface 10A. May be.
  • the scattering region 30B is shifted in the direction orthogonal to the light incident surface 10A by the voltage application to the lower electrode 32 and the upper electrode 36 by the drive circuit 60. Can be made.
  • the drive circuit 60 sets the scanning direction of the scattering region 30B to the same direction as the scanning direction of the pixels of the display panel, and the scattering region 30B. This scanning is preferably performed in synchronization with the scanning of the pixels of the display panel. In this case, display with high luminance and improved moving image response (blur) is possible.
  • the drive circuit 60 may adjust the light amount of the light source 20 in consideration of the distance from the light source 20 and the video signal input from the outside while sequentially driving the scattering region 30B.
  • the driving circuit 60 sets the scanning direction of the scattering region 30B to the same direction as the scanning direction of the pixels of the display panel, and performs the scanning of the scattering region 30B in synchronization with the scanning of the pixels of the display panel. Is preferred. In this case, display with low power consumption and improved moving image response (blur) is possible.
  • the light source 20 may be configured by a linear light source 21 and a reflection mirror 22, for example, as shown in FIG. 71A.
  • the linear light source 21 is made of, for example, HCFL or CCFL.
  • the reflection mirror 22 reflects the light emitted from the linear light source 21 in a direction not directly incident on the light incident surface 10A to the light incident surface 10A side.
  • the light source 20 may be configured by arranging a plurality of point light sources 23 in a line.
  • Each point light source 23 emits light toward the light incident surface 10A, and includes, for example, a light emitting element having a light emitting spot on a surface facing the light incident surface 10A.
  • a light emitting element include an LED or a laser diode (LD).
  • LD laser diode
  • each point light source 23 is preferably a white LED.
  • the several point light source 23 contained in the light source 20 may be comprised including red LED, green LED, and blue LED, for example.
  • the plurality of point light sources 23 may be provided on a common substrate 24 for every two or more point light sources 23 as shown in FIGS. 71B and 71C, for example.
  • a light source block 25 is constituted by one substrate 24 and a plurality of point light sources 23 provided on the substrate 24.
  • the substrate 24 is, for example, a circuit board on which wiring for electrically connecting the point light source 23 and the drive circuit 60 is formed, and each point light source 23 is mounted on the circuit board.
  • Each point light source 23 (each point light source 23 in the light source block 25) provided on the common substrate 24 is driven collectively (independently) by the drive circuit 60. For example, although not shown, they are connected in parallel with each other or in series with each other.
  • the point light sources 23 (point light sources 23 in each light source block 25) provided on different substrates 24 may be driven independently from each other by the drive circuit 60. At this time, the point light sources 23 (point light sources 23 in each light source block 25) provided on different substrates 24 are connected to different current paths as shown in FIG. 71C, for example.
  • the light source 20 may be provided on only one side surface of the light guide plate 10 as shown in FIGS. 71A to 71C, or although not shown, the two side surfaces, the three side surfaces, or all of the light guide plate 10 may be provided. It may be provided on the side surface. In addition, when the light source 20 is provided on three or all side surfaces, only the light source 20 provided on the two side surfaces facing each other is lit only when partial lighting is performed, and the entire surface is lit. Sometimes all the light sources 20 may be turned on.
  • the light guide plate 10 may have a plurality of strip-shaped convex portions 11 on the upper surface, as shown in FIG. 72A, for example.
  • the light guide plate 10 may have a plurality of strip-shaped convex portions 11 on the lower surface as shown in FIG. 72B, for example.
  • the light guide plate 10 may have a plurality of strip-shaped convex portions 11 inside the light guide plate 10, for example, although not shown.
  • the inside of the light guide plate 10 may be a hollow shape or may be closely packed.
  • Each convex portion 11 extends in a direction parallel to the normal line of the light incident surface 10A.
  • each convex portion 11 faces the side surface from one side surface of the light guide plate 10.
  • the other side surfaces are continuously formed.
  • the cross section of each convex part 11 in the arrangement direction is, for example, rectangular, trapezoidal, or triangular.
  • the cross section in the arrangement direction of each convex portion 11 is rectangular, the straightness of light is very high, which is suitable for a large backlight.
  • the cross section in the arrangement direction of each convex portion 11 is trapezoidal, it is easy to process a mold used when forming each convex portion 11 by injection molding, melt extrusion molding, hot press molding, or the like.
  • the releasability at the time of molding is good, and the yield and molding speed due to the reduction of defects can be improved.
  • a flat surface may be provided between the convex portions 11 adjacent to each other, or there may be no flat surface.
  • the height of each convex part 11 may be uniform in the plane, or may be non-uniform in the plane. For example, as shown in FIGS. 73A and 73B, when one side surface of the light guide plate 10 is the light incident surface 10A, the height of each convex portion 11 is relatively higher on the light incident surface 10A side. It may be low and relatively high on the side surface facing the light incident surface 10A. Further, for example, when a pair of side surfaces facing each other among the side surfaces of the light guide plate 10 is the light incident surface 10A, the height of each convex portion 11 is relative to both the light incident surfaces 10A and the vicinity thereof.
  • each convex portion 11 the height of the light incident surface 10A and the vicinity thereof may be zero or substantially zero.
  • the height of each convex portion 11 may increase from the light incident surface 10A side as the distance from the light incident surface 10A increases.
  • the height of each convex portion 11 may be constant in the middle from the light incident surface 10A side toward the side surface facing the light incident surface 10A.
  • a plurality of convex portions 11 having non-uniform heights as shown in FIG. 73A may be provided in places other than the upper surface of the light guide plate 10, for example, provided on the lower surface or inside of the light guide plate 10. May be.
  • the straightness of the light can be changed by changing the height of the protrusions 11 (in other words, the depth of the grooves formed between the protrusions 11).
  • the height of the protrusions 11 in other words, the depth of the grooves formed between the protrusions 11.
  • FIGS. 72A and 72B when each convex portion 11 is provided also on the light incident surface 10A and its vicinity, for example, as illustrated in FIG. 74A, one light source block 25 is turned on. Then, the light L1 output from the light source block 25 propagates in the light guide plate 10 without spreading so much in the lateral direction (width direction). In this case, a dark portion may occur between the point light sources 23 in the vicinity of the light incident surface 10A, and in this case, the image quality may be deteriorated.
  • each convex portion 11 is relatively lowered or made zero at the light incident surface 10A and its vicinity. It is preferable. By doing so, the light L1 output from the light source block 23 is converted into the lateral direction (width direction) at the divergence angle of the point light source 23 on the light incident surface 10A and its vicinity as shown in FIG. 74B, for example. ) And can be propagated with a substantially constant width in a region away from the light incident surface 10A.
  • the light source 20 may be configured by arranging a plurality of light source blocks 25 in a line as shown in FIG. 71B or 71C, for example.
  • the density per unit area of the opening H is relatively close to the light source block 25 in the direction parallel to the light incident surface 10A. It may be relatively large and relatively small at a location away from the light source block 25.
  • the number of openings H (constant radius) per unit area is relatively large at a position near the light source block 25 in the direction parallel to the light incident surface 10A. It may be relatively less at a location away from the light source block 25.
  • the radius of the opening H is relatively large at a location near the light source block 25 in a direction parallel to the light incident surface 10A, and is away from the light source block 25. It may be relatively small.
  • the luminance near the light source block 25 is suppressed lower than the case where the opening H is not provided, and the luminance at a location away from the light source block 21 is It can be made higher than when the opening H is not provided.
  • the in-plane luminance can be made uniform.
  • the in-plane luminance when the patterning density at a location 2 mm away from the light incident surface 10A has a distribution as shown in FIG. 91A, as shown in FIG. 80A, it is parallel to the light incident surface 10A. In any direction, the in-plane luminance can be made uniform. On the other hand, for example, when the patterning density at a location 2 mm away from the light incident surface 10A has a flat distribution as shown in FIG. 79B, as shown in FIG. In-plane luminance changes greatly in the direction parallel to the surface 10A.
  • the point light source 23 is used instead of the light source block 25, the density per unit area of the opening H is point-like in the direction parallel to the light incident surface 10A. It may be relatively large at a location near the light source 23 and relatively small at a location away from the point light source 23. Even in this case, the in-plane luminance can be made uniform in the direction parallel to the light incident surface 10A.
  • the width W3 of the linear electrode 32C may be different depending on the distance from the light source 20. For example, as shown in FIG. 81, the width W1 of the linear electrode 32B and the width W3 of the linear electrode 32C are relatively small at a location near the light source 20, and relatively large at a location away from the light source 20. It may be. In this case, for example, in-plane luminance can be made uniform when the entire light emission region of the illumination device 1 is in a bright state.
  • FIG. 81 illustrates a case where the widths W1 and W3 (widths in the X-axis direction) of the linear electrodes 32B and 32C differ depending on the distance from the light source 20 in each linear electrode group.
  • the width in the Y-axis direction of the linear electrodes 32B and 32C may be different according to the distance from the light source 20, and the width in the X-axis direction of the linear electrodes 32B and 32C Both widths in the Y-axis direction may be different depending on the distance from the light source 20.
  • a partial electrode 32A extending in one direction in the plane may be provided instead of the linear electrode 32D.
  • in-plane luminance can be made uniform when the entire light emission area of the lighting device 1 is in a bright state.
  • white display is performed in a region near the light source 20 and a region far from the light source 20 in a direction orthogonal to the light incident surface 10A, the white luminance in both regions can be made equal.
  • each linear electrode 32D may extend in a direction that obliquely intersects the light incident surface 10A. Even in this case, the same effect as described above can be obtained.
  • the extending direction of each linear electrode 32D extends in a direction intersecting with an arrangement direction of pixels of a display panel 210 described later (see FIG. 96 described later). In this case, at the time of three-dimensional display, the difference between the resolution in the direction parallel to the normal line of the light incident surface 10A and the resolution in the direction parallel to the light incident surface 10A can be reduced.
  • FIG. 83 illustrates a case where the linear electrode group is continuous without being divided for each pitch P1 in the direction orthogonal to the light incident surface 10A.
  • the linear electrode group may be divided for each pitch P1 in the direction orthogonal to the light incident surface 10A.
  • 83 and 84 exemplify cases where the widths W1 and W3 (widths in the X-axis direction) of the linear electrodes 32B and 32C are different depending on the distance from the light source 20 in each linear electrode group. ing.
  • the width in the Y-axis direction of the linear electrodes 32B and 32C may be different according to the distance from the light source 20, and the width in the X-axis direction of the linear electrodes 32B and 32C Both widths in the Y-axis direction may be different depending on the distance from the light source 20.
  • FIG. 85 illustrates a case where the linear electrode group extends continuously without being divided for each pitch P1 in the direction orthogonal to the light incident surface 10A. You may divide
  • FIG. 85 illustrates a case where the widths W1 and W3 of the linear electrodes 32B and 32C are different depending on the distance from the light source 20 in each linear electrode group.
  • each linear electrode 32D may extend in a direction orthogonal to the light incident surface 10A. Even in this case, the same effect as described above can be obtained.
  • FIG. 86 illustrates the case where the linear electrode group is not divided in the direction orthogonal to the light incident surface 10A. However, although not illustrated, the linear electrode group may be divided for each predetermined length. Good.
  • FIG. 86 illustrates a case where the widths W1 and W3 (widths in the Y-axis direction) of the linear electrodes 32B and 32C are different depending on the distance from the light source 20 in each linear electrode group.
  • the width in the X-axis direction of the linear electrodes 32B and 32C may be different according to the distance from the light source 20, and the X-axis direction of the linear electrodes 32B and 32C may be different. Both the width and the width in the Y-axis direction may be different depending on the distance from the light source 20.
  • a partial electrode 32A extending in a direction orthogonal to the light incident surface 10A may be provided instead of the linear electrode 32D. Even in this case, the same effect as described above can be obtained.
  • 87 illustrates the case where the partial electrode 32A is not divided in the direction orthogonal to the light incident surface 10A, but although not illustrated, it may be divided for each predetermined length. .
  • the width in the X-axis direction of the linear electrodes 32B and 32C may be different according to the distance from the light source 20, and the X-axis of the linear electrodes 32B and 32C. Both the direction and the width in the Y-axis direction may be different depending on the distance from the light source 20.
  • the transparent substrate 31 and the transparent substrate 37 may be formed integrally with the light guide plate 10.
  • the transparent substrate 37 when the transparent substrate 37 is in contact with the light guide plate 10 in the above-described embodiments, the first modification, and the second modification, for example, as shown in FIG. 88, the transparent substrate 37 is the light guide plate. 10 may be formed integrally.
  • the transparent substrate 37 corresponds to a specific example of “first substrate” or “second substrate” of the present technology.
  • the transparent substrate 31 is integrated with the light guide plate 10 as shown in FIG. It may be formed.
  • the transparent substrate 31 corresponds to a specific example of “first substrate” or “second substrate” of the present technology.
  • the transparent substrate 31 or the transparent substrate 37 corresponds to a specific example of “first substrate” or “second substrate” of the present technology.
  • a light reflection suppressing layer may be provided instead of the reflecting plate 40.
  • the light reflection suppression layer may be, for example, a material in which a low reflectance material is applied to the surface of the base material, or a material in which a light absorbing material is applied to the surface of the base material.
  • a light reflection suppressing layer 90 may be provided instead of the reflecting plate 40.
  • the light reflection suppression layer 90 is made of, for example, a material in which a low reflectance material is applied to the surface of the base material, or a material in which a material that absorbs light is applied to the surface of the base material.
  • the light reflection suppressing layer 90 it is possible to suppress the ratio of the light reflected by the reflection plate 40 when it is provided through the transmission region 30A and entering the display panel 210 to a low level. it can. As a result, the contrast can be increased.
  • the horizontal alignment film is used as the alignment films 33 and 35, but a vertical alignment film may be used.
  • a liquid crystal molecule having negative dielectric anisotropy so-called negative liquid crystal
  • the thickness of the transparent members (the transparent substrate 37 and the light guide plate 10) disposed on the light emitting surface 1A side in relation to the light modulation layer 34 can be reduced. Good. In such a case, the light condensing rate is reduced, so that the emission line width (the width of the scattering region) in the illumination device 1 is narrowed. As a result, when the illumination device 1 is used as a backlight of a display device, it is possible to make it difficult to see a double image formed in the front direction of the display device during three-dimensional display. In addition, due to the decrease in the light collection rate, the viewing angle in the parallax direction at the time of three-dimensional display is not so narrowed by the lens sheet 50, and can be made large enough to withstand practical use.
  • Second Embodiment> A television broadcast signal transmission / reception system including the illuminating device 1 according to the above-described embodiment and modifications 1 to 25 will be described.
  • FIG. 92 is a block diagram illustrating a configuration example of the transmission / reception system for the television broadcast signal 100A according to the second embodiment of the present technology.
  • the transmission / reception system includes, for example, a transmission-side device 100 that transmits a television broadcast signal via wired (cable TV or the like) or wireless (terrestrial digital wave, satellite wave, or the like), and the transmission side via the wired or wireless transmission described above.
  • a receiving-side device 200 that receives a television broadcast signal from the device 100.
  • the receiving-side device 200 corresponds to a specific example of “display device” of the present technology.
  • the television broadcast signal 100A includes video data for two-dimensional display (planar display) or video data for three-dimensional display (stereoscopic display).
  • the video data for 2D display refers to 2D video data having no viewpoint information.
  • the video data for 3D display refers to 2D video data having viewpoint information, and the video data for 3D display includes a plurality of 2D video data having different viewpoints.
  • the transmission-side device 100 is, for example, a television broadcast signal transmission device installed in a broadcasting station or a server on the Internet.
  • FIG. 93 is a block diagram illustrating a configuration example of the reception-side apparatus 200.
  • the reception-side device 200 is, for example, a television that can be connected to the above-described wired or wireless connection.
  • the reception-side device 200 includes, for example, an antenna terminal 201, a digital tuner 202, a demultiplexer 203, an arithmetic circuit 204, and a memory 205.
  • the reception-side device 200 also includes, for example, a decoder 206, a video signal processing circuit 207, a graphic generation circuit 208, a panel drive circuit 209, a display panel 210, a backlight 211, an audio signal processing circuit 212, an audio amplification circuit 213, and a speaker. 214.
  • the reception-side device 200 further includes, for example, a remote control reception circuit 215 and a remote control transmitter 216.
  • the backlight 211 corresponds to the illumination device 1 according to each of the above-described embodiments and modifications 1 to 25.
  • the display panel 210 corresponds to a specific example of “display panel” of the present technology
  • the backlight 211 corresponds to a specific example of “illumination device” of the present technology.
  • the antenna terminal 201 is a terminal for inputting a television broadcast signal received by a receiving antenna (not shown).
  • the digital tuner 202 processes a television broadcast signal input to the antenna terminal 201 and outputs a predetermined transport stream corresponding to the user's selected channel.
  • the demultiplexer 203 extracts a partial TS (Transport Stream) corresponding to the user's selected channel from the transport stream obtained by the digital tuner 202.
  • TS Transport Stream
  • the arithmetic circuit 204 controls the operation of each part of the receiving side device 200.
  • the arithmetic circuit 204 stores, for example, the partial TS obtained by the demultiplexer 203 in the memory 205 and transmits the partial TS read from the memory 205 to the decoder 206. Further, the arithmetic circuit 204 is configured to transmit a control signal 204A for designating, for example, two-dimensional display or three-dimensional display to the video signal processing circuit 207 and the backlight 211.
  • the arithmetic circuit 204 sets the control signal 204A based on, for example, setting information stored in the memory 205, predetermined information included in the partial TS, or setting information input from the remote control receiving circuit 215. It has become.
  • the memory 205 stores, for example, setting information of the receiving side apparatus 200 and data management.
  • the memory 205 can store, for example, setting information such as a partial TS obtained by the demultiplexer 203 and a display method.
  • the decoder 206 obtains video data by performing a decoding process on a video PES (Packetized Elementary Stream) packet included in the partial TS obtained by the demultiplexer 203, for example.
  • the decoder 206 also obtains audio data by performing decoding processing on an audio PES packet included in the partial TS obtained by the demultiplexer 203, for example.
  • the video data refers to video data for 2D display or video data for 3D display.
  • the video signal processing circuit 207 and the graphic generation circuit 208 perform, for example, multi-image processing, graphics data superimposition processing, and the like on the video data obtained by the decoder 206 as necessary.
  • the video signal processing circuit 207 is a case where a signal designating 3D display is input as the control signal 204A from the arithmetic circuit 204, and the video data input from the decoder 206 is video data for 3D display. If there is, for example, one 2D video data is created using a plurality of 2D video data with different viewpoints included in the video data for 3D display input from the decoder 206, and the created 2D The video data is selected as video data to be output to the graphic generation circuit 208. For example, when the video data for 3D display includes two 2D video data with different viewpoints, the video signal processing circuit 207 converts the two 2D video data into one in the horizontal direction.
  • the processing of alternately arranging each row is performed in each row, and one video data in which two two-dimensional video data are alternately arranged in the horizontal direction is created.
  • the video signal processing circuit 207 converts the four 2D video data into the horizontal direction. The process of periodically arranging them one by one is performed in each row, and one video data in which four two-dimensional video data are periodically arranged one by one in the horizontal direction is created.
  • the video signal processing circuit 207 is a case where a signal designating two-dimensional display is input as the control signal 204A from the arithmetic circuit 204, and the video data input from the decoder 206 is video data for three-dimensional display. If there is, for example, a video that outputs any one of a plurality of 2D video data with different viewpoints included in the video data for 3D display input from the decoder 206 to the graphic generation circuit 208 Select as data.
  • the video signal processing circuit 207 is a case where a signal designating two-dimensional display is input as the control signal 204A from the arithmetic circuit 204, and the video data input from the decoder 206 is video data for two-dimensional display. In such a case, for example, the video data for two-dimensional display input from the decoder 206 is selected as video data to be output to the graphic generation circuit 208.
  • the graphic generation circuit 208 generates, for example, a UI (User Interface) screen used for screen display.
  • the panel drive circuit 209 drives the display panel 210 based on the video data output from the graphic generation circuit 208.
  • the configuration of the display panel 210 will be described in detail later.
  • the audio signal processing circuit 212 performs processing such as D / A conversion on the audio data obtained by the decoder 206, for example.
  • the audio amplifier circuit 213 amplifies the audio signal output from the audio signal processing circuit 212 and supplies the amplified audio signal to the speaker 214.
  • the remote control receiving circuit 215 receives a remote control signal transmitted from the remote control transmitter 216, for example, and supplies it to the arithmetic circuit 204.
  • the arithmetic circuit 204 is configured to control each unit of the receiving side device 200 according to, for example, a remote control signal.
  • FIG. 94 illustrates an example of a cross-sectional configuration of a display unit in the reception-side apparatus 200.
  • FIG. 94 is a schematic representation and is not necessarily the same as actual dimensions and shapes.
  • the receiving-side device 200 includes a display panel 210 and a backlight 211 disposed behind the display panel 210.
  • the display panel 210 generates image light by modulating illumination light from the backlight 211 in accordance with the image signal.
  • the display panel 210 has a plurality of pixels arranged two-dimensionally, and displays an image by driving each pixel or a specific pixel.
  • the display panel 210 is, for example, a transmissive liquid crystal display panel (LCD (Liquid Crystal Display)) in which each pixel or specific pixel is driven according to a video signal, and has a structure in which a liquid crystal layer is sandwiched between a pair of transparent substrates. have.
  • LCD Liquid Crystal Display
  • the display panel 210 includes, for example, a polarizing plate, a transparent substrate, a pixel electrode, an alignment film, a liquid crystal layer, an alignment film, a common electrode, a color filter, a transparent substrate, and a polarizing plate in order from the backlight 211 side, although not shown. ing.
  • a stacked body including a transparent substrate, a pixel electrode, an alignment film, a liquid crystal layer, an alignment film, a common electrode, a color filter, and a transparent substrate corresponds to the liquid crystal panel 210A in FIG.
  • the polarizing plate on the backlight 211 side corresponds to the polarizing plate 210B in FIG. 95
  • the polarizing plate on the side opposite to the backlight 211 corresponds to the polarizing plate 210C in FIG.
  • the transparent substrate is made of a substrate transparent to visible light, such as a plate glass.
  • an active driving circuit including a TFT (Thin Film Transistor) that is electrically connected to the pixel electrode, a wiring, and the like is formed on the transparent substrate on the backlight 211 side.
  • the pixel electrode and the common electrode are made of, for example, indium tin oxide (ITO; Indium Tin Oxide).
  • ITO Indium Tin Oxide
  • the pixel electrodes are two-dimensionally arranged on the transparent substrate and function as electrodes for each pixel.
  • the common electrode is formed on one surface of the color filter and functions as a common electrode facing each pixel electrode.
  • the alignment film is made of, for example, a polymer material such as polyimide, and performs an alignment process on the liquid crystal.
  • the liquid crystal layer is made of, for example, a liquid crystal in a VA (Vertical) Alignment) mode, a TN (Twisted matic Nematic) mode, or an STN (Super matic Twisted Nematic) mode. It has a function of changing the direction of the polarization axis of emitted light for each pixel. Note that the orientation of the transmission axis for each pixel is adjusted in multiple stages by changing the alignment of the liquid crystal in multiple stages.
  • the color filter separates light transmitted through the liquid crystal layer into, for example, three primary colors of red (R), green (G), and blue (B), or R, G, B, and white (W).
  • the color filters for separating the colors into four colors such as the above are arranged in correspondence with the arrangement of the pixel electrodes.
  • the polarizing plate is a kind of optical shutter, and allows only light in a certain vibration direction (polarized light) to pass through.
  • the polarizing plate may be an absorptive polarizing element that absorbs light (polarized light) in a vibration direction other than the transmission axis, but it is a reflective polarizing element that reflects to the backlight 211 side to improve luminance. From the viewpoint of The two polarizing plates are arranged so that their polarization axes are different from each other by 90 °, whereby the light emitted from the backlight 211 is transmitted or blocked through the liquid crystal layer.
  • the optical axis AX1 of the bulk 34A and the optical axis AX2 of the fine particles 34B mainly have the components of the optical axis in the same direction, for example, as shown in FIG.
  • the alignment films 33 and 35 are preferably directed in the rubbing direction.
  • the optical axes AX1 and AX2 for example, mainly have an optical axis component in a direction parallel to the transmission axis AX10 of the polarizing plate 210B on the backlight 211 side, as shown in FIG. It is preferable.
  • the transmission axis AX10 preferably faces the rubbing direction of the alignment films 33 and 35 as shown in FIG.
  • the optical axis AX1 when a voltage is applied, is preferably oriented in the same or substantially the same direction as when no voltage is applied.
  • the optical axis AX1 mainly has an optical axis component in a direction parallel to the transmission axis AX10 of the polarizing plate 210B.
  • the optical axis AX1 is oriented in a direction intersecting or orthogonal (or substantially orthogonal) to the optical axis AX5 of the light source 20, and is preferably parallel or substantially parallel to the transparent substrate 31.
  • the optical axis AX2 is preferably displaced in a predetermined direction under the influence of an electric field generated by the voltage applied to the lower electrode 32 and the upper electrode 36 when a voltage is applied.
  • the optical axis AX2 is preferably crossed or orthogonal (or substantially orthogonal) to the transparent substrate 31, for example, as shown in FIGS. That is, it is preferable that the optical axis AX2 is displaced in a direction in which the angle formed by the optical axis AX2 and the normal line of the transparent substrate 31 is reduced by applying a voltage to the lower electrode 32 and the upper electrode 36.
  • the optical axis AX2 preferably intersects or is orthogonal (or substantially orthogonal) with the optical axis AX1, and preferably intersects or is orthogonal (or substantially orthogonal) with the transparent substrate 31.
  • the backlight 211 corresponds to the illumination device 1 according to each of the above embodiments and their modifications. Therefore, the backlight 211 includes the lens sheet 50 on the light guide plate 10.
  • the lighting device 1 or the lighting device 2 according to the above-described embodiment and its modification is used as the backlight 211.
  • the backlight 211 thereby, at the time of three-dimensional display, several linear illumination light is output to a front direction from the predetermined area
  • each linear illumination light output in the front direction enters the back surface of the display panel 210.
  • each pixel array corresponding to each light modulation cell 30a (part that can be a linear scattering region) (that is, the number of pixel columns equal to the number of viewpoints)
  • a pixel column of the three-dimensional pixel 210D is formed.
  • the 2D video data for 3D display is generated by the video signal processing circuit 207 as described above, for example, as shown in FIG. 97, pixels at a common position in each 3D pixel 210D (for example, In FIG. 97, each linear illumination light is incident on 210-1, 210-2, 210-3 or 210-4) at substantially the same angle.
  • the image light modulated by the pixels is output at a predetermined angle from the pixels at the common position in each three-dimensional pixel 210D.
  • the observer since the observer observes images with different parallaxes with the left and right eyes, the observer recognizes that a 3D image (stereoscopic image) is displayed on the display panel 210.
  • the planar illumination light output in the front direction enters the back surface of the display panel 210.
  • each pixel 210E has planar illumination. Light enters at every angle, and the image light modulated by each pixel 210E is output from each pixel 210E. At this time, since the observer observes the same image with both eyes, the observer recognizes that a two-dimensional image (planar image) is displayed on the display panel 210.
  • the lens sheet 50 is provided on the light guide plate 10 in the backlight 211.
  • luminance of a front direction can be made high compared with the case where the lens sheet 50 is not provided.
  • an appropriate viewing angle for example, 15 degrees
  • the lens sheet 50 may be fixed to the polarizing plate 210B using an adhesive or an adhesive.
  • the flat surface of the lens sheet 50 is preferably fixed to the polarizing plate 210B via a fixing layer 212 made of an adhesive or an adhesive.
  • the convex portion 50A is formed by solidifying an energy curable resin such as a UV curable resin, for example, as shown in FIG. 100, a plurality of convex portions 50A are formed on the polarizing plate 210B. It may be formed directly on the surface.
  • a parallax barrier 80 may be provided on the light emission side of the backlight 211.
  • the parallax barrier 80 is preferably provided on the lens sheet 50 as shown in FIG.
  • the lens sheet 50 may be fixed to the polarizing plate 81 of the parallax barrier 80 using an adhesive or an adhesive.
  • the plurality of convex portions 50 ⁇ / b> A of the lens sheet 50 may be directly formed on the surface of the polarizing plate 81 of the parallax barrier 80.
  • a plurality of convex portions 50A provided between the lens sheet 50 and the light guide plate 10 or directly formed on the surface of the polarizing plate 210B are not shown. It may be provided between the light guide plate 10.
  • the parallax barrier 80 limits the light output region of the backlight 211 to a region facing the plurality of partial electrodes 36B or a region corresponding thereto when performing three-dimensional display, and a region adjacent to the scattering region 30B (for example, , Which blocks noise light that can be output from the end of the transmissive region 30A. Further, the parallax barrier 80 expands the light output area of the backlight 211 to an area opposite to the area where the lower electrode 32 and the upper electrode 36 face each other or an area corresponding thereto when performing two-dimensional display. The light output from the light modulation element 30 is transmitted.
  • the parallax barrier 80 includes, in order from the light guide plate 10 side, a polarizing plate 81, a transparent substrate 82, a transparent electrode 83, an alignment film 84, a liquid crystal layer 85, an alignment film 86, and a transparent electrode 87. And a transparent substrate 88 and a polarizing plate 89.
  • the transparent substrates 82 and 88 are made of a substrate transparent to visible light, for example, plate glass. Note that, on the transparent substrate on the light guide plate 10 side, for example, although not shown, an active drive circuit including a TFT and a wiring electrically connected to the transparent electrode 83 is formed.
  • the transparent electrodes 83 and 87 are made of, for example, ITO.
  • the transparent electrode 83 includes a plurality of partial electrodes 83A.
  • the plurality of partial electrodes 83 ⁇ / b> A are formed on the transparent substrate 82.
  • the plurality of partial electrodes 83A have a strip shape extending in one direction in the plane (a direction parallel to the light incident surface 10A).
  • the width of the specific plurality of partial electrodes 83B is narrower than the width of the plurality of partial electrodes 83C excluding the plurality of partial electrodes 83B among the plurality of partial electrodes 83A.
  • the plurality of partial electrodes 83 ⁇ / b> B are used to transmit and block linear illumination light when performing three-dimensional display in the reception-side device 200.
  • the plurality of partial electrodes 83B are arranged at a pitch P6 (same pitch as the pixel pitch P2 or a pitch close thereto) corresponding to the pixel pitch P2 (see FIG. 97) when performing three-dimensional display in the receiving-side device 200.
  • the plurality of partial electrodes 83B and the plurality of partial electrodes 83C are alternately arranged in the arrangement direction (a direction orthogonal to the light incident surface 10A). Note that, when performing two-dimensional display in the receiving-side apparatus 200, all the partial electrodes 83A are used to generate planar illumination light.
  • the transparent electrode 87 is formed on one surface on the transparent substrate 88 and functions as a common electrode facing each partial electrode 83A.
  • the alignment films 84 and 86 are made of a polymer material such as polyimide, for example, and perform an alignment process on the liquid crystal.
  • the liquid crystal layer 85 is made of, for example, VA mode, TN mode, or STN mode liquid crystal, and the direction of the polarization axis of the light from the light guide plate 10 side is changed for each portion facing the partial electrode 73A by the applied voltage from the drive circuit 60. It has a function to change to
  • the polarizing plates 81 and 89 are a kind of optical shutter, and allow only light (polarized light) having a certain vibration direction to pass therethrough.
  • the polarizing plates 81 and 89 may be absorption polarizing elements that absorb light (polarized light) in a vibration direction other than the transmission axis, but are reflective polarizing elements that reflect to the light guide plate 10 side. Also good.
  • the polarizing plates 81 and 89 are arranged so that their polarization axes are different from each other by 90 degrees or in parallel, so that the light from the light guide plate 10 side is transmitted or blocked through the liquid crystal layer 85. It has become.
  • FIG. 104 illustrates an example of a cross-sectional configuration of the backlight 211 in which the parallax barrier 80 is disposed on the lighting device 1.
  • the lens sheet pitch P2 is P1 / 4
  • the pitch P6 is equal to P1.
  • the convex portion 50A is arranged such that the top of the convex portion 50A is positioned to face the light modulation cell 30a (or the light modulation cell 30b).
  • the convex portion 50A is preferably arranged so that the top of the convex portion 50A is positioned opposite the center of the light modulation cell 30a (or light modulation cell 30b) in the width direction.
  • the light transmission portion 83B existing between the adjacent partial electrodes 83A has the light transmission cell 83a (or the light modulation cell 30b) at the center in the width direction of the light transmission portion 83B. It arrange
  • the light transmission part 83B is preferably arranged so that the center in the width direction of the light transmission part 83B is opposite to the center in the width direction of the light modulation cell 30a (or the light modulation cell 30b). .
  • the convex portion 50A is preferably arranged so that the focal point of the convex portion 50A is positioned at the light modulation cell 30a (or the light modulation cell 30b) and the light transmission portion 83B.
  • the light emitted from the light modulation cell 30a (or the light modulation cell 30b) is condensed on the light transmission part 83B by the convex part 50A, so that the parallax barrier 80 is used, High brightness can be achieved.
  • the drive circuit 60 is configured to cause the parallax barrier 80 to function as a slit-like light transmission portion when a signal designating three-dimensional display is input as the control signal 204A. Specifically, the drive circuit 60 applies a voltage at which the parallax barrier 80 exhibits transparency to a specific plurality of partial electrodes 83B among the plurality of partial electrodes 73A, and a plurality of the plurality of partial electrodes 83A. The parallax barrier 80 applies a voltage indicating light shielding properties to the plurality of partial electrodes 83C excluding the partial electrode 83B.
  • the driving circuit 60 causes the entire parallax barrier 80 to function as a light transmission unit. Specifically, the drive circuit 60 applies a voltage at which the parallax barrier 80 exhibits transparency to each partial electrode 83A.
  • each linear illumination light is incident on each pixel 210-1, 210-2, 210-3 or 210-4 (see FIG. 96) at an angle different from the angle at which each linear illumination light is incident. Light can be reduced. As a result, a clear three-dimensional image can be obtained.
  • the image light modulated by the pixels is output at a predetermined angle from the pixels at the common position in each three-dimensional pixel 210D.
  • the observer observes the image light from the pixel 210a illustrated in FIG. 105C with the right eye and simultaneously observes the image light from the pixel 210a illustrated in FIG. 105D with the left eye. That is, the observer observes videos with different parallaxes with the left and right eyes. As a result, the observer recognizes that a 3D image (stereoscopic image) is displayed on the display panel 210.
  • the pixel pitch Px in the horizontal direction is compared with the pixel pitch Py in the vertical direction, the pixel pitch Py in the vertical direction is several times larger than the pixel pitch Px in the horizontal direction. For this reason, the observer observes an image having a pixel pitch that is significantly different between the vertical direction and the horizontal direction. At this time, the observer may feel that the video quality has deteriorated.
  • each scattering region 30B is shifted in the left-right direction (Y-axis direction) by the width of the pixel 210a in relation to the other adjacent scattering region 30B.
  • the pixel pitch Px in the horizontal direction and the pixel pitch Py in the vertical direction can be made closer than those in FIGS. 105C and 105D. As a result, degradation of video quality can be suppressed.
  • the scattering regions 30B may be arranged in an oblique stripe shape. Even in this case, as shown in FIG. 107B, the pixel pitch Px in the horizontal direction and the pixel pitch Py in the vertical direction can be made closer than those in FIGS. 105C and 105D. As a result, degradation of video quality can be suppressed.
  • the inclination angle of each scattering region 30B is 71.57 degrees with 4 parallaxes.
  • a drive circuit for driving the display panel 210 may drive the display panel 210 in a time division manner.
  • the drive circuit 50 synchronizes with the display from the backlight 211 in synchronization with the display of the display panel 210 being sequentially switched pixel by pixel within the number of pixel rows equal to the number of parallaxes within a predetermined period. Switch the output location of the strip illumination light. For example, when the number of viewpoints is 4, as shown in FIG. 108, FIG. 109, FIG. 110, and FIG. 111 in order, the drive circuit 50 displays the display on the display panel 210 within one frame period (1/60 seconds).
  • the output location of the strip-shaped illumination light from the backlight 211 is switched in synchronization with the sequential switching of each pixel row within the four pixel rows.
  • a drive circuit (not shown) for driving the display panel 210 displays one pixel row within the number of pixel rows whose display panel 210 is equal to the number of parallaxes within one frame period (1/60 second).
  • a voltage corresponding to the video signal is applied to each pixel so that the pixels are sequentially switched. In this way, by performing switching at high speed, the observer perceives pixels that are four times the number of pixels that are shining at the moment, and can increase the substantial resolution.
  • P2 P1 / N (N is the number of viewpoints) as shown in FIG. 16 or FIG.
  • N is the number of viewpoints
  • the plurality of convex portions 50 ⁇ / b> A arranged on the matrix are always arranged at positions facing the strip-shaped illumination light even when the output location of the strip-shaped illumination light is switched, and the front luminance can be improved.
  • the optical axis AX1 of the backlight 211 and the transmission axis AX10 of the polarizing plate 210B are orthogonal to or cross each other. You may face the direction. However, in that case, the transmission-side device 100 has an optical axis AX12 between the backlight 211 and the polarizing plate 210B in a direction parallel to an angle bisector formed by the optical axis AX1 and the transmission axis AX10.
  • the polarization direction of the polarized light emitted from the backlight 211 can be rotated in the direction parallel to the transmission axis AX10 by the 1 / 2 ⁇ plate 217. As a result, the light use efficiency can be increased.
  • the lens sheet 50 may be fixed to the 1 / 2 ⁇ plate 217 using an adhesive or an adhesive.
  • the flat surface of the lens sheet 50 is preferably fixed to the 1 / 2 ⁇ plate 217 via a fixing layer made of an adhesive or an adhesive.
  • the convex portion 50A is formed by solidifying an energy curable resin such as a UV curable resin, for example, the plurality of convex portions 50A are formed directly on the surface of the 1 / 2 ⁇ plate 217. It may be.
  • Example> examples of the lighting device 1 according to each of the above embodiments will be described in comparison with comparative examples.
  • the configurations of Examples 1 to 7 and Comparative Examples 1 and 2 are summarized in Table 1 below.
  • membrane array of this was arrange
  • the X-axis direction is a direction orthogonal to the light incident surface 10A, and is a parallax direction during 3D display.
  • the Y-axis direction is a direction parallel to the light incident surface 10A.
  • a light guide plate including the light modulation element 30 is formed by forming an ITO film in a planar shape on a glass substrate (thickness: 100 ⁇ m) different from the above, and bonding the two glass substrates so that the cell gap is 4 ⁇ m. 10 was configured.
  • Example 1 the reflection plate 40 was disposed below the light guide plate 10 via the air interface, and the lens sheet 50 was disposed above the light guide plate 10 via the air interface.
  • the reflection plate 40 is provided with a reflection sheet exhibiting retroreflection characteristics.
  • Example 1 the evaluation was performed with the design shape as shown in Table 1 based on the anamorphic aspherical expression of Equation 1.
  • the comparative example 1 it was set as the same structure as Example 1 except not having the lens sheet 50 on the upper side of the light-guide plate 10.
  • Example 6 compared to Comparative Example 1, due to the effect of the lens sheet 50, the front luminance of each lens sheet 50 is increased by 156% or more in 3D display and 169% or more in 2D display. confirmed. Furthermore, in Example 6, since Rx is a gentle curved surface larger than Px, the line width in the 3D parallax direction at the time of 3D display is 45 ⁇ m, which is thinner than the other examples (57 ⁇ m). It was confirmed that it became a clearer 3D image. If the line width in the 3D parallax direction at the time of 3D display exceeds Px (60 ⁇ m), light is remarkably incident on an adjacent pixel, which causes a double image deterioration.
  • the comparative example 1 it was set as the same structure as Example 7 except having no lens sheet above the light-guide plate 10.
  • FIG. 7 as compared with Comparative Example 2, the front luminance was confirmed to be 140% for 3D display and 151% for 2D display due to the effect of the lens sheet.
  • this technique can take the following composition.
  • An illumination optical system for generating the illumination light A plurality of lenses that narrow the divergence angle of the illumination light, and
  • the illumination optical system includes: A first substrate and a second substrate that are spaced apart and opposed to each other; A light source for irradiating light to an end surface of the first substrate or the second substrate; A light modulation layer provided in a gap between the first substrate and the second substrate and exhibiting scattering or transparency with respect to light from the light source, depending on the magnitude of an electric field;
  • an electric field that generates a plurality of linear scattering regions or a plurality of first point scattering regions arranged in a plurality of rows in the light modulation layer is generated, and in the two-dimensional display mode, An electrode for generating an electric field for generating a planar scattering region or
  • the lens has a convex shape, and the vertex position of the lens is the linear scattering region, the plurality of first point scattering regions arranged in a row, or the plurality of second point scattering arranged in a row.
  • the lighting device according to claim 2 wherein the lighting device is disposed so as to face the region.
  • the pitch of the lens is P1 / n, where P1 is the pitch of the linear scattering region, or the plurality of first point scattering regions arranged in a row or the plurality of second point scattering regions arranged in a row.
  • N is the number of viewpoints in the three-dimensional display mode
  • the electrode is adapted to generate an electric field for generating a plurality of the first point-like scattering regions arranged in a plurality of rows in the light modulation layer when in a three-dimensional display mode,
  • the electrode is configured to generate an electric field for generating a plurality of the second point-like scattering regions arranged in a matrix in the light modulation layer in the two-dimensional display mode.
  • Each lens is arrange
  • the display panel has a polarizing plate, The lighting device according to (8), wherein the plurality of lenses are bonded to the polarizing plate.

Landscapes

  • Physics & Mathematics (AREA)
  • Engineering & Computer Science (AREA)
  • Multimedia (AREA)
  • Signal Processing (AREA)
  • General Physics & Mathematics (AREA)
  • Optics & Photonics (AREA)
  • Nonlinear Science (AREA)
  • Chemical & Material Sciences (AREA)
  • Crystallography & Structural Chemistry (AREA)
  • Mathematical Physics (AREA)
  • Computer Hardware Design (AREA)
  • Theoretical Computer Science (AREA)
  • Liquid Crystal (AREA)
  • Planar Illumination Modules (AREA)
PCT/JP2013/070130 2012-08-08 2013-07-25 表示装置および照明装置 Ceased WO2014024688A1 (ja)

Priority Applications (3)

Application Number Priority Date Filing Date Title
EP13828432.8A EP2884332B1 (en) 2012-08-08 2013-07-25 Display apparatus and illuminating apparatus
CN201380040718.7A CN104508546B (zh) 2012-08-08 2013-07-25 显示装置及照明单元
US14/418,769 US9785006B2 (en) 2012-08-08 2013-07-25 Display apparatus and illumination unit

Applications Claiming Priority (2)

Application Number Priority Date Filing Date Title
JP2012-176490 2012-08-08
JP2012176490A JP6098064B2 (ja) 2012-08-08 2012-08-08 表示装置および照明装置

Publications (1)

Publication Number Publication Date
WO2014024688A1 true WO2014024688A1 (ja) 2014-02-13

Family

ID=50067921

Family Applications (1)

Application Number Title Priority Date Filing Date
PCT/JP2013/070130 Ceased WO2014024688A1 (ja) 2012-08-08 2013-07-25 表示装置および照明装置

Country Status (6)

Country Link
US (1) US9785006B2 (enExample)
EP (1) EP2884332B1 (enExample)
JP (1) JP6098064B2 (enExample)
CN (1) CN104508546B (enExample)
TW (1) TWI550307B (enExample)
WO (1) WO2014024688A1 (enExample)

Cited By (1)

* Cited by examiner, † Cited by third party
Publication number Priority date Publication date Assignee Title
US11181766B2 (en) * 2014-10-22 2021-11-23 Japan Display Inc. Display device

Families Citing this family (36)

* Cited by examiner, † Cited by third party
Publication number Priority date Publication date Assignee Title
TW201400946A (zh) * 2012-05-09 2014-01-01 Sony Corp 照明裝置及顯示裝置
US9568772B2 (en) * 2012-09-14 2017-02-14 Apple Inc. Displays with elevated backlight efficiency
KR102155703B1 (ko) * 2014-01-03 2020-09-14 삼성전자주식회사 디스플레이 장치
JP6336625B2 (ja) 2014-02-17 2018-06-06 ジオプティカ・ゲゼルシャフト・ミット・ベシュレンクテル・ハフツングSioptica Gmbh 切り換え可能な照明デバイス及びその使用
KR20160087021A (ko) * 2015-01-12 2016-07-21 삼성디스플레이 주식회사 표시 장치
TWI607233B (zh) * 2015-02-16 2017-12-01 財團法人工業技術研究院 光學膜結構與顯示器結構
KR102309921B1 (ko) * 2015-03-16 2021-10-07 삼성디스플레이 주식회사 표시 장치 및 이에 포함되는 광학 필름
JP6588263B2 (ja) * 2015-07-16 2019-10-09 デクセリアルズ株式会社 拡散板、表示装置、投影装置及び照明装置
KR102447099B1 (ko) 2015-09-23 2022-09-26 삼성전자주식회사 광원 디바이스, 이를 포함하는 디스플레이 장치, 디스플레이 방법
JP6671940B2 (ja) 2015-12-07 2020-03-25 株式会社ジャパンディスプレイ 表示装置
JP6319355B2 (ja) * 2016-02-23 2018-05-09 株式会社デンソー ヘッドアップディスプレイ装置
US10466538B2 (en) 2016-03-15 2019-11-05 Japan Display Inc. Display device
KR102554120B1 (ko) * 2016-03-24 2023-07-12 티씨엘 차이나 스타 옵토일렉트로닉스 테크놀로지 컴퍼니 리미티드 액정 표시 장치
JP6716323B2 (ja) * 2016-04-01 2020-07-01 株式会社ジャパンディスプレイ 表示装置
CN105974672B (zh) * 2016-07-27 2019-03-12 京东方科技集团股份有限公司 一种显示装置
JP6877910B2 (ja) 2016-08-01 2021-05-26 株式会社ジャパンディスプレイ 表示装置
KR20180036881A (ko) * 2016-09-30 2018-04-10 삼성디스플레이 주식회사 백라이트 유닛 및 그것을 포함하는 표시 장치
KR102698292B1 (ko) 2016-11-10 2024-08-23 삼성전자주식회사 액정 광 편향기 및 디스플레이 장치
CN106647048B (zh) * 2017-03-20 2019-07-16 京东方科技集团股份有限公司 光学结构、显示装置及其工作方法
US10670778B2 (en) 2017-07-20 2020-06-02 Htc Corporation Optical lens, optical system and method of manufacturing optical lens
JP7005243B2 (ja) 2017-09-14 2022-01-21 株式会社ジャパンディスプレイ 表示装置
KR20200131219A (ko) * 2018-03-20 2020-11-23 소니 주식회사 화상 표시 장치
JP7160313B2 (ja) * 2018-07-23 2022-10-25 株式会社ジャパンディスプレイ 表示装置
CN111090191B (zh) 2018-10-24 2022-10-04 中强光电股份有限公司 光源模块及双屏幕显示装置
KR102695173B1 (ko) 2018-12-13 2024-08-19 삼성디스플레이 주식회사 표시모듈 및 이를 포함하는 헤드 마운트 표시장치
CN109616019B (zh) * 2019-01-18 2021-05-18 京东方科技集团股份有限公司 显示面板、显示装置、三维显示方法和三维显示系统
CN110133894B (zh) * 2019-05-31 2022-01-11 京东方科技集团股份有限公司 透明显示面板及其制备方法、透明显示器
USD932141S1 (en) * 2019-09-09 2021-10-05 Debra Ansell Garment with detachable illumination strip
USD933335S1 (en) * 2019-09-09 2021-10-19 Debra Ansell Modular programmable illumination unit for a wearable article
CN110596800B (zh) * 2019-09-29 2022-02-15 重庆京东方显示照明有限公司 用于光扩散膜的基膜、光扩散膜、显示装置及其制备方法
WO2021085682A1 (ko) * 2019-10-31 2021-05-06 엘지전자 주식회사 디스플레이 장치
DE102020002323B3 (de) * 2020-04-07 2021-07-22 Sioptica Gmbh Optisches Element zur Beeinflussung von Lichtrichtungen und Bildschirm mit einem solchen optischen Element
CN115348436B (zh) * 2021-05-13 2023-08-25 幻景启动股份有限公司 可降低格栅感的立体图像显示装置
TWI786775B (zh) 2021-08-19 2022-12-11 友達光電股份有限公司 顯示裝置
CN116699875A (zh) * 2022-02-25 2023-09-05 群创光电股份有限公司 光学结构
TWI889229B (zh) * 2024-03-07 2025-07-01 達擎股份有限公司 可調變透明顯示器

Citations (5)

* Cited by examiner, † Cited by third party
Publication number Priority date Publication date Assignee Title
JP2007519033A (ja) 2003-12-03 2007-07-12 コーニンクレッカ フィリップス エレクトロニクス エヌ ヴィ 2d/3d画像ディスプレイ
JP2010139754A (ja) * 2008-12-11 2010-06-24 Toppan Printing Co Ltd 光拡散デバイス、バックライトユニットおよびディスプレイ装置
JP2011134560A (ja) * 2009-12-24 2011-07-07 Toppan Printing Co Ltd 隠蔽構造体を備えた照明装置と表示装置
WO2011125392A1 (ja) * 2010-04-07 2011-10-13 ソニー株式会社 表示装置および照明装置
WO2013051464A1 (ja) * 2011-10-04 2013-04-11 ソニー株式会社 表示装置および照明装置

Family Cites Families (19)

* Cited by examiner, † Cited by third party
Publication number Priority date Publication date Assignee Title
US6137456A (en) * 1996-07-01 2000-10-24 Corning Incorporated Electronic display device for simultaneously displaying 2D and 3D images
GB0326005D0 (en) * 2003-11-07 2003-12-10 Koninkl Philips Electronics Nv Waveguide for autostereoscopic display
JP2006010868A (ja) * 2004-06-23 2006-01-12 Sony Corp マイクロレンズアレイ、液晶表示装置、投射型表示装置
KR101419234B1 (ko) * 2007-12-18 2014-07-15 엘지디스플레이 주식회사 액정 전계 렌즈 및 이를 이용한 입체 표시 장치
JP4582223B2 (ja) * 2008-08-12 2010-11-17 ソニー株式会社 照明装置および表示装置
JP5263593B2 (ja) * 2008-10-07 2013-08-14 ソニー株式会社 照明装置および表示装置
JP2011029146A (ja) * 2009-06-26 2011-02-10 Sony Corp バックライト、および液晶表示装置
TWI417574B (zh) * 2009-10-09 2013-12-01 Chunghwa Picture Tubes Ltd 變焦透鏡陣列與可切換式平面立體顯示器
JP5467388B2 (ja) 2010-04-06 2014-04-09 ソニー株式会社 照明装置および表示装置
JP5679308B2 (ja) * 2010-04-07 2015-03-04 ソニー株式会社 照明装置および表示装置
KR101783975B1 (ko) * 2010-07-14 2017-10-11 삼성디스플레이 주식회사 입체 영상 표시 장치
CN102156353B (zh) * 2010-10-15 2012-06-27 深圳超多维光电子有限公司 二维/三维可转换显示装置、显示方法、个人数字助理及电脑
JP5516319B2 (ja) * 2010-10-20 2014-06-11 ソニー株式会社 照明装置および表示装置
JP2012104375A (ja) * 2010-11-10 2012-05-31 Toshiba Corp 表示装置およびバックライト装置
US8730416B2 (en) * 2010-12-17 2014-05-20 Semiconductor Energy Laboratory Co., Ltd. Liquid crystal display device
KR20120069432A (ko) * 2010-12-20 2012-06-28 삼성전자주식회사 입체영상표시장치 및 그 구동 방법
JP2012234725A (ja) * 2011-05-02 2012-11-29 Sony Corp 表示装置および照明装置
JP2013050694A (ja) * 2011-07-29 2013-03-14 Sony Corp 照明装置および表示装置
JP6035866B2 (ja) * 2012-05-22 2016-11-30 ソニー株式会社 照明装置および表示装置

Patent Citations (5)

* Cited by examiner, † Cited by third party
Publication number Priority date Publication date Assignee Title
JP2007519033A (ja) 2003-12-03 2007-07-12 コーニンクレッカ フィリップス エレクトロニクス エヌ ヴィ 2d/3d画像ディスプレイ
JP2010139754A (ja) * 2008-12-11 2010-06-24 Toppan Printing Co Ltd 光拡散デバイス、バックライトユニットおよびディスプレイ装置
JP2011134560A (ja) * 2009-12-24 2011-07-07 Toppan Printing Co Ltd 隠蔽構造体を備えた照明装置と表示装置
WO2011125392A1 (ja) * 2010-04-07 2011-10-13 ソニー株式会社 表示装置および照明装置
WO2013051464A1 (ja) * 2011-10-04 2013-04-11 ソニー株式会社 表示装置および照明装置

Non-Patent Citations (1)

* Cited by examiner, † Cited by third party
Title
See also references of EP2884332A4

Cited By (4)

* Cited by examiner, † Cited by third party
Publication number Priority date Publication date Assignee Title
US11181766B2 (en) * 2014-10-22 2021-11-23 Japan Display Inc. Display device
US11531226B2 (en) 2014-10-22 2022-12-20 Japan Display Inc. Display device
US11867995B2 (en) 2014-10-22 2024-01-09 Japan Display Inc. Display device
US12099270B2 (en) 2014-10-22 2024-09-24 Japan Display Inc. Display device

Also Published As

Publication number Publication date
JP2014035448A (ja) 2014-02-24
EP2884332A4 (en) 2016-06-22
JP6098064B2 (ja) 2017-03-22
CN104508546A (zh) 2015-04-08
TWI550307B (zh) 2016-09-21
TW201407196A (zh) 2014-02-16
EP2884332B1 (en) 2019-07-03
US9785006B2 (en) 2017-10-10
US20150293402A1 (en) 2015-10-15
EP2884332A1 (en) 2015-06-17
CN104508546B (zh) 2017-05-31

Similar Documents

Publication Publication Date Title
JP6098064B2 (ja) 表示装置および照明装置
JP5991053B2 (ja) 表示装置および照明装置
TWI477818B (zh) Lighting device and display device
JP5906649B2 (ja) 表示装置
JP5929083B2 (ja) 表示装置
CN102759048B (zh) 显示装置和照明单元
JP5948813B2 (ja) 照明装置および表示装置
US9223160B2 (en) Display
JP2011222237A (ja) 照明装置および表示装置
WO2013018560A1 (ja) 照明装置および表示装置

Legal Events

Date Code Title Description
121 Ep: the epo has been informed by wipo that ep was designated in this application

Ref document number: 13828432

Country of ref document: EP

Kind code of ref document: A1

WWE Wipo information: entry into national phase

Ref document number: 2013828432

Country of ref document: EP

WWE Wipo information: entry into national phase

Ref document number: 14418769

Country of ref document: US

NENP Non-entry into the national phase

Ref country code: DE