WO2013129548A1 - 文書分別システム及び文書分別方法並びに文書分別プログラム - Google Patents
文書分別システム及び文書分別方法並びに文書分別プログラム Download PDFInfo
- Publication number
- WO2013129548A1 WO2013129548A1 PCT/JP2013/055330 JP2013055330W WO2013129548A1 WO 2013129548 A1 WO2013129548 A1 WO 2013129548A1 JP 2013055330 W JP2013055330 W JP 2013055330W WO 2013129548 A1 WO2013129548 A1 WO 2013129548A1
- Authority
- WO
- WIPO (PCT)
- Prior art keywords
- document
- classification
- unit
- classification code
- information
- Prior art date
- Legal status (The legal status is an assumption and is not a legal conclusion. Google has not performed a legal analysis and makes no representation as to the accuracy of the status listed.)
- Ceased
Links
Images
Classifications
-
- G—PHYSICS
- G06—COMPUTING OR CALCULATING; COUNTING
- G06F—ELECTRIC DIGITAL DATA PROCESSING
- G06F16/00—Information retrieval; Database structures therefor; File system structures therefor
- G06F16/20—Information retrieval; Database structures therefor; File system structures therefor of structured data, e.g. relational data
- G06F16/28—Databases characterised by their database models, e.g. relational or object models
- G06F16/284—Relational databases
- G06F16/285—Clustering or classification
-
- G—PHYSICS
- G06—COMPUTING OR CALCULATING; COUNTING
- G06F—ELECTRIC DIGITAL DATA PROCESSING
- G06F16/00—Information retrieval; Database structures therefor; File system structures therefor
- G06F16/30—Information retrieval; Database structures therefor; File system structures therefor of unstructured textual data
- G06F16/35—Clustering; Classification
- G06F16/353—Clustering; Classification into predefined classes
-
- G—PHYSICS
- G06—COMPUTING OR CALCULATING; COUNTING
- G06F—ELECTRIC DIGITAL DATA PROCESSING
- G06F16/00—Information retrieval; Database structures therefor; File system structures therefor
- G06F16/30—Information retrieval; Database structures therefor; File system structures therefor of unstructured textual data
- G06F16/31—Indexing; Data structures therefor; Storage structures
- G06F16/313—Selection or weighting of terms for indexing
-
- G—PHYSICS
- G06—COMPUTING OR CALCULATING; COUNTING
- G06F—ELECTRIC DIGITAL DATA PROCESSING
- G06F16/00—Information retrieval; Database structures therefor; File system structures therefor
- G06F16/90—Details of database functions independent of the retrieved data types
- G06F16/93—Document management systems
-
- G—PHYSICS
- G06—COMPUTING OR CALCULATING; COUNTING
- G06N—COMPUTING ARRANGEMENTS BASED ON SPECIFIC COMPUTATIONAL MODELS
- G06N5/00—Computing arrangements using knowledge-based models
- G06N5/02—Knowledge representation; Symbolic representation
-
- G—PHYSICS
- G06—COMPUTING OR CALCULATING; COUNTING
- G06Q—INFORMATION AND COMMUNICATION TECHNOLOGY [ICT] SPECIALLY ADAPTED FOR ADMINISTRATIVE, COMMERCIAL, FINANCIAL, MANAGERIAL OR SUPERVISORY PURPOSES; SYSTEMS OR METHODS SPECIALLY ADAPTED FOR ADMINISTRATIVE, COMMERCIAL, FINANCIAL, MANAGERIAL OR SUPERVISORY PURPOSES, NOT OTHERWISE PROVIDED FOR
- G06Q10/00—Administration; Management
- G06Q10/10—Office automation; Time management
-
- G—PHYSICS
- G06—COMPUTING OR CALCULATING; COUNTING
- G06Q—INFORMATION AND COMMUNICATION TECHNOLOGY [ICT] SPECIALLY ADAPTED FOR ADMINISTRATIVE, COMMERCIAL, FINANCIAL, MANAGERIAL OR SUPERVISORY PURPOSES; SYSTEMS OR METHODS SPECIALLY ADAPTED FOR ADMINISTRATIVE, COMMERCIAL, FINANCIAL, MANAGERIAL OR SUPERVISORY PURPOSES, NOT OTHERWISE PROVIDED FOR
- G06Q50/00—Information and communication technology [ICT] specially adapted for implementation of business processes of specific business sectors, e.g. utilities or tourism
- G06Q50/10—Services
- G06Q50/18—Legal services
Definitions
- the present invention relates to a document sorting system, a document sorting method, and a document sorting program, and more particularly to a document sorting system, a document sorting method, and a document sorting program for document information related to litigation.
- Patent Document 1 discloses a digital document in which a specific person is designated from at least one or more users included in the user information and is accessed based on access history information regarding the specified specific person. Extracts only the information, sets the accompanying information indicating whether each extracted digital document information document file is related to a lawsuit, and outputs a document file related to the lawsuit based on the supplementary information
- a forensic system is disclosed.
- Patent Document 2 recorded digital information is displayed, and for each of a plurality of document files, a user identification indicating which of the users included in the user information relates to the user is specified. Information is set, the set user identification information is set to be recorded in the storage unit, at least one user is specified, and the user identification information corresponding to the specified user is set Searches the document file, sets incidental information indicating whether or not the retrieved document file is related to the lawsuit, and outputs the document file related to the lawsuit based on the supplementary information. A forensic system is disclosed.
- Patent Document 3 accepts designation of at least one or more document files included in the digital document information, accepts designation of which language the designated document file is translated into, and designates the document file for which designation is accepted.
- Translated into the language that accepted the specification extracted from the digital document information recorded in the recording unit a common document file showing the same content as the specified document file, the extracted common document file was translated
- a forensic system that generates translation-related information indicating that a document file has been translated by using the translation content of the document file, and outputs a document file related to a lawsuit based on the translation-related information.
- Patent Document 1 a forensic system such as Patent Document 1 to Patent Document 3
- a large amount of document information of users using a plurality of computers and servers is collected.
- An object of the present invention is to provide a document sorting system, a document sorting method, and a document sorting program that can be reduced.
- the document discrimination system of the present invention acquires digital information recorded in a plurality of computers or servers, analyzes document information included in the acquired digital information, and classifies the information so that it can be easily used in a lawsuit.
- the document separation system relates to a document classification system, and an extraction unit that extracts a document group that is a data set including a predetermined number of documents from document information, and a document display unit that displays the extracted document group on a screen are displayed.
- a classification code receiving unit that receives a classification code given by the user based on the relevance to the lawsuit for the document group, and the extracted document group is classified for each classification code based on the classification code.
- a selection section that analyzes and selects commonly appearing keywords in a group of documents, a database that records the selected keywords, and a keyword that is recorded in the database.
- a search unit that searches from information, a score calculation unit that calculates a score indicating the relevance between the classification code and the document using the search result of the search unit and the analysis result of the selection unit, and automatically based on the result of the score
- An automatic sorting unit for assigning a classification code is provided.
- Document means data including one or more keywords. For example, e-mails, presentation materials, spreadsheet materials, meeting materials, contracts, organization charts, business plans, and the like.
- Keyword refers to a group of character strings having a certain meaning in a certain language. For example, if a keyword is selected from a sentence “classify a document”, it may be “document” or “classify”.
- Classification code refers to an identifier used to classify documents. For example, when document information is used as evidence in a lawsuit, it may be given according to the type of evidence.
- “Score” refers to a document that quantitatively evaluates the strength of connection with a specific classification code.
- the score calculation unit may calculate the score based on the keywords that appear in the document group and the weighting of each keyword.
- the weighting can be determined based on the amount of information transmitted in each classification code that the keyword has.
- the extraction unit may perform sampling at random when extracting a document group from document information.
- the search unit has a function of searching for the keyword from document information composed of documents not assigned with a classification code
- the score calculation unit analyzes the search result of the search unit and the selection unit Using the result, a score indicating the relevance between the classification code and the document is calculated, and the automatic classification unit extracts a document for which the classification code is not accepted in the classification code reception unit, and automatically performs the processing on the document. It is also possible to provide a function for assigning a classification code.
- the database has a function of extracting and recording related terms that are related to the classification code
- the search unit has a function of searching for related terms from the document information, and calculates a score.
- the section has a function of calculating a score based on a result of searching the related term by the search unit
- the automatic classification unit further has a function of automatically assigning a classification code based on the score calculated by using the related term. May be provided.
- the document classification system of the present invention selects a document that does not include a keyword correlated with the keyword selected by the selection unit, the related term, and the classification code from among the documents included in the document group. You may provide the document exclusion part which excludes the document selected from object.
- the document classification system of the present invention further includes a keyword and a related term having a correlation between the analysis result of the selection unit and the classification code recorded in the database selected by the selection unit based on the score calculated by the score calculation unit. You may provide the learning part to increase / decrease.
- the document classification method of the present invention acquires digital information recorded in a plurality of computers or servers, analyzes document information included in the acquired digital information, and classifies the document information so that it can be easily used in a lawsuit.
- a document group that is a data set including a predetermined number of documents is extracted from document information, the extracted document group is displayed on a screen, and the displayed document group is A keyword that accepts a classification code given by a user based on relevance to a lawsuit, classifies an extracted document group into classification codes based on the classification code, and appears in common in the classified document group
- the selected keyword is recorded, the selected keyword is recorded, the recorded keyword is searched from the document information, and the score indicating the relevance between the classification code and the document is calculated using the search result and the analysis result. , It realizes the function of providing the fractional code automatically based on the results of the scoring.
- the document classification program of the present invention acquires digital information recorded in a plurality of computers or servers, analyzes document information included in the acquired digital information, and classifies the document information so that it can be easily used in a lawsuit.
- a computer has a function of extracting a document group that is a data set including a predetermined number of documents from document information, and a function of displaying the extracted document group on a screen.
- the classification code given by the user based on the relevance with the lawsuit is received, and based on the classification code, the extracted document group is classified for each classification code, and in the classified document group,
- a document discrimination system, a document discrimination method, and a document discrimination program extract a document group that is a data set including a predetermined number of documents from document information, and display and display the extracted document group on a screen.
- a classification code given by the user based on the relevance with the lawsuit is received with respect to the document group, the extracted document group is classified for each classification code based on the classification code, and the classified document group , Analyze and select commonly appearing keywords, record the selected keywords, search the recorded keywords for document information, and use the search results and analysis results to determine the relationship between the classification code and the document.
- the search unit has a function of searching for a keyword from document information composed of a document to which no classification code is assigned
- the score calculation unit includes a search result and a selection unit of the search unit Using the analysis result, a score indicating the relevance between the classification code and the document is calculated, and the automatic classification unit extracts a document that has not received the classification code in the classification code reception unit,
- a function for automatically assigning a classification code is provided, a classification code is automatically assigned to the document information that was not accepted by the classification code receiving unit based on the regularity that the reviewer has classified. It is possible to do.
- the present invention provides a learning unit that increases or decreases keywords and related terms having a correlation between the analysis result of the selection unit and the classification code recorded in the database selected by the selection unit based on the score calculated by the score calculation unit. When it is provided, it is possible to improve the separation accuracy every time the number of separations is repeated.
- the database extracts and records related terms that are related to the classification code
- the search unit searches for the related terms from the document information
- the score calculation unit searches for the related terms by the search unit.
- the score is calculated
- the automatic classification unit automatically assigns a classification code based on the score calculated using the related terms
- the selection unit selects among the documents included in the document group.
- FIG. 1 is a configuration diagram of a document discrimination system according to a first embodiment of the present invention.
- the graph which showed the analysis result in the selection part in the embodiment of the present invention The chart which showed the flow of the process for every step in embodiment of this invention
- the chart which showed the processing flow of the database in the embodiment of the present invention The chart which showed the processing flow of the search part in embodiment of this invention
- the chart which showed the processing flow of the score calculation part in embodiment of this invention The chart which showed the processing flow of the automatic classification part in the embodiment of the present invention
- the chart which showed the processing flow of the extraction part in the embodiment of the present invention The chart which showed the processing flow of the document display part in embodiment of this invention
- the chart which showed the processing flow of the classification code reception part in the embodiment of the present invention The chart which showed the processing flow of the selection part in the embodiment of the present invention
- the chart which showed the processing flow of the document exclusion part in embodiment of this invention The chart which showed the processing flow of the learning part in the embodiment of the present invention Document display screen
- FIG. 1 shows a configuration diagram of a document discrimination system according to the first embodiment.
- the first embodiment is an example in a case where a document related to product A, which is a suspected product, is separated when responding to a document submission order in a patent infringement lawsuit.
- the document classification system is displayed with an extraction unit 102 that extracts a document group that is a data set including a predetermined number of documents from document information, and a document display unit 103 that displays the extracted document group on a screen.
- a classification code receiving unit 104 that receives a classification code given by a user called a reviewer based on the relevance to a lawsuit, and classifies the extracted document group for each classification code.
- a selection unit 105 that analyzes and selects a keyword that appears in common, a database 201 that records the selected keyword, and a search that searches the document information for the keyword recorded in the database 201 Section 106, and using the search result of search section 106 and the analysis result of selection section 105, a score indicating the relevance between the classification code and the document A score calculation unit 107 to be output, an automatic classification unit 108 that automatically assigns a classification code based on the result of the score, a document exclusion unit 109 that excludes a document selected from the classification targets of the automatic classification unit 108, and a selection unit
- the learning unit 110 increases or decreases the keywords selected by the selection unit 105 based on the analysis result of 105 and the score calculated by the score calculation unit, the keywords having a correlation with the classification code recorded in the database 201, and related terms. Yes.
- the document classification system includes an extraction unit 102, a document display unit 103, a classification code reception unit 104, a selection unit 105, a search unit 106, a score calculation unit 107, an automatic classification unit 108, and a document exclusion unit 109. And a learning unit 110, a document classification device 101, a database 201, and a client device 301 used by a reviewer. A plurality of client devices 301 can be provided in one document discrimination system.
- the document classification device 101 and the client device 301 are computers or servers, and operate as various functional units when the CPU executes programs recorded in the ROM based on various inputs.
- the classification code is an identifier used when classifying documents. When document information is used as evidence in a lawsuit, it may be given according to the type of evidence.
- the classification code “unrelated” indicating a document having no evidence capability in the current case, “relevant” indicating that the document needs to be submitted as evidence, and particularly related to the product A
- There are three “important” codes indicating that the document is a document, and among these, documents to which “important” codes are assigned are classified.
- Document refers to digital information that is submitted as evidence in a lawsuit and refers to data that contains one or more words. For example, e-mails, presentation materials, spreadsheet materials, meeting materials, contracts, organization charts, business plans, and the like. It is also possible to handle scan data as a document. In this case, an OCR (Optical Character Reader) device may be provided in the document discrimination system so that the scan data can be converted into text data. By changing to text data by the OCR device, it becomes possible to analyze and search keywords and related terms from the scan data.
- OCR Optical Character Reader
- a “related” code is assigned to the minutes or e-mails that describe the contents of the meeting related to the product A, and the “important” sign is added to the development plan or design document of the product A.
- "And a" unrelated "code are given to materials such as regular meetings that are irrelevant to the product A.
- a keyword is a group of character strings having a certain meaning in a certain language. For example, if a keyword is selected from a sentence “classify a document”, it may be “document” or “classify”. In the first embodiment, keywords such as “infringement”, “lawsuit”, and “patent publication No. XX” are selected with priority.
- the database 201 is a recording device that records data on an electronic medium, and may be inside the document sorting device 101 or may be installed outside as a storage device, for example.
- the document sorting apparatus 101, the database 201, and the client apparatus 301 are connected via a wired or wireless network. It can also be used in the form of cloud computing.
- the database 201 records keywords for each classification code. Further, based on the result of the past classification process, a keyword that can be determined can be registered in advance if the “important” code is immediately given if it is highly relevant to the product A and included in the document. For example, main function names of the product A and keywords such as “lawsuit”, “warning”, and “patent publication”. Similarly, general terms that are highly relevant to the document group to which the “important” code is assigned because of high relevance to the product A are extracted from the results of past classification processing and registered as related terms. Is possible.
- the keywords and related terms once registered in the database 201 are increased or decreased according to the learning result by the learning unit 110, and can be additionally registered and deleted manually.
- the extraction unit 102 can perform sampling at random when extracting a document group from document information. In the first embodiment, 20% of all the document information is extracted at random and set as a classification target by a reviewer. The ratio of documents extracted by the extraction unit 102 from all document information can be set freely. Further, the extraction source may be a part of all document information.
- the document display unit 103 presents a document display screen I1 as shown in FIG.
- the document display screen I1 has a screen structure in which a document to be classified is displayed at the center and a classification code is displayed on the left side, and a classification code to be assigned to the document to be classified is displayed on one screen. It is something that can be done.
- a screen structure in which a portion for displaying a document and a portion for displaying a classification code are different screens may be used.
- the classification code 1 in the document display screen I1 means “unrelated” code
- the classification code 2 means “related” code
- the classification code 3 means “important” code.
- the minor category 1 is assigned to a document related to the price of the product A
- the minor category 2 is assigned to a document related to the development schedule of the product A. It is given.
- a plurality of small classifications may be provided for one classification code, or may not be provided.
- the classification code receiving unit 104 assigns a classification code based on the determination to the documents that are reviewed by the reviewer and determined one by one from the document information displayed by the document display unit 103. Can be classified. Document classification can be performed according to a given classification code.
- the selection unit 105 analyzes the document information classified by the classification code receiving unit 104, and frequently appears in common in the document information to which the classification codes of “irrelevant”, “related”, and “important” are assigned. Are selected as keywords in the classification code.
- FIG. 2 is a graph showing a result of analyzing a document to which the “important” code is assigned by the selection unit 105.
- the vertical axis R_hot includes a keyword selected as a keyword associated with the “important” code among all the documents assigned with the “important” code by the reviewer, and the document assigned with the “important” code. Shows the percentage.
- the horizontal axis indicates the ratio of documents including the keyword selected by the selection unit 105 out of all the documents that the reviewer has performed the sorting process.
- the search unit 106 has a function of searching for a specific keyword from the target document.
- the search unit 106 is composed of documents that have not been given a classification code by the classification code receiving unit 104 when searching for a document including the keyword selected by the selection unit 105 or a related term extracted from the database 201. Search for a group of documents.
- the score calculation unit 107 can calculate a score from the following equation based on the keywords appearing in the document group and the weighting of each keyword.
- the score is a score obtained by quantitatively evaluating the strength of connection with a specific classification code in a certain document.
- the automatic classification unit 108 When automatically assigning a classification code to the document information based on the calculated score, the automatic classification unit 108 extracts a document that has not received the classification code from the classification code reception unit 104, It is also possible to provide a function for automatically assigning a classification code.
- the document excluding unit 109 searches the sentence information to be classified, and searches for a document that does not include any of the keywords and related terms registered in advance in the database 201 and the keyword selected by the selecting unit 105. It is possible to exclude from the classification target in advance.
- the learning unit 110 learns the weighting of each keyword based on the result of the classification process, and increases / decreases keywords and related terms registered in the database 201 based on the learning result.
- the weighting of each keyword can also be determined based on the amount of information transmitted in each classification code that the keyword has. The weighting is learned from the following formula every time the classification process is repeated, and the accuracy can be improved.
- the learning unit can take a learning method in which the classification result is reflected in the weighting using a neural network.
- the client device 301 is a device that is used by a reviewer to check a document code and determine a classification code to be given.
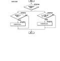
- the separation process is performed in five stages according to the flowchart shown in FIG.
- the keyword registered at this time is a keyword to which an “important” code is immediately given when it is included in a document, such as the name of a function or the name of a technology that is regarded as an infringement of product A.
- a document including the keyword registered in the first stage is searched from all document information. When the document is found, an “important” code is assigned.
- the related terms registered in the first stage are searched from all the document information, the score of the document including the related terms is calculated, and classification is performed.
- the classification code is automatically assigned based on the regularity classified by the reviewer.
- learning is performed using the results of the first to fourth stages.
- First stage> The processing flow of the database 201 in the first stage will be described in detail with reference to FIG. It is determined what stage of processing is to be performed in the database 201, and the first stage of processing is selected (STEP 1: first stage).
- first, keywords are pre-registered in the database 201 (STEP 2). Registered at this time are keywords that can be determined from the result of past classification processing if they are highly relevant to product A and are immediately included in the document if they are given an “important” code.
- general terms that are highly relevant to the document group to which the “important” code is assigned because of high relevance to the product A are extracted from the results of past classification processing (STEP 3), and are registered as related terms. (STEP4).
- StepP 1 It is determined what stage processing is to be performed in the database 201, and the second stage process is selected (STEP 1: second stage). If there is a keyword that needs to be registered in advance in the database 201 (STEP 5: YES), additional registration is performed (STEP 6). When there is no keyword to be additionally registered (STEP 5: NO) and after the processing of STEP 6 is completed, the search unit 106 determines what level of processing is to be performed, and selects the second level of processing (STEP 11: second). Stage). At this stage, the search unit 106 first determines whether there is a keyword pre-registered in the first stage and the second stage in the database 201 (STEP 12). When there is no keyword registered in advance (STEP 12: NO), the process in the second stage ends.
- the automatic sorting unit 108 When the automatic sorting unit 108 receives the notification from the search unit 106 (STEP 29: second stage, STEP 30: YES), it assigns an “important” code to the document subject to the notification, and ends the processing. To do. If the notification is not received from the search unit 106 (STEP 29: second stage, STEP 30: NO), no processing is performed.
- ⁇ Third stage> The processing flow of the database 201, the search unit 106, the score calculation unit 107, and the automatic sorting unit 108 in the third stage will be described in detail with reference to FIG. 4, FIG. 5, FIG.
- StepP 1 third level. If there is a related term that needs to be registered in advance in the database 201 (STEP 7: YES), additional registration is performed (STEP 8). If additional registration of related terms is not required (STEP 7: NO), the third stage process is terminated.
- step 8 the search unit 106 determines what level of processing is to be performed, and selects the third step (STEP 11: third step). At this stage, the search unit 106 determines whether there is a related term registered in the first stage and the second stage in the database 201 (STEP 16). When there is no keyword registered in advance (STEP 16: NO), the third stage process is terminated.
- the score calculation unit 107 When the score calculation unit 107 receives the notification from the search unit 106 (STEP 24: third stage, STEP 23: YES), it uses the above-described formula (1) to find the type of the related term and the related The score of each document is calculated from the weighting of the term and notified to the automatic sorting unit 108 (STEP 28). When the notification that the related term has been found is not received from the search unit 106 (STEP 24: third stage, STEP 23: NO), the third stage process is terminated.
- the automatic classification unit 108 When the automatic classification unit 108 receives a score notification from the score calculation unit 107 (STEP 29: third stage, STEP 32: YES), it determines whether the score exceeds the threshold for each document, and the score exceeds the threshold The “important” code is assigned to the received document, and if there is no document whose score exceeds the threshold, the process is terminated without assigning (STEP 33).
- the extraction unit 102 randomly samples a document from the document information to be classified, and the reviewer manually extracts a document group to which a classification code is assigned (STEP 34).
- the document display unit 103 the extracted document group is displayed on the document display screen I1 (STEP 35).
- the reviewer reads the contents of each document with respect to the document group displayed on the document display screen I1, and determines whether or not there is a relationship between the product A and the contents of the document. Decide whether to grant.
- the document to which the reviewer assigns an “important” sign is, for example, a report on the result of investigating the prior art of product A, a warning letter warned by others that the manufacture of product A is a patent infringement, .
- the classification code given by the reviewer is received by the classification code receiving unit 104 (STEP 36), and the document is classified according to the given classification code (STEP 37).
- the selection unit 105 performs keyword analysis on each document classified in STEP 37 (STEP 38), and selects a keyword having a large number of appearances in common with the document assigned the “important” code (STEP 39).
- the search unit 106 if the keyword related to the “important” code is not registered in the database 201 (STEP 20: NO), the process in the fourth stage is terminated. If the keyword is registered (STEP 20: YES), the document extracted by the extraction unit 102 and classified by the reviewer is omitted from the search target, and the search for the keyword is executed for each remaining document (STEP 21). . In the search, when a keyword is found in the document (STEP 22: YES), the score calculation unit 107 is notified (STEP 23).
- the score calculation unit 107 When the score calculation unit 107 receives a keyword discovery notification (STEP 27: YES), the score calculation unit 107 calculates a score for each document using the above formula (1) and notifies the automatic classification unit.
- the automatic classification unit 108 When the automatic classification unit 108 receives a notification from the score calculation unit 107 (STEP 32: YES), it determines whether the score exceeds the threshold for each document, and assigns an “important” code to the document that exceeds the threshold. Then, the process is terminated without assigning to the documents that did not exceed (STEP 33).
- the first, the second, and the keywords registered in advance in the first and second stages are processed for the document group that has not been subjected to the first to fourth stage processes.
- a search is performed to determine whether there is a document including the related term registered in the third stage and the keyword registered in the fourth stage. If there is any document that has not been found (STEP 40: YES), the document is It excludes from a classification target in advance (STEP 41).
- the learning unit 110 learns the weighting of each keyword according to the expression (2) based on the first to fourth processing results.
- the learning result is reflected in the database 201 (STEP 42).
- the document discrimination system according to the present invention adopts an eDiscovery (electronic evidence disclosure) system such as a cartel or an antitrust law, It can be used in any lawsuit that requires submission.
- eDiscovery electronic evidence disclosure
- the fourth stage processing for automatically assigning the classification code based on the regularity classified by the reviewer is performed after the first stage to the third stage processing. It is also possible to perform only the fourth stage process alone without performing the first to third stage processes.
- the extraction unit 102 extracts a part of the document group from the document information, and first, a fourth stage process is first performed on the extracted document group. Thereafter, an embodiment may be adopted in which the first to third stage processes are performed based on the keywords registered in the fourth stage.
- the classification code receiving unit 104 searches for the keyword selected by the selection unit 105 for the documents that the classification code has not been received.
- the keyword may be searched for document information.
- the automatic classification unit 108 in the fourth stage of the first embodiment, only the documents that the classification code has not been accepted in the classification code reception unit 104 are subject to automatic classification code assignment. It is good also as an object of grant.
- a document discrimination system, a document discrimination method, and a document discrimination program extract a document group that is a data set including a predetermined number of documents from document information, and display and display the extracted document group on a screen.
- the classification code assigned by the reviewer based on the relevance to the lawsuit is received for the document group, the extracted document group is classified for each classification code based on the classification code, and the classified document group , Analyze and select commonly appearing keywords, record the selected keywords, search the recorded keywords for document information, and use the search results and analysis results to determine the relationship between the classification code and the document.
- the search unit has a function of searching for a keyword from document information composed of a document to which no classification code is assigned
- the score calculation unit includes a search result and a selection unit of the search unit Using the analysis result, a score indicating the relevance between the classification code and the document is calculated, and the automatic classification unit extracts a document that has not received the classification code in the classification code reception unit,
- a function for automatically assigning a classification code is provided, a classification code is automatically assigned to the document information that was not accepted by the classification code receiving unit based on the regularity that the reviewer has classified. It is possible to do.
- the present invention provides a learning unit that increases or decreases keywords and related terms having a correlation between the analysis result of the selection unit and the classification code recorded in the database selected by the selection unit based on the score calculated by the score calculation unit. When it is provided, it is possible to improve the separation accuracy every time the number of separations is repeated.
- the database extracts and records related terms that are related to the classification code
- the search unit searches for the related terms from the document information
- the score calculation unit searches for the related terms by the search unit.
- the score is calculated
- the automatic classification unit automatically assigns a classification code based on the score calculated using the related terms
- the selection unit selects the documents included in the document group.
Landscapes
- Engineering & Computer Science (AREA)
- Theoretical Computer Science (AREA)
- Business, Economics & Management (AREA)
- Physics & Mathematics (AREA)
- General Physics & Mathematics (AREA)
- Data Mining & Analysis (AREA)
- Databases & Information Systems (AREA)
- Tourism & Hospitality (AREA)
- Strategic Management (AREA)
- Human Resources & Organizations (AREA)
- General Engineering & Computer Science (AREA)
- General Business, Economics & Management (AREA)
- Marketing (AREA)
- Economics (AREA)
- Entrepreneurship & Innovation (AREA)
- Primary Health Care (AREA)
- Technology Law (AREA)
- Health & Medical Sciences (AREA)
- General Health & Medical Sciences (AREA)
- Software Systems (AREA)
- Operations Research (AREA)
- Quality & Reliability (AREA)
- Mathematical Physics (AREA)
- Computing Systems (AREA)
- Evolutionary Computation (AREA)
- Computational Linguistics (AREA)
- Artificial Intelligence (AREA)
- Information Retrieval, Db Structures And Fs Structures Therefor (AREA)
- Management, Administration, Business Operations System, And Electronic Commerce (AREA)
Priority Applications (7)
| Application Number | Priority Date | Filing Date | Title |
|---|---|---|---|
| CN201380011864.7A CN104160395A (zh) | 2012-02-29 | 2013-02-28 | 文档分类系统、文档分类方法及文档分类程序 |
| KR1020157034318A KR101658794B1 (ko) | 2012-02-29 | 2013-02-28 | 문서 분류 시스템, 문서 분류 방법 및 문서 분류 프로그램 |
| KR1020147026134A KR101582108B1 (ko) | 2012-02-29 | 2013-02-28 | 문서 분류 시스템, 문서 분류 방법 및 문서 분류 프로그램 |
| EP13754385.6A EP2821927A4 (en) | 2012-02-29 | 2013-02-28 | CLASSIFICATION SYSTEM FOR DOCUMENTS, CLASSIFICATION PROCEDURE FOR DOCUMENTS AND DOCUMENT CLASSIFICATION PROGRAM |
| HK15104590.9A HK1204112A1 (en) | 2012-02-29 | 2013-02-28 | Document classification system, document classification method, and document classification program |
| US14/472,296 US9552570B2 (en) | 2012-02-29 | 2013-02-28 | Document classification system, document classification method, and document classification program |
| US15/375,035 US10445357B2 (en) | 2012-02-29 | 2016-12-09 | Document classification system, document classification method, and document classification program |
Applications Claiming Priority (2)
| Application Number | Priority Date | Filing Date | Title |
|---|---|---|---|
| JP2012044382A JP5567049B2 (ja) | 2012-02-29 | 2012-02-29 | 文書分別システム及び文書分別方法並びに文書分別プログラム |
| JP2012-044382 | 2012-02-29 |
Related Child Applications (2)
| Application Number | Title | Priority Date | Filing Date |
|---|---|---|---|
| US14/472,296 A-371-Of-International US9552570B2 (en) | 2012-02-29 | 2013-02-28 | Document classification system, document classification method, and document classification program |
| US15/375,035 Continuation US10445357B2 (en) | 2012-02-29 | 2016-12-09 | Document classification system, document classification method, and document classification program |
Publications (1)
| Publication Number | Publication Date |
|---|---|
| WO2013129548A1 true WO2013129548A1 (ja) | 2013-09-06 |
Family
ID=49082740
Family Applications (1)
| Application Number | Title | Priority Date | Filing Date |
|---|---|---|---|
| PCT/JP2013/055330 Ceased WO2013129548A1 (ja) | 2012-02-29 | 2013-02-28 | 文書分別システム及び文書分別方法並びに文書分別プログラム |
Country Status (7)
| Country | Link |
|---|---|
| US (2) | US9552570B2 (enExample) |
| EP (1) | EP2821927A4 (enExample) |
| JP (1) | JP5567049B2 (enExample) |
| KR (2) | KR101582108B1 (enExample) |
| CN (2) | CN106447300A (enExample) |
| HK (1) | HK1204112A1 (enExample) |
| WO (1) | WO2013129548A1 (enExample) |
Cited By (2)
| Publication number | Priority date | Publication date | Assignee | Title |
|---|---|---|---|---|
| WO2015037498A1 (ja) * | 2013-09-10 | 2015-03-19 | 株式会社Ubic | デジタル情報分析システム、デジタル情報分析方法、及びデジタル情報分析プログラム |
| JP5815911B1 (ja) * | 2014-05-13 | 2015-11-17 | 株式会社Ubic | 文書分析システム、文書分析システムの制御方法、および、文書分析システムの制御プログラム |
Families Citing this family (25)
| Publication number | Priority date | Publication date | Assignee | Title |
|---|---|---|---|---|
| JP5572255B1 (ja) * | 2013-10-11 | 2014-08-13 | 株式会社Ubic | デジタル情報分析システム、デジタル情報分析方法、及びデジタル情報分析プログラム |
| JP5876144B2 (ja) * | 2014-02-04 | 2016-03-02 | 株式会社Ubic | デジタル情報分析システム、デジタル情報分析方法、及びデジタル情報分析プログラム |
| WO2015118619A1 (ja) * | 2014-02-04 | 2015-08-13 | 株式会社Ubic | 文書分析システム及び文書分析方法並びに文書分析プログラム |
| US20170011481A1 (en) * | 2014-02-04 | 2017-01-12 | Ubic, Inc. | Document analysis system, document analysis method, and document analysis program |
| WO2015145524A1 (ja) * | 2014-03-24 | 2015-10-01 | 株式会社Ubic | 文書分析システム、文書分析方法、および、文書分析プログラム |
| US10095986B2 (en) * | 2014-05-14 | 2018-10-09 | Pegasus Transtech Llc | System and method of electronically classifying transportation documents |
| KR101656405B1 (ko) * | 2014-10-06 | 2016-09-09 | 김정철 | 승소 가능성 평가 장치 및 방법 |
| US20170351747A1 (en) * | 2014-10-23 | 2017-12-07 | Fronteo, Inc. | Data analysis system, data analysis method, and data analysis program |
| EP3238095A4 (en) * | 2014-12-23 | 2018-07-11 | Microsoft Technology Licensing, LLC | Surfacing relationships between datasets |
| WO2016111007A1 (ja) * | 2015-01-09 | 2016-07-14 | 株式会社Ubic | データ分析システム、データ分析システムの制御方法、及びデータ分析システムの制御プログラム |
| JPWO2016189605A1 (ja) * | 2015-05-22 | 2018-02-15 | 株式会社Ubic | データ分析に係るシステム、制御方法、制御プログラム、および、その記録媒体 |
| US10657186B2 (en) | 2015-05-29 | 2020-05-19 | Dell Products, L.P. | System and method for automatic document classification and grouping based on document topic |
| JP5946949B1 (ja) * | 2015-12-07 | 2016-07-06 | 株式会社Ubic | データ分析システム、その制御方法、プログラム、および、記録媒体 |
| CN106919551B (zh) * | 2015-12-28 | 2020-08-18 | 株式会社理光 | 一种情感词极性的分析方法、装置及设备 |
| US11010423B2 (en) | 2018-08-20 | 2021-05-18 | Accenture Global Solutions Limited | Populating data fields in electronic documents |
| CN110096590A (zh) * | 2019-03-19 | 2019-08-06 | 天津字节跳动科技有限公司 | 一种文档归类方法、装置、介质和电子设备 |
| CN111814018B (zh) * | 2019-04-10 | 2024-11-22 | 蓝海系统株式会社 | 记录管理系统及方法、文档审批装置及方法、文档制作装置及方法、记录介质 |
| JP6764973B1 (ja) * | 2019-04-25 | 2020-10-07 | みずほ情報総研株式会社 | 関連語辞書作成システム、関連語辞書作成方法及び関連語辞書作成プログラム |
| US11263249B2 (en) * | 2019-05-31 | 2022-03-01 | Kyndryl, Inc. | Enhanced multi-workspace chatbot |
| JP2021077256A (ja) * | 2019-11-13 | 2021-05-20 | 株式会社Fronteo | 文書処理装置、文書レビューシステム、文書処理装置の制御方法、文書レビューサービスを提供する方法、および制御プログラム |
| WO2021255910A1 (ja) * | 2020-06-19 | 2021-12-23 | 三菱電機株式会社 | 開発支援装置、プログラム及び開発支援方法 |
| CN111950253B (zh) * | 2020-08-28 | 2023-12-08 | 鼎富智能科技有限公司 | 用于裁判文书的证据信息提取方法及装置 |
| US11669704B2 (en) | 2020-09-02 | 2023-06-06 | Kyocera Document Solutions Inc. | Document classification neural network and OCR-to-barcode conversion |
| US11809454B2 (en) | 2020-11-21 | 2023-11-07 | International Business Machines Corporation | Label-based document classification using artificial intelligence |
| CN113449164B (zh) * | 2021-05-15 | 2022-08-05 | 南方电网调峰调频发电有限公司信息通信分公司 | 一种移动办公用敏捷开发管理系统 |
Citations (5)
| Publication number | Priority date | Publication date | Assignee | Title |
|---|---|---|---|---|
| JP2003016106A (ja) * | 2001-06-29 | 2003-01-17 | Fuji Xerox Co Ltd | 関連度値算出装置 |
| JP2009098811A (ja) * | 2007-10-15 | 2009-05-07 | Toshiba Corp | 文書分類装置およびプログラム |
| JP2011209931A (ja) | 2010-03-29 | 2011-10-20 | Ubic:Kk | フォレンジックシステム及びフォレンジック方法並びにフォレンジックプログラム |
| JP2011209930A (ja) | 2010-03-29 | 2011-10-20 | Ubic:Kk | フォレンジックシステム及びフォレンジック方法並びにフォレンジックプログラム |
| JP2012032859A (ja) | 2010-07-28 | 2012-02-16 | Ubic:Kk | フォレンジックシステム及びフォレンジック方法並びにフォレンジックプログラム |
Family Cites Families (14)
| Publication number | Priority date | Publication date | Assignee | Title |
|---|---|---|---|---|
| JP3701197B2 (ja) * | 2000-12-28 | 2005-09-28 | 松下電器産業株式会社 | 分類への帰属度計算基準作成方法及び装置 |
| US7769759B1 (en) * | 2003-08-28 | 2010-08-03 | Biz360, Inc. | Data classification based on point-of-view dependency |
| US20070198594A1 (en) * | 2005-11-16 | 2007-08-23 | Lunt Tracy T | Transferring electronic file constituents contained in an electronic compound file using a forensic file copy |
| KR100816912B1 (ko) * | 2006-04-13 | 2008-03-26 | 엘지전자 주식회사 | 문서검색 시스템 및 그 방법 |
| KR100835290B1 (ko) * | 2006-11-07 | 2008-06-05 | 엔에이치엔(주) | 문서 분류 시스템 및 문서 분류 방법 |
| KR100896702B1 (ko) * | 2007-08-16 | 2009-05-14 | 한국과학기술원 | 신뢰도를 향상시킨 문서 구조 기반 군집 장치 및 방법 |
| JP5316158B2 (ja) * | 2008-05-28 | 2013-10-16 | 株式会社リコー | 情報処理装置、全文検索方法、全文検索プログラム、及び記録媒体 |
| US20100205020A1 (en) * | 2009-02-09 | 2010-08-12 | Losey Ralph C | System and method for establishing, managing, and controlling the time, cost, and quality of information retrieval and production in electronic discovery |
| JP5387161B2 (ja) | 2009-06-23 | 2014-01-15 | 富士ゼロックス株式会社 | 言語解析装置及びプログラム |
| DE112010004087T5 (de) * | 2009-12-09 | 2012-10-18 | International Business Machines Corporation | Verfahren, Computersystem und Computerprogramm zum Durchsuchen von Dokumentdaten unter Verwendung eines Suchbegriffs |
| JP5346841B2 (ja) | 2010-02-22 | 2013-11-20 | 株式会社野村総合研究所 | 文書分類システムおよび文書分類プログラムならびに文書分類方法 |
| CN101819601B (zh) * | 2010-05-11 | 2012-02-08 | 同方知网(北京)技术有限公司 | 学术文献自动分类的方法 |
| US8745091B2 (en) * | 2010-05-18 | 2014-06-03 | Integro, Inc. | Electronic document classification |
| US8620918B1 (en) * | 2011-02-01 | 2013-12-31 | Google Inc. | Contextual text interpretation |
-
2012
- 2012-02-29 JP JP2012044382A patent/JP5567049B2/ja not_active Expired - Fee Related
-
2013
- 2013-02-28 HK HK15104590.9A patent/HK1204112A1/xx unknown
- 2013-02-28 CN CN201610879239.XA patent/CN106447300A/zh active Pending
- 2013-02-28 US US14/472,296 patent/US9552570B2/en not_active Expired - Fee Related
- 2013-02-28 WO PCT/JP2013/055330 patent/WO2013129548A1/ja not_active Ceased
- 2013-02-28 KR KR1020147026134A patent/KR101582108B1/ko not_active Expired - Fee Related
- 2013-02-28 CN CN201380011864.7A patent/CN104160395A/zh active Pending
- 2013-02-28 EP EP13754385.6A patent/EP2821927A4/en not_active Withdrawn
- 2013-02-28 KR KR1020157034318A patent/KR101658794B1/ko active Active
-
2016
- 2016-12-09 US US15/375,035 patent/US10445357B2/en active Active
Patent Citations (5)
| Publication number | Priority date | Publication date | Assignee | Title |
|---|---|---|---|---|
| JP2003016106A (ja) * | 2001-06-29 | 2003-01-17 | Fuji Xerox Co Ltd | 関連度値算出装置 |
| JP2009098811A (ja) * | 2007-10-15 | 2009-05-07 | Toshiba Corp | 文書分類装置およびプログラム |
| JP2011209931A (ja) | 2010-03-29 | 2011-10-20 | Ubic:Kk | フォレンジックシステム及びフォレンジック方法並びにフォレンジックプログラム |
| JP2011209930A (ja) | 2010-03-29 | 2011-10-20 | Ubic:Kk | フォレンジックシステム及びフォレンジック方法並びにフォレンジックプログラム |
| JP2012032859A (ja) | 2010-07-28 | 2012-02-16 | Ubic:Kk | フォレンジックシステム及びフォレンジック方法並びにフォレンジックプログラム |
Non-Patent Citations (1)
| Title |
|---|
| See also references of EP2821927A4 * |
Cited By (3)
| Publication number | Priority date | Publication date | Assignee | Title |
|---|---|---|---|---|
| WO2015037498A1 (ja) * | 2013-09-10 | 2015-03-19 | 株式会社Ubic | デジタル情報分析システム、デジタル情報分析方法、及びデジタル情報分析プログラム |
| JP5815911B1 (ja) * | 2014-05-13 | 2015-11-17 | 株式会社Ubic | 文書分析システム、文書分析システムの制御方法、および、文書分析システムの制御プログラム |
| WO2015173894A1 (ja) * | 2014-05-13 | 2015-11-19 | 株式会社Ubic | 文書分析システム、文書分析システムの制御方法、および、文書分析システムの制御プログラム |
Also Published As
| Publication number | Publication date |
|---|---|
| JP2013182338A (ja) | 2013-09-12 |
| KR101658794B1 (ko) | 2016-09-22 |
| KR20140129212A (ko) | 2014-11-06 |
| CN104160395A (zh) | 2014-11-19 |
| JP5567049B2 (ja) | 2014-08-06 |
| US20170091321A1 (en) | 2017-03-30 |
| CN106447300A (zh) | 2017-02-22 |
| KR101582108B1 (ko) | 2016-01-04 |
| EP2821927A1 (en) | 2015-01-07 |
| KR20150142070A (ko) | 2015-12-21 |
| US20150149372A1 (en) | 2015-05-28 |
| EP2821927A4 (en) | 2015-11-04 |
| US9552570B2 (en) | 2017-01-24 |
| US10445357B2 (en) | 2019-10-15 |
| HK1204112A1 (en) | 2015-11-06 |
Similar Documents
| Publication | Publication Date | Title |
|---|---|---|
| JP5567049B2 (ja) | 文書分別システム及び文書分別方法並びに文書分別プログラム | |
| JP5530476B2 (ja) | 文書分別システム及び文書分別方法並びに文書分別プログラム | |
| JP5603468B1 (ja) | 文書分別システム及び文書分別方法並びに文書分別プログラム | |
| JP5827208B2 (ja) | 文書管理システムおよび文書管理方法並びに文書管理プログラム | |
| TW201415264A (zh) | 取證系統、取證方法及取證程式 | |
| JP5823942B2 (ja) | フォレンジックシステム及びフォレンジック方法並びにフォレンジックプログラム | |
| JP5986687B2 (ja) | データ分別システム、データ分別方法、データ分別のためのプログラム、及び、このプログラムの記録媒体 | |
| JP5827206B2 (ja) | 文書管理システムおよび文書管理方法並びに文書管理プログラム | |
| JP5685675B2 (ja) | 文書分別システム及び文書分別方法並びに文書分別プログラム | |
| WO2015025978A1 (ja) | 文書分別システム及び文書分別方法並びに文書分別プログラム | |
| JP5746403B2 (ja) | 文書分別システム、文書分別システムの制御方法、および文書分別システムの制御プログラム | |
| JP5898371B2 (ja) | 文書分別システム、文書分別システムの制御方法、および文書分別システムの制御プログラム | |
| JP2015172952A (ja) | 文書分別システム、文書分別システムの制御方法、および文書分別システムの制御プログラム | |
| JP5850973B2 (ja) | 文書分別システム及び文書分別方法並びに文書分別プログラム | |
| JP2015084244A (ja) | 事前情報を提供する文書調査システム、文書調査方法、及び文書調査プログラム |
Legal Events
| Date | Code | Title | Description |
|---|---|---|---|
| 121 | Ep: the epo has been informed by wipo that ep was designated in this application |
Ref document number: 13754385 Country of ref document: EP Kind code of ref document: A1 |
|
| WWE | Wipo information: entry into national phase |
Ref document number: 14472296 Country of ref document: US |
|
| NENP | Non-entry into the national phase |
Ref country code: DE |
|
| WWE | Wipo information: entry into national phase |
Ref document number: 2013754385 Country of ref document: EP |
|
| ENP | Entry into the national phase |
Ref document number: 20147026134 Country of ref document: KR Kind code of ref document: A |