WO2013051318A1 - 情報処理装置、情報処理方法およびコンピュータプログラム - Google Patents
情報処理装置、情報処理方法およびコンピュータプログラム Download PDFInfo
- Publication number
- WO2013051318A1 WO2013051318A1 PCT/JP2012/068453 JP2012068453W WO2013051318A1 WO 2013051318 A1 WO2013051318 A1 WO 2013051318A1 JP 2012068453 W JP2012068453 W JP 2012068453W WO 2013051318 A1 WO2013051318 A1 WO 2013051318A1
- Authority
- WO
- WIPO (PCT)
- Prior art keywords
- contact
- detection
- unit
- determination
- information processing
- Prior art date
- Legal status (The legal status is an assumption and is not a legal conclusion. Google has not performed a legal analysis and makes no representation as to the accuracy of the status listed.)
- Ceased
Links
Images
Classifications
-
- G—PHYSICS
- G06—COMPUTING OR CALCULATING; COUNTING
- G06F—ELECTRIC DIGITAL DATA PROCESSING
- G06F3/00—Input arrangements for transferring data to be processed into a form capable of being handled by the computer; Output arrangements for transferring data from processing unit to output unit, e.g. interface arrangements
- G06F3/01—Input arrangements or combined input and output arrangements for interaction between user and computer
- G06F3/03—Arrangements for converting the position or the displacement of a member into a coded form
- G06F3/041—Digitisers, e.g. for touch screens or touch pads, characterised by the transducing means
- G06F3/0416—Control or interface arrangements specially adapted for digitisers
-
- G—PHYSICS
- G06—COMPUTING OR CALCULATING; COUNTING
- G06F—ELECTRIC DIGITAL DATA PROCESSING
- G06F3/00—Input arrangements for transferring data to be processed into a form capable of being handled by the computer; Output arrangements for transferring data from processing unit to output unit, e.g. interface arrangements
- G06F3/01—Input arrangements or combined input and output arrangements for interaction between user and computer
- G06F3/048—Interaction techniques based on graphical user interfaces [GUI]
- G06F3/0487—Interaction techniques based on graphical user interfaces [GUI] using specific features provided by the input device, e.g. functions controlled by the rotation of a mouse with dual sensing arrangements, or of the nature of the input device, e.g. tap gestures based on pressure sensed by a digitiser
- G06F3/0488—Interaction techniques based on graphical user interfaces [GUI] using specific features provided by the input device, e.g. functions controlled by the rotation of a mouse with dual sensing arrangements, or of the nature of the input device, e.g. tap gestures based on pressure sensed by a digitiser using a touch-screen or digitiser, e.g. input of commands through traced gestures
-
- G—PHYSICS
- G06—COMPUTING OR CALCULATING; COUNTING
- G06F—ELECTRIC DIGITAL DATA PROCESSING
- G06F3/00—Input arrangements for transferring data to be processed into a form capable of being handled by the computer; Output arrangements for transferring data from processing unit to output unit, e.g. interface arrangements
- G06F3/01—Input arrangements or combined input and output arrangements for interaction between user and computer
- G06F3/048—Interaction techniques based on graphical user interfaces [GUI]
- G06F3/0487—Interaction techniques based on graphical user interfaces [GUI] using specific features provided by the input device, e.g. functions controlled by the rotation of a mouse with dual sensing arrangements, or of the nature of the input device, e.g. tap gestures based on pressure sensed by a digitiser
- G06F3/0488—Interaction techniques based on graphical user interfaces [GUI] using specific features provided by the input device, e.g. functions controlled by the rotation of a mouse with dual sensing arrangements, or of the nature of the input device, e.g. tap gestures based on pressure sensed by a digitiser using a touch-screen or digitiser, e.g. input of commands through traced gestures
- G06F3/04883—Interaction techniques based on graphical user interfaces [GUI] using specific features provided by the input device, e.g. functions controlled by the rotation of a mouse with dual sensing arrangements, or of the nature of the input device, e.g. tap gestures based on pressure sensed by a digitiser using a touch-screen or digitiser, e.g. input of commands through traced gestures for inputting data by handwriting, e.g. gesture or text
Definitions
- the present disclosure relates to an information processing apparatus, an information processing method, and a computer program. More specifically, the present disclosure relates to an information processing apparatus, an information processing method, and a computer program that detect an operation input of an operating tool using a touch sensor.
- a sensor such as a touch panel as a GUI (Graphical User Interface) controller that is widely used as a smartphone or a tablet terminal.
- GUI Graphic User Interface
- Conventional input devices mainly have a configuration in which the sensor is provided only on the surface side where the display unit is provided.
- operation input is performed from the surface, so information displayed on the display unit is displayed.
- the operability is deteriorated. It is considered that the operability is further deteriorated due to the recent increase in the resolution of the display unit.
- the input operation from the front surface is easily visible to others, and it is difficult to hide the input information when inputting highly confidential information such as a password.
- operations gestures
- the position is specified in absolute coordinates, such as an operation that touches a specific button displayed on the display surface or character input.
- the operation to do is difficult. Therefore, it is effective to use such a sensor for detecting an intuitive operation input such as a gesture.
- the touch pad is arranged as a sensor at a position where the user cannot directly view the touch pad during use, it is difficult to understand the outer periphery of the touch pad, and even if the user does not intend to touch the touch pad, the finger touches the touch pad. Is likely to occur.
- the sensor value output from the touch pad becomes unstable, and it is easy to erroneously detect that the tap operation is being performed.
- the senor when the sensor is arranged at a position where the user cannot directly view it during use, it is required to eliminate the erroneous detection of the tap operation by the sensor and prevent the malfunction.
- the present disclosure based on a detection signal from the detection unit that detects contact of the operating body with respect to the contact detection surface, whether the contact position of the operating body is within the contact determination region that is a part of the detection region of the detection unit A detection area determination unit that determines whether or not an operation determination unit determines operation content from the movement of the operation object when the detection area determination unit determines that the operation object has touched the contact determination area; And an event issuing unit that issues an event according to the operation content determined by the unit.
- the detection determination area for detecting contact of the operating body with the contact detection surface is set as a part of the detection area of the detection unit, and is narrower than the detection area.
- the contact position of the operation body is within the contact determination region that is a part of the detection region of the detection unit.
- the computer determines a contact determination in which the contact position of the operating body is a part of the detection area of the detecting unit based on a detection signal from the detecting unit that detects contact of the operating body with the contact detection surface.
- a detection region determination unit that determines whether or not the object is within the region, and an operation determination that determines the operation content from the movement of the operation object when the detection region determination unit determines that the operation object has contacted the contact determination region
- a computer program that functions as an information processing apparatus, and an event issuing unit that issues an event according to the operation content determined by the operation determination unit.
- an information processing apparatus an information processing method, and a computer program that can eliminate erroneous detection of a tap operation by a sensor that is disposed at a position where a user cannot directly view when used. Can do.
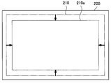
- FIG. 1 is an explanatory diagram illustrating a determination area for determining contact of the operating tool by the information processing apparatus according to the present embodiment.
- the information processing apparatus is an apparatus that determines an operation input performed by a user based on a contact detection result of an operation body such as a finger by a touch sensor and issues an event corresponding to the operation input. .
- the information processing apparatus prevents the user from accidentally determining that the tap operation is performed due to the user's unintentional contact with the touch sensor.
- the contact determination area is narrowed to determine the tap operation.
- the contact determination area 210 can be set as a slightly smaller area than the detection area 200 with respect to the detection area 200 of the entire touch sensor.
- the erroneous detection of the tap operation is likely to occur because the sensor value output from the touch sensor becomes unstable especially when the finger is touching the vicinity of the boundary of the touch sensor.
- the outer peripheral portion of the detection area 200 of the entire touch sensor is excluded from the contact determination area 210 for determining whether or not the operating body is in contact, and the operating body contacts the outer peripheral portion of the detection area 200. So that no event is issued.
- FIG. 2 is an explanatory diagram illustrating a relationship between a touch point and a release point in a general tap operation determination process.
- the touch sensor outputs a detection signal indicating the contact state of the operating body to the information processing apparatus when detecting the contact of the operating body with the contact detection surface.
- the detection signal includes a detection ID, which is unique information given to identify the contact of the operating body, position information p0 (x0, y0) indicating the contact position of the operating body on the contact detection surface, and a contact time t0. Is included.
- the information processing apparatus records each information of the detection signal received from the touch sensor in the memory.
- the information processing apparatus continuously monitors the detection signal of the detection ID given to the operating body that is in contact with the contact detection surface.
- the information processing apparatus determines that the operating tool is not performing a tap operation, Monitoring of the detection signal of the detection ID is stopped.
- the information processing apparatus has a moving distance from the contact position p0 that is less than the tap determination distance D and the time from when the operating tool comes into contact with the contact detection surface.
- the contact time is less than a predetermined time (hereinafter also referred to as “tap determination time”) T, it is determined that a series of movements performed by the operating body is a tap operation. That is, when the operating body is separated from the contact detection surface within the tap determination time T within the circular tap determination region 220 having a radius D centered on the touch point p0 illustrated in FIG. 2, the information processing apparatus performs the operation. It is determined as a tap operation.
- the information processing apparatus determines, for example, whether or not the tap operation is performed based on the tap operation determination process.
- the tap operation determination process the contact determination area when the operating body contacts the touch sensor is narrowed. This prevents erroneous detection of tap operations.
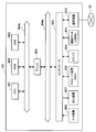
- FIG. 3 shows a functional configuration of the information processing apparatus 100 according to the present embodiment.
- the information processing apparatus 100 includes a detection unit 110, a determination processing unit 120, an event issuing unit 130, a setting information storage unit 140, and a memory 150.
- the detection unit 110 is one of input devices for the user to input information, and detects the contact of the position of an operating body such as a finger.
- an electrostatic touch panel that detects contact of an operating body by sensing an electric signal due to static electricity
- a pressure-sensitive touch panel that detects contact of a finger by detecting a change in pressure on the back surface. Etc. can be used.
- the detection unit 110 uses the detection ID, the position information p0 (x0, y0), and the contact time t0 assigned to specify the contact of the operation tool as detection signals. Output to.
- the determination processing unit 120 is a processing unit that determines whether or not a tap operation has been performed by analyzing the movement of the operating body, and includes a detection region determination unit 122 and an operation determination unit 124.
- the detection region determination unit 122 determines whether or not the operating tool has contacted the contact determination region 210 based on the position information of the detection signal from the detection unit 110.
- the detection area determination unit 122 refers to the setting information storage unit 140 and acquires the range of the contact determination area 210 used for the contact determination of the operating tool in the detection area 200 of the detection unit 110. Then, the detection area determination unit 122 determines whether or not the contact position of the operating tool is included in the contact determination area 210 based on the position information of the detection signal.
- the detection area determination unit 122 determines that the contact position of the operating tool is included in the contact determination area 210, the detection area determination unit 122 outputs a detection signal of the detection ID given to the operation determining unit 124 to the contact operation of the operating tool. Instruct to continue monitoring. At this time, the detection area determination unit 122 records information included in the detection signal received from the detection unit 110, that is, the detection ID, position information, and contact time in the memory 150.
- the operation determination unit 124 determines an operation input performed by the user from the movement of the operating body in contact within the contact determination area 210.
- the operation determination unit 124 monitors the movement of the operating body based on the tap operation determination process described above, for example, and determines whether or not the tap operation has been performed. When it is determined that the tap operation has been performed, the operation determination unit 124 instructs the event issuing unit 130 to issue an event executed by the touch operation. When the operation determination unit 124 determines that the touch operation has not been performed, the operation determination unit 124 does not issue an event issue instruction to the event issue unit 130.
- the event issuing unit 130 issues an event based on an instruction from the operation determining unit 124.
- the event issuing unit 130 issues an event associated with the tap operation.
- the setting information storage unit 140 stores various setting information necessary for the tap operation determination process.
- area information indicating the range of the contact determination area 210, a tap determination distance D for determining a tap operation, a tap determination time T, and the like are recorded. These pieces of information may be stored in advance in the setting information storage unit 140 or may be appropriately set and stored by the user.
- the memory 150 is a storage unit that temporarily stores information necessary for the determination process of the tap operation. For example, information included in the detection signal received from the detection unit 110 is recorded in the memory 150.
- Such an information processing apparatus 100 performs a tap operation determination process according to the flowchart shown in FIG.
- the detection unit 110 continuously monitors the presence or absence of contact of the operating body with the contact detection surface (S100).
- the detection unit 110 repeatedly performs the process of step S100 until it detects contact of the operating body with the contact detection surface.
- the detection part 110 will output a detection signal with respect to the detection area determination part 122, if the contact of the operation body with respect to a contact detection surface is detected.
- the detection region determination unit 122 determines whether or not the contact position of the operating body with respect to the contact detection surface is within the contact determination region 210 (S110).
- the contact determination area 210 is a partial area of the detection area 200, and excludes an area from the detection area 200 where there is a high possibility that the user will unintentionally touch a finger or the like. Can be set.
- the detection area determination unit 122 determines that there is no contact position of the operating tool in the contact determination area 210, the detection area determination unit 122 ends the process illustrated in FIG. 4 and repeats the process from step S100. That is, even if the user touches the operation body unintentionally with the detection area 200 excluded from the contact determination area 210 by the process of step S110, the touch of the operation body is ignored and an event can be issued erroneously. Can be reduced.
- step S110 when it is determined in step S110 that the contact position of the operating tool is within the contact determination area 210, the detection area determining unit 122 records the contact position and contact time of the operating tool in the memory 150 in association with the detection ID. (S120). Then, the operation determination unit 124 continuously monitors the detection signal of the detection ID to determine whether or not the operation tool is separated (released) from the contact detection surface (S130). Until the release of the operating tool is detected, the process of step S130 is repeated.
- the operation determining unit 124 determines the distance between the contact position and the separation position of the operating tool and the time from when the operating tool contacts the contact detection surface until the operating tool is separated. Based on the above, it is determined whether or not a tap operation has been performed (S140). As shown in FIG. 2, the determination of the tap operation is performed by determining that the moving distance from the release point p ⁇ b> 0 that is the contact position of the operating body to the release point r ⁇ b> 0 that is the separation position is less than the tap determination distance D. It can be determined by whether or not the contact time from contact with the detection surface to separation is less than the tap determination time T.
- the operation determination unit 124 calculates the movement distance and the contact time from the detection signal when the operation body stored in the memory 150 contacts the contact detection surface and the detection signal when the release of the operation body is detected. To do. Then, the operation determination unit 124 acquires the tap determination distance D and the tap determination time T from the setting information storage unit 140, and performs comparison with the calculated movement distance and contact time, respectively. When the movement distance of the operating tool is less than the tap determination distance D and the contact time of the operating tool is less than the tap determination time T, the operation determining unit 124 determines that the tap operation has been performed, and performs the tap operation. A corresponding event is issued (S150).
- the operation determining unit 124 ends the process shown in FIG. The process from step S100 is repeated.
- the tap operation determination process by the information processing apparatus 100 according to the present embodiment has been described above. According to the tap operation determination process shown in FIG. 4, it is determined whether to determine the operation input according to the contact position when the operating body contacts the contact detection surface. When the contact position is outside the contact determination area 210, it is determined that the user has not touched the operating tool unintentionally, and no event is issued depending on the operation of the operating tool at this time.
- Fig. 5 shows whether or not an event corresponding to the tap operation is issued for the contact position / separation position patterns of the four operating bodies.
- P indicates a contact position (touch point) of the operating body
- R indicates a separation position (release point) of the operating body.
- an event corresponding to the operation is issued when the contact position of the operating body is within the contact determination area 210. Therefore, in Pattern 1 and Pattern 4 in which the touch point is in the contact determination area 210, an event corresponding to the tap operation is issued when it is determined that the movement of the operating tool is a tap operation. On the other hand, in the pattern 2 and the pattern 3 in which the touch point is outside the contact determination area 210, the contact of the operating body is ignored, and the event corresponding to the operation input by the operating body is not issued. Thus, by providing the contact determination area 210 narrower than the detection area 200, it is possible to operate whether or not an event is issued according to the contact position of the operating tool.
- the contact determination area 210 that is a detection area when the operating tool comes into contact with the contact detection surface is set in advance, and the area range is fixed, but the contact determination area 210 may be variable. Good.
- the contact determination area 210 is set so as to exclude an area in the detection area 200 where the user does not intend to touch the operating tool. Therefore, from the detection signal of the detection unit 110, for example, when there is a portion where the contact and separation of the operating tool frequently occur in the vicinity of the outer periphery of the detection region 200, a contact determination region 210 excluding the portion is newly added. You may make it set.
- the contact determination area 210 is set in advance for the detection area 200 as shown in FIG.
- the contact determination area 210 is set so as to exclude the outer peripheral portion from the detection area 200.
- the tap operation determination process is executed in a state where the contact determination area 210 is set as described above, it is detected that the contact of the operating body and the separation occur frequently in the outer peripheral portion of the contact determination area 210. It is assumed that 110 detection signals are recognized.
- the information processing apparatus 100 may set a new contact determination area 210a by further narrowing the contact determination area 210 using the detection area determination unit 122, for example. As a result, it is possible to more effectively prevent the occurrence of an event due to the contact of the operating tool not intended by the user.
- the contact determination area 210 is set to a shape similar to the detection area 200, but the present technology is not limited to such an example.
- the contact determination area 210 may be set so as to exclude the part.
- the processing by the information processing apparatus 100 according to the present embodiment can be executed by hardware or can be executed by software.
- the information processing apparatus 100 can also be configured as shown in FIG.
- a hardware configuration example of the information processing apparatus 100 according to the present embodiment will be described with reference to FIG.
- the information processing apparatus 100 can be realized by a processing apparatus such as a computer.
- the information processing apparatus 100 includes a CPU (Central Processing Unit) 901, a ROM (Read Only Memory) 902, a RAM (Random Access Memory) 903, and a host bus 904a.
- the information processing apparatus 100 also includes a bridge 904, an external bus 904b, an interface 905, an input device 906, an output device 907, a storage device (HDD) 908, a drive 909, a connection port 911, and a communication device. 913.
- the CPU 901 functions as an arithmetic processing unit and a control unit, and controls the overall operation in the information processing apparatus 100 according to various programs. Further, the CPU 901 may be a microprocessor.
- the ROM 902 stores programs used by the CPU 901, calculation parameters, and the like.
- the RAM 903 temporarily stores programs used in the execution of the CPU 901, parameters that change as appropriate during the execution, and the like. These are connected to each other by a host bus 904a including a CPU bus.
- the host bus 904a is connected to an external bus 904b such as a PCI (Peripheral Component Interconnect / Interface) bus via a bridge 904.
- an external bus 904b such as a PCI (Peripheral Component Interconnect / Interface) bus
- PCI Peripheral Component Interconnect / Interface
- the host bus 904a, the bridge 904, and the external bus 904b are not necessarily separated from each other, and these functions may be mounted on one bus.
- the input device 906 includes an input means for inputting information by the user such as a mouse, keyboard, touch panel, button, microphone, switch, and lever, and an input control circuit that generates an input signal based on the input by the user and outputs the input signal to the CPU 901. Etc.
- the output device 907 includes, for example, a liquid crystal display (LCD) device, an OLED (Organic Light Emitting Diode) device and a display device such as a lamp, and an audio output device such as a speaker.
- LCD liquid crystal display
- OLED Organic Light Emitting Diode
- the storage device 908 is an example of a storage unit of the information processing apparatus 100, and is a data storage device.
- the storage device 908 may include a storage medium, a recording device that records data on the storage medium, a reading device that reads data from the storage medium, a deletion device that deletes data recorded on the storage medium, and the like.
- the storage device 908 is composed of, for example, an HDD (Hard Disk Drive).
- the storage device 908 drives a hard disk and stores programs executed by the CPU 901 and various data.
- the drive 909 is a storage medium reader / writer, and is built in or externally attached to the information processing apparatus 100.
- the drive 909 reads information recorded on a mounted removable recording medium such as a magnetic disk, an optical disk, a magneto-optical disk, or a semiconductor memory, and outputs the information to the RAM 903.
- the connection port 911 is an interface connected to an external device, and is a connection port with an external device capable of transmitting data by USB (Universal Serial Bus), for example.
- the communication device 913 is a communication interface configured by a communication device or the like for connecting to the communication network 10, for example.
- the communication device 913 may be a wireless LAN (Local Area Network) compatible communication device, a wireless USB compatible communication device, or a wire communication device that performs wired communication.
- the tap operation determination process performed by the information processing apparatus 100 according to the present technology may be applied not only to the back and side surfaces of the terminal that cannot be viewed by the user during the operation, but also to touch sensors provided on the front surface.
- the detection unit 110 has been described as a component of the information processing apparatus 100, but the present technology is not limited to such an example.
- the detection unit 110 may be provided separately from the information processing apparatus 100, and the information processing apparatus 100 only needs to be able to receive the detection signal of the detection unit 110.
- a detection area determination unit to perform An operation determination unit that determines the operation content from the movement of the operation body when the detection area determination unit determines that the operation body has touched the contact determination area;
- An information processing apparatus comprising: (2) The information processing apparatus according to (1), wherein the contact determination area is set by excluding a part of the detection area where contact and separation of the operating body frequently occur.
- the information processing apparatus changes the contact determination area based on the detection signal.
- the operation determination unit is Based on the detection signal, the moving distance from the contact position of the operating body to the separation position and the contact time from when the operating body comes into contact with the contact detection surface until it is separated are calculated, Any one of (1) to (3), wherein when the movement time is less than a predetermined distance and the contact time is less than a predetermined time, the movement of the operating body is determined to be a tap operation.
- the information processing apparatus described.
- (5) 5 The information processing apparatus according to any one of (1) to (4), wherein a contact detection surface of the detection unit is disposed at a position where a user operating the terminal cannot visually check during operation.
Landscapes
- Engineering & Computer Science (AREA)
- General Engineering & Computer Science (AREA)
- Theoretical Computer Science (AREA)
- Human Computer Interaction (AREA)
- Physics & Mathematics (AREA)
- General Physics & Mathematics (AREA)
- User Interface Of Digital Computer (AREA)
- Position Input By Displaying (AREA)
- Air Conditioning Control Device (AREA)
Priority Applications (2)
| Application Number | Priority Date | Filing Date | Title |
|---|---|---|---|
| EP12838208.2A EP2765489B1 (en) | 2011-10-04 | 2012-07-20 | Information processing device, information processing method and computer program |
| US14/348,038 US9405393B2 (en) | 2011-10-04 | 2012-07-20 | Information processing device, information processing method and computer program |
Applications Claiming Priority (2)
| Application Number | Priority Date | Filing Date | Title |
|---|---|---|---|
| JP2011-219946 | 2011-10-04 | ||
| JP2011219946A JP5942375B2 (ja) | 2011-10-04 | 2011-10-04 | 情報処理装置、情報処理方法およびコンピュータプログラム |
Publications (1)
| Publication Number | Publication Date |
|---|---|
| WO2013051318A1 true WO2013051318A1 (ja) | 2013-04-11 |
Family
ID=48021313
Family Applications (1)
| Application Number | Title | Priority Date | Filing Date |
|---|---|---|---|
| PCT/JP2012/068453 Ceased WO2013051318A1 (ja) | 2011-10-04 | 2012-07-20 | 情報処理装置、情報処理方法およびコンピュータプログラム |
Country Status (6)
| Country | Link |
|---|---|
| US (1) | US9405393B2 (enExample) |
| EP (1) | EP2765489B1 (enExample) |
| JP (1) | JP5942375B2 (enExample) |
| CN (2) | CN103034359B (enExample) |
| TW (1) | TW201329810A (enExample) |
| WO (1) | WO2013051318A1 (enExample) |
Cited By (1)
| Publication number | Priority date | Publication date | Assignee | Title |
|---|---|---|---|---|
| JP2014215639A (ja) * | 2013-04-22 | 2014-11-17 | シャープ株式会社 | 情報処理装置および制御プログラム |
Families Citing this family (6)
| Publication number | Priority date | Publication date | Assignee | Title |
|---|---|---|---|---|
| JP5942375B2 (ja) * | 2011-10-04 | 2016-06-29 | ソニー株式会社 | 情報処理装置、情報処理方法およびコンピュータプログラム |
| CN103793143A (zh) * | 2014-02-13 | 2014-05-14 | 宇龙计算机通信科技(深圳)有限公司 | 一种用户界面按键显示方法及装置 |
| CN104635985B (zh) * | 2015-01-30 | 2017-02-15 | 努比亚技术有限公司 | 移动终端防误触控方法及装置 |
| CN104714691B (zh) | 2015-01-30 | 2017-02-15 | 努比亚技术有限公司 | 移动终端防误触控方法及装置 |
| CN104731511B (zh) * | 2015-03-31 | 2018-03-27 | 联想(北京)有限公司 | 一种信息处理的方法及电子设备 |
| KR102535056B1 (ko) * | 2016-08-03 | 2023-05-22 | 삼성전자 주식회사 | 전자 장치 및 터치 인식 방법 |
Citations (4)
| Publication number | Priority date | Publication date | Assignee | Title |
|---|---|---|---|---|
| JP2000039964A (ja) * | 1998-07-22 | 2000-02-08 | Sharp Corp | 手書き入力装置 |
| JP2009157908A (ja) | 2007-12-07 | 2009-07-16 | Sony Corp | 情報表示端末、情報表示方法、およびプログラム |
| JP2010108061A (ja) | 2008-10-28 | 2010-05-13 | Sony Corp | 情報処理装置、情報処理方法および情報処理プログラム |
| JP2011141753A (ja) * | 2010-01-07 | 2011-07-21 | Sony Corp | 表示制御装置、表示制御方法及び表示制御プログラム |
Family Cites Families (13)
| Publication number | Priority date | Publication date | Assignee | Title |
|---|---|---|---|---|
| US7382358B2 (en) * | 2003-01-16 | 2008-06-03 | Forword Input, Inc. | System and method for continuous stroke word-based text input |
| US20090174679A1 (en) * | 2008-01-04 | 2009-07-09 | Wayne Carl Westerman | Selective Rejection of Touch Contacts in an Edge Region of a Touch Surface |
| WO2009147870A1 (ja) * | 2008-06-03 | 2009-12-10 | シャープ株式会社 | 入力検出装置、入力検出方法、プログラム、および記録媒体 |
| JP5066055B2 (ja) * | 2008-10-28 | 2012-11-07 | 富士フイルム株式会社 | 画像表示装置、画像表示方法およびプログラム |
| KR101021857B1 (ko) * | 2008-12-30 | 2011-03-17 | 삼성전자주식회사 | 듀얼 터치 센서를 이용하여 제어 신호를 입력하는 장치 및 방법 |
| US20110069021A1 (en) * | 2009-06-12 | 2011-03-24 | Hill Jared C | Reducing false touchpad data by ignoring input when area gesture does not behave as predicted |
| JP5669169B2 (ja) * | 2009-07-28 | 2015-02-12 | Necカシオモバイルコミュニケーションズ株式会社 | 端末装置及びプログラム |
| JP5451233B2 (ja) * | 2009-07-30 | 2014-03-26 | Necカシオモバイルコミュニケーションズ株式会社 | 携帯端末装置及びプログラム |
| JP2011036424A (ja) * | 2009-08-11 | 2011-02-24 | Sony Computer Entertainment Inc | ゲーム装置、ゲーム制御プログラム、及びゲーム制御方法 |
| JP5418187B2 (ja) * | 2009-12-02 | 2014-02-19 | ソニー株式会社 | 接触操作判定装置、接触操作判定方法およびプログラム |
| JP2011150413A (ja) * | 2010-01-19 | 2011-08-04 | Sony Corp | 情報処理装置、操作入力方法及び操作入力プログラム |
| US8674959B2 (en) * | 2010-06-28 | 2014-03-18 | Intel Corporation | Dynamic bezel for a mobile device |
| JP5942375B2 (ja) * | 2011-10-04 | 2016-06-29 | ソニー株式会社 | 情報処理装置、情報処理方法およびコンピュータプログラム |
-
2011
- 2011-10-04 JP JP2011219946A patent/JP5942375B2/ja not_active Expired - Fee Related
-
2012
- 2012-07-20 US US14/348,038 patent/US9405393B2/en active Active
- 2012-07-20 EP EP12838208.2A patent/EP2765489B1/en active Active
- 2012-07-20 WO PCT/JP2012/068453 patent/WO2013051318A1/ja not_active Ceased
- 2012-09-19 TW TW101134285A patent/TW201329810A/zh unknown
- 2012-09-26 CN CN201210363658.XA patent/CN103034359B/zh active Active
- 2012-09-26 CN CN2012204962030U patent/CN202929607U/zh not_active Expired - Fee Related
Patent Citations (4)
| Publication number | Priority date | Publication date | Assignee | Title |
|---|---|---|---|---|
| JP2000039964A (ja) * | 1998-07-22 | 2000-02-08 | Sharp Corp | 手書き入力装置 |
| JP2009157908A (ja) | 2007-12-07 | 2009-07-16 | Sony Corp | 情報表示端末、情報表示方法、およびプログラム |
| JP2010108061A (ja) | 2008-10-28 | 2010-05-13 | Sony Corp | 情報処理装置、情報処理方法および情報処理プログラム |
| JP2011141753A (ja) * | 2010-01-07 | 2011-07-21 | Sony Corp | 表示制御装置、表示制御方法及び表示制御プログラム |
Cited By (1)
| Publication number | Priority date | Publication date | Assignee | Title |
|---|---|---|---|---|
| JP2014215639A (ja) * | 2013-04-22 | 2014-11-17 | シャープ株式会社 | 情報処理装置および制御プログラム |
Also Published As
| Publication number | Publication date |
|---|---|
| CN202929607U (zh) | 2013-05-08 |
| JP5942375B2 (ja) | 2016-06-29 |
| US20140232678A1 (en) | 2014-08-21 |
| US9405393B2 (en) | 2016-08-02 |
| EP2765489A1 (en) | 2014-08-13 |
| TW201329810A (zh) | 2013-07-16 |
| EP2765489A4 (en) | 2015-06-03 |
| CN103034359A (zh) | 2013-04-10 |
| CN103034359B (zh) | 2017-11-21 |
| JP2013080373A (ja) | 2013-05-02 |
| EP2765489B1 (en) | 2019-04-10 |
Similar Documents
| Publication | Publication Date | Title |
|---|---|---|
| JP5887807B2 (ja) | 情報処理装置、情報処理方法およびコンピュータプログラム | |
| US8581869B2 (en) | Information processing apparatus, information processing method, and computer program | |
| JP5942375B2 (ja) | 情報処理装置、情報処理方法およびコンピュータプログラム | |
| US8704787B2 (en) | Information processing apparatus, information processing method, and computer program | |
| US20100241956A1 (en) | Information Processing Apparatus and Method of Controlling Information Processing Apparatus | |
| US20180164942A1 (en) | Apparatus and method of adjusting power mode of a display of a device | |
| JP6103835B2 (ja) | 情報処理装置およびその制御方法 | |
| US10394381B2 (en) | False input reduction systems, apparatus, and methods for an information processing device | |
| JP5845585B2 (ja) | 情報処理装置 | |
| CN104375680A (zh) | 一种电子设备及输入方法 | |
| JP5899568B2 (ja) | 入力物体を区別するシステム及び方法 | |
| JP2017033030A (ja) | 情報処理装置 | |
| KR20140086805A (ko) | 전자 장치, 그 제어 방법 및 컴퓨터 판독가능 기록매체 | |
| CN107066105B (zh) | 具有视觉反馈的输入设备、处理系统和电子系统 | |
| US9772713B2 (en) | Display device | |
| US20150138102A1 (en) | Inputting mode switching method and system utilizing the same | |
| JP5777934B2 (ja) | 情報処理装置、情報処理装置の制御方法、及び制御プログラム | |
| JP6079857B2 (ja) | 情報処理装置 |
Legal Events
| Date | Code | Title | Description |
|---|---|---|---|
| 121 | Ep: the epo has been informed by wipo that ep was designated in this application |
Ref document number: 12838208 Country of ref document: EP Kind code of ref document: A1 |
|
| WWE | Wipo information: entry into national phase |
Ref document number: 2012838208 Country of ref document: EP |
|
| WWE | Wipo information: entry into national phase |
Ref document number: 14348038 Country of ref document: US |
|
| NENP | Non-entry into the national phase |
Ref country code: DE |