WO2012086405A1 - 暗号処理システム、鍵生成装置、暗号化装置、復号装置、暗号処理方法及び暗号処理プログラム - Google Patents

暗号処理システム、鍵生成装置、暗号化装置、復号装置、暗号処理方法及び暗号処理プログラム Download PDF

Info

Publication number
WO2012086405A1
WO2012086405A1 PCT/JP2011/078164 JP2011078164W WO2012086405A1 WO 2012086405 A1 WO2012086405 A1 WO 2012086405A1 JP 2011078164 W JP2011078164 W JP 2011078164W WO 2012086405 A1 WO2012086405 A1 WO 2012086405A1
Authority
WO
WIPO (PCT)
Prior art keywords
integer
vector
coefficient
variable
identification information
Prior art date
Legal status (The legal status is an assumption and is not a legal conclusion. Google has not performed a legal analysis and makes no representation as to the accuracy of the status listed.)
Ceased
Application number
PCT/JP2011/078164
Other languages
English (en)
French (fr)
Japanese (ja)
Inventor
克幸 高島
岡本 龍明
Current Assignee (The listed assignees may be inaccurate. Google has not performed a legal analysis and makes no representation or warranty as to the accuracy of the list.)
Mitsubishi Electric Corp
NTT Inc
Original Assignee
Mitsubishi Electric Corp
Nippon Telegraph and Telephone Corp
Priority date (The priority date is an assumption and is not a legal conclusion. Google has not performed a legal analysis and makes no representation as to the accuracy of the date listed.)
Filing date
Publication date
Application filed by Mitsubishi Electric Corp, Nippon Telegraph and Telephone Corp filed Critical Mitsubishi Electric Corp
Priority to KR1020137012670A priority Critical patent/KR101393899B1/ko
Priority to EP11851495.9A priority patent/EP2613472A4/en
Priority to CN201180061703.XA priority patent/CN103270719B/zh
Priority to US13/823,507 priority patent/US8938623B2/en
Publication of WO2012086405A1 publication Critical patent/WO2012086405A1/ja
Anticipated expiration legal-status Critical
Ceased legal-status Critical Current

Links

Images

Classifications

    • HELECTRICITY
    • H04ELECTRIC COMMUNICATION TECHNIQUE
    • H04LTRANSMISSION OF DIGITAL INFORMATION, e.g. TELEGRAPHIC COMMUNICATION
    • H04L9/00Cryptographic mechanisms or cryptographic arrangements for secret or secure communications; Network security protocols
    • H04L9/08Key distribution or management, e.g. generation, sharing or updating, of cryptographic keys or passwords
    • GPHYSICS
    • G09EDUCATION; CRYPTOGRAPHY; DISPLAY; ADVERTISING; SEALS
    • G09CCIPHERING OR DECIPHERING APPARATUS FOR CRYPTOGRAPHIC OR OTHER PURPOSES INVOLVING THE NEED FOR SECRECY
    • G09C1/00Apparatus or methods whereby a given sequence of signs, e.g. an intelligible text, is transformed into an unintelligible sequence of signs by transposing the signs or groups of signs or by replacing them by others according to a predetermined system
    • HELECTRICITY
    • H04ELECTRIC COMMUNICATION TECHNIQUE
    • H04LTRANSMISSION OF DIGITAL INFORMATION, e.g. TELEGRAPHIC COMMUNICATION
    • H04L9/00Cryptographic mechanisms or cryptographic arrangements for secret or secure communications; Network security protocols
    • H04L9/30Public key, i.e. encryption algorithm being computationally infeasible to invert or user's encryption keys not requiring secrecy
    • H04L9/3066Public key, i.e. encryption algorithm being computationally infeasible to invert or user's encryption keys not requiring secrecy involving algebraic varieties, e.g. elliptic or hyper-elliptic curves
    • H04L9/3073Public key, i.e. encryption algorithm being computationally infeasible to invert or user's encryption keys not requiring secrecy involving algebraic varieties, e.g. elliptic or hyper-elliptic curves involving pairings, e.g. identity based encryption [IBE], bilinear mappings or bilinear pairings, e.g. Weil or Tate pairing
    • HELECTRICITY
    • H04ELECTRIC COMMUNICATION TECHNIQUE
    • H04LTRANSMISSION OF DIGITAL INFORMATION, e.g. TELEGRAPHIC COMMUNICATION
    • H04L9/00Cryptographic mechanisms or cryptographic arrangements for secret or secure communications; Network security protocols
    • H04L9/006Cryptographic mechanisms or cryptographic arrangements for secret or secure communications; Network security protocols involving public key infrastructure [PKI] trust models
    • H04L9/007Cryptographic mechanisms or cryptographic arrangements for secret or secure communications; Network security protocols involving public key infrastructure [PKI] trust models involving hierarchical structures
    • HELECTRICITY
    • H04ELECTRIC COMMUNICATION TECHNIQUE
    • H04LTRANSMISSION OF DIGITAL INFORMATION, e.g. TELEGRAPHIC COMMUNICATION
    • H04L9/00Cryptographic mechanisms or cryptographic arrangements for secret or secure communications; Network security protocols
    • H04L9/008Cryptographic mechanisms or cryptographic arrangements for secret or secure communications; Network security protocols involving homomorphic encryption

Definitions

  • the present invention relates to a functional encryption (FE) system.
  • Non-Patent Documents 3-6, 10, 12, 13, 15, and 18 describe an ID-based encryption (Identity-Based Encryption, IBE) method, which is one class of functional encryption methods.
  • IBE Identity-Based Encryption
  • An object of the present invention is to provide a secure functional encryption method having a multifunctional encryption function.
  • L KP L KP is an integer of 1 or more
  • a first KP information input unit for inputting KP ; t 1,.
  • N t KP integer K ′ decryption key generator for generating element k * i KP by setting s i KP v i, i ′ KP as coefficients of base vector b * t, i ′ KP indicated by each integer i ′
  • a second KP information input unit for inputting an attribute set ⁇ KP having; i 1,. . .
  • T 1 , h ⁇ CP and f 2 ⁇ CP are vectors having r CP elements)
  • a random number ⁇ is set as a coefficient of base vectors b 0 and q
  • element c 0 is generated.
  • a KP encrypted data generation unit for generating an element c t KP for each identification information t included in the attribute set ⁇ KP input by the second KP information input unit the basis vector b t, i of the basis B t KP
  • the decoding device The element c 0 generated by the main encrypted data generation unit, the element c t KP generated by the KP encrypted data generation unit, the element c i CP generated by the CP encrypted data generation unit, and the attribute set A data acquisition unit that acquires encrypted data ct ( ⁇ KP, SCP) including ⁇ KP and the variable ⁇ CP (i); The element k * 0 generated by the main decryption key generation unit, the element k * i KP generated by the KP decryption key generation unit, the element k * t CP generated by the CP decryption key generation unit, and the variable ⁇ A decryption key obtaining unit for obtaining a decryption
  • an access structure is embedded in both the decryption key and the ciphertext, thereby realizing a multifunctional cryptographic function.
  • Explanatory drawing of the matrix M ⁇ .
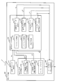
  • Explanatory drawing of s- > T. 1 is a configuration diagram of a cryptographic processing system 10 that executes a unified-policy functional encryption scheme.
  • FIG. 3 is a functional block diagram showing functions of the key generation device 100.
  • FIG. 3 is a functional block diagram showing functions of the encryption device 200.
  • FIG. 3 is a functional block diagram showing functions of a decoding device 300.
  • the flowchart which shows the process of a Setup algorithm.
  • the flowchart which shows the process of KeyGen algorithm.
  • the processing device is a CPU 911 or the like which will be described later.
  • the storage device is a ROM 913, a RAM 914, a magnetic disk 920, etc., which will be described later.
  • the communication device is a communication board 915 or the like which will be described later.
  • the input device is a keyboard 902, a communication board 915, and the like which will be described later. That is, the processing device, the storage device, the communication device, and the input device are hardware.
  • Equation 101 represents selecting y from A randomly according to the distribution of A. That is, in Equation 101, y is a random number.
  • Equation 102 represents selecting y from A uniformly. That is, in Equation 102, y is a uniform random number.
  • the number 103 represents that y is a set defined by z, or y is a set to which z is substituted.
  • a is a constant, the number 104 represents that the machine (algorithm) A outputs a for the input x.
  • the number 105 that is, F q indicates a finite field of order q.
  • the vector notation represents a vector representation in the finite field Fq . That is, Formula 106.
  • Equation 107 represents the inner product shown in Equation 109 between the two vectors x ⁇ and v ⁇ shown in Equation 108.
  • X T represents the transpose of the matrix X.
  • Equation 111 is obtained.
  • e ⁇ t, j KP, e ⁇ t, j CP indicates the normalized basis vectors shown in Formula 112, respectively.
  • ntCP in F q ntCP is n t CP .
  • SKP in the decryption key sk (SKP, ⁇ CP) is that of the S KP
  • ⁇ CP is that of gamma CP.
  • GanmaKP in the encrypted data ct ( ⁇ KP, SCP) is that of gamma KP
  • SCP is that the S CP.
  • V0 in the param V0 is that of V 0.
  • VtKP in param VtKP is V t KP .
  • VtCP in param VtCP is V t CP .
  • encryption processing includes key generation processing, encryption processing, and decryption processing.
  • Embodiment 1 FIG.
  • a basic concept for realizing the “functional encryption scheme” and the configuration of the functional encryption will be described.
  • functional encryption will be briefly described.
  • Third, the concept for realizing functional encryption will be described.
  • “span program”, “inner product of attribute vectors and access structure”, and “secret sharing scheme (secret sharing scheme)” will be described.
  • a “functional encryption scheme” according to this embodiment will be described. In this embodiment, the “Unified-Policy Functional Encryption (UP-FE) scheme” will be described.
  • UP-FE Unified-Policy Functional Encryption
  • the functional encryption scheme is an encryption scheme in which the relationship between the encryption key (encryption-key, ek) and the decryption key (decryption-key, dk) is further advanced and made more flexible.
  • an attribute x and an attribute v are set for the encryption key and the decryption key, respectively.
  • the sentence can be decrypted.
  • Various functions such as database access control, mail service, and content distribution exist in the functional encryption system (see Non-Patent Documents 2, 7, 9, 16, 19, 25-28, 30).
  • the functional encryption method is an ID-based encryption method.
  • an attribute-based encryption method as a functional encryption method more generalized than the ID-based encryption method.
  • an attribute set for an encryption key and a decryption key is a set of attributes.
  • R (X, V) is established only when the access structure S receives the input.
  • the ciphertext encrypted with the encryption key can be decrypted with the decryption key.
  • the attribute-based encryption (ABE) scheme is called Key-Policy ABE (KP-ABE).
  • KP-ABE Key-Policy ABE
  • Ciphertext-Policy ABE Ciphertext-Policy ABE
  • U-ABE Unified-Policy ABE
  • the inner product predicate encryption (IPE) described in Non-Patent Document 19 is also a class of functional encryption.
  • the attributes set for the encryption key and the decryption key are vectors on the field or ring, respectively.
  • x ⁇ : (x 1 ,..., X n ) ⁇ F q n
  • Symmetric Bilinear Pairing Groups (q, G, G T, g, e) is a prime number q, and the cyclic additive group G of order q, and a cyclic multiplicative group G T of order q, g ⁇ 0 ⁇ G If, nondegenerate bilinear pairing that can be calculated in polynomial time (nondegenerate bilinear pairing) e: a set of a G ⁇ G ⁇ G T.
  • an algorithm for outputting the value of the parameter param G : (q, G, G T , g, e) of the bilinear pairing group in which the equation 113 is input with 1 ⁇ and the security parameter is ⁇
  • G parameter param
  • a i is as shown in Formula 115.
  • Arithmetic (2) Distortion Mapping
  • the linear transformation ⁇ i, j in the space V shown in Expression 117 can perform Expression 118.
  • the linear transformation ⁇ i, j is called a distortion map.
  • a dual pairing vector space is configured by the above-described symmetric bilinear pairing group.
  • a dual pairing vector space can also be configured by an asymmetric bilinear pairing group. It is easy to apply the following description to a case where a dual pairing vector space is configured by an asymmetric bilinear pairing group.
  • FIG. 1 is an explanatory diagram of the matrix M ⁇ . ⁇ P 1 ,. . . , P n ⁇ be a set of variables.
  • M ⁇ : (M, ⁇ ) is a labeled matrix.
  • the matrix M is a matrix of (L rows ⁇ r columns) on F q . ⁇ is a label attached to each column of the matrix M, and ⁇ p 1 ,. . . , P n , ⁇ p 1 ,. . . , ⁇ p n ⁇ is associated with any one literal.
  • a submatrix M ⁇ of the matrix M is defined.
  • the matrix M ⁇ is a partial matrix composed of rows of the matrix M in which the value “1” is associated with the label ⁇ by the input column ⁇ .
  • the matrix M is a matrix of (6 rows ⁇ 5 columns).
  • the label [rho, the [rho 1 is ⁇ P 2
  • the [rho 2 is p 1
  • the [rho 3 is p 4
  • [rho to 4 ⁇ P 5 is a ⁇ P 3, [rho 6
  • a submatrix composed of rows of the matrix M associated with literals (p 1 , p 3 , p 6 , p 7 , ⁇ p 2 , ⁇ p 4 , ⁇ p 5 ) surrounded by broken lines is a matrix M. ⁇ . That is, the submatrix composed of the first row (M 1 ), the second row (M 2 ), and the fourth row (M 4 ) of the matrix M is the matrix M ⁇ .
  • (M j ) ⁇ (j) 1 is M 1 , M 2 , M 4 and the matrix M ⁇ . That is, whether or not the jth row of the matrix M is included in the matrix M ⁇ is determined depending on whether the value of the mapping ⁇ (j) is “0” or “1”.
  • the span program M ⁇ accepts the input sequence ⁇ only if 1 ⁇ ⁇ span ⁇ M ⁇ >, and rejects the input sequence ⁇ otherwise.
  • the span program M ⁇ accepts the input string ⁇ only when 1 ⁇ is obtained by linearly combining the rows of the matrix M ⁇ obtained from the matrix M ⁇ with the input string ⁇ .
  • 1 ⁇ is a row vector in which each element has a value “1”.
  • the span program M ⁇ will only change the input string ⁇ if 1 ⁇ is obtained by linearly combining the rows of the matrix M ⁇ consisting of the first, second, and fourth rows of the matrix M. Accept.
  • a literal ⁇ p 1 ,. . . , P n ⁇ the span program is called monotone.
  • the label ⁇ is a literal ⁇ p 1 ,. . . , P n , ⁇ p 1 ,. . . , ⁇ p n ⁇
  • the span program is assumed to be non-monotone.
  • an access structure non-monotone access structure
  • the access structure simply controls access to encryption. That is, it controls whether or not the ciphertext can be decrypted.
  • the span program is not monotone but non-monotone, the use range of the functional encryption system configured by using the span program is expanded.
  • mapping ⁇ (j) is calculated using the inner product of the attribute vectors.
  • the inner product of the attribute vectors is used to determine which row of the matrix M is included in the matrix M ⁇ .
  • U t includes identification information (t) of a partial complete set and an n t dimensional vector (v ⁇ ). That is, U t is (t, v ⁇ ).
  • mapping ⁇ is calculated based on the inner product of the attribute vectors v 1 ⁇ and x 2 ⁇ .
  • the secret sharing scheme is to distribute secret information into meaningless shared information.
  • the secret information s is dispersed into 10 pieces, and 10 pieces of shared information are generated.
  • each of the 10 pieces of shared information does not have the information of the secret information s. Therefore, even if one piece of shared information is obtained, no information can be obtained regarding the secret information s.
  • the secret information s can be restored.
  • a case where the secret information s can be restored with 8 of the 10 pieces of shared information in this way is called 8-out-of-10. That is, a case where the secret information s can be restored with t pieces of the n pieces of shared information is called t-out-of-n. This t is called a threshold value.
  • D 1 ,. . . , D 10 , d 1 ,. . . , D 8 up to 8 shared information can restore the secret information s, but d 3 ,. . . , D 10 is also a secret sharing scheme in which the secret information s cannot be restored if it is eight pieces of shared information. In other words, there is a secret sharing scheme that controls whether or not the secret information s can be restored according to the combination of shared information as well as the number of shared information obtained.
  • FIG. 4 is an explanatory diagram of s ⁇ T.
  • the matrix M is a matrix of (L rows ⁇ r columns).
  • Let f ⁇ T be a column vector shown in Equation 120.
  • Let s 0 shown in Equation 121 be shared secret information.
  • s ⁇ T shown in Expression 122 is a vector of L pieces of shared information of s 0 .
  • the shared information s i is assumed to belong to ⁇ (i).
  • the functional encryption scheme according to this embodiment and the following embodiments configures an access structure by applying the inner product predicate and the secret sharing scheme to the span program. Therefore, the access control can be freely designed by designing the matrix M in the span program and the attribute information x and attribute information v (predicate information) in the inner product predicate. That is, the access control can be designed with a very high degree of freedom.
  • the design of the matrix M corresponds to a condition design such as a threshold of the secret sharing scheme.
  • the attribute-based encryption method described above corresponds to a case where the design of the inner product predicate is limited to a certain condition in the access structure in the functional encryption method according to this embodiment and the following embodiments.
  • the access structure in the attribute-based encryption scheme is designed to design the attribute information x and the attribute information v (predicate information) in the inner product predicate compared to the access structure in the functional encryption scheme according to this embodiment and the following embodiments. Since there is no degree of freedom, the degree of freedom in designing access control is low. More specifically, the attribute-based encryption method uses attribute information ⁇ x ⁇ t ⁇ t ⁇ ⁇ 1,. . . , D ⁇ and ⁇ v ⁇ t ⁇ t ⁇ ⁇ 1,. . .
  • the inner product predicate encryption method described above corresponds to the case where the design of the matrix M in the span program is limited to a certain condition in the access structure in the functional encryption method according to this embodiment and the following embodiments. That is, the access structure in the inner product predicate encryption system has less degree of freedom in designing the matrix M in the span program than the access structure in the functional encryption system according to this embodiment and the following embodiments. Low degree of freedom in design.
  • the inner product predicate encryption scheme is a case where the secret sharing scheme is limited to 1-out-of-1 (or d-out-of-d).
  • the access structure in the functional encryption scheme according to this embodiment and the following embodiments constitutes a non-monotone access structure using a non-monotone span program. Therefore, the degree of freedom in designing access control becomes higher.
  • the non-monotone span program includes a negative literal ( ⁇ p)
  • ⁇ p negative literal
  • the first company has four departments, A department, B department, C department, and D department.
  • Unified-Policy means that the Policy is embedded in the decryption key and the ciphertext, that is, the access structure is embedded.
  • the Unified-Policy functional encryption scheme includes four algorithms: Setup, KeyGen, Enc, and Dec.
  • x ⁇ t KP ⁇ F q ntKP ⁇ ⁇ 0 ⁇ ⁇ , 1 ⁇ t ⁇ d KP ⁇ , This is a probabilistic algorithm that outputs the encrypted data ct ( ⁇ KP, SCP) with the access structure S CP : (M CP , ⁇ CP ) and the public parameter pk as inputs.
  • the Dec algorithm is a method for decrypting encrypted data ct ( ⁇ KP, SCP) encrypted under a set of attributes and an access structure ( ⁇ KP , S CP ), and a set of access structures and attributes (S KP , ⁇ CP ).
  • This is an algorithm that outputs a message m (plain text information) or identification information ⁇ ⁇ ⁇ with a key sk (SKP, ⁇ CP) and a public parameter pk as inputs.
  • the unified-policy functional encryption scheme includes all public parameters pk and master key sk shown in Expression 124, all access structures SKP , all attribute sets ⁇ CP, and all decryption keys sk shown in Expression 125. against (SKP, ⁇ CP) and, with all messages m, a set gamma KP of all attributes, and all the access structure S CP, with all encrypted data ct indicated in Formula 126 ( ⁇ KP, SCP),
  • m Dec (pk, sk (SKP, ⁇ CP) , ct ( ⁇ KP, SCP) ). That is, the message m can be obtained by executing the Dec algorithm with the public parameter pk, the decryption key sk (SKP, ⁇ CP), and the encrypted data ct ( ⁇ KP, SCP) as inputs.
  • FIG. 5 is a configuration diagram of the cryptographic processing system 10 that executes the Unified-Policy functional encryption scheme.
  • the cryptographic processing system 10 includes a key generation device 100, an encryption device 200, and a decryption device 300.
  • the key generator 100 generates an access structure S KP, a set gamma CP attributes, and public parameters pk, running KeyGen algorithm as input a master key sk, the decryption key sk (SKP, ⁇ CP) Then, it is secretly distributed to the decryption device 300.
  • Encryption device 200 and a message m, a set gamma KP attributes, and access structure S CP, running Enc algorithm as input the public parameter pk, to generate encrypted data ct ( ⁇ KP, SCP).
  • the encryption device 200 transmits the generated encrypted data ct ( ⁇ KP, SCP) to the decryption device 300.
  • the decryption apparatus 300 receives the public parameter pk, the decryption key sk (SKP, ⁇ CP), and the encrypted data ct ( ⁇ KP, SCP) , executes the Dec algorithm, and outputs the message m or the identification information ⁇ .
  • FIG. 6 is a functional block diagram illustrating functions of the key generation device 100.
  • FIG. 7 is a functional block diagram showing functions of the encryption device 200.
  • FIG. 8 is a functional block diagram illustrating functions of the decoding device 300.
  • 9 and 10 are flowcharts showing the operation of the key generation apparatus 100.
  • FIG. 9 is a flowchart showing the process of the Setup algorithm
  • FIG. 10 is a flowchart showing the process of the KeyGen algorithm.
  • FIG. 9 is a flowchart showing the process of the Setup algorithm
  • FIG. 10 is a flowchart showing the process of the KeyGen algorithm.
  • FIG. 11 is a flowchart showing the operation of the encryption apparatus 200, and is a flowchart showing the processing of the Enc algorithm.
  • FIG. 12 is a flowchart showing the operation of the decoding apparatus 300, and is a flowchart showing the Dec algorithm processing.
  • x t, 1 KP and x t, 1 CP are not normalized, (1 / x t, 1 KP ) ⁇ x t, 1 KP and (1 / x t, 1 CP ) ⁇ x
  • What is necessary is just to normalize as t, 1 CP .
  • x t, i KP and x t, i CP are not 0.
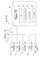
  • the key generation device 100 includes a master key generation unit 110, a master key storage unit 120, an information input unit 130 (first information input unit), a decryption key generation unit 140, and a key distribution unit 150.
  • the information input unit 130 includes a KP information input unit 131 (first KP information input unit) and a CP information input unit 132 (first CP information input unit).
  • the decryption key generation unit 140 includes an f vector generation unit 141, an s vector generation unit 142, a random number generation unit 143, a main decryption key generation unit 144, a KP decryption key generation unit 145, and a CP decryption key generation unit 146.
  • d KP is an integer of 1 or more
  • t 1,. . .
  • D KP , n t KP , u t KP , w t KP , and z t KP are integers of 1 or more.
  • u 0 , w 0 and z 0 are integers of 1 or more.
  • GL is an abbreviation for General Linear. That is, GL is a general linear group, a set of square matrices whose determinants are not 0, and a group for multiplication.
  • the master key generation unit 110 based on the linear transformation X t KP, to produce a base B t KP from the canonical basis A t KP. Similarly, the master key generation unit 110 generates a base B * t KP from the standard base A t KP based on ( ⁇ t KP , i, j ) i, j .
  • the master key generation unit 110 generates a base B t CP from the standard base A t CP based on the linear transformation X t CP . Similarly, the master key generation unit 110 generates a base B * t CP from the standard base A t CP based on ( ⁇ t CP , i, j ) i, j .
  • the master key generation unit 110 calculates Formula 133 by the processing device.
  • the master key generation unit 110 sets the e (g, g) ⁇ in g T.
  • t 1,. . .
  • t 1 ,. . .
  • t 1,. . .
  • t 1,. . .
  • t 1 ⁇ ⁇
  • t 1 ⁇
  • S101 public parameter generation step
  • S101 Public parameter generation step
  • the master key generation unit 110 generates the generated partial base B ⁇ 0 , partial base B ⁇ t KP , partial base B ⁇ t CP , the security parameter ⁇ (1 ⁇ ) input in (S101), and (S101).
  • the generated parameter n ⁇ is combined to be a public parameter pk.
  • the master key storage unit 120 stores the public parameter pk generated in (S102) in the storage device. Further, the master key storage unit 120 stores the master key sk generated in (S103) in the storage device.
  • the key generation device 100 executes the Setup algorithm shown in Formula 136 to generate the public parameter pk and the master key sk.
  • the key generation device 100 stores the generated public parameter pk and master key sk in the storage device.
  • the public parameter is made public via a network, for example, and is made available for the encryption device 200 and the decryption device 300.
  • the matrix M KP is a matrix of L KP rows ⁇ r KP columns.
  • L KP and r KP are integers of 1 or more.
  • t is not all integer less 1 or d CP, it may be one or more d CP following at least a portion of the integer.
  • the setting of the matrix M KP of the access structure S KP is set according to the conditions of the system to be realized. Also, the set gamma CP of [rho KP and attributes of the access structure S KP, for example, attribute information of the user of the decryption key sk (SKP, ⁇ CP) is set.
  • the f vector generation unit 141 randomly generates a vector f ⁇ KP having r KP elements as shown in Expression 137 by the processing device.
  • the s vector generation unit 142 uses the processing device to generate a matrix M KP of (L KP rows ⁇ r KP columns) included in the access structure S KP input in (S201) and r KP elements generated in (S202).
  • a vector (s ⁇ KP ) T is generated based on the vector f ⁇ KP having
  • the s vector generation unit 142 generates the value s 0 KP as shown in Equation 139 based on the vector f ⁇ KP generated in (S202) by the processing device.
  • 1 ⁇ is a vector in which all elements have a value of 1.
  • the random number generation unit 143 indicates the random number ⁇ ⁇ t CP and the random number ⁇ ⁇ 0 for each integer t of (t, x ⁇ t CP ) included in the random number ⁇ CP and ⁇ CP by the processing device in the formula 140. Generate as follows.
  • the main decryption key generation unit 144 generates the main decryption key k * 0 , which is an element of the decryption key sk (SKP, ⁇ CP), by the processing device as shown in Formula 141.
  • Equation 111 is used for the basis B and the basis B * shown in Equation 110. Therefore, the equation 141 means that the coefficient of the basis vector of the basis B * 0 is set as follows.
  • the notation is simplified and the basis vector is specified only by the portion i among the basis vectors b * 0, i .
  • the basis vector 1 means the basis vector b * 0,1 .
  • the basis vectors b * 0 , 1,. . . , B * 0,3 . -S 0 KP is set as the coefficient of the basis vector 1 of the basis B * 0 .
  • a random number ⁇ CP is set as a coefficient of the basis vector 2.
  • Basis vectors 2 + 1,. . . , 2 + u 0 is set to 0. 1 is set as the coefficient of the basis vector 2 + u 0 +1.
  • Basis vector 2 + u 0 + 1 + w 0 +1,. . . , 2 + u 0 + 1 + w 0 + z 0 as a coefficient of 0 is set.
  • Equation 142 means that the basis vector coefficient of basis B * t KP is set as follows.
  • the notation is simplified, and the basis vector is specified only by the portion i among the basis vectors b * t, i KP .
  • the basis vector 1 means the basis vector b * t, 1 KP .
  • ⁇ KP (i) is an affirmative group (t, v ⁇ i KP )
  • s i KP + ⁇ i KP v i, 1 KP is set as the coefficient of the base vector 1.
  • e ⁇ t, j KP represents a normal basis vector represented by Formula 112.
  • Basis vectors n t KP +1,. . . , N t KP + u t KP , 0 is set.
  • Basis vectors n t KP + u t KP + w t KP +1,. . . , N t KP + u t KP + w t KP + z t KP is set to 0.
  • ⁇ KP (i) is a negative combination (t, v ⁇ i KP )
  • N t KP + u t KP , 0 is set.
  • Basis vectors n t KP + u t KP + w t KP +1,. . . , N t KP + u t KP + w t KP + z t KP is set to 0.
  • ⁇ i KP and ⁇ ⁇ i KP are random numbers generated by the random number generation unit 143.
  • Equation 143 means that the coefficient of the basis vector of the basis B * t CP is set as follows, like Equation 141.
  • the notation is simplified, and the basis vector is specified only by the part i among the basis vectors b * t, iCP .
  • the basis vector 1 means the basis vector b * t, 1 CP .
  • Basis vectors 1,. . . , N t CP as ⁇ CP x t, 1 CP,. . . , ⁇ CP x t, ntCP CP ( here, NTCP is that of n t CP) is set.
  • Basis vectors n t CP +1,. . . , N t CP + u t CP is set to 0.
  • Basis vectors n t CP + u t CP + w t CP +1,. . . , N t CP + u t CP + w t CP + z t CP is set to 0.
  • a decryption key sk (SKP, ⁇ CP) whose element is t CP (t is t in (t, x ⁇ t CP ) included in the attribute set ⁇ CP ) is secretized via a network by a communication device, for example. Distributed to the decryption apparatus 300.
  • the decryption key sk (SKP, ⁇ CP) may be distributed to the decryption apparatus 300 by other methods.
  • the key generation device 100 executes the KeyGen algorithm shown in Formula 144 to generate the decryption key sk (SKP, ⁇ CP) .
  • the key generation device 100 distributes the generated decryption key sk (SKP, ⁇ CP) to the decryption device 300.
  • the encryption device 200 includes a public parameter acquisition unit 210, an information input unit 220 (second information input unit), an encrypted data generation unit 230, and a data transmission unit 240 (data output unit).
  • the information input unit 220 includes a KP information input unit 221 (second KP information input unit), a CP information input unit 222 (second CP information input unit), and a message input unit 223.
  • the encrypted data generation unit 230 includes an f vector generation unit 231, an s vector generation unit 232, a random number generation unit 233, a main encryption data generation unit 234, a KP encryption data generation unit 235, and a CP encryption data generation unit 236.
  • the message encrypted data generation unit 237 is provided.
  • the processing of the Enc algorithm will be described based on FIG. (S301: Public parameter acquisition step)
  • the public parameter acquisition unit 210 acquires, for example, the public parameter pk generated by the key generation device 100 via the network by the communication device.
  • t is not all integer less 1 or d KP, may be one or more d KP following at least a portion of the integer.
  • the matrix M CP is a matrix of L CP rows ⁇ r CP columns.
  • L CP and r CP are integers of 1 or more.
  • the message input unit inputs a message m to be transmitted to the decryption device 300 using the input device.
  • the setting of the matrix M CP of the access structure S CP is set according to the conditions of the system to be realized. In the access structure S CP ⁇ CP and attribute set ⁇ KP , for example, user attribute information that can be decrypted is set.
  • the random number generation unit 233 uses a processing device to calculate a random number ⁇ KP , a random number ⁇ ⁇ 0, and ⁇ ⁇ t KP and a random number ⁇ for each integer t included in (t, x ⁇ t KP ) included in ⁇ KP. Generate as shown at 145.
  • the f vector generation unit 231 randomly generates a vector f ⁇ CP having r CP elements, as shown in Formula 146, by the processing device.
  • (S305: s vector generation step) s vector generation unit 232, the processing device, (S302) and the matrix M CP of included in the access structure S CP input (L CP rows ⁇ r CP columns) in, r CP pieces of elements generated in (S304)
  • a vector (s ⁇ CP ) T is generated based on the vector f ⁇ CP having the following formula (147).
  • the s vector generation unit 142 generates the value s 0 CP as shown in the equation 148 based on the vector f ⁇ CP generated in (S304) by the processing device. Note that 1 ⁇ is a vector in which all elements have a value of 1.
  • the main encrypted data generation unit 234 generates the main encrypted data c 0 that is an element of the encrypted data ct ( ⁇ KP, SCP) by the processing device as shown in the equation 149.
  • Equation 111 is used for the basis B and the basis B * shown in Equation 110.
  • the number 149 is as follows, the coefficient of the basis vectors of the basis B 0 is meant to be set.
  • the notation is simplified and the basis vector is specified only by the portion i among the basis vectors b 0, i .
  • the basis vector 1 means the basis vector b 0,1 .
  • a random number ⁇ KP is set as a coefficient of the basis vector 1 of the basis B 0 . -S 0 CP is set as the coefficient of the basis vector 2.
  • Basis vectors 2 + 1,. . . , 2 + u 0 is set to 0.
  • a random number ⁇ is set as a coefficient of the basis vector 2 + u 0 +1.
  • Basis vectors 2 + u 0 + 1 + 1,. . . , 0 as a coefficient of 2 + u 0 + 1 + w 0 is set.
  • the KP encrypted data generation unit 235 uses the processing device to generate KP encrypted data c that is an element of the encrypted data ct ( ⁇ KP, SCP) for each integer t included in ⁇ KP (t, x ⁇ t KP ).
  • t KP is generated as shown in Formula 150. That is, Expression 150 means that the coefficient of the basis vector of the basis B t KP is set as follows, like Expression 149. Here, the notation is simplified, and the basis vector is specified only by the portion i among the basis vectors b t, i KP .
  • the basis vector 1 means the basis vector b t, 1 KP . Also, basis vectors 1,. . .
  • Basis vectors n t KP +1,. . . , N t KP + u t KP + w t KP is set to 0.
  • basis vectors b t, 1 CP,. . . , B t, 3 means CP .
  • ⁇ CP (i) is an affirmative pair (t, v ⁇ i CP )
  • s i CP + ⁇ i CP v i, 1 CP is set as the coefficient of the basis vector 1.
  • e ⁇ t, j CP represents a normal basis vector represented by Formula 112.
  • ⁇ i CP v i, ntCP CP ( here, NTCP is that of n t CP) is set.
  • Basis vectors n t CP +1,. . . , N t CP + u t CP + w t CP is set to 0.
  • ⁇ CP (i) is a negative combination (t, v ⁇ i CP )
  • the basis vectors 1,. . . , N t CP as coefficients of s i CP v i, 1 CP,. . . , S i CP v i, ntCP CP ( here, NTCP is that of n t CP) is set.
  • Basis vectors n t CP +1,. . . , N t CP + u t CP + w t CP is set to 0.
  • ⁇ i CP and ⁇ ⁇ i CP are random numbers generated by the random number generation unit 233.
  • the message encrypted data generation unit 237 generates message encrypted data cd + 1 , which is an element of the encrypted data ct ( ⁇ KP, SCP), by the processing device as shown in Formula 152. Note that, as described above, Expression 153.
  • the data transmission unit 240 includes the main encrypted data c 0 , the attribute set ⁇ KP and the KP encrypted data c t KP , the access structure SCP and the CP encrypted data c i CP, and the message encrypted data c d + 1 .
  • the encrypted data ct ( ⁇ KP, SCP) is transmitted to the decryption device 300 via the network by the communication device.
  • the encrypted data ct ( ⁇ KP, SCP) may be transmitted to the decryption apparatus 300 by other methods.
  • the encryption apparatus 200 executes the Enc algorithm expressed by Equation 154 to generate encrypted data ct ( ⁇ KP, SCP) .
  • the encryption device 200 transmits the generated encrypted data ct ( ⁇ KP, SCP) to the decryption device 300.
  • the decryption apparatus 300 includes a decryption key acquisition unit 310, a data reception unit 320 (data acquisition unit), a span program calculation unit 330, a complementary coefficient calculation unit 340, a pairing calculation unit 350, and a message calculation unit 360.
  • the span program calculation unit 330 includes a KP span program calculation unit 331 and a CP span program calculation unit 332.
  • the complementary coefficient calculation unit 340 includes a KP complementary coefficient calculation unit 341 and a CP complementary coefficient calculation unit 342.
  • the decryption key acquisition unit 310 acquires, for example, the decryption key sk (SKP, ⁇ CP) distributed from the key generation device 100 via the network by the communication device. Further, the decryption key acquisition unit 310 acquires the public parameter pk generated by the key generation device 100.
  • the decryption key acquisition unit 310 acquires the public parameter pk generated by the key generation device 100.
  • the data receiving unit 320 receives the encrypted data ct ( ⁇ KP, SCP) transmitted from the encryption device 200 via the network by the communication device.
  • KP span program calculation unit 331 by the processing device, the obtained decryption key sk (SKP, ⁇ CP) at (S401) the access structure S KP is contained in the encrypted data ct received in (S402) ( ⁇ KP, SCP) It is determined whether or not to accept the set of attributes ⁇ KP included in.
  • CP span program calculation unit 332 by the processing device, the encrypted data ct ( ⁇ KP, SCP) received in (S402) the access structure S CP contained in the, (S401) the decryption key acquired in sk (SKP, It is determined whether or not to accept the set of attributes ⁇ CP included in ⁇ CP) .
  • the method for determining whether or not the access structure accepts the attribute set is as described in “3. Concept for realizing functional encryption”.
  • the span program calculation unit 330 advances the process to (S404). .
  • the access structure S KP rejects the attribute set ⁇ KP and / or the access structure S CP rejects the attribute set ⁇ CP (rejected in S403)
  • the encrypted data ct Assuming that ⁇ KP, SCP) cannot be decrypted with the decryption key sk (SKP, ⁇ CP)
  • the identification information ⁇ is output, and the process is terminated.
  • the KP complementary coefficient calculation unit 341 calculates I KP as expressed by Formula 155 and a constant (complement coefficient) ⁇ i KP for each integer i included in I KP by the processing device.
  • the CP complement coefficient calculation unit 342 calculates an I CP of Formula 156 and a constant (complement coefficient) ⁇ i CP for each integer i included in the I CP by the processing device.
  • the cryptographic processing system 10 uses the access structure S KP and S CP constructed using the span program and inner product predicate and secret sharing, to realize the cryptography (functional encryption scheme). Therefore, the cryptographic processing system 10 realizes an encryption method that can design access control with a very high degree of freedom.
  • the cryptographic processing system 10 has the access structure SKP as a decryption key and the access structure SCP as encrypted data. Therefore, the cryptographic processing system 10 can perform access control using both the decryption key and the encrypted data.
  • 2 + u 0 + 1 + w 0 + z 0 is set to N 0 in (S101).
  • 2 + u 0 + 1 + w 0 + z 0 may be set to 2 + 2 + 1 + 2 + 1, and 8 may be set to N 0 .
  • the n t KP + u t KP + w t KP + z t KP as n t KP + n t KP + n t KP +1 may be set 3n t KP +1 to N t KP.
  • the n t CP + u t CP + w t CP + z t CP may be set 3n t CP +1 to N t CP.
  • Equation 160 the Setup algorithm shown in Equation 136 is rewritten as shown in Equation 160.
  • Gob UP is rewritten as shown in Formula 161.
  • the KeyGen algorithm shown in Formula 144 can be rewritten as Formula 162.
  • the Enc algorithm shown in Expression 154 can be rewritten as Expression 163. There is no change in the Dec algorithm shown in Formula 159.
  • N 0 is not 8 and may be an integer of 3 or more.
  • the base B 0 and the base B * 0 are two-dimensional.
  • B * 0 is that of B * 0, B0 is that of B 0.
  • k * 0 : ( ⁇ s 0 , ⁇ CP , 0, 0, 1 , ⁇ 0 , 1 , ⁇ 0 , 2 , 0) B * 0 .
  • k * 0 : ( ⁇ s 0 , ⁇ CP , 0,0, ⁇ , ⁇ 0,1 , ⁇ 0,2 , 0) B * using a predetermined value ⁇ known to the encryption device 200 . It may be 0 .
  • B * 0 is that of B * 0, B0 is that of B 0.
  • K: g ⁇ T calculated by the Dec algorithm
  • v i, NTCP CP (where NTCP than it of n t CP) not particularly limited value of.
  • ⁇ 1 to KP may be limited to be injection.
  • i 1,. . . , [Rho CP for each integer i of L CP (i) is a positive-type set of the different identification information t respectively (t, v ⁇ i CP) or negation of the set ⁇ (t, v ⁇ i CP ) You may limit that there is.
  • the Setup algorithm may be executed once at the time of setting up the cryptographic processing system 10, and need not be executed every time a decryption key is generated.
  • the key generation device 100 executes the Setup algorithm and the KeyGen algorithm. However, different devices may execute the Setup algorithm and the KeyGen algorithm.
  • the span program M ⁇ accepts the input string ⁇ only when 1 ⁇ is obtained by linearly combining the rows of the matrix M ⁇ obtained from the matrix M ⁇ with the input string ⁇ .
  • the span program M ⁇ may accept the input sequence ⁇ only when another vector h ⁇ is obtained instead of 1 ⁇ .
  • Embodiment 2 the method for realizing the cryptographic processing in the dual vector space has been described. In this embodiment, a method for realizing cryptographic processing in a dual module will be described.
  • the unified-policy functional encryption described in the first embodiment is realized in a module with a ring R as a coefficient, it is as shown in Expression 165 to Expression 169.
  • the cryptographic processing in the above description can also delegate authority.
  • Delegation of authority means that a person who has a decryption key generates a lower-order decryption key whose authority is weaker than that decryption key.
  • FIG. 13 is a diagram illustrating an example of a hardware configuration of the key generation device 100, the encryption device 200, and the decryption device 300.
  • the key generation device 100, the encryption device 200, and the decryption device 300 include a CPU 911 (Central Processing Unit, central processing unit, processing unit, arithmetic unit, microprocessor, microcomputer, A processor).
  • CPU 911 Central Processing Unit, central processing unit, processing unit, arithmetic unit, microprocessor, microcomputer, A processor
  • the CPU 911 is connected to the ROM 913, the RAM 914, the LCD 901 (Liquid Crystal Display), the keyboard 902 (K / B), the communication board 915, and the magnetic disk device 920 via the bus 912, and controls these hardware devices.
  • the magnetic disk device 920 (fixed disk device)
  • a storage device such as an optical disk device or a memory card read / write device may be used.
  • the magnetic disk device 920 is connected via a predetermined fixed disk interface.
  • the ROM 913 and the magnetic disk device 920 are examples of a nonvolatile memory.
  • the RAM 914 is an example of a volatile memory.
  • the ROM 913, the RAM 914, and the magnetic disk device 920 are examples of a storage device (memory).
  • the keyboard 902 and the communication board 915 are examples of input devices.
  • the communication board 915 is an example of a communication device.
  • the LCD 901 is an example of a display device.
  • an operating system 921 OS
  • a window system 922 a program group 923
  • a file group 924 are stored in the magnetic disk device 920 or the ROM 913.
  • the programs in the program group 923 are executed by the CPU 911, the operating system 921, and the window system 922.
  • the program group 923 includes “master key generation unit 110”, “information input unit 130”, “decryption key generation unit 140”, “key distribution unit 150”, “public parameter acquisition unit 210”, “information” in the above description.
  • the program is read and executed by the CPU 911.
  • Information, data, signal values, variable values, and parameters stored in a storage medium such as a disk or memory are read out to the main memory or cache memory by the CPU 911 via a read / write circuit, and extracted, searched, referenced, compared, and calculated. Used for the operation of the CPU 911 such as calculation / processing / output / printing / display. Information, data, signal values, variable values, and parameters are temporarily stored in the main memory, cache memory, and buffer memory during the operation of the CPU 911 for extraction, search, reference, comparison, calculation, calculation, processing, output, printing, and display. Is remembered.
  • the arrows in the flowchart mainly indicate input / output of data and signals, and the data and signal values are recorded in a memory of the RAM 914, other recording media such as an optical disk, and an IC chip.
  • Data and signals are transmitted online by a bus 912, signal lines, cables, other transmission media, and radio waves.
  • what is described as “to part” in the above description may be “to circuit”, “to device”, “to device”, “to means”, and “to function”. It may be “step”, “ ⁇ procedure”, “ ⁇ processing”.
  • ⁇ device may be “ ⁇ circuit”, “ ⁇ equipment”, “ ⁇ means”, “ ⁇ function”, and “ ⁇ step”, “ ⁇ procedure”, “ May be “processing”.
  • to process may be “to step”. That is, what is described as “ ⁇ unit” may be realized by firmware stored in the ROM 913. Alternatively, it may be implemented only by software, or only by hardware such as elements, devices, substrates, and wirings, by a combination of software and hardware, or by a combination of firmware.
  • Firmware and software are stored in a recording medium such as ROM 913 as a program. The program is read by the CPU 911 and executed by the CPU 911. That is, the program causes a computer or the like to function as the “ ⁇ unit” described above. Alternatively, the procedure or method of “unit” described above is executed by a computer or the like.

Landscapes

  • Engineering & Computer Science (AREA)
  • Computer Security & Cryptography (AREA)
  • Computer Networks & Wireless Communication (AREA)
  • Signal Processing (AREA)
  • Theoretical Computer Science (AREA)
  • General Physics & Mathematics (AREA)
  • Physics & Mathematics (AREA)
  • Algebra (AREA)
  • Mathematical Analysis (AREA)
  • Mathematical Optimization (AREA)
  • Mathematical Physics (AREA)
  • Pure & Applied Mathematics (AREA)
  • Computing Systems (AREA)
  • Storage Device Security (AREA)
PCT/JP2011/078164 2010-12-22 2011-12-06 暗号処理システム、鍵生成装置、暗号化装置、復号装置、暗号処理方法及び暗号処理プログラム Ceased WO2012086405A1 (ja)

Priority Applications (4)

Application Number Priority Date Filing Date Title
KR1020137012670A KR101393899B1 (ko) 2010-12-22 2011-12-06 암호 처리 시스템, 키 생성 장치, 암호화 장치, 복호 장치, 암호 처리 방법 및 암호 처리 프로그램을 기록한 컴퓨터 판독 가능한 기록 매체
EP11851495.9A EP2613472A4 (en) 2010-12-22 2011-12-06 Encryption processing system, key generation device, encryption device, decryption device, encryption processing method, and encryption processing program
CN201180061703.XA CN103270719B (zh) 2010-12-22 2011-12-06 密码处理系统、密钥生成装置、加密装置、解密装置、密码处理方法
US13/823,507 US8938623B2 (en) 2010-12-22 2011-12-06 Cryptographic processing system, key generation device, encryption device, decryption device, cryptographic processing method, and cryptographic processing program

Applications Claiming Priority (2)

Application Number Priority Date Filing Date Title
JP2010-286511 2010-12-22
JP2010286511A JP5693206B2 (ja) 2010-12-22 2010-12-22 暗号処理システム、鍵生成装置、暗号化装置、復号装置、暗号処理方法及び暗号処理プログラム

Publications (1)

Publication Number Publication Date
WO2012086405A1 true WO2012086405A1 (ja) 2012-06-28

Family

ID=46313685

Family Applications (1)

Application Number Title Priority Date Filing Date
PCT/JP2011/078164 Ceased WO2012086405A1 (ja) 2010-12-22 2011-12-06 暗号処理システム、鍵生成装置、暗号化装置、復号装置、暗号処理方法及び暗号処理プログラム

Country Status (6)

Country Link
US (1) US8938623B2 (enExample)
EP (1) EP2613472A4 (enExample)
JP (1) JP5693206B2 (enExample)
KR (1) KR101393899B1 (enExample)
CN (1) CN103270719B (enExample)
WO (1) WO2012086405A1 (enExample)

Families Citing this family (21)

* Cited by examiner, † Cited by third party
Publication number Priority date Publication date Assignee Title
JP5606344B2 (ja) 2011-01-25 2014-10-15 三菱電機株式会社 署名処理システム、鍵生成装置、署名装置、検証装置、署名処理方法及び署名処理プログラム
JP5921410B2 (ja) 2012-10-19 2016-05-24 三菱電機株式会社 暗号システム
JP5852551B2 (ja) * 2012-11-12 2016-02-03 日本電信電話株式会社 関数型暗号システム、鍵生成装置、暗号化装置、復号装置、関数型暗号方法、およびプログラム
JP5905128B2 (ja) 2013-01-16 2016-04-20 三菱電機株式会社 暗号システム、再暗号化装置及び暗号方法
EP2860905A1 (en) * 2013-10-09 2015-04-15 Thomson Licensing Method for ciphering a message via a keyed homomorphic encryption function, corresponding electronic device and computer program product
EP3057262B1 (en) * 2013-10-09 2021-07-28 Mitsubishi Electric Corporation Cipher system, encryption device, re-encryption key generation device, re-encryption device, and cipher program
EP3079299A4 (en) * 2013-12-02 2017-07-19 Mitsubishi Electric Corporation Data processing system, encryption apparatus, decryption apparatus, and program
US20160344708A1 (en) 2014-01-14 2016-11-24 Mitsubishi Electric Corporation Cryptographic system, re-encryption key generation device, re-encryption device, and cryptographic computer readable medium
JP6053983B2 (ja) 2014-02-24 2016-12-27 三菱電機株式会社 暗号システム、署名システム、暗号プログラム及び署名プログラム
DE112014007226B4 (de) 2014-12-05 2023-09-07 Mitsubishi Electric Corporation Entschlüsselungsbedingungs-Hinzufügungsvorrichtung, kryptografisches System und Entschlüsselungsbedingungs-Hinzufügungsprogramm
WO2016162941A1 (ja) 2015-04-07 2016-10-13 三菱電機株式会社 暗号システム及び鍵生成装置
KR102447476B1 (ko) * 2015-08-20 2022-09-27 삼성전자주식회사 암복호 장치, 그것을 포함하는 저장 장치 및 그것의 암복호 방법
US10205713B2 (en) * 2017-04-05 2019-02-12 Fujitsu Limited Private and mutually authenticated key exchange
KR101994236B1 (ko) * 2017-04-21 2019-09-30 한국전자통신연구원 프라이버시 보존형 각도 기반 이상치 검출 방법 및 장치
WO2019076706A1 (en) * 2017-10-17 2019-04-25 Koninklijke Philips N.V. CONFIGURABLE DEVICE FOR NETWORK-BASED CRYPTOGRAPHY
JP7117964B2 (ja) * 2018-10-04 2022-08-15 三菱電機株式会社 復号装置、暗号システム、復号方法及び復号プログラム
US10778410B2 (en) 2019-06-18 2020-09-15 Alibaba Group Holding Limited Homomorphic data encryption method and apparatus for implementing privacy protection
US12099997B1 (en) 2020-01-31 2024-09-24 Steven Mark Hoffberg Tokenized fungible liabilities
CN113271309B (zh) * 2021-05-24 2022-04-08 四川师范大学 一种分层文件加密方法及系统
KR20230136950A (ko) 2022-03-21 2023-10-04 삼성전자주식회사 함수 암호 시스템 및 함수 암호 수행 방법
US20240163076A1 (en) * 2022-11-07 2024-05-16 Crypto Lab Inc. Apparatus for calculating matrix multiplication of homomorphic encryption and method thereof

Citations (1)

* Cited by examiner, † Cited by third party
Publication number Priority date Publication date Assignee Title
WO2011135895A1 (ja) * 2010-04-27 2011-11-03 三菱電機株式会社 暗号処理システム、鍵生成装置、暗号化装置、復号装置、署名処理システム、署名装置及び検証装置

Family Cites Families (8)

* Cited by examiner, † Cited by third party
Publication number Priority date Publication date Assignee Title
US7349538B2 (en) * 2002-03-21 2008-03-25 Ntt Docomo Inc. Hierarchical identity-based encryption and signature schemes
CN101483523A (zh) * 2002-04-15 2009-07-15 株式会社Ntt都科摩 利用双线性映射的签名方案
US6886096B2 (en) * 2002-11-14 2005-04-26 Voltage Security, Inc. Identity-based encryption system
US7003117B2 (en) * 2003-02-05 2006-02-21 Voltage Security, Inc. Identity-based encryption system for secure data distribution
US7499544B2 (en) * 2003-11-03 2009-03-03 Microsoft Corporation Use of isogenies for design of cryptosystems
EP1646174A1 (en) * 2004-10-07 2006-04-12 Axalto SA Method and apparatus for generating cryptographic sets of instructions automatically and code generation
EP1995710A1 (en) * 2006-03-14 2008-11-26 NEC Corporation Information processing system, information processing method, and information processing program
WO2008066671A2 (en) * 2006-11-08 2008-06-05 Voltage Security, Inc. Indentity-based-encryption extensions formed using multiple instances of an identity based encryption scheme

Patent Citations (1)

* Cited by examiner, † Cited by third party
Publication number Priority date Publication date Assignee Title
WO2011135895A1 (ja) * 2010-04-27 2011-11-03 三菱電機株式会社 暗号処理システム、鍵生成装置、暗号化装置、復号装置、署名処理システム、署名装置及び検証装置

Non-Patent Citations (35)

* Cited by examiner, † Cited by third party
Title
"Functional Encryption for Inner Product:Achieving Constant- Size Ciphertexts with Adaptive Security or Support for Negation", PROCEEDINGS OF THE 13TH INTERNATIONAL CONFERENCE ON PRACTICE AND THEORY IN PUBLIC KEY CRYPTOGRAPHY, 26 May 2010 (2010-05-26) - 28 May 2010 (2010-05-28), PARIS, FRANCE, pages 384 - 402, XP019141973 *
"News Analysis", THE JOURNAL OF THE INSTITUTE OF ELECTRONICS, INFORMATION AND COMMUNICATION ENGINEERS, vol. 93, no. 12, 1 December 2010 (2010-12-01), pages 1070 - 1071, XP008170407 *
BEIMEL, A.: "Secure schemes for secret sharing and key distribution", PHD THESIS, ISRAEL INSTITUTE OF TECHNOLOGY, TECHNION, HAIFA, ISRAEL, 1996
BETHENCOURT, J.; SAHAI, A.; WATERS, B.: "2007 IEEE Symposium on Security and Privacy", 2007, IEEE PRESS, article "Ciphertext policy attribute-based encryption", pages: 321 - 34
BONEH, D.; BOYEN, X.: "CRYPTO 2004", vol. 3152, 2004, SPRINGER HEIDELBERG, article "Secure identity based encryption without random oracles", pages: 443
BONEH, D.; BOYEN, X.: "EUROCRYPT 2004. LNCS", vol. 3027, 2004, SPRINGER HEIDELBERG, article "Efficient selective-ID secure identity based encryption without random oracles", pages: 223 - 38
BONEH, D.; BOYEN, X.; GOH, E.: "EUROCRYPT 2005", vol. 3494, 2005, SPRINGER HEIDELBERG, article "Hierarchical identity based encryption with constant size ciphertext", pages: 440 - 56
BONEH, D.; FRANKLIN, M.: "CRYPT02001", vol. 2139, 2001, SPRINGER HEIDELBERG, article "Identity-based encryption from the Weil pairing", pages: 213 - 29
BONEH, D.; HAMBURG, M.: "ASIACRYPT 2008", vol. 5350, 2008, SPRINGER HEIDELBERG, article "Generalized identity based and broadcast encryption scheme", pages: 455 - 70
BONEH, D.; KATZ, J.: "RSA-CT 2005", 2005, LNCS, SPRINGER VERLAG, article "Improved efficiency for CCA-secure cryptosystems built using identity based encryption"
BONEH, D.; WATERS, B.: "TCC 2007", vol. 4392, 2007, SPRINGER HEIDELBERG, article "Conjunctive, subset, and range queries on encrypted data", pages: 535 - 54
BOYEN, X.; WATERS, B.: "CRYPTO 2006", vol. 4117, 2006, SPRINGER HEIDELBERG, article "Anonymous hierarchical identity-based encryption (without random oracles", pages: 290 - 07
CANETTI, R.; HALEVI S.; KATZ J.: "EUROCRYPT2004", 2004, LNCS, SPRINGER-VERLAG, article "Chosen-ciphertext security from identity-based encryption"
COCKS, C.: "IMAInt. Conf.", vol. 2260, 2001, SPRINGER HEIDELBERG, article "An identity based encryption scheme based on quadratic residues", pages: 360.63
DAN BONEH ET AL.: "Functional Encryption: Definitions and Challenges", 1 November 2010 (2010-11-01), XP061004394, Retrieved from the Internet <URL:http://eprint.iacr.org/cgi-bin/versions.pl?entry=2010/543> *
GENTRY, C.: "EUROCRYPT 2006", vol. 4004, 2006, SPRINGER HEIDELBERG, article "Practical identity-based encryption without random oracles", pages: 445 - 64
GENTRY, C.; HALEVI, S.: "TCC 2009", vol. 5444, 2009, SPRINGER HEIDELBERG, article "Hierarchical identity-based encryption with polynomially many levels", pages: 437 - 56
GENTRY, C.; SILVERBERG, A.: "ASIACRYPT 2002", vol. 2501, 2002, SPRINGER HEIDELBERG, article "Hierarchical ID-based cryptography", pages: 548 - 66
GOYAL, V.; PANDEY, O.; SAHAI, A.; WATERS, B.: "ACM Conference on Computer and Communication Security 2006", 2006, ACM, article "Attribute-based encryption for fme-grained access control of encrypted data", pages: 89,8
GROTH, J.; SAHAI, A.: "EUROCRYPT 2008", vol. 4965, 2008, SPRINGER HEIDELBERG, article "Efficient non-interactive proof systems for bilinear groups", pages: 415 - 32
HORWITZ, J.; LYNN, B.: "EUROCRYPT 2002", vol. 2332, 2002, SPRINGER HEIDELBERG, article "Towards hierarchical identity-based encryption", pages: 466 - 81
KATZ, J.; SAHAI, A.; WATERS, B.: "EUROCRYPT 2008. LNCS", vol. 4965, 2008, SPRINGER HEIDELBERG, article "Predicate encryption supporting disjunctions, polynomial equations, and inner products", pages: 146.62
LEWKO, A.; OKAMOTO, T.; SAHAI, A.; TAKASHIMA, K.; WATERS, B.: "EUROCRYPT 2010", vol. 6110, 2010, SPRINGER, HEIDELBERG, article "Fully secure functional encryption: Attribute-based encryption and (hierarchical) inner product encryption", pages: 62 - 91
LEWKO, A.B.; WATERS, B.: "Fully secure HIBE with short ciphertexts", EPRINT, IACR, Retrieved from the Internet <URL:eprint.iacr.org/2009/482>
OKAMOTO, T.; TAKASHIMA, K.: "ASIACRYPT", 2009, SPRINGER, article "Hierarchical predicate encryption for Inner-Products"
OKAMOTO, T.; TAKASHIMA, K.: "CRYPTO 2010", vol. 6223, 2010, SPRINGER HEIDELBERG, article "Fully Secure Functional Encryption with General Relations from the Decisional Linear Assumption", pages: 191 - 208
OKAMOTO, T.; TAKASHIMA, K.: "Pairing 2008", vol. 5209, 2008, SPRINGER HEIDELBERG, article "Homomorphic encryption and signatures from vector decomposition", pages: 57
OSTROVSKY, R.; SAHAI, A.; WATERS, B.: "ACM Conference on Computer and Communication Security 2007", 2007, ACM, article "Attribute-based encryption with non-monotonic access structures", pages: 195 - 3
PIRRETTI, M.; TRAYNOR, P.; MCDANIEL, P.; WATERS, B.: "ACM Conference on Computer and Communication Security 2006", 2006, ACM, article "Secure attribute-based systems", pages: 99.12
SAHAI, A.; WATERS, B.: "EUROCRYPT 2005", vol. 3494, 2005, SPRINGER HEIDELBERG, article "Fuzzy identity-based encryption", pages: 457 - 73
See also references of EP2613472A4 *
SHI, E.; WATERS, B.: "ICALP (2) 2008", vol. 5126, 2008, SPRINGER HEIDELBERG, article "Delegating capability in predicate encryption systems", pages: 560 - 78
WATERS, B.: "Ciphertext-policy attribute-based encryption: an expressive, efficient, and provably secure realization", EPRINT, IACR, Retrieved from the Internet <URL:eprint.iacr.org/2008/290>
WATERS, B.: "CRYPTO 2009. LNCS", vol. 5677, 2009, SPRINGER HEIDELBERG, article "Dual system encryption: Realizing fully secure IBE and HIBE under simple assumptions", pages: 619 - 36
WATERS, B.: "Eurocrypt 2005", vol. 3152, 2005, SPRINGER VERLAG, article "Efficient identity based encryption without random oracles", pages: 443 - 59

Also Published As

Publication number Publication date
EP2613472A4 (en) 2017-07-12
US20130173929A1 (en) 2013-07-04
US8938623B2 (en) 2015-01-20
KR20130084669A (ko) 2013-07-25
EP2613472A1 (en) 2013-07-10
JP5693206B2 (ja) 2015-04-01
CN103270719A (zh) 2013-08-28
JP2012133214A (ja) 2012-07-12
CN103270719B (zh) 2015-09-30
KR101393899B1 (ko) 2014-05-12

Similar Documents

Publication Publication Date Title
JP5693206B2 (ja) 暗号処理システム、鍵生成装置、暗号化装置、復号装置、暗号処理方法及び暗号処理プログラム
JP5424974B2 (ja) 暗号処理システム、鍵生成装置、暗号化装置、復号装置、署名処理システム、署名装置及び検証装置
JP5618881B2 (ja) 暗号処理システム、鍵生成装置、暗号化装置、復号装置、暗号処理方法及び暗号処理プログラム
JP5769401B2 (ja) 暗号処理システム、鍵生成装置、鍵委譲装置、暗号化装置、復号装置、暗号処理方法及びプログラム
JP5680007B2 (ja) 暗号システム、暗号方法及び暗号プログラム
JP5606344B2 (ja) 署名処理システム、鍵生成装置、署名装置、検証装置、署名処理方法及び署名処理プログラム
JP5334873B2 (ja) 暗号処理システム、鍵生成装置、鍵委譲装置、暗号化装置、復号装置、暗号処理方法及び暗号処理プログラム
JP5921410B2 (ja) 暗号システム
JP5606351B2 (ja) 暗号処理システム、鍵生成装置、暗号化装置、復号装置、鍵委譲装置、暗号処理方法及び暗号処理プログラム

Legal Events

Date Code Title Description
121 Ep: the epo has been informed by wipo that ep was designated in this application

Ref document number: 11851495

Country of ref document: EP

Kind code of ref document: A1

WWE Wipo information: entry into national phase

Ref document number: 13823507

Country of ref document: US

WWE Wipo information: entry into national phase

Ref document number: 2011851495

Country of ref document: EP

ENP Entry into the national phase

Ref document number: 20137012670

Country of ref document: KR

Kind code of ref document: A

NENP Non-entry into the national phase

Ref country code: DE