WO2011078327A1 - 風車回転翼および風車回転翼の製造方法 - Google Patents

風車回転翼および風車回転翼の製造方法 Download PDF

Info

Publication number
WO2011078327A1
WO2011078327A1 PCT/JP2010/073349 JP2010073349W WO2011078327A1 WO 2011078327 A1 WO2011078327 A1 WO 2011078327A1 JP 2010073349 W JP2010073349 W JP 2010073349W WO 2011078327 A1 WO2011078327 A1 WO 2011078327A1
Authority
WO
WIPO (PCT)
Prior art keywords
girder
wind turbine
turbine rotor
disposed
blade
Prior art date
Legal status (The legal status is an assumption and is not a legal conclusion. Google has not performed a legal analysis and makes no representation as to the accuracy of the status listed.)
Ceased
Application number
PCT/JP2010/073349
Other languages
English (en)
French (fr)
Japanese (ja)
Inventor
江崎 浩司
黒岩 隆夫
川節 望
Current Assignee (The listed assignees may be inaccurate. Google has not performed a legal analysis and makes no representation or warranty as to the accuracy of the list.)
Mitsubishi Heavy Industries Ltd
Original Assignee
Mitsubishi Heavy Industries Ltd
Priority date (The priority date is an assumption and is not a legal conclusion. Google has not performed a legal analysis and makes no representation as to the accuracy of the date listed.)
Filing date
Publication date
Family has litigation
First worldwide family litigation filed litigation Critical https://patents.darts-ip.com/?family=44195852&utm_source=google_patent&utm_medium=platform_link&utm_campaign=public_patent_search&patent=WO2011078327(A1) "Global patent litigation dataset” by Darts-ip is licensed under a Creative Commons Attribution 4.0 International License.
Application filed by Mitsubishi Heavy Industries Ltd filed Critical Mitsubishi Heavy Industries Ltd
Priority to CN2010800330181A priority Critical patent/CN102472255A/zh
Priority to MX2012001185A priority patent/MX2012001185A/es
Priority to AU2010336272A priority patent/AU2010336272A1/en
Priority to EP10839557.5A priority patent/EP2532891B1/en
Priority to US13/071,066 priority patent/US20110171038A1/en
Publication of WO2011078327A1 publication Critical patent/WO2011078327A1/ja
Anticipated expiration legal-status Critical
Ceased legal-status Critical Current

Links

Images

Classifications

    • FMECHANICAL ENGINEERING; LIGHTING; HEATING; WEAPONS; BLASTING
    • F03MACHINES OR ENGINES FOR LIQUIDS; WIND, SPRING, OR WEIGHT MOTORS; PRODUCING MECHANICAL POWER OR A REACTIVE PROPULSIVE THRUST, NOT OTHERWISE PROVIDED FOR
    • F03DWIND MOTORS
    • F03D1/00Wind motors with rotation axis substantially parallel to the air flow entering the rotor 
    • F03D1/06Rotors
    • F03D1/065Rotors characterised by their construction elements
    • F03D1/0675Rotors characterised by their construction elements of the blades
    • BPERFORMING OPERATIONS; TRANSPORTING
    • B29WORKING OF PLASTICS; WORKING OF SUBSTANCES IN A PLASTIC STATE IN GENERAL
    • B29LINDEXING SCHEME ASSOCIATED WITH SUBCLASS B29C, RELATING TO PARTICULAR ARTICLES
    • B29L2031/00Other particular articles
    • B29L2031/08Blades for rotors, stators, fans, turbines or the like, e.g. screw propellers
    • B29L2031/082Blades, e.g. for helicopters
    • B29L2031/085Wind turbine blades
    • YGENERAL TAGGING OF NEW TECHNOLOGICAL DEVELOPMENTS; GENERAL TAGGING OF CROSS-SECTIONAL TECHNOLOGIES SPANNING OVER SEVERAL SECTIONS OF THE IPC; TECHNICAL SUBJECTS COVERED BY FORMER USPC CROSS-REFERENCE ART COLLECTIONS [XRACs] AND DIGESTS
    • Y02TECHNOLOGIES OR APPLICATIONS FOR MITIGATION OR ADAPTATION AGAINST CLIMATE CHANGE
    • Y02EREDUCTION OF GREENHOUSE GAS [GHG] EMISSIONS, RELATED TO ENERGY GENERATION, TRANSMISSION OR DISTRIBUTION
    • Y02E10/00Energy generation through renewable energy sources
    • Y02E10/70Wind energy
    • Y02E10/72Wind turbines with rotation axis in wind direction
    • YGENERAL TAGGING OF NEW TECHNOLOGICAL DEVELOPMENTS; GENERAL TAGGING OF CROSS-SECTIONAL TECHNOLOGIES SPANNING OVER SEVERAL SECTIONS OF THE IPC; TECHNICAL SUBJECTS COVERED BY FORMER USPC CROSS-REFERENCE ART COLLECTIONS [XRACs] AND DIGESTS
    • Y02TECHNOLOGIES OR APPLICATIONS FOR MITIGATION OR ADAPTATION AGAINST CLIMATE CHANGE
    • Y02PCLIMATE CHANGE MITIGATION TECHNOLOGIES IN THE PRODUCTION OR PROCESSING OF GOODS
    • Y02P70/00Climate change mitigation technologies in the production process for final industrial or consumer products
    • Y02P70/50Manufacturing or production processes characterised by the final manufactured product
    • YGENERAL TAGGING OF NEW TECHNOLOGICAL DEVELOPMENTS; GENERAL TAGGING OF CROSS-SECTIONAL TECHNOLOGIES SPANNING OVER SEVERAL SECTIONS OF THE IPC; TECHNICAL SUBJECTS COVERED BY FORMER USPC CROSS-REFERENCE ART COLLECTIONS [XRACs] AND DIGESTS
    • Y10TECHNICAL SUBJECTS COVERED BY FORMER USPC
    • Y10TTECHNICAL SUBJECTS COVERED BY FORMER US CLASSIFICATION
    • Y10T156/00Adhesive bonding and miscellaneous chemical manufacture
    • Y10T156/10Methods of surface bonding and/or assembly therefor
    • Y10T156/1002Methods of surface bonding and/or assembly therefor with permanent bending or reshaping or surface deformation of self sustaining lamina
    • Y10T156/1028Methods of surface bonding and/or assembly therefor with permanent bending or reshaping or surface deformation of self sustaining lamina by bending, drawing or stretch forming sheet to assume shape of configured lamina while in contact therewith
    • Y10T156/103Encasing or enveloping the configured lamina

Definitions

  • the present invention relates to a wind turbine rotor that constitutes a wind turbine for wind power generation and a method of manufacturing the wind turbine rotor.
  • Patent Document 1 As a wind turbine rotor, for example, the one disclosed in Patent Document 1 is known.
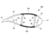
  • the wind turbine rotor 100 is provided with a shell 11, a leading edge sandwich 12, a main strength material (spar cap material) 101, a trailing edge sandwich 14, a shear web (girder) 15, and an endothelial material 17.
  • the front edge sandwich material 12 and the rear edge sandwich material 14 have a sandwich structure in which the skin material 11 and the endothelial material 17 are used as a skin material, and a foam of resin such as PVC or wood such as balsa is used as a core material.
  • symbol 16 in FIG. 7 is an adhesive agent which connects the main strength material 101 and the shear web 15 (connection).
  • the reinforcement of a certain width delivered from the fiber manufacturer is made in accordance with the planar view shape (the outer shape and the dimensions of each member) of the wind turbine rotor 100 changing in the blade longitudinal direction.
  • a plurality of sheets whose width changes in the longitudinal direction are cut out of a fiber sheet (eg, glass fiber woven fabric, glass fiber prepreg, carbon fiber woven fabric, carbon fiber prepreg), and the cut out plurality of sheets are mainly stacked.
  • the strength material 101 is produced. Therefore, there is a problem that the material which has been cut off is wasted and the manufacturing cost is increased.
  • the present invention has been made in view of the above-mentioned circumstances, and can eliminate the waste of the material at the time of producing the main strength material (spar cap material), and can reduce the manufacturing cost, and a windmill
  • An object of the present invention is to provide a method of manufacturing a rotary wing.
  • a wind turbine rotor including: an outer cover made of fiber reinforced plastic; a main strength member disposed on the back and ventral inner surface of the outer cover; and the main strength members
  • the main strength material is formed by stacking reinforcing fiber sheets of a certain width in the longitudinal direction.
  • the main strength material is formed (constructed) simply by stacking reinforcing fiber sheets of a certain width delivered from a fiber manufacturer.
  • the waste of the raw material at the time of doing can be eliminated, and a manufacturing cost can be reduced.
  • the number of laminated reinforcing fiber sheets constituting the main strength material is selected according to the strength required at the position in the radial direction of rotation of the wind turbine rotor blade. .
  • the distance between the girder material disposed on the leading edge side of the girder material and the girder material disposed on the trailing edge side is kept constant from the root side to the tip side of the wing. It is further preferable that the girder material is disposed. In the above-mentioned wind turbine rotor, the distance between the girder material disposed on the leading edge side and the girder material disposed on the trailing edge side of the girder material gradually and linearly from the root side to the tip side of the blade. It is further preferable that the girder members be disposed so as to be extremely narrow.
  • the root side of the wing refers to one end side of the wing attached to the rotor head
  • the “tip side of the wing” refers to the other wing that becomes a free end when attached to the rotor head. It is the end side.
  • a wind turbine rotor According to such a wind turbine rotor, it has conventionally been disposed on the leading edge side which has been nonlinearly changed from the root side to the tip side of the wing in consideration of the width of the wind turbine rotor (which changes in the blade longitudinal direction)
  • the distance between the girder and the girder arranged on the trailing edge can be constant or linear change, and the girder is specially designed for fixing (gluing) the girder to the main strength material, called gantry. Since the positioning operation at the time of fixing to the tool is performed easily and promptly, the time required for the manufacturing operation can be shortened, and the productivity can be improved.
  • the girder material is disposed without being twisted from the root side to the tip side of the wing.
  • the girder material is also from the root side of the blade although it was made into the shape twisted toward the tip side, since the twist of this girder material becomes unnecessary, the manufacturing cost of the mold used when manufacturing girder material can be reduced, and the girder material is more than conventional It can be easily and rapidly produced.
  • “torsion” refers to “twisting up” in which the angle of attack on the wind turbine rotor gradually increases as it goes to the tip of the wing (tip) or the angle of attack on the wind turbine rotor to the tip of the wing (tip) It is the “twisting down” which decreases gradually according to.
  • positioning work for fixing the girder material to a special jig called a gantry for attaching (adhering) girder material to the main strength material is performed more easily and quickly. The time required for the manufacturing operation can be further shortened, and the productivity can be further improved.
  • the wind turbine for wind power generation according to the second aspect of the present invention is equipped with a wind turbine rotor that can eliminate waste of the material when producing the main strength material and can reduce the manufacturing cost.
  • the wind turbine for wind power generation according to the second aspect of the present invention, it is possible to contribute to global environmental problems and to reduce the manufacturing cost.
  • a method of manufacturing a wind turbine rotor comprising: a shell made of fiber reinforced plastic; A method of manufacturing a wind turbine rotor blade having a girder member disposed between strength members, the method comprising: stacking reinforcing fiber sheets of a certain width in a longitudinal direction to produce the main strength member; The outer covering material which forms the surface of the back side is placed on the 1st formwork which forms the above, and the main strength material placed on the back side of the girder material is placed on the outer covering material And an outer covering material forming an outer surface of the girder is placed on a second formwork for forming a half-split wing on an outer side, and And a step of mounting the main strength material to be disposed.
  • a reinforcing fiber sheet of a certain width supplied from a fiber manufacturer is cut in accordance with the longitudinal change of the plan view shape of the wind turbine rotor. Since the main strength material is formed (constructed) simply by stacking, waste of the material at the time of producing the main strength material can be eliminated, and the manufacturing cost can be reduced.
  • the distance between the girder material disposed on the leading edge side of the girder material and the girder material disposed on the trailing edge side is kept constant from the root side to the tip side of the wing. It is further preferred that the girder material is arranged in this way. Further, in the method of manufacturing a wind turbine rotor, the distance between the girder material disposed on the leading edge side of the girder material and the girder material disposed on the trailing edge side gradually increases from the root side to the tip side of the wing. Further, it is more preferable that the girder members be disposed so as to be linearly narrowed.
  • the distance between the girder material disposed on the leading edge side and the girder material disposed on the trailing edge side is considered in consideration of the width of the wind turbine rotor blade. Since it is not necessary to change from the root side to the tip side of the wing, the positioning operation when fixing the girder material to a dedicated jig called gantry, for attaching (adhering) girder material to the main strength material, Since the process is performed easily and promptly, the time required for the manufacturing operation can be shortened, and the productivity can be improved.
  • the girder material is manufactured without being twisted from the root side to the tip side of the wing.
  • a method of manufacturing a wind turbine rotor when manufacturing the girder material, it is not necessary to twist the girder material from the root side to the tip side of the blade in consideration of the twist of the wind turbine rotor blade.
  • the manufacturing cost of the mold used when manufacturing can be reduced, and the girder material can be manufactured more easily and rapidly.
  • positioning work for fixing the girder material to a special jig called a gantry for attaching (adhering) girder material to the main strength material is performed more easily and quickly.
  • the time required for the manufacturing operation can be further shortened, and the productivity can be further improved.
  • FIG. 1 It is a side view showing a wind turbine for wind power generation provided with a wind turbine rotor blade concerning a 1st embodiment of the present invention.
  • It is a top view of a windmill rotor concerning a 1st embodiment of the present invention.
  • It is a BB arrow sectional view of FIG.
  • It is a top view of a windmill rotor concerning a 2nd embodiment of the present invention.
  • FIG. 1 is a side view showing a wind turbine for wind power generation equipped with a wind turbine rotor according to the present embodiment
  • FIG. 2 is a plan view of the wind turbine rotor according to the present embodiment
  • FIG. FIG. 4 is a cross-sectional view taken along the line BB in FIG.
  • the twisting up from the blade root (root) to the blade tip (tip) of the wind turbine rotor (the angle of attack gradually increases from the blade root to the blade tip
  • the wing twist is not considered (shown).
  • only the spar cap material located in the back side is shown in FIG.
  • the wind turbine 1 for wind power generation has a substantially horizontal axis line with a support (also referred to as “tower”) 2 erected on a foundation B and a nacelle 3 installed at the upper end of the support 2. It has a rotor head 4 rotatably provided around the nacelle 3. A plurality of (for example, three) wind turbine rotors 5 are attached to the rotor head 4 radially around the rotation axis. As a result, the force of the wind that hits the wind turbine rotor 5 from the direction of the rotational axis of the rotor head 4 is converted into the motive power that causes the rotor head 4 to rotate around the rotational axis.
  • the support 2 is configured such that a plurality of (for example, three) units (not shown) are vertically connected.
  • the nacelle 3 is installed on the unit provided at the top among the units constituting the column 2, and the nacelle base plate (not shown) attached to the upper end of the column 2 and the nacelle base plate And a cover 6 covering from above.
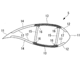
  • the wind turbine rotor 5 has a spar cap structure that meets the requirements of both lightness and strength, and the skin material 11, the leading edge sandwich material 12, and the spar cap material (main strength material And 13), a trailing edge sandwich material 14, a shear web 15 and an endothelial material 17.
  • the outer covering material 11, the spar cap material 13 and the endothelial material 17 are each formed (configured) of fiber reinforced plastic (FRP).
  • the spar cap member 13 is a member in which reinforcing fiber sheets are laminated in multiple layers, and provided one on each of the back side (upper side in FIG. 3) and the ventral side (lower side in FIG. 3) of the wind turbine rotor 5 . Further, the spar cap material 13 and the shear web 15 are connected (connected) via an adhesive 16 which is cured at normal temperature.
  • Each of the front edge sandwich material 12 and the rear edge sandwich material 14 has a sandwich structure in which the outer skin material 11 and the endothelial material 17 are used as a skin material, a foam of resin such as PVC, and wood such as balsa as a core material There is. And in such a spar cap structure, bending strength in the flap direction of the wind turbine rotor 5 is maintained mainly by the spar cap material 13 which is a member obtained by laminating reinforcing fiber sheets in multiple layers, and the leading edge sandwich material 12 and the trailing edge The sandwich material 14 is additionally used to maintain the buckling strength of the wind turbine rotor 5.
  • the wind turbine rotor 5 is provided with, for example, a spar cap material 13 as shown in FIGS. 2 and 4.
  • the spar cap material 13 has a constant width (length in the cord direction (vertical direction in FIG. 2)) from the root side to the tip side of the wing as shown in FIG. 2, and as shown in FIG.
  • the reinforcing fiber sheets 21, 22, 23, 24 having different lengths in the direction (the left and right direction in FIG. 2) are members laminated as shown in FIG. 2 and FIG. That is, the spar cap material 13 is in a state in which all the reinforcing fiber sheets 21, 22, 23, 24 are laminated at a certain position (generally 40 to 60% rotational radius position) of the wind turbine rotor 5 in the longitudinal direction.
  • the reinforcing fiber sheets 21, 22, 23, 24 are formed so as to gradually decrease in number from the position where the number of laminated sheets is maximum to the root side and the tip side of the wing.
  • the number of laminated reinforcing fiber sheets 21, 22, 23, 24 is selected in accordance with the strength required at the radial position of the wind turbine rotor.
  • the reinforcing fiber sheets 21, 22, 23, 24 are formed to have the same width and the same thickness. Further, in the shear web 15, the distance between the shear web 15 disposed on the leading edge side and the shear web 15 disposed on the trailing edge changes in consideration of the width of the wind turbine rotor 5, that is, from the root side to the tip side of the wing. It is made proportional to the length in the direction of the cord and twisted in accordance with a predetermined twisting set up from the blade root to the blade tip.
  • the spar cap material is obtained by simply stacking the reinforcing fiber sheets of a certain width supplied from the fiber manufacturer without cutting them in accordance with the plan view shape of the wind turbine rotor 5. Since 13 is formed (constructed), it is possible to eliminate the waste of the material when producing the spar cap material 13 and to reduce the manufacturing cost.
  • the number of laminated reinforcing fiber sheets 21, 22, 23, 24 constituting the spar cap material 13 is selected in accordance with the strength required at the position in the rotation radial direction of the wind turbine rotor. As a result, the necessary strength as the spar cap material 13 is secured, so that brittle fracture, fatigue fracture and buckling of the spar cap material 13 with respect to a load in the flap direction (dorsal-facing direction) can be prevented.
  • the covering material 11 for forming the back surface is placed on the first form (not shown) for forming the half-split wing, and disposed on the covering material 11 on the back side of the shear web 15 Mounting the outer cap material 13 forming the surface on the ventral side on the second mold (not shown) for forming the half-split wing on the ventral side.
  • a reinforcing fiber sheet of a certain width delivered from a fiber manufacturer is cut at a desired length without cutting in accordance with the width (length in the cord direction) of the wind turbine rotor 5, and these are simply cut. Since the spar cap material 13 is formed (constructed) by stacking, waste of the material at the time of producing the spar cap material 13 can be eliminated, and the manufacturing cost can be reduced.
  • FIG. 5 is a plan view of a wind turbine rotor according to the present embodiment.
  • twisting up from the blade root (root) to the blade tip (tip) of the wind turbine rotor blade Is not considered (shown).
  • the wind turbine rotor 30 according to the present embodiment differs from that of the first embodiment described above in that it includes a shear web 31 instead of the shear web 15.
  • the other components are the same as those of the above-described first embodiment, and thus the description of those components is omitted here.
  • symbol is attached
  • the distance between the shear webs 31 (the distance between the shear web 31 located on the front edge side and the shear web 31 located on the rear edge side) is constant from the root side to the tip side of the wing.
  • the shear web 31 is disposed in such a manner as to be maintained.
  • the shear web 31 is twisted in accordance with a predetermined twisting set from the root side to the tip side of the blade of the wind turbine rotor 30.
  • the width of the wind turbine rotor (which changes in the blade longitudinal direction) is taken into account in the prior art. Since the distance between the shear web 31 disposed on the leading edge side and the shear web 31 disposed on the trailing edge side can be made constant, the shear web 31 can be attached (bonded) to the spar cap member 13 Since the positioning operation at the time of fixing the shear web 31 to a dedicated jig (not shown) called a gantry is performed easily and promptly, the time required for the manufacturing operation can be shortened. Productivity can be improved. The other operational effects are the same as those of the first embodiment described above, and thus the description thereof is omitted here.
  • FIG. 6 is a plan view of a wind turbine rotor blade according to the present embodiment.
  • twisting up from the blade root (root) to the blade tip (tip) of the wind turbine rotor blade Is not considered (shown).
  • the wind turbine rotor 40 according to the present embodiment differs from that of the first embodiment described above in that it includes a shear web 41 instead of the shear web 15.
  • the other components are the same as those of the above-described first embodiment, and thus the description of those components is omitted here.
  • symbol is attached
  • the distance between the shear web 41 gradually increases from the root side to the tip side of the wing.
  • the shear web 41 is disposed so that it narrows linearly, that is, the shape of the shear web 41 in a plan view tapers from the root side to the tip side of the wing. Further, the shear web 41 is twisted in accordance with a predetermined twisting set from the root side to the tip side of the blade of the wind turbine rotor 40.
  • the width of the wind turbine rotor (which changes in the blade longitudinal direction) is taken into account and nonlinear from the root side to the tip side of the wing Since the distance between the sheared web 41 disposed on the leading edge side and the sheared web 41 disposed on the trailing edge side can be changed linearly, the shea web 41 is attached (bonded) to the spar cap member 13 Since the positioning operation when fixing the shear web 41 to a dedicated jig (not shown) called a gantry is performed easily and promptly, the time required for the manufacturing operation can be shortened. , Can improve productivity.
  • the other operational effects are the same as those of the first embodiment described above, and thus the description thereof is omitted here.
  • the shear webs 31 and 41 are not twisted from the root side to the tip side of the blades of the wind turbine rotors 30 and 40, and the outer shape maintains the planar shape. It is more preferable to be disposed (housed) inside the outer cover material 11.
  • the shear webs 31 and 41 are manufactured, the shear webs 31 and 41 are twisted by lowering the wind turbine rotors 30 and 40 by arranging the shear webs 31 and 41 by arranging the shear webs 31 and 41 in the interior of the outer covering 11 while maintaining the planar shape.
  • Wind turbine for wind power generation 2 pillar (tower) 3 nacelle 4 rotor head 5 windmill rotor blade 6 nacelle cover 11 shell material 12 leading edge sandwich material 13 spar cap material (main strength material) 14 trailing edge sandwich material 15 shear web (beam material) 16 Adhesive 17 Endothelial material 21 Reinforcing fiber sheet 22 Reinforcing fiber sheet 23 Reinforcing fiber sheet 24 Reinforcing fiber sheet 30 Wind turbine rotor blade 31 Shear web 40 Wind turbine rotor blade 41 Shear web B Foundation

Landscapes

  • Engineering & Computer Science (AREA)
  • Life Sciences & Earth Sciences (AREA)
  • Sustainable Development (AREA)
  • Sustainable Energy (AREA)
  • Chemical & Material Sciences (AREA)
  • Combustion & Propulsion (AREA)
  • Mechanical Engineering (AREA)
  • General Engineering & Computer Science (AREA)
  • Wind Motors (AREA)
PCT/JP2010/073349 2009-12-25 2010-12-24 風車回転翼および風車回転翼の製造方法 Ceased WO2011078327A1 (ja)

Priority Applications (5)

Application Number Priority Date Filing Date Title
CN2010800330181A CN102472255A (zh) 2009-12-25 2010-12-24 风车旋转翼和风车旋转翼的制造方法
MX2012001185A MX2012001185A (es) 2009-12-25 2010-12-24 Alabe de rotor de turbina de viento y metodo de produccion de alabe de rotor de turbina de viento.
AU2010336272A AU2010336272A1 (en) 2009-12-25 2010-12-24 Wind turbine rotor blade and producing method of wind turbine rotor blade
EP10839557.5A EP2532891B1 (en) 2009-12-25 2010-12-24 Rotary blade of windmill and method of manufacturing rotary blade of windmill
US13/071,066 US20110171038A1 (en) 2009-12-25 2011-03-24 Wind turbine rotor blade and producing method of wind turbine rotor blade

Applications Claiming Priority (2)

Application Number Priority Date Filing Date Title
JP2009-296146 2009-12-25
JP2009296146A JP2011137386A (ja) 2009-12-25 2009-12-25 風車回転翼および風車回転翼の製造方法

Related Child Applications (1)

Application Number Title Priority Date Filing Date
US13/071,066 Continuation US20110171038A1 (en) 2009-12-25 2011-03-24 Wind turbine rotor blade and producing method of wind turbine rotor blade

Publications (1)

Publication Number Publication Date
WO2011078327A1 true WO2011078327A1 (ja) 2011-06-30

Family

ID=44195852

Family Applications (1)

Application Number Title Priority Date Filing Date
PCT/JP2010/073349 Ceased WO2011078327A1 (ja) 2009-12-25 2010-12-24 風車回転翼および風車回転翼の製造方法

Country Status (8)

Country Link
US (1) US20110171038A1 (enExample)
EP (1) EP2532891B1 (enExample)
JP (1) JP2011137386A (enExample)
KR (1) KR20120035194A (enExample)
CN (1) CN102472255A (enExample)
AU (1) AU2010336272A1 (enExample)
MX (1) MX2012001185A (enExample)
WO (1) WO2011078327A1 (enExample)

Cited By (4)

* Cited by examiner, † Cited by third party
Publication number Priority date Publication date Assignee Title
WO2013007359A1 (de) * 2011-07-08 2013-01-17 Rehau Ag + Co Rotorflügel für windkraftwerke
JP2015500942A (ja) * 2011-12-16 2015-01-08 ヴェスタス ウィンド システムズ エー/エス 風力タービンブレード
JP2018127964A (ja) * 2017-02-09 2018-08-16 三菱重工業株式会社 風力発電設備、風車翼および風車翼の補強方法
EP3408532B1 (de) 2016-01-29 2022-12-28 Wobben Properties GmbH Rotorblatt einer windenergieanlage mit holmgurt und herstellungsverfahren

Families Citing this family (16)

* Cited by examiner, † Cited by third party
Publication number Priority date Publication date Assignee Title
KR101231632B1 (ko) 2011-08-25 2013-02-08 한국과학기술원 자세 제어장치를 구비한 풍력발전기의 블레이드
EP2636897B1 (en) * 2011-12-09 2017-07-12 Mitsubishi Heavy Industries, Ltd. Wind turbine blade
KR101375265B1 (ko) * 2012-02-10 2014-03-19 삼성중공업 주식회사 풍력발전기의 블레이드 및 이의 제작 방법
KR101391213B1 (ko) * 2013-09-04 2014-05-02 한국에너지기술연구원 풍력 블레이드의 거더 및 풍력 블레이드의 거더 제조 방법
KR101469569B1 (ko) * 2013-11-26 2014-12-05 한국에너지기술연구원 레진 투과성이 개선된 풍력블레이드의 모듈형 복합재 거더 제조 방법
US10828843B2 (en) 2017-03-16 2020-11-10 General Electric Company Shear webs for wind turbine rotor blades and methods for manufacturing same
US10677216B2 (en) 2017-10-24 2020-06-09 General Electric Company Wind turbine rotor blade components formed using pultruded rods
US11248582B2 (en) * 2017-11-21 2022-02-15 General Electric Company Multiple material combinations for printed reinforcement structures of rotor blades
US11738530B2 (en) 2018-03-22 2023-08-29 General Electric Company Methods for manufacturing wind turbine rotor blade components
DE102018009336A1 (de) * 2018-11-28 2020-05-28 Senvion Gmbh Rotorblattform und Verfahren zur Herstellung eines Rotorblattes für eine Windenergieanlage sowie Windenergieanlage
DE102019000052A1 (de) * 2019-01-08 2020-07-09 Senvion Gmbh Rotorblatt mit wenigstens einem Gurt mit einer Mehrzahl an Pultrudaten und ein Verfahren zu seiner Herstellung
US11623723B2 (en) * 2020-09-16 2023-04-11 Aerostar International, Llc Propeller blade assembly
CA3204181A1 (en) * 2021-03-04 2022-09-09 Mahdi BAVILOLIAIE Fibre-reinforcement fabric for a wind turbine blade component
EP4363710A1 (en) * 2021-06-30 2024-05-08 Vestas Wind Systems A/S A blade for a wind turbine
JPWO2023074316A1 (enExample) 2021-10-29 2023-05-04
JP7622709B2 (ja) 2022-07-19 2025-01-28 トヨタ自動車株式会社 複合成形体の製造方法

Citations (7)

* Cited by examiner, † Cited by third party
Publication number Priority date Publication date Assignee Title
WO2003093672A1 (de) * 2002-05-02 2003-11-13 Repower Systems Ag Rotorblatt für windernergieanlagen
US20070040294A1 (en) * 2005-08-17 2007-02-22 Rainer Arelt Method For Making A Continuous Laminate, In Particular Suitable As A Spar Cap Or Another Part Of A Wind Energy Turbine Rotor Blade
US20070128025A1 (en) * 2005-12-07 2007-06-07 General Electric Company Wind blade assembly and method for damping load or strain
US20070140863A1 (en) * 2005-12-15 2007-06-21 General Electric Company Wind turbine rotor blade
JP2007255366A (ja) * 2006-03-24 2007-10-04 Mitsubishi Heavy Ind Ltd 風車翼
US20080145615A1 (en) * 2004-08-13 2008-06-19 Lm Glasfiber A/S Method of Cutting Off Laminate Layers, Eg a Glass Fibre or Carbon-Fibre Laminate Layer in the Blade of a Wind Turbine
WO2008086805A2 (en) 2007-01-16 2008-07-24 Danmarks Tekniske Universitet Reinforced blade for wind turbine

Family Cites Families (16)

* Cited by examiner, † Cited by third party
Publication number Priority date Publication date Assignee Title
GB1268202A (en) * 1968-08-01 1972-03-22 Rolls Royce Composite blade for an elastic fluid flow machine
US4976587A (en) * 1988-07-20 1990-12-11 Dwr Wind Technologies Inc. Composite wind turbine rotor blade and method for making same
US5222297A (en) * 1991-10-18 1993-06-29 United Technologies Corporation Composite blade manufacture
US6676080B2 (en) * 2000-07-19 2004-01-13 Aero Composites, Inc. Composite airfoil assembly
ES2574779T5 (es) * 2001-07-19 2022-02-17 Vestas Wind Sys As Alabe para aerogenerador
CA2426711C (en) * 2002-05-02 2009-11-17 General Electric Company Wind power plant, control arrangement for a wind power plant, and method for operating a wind power plant
DE10336461A1 (de) * 2003-08-05 2005-03-03 Aloys Wobben Verfahren zur Herstellung eines Rotorblattes einer Windenergieanlage
DK176298B1 (da) * 2003-09-15 2007-06-18 Lm Glasfiber As Metode til lynsikring af en vinge til et vindenergianlæg, en lynsikret vinge samt et vindenergianlæg med en sådan vinge
DE102005014884B3 (de) * 2005-04-01 2006-09-14 Nordex Energy Gmbh Rotorblatt für eine Windenergieanlage
DE102006022279B4 (de) * 2006-05-11 2016-05-12 Aloys Wobben Rotorblatt für eine Windenergieanlage
CN101754849B (zh) * 2007-06-29 2013-09-18 Lm玻璃纤维制品有限公司 可成形芯块用于树脂浸渍工艺的方法
DE102008007304A1 (de) 2008-02-02 2009-08-06 Nordex Energy Gmbh Rotorblatt für Windenergieanlagen
US20090196756A1 (en) 2008-02-05 2009-08-06 General Electric Company Wind turbine blades and method for forming same
US8114329B2 (en) 2008-03-03 2012-02-14 Abe Karem Wing and blade structure using pultruded composites
JP5063488B2 (ja) 2008-06-03 2012-10-31 日本電信電話株式会社 無線通信装置およびその処理方法
US7942637B2 (en) * 2008-12-11 2011-05-17 General Electric Company Sparcap for wind turbine rotor blade and method of fabricating wind turbine rotor blade

Patent Citations (7)

* Cited by examiner, † Cited by third party
Publication number Priority date Publication date Assignee Title
WO2003093672A1 (de) * 2002-05-02 2003-11-13 Repower Systems Ag Rotorblatt für windernergieanlagen
US20080145615A1 (en) * 2004-08-13 2008-06-19 Lm Glasfiber A/S Method of Cutting Off Laminate Layers, Eg a Glass Fibre or Carbon-Fibre Laminate Layer in the Blade of a Wind Turbine
US20070040294A1 (en) * 2005-08-17 2007-02-22 Rainer Arelt Method For Making A Continuous Laminate, In Particular Suitable As A Spar Cap Or Another Part Of A Wind Energy Turbine Rotor Blade
US20070128025A1 (en) * 2005-12-07 2007-06-07 General Electric Company Wind blade assembly and method for damping load or strain
US20070140863A1 (en) * 2005-12-15 2007-06-21 General Electric Company Wind turbine rotor blade
JP2007255366A (ja) * 2006-03-24 2007-10-04 Mitsubishi Heavy Ind Ltd 風車翼
WO2008086805A2 (en) 2007-01-16 2008-07-24 Danmarks Tekniske Universitet Reinforced blade for wind turbine

Non-Patent Citations (1)

* Cited by examiner, † Cited by third party
Title
See also references of EP2532891A4

Cited By (9)

* Cited by examiner, † Cited by third party
Publication number Priority date Publication date Assignee Title
WO2013007359A1 (de) * 2011-07-08 2013-01-17 Rehau Ag + Co Rotorflügel für windkraftwerke
JP2015500942A (ja) * 2011-12-16 2015-01-08 ヴェスタス ウィンド システムズ エー/エス 風力タービンブレード
US10487797B2 (en) 2011-12-16 2019-11-26 Vestas Wind Systems A/S Wind turbine blades
US11371482B2 (en) 2011-12-16 2022-06-28 Vestas Wind Systems A/S Wind turbine blades
US11629690B2 (en) 2011-12-16 2023-04-18 Vestas Wind Systems A/S Wind turbine blades
EP3408532B1 (de) 2016-01-29 2022-12-28 Wobben Properties GmbH Rotorblatt einer windenergieanlage mit holmgurt und herstellungsverfahren
JP2018127964A (ja) * 2017-02-09 2018-08-16 三菱重工業株式会社 風力発電設備、風車翼および風車翼の補強方法
US10514022B2 (en) 2017-02-09 2019-12-24 Mitsubishi Heavy Industries, Ltd. Wind turbine generator system, wind turbine blade, and reinforcing method for wind turbine blade
US11118563B2 (en) 2017-02-09 2021-09-14 Mitsubishi Heavy Industries, Ltd. Wind turbine generator system, wind turbine blade, and reinforcing method for wind turbine blade

Also Published As

Publication number Publication date
CN102472255A (zh) 2012-05-23
EP2532891A4 (en) 2014-05-28
KR20120035194A (ko) 2012-04-13
JP2011137386A (ja) 2011-07-14
EP2532891B1 (en) 2015-08-12
AU2010336272A1 (en) 2012-02-16
US20110171038A1 (en) 2011-07-14
MX2012001185A (es) 2012-02-28
EP2532891A1 (en) 2012-12-12

Similar Documents

Publication Publication Date Title
WO2011078327A1 (ja) 風車回転翼および風車回転翼の製造方法
JP2011137386A5 (enExample)
JP5536103B2 (ja) 風車回転翼
CN109113924B (zh) 由具有不同类型的负载支承结构的内侧部分和外侧部分组装的风力涡轮机叶片
CN107636303A (zh) 具有后缘间隔部分的风力涡轮机叶片
EP2385249A1 (en) Wind wheel blade and wind-driven electricity generation device using same
EP3792049A1 (en) Wind turbine blade
CN114630957A (zh) 风力涡轮机叶片
EP4010584B1 (en) Wind turbine blade
WO2011078326A1 (ja) 風車回転翼および風力発電用風車
JP5427597B2 (ja) 風車回転翼
JP2011137388A5 (enExample)
EP4363711B1 (en) A wind turbine blade
CN103987963B (zh) 风力涡轮机的台板
US12503996B2 (en) Wind turbine blade with leeward reinforcement structures and windward reinforcement structures
KR102719754B1 (ko) 풍력발전기의 블레이드
EP4363710A1 (en) A blade for a wind turbine

Legal Events

Date Code Title Description
WWE Wipo information: entry into national phase

Ref document number: 201080033018.1

Country of ref document: CN

121 Ep: the epo has been informed by wipo that ep was designated in this application

Ref document number: 10839557

Country of ref document: EP

Kind code of ref document: A1

WWE Wipo information: entry into national phase

Ref document number: 155/MUMNP/2012

Country of ref document: IN

ENP Entry into the national phase

Ref document number: 20127001810

Country of ref document: KR

Kind code of ref document: A

WWE Wipo information: entry into national phase

Ref document number: 2010336272

Country of ref document: AU

WWE Wipo information: entry into national phase

Ref document number: MX/A/2012/001185

Country of ref document: MX

Ref document number: 2010839557

Country of ref document: EP

ENP Entry into the national phase

Ref document number: 2010336272

Country of ref document: AU

Date of ref document: 20101224

Kind code of ref document: A

NENP Non-entry into the national phase

Ref country code: DE