WO2011030520A1 - Communication system, communication apparatus, communication method, and computer program - Google Patents

Communication system, communication apparatus, communication method, and computer program Download PDF

Info

Publication number
WO2011030520A1
WO2011030520A1 PCT/JP2010/005323 JP2010005323W WO2011030520A1 WO 2011030520 A1 WO2011030520 A1 WO 2011030520A1 JP 2010005323 W JP2010005323 W JP 2010005323W WO 2011030520 A1 WO2011030520 A1 WO 2011030520A1
Authority
WO
WIPO (PCT)
Prior art keywords
content
source
conditional access
command
source apparatus
Prior art date
Legal status (The legal status is an assumption and is not a legal conclusion. Google has not performed a legal analysis and makes no representation as to the accuracy of the status listed.)
Ceased
Application number
PCT/JP2010/005323
Other languages
English (en)
French (fr)
Inventor
Takehiko Nakano
Current Assignee (The listed assignees may be inaccurate. Google has not performed a legal analysis and makes no representation or warranty as to the accuracy of the list.)
Sony Corp
Original Assignee
Sony Corp
Priority date (The priority date is an assumption and is not a legal conclusion. Google has not performed a legal analysis and makes no representation as to the accuracy of the date listed.)
Filing date
Publication date
Application filed by Sony Corp filed Critical Sony Corp
Priority to CN201080039101XA priority Critical patent/CN102498690A/zh
Priority to US13/393,504 priority patent/US20120155642A1/en
Priority to RU2012107868/08A priority patent/RU2012107868A/ru
Priority to EP10815121.8A priority patent/EP2460311A4/en
Priority to BR112012004856A priority patent/BR112012004856A2/pt
Publication of WO2011030520A1 publication Critical patent/WO2011030520A1/en
Priority to IN1897DEN2012 priority patent/IN2012DN01897A/en
Anticipated expiration legal-status Critical
Priority to US14/508,999 priority patent/US20150127947A1/en
Priority to US15/585,259 priority patent/US20170238181A1/en
Ceased legal-status Critical Current

Links

Images

Classifications

    • HELECTRICITY
    • H04ELECTRIC COMMUNICATION TECHNIQUE
    • H04LTRANSMISSION OF DIGITAL INFORMATION, e.g. TELEGRAPHIC COMMUNICATION
    • H04L9/00Cryptographic mechanisms or cryptographic arrangements for secret or secure communications; Network security protocols
    • H04L9/32Cryptographic mechanisms or cryptographic arrangements for secret or secure communications; Network security protocols including means for verifying the identity or authority of a user of the system or for message authentication, e.g. authorization, entity authentication, data integrity or data verification, non-repudiation, key authentication or verification of credentials
    • H04L9/3271Cryptographic mechanisms or cryptographic arrangements for secret or secure communications; Network security protocols including means for verifying the identity or authority of a user of the system or for message authentication, e.g. authorization, entity authentication, data integrity or data verification, non-repudiation, key authentication or verification of credentials using challenge-response
    • H04L9/3273Cryptographic mechanisms or cryptographic arrangements for secret or secure communications; Network security protocols including means for verifying the identity or authority of a user of the system or for message authentication, e.g. authorization, entity authentication, data integrity or data verification, non-repudiation, key authentication or verification of credentials using challenge-response for mutual authentication
    • HELECTRICITY
    • H04ELECTRIC COMMUNICATION TECHNIQUE
    • H04LTRANSMISSION OF DIGITAL INFORMATION, e.g. TELEGRAPHIC COMMUNICATION
    • H04L63/00Network architectures or network communication protocols for network security
    • H04L63/08Network architectures or network communication protocols for network security for authentication of entities
    • H04L63/0869Network architectures or network communication protocols for network security for authentication of entities for achieving mutual authentication
    • HELECTRICITY
    • H04ELECTRIC COMMUNICATION TECHNIQUE
    • H04LTRANSMISSION OF DIGITAL INFORMATION, e.g. TELEGRAPHIC COMMUNICATION
    • H04L63/00Network architectures or network communication protocols for network security
    • H04L63/10Network architectures or network communication protocols for network security for controlling access to devices or network resources
    • H04L63/102Entity profiles
    • HELECTRICITY
    • H04ELECTRIC COMMUNICATION TECHNIQUE
    • H04LTRANSMISSION OF DIGITAL INFORMATION, e.g. TELEGRAPHIC COMMUNICATION
    • H04L9/00Cryptographic mechanisms or cryptographic arrangements for secret or secure communications; Network security protocols
    • H04L9/08Key distribution or management, e.g. generation, sharing or updating, of cryptographic keys or passwords
    • H04L9/0816Key establishment, i.e. cryptographic processes or cryptographic protocols whereby a shared secret becomes available to two or more parties, for subsequent use
    • H04L9/0838Key agreement, i.e. key establishment technique in which a shared key is derived by parties as a function of information contributed by, or associated with, each of these
    • H04L9/0841Key agreement, i.e. key establishment technique in which a shared key is derived by parties as a function of information contributed by, or associated with, each of these involving Diffie-Hellman or related key agreement protocols
    • HELECTRICITY
    • H04ELECTRIC COMMUNICATION TECHNIQUE
    • H04NPICTORIAL COMMUNICATION, e.g. TELEVISION
    • H04N21/00Selective content distribution, e.g. interactive television or video on demand [VOD]
    • H04N21/20Servers specifically adapted for the distribution of content, e.g. VOD servers; Operations thereof
    • H04N21/25Management operations performed by the server for facilitating the content distribution or administrating data related to end-users or client devices, e.g. end-user or client device authentication, learning user preferences for recommending movies
    • H04N21/258Client or end-user data management, e.g. managing client capabilities, user preferences or demographics, processing of multiple end-users preferences to derive collaborative data
    • H04N21/25808Management of client data
    • H04N21/25816Management of client data involving client authentication
    • HELECTRICITY
    • H04ELECTRIC COMMUNICATION TECHNIQUE
    • H04NPICTORIAL COMMUNICATION, e.g. TELEVISION
    • H04N21/00Selective content distribution, e.g. interactive television or video on demand [VOD]
    • H04N21/60Network structure or processes for video distribution between server and client or between remote clients; Control signalling between clients, server and network components; Transmission of management data between server and client, e.g. sending from server to client commands for recording incoming content stream; Communication details between server and client 
    • H04N21/63Control signaling related to video distribution between client, server and network components; Network processes for video distribution between server and clients or between remote clients, e.g. transmitting basic layer and enhancement layers over different transmission paths, setting up a peer-to-peer communication via Internet between remote STB's; Communication protocols; Addressing
    • H04N21/633Control signals issued by server directed to the network components or client
    • H04N21/6332Control signals issued by server directed to the network components or client directed to client
    • H04N21/6334Control signals issued by server directed to the network components or client directed to client for authorisation, e.g. by transmitting a key
    • HELECTRICITY
    • H04ELECTRIC COMMUNICATION TECHNIQUE
    • H04LTRANSMISSION OF DIGITAL INFORMATION, e.g. TELEGRAPHIC COMMUNICATION
    • H04L2209/00Additional information or applications relating to cryptographic mechanisms or cryptographic arrangements for secret or secure communication H04L9/00
    • H04L2209/60Digital content management, e.g. content distribution
    • HELECTRICITY
    • H04ELECTRIC COMMUNICATION TECHNIQUE
    • H04LTRANSMISSION OF DIGITAL INFORMATION, e.g. TELEGRAPHIC COMMUNICATION
    • H04L2463/00Additional details relating to network architectures or network communication protocols for network security covered by H04L63/00
    • H04L2463/103Additional details relating to network architectures or network communication protocols for network security covered by H04L63/00 applying security measure for protecting copyright
    • HELECTRICITY
    • H04ELECTRIC COMMUNICATION TECHNIQUE
    • H04WWIRELESS COMMUNICATION NETWORKS
    • H04W12/00Security arrangements; Authentication; Protecting privacy or anonymity
    • H04W12/60Context-dependent security
    • H04W12/61Time-dependent

Definitions

  • the present invention relates to a communication system, a communication apparatus, a communication method, and a computer program for preventing an illegal use in a content transmission, more particularly, to a communication system, a communication apparatus, a communication method, and a computer program for exchanging a decryption key for an encrypted content in accordance with a predetermined mutual authentication and key exchange (AKE: Authentication and Key Exchange) algorithm as well as transmit the encrypted content.
  • AKE mutual authentication and key exchange
  • the present invention relates to a communication system for safely transmitting a content via a remote access (RA) that uses an external network such as a WAN, and a communication apparatus, a communication method, and a computer program for safely transmitting a content via a remote access while exceeding limits on a round-trip time (RTT), a hop count of an IP (Internet Protocol) router, and the like, more particularly, to a communication system, a communication apparatus, a communication method, and a computer program.
  • RA remote access
  • RTT round-trip time
  • IP Internet Protocol
  • broadcast contents and contents in package media have been basically used at a location where a reception apparatus or a reproduction apparatus is installed or in an apparatus connected to those apparatuses via a home network (hereinafter, also referred to as "local access (LA)").
  • LA local access
  • LA home network
  • WAN Wide Area Network
  • a digitized content is relatively-easily manipulated as in copying, falsifications, and the like.
  • a mechanism for preventing an illegal use that occurs in a content transmission that is, for a copyright protection while permitting an individual or domestic use of a content.
  • DTCP Digital Transmission Content Protection
  • DTLA Digital Transmission Licensing Administrator
  • a server as a content provider (source) and a client as a content provision destination (sink) share a key via an authentication processing by exchanging an AKE command and thus perform a content transmission by encrypting a transmission path using that key. Therefore, since an unauthorized client is unable to obtain an encryption key unless succeeding in the authentication with the server, the unauthorized client cannot enjoy the content.
  • DTCP originally regulates a content transmission in a home network that uses, for example, IEEE1394 as a transmission path.
  • a movement that attempts to also domestically circulate digitized AV contents via an IP network as represented by DLNA (Digital Living Network Alliance) is moving into full swing.
  • DLNA Digital Living Network Alliance
  • a DTCP technique that supports the IP network that is, a DTCP-IP (DTCP mapping to IP) is being developed.
  • the DTCP-IP is a similar technique in which the DTCP technique is transplanted to the IP network.
  • the DTCP-IP uses the IP network as the transmission path and uses a content transmission protocol implemented on the IP network, such as HTTP (Hyper Text Transfer Protocol) and RTP (Real-Time Transfer Protocol), for transmitting an encrypted content.
  • HTTP Hyper Text Transfer Protocol
  • RTP Real-Time Transfer Protocol
  • a download transmission of an encrypted content is carried out by creating a TCP/IP connection for HTTP with the source being an HTTP server and the sink being an HTTP client (provided that, when performing upload transmission, source becomes HTTP client and sink becomes HTTP server).
  • the current DTCP-IP (DTCP Volume 1 Specification Supplement E Revision 1.2) mainly intends to secure only a domestic use of contents. Therefore, a round-trip time (RTT: Round Trip Time) is limited to 7 milliseconds at maximum with respect to an AKE command, and an upper limit of a hop count (TTL: Time To Live) of an IP router is set to 3.
  • RTT Round Trip Time
  • TTL Time To Live
  • an information communication system that continues monitoring each of the received AKE commands and continues updating a maximum value of a TTL value until right before the source ends a DTCP-IP authentication since starting it, checks the maximum value of the TTL value right before the authentication processing ends, exchanges a key and ends the authentication processing when the maximum value is 3 or less, and ends the authentication processing without carrying out processing of a final stage when the maximum value exceeds 3 (see, for example, Japanese Patent Application Laid-open No. 2007-36351).
  • the conditional access apparatus may include first and second authorization sections.
  • the first authorization section may be configured to receive a command transmitted by a source apparatus, and transmit to the source apparatus a response to the command.
  • the first authorization section may also be configured to, upon receipt of an indication signal indicating that a time elapsed between transmission of the command by the source apparatus and reception of the response by the source apparatus does not exceed a predetermined round trip time (RTT), generate a first authorization signal to permit decryption of the content.
  • RTT round trip time
  • the second authorization section may be configured to, whenever a non-RTT condition is met, generate a second authorization signal to permit decryption of the content.
  • the source apparatus may include first and second authorization sections.
  • the first authorization section may be configured to transmit a command to the conditional access apparatus, and receive from the conditional access apparatus a response to the command.
  • the first authorization section may also be configured to, when a time elapsed between transmission of the command and reception of the response does not exceed a predetermined round trip time (RTT), generate a first authorization signal to permit the conditional access apparatus to decrypt the content.
  • RTT round trip time
  • the second authorization section may be configured to, whenever a non-RTT condition is met, generate a second authorization signal to permit the conditional access apparatus to decrypt the content.
  • a processor may execute a program to cause the conditional access apparatus to perform the method.
  • the program may be stored on a memory of the conditional access apparatus or on another computer-readable storage medium.
  • the method may include receiving a command transmitted by a source apparatus, and transmitting to the source apparatus a response to the command.
  • the method may also include, upon receipt of an indication signal indicating that a time elapsed between transmission of the command by the source apparatus and reception of the response by the source apparatus does not exceed a predetermined round trip time (RTT), generating a first authorization signal to permit decryption of the content.
  • the method may include, whenever a non-RTT condition is met, generating a second authorization signal to permit decryption of the content.
  • a processor may execute a program to cause the source apparatus to perform the method.
  • the program may be stored on a memory of the source apparatus or on another computer-readable storage medium.
  • the method may include transmitting a command to the conditional access apparatus, and receiving from the conditional access apparatus a response to the command.
  • the method may also include, when a time elapsed between transmission of the command and reception of the response does not exceed a predetermined round trip time (RTT), generating a first authorization signal to permit the conditional access apparatus to decrypt the content.
  • RTT round trip time
  • the method may include, whenever a non-RTT condition is met, generating a second authorization signal to permit the conditional access apparatus to decrypt the content.
  • system refers to a system in which a plurality of apparatuses (or function modules that realize specific functions) are logically assembled, and whether the apparatuses or function modules exist in a single casing is not particularly relevant.
  • Fig. 1 is a diagram schematically showing a structural example of a communication system according to an embodiment of the present invention.
  • Fig. 2 is a diagram schematically showing another structural example of the communication system according to the embodiment of the present invention.
  • Fig. 3 is a diagram schematically showing a functional structure of a content provision apparatus.
  • Fig. 4 is a diagram schematically showing a functional structure of a content utilization apparatus.
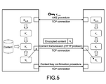
  • Fig. 5 is a diagram for explaining a mechanism for performing an encrypted content transmission between a source and a sink by a DTCP-IP.
  • Fig. 6 is a diagram showing an operational sequence of a mutual authentication and key exchange that uses an AKE command, that is carried out between the source and the sink in accordance with a current DTCP-IP.
  • Fig. 1 is a diagram schematically showing a structural example of a communication system according to an embodiment of the present invention.
  • Fig. 2 is a diagram schematically showing another structural example of the communication system according to the embodiment of the present
  • FIG. 7 is a diagram showing an example of an authentication sequence in registering an RA-Sink in an RA-source.
  • Fig. 8 is a flowchart showing a procedure of "RA-Sink Registration” processing for the RA-Source to register the RA-sink.
  • Fig. 9 is a diagram showing an example of an authentication sequence at a time the RA-Source supplies a remote access exchange key to the RA-Sink.
  • Fig. 10 is a flowchart showing a procedure of "RA-Sink ID Confirmation" processing for the RA-Source to confirm a registration of the RA-Sink and the number of remote access exchange keys to be supplied.
  • FIG. 11 is a diagram schematically showing an example of a system structure in which the RA-Source and the RA-Sink are additionally connected to another apparatus in a daisy chain mode and may additionally output a received content.
  • Fig. 12 is a diagram schematically showing an example of a system structure in which the RA-Source and the RA-Sink are additionally connected to another apparatus in the daisy chain mode and may additionally output a received content.
  • Fig. 13 is a diagram schematically showing an example of a system structure in which the RA-Source and the RA-Sink are additionally connected to another apparatus in the daisy chain mode and may additionally output a received content.
  • Fig. 12 is a diagram schematically showing an example of a system structure in which the RA-Source and the RA-Sink are additionally connected to another apparatus in the daisy chain mode and may additionally output a received content.
  • Fig. 13 is a diagram schematically showing an example of a system structure in which the RA-Source and the RA-
  • FIG. 14 is a diagram showing an example of an authentication sequence at a time a Source#0 shares a key with only a Sink#1 by performing a DEP-RA-AKE.
  • Fig. 15 is a flowchart showing a procedure of "DEP_RA-Sink Confirmation" processing for the source to authenticate the sink for a substitution of a remote access output.
  • Fig. 16 is a diagram showing an operational sequence at a time the RA-Sink requests a content from the RA-Source in a case where the number of RA-Sinks to transmit the same content at the same time is limited.
  • Fig. 15 is a flowchart showing a procedure of "DEP_RA-Sink Confirmation" processing for the source to authenticate the sink for a substitution of a remote access output.
  • Fig. 16 is a diagram showing an operational sequence at a time the RA-Sink requests a content from the RA-Source in a case where the number of RA-Sinks to transmit the
  • FIG. 17 is a flowchart showing a processing procedure that is executed by the RA-Source in response to a request of content data, for managing the number of outputs of the same content.
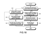
  • Fig. 18 is a flowchart showing a processing procedure for an apparatus operating as the RA-Source to record a content or take in the content by a MOVE function.
  • Fig. 19 is a diagram showing an operational sequence for the RA-Sink to request a content from the RA-Source.
  • Fig. 20 is a flowchart showing a processing procedure of a content remote access (RA) output count management 1.
  • Fig. 21 is a diagram showing an operational sequence for the sink to request a content to substitute the remote access from the source.
  • Fig. 21 is a diagram showing an operational sequence for the sink to request a content to substitute the remote access from the source.
  • Fig. 22 is a flowchart showing a processing procedure of a content remote access output substitution management.
  • Fig. 23 is a diagram for explaining an example of a method of preventing a falsification of an RA-flag, more specifically, a diagram showing a method of inputting a value of the RA-flag to a function for calculating an encryption key and reflecting it on a value of an encryption key K c .
  • Fig. 24 is a diagram for explaining an example of the method of preventing a falsification of an RA-flag, more specifically, a diagram showing a method of processing an encryption key and information including the RA-flag to be transmitted in a plain text by a hash function and obtaining signature data.
  • Fig. 23 is a diagram for explaining an example of a method of preventing a falsification of an RA-flag, more specifically, a diagram showing a method of processing an encryption key and information including the RA-flag to be transmitted in a plain text by a
  • FIG. 25 is a diagram for explaining an example of the method of preventing a falsification of an RA-flag, more specifically, a diagram showing a storage destination in encrypting the RA-flag together with content data.
  • Fig. 26 is a diagram for explaining an example of the method of preventing a falsification of an RA-flag, more specifically, a diagram showing a storage destination in encrypting the RA-flag together with content data.
  • Fig. 27 is a flowchart showing a processing procedure for the RA-Source to update the RA-flag and T that are set for a content.
  • Fig. 28 is a diagram showing a structural example of an AKE control command for a remote access.
  • Fig. 29 is a diagram showing a structural example of a personal computer to be applied to the content provision apparatus.
  • Fig. 30 is a diagram showing a structural example of a recorder to be applied to the content provision apparatus.
  • the present invention relates to a communication system for safely transmitting a content via a remote access (RA) that uses an external network such as a WAN.
  • This communication system is basically constituted of a server that provides contents by a remote access (RA-Source) and a client that requests contents by the remote access (RA-Sink).
  • RA-AKE an AKE processing that is carried out at a time of the remote access.
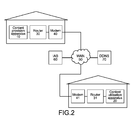
  • Fig. 1 schematically shows a structural example of the communication system according to an embodiment of the present invention.
  • a source apparatus e.g., a content provision apparatus 10
  • a conditional access apparatus e.g., a content utilization apparatus 20
  • the content utilization apparatus 20 remotely accesses the content provision apparatus 10 using a communication function like a cellular phone.
  • the content provision apparatus 10 is connected to an external network such as a WAN 50 via a generally-used router 30 and modem 40.
  • the WAN 50 is, for example, the Internet.
  • An IP address on the WAN 50 side is allocated to the router 30 from an Internet Access Service (IAS) provider 60 that a user signs up for.
  • the content utilization apparatus 20 also accesses this IP address in principle.
  • the router 30 allocates a private IP address to the content provision apparatus 10 and relays communication by port forwarding regarding an access through the WAN 50. It should be noted that the IP address allocated to the router 30 may be updated by the IAS provider 60.
  • a DDNS Dynamic DNS (Domain Name System) function of the router 30 or the content provision apparatus 10 may be used using a DDNS service 70.
  • Fig. 2 schematically shows another structural example of the communication system according to the embodiment of the present invention.
  • the content utilization apparatus 20 corresponding to the RA-Sink is also provided inside a home and connected to the WAN 50 via a router 31 and a modem 41.
  • TCP/IP Transmission Control Protocol/Internet Protocol
  • communication sent out from the content utilization apparatus 20 is address-converted by a NAT (Network Address Translation) function of the router 31, but other than that is the same as in the case of Fig. 1.
  • NAT Network Address Translation
  • Fig. 3 schematically shows a functional structure of the content provision apparatus 10.
  • the content provision apparatus 10 includes a CPU (Central Processing Unit) 11, a content reception/reproduction section 12, a communication section 13, a storage section 14, and a timer 15 and functions as the RA-Source to transmit contents by a remote access.
  • CPU Central Processing Unit
  • the content provision apparatus 10 includes a CPU (Central Processing Unit) 11, a content reception/reproduction section 12, a communication section 13, a storage section 14, and a timer 15 and functions as the RA-Source to transmit contents by a remote access.
  • CPU Central Processing Unit
  • the content reception/reproduction section 12 has a broadcast reception function and a package media reproduction function.
  • the CPU 11 appropriately protects a remotely-accessible content obtained by the content reception/reproduction section 12 and transmits it to the RA-Sink (content utilization apparatus 20) that has undergone a mutual authentication and key exchange by the RA-AKE via the communication section 13 after that.
  • the storage section 14 stores identification information of the RA-Sink that has become necessary to be stored by registration processing to be described later, a remote access exchange key shared with the RA-Sink via the RA-AKE, identification information on the exchange key, and the like. Moreover, the storage section 14 can also be used to store contents obtained by the content reception/reproduction section 12.
  • the timer 15 is used when a time management is required in handling remotely-accessible contents (e.g., when managing period from time at reference time point to remote access unavailable time limit as will be described later).
  • Fig. 4 schematically shows a functional structure of the content utilization apparatus 20.
  • the content utilization apparatus 20 includes a CPU 21, a communication section 22, a content output section 23, and a storage section 24 and functions as the RA-Sink to receive contents by the remote access.
  • the content utilization apparatus 20 as the RA-Sink obtains an exchange key from the RA-Source by performing the RA-AKE and stores it in the storage section 24, decrypts an encrypted content obtained from the RA-Source using an encryption key calculated based on the obtained key, and outputs the content from the content output section 23.
  • the storage section 24 is used for storing an exchange key and content received from the RA-Source.
  • a method of calculating an encryption key from an exchange key is based on a DTCP-IP (provided that the gist of the present invention is not necessarily limited to this method).
  • a mechanism for performing an encrypted content transmission between the source and the sink by the DTCP-IP will be described with reference to Fig. 5.
  • a content transmission method there are a method of copying a content in the source to the sink and a method of completely moving the content from the source to the sink without leaving the content in the source (well-known). Descriptions on Fig. 5 will be given based on the presupposition that the former method of copying a content is used as the content transmission method.
  • the source and the sink first establish one TCP/IP connection and perform an inter-apparatus authentication (AKE processing).
  • An apparatus certificate issued by the DTLA (described above) is embedded in a DTCP-compliant apparatus.
  • the source and the sink can share an authentication key K auth after mutually confirming that they are qualified DTCP-compliant apparatuses.
  • the source e.g., an authorization section of the source
  • the source Upon succeeding in the AKE processing, the source (e.g., an authorization section of the source) generates authorization signals.
  • the source e.g., the source generates an exchange key K x to be a base of a content key K c and transmits it to the sink after encrypting it with the authentication key K auth .
  • the content key K c to be used for encrypting a content at a time of a content transmission can be generated.
  • a content transmission is started using a protocol such as HTTP and RTP.
  • a protocol such as HTTP and RTP.
  • the content transmission is performed in accordance with the HTTP processing.
  • a TCT/IP connection for HTTP is created in addition to the TCT/IP connection for the AKE processing (i.e., each of the source and the sink has individual socket information for an AKE processing and a content transmission (combination of IP address and port number)).
  • a download method in which the sink requests a content from the source
  • an upload method in which the source side pushes a content to the sink.
  • an HTTP client as the sink requests a content from an HTTP server as the source based on an HTTP request that uses, for example, an HTTP GET method
  • the source transmits the requested content as an HTTP response.
  • the HTTP client as the source starts a transmission with the HTTP server as the sink in response to an HTTP request that uses, for example, an HTTP POST method.
  • Data transmitted from the source is data obtained by the source encrypting a content using the shared key after performing the AKE authentication.
  • the source generates a nonce N c using random numbers and generates a content key K c corresponding to the exchange key K x , the nonce N c , and the encryption mode.
  • the source encrypts a content requested by the sink using the content key K c and transmits a packet constituted of a payload including the encrypted content and a header including information on the nonce N c and the encryption mode by a TCP stream.
  • a TCP stream is divided into sizes of a packet as a predetermined unit, and each of the packets obtained by the division is appended with a header portion to become an IP packet which is sent to a designated IP address.
  • the sink side Upon receiving each IP packet from the source, the sink side assembles them into a TCP stream. Then, the sink (e.g., an authorization section of the sink) generates authorization signals to permit decryption of the encrypted content. For example, the sink extracts the nonce N c and an E-EMI from the stream, and calculates the content key K c using the nonce N c , the E-EMI, and the exchange key K x . The encrypted content can then be decrypted using the content key K c . Further, reproduction processing can be carried out on the decrypted plain-text content. Alternatively, the sink stores the content in the storage section 24 without decrypting the encrypted content or transmits it to another apparatus.
  • the sink e.g., an authorization section of the sink
  • the TCP connection used in the content transmission is cut off as appropriate from the sink side, for example (in the DTCP-IP, a transmission of copy control information accompanying a content is realized by two mechanisms of an E-EMI (Extended Encryption Mode Indicator) described in a header portion of a packet and Embedded CCI (Copy Control Information)).
  • E-EMI Extended Encryption Mode Indicator
  • CCI Copy Control Information
  • the exchange key is to be discarded before a continuous unused time exceeds a predetermined time period (e.g., 2 hours). It becomes impossible for the sink to use an encrypted content unless a latest exchange key K x is obtained from the source.
  • a predetermined time period e.g. 2 hours.
  • Fig. 6 shows an operational sequence of a mutual authentication and key exchange that uses an AKE command (RTT-AKE), that is carried out between the source and the sink in accordance with a current DTCP-IP.
  • RTT-AKE AKE command
  • the mutual authentication and key exchange is carried out between a first authorization section of the source and a first authorization section of the sink.
  • a command e.g., an Rx challenge including Rx random numbers and an Rx certificate
  • another command e.g., a Tx challenge including Tx random numbers and a Tx certificate
  • a normal challenge-response authentication processing continues in which an Rx response including the Rx random numbers, a Tx message, and a Tx signature is transmitted from the source, whereas a Tx response including the Tx random numbers, an Rx message, and an Rx signature is transmitted from the sink.
  • Each challenge command transmitted in the challenge-response portion includes a Device ID as identification information unique to an apparatus.
  • a limit on a TTL (hop count of IP router) is imposed.
  • a TTL of a transmission apparatus is set to be 3 or less in the TCP/IP communication that transmits a command used in the AKE, and a reception apparatus needs to invalidate received data when the TTL is larger than 3.
  • an EXCHANGE_KEY command is transmitted from the source to the sink via Protected RTT Protocol, and a response (not shown) is sent back from the sink in response to the command.
  • a round-trip time (RTT) and the hop count of the IP router (TTL) are limited with respect to the AKE command, and the RTT-AKE cannot be applied to the remote access as it is (as described above).
  • RTT round-trip time
  • TTL hop count of the IP router
  • the "Protected RTT Protocol" performed in the RTT-AKE processing shown in Fig. 6 is not performed.
  • the AKE processing carried out between, for example, a second authorization section of the source and a second authorization section of the sink is not canceled even when the RTT between the source and the sink exceeds 7 milliseconds.
  • an upper limit of the TTL is not set.
  • the AKE processing can be performed successfully between the apparatuses, and a remote access exchange key can thus be shared.
  • the RA-Source performs the RA-AKE processing with only the RA-Sink registered in advance and a method of limiting the number of RA-Sinks to supply a key in the RA-AKE processing.
  • the advance registration in the former method by the RA-Source storing an apparatus-specific ID of the RA-Sink only when the AKE processing in which the RTT and TTL are limited ends in success as in the RTT-AKE of the current DTCP-IP, a situation in which an unspecified number of users succeed in the RA-AKE processing can be prevented from occurring.
  • the RA-Source includes an "RA registry" (inside storage section 14) for registering IDs of a predetermined number of RA-Sinks.
  • RA registry inside storage section 14
  • the scale of an illegal use can be limited.
  • the registration processing of the RA-Sink is carried out in advance at home where the RTT and TTL fall within the limit, for example.
  • a registration section of the RA-Source may register as much as 10 RA-Sinks. Even when 10 RA-Sinks are registered in advance with respect to the RA-Source, the RA-Source supplies the remote access exchange key to only 5 RA-Sinks.
  • Fig. 7 shows an example of an authentication sequence in registering the RA-sink in the RA-source.
  • the authentication sequence is started by the registration section of the RA-Sink transmitting a registration request command "RA_REGI_INIT" to the RA-Source.
  • a command e.g., an Rx challenge including Rx random numbers and an Rx certificate
  • another command e.g., a Tx challenge including Tx random numbers and a Tx certificate
  • an Rx response including the Rx random numbers, a Tx message, and a Tx signature is transmitted from the RA-Source
  • a Tx response including the Tx random numbers, an Rx message, and an Rx signature is transmitted from the RA-Sink.
  • Each challenge command includes a Device ID that is identification information unique to an apparatus.
  • RESERONSE2 may be transmitted as a response from the sink to the source.
  • the Device ID does not become specific to an apparatus due to a Common Device Key and a Common Device Certificate implemented in the apparatus.
  • an IDu that is apparatus-specific information included in RESPONSE2 is used as the apparatus-specific identification information instead of the Device ID.
  • the challenge-response portion of the RA-AKE processing in the registration processing is the same processing as in the RTT-AKE processing in the current DTCP-IP, which means that the limit on the TTL is imposed.
  • the Protected RTT Protocol follows, and the RA-AKE processing is canceled when the RTT between the RA-Source and the RA-Sink exceeds 7 milliseconds.
  • the RA-Source executes "RA-Sink Registration” processing for registering the RA-Sink that has succeeded in the processing up to that time point. Then, if there is room, the RA-Source additionally registers the ID of the RA-Sink in the RA registry in the storage section 14 and notifies the RA-Sink of the result using a command "RA_REGI_END" for transmitting a result code.
  • RA_REGI_INIT and "RA_REGI_END” in Fig. 7 are added to the AKE control command of the DTCP-IP as a remote access command.
  • Fig. 28 shows a structural example of the AKE control command for a remote access. In the example shown in Fig. 28, a new value is allocated to a subfunction field, and information can be carried in AKE_Info.
  • Fig. 8 shows a flowchart of a procedure of the "RA-Sink Registration" processing for the RA-Source to register the RA-sink.
  • the RA-Source first checks whether previous processing that has been carried out before the processing routine (Challenge-Response portion of AKE and Protected RTT Protocol) has been aborted (Step S1).
  • Step S9 the RA-Source notifies the RA-Sink as the request source of a result code notifying that the registration processing has ended in "failure” (Step S9) and ends the processing routine.
  • Step S1 the RA-Source checks whether RESPONSE2 (described above) has been received (Step S2). Then, when RESPONSE2 is received (Yes in Step S2), the RA-Source sets an IDu as the ID of the RA-Sink as the request source (Step S3). On the other hand, when RESPONSE2 is not received (No in Step S2), the RA-Source sets the Device ID as the ID of the RA-Sink as the request source (Step S4).
  • the RA-Source checks whether the ID of the RA-Sink as the request source is already registered in the RA registry (Step S5).
  • Step S5 when the ID of the RA-Sink as the request source is already registered in the RA registry (Yes in Step S5), the RA-Source notifies the RA-Sink as the request source of a result code notifying that the registration processing has ended in "success" (Step S8) and ends the processing routine.
  • Step S5 when the ID of the RA-Sink as the request source is not yet registered in the RA registry (No in Step S5), the RA-Source then checks whether there is room in the RA registry inside the storage section 14 (Step S6).
  • Step S6 when there is no room in the RA registry (No in Step S6), the RA-Source notifies the RA-Sink as the request source of a result code notifying that the registration processing has ended in "failure" (Step S9) and ends the processing routine.
  • Step S6 when there is room in the RA registry (Yes in Step S6), the RA-Source additionally registers the ID of the RA-Sink in the RA registry (Step S7). Then, the RA-Source notifies the RA-Sink as the request source of a result code notifying that the registration processing has ended in "success" (Step S8) and ends the processing routine.
  • the RA-Source when succeeding in the authentication processing similar to the RTT-AKE, the RA-Source additionally registers, if there is room, the ID of the RA-Sink in the RA registry.
  • the RA-Sink needs to register its own ID in the RA registry of the RA-Source via the authentication processing for remotely accessing the RA-Source. Therefore, the RA-Source can limit the number of RA-Sinks that can use the RA-Source based on the registerable number of the RA registry and thus limit a scale of an illegal use of contents.
  • Fig. 9 shows an example of an authentication sequence at a time the RA-Source supplies a remote access exchange key to the RA-Sink.
  • the sequence shown in Fig. 9 includes a mechanism of limiting the number of RA-Sinks to supply the remote access exchange key.
  • This authentication sequence is started by the RA-Sink transmitting a key supply request command "RA_AKE_INIT" to the RA-Source.
  • RA_AKE_INIT a key supply request command
  • an Rx challenge including Rx random numbers and an Rx certificate is first transmitted from the RA-Sink.
  • a Tx challenge including Tx random numbers and a Tx certificate is sent back from the RA-Source.
  • an Rx response including the Rx random numbers, a Tx message, and a Tx signature is transmitted from the RA-Source
  • a Tx response including the Tx random numbers, an Rx message, and an Rx signature is transmitted from the RA-Sink.
  • Each challenge command includes a Device ID that is identification information unique to an apparatus. It should be noted that in the challenge-response portion, "RESPONSE2" may be transmitted as a response from the sink to the source. In this case, an IDu included in RESPONSE2 is used as the apparatus-specific identification information instead of the Device ID (as described above).
  • the limit on the TTL is necessary for the registration in the RA-Source but is omitted in the RA-AKE processing for supplying a remote access exchange key.
  • the Protected RTT Protocol is also omitted in the RA-AKE processing for supplying a key. Accordingly, the RA-Sink can request a remote access exchange key even under a remote environment, that is, use a content by a remote access.
  • the RA-Source Upon succeeding in the authentication processing, the RA-Source executes "RA-Sink ID Confirmation" processing. In this processing, the RA-Source confirms whether the ID of the RA-Sink as the request source is already registered in the RA registry and also confirms whether the supplied number of remote access exchange keys (KC) has exceeded an upper limit. Then, when those confirmations are made, the RA-Source transmits the remote access exchange key (RA_K x ), an ID of the exchange key (RA_K x _label), and a result code to the RA-Sink using a command "RA_EXCHANGE_KEY".
  • RA_K x remote access exchange key
  • RA_K x an ID of the exchange key
  • a result code to the RA-Sink using a command "RA_EXCHANGE_KEY.
  • the upper limit of the supplied number of remote access exchange keys KC is the same as or smaller than the number of IDs that can be registered in the RA registry inside the storage section 14.
  • the supplied number of remote access exchange keys KC is the number of effective exchange keys out of the exchange keys supplied to the RA-Sinks from the RA-Source. Therefore, KC is 0 in an initial state where the exchange key is not supplied to any of the RA-Sinks, and KC can be reduced as much as the number of supplied exchange keys discarded by the RA-Source.
  • KC is decremented by 1 when one exchange key is discarded, and in the latter method, KC is reset to 0 when the exchange key is discarded.
  • RA_K x For the discard of the remote access exchange key (RA_K x ), an operation that is based on a rule of discarding the exchange key before the continuous unused time exceeds a predetermined time period as in the DTCP-IP is conceivable. Moreover, an operation form in which the RA-Sink transmits a command to request discard of the exchange key (RA_FINISH) together with the ID of the exchange key (RA_K x _label) at a time of ending the remote access is also conceivable.
  • the discard request command RA_FINISH is added to the AKE control command for the DTCP-IP as a remote access command together with "RA_AKE_INIT" and "RA_EXCHANGE_KEY” of Fig. 9.
  • Fig. 10 shows a flowchart of a procedure of the "RA-Sink ID Confirmation" processing for the RA-Source to confirm a registration of the RA-Sink and the supplied number of remote access exchange keys.
  • the RA-Source first checks whether previous processing that has been carried out before the processing routine (Challenge-Response portion of AKE and Protected RTT Protocol) has been aborted (Step S11).
  • the RA-Source cancels the RA-AKE processing with respect to the RA-Sink as the request source (Step S20) and ends the processing routine.
  • the RA-Source checks whether RESPONSE2 has been received (Step S12). Then, when RESPONSE2 is received (Yes in Step S12), the RA-Source sets an IDu as the ID of the RA-Sink as the request source (Step S13). On the other hand, when RESPONSE2 is not received (No in Step S12), the RA-Source sets the Device ID as the ID of the RA-Sink as the request source (Step S14).
  • the RA-Source checks whether the ID of the RA-Sink as the request source is already registered in the RA registry inside the storage section 14 (Step S15).
  • the RA-Source cancels the RA-AKE processing with respect to the RA-Sink as the request source (Step S20) and ends the processing routine.
  • Step S15 the RA-Source then checks whether the supplied number of remote access exchange keys KC is smaller than an upper limit value (Step S16).
  • Step S16 When it is confirmed that the supplied number of remote access exchange keys KC is smaller than the upper limit value (Yes in Step S16), the RA-Source increments KC only by 1 (Step S17), notifies the RA-Sink as the request source of a result code notifying that the confirmation processing has ended in "success" together with the remote access exchange key (RA_K x ) and an ID thereof (RA_K x _label) (Step S19), and ends the processing routine.
  • Step S18 the RA-Source notifies the RA-Sink as the request source of a result code notifying a "busy" state (Step S18) and ends the processing routine.
  • Fig. 19 shows an operational sequence for the RA-Sink to request a content from the RA-Source. It should be noted that in Fig. 19, the RA-Sink requests a content from the RA-Source based on the HTTP protocol, and the content is transmitted by a download method.
  • the RA-Sink After obtaining the remote access exchange key (RA_K x ) and the ID thereof (RA_K x _label) by the RA-AKE processing shown in Fig. 9, the RA-Sink requests content data from the RA-Source by an HTTP request (HTTP GET request) that uses an HTTP GET method. In requesting content data, the ID of the remote access exchange key (RA_K x _label) is transmitted with a content URL.
  • HTTP GET request HTTP GET request
  • a header field for transmitting the exchange key ID (RA_K x _label) from the RA-Sink to the RA-Source will be defined.
  • the RA-Source Upon receiving the content data request, the RA-Source executes processing of a "content remote access (RA) output management 1" for checking the number of remote access outputs of the requested content. Then, after confirming that the content of the URL designated in the request can be output by a remote access, the RA-Source calculates an encryption key using a remote access exchange key designated by the exchange key ID and sends back the content encrypted by the encryption key as an HTTP response (HTTP GET response).
  • HTTP GET response HTTP response
  • Fig. 20 shows a flowchart of a processing procedure of the "content remote access (RA) output management 1" executed by the RA-Source.
  • the RA-Source checks whether an exchange key indicated by an exchange key ID included in an HTTP request is for a DTCP-IP (Step S51).
  • the RA-Source checks whether the exchange key is for a remote access (Step S52).
  • Step S52 the RA-Source checks whether a content designated by a URL included in the HTTP request is remotely accessible (Step S53). Whether the content is remotely accessible can be managed using, for example, an RA-flag (to be described later).
  • the RA-Source sets OK as a response to the HTTP request (HTTP GET request) from the RA-Sink (Step S54) and ends the processing routine.
  • the RA-Source sets ERROR as a response to the HTTP request (HTTP GET request) from the RA-Sink (Step S55) and ends the processing routine.
  • the communication system has been assumed to be constituted only of a pair of RA-Source and RA-Sink.
  • each of the RA-Source and the RA-Sink may be additionally connected to another apparatus in a daisy chain mode and transmit a content in that state.
  • a transmission range of a copyright-protected content should originally be within homes, and repetitive receptions and transmissions of a contents are unfavorable. Therefore, there is a need to technically prevent contents from being repetitively received and transmitted.
  • several rules are added.
  • an RA-Sink#1 that connects with an RA-Source#0 additionally includes a function as an RA-Source#1 and is connected to another apparatus RA-Sink#2.
  • the content is prevented from being remotely accessed from a location that a management of the RA-Source#0 as a content provider cannot reach.
  • the RA-Sink#1 is connected with the RA-Source#0 by a remote access and also connected to another apparatus Sink#2 by a DTCP-IP due to a function as a Source#1.
  • the Sink#2 also includes a function as an RA-Source#2 and is thus connected to another apparatus RA-Sink#3.
  • the RA-Sink#1 is capable of locally transmitting a content received by a remote access to another apparatus Sink#2 by the DTCP-IP.
  • the local transmission by the DTCP-IP is based on the mechanism for a copyright protection and is of no problem.
  • the content is prevented from being remotely accessed from a location that a management of the RA-Source#0 as a content provider cannot reach.
  • the system operation described with reference to Figs. 11 and 12 inhibits an apparatus to output, by a remote access, a content received by the remote access or a local transmission by the DTCP-IP to thus prevent a remote access unintended by the content provider.
  • a method of realizing such an operation there is a method of setting the following rules (1) and (2) at a time of the remote access and local transmission of a content.
  • the RA-Source does not perform a remote access output unless a content is accompanied by information of "remote access output available”.
  • the RA-Source and the source do not transmit information indicating an availability of a remote access output at a time of the remote access or the local transmission by the DTCP-IP.
  • the Sink#1 that connects with the Source#0 by the DTCP-IP also has a function as the RA-Source#1 and is thus connected to another apparatus RA-Sink#2.
  • the Source#0 can locally transmit a content to the Sink#1 only by the DTCP-IP.
  • the local transmission by the DTCP-IP is based on the mechanism for a copyright protection and is of no problem.
  • the Sink#1 cannot additionally output, as the RA-Source#1, the received content to the RA-Sink#2 by a remote access.
  • the inventors of the present invention consider that there is no need to inhibit the operation in which the RA-Source#1 additionally outputs, as the Sink#1, by the remote access, a content received by the local transmission via the DTCP-IP to another apparatus RA-Sink#2 in substitution for the Source#0 (i.e., substitute remote access output).
  • the operation of substituting the remote access output can be realized by the Source#0 sharing a key with only the Sink#1 by performing a DEP-RA-AKE, the Sink#1 encrypting a content using that key and transmitting it, and the RA-Source#1 outputting the content by a remote access.
  • Fig. 14 shows an example of an authentication sequence at a time the Source#0 shares a key with only the Sink#1 by performing the DEP-RA-AKE.
  • This authentication sequence is started by the Sink#1 transmitting a key supply request command "DEP_RA_INIT" to the Source#0.
  • a key supply request command "DEP_RA_INIT"
  • an Rx challenge including Rx random numbers and an Rx certificate is first transmitted from the Sink#1.
  • a Tx challenge including Tx random numbers and a Tx certificate is sent back from the Source#0.
  • an Rx response including the Rx random numbers, a Tx message, and a Tx signature is transmitted from the Source#0, whereas a Tx response including the Tx random numbers, an Rx message, and an Rx signature is transmitted from the Sink#1.
  • information corresponding to the transmission of "DEP_RA_AKE such as "DEP_RA_AKE flag” may be incorporated into the information to be transmitted as an Rx challenge instead of transmitting "DEP_RA_AKE”.
  • Each challenge command includes a Device ID that is identification information unique to an apparatus. It should be noted that in the challenge-response portion, "RESPONSE2" may be transmitted as a response from the sink to the source. In this case, an IDu included in RESPONSE2 is used as the apparatus-specific identification information instead of the Device ID (as described above).
  • the limit on the TTL is imposed since the AKE processing is performed via the DTCP-IP. Further, the Protected RTT Protocol follows. The DEP-RA-AKE processing for substituting the remote access output should only be carried out locally, and the limits on the RTT and TTL are imposed as in the RTT-AKE in the current DTCP-IP.
  • the Source#0 Upon succeeding in the authentication processing, the Source#0 executes "DEP_RA-Sink Confirmation" processing. In this processing, the Source#0 shares a key with only the Sink#1 and inhibits the DEP-RA-AKE with other apparatuses. Then, when confirming that the key can be shared with only the Sink#1, the Source#0 transmits an exchange key for a remote access output substitution (D-RA_K x ), an ID thereof (D-RA_K x _label), and a result code to the Sink#1 using a command "DEP-RA_EXCHANGE_KEY".
  • D-RA_K x remote access output substitution
  • D-RA_K x an ID thereof
  • D-RA_K x _label an ID thereof
  • a result code to the Sink#1 using a command "DEP-RA_EXCHANGE_KEY.
  • the Source#0 inhibits the DEP-RA-AKE with other apparatuses until the key shared by the AKE is discarded.
  • the Sink#1 side using the exchange key for a remote access output substitution shared via the processing procedure, a content is encrypted and transmitted while being accompanied by the information of "remote access output available".
  • the Sink#1 can output, by the remote access, the content to the RA-Sink#2 as the RA-Source#1.
  • Fig. 15 shows a flowchart of a procedure of the "DEP_RA-Sink Confirmation" processing for the source to authenticate the sink for a substitution of a remote access output.
  • the source first checks whether previous processing that has been carried out before the processing routine (Challenge-Response portion of AKE and Protected RTT Protocol) has been aborted (Step S21).
  • Step S30 the source cancels the DEP_RA-Sink processing with respect to the sink as the request source (Step S30) and ends the processing routine.
  • Step S22 the source checks whether RESPONSE2 has been received (Step S22). Then, when RESPONSE2 is received (Yes in Step S22), the source sets an IDu as the ID of the sink as the request source (Step S23). On the other hand, when RESPONSE2 is not received (No in Step S22), the source sets the Device ID as the ID of the sink as the request source (Step S24).
  • the DEP_RA registry is a registry prepared inside the storage section 14 for storing an ID of a single apparatus to which a content is permitted to be output by a remote access.
  • the source substitutes an ID of the sink as the request source in the DEP_RA registry (Step S26). Then, the source transmits an exchange key for a remote access output substitution (D-RA_K x ), an ID thereof (D-RA_K x _label), and a result code to the Sink#1 using a command "DEP-RA_EXCHANGE_KEY" (Step S29) and ends the processing routine.
  • the source further checks whether the ID stored in the DEP_RA registry matches the ID of the sink as the request source (Step S27).
  • the source transmits an exchange key for a remote access output substitution (D-RA_K x ), an ID thereof (D-RA_K x _label), and a result code to the Sink#1 using the command "DEP-RA_EXCHANGE_KEY” (Step S29) and ends the processing routine.
  • Step S27 when the ID stored in the DEP_RA registry does not match the ID of the sink as the request source (No in Step S27), the source notifies the sink as the request source of the result code notifying a "busy" state (Step S28) and ends the processing routine.
  • the source After executing the processing procedure shown in Fig. 15, the source cannot redundantly perform DEP-RA-AKE with other apparatuses. Moreover, by emptying the DEP_RA registry at a time of discarding the exchange key for a remote access output substitution (D-RA_K x ) shared by the DEP-RA-AKE, it becomes possible to perform the DEP-RA-AKE with other apparatuses.
  • D-RA_K x remote access output substitution
  • Fig. 21 shows an operational sequence for the sink (having function as RA-Source) to request a content for which a remote access is to be substituted from the source. It should be noted that in Fig. 21, the sink requests a content from the source in accordance with the HTTP protocol, and the content is transmitted by the download method.
  • the sink After obtaining the exchange key for a remote access output substitution (D-RA_K x ) and the ID thereof (D-RA_K x _label) by the DEP-RA-AKE processing shown in Fig. 14, the sink requests content data from the source by an HTTP request (HTTP GET request) that uses an HTTP GET method.
  • HTTP GET request the ID of the exchange key for a remote access output substitution (D-RA_K x _label) is transmitted with a content URL.
  • a header field for transmitting the exchange key ID (D-RA_K x _label) from the sink to the source will be defined.
  • the source Upon receiving the request for a remote access output substitution of a content, the source executes processing of a "content remote access substitution (DEP-RA) output management 1" for checking whether a remote access output of the requested content can be substituted. Then, after confirming that the remote access output of the content of the URL designated in the request can be substituted, the source calculates an encryption key using the exchange key for a remote access output substitution designated by the exchange key ID and sends back the content encrypted by the encryption key as an HTTP response (HTTP GET response) while the content is accompanied by the information of "remote access output available".
  • a "content remote access substitution (DEP-RA) output management 1" for checking whether a remote access output of the requested content can be substituted. Then, after confirming that the remote access output of the content of the URL designated in the request can be substituted, the source calculates an encryption key using the exchange key for a remote access output substitution designated by the exchange key ID and sends back the content encrypted by the encryption key as an HTTP response (HTTP
  • Fig. 22 shows a flowchart of a processing procedure of the content remote access output substitution management that is performed by the source requested to substitute a remote access output.
  • the source checks whether an exchange key indicated by an exchange key ID included in an HTTP request is for a DTCP-IP (Step S61).
  • Step S62 the source checks whether the exchange key is for a remote access output substitution.
  • Step S62 the source checks whether a content designated by a URL included in the HTTP request is remotely accessible (Step S63). Whether the content is remotely accessible can be managed using, for example, an RA-flag (to be described later).
  • the source sets OK as a response to the HTTP request (HTTP GET request) from the sink (Step S64).
  • the source sets ERROR as a response to the HTTP request (HTTP GET request) from the sink (Step S65).
  • the Source#0 adds remote access availability information (RA-flag) to a content so that the RA-Source#1 can judge whether the received content can be output by a remote access.
  • RA-flag remote access availability information
  • falsifications can be prevented from occurring by a method of encrypting an RA-flag with content data or inputting a value of an RA-flag to a function for calculating an encryption key and reflecting it on a value of an encryption key K c (see Fig. 23) or a method of transmitting plain-text information including an RA-flag together with signature data (signature) obtained by processing the information and an encryption key by a hash function (see Fig. 24).
  • DTCP_descriptor operated by the DTCP-IP
  • PCP-UR a reserved bit of PCP-UR
  • the Sink#1 outputs a content from the Source#0 by a remote access via the RA-Source#1 without recording it.
  • the RA-Source#1 can judge whether the received content can be output by a remote access by appending remote access availability information (RA-flag) at a time of the content transmission using a key shared by the DEP-RA-AKE.
  • RA-flag remote access availability information
  • the MOVE function used in the DTCP-IP refers to a transmission of an encrypted content from the source to the sink under the conditions that the sink encodes and records the received content as No More Copies and that the transmitted content is deleted or made unusable on the source side.
  • the RA-Source uses, for example, a management table as shown below for limiting the number of RA-Sinks that can remotely access a content at the same time.
  • a combination of a URL of a content that is being transmitted to an RA-Sink and an exchange key ID (RA_K x _label) having a one-on-one correspondence with the RA-Sink is managed in each entry.
  • An entry in which the URL matches but the exchange key ID differs in the management table means that a single content is being used by different RA-Sinks.
  • the RA-Source references the management table before newly starting a content transmission and performs control so that the same content is not transmitted to more than a predetermined number of RA-Sinks.
  • the RA-Source adds an entry constituted of a combination of a URL and an exchange key ID in the management table.
  • Fig. 16 shows an operational sequence at a time the RA-Sink requests a content from the RA-Source in a case where the number of RA-Sinks to which the same content is transmitted at the same time is limited.
  • the RA-Sink After obtaining a remote access exchange key (RA_K x ) and an ID thereof (RA_K x _label) by the RA-AKE processing shown in Fig. 9, the RA-Sink requests content data from the RA-Source by an HTTP request (HTTP GET request) that uses an HTTP GET method. In requesting content data, the ID of the remote access exchange key (RA_K x _label) is transmitted with a content URL.
  • HTTP GET request HTTP GET request
  • a header field for transmitting the exchange key ID (RA_K x _label) from the RA-Sink to the RA-Source will be defined.
  • the RA-Source Upon receiving the content data request, the RA-Source executes processing of a "single-content remote access (RA) output management 2" for checking the number of RA-Sinks to output a requested content by a remote access at the same time.
  • RA single-content remote access
  • the RA-Source calculates an encryption key using a remote access exchange key designated by the exchange key ID and sends back the content encrypted by the encryption key as an HTTP response (HTTP GET response). Further, the RA-Source adds an entry in the management table.
  • RA-Source discards a remote access exchange key
  • an entry corresponding to the discarded key is deleted from the table.
  • Fig. 17 shows a flowchart of a processing procedure that is executed by the RA-Source in response to a content data request, for managing the number of outputs of the same content.
  • the RA-Source checks whether an exchange key indicated by an exchange key ID included in an HTTP request is for a DTCP-IP (Step S31).
  • the RA-Source sets OK as a response to the HTTP request (HTTP GET request) from the RA-Sink (Step S38) and ends the processing routine.
  • the RA-Source checks whether the exchange key is for a remote access (Step S32).
  • Step S32 the RA-Source checks whether a content designated by a URL included in the HTTP request is remotely accessible (Step S33). Whether the content is remotely accessible can be managed using, for example, an RA-flag (to be described later).
  • the RA-Source sets ERROR as a response to the HTTP request (HTTP GET request) from the RA-Sink (Step S39) and ends the processing routine.
  • the RA-Source checks whether there is an entry whose URL and exchange key ID are the same as the URL and the exchange key ID (RA_K x _label) included in the content data request in the management table (Step S34).
  • the RA-Source sets "OK" as a response to the HTTP GET request from the RA-Sink as the request source (Step S38) and ends the processing routine.
  • the RA-Source checks whether there is an entry having the same URL in the management table (Step S35).
  • the RA-Source adds an entry constituted of a combination of the URL designated by the content data request and the exchange key ID (RA_K x _label) in the management table (Step S37). Then, the RA-Source sets "OK" as a response to the HTTP GET request from the RA-Sink as the request source (Step S38) and ends the processing routine.
  • Step S35 when there is an entry whose URL is the same as that included in the content data request in the management table (Yes in Step S35), there is a fear that the use limit may be exceeded if the RA-Source provides the content to the RA-Sink as the request source in response to the request.
  • the RA-Source further checks whether the number of entries whose URLs are the same as that included in the content data request is smaller than an upper limit value in the management table (Step S36).
  • the RA-Source adds an entry constituted of a combination of the URL designated by the content data request and the exchange key ID (RA_K x _label) in the management table (Step S37), sets "OK" as a response to the HTTP GET request from the RA-Sink as the request source (Step S38), and ends the processing routine.
  • the RA-Source sets "ERROR" as a response to the HTTP GET request from the RA-Sink as the request source (Step S39) and ends the processing routine.
  • a content received by the RA-Sink can be taken out after being fully written in the case where the write destination of the content is a removable recording medium, suppression of a remote access may also be demanded during recording of the content or until a predetermined time period passes since the start of the recording.
  • Fig. 18 shows a flowchart of a processing procedure for an apparatus operating as the RA-Source to record a content or take in the content by a MOVE function.
  • the RA-Source first checks whether a received content is accompanied by information on a "remote access output availability" (Step S41).
  • the RA-Source further checks whether a designated content of the information is "remote access output available" (Step S42).
  • the RA-Source sets "unlimited” as a remote access unavailable time limit based on that information (Step S43).
  • the RA-Source sets an RA-flag indicating an availability of a remote access output of the received content (Step S44) and ends the processing routine.
  • the RA-Source obtains a value T as a result of adding a predetermined time period to a time at a reference time point (Step S46), sets T as a remote access unavailable time limit of the content (Step S47), initializes the RA-flag to "unavailable" in the setting to inhibit a remote access output of the content until that time limit (Step S48), and ends the processing routine.
  • the reference time point refers to a time at a timing at which a head of a program is broadcasted if the content is, for example, a broadcast content, and a time length of the program that is transmitted with the content as program information or the like is used as the predetermined time period to be added thereto.
  • a value obtained by adding a content reproduction length to a time at which an attempt to take in a content by a MOVE function has been made may be used as T.
  • a content whose RA-flag is set to "unavailable” and whose T cannot be set to "unlimited” through the processing procedure shown in Fig. 18 can be handled as a remotely-accessible content after the designated timing.
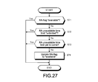
  • Fig. 27 shows a flowchart of a processing procedure for the RA-Source to update the RA-flag and T that are set for a content.
  • the RA-Source first checks whether an RA-flag of a content is set to "available" (Step S71).
  • Step S71 when the RA-flag of the content is already set to "available” (Yes in Step S71), subsequent processes are all skipped, and the processing routine is ended.
  • Step S72 the RA-Source checks whether a remote access unavailable time limit of the content is set to "unlimited” (Step S72).
  • the remote access unavailable time limit of the content is set to "unlimited” (Yes in Step S72)
  • the subsequent processes are all skipped, and the processing routine is ended.
  • Step S73 the RA-Source checks whether the remote access unavailable time limit of the content has passed.
  • Step S73 When the remote access unavailable time limit of the content is not yet passed (Yes in Step S73), the processing routine is immediately ended.
  • the RA-Source updates the RA-flag of the content to "available" (Step S74) and ends the processing routine.
  • the RA-Source periodically executing the processing procedure shown in Fig. 27, the RA-flag of the content can be updated to "available".
  • a timing at which a content list (not shown) is presented outwardly, for example, can be exemplified as a specific execution timing of the processing procedure.
  • Contents have been used only within a home network in the DTCP-IP. However, by narrowing down possibilities of an illegal use in the communication system of this embodiment, contents can be used from outside homes, that is, by a remote access.
  • the system can be constructed flexibly.
  • the functional structure of the content provision apparatus corresponding to the RA-Source in the communication system according to the present invention has already been described with reference to Fig. 3.
  • a personal computer, a recorder, or various other information apparatuses may function as the content provision apparatus.
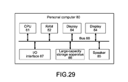
  • Fig. 29 shows a structural example of a personal computer 80 to be applied to the content provision apparatus.
  • the personal computer 80 shown in the figure includes circuit components such as a CPU 81, a RAM (Random Access Memory) 82, an EEPROM (Electrically Erasable and Programmable ROM) 83, a display 84, a speaker 85, a large-capacity information storage apparatus 86 including an HDD (Hard Disc Drive) and an SDD (Super Density Disc), and an I/O interface 87 which are mutually connected via a bus 88.
  • a CPU central processing unit
  • RAM Random Access Memory
  • EEPROM Electrical Erasable and Programmable ROM
  • the CPU 81 reads out and executes programs loaded to the RAM 82 as a main memory.
  • a program for executing a DTCP-IP function and a program for executing RA-AKE processing are loaded to the RAM 82.
  • a program for executing the authentication sequence (see Fig. 7) at the time of registering the RA-Sink in the RA-Source is loaded to the RAM 82 as a part of the program for executing RA-AKE processing and executed by the CPU 81.
  • the EEPROM 83 is a rewritable nonvolatile storage apparatus and stores setting information and the like.
  • the personal computer 80 operates as the RA-Source, that is, the content provision apparatus, a terminal ID to be the RA-Sink is stored in the EEPROM 83.
  • the CPU 81 upon receiving a request to register an RA-Sink (e.g., mobile terminal) as a terminal with which an RA-AKE procedure can be performed from the RA-Sink, the CPU 81 reads out a program in which AKE processing of the DTCP-IP is described from the RAM 82 and executes an AKE procedure with the RA-Sink.
  • an RA-Sink e.g., mobile terminal
  • the CPU 81 Upon succeeding in this procedure, the CPU 81 stores a terminal ID of the RA-Sink in the EEPROM 83 in accordance with the program stored in the RAM 82.
  • the CPU 81 executes, upon receiving a request for RA-AKE processing, processing of comparing an ID of the terminal that has issued the request and the terminal ID of the RA-Sink stored in the EEPROM 83 and determining whether to complete the RA-AKE processing.
  • a content key to be shared between the personal computer 80 and the terminal that has issued the RA-AKE processing request is generated.
  • the generated content key is temporarily stored on the personal computer 80 side, and a content is encrypted by the temporarily-stored content key at a time the content is read out from the large-capacity information storage apparatus 86.
  • the encrypted content is externally output via the I/O interface 87.
  • the I/O interface 87 has a wireless LAN function, the encrypted content is transmitted to the terminal that has issued the RA-AKE processing request via the wireless LAN.
  • Fig. 30 shows a structural example of a recorder 90 to be applied to the content provision apparatus.
  • the recorder 90 shown in the figure includes a system chip 91, a large-capacity storage apparatus 92, a RAM 93, an EEPROM 94, and a wireless LAN chip 95.
  • the system chip 91 includes circuit modules such as a CPU 91a, a coprocessor 91b, and an interface function section 91c which are mutually connected by a bus 91d inside the chip.
  • the CPU 91a is capable of executing programs stored in the storage apparatus connected thereto via the interface function section 91c.
  • the coprocessor 91b is an auxiliary operation apparatus and mainly executes compression and decoding processing of moving images, such as algorithms of H264, VC1, MPEG2, and JPEG.
  • the large-capacity storage apparatus 92 is, for example, an HDD or an SDD and stores contents to be provided to the content utilization apparatus.
  • Programs to be executed by the CPU 91a are loaded to the RAM 93 as a main memory.
  • the programs loaded to the RAM 93 are mainly programs that realize functions related to an encryption and decryption of contents, such as a program for executing a DTCP-IP function and a program for executing RA-AKE processing.
  • the EEPROM 94 is a rewritable nonvolatile storage apparatus and stores setting information and the like.
  • the recorder 90 operates as the RA-Source, that is, the content provision apparatus, a terminal ID to be the RA-Sink is stored in the EEPROM 94.
  • the CPU 91a upon receiving a request to register an RA-Sink (e.g., mobile terminal) as a terminal with which an RA-AKE procedure can be performed from the RA-Sink, the CPU 91a reads out a program in which AKE processing of the DTCP-IP is described from the RAM 93 and executes an AKE procedure with the RA-Sink.
  • an RA-Sink e.g., mobile terminal
  • the CPU 91a Upon succeeding in this procedure, the CPU 91a stores a terminal ID of the RA-Sink in the EEPROM 94 in accordance with the program stored in the RAM 93.
  • the CPU 91a executes, upon receiving a request for RA-AKE processing, processing of comparing an ID of the terminal that has issued the request and the terminal ID of the RA-Sink stored in the EEPROM 94 and determining whether to complete the RA-AKE processing.
  • a content key to be shared between the recorder 90 and the terminal that has issued the RA-AKE processing request is generated.
  • the generated content key is temporarily stored on the recorder 90 side, and a content is encrypted by the temporarily-stored content key at a time the content is read out from the large-capacity storage apparatus 92.
  • the encrypted content is transmitted to the terminal that has issued the RA-AKE processing request via the interface function section 91c and the wireless LAN chip 95.
  • the present invention there is a communication system in which a client outside a home remotely accesses a server on a home network to which the DTCP-IP is applied to use a content, though not limited thereto.
  • the present invention is similarly applicable to any other content transmission systems for transmitting contents that need to be copyright-protected or protected for other purposes, via a remote access that uses an external network such as a WAN while exceeding limits on a round-trip time (RTT), a hop count (TTL) of an IP router, and the like.
  • RTT round-trip time
  • TTL hop count

Landscapes

  • Engineering & Computer Science (AREA)
  • Computer Security & Cryptography (AREA)
  • Signal Processing (AREA)
  • Computer Networks & Wireless Communication (AREA)
  • Computer Hardware Design (AREA)
  • Computing Systems (AREA)
  • General Engineering & Computer Science (AREA)
  • Databases & Information Systems (AREA)
  • Multimedia (AREA)
  • Computer Graphics (AREA)
  • Data Exchanges In Wide-Area Networks (AREA)
  • Storage Device Security (AREA)
PCT/JP2010/005323 2009-09-09 2010-08-30 Communication system, communication apparatus, communication method, and computer program Ceased WO2011030520A1 (en)

Priority Applications (8)

Application Number Priority Date Filing Date Title
CN201080039101XA CN102498690A (zh) 2009-09-09 2010-08-30 通信系统、通信设备、通信方法和计算机程序
US13/393,504 US20120155642A1 (en) 2009-09-09 2010-08-30 Communication system, communication apparatus, communication method, and computer program
RU2012107868/08A RU2012107868A (ru) 2009-09-09 2010-08-30 Система связи, устройство связи, способ связи и компьютерная программа
EP10815121.8A EP2460311A4 (en) 2009-09-09 2010-08-30 COMMUNICATION SYSTEM, COMMUNICATION DEVICE, COMMUNICATION METHOD AND COMPUTER PROGRAM THEREFOR
BR112012004856A BR112012004856A2 (pt) 2009-09-09 2010-08-30 aparelho de acesso condicional, aparelho fonte, método para gerar seletivamente um sinal com um aparelho de acesso condicional, e, meio de armazenamento legível por computador.
IN1897DEN2012 IN2012DN01897A (enExample) 2009-09-09 2012-03-02
US14/508,999 US20150127947A1 (en) 2009-09-09 2014-10-07 Communication system, communication apparatus, communication method, and computer program
US15/585,259 US20170238181A1 (en) 2009-09-09 2017-05-03 Mobile terminal to request an authentication to receive an exchanging key for remotely accessing content

Applications Claiming Priority (4)

Application Number Priority Date Filing Date Title
JP2009-208687 2009-09-09
JP2009208687 2009-09-09
JP2010-117832 2010-05-21
JP2010117832A JP2011082952A (ja) 2009-09-09 2010-05-21 通信システム、通信装置及び通信方法、並びにコンピューター・プログラム

Related Child Applications (2)

Application Number Title Priority Date Filing Date
US13/393,504 A-371-Of-International US20120155642A1 (en) 2009-09-09 2010-08-30 Communication system, communication apparatus, communication method, and computer program
US14/508,999 Continuation-In-Part US20150127947A1 (en) 2009-09-09 2014-10-07 Communication system, communication apparatus, communication method, and computer program

Publications (1)

Publication Number Publication Date
WO2011030520A1 true WO2011030520A1 (en) 2011-03-17

Family

ID=43732201

Family Applications (1)

Application Number Title Priority Date Filing Date
PCT/JP2010/005323 Ceased WO2011030520A1 (en) 2009-09-09 2010-08-30 Communication system, communication apparatus, communication method, and computer program

Country Status (8)

Country Link
US (1) US20120155642A1 (enExample)
EP (2) EP2460311A4 (enExample)
JP (1) JP2011082952A (enExample)
CN (3) CN104967514A (enExample)
BR (1) BR112012004856A2 (enExample)
IN (1) IN2012DN01897A (enExample)
RU (1) RU2012107868A (enExample)
WO (1) WO2011030520A1 (enExample)

Cited By (1)

* Cited by examiner, † Cited by third party
Publication number Priority date Publication date Assignee Title
EP2966804A4 (en) * 2013-03-08 2016-11-02 Sony Corp COMMUNICATION DEVICE, COMMUNICATION PROCESS, COMPUTER PROGRAM AND COMMUNICATION SYSTEM

Families Citing this family (13)

* Cited by examiner, † Cited by third party
Publication number Priority date Publication date Assignee Title
JP5899687B2 (ja) * 2011-07-15 2016-04-06 ソニー株式会社 通信装置及び通信方法、通信システム、並びにコンピューター・プログラム
US20140108804A1 (en) * 2012-10-11 2014-04-17 Sling Media Inc. System and method for verifying the authenticity of an electronic device
CN102984148A (zh) * 2012-11-23 2013-03-20 华为技术有限公司 内容访问控制的方法、装置和系统
JP5962549B2 (ja) * 2013-03-08 2016-08-03 ソニー株式会社 通信装置及び通信方法、コンピューター・プログラム、並びに通信システム
JP2015033038A (ja) 2013-08-05 2015-02-16 ソニー株式会社 情報処理装置、情報処理方法及びコンピュータプログラム
JP6187139B2 (ja) * 2013-10-21 2017-08-30 ソニー株式会社 コンテンツ伝送システム
JP2015097356A (ja) * 2013-11-15 2015-05-21 キヤノン株式会社 通信システム、画像形成装置及びそれらの制御方法、並びにプログラム
CN105069361A (zh) * 2015-06-29 2015-11-18 蔡桂钧 对隐私空间的安全访问方法及系统
JP6327296B2 (ja) * 2016-06-29 2018-05-23 ソニー株式会社 通信装置及び通信方法、並びにコンピューター・プログラム
US10489380B2 (en) 2016-12-28 2019-11-26 American Express Travel Related Services Company, Inc. Systems and methods for processing data service requests
JP6575547B2 (ja) 2017-03-17 2019-09-18 富士ゼロックス株式会社 ドキュメント管理システム
JP6465233B2 (ja) * 2018-03-27 2019-02-06 ソニー株式会社 通信システム
WO2022204892A1 (zh) * 2021-03-29 2022-10-06 华为技术有限公司 一种数据传输方法及装置

Citations (8)

* Cited by examiner, † Cited by third party
Publication number Priority date Publication date Assignee Title
JP2005275828A (ja) * 2004-03-25 2005-10-06 Hitachi Ltd ネットワーク転送対応コンテンツ利用管理方法、及びプログラム、コンテンツ転送システム
JP2006005909A (ja) * 2004-05-18 2006-01-05 Toshiba Corp 情報処理装置、情報処理方法および情報処理プログラム
WO2006028092A1 (ja) * 2004-09-07 2006-03-16 Matsushita Electric Industrial Co., Ltd. コンテンツ配信管理装置
JP2007272862A (ja) * 2006-01-11 2007-10-18 Sony Corp コンテンツ伝送システム、コンテンツ伝送装置及びコンテンツ伝送方法、並びにコンピュータ・プログラム
JP2008035528A (ja) * 2003-07-09 2008-02-14 Toshiba Corp 情報通信装置
JP2008065624A (ja) * 2006-09-07 2008-03-21 Toshiba Corp コンテンツ送受信装置
WO2008044647A1 (en) * 2006-10-06 2008-04-17 Panasonic Corporation Data transmission device, data reception device, and data transmission/reception system
WO2010035490A1 (ja) * 2008-09-29 2010-04-01 パナソニック株式会社 データ送受信制御装置、データ送受信システム、方法、およびプログラム

Family Cites Families (22)

* Cited by examiner, † Cited by third party
Publication number Priority date Publication date Assignee Title
JP4643068B2 (ja) * 2001-07-23 2011-03-02 株式会社東芝 コンテンツ配信システム
JP3864743B2 (ja) * 2001-10-04 2007-01-10 株式会社日立製作所 ファイアウォール装置、情報機器および情報機器の通信方法
JP4103934B2 (ja) * 2001-11-08 2008-06-18 株式会社日立製作所 信号受信装置、信号受信方法
US7486793B2 (en) * 2002-02-15 2009-02-03 Nagracard S.A. Invoicing management method of a service transmitted per time unit
EP1504591A1 (en) * 2002-04-26 2005-02-09 Koninklijke Philips Electronics N.V. Security modules for conditional access with restrictions
JP3826100B2 (ja) * 2002-11-27 2006-09-27 株式会社東芝 通信中継装置、通信システム及び通信制御プログラム
JP2004334860A (ja) * 2003-04-14 2004-11-25 Matsushita Electric Ind Co Ltd 機器認証システム、サーバ機器、クライアント機器
JP4647903B2 (ja) * 2003-07-09 2011-03-09 株式会社東芝 情報通信装置、通信システム及びデータ伝送制御プログラム
JP4608886B2 (ja) * 2004-01-16 2011-01-12 株式会社日立製作所 コンテンツ送信装置および方法
JP4645049B2 (ja) * 2004-03-19 2011-03-09 株式会社日立製作所 コンテンツ送信装置およびコンテンツ送信方法
CN100583732C (zh) * 2004-05-18 2010-01-20 株式会社东芝 信息处理设备,信息处理方法和信息处理程序
JP2006041726A (ja) * 2004-07-23 2006-02-09 Matsushita Electric Ind Co Ltd 共有鍵交換システム、共有鍵交換方法及び方法プログラム
JP2006323707A (ja) * 2005-05-20 2006-11-30 Hitachi Ltd コンテンツ送信装置、コンテンツ受信装置、コンテンツ送信方法及びコンテンツ受信方法
JP4674502B2 (ja) 2005-07-22 2011-04-20 ソニー株式会社 情報通信システム、情報通信装置及び情報通信方法、並びにコンピュータ・プログラム
JP5001164B2 (ja) * 2005-10-18 2012-08-15 パナソニック株式会社 送信側の記録再生装置、avデータ送信方法、及びプログラム
KR100823260B1 (ko) * 2006-01-19 2008-04-17 삼성전자주식회사 도메인에 가입하지 않은 기기로 콘텐트를 전송하는 방법 및장치
JP2007323617A (ja) * 2006-06-05 2007-12-13 Matsushita Electric Ind Co Ltd 通信システム、通信機器、通信方法、及びプログラム
JP2008262640A (ja) * 2007-04-12 2008-10-30 Matsushita Electric Ind Co Ltd 記録再生装置、及びavデータコピー方法
KR101162333B1 (ko) * 2007-08-21 2012-07-04 삼성전자주식회사 도전 응답 기반의 rtt 검사 방법, 장치 및 그 방법을기록한 컴퓨터로 읽을 수 있는 기록매체
US8176808B2 (en) * 2007-09-13 2012-05-15 Foster-Miller, Inc. Robot arm assembly
JPWO2009041387A1 (ja) * 2007-09-27 2011-01-27 Necパーソナルプロダクツ株式会社 認証装置、機器認証システムおよびプログラム
JP5331354B2 (ja) * 2008-03-17 2013-10-30 日立コンシューマエレクトロニクス株式会社 コンテンツ送信装置、コンテンツ受信装置

Patent Citations (8)

* Cited by examiner, † Cited by third party
Publication number Priority date Publication date Assignee Title
JP2008035528A (ja) * 2003-07-09 2008-02-14 Toshiba Corp 情報通信装置
JP2005275828A (ja) * 2004-03-25 2005-10-06 Hitachi Ltd ネットワーク転送対応コンテンツ利用管理方法、及びプログラム、コンテンツ転送システム
JP2006005909A (ja) * 2004-05-18 2006-01-05 Toshiba Corp 情報処理装置、情報処理方法および情報処理プログラム
WO2006028092A1 (ja) * 2004-09-07 2006-03-16 Matsushita Electric Industrial Co., Ltd. コンテンツ配信管理装置
JP2007272862A (ja) * 2006-01-11 2007-10-18 Sony Corp コンテンツ伝送システム、コンテンツ伝送装置及びコンテンツ伝送方法、並びにコンピュータ・プログラム
JP2008065624A (ja) * 2006-09-07 2008-03-21 Toshiba Corp コンテンツ送受信装置
WO2008044647A1 (en) * 2006-10-06 2008-04-17 Panasonic Corporation Data transmission device, data reception device, and data transmission/reception system
WO2010035490A1 (ja) * 2008-09-29 2010-04-01 パナソニック株式会社 データ送受信制御装置、データ送受信システム、方法、およびプログラム

Cited By (2)

* Cited by examiner, † Cited by third party
Publication number Priority date Publication date Assignee Title
EP2966804A4 (en) * 2013-03-08 2016-11-02 Sony Corp COMMUNICATION DEVICE, COMMUNICATION PROCESS, COMPUTER PROGRAM AND COMMUNICATION SYSTEM
US9785756B2 (en) 2013-03-08 2017-10-10 Sony Corporation Restriction of use that exceeds a personal use range when transmitting a content accumulated at home via an external network

Also Published As

Publication number Publication date
EP3197126A1 (en) 2017-07-26
BR112012004856A2 (pt) 2016-04-05
US20120155642A1 (en) 2012-06-21
RU2012107868A (ru) 2013-09-10
JP2011082952A (ja) 2011-04-21
EP2460311A4 (en) 2016-01-06
IN2012DN01897A (enExample) 2015-07-24
CN102498690A (zh) 2012-06-13
CN104993933A (zh) 2015-10-21
CN104967514A (zh) 2015-10-07
EP2460311A1 (en) 2012-06-06

Similar Documents

Publication Publication Date Title
WO2011030520A1 (en) Communication system, communication apparatus, communication method, and computer program
JP5614016B2 (ja) 通信システム、通信装置及び通信方法、コンピューター・プログラム、並びに、コンテンツ提供装置及びコンテンツ提供方法
US9813397B2 (en) Communication system, communication apparatus, communication method, and computer program
JP2007199890A (ja) コンテンツ伝送システム、コンテンツ伝送装置及びコンテンツ伝送方法、並びにコンピュータ・プログラム
JP6443516B2 (ja) 通信システム及び通信方法
JP6614279B2 (ja) リモート・アクセス・コンテンツ提供方法
US20170238181A1 (en) Mobile terminal to request an authentication to receive an exchanging key for remotely accessing content
JP6065881B2 (ja) 通信装置
JP6269798B2 (ja) リモート・アクセス・コンテンツ提供システム
JP6270672B2 (ja) コンテンツ提供装置及びコンテンツ提供方法
JP6257497B2 (ja) コンテンツ伝送装置並びにシンク機器
JP2017103774A (ja) 通信装置

Legal Events

Date Code Title Description
WWE Wipo information: entry into national phase

Ref document number: 201080039101.X

Country of ref document: CN

121 Ep: the epo has been informed by wipo that ep was designated in this application

Ref document number: 10815121

Country of ref document: EP

Kind code of ref document: A1

WWE Wipo information: entry into national phase

Ref document number: 2010815121

Country of ref document: EP

WWE Wipo information: entry into national phase

Ref document number: 13393504

Country of ref document: US

WWE Wipo information: entry into national phase

Ref document number: 2012107868

Country of ref document: RU

WWE Wipo information: entry into national phase

Ref document number: 1897/DELNP/2012

Country of ref document: IN

NENP Non-entry into the national phase

Ref country code: DE

REG Reference to national code

Ref country code: BR

Ref legal event code: B01A

Ref document number: 112012004856

Country of ref document: BR

ENP Entry into the national phase

Ref document number: 112012004856

Country of ref document: BR

Kind code of ref document: A2

Effective date: 20120302