WO2010137270A1 - 光ディスク装置 - Google Patents

光ディスク装置 Download PDF

Info

Publication number
WO2010137270A1
WO2010137270A1 PCT/JP2010/003430 JP2010003430W WO2010137270A1 WO 2010137270 A1 WO2010137270 A1 WO 2010137270A1 JP 2010003430 W JP2010003430 W JP 2010003430W WO 2010137270 A1 WO2010137270 A1 WO 2010137270A1
Authority
WO
WIPO (PCT)
Prior art keywords
signal
optical disc
gain
resolution
super
Prior art date
Legal status (The legal status is an assumption and is not a legal conclusion. Google has not performed a legal analysis and makes no representation as to the accuracy of the status listed.)
Ceased
Application number
PCT/JP2010/003430
Other languages
English (en)
French (fr)
Japanese (ja)
Inventor
中井賢也
大牧正幸
竹下伸夫
Current Assignee (The listed assignees may be inaccurate. Google has not performed a legal analysis and makes no representation or warranty as to the accuracy of the list.)
Mitsubishi Electric Corp
Original Assignee
Mitsubishi Electric Corp
Priority date (The priority date is an assumption and is not a legal conclusion. Google has not performed a legal analysis and makes no representation as to the accuracy of the date listed.)
Filing date
Publication date
Application filed by Mitsubishi Electric Corp filed Critical Mitsubishi Electric Corp
Priority to US13/258,538 priority Critical patent/US8339909B2/en
Priority to CN201080018641.XA priority patent/CN102414748B/zh
Priority to DE112010002078.7T priority patent/DE112010002078B4/de
Publication of WO2010137270A1 publication Critical patent/WO2010137270A1/ja
Anticipated expiration legal-status Critical
Ceased legal-status Critical Current

Links

Images

Classifications

    • GPHYSICS
    • G11INFORMATION STORAGE
    • G11BINFORMATION STORAGE BASED ON RELATIVE MOVEMENT BETWEEN RECORD CARRIER AND TRANSDUCER
    • G11B7/00Recording or reproducing by optical means, e.g. recording using a thermal beam of optical radiation by modifying optical properties or the physical structure, reproducing using an optical beam at lower power by sensing optical properties; Record carriers therefor
    • G11B7/004Recording, reproducing or erasing methods; Read, write or erase circuits therefor
    • G11B7/005Reproducing
    • GPHYSICS
    • G11INFORMATION STORAGE
    • G11BINFORMATION STORAGE BASED ON RELATIVE MOVEMENT BETWEEN RECORD CARRIER AND TRANSDUCER
    • G11B20/00Signal processing not specific to the method of recording or reproducing; Circuits therefor
    • G11B20/10Digital recording or reproducing
    • G11B20/10009Improvement or modification of read or write signals
    • GPHYSICS
    • G11INFORMATION STORAGE
    • G11BINFORMATION STORAGE BASED ON RELATIVE MOVEMENT BETWEEN RECORD CARRIER AND TRANSDUCER
    • G11B20/00Signal processing not specific to the method of recording or reproducing; Circuits therefor
    • G11B20/10Digital recording or reproducing
    • G11B20/10009Improvement or modification of read or write signals
    • G11B20/10018Improvement or modification of read or write signals analog processing for digital recording or reproduction
    • G11B20/10027Improvement or modification of read or write signals analog processing for digital recording or reproduction adjusting the signal strength during recording or reproduction, e.g. variable gain amplifiers
    • GPHYSICS
    • G11INFORMATION STORAGE
    • G11BINFORMATION STORAGE BASED ON RELATIVE MOVEMENT BETWEEN RECORD CARRIER AND TRANSDUCER
    • G11B20/00Signal processing not specific to the method of recording or reproducing; Circuits therefor
    • G11B20/10Digital recording or reproducing
    • G11B20/10009Improvement or modification of read or write signals
    • G11B20/10046Improvement or modification of read or write signals filtering or equalising, e.g. setting the tap weights of an FIR filter
    • GPHYSICS
    • G11INFORMATION STORAGE
    • G11BINFORMATION STORAGE BASED ON RELATIVE MOVEMENT BETWEEN RECORD CARRIER AND TRANSDUCER
    • G11B20/00Signal processing not specific to the method of recording or reproducing; Circuits therefor
    • G11B20/10Digital recording or reproducing
    • G11B20/10009Improvement or modification of read or write signals
    • G11B20/10222Improvement or modification of read or write signals clock-related aspects, e.g. phase or frequency adjustment or bit synchronisation
    • GPHYSICS
    • G11INFORMATION STORAGE
    • G11BINFORMATION STORAGE BASED ON RELATIVE MOVEMENT BETWEEN RECORD CARRIER AND TRANSDUCER
    • G11B20/00Signal processing not specific to the method of recording or reproducing; Circuits therefor
    • G11B20/10Digital recording or reproducing
    • G11B20/10009Improvement or modification of read or write signals
    • G11B20/10268Improvement or modification of read or write signals bit detection or demodulation methods
    • G11B20/10287Improvement or modification of read or write signals bit detection or demodulation methods using probabilistic methods, e.g. maximum likelihood detectors
    • G11B20/10296Improvement or modification of read or write signals bit detection or demodulation methods using probabilistic methods, e.g. maximum likelihood detectors using the Viterbi algorithm
    • GPHYSICS
    • G11INFORMATION STORAGE
    • G11BINFORMATION STORAGE BASED ON RELATIVE MOVEMENT BETWEEN RECORD CARRIER AND TRANSDUCER
    • G11B20/00Signal processing not specific to the method of recording or reproducing; Circuits therefor
    • G11B20/10Digital recording or reproducing
    • G11B20/10009Improvement or modification of read or write signals
    • G11B20/10305Improvement or modification of read or write signals signal quality assessment
    • G11B20/10398Improvement or modification of read or write signals signal quality assessment jitter, timing deviations or phase and frequency errors
    • G11B20/10416Improvement or modification of read or write signals signal quality assessment jitter, timing deviations or phase and frequency errors by verifying the timing of peak values
    • GPHYSICS
    • G11INFORMATION STORAGE
    • G11BINFORMATION STORAGE BASED ON RELATIVE MOVEMENT BETWEEN RECORD CARRIER AND TRANSDUCER
    • G11B7/00Recording or reproducing by optical means, e.g. recording using a thermal beam of optical radiation by modifying optical properties or the physical structure, reproducing using an optical beam at lower power by sensing optical properties; Record carriers therefor
    • G11B7/12Heads, e.g. forming of the optical beam spot or modulation of the optical beam
    • G11B7/13Optical detectors therefor
    • G11B7/131Arrangement of detectors in a multiple array
    • GPHYSICS
    • G11INFORMATION STORAGE
    • G11BINFORMATION STORAGE BASED ON RELATIVE MOVEMENT BETWEEN RECORD CARRIER AND TRANSDUCER
    • G11B2220/00Record carriers by type
    • G11B2220/20Disc-shaped record carriers
    • G11B2220/25Disc-shaped record carriers characterised in that the disc is based on a specific recording technology
    • G11B2220/2537Optical discs
    • G11B2220/2595Super-resolution optical discs, i.e. optical discs wherein the size of marks is below the optical diffraction limit

Definitions

  • the present invention relates to an optical disc apparatus for recording or reproducing information on an optical recording / reproducing medium adopting a super-resolution method.
  • the thickness of a disc substrate that is a light transmission layer is about 1.2 mm
  • the laser beam wavelength is about 0.6 mm
  • the objective lens has a numerical aperture (NA) of about 780 nm and a recording capacity of 650 MB.
  • DVD digital versatile disc
  • a light transmission layer thickness of about 0.6 mm a laser beam wavelength of about 650 nm, and an NA of 0.6, which is a recording capacity of 4.7 GB.
  • BD Blu-ray Disc
  • an optical disc with a light transmission layer thickness of 0.1 mm is used, the laser light wavelength is about 405 nm, and the NA is 0.85. Capacitance is realized.
  • Non-Patent Document 1 and Non-Patent Document 2 relate to the Super-RENS (Super Resolution Nearfield Structure) system, which is a typical super-resolution optical disk.
  • Super-RENS Super Resolution Nearfield Structure
  • an optical super-resolution optical disc in which information recording marks are formed of a material having nonlinear light absorption characteristics or nonlinear light transmission characteristics in which the refractive index changes depending on the intensity of light has also been proposed (for example, non-patent documents). 3).
  • these are collectively referred to as a super-resolution optical disk.
  • the diffraction limit is a limit at which the reproduction resolution of the mark disappears, and corresponds to ⁇ / (4NA) determined from the numerical aperture NA of the condenser lens, which is an optical element of the optical disc apparatus, and the wavelength ⁇ of the light.
  • a reproduction signal (component) of a mark smaller than the diffraction limit ⁇ / (4NA) is a super-resolution reproduction signal (component)
  • a reproduction signal (component) of a mark larger than the diffraction limit ⁇ / (4NA) is a normal resolution reproduction signal.
  • it is called (component).
  • mark length depends on the modulation method in encoding of the recording data string, but a plurality of marks having different lengths are randomly arranged (in various orders).
  • the working wavelength ⁇ is 405 nm
  • the numerical aperture NA of the objective lens is 0.85
  • the diffraction limit ⁇ / (4NA) of the mark length is about 119 nm
  • the shortest mark length of the BD is about 150 nm. Therefore, all the marks are reproduced in the normal resolution.
  • the length of the shortest mark (2T mark) is the shortest mark of the BD if the RLL (1-7) modulation method is the same as the BD.
  • the half length is about 75 nm and the diffraction limit is 119 nm or less, whereas the length of the 8T mark is 300 nm, which is larger than the diffraction limit of 119 nm.
  • a reproduction signal in which modulation components due to reproduction are mixed is obtained.
  • the present invention When super-resolution reproduction and normal-resolution reproduction are mixed, the present invention generates a reproduction signal by separating components of normal-resolution reproduction and super-resolution reproduction, and is excellent from a super-resolution disk.
  • An optical disc apparatus capable of reproducing high quality data is provided.
  • An optical disc apparatus is A first signal detected from the central portion of the return light beam from the super-resolution optical disc; An optical head device for detecting a second signal detected from a peripheral portion in a direction corresponding to a track direction of the super-resolution optical disc among the return light beams;
  • an optical disc apparatus comprising: a signal processing unit that synthesizes or separates the first signal and the second signal to generate a reproduction signal; The signal processing means corrects a phase difference between the first signal and the second signal.
  • FIG. 1 is a schematic diagram showing an overall configuration of an optical disc device according to a first embodiment of the present invention.
  • A)-(c) is a figure which shows the positional relationship of the opening of a super-resolution mask layer of a super-resolution optical disk and a condensing spot, and the positional relationship of light intensity distribution and heat distribution.
  • A) And (b) is a figure which shows the relationship between a super-resolution reproduction signal and a normal-resolution reproduction signal, and an opening.
  • It is a schematic block diagram of the optical head apparatus mounted in the optical disk apparatus of Embodiment 1 of this invention.
  • FIG. 5 is a schematic view showing a light receiving surface of a light receiving element mounted on the optical head device of FIG.
  • FIG. 2 is a block diagram showing an outline of a configuration example of an optical head device 52 and a reproduction signal detection circuit 58 of the optical disc apparatus of FIG. (A)-(d) is a conceptual diagram for demonstrating the waveform of the signal in each part of the optical head apparatus 52 and the reproduction signal detection circuit 58 of FIG.
  • FIG. 7 is a block diagram showing another configuration example of the reproduction signal detection circuit 58 of the optical disc apparatus of FIG.
  • FIG. 10 is a block diagram illustrating a configuration example of a delay circuit 106 in the reproduction signal detection circuit 58 of FIGS. 7 and 9.
  • FIG. 1 is a diagram showing an overall configuration of the optical disc apparatus according to the first embodiment. Note that the arrows in FIG. 1 indicate the flow of typical signals and information, and do not represent all the connection relationships of the blocks constituting the optical disc apparatus 50. In addition, signals and information may be represented by the same reference numerals as the paths through which they are transmitted.
  • an optical disc apparatus 50 irradiates a laser beam to a spindle motor 51 for rotating the optical disc 5 and the optical disc 5, receives the return light beam reflected by the information recording layer of the optical disc 5, and outputs a signal.
  • Optical head device 52, sled motor 53 for driving the optical head device 52 in the radial direction of the optical disk 5, laser control circuit 54, servo control circuit 55, reproduction signal processing circuit 56, demodulation circuit 60, modulation circuit 64, RAM (Random Access Memory) 80 and MPU (Micro Processing Unit) 81 are provided.
  • the servo control circuit 55 is provided with a spindle motor control circuit 63 for controlling the spindle motor 51, a thread motor control circuit 62 for controlling the thread motor 53, and an optical head control circuit 61 for controlling the optical head device 52. The operation is performed by a command issued.
  • the reproduction signal processing circuit 56 detects a reproduction signal RF, a servo signal detection circuit 59 that generates a servo signal based on a signal detected by the optical head device 52 and sent via the transmission line L3.
  • a reproduction signal detection circuit 58 that performs waveform equalization of the reproduction signal RF and a wobble signal detection circuit 57 that detects a wobble signal obtained from reflected light from the meandering guide track groove of the optical disk 5 are provided.
  • the wobble signal detection circuit 57 may not be provided.
  • the MPU 81 determines the operation of the entire optical disc apparatus based on the output signal of the transmission line L1 such as the signal amplitude value data and the status signal detected by the reproduction signal processing circuit 56, or the output signal from each other part, and to each part.
  • Control data (for example, a signal on the transmission line L2 from the MPU 81 to the reproduction signal processing circuit 56) is sent to control them.
  • the RAM 80 has a program area 80A and a data area 80B.
  • the MPU 81 controls the operation of each part in accordance with the program recorded in the program area 80A of the RAM 80, and makes a control judgment from signals sent from each part.
  • the optical head control circuit 61 outputs a control signal to the optical head device 52 via the transmission line L4 based on the servo error signal sent from the servo signal detection circuit 59 and the operation command from the MPU 81, and the optical head device 52 receives the optical disk from the optical head device 52. 5 Controls the light irradiated onto the top.
  • the thread motor control circuit 62 and the spindle motor control circuit 63 control the thread motor 51 and the spindle motor 53 based on the servo error signal and the operation command from the MPU 81.
  • the output signal L6 of the wobble signal detection circuit 57 and the output signal L7 of the reproduction signal detection circuit 58 are demodulated into information data L8 by the demodulation circuit 60.
  • Part of the data L9 output from the MPU 81 is converted into a recording signal L10 suitable for recording on the optical disc 5 by the modulation circuit 64 and sent to the laser control circuit 54. Based on this recording signal L10, a control signal is sent from the laser control circuit 54 to the optical head device 52 via the transmission line L5, and the light emission power of the semiconductor laser mounted on the optical head device 52 is controlled.
  • the laser control circuit 54 used for recording may be omitted.
  • the optical disk 5 according to the first embodiment has nonlinear light absorption characteristics or nonlinear light transmission characteristics with respect to the light intensity.
  • This is a super-resolution optical disc on which a super-resolution mask layer 5a having the above-described structure is formed.
  • the problems of the prior art will be described in more detail with reference to FIGS. 2 (a) to 2 (c) and FIGS. 3 (a) and 3 (b).
  • the structure of the illustrated disk is shown in the minimum configuration for convenience, and a layer made of another material or the like may be formed in addition to this.
  • a super-resolution disk in which the mark itself is made of a material having a non-linear light absorption characteristic has been proposed, but this disk structure may be used (for example, see Non-Patent Document 3). ).
  • the light intensity distribution LD of the condensed spot 1a collected by a general isotropic lens is a Gaussian distribution. Although it coincides with the central portion of 1a, since the optical disk is rotating during signal reproduction, the rotation speed is on the order of the heat conduction speed, and the heat distribution TD is as shown in FIG. It is distributed later than the light intensity distribution LD.
  • the opening 5b of the super-resolution mask layer 5a is formed by changing the transmittance (or refractive index) above a certain temperature Tc (or a certain temperature range (not shown here)) in the heat distribution. Therefore, the center of the opening 5b is formed at a position delayed from the peak 1p of the intensity distribution LD of the focused spot 1a.
  • the transmittance or refractive index
  • the present invention is not limited thereto, and super-resolution in which the transmittance (or refractive index) changes to form an opening in a certain temperature range. It may be a disc.
  • the present invention solves the above-mentioned problem, and even if super-resolution reproduction and normal-resolution reproduction are mixed, a signal generated from a phase shift of a signal generated between normal-resolution reproduction and super-resolution reproduction Deterioration can be reduced, and good quality data can be reproduced from a super-resolution disc.
  • the optical head device 52 supports not only non-super-resolution optical discs such as CD, DVD, and BD but also super-resolution optical discs.
  • the optical head device 52 condenses a light beam from a semiconductor laser on the optical disk 5 and receives a return light beam reflected by the information recording layer of the optical disk 5 to detect a signal for generating a reproduction signal or a servo signal. .
  • FIG. 4 is a diagram showing a configuration example of the optical head device 52 of the present invention.
  • the light beam 1 having the wavelength ⁇ emitted from the semiconductor laser 2 based on the control signal input from the laser control circuit 54 via the transmission line L 5 is reflected by the beam splitter 3 and is reflected by the objective lens 4 on the optical disk. 5 is condensed.
  • the return light beam Q reflected by the optical disk 5 passes through the beam splitter 3 and converges.
  • the return light beam Q is received by the light receiving surface of the light receiving element 27, and an electric signal corresponding to the amount of received light is output to the transmission line L3.
  • FIG. 4 is for the purpose of explaining the basic configuration and the principle of the optical head device of the present invention, and shows only the optical system for detecting the reproduction signal of the optical disk with the minimum components.
  • the configuration of the apparatus is not limited to that shown in FIG.
  • the objective lens is corrected so as to correct an error in the focal length of the objective lens 4 caused by the position variation of the optical disk 5 in the optical axis direction of the objective lens 4 and the direction perpendicular to the optical axis direction.
  • an objective lens driving actuator for driving 4 in the optical axis direction and a direction perpendicular to the optical axis direction.
  • a sensor optical system for detecting the focus error amount and tracking error amount of the objective lens 5 with respect to the information recording layer of the optical disc 5 may be provided.
  • a polarizing beam splitter may be arranged, and a quarter wavelength plate may be inserted between the polarizing beam splitter and the objective lens 4.
  • FIG. 5 shows the light receiving surface 27R of the light receiving element 27 and the return light beam Q.
  • a reproduction signal is obtained from the detection signal of the return light beam Q received by the light receiving surface 27R as follows.
  • the light receiving surface 27R is divided into three light receiving elements, and a light receiving element 27B and a light receiving element 27C are disposed at symmetrical positions while being adjacent to the center light receiving element 27A and the light receiving element 27A.
  • the x-axis (vertical direction in FIG. 5) corresponds to the direction in which the track direction (that is, the tangential direction) of the optical disc 5 is projected onto the light receiving surface via the optical component.
  • the diameter 2r of the return light beam is set to be larger than the width W.
  • FIG. 6 (a) the change in the light intensity caused by the interference in the return light beam between the 0th-order light generated by diffraction at the mark and the other higher-order light (first-order light or higher) is modulated by the reproduction signal. Become an ingredient.
  • the interference areas of the zero-order light and the primary light are indicated by D1 and D2.
  • the area AP corresponds to the pupil of the objective lens, and the light inside the area AP is actually received by the light receiving element.
  • FIGS. 6A to 6C only the primary light among the high-order lights is indicated by a broken line.
  • FIG. 6A shows a case where the mark length ML is longer than ⁇ / (2NA), and the primary lights overlap each other.
  • an interference region (interference between 0th-order light and primary light).
  • Regions D1 and D2 are separated by a certain distance L and do not exist at the center of the return light.
  • the distance L increases as the mark length becomes shorter. That is, as the mark length becomes shorter, the interference portion shifts to the peripheral portion in the track direction (the direction corresponding to the track direction) in the return light, and the peripheral portion contains more modulation components of the normal resolution reproduction signal. .
  • the distance L becomes larger than the light beam radius r, and the interference regions D1 and D2 are no longer returned light. No longer exists. That is, the normal resolution reproduction signal component is eliminated.
  • the modulation component of the mark read out by the minute aperture 5b generated in the super-resolution mask layer 5a of the optical disc is the entire area on the light-receiving surface of the light-receiving element of the return light beam, That is, it exists over the entire area AP corresponding to the objective lens pupil of FIGS. 6 (a) to 6 (c). This phenomenon has been confirmed by our optical simulation.
  • the width W of the light receiving element 27A is such that the central portion of the return light beam is received by the light receiving element 27A and the peripheral portions are individually received by the light receiving elements 27B and 27C.
  • the light receiving element 27 is detected by detecting the return light beam Q on the light receiving surface 27R in FIG.
  • the signal Sa output from 27A is obtained as a super-resolution reproduction signal that contains almost no component of the normal-resolution reproduction signal.
  • the distance L between the interference regions D1 and D2 is: 2 ⁇ ( ⁇ / (2 ⁇ NA ⁇ ML_max) ⁇ 1) ⁇ r Can be expressed as If the width W is set to about L or less, the interference areas D1 and D2 are completely incident on the light receiving element 27B or the light receiving element 27C. A signal Sa consisting only of the reproduction signal component is obtained.
  • the condition that the interference regions D1 and D2 exist is when the longest mark length ML_max of the optical disc is larger than the diffraction limit ⁇ / (4NA), and the longest mark length ML_max of the optical disc is ⁇ / ( The effect can be expected with an optical disc on which a data string composed of marks larger than 4NA) and smaller than ⁇ / (2NA) is recorded.
  • signals Sb and Sc output from the light receiving element 27B and the light receiving element 27C are signals in which the normal resolution reproduction signal component and the super resolution reproduction signal component are mixed.
  • the optical head device 52 With the optical head device 52 described above, it is possible to obtain the signal Sa including only the super-resolution reproduction signal component and the signals Sb and Sc including the normal-resolution reproduction signal component and the super-resolution reproduction signal component.
  • FIG. 7 shows a schematic configuration of a reproduction signal detection circuit 58 in the reproduction signal processing circuit 56 that receives the signals Sa, Sb, and Sc according to the present invention.
  • the portion of the reproduction signal detection circuit 58 that detects the reproduction signal RF is shown.
  • the signal Sb and the signal Sc are added by the adder circuit 101 to generate the signal Sd, and an appropriate gain and phase are adjusted by the equalizer 102 as a gain phase adjusting means to generate the signal Se.
  • the signal Sa is adjusted to an appropriate gain and phase by an equalizer 103 as a gain phase adjusting means to generate a signal Sf, and after the signal Sf is branched, the signal Sf is multiplied by an appropriate gain K on one side.
  • the signal Sg is generated through the gain adjuster 104 to be adjusted.
  • the signal Sh obtained by subtracting the signal Sg from the signal Se by the subtracting circuit 105 is further added by the delay circuit 106, and the signal Si given a certain delay amount and the signal Sf are added by the adding circuit 107 to generate the reproduction signal RF.
  • FIGS. 8A to 8D are schematic diagrams showing the signals Sa to Si when a mark having a certain length is reproduced.
  • the light intensity distribution and the heat distribution are reproduced by being shifted by time ⁇ t.
  • the resolution reproduction signal component SR and the normal resolution reproduction signal component NR are mixed, as shown in FIG. 8A, super-resolution included in the signal Sd (the combined signal of Sb and the signal Sc).
  • the signal Sd Since the signal component SR and the normal resolution signal component NR are shifted from each other by the time ⁇ t, the signal Sd has a super resolution reproduction signal component SR and a normal resolution reproduction signal component with respect to the normal resolution reproduction signal component NR. It is shifted by an intermediate time ⁇ ts ( ⁇ ts ⁇ t) between the NR time difference ⁇ t and zero.
  • FIG. 8B shows the waveform of the signal Sa, which is the same waveform as the super-resolution reproduction signal component SR of FIG.
  • FIG. 8C shows the waveform of the signal Sh.
  • the signal Sh is obtained by subtracting the super-resolution signal component SR from the signal Se (the phase is substantially the same as that of the signal Sd). It represents the image reproduction signal component NR. Since the signal Sh is shifted by the time ⁇ t with respect to the signal Sf (substantially the same phase as the signal Sa), the phase of the signal Sh is corrected by the time ⁇ t by the delay circuit 106, so that it is shown in FIG.
  • the signal Si as described above is obtained.
  • the adder circuit 107 synthesizes the phase-corrected normal-resolution signal Si and the super-resolution signal Sf by the adder circuit 107 to generate a reproduction signal RF, the super-resolution that has occurred when the super-resolution disk is reproduced. Signal deterioration due to the phase difference between the resolution reproduction signal component and the normal resolution reproduction signal component can be suppressed.
  • the series of processes as described above corrects the phase difference between the normal resolution reproduction signal component NR and the super resolution reproduction signal component SR, and consequently corrects the phase difference between the signal Sd and the signal Sa.
  • the normal resolution reproduction signal component NR and the super resolution reproduction signal component SR are separated to realize phase difference correction.
  • a signal processing may be used in which one of the signal Sd and the signal Sa is delayed and combined with appropriate amplitude adjustment to generate the reproduction signal RF.
  • the equalizers 102 and 103 and the delay circuit 106 in FIG. 7 described above, and the subtractor circuit 105 and the adder circuits 101 and 107 used for signal synthesis have a high frequency band in which the reproduction signal of the optical disk is several MHz to several tens of MHz. Since it is a signal, it is difficult to configure it with an analog circuit, but in any case, it is easy to configure it by using a digital circuit such as FIR (Finite Impulse Response).
  • FIR Finite Impulse Response
  • the gain, phase, or delay amount can be given by setting the tap coefficient of the FIR circuit to an appropriate value.
  • FIG. 9 shows a reproduction signal detection circuit 58 that can be used in place of the reproduction signal detection circuit 58 of FIG.
  • the reproduction signal detection circuit 58 shown in FIG. 9 includes the equalizers 102 and 103, the delay circuit 106, and the gain adjuster 104 having a gain K, which are constituted by FIR circuits with variable tap coefficients, and Viterbi demodulation using binarized data. It is the figure which showed the basic concept of the signal processing which optimizes the said gain, the said phase, and the said delay amount using a system, and automatically equalizes the reproduction signal RF.
  • An adaptive signal processing method such as an LMS (Least Mean Square) method is applied to the tap coefficient update processing.
  • the reproduction signal RF is decoded into binarized data BRF by a Viterbi decoder 108 as binarization means.
  • the Viterbi decoding PR class is selected to be close to the frequency characteristic of the ideal reproduction signal, and the binary data BFR output from the Viterbi decoder 108 is input to the LMS control circuit 109 serving as an adaptive equalization means.
  • the LMS control circuit 109 sequentially updates the tap coefficients of the respective FIR circuits so that the error between the target signal represented by the PR class and the reproduction signal RF is minimized.
  • the waveform equalization process of the reproduction signal RF is performed while adaptively changing the gain value and the delay amount of the delay circuit 106 according to the output of the Viterbi decoder 108.
  • an AD converter that converts an analog signal from the optical head device into a digital signal
  • a PLL Phase Locked Loop
  • a DC correction circuit for correcting the DC component is not described here because it is not a feature of the present invention.
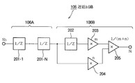
  • FIG. 10 is a block diagram showing an example of the delay circuit 106 formed of a digital circuit.
  • the present invention is not limited to this, but the feature of the illustrated configuration is that a delay amount is given in units of one clock or less.
  • the illustrated delay circuit 106 includes a first portion 106A intended to provide a relatively large delay for N clock cycles and a second portion 106B intended to provide a delay amount of one clock cycle or less.
  • first part constitutes the front part and the second part constitutes the rear part.
  • the first part is arranged in the rear stage and the second part is arranged in the front stage. Also good.
  • the first portion 106A is formed by serially connecting first to N-th delay units 201-1 to 201-N each having a delay time of one clock period, which is common in a digital circuit.
  • the output of the first part 106A is input to the second part 106B, branched into two, one of which is delayed by one clock by the delay unit 202, and then gain m times by the gain adjuster 203,
  • the gain adjuster 204 gives an n-fold gain (without delaying the other), and the synthesizer 205 adds them to give 1 / (m + n) times.
  • N, m, and n are determined according to a delay amount required for waveform equalization. That is, N, m, and n are controlled by the LMS control circuit 109 in the configuration applying the LMS method described in FIG.
  • the super-resolution signal component and the normal-resolution signal component included in the reproduction signal of the super-resolution disk are separated, and the return light beam is separated.

Landscapes

  • Engineering & Computer Science (AREA)
  • Signal Processing (AREA)
  • Physics & Mathematics (AREA)
  • Probability & Statistics with Applications (AREA)
  • Optics & Photonics (AREA)
  • Optical Recording Or Reproduction (AREA)
  • Optical Head (AREA)
  • Optical Record Carriers And Manufacture Thereof (AREA)
PCT/JP2010/003430 2009-05-25 2010-05-21 光ディスク装置 Ceased WO2010137270A1 (ja)

Priority Applications (3)

Application Number Priority Date Filing Date Title
US13/258,538 US8339909B2 (en) 2009-05-25 2010-05-21 Optical disc device
CN201080018641.XA CN102414748B (zh) 2009-05-25 2010-05-21 光盘装置
DE112010002078.7T DE112010002078B4 (de) 2009-05-25 2010-05-21 Optikdiscvorrichtung

Applications Claiming Priority (2)

Application Number Priority Date Filing Date Title
JP2009125177A JP5404181B2 (ja) 2009-05-25 2009-05-25 光ディスク装置
JP2009-125177 2009-05-25

Publications (1)

Publication Number Publication Date
WO2010137270A1 true WO2010137270A1 (ja) 2010-12-02

Family

ID=43222398

Family Applications (1)

Application Number Title Priority Date Filing Date
PCT/JP2010/003430 Ceased WO2010137270A1 (ja) 2009-05-25 2010-05-21 光ディスク装置

Country Status (5)

Country Link
US (1) US8339909B2 (enExample)
JP (1) JP5404181B2 (enExample)
CN (1) CN102414748B (enExample)
DE (1) DE112010002078B4 (enExample)
WO (1) WO2010137270A1 (enExample)

Families Citing this family (2)

* Cited by examiner, † Cited by third party
Publication number Priority date Publication date Assignee Title
JP5404181B2 (ja) 2009-05-25 2014-01-29 三菱電機株式会社 光ディスク装置
CN110415732B (zh) * 2018-04-26 2021-03-30 中国科学院上海光学精密机械研究所 一种超分辨光盘的径向伺服装置及其伺服控制方法

Citations (4)

* Cited by examiner, † Cited by third party
Publication number Priority date Publication date Assignee Title
JP2004079067A (ja) * 2002-08-15 2004-03-11 National Institute Of Advanced Industrial & Technology 光再生装置
JP2008165925A (ja) * 2006-12-28 2008-07-17 Hitachi Ltd 光ディスク装置
JP2008243340A (ja) * 2007-03-29 2008-10-09 Institute Of National Colleges Of Technology Japan 光ディスク用再生等化方法および再生等化回路
JP2008282485A (ja) * 2007-05-11 2008-11-20 National Institute Of Advanced Industrial & Technology 光ディスクの信号処理方法及び装置

Family Cites Families (5)

* Cited by examiner, † Cited by third party
Publication number Priority date Publication date Assignee Title
JPS5982337U (ja) * 1982-11-22 1984-06-04 ソニー株式会社 光学式ピツクアツプ
DE60106987T2 (de) * 2000-01-06 2005-03-31 Samsung Electronics Co., Ltd., Suwon Opischer Abtastkopf
JP4024559B2 (ja) * 2002-03-04 2007-12-19 独立行政法人産業技術総合研究所 光再生装置および光再生方法
US7830766B2 (en) * 2006-03-14 2010-11-09 Ricoh Company, Ltd. Data reproduction method and apparatus, disk, and recording/reproduction apparatus, using PRML method
JP5404181B2 (ja) 2009-05-25 2014-01-29 三菱電機株式会社 光ディスク装置

Patent Citations (4)

* Cited by examiner, † Cited by third party
Publication number Priority date Publication date Assignee Title
JP2004079067A (ja) * 2002-08-15 2004-03-11 National Institute Of Advanced Industrial & Technology 光再生装置
JP2008165925A (ja) * 2006-12-28 2008-07-17 Hitachi Ltd 光ディスク装置
JP2008243340A (ja) * 2007-03-29 2008-10-09 Institute Of National Colleges Of Technology Japan 光ディスク用再生等化方法および再生等化回路
JP2008282485A (ja) * 2007-05-11 2008-11-20 National Institute Of Advanced Industrial & Technology 光ディスクの信号処理方法及び装置

Also Published As

Publication number Publication date
US20120014237A1 (en) 2012-01-19
US8339909B2 (en) 2012-12-25
JP2010272188A (ja) 2010-12-02
DE112010002078B4 (de) 2021-10-28
DE112010002078T5 (de) 2012-09-13
JP5404181B2 (ja) 2014-01-29
CN102414748B (zh) 2014-07-16
CN102414748A (zh) 2012-04-11

Similar Documents

Publication Publication Date Title
JP5045448B2 (ja) 信号処理回路、信号処理方法、再生装置
JP6167918B2 (ja) 光媒体再生装置および光媒体再生方法
JP6489126B2 (ja) 光媒体再生装置および光媒体再生方法
JP4903081B2 (ja) 光ディスク媒体及びトラッキング方法
CN107251140A (zh) 数据检测装置、再现装置以及数据检测方法
JP5766281B2 (ja) 信号処理装置、信号処理方法、及び光ディスク装置
JP5404181B2 (ja) 光ディスク装置
WO2015022767A1 (ja) 光媒体再生装置および光媒体再生方法
CN101211599B (zh) 光盘装置
JP6123821B2 (ja) 光媒体再生装置及び光媒体再生方法
JP2883538B2 (ja) 光学的情報再生装置
JP5623097B2 (ja) 情報再生方法及び装置、並びに光ディスク装置
JP4877933B2 (ja) 情報再生装置
JP5320567B2 (ja) 光ディスク用再生等化方法および再生等化回路
JP6551418B2 (ja) 光媒体再生装置及び光媒体再生方法
JP2002298363A (ja) クロストーク除去装置及び情報再生装置
JP5230524B2 (ja) 光ヘッド装置及び光ディスク装置
JP2004241086A (ja) 光磁気記録媒体
JP2006331535A (ja) ウォブル信号検出方法および装置、オフセット検出方法および回路、トラッキング誤差信号検出装置、クロック生成回路、ウォブル情報検出回路、情報記録/再生装置
JP2001202627A (ja) 光ディスク装置
Chen et al. System design for double-layer Blu-ray Disc recorders
JP2011216170A (ja) 情報再生装置および情報再生方法
JP2004241085A (ja) 光学ピックアップ装置及び再生方法

Legal Events

Date Code Title Description
WWE Wipo information: entry into national phase

Ref document number: 201080018641.X

Country of ref document: CN

121 Ep: the epo has been informed by wipo that ep was designated in this application

Ref document number: 10780231

Country of ref document: EP

Kind code of ref document: A1

WWE Wipo information: entry into national phase

Ref document number: 13258538

Country of ref document: US

WWE Wipo information: entry into national phase

Ref document number: 112010002078

Country of ref document: DE

Ref document number: 1120100020787

Country of ref document: DE

122 Ep: pct application non-entry in european phase

Ref document number: 10780231

Country of ref document: EP

Kind code of ref document: A1