USRE45329E1 - Centrifugally cast pole and method - Google Patents

Centrifugally cast pole and method Download PDF

Info

Publication number
USRE45329E1
USRE45329E1 US14/272,076 US201414272076A USRE45329E US RE45329 E1 USRE45329 E1 US RE45329E1 US 201414272076 A US201414272076 A US 201414272076A US RE45329 E USRE45329 E US RE45329E
Authority
US
United States
Prior art keywords
pole
pole member
hollow
wall thickness
mold
Prior art date
Legal status (The legal status is an assumption and is not a legal conclusion. Google has not performed a legal analysis and makes no representation as to the accuracy of the status listed.)
Expired - Fee Related, expires
Application number
US14/272,076
Inventor
Tom W. Waugh
Current Assignee (The listed assignees may be inaccurate. Google has not performed a legal analysis and makes no representation or warranty as to the accuracy of the list.)
Individual
Original Assignee
Individual
Priority date (The priority date is an assumption and is not a legal conclusion. Google has not performed a legal analysis and makes no representation as to the accuracy of the date listed.)
Filing date
Publication date
Family has litigation
First worldwide family litigation filed litigation Critical https://patents.darts-ip.com/?family=38957482&utm_source=google_patent&utm_medium=platform_link&utm_campaign=public_patent_search&patent=USRE45329(E1) "Global patent litigation dataset” by Darts-ip is licensed under a Creative Commons Attribution 4.0 International License.
Application filed by Individual filed Critical Individual
Priority to US14/272,076 priority Critical patent/USRE45329E1/en
Application granted granted Critical
Publication of USRE45329E1 publication Critical patent/USRE45329E1/en
Expired - Fee Related legal-status Critical Current
Adjusted expiration legal-status Critical

Links

Images

Classifications

    • BPERFORMING OPERATIONS; TRANSPORTING
    • B22CASTING; POWDER METALLURGY
    • B22DCASTING OF METALS; CASTING OF OTHER SUBSTANCES BY THE SAME PROCESSES OR DEVICES
    • B22D13/00Centrifugal casting; Casting by using centrifugal force
    • B22D13/02Centrifugal casting; Casting by using centrifugal force of elongated solid or hollow bodies, e.g. pipes, in moulds rotating around their longitudinal axis
    • B22D13/023Centrifugal casting; Casting by using centrifugal force of elongated solid or hollow bodies, e.g. pipes, in moulds rotating around their longitudinal axis the longitudinal axis being horizontal
    • BPERFORMING OPERATIONS; TRANSPORTING
    • B62LAND VEHICLES FOR TRAVELLING OTHERWISE THAN ON RAILS
    • B62DMOTOR VEHICLES; TRAILERS
    • B62D1/00Steering controls, i.e. means for initiating a change of direction of the vehicle
    • B62D1/02Steering controls, i.e. means for initiating a change of direction of the vehicle vehicle-mounted
    • B62D1/16Steering columns
    • B62D1/18Steering columns yieldable or adjustable, e.g. tiltable
    • B62D1/185Steering columns yieldable or adjustable, e.g. tiltable adjustable by axial displacement, e.g. telescopically
    • BPERFORMING OPERATIONS; TRANSPORTING
    • B22CASTING; POWDER METALLURGY
    • B22DCASTING OF METALS; CASTING OF OTHER SUBSTANCES BY THE SAME PROCESSES OR DEVICES
    • B22D13/00Centrifugal casting; Casting by using centrifugal force
    • B22D13/12Controlling, supervising, specially adapted to centrifugal casting, e.g. for safety reasons
    • BPERFORMING OPERATIONS; TRANSPORTING
    • B62LAND VEHICLES FOR TRAVELLING OTHERWISE THAN ON RAILS
    • B62DMOTOR VEHICLES; TRAILERS
    • B62D1/00Steering controls, i.e. means for initiating a change of direction of the vehicle
    • B62D1/02Steering controls, i.e. means for initiating a change of direction of the vehicle vehicle-mounted
    • B62D1/16Steering columns
    • B62D1/18Steering columns yieldable or adjustable, e.g. tiltable
    • B62D1/181Steering columns yieldable or adjustable, e.g. tiltable with power actuated adjustment, e.g. with position memory
    • EFIXED CONSTRUCTIONS
    • E04BUILDING
    • E04BGENERAL BUILDING CONSTRUCTIONS; WALLS, e.g. PARTITIONS; ROOFS; FLOORS; CEILINGS; INSULATION OR OTHER PROTECTION OF BUILDINGS
    • E04B1/00Constructions in general; Structures which are not restricted either to walls, e.g. partitions, or floors or ceilings or roofs
    • E04B1/18Structures comprising elongated load-supporting parts, e.g. columns, girders, skeletons
    • E04B1/24Structures comprising elongated load-supporting parts, e.g. columns, girders, skeletons the supporting parts consisting of metal
    • EFIXED CONSTRUCTIONS
    • E04BUILDING
    • E04CSTRUCTURAL ELEMENTS; BUILDING MATERIALS
    • E04C3/00Structural elongated elements designed for load-supporting
    • E04C3/30Columns; Pillars; Struts
    • E04C3/32Columns; Pillars; Struts of metal
    • FMECHANICAL ENGINEERING; LIGHTING; HEATING; WEAPONS; BLASTING
    • F16ENGINEERING ELEMENTS AND UNITS; GENERAL MEASURES FOR PRODUCING AND MAINTAINING EFFECTIVE FUNCTIONING OF MACHINES OR INSTALLATIONS; THERMAL INSULATION IN GENERAL
    • F16CSHAFTS; FLEXIBLE SHAFTS; ELEMENTS OR CRANKSHAFT MECHANISMS; ROTARY BODIES OTHER THAN GEARING ELEMENTS; BEARINGS
    • F16C29/00Bearings for parts moving only linearly
    • F16C29/001Bearings for parts moving only linearly adjustable for alignment or positioning
    • FMECHANICAL ENGINEERING; LIGHTING; HEATING; WEAPONS; BLASTING
    • F16ENGINEERING ELEMENTS AND UNITS; GENERAL MEASURES FOR PRODUCING AND MAINTAINING EFFECTIVE FUNCTIONING OF MACHINES OR INSTALLATIONS; THERMAL INSULATION IN GENERAL
    • F16CSHAFTS; FLEXIBLE SHAFTS; ELEMENTS OR CRANKSHAFT MECHANISMS; ROTARY BODIES OTHER THAN GEARING ELEMENTS; BEARINGS
    • F16C29/00Bearings for parts moving only linearly
    • F16C29/02Sliding-contact bearings
    • FMECHANICAL ENGINEERING; LIGHTING; HEATING; WEAPONS; BLASTING
    • F16ENGINEERING ELEMENTS AND UNITS; GENERAL MEASURES FOR PRODUCING AND MAINTAINING EFFECTIVE FUNCTIONING OF MACHINES OR INSTALLATIONS; THERMAL INSULATION IN GENERAL
    • F16CSHAFTS; FLEXIBLE SHAFTS; ELEMENTS OR CRANKSHAFT MECHANISMS; ROTARY BODIES OTHER THAN GEARING ELEMENTS; BEARINGS
    • F16C29/00Bearings for parts moving only linearly
    • F16C29/12Arrangements for adjusting play
    • F16C29/123Arrangements for adjusting play using elastic means
    • FMECHANICAL ENGINEERING; LIGHTING; HEATING; WEAPONS; BLASTING
    • F16ENGINEERING ELEMENTS AND UNITS; GENERAL MEASURES FOR PRODUCING AND MAINTAINING EFFECTIVE FUNCTIONING OF MACHINES OR INSTALLATIONS; THERMAL INSULATION IN GENERAL
    • F16CSHAFTS; FLEXIBLE SHAFTS; ELEMENTS OR CRANKSHAFT MECHANISMS; ROTARY BODIES OTHER THAN GEARING ELEMENTS; BEARINGS
    • F16C35/00Rigid support of bearing units; Housings, e.g. caps, covers
    • F16C35/02Rigid support of bearing units; Housings, e.g. caps, covers in the case of sliding-contact bearings
    • FMECHANICAL ENGINEERING; LIGHTING; HEATING; WEAPONS; BLASTING
    • F16ENGINEERING ELEMENTS AND UNITS; GENERAL MEASURES FOR PRODUCING AND MAINTAINING EFFECTIVE FUNCTIONING OF MACHINES OR INSTALLATIONS; THERMAL INSULATION IN GENERAL
    • F16CSHAFTS; FLEXIBLE SHAFTS; ELEMENTS OR CRANKSHAFT MECHANISMS; ROTARY BODIES OTHER THAN GEARING ELEMENTS; BEARINGS
    • F16C43/00Assembling bearings
    • F16C43/02Assembling sliding-contact bearings
    • BPERFORMING OPERATIONS; TRANSPORTING
    • B22CASTING; POWDER METALLURGY
    • B22DCASTING OF METALS; CASTING OF OTHER SUBSTANCES BY THE SAME PROCESSES OR DEVICES
    • B22D13/00Centrifugal casting; Casting by using centrifugal force
    • B22D13/02Centrifugal casting; Casting by using centrifugal force of elongated solid or hollow bodies, e.g. pipes, in moulds rotating around their longitudinal axis
    • FMECHANICAL ENGINEERING; LIGHTING; HEATING; WEAPONS; BLASTING
    • F16ENGINEERING ELEMENTS AND UNITS; GENERAL MEASURES FOR PRODUCING AND MAINTAINING EFFECTIVE FUNCTIONING OF MACHINES OR INSTALLATIONS; THERMAL INSULATION IN GENERAL
    • F16CSHAFTS; FLEXIBLE SHAFTS; ELEMENTS OR CRANKSHAFT MECHANISMS; ROTARY BODIES OTHER THAN GEARING ELEMENTS; BEARINGS
    • F16C2326/00Articles relating to transporting
    • F16C2326/20Land vehicles
    • F16C2326/24Steering systems, e.g. steering rods or columns

Definitions

  • This invention relates generally to hollow structural members and more specifically to hollow utility poles having tapered external dimensions and substantially uniform wall thickness.
  • Steel utility poles are currently available in the market. Steel poles are typically produced by cutting thin and malleable steel plates and forming the plates, using metal brakes and other hot and/or cold metal shaping methods, into two multi-sided halves which are then welded together. Such poles are quite expensive to produce and, as a consequence of the thin walls necessary to form them, result in poles having relatively large base diameters in order to achieve the necessary strength to be used in high stress, high lateral-force situations such as those subject to utility poles. Further, wall thickness can be varied only sectionally, if at all.
  • Aluminum alloy utility poles are also available. However, these poles are generally appropriate for low stress, single-use application, such as highway lighting. Further, aluminum poles are not currently formed by centrifugal casting methods and are typically produced by hot or cold metal-shaping methods. Moreover, aluminum poles do not have the necessary qualities or strength to be used in high lateral-force environments, such as those to which utility poles are subjected.
  • Ductile iron has characteristics which are ideal for use in the utility pole environment. For example, ductile iron has a superior strength/weight ratio, is machineable, resilient (as opposed to brittle), has favorable damping properties, is rust proof and is cheaper than aluminum and concrete. Therefore, if centrifugally cast into geometric shapes necessary for utility pole applications, ductile iron would provide a virtually maintenance free, extremely long life (many 100+ year old ductile iron water mains are still in use), low cost utility pole which effectively overcomes the problems and difficulties associated with other utility poles as discussed hereinabove.
  • Centrifugal casting offers additional benefits over alternative production techniques such as metal forming. For instance, centrifugal casting produces a seamless pole, which ensures overall strength in high stress, high lateral-force environments. Furthermore, centrifugal casting allows a large volume of poles to be produced inexpensively through a mechanized process involving little human labor. Since long, seamless sections can be cast in a single pass, subsequent joining procedures during manufacture or field installation are reduced or eliminated. Also, centrifugal casting produces a much more precise pole than that created through metal forming, and is capable of producing poles within tolerances of 0.001 mm. In summary, centrifugal casting produces stronger, less labor-intensive poles that are more easily mass produced for a wider variety of applications.
  • centrifugal casting of tapered metal utility poles has been limited by the casting technology.
  • Single-speed casting methods such as that disclosed in Applicant's prior U.S. Pat. No. 5,784,851
  • centrifugal casting of tapered poles was only slightly more versatile than metal rolling, though there are other advantages mentioned hereinabove.
  • poles can be formed with walls that are thick at bottom and thin at top, that vary in thickness at specified points, or that are substantially uniform in wall thickness along the long axis of the pole.
  • the present invention allows production of poles that fulfill specific application requirements. For example, while some applications require variable thicknesses (thin at the top, thick at the ground line to resist line loads and corrosion), other applications may require uniform thickness for maximized structural support.
  • the present invention also fulfills applications that require extreme or variable heights, in that the poles may be cast with slip-jointed pole sections, whereby the tapered section of one pole can be secured into the butt end of another pole to reach specified effective pole lengths. Additionally, special applications may require further enhancement of the pole during or post-casting including, but not limited to, wind-resistant texturing, mount flanges, hardware and fixture access holes or panels, and top-end caps.
  • the present invention relates to a centrifugally cast hollow pole having a wall thickness which is substantially uniform along the long axis of the pole.
  • a conically tubular pole having tapered external dimensions and a substantially uniform wall thickness along the long axis of the pole is produced via centrifugal casting, whereby molten metal is poured inside a rotating, tapered mold. As chilled liquid is poured over the outside of the rotating mold, the metal forms, or paints, to the contour of the mold interior creating a metal pole.
  • casting gyrations such as the spin, travel, pitch, and yaw of the rotating mold and the calibration and physical mechanisms of the casting machine, hollow, tapered, tubular metal poles are produced with previously unknown uniformity of wall thickness.
  • the controlling principles, designs, and mechanisms of this centrifugal casting method enable wall uniformity to extremely high tolerances. By extension, the ability to precisely control the metal volume painted inside the mold allows, as a design choice, wall thickness variation in any embodiment if so desired.
  • the ability of this new method to produce uniform wall thicknesses is especially important in applications where lateral forces can cause disastrous utility pole failure, such as by hurricane-force winds.
  • Another important advantage of the present invention is the centrifugal casting of poles utilizing any molten materials such as ductile iron, steel, aluminum, or castable composite material, thereby rendering the pole virtually maintenance free and impervious to ground line decay, fungus, humidity, animal damage and other causes of deterioration.
  • a further advantage of the present invention is that a pole centrifugally cast of ductile iron would be comparatively lightweight, would have the physical strength of mild steel with the long life expectancy of gray cast iron, would be virtually unbreakable in ordinary service and would be 100% salvageable.
  • Yet another advantage of the present invention is that a pole centrifugally cast of ductile iron would offer the greatest possible margin of safety against service failure due to ground movement and beam stresses and would provide increased resistance to breakage caused by handling, shipping and installation.
  • An important advantage of the present invention is that molds can be produced by welding, flanging or threading shorter sections together into a single molding tube.
  • the invention is particularly advantageous in that a pole centrifugally cast can be direct buried or may be flanged for attachment to poured or preformed foundations.
  • a further advantage of the present invention is that the hollow design of a centrifugally cast pole allows for internal wiring of fixtures and other attachments to said pole.
  • An important improvement to the present invention is the provision of a texturing process during casting that augments the strength of the pole.
  • a mold with a textured interior wall surface may be utilized, thereby producing a final product with a pimpled exterior surface.
  • the resulting pimpled pole benefits through improved wind resistance in whatever embodiment and field of use.
  • the pole may also be cast in such a way that the wall thickness near the butt of the pole is sufficient to accommodate the formation, during the casting operation, of a slip joint having internal cross-sectional dimensions sufficient to allow the pole to slidably receive the top portion of another centrifugally cast pole whereby providing for virtually unlimited pole extensions.
  • an end cap can be designed for field installation to protect all internal hardware.
  • the present invention also addresses the post-cast annealing process in a new way.
  • This new method begins during casting, whereby mold-induced flanging of the large-diameter end of the tapered pole becomes, in effect, a control-point for hearing the pole through the annealing process.
  • the flange is simply a larger based circle, or ring, cast at the pole's large-diameter end.
  • this flanged ring is engaged by a control rail such that the pole can be run through a straight annealing furnace.
  • the tapered pole is prevented from inadvertently sliding or rolling from the conveyance as the pusher chains engage and move the pole through the furnace.
  • This ring also allows the pole to be placed inside of a straight pipe which rolls through the annealing furnace.
  • the present invention is not limited to use in the utility pole field. Rather, the present invention may be advantageous wherever a structural pole member is needed.
  • the present invention could be used as a tapered support piling.
  • the tapered shape of the piling would impart the necessary load capacity while minimizing the piling's embedment in the bearing stratum.
  • the tapered shape would also require less concrete volume to fill than a traditional cylindrical piling.
  • the piling could be pimpled on its surface to enhance the load bearing capacity of the piling.
  • ductile iron would be an ideal choice for pilings because of its compressive strength and corrosion resistance.
  • FIG. 1 is a side view of an embodiment of the invention showing the invention in a direct burial configuration.
  • FIG. 2 is a side view of the embodiment of FIG. 1 showing the invention in a flanged, based or foundation-mounted configuration.
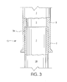
  • FIG. 3 is a side view of the invention, partially sectioned, showing the slip joint design of the invention used for extended height.
  • FIG. 4 is a diagrammatic view of a typical centrifugal casting machine being used to cast an embodiment of the invention. Also shown, in partial longitudinal section is the tapered mold.
  • FIG. 5 illustrates the use of the running ring and the third rail being used to control the tapered pole as it rolls through an annealing furnace.
  • FIG. 6 shows the effective use of a dimpled surface to create turbulence, thereby reducing wind loading on the pole during high wind conditions.
  • FIG. 7 shows the procedure required to produce a long tapered mold, which is machined inside.
  • FIG. 1 shows a hollow, centrifugally cast, utility pole 1 in a direct burial configuration according to an embodiment of the invention.
  • FIG. 2 shows the invention in a pedestal or foundation-mounted configuration according to a second embodiment of the invention.
  • the pole 1 of FIGS. 1 and 2 has been centrifugally cast in a manner which imparts a tapered shape to the external linear dimensions of the pole 1 from pole butt 2 to pole top 3 as shown.
  • the tapered shape of the pole 1 gives the pole 1 added strength and also saves raw materials during the casting operation.
  • the embodiments of FIGS. 1 and 2 further comprise a pole cap 4 and pre-drilled or field modified holes 5 for attachment of typical utility pole hardware and fixtures.
  • Also shown in the embodiment of FIG. 1 is an access panel 6 .
  • Said panel 6 is located near the bottom interior or core 7 of the pole 1 in situations where internal hardware such as cables or wires have been installed within said hollow core 7 .
  • the centrifugal casting of the tapered pole 1 provides for the controlled wall thickness 8 along the entire length of the pole 1 whereby the wall thickness imparted to the pole 1 is controlled by design from pole top 3 to pole butt 2 .
  • This controlled wall thickness 8 provides greater design flexibility and strength to the pole 1 .
  • FIG. 2 shows the pole 1 with a flange 9 at its butt 2 to enable the pole 1 to be mounted and secured to a foundation 10 or other pedestal-type apparatus.
  • the pole 1 is shown secured to the foundation 10 by a plurality of bolts 11 and nuts 12 .
  • FIG. 3 shows the press-fit, slip-joint 13 configuration of the invention used to interconnect two or more cast pole 1 sections for extended height.
  • the slip-joint 13 comprises a tapered, centrifugally cast, utility pole 1 , according to the invention, wherein the internal core 7 diameter of the pole 1 , beginning at the butt 2 of the pole 1 and extending internally linearly along a portion of the length of the pole 1 , has been cast to have internal dimensions which allow the butt 2 of the pole 1 to slidably engage the top portion 3 A of another centrifugally cast tapered pole 1 A.
  • Such interconnection provides for virtually unlimited extensions of pole 1 height.
  • FIG. 4 shows a typical centrifugal casting machine 14 being used to cast an embodiment of the invention.
  • An internally tapered mold 15 is similar to conventional centrifugal casting molds with the exception of the internal linear dimensions of the mold 15 as shown in the longitudinal cross-section of the mold 15 is generally circular in form, however, the internal surface of the mold 15 could be modified to produce tapered poles having multisided dimensions such as poles with generally square or polygonal cross-sections.
  • an internally tapered chill-type mold 15 is used to impart a tapered external shape to the pole 1 .
  • the overall wall thickness 8 ( FIGS. 1 and 2 ) of the pole 1 may be varied during the casting operation by the pouring rate of material 16 allowed to enter the centrifugal casting mold 15 and by varying the RPM of the motor 17 also by the travel speed of the machine 18 .
  • FIG. 4 Also shown in FIG. 4 is a core mold 19 used to form the slip-joint 13 ( FIG. 3 ) of the invention during the centrifugal casting process.
  • said core mold 19 is inserted into the mold 15 at the butt 2 ( FIGS. 1 and 2 ) of the pole 1 being centrifugally cast.
  • the core mold 19 causes the core 7 ( FIGS. 1 and 2 ) diameter of the cast pole 1 to be uniformly controlled along the length of said core mold 19 .
  • the core 7 ( FIGS. 1 and 2 ) diameter formed by the use of said core mold 19 during the centrifugal casting process is sufficient to enable the butt 2 ( FIGS. 1 and 2 ) of the pole 1 after casting to slidably engage the top portion 3 A ( FIG. 3 ) of another centrifugally cast pole 1 A ( FIG. 3 ).
  • FIG. 5 shows tapered pole 1 as it is pushed through the annealing furnace by pusher chains 20 and 21 along running rails 22 , 23 and 24 .
  • running ring 25 engages the third running rail 24 , thereby allowing the tapered pole 1 to run essentially straight through an annealing furnace.
  • the running ring 25 also allows for tapered pole 1 to be inserted into a conventional round pipe and carried thru an annealing furnace.
  • FIG. 6 shows texture (pimples) 26 , which are cast into the surface of the pole's exterior during the manufacturing process. These pimples 26 are effective in reducing wind resistance on the face of the pole.
  • FIG. 7 illustrates one method of producing a tapered mold 15 .
  • the tapered mold 15 is made by matching various short tapered tubes 27 , 28 , 29 , and 30 that have been machined prior to being welded into one long section, eliminating the need to bore long tapered I.D. holes.

Landscapes

  • Engineering & Computer Science (AREA)
  • Mechanical Engineering (AREA)
  • General Engineering & Computer Science (AREA)
  • Architecture (AREA)
  • Structural Engineering (AREA)
  • Civil Engineering (AREA)
  • Combustion & Propulsion (AREA)
  • Transportation (AREA)
  • Chemical & Material Sciences (AREA)
  • Physics & Mathematics (AREA)
  • Electromagnetism (AREA)
  • Manufacturing Of Tubular Articles Or Embedded Moulded Articles (AREA)
  • Suspension Of Electric Lines Or Cables (AREA)
  • Rod-Shaped Construction Members (AREA)
  • Wind Motors (AREA)
  • Moulding By Coating Moulds (AREA)
  • Manufacture Of Motors, Generators (AREA)

Abstract

Herein disclosed is a centrifugally cast pole having a substantially uniform wall thickness along the long axis of the pole. During centrifugal casting, molten metal is poured inside a rotating, tapered mold. As chilled liquid is poured over the outside of the rotating mold, the metal forms, or paints, to the contour of the mold interior creating a metal pole. By precisely controlling casting gyrations such as the spin, travel, pitch, and yaw of the rotating mold and the calibration and physical mechanisms of the casting machine, hollow, tapered, tubular metal poles are produced with previously unknown uniformity of wall thickness. The controlling principles, designs, and mechanisms of this centrifugal casting method enable wall uniformity to extremely high tolerances. By extension, the ability to precisely control the metal volume painted inside the mold allows, as a design choice, wall thickness variation in any embodiment if so desired.

Description

BACKGROUND OF THE INVENTION
1. Field of the Invention
This invention relates generally to hollow structural members and more specifically to hollow utility poles having tapered external dimensions and substantially uniform wall thickness.
2. Description of the Prior Art
The geometric shape of tapered poles in high stress, high lateral-force environments typically encountered in the utility industry inherently provides the greatest cross-sectional strength at or near the base of the pole where reactive forces tend to combine and converge.
Problems associated with the use of wooden poles within the utility industry are numerous and well documented. These problems include ground line decay, the tendency of wooden poles to bend or arc under high lateral forces (thereby requiring the use of guying cables, anchors and other auxiliary hardware), deterioration caused by birds and other animals, vibration damage to attached hardware and fixtures, shortages of suitable trees for producing large poles, and high breakage rate due to natural and manmade forces. Additionally, wooden poles as a general rule must be replaced after approximately 20-30 years of service. Of particular note, replacement and disposal of wooden poles is a mounting, exorbitant liability for companies, especially when these poles cannot be incinerated due to regulatory mandates. Further, some utility companies have resorted to wrapping their wooden poles in wire mesh to prevent damage to the poles by birds and other animals.
Other companies have resorted to using hollow concrete poles, particularly with regard to high voltage electric transmission systems, in order to overcome some of the difficulties associated with wooden poles. Concrete utility poles, however, are expensive to produce, are very heavy and require special heavy-duty equipment to load, transport, unload and install. Further, due to strength requirements, concrete poles are usually solid at the top, where the pole has its smallest diameter. Moreover, field modifications of concrete poles are generally very time consuming, cumbersome and thus very costly.
Steel utility poles are currently available in the market. Steel poles are typically produced by cutting thin and malleable steel plates and forming the plates, using metal brakes and other hot and/or cold metal shaping methods, into two multi-sided halves which are then welded together. Such poles are quite expensive to produce and, as a consequence of the thin walls necessary to form them, result in poles having relatively large base diameters in order to achieve the necessary strength to be used in high stress, high lateral-force situations such as those subject to utility poles. Further, wall thickness can be varied only sectionally, if at all.
Aluminum alloy utility poles are also available. However, these poles are generally appropriate for low stress, single-use application, such as highway lighting. Further, aluminum poles are not currently formed by centrifugal casting methods and are typically produced by hot or cold metal-shaping methods. Moreover, aluminum poles do not have the necessary qualities or strength to be used in high lateral-force environments, such as those to which utility poles are subjected.
Ductile iron has characteristics which are ideal for use in the utility pole environment. For example, ductile iron has a superior strength/weight ratio, is machineable, resilient (as opposed to brittle), has favorable damping properties, is rust proof and is cheaper than aluminum and concrete. Therefore, if centrifugally cast into geometric shapes necessary for utility pole applications, ductile iron would provide a virtually maintenance free, extremely long life (many 100+ year old ductile iron water mains are still in use), low cost utility pole which effectively overcomes the problems and difficulties associated with other utility poles as discussed hereinabove.
Centrifugal casting offers additional benefits over alternative production techniques such as metal forming. For instance, centrifugal casting produces a seamless pole, which ensures overall strength in high stress, high lateral-force environments. Furthermore, centrifugal casting allows a large volume of poles to be produced inexpensively through a mechanized process involving little human labor. Since long, seamless sections can be cast in a single pass, subsequent joining procedures during manufacture or field installation are reduced or eliminated. Also, centrifugal casting produces a much more precise pole than that created through metal forming, and is capable of producing poles within tolerances of 0.001 mm. In summary, centrifugal casting produces stronger, less labor-intensive poles that are more easily mass produced for a wider variety of applications.
Prior to the present invention, centrifugal casting of tapered metal utility poles (including ductile iron) has been limited by the casting technology. Single-speed casting methods (such as that disclosed in Applicant's prior U.S. Pat. No. 5,784,851) prevented the metal infusion from dispersing properly such that the amount painted on the inside of the mold as it spins and travels can be deposited end-to-end uniformly to high tolerances (0.001 mm.). This has meant that centrifugal casting of tapered poles was only slightly more versatile than metal rolling, though there are other advantages mentioned hereinabove. The present invention overcomes this limitation by introducing a variable-speed, variable-infusion casting method, whereby the metal-painting is precisely controlled by increasing or decreasing the metal pouring rate and the spin speed of the mold. Depending upon the desired specifications, poles can be formed with walls that are thick at bottom and thin at top, that vary in thickness at specified points, or that are substantially uniform in wall thickness along the long axis of the pole.
Further, the present invention allows production of poles that fulfill specific application requirements. For example, while some applications require variable thicknesses (thin at the top, thick at the ground line to resist line loads and corrosion), other applications may require uniform thickness for maximized structural support. The present invention also fulfills applications that require extreme or variable heights, in that the poles may be cast with slip-jointed pole sections, whereby the tapered section of one pole can be secured into the butt end of another pole to reach specified effective pole lengths. Additionally, special applications may require further enhancement of the pole during or post-casting including, but not limited to, wind-resistant texturing, mount flanges, hardware and fixture access holes or panels, and top-end caps.
SUMMARY OF THE INVENTION
In view of the foregoing, the present invention relates to a centrifugally cast hollow pole having a wall thickness which is substantially uniform along the long axis of the pole.
In one embodiment, a conically tubular pole having tapered external dimensions and a substantially uniform wall thickness along the long axis of the pole is produced via centrifugal casting, whereby molten metal is poured inside a rotating, tapered mold. As chilled liquid is poured over the outside of the rotating mold, the metal forms, or paints, to the contour of the mold interior creating a metal pole. By precisely controlling casting gyrations such as the spin, travel, pitch, and yaw of the rotating mold and the calibration and physical mechanisms of the casting machine, hollow, tapered, tubular metal poles are produced with previously unknown uniformity of wall thickness. The controlling principles, designs, and mechanisms of this centrifugal casting method enable wall uniformity to extremely high tolerances. By extension, the ability to precisely control the metal volume painted inside the mold allows, as a design choice, wall thickness variation in any embodiment if so desired.
It is an object of the present invention to provide a hollow, tapered pole which is easy and economical to produce having a wall thickness that is substantially uniform along the length of the pole. The ability of this new method to produce uniform wall thicknesses is especially important in applications where lateral forces can cause disastrous utility pole failure, such as by hurricane-force winds.
Another important advantage of the present invention is the centrifugal casting of poles utilizing any molten materials such as ductile iron, steel, aluminum, or castable composite material, thereby rendering the pole virtually maintenance free and impervious to ground line decay, fungus, humidity, animal damage and other causes of deterioration.
A further advantage of the present invention is that a pole centrifugally cast of ductile iron would be comparatively lightweight, would have the physical strength of mild steel with the long life expectancy of gray cast iron, would be virtually unbreakable in ordinary service and would be 100% salvageable.
Yet another advantage of the present invention is that a pole centrifugally cast of ductile iron would offer the greatest possible margin of safety against service failure due to ground movement and beam stresses and would provide increased resistance to breakage caused by handling, shipping and installation.
An important advantage of the present invention is that molds can be produced by welding, flanging or threading shorter sections together into a single molding tube.
The invention is particularly advantageous in that a pole centrifugally cast can be direct buried or may be flanged for attachment to poured or preformed foundations.
A further advantage of the present invention is that the hollow design of a centrifugally cast pole allows for internal wiring of fixtures and other attachments to said pole.
An important improvement to the present invention is the provision of a texturing process during casting that augments the strength of the pole. A mold with a textured interior wall surface may be utilized, thereby producing a final product with a pimpled exterior surface. The resulting pimpled pole benefits through improved wind resistance in whatever embodiment and field of use.
To enhance extreme height/extreme stress applications, the pole may also be cast in such a way that the wall thickness near the butt of the pole is sufficient to accommodate the formation, during the casting operation, of a slip joint having internal cross-sectional dimensions sufficient to allow the pole to slidably receive the top portion of another centrifugally cast pole whereby providing for virtually unlimited pole extensions.
Additionally, an end cap can be designed for field installation to protect all internal hardware.
The present invention also addresses the post-cast annealing process in a new way. This new method begins during casting, whereby mold-induced flanging of the large-diameter end of the tapered pole becomes, in effect, a control-point for hearing the pole through the annealing process. The flange is simply a larger based circle, or ring, cast at the pole's large-diameter end. Once the pole is removed from the mold, this flanged ring is engaged by a control rail such that the pole can be run through a straight annealing furnace. As the rail engages the running ring, the tapered pole is prevented from inadvertently sliding or rolling from the conveyance as the pusher chains engage and move the pole through the furnace. This ring also allows the pole to be placed inside of a straight pipe which rolls through the annealing furnace.
Lastly, it is noteworthy that the present invention is not limited to use in the utility pole field. Rather, the present invention may be advantageous wherever a structural pole member is needed. For instance, the present invention could be used as a tapered support piling. The tapered shape of the piling would impart the necessary load capacity while minimizing the piling's embedment in the bearing stratum. The tapered shape would also require less concrete volume to fill than a traditional cylindrical piling. Further, the piling could be pimpled on its surface to enhance the load bearing capacity of the piling. Finally, ductile iron would be an ideal choice for pilings because of its compressive strength and corrosion resistance.
BRIEF DESCRIPTION OF THE DRAWINGS
The foregoing and other objects, features, and advantages of the present invention will be apparent from the following more particular description of preferred embodiments as illustrated in the accompanying drawings in which reference characters refer to the same parts throughout the various views. The drawings are not necessarily to scale, emphasis instead being placed upon illustrating the principles of the invention.
FIG. 1 is a side view of an embodiment of the invention showing the invention in a direct burial configuration.
FIG. 2 is a side view of the embodiment of FIG. 1 showing the invention in a flanged, based or foundation-mounted configuration.
FIG. 3 is a side view of the invention, partially sectioned, showing the slip joint design of the invention used for extended height.
FIG. 4 is a diagrammatic view of a typical centrifugal casting machine being used to cast an embodiment of the invention. Also shown, in partial longitudinal section is the tapered mold.
FIG. 5 illustrates the use of the running ring and the third rail being used to control the tapered pole as it rolls through an annealing furnace.
FIG. 6 shows the effective use of a dimpled surface to create turbulence, thereby reducing wind loading on the pole during high wind conditions.
FIG. 7 shows the procedure required to produce a long tapered mold, which is machined inside.
DETAILED DESCRIPTION OF THE PREFERRED INVENTION
FIG. 1 shows a hollow, centrifugally cast, utility pole 1 in a direct burial configuration according to an embodiment of the invention. FIG. 2 shows the invention in a pedestal or foundation-mounted configuration according to a second embodiment of the invention. The pole 1 of FIGS. 1 and 2 has been centrifugally cast in a manner which imparts a tapered shape to the external linear dimensions of the pole 1 from pole butt 2 to pole top 3 as shown. The tapered shape of the pole 1 gives the pole 1 added strength and also saves raw materials during the casting operation. The embodiments of FIGS. 1 and 2 further comprise a pole cap 4 and pre-drilled or field modified holes 5 for attachment of typical utility pole hardware and fixtures. Also shown in the embodiment of FIG. 1 is an access panel 6. Said panel 6 is located near the bottom interior or core 7 of the pole 1 in situations where internal hardware such as cables or wires have been installed within said hollow core 7. The centrifugal casting of the tapered pole 1 provides for the controlled wall thickness 8 along the entire length of the pole 1 whereby the wall thickness imparted to the pole 1 is controlled by design from pole top 3 to pole butt 2. This controlled wall thickness 8 provides greater design flexibility and strength to the pole 1.
FIG. 2 shows the pole 1 with a flange 9 at its butt 2 to enable the pole 1 to be mounted and secured to a foundation 10 or other pedestal-type apparatus. In this embodiment, the pole 1 is shown secured to the foundation 10 by a plurality of bolts 11 and nuts 12.
FIG. 3 shows the press-fit, slip-joint 13 configuration of the invention used to interconnect two or more cast pole 1 sections for extended height. The slip-joint 13 comprises a tapered, centrifugally cast, utility pole 1, according to the invention, wherein the internal core 7 diameter of the pole 1, beginning at the butt 2 of the pole 1 and extending internally linearly along a portion of the length of the pole 1, has been cast to have internal dimensions which allow the butt 2 of the pole 1 to slidably engage the top portion 3A of another centrifugally cast tapered pole 1A. Such interconnection provides for virtually unlimited extensions of pole 1 height.
FIG. 4 shows a typical centrifugal casting machine 14 being used to cast an embodiment of the invention. An internally tapered mold 15 is similar to conventional centrifugal casting molds with the exception of the internal linear dimensions of the mold 15 as shown in the longitudinal cross-section of the mold 15 is generally circular in form, however, the internal surface of the mold 15 could be modified to produce tapered poles having multisided dimensions such as poles with generally square or polygonal cross-sections. In the preferred embodiment of pole 1, an internally tapered chill-type mold 15, is used to impart a tapered external shape to the pole 1. Depending on the particular application and strength required of the pole 1, the overall wall thickness 8 (FIGS. 1 and 2) of the pole 1 may be varied during the casting operation by the pouring rate of material 16 allowed to enter the centrifugal casting mold 15 and by varying the RPM of the motor 17 also by the travel speed of the machine 18.
Also shown in FIG. 4 is a core mold 19 used to form the slip-joint 13 (FIG. 3) of the invention during the centrifugal casting process. When desired, said core mold 19 is inserted into the mold 15 at the butt 2 (FIGS. 1 and 2) of the pole 1 being centrifugally cast. When present during the centrifugal casting operation, the core mold 19 causes the core 7 (FIGS. 1 and 2) diameter of the cast pole 1 to be uniformly controlled along the length of said core mold 19. The core 7 (FIGS. 1 and 2) diameter formed by the use of said core mold 19 during the centrifugal casting process is sufficient to enable the butt 2 (FIGS. 1 and 2) of the pole 1 after casting to slidably engage the top portion 3A (FIG. 3) of another centrifugally cast pole 1A (FIG. 3).
FIG. 5 shows tapered pole 1 as it is pushed through the annealing furnace by pusher chains 20 and 21 along running rails 22, 23 and 24. As tapered pole 1 begins to travels in a circular path along running rails 22, 23 and 24, running ring 25 engages the third running rail 24, thereby allowing the tapered pole 1 to run essentially straight through an annealing furnace. The running ring 25 also allows for tapered pole 1 to be inserted into a conventional round pipe and carried thru an annealing furnace.
FIG. 6 shows texture (pimples) 26, which are cast into the surface of the pole's exterior during the manufacturing process. These pimples 26 are effective in reducing wind resistance on the face of the pole.
FIG. 7 illustrates one method of producing a tapered mold 15. The tapered mold 15 is made by matching various short tapered tubes 27, 28, 29, and 30 that have been machined prior to being welded into one long section, eliminating the need to bore long tapered I.D. holes.
While the invention has been particularly shown and described with reference to the preferred embodiments thereof, it will be understood by those skilled in the art that various alterations in form, detail and construction may be made therein without departing from the spirit and scope of the invention.

Claims (13)

What is claimed is:
1. A centrifugally cast, hollow pole comprising:
an elongated, hollow, conically tapered pole member which is formed by centrifugal casting so as to have a substantially uniform wall thickness throughout the long axis of said pole member, said pole member comprising a plurality of asymmetric pimples extending away therefrom, that is formed by centrifugal casting.
2. The apparatus of claim 1, said pole member having a variable outside cross-sectional dimension that varies perpendicularly to said pole member's long axis.
3. The apparatus of claim 1, said pole member having a first end and a second end, said first end having an end cap.
4. The apparatus of claim 1, said pole member having a first end and a second end, said second end being flanged.
5. The apparatus of claim 1, said pole member having a first end and a second end, said first end having a slip joint with an internal cross-sectional dimension sufficient to allow said first end of said pole member to slidably receive the second end of another said pole member.
6. The apparatus of claim 1, wherein the apparatus is manufactured from a castable material.
7. The apparatus of claim 6, said castable material is selected from the group comprised of ductile iron, cast iron, steel or aluminum.
8. The apparatus of claim 1, said pole member including a panel to allow access to the hollow interior of said pole member.
9. A centrifugally cast, hollow pole comprising:
an elongated, hollow, conically tapered pole member which is formed by centrifugal casting so as to have a substantially uniform wall thickness throughout the long axis of said pole member, said pole member comprising an outer surface comprising a plurality of pimples extending away therefrom, said plurality of pimples are formed during the centrifugal casting of said member.
10. A centrifugally cast, hollow pole comprising:
an elongated, hollow pole member having a tapered outer diameter with a first end and a second end, the first end having a smaller outer diameter than the second end, wherein the hollow pole member is formed by centrifugal casting such that it has a substantially uniform wall thickness from a first location adjacent the first end to a second location adjacent the second end, and wherein a wall thickness at the second end is larger than the wall thickness between the first and second locations, the hollow pole member further comprising a running ring that extends outward from the second end, and a plurality of asymmetric pimples extending away from an outer surface of the pole member.
11. The apparatus of claim 10, further comprising a slip joint located along a portion of an inner diameter of the second end, the slip joint being configured to slidably receive the first end of another said pole member.
12. The apparatus of claim 10, wherein the pole member is formed from a castable metallic material.
13. The apparatus of claim 12, wherein said castable metallic material is selected from the group consisting of ductile iron, cast iron, steel and/or aluminum.
US14/272,076 2006-07-19 2014-05-07 Centrifugally cast pole and method Expired - Fee Related USRE45329E1 (en)

Priority Applications (1)

Application Number Priority Date Filing Date Title
US14/272,076 USRE45329E1 (en) 2006-07-19 2014-05-07 Centrifugally cast pole and method

Applications Claiming Priority (2)

Application Number Priority Date Filing Date Title
US11/458,407 US8567155B2 (en) 2006-07-19 2006-07-19 Centrifugally cast pole and method
US14/272,076 USRE45329E1 (en) 2006-07-19 2014-05-07 Centrifugally cast pole and method

Related Parent Applications (1)

Application Number Title Priority Date Filing Date
US11/458,407 Reissue US8567155B2 (en) 2006-07-19 2006-07-19 Centrifugally cast pole and method

Publications (1)

Publication Number Publication Date
USRE45329E1 true USRE45329E1 (en) 2015-01-13

Family

ID=38957482

Family Applications (5)

Application Number Title Priority Date Filing Date
US11/458,407 Ceased US8567155B2 (en) 2006-07-19 2006-07-19 Centrifugally cast pole and method
US13/289,430 Expired - Fee Related US8967231B2 (en) 2006-07-19 2011-11-04 Centrifugally cast pole and method
US14/272,076 Expired - Fee Related USRE45329E1 (en) 2006-07-19 2014-05-07 Centrifugally cast pole and method
US14/633,713 Expired - Fee Related US10060131B2 (en) 2006-07-19 2015-02-27 Centrifugally cast pole and method
US16/112,256 Abandoned US20180370560A1 (en) 2006-07-19 2018-08-24 Centrifugally cast pole and method

Family Applications Before (2)

Application Number Title Priority Date Filing Date
US11/458,407 Ceased US8567155B2 (en) 2006-07-19 2006-07-19 Centrifugally cast pole and method
US13/289,430 Expired - Fee Related US8967231B2 (en) 2006-07-19 2011-11-04 Centrifugally cast pole and method

Family Applications After (2)

Application Number Title Priority Date Filing Date
US14/633,713 Expired - Fee Related US10060131B2 (en) 2006-07-19 2015-02-27 Centrifugally cast pole and method
US16/112,256 Abandoned US20180370560A1 (en) 2006-07-19 2018-08-24 Centrifugally cast pole and method

Country Status (5)

Country Link
US (5) US8567155B2 (en)
EP (1) EP2047044B1 (en)
CN (2) CN101512077A (en)
ES (1) ES2651239T3 (en)
WO (1) WO2008011287A2 (en)

Cited By (1)

* Cited by examiner, † Cited by third party
Publication number Priority date Publication date Assignee Title
US10060131B2 (en) 2006-07-19 2018-08-28 Tom W. Waugh Centrifugally cast pole and method

Families Citing this family (15)

* Cited by examiner, † Cited by third party
Publication number Priority date Publication date Assignee Title
US8302368B1 (en) 2008-06-17 2012-11-06 Mcwane Global Interconnectable utility pole members
US8186417B2 (en) * 2008-09-30 2012-05-29 Gravcentri, Llc Saving energy and optimizing yield in metal casting using gravity and speed-controlled centrifugal feed system
USD629531S1 (en) 2009-03-03 2010-12-21 Mcwane Global Centrifugally cast ductile iron utility pole having stepped portions
USD617471S1 (en) 2009-03-06 2010-06-08 Mcwane Global Centrifugally cast ductile iron utility pole having stepped portions
USD624667S1 (en) 2009-03-19 2010-09-28 Mcwane Global Interconnected centrifugally cast, ductile iron utility pole members
US8186421B1 (en) * 2009-07-07 2012-05-29 Mcwane Global Coreless pole mold and method of making same
US8733424B1 (en) 2013-03-15 2014-05-27 United States Pipe And Foundry Company, Llc Centrifugal casting method and apparatus
US8910699B2 (en) 2013-03-15 2014-12-16 United States Pipe And Foundry Company, Llc Centrifugal casting method and apparatus
CN106605401A (en) * 2014-07-21 2017-04-26 迷你尛斯私人有限公司 Image capturing device and method
US9938611B2 (en) * 2014-07-28 2018-04-10 Pei Yu High strength nodular cast iron pole and preparation technology thereof
WO2017040035A1 (en) * 2015-08-28 2017-03-09 Respiraguard Dba Maple Mountain Composites Systems and methods for remote tower implementation
JP6866021B2 (en) * 2017-01-18 2021-04-28 株式会社熊谷組 How to join shaped steel
US10946438B2 (en) 2017-03-10 2021-03-16 8617490 Canada Inc. Tubular shape casting apparatus
DE102018220314A1 (en) * 2018-11-27 2020-05-28 Robert Bosch Gmbh Plain bearing bush for a steering system
US11491535B1 (en) 2021-07-12 2022-11-08 United States Pipe And Foundry Company, Llc Method and apparatus for estimating dimensional uniformity of cast object

Citations (36)

* Cited by examiner, † Cited by third party
Publication number Priority date Publication date Assignee Title
US31482A (en) 1861-02-19 Geidibow
US122656A (en) 1872-01-09 Improvement in telegraph-poles
US822499A (en) 1905-11-28 1906-06-05 John F Ancona Concrete structure.
US890373A (en) * 1907-10-09 1908-06-09 Robert S Orr Pole.
US1329295A (en) 1919-03-03 1920-01-27 Lavaud Dimitri Sensaud De Rotary casting
US2420298A (en) 1942-12-01 1947-05-13 Durward E Breakefield Method of centrifugal casting
US2577423A (en) 1949-05-31 1951-12-04 Nat Forge & Ordnance Company Pipe mold and method of making the same
US2623809A (en) 1949-05-02 1952-12-30 Perfect Circle Corp Centrifugal casting coating composition for centrifugal molds and method of coating molds
CA693708A (en) 1964-09-01 Powerlite Devices Limited Joint for metal poles
US3270480A (en) 1965-04-07 1966-09-06 Beecker William Tapered sectional support pole
US3791154A (en) 1973-03-02 1974-02-12 G Crain Mooring structure and method
US3792680A (en) 1971-06-07 1974-02-19 F Allen Flag pole
US3813837A (en) 1972-10-16 1974-06-04 Cascade Pole Co Fiberglass pole and method and apparatus for fabricating same
US3853418A (en) 1973-02-28 1974-12-10 Celanese Corp Safety support for use adjacent a vehicular trafficway
US3936206A (en) 1975-02-18 1976-02-03 Bruce-Lake Company Tubular pole slip joint construction
US4095643A (en) 1974-11-29 1978-06-20 American Cast Iron Pipe Company Agent feeder for pipe casting apparatus
US4157111A (en) * 1976-01-06 1979-06-05 Kubota, Ltd. Method of heat-treating ductile cast iron pipe
US4370719A (en) 1980-11-17 1983-01-25 Amsted Industries Incorporated Control of centrifugal pipe casting operation
US4388787A (en) 1979-05-30 1983-06-21 International Telephone And Telegraph Corporation Pole construction
US4401481A (en) 1980-01-10 1983-08-30 Morgan Construction Company Steel rod rolling process, product and apparatus
US4448610A (en) 1982-03-01 1984-05-15 Pont-A-Mousson S.A. Centrifugally cast tube of spheroidal graphite cast-iron and its method of manufacture
US4570698A (en) 1983-09-21 1986-02-18 Asea Aktiebolag Method of and apparatus for centrifugal casting
US4572278A (en) 1983-01-28 1986-02-25 Asea Aktiebolag Method for centrifugal casting
US4751804A (en) * 1985-10-31 1988-06-21 Cazaly Laurence G Utility pole
US5175971A (en) * 1991-06-17 1993-01-05 Mccombs P Roger Utility power pole system
US5343930A (en) 1992-03-30 1994-09-06 Daido Tokushuko Kabushiki Kaisha Centrifugal casting system having a carrier of elongated materials
US5492579A (en) 1994-02-09 1996-02-20 Shakespeare Company Method for making composite utility pole
US5513477A (en) 1995-02-28 1996-05-07 International Composites Systems, Llc Segmented, graded structural utility poles
US5784851A (en) 1996-04-23 1998-07-28 Waugh; Tom W. Centrifugally cast pole and method
US5964143A (en) 1998-04-03 1999-10-12 Signature Brands, Inc. Brewing appliance having a tower with a water reservoir and brewing basket and an adjacently positioned pitcher receptacle
US6253662B1 (en) 1998-12-21 2001-07-03 Steve Terry Zelson Coffee machine
US6739103B1 (en) * 2001-06-26 2004-05-25 Cw Ohio, Inc. Centrifugally cast hollow straight sided fiberglass reinforced columns
US6932143B2 (en) 2002-11-25 2005-08-23 Charles H. Noble Method and apparatus for centrifugal casting of metal
US7022270B2 (en) * 2002-05-22 2006-04-04 W. J. Whatley, Inc. Method of manufacturing composite utility poles
JP2006102428A (en) 2004-10-04 2006-04-20 Masao Kojima Coffee mill apparatus with dripper holding coffee filter
US7252033B1 (en) 2006-03-14 2007-08-07 Uni-Splendor Corp Automatic coffee maker

Family Cites Families (10)

* Cited by examiner, † Cited by third party
Publication number Priority date Publication date Assignee Title
US1551827A (en) 1921-12-14 1925-09-01 Us Cast Iron Pipe And Foundry Pipe-annealing furnace
US1897631A (en) 1931-05-09 1933-02-14 Us Pipe & Foundry Company Method for casting pipes
US3134147A (en) 1961-07-03 1964-05-26 Herman Pneumatic Machine Co Foundry method and apparatus
USRE31482E (en) 1977-03-17 1984-01-03 Method for centrifugal casting and articles so produced
FR2459698A1 (en) 1979-06-25 1981-01-16 Pont A Mousson METHOD AND INSTALLATION OF CENTRIFUGAL CASTING
JP3027532B2 (en) * 1995-12-26 2000-04-04 昭和電工株式会社 Manufacturing method of hydrogen storage alloy
RU2197587C1 (en) * 2001-07-25 2003-01-27 Гунгер Юрий Робертович Supporting structure for electric power line
US7762041B1 (en) * 2004-11-03 2010-07-27 Valmont Newmark, Inc. Hybrid metal pole
US8567155B2 (en) 2006-07-19 2013-10-29 Tom W Waugh Centrifugally cast pole and method
US8302368B1 (en) 2008-06-17 2012-11-06 Mcwane Global Interconnectable utility pole members

Patent Citations (36)

* Cited by examiner, † Cited by third party
Publication number Priority date Publication date Assignee Title
CA693708A (en) 1964-09-01 Powerlite Devices Limited Joint for metal poles
US122656A (en) 1872-01-09 Improvement in telegraph-poles
US31482A (en) 1861-02-19 Geidibow
US822499A (en) 1905-11-28 1906-06-05 John F Ancona Concrete structure.
US890373A (en) * 1907-10-09 1908-06-09 Robert S Orr Pole.
US1329295A (en) 1919-03-03 1920-01-27 Lavaud Dimitri Sensaud De Rotary casting
US2420298A (en) 1942-12-01 1947-05-13 Durward E Breakefield Method of centrifugal casting
US2623809A (en) 1949-05-02 1952-12-30 Perfect Circle Corp Centrifugal casting coating composition for centrifugal molds and method of coating molds
US2577423A (en) 1949-05-31 1951-12-04 Nat Forge & Ordnance Company Pipe mold and method of making the same
US3270480A (en) 1965-04-07 1966-09-06 Beecker William Tapered sectional support pole
US3792680A (en) 1971-06-07 1974-02-19 F Allen Flag pole
US3813837A (en) 1972-10-16 1974-06-04 Cascade Pole Co Fiberglass pole and method and apparatus for fabricating same
US3853418A (en) 1973-02-28 1974-12-10 Celanese Corp Safety support for use adjacent a vehicular trafficway
US3791154A (en) 1973-03-02 1974-02-12 G Crain Mooring structure and method
US4095643A (en) 1974-11-29 1978-06-20 American Cast Iron Pipe Company Agent feeder for pipe casting apparatus
US3936206A (en) 1975-02-18 1976-02-03 Bruce-Lake Company Tubular pole slip joint construction
US4157111A (en) * 1976-01-06 1979-06-05 Kubota, Ltd. Method of heat-treating ductile cast iron pipe
US4388787A (en) 1979-05-30 1983-06-21 International Telephone And Telegraph Corporation Pole construction
US4401481A (en) 1980-01-10 1983-08-30 Morgan Construction Company Steel rod rolling process, product and apparatus
US4370719A (en) 1980-11-17 1983-01-25 Amsted Industries Incorporated Control of centrifugal pipe casting operation
US4448610A (en) 1982-03-01 1984-05-15 Pont-A-Mousson S.A. Centrifugally cast tube of spheroidal graphite cast-iron and its method of manufacture
US4572278A (en) 1983-01-28 1986-02-25 Asea Aktiebolag Method for centrifugal casting
US4570698A (en) 1983-09-21 1986-02-18 Asea Aktiebolag Method of and apparatus for centrifugal casting
US4751804A (en) * 1985-10-31 1988-06-21 Cazaly Laurence G Utility pole
US5175971A (en) * 1991-06-17 1993-01-05 Mccombs P Roger Utility power pole system
US5343930A (en) 1992-03-30 1994-09-06 Daido Tokushuko Kabushiki Kaisha Centrifugal casting system having a carrier of elongated materials
US5492579A (en) 1994-02-09 1996-02-20 Shakespeare Company Method for making composite utility pole
US5513477A (en) 1995-02-28 1996-05-07 International Composites Systems, Llc Segmented, graded structural utility poles
US5784851A (en) 1996-04-23 1998-07-28 Waugh; Tom W. Centrifugally cast pole and method
US5964143A (en) 1998-04-03 1999-10-12 Signature Brands, Inc. Brewing appliance having a tower with a water reservoir and brewing basket and an adjacently positioned pitcher receptacle
US6253662B1 (en) 1998-12-21 2001-07-03 Steve Terry Zelson Coffee machine
US6739103B1 (en) * 2001-06-26 2004-05-25 Cw Ohio, Inc. Centrifugally cast hollow straight sided fiberglass reinforced columns
US7022270B2 (en) * 2002-05-22 2006-04-04 W. J. Whatley, Inc. Method of manufacturing composite utility poles
US6932143B2 (en) 2002-11-25 2005-08-23 Charles H. Noble Method and apparatus for centrifugal casting of metal
JP2006102428A (en) 2004-10-04 2006-04-20 Masao Kojima Coffee mill apparatus with dripper holding coffee filter
US7252033B1 (en) 2006-03-14 2007-08-07 Uni-Splendor Corp Automatic coffee maker

Non-Patent Citations (14)

* Cited by examiner, † Cited by third party
Title
"Thick-walled Cast Pipe with Small Caliber in Centrifugal Casting", Lu Wenlong etc., Special Casting & Nonferrous Alloys, No. 5, Dec. 31, 2003; 1 page.
Amended Petition for Inter Parties Review of U S. Patent No. 8,567,55 Under 35 U.S.C. Sections 311-319 Submitted June 11, 2014; pp. 1-64.
Decision Instituting of Inter Parties Review; October 24, 2014, pp. 1-20.
Declaration of Gene Oliver; Exhibit 1004; pp. 1-57, Oct. 7, 2014.
Ductile Iron Pipe Versus PVC; Exhibit 1010; pp. 1-24, Mar. 1999.
English Translation of Chinese Office Action issued Oct. 12, 2010 in corresponding Chinese Patent Application No. 2007800322262.4; 8 pages.
International Search Report dated Jan. 17, 2011 for corresponding PCT Application No. PCT/US2008/004578; 8 pages.
J. Wallace, Engineering Aspects of Centrifugal Casting; Exhibit 1013; pp. 1-19, May 1953.
Office Action Issued in U.S. Appl. No. 13/289,430 on Jun. 20, 2014.
Prosecution History of U.S. Appl. No. 13/289,430; Exhibit 1005; pp. 1-166, Oct. 7, 2014.
Prosecution History of U.S. Patent No. 8,567,155; Exhibit 1003; pp. 1-402, Oct. 7, 2014.
Seamless Pole Webpage-FAQs; Exhibit 1011; pp. 1-9, Aug. 8, 2011.
Seamless Pole Webpage—FAQs; Exhibit 1011; pp. 1-9, Aug. 8, 2011.
The Design Decision Model for Corrosion Control; Exhibit 1018; pp. 1-10, Oct. 7, 2014.

Cited By (1)

* Cited by examiner, † Cited by third party
Publication number Priority date Publication date Assignee Title
US10060131B2 (en) 2006-07-19 2018-08-28 Tom W. Waugh Centrifugally cast pole and method

Also Published As

Publication number Publication date
US8567155B2 (en) 2013-10-29
US20080023172A1 (en) 2008-01-31
WO2008011287A2 (en) 2008-01-24
EP2047044B1 (en) 2017-09-13
US20150167301A1 (en) 2015-06-18
CN104295145A (en) 2015-01-21
CN101512077A (en) 2009-08-19
WO2008011287A3 (en) 2008-04-10
EP2047044A4 (en) 2015-05-20
EP2047044A2 (en) 2009-04-15
US8967231B2 (en) 2015-03-03
WO2008011287A9 (en) 2008-03-06
ES2651239T3 (en) 2018-01-25
US20180370560A1 (en) 2018-12-27
US10060131B2 (en) 2018-08-28
US20120048429A1 (en) 2012-03-01

Similar Documents

Publication Publication Date Title
USRE45329E1 (en) Centrifugally cast pole and method
US5784851A (en) Centrifugally cast pole and method
CN207003254U (en) Separate type hot-cast anchor rope
CN104314776B (en) Assembled prestressed tower drum for offshore and onshore wind turbine generators
CN108779648A (en) Adaptive device and its manufacturing method for wind tower
CN111456073A (en) First bottom plate component, second bottom plate component, bottom plate and tower drum foundation
CN105735563A (en) Round aluminum alloy pipe concrete compound column
CN107571389A (en) A kind of wallboard hanging piece device detachably reused
CN209874083U (en) Vertical mechanical connection structure of assembled shear force wall
CN204849806U (en) Steel pipe pole for transmission line
CN217498445U (en) Multifunctional lifting ring device suitable for wind power concrete tower barrel
CN101117788A (en) Rope and anchor cup detachable cable
CN211114443U (en) Reinforcing bar pre-embedding auxiliary device
CN205558041U (en) Circular aluminum alloy tube concrete combination column
CN205475728U (en) Rapid Assembly crab -bolt and shedder
CN108035255A (en) Carbon fiber oblique pull cable system
CN219033210U (en) Prefabricated liner tube for plugging base well wall hole during pile foundation pouring
CN222863020U (en) A kind of annular concrete pole connection flange reinforcement and anti-corrosion structure
CN205499287U (en) Yacht stabilizer device fin subassembly
RU131387U1 (en) SCREW TIPS
CN220889705U (en) UHPC electric pole flange
CN220014664U (en) Telescopic metal electric power rod group based on flange connection
CN205840148U (en) Restraining plate aluminium-alloy pipe concrete combination column is set in one
RU2801991C1 (en) Screw pile
CN107746011A (en) A kind of support body for conveniently realizing straight feeding

Legal Events

Date Code Title Description
IPR Aia trial proceeding filed before the patent and appeal board: inter partes review

Free format text: TRIAL NO: IPR2016-00266

Opponent name: MCWANE, INC.

Effective date: 20151125

FPAY Fee payment

Year of fee payment: 4

IPRC Trial and appeal board: inter partes review certificate

Kind code of ref document: K1

Free format text: INTER PARTES REVIEW CERTIFICATE; TRIAL NO. IPR2016-00266, NOV. 25, 2015 INTER PARTES REVIEW CERTIFICATE FOR PATENT RE45,329, ISSUED JAN. 13, 2015, APPL. NO. 14/272,076, MAY 7, 2014 INTER PARTES REVIEW CERTIFICATE ISSUED MAY 17, 2019

Effective date: 20190517

IPRC Trial and appeal board: inter partes review certificate

Kind code of ref document: K1

Free format text: INTER PARTES REVIEW CERTIFICATE; TRIAL NO. IPR2016-00266, NOV. 25, 2015 INTER PARTES REVIEW CERTIFICATE FOR PATENT RE45,329, ISSUED JAN. 13, 2015, APPL. NO. 14/272,076, MAY 7, 2014 INTER PARTES REVIEW CERTIFICATE ISSUED MAY 17, 2019

Effective date: 20190517

FEPP Fee payment procedure

Free format text: MAINTENANCE FEE REMINDER MAILED (ORIGINAL EVENT CODE: REM.); ENTITY STATUS OF PATENT OWNER: SMALL ENTITY

LAPS Lapse for failure to pay maintenance fees

Free format text: PATENT EXPIRED FOR FAILURE TO PAY MAINTENANCE FEES (ORIGINAL EVENT CODE: EXP.); ENTITY STATUS OF PATENT OWNER: SMALL ENTITY