US8467858B2 - Image-guided thermotherapy based on selective tissue thermal treatment - Google Patents

Image-guided thermotherapy based on selective tissue thermal treatment Download PDF

Info

Publication number
US8467858B2
US8467858B2 US12/770,713 US77071310A US8467858B2 US 8467858 B2 US8467858 B2 US 8467858B2 US 77071310 A US77071310 A US 77071310A US 8467858 B2 US8467858 B2 US 8467858B2
Authority
US
United States
Prior art keywords
optical
light
reflected
target tissue
thermotherapy
Prior art date
Legal status (The legal status is an assumption and is not a legal conclusion. Google has not performed a legal analysis and makes no representation as to the accuracy of the status listed.)
Expired - Fee Related, expires
Application number
US12/770,713
Other versions
US20110029049A1 (en
Inventor
Andrei Vertikov
Peter E. Norris
Current Assignee (The listed assignees may be inaccurate. Google has not performed a legal analysis and makes no representation or warranty as to the accuracy of the list.)
TOMOPHASE Inc
Original Assignee
Tomophase Corp
Priority date (The priority date is an assumption and is not a legal conclusion. Google has not performed a legal analysis and makes no representation as to the accuracy of the date listed.)
Filing date
Publication date
Application filed by Tomophase Corp filed Critical Tomophase Corp
Priority to US12/770,713 priority Critical patent/US8467858B2/en
Assigned to TOMOPHASE CORPORATION reassignment TOMOPHASE CORPORATION ASSIGNMENT OF ASSIGNORS INTEREST (SEE DOCUMENT FOR DETAILS). Assignors: VERTIKOV, ANDREI, NORRIS, PETER E.
Publication of US20110029049A1 publication Critical patent/US20110029049A1/en
Priority to US13/919,809 priority patent/US20130282083A1/en
Application granted granted Critical
Publication of US8467858B2 publication Critical patent/US8467858B2/en
Assigned to TOMOPHASE INC. reassignment TOMOPHASE INC. ASSIGNMENT OF ASSIGNORS INTEREST (SEE DOCUMENT FOR DETAILS). Assignors: TOMOPHASE CORPORATION
Assigned to TOMOPHASE, INC. reassignment TOMOPHASE, INC. CORRECTIVE ASSIGNMENT TO CORRECT THE ASSIGNEE NAME AND EXECUTION DATE PREVIOUSLY RECORDED ON REEL 033261 FRAME 0304. ASSIGNOR(S) HEREBY CONFIRMS THE ASSIGNMENT OF ASSIGNORS INTEREST. Assignors: TOMOPHASE CORPORATION
Expired - Fee Related legal-status Critical Current
Adjusted expiration legal-status Critical

Links

Images

Classifications

    • AHUMAN NECESSITIES
    • A61MEDICAL OR VETERINARY SCIENCE; HYGIENE
    • A61NELECTROTHERAPY; MAGNETOTHERAPY; RADIATION THERAPY; ULTRASOUND THERAPY
    • A61N5/00Radiation therapy
    • AHUMAN NECESSITIES
    • A61MEDICAL OR VETERINARY SCIENCE; HYGIENE
    • A61BDIAGNOSIS; SURGERY; IDENTIFICATION
    • A61B5/00Measuring for diagnostic purposes; Identification of persons
    • A61B5/145Measuring characteristics of blood in vivo, e.g. gas concentration or pH-value ; Measuring characteristics of body fluids or tissues, e.g. interstitial fluid or cerebral tissue
    • A61B5/14532Measuring characteristics of blood in vivo, e.g. gas concentration or pH-value ; Measuring characteristics of body fluids or tissues, e.g. interstitial fluid or cerebral tissue for measuring glucose, e.g. by tissue impedance measurement
    • AHUMAN NECESSITIES
    • A61MEDICAL OR VETERINARY SCIENCE; HYGIENE
    • A61BDIAGNOSIS; SURGERY; IDENTIFICATION
    • A61B18/00Surgical instruments, devices or methods for transferring non-mechanical forms of energy to or from the body
    • A61B18/18Surgical instruments, devices or methods for transferring non-mechanical forms of energy to or from the body by applying electromagnetic radiation, e.g. microwaves
    • A61B18/20Surgical instruments, devices or methods for transferring non-mechanical forms of energy to or from the body by applying electromagnetic radiation, e.g. microwaves using laser
    • A61B18/22Surgical instruments, devices or methods for transferring non-mechanical forms of energy to or from the body by applying electromagnetic radiation, e.g. microwaves using laser the beam being directed along or through a flexible conduit, e.g. an optical fibre; Couplings or hand-pieces therefor
    • A61B18/24Surgical instruments, devices or methods for transferring non-mechanical forms of energy to or from the body by applying electromagnetic radiation, e.g. microwaves using laser the beam being directed along or through a flexible conduit, e.g. an optical fibre; Couplings or hand-pieces therefor with a catheter
    • AHUMAN NECESSITIES
    • A61MEDICAL OR VETERINARY SCIENCE; HYGIENE
    • A61BDIAGNOSIS; SURGERY; IDENTIFICATION
    • A61B5/00Measuring for diagnostic purposes; Identification of persons
    • A61B5/145Measuring characteristics of blood in vivo, e.g. gas concentration or pH-value ; Measuring characteristics of body fluids or tissues, e.g. interstitial fluid or cerebral tissue
    • A61B5/1455Measuring characteristics of blood in vivo, e.g. gas concentration or pH-value ; Measuring characteristics of body fluids or tissues, e.g. interstitial fluid or cerebral tissue using optical sensors, e.g. spectral photometrical oximeters
    • A61B5/14558Measuring characteristics of blood in vivo, e.g. gas concentration or pH-value ; Measuring characteristics of body fluids or tissues, e.g. interstitial fluid or cerebral tissue using optical sensors, e.g. spectral photometrical oximeters by polarisation
    • AHUMAN NECESSITIES
    • A61MEDICAL OR VETERINARY SCIENCE; HYGIENE
    • A61BDIAGNOSIS; SURGERY; IDENTIFICATION
    • A61B18/00Surgical instruments, devices or methods for transferring non-mechanical forms of energy to or from the body
    • A61B18/04Surgical instruments, devices or methods for transferring non-mechanical forms of energy to or from the body by heating
    • A61B18/12Surgical instruments, devices or methods for transferring non-mechanical forms of energy to or from the body by heating by passing a current through the tissue to be heated, e.g. high-frequency current
    • AHUMAN NECESSITIES
    • A61MEDICAL OR VETERINARY SCIENCE; HYGIENE
    • A61BDIAGNOSIS; SURGERY; IDENTIFICATION
    • A61B18/00Surgical instruments, devices or methods for transferring non-mechanical forms of energy to or from the body
    • A61B18/18Surgical instruments, devices or methods for transferring non-mechanical forms of energy to or from the body by applying electromagnetic radiation, e.g. microwaves
    • A61B18/1815Surgical instruments, devices or methods for transferring non-mechanical forms of energy to or from the body by applying electromagnetic radiation, e.g. microwaves using microwaves
    • AHUMAN NECESSITIES
    • A61MEDICAL OR VETERINARY SCIENCE; HYGIENE
    • A61BDIAGNOSIS; SURGERY; IDENTIFICATION
    • A61B17/00Surgical instruments, devices or methods
    • A61B2017/00017Electrical control of surgical instruments
    • A61B2017/00022Sensing or detecting at the treatment site
    • A61B2017/00084Temperature
    • AHUMAN NECESSITIES
    • A61MEDICAL OR VETERINARY SCIENCE; HYGIENE
    • A61BDIAGNOSIS; SURGERY; IDENTIFICATION
    • A61B18/00Surgical instruments, devices or methods for transferring non-mechanical forms of energy to or from the body
    • A61B2018/00005Cooling or heating of the probe or tissue immediately surrounding the probe
    • A61B2018/00011Cooling or heating of the probe or tissue immediately surrounding the probe with fluids
    • A61B2018/00023Cooling or heating of the probe or tissue immediately surrounding the probe with fluids closed, i.e. without wound contact by the fluid
    • AHUMAN NECESSITIES
    • A61MEDICAL OR VETERINARY SCIENCE; HYGIENE
    • A61BDIAGNOSIS; SURGERY; IDENTIFICATION
    • A61B18/00Surgical instruments, devices or methods for transferring non-mechanical forms of energy to or from the body
    • A61B18/18Surgical instruments, devices or methods for transferring non-mechanical forms of energy to or from the body by applying electromagnetic radiation, e.g. microwaves
    • A61B18/1815Surgical instruments, devices or methods for transferring non-mechanical forms of energy to or from the body by applying electromagnetic radiation, e.g. microwaves using microwaves
    • A61B2018/1861Surgical instruments, devices or methods for transferring non-mechanical forms of energy to or from the body by applying electromagnetic radiation, e.g. microwaves using microwaves with an instrument inserted into a body lumen or cavity, e.g. a catheter
    • AHUMAN NECESSITIES
    • A61MEDICAL OR VETERINARY SCIENCE; HYGIENE
    • A61BDIAGNOSIS; SURGERY; IDENTIFICATION
    • A61B90/00Instruments, implements or accessories specially adapted for surgery or diagnosis and not covered by any of the groups A61B1/00 - A61B50/00, e.g. for luxation treatment or for protecting wound edges
    • A61B90/30Devices for illuminating a surgical field, the devices having an interrelation with other surgical devices or with a surgical procedure
    • AHUMAN NECESSITIES
    • A61MEDICAL OR VETERINARY SCIENCE; HYGIENE
    • A61BDIAGNOSIS; SURGERY; IDENTIFICATION
    • A61B90/00Instruments, implements or accessories specially adapted for surgery or diagnosis and not covered by any of the groups A61B1/00 - A61B50/00, e.g. for luxation treatment or for protecting wound edges
    • A61B90/36Image-producing devices or illumination devices not otherwise provided for
    • AHUMAN NECESSITIES
    • A61MEDICAL OR VETERINARY SCIENCE; HYGIENE
    • A61BDIAGNOSIS; SURGERY; IDENTIFICATION
    • A61B90/00Instruments, implements or accessories specially adapted for surgery or diagnosis and not covered by any of the groups A61B1/00 - A61B50/00, e.g. for luxation treatment or for protecting wound edges
    • A61B90/36Image-producing devices or illumination devices not otherwise provided for
    • A61B90/361Image-producing devices, e.g. surgical cameras

Definitions

  • thermotherapy This document relates to devices and techniques for treating tissues by thermotherapy.
  • Thermotherapy is treatment of a diseased tissue by heat.
  • RF radio frequency
  • microwave energy microwave energy
  • laser radiation ultrasound
  • thermotherapy includes directing an imaging optical beam to a target tissue to obtain image information; processing the obtained image information of the target tissue to obtain a spatial distribution of the diseased locations of the target tissue; generating a temperature map of the target tissue for thermotherapy based on the spatial distribution of the diseased locations of the target tissue; and controlling the thermal energy delivery to each of the diseased locations and cooling at the surface of each diseased locations based on the temperature map to perform the thermotherapy.
  • FIG. 1 shows an example of a conventional optical sensing device based on the well-known Michelson interferometer with reference and sample beams in two separate optical paths.
  • FIG. 2 shows one example of a sensing device according to one implementation.
  • FIG. 3 shows an exemplary implementation of the system depicted in FIG. 2 .
  • FIG. 4 shows one exemplary implementation of the probe head and one exemplary implementation of the polarization-selective reflector (PSR) used in FIG. 3 .
  • PSR polarization-selective reflector
  • FIGS. 5A and 5B illustrate another exemplary optical sensing system that use three waveguides and a light director to direct light in two modes to and from the probe head in measuring a sample.
  • FIG. 6 illustrates the waveform of the intensity received at the detector in the system in FIGS. 5A and 5B as a function of the phase where the detected light intensity exhibits an oscillating waveform that possesses a base frequency and its harmonics.
  • FIG. 7 shows one exemplary operation of the described system in FIG. 5B or the system in FIG. 3 for acquiring images of optical inhomogeneity.
  • FIGS. 8A and 8B illustrate one exemplary design of the optical layout of the optical sensing system and its system implementation with an electronic controller where light in a single mode is used as the input light.
  • FIG. 9 shows another example of a system implementation where the optical probe head receives light in a single input mode and converts part of light into a different mode.
  • FIGS. 10A and 10B show two examples of the possible designs for the probe head used in sensing systems where the input light is in a single mode.
  • FIG. 11 shows one implementation of a light director that includes a polarization-maintaining optical circulator and two polarization beam splitters.
  • FIG. 12 illustrates an example of the optical differential delay modulator used in present optical sensing systems where an external control signal is applied to control a differential delay element to change and modulate the relative delay in the output.
  • FIGS. 12 , 12 A and 12 B illustrate two exemplary devices for implementing the optical differential delay modulator in FIG. 12 .
  • FIGS. 13A and 13B illustrate two examples of a mechanical variable delay element suitable for implementing the optical differential delay modulator shown in FIG. 12B .
  • FIG. 14A shows an exemplary implementation of the delay device in FIG. 12B as part of or the entire differential delay modulator.
  • FIG. 14B shows a delay device based on the design in FIG. 14A where the mirror and the variable optical delay line are implemented by the mechanical delay device in FIG. 13A .
  • FIG. 15 illustrates an optical sensing system as an alternative to the device shown in FIG. 5B .
  • FIG. 16 shows a system based on the design in FIG. 2 where a tunable filter is inserted in the input waveguide to filter the input light in two different modes.
  • FIG. 17 shows another exemplary system based on the design in FIG. 8A where a tunable filter is inserted in the input waveguide to filter the input light in a single mode.
  • FIG. 18 illustrates the operation of the tunable bandpass filter in the devices in FIGS. 16 and 17 .
  • FIG. 19A illustrates an example of a human skin tissue where the optical sensing technique described here can be used to measure the glucose concentration in the dermis layer between the epidermis and the subcutaneous layers.
  • FIG. 19B shows some predominant glucose absorption peaks in blood in a wavelength range between 1 and 2.5 microns.
  • FIG. 20 illustrates one exemplary implementation of the detection subsystem in FIG. 3 where two diffraction gratings are used to separate different spectral components in the output light beams from the polarizing beam splitter.
  • FIGS. 21 and 22 shows examples of optical sensing devices that direct light in a single mode to the optical probe head and direct output light from the probe head in the same single mode.
  • FIG. 23 shows an example of a design for the optical probe head for the devices in FIGS. 21 and 22 where the optical probe head does not change the mode of light.
  • FIG. 24 illustrates two selected surfaces underneath a surface of a body part in optical spectral absorbance mapping measurements.
  • FIGS. 25 , 26 and 27 show examples of devices that use multiple light sources at fixed center emitting wavelengths for spectral absorbance mapping measurements.
  • FIG. 28 shows one example of an optical multiplexer to combine beams from different light sources into a common waveguide or optical path.
  • FIGS. 29A and 29B show another example of an optical multiplexer with dichroic filters to combine beams from different light sources into a common waveguide or optical path and the spectral properties of the dichroic filters.
  • FIG. 30 shows an exemplary device that uses multiple light sources at fixed center emitting wavelengths for spectral absorbance mapping measurements, where an optical switch is used to sequentially direct different beams from different light sources into a common waveguide or optical path.
  • FIG. 31 illustrates an example for using different beams at different wavelengths to detect an absorption feature in a sample in spectral absorbance mapping measurements.
  • FIG. 32 shows an exemplary device that uses multiple tunable light sources for spectral absorbance mapping measurements.
  • FIG. 33 shows an example of an integrated system that combines an X-ray CT scan module, a reference cross-sectional tissue imaging module, and a laser treatment module to provide a complete diagnostic and treatment platform for treating lung cancer.
  • FIG. 34 shows one exemplary use of the system in FIG. 33 in detecting and treating lung cancer.
  • FIG. 35 shows a tubular unit or sheath for holding the probe fiber and the waveguide together as a single unit inserted inside the working channel shown in FIG. 33 .
  • FIG. 36 shows an example of a thermotherapy device based on optical imaging and controlled delivery of thermal energy guided by the optical imaging.
  • FIG. 37 shows an example of a catheter design with a cooling mechanism for thermotherapy.
  • FIGS. 38A and 38B show another example of a catheter design for thermotherapy.
  • FIG. 39 shows an example method of thermotherapy based on optical imaging.
  • thermotherapy techniques and devices described in this document use an optical imaging mechanism to obtain images of a target tissue and to obtain spatial distribution of diseased locations in the target tissue by processing the images of the target tissue. Based on the spatial distribution of diseased locations in the target tissue, a temperature map of the target tissue for thermotherapy can be generated. This temperature map is then used as a guide to control the delivery of the therapeutic thermal energy to each of the diseased locations in the target tissue to perform the thermotherapy. In addition, the surface at each diseased location is cooled in a controlled manner to minimize undesired damage to the surface tissue and the surrounding tissues.
  • the imaging of the target issue is performed in real time during the thermotherapy process and the imaging information is used as a guide to precisely deliver the therapeutic thermal energy to each diseased location, making sure that adjacent tissue is not damaged while targeted tissue is treated.
  • the real time imaging guidance provides accurate mapping of targeted tissue and meets the need for selective thermal treatment of specific tissue and for achieving high efficacy of subsequent heat treatment.
  • the optical imaging techniques described in this document can be implemented in ways to map the targeted tissue for the case of internal organs when tissue to be treated is located below the surface.
  • the targeted tissue is airway smooth muscle (ASM) located inside the bronchial lumen (e.g., about 3-10 mm in diameter) and separated from interior of the lumen by other tissue layers, e.g. epithelium or submucosa.
  • ASM airway smooth muscle
  • the present optical imaging techniques provide needed sub-surface imaging capability and can be used to obtain imaging data in small caliber airways.
  • the present optical imaging techniques can also be implemented to provide the spatial resolution necessary to visualize airway microstructures, e.g., approximately 10 microns in some cases.
  • the optical imaging guides the application of thermal energy and thus can greatly reduce complication risks in comparison to unguided delivery of the thermal energy in other thermotherapy devices and procedures.
  • thermotherapy tend to have significant variability of thermal, optical and electrical properties and this can cause significant variability in the temperature profiles generated by the thermotherapy even for reproducible spatial distribution of heating energy.
  • the optical imaging mechanism in the present thermotherapy devices is used to measure, in-vivo, actual temperature profiles to provide procedural feedback for real-time focused heat deposition.
  • the disclosed image-guided thermotherapy techniques can be used to provide selective thermal treatment of airway tissue for downstaging the severity of persistent asthma.
  • Such image-guided thermotherapy techniques can be implemented to reduce the number of physician and ER visits, as well as hospitalizations of severely asthmatic patients. As a result, the clinical outcome and quality of life of the severely asthmatic patient can be improved and to reduce healthcare cost.
  • a severe asthmatic is the asthma that is poorly controlled by inhaled anti-inflammatory or cortico-steroid drugs. Severe asthmatics are responsible for approximately 1.9 million ER visits and hospitalizations annually. The cost differential between severe asthmatics and mild chronic asthmatics is significant, e.g., in excess of $8,000 per patient per year by some estimate.
  • the present image-guided thermotherapy techniques can be sued for downstaging severe asthma to mild persistent asthma and significantly reduce the costs of healthcare related to asthma patients.
  • a device for thermotherapy based on the present optical imaging technique can include a catheter that includes a working channel configured for insertion into a passage of a body to reach a target tissue inside the body; and an optical imaging module that includes (1) an imaging optic fiber having a portion inserted into the working channel and (2) an optical probe head coupled to an end of the imaging optic fiber and located inside the working channel.
  • the optical imaging module is operable to direct probe light to and collect reflected light from the target tissue in the body through the imaging optic fiber and the optical probe head and to obtain imaging information of the target tissue from the collected reflected light.
  • This device includes a thermotherapy module having a power delivery waveguide having a portion inserted into the working channel to deliver thermal energy to the target tissue.
  • a control unit is provided to control the optical imaging module to extract the imaging information from the collected reflected light, to obtain a spatial distribution of diseased locations of the target tissue, and to obtain a temperature map of the target tissue for thermotherapy based on the spatial distribution of the diseased locations of the target tissue.
  • the control unit controls the thermotherapy module to control a location and an amount of thermal energy delivery to each of the diseased locations based on the temperature map to perform thermotherapy.
  • the optical imaging module can be implemented in various configurations. Specific examples are provided below for non-invasive optical imaging.
  • ODR optical coherence domain reflectometry
  • the light from a light source is split into a sampling beam and a reference beam which propagate in two separate optical paths, respectively.
  • the light source may be partially coherent source.
  • the sampling beam is directed along its own optical path to impinge on the substances under study, or sample, while the reference beam is directed in a separate path towards a reference surface.
  • the beams reflected from the sample and from the reference surface are then brought to overlap with each other to optically interfere. Because of the wavelength-dependent phase delay the interference results in no observable interference fringes unless the two optical path lengths of the sampling and reference beams are very similar. This provides a physical mechanism for ranging.
  • a beam splitter may be used to split the light from the light source and to combine the reflected sampling beam and the reflected reference beam for detection at an optical detector.
  • This use of the same device for both splitting and recombining the radiation is essentially based on the well-known Michelson interferometer.
  • the discoveries and the theories of the interference of partially coherent light are summarized by Born and Wolf in “Principles of Optics”, Pergamon Press (1980).
  • FIG. 1 illustrates a typical optical layout used in many fiber-optic OCDR systems described in U.S. Pat. No. 6,421,164 and other publications.
  • a fiber splitter is attached to two optical fibers that respectively guide the sampling and reference beams in a Michelson configuration.
  • the optical radiation from the low-coherence source is first physically separated into two separate beams where the sampling beam travels in a sample waveguide to interact with the sample while the reference beam travels in a reference waveguide.
  • the fiber splitter than combines the reflected radiation from the sample and the reference light from the reference waveguide to cause interference.
  • Lung cancer is one of the most deadly cancers in the United States. Patients with lung cancer have a relatively low 5-year survival rate of only 10-15% after diagnosis. The lung cancer in many patients is already in the second or third stage and has metastasized to other sites or organs by the time they begin to exhibit symptoms and seek medical treatment. Few are diagnosed in early stages where the survival rate can be much higher, approaching 85% for the stage 1 lung cancer. The conventional annual chest X-ray examination has not shown sufficient sensitivity to reveal the isolated, small (e.g., less than 1 centimeter in diameter) tumors typically found in the stage 1 lung cancer.
  • NLST National Lung Screening Trial
  • CT Computed Tomography
  • a remedy to this defect of CT scans is to perform one or more pulmonary biopsies in order to further examine the nature of the SPNs identified by the CT scans.
  • Pulmonary biopsies can be risky. Statistics show that one in four pulmonary biopsies results in pneumothorax, a punctured lung. Also, the elderly and patients on blood thinners are at substantial risk of bleeding during pulmonary biopsies. In addition, pulmonary biopsies are relatively expensive. These and other factors have lead to search for alternative diagnostic methods to replace pulmonary biopsies.
  • the non-invasive optical probing techniques and devices described in this application may be used to detect and diagnose lung diseases in humans and animals including lung cancer.
  • the optical probe head described in various implementations may be inserted into the lung to optically measure various parts of the lung without taking physical samples from the lung.
  • the following sections first describe the specific implementations of non-invasive optical probing based on spectral responses of tissues or parts and interactions of different optical modes in the probe light.
  • integrated lung disease diagnosis and treatment systems that combine CT scan with optical probing and laser treatment are described.
  • Spectral responses of materials and substances are important in many applications. For example, some distinct material properties are reflected in their spectral responses and can be detected or measured via the spectral responses. A detected or measured distinct property may be used for, e.g., identifying and locating a region or area such as a body part of a person or animal. Next, the identified body part may be further analyzed. As a more specific example, cancer tumors or other conditions can be detected and located using the measured spectral responses.
  • Various non-invasive optical techniques described in this application may be used to measure spectral responses of a targeted body part of a person or animal. An optical probe head is used to scan a probing beam through the body part to optically measure the optical responses of the targeted body part to obtain a map.
  • the spectral absorption features of a target layer underneath the surface may be optically selected and measured by rejecting contributions to the reflected probe light made by the tissues outside the boundaries of the target layer.
  • a single broadband light source may be used for the acquisition of the spectral information within the emission spectral range of the light source.
  • a tunable optical filter may be used to single out the spectral response of a narrow wavelength band within the emitted spectrum of the light source.
  • the light source may be implemented by combining two or more light sources for the acquisition of spectral absorbance mapping (SAM) in tissues and other samples.
  • SAM spectral absorbance mapping
  • Energy in light traveling in an optical path such as an optical waveguide may be in different propagation modes. Different propagation modes may be in various forms. States of optical polarization of light are examples of such propagation modes. Two independent propagation modes do not mix with one another in the absence of a coupling mechanism. As an example, two orthogonally polarization modes do not interact with each other even though the two modes propagate along the same optical path or waveguide and are spatially overlap with each other.
  • the exemplary techniques and devices described in this application use two independent propagation modes in light in the same optical path or waveguide to measure optical properties of a sample.
  • a probe head may be used to direct the light to the sample, either in two propagation modes or in a single propagation modes, and receive the reflected or back-scattered light from the sample.
  • one beam of guided light in a first propagation mode may be directed to a sample.
  • a first portion of the first propagation mode may be arranged to be reflected before reaching the sample while a second portion in the first propagation mode is allowed to reach the sample.
  • the reflection of the second portion from the sample is controlled in a second propagation mode different from the first propagation mode to produce a reflected second portion.
  • Both the reflected first portion in the first propagation mode and the reflected second portion in the second propagation mode are directed through a common waveguide into a detection module to extract information from the reflected second portion on the sample.
  • optical radiation in both a first propagation mode and a second, different propagation mode may be guided through an optical waveguide towards a sample.
  • the radiation in the first propagation mode is directed away from the sample without reaching the sample.
  • the radiation in the second propagation mode is directed to interact with the sample to produce returned radiation from the interaction.
  • Both the returned radiation in the second propagation mode and the radiation in the first propagation mode are coupled into the optical waveguide away from the sample.
  • the returned radiation in the second propagation mode and the radiation in the first propagation mode from the optical waveguide are then used to extract information of the sample.
  • two independent modes are confined to travel in the same waveguide or the same optical path in free space except for the extra distance traveled by the probing light between the probe head and the sample.
  • This feature stabilizes the relative phase, or differential optical path, between the two modes of light, even in the presence of mechanical movement of the waveguides.
  • This is in contrast to interferometer sensing devices in which sample light and reference light travel in different optical paths.
  • These interferometer sensing devices with separate optical paths are prone to noise caused by the variation in the differential optical path, generally complex in optical configurations, and difficult to operate and implement.
  • the examples described below based on waveguides are in part designed to overcome these and other limitations.
  • FIG. 2 shows one example of a sensing device according to one implementation.
  • This device directs light in two propagation modes along the same waveguide to an optical probe head near a sample 205 for acquiring information of optical inhomogeneity in the sample.
  • a sample holder may be used to support the sample 205 in some applications.
  • Light radiation from a broadband light source 201 is coupled into the first dual-mode waveguide 271 to excite two orthogonal propagation modes, 001 and 002 .
  • a light director 210 is used to direct the two modes to the second dual-mode waveguide 272 that is terminated by a probe head 220 .
  • the probe head 220 may be configured to perform at least the following functions.
  • the first function of the probe head 220 is to reverse the propagation direction of a portion of light in the waveguide 272 in the mode 001 ; the second function of the probe head 220 is to reshape and deliver the remaining portion of the light in mode 002 to the sample 205 ; and the third function of the probe head 220 is to collect the light reflected from the sample 205 back to the second dual-mode waveguide 272 .
  • the back traveling light in both modes 001 and 002 is then directed by light director 210 to the third waveguide 273 and further propagates towards a differential delay modulator 250 .
  • the differential delay modulator 250 is capable of varying the relative optical path length and optical phase between the two modes 001 and 002 .
  • a detection subsystem 260 is used to superpose the two propagation modes 001 and 002 to form two new modes, mutually orthogonal, to be received by photo-detectors. Each new mode is a mixture of the modes 001 and 002 .
  • the superposition of the two modes 001 and 002 in the detection subsystem 260 allows for a range detection.
  • the light entering the detection subsystem 260 in the mode 002 is reflected by the sample, bearing information about the optical inhomogeneity of the sample 205 , while the other mode, 001 , bypassing the sample 205 inside probe head 220 . So long as these two modes 001 and 002 remain independent through the waveguides their superposition in the detection subsystem 260 may be used to obtain information about the sample 205 without the separate optical paths used in some conventional Michelson interferometer systems.
  • the amplitude of the mode 001 is E 001 in a first linear polarization and that of the mode 002 is E 002 in a second, orthogonal linear polarization in the first waveguide 271 .
  • the sample 205 can be characterized by an effective reflection coefficient r that is complex in nature; the differential delay modulator 250 can be characterized by a pure phase shift ⁇ exerted on the mode 001 .
  • the new modes, E A and E B may be expressed as following:
  • I A 1 2 ⁇ [ E 001 2 + E 002 2 + ⁇ r ⁇ ⁇ E 001 ⁇ E 002 ⁇ cos ⁇ ( ⁇ - ⁇ ) ] ;
  • I B 1 2 ⁇ [ E 001 2 + E 002 2 - ⁇ r ⁇ ⁇ E 001 ⁇ E 002 ⁇ cos ⁇ ( ⁇ - ⁇ ) ] , ( 2 ) where ⁇ is the phase delay associated with the reflection from the sample.
  • is the phase delay associated with the reflection from the sample.
  • the measured signal Eq. (3)
  • the measured signal responds with a periodic oscillation and its peak-to-peak value is proportional to the absolute value of r.
  • the two phases, ⁇ and ⁇ For a broadband light source 201 in FIG. 2 , consider the two phases, ⁇ and ⁇ to be dependent on wavelength. If the two modes 001 and 002 experience significantly different path lengths when they reach the detection system 260 , the overall phase angle, ⁇ , should be significantly wavelength dependant as well. Consequently the measured signal, being an integration of Eq. (3) over the source spectrum, yields a smooth function even though ⁇ is being varied. The condition for a significant oscillation to occur in the measured signal is when the two modes 001 and 002 experience similar path lengths at the location of their superposition. In this case the overall phase angle, ⁇ , becomes wavelength independent or nearly wavelength independent.
  • an oscillation in the measured signal indicates a reflection, in the other mode, from a distance that equalizes the optical path lengths traveled by the two modes 001 and 002 . Therefore the system depicted in FIG. 2 can be utilized for ranging reflection sources.
  • phase-sensitive measurements can be performed with the system in FIG. 2 with relative ease.
  • the following describes an exemplary method based on the system in FIG. 2 for the determination of the absolute phase associated with the radiation reflected from the sample 205 .
  • a sinusoidal modulation is applied to the differential phase by the differential delay modulator 250 , with a modulation magnitude of M and a modulation frequency of ⁇ .
  • sin ⁇ ; (5a) A 2 ⁇ E 001 E 002 J 2 ( M )
  • Eq. (5a) and (5b) can be used to solve for
  • FIG. 3 shows an exemplary implementation of the system depicted in FIG. 2 .
  • the spectrum of source 201 may be chosen to satisfy the desired ranging resolution. The broader the spectrum is the better the ranging resolution.
  • Various light sources may be used as the source 201 .
  • SLED semiconductor superluminescent light emitting diodes
  • ASE amplified spontaneous emission
  • a polarization controller 302 may be used to control the state of polarization in order to proportion the magnitudes of the two modes, 001 and 002 , in the input waveguide 371 .
  • the waveguide 371 and other waveguides 372 and 373 may be dual-mode waveguides and are capable of supporting two independent polarization modes which are mutually orthogonal.
  • One kind of practical and commercially available waveguide is the polarization maintaining (PM) optical fiber.
  • a polarization maintaining fiber can carry two independent polarization modes, namely, the s-wave polarized along its slow axis and the p-wave polarized along its fast axis. In good quality polarization maintaining fibers these two modes can have virtually no energy exchange, or coupling, for substantial distances.
  • Polarization preserving circulator 310 directs the flow of optical waves according to the following scheme: the two incoming polarization modes from fiber 371 are directed into the fiber 372 ; the two incoming polarization modes from fiber 372 are directed to the fiber 373 .
  • a polarization-preserving circulator 310 may be used to maintain the separation of the two independent polarization modes. For instance, the s-wave in the fiber 371 should be directed to the fiber 372 as s-wave or p-wave only. Certain commercially available polarization-preserving circulators are adequate for the purpose.
  • the system in FIG. 3 implements an optical probe head 320 coupled to the waveguide 372 for optically probing the sample 205 .
  • the probe head 320 delivers a portion of light received from the waveguide 372 , the light in one mode (e.g., 002 ) of the two modes 001 and 002 , to the sample 205 and collects reflected and back-scattered light in the same mode 002 from the sample 205 .
  • the returned light in the mode 002 collected from the sample 205 carries information of the sample 205 and is processed to extract the information of the sample 205 .
  • the light in the other mode 001 in the waveguide 372 propagating towards the probe head 320 is reflected back by the probe head 320 . Both the returned light in the mode 002 and the reflected light in the mode 001 are directed back by the probe head 320 into the waveguide 372 and to the differential delay modulator 250 and the detection system 260 through the circulator 310 and the waveguide 373 .
  • the probe head 320 includes a lens system 321 and a polarization-selective reflector (PSR) 322 .
  • the lens system 321 is to concentrate the light energy into a small area, facilitating spatially resolved studies of the sample in a lateral direction.
  • the polarization-selective reflector 322 reflects the mode 001 back and transmits the mode 002 .
  • the light in the mode 002 transmits through the probe head 320 to impinge on the sample 205 .
  • Back reflected or scattered the light from the sample 205 is collected by the lens system 321 to propagate towards the circulator 310 along with the light in the mode 001 reflected by PSR 322 in the waveguide 372 .
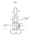
  • FIG. 4 shows details of the probe head 320 and an example of the polarization-selective reflector (PSR) 322 according to one implementation.
  • the PSR 322 includes a polarizing beam splitter (PBS) 423 and a reflector or mirror 424 in a configuration as illustrated where the PBS 423 transmits the selected mode (e.g., mode 002 ) to the sample 205 and reflects and diverts the other mode (e.g., mode 001 ) away from the sample 205 and to the reflector 424 .
  • the reflected mode 001 is directed back to the PBS 423 and the lens system 321 .
  • the reflector 424 may be a reflective coating on one side of beam splitter 423 .
  • the reflector 424 should be aligned to allow the reflected radiation to re-enter the polarization-maintaining fiber 372 .
  • the transmitted light in the mode 002 impinges the sample 205 and the light reflected and back scattered by the sample 205 in the mode 002 transmits through the PBS 423 to the lens system 321 .
  • the lens system 321 couples the light in both the modes 001 and 002 into the fiber 372 .
  • the detection system 260 includes a polarizing beam splitter 361 , and two photodetectors 362 and 363 .
  • the polarizing beam splitter 361 is used to receive the two independent polarization modes 001 and 002 from the modulator 250 and superposes the two independent polarization modes 001 and 002 .
  • the beam splitter 361 may be oriented in such a way that, each independent polarization is split into two parts and, for each independent polarization mode, the two split portions possess the same amplitude.
  • the polarizing beam splitter 361 may be oriented so that the incident plane of its reflection surface makes a 45-degree angle with one of the two independent polarization mode, 001 or 002 .
  • the system in FIG. 3 further implements an electronic controller or control electronics 370 to receive and process the detector outputs from the photodetectors 362 and 363 and to control operations of the systems.
  • the electronic controller 370 may be used to control the probe head 320 and the differential delay modulator 250 .
  • Differential delay modulator 250 under the control of the electronics and programs, generates a form of differential phase modulation as the differential path length scans through a range that matches a range of depth inside the sample 205 .
  • the electronic controller 370 may also be programmed to record and extract the amplitude of the oscillation in the measured signal characterized by Eq. (3) at various differential path lengths generated by the modulator 250 . Accordingly, a profile of reflection as a function of the depth can be obtained as a one-dimensional representation of the sample inhomogeneity at a selected location on the sample 205 .
  • the probe head 320 may be controlled via a position scanner such as a translation stage or a piezo-electric positioner so that the probing light scans in a lateral direction, perpendicular to the light propagation direction. For every increment of the lateral scan a profile of reflection as a function of depth can be recorded with the method described above. The collected information can then be displayed on a display and interface module 372 to form a cross-sectional image that reveals the inhomogeneity of the sample 205 .
  • a position scanner such as a translation stage or a piezo-electric positioner
  • a lateral scanning mechanism may be implemented in each device described in this application to change the relative lateral position of the optical probe head and the sample to obtain a 2-dimensional map of the sample.
  • a xy-scanner for example, may be engaged either to the optical head or to a sample holder that holds the sample to effectuate this scanning in response to a position control signal generated from the electronic controller 370 .
  • FIGS. 5A and 5B illustrate another exemplary system that use waveguides 271 , 272 , and 273 and a light director 210 to direct light in two modes to and from the probe head 320 in measuring the sample 205 .
  • a first optical polarizer 510 is oriented with respect to the polarization axes of the PM waveguide 271 to couple radiation from the broadband light source 201 into the waveguide 271 in two orthogonal linear polarization modes as the independent propagation modes.
  • An optical phase modulator 520 is coupled in the waveguide 271 to modulate the optical phase of light in one guided mode relative to the other.
  • VDGD variable differential group delay
  • a second optical polarizer 540 and an optical detector 550 are used here to form a detection system.
  • the second polarizer 540 is oriented to project both of the guided waves onto the same polarization direction so that the changes in optical path difference and the optical phase difference between the two propagation modes cause intensity variations, detectable by the detector 550 .
  • the light from the source 201 is typically partially polarized.
  • the polarizer 510 may be aligned so that maximum amount of light from the source 201 is transmitted and that the transmitted light is coupled to both of the guided modes in the waveguide 271 with the substantially equal amplitudes.
  • the electric fields for the two orthogonal polarization modes S and P in the waveguide 271 can be expressed as:
  • E the electric field transmitting the polarizer
  • E the electric field transmitting the polarizer
  • the light has a finite spectral width (broadband or partially coherent).
  • a thin slice of the spectrum i.e. a lightwave of a specific wavelength, is considered below. Without loosing generality, it is assumed that all the components, including polarizers, waveguides, Router, PSR and VDGD, are lossless.
  • the p-wave picks up an optical phase, F, relative to the s-wave as they reach the second polarizer 540 :
  • the modulator 520 exerts a sinusoidal phase modulation, with magnitude M and frequency ⁇ , in the p-wave with respect to the s-wave, the light intensity received by the detector 550 can be expressed as follows:
  • phase angle ⁇ is the accumulated phase slip between the two modes, not including the periodic modulation due to the modulator 520 .
  • the VDGD 530 or a static phase shift in the modulator 520 may be used to adjust the phase difference between the two modes to eliminate ⁇ .
  • FIG. 6 illustrates the waveform of the intensity I received at the detector 550 as a function of the phase.
  • the detected light intensity exhibits an oscillating waveform that possesses a base frequency of ⁇ and its harmonics.
  • the amplitudes of the base frequency and each of the harmonics are related to ⁇ and
  • the mathematical expressions for the relationships between r and the harmonics can be derived.
  • sin ⁇ ; (13a) A 2 ⁇ 0.5
  • I ⁇ ⁇ 1 + ⁇ r ⁇ 2 4 ⁇ ⁇ E ⁇ ( ⁇ ) ⁇ 2 + ⁇ r ⁇ 2 ⁇ ⁇ E ⁇ ( ⁇ ) ⁇ 2 ⁇ cos ⁇ [ M ⁇ ⁇ sin ⁇ ( ⁇ ⁇ ⁇ t ) + ⁇ ⁇ ( ⁇ ) + ⁇ ] ⁇ ⁇ d ⁇ . ( 14 ) It is easy to see that if the range of ⁇ ( ⁇ ) is comparable to ⁇ for the bandwidth of the light source no oscillation in I can be observed as oscillations for different wavelengths cancel out because of their phase difference.
  • FIG. 7 further shows one exemplary operation of the described system in FIG. 5B or the system in FIG. 3 for acquiring images of optical inhomogeneity.
  • the relative phase delay between the two modes is changed, e.g., increased by an increment, to a fixed value for measuring the sample 205 at a corresponding depth. This may be accomplished in FIG. 5B by using the differential delay device 530 or the bias in the differential delay modulator 250 in FIG. 3 .
  • a modulation driving signal is sent to the modulator 520 in FIG. 5B or the modulator 250 in FIG. 3 to modulate the relative phase delay between the two modes around the fixed value.
  • the electronic controller 370 controls the differential delay device 530 in FIG. 5B or the bias in the differential delay modulator 250 in FIG. 3 to change the relative phase delay between the two modes to a different fixed value for measuring the sample 205 at a different depth.
  • This process iterates as indicated by the processing loop 740 until desired measurements of the sample at different depths at the same location are completed.
  • electronic controller 370 controls the probe head 320 to laterally move to a new location on the sample 205 and repeat the above measurements again until all desired locations on the sample 205 are completed. This operation is represented by the processing loop 750 .
  • the electronic controller 370 processes each measurement to compute the values of ⁇ and
  • the computed data is sent to the display module 372 .
  • light for sensing the sample 205 is not separated into two parts that travel along two different optical paths.
  • Two independent propagation modes of the light are guided essentially in the same waveguide at every location along the optical path except for the extra distance traveled by one mode between the probe head 320 and the sample 205 .
  • the two modes are continuously guided in the same waveguide at every location along the optical path to the detection module.
  • the light from the light source to the probe head may be controlled in a single propagation mode (e.g., a first propagation mode) rather than two different modes.
  • the probe head may be designed to cause a first portion of the first mode to reverse its propagation direction while directing the remaining portion, or a second portion, to reach the sample.
  • the reflection or back scattered light of the second portion from the sample is collected by the probe head and is controlled in the second propagation mode different from the first mode to produce a reflected second portion.
  • Both the reflected first portion in the first propagation mode and the reflected second portion in the second propagation mode are directed by the probe head through a common waveguide into the detection module for processing.
  • this alternative design further improves the stability of the relative phase delay between the two modes at the detection module and provides additional implementation benefits.
  • FIGS. 8A and 8B illustrate one exemplary design of the optical layout of the optical sensing system and its system implementation with an electronic controller.
  • An input waveguide 871 is provided to direct light in a first propagation mode, e.g., the mode 001 , from the broadband light source 201 to a light director 810 .
  • the waveguide 871 may be a mode maintaining waveguide designed to support at least one propagation mode such as the mode 001 or 002 .
  • the waveguide 871 When light is coupled into the waveguide 871 in a particular mode such as the mode 001 , the waveguide 871 essentially maintains the light in the mode 001 .
  • a polarization maintaining fiber supporting two orthogonal linear polarization modes, for example, may be used as the waveguide 871 .
  • dual-mode waveguides 272 and 273 are used to direct the light.
  • a light director 510 is used to couple the waveguides 871 , 272 , and 273 , to convey the mode 001 from the input waveguide 871 to one of the two modes (e.g., modes 001 and 002 ) supported by the dual-mode waveguide 272 , and to direct light in two modes from the waveguide 272 to the dual-mode waveguide 273 .
  • the light director 810 couples the light in the mode 001 from the waveguide 871 into the same mode 001 in the waveguide 272 .
  • the light director 810 may couple the light in the mode 001 from the waveguide 871 into the different mode 002 in the waveguide 272 .
  • the dual-mode waveguide 271 is terminated at the other end by a probe head 820 which couples a portion of light to the sample 205 for sensing.
  • the probe head 820 is designed differently from the prove head 320 in that the probe head 830 converts part of light in the mode 001 into the other different mode 002 when the light is reflected or scattered back from the sample 205 .
  • the probe head 820 converts that part of light in the mode 002 into the other different mode 001 when the light is reflected or scattered back from the sample 205 .
  • the probe head 820 performs these functions: a) to reverse the propagation direction of a small portion of the incoming radiation in mode 001 ; b) to reshape the remaining radiation and transmit it to the sample 205 ; and c) to convert the radiation reflected from the sample 205 to an independent mode 002 supported by the dual-mode waveguide 272 . Since the probe head 820 only converts part of the light into the other mode supported by the waveguide 272 , the probe head 820 is a partial mode converter in this regard.
  • the probe head 820 Due to the operations of the probe head 820 , there are two modes propagating away from the probe head 820 , the mode 001 that bypasses the sample 205 and the mode 002 for light that originates from sample reflection or back scattering. From this point on, the structure and operations of the rest of the system shown in FIG. 8A may be similar to the systems in FIGS. 2 , 3 , 5 A, and 5 B.
  • FIG. 8B shows an exemplary implementation of the design in FIG. 8A where an electronic controller 2970 is used to control the differential delay modulator 250 and the probe head 820 and a display and interface module 372 is provided.
  • Radiation from broadband light source 201 which may be partially polarized, is further polarized and controlled by an input polarization controller 802 so that only a single polarization mode is excited in polarization-maintaining fiber 371 as the waveguide 871 in FIG. 8A .
  • a polarization preserving circulator may be used to implement the light director 810 for routing light from the waveguide 371 to the waveguide 372 and from the waveguide 372 to the waveguide 373 .
  • the probe head 820 in FIG. 8B may be designed to include a lens system 821 similar to the lens system 321 , a partial reflector 822 , and a polarization rotator 823 .
  • the partial reflector 822 is used to reflect the first portion of light received from the waveguide 372 back to the waveguide 372 without changing its propagation mode and transmits light to and from the sample 205 .
  • the polarization rotator 823 is used to control the light from the sample 205 to be in the mode 002 upon entry of the waveguide 372 .
  • FIG. 9 shows another example of a system implementation where the optical probe head 820 receives light in a single input mode and converts part of light into a different mode.
  • An input polarizer 510 is used in the input PM fiber 272 to control the input light in the single polarization mode.
  • a phase modulator 520 and a variable differential group delay device 530 are coupled to the output PM fiver 273 to control and modulate the relative phase delay of the two modes before optical detection.
  • An output polarizer 540 is provided to mix the two modes and the detector 550 is used to detect the output from the output polarizer 540 .
  • FIGS. 10A and 10B show two examples of the possible designs for the probe head 820 including a partially reflective surface 1010 , a lens system 1020 , and a quarter-wave plate 1030 for rotating the polarization and to convert the mode.
  • the termination or end facet of polarization-maintaining fiber 372 is used as the partial reflector 1010 .
  • An uncoated termination of an optical fiber reflects approximately 4% of the light energy. Coatings can be used to alter the reflectivity of the termination to a desirable value.
  • the lens system 1020 reshapes and delivers the remaining radiation to sample 205 .
  • the other role played by the lens system 1020 is to collect the radiation reflected from the sample 205 back into the polarization-maintaining fiber 372 .
  • the quarter wave plate 1030 is oriented so that its optical axis make a 45-degree angle with the polarization direction of the transmitted light. Reflected light from the sample 205 propagates through the quarter wave plate 1030 once again to become polarized in a direction perpendicular to mode 001 , i.e. mode 002 .
  • the quarter wave plate 1030 may be replaced by a Faraday rotator.
  • the head design in FIG. 10B changes the positions of the lens system 1020 and the quarter wave plate or Faraday rotator 1030 .
  • the light director 810 or the polarization preserving circulator may be constructed with a polarization-maintaining optical circulator 1110 and two polarization beam splitters 1120 and 1130 as shown in FIG. 11 .
  • the polarization-maintaining circulator 1110 is used to convey only one polarization mode among its three ports, rather than both modes as in the case shown in FIGS. 3 , 5 A and 5 B.
  • the polarizing beam splitter 1120 and 1130 are coupled to polarization-maintaining circulator 1110 so that both polarization modes entering Port 2 are conveyed to Port 3 and remain independent.
  • FIG. 12 illustrates the general design of the modulator 250 where an external control signal is applied to control a differential delay element to change and modulate the relative delay in the output. Either mechanical or non-mechanical elements may be used to produce the desired relative delay between the two modes and the modulation on the delay.
  • a non-mechanical design may include one or more segments of tunable birefringent materials such as liquid crystal materials or electro-optic birefringent materials such as lithium niobate crystals in conjunction with one or more fixed birefringent materials such as quartz and rutile.
  • the fixed birefringent material provides a fixed delay between two modes and the tunable birefringent material provides the tuning and modulation functions in the relative delay between the two modes.
  • FIG. 12A illustrates an example of this non-mechanical design where the two modes are not physically separated and are directed through the same optical path with birefringent segments which alter the relative delay between two polarization modes.
  • FIG. 12B shows a different design where the two modes in the received light are separated by a mode splitter into two different optical paths.
  • a variable delay element is inserted in one optical path to adjust and modulate the relative delay in response to an external control signal.
  • a mode combiner is then used to combine the two modes together in the output.
  • the mode splitter and the mode combiner may be polarization beams splitters when two orthogonal linear polarizations are used as the two modes.
  • variable delay element in one of the two optical paths may be implemented in various configurations.
  • the variable delay element may be a mechanical element.
  • a mechanical implementation of the device in FIG. 12B may be constructed by first separating the radiation by polarization modes with a polarizing beam splitter, one polarization mode propagating through a fixed optical path while the other propagating through a variable optical path having a piezoelectric stretcher of polarization maintaining fibers, or a pair of collimators both facing a mechanically movable retroreflector in such a way that the light from one collimator is collected by the other through a trip to and from the retroreflector, or a pair collimators optically linked through double passing a rotatable optical plate and bouncing off a reflector.
  • FIGS. 13A and 13B illustrate two examples of a mechanical variable delay element suitable for FIG. 12B .
  • a mechanical variable delay device may be used to change the optical path length of a light beam at high speeds and may have various applications other than what is illustrated in FIG. 12B .
  • the optical systems in this application may use such a delay device.
  • the mechanical delay device shown in FIG. 13A includes an optical beam splitter 1310 , a rotating optical plate 1320 which may be a transparent plate, and a mirror or reflector 1330 .
  • the beam splitter 1310 is used as the input port and the output port for the device.
  • the rotating optical plate 1320 is placed between the mirror 1330 and the beam splitter 1310 .
  • the input light beam 1300 is received by the beam splitter 1310 along the optical path directing from the beam splitter 1310 to the mirror 1330 through the rotating optical plate 1320 .
  • a portion of the light 1300 transmitting through the beam splitter 1310 is the beam 1301 which impinges on and transmits through the rotating optical plate 1320 .
  • the mirror or other optical reflector 1330 is oriented to be perpendicular to the light beam incident to the optical plate 1310 from the opposite side.
  • the reflected light beam 1302 from the mirror 1320 traces the same optical path back traveling until it encounters the Beam Splitter 1310 .
  • the Beam Splitter 1310 deflects part of the back traveling light 1302 to a different direction as the output beam 1303 .
  • the variation of the optical path length is caused by the rotation of the Optical Plate 1320 .
  • the Optical Plate 1320 may be made of a good quality optical material.
  • the two optical surfaces may be flat and well polished to minimize distortion to the light beam.
  • the two surfaces should be parallel to each other so that the light propagation directions on both sides of the Optical Plate 1320 are parallel.
  • the thickness of the Optical Plate 1320 may be chosen according to the desirable delay variation and the range of the rotation angle.
  • the optical path length experienced by the light beam is determined by the rotation angle of the Optical Plate 1320 . When the surfaces of the Optical Plate 1320 is perpendicular to the light beam (incident angle is zero), the path length is at its minimum. The path length increases as the incident angle increases.
  • the Optical Plate 1320 may be mounted on a motor for periodic variation of the optical delay.
  • a good quality mirror with a flat reflecting surface should be used to implement the mirror 1330 .
  • the reflecting surface of the mirror 1330 may be maintained to be perpendicular to the light beam.
  • a linearly polarized light is used as the input beam 1300 in FIG. 13A , it is beneficial to have the polarization direction of the light parallel to the incident plane (in the plane of the paper) as less reflection occurs at the surfaces of Optical Plate 1320 for this polarization compared to other polarization directions.
  • Antireflection coatings can be used to further reduce the light reflection on the surfaces of the Optical Plate 1320 .
  • the beam splitter 1310 used in FIG. 13A uses both its optical transmission and optical reflection to direct light.
  • This aspect of the beam splitter 1310 causes reflection loss in the output of the device due to the reflection loss when the input light 1300 first enters the device through transmission of the beam splitter 1310 and the transmission loss when the light exits the device through reflection of the beam splitter 1310 .
  • a maximum of 25% of the total input light may be left in the output light if the beam splitter is a 50/50 beam splitter.
  • an optical circulator may be used in place of the beam splitter 1320 .
  • optical circulator 1340 illustrates an example where the optical circulator 1340 with 3 ports is used to direct input light to the optical plate 1320 and the mirror 1330 and directs returned light to the output port.
  • the optical circulator 1340 may be designed to direct nearly all light entering its port 1 to port 2 and nearly all light entering its port 2 to the port 3 with nominal optical loss and hence significantly reduces the optical loss in the device.
  • Commercially available optical circulators either free-space or fiber-based, may be used to implement the circulator 1340 .
  • FIG. 14A shows an exemplary implementation of the delay device in FIG. 12B as part of or the entire differential delay modulator 250 .
  • a first optical mode splitter 1410 is used to separate two modes in the waveguide 373 into two paths having two mirrors 1431 and 1432 , respectively.
  • a second optical mode splitter 1440 which is operated as a mode combiner, is used to combine the two modes into an output. If the two modes are two orthogonal linear polarizations, for example, polarization beam splitters may be used to implement the 1410 and 1440 .
  • a variable optical delay line or device 1420 is placed in the upper path to control the differential delay between the two paths. The output may be coupled into another dual-mode waveguide 1450 leading to the detection module or directly sent into the detection module.
  • FIG. 14B shows a delay device based on the design in FIG. 14A where the mirror 1432 and the variable optical delay line 1420 are implemented by the mechanical delay device in FIG. 13A .
  • the mechanical delay device in FIG. 13B may also be used to implement the device in FIG. 14A .
  • a single dual-mode waveguide 272 or 372 is used as an input and output waveguide for the probe head 220 , 320 , or 820 .
  • the input light either in a single mode or two independent modes, is directed into the probe head through that dual-mode waveguide 272 or 372 , and the output light in the two independent modes is also directed from the probe head to the detection subsystem or detector.
  • the single dual-mode waveguide 272 or 372 may be replaced by two separate waveguides, one to direct input light from the light source to the probe head and another to direct light from the probe head to the detection subsystem or detector.
  • the device in FIG. 2 may have a second waveguide different from the waveguide 272 to direct reflected light in two different modes from the optical probe head 220 to the modulator 250 and the detection subsystem 260 .
  • the light director 210 may be eliminated. This may be an advantage.
  • the optics within the probe head may be designed to direct the reflected light in two modes to the second waveguide.
  • FIG. 15 illustrates an example for this design as an alternative to the device shown in FIG. 5B .
  • the probing light is delivered to the sample 205 through one dual-mode waveguide 1510 and the reflected/scattered light is collected by the probe head 320 and is directed through another dual-mode waveguide 1520 .
  • the mirror 424 may be oriented and aligned so that the light is reflected into the waveguide 1520 instead of the waveguide 1510 .
  • This design may be applied to other devices based on the disclosure of this application, including the exemplary devices in FIGS. 2 , 3 , 8 A, 8 B and 9 .
  • the above-described devices and techniques may be used to obtain optical measurements of a given location of the sample at different depths by controlling the relative phase delay between two modes at different values and optical measurements of different locations of the sample to get a tomographic map of the sample at a given depth or various depths by laterally changing the relative position of the probe head over the sample.
  • Such devices and techniques may be further used to perform other measurements on a sample, including spectral selective measurements on a layer of a sample.
  • a tunable bandpass filter may be used to either filter the light incident to the probe head to select a desired spectral window within the broadband spectrum of the incident light to measure the response of the sample and to vary the center wavelength of the spectral window to measure a spectral distribution of the responses of the sample.
  • This tuning of the bandpass filter allows a variable portion of the source spectrum to pass while measuring the distribution of the complex reflection coefficient of the sample.
  • the broadband light may be sent to the optical probe head without optical filtering and the spectral components at different wavelengths in the output light from the probe head may be selected and measured to measure the response of the sample around a selected wavelength or the spectral distribution of the responses of the sample.
  • a tunable optical bandpass filter may be inserted in the optical path of the output light from the probe head to filter the light.
  • a grating or other diffractive optical element may be used to optically separate different spectral components in the output light to be measured by the detection subsystem or the detector.
  • FIG. 16 shows a system based on the design in FIG. 2 where a tunable filter 1610 is inserted in the input waveguide 271 to filter the input light in two different modes.
  • FIG. 17 shows another exemplary system based on the design in FIG. 8A where a tunable filter 1710 is inserted in the input waveguide 871 to filter the input light in a single mode.
  • a tunable filter may be placed in other locations.
  • FIG. 18 illustrates the operation of the tunable bandpass filter in the devices in FIGS. 16 and 17 .
  • the filter selects a narrow spectral band within the spectrum of the light source to measure the spectral feature of the sample.
  • the devices and techniques of this application may be used to select a layer within a sample to measure by properly processing the measured data.
  • the absorption characteristics of a layer bounded by interfaces I and II is to be measured.
  • the spectral absorption of the substance in the layer is characterized by a wavelength-dependent attenuation coefficient ⁇ h ( ⁇ ) and that of other volume is characterized by ⁇ g ( ⁇ ).
  • ⁇ h wavelength-dependent attenuation coefficient
  • ⁇ g
  • the substance in the vicinity of interface I (II) possesses an effective and wavelength independent reflection coefficient r I (r II ).
  • an optical filter 1610 or 1710 with a bass band tunable across the characteristic absorption of the sample 205 may be used to measure the spectral responses of the sample 205 centered at different wavelengths.
  • the differential delay modulator 250 is adjusted so that the path length traveled by one mode (e.g., the mode 001 ) matches that of radiation reflected from interface I in the other mode (e.g., the mode 002 ).
  • the pass band of filter 1610 or 1710 may be scanned while recording the oscillation of the measured signal due to a periodic differential phase generated by the modulator 250 .
  • the differential delay modulator 250 is adjusted again to change the differential delay so that the path length traveled by the mode 001 matches that of radiation reflected from interface II in the mode 002 .
  • Eq. (7) and Eq. (6) can be used to obtain the following ratio:
  • the pass band of the optical filter 1610 or 1710 may be designed to be sufficiently narrow to resolve the absorption characteristics of interest and at the meantime broad enough to differentiate the layer of interest.
  • the following example for monitoring the glucose level by optically probing a patient's skin shows that this arrangement is reasonable and practical.
  • the designated layer may be the dermis layer where glucose is concentrated in a network of blood vessels and interstitial fluid.
  • FIG. 19A illustrates an example of a human skin tissue where the coherence gating technique described here can be used to measure the glucose concentration in the dermis layer between the epidermis and the subcutaneous layers.
  • the dermis layer may be optically selected and measured with the coherence gating technique. It is known that the superficial epidermis layer, owing to its pigment content, is the dominant source of NIR absorption. Because of the absence of blood, however, the epidermis yields no useful information for glucose monitoring.
  • the coherent gating technique can be applied to acquire solely the absorbance spectrum of the dermis layer by rejecting the absorptions of the epidermis and the subcutaneous tissues.
  • An additional advantage of this technique is from the fact that dermis exhibits less temperature variation compared to the epidermis. It is known that surface temperature variation causes shifts of water absorption, hampering glucose monitoring.
  • FIG. 19B shows some predominant glucose absorption peaks in blood in a wavelength range between 1 and 2.5 microns.
  • the width of these peaks are approximately 150 nm.
  • the bandwidth of the tunable bandpass filter may be chosen to be around 30 nm. The depth resolution is determined by the following equation:
  • the coherence gating implemented with the devices in FIGS. 16 and 17 or other optical sensing devices may be used to determine the absorption characteristics of the glucose in tissue layers no less than 60 ⁇ m thick.
  • human skin consists of a superficial epidermis layer that is typically 0.1 mm thick. Underneath epidermis is the dermis, approximately 1 mm thick, where glucose concentrates in blood and interstitial fluids. The above analysis indicates that it is possible to use the apparatus shown in FIGS. 16 and 17 to isolate the absorption characteristics of the dermis from that of the epidermis and other layers.
  • the tunable bandpass filter 1610 or 1710 may be operated to acquire the absorption characteristics of an isolated volume inside a sample.
  • FIG. 20 illustrates one exemplary implementation of the detection subsystem 260 in FIG. 3 where two diffraction gratings 2010 and 2020 are used to separate different spectral components in the output light beams from the polarizing beam splitter 361 .
  • a lens 2012 is positioned to collect the diffracted components from the grating 2010 and focus different spectral components to different locations on its focal plane.
  • a detector array 2014 with multiple photodetector elements is placed at the focal plane of the lens 2012 so that different spectral components are received by different photodetector elements.
  • a second lens 2022 and a detector array 2024 are used in the optical path of the diffracted components in a similar way. In devices shown in FIGS. 5A , 5 B, 8 A, and 8 B where a single optical detector is used for measurements, a single grating, a lens, and a detector array may be used.
  • each detector element receives light in a small wavelength interval.
  • the photocurrents from all elements in an array can be summed to form a signal which is equivalent to the signal received in each single detector without the grating shown in FIG. 3 .
  • the spectral information of the sample can be obtained.
  • the optical probe head sends out light in two different propagation modes where light in one of the two modes carries the information from the sample.
  • light in a single propagation mode may be used as the input light to the optical probe head and as output light from the optical probe head.
  • devices based on this design not only use a common optical path to direct light to and from the probe head and sample but also control the light in a single mode.
  • this single-mode design further eliminates or reduces any differences between different modes that propagate in the same optical path.
  • FIG. 21 shows one exemplary system for acquiring information of optical inhomogeneity and other properties in substances with only one propagation mode inside waveguides.
  • a broadband or low-coherence light from Broadband Light Source 201 is directed to a probe head 2110 by means of polarization-maintaining waveguides 271 and 272 .
  • a partial reflector inside the probe head 2110 reverses the direction of a small portion of the input light to create a radiation wave 1 while transmitting the remainder of the input light to the sample 205 .
  • Backscattered or reflected light from the sample 205 becomes a second radiation wave 2 and is collected by the probe head 2110 .
  • the probe head 2110 combines and couples both the radiation waves 1 and 2 back into the waveguide 272 .
  • the radiation waves 1 and 2 travel in the waveguide 272 towards Light the light director 210 which directs radiation waves 1 and 2 through the waveguide 273 towards the detection module 2101 .
  • the radiation waves 1 and 2 output from the probe head 2110 are in the same mode as the input light to the probe head 2110 .
  • the probe head 2110 does not change the mode of light when directing the radiation waves 1 and 2 to the waveguide 272 .
  • the detection module 2101 includes a beam Splitter 2120 , two optical paths 2121 and 2122 , an optical variable delay element 2123 in the path 2122 , a beam combiner 2130 , and two optical detectors 2141 and 2142 .
  • the beam splitter 2120 splits the light in the waveguide 273 , which includes the radiation waves 1 and 2 in the same mode, into two parts that respectively propagate in the two optical paths 2121 and 2122 . Notably, each of the two parts includes light from both the radiation waves 1 and 2 .
  • the variable delay element or delay line 2123 in the optical path 2122 is controlled by a control signal to adjust the relative optical delay between the two optical paths 2121 and 2122 and may be implemented by, e.g., the exemplary delay elements described in this application and other delay designs.
  • the beam combiner 2130 combines the signals of the two optical paths to overlap with each other and to output two optical signals for optical detectors 2141 and 2142 , respectively.
  • the beam combiner may be a polarization beam splitter which splits the combined light into two parts, orthogonal in polarization to one another.
  • the probe head 2110 may include a partial reflector to produce the radiation wave 1 which does not reach the sample 205 .
  • the single propagation mode for the light to the probe head 2110 and the light out of the probe head 21110 is a polarization mode
  • the light reflected from the partial reflector in the probe head 2110 i.e., the radiation wave 1
  • both Radiation 1 and 2 travel in the same propagation mode in the waveguides, 272 and 273 . Because the radiation waves 1 and 2 are reflected from different locations, they experience different optical path lengths when reaching the beam splitter 2120 .
  • the effect of variable delay element 2123 is to add an adjustable amount of the delay in the light in the path 2122 relative to the light in the path 2121 .
  • variable delay element 2123 can be adjusted so that the partial radiation 1 reaching the polarization beam splitter 2130 through the path 2122 can be made to experience a similar optical path length as the partial radiation 2 reaching the beam splitter 2130 via the other path 2121 .
  • the superposition of the two beams at the photo detectors 2141 and 2142 causes a measurable intensity variation as their relative path length is being varied by the variable delay element 2123 . This variation can be utilized to retrieve information on the inhomogeneity and other properties of the sample 205 .
  • FIG. 22 shows an exemplary implementation of the system in FIG. 21 using polarization maintaining optical fibers.
  • a polarization controller 202 may be placed at the output of the light source 201 to control the polarization of the input light in one polarization mode.
  • the optical head 2110 is shown to include a lens system 2111 and a partial reflector 2112 .
  • Two mirrors 1 and 2 are used to construct the two optical paths between the beam splitters 2120 and 2130 .
  • the optical radiation reflected from the partial reflector 2122 and from the sample 205 travel in the polarization-maintaining (PM) fiber 272 in the same mode.
  • the main portions of the radiation waves 1 and 2 are deflected to the mirror 1 while the remaining portions are directed to the mirror 2 by the beam splitter 2120 .
  • PM polarization-maintaining
  • the incident plane of the polarizing beam splitter 2130 can be made to have a finite angle with respect to the polarization directions of light from both the Mirror 2 in one optical path and the variable delay element 2123 from the other optical path.
  • light energies received by both detectors 2141 and 2142 are the superposition of the two radiations, i.e., Radiation 1 and Radiation 2 .
  • the linkage between the beam splitters 2120 and 2130 can be made by means of optical fibers or other optical waveguides to eliminate the free space paths and the two mirrors 1 and 2 .
  • the spacing between the optical head 2110 and the sample 205 may be greater than the sample depth of interest so that, upon reaching the beam splitter 2130 , the partial radiation 1 experiences optical path length similar only to that of partial radiation 2 . In other words, split parts of the same radiation do not experience similar optical path length during the operation of the systems in FIGS. 21 and 22 .
  • FIG. 23 shows one exemplary optical arrangement for the probe head 2110 .
  • the partial reflector 2310 can be realized with a partially reflective fiber termination, i.e., the end facet of the fiber 272 .
  • An uncoated fiber tip has a reflectivity of approximately 4% and thus may be used as this partial reflector.
  • Optical coating on the end facet may be used to change the reflectivity to a desirable value.
  • the reflectance of the fiber termination 2310 may be chosen based on several factors.
  • the radiation wave 1 should be strong enough so that its superposition with the radiation wave 2 creates an adequate intensity variation at the two detectors 2141 and 2142 .
  • the radiation wave 1 may not be too strong as it may overwhelm the photodetectors 2141 and 2142 , prohibiting the use of high gain in the detection systems.
  • the reflectance of the fiber termination may be comparable to the total light collected by the fiber from the sample.
  • a common waveguide 272 is used for both sending input light into the probe head 2110 and directing output light output the probe head 2110 .
  • the waveguide 272 may be replaced by an input waveguide for sending input light into the probe head 2110 and an output waveguide directing output light output the probe head 2110 to the beam splitter 2120 of the detection module 2101 .
  • the light director 210 can be eliminated and the optical probe head 2110 may be designed to direct output light with both the radiation waves 1 and 2 into the output waveguide.
  • a tunable optical bandpass filter may be used to tune the frequency band of the light to selectively measure the property of the sample 205 at the frequency band of the filter.
  • the use of gratings in the detection module to measure different spectral components of the sample as shown in FIG. 20 may be used in the module 2101 as well.
  • FIG. 24 further illustrates the measuring technique for optically targeting a layer underneath the surface of a body for its spectral absorbance.
  • the optical differential delay can be adjusted to obtain the measurements A I and A II from the two depths I and II in order to obtain measurement for the layer between the depths I and II.
  • the measured ratio in Equation (17) can be used to obtain spectral absorption characteristics of the substance bounded by interfaces I and II only, i.e. ⁇ h ( ⁇ ). Therefore, this techniques effectively isolates the substance between I and II in terms of its spectral absorbance for the measurement.
  • This procedure can be carried out for all layers, by varying the depths of the interfaces I and II, to obtain a cross-sectional spectral absorbance mapping (SAM).
  • SAM cross-sectional spectral absorbance mapping
  • One way to obtain SAM measurements is to first obtain the cross-sectional maps of the reflectance, A( ⁇ ), at two or more different wavelengths using light radiations centered at these wavelengths.
  • A( ⁇ ) the reflectance
  • a tunable optical filter is used to select the different wavelengths at each spatial location of the probe head over the target area to obtain measurements.
  • the probe head Upon completing measurements at different wavelengths at one location, the probe head is moved to the next location and the measurements repeat. This process continues until all locations within the target area are measured.
  • This use of the optical differential delay at variable delay values and the scan along the target surface in combination effectuates a 3-dimensional mapping of the spectral absorbance of the target area.
  • a single light source may not be able to provide a sufficiently broad spectral coverage over these absorption features.
  • the following sections describe techniques that use two or more light sources with radiations centered at different wavelengths to provide a broad spectral coverage in SAM measurements.
  • FIG. 25 shows an optical device 2500 that uses two or more different light sources 2510 at different optical wavelengths to obtain reflectance maps from a sample.
  • Each light source emits within a bandwidth ⁇ centered at a different wavelength from other light sources.
  • the wavelengths of the light sources 2510 can be selected to cover the spectral range of the absorption features in samples to be measured. In some applications, the wavelengths of 2510 may be selected to effectively sample a specific absorbance feature of interest, as shown in FIG. 31 . and thus may not cover other absorption features in the sample.
  • the bandwidth ⁇ of each light source should be selected with consideration of the depth spatial resolution desired for the measurements.
  • An optical multiplexer 2520 is used to receive the optical radiations from different light sources 2510 , to combine these optical waves into a common optical path, i.e., the common optical waveguide 271 .
  • the light director 210 directs the combined optical radiation to the probe head 220 via a common waveguide 272 .
  • the probe head 220 which is positioned above the sample 205 , split a portion of light from the multiplexed or combined optical radiation as the probe light and direct this probe light to the sample 205 .
  • the reflected light from the sample 205 is collected by the probe head 220 and is directed to the differential delay modulator 250 via the waveguide 272 , the light director 210 and another waveguide 273 .
  • An optical demultiplexer 2530 is further used to separate the light output from the differential delay modulator 250 spatially based on different wavelength bands centered at the different wavelengths of the light sources 2510 . Accordingly, an array of different optical detector modules 2540 are used to respectively receive and detect the separated beams of different wavelength bands. As an example, light radiation centered at the wavelength ⁇ 1 and within the bandwidth of ⁇ 1 from one light source is separated from the rest and sent to the detector module 1 (D 1 ). Each detector module may include one or multiple optical detectors.
  • the differential delay modulator 250 , the demultiplexer 2530 and the detector modules 2540 form at least part of an optical correlator which performs the optical detection of the device 2500 .
  • the multiplexed light radiations are delivered to the tissue through the optical waveguide 272 or fiber and the probe head 220 . Backscattered and reflected light from the tissue is collected in part by the probe head 220 and redirected to the optical correlator.
  • the probe head 220 is operated to scan the multiplexed light radiation over the sample 205 to obtain measurements at different wavelengths. For every designated spatial interval the differential delay modulator 250 scans over a range to correspond to a range of depth inside the sample. This process repeats until all sampling locations of an area of the sample are measured.
  • cross-sectional maps for light radiations at two or more wavelengths can be simultaneously obtained. While the differential delay modulator 250 and the probing light radiation are being scanned, the photocurrents from the detector modules 2540 , each receiving light radiation within a different wavelength band associated with one of the light sources 2510 , can be simultaneously recorded as the data from which the multiple reflectance maps, A( ⁇ 1 ), A( ⁇ 2 ) and so on, can be extracted. Each reflectance map is formed by radiation within the band of one light source. These reflectance maps can then be used to derive SAM using an algorithm based on the principles outlined by Equations (15) through (17).
  • FIG. 26 shows one implementation 2600 of the device 2500 in FIG. 25 where a digital signal processor (DSP) 2610 is used to process the detector outputs from the detector module 2540 and to produce the spectral absorption map.
  • the DSP 2610 may be part of the device controller 370 shown in FIG. 3 .
  • a display and user interface module 372 is used to allow an operator to view the SAM result and to control the device.
  • FIG. 27 shows an example of the device 2600 in FIG. 26 where the demultiplexer 2530 is implemented with two gratings 2010 and 2020 and two lenses 2012 and 2014 .
  • the detector modules 2540 are implemented with two detector arrays 2014 and 2024 , i.e., each of the detector modules 2540 includes one detector in the array 2014 and another detector in the array 2024 for detecting light at the same wavelength and in different polarization states.
  • the polarization beam splitter 361 split the wavelength multiplexed light from the differential delay modulator 250 into two beams with mutually orthogonal polarization states where each split beam is a mixture of light in two different modes from the probe head 220 .
  • the polarization beam splitter 361 converts a part of received light in the first propagation mode and a part of received light in the second propagation mode into light in a third propagation mode that propagates along a first optical path and to convert remaining portions of the received light in the first and the second propagation modes into light in a fourth propagation mode that propagates along a second, different optical path.
  • the third and fourth modes are two orthogonal polarization modes of the polarization beam splitter 361 .
  • the gratings 2010 and 2020 separate the wavelength multiplexed light radiation into angle intervals, each corresponding to the light from one of the light sources 2510 .
  • the number of photosensitive elements in one detector array can be equal to the number of light sources used.
  • the sensing area of each of the photosensitive elements may be designed to be sufficiently large so that all the light radiation within the band of one light source can be received by one element in the array. For instance, if three light sources are used in the system, two arrays each with three photosensitive elements may be used.
  • the optical multiplexer 2520 may be implemented in various configurations.
  • FIG. 28 shows one example of the multiplexer 2520 where partially reflective mirrors 2810 and 2802 are used to multiplex radiation beams from three different light sources 2510 A, 2510 B and 2510 C.
  • the design can be used with N partially reflective mirrors to multiplex beams from (N+1) light sources.
  • the partially reflective mirrors can be manufactured by coating one side of a glass with a thin metal layer. With this arrangement not all the light power will be multiplexed into the optical fiber, as loss of optical power occurs at each reflector.
  • An optical collimator 2810 is used to couple the multiplexed light into the optical waveguide or fiber 271 .
  • FIG. 29A shows another example of the multiplexer 2520 which reduces the optical loss in the design in FIG. 28 and provides an efficient use of the available optical power.
  • optical dichroic filters 2901 and 2902 are used to replace the partially reflective mirrors 2801 and 2802 , respectively.
  • a Dichroic filter may be implemented in various forms. One implementation is to use two short-pass interference filters as the dichroic filters 2901 and 2902 .
  • FIG. 29B shows the optical designs of the dichroic filters 2901 and 2902 .
  • the cut-off wavelength of the filter 2901 is set between the radiation bands of the first and second light sources centered at ⁇ 1 and ⁇ 2 , respectively; that of the filter 2802 set between the radiation bands of the second and the third light sources centered at ⁇ 2 and ⁇ 3 , respectively.
  • Interference optical filters of this kind can be fabricated using multilayer dielectric thin films.
  • Other possible multiplexers include arrayed waveguide type and grating type.
  • the optical multiplexer 2520 may be replaced by an optical switch 3010 as shown in FIG. 30 to direct a probe beam within one of the wavelength bands at a time so that probe light beams at different wavelength bands are directed to the sample 205 sequentially at different times to obtain the reflectance maps.
  • the N broad band light sources 2510 can be sequentially linked to the optical device in FIG. 30 through a 1 ⁇ N optical switch as the switch 3010 .
  • the reflective maps, A( ⁇ 1 ), A( ⁇ 2 ) and so on at different wavelength bands are obtained sequentially and are then used in the calculation of SAM.
  • FIG. 31 shows an absorbance amplitude spectrum 3100 of a sample where an absorption peak 3110 is present.
  • Three or more different broadband light sources with the center wavelengths shown may be used to map the peak 3110 .
  • the number of the light sources may be increased.
  • the reflectance maps at the three different wavelengths, i.e., A( ⁇ 1 ), A( ⁇ 2 ) and A( ⁇ 3 ) can be used to calculate the strength of the feature for SAM.
  • the axial resolution (i.e., the depth resolution) of SAM is related to the bandwidth (spectral width), ⁇ , of the light source at a center wavelength ⁇ 0 is given by the following:
  • ⁇ ⁇ ⁇ z 2 ⁇ ln ⁇ ( 2 ) ⁇ ⁇ ⁇ o 2 ⁇ ( 23 )
  • the depth resolution of the corresponding reflectance map is determined by the above equation.
  • a broad bandwidth is desirable for resolving a small spatial feature along the direction of the probe beam, which limits the spectral resolution as a tradeoff. For example, if one wants to map an spectral absorbance feature that occupies a 20 nm range near an optical wavelength of 1 ⁇ m, light sources of bandwidth around 5 nm can be chosen. Under these conditions, the spatial resolution for SAM is roughly 90 ⁇ m.
  • each light source has a fixed emission center wavelength and a bandwidth.
  • multiple tunable laser sources may be used to replace the fixed light sources.
  • Each tunable laser source may be configured to provide highly coherent radiation over a wavelength range of ⁇ centered at ⁇ . Due to the same consideration that a spectral absorbance feature of interest may be too broad for a single tunable laser source to cover, two or more tunable laser sources, each tunable over a wavelength range centered at a different wavelength, can be implemented in various designs for SAM measurements.
  • FIG. 32 illustrates one example of a device 3200 for SAM measurements where two or more tunable lasers 3210 are used as the light sources.
  • the optical radiations from the tunable laser sources 3210 are combined through the multiplexer 2520 before being guided to the probe head 220 .
  • the light waves from the probe head 220 including what is collected from the tissue under examination, are redirected towards the demultiplexer 2530 where they are separated into separated beams in different optical paths according to the wavelength bands, each of which is received by an optical detector.
  • This arrangement may be configured to allow for the simultaneous tuning of the wavelengths of the tunable laser sources 3210 , which in turn allows for the simultaneous recording of the light waves from the probe head 220 in the different wavelength bands.
  • One feature in the design in FIG. 32 is the lack of the optical differential delay modulator 250 used in other designs where one or more fixed light sources are used to produce the probe light.
  • Each tunable laser is tuned through its tuning spectral range during the measurement and the recorded light intensity as a function of the laser wavelength in each of the bands can be computed to obtain a reflectance map for that band.
  • the reflectance maps, for the various center wavelengths, can be computed by analyzing the photocurrents of the photodetectors as functions of the wavelength.
  • a variation of the photocurrent with a certain wavelength periodicity indicates a reflection originated from a certain distance, or depth, in the sample 205 .
  • Such a computation is, in essence, a decomposition of the photocurrent according to its frequency, or commonly known as a Fourier transformation.
  • the tunable lasers In order for the reflectance maps to cover a range of the depth the tunable lasers should have an adequate coherent length which is comparable or longer than the range of the depth.
  • Two or more reflectance maps for two or more wavelength bands can be obtained for the sample 205 under examination and can be used to derive the SAM of the sample 205 based on Equations (15)-(17).
  • This use of the tunable lasers may be implemented in the various device designs for SAM measurements by removing the optical differential delay modulator 250 .
  • the design in FIG. 30 may be used, without the differential delay modulator 250 , to sequentially direct light radiations from different tunable laser sources to the sample 205 .
  • the laser is tuned in its laser frequency through its tuning range to obtain measurements of the optical absorption at different wavelengths within the tuning range.
  • a differential phase modulator 250 may be inserted in the common waveguide 273 to receive the light from the probe head in the first and second propagation modes and to produce and modulate the relative optical phase between the first and second propagation modes.
  • the modulation of the relative optical phase between the first and second propagation modes causes the photocurrents out of the photodetectors 2540 (or detectors in the detector arrays 2014 and 2024 ) to shift their peak positions and valley positions with respect to the wavelength. This allows for accurate calculations of the reflected optical phase of the light reflected from the sample using mathematical analysis similar to the analysis represented by Equations 12 and 13.
  • FIG. 33 shows an example of an integrated system 3300 that combines an X-ray CT scan module 3310 for locating pulmonary nodules, a minimally invasive optical probing module 3320 , and a treatment module 3330 to provide a complete diagnostic and treatment platform for treating lung cancer.
  • the treatment module 3330 may be designed to use electromagnetic radiation, such as laser radiation, RF or microwave radiation energy, to treat a malignant condition at a selected target area.
  • a bronchoscope 3340 is used to provide a means for inserting the optical probe for the optical probing module 3320 into the lung to optically measure a target area in the lung.
  • the bronchoscope 3340 is also used to guide the laser beam from the laser treatment module 3330 to the lung for laser treatment.
  • the bronchoscope 3340 includes a working channel 3342 that is hollow and receives the optical probe head and optical fiber 3322 for the optical probing module 3320 and an optical power delivery waveguide 3322 for the laser treatment module 3330 .
  • the working channel 3342 is inserted inside the lung to probe different targeted areas in the lung.
  • the distal end of the working channel 3342 includes an end facet or window that transmits both the optical probe light and the laser beam from the laser treatment module 3330 .
  • a computing and control module 3350 is provided to control the three different modules 3310 , 3320 and 3330 and to perform analysis on the measurements.
  • a display and user interface module 3360 which may include a user input interface and a display monitor, is used to allow an operator to operate the system 3300 .
  • the CT scan module 3310 is used to scan the lung of a patient to detect and locate all solitary pulmonary nodules (SPNs). Each SPN is visually located via the CT scan imaging.
  • the optical probing module 3320 is used to measure each SPN identified by the CT scan. This is a differential diagnosis and the optical measurement is analyzed to determine whether each SPN is benign or malignant.
  • the laser treatment module 3330 is then used to treat each malignant SPN. All three procedures can be performed in one integrated system.
  • the minimally invasive optical probing module 3320 may be implemented in various embodiments as described in this application.
  • the optical probing module 3320 may be implemented as a cross-sectional imaging module.
  • the optical module 3320 can be used to allow the anticipated use of CT scans in early stage lung cancer diagnosis and, in addition, can facilitate cancer therapy using optical methods such as Laser Hyperthermia.
  • the module 3320 utilizes optical correlation techniques to obtain optical tomographs to non-destructively reveal the tissue structure and other physiological information.
  • the probe head of the imaging module 3320 is fiber optic-based and is inserted into the working channel 3342 of the bronchoscope 3340 .
  • the bronchoscope 3340 has been previously used to visually locate the tumor inside the lung.
  • a sequential, in-vivo examination of the suspect tissue or SPN with the optical probing module 3320 can distinguish a calcified, benign SPN from a malignant one by virtue of their different structure and optical properties.
  • This use of the optical probing module 3320 resolves the CT scan diagnostic dilemma, enabling an minimally invasive procedure to locate SPNs and then identify which nodules are malignant.
  • the use of this diagnostic sequence based on the optical probing allows the physician to avoid most, if not all, pulmonary biopsies, thereby significantly reducing the risks discussed above and greatly improving chances for a successful diagnosis without side effects.
  • FIG. 34 illustrates one exemplary use of the system 3300 in FIG. 33 .
  • the CT scan is used to perform the initial examination of the lung to scan for all SPNs, benign and malignant.
  • the optical probing is performed at each detected SPN to determine whether the SPN is benign or malignant. If a SPN is determined to be malignant, the laser treatment can be performed to treat the malignant condition of the SPN by using the laser treatment module 3330 . If no malignant SPN is found, the patient may be scheduled for periodic CT scans to monitor the condition of the lung.
  • the laser treatment may be implemented in various configurations such as laser hyperthermia treatment and laser ablation treatment.
  • a pulmonologist may use a high power laser in the laser treatment module 3330 and an optical fiber-based therapeutic probe inserted into the working channel 3342 of the bronchoscope 3340 to deliver optical power to the tumor.
  • This procedure called Laser Hyperthermia, has been shown to necrotize cancerous tissue.
  • the laser emission wavelength is chosen so that essentially all of the light is absorbed by the tissue, e.g., within first centimeter of tissue.
  • high power laser sources may be used.
  • compact, powerful diode-pumped solid state lasers are readily available.
  • Optical fibers capable of transmitting substantial power levels e.g., on the order of watts
  • We estimate that coupling of the laser optical power to the fiber can be accomplished with approximately 33% efficiency using normal methods known to practitioners in this field.
  • Table 1 lists calculated exposure times needed to elevate the temperature of the suspect tissue for different optical power levels delivered to the tissue.
  • the laser power input to the optical delivery waveguide 3332 e.g., optic fiber
  • Table 1 lists calculated exposure times needed to elevate the temperature of the suspect tissue for different optical power levels delivered to the tissue.
  • the laser power input to the optical delivery waveguide 3332 e.g., optic fiber
  • the laser power input to the optical delivery waveguide 3332 would need to be three times higher assuming 33% coupling efficiency.
  • the malignant tissue behaves thermally as if it were water (about 70% accurate) and that the nodule is essentially in poor thermal contact with the surrounding tissue.
  • researchers have found that a 10° C. rise in temperature is sufficient to kill cancer cells and that higher temperature rises kill malignant cells more quickly.
  • a 3-6 watt laser should suffice to perform Laser Hyperthermia in-vivo with a 5-10 sec. exposure.
  • the integrated diagnostic and therapeutic system in FIG. 33 and the technique in FIG. 34 may be implemented to allow both SPN location/detection and bronchoscopic examination to be performed in a single session or visit.
  • both differential diagnosis and laser therapy can therefore be performed during a single bronchoscopic procedure. Therefore,
  • the three different procedures, SPN detection/location, malignant-benign differential diagnosis, and remedial therapy, can be performed in a single office visit.
  • a CT Scan system may be modified to incorporate the much smaller optical devices for differential diagnosis and laser therapy so that the complete process may be performed on a single piece of equipment. This results in very efficient use of the physician's time and convenience for the patient.
  • Laser therapy methods such as laser hyperthermia and laser ablation, do not have significant adverse side effects on the patient under treatment and thus are advantageous in this regard in comparison with other therapeutic regimens such as chemotherapy and radiation.
  • the integrated system in FIG. 34 may be implemented to reduce any delay in the differential diagnosis and therapy and thus such implementation can be advantageous over other methods that use the ‘wait-and-see’ observation of tumor size growth protocol which is often employed to distinguish between malignant and benign SPNs.
  • the integrated system in FIG. 33 may also be implemented by using treatment modules other than laser therapy modules.
  • Various electromagnetic radiation therapies using the radiofrequency (RF) energy and microwave energy for ablation may be used.
  • An RF or microwave waveguide probe may be inserted into the working channel 3342 to deliver the RF or microwave energy to a targeted SPN for treatment.
  • the laser treatment module 3330 may be replaced by a microwave ablation therapy unit.
  • the distal end facet of the working channel can be made to transmit both the probe light and the RF/microwave radiation.
  • an integrated diagnostic and treatment system may include a CT scan unit to locate ailing areas in a body part, a referenced cross-sectional imaging unit to analyze each ailing area, and a laser, RF or microwave irradiation therapy unit to treat a selected area.
  • This system may be used to diagnose and treat lung cancer, prostate cancer and other tumors.
  • One specific implementation of this system is the example in FIG. 33 for diagnosing and treating lung cancer where a bronchoscope is inserted into the lung for deliver the probe light and the treatment laser beam.
  • the optical probe head 220 of the optical imaging module 3320 and the therapy delivery waveguide 3332 may be unified as a single assembly when inserted inside the working channel 3342 so that the treatment radiation, which may be laser radiation, RF or microwave radiation, can be directed to approximately the same location where the optical probe head 220 is located.
  • the treatment radiation which may be laser radiation, RF or microwave radiation
  • this unified assembly may be used to simply the alignment of the treatment radiation with respect to a malignant SPN identified by the optical imaging module 3320 .
  • FIG. 35 shows one example of a unified assembly 3500 .
  • a tubular unit or sheath 3510 is used to hold the probe fiber 3322 and the waveguide 3332 together as a single unit.
  • the probe head 220 at or near the end of the fiber 3322 and the distal end of the waveguide 3332 are placed next to each other at the distal end of the tubular unit 3510 within an end facet window 3520 .
  • the probe head 220 and the distal end of the waveguide 3332 are aimed at the essentially the same location.
  • the assembly 3500 is then inserted inside the working channel 3342 to place the end facet window 3520 at the end of the working channel 3342 .
  • FIG. 36 shows an example of a thermotherapy device 3600 based on optical imaging and controlled delivery of thermal energy guided by the optical imaging.
  • a catheter includes a working channel 3342 that is configured for insertion into a passage of a body to reach a target tissue inside the body.
  • An optical imaging module 3630 includes (1) an imaging optic fiber 3322 having a portion inserted into the working channel 3342 and an optical probe head coupled to an end of the imaging optic fiber 3332 and located inside the working channel 3342 .
  • the optical imaging module 3630 is operable to direct probe light to and collect reflected light from the target tissue in the body through the imaging optic fiber and the optical probe head and to obtain imaging information of the target tissue from the collected reflected light.
  • This device 3600 includes a thermotherapy module 3640 , e.g., a laser thermotherapy module, an RF or microwave thermotherapy module, having a power delivery waveguide having a portion inserted into the working channel 3342 to deliver thermal energy to the target tissue.
  • a control unit is provided to include a computing and control module 3610 and a cooling control module 3620 .
  • the control module 3610 includes a processor that processes the image data and local memory to store data and processing software for performing various processing and control tasks.
  • the control unit controls the optical imaging module 3630 to extract the imaging information from the collected reflected light, to obtain a spatial distribution of diseased locations of the target tissue, and to obtain a temperature map of the target tissue for thermotherapy based on the spatial distribution of the diseased locations of the target tissue.
  • the control unit controls the thermotherapy module 3640 to control a location and an amount of thermal energy delivery to each of the diseased locations based on the temperature map to perform thermotherapy.
  • a cooling liquid circulation module 3622 is included as part of the cooling for the device that cools the surface of the target tissue.
  • FIG. 37 shows an example of a catheter design with a cooling mechanism for thermotherapy based on laser thermotherapy.
  • thermotherapy such as RF or microwave thermotherapy.
  • a liquid balloon or reservoir 3710 is provided at the tip of the catheter to receive a cooling liquid 3720 from the cooling liquid circulation module 3622 .
  • the liquid balloon 3710 encloses the end facet of the catheter tip or window 3520 through which the imaging light 3701 and the thermal treatment radiation such as the treatment laser 3702 are directed to the target tissue.
  • the material for the liquid balloon is transparent to the imaging light and the treatment light.
  • Various balloon designs can be used in this design, including designs that use two or more balloons that contain the cooling liquid.
  • the liquid balloon is placed in contact with the surface of the target tissue under the thermotherapy treatment to cool the tissue surface and to prevent undesired thermal damage to the tissue surface.
  • FIG. 38 shows another example of a catheter design for thermotherapy.
  • An external tubing is provided to house a thermotherapy catheter that delivers the therapeutic thermal energy to the target tissue and an optical imaging catheter for performing the optical imaging of the target tissue. These two catheters can be retracted in their positions within the external tubing.
  • the external tubing includes a narrow tip which allows only one catheter to be present at a time. The two catheters are controlled so that one catheter can be inserted into the narrow tip for interacting with the target tissue while the other catheter is retracted back in the external tubing.
  • FIG. 38A shows the imaging catheter is extended into the narrow tip while the thermotherapy catheter is at its retracted position.
  • FIG. 38B shows the imaging catheter is retracted from the narrow tip while the thermotherapy catheter is extended into the narrow tip.
  • FIG. 39 shows an example method of thermotherapy based on optical imaging.
  • the thermotherapy is performed by directing an imaging optical beam to a target tissue to obtain image information; processing the obtained image information of the target tissue to obtain a spatial distribution of the diseased locations of the target tissue; generating a temperature map of the target tissue for thermotherapy based on the spatial distribution of the diseased locations of the target tissue; and controlling the thermal energy delivery to each of the diseased locations and cooling at the surface of each diseased locations based on the temperature map to perform the thermotherapy.
  • thermotherapy can be used to effectively downstage asthma.
  • An asthmatic attack occurs when a stimulus [smoke, pollen etc.] evokes an exacerbation in the airway smooth muscle causing it to contract and engorge with histamines and mast cells.
  • the resulted decrease in airway lumen diameter interferes with normal breathing and can be so severe as to completely block the airway, or even cause death in extreme cases.
  • the laser thermotherapy module 3640 can be used to heat the airway smooth muscle [ASM], imbedded in the airway wall, to the point where it no longer responds strongly to an asthmatic stimulus. The result is a reduction in severity of asthmatic exacerbations, which can then be managed by inhaled drug therapies.
  • ASM is not uniformly distributed within the airway wall and in larger airways may only occupy 10-15% of the wall area. Without guidance, a ‘blind’ thermotherapeutic procedure may miss the ASM over 80% of the time. In addition, failure to position the therapeutic catheter in closest proximity to the ASM may result in insufficient treatment temperatures.
  • the present image-guidance provided by the optical imaging module 3630 allows optimal positioning of the thermotherapy catheter with respect to the ASM. Furthermore, real-time temperature profile mapping permits controlling the temperature to avoid over treatment or undertreatment.
  • the image-guided thermotherapy can include microstructural imaging of airway wall cross-sections to locate ASM, laser thermotherapy using image-guidance to treat ASM locations which can use spiral pullback of the thermotherapy catheter through airway lumen for a quasi-continuous therapeutic process, and real-time thermal profile mapping [imaging] for monitoring and or control of the laser thermal therapeutic process temperature thereby reducing adverse events.
  • the obtained 3D image information of the target tissue is processed to obtain a spatial distribution of the diseased locations of the target tissue.
  • a modeling process can be used to construct a temperature map of the target tissue for thermotherapy based on the spatial distribution of the diseased locations of the target tissue. This modeling process can be implemented in software in the control processor of the device.
  • the modeling performed by the control processor generates real-time thermal profile mapping and this information can be used for monitoring and or control of the laser thermal therapeutic process temperature.
  • the thermal energy delivery to each of the diseased locations and cooling at the surface of each diseased locations can be controlled based on the temperature map to perform the thermotherapy.
  • real time pre-, peri- and post-operative imaging of treatment site can be provided.
  • real-time follow-up imaging at predetermined intervals can be used to monitor therapeutic efficacy.
  • Real time optical imaging is provided by the optical imaging module to obtain high resolution, real-time cross-sectional images of the human bronchial wall.
  • the imaging catheter illuminates the tissue being scanned with a narrow beam of low power, near infrared light and collects the light reflected as the beam penetrates the tissue.
  • the image is obtained by mechanically scanning the imaging catheter across the region of interest while acquiring data on reflected light. If this is done while slowly continuously withdrawing the catheter, an helical [scan] micro image of the airway wall can be obtained in much the same way as helical scan CT operates on a macroscopic basis. In this manner the ASM may be “visualized” for more efficacious laser thermotherapy.
  • the laser thermotherapy is integrated or compatible with the optical imaging so that the imaging information can be used to provide guidance in positioning the thermotherapy catheter and to provide guidance on the temperature profile control.
  • the laser thermotherapy module can use light at 1.3 micron by using the radiation from a Nd:YAG laser to provide effective laser thermotherapy.
  • the heat depositing system can be implemented to include a laser source producing laser light which is coupled into the tissue imaging system at the proximal end with controllable switch.
  • the laser source may contain more than one wavelength. At the distal end, the energy is deposited and image is obtained through the same integrated catheter.
  • the catheter includes a common fiber that directs imaging radiation and laser treatment radiation via common fiber core or collinear fiber cores.
  • the catheter includes re-imaging and redirecting optics common for treatment laser energy and imaging radiation energy.
  • the fiber can be configured to support different modes so that treatment laser energy profile on the fiber can be enlarged to prevent overheating and to control energy deposition area.
  • the catheter can also include substantially transparent sheath or window, that might be filled with cooling liquid. For larger airways, expandable balloons may be used for better contact with internal surface of airway. Also direct irrigation scheme can be used for better cooling of airway surface, preferably with two balloons.
  • the above technique can be used to obtain 3D image of a tissue of interest such as smooth muscle via rotating catheter and pulling it back while keeping image registration to the bronchoscope and/or external reference frame. Then pull back is repeated with energy deposited upon the tissue of interest.
  • Some examples of such optical imaging devices and techniques are described in U.S. Pat. No. 7,706,646 entitled “Delivering Light via Optical Waveguide and Multi-View Optical Probe Head” which is incorporated by reference as part of this document.
  • the lateral energy deposition pattern is controlled by synchronizing energy level with catheter position.
  • the axial deposition of heat is controlled by applying cooling liquid in the lumen and selecting spectral bandwidth of laser source and pulsing pattern as a function of catheter position. Additionally, temperature maps can be obtained and energy deposition pattern is fine-tuned for better overall of temperature map with targeted tissue.
  • the catheter can include an imaging fiber with re-imaging and directing optics and a second, separate fiber with pattern forming optics for treatment laser.
  • Pattern forming optics is understood to include radially symmetrical patterns as well as any arbitrary pattern.
  • the imaging optics and pattern forming optics are pre-aligned to have a fixed spatial relationship.
  • a catheter design can include two separate catheters—an imaging catheter and a laser thermotherapy catheter that move relative to each other.
  • a Contrast Agent can be used where IndoCyanine Green is known to be an effective Contrast Agent in LTT [or Laser Hyperthermia] treatment of tumors in dogs.
  • an optical tissue imaging system having an imaging catheter and an optical engine; an energy deposition system integrated with a catheter as described above; an energy deposition system having a laser source that emits light of at least two wavelengths; an integrated catheter having a liquid filled balloon in contact with the airway tissue; and an optical tissue imaging system having means of measuring temperature induced optical properties change for the purpose of temperature mapping.
  • the above systems can be used to perform following operations: imaging airway to locate 3D map of tissue of interest and depositing energy selectively to the tissue of interest by controlling energy level, balloon liquid temperature, and laser source wavelength based on the catheter position in a pre-calculated pattern to match energy deposition with tissue location.
  • This method can also include calculating energy level, balloon temperature and source spectrum, and applying small fraction of the source energy at a level of below the threshold for thermotherapy to obtain a pre-treatment temperature map.
  • the source settings can be controlled to deliver a high dosage of the laser light for the thermotherapy at a level above the thermotherapy threshold until the actual measured temperature map coincides with the pre-treatment temperature map.
  • a contrast agent such as Indocyanine Green (ICG) or other chemical or biological contrast agents, can be applied to the region of therapeutic interest such as a malignant Solitary Pulmonary Nodule, so as to preferentially absorb optical energy in the region of therapeutic interest.
  • ICG Indocyanine Green

Landscapes

  • Health & Medical Sciences (AREA)
  • Life Sciences & Earth Sciences (AREA)
  • Physics & Mathematics (AREA)
  • Engineering & Computer Science (AREA)
  • Biomedical Technology (AREA)
  • Surgery (AREA)
  • Veterinary Medicine (AREA)
  • Public Health (AREA)
  • General Health & Medical Sciences (AREA)
  • Animal Behavior & Ethology (AREA)
  • Medical Informatics (AREA)
  • Molecular Biology (AREA)
  • Heart & Thoracic Surgery (AREA)
  • Optics & Photonics (AREA)
  • Pathology (AREA)
  • Biophysics (AREA)
  • Nuclear Medicine, Radiotherapy & Molecular Imaging (AREA)
  • Emergency Medicine (AREA)
  • Electromagnetism (AREA)
  • Otolaryngology (AREA)
  • Spectroscopy & Molecular Physics (AREA)
  • Radiology & Medical Imaging (AREA)
  • Investigating Or Analysing Materials By Optical Means (AREA)

Abstract

Devices and techniques for thermotherapy based on optical imaging.

Description

This patent document claims the benefit of the U.S. Provisional Patent Application Ser. No. 61/173,921 entitled “Image-Guided Optical Thermotherapy [IGOTT] based on Selective Tissue Thermal Treatment Using a Combination of Optical Tissue Imaging, Targeted Energy Deposition and Thermal Mapping” and filed on Apr. 29, 2009. The entire disclosure of the above-referenced patent application is incorporated herein by reference as part of the disclosure of this patent document.
BACKGROUND
This document relates to devices and techniques for treating tissues by thermotherapy.
Thermotherapy is treatment of a diseased tissue by heat. When the amount of thermal energy absorbed by a diseased tissue exceeds a certain threshold, a desired therapeutic effect in the diseased tissue can be achieved to lessen or mitigated the disease condition of the tissue. Thermotherapy for treatment of tissue can use radio frequency (RF) energy, microwave energy, laser radiation and ultrasound as heating energy sources.
SUMMARY
This document describes devices and techniques for thermotherapy based on optical imaging. In one aspect, a method for thermotherapy includes directing an imaging optical beam to a target tissue to obtain image information; processing the obtained image information of the target tissue to obtain a spatial distribution of the diseased locations of the target tissue; generating a temperature map of the target tissue for thermotherapy based on the spatial distribution of the diseased locations of the target tissue; and controlling the thermal energy delivery to each of the diseased locations and cooling at the surface of each diseased locations based on the temperature map to perform the thermotherapy.
This and other aspects, features, associated advantages, and implementation variations are described in detail in the attached drawings, the description, and the claims.
BRIEF DESCRIPTION OF THE DRAWINGS
FIG. 1 shows an example of a conventional optical sensing device based on the well-known Michelson interferometer with reference and sample beams in two separate optical paths.
FIG. 2 shows one example of a sensing device according to one implementation.
FIG. 3 shows an exemplary implementation of the system depicted in FIG. 2.
FIG. 4 shows one exemplary implementation of the probe head and one exemplary implementation of the polarization-selective reflector (PSR) used in FIG. 3.
FIGS. 5A and 5B illustrate another exemplary optical sensing system that use three waveguides and a light director to direct light in two modes to and from the probe head in measuring a sample.
FIG. 6 illustrates the waveform of the intensity received at the detector in the system in FIGS. 5A and 5B as a function of the phase where the detected light intensity exhibits an oscillating waveform that possesses a base frequency and its harmonics.
FIG. 7 shows one exemplary operation of the described system in FIG. 5B or the system in FIG. 3 for acquiring images of optical inhomogeneity.
FIGS. 8A and 8B illustrate one exemplary design of the optical layout of the optical sensing system and its system implementation with an electronic controller where light in a single mode is used as the input light.
FIG. 9 shows another example of a system implementation where the optical probe head receives light in a single input mode and converts part of light into a different mode.
FIGS. 10A and 10B show two examples of the possible designs for the probe head used in sensing systems where the input light is in a single mode.
FIG. 11 shows one implementation of a light director that includes a polarization-maintaining optical circulator and two polarization beam splitters.
FIG. 12 illustrates an example of the optical differential delay modulator used in present optical sensing systems where an external control signal is applied to control a differential delay element to change and modulate the relative delay in the output.
FIGS. 12, 12A and 12B illustrate two exemplary devices for implementing the optical differential delay modulator in FIG. 12.
FIGS. 13A and 13B illustrate two examples of a mechanical variable delay element suitable for implementing the optical differential delay modulator shown in FIG. 12B.
FIG. 14A shows an exemplary implementation of the delay device in FIG. 12B as part of or the entire differential delay modulator.
FIG. 14B shows a delay device based on the design in FIG. 14A where the mirror and the variable optical delay line are implemented by the mechanical delay device in FIG. 13A.
FIG. 15 illustrates an optical sensing system as an alternative to the device shown in FIG. 5B.
FIG. 16 shows a system based on the design in FIG. 2 where a tunable filter is inserted in the input waveguide to filter the input light in two different modes.
FIG. 17 shows another exemplary system based on the design in FIG. 8A where a tunable filter is inserted in the input waveguide to filter the input light in a single mode.
FIG. 18 illustrates the operation of the tunable bandpass filter in the devices in FIGS. 16 and 17.
FIG. 19A illustrates an example of a human skin tissue where the optical sensing technique described here can be used to measure the glucose concentration in the dermis layer between the epidermis and the subcutaneous layers.
FIG. 19B shows some predominant glucose absorption peaks in blood in a wavelength range between 1 and 2.5 microns.
FIG. 20 illustrates one exemplary implementation of the detection subsystem in FIG. 3 where two diffraction gratings are used to separate different spectral components in the output light beams from the polarizing beam splitter.
FIGS. 21 and 22 shows examples of optical sensing devices that direct light in a single mode to the optical probe head and direct output light from the probe head in the same single mode.
FIG. 23 shows an example of a design for the optical probe head for the devices in FIGS. 21 and 22 where the optical probe head does not change the mode of light.
FIG. 24 illustrates two selected surfaces underneath a surface of a body part in optical spectral absorbance mapping measurements.
FIGS. 25, 26 and 27 show examples of devices that use multiple light sources at fixed center emitting wavelengths for spectral absorbance mapping measurements.
FIG. 28 shows one example of an optical multiplexer to combine beams from different light sources into a common waveguide or optical path.
FIGS. 29A and 29B show another example of an optical multiplexer with dichroic filters to combine beams from different light sources into a common waveguide or optical path and the spectral properties of the dichroic filters.
FIG. 30 shows an exemplary device that uses multiple light sources at fixed center emitting wavelengths for spectral absorbance mapping measurements, where an optical switch is used to sequentially direct different beams from different light sources into a common waveguide or optical path.
FIG. 31 illustrates an example for using different beams at different wavelengths to detect an absorption feature in a sample in spectral absorbance mapping measurements.
FIG. 32 shows an exemplary device that uses multiple tunable light sources for spectral absorbance mapping measurements.
FIG. 33 shows an example of an integrated system that combines an X-ray CT scan module, a reference cross-sectional tissue imaging module, and a laser treatment module to provide a complete diagnostic and treatment platform for treating lung cancer.
FIG. 34 shows one exemplary use of the system in FIG. 33 in detecting and treating lung cancer.
FIG. 35 shows a tubular unit or sheath for holding the probe fiber and the waveguide together as a single unit inserted inside the working channel shown in FIG. 33.
FIG. 36 shows an example of a thermotherapy device based on optical imaging and controlled delivery of thermal energy guided by the optical imaging.
FIG. 37 shows an example of a catheter design with a cooling mechanism for thermotherapy.
FIGS. 38A and 38B show another example of a catheter design for thermotherapy.
FIG. 39 shows an example method of thermotherapy based on optical imaging.
DETAILED DESCRIPTION
The thermotherapy techniques and devices described in this document use an optical imaging mechanism to obtain images of a target tissue and to obtain spatial distribution of diseased locations in the target tissue by processing the images of the target tissue. Based on the spatial distribution of diseased locations in the target tissue, a temperature map of the target tissue for thermotherapy can be generated. This temperature map is then used as a guide to control the delivery of the therapeutic thermal energy to each of the diseased locations in the target tissue to perform the thermotherapy. In addition, the surface at each diseased location is cooled in a controlled manner to minimize undesired damage to the surface tissue and the surrounding tissues.
The imaging of the target issue is performed in real time during the thermotherapy process and the imaging information is used as a guide to precisely deliver the therapeutic thermal energy to each diseased location, making sure that adjacent tissue is not damaged while targeted tissue is treated. The real time imaging guidance provides accurate mapping of targeted tissue and meets the need for selective thermal treatment of specific tissue and for achieving high efficacy of subsequent heat treatment.
The optical imaging techniques described in this document can be implemented in ways to map the targeted tissue for the case of internal organs when tissue to be treated is located below the surface. For example, in the case of bronchial thermoplasty [BT], the targeted tissue is airway smooth muscle (ASM) located inside the bronchial lumen (e.g., about 3-10 mm in diameter) and separated from interior of the lumen by other tissue layers, e.g. epithelium or submucosa. The present optical imaging techniques provide needed sub-surface imaging capability and can be used to obtain imaging data in small caliber airways. The present optical imaging techniques can also be implemented to provide the spatial resolution necessary to visualize airway microstructures, e.g., approximately 10 microns in some cases. The optical imaging guides the application of thermal energy and thus can greatly reduce complication risks in comparison to unguided delivery of the thermal energy in other thermotherapy devices and procedures.
Notably, there is often large variability in the diseased tissue location from patient to patient for a given procedure and large variability in the diseased tissue location between different procedures. For example, in contrast with tumor tissues typically located in epithelium layer, i.e. on the (internal surface) of a lumen, ASM is located below the surface and is not uniformly distributed within the airway. Application of thermal energy without precise guidance based on the actual image information of the target tissue may produce poor overlap of resultant temperature distribution with the targeted tissue, causing overheating of adjacent tissue and/or increasing procedural duration. The optical imaging techniques described here can be used to control the spatial distribution of heating energy to generate pre-determined temperature profile that closely matches the targeted tissue for effective thermotherapy.
In addition, tissues tend to have significant variability of thermal, optical and electrical properties and this can cause significant variability in the temperature profiles generated by the thermotherapy even for reproducible spatial distribution of heating energy. The optical imaging mechanism in the present thermotherapy devices is used to measure, in-vivo, actual temperature profiles to provide procedural feedback for real-time focused heat deposition.
The disclosed image-guided thermotherapy techniques can be used to provide selective thermal treatment of airway tissue for downstaging the severity of persistent asthma. Such image-guided thermotherapy techniques can be implemented to reduce the number of physician and ER visits, as well as hospitalizations of severely asthmatic patients. As a result, the clinical outcome and quality of life of the severely asthmatic patient can be improved and to reduce healthcare cost. A severe asthmatic is the asthma that is poorly controlled by inhaled anti-inflammatory or cortico-steroid drugs. Severe asthmatics are responsible for approximately 1.9 million ER visits and hospitalizations annually. The cost differential between severe asthmatics and mild chronic asthmatics is significant, e.g., in excess of $8,000 per patient per year by some estimate. The present image-guided thermotherapy techniques can be sued for downstaging severe asthma to mild persistent asthma and significantly reduce the costs of healthcare related to asthma patients.
For example, a device for thermotherapy based on the present optical imaging technique can include a catheter that includes a working channel configured for insertion into a passage of a body to reach a target tissue inside the body; and an optical imaging module that includes (1) an imaging optic fiber having a portion inserted into the working channel and (2) an optical probe head coupled to an end of the imaging optic fiber and located inside the working channel. The optical imaging module is operable to direct probe light to and collect reflected light from the target tissue in the body through the imaging optic fiber and the optical probe head and to obtain imaging information of the target tissue from the collected reflected light. This device includes a thermotherapy module having a power delivery waveguide having a portion inserted into the working channel to deliver thermal energy to the target tissue. A control unit is provided to control the optical imaging module to extract the imaging information from the collected reflected light, to obtain a spatial distribution of diseased locations of the target tissue, and to obtain a temperature map of the target tissue for thermotherapy based on the spatial distribution of the diseased locations of the target tissue. The control unit controls the thermotherapy module to control a location and an amount of thermal energy delivery to each of the diseased locations based on the temperature map to perform thermotherapy.
Examples of various implementations of various components and features are described in U.S. Publication No. US-2007-0103683-A1 entitled “OPTICALLY MEASURING SUBSTANCES USING PROPAGATION MODES OF LIGHT” for U.S. application Ser. No. 10/567,185, PCT Publication No. WO 2009/108950 entitled “TEMPERATURE PROFILE MAPPING AND GUIDED THERMOTHERAPY” for PCT Application No. PCT/US2009/035773, and U.S. Publication No. US 2006-0079762 A1 entitled “Integrated Disease Diagnosis and Treatment System” for U.S. application Ser. No. 11/253,242. All of these patent documents are incorporated by reference as part of the disclosure of this document.
The optical imaging module can be implemented in various configurations. Specific examples are provided below for non-invasive optical imaging.
Investigation of substances by non-invasive and optical means has been the object of many studies as inhomogeneity of light-matter interactions in substances can reveal their structural, compositional, physiological and biological information. Various devices and techniques based on optical coherence domain reflectometry (OCDR) may be used for non-invasive optical probing of various substances, including but not limited to skins, body tissues and organs of humans and animals, to provide tomographic measurements of these substances.
In many OCDR systems, the light from a light source is split into a sampling beam and a reference beam which propagate in two separate optical paths, respectively. The light source may be partially coherent source. The sampling beam is directed along its own optical path to impinge on the substances under study, or sample, while the reference beam is directed in a separate path towards a reference surface. The beams reflected from the sample and from the reference surface are then brought to overlap with each other to optically interfere. Because of the wavelength-dependent phase delay the interference results in no observable interference fringes unless the two optical path lengths of the sampling and reference beams are very similar. This provides a physical mechanism for ranging. A beam splitter may be used to split the light from the light source and to combine the reflected sampling beam and the reflected reference beam for detection at an optical detector. This use of the same device for both splitting and recombining the radiation is essentially based on the well-known Michelson interferometer. The discoveries and the theories of the interference of partially coherent light are summarized by Born and Wolf in “Principles of Optics”, Pergamon Press (1980).
FIG. 1 illustrates a typical optical layout used in many fiber-optic OCDR systems described in U.S. Pat. No. 6,421,164 and other publications. A fiber splitter is attached to two optical fibers that respectively guide the sampling and reference beams in a Michelson configuration. Common to many of these and other implementations, the optical radiation from the low-coherence source is first physically separated into two separate beams where the sampling beam travels in a sample waveguide to interact with the sample while the reference beam travels in a reference waveguide. The fiber splitter than combines the reflected radiation from the sample and the reference light from the reference waveguide to cause interference.
Lung cancer is one of the most deadly cancers in the United States. Patients with lung cancer have a relatively low 5-year survival rate of only 10-15% after diagnosis. The lung cancer in many patients is already in the second or third stage and has metastasized to other sites or organs by the time they begin to exhibit symptoms and seek medical treatment. Few are diagnosed in early stages where the survival rate can be much higher, approaching 85% for the stage 1 lung cancer. The conventional annual chest X-ray examination has not shown sufficient sensitivity to reveal the isolated, small (e.g., less than 1 centimeter in diameter) tumors typically found in the stage 1 lung cancer.
Recently, emphasis has shifted to early stage detection in major European and Japanese studies. In the US, a major new trial, the National Lung Screening Trial (NLST), has begun and is aimed at evaluating the efficacy of thoracic Computed Tomography (CT) scans in detecting early stage lung cancer. The NLST will compare a randomly selected group of high risk subjects (ex-smokers) who receive annual CT scans to a control group of subjects receiving chest x-rays.
The results of early studies have shown that thoracic CT scans often revealed a substantial number of solitary pulmonary nodules (SPNs). Biopsies have shown that approximately 80% or greater (e.g., 98%) of these SPNs were calcified and benign. However, the CT scan could not distinguish between calcified SPNs and active SPNs. The inability of the CT scans to distinguish malignancies from benign SPNs has led to a vigorous debate as to the efficacy of the CT scans in early screening for lung cancer.
A remedy to this defect of CT scans is to perform one or more pulmonary biopsies in order to further examine the nature of the SPNs identified by the CT scans. Pulmonary biopsies, however, can be risky. Statistics show that one in four pulmonary biopsies results in pneumothorax, a punctured lung. Also, the elderly and patients on blood thinners are at substantial risk of bleeding during pulmonary biopsies. In addition, pulmonary biopsies are relatively expensive. These and other factors have lead to search for alternative diagnostic methods to replace pulmonary biopsies.
The non-invasive optical probing techniques and devices described in this application may be used to detect and diagnose lung diseases in humans and animals including lung cancer. The optical probe head described in various implementations may be inserted into the lung to optically measure various parts of the lung without taking physical samples from the lung. The following sections first describe the specific implementations of non-invasive optical probing based on spectral responses of tissues or parts and interactions of different optical modes in the probe light. Next, examples of integrated lung disease diagnosis and treatment systems that combine CT scan with optical probing and laser treatment are described.
Spectral responses of materials and substances are important in many applications. For example, some distinct material properties are reflected in their spectral responses and can be detected or measured via the spectral responses. A detected or measured distinct property may be used for, e.g., identifying and locating a region or area such as a body part of a person or animal. Next, the identified body part may be further analyzed. As a more specific example, cancer tumors or other conditions can be detected and located using the measured spectral responses. Various non-invasive optical techniques described in this application may be used to measure spectral responses of a targeted body part of a person or animal. An optical probe head is used to scan a probing beam through the body part to optically measure the optical responses of the targeted body part to obtain a map. At each location within the targeted body part, light at different optical wavelengths is used to obtain optical absorption responses at these different wavelengths. Notably, the spectral absorption features of a target layer underneath the surface may be optically selected and measured by rejecting contributions to the reflected probe light made by the tissues outside the boundaries of the target layer.
In some implementations, a single broadband light source may be used for the acquisition of the spectral information within the emission spectral range of the light source. A tunable optical filter may be used to single out the spectral response of a narrow wavelength band within the emitted spectrum of the light source. When an absorbance feature to be measured or various targeted absorbance features in a body part under measured occupy a broad spectral range beyond the emission spectral bandwidth of a single light source, the light source may be implemented by combining two or more light sources for the acquisition of spectral absorbance mapping (SAM) in tissues and other samples.
The following sections first describe various techniques and devices for non-invasive optical probing using a single light source and then describe devices and techniques that combine two or more different light sources at different spectral ranges for the SAM measurements.
Energy in light traveling in an optical path such as an optical waveguide may be in different propagation modes. Different propagation modes may be in various forms. States of optical polarization of light are examples of such propagation modes. Two independent propagation modes do not mix with one another in the absence of a coupling mechanism. As an example, two orthogonally polarization modes do not interact with each other even though the two modes propagate along the same optical path or waveguide and are spatially overlap with each other. The exemplary techniques and devices described in this application use two independent propagation modes in light in the same optical path or waveguide to measure optical properties of a sample. A probe head may be used to direct the light to the sample, either in two propagation modes or in a single propagation modes, and receive the reflected or back-scattered light from the sample.
For example, one beam of guided light in a first propagation mode may be directed to a sample. A first portion of the first propagation mode may be arranged to be reflected before reaching the sample while a second portion in the first propagation mode is allowed to reach the sample. The reflection of the second portion from the sample is controlled in a second propagation mode different from the first propagation mode to produce a reflected second portion. Both the reflected first portion in the first propagation mode and the reflected second portion in the second propagation mode are directed through a common waveguide into a detection module to extract information from the reflected second portion on the sample.
In another example, optical radiation in both a first propagation mode and a second, different propagation mode may be guided through an optical waveguide towards a sample. The radiation in the first propagation mode is directed away from the sample without reaching the sample. The radiation in the second propagation mode is directed to interact with the sample to produce returned radiation from the interaction. Both the returned radiation in the second propagation mode and the radiation in the first propagation mode are coupled into the optical waveguide away from the sample. The returned radiation in the second propagation mode and the radiation in the first propagation mode from the optical waveguide are then used to extract information of the sample.
In these and other implementations based on the disclosure of this application, two independent modes are confined to travel in the same waveguide or the same optical path in free space except for the extra distance traveled by the probing light between the probe head and the sample. This feature stabilizes the relative phase, or differential optical path, between the two modes of light, even in the presence of mechanical movement of the waveguides. This is in contrast to interferometer sensing devices in which sample light and reference light travel in different optical paths. These interferometer sensing devices with separate optical paths are prone to noise caused by the variation in the differential optical path, generally complex in optical configurations, and difficult to operate and implement. The examples described below based on waveguides are in part designed to overcome these and other limitations.
FIG. 2 shows one example of a sensing device according to one implementation. This device directs light in two propagation modes along the same waveguide to an optical probe head near a sample 205 for acquiring information of optical inhomogeneity in the sample. A sample holder may be used to support the sample 205 in some applications. Light radiation from a broadband light source 201 is coupled into the first dual-mode waveguide 271 to excite two orthogonal propagation modes, 001 and 002. A light director 210 is used to direct the two modes to the second dual-mode waveguide 272 that is terminated by a probe head 220. The probe head 220 may be configured to perform at least the following functions. The first function of the probe head 220 is to reverse the propagation direction of a portion of light in the waveguide 272 in the mode 001; the second function of the probe head 220 is to reshape and deliver the remaining portion of the light in mode 002 to the sample 205; and the third function of the probe head 220 is to collect the light reflected from the sample 205 back to the second dual-mode waveguide 272. The back traveling light in both modes 001 and 002 is then directed by light director 210 to the third waveguide 273 and further propagates towards a differential delay modulator 250. The differential delay modulator 250 is capable of varying the relative optical path length and optical phase between the two modes 001 and 002. A detection subsystem 260 is used to superpose the two propagation modes 001 and 002 to form two new modes, mutually orthogonal, to be received by photo-detectors. Each new mode is a mixture of the modes 001 and 002.
The superposition of the two modes 001 and 002 in the detection subsystem 260 allows for a range detection. The light entering the detection subsystem 260 in the mode 002 is reflected by the sample, bearing information about the optical inhomogeneity of the sample 205, while the other mode, 001, bypassing the sample 205 inside probe head 220. So long as these two modes 001 and 002 remain independent through the waveguides their superposition in the detection subsystem 260 may be used to obtain information about the sample 205 without the separate optical paths used in some conventional Michelson interferometer systems.
For the simplicity of the analysis, consider a thin slice of the source spectrum by assuming that the amplitude of the mode 001 is E001 in a first linear polarization and that of the mode 002 is E002 in a second, orthogonal linear polarization in the first waveguide 271. The sample 205 can be characterized by an effective reflection coefficient r that is complex in nature; the differential delay modulator 250 can be characterized by a pure phase shift Γ exerted on the mode 001. Let us now superpose the two modes 001 and 002 by projecting them onto a pair of new modes, EA and EB, by a relative 45-degree rotation in the vector space. The new modes, EA and EB, may be expressed as following:
{ E A = 1 2 ( E 001 + rE 002 ) ; E B = 1 2 ( E 001 - rE 002 ) . ( 1 )
It is assumed that all components in the system, except for the sample 205, are lossless. The resultant intensities of the two superposed modes are
{ I A = 1 2 [ E 001 2 + E 002 2 + r E 001 E 002 cos ( Γ - φ ) ] ; I B = 1 2 [ E 001 2 + E 002 2 - r E 001 E 002 cos ( Γ - φ ) ] , ( 2 )
where φ is the phase delay associated with the reflection from the sample. A convenient way to characterize the reflection coefficient r is to measure the difference of the above two intensities, i.e.
I A −I B =|r|E 001 E 002 cos (Γ−φ).  (3)
If Γ is modulated by the differential delay modulator 250, the measured signal, Eq. (3), is modulated accordingly. For either a periodic or a time-linear variation of Γ, the measured signal responds with a periodic oscillation and its peak-to-peak value is proportional to the absolute value of r.
For a broadband light source 201 in FIG. 2, consider the two phases, Γ and φ to be dependent on wavelength. If the two modes 001 and 002 experience significantly different path lengths when they reach the detection system 260, the overall phase angle, Γ−φ, should be significantly wavelength dependant as well. Consequently the measured signal, being an integration of Eq. (3) over the source spectrum, yields a smooth function even though Γ is being varied. The condition for a significant oscillation to occur in the measured signal is when the two modes 001 and 002 experience similar path lengths at the location of their superposition. In this case the overall phase angle, Γ−φ, becomes wavelength independent or nearly wavelength independent. In other words, for a given relative path length set by the modulator 250, an oscillation in the measured signal indicates a reflection, in the other mode, from a distance that equalizes the optical path lengths traveled by the two modes 001 and 002. Therefore the system depicted in FIG. 2 can be utilized for ranging reflection sources.
Due to the stability of the relative phase between the two modes, 001 and 002, phase-sensitive measurements can be performed with the system in FIG. 2 with relative ease. The following describes an exemplary method based on the system in FIG. 2 for the determination of the absolute phase associated with the radiation reflected from the sample 205.
In this method, a sinusoidal modulation is applied to the differential phase by the differential delay modulator 250, with a modulation magnitude of M and a modulation frequency of Ω. The difference in intensity of the two new modes is the measured and can be expressed as follows:
I A I B =|r|E 001 E 002 cos[M sin(Ωt)−φ].  (4)
It is clear from Eq. (4) that the measured exhibits an oscillation at a base frequency of Ω and oscillations at harmonic frequencies of the base frequency Ω. The amplitudes of the base frequency and each of the harmonics are related to φ and |r|. The relationships between r and the harmonics can be derived. For instance, the amplitude of the base-frequency oscillation and the second harmonic can be found from Eq. (4) to be:
A Ω =E 001 E 002 J 1(M)|r|sin φ;  (5a)
A =E 001 E 002 J 2(M)|r|cos φ,  (5b)
where J1 and J2 are Bessel functions of the first and second order, respectively. Eq. (5a) and (5b) can be used to solve for |r| and φ, i.e. the complete characterization of r. We can therefore completely characterize the complex reflection coefficient r by analyzing the harmonic content of various orders in the measured signal. In particular, the presence of the base-frequency component in the measured is due to the presence of φ.
FIG. 3 shows an exemplary implementation of the system depicted in FIG. 2. The spectrum of source 201 may be chosen to satisfy the desired ranging resolution. The broader the spectrum is the better the ranging resolution. Various light sources may be used as the source 201. For example, some semiconductor superluminescent light emitting diodes (SLED) and amplified spontaneous emission (ASE) sources may possess the appropriate spectral properties for the purpose. In this particular example, a polarization controller 302 may be used to control the state of polarization in order to proportion the magnitudes of the two modes, 001 and 002, in the input waveguide 371. The waveguide 371 and other waveguides 372 and 373 may be dual-mode waveguides and are capable of supporting two independent polarization modes which are mutually orthogonal. One kind of practical and commercially available waveguide is the polarization maintaining (PM) optical fiber. A polarization maintaining fiber can carry two independent polarization modes, namely, the s-wave polarized along its slow axis and the p-wave polarized along its fast axis. In good quality polarization maintaining fibers these two modes can have virtually no energy exchange, or coupling, for substantial distances. Polarization preserving circulator 310 directs the flow of optical waves according to the following scheme: the two incoming polarization modes from fiber 371 are directed into the fiber 372; the two incoming polarization modes from fiber 372 are directed to the fiber 373. A polarization-preserving circulator 310 may be used to maintain the separation of the two independent polarization modes. For instance, the s-wave in the fiber 371 should be directed to the fiber 372 as s-wave or p-wave only. Certain commercially available polarization-preserving circulators are adequate for the purpose.
The system in FIG. 3 implements an optical probe head 320 coupled to the waveguide 372 for optically probing the sample 205. The probe head 320 delivers a portion of light received from the waveguide 372, the light in one mode (e.g., 002) of the two modes 001 and 002, to the sample 205 and collects reflected and back-scattered light in the same mode 002 from the sample 205. The returned light in the mode 002 collected from the sample 205 carries information of the sample 205 and is processed to extract the information of the sample 205. The light in the other mode 001 in the waveguide 372 propagating towards the probe head 320 is reflected back by the probe head 320. Both the returned light in the mode 002 and the reflected light in the mode 001 are directed back by the probe head 320 into the waveguide 372 and to the differential delay modulator 250 and the detection system 260 through the circulator 310 and the waveguide 373.
In the illustrated implementation, the probe head 320 includes a lens system 321 and a polarization-selective reflector (PSR) 322. The lens system 321 is to concentrate the light energy into a small area, facilitating spatially resolved studies of the sample in a lateral direction. The polarization-selective reflector 322 reflects the mode 001 back and transmits the mode 002. Hence, the light in the mode 002 transmits through the probe head 320 to impinge on the sample 205. Back reflected or scattered the light from the sample 205 is collected by the lens system 321 to propagate towards the circulator 310 along with the light in the mode 001 reflected by PSR 322 in the waveguide 372.
FIG. 4 shows details of the probe head 320 and an example of the polarization-selective reflector (PSR) 322 according to one implementation. The PSR 322 includes a polarizing beam splitter (PBS) 423 and a reflector or mirror 424 in a configuration as illustrated where the PBS 423 transmits the selected mode (e.g., mode 002) to the sample 205 and reflects and diverts the other mode (e.g., mode 001) away from the sample 205 and to the reflector 424. By retro reflection of the reflector 424, the reflected mode 001 is directed back to the PBS 423 and the lens system 321. The reflector 424 may be a reflective coating on one side of beam splitter 423. The reflector 424 should be aligned to allow the reflected radiation to re-enter the polarization-maintaining fiber 372. The transmitted light in the mode 002 impinges the sample 205 and the light reflected and back scattered by the sample 205 in the mode 002 transmits through the PBS 423 to the lens system 321. The lens system 321 couples the light in both the modes 001 and 002 into the fiber 372.
In the implementation illustrated in FIG. 3, the detection system 260 includes a polarizing beam splitter 361, and two photodetectors 362 and 363. The polarizing beam splitter 361 is used to receive the two independent polarization modes 001 and 002 from the modulator 250 and superposes the two independent polarization modes 001 and 002. The beam splitter 361 may be oriented in such a way that, each independent polarization is split into two parts and, for each independent polarization mode, the two split portions possess the same amplitude. This way, a portion of the mode 001 and a portion of the mode 002 are combined and mixed in each of the two output ports of the beam splitter 361 to form a superposed new mode and each photodetector receives a superposed mode characterized by Eq. (1). The polarizing beam splitter 361 may be oriented so that the incident plane of its reflection surface makes a 45-degree angle with one of the two independent polarization mode, 001 or 002.
The system in FIG. 3 further implements an electronic controller or control electronics 370 to receive and process the detector outputs from the photodetectors 362 and 363 and to control operations of the systems. The electronic controller 370, for example, may be used to control the probe head 320 and the differential delay modulator 250. Differential delay modulator 250, under the control of the electronics and programs, generates a form of differential phase modulation as the differential path length scans through a range that matches a range of depth inside the sample 205. The electronic controller 370 may also be programmed to record and extract the amplitude of the oscillation in the measured signal characterized by Eq. (3) at various differential path lengths generated by the modulator 250. Accordingly, a profile of reflection as a function of the depth can be obtained as a one-dimensional representation of the sample inhomogeneity at a selected location on the sample 205.
For acquiring two-dimensional images of optical inhomogeneity in the sample 205, the probe head 320 may be controlled via a position scanner such as a translation stage or a piezo-electric positioner so that the probing light scans in a lateral direction, perpendicular to the light propagation direction. For every increment of the lateral scan a profile of reflection as a function of depth can be recorded with the method described above. The collected information can then be displayed on a display and interface module 372 to form a cross-sectional image that reveals the inhomogeneity of the sample 205.
In general, a lateral scanning mechanism may be implemented in each device described in this application to change the relative lateral position of the optical probe head and the sample to obtain a 2-dimensional map of the sample. A xy-scanner, for example, may be engaged either to the optical head or to a sample holder that holds the sample to effectuate this scanning in response to a position control signal generated from the electronic controller 370.
FIGS. 5A and 5B illustrate another exemplary system that use waveguides 271, 272, and 273 and a light director 210 to direct light in two modes to and from the probe head 320 in measuring the sample 205. A first optical polarizer 510 is oriented with respect to the polarization axes of the PM waveguide 271 to couple radiation from the broadband light source 201 into the waveguide 271 in two orthogonal linear polarization modes as the independent propagation modes. An optical phase modulator 520 is coupled in the waveguide 271 to modulate the optical phase of light in one guided mode relative to the other. A variable differential group delay (VDGD) device 530 is inserted in or connected to the waveguide 273 to introduce a controllable amount of optical path difference between the two waves. A second optical polarizer 540 and an optical detector 550 are used here to form a detection system. The second polarizer 540 is oriented to project both of the guided waves onto the same polarization direction so that the changes in optical path difference and the optical phase difference between the two propagation modes cause intensity variations, detectable by the detector 550.
The light from the source 201 is typically partially polarized. The polarizer 510 may be aligned so that maximum amount of light from the source 201 is transmitted and that the transmitted light is coupled to both of the guided modes in the waveguide 271 with the substantially equal amplitudes. The electric fields for the two orthogonal polarization modes S and P in the waveguide 271 can be expressed as:
{ E s = 1 2 E , E p = 1 2 E . ( 6 )
where the electric field transmitting the polarizer is denoted as E. It should be appreciated that the light has a finite spectral width (broadband or partially coherent). The fields can be described by the following Fourier integral:
E=∫E ω e jωt dω.  (7)
For the simplicity of the analysis, a thin slice of the spectrum, i.e. a lightwave of a specific wavelength, is considered below. Without loosing generality, it is assumed that all the components, including polarizers, waveguides, Router, PSR and VDGD, are lossless. Let us designate the reflection coefficient of the sample r, that is complex in nature. The p-wave picks up an optical phase, F, relative to the s-wave as they reach the second polarizer 540:
{ E s = 1 2 E , E p = 1 2 rE . ( 8 )
The light that passes through Polarizer 540 can be expressed by
E a = 1 2 ( E s + E p ) = 1 2 E ( 1 + r ) . ( 9 )
The intensity of the light that impinges on the photodetector 550 is given by:
I = E a E a * = 1 4 E 2 [ 1 + r 2 + 2 r cos ( Γ + δ ) ] . ( 10 )
where phase angle δ reflects the complex nature of the reflection coefficient of the sample 205 and is defined by
r=|r|e .  (11)
Assuming the modulator 520 exerts a sinusoidal phase modulation, with magnitude M and frequency Ω, in the p-wave with respect to the s-wave, the light intensity received by the detector 550 can be expressed as follows:
I = 1 + r 2 4 E 2 + r 2 E 2 cos [ M sin ( Ω t ) + φ + δ ] . ( 12 )
where phase angle φ is the accumulated phase slip between the two modes, not including the periodic modulation due to the modulator 520. The VDGD 530 or a static phase shift in the modulator 520, may be used to adjust the phase difference between the two modes to eliminate φ.
FIG. 6 illustrates the waveform of the intensity I received at the detector 550 as a function of the phase. The detected light intensity exhibits an oscillating waveform that possesses a base frequency of Ω and its harmonics. The amplitudes of the base frequency and each of the harmonics are related to δ and |r|. The mathematical expressions for the relationships between r and the harmonics can be derived. For instance, the amplitude of the base-frequency oscillation and the second harmonic are found to be:
A Ω=0.5|E| 2 J 1(M)|r|sin δ;  (13a)
A =0.5|E| 2 J 2(M)|r|cos δ,  (13b)
where J1 and J2 are Bessel functions of the first and second order, respectively. Eq. (13a) and (13b) can be used to solve for |r| and δ, i.e. the complete characterization of r.
The effect of having a broadband light source 201 in the system in FIGS. 5A and 5B is analyzed below. When there is a significant differential group delay between the two propagation modes there must be an associated large phase slippage φ that is wavelength dependent. A substantial wavelength spread in the light source means that the phase slippage also possesses a substantial spread. Such a phase spread cannot be eliminated by a phase control device that does not also eliminate the differential group delay. In this case the detected light intensity is given by the following integral:
I = { 1 + r 2 4 E ( λ ) 2 + r 2 E ( λ ) 2 cos [ M sin ( Ω t ) + φ ( λ ) + δ ] } λ . ( 14 )
It is easy to see that if the range of φ(λ) is comparable to π for the bandwidth of the light source no oscillation in I can be observed as oscillations for different wavelengths cancel out because of their phase difference. This phenomenon is in close analogy to the interference of white light wherein color fringes are visible only when the path difference is small (the film is thin). The above analysis demonstrates that the use of a broadband light source enables range detection using the proposed apparatus. In order to do so, let the s-wave to have a longer optical path in the system compared to the p-wave (not including its round-trip between Probing Head and Sample). For any given path length difference in the system there is a matching distance between Probing Head and Sample, z, that cancels out the path length difference. If an oscillation in I is observed the p-wave must be reflected from this specific distance z. By varying the path length difference in the system and record the oscillation waveforms we can therefore acquire the reflection coefficient r as a function of the longitudinal distance z, or depth. By moving Probing Head laterally, we can also record the variation of r in the lateral directions.
FIG. 7 further shows one exemplary operation of the described system in FIG. 5B or the system in FIG. 3 for acquiring images of optical inhomogeneity. At step 710, the relative phase delay between the two modes is changed, e.g., increased by an increment, to a fixed value for measuring the sample 205 at a corresponding depth. This may be accomplished in FIG. 5B by using the differential delay device 530 or the bias in the differential delay modulator 250 in FIG. 3. At step 720, a modulation driving signal is sent to the modulator 520 in FIG. 5B or the modulator 250 in FIG. 3 to modulate the relative phase delay between the two modes around the fixed value. At step 730, the intensity waveform received in the detector 550 in FIG. 5B or the intensity waveforms received in the detectors 362,363 in FIG. 3 are measured and stored in the electronic controller 370. Upon completion of the step 730, the electronic controller 370 controls the differential delay device 530 in FIG. 5B or the bias in the differential delay modulator 250 in FIG. 3 to change the relative phase delay between the two modes to a different fixed value for measuring the sample 205 at a different depth. This process iterates as indicated by the processing loop 740 until desired measurements of the sample at different depths at the same location are completed. At this point, electronic controller 370 controls the probe head 320 to laterally move to a new location on the sample 205 and repeat the above measurements again until all desired locations on the sample 205 are completed. This operation is represented by the processing loop 750. The electronic controller 370 processes each measurement to compute the values of δ and |r| from the base oscillation and the harmonics at step 760. Such data processing may be performed after each measurement or after all measurements are completed. At step 770, the computed data is sent to the display module 372.
In the above implementations, light for sensing the sample 205 is not separated into two parts that travel along two different optical paths. Two independent propagation modes of the light are guided essentially in the same waveguide at every location along the optical path except for the extra distance traveled by one mode between the probe head 320 and the sample 205. After redirected by the probe head 320, the two modes are continuously guided in the same waveguide at every location along the optical path to the detection module.
Alternatively, the light from the light source to the probe head may be controlled in a single propagation mode (e.g., a first propagation mode) rather than two different modes. The probe head may be designed to cause a first portion of the first mode to reverse its propagation direction while directing the remaining portion, or a second portion, to reach the sample. The reflection or back scattered light of the second portion from the sample is collected by the probe head and is controlled in the second propagation mode different from the first mode to produce a reflected second portion. Both the reflected first portion in the first propagation mode and the reflected second portion in the second propagation mode are directed by the probe head through a common waveguide into the detection module for processing. In comparison with the implementations that use light in two modes throughout the system, this alternative design further improves the stability of the relative phase delay between the two modes at the detection module and provides additional implementation benefits.
FIGS. 8A and 8B illustrate one exemplary design of the optical layout of the optical sensing system and its system implementation with an electronic controller. An input waveguide 871 is provided to direct light in a first propagation mode, e.g., the mode 001, from the broadband light source 201 to a light director 810. The waveguide 871 may be a mode maintaining waveguide designed to support at least one propagation mode such as the mode 001 or 002. When light is coupled into the waveguide 871 in a particular mode such as the mode 001, the waveguide 871 essentially maintains the light in the mode 001. A polarization maintaining fiber supporting two orthogonal linear polarization modes, for example, may be used as the waveguide 871. Similar to systems shown in FIGS. 2, 3, 5A and 5B, dual- mode waveguides 272 and 273 are used to direct the light. A light director 510 is used to couple the waveguides 871, 272, and 273, to convey the mode 001 from the input waveguide 871 to one of the two modes (e.g., modes 001 and 002) supported by the dual-mode waveguide 272, and to direct light in two modes from the waveguide 272 to the dual-mode waveguide 273. In the example illustrated in FIG. 8A, the light director 810 couples the light in the mode 001 from the waveguide 871 into the same mode 001 in the waveguide 272. Alternatively, the light director 810 may couple the light in the mode 001 from the waveguide 871 into the different mode 002 in the waveguide 272. The dual-mode waveguide 271 is terminated at the other end by a probe head 820 which couples a portion of light to the sample 205 for sensing.
The probe head 820 is designed differently from the prove head 320 in that the probe head 830 converts part of light in the mode 001 into the other different mode 002 when the light is reflected or scattered back from the sample 205. Alternatively, if the light in the waveguide 272 that is coupled from the waveguide 871 is in the mode 002, the probe head 820 converts that part of light in the mode 002 into the other different mode 001 when the light is reflected or scattered back from the sample 205. In the illustrated example, the probe head 820 performs these functions: a) to reverse the propagation direction of a small portion of the incoming radiation in mode 001; b) to reshape the remaining radiation and transmit it to the sample 205; and c) to convert the radiation reflected from the sample 205 to an independent mode 002 supported by the dual-mode waveguide 272. Since the probe head 820 only converts part of the light into the other mode supported by the waveguide 272, the probe head 820 is a partial mode converter in this regard. Due to the operations of the probe head 820, there are two modes propagating away from the probe head 820, the mode 001 that bypasses the sample 205 and the mode 002 for light that originates from sample reflection or back scattering. From this point on, the structure and operations of the rest of the system shown in FIG. 8A may be similar to the systems in FIGS. 2, 3, 5A, and 5B.
FIG. 8B shows an exemplary implementation of the design in FIG. 8A where an electronic controller 2970 is used to control the differential delay modulator 250 and the probe head 820 and a display and interface module 372 is provided. Radiation from broadband light source 201, which may be partially polarized, is further polarized and controlled by an input polarization controller 802 so that only a single polarization mode is excited in polarization-maintaining fiber 371 as the waveguide 871 in FIG. 8A. a polarization preserving circulator may be used to implement the light director 810 for routing light from the waveguide 371 to the waveguide 372 and from the waveguide 372 to the waveguide 373.
The probe head 820 in FIG. 8B may be designed to include a lens system 821 similar to the lens system 321, a partial reflector 822, and a polarization rotator 823. The partial reflector 822 is used to reflect the first portion of light received from the waveguide 372 back to the waveguide 372 without changing its propagation mode and transmits light to and from the sample 205. The polarization rotator 823 is used to control the light from the sample 205 to be in the mode 002 upon entry of the waveguide 372.
FIG. 9 shows another example of a system implementation where the optical probe head 820 receives light in a single input mode and converts part of light into a different mode. An input polarizer 510 is used in the input PM fiber 272 to control the input light in the single polarization mode. A phase modulator 520 and a variable differential group delay device 530 are coupled to the output PM fiver 273 to control and modulate the relative phase delay of the two modes before optical detection. An output polarizer 540 is provided to mix the two modes and the detector 550 is used to detect the output from the output polarizer 540.
FIGS. 10A and 10B show two examples of the possible designs for the probe head 820 including a partially reflective surface 1010, a lens system 1020, and a quarter-wave plate 1030 for rotating the polarization and to convert the mode. In FIG. 10A, the termination or end facet of polarization-maintaining fiber 372 is used as the partial reflector 1010. An uncoated termination of an optical fiber reflects approximately 4% of the light energy. Coatings can be used to alter the reflectivity of the termination to a desirable value. The lens system 1020 reshapes and delivers the remaining radiation to sample 205. The other role played by the lens system 1020 is to collect the radiation reflected from the sample 205 back into the polarization-maintaining fiber 372. The quarter wave plate 1030 is oriented so that its optical axis make a 45-degree angle with the polarization direction of the transmitted light. Reflected light from the sample 205 propagates through the quarter wave plate 1030 once again to become polarized in a direction perpendicular to mode 001, i.e. mode 002. Alternatively, the quarter wave plate 1030 may be replaced by a Faraday rotator. The head design in FIG. 10B changes the positions of the lens system 1020 and the quarter wave plate or Faraday rotator 1030.
In the examples in FIGS. 8A, 8B, and 9, there is only one polarization mode entering the light director 810 or the polarization-preserving circulator from waveguide 871 or 371. Therefore, the light director 810 or the polarization preserving circulator may be constructed with a polarization-maintaining optical circulator 1110 and two polarization beam splitters 1120 and 1130 as shown in FIG. 11. The polarization-maintaining circulator 1110 is used to convey only one polarization mode among its three ports, rather than both modes as in the case shown in FIGS. 3, 5A and 5B. The polarizing beam splitter 1120 and 1130 are coupled to polarization-maintaining circulator 1110 so that both polarization modes entering Port 2 are conveyed to Port 3 and remain independent.
A number of hardware choices are available for differential delay modulator 250. FIG. 12 illustrates the general design of the modulator 250 where an external control signal is applied to control a differential delay element to change and modulate the relative delay in the output. Either mechanical or non-mechanical elements may be used to produce the desired relative delay between the two modes and the modulation on the delay.
In one implementation, a non-mechanical design may include one or more segments of tunable birefringent materials such as liquid crystal materials or electro-optic birefringent materials such as lithium niobate crystals in conjunction with one or more fixed birefringent materials such as quartz and rutile. The fixed birefringent material provides a fixed delay between two modes and the tunable birefringent material provides the tuning and modulation functions in the relative delay between the two modes. FIG. 12A illustrates an example of this non-mechanical design where the two modes are not physically separated and are directed through the same optical path with birefringent segments which alter the relative delay between two polarization modes.
FIG. 12B shows a different design where the two modes in the received light are separated by a mode splitter into two different optical paths. A variable delay element is inserted in one optical path to adjust and modulate the relative delay in response to an external control signal. A mode combiner is then used to combine the two modes together in the output. The mode splitter and the mode combiner may be polarization beams splitters when two orthogonal linear polarizations are used as the two modes.
The variable delay element in one of the two optical paths may be implemented in various configurations. For example, the variable delay element may be a mechanical element. A mechanical implementation of the device in FIG. 12B may be constructed by first separating the radiation by polarization modes with a polarizing beam splitter, one polarization mode propagating through a fixed optical path while the other propagating through a variable optical path having a piezoelectric stretcher of polarization maintaining fibers, or a pair of collimators both facing a mechanically movable retroreflector in such a way that the light from one collimator is collected by the other through a trip to and from the retroreflector, or a pair collimators optically linked through double passing a rotatable optical plate and bouncing off a reflector.
FIGS. 13A and 13B illustrate two examples of a mechanical variable delay element suitable for FIG. 12B. Such a mechanical variable delay device may be used to change the optical path length of a light beam at high speeds and may have various applications other than what is illustrated in FIG. 12B. In addition, the optical systems in this application may use such a delay device.
The mechanical delay device shown in FIG. 13A includes an optical beam splitter 1310, a rotating optical plate 1320 which may be a transparent plate, and a mirror or reflector 1330. The beam splitter 1310 is used as the input port and the output port for the device. The rotating optical plate 1320 is placed between the mirror 1330 and the beam splitter 1310. The input light beam 1300 is received by the beam splitter 1310 along the optical path directing from the beam splitter 1310 to the mirror 1330 through the rotating optical plate 1320. A portion of the light 1300 transmitting through the beam splitter 1310 is the beam 1301 which impinges on and transmits through the rotating optical plate 1320. The mirror or other optical reflector 1330 is oriented to be perpendicular to the light beam incident to the optical plate 1310 from the opposite side. The reflected light beam 1302 from the mirror 1320 traces the same optical path back traveling until it encounters the Beam Splitter 1310. The Beam Splitter 1310 deflects part of the back traveling light 1302 to a different direction as the output beam 1303.
In this device, the variation of the optical path length is caused by the rotation of the Optical Plate 1320. The Optical Plate 1320 may be made of a good quality optical material. The two optical surfaces may be flat and well polished to minimize distortion to the light beam. In addition, the two surfaces should be parallel to each other so that the light propagation directions on both sides of the Optical Plate 1320 are parallel. The thickness of the Optical Plate 1320 may be chosen according to the desirable delay variation and the range of the rotation angle. The optical path length experienced by the light beam is determined by the rotation angle of the Optical Plate 1320. When the surfaces of the Optical Plate 1320 is perpendicular to the light beam (incident angle is zero), the path length is at its minimum. The path length increases as the incident angle increases.
In FIG. 13A, it may be beneficial to collimate the input light beam so that it can travel the entire optical path without significant divergence. The Optical Plate 1320 may be mounted on a motor for periodic variation of the optical delay. A good quality mirror with a flat reflecting surface should be used to implement the mirror 1330. The reflecting surface of the mirror 1330 may be maintained to be perpendicular to the light beam.
If a linearly polarized light is used as the input beam 1300 in FIG. 13A, it is beneficial to have the polarization direction of the light parallel to the incident plane (in the plane of the paper) as less reflection occurs at the surfaces of Optical Plate 1320 for this polarization compared to other polarization directions. Antireflection coatings can be used to further reduce the light reflection on the surfaces of the Optical Plate 1320.
The beam splitter 1310 used in FIG. 13A uses both its optical transmission and optical reflection to direct light. This aspect of the beam splitter 1310 causes reflection loss in the output of the device due to the reflection loss when the input light 1300 first enters the device through transmission of the beam splitter 1310 and the transmission loss when the light exits the device through reflection of the beam splitter 1310. For example, a maximum of 25% of the total input light may be left in the output light if the beam splitter is a 50/50 beam splitter. To avoid such optical loss, an optical circulator may be used in place of the beam splitter 1320. FIG. 13B illustrates an example where the optical circulator 1340 with 3 ports is used to direct input light to the optical plate 1320 and the mirror 1330 and directs returned light to the output port. The optical circulator 1340 may be designed to direct nearly all light entering its port 1 to port 2 and nearly all light entering its port 2 to the port 3 with nominal optical loss and hence significantly reduces the optical loss in the device. Commercially available optical circulators, either free-space or fiber-based, may be used to implement the circulator 1340.
FIG. 14A shows an exemplary implementation of the delay device in FIG. 12B as part of or the entire differential delay modulator 250. A first optical mode splitter 1410 is used to separate two modes in the waveguide 373 into two paths having two mirrors 1431 and 1432, respectively. A second optical mode splitter 1440, which is operated as a mode combiner, is used to combine the two modes into an output. If the two modes are two orthogonal linear polarizations, for example, polarization beam splitters may be used to implement the 1410 and 1440. A variable optical delay line or device 1420 is placed in the upper path to control the differential delay between the two paths. The output may be coupled into another dual-mode waveguide 1450 leading to the detection module or directly sent into the detection module. FIG. 14B shows a delay device based on the design in FIG. 14A where the mirror 1432 and the variable optical delay line 1420 are implemented by the mechanical delay device in FIG. 13A. The mechanical delay device in FIG. 13B may also be used to implement the device in FIG. 14A.
In the above examples, a single dual- mode waveguide 272 or 372 is used as an input and output waveguide for the probe head 220, 320, or 820. Hence, the input light, either in a single mode or two independent modes, is directed into the probe head through that dual- mode waveguide 272 or 372, and the output light in the two independent modes is also directed from the probe head to the detection subsystem or detector.
Alternatively, the single dual- mode waveguide 272 or 372 may be replaced by two separate waveguides, one to direct input light from the light source to the probe head and another to direct light from the probe head to the detection subsystem or detector. As an example, the device in FIG. 2 may have a second waveguide different from the waveguide 272 to direct reflected light in two different modes from the optical probe head 220 to the modulator 250 and the detection subsystem 260. In this design, the light director 210 may be eliminated. This may be an advantage. In implementation, the optics within the probe head may be designed to direct the reflected light in two modes to the second waveguide.
FIG. 15 illustrates an example for this design as an alternative to the device shown in FIG. 5B. In this design, the probing light is delivered to the sample 205 through one dual-mode waveguide 1510 and the reflected/scattered light is collected by the probe head 320 and is directed through another dual-mode waveguide 1520. With the probe head shown in FIG. 4, the mirror 424 may be oriented and aligned so that the light is reflected into the waveguide 1520 instead of the waveguide 1510. This design may be applied to other devices based on the disclosure of this application, including the exemplary devices in FIGS. 2, 3, 8A, 8B and 9.
The above-described devices and techniques may be used to obtain optical measurements of a given location of the sample at different depths by controlling the relative phase delay between two modes at different values and optical measurements of different locations of the sample to get a tomographic map of the sample at a given depth or various depths by laterally changing the relative position of the probe head over the sample. Such devices and techniques may be further used to perform other measurements on a sample, including spectral selective measurements on a layer of a sample.
In various applications, it may be beneficial to obtain information about certain substances, identifiable through their spectral absorbance, dispersed in the samples. For this purpose, a tunable bandpass filter may be used to either filter the light incident to the probe head to select a desired spectral window within the broadband spectrum of the incident light to measure the response of the sample and to vary the center wavelength of the spectral window to measure a spectral distribution of the responses of the sample. This tuning of the bandpass filter allows a variable portion of the source spectrum to pass while measuring the distribution of the complex reflection coefficient of the sample.
Alternatively, the broadband light may be sent to the optical probe head without optical filtering and the spectral components at different wavelengths in the output light from the probe head may be selected and measured to measure the response of the sample around a selected wavelength or the spectral distribution of the responses of the sample. In one implementation, a tunable optical bandpass filter may be inserted in the optical path of the output light from the probe head to filter the light. In another implementation, a grating or other diffractive optical element may be used to optically separate different spectral components in the output light to be measured by the detection subsystem or the detector.
As an example, FIG. 16 shows a system based on the design in FIG. 2 where a tunable filter 1610 is inserted in the input waveguide 271 to filter the input light in two different modes. FIG. 17 shows another exemplary system based on the design in FIG. 8A where a tunable filter 1710 is inserted in the input waveguide 871 to filter the input light in a single mode. Such a tunable filter may be placed in other locations.
FIG. 18 illustrates the operation of the tunable bandpass filter in the devices in FIGS. 16 and 17. The filter selects a narrow spectral band within the spectrum of the light source to measure the spectral feature of the sample.
Notably, the devices and techniques of this application may be used to select a layer within a sample to measure by properly processing the measured data. Referring back to the devices in FIGS. 16 and 17, let us assume that the absorption characteristics of a layer bounded by interfaces I and II is to be measured. For the simplicity of description, it is assumed that the spectral absorption of the substance in the layer is characterized by a wavelength-dependent attenuation coefficient μh(λ) and that of other volume is characterized by μg(λ). It is further assumed that the substance in the vicinity of interface I (II) possesses an effective and wavelength independent reflection coefficient rI (rII). If the characteristic absorption of interest is covered by the spectrum of the light source, an optical filter 1610 or 1710 with a bass band tunable across the characteristic absorption of the sample 205 may be used to measure the spectral responses of the sample 205 centered at different wavelengths.
In operation, the following steps may be performed. First, the differential delay modulator 250 is adjusted so that the path length traveled by one mode (e.g., the mode 001) matches that of radiation reflected from interface I in the other mode (e.g., the mode 002). At this point, the pass band of filter 1610 or 1710 may be scanned while recording the oscillation of the measured signal due to a periodic differential phase generated by the modulator 250. The oscillation amplitude as a function of wavelength is given by
A I(λ)=r I e −2μ g (λ)z I   (15)
where zI is the distance of interface I measured from the top surface of the sample 205. Next, the differential delay modulator 250 is adjusted again to change the differential delay so that the path length traveled by the mode 001 matches that of radiation reflected from interface II in the mode 002. The measurement for the interface II is obtained as follows:
A II(λ)=r II e −2μ g (λ)z I −2μ h (λ)z II ,  (16)
where zII is the distance of interface II measured from interface I. To acquire the absorption characteristics of the layer bounded by the interfaces I and II, Eq. (7) and Eq. (6) can be used to obtain the following ratio:
A II ( λ ) A I ( λ ) = r II r I - 2 μ h ( λ ) z II . ( 17 )
Notably, this equation provides the information on the absorption characteristics of the layer of interest only and this allows measurement on the layer. This method thus provides a “coherence gating” mechanism to optically acquire the absorbance spectrum of a particular and designated layer beneath a sample surface.
It should be noted that the pass band of the optical filter 1610 or 1710 may be designed to be sufficiently narrow to resolve the absorption characteristics of interest and at the meantime broad enough to differentiate the layer of interest. The following example for monitoring the glucose level by optically probing a patient's skin shows that this arrangement is reasonable and practical.
Various dependable glucose monitors rely on taking blood samples from diabetes patients. Repeated pricking of skin can cause considerable discomfort to patients. It is therefore desirable to monitor the glucose level in a noninvasive manner. It is well known that glucose in blood possesses “signature” optical absorption peaks in a near-infrared (NIR) wavelength range. It is also appreciated the main obstacle in noninvasive monitoring of glucose is due to the fact that a probing light beam interacts, in its path, with various types of tissues and substances which possess overlapping absorption bands. Extracting the signature glucose peaks amongst all other peaks has proven difficult.
The above “coherence gating” may be used to overcome the difficulty in other methods for monitoring glucose. For glucose monitoring, the designated layer may be the dermis layer where glucose is concentrated in a network of blood vessels and interstitial fluid.
FIG. 19A illustrates an example of a human skin tissue where the coherence gating technique described here can be used to measure the glucose concentration in the dermis layer between the epidermis and the subcutaneous layers. The dermis layer may be optically selected and measured with the coherence gating technique. It is known that the superficial epidermis layer, owing to its pigment content, is the dominant source of NIR absorption. Because of the absence of blood, however, the epidermis yields no useful information for glucose monitoring. The coherent gating technique can be applied to acquire solely the absorbance spectrum of the dermis layer by rejecting the absorptions of the epidermis and the subcutaneous tissues. An additional advantage of this technique is from the fact that dermis exhibits less temperature variation compared to the epidermis. It is known that surface temperature variation causes shifts of water absorption, hampering glucose monitoring.
FIG. 19B shows some predominant glucose absorption peaks in blood in a wavelength range between 1 and 2.5 microns. The width of these peaks are approximately 150 nm. To resolve the peaks, the bandwidth of the tunable bandpass filter may be chosen to be around 30 nm. The depth resolution is determined by the following equation:
2 ln ( 2 ) π λ o 2 Δλ = 60 μ m ( 18 )
Therefore, the coherence gating implemented with the devices in FIGS. 16 and 17 or other optical sensing devices may be used to determine the absorption characteristics of the glucose in tissue layers no less than 60 μm thick. As illustrated in FIG. 19A, human skin consists of a superficial epidermis layer that is typically 0.1 mm thick. Underneath epidermis is the dermis, approximately 1 mm thick, where glucose concentrates in blood and interstitial fluids. The above analysis indicates that it is possible to use the apparatus shown in FIGS. 16 and 17 to isolate the absorption characteristics of the dermis from that of the epidermis and other layers.
It is clear from Eq. (18) that the product of spectral resolution and layer resolution is a constant for a given center wavelength λ0. The choice of the filter bandwidth should be made based on the tradeoff between these two resolutions against the specific requirements of the measurement.
The tunable bandpass filter 1610 or 1710 may be operated to acquire the absorption characteristics of an isolated volume inside a sample.
FIG. 20 illustrates one exemplary implementation of the detection subsystem 260 in FIG. 3 where two diffraction gratings 2010 and 2020 are used to separate different spectral components in the output light beams from the polarizing beam splitter 361. A lens 2012 is positioned to collect the diffracted components from the grating 2010 and focus different spectral components to different locations on its focal plane. A detector array 2014 with multiple photodetector elements is placed at the focal plane of the lens 2012 so that different spectral components are received by different photodetector elements. A second lens 2022 and a detector array 2024 are used in the optical path of the diffracted components in a similar way. In devices shown in FIGS. 5A, 5B, 8A, and 8B where a single optical detector is used for measurements, a single grating, a lens, and a detector array may be used.
In operation, each detector element receives light in a small wavelength interval. The photocurrents from all elements in an array can be summed to form a signal which is equivalent to the signal received in each single detector without the grating shown in FIG. 3. By selectively measuring the photocurrent from an individual element or a group of elements in an array, the spectral information of the sample can be obtained.
In the above described examples, the optical probe head sends out light in two different propagation modes where light in one of the two modes carries the information from the sample. Alternatively, light in a single propagation mode may be used as the input light to the optical probe head and as output light from the optical probe head. Hence, devices based on this design not only use a common optical path to direct light to and from the probe head and sample but also control the light in a single mode. In comparison with above examples where two different modes are used for light coming out of the probe heads, this single-mode design further eliminates or reduces any differences between different modes that propagate in the same optical path.
FIG. 21 shows one exemplary system for acquiring information of optical inhomogeneity and other properties in substances with only one propagation mode inside waveguides. A broadband or low-coherence light from Broadband Light Source 201 is directed to a probe head 2110 by means of polarization-maintaining waveguides 271 and 272. A partial reflector inside the probe head 2110 reverses the direction of a small portion of the input light to create a radiation wave 1 while transmitting the remainder of the input light to the sample 205. Backscattered or reflected light from the sample 205 becomes a second radiation wave 2 and is collected by the probe head 2110. The probe head 2110 combines and couples both the radiation waves 1 and 2 back into the waveguide 272. The radiation waves 1 and 2 travel in the waveguide 272 towards Light the light director 210 which directs radiation waves 1 and 2 through the waveguide 273 towards the detection module 2101. Notably, the radiation waves 1 and 2 output from the probe head 2110 are in the same mode as the input light to the probe head 2110. the probe head 2110 does not change the mode of light when directing the radiation waves 1 and 2 to the waveguide 272.
The detection module 2101 includes a beam Splitter 2120, two optical paths 2121 and 2122, an optical variable delay element 2123 in the path 2122, a beam combiner 2130, and two optical detectors 2141 and 2142. The beam splitter 2120 splits the light in the waveguide 273, which includes the radiation waves 1 and 2 in the same mode, into two parts that respectively propagate in the two optical paths 2121 and 2122. Notably, each of the two parts includes light from both the radiation waves 1 and 2. The variable delay element or delay line 2123 in the optical path 2122 is controlled by a control signal to adjust the relative optical delay between the two optical paths 2121 and 2122 and may be implemented by, e.g., the exemplary delay elements described in this application and other delay designs. The beam combiner 2130 combines the signals of the two optical paths to overlap with each other and to output two optical signals for optical detectors 2141 and 2142, respectively. The beam combiner may be a polarization beam splitter which splits the combined light into two parts, orthogonal in polarization to one another.
The probe head 2110 may include a partial reflector to produce the radiation wave 1 which does not reach the sample 205. Assuming the single propagation mode for the light to the probe head 2110 and the light out of the probe head 21110 is a polarization mode, the light reflected from the partial reflector in the probe head 2110, i.e., the radiation wave 1, has the same polarization as the light collected from the sample, the radiation wave 2. Therefore, both Radiation 1 and 2 travel in the same propagation mode in the waveguides, 272 and 273. Because the radiation waves 1 and 2 are reflected from different locations, they experience different optical path lengths when reaching the beam splitter 2120. The effect of variable delay element 2123 is to add an adjustable amount of the delay in the light in the path 2122 relative to the light in the path 2121.
In operation, the variable delay element 2123 can be adjusted so that the partial radiation 1 reaching the polarization beam splitter 2130 through the path 2122 can be made to experience a similar optical path length as the partial radiation 2 reaching the beam splitter 2130 via the other path 2121. The superposition of the two beams at the photo detectors 2141 and 2142 causes a measurable intensity variation as their relative path length is being varied by the variable delay element 2123. This variation can be utilized to retrieve information on the inhomogeneity and other properties of the sample 205.
FIG. 22 shows an exemplary implementation of the system in FIG. 21 using polarization maintaining optical fibers. A polarization controller 202 may be placed at the output of the light source 201 to control the polarization of the input light in one polarization mode. The optical head 2110 is shown to include a lens system 2111 and a partial reflector 2112. Two mirrors 1 and 2 are used to construct the two optical paths between the beam splitters 2120 and 2130. The optical radiation reflected from the partial reflector 2122 and from the sample 205 travel in the polarization-maintaining (PM) fiber 272 in the same mode. The main portions of the radiation waves 1 and 2 are deflected to the mirror 1 while the remaining portions are directed to the mirror 2 by the beam splitter 2120.
The incident plane of the polarizing beam splitter 2130 can be made to have a finite angle with respect to the polarization directions of light from both the Mirror 2 in one optical path and the variable delay element 2123 from the other optical path. In this configuration, light energies received by both detectors 2141 and 2142 are the superposition of the two radiations, i.e., Radiation 1 and Radiation 2. It should be appreciated that the linkage between the beam splitters 2120 and 2130 can be made by means of optical fibers or other optical waveguides to eliminate the free space paths and the two mirrors 1 and 2.
In the examples shown in FIGS. 21 and 22, the spacing between the optical head 2110 and the sample 205 may be greater than the sample depth of interest so that, upon reaching the beam splitter 2130, the partial radiation 1 experiences optical path length similar only to that of partial radiation 2. In other words, split parts of the same radiation do not experience similar optical path length during the operation of the systems in FIGS. 21 and 22.
FIG. 23 shows one exemplary optical arrangement for the probe head 2110. The partial reflector 2310 can be realized with a partially reflective fiber termination, i.e., the end facet of the fiber 272. An uncoated fiber tip has a reflectivity of approximately 4% and thus may be used as this partial reflector. Optical coating on the end facet may be used to change the reflectivity to a desirable value.
The reflectance of the fiber termination 2310 may be chosen based on several factors. In one respect, the radiation wave 1 should be strong enough so that its superposition with the radiation wave 2 creates an adequate intensity variation at the two detectors 2141 and 2142. On the other hand, the radiation wave 1 may not be too strong as it may overwhelm the photodetectors 2141 and 2142, prohibiting the use of high gain in the detection systems. For optimized operation of the system, one may want to choose the reflectance of the fiber termination to be comparable to the total light collected by the fiber from the sample.
In FIGS. 21 and 22, a common waveguide 272 is used for both sending input light into the probe head 2110 and directing output light output the probe head 2110. Alternatively, similar to the design in FIG. 15, the waveguide 272 may be replaced by an input waveguide for sending input light into the probe head 2110 and an output waveguide directing output light output the probe head 2110 to the beam splitter 2120 of the detection module 2101. In this design, the light director 210 can be eliminated and the optical probe head 2110 may be designed to direct output light with both the radiation waves 1 and 2 into the output waveguide.
Similar to tuning the frequency of light in other examples as described, in implementing the devices in FIGS. 21 and 22, a tunable optical bandpass filter may be used to tune the frequency band of the light to selectively measure the property of the sample 205 at the frequency band of the filter. In addition, the use of gratings in the detection module to measure different spectral components of the sample as shown in FIG. 20 may be used in the module 2101 as well.
FIG. 24 further illustrates the measuring technique for optically targeting a layer underneath the surface of a body for its spectral absorbance. Referring to Equations (15)-(17), the optical differential delay can be adjusted to obtain the measurements AI and AII from the two depths I and II in order to obtain measurement for the layer between the depths I and II. If the center wavelength of the light source λ is scanned to obtain measurements at different wavelengths, the measured ratio in Equation (17) can be used to obtain spectral absorption characteristics of the substance bounded by interfaces I and II only, i.e. μh(λ). Therefore, this techniques effectively isolates the substance between I and II in terms of its spectral absorbance for the measurement. This procedure can be carried out for all layers, by varying the depths of the interfaces I and II, to obtain a cross-sectional spectral absorbance mapping (SAM).
One way to obtain SAM measurements is to first obtain the cross-sectional maps of the reflectance, A(λ), at two or more different wavelengths using light radiations centered at these wavelengths. When a single light source is used as described above, a tunable optical filter is used to select the different wavelengths at each spatial location of the probe head over the target area to obtain measurements. Upon completing measurements at different wavelengths at one location, the probe head is moved to the next location and the measurements repeat. This process continues until all locations within the target area are measured. This use of the optical differential delay at variable delay values and the scan along the target surface in combination effectuates a 3-dimensional mapping of the spectral absorbance of the target area.
In some applications where the sample has absorption features in a broad spectral range, a single light source may not be able to provide a sufficiently broad spectral coverage over these absorption features. The following sections describe techniques that use two or more light sources with radiations centered at different wavelengths to provide a broad spectral coverage in SAM measurements.
Various optical arrangements described here can be adopted for performing SAM measurements. Several examples are described below for using multiple light sources at different wavelengths.
FIG. 25 shows an optical device 2500 that uses two or more different light sources 2510 at different optical wavelengths to obtain reflectance maps from a sample. Each light source emits within a bandwidth Δλ centered at a different wavelength from other light sources. The wavelengths of the light sources 2510 can be selected to cover the spectral range of the absorption features in samples to be measured. In some applications, the wavelengths of 2510 may be selected to effectively sample a specific absorbance feature of interest, as shown in FIG. 31. and thus may not cover other absorption features in the sample. In a specific implementation, the bandwidth Δλ of each light source should be selected with consideration of the depth spatial resolution desired for the measurements. An optical multiplexer 2520 is used to receive the optical radiations from different light sources 2510, to combine these optical waves into a common optical path, i.e., the common optical waveguide 271. The light director 210 directs the combined optical radiation to the probe head 220 via a common waveguide 272. The probe head 220, which is positioned above the sample 205, split a portion of light from the multiplexed or combined optical radiation as the probe light and direct this probe light to the sample 205. The reflected light from the sample 205 is collected by the probe head 220 and is directed to the differential delay modulator 250 via the waveguide 272, the light director 210 and another waveguide 273. Details, various implementations and operations of the device 2500 are described in previous sections. An optical demultiplexer 2530 is further used to separate the light output from the differential delay modulator 250 spatially based on different wavelength bands centered at the different wavelengths of the light sources 2510. Accordingly, an array of different optical detector modules 2540 are used to respectively receive and detect the separated beams of different wavelength bands. As an example, light radiation centered at the wavelength λ1 and within the bandwidth of Δλ1 from one light source is separated from the rest and sent to the detector module 1 (D1). Each detector module may include one or multiple optical detectors. The differential delay modulator 250, the demultiplexer 2530 and the detector modules 2540 form at least part of an optical correlator which performs the optical detection of the device 2500. The multiplexed light radiations are delivered to the tissue through the optical waveguide 272 or fiber and the probe head 220. Backscattered and reflected light from the tissue is collected in part by the probe head 220 and redirected to the optical correlator.
In practice, the probe head 220 is operated to scan the multiplexed light radiation over the sample 205 to obtain measurements at different wavelengths. For every designated spatial interval the differential delay modulator 250 scans over a range to correspond to a range of depth inside the sample. This process repeats until all sampling locations of an area of the sample are measured. In this implementation, cross-sectional maps for light radiations at two or more wavelengths can be simultaneously obtained. While the differential delay modulator 250 and the probing light radiation are being scanned, the photocurrents from the detector modules 2540, each receiving light radiation within a different wavelength band associated with one of the light sources 2510, can be simultaneously recorded as the data from which the multiple reflectance maps, A(λ1), A(λ2) and so on, can be extracted. Each reflectance map is formed by radiation within the band of one light source. These reflectance maps can then be used to derive SAM using an algorithm based on the principles outlined by Equations (15) through (17).
FIG. 26 shows one implementation 2600 of the device 2500 in FIG. 25 where a digital signal processor (DSP) 2610 is used to process the detector outputs from the detector module 2540 and to produce the spectral absorption map. The DSP 2610 may be part of the device controller 370 shown in FIG. 3. A display and user interface module 372 is used to allow an operator to view the SAM result and to control the device.
FIG. 27 shows an example of the device 2600 in FIG. 26 where the demultiplexer 2530 is implemented with two gratings 2010 and 2020 and two lenses 2012 and 2014. The detector modules 2540 are implemented with two detector arrays 2014 and 2024, i.e., each of the detector modules 2540 includes one detector in the array 2014 and another detector in the array 2024 for detecting light at the same wavelength and in different polarization states. The polarization beam splitter 361 split the wavelength multiplexed light from the differential delay modulator 250 into two beams with mutually orthogonal polarization states where each split beam is a mixture of light in two different modes from the probe head 220. The polarization beam splitter 361 converts a part of received light in the first propagation mode and a part of received light in the second propagation mode into light in a third propagation mode that propagates along a first optical path and to convert remaining portions of the received light in the first and the second propagation modes into light in a fourth propagation mode that propagates along a second, different optical path. The third and fourth modes are two orthogonal polarization modes of the polarization beam splitter 361.
The gratings 2010 and 2020 separate the wavelength multiplexed light radiation into angle intervals, each corresponding to the light from one of the light sources 2510. The number of photosensitive elements in one detector array can be equal to the number of light sources used. The sensing area of each of the photosensitive elements may be designed to be sufficiently large so that all the light radiation within the band of one light source can be received by one element in the array. For instance, if three light sources are used in the system, two arrays each with three photosensitive elements may be used.
The optical multiplexer 2520 may be implemented in various configurations. FIG. 28 shows one example of the multiplexer 2520 where partially reflective mirrors 2810 and 2802 are used to multiplex radiation beams from three different light sources 2510A, 2510B and 2510C. The design can be used with N partially reflective mirrors to multiplex beams from (N+1) light sources. The partially reflective mirrors can be manufactured by coating one side of a glass with a thin metal layer. With this arrangement not all the light power will be multiplexed into the optical fiber, as loss of optical power occurs at each reflector. An optical collimator 2810 is used to couple the multiplexed light into the optical waveguide or fiber 271.
FIG. 29A shows another example of the multiplexer 2520 which reduces the optical loss in the design in FIG. 28 and provides an efficient use of the available optical power. In this example, optical dichroic filters 2901 and 2902 are used to replace the partially reflective mirrors 2801 and 2802, respectively. A Dichroic filter may be implemented in various forms. One implementation is to use two short-pass interference filters as the dichroic filters 2901 and 2902.
FIG. 29B shows the optical designs of the dichroic filters 2901 and 2902. The cut-off wavelength of the filter 2901 is set between the radiation bands of the first and second light sources centered at λ1 and λ2, respectively; that of the filter 2802 set between the radiation bands of the second and the third light sources centered at λ2 and λ3, respectively. With this arrangement, except for the imperfection of the filters, all radiation from the three light sources are coupled into the optical fiber 271 without significant optical loss. Interference optical filters of this kind can be fabricated using multilayer dielectric thin films. Other possible multiplexers include arrayed waveguide type and grating type.
In the above devices for SAM measurements, light beams at different wavelength bands are simultaneously directed by the probe head 220 to the sample 205. Hence, the optical measurements at different wavelengths are performed simultaneously. Alternatively, the optical multiplexer 2520 may be replaced by an optical switch 3010 as shown in FIG. 30 to direct a probe beam within one of the wavelength bands at a time so that probe light beams at different wavelength bands are directed to the sample 205 sequentially at different times to obtain the reflectance maps. In one implementation, the N broad band light sources 2510 can be sequentially linked to the optical device in FIG. 30 through a 1×N optical switch as the switch 3010. The reflective maps, A(λ1), A(λ2) and so on at different wavelength bands are obtained sequentially and are then used in the calculation of SAM.
The choice of the broadband light sources in any of the above device designs can be made according to the specific absorption features to be measured. As an example, FIG. 31 shows an absorbance amplitude spectrum 3100 of a sample where an absorption peak 3110 is present. Three or more different broadband light sources with the center wavelengths shown may be used to map the peak 3110. To achieve a better spectral resolution, the number of the light sources may be increased. In the example of three light sources, the reflectance maps at the three different wavelengths, i.e., A(λ1), A(λ2) and A(λ3), can be used to calculate the strength of the feature for SAM.
The axial resolution (i.e., the depth resolution) of SAM is related to the bandwidth (spectral width), Δλ, of the light source at a center wavelength λ0 is given by the following:
Δ z = 2 ln ( 2 ) π λ o 2 Δλ ( 23 )
For a given bandwidth, Δλ, the depth resolution of the corresponding reflectance map is determined by the above equation. Hence, a broad bandwidth is desirable for resolving a small spatial feature along the direction of the probe beam, which limits the spectral resolution as a tradeoff. For example, if one wants to map an spectral absorbance feature that occupies a 20 nm range near an optical wavelength of 1 μm, light sources of bandwidth around 5 nm can be chosen. Under these conditions, the spatial resolution for SAM is roughly 90 μm.
In the above multi-source SAM measurements, each light source has a fixed emission center wavelength and a bandwidth. In other implementations based on the above-described designs, multiple tunable laser sources may be used to replace the fixed light sources. Each tunable laser source may be configured to provide highly coherent radiation over a wavelength range of Δλ centered at λ. Due to the same consideration that a spectral absorbance feature of interest may be too broad for a single tunable laser source to cover, two or more tunable laser sources, each tunable over a wavelength range centered at a different wavelength, can be implemented in various designs for SAM measurements.
FIG. 32 illustrates one example of a device 3200 for SAM measurements where two or more tunable lasers 3210 are used as the light sources. The optical radiations from the tunable laser sources 3210 are combined through the multiplexer 2520 before being guided to the probe head 220. The light waves from the probe head 220, including what is collected from the tissue under examination, are redirected towards the demultiplexer 2530 where they are separated into separated beams in different optical paths according to the wavelength bands, each of which is received by an optical detector.
This arrangement may be configured to allow for the simultaneous tuning of the wavelengths of the tunable laser sources 3210, which in turn allows for the simultaneous recording of the light waves from the probe head 220 in the different wavelength bands. One feature in the design in FIG. 32 is the lack of the optical differential delay modulator 250 used in other designs where one or more fixed light sources are used to produce the probe light. Each tunable laser is tuned through its tuning spectral range during the measurement and the recorded light intensity as a function of the laser wavelength in each of the bands can be computed to obtain a reflectance map for that band. The reflectance maps, for the various center wavelengths, can be computed by analyzing the photocurrents of the photodetectors as functions of the wavelength. A variation of the photocurrent with a certain wavelength periodicity indicates a reflection originated from a certain distance, or depth, in the sample 205. Such a computation is, in essence, a decomposition of the photocurrent according to its frequency, or commonly known as a Fourier transformation. In order for the reflectance maps to cover a range of the depth the tunable lasers should have an adequate coherent length which is comparable or longer than the range of the depth. Two or more reflectance maps for two or more wavelength bands can be obtained for the sample 205 under examination and can be used to derive the SAM of the sample 205 based on Equations (15)-(17).
This use of the tunable lasers may be implemented in the various device designs for SAM measurements by removing the optical differential delay modulator 250. For example, the design in FIG. 30 may be used, without the differential delay modulator 250, to sequentially direct light radiations from different tunable laser sources to the sample 205. When the radiation from a particular tunable laser is directed to the sample 205, the laser is tuned in its laser frequency through its tuning range to obtain measurements of the optical absorption at different wavelengths within the tuning range.
In some precise optical phase measurements using the above described techniques with tunable laser sources, a differential phase modulator 250 may be inserted in the common waveguide 273 to receive the light from the probe head in the first and second propagation modes and to produce and modulate the relative optical phase between the first and second propagation modes. The modulation of the relative optical phase between the first and second propagation modes causes the photocurrents out of the photodetectors 2540 (or detectors in the detector arrays 2014 and 2024) to shift their peak positions and valley positions with respect to the wavelength. This allows for accurate calculations of the reflected optical phase of the light reflected from the sample using mathematical analysis similar to the analysis represented by Equations 12 and 13.
As an application of the above non-invasive optical probing techniques and devices, FIG. 33 shows an example of an integrated system 3300 that combines an X-ray CT scan module 3310 for locating pulmonary nodules, a minimally invasive optical probing module 3320, and a treatment module 3330 to provide a complete diagnostic and treatment platform for treating lung cancer. The treatment module 3330 may be designed to use electromagnetic radiation, such as laser radiation, RF or microwave radiation energy, to treat a malignant condition at a selected target area. A bronchoscope 3340 is used to provide a means for inserting the optical probe for the optical probing module 3320 into the lung to optically measure a target area in the lung. In addition, the bronchoscope 3340 is also used to guide the laser beam from the laser treatment module 3330 to the lung for laser treatment. As illustrated, the bronchoscope 3340 includes a working channel 3342 that is hollow and receives the optical probe head and optical fiber 3322 for the optical probing module 3320 and an optical power delivery waveguide 3322 for the laser treatment module 3330. The working channel 3342 is inserted inside the lung to probe different targeted areas in the lung. The distal end of the working channel 3342 includes an end facet or window that transmits both the optical probe light and the laser beam from the laser treatment module 3330. A computing and control module 3350 is provided to control the three different modules 3310, 3320 and 3330 and to perform analysis on the measurements. A display and user interface module 3360, which may include a user input interface and a display monitor, is used to allow an operator to operate the system 3300.
The CT scan module 3310 is used to scan the lung of a patient to detect and locate all solitary pulmonary nodules (SPNs). Each SPN is visually located via the CT scan imaging. Next, the optical probing module 3320 is used to measure each SPN identified by the CT scan. This is a differential diagnosis and the optical measurement is analyzed to determine whether each SPN is benign or malignant. The laser treatment module 3330 is then used to treat each malignant SPN. All three procedures can be performed in one integrated system.
The minimally invasive optical probing module 3320 may be implemented in various embodiments as described in this application. As a specific example, the optical probing module 3320 may be implemented as a cross-sectional imaging module. The optical module 3320 can be used to allow the anticipated use of CT scans in early stage lung cancer diagnosis and, in addition, can facilitate cancer therapy using optical methods such as Laser Hyperthermia. The module 3320 utilizes optical correlation techniques to obtain optical tomographs to non-destructively reveal the tissue structure and other physiological information. The probe head of the imaging module 3320 is fiber optic-based and is inserted into the working channel 3342 of the bronchoscope 3340. The bronchoscope 3340 has been previously used to visually locate the tumor inside the lung. A sequential, in-vivo examination of the suspect tissue or SPN with the optical probing module 3320 can distinguish a calcified, benign SPN from a malignant one by virtue of their different structure and optical properties. This use of the optical probing module 3320 resolves the CT scan diagnostic dilemma, enabling an minimally invasive procedure to locate SPNs and then identify which nodules are malignant. Notably, the use of this diagnostic sequence based on the optical probing allows the physician to avoid most, if not all, pulmonary biopsies, thereby significantly reducing the risks discussed above and greatly improving chances for a successful diagnosis without side effects.
FIG. 34 illustrates one exemplary use of the system 3300 in FIG. 33. The CT scan is used to perform the initial examination of the lung to scan for all SPNs, benign and malignant. After the CT scan, the optical probing is performed at each detected SPN to determine whether the SPN is benign or malignant. If a SPN is determined to be malignant, the laser treatment can be performed to treat the malignant condition of the SPN by using the laser treatment module 3330. If no malignant SPN is found, the patient may be scheduled for periodic CT scans to monitor the condition of the lung.
TABLE 1
Assumed Tumor diameter 1 cm.
Approx. Tumor Volume 0.5 cc
Optical Power delivered 0.5 watt 1.0 watt 2.0 watts
Estimated Laser Power 1.5 watt 3.0 watt 6.0 watt
Temperature Rise for:
 5 sec. Exposure +5 C. +10 C. +20 C.
10 sec. Exposure +10 C. +20 C. +40 C.
The laser treatment may be implemented in various configurations such as laser hyperthermia treatment and laser ablation treatment. For example, a pulmonologist may use a high power laser in the laser treatment module 3330 and an optical fiber-based therapeutic probe inserted into the working channel 3342 of the bronchoscope 3340 to deliver optical power to the tumor. This procedure, called Laser Hyperthermia, has been shown to necrotize cancerous tissue. The laser emission wavelength is chosen so that essentially all of the light is absorbed by the tissue, e.g., within first centimeter of tissue. Several types of high power laser sources may be used. For example, compact, powerful diode-pumped solid state lasers are readily available. Optical fibers capable of transmitting substantial power levels (e.g., on the order of watts) are also available. We estimate that coupling of the laser optical power to the fiber can be accomplished with approximately 33% efficiency using normal methods known to practitioners in this field.
As an example, Table 1 lists calculated exposure times needed to elevate the temperature of the suspect tissue for different optical power levels delivered to the tissue. The laser power input to the optical delivery waveguide 3332 (e.g., optic fiber) would need to be three times higher assuming 33% coupling efficiency. In the above estimates, it is assume that the malignant tissue behaves thermally as if it were water (about 70% accurate) and that the nodule is essentially in poor thermal contact with the surrounding tissue. Researchers have found that a 10° C. rise in temperature is sufficient to kill cancer cells and that higher temperature rises kill malignant cells more quickly. Base upon the results of Table 1, a 3-6 watt laser should suffice to perform Laser Hyperthermia in-vivo with a 5-10 sec. exposure.
The integrated diagnostic and therapeutic system in FIG. 33 and the technique in FIG. 34 may be implemented to allow both SPN location/detection and bronchoscopic examination to be performed in a single session or visit. In addition, both differential diagnosis and laser therapy can therefore be performed during a single bronchoscopic procedure. Therefore, The three different procedures, SPN detection/location, malignant-benign differential diagnosis, and remedial therapy, can be performed in a single office visit. A CT Scan system may be modified to incorporate the much smaller optical devices for differential diagnosis and laser therapy so that the complete process may be performed on a single piece of equipment. This results in very efficient use of the physician's time and convenience for the patient. Laser therapy methods, such as laser hyperthermia and laser ablation, do not have significant adverse side effects on the patient under treatment and thus are advantageous in this regard in comparison with other therapeutic regimens such as chemotherapy and radiation. In addition, the integrated system in FIG. 34 may be implemented to reduce any delay in the differential diagnosis and therapy and thus such implementation can be advantageous over other methods that use the ‘wait-and-see’ observation of tumor size growth protocol which is often employed to distinguish between malignant and benign SPNs.
The integrated system in FIG. 33 may also be implemented by using treatment modules other than laser therapy modules. Various electromagnetic radiation therapies using the radiofrequency (RF) energy and microwave energy for ablation may be used. An RF or microwave waveguide probe may be inserted into the working channel 3342 to deliver the RF or microwave energy to a targeted SPN for treatment. For example, the laser treatment module 3330 may be replaced by a microwave ablation therapy unit. The distal end facet of the working channel can be made to transmit both the probe light and the RF/microwave radiation.
In addition, the integrated design shown in FIG. 33 may also be implemented for diagnosing and treating other illness. In one implementation, for example, an integrated diagnostic and treatment system may include a CT scan unit to locate ailing areas in a body part, a referenced cross-sectional imaging unit to analyze each ailing area, and a laser, RF or microwave irradiation therapy unit to treat a selected area. This system may be used to diagnose and treat lung cancer, prostate cancer and other tumors. One specific implementation of this system is the example in FIG. 33 for diagnosing and treating lung cancer where a bronchoscope is inserted into the lung for deliver the probe light and the treatment laser beam.
In implementing the system in FIG. 33, the optical probe head 220 of the optical imaging module 3320 and the therapy delivery waveguide 3332 may be unified as a single assembly when inserted inside the working channel 3342 so that the treatment radiation, which may be laser radiation, RF or microwave radiation, can be directed to approximately the same location where the optical probe head 220 is located. In this design, when a SPN is identified as malignant, the treatment radiation can be delivered to the same location where the malignant SPN is without changing the location of the distal tip of the working channel 3342. Therefore, this unified assembly may be used to simply the alignment of the treatment radiation with respect to a malignant SPN identified by the optical imaging module 3320.
FIG. 35 shows one example of a unified assembly 3500. A tubular unit or sheath 3510 is used to hold the probe fiber 3322 and the waveguide 3332 together as a single unit. The probe head 220 at or near the end of the fiber 3322 and the distal end of the waveguide 3332 are placed next to each other at the distal end of the tubular unit 3510 within an end facet window 3520. As such, the probe head 220 and the distal end of the waveguide 3332 are aimed at the essentially the same location. The assembly 3500 is then inserted inside the working channel 3342 to place the end facet window 3520 at the end of the working channel 3342.
FIG. 36 shows an example of a thermotherapy device 3600 based on optical imaging and controlled delivery of thermal energy guided by the optical imaging. A catheter includes a working channel 3342 that is configured for insertion into a passage of a body to reach a target tissue inside the body. An optical imaging module 3630 includes (1) an imaging optic fiber 3322 having a portion inserted into the working channel 3342 and an optical probe head coupled to an end of the imaging optic fiber 3332 and located inside the working channel 3342. The optical imaging module 3630 is operable to direct probe light to and collect reflected light from the target tissue in the body through the imaging optic fiber and the optical probe head and to obtain imaging information of the target tissue from the collected reflected light. This device 3600 includes a thermotherapy module 3640, e.g., a laser thermotherapy module, an RF or microwave thermotherapy module, having a power delivery waveguide having a portion inserted into the working channel 3342 to deliver thermal energy to the target tissue. A control unit is provided to include a computing and control module 3610 and a cooling control module 3620. The control module 3610 includes a processor that processes the image data and local memory to store data and processing software for performing various processing and control tasks. The control unit controls the optical imaging module 3630 to extract the imaging information from the collected reflected light, to obtain a spatial distribution of diseased locations of the target tissue, and to obtain a temperature map of the target tissue for thermotherapy based on the spatial distribution of the diseased locations of the target tissue. The control unit controls the thermotherapy module 3640 to control a location and an amount of thermal energy delivery to each of the diseased locations based on the temperature map to perform thermotherapy. A cooling liquid circulation module 3622 is included as part of the cooling for the device that cools the surface of the target tissue.
FIG. 37 shows an example of a catheter design with a cooling mechanism for thermotherapy based on laser thermotherapy. Features in this example can be used for other thermotherapy such as RF or microwave thermotherapy. A liquid balloon or reservoir 3710 is provided at the tip of the catheter to receive a cooling liquid 3720 from the cooling liquid circulation module 3622. In this example, the liquid balloon 3710 encloses the end facet of the catheter tip or window 3520 through which the imaging light 3701 and the thermal treatment radiation such as the treatment laser 3702 are directed to the target tissue. The material for the liquid balloon is transparent to the imaging light and the treatment light. Various balloon designs can be used in this design, including designs that use two or more balloons that contain the cooling liquid. In operation, the liquid balloon is placed in contact with the surface of the target tissue under the thermotherapy treatment to cool the tissue surface and to prevent undesired thermal damage to the tissue surface.
FIG. 38 shows another example of a catheter design for thermotherapy. An external tubing is provided to house a thermotherapy catheter that delivers the therapeutic thermal energy to the target tissue and an optical imaging catheter for performing the optical imaging of the target tissue. These two catheters can be retracted in their positions within the external tubing. The external tubing includes a narrow tip which allows only one catheter to be present at a time. The two catheters are controlled so that one catheter can be inserted into the narrow tip for interacting with the target tissue while the other catheter is retracted back in the external tubing. FIG. 38A shows the imaging catheter is extended into the narrow tip while the thermotherapy catheter is at its retracted position. FIG. 38B shows the imaging catheter is retracted from the narrow tip while the thermotherapy catheter is extended into the narrow tip.
FIG. 39 shows an example method of thermotherapy based on optical imaging. In this example, the thermotherapy is performed by directing an imaging optical beam to a target tissue to obtain image information; processing the obtained image information of the target tissue to obtain a spatial distribution of the diseased locations of the target tissue; generating a temperature map of the target tissue for thermotherapy based on the spatial distribution of the diseased locations of the target tissue; and controlling the thermal energy delivery to each of the diseased locations and cooling at the surface of each diseased locations based on the temperature map to perform the thermotherapy.
As a specific example, the above described devices and techniques for thermotherapy can be used to effectively downstage asthma. An asthmatic attack occurs when a stimulus [smoke, pollen etc.] evokes an exacerbation in the airway smooth muscle causing it to contract and engorge with histamines and mast cells. The resulted decrease in airway lumen diameter interferes with normal breathing and can be so severe as to completely block the airway, or even cause death in extreme cases.
Referring to FIG. 36, the laser thermotherapy module 3640 can be used to heat the airway smooth muscle [ASM], imbedded in the airway wall, to the point where it no longer responds strongly to an asthmatic stimulus. The result is a reduction in severity of asthmatic exacerbations, which can then be managed by inhaled drug therapies. ASM is not uniformly distributed within the airway wall and in larger airways may only occupy 10-15% of the wall area. Without guidance, a ‘blind’ thermotherapeutic procedure may miss the ASM over 80% of the time. In addition, failure to position the therapeutic catheter in closest proximity to the ASM may result in insufficient treatment temperatures. The present image-guidance provided by the optical imaging module 3630 allows optimal positioning of the thermotherapy catheter with respect to the ASM. Furthermore, real-time temperature profile mapping permits controlling the temperature to avoid over treatment or undertreatment.
In some implementations, the image-guided thermotherapy can include microstructural imaging of airway wall cross-sections to locate ASM, laser thermotherapy using image-guidance to treat ASM locations which can use spiral pullback of the thermotherapy catheter through airway lumen for a quasi-continuous therapeutic process, and real-time thermal profile mapping [imaging] for monitoring and or control of the laser thermal therapeutic process temperature thereby reducing adverse events. Referring to FIG. 39, the obtained 3D image information of the target tissue is processed to obtain a spatial distribution of the diseased locations of the target tissue. A modeling process can be used to construct a temperature map of the target tissue for thermotherapy based on the spatial distribution of the diseased locations of the target tissue. This modeling process can be implemented in software in the control processor of the device. As the images and the corresponding spatial distribution of the diseased locations of the target tissue are updated in real time during the process, the modeling performed by the control processor generates real-time thermal profile mapping and this information can be used for monitoring and or control of the laser thermal therapeutic process temperature. The thermal energy delivery to each of the diseased locations and cooling at the surface of each diseased locations can be controlled based on the temperature map to perform the thermotherapy. Also, real time pre-, peri- and post-operative imaging of treatment site can be provided. In addition, real-time follow-up imaging at predetermined intervals can be used to monitor therapeutic efficacy.
Real time optical imaging is provided by the optical imaging module to obtain high resolution, real-time cross-sectional images of the human bronchial wall. The imaging catheter illuminates the tissue being scanned with a narrow beam of low power, near infrared light and collects the light reflected as the beam penetrates the tissue. The image is obtained by mechanically scanning the imaging catheter across the region of interest while acquiring data on reflected light. If this is done while slowly continuously withdrawing the catheter, an helical [scan] micro image of the airway wall can be obtained in much the same way as helical scan CT operates on a macroscopic basis. In this manner the ASM may be “visualized” for more efficacious laser thermotherapy.
The laser thermotherapy is integrated or compatible with the optical imaging so that the imaging information can be used to provide guidance in positioning the thermotherapy catheter and to provide guidance on the temperature profile control. For example, the laser thermotherapy module can use light at 1.3 micron by using the radiation from a Nd:YAG laser to provide effective laser thermotherapy. The heat depositing system can be implemented to include a laser source producing laser light which is coupled into the tissue imaging system at the proximal end with controllable switch. The laser source may contain more than one wavelength. At the distal end, the energy is deposited and image is obtained through the same integrated catheter.
One implementation of the catheter includes a common fiber that directs imaging radiation and laser treatment radiation via common fiber core or collinear fiber cores. The catheter includes re-imaging and redirecting optics common for treatment laser energy and imaging radiation energy. The fiber can be configured to support different modes so that treatment laser energy profile on the fiber can be enlarged to prevent overheating and to control energy deposition area. The catheter can also include substantially transparent sheath or window, that might be filled with cooling liquid. For larger airways, expandable balloons may be used for better contact with internal surface of airway. Also direct irrigation scheme can be used for better cooling of airway surface, preferably with two balloons.
The above technique can be used to obtain 3D image of a tissue of interest such as smooth muscle via rotating catheter and pulling it back while keeping image registration to the bronchoscope and/or external reference frame. Then pull back is repeated with energy deposited upon the tissue of interest. Some examples of such optical imaging devices and techniques are described in U.S. Pat. No. 7,706,646 entitled “Delivering Light via Optical Waveguide and Multi-View Optical Probe Head” which is incorporated by reference as part of this document. The lateral energy deposition pattern is controlled by synchronizing energy level with catheter position. The axial deposition of heat is controlled by applying cooling liquid in the lumen and selecting spectral bandwidth of laser source and pulsing pattern as a function of catheter position. Additionally, temperature maps can be obtained and energy deposition pattern is fine-tuned for better overall of temperature map with targeted tissue.
In another implementation, the catheter can include an imaging fiber with re-imaging and directing optics and a second, separate fiber with pattern forming optics for treatment laser. Pattern forming optics is understood to include radially symmetrical patterns as well as any arbitrary pattern. The imaging optics and pattern forming optics are pre-aligned to have a fixed spatial relationship.
Referring to FIG. 38, a catheter design can include two separate catheters—an imaging catheter and a laser thermotherapy catheter that move relative to each other.
In the case of laser thermotherapy for lung cancer, a Contrast Agent can be used where IndoCyanine Green is known to be an effective Contrast Agent in LTT [or Laser Hyperthermia] treatment of tumors in dogs.
Various implementations can be made based on the above described features and techniques, including an optical tissue imaging system having an imaging catheter and an optical engine; an energy deposition system integrated with a catheter as described above; an energy deposition system having a laser source that emits light of at least two wavelengths; an integrated catheter having a liquid filled balloon in contact with the airway tissue; and an optical tissue imaging system having means of measuring temperature induced optical properties change for the purpose of temperature mapping.
The above systems can be used to perform following operations: imaging airway to locate 3D map of tissue of interest and depositing energy selectively to the tissue of interest by controlling energy level, balloon liquid temperature, and laser source wavelength based on the catheter position in a pre-calculated pattern to match energy deposition with tissue location. This method can also include calculating energy level, balloon temperature and source spectrum, and applying small fraction of the source energy at a level of below the threshold for thermotherapy to obtain a pre-treatment temperature map. Next, the source settings can be controlled to deliver a high dosage of the laser light for the thermotherapy at a level above the thermotherapy threshold until the actual measured temperature map coincides with the pre-treatment temperature map. In some implementations, a contrast agent, such as Indocyanine Green (ICG) or other chemical or biological contrast agents, can be applied to the region of therapeutic interest such as a malignant Solitary Pulmonary Nodule, so as to preferentially absorb optical energy in the region of therapeutic interest.
While this specification contains many specific implementation details, these should not be construed as limitations on the scope of the invention or of what may be claimed, but rather as descriptions of features specific to particular embodiments of the invention. Certain features that are described in this specification in the context of separate embodiments can also be implemented in combination in a single embodiment. Conversely, various features that are described in the context of a single embodiment can also be implemented in multiple embodiments separately or in any suitable subcombination. Moreover, although features may be described above as acting in certain combinations and even initially claimed as such, one or more features from a claimed combination can in some cases be excised from the combination, and the claimed combination may be directed to a subcombination or variation of a subcombination.
Only a few implementations are disclosed. Variations, modifications and enhancements of the disclosed implementations and other implementations can be made based on what is described and illustrated in this document.

Claims (28)

What is claimed is:
1. A device for thermotherapy, comprising:
a catheter including a working channel configured for insertion into a passage of a body to reach a target tissue inside the body;
an optical imaging module comprising
(1) an imaging optic fiber having a portion inserted into the working channel, wherein the imaging optic fiber is structured to support light in a first propagation mode and a second, different propagation mode,
(2) an optical probe head coupled to an end of the imaging optic fiber and located inside the working channel,
(3) a light source to produce probe light, wherein the imaging optic fiber receives and guides the probe light in the first propagation mode, wherein the optical probe head is coupled to the imaging optic fiber to receive the light from the imaging optic fiber and to reflect a first portion of the light back to the imaging optic fiber in the first propagation mode and direct a second portion of the light to a target location of the target tissue, the probe head collecting reflection of the second portion from the target location and exporting to the imaging optic fiber the reflection as a reflected second portion in the second propagation mode,
(4) an optical differential delay unit to produce and control a relative delay between the reflected first portion and the reflected second portion received from the imaging optic fiber in response to a control signal,
(5) a detection module to receive the reflected first portion and the reflected second portion from the imaging optic fiber and to extract information of the target tissue carried by the reflected second portion, and
6) an imaging control unit, which produces the control signal to the optical differential delay unit, to set the relative delay at two different bias values to select a layer of material inside the target tissue to measure an optical absorption of the selected layer;
a thermotherapy module having a power delivery waveguide having a portion inserted into the working channel to deliver thermal energy to the target tissue;
a control unit that controls the optical imaging module to extract the imaging information from the collected reflected light, to obtain a spatial distribution of diseased locations of the target tissue, and to obtain a temperature map of the target tissue for thermotherapy based on the spatial distribution of the diseased locations of the target tissue, the control unit controlling the thermotherapy module to control a location and an amount of thermal energy delivery to each of the diseased locations based on the temperature map to perform thermotherapy.
2. The device as in claim 1, comprising:
a liquid cooling unit coupled to the catheter to direct a cooling liquid that cools a surface of the target tissue.
3. The device as in claim 1, wherein the detection module comprises:
an optical device to direct light in the first propagation mode along a first optical path and light in the second propagation mode along a second, different optical path;
a first optical element in the first optical path to separate light into a first set of different beams at different wavelengths;
a plurality of first light detectors to respectively receive and detect the first set of different beams from the first optical element;
a second optical element in the second optical path to separate light into a second set of different beams at the different wavelengths; and
a plurality of second light detectors to respectively receive and detect the second set of different beams from the second optical element.
4. The device as in claim 3, wherein the first and second optical elements are optical gratings.
5. The device as in claim 1, wherein the detection module comprises a digital signal processor to process information of the target area in the reflected second portion and to generate spectral absorbance data of the target area.
6. The device as in claim 1, wherein the optical differential delay unit comprises:
a mode splitting unit to separate received light into a first beam in the first propagation mode and a second beam in the second propagation mode; and
a variable optical delay element in one of the first and the second beams to adjust an optical delay between the first and the second beams in response to the control signal.
7. The device as in claim 1, wherein the first and second propagation modes are two orthogonal polarization modes supported by the probe optic fiber, and wherein the detection module comprises:
an optical detector; and
an optical polarizer to receive and mix the reflected first and second portions to produce an optical output to the optical detector.
8. The device as in claim 1, wherein the optical imaging module further comprises:
a plurality of light sources emitting light at different wavelength bands centered at different wavelengths as the probe light into the probe optic fiber, wherein the optical probe head reflects a first portion of the probe light back to the imaging optic fiber in the first propagation mode and directs a second portion of the probe light to the target area, and wherein the probe head collects reflection of the second portion from the target area and exports to the imaging optic fiber the reflection as a reflected second portion in a second propagation mode different from the first propagation mode;
an optical differential delay unit to produce and control a relative delay between the reflected first portion and the reflected second portion received from the single waveguide in response to a control signal;
a detection module to receive the reflected first portion and the reflected second portion and to extract information of the target area carried by the reflected second portion; and
a probe control unit, which produces the control signal to the optical differential delay unit, to set the relative delay at two different bias values to select a layer of material inside the target area to measure an optical absorption of the selected layer at each and every wavelength from the different light sources.
9. The device as in claim 1, wherein the optical imaging module further comprises:
a plurality of tunable laser sources emitting light within different wavelength bands centered at different wavelengths as the probe light to the probe optic fiber, wherein the imaging optic fiber is configured to receive and guide the probe light at the different wavelength bands in a first propagation mode,
wherein the probe head is to reflect a first portion of the probe light back to the imaging optic fiber in the first propagation mode and direct a second portion of the light to the target area, and wherein the probe head collects reflection of the second portion from the target area and exports to the imaging optic fiber the reflection as a reflected second portion in a second propagation mode different from the first propagation mode;
a detection module to receive the reflected first portion and the reflected second portion in the waveguide and to extract information of the target area carried by the reflected second portion; and
a probe control unit to tune each tunable laser in a corresponding laser emitting wavelength band to obtain absorption measurements of the target area at different wavelengths within each corresponding wavelength band.
10. The device as in claim 1, comprising:
a liquid cooling unit coupled to the catheter to direct a cooling liquid that cools a surface of the target tissue, the liquid cooling unit including a balloon that receives the cooling liquid and is located in contact with the surface of the target tissue.
11. The device as in claim 10, wherein the balloon comprises two or more balloons.
12. The device as in claim 10, wherein the cooling liquid comprises a liquid that is transparent to light.
13. The device as in claim 1, further comprising a sheath structured to unify the probe head and the imaging optical fiber.
14. The device as in claim 1, wherein the thermotherapy module comprises at least one of: a laser thermotherapy module, a radiofrequency thermotherapy module, or a microwave thermotherapy module.
15. The device as in claim 1, wherein a single catheter comprises the optical imaging module and the thermotherapy module.
16. The device as in claim 1, wherein a first catheter comprises the optical imaging module and a second, separate catheter comprises the thermotherapy module.
17. The device as in claim 16, wherein the catheter comprises a narrow tip structured to allow one of the first or the second catheters to extend into the narrow tip while the other of the first or the second catheter is retracted within the catheter.
18. The device of claim 1, wherein a common fiber is structured to direct both the probe light and thermal energy.
19. The device of claim 18, wherein the common fiber comprises a single core.
20. The device of claim 18, wherein the common fiber comprises two collinear fiber cores wherein each core is structured to direct one of the probe light or the thermal energy.
21. The device of claim of claim 18, wherein the common fiber is structured to support one or more modes.
22. The device of claim 1, wherein the thermotherapy module is structured to minimize a response to asthmatic stimulus.
23. The device of claim 1, wherein the target tissue comprises airway smooth muscle.
24. The device of claim 1, wherein the target tissue comprises 10-15% of an airway wall.
25. The device of claim 1, wherein the control unit is structured to control the thermotherapy module to deliver an amount of thermal energy below a threshold for thermotherapy to obtain a pre-treatment temperature map.
26. The device of claim 25, wherein the control unit is structured to control the thermotherapy module to deliver an amount of thermal energy above the threshold for thermotherapy such that the temperature map coincides with the pre-treatment temperature map.
27. The device of claim 26, further comprising a contrast agent structured to preferentially absorb optical energy in the target tissue.
28. A method for thermotherapy, comprising:
directing an imaging optical beam to a target tissue, wherein the optical beam is directed to the target tissue in a first propagation mode;
directing a first portion of the optical beam in the first propagation mode at a location near the target tissue away from the target tissue before the first portion reaches the target tissue while allowing a second portion in the first propagation mode to reach the target tissue;
controlling a reflection of the second portion from the target tissue to be in second propagation mode different from the first propagation mode to produce a reflected second portion;
directing both the first portion in the first propagation mode and the reflected second portion in the second propagation mode through a common waveguide into a detection module to obtain information from the reflected second portion on the target tissue;
producing and controlling a relative delay between the first portion and the reflected second portion in response to a control signal to set the relative delay at two different bias values to select a layer of material inside the target tissue to measure an optical absorption of the selected layer;
processing the obtained image information of the target tissue to obtain a spatial distribution of the diseased locations of the target tissue;
generating a temperature map of the target tissue for thermotherapy based on the spatial distribution of the diseased locations of the target tissue; and
controlling the thermal energy delivery to each of the diseased locations and cooling at the surface of each diseased locations based on the temperature map to perform the thermotherapy.
US12/770,713 2009-04-29 2010-04-29 Image-guided thermotherapy based on selective tissue thermal treatment Expired - Fee Related US8467858B2 (en)

Priority Applications (2)

Application Number Priority Date Filing Date Title
US12/770,713 US8467858B2 (en) 2009-04-29 2010-04-29 Image-guided thermotherapy based on selective tissue thermal treatment
US13/919,809 US20130282083A1 (en) 2009-04-29 2013-06-17 Image-guided thermotherapy based on selective tissue thermal treatment

Applications Claiming Priority (2)

Application Number Priority Date Filing Date Title
US17392109P 2009-04-29 2009-04-29
US12/770,713 US8467858B2 (en) 2009-04-29 2010-04-29 Image-guided thermotherapy based on selective tissue thermal treatment

Related Child Applications (1)

Application Number Title Priority Date Filing Date
US13/919,809 Continuation US20130282083A1 (en) 2009-04-29 2013-06-17 Image-guided thermotherapy based on selective tissue thermal treatment

Publications (2)

Publication Number Publication Date
US20110029049A1 US20110029049A1 (en) 2011-02-03
US8467858B2 true US8467858B2 (en) 2013-06-18

Family

ID=43527741

Family Applications (2)

Application Number Title Priority Date Filing Date
US12/770,713 Expired - Fee Related US8467858B2 (en) 2009-04-29 2010-04-29 Image-guided thermotherapy based on selective tissue thermal treatment
US13/919,809 Abandoned US20130282083A1 (en) 2009-04-29 2013-06-17 Image-guided thermotherapy based on selective tissue thermal treatment

Family Applications After (1)

Application Number Title Priority Date Filing Date
US13/919,809 Abandoned US20130282083A1 (en) 2009-04-29 2013-06-17 Image-guided thermotherapy based on selective tissue thermal treatment

Country Status (1)

Country Link
US (2) US8467858B2 (en)

Cited By (6)

* Cited by examiner, † Cited by third party
Publication number Priority date Publication date Assignee Title
US20130100442A1 (en) * 2003-06-04 2013-04-25 Tomophase Corporation Optical measurements of properties in substances using propagation modes of light
US20130243426A1 (en) * 2009-12-23 2013-09-19 Peter J. Winzer Communication VIa A Multimode Constellation
US20130261613A1 (en) * 2008-02-29 2013-10-03 Tomophase Corporation Temperature profile mapping and guided thermotherapy
US9599613B2 (en) 2011-07-20 2017-03-21 University Of Washington Through Its Center For Commercialization Photonic blood typing
US10031138B2 (en) 2012-01-20 2018-07-24 University Of Washington Through Its Center For Commercialization Hierarchical films having ultra low fouling and high recognition element loading properties
US11445911B2 (en) 2016-05-25 2022-09-20 Ikomed Technologies Inc. System for treating unwanted tissue

Families Citing this family (23)

* Cited by examiner, † Cited by third party
Publication number Priority date Publication date Assignee Title
US7706646B2 (en) 2007-04-24 2010-04-27 Tomophase Corporation Delivering light via optical waveguide and multi-view optical probe head
EP2470886A4 (en) 2009-08-26 2016-11-02 Tomophase Inc Optical tissue imaging based on optical frequency domain imaging
US9656097B2 (en) * 2010-10-14 2017-05-23 II Erich W. Wolf Apparatus and method using near infrared reflectometry to reduce the effect of positional changes during spinal cord stimulation
US9550063B2 (en) 2010-10-14 2017-01-24 II Erich W. Wolf Apparatus and method using near infrared reflectometry to reduce the effect of positional changes during spinal cord stimulation
EP2713870A4 (en) * 2011-06-03 2014-10-22 Los Angeles Childrens Hospital ELECTROPHYSIOLOGICAL DIAGNOSIS AND TREATMENT OF ASTHMA
US8873066B2 (en) * 2011-07-14 2014-10-28 Insight Photonic Solutions, Inc. System and method for improved resolution, higher scan speeds and reduced processing time in scans involving swept-wavelength interferometry
US9544064B2 (en) * 2012-07-19 2017-01-10 Telefonaktiebolaget Lm Ericsson (Publ) Electro-optical implementation of an optical spectrum inverter
US9370398B2 (en) * 2012-08-07 2016-06-21 Covidien Lp Microwave ablation catheter and method of utilizing the same
US10180496B2 (en) * 2012-11-21 2019-01-15 Nikon Corporation Laser radar with remote local oscillator
US10119816B2 (en) 2012-11-21 2018-11-06 Nikon Metrology Nv Low drift reference for laser radar
US20140303608A1 (en) * 2013-04-08 2014-10-09 Scientific Image Center Management, Inc. System and method for providing treatment feedback for a thermal treatment device
US10835313B2 (en) * 2014-01-30 2020-11-17 Medlumics S.L. Radiofrequency ablation catheter with optical tissue evaluation
US11229383B2 (en) * 2014-08-25 2022-01-25 California Institute Of Technology Methods and systems for non-invasive measurement of blood glucose concentration by transmission of millimeter waves through human skin
US9970819B2 (en) * 2015-03-23 2018-05-15 Si-Ware Systems High performance parallel spectrometer device
CN106291580B (en) * 2015-06-12 2019-08-23 上海珏芯光电科技有限公司 Laser infrared radar imaging system
CN105511093B (en) * 2015-06-18 2018-02-09 广州优视网络科技有限公司 3D imaging methods and device
US10113858B2 (en) * 2015-08-19 2018-10-30 Medlumics S.L. Distributed delay-line for low-coherence interferometry
US10813692B2 (en) 2016-02-29 2020-10-27 Covidien Lp 90-degree interlocking geometry for introducer for facilitating deployment of microwave radiating catheter
US10512425B2 (en) * 2016-08-04 2019-12-24 United States Of America As Represented By The Secretary Of The Navy Dermatologically non-abrasive blood testing using an interferometry optical design
US10617113B2 (en) * 2016-12-22 2020-04-14 Wilbur Duane Robinson Free-flow, animal blocking drain pipe end cap
BR112019028280A2 (en) 2017-07-04 2020-07-14 Curevac Ag nucleic acid molecules
EP3667299B1 (en) * 2018-12-13 2022-11-09 Imec VZW Multimodal imaging system
US11042019B2 (en) * 2018-12-17 2021-06-22 Purdue Research Foundation Systems and methods for imaging a sample

Citations (77)

* Cited by examiner, † Cited by third party
Publication number Priority date Publication date Assignee Title
US4402311A (en) 1979-03-30 1983-09-06 Olympus Optical Co., Ltd. Endoscope for medical treatment
US4848867A (en) 1988-02-10 1989-07-18 Hitachi Cable Limited Rotary joint for polarization plane maintaining optical fibers
US4878492A (en) 1987-10-08 1989-11-07 C. R. Bard, Inc. Laser balloon catheter
US4991938A (en) 1989-04-07 1991-02-12 Gte Laboratories Incorporated Quasi-achromatic optical isolators and circulators using prisms with total internal fresnel reflection
EP0429297A2 (en) 1989-11-20 1991-05-29 Hamamatsu Photonics K.K. Cancer diagnosis and treatment device having laser beam generator
US5088493A (en) 1984-08-07 1992-02-18 Sclavo, S.P.A. Multiple wavelength light photometer for non-invasive monitoring
EP0527050A1 (en) 1991-08-05 1993-02-10 Ishikawajima-Harima Jukogyo Kabushiki Kaisha Cancer therapy system
US5202745A (en) 1990-11-07 1993-04-13 Hewlett-Packard Company Polarization independent optical coherence-domain reflectometry
US5321501A (en) 1991-04-29 1994-06-14 Massachusetts Institute Of Technology Method and apparatus for optical imaging with means for controlling the longitudinal range of the sample
US5659392A (en) 1995-03-22 1997-08-19 Eastman Kodak Company Associated dual interferometric measurement apparatus for determining a physical property of an object
US5672171A (en) * 1994-06-30 1997-09-30 American Medical Systems, Inc. Apparatus and method for interstitial laser treatment
US5710630A (en) 1994-05-05 1998-01-20 Boehringer Mannheim Gmbh Method and apparatus for determining glucose concentration in a biological sample
US5784162A (en) 1993-08-18 1998-07-21 Applied Spectral Imaging Ltd. Spectral bio-imaging methods for biological research, medical diagnostics and therapy
US5800486A (en) * 1996-06-17 1998-09-01 Urologix, Inc. Device for transurethral thermal therapy with cooling balloon
US5803909A (en) 1994-10-06 1998-09-08 Hitachi, Ltd. Optical system for measuring metabolism in a body and imaging method
US5912762A (en) 1996-08-12 1999-06-15 Li; Li Thin film polarizing device
US6034774A (en) 1998-06-26 2000-03-07 Eastman Kodak Company Method for determining the retardation of a material using non-coherent light interferometery
US6134003A (en) 1991-04-29 2000-10-17 Massachusetts Institute Of Technology Method and apparatus for performing optical measurements using a fiber optic imaging guidewire, catheter or endoscope
US6201989B1 (en) 1997-03-13 2001-03-13 Biomax Technologies Inc. Methods and apparatus for detecting the rejection of transplanted tissue
JP2001066245A (en) 1999-08-26 2001-03-16 Japan Science & Technology Corp Light wave reflection tomographic observation system
US6219565B1 (en) 1996-02-05 2001-04-17 Diasense, Inc. Methods and apparatus for non-invasive glucose sensing: non-invasive probe
US6246818B1 (en) 1998-11-13 2001-06-12 Fujitsu Limited Tunable optical filter
US6252666B1 (en) 1998-03-13 2001-06-26 Optreal Biopsy Technologies, Inc. Method and apparatus for performing optical coherence-domain reflectometry and imaging through a scattering medium employing a power-efficient interferometer
US6282011B1 (en) 1991-04-29 2001-08-28 Massachusetts Institute Of Technology Grating based phase control optical delay line
JP2002013907A (en) 2000-06-30 2002-01-18 Mitsutoyo Corp Planar shape measurement method for phase shift interference fringe simultaneous imaging device
US6377840B1 (en) 1999-06-03 2002-04-23 Hutchinson Technology Incorporated Signal acquisition and processing system for reduced output signal drift in a spectrophotometric instrument
US20020049370A1 (en) 1999-08-05 2002-04-25 Laufer Michael D. Devices for creating collateral channels in the lungs
US20020126347A1 (en) 2001-03-07 2002-09-12 Hogan Josh N. High data rate multiple wavelength encoding
US6451009B1 (en) 2000-09-12 2002-09-17 The Regents Of The University Of California OCDR guided laser ablation device
US20020131049A1 (en) 2001-03-16 2002-09-19 Schmitt Joseph M. Broadband light source system and method thereof
US6485413B1 (en) 1991-04-29 2002-11-26 The General Hospital Corporation Methods and apparatus for forward-directed optical scanning instruments
CN2524241Y (en) 2002-01-11 2002-12-04 谭玉山 Optical fiber biological test instrument by phase tracking method
US6498942B1 (en) 1999-08-06 2002-12-24 The University Of Texas System Optoacoustic monitoring of blood oxygenation
US6501551B1 (en) 1991-04-29 2002-12-31 Massachusetts Institute Of Technology Fiber optic imaging endoscope interferometer with at least one faraday rotator
US20030020920A1 (en) 2001-01-12 2003-01-30 Dave Digant P. Method and apparatus for differential phase optical coherence tomography
US20030028114A1 (en) * 1995-09-20 2003-02-06 Texas Heart Institute Method and apparatus for detecting vulnerable atherosclerotic plaque
US6522407B2 (en) 1999-01-22 2003-02-18 The Regents Of The University Of California Optical detection dental disease using polarized light
US20030114878A1 (en) 2001-12-14 2003-06-19 The Regents Of The University Of California Catheter based balloon for therapy modification and positioning of tissue
US6585639B1 (en) 2000-10-27 2003-07-01 Pulmonx Sheath and method for reconfiguring lung viewing scope
US20030137669A1 (en) 2001-08-03 2003-07-24 Rollins Andrew M. Aspects of basic OCT engine technologies for high speed optical coherence tomography and light source and other improvements in optical coherence tomography
WO2003062802A2 (en) 2002-01-24 2003-07-31 The General Hospital Corporation Apparatus and method for rangings and noise reduction of low coherence interferometry lci and optical coherence tomography (oct) signals by parallel detection of spectral bands
US6608717B1 (en) 1999-01-29 2003-08-19 Colorado State University Research Foundation Optical coherence microscope and methods of use for rapid in vivo three-dimensional visualization of biological function
US6609425B2 (en) 2000-05-02 2003-08-26 Fuji Photo Film Co., Ltd. Ultrasonic probe and ultrasonic diagnosis apparatus using the same
US6615072B1 (en) 1999-02-04 2003-09-02 Olympus Optical Co., Ltd. Optical imaging device
US20030187319A1 (en) 2002-03-29 2003-10-02 Olympus Optical Co., Ltd. Sentinel lymph node detecting apparatus, and method thereof
US20040001716A1 (en) 2001-11-26 2004-01-01 Fadi Daou Methods and devices to minimize the optical loss when multiplexing optical signals from a plurality of tunable laser sources
US6687010B1 (en) 1999-09-09 2004-02-03 Olympus Corporation Rapid depth scanning optical imaging device
US6709402B2 (en) 2002-02-22 2004-03-23 Datex-Ohmeda, Inc. Apparatus and method for monitoring respiration with a pulse oximeter
US6725073B1 (en) 1999-08-17 2004-04-20 Board Of Regents, The University Of Texas System Methods for noninvasive analyte sensing
US6738144B1 (en) 1999-12-17 2004-05-18 University Of Central Florida Non-invasive method and low-coherence apparatus system analysis and process control
US6753966B2 (en) 2000-03-10 2004-06-22 Textron Systems Corporation Optical probes and methods for spectral analysis
US20040140425A1 (en) 2001-03-12 2004-07-22 Olympus Corporation Light scanning probe apparatus using light of low coherence
US20040218845A1 (en) 2002-04-09 2004-11-04 Wei-Zhong Li Depolarizer
JP2004317437A (en) 2003-04-18 2004-11-11 Olympus Corp Optical imaging apparatus
US20040246490A1 (en) 2003-06-04 2004-12-09 Feiling Wang Measurements of substances using two different propagation modes of light through a common optical path
US20040260158A1 (en) 2003-06-18 2004-12-23 Hogan Josh N. Non-invasive analysis system
US20040258377A1 (en) 2003-06-19 2004-12-23 Berkey George E. Single polarization optical fiber laser and amplifier
US6847453B2 (en) 2001-11-05 2005-01-25 Optiphase, Inc. All fiber autocorrelator
US20050053109A1 (en) 2002-06-03 2005-03-10 Josh Hogan Integrated multiple wavelength system
US20050075547A1 (en) 2003-06-04 2005-04-07 Feiling Wang Coherence-gated optical glucose monitor
US6891984B2 (en) 2002-07-25 2005-05-10 Lightlab Imaging, Llc Scanning miniature optical probes with optical distortion correction and rotational control
US6901284B1 (en) 1999-02-19 2005-05-31 Hitachi, Ltd. Optical measuring instrument
US6903854B2 (en) 1998-03-06 2005-06-07 Imalux Corporation Optical coherence tomography apparatus, optical fiber lateral scanner and a method for studying biological tissues in vivo
US7023563B2 (en) 2003-02-14 2006-04-04 Chian Chiu Li Interferometric optical imaging and storage devices
US20060079762A1 (en) 2004-10-12 2006-04-13 Norris Peter E Integrated disease diagnosis and treatment system
WO2006041997A2 (en) 2004-10-05 2006-04-20 Tomophase Corporation Cross-sectional mapping of spectral absorbance features
US20060089548A1 (en) 2004-10-23 2006-04-27 Hogan Josh N Correlation of concurrent non-invasively acquired signals
US7039454B1 (en) 1999-03-29 2006-05-02 Hitachi Medical Corporation Biological optical measuring instrument
US7058155B2 (en) 2002-11-27 2006-06-06 General Electric Company Methods and apparatus for detecting structural, perfusion, and functional abnormalities
US7207984B2 (en) 1999-07-14 2007-04-24 Cardiofocus, Inc. Methods for projection of energy
US20070115476A1 (en) 2005-07-08 2007-05-24 Feldchtein Felix I Common path frequency domain optical coherence reflectometry/tomography device
US7254429B2 (en) 2004-08-11 2007-08-07 Glucolight Corporation Method and apparatus for monitoring glucose levels in a biological tissue
US20080033300A1 (en) 2006-08-04 2008-02-07 Anh Hoang Systems and methods for monitoring temperature during electrosurgery or laser therapy
US20080119701A1 (en) 2006-11-03 2008-05-22 Cardiospectra, Inc. Analyte sensor method and apparatus
US20080267562A1 (en) 2007-04-24 2008-10-30 Feiling Wang Delivering light via optical waveguide and multi-view optical probe head
WO2009108950A2 (en) 2008-02-29 2009-09-03 Tomophase Corporation Temperature profile mapping and guided thermotherapy
US7831298B1 (en) 2005-10-04 2010-11-09 Tomophase Corporation Mapping physiological functions of tissues in lungs and other organs

Family Cites Families (3)

* Cited by examiner, † Cited by third party
Publication number Priority date Publication date Assignee Title
US6123083A (en) * 1997-08-29 2000-09-26 Urologix, Inc. Device and method for treatment of a prostate while preventing urethral constriction due to collagen rich tissue shrinkage
AU2002337596A1 (en) * 2001-09-27 2003-04-07 Galil Medical Ltd. Cryoplasty apparatus and method
AU2003228410A1 (en) * 2002-04-01 2003-10-20 The Johns Hopkins University School Of Medicine Device, systems and methods for heating of a vessel in combination with mr/nmr imaging

Patent Citations (100)

* Cited by examiner, † Cited by third party
Publication number Priority date Publication date Assignee Title
US4402311A (en) 1979-03-30 1983-09-06 Olympus Optical Co., Ltd. Endoscope for medical treatment
US5088493A (en) 1984-08-07 1992-02-18 Sclavo, S.P.A. Multiple wavelength light photometer for non-invasive monitoring
US4878492A (en) 1987-10-08 1989-11-07 C. R. Bard, Inc. Laser balloon catheter
US4848867A (en) 1988-02-10 1989-07-18 Hitachi Cable Limited Rotary joint for polarization plane maintaining optical fibers
US4991938A (en) 1989-04-07 1991-02-12 Gte Laboratories Incorporated Quasi-achromatic optical isolators and circulators using prisms with total internal fresnel reflection
EP0429297A2 (en) 1989-11-20 1991-05-29 Hamamatsu Photonics K.K. Cancer diagnosis and treatment device having laser beam generator
US5202745A (en) 1990-11-07 1993-04-13 Hewlett-Packard Company Polarization independent optical coherence-domain reflectometry
US6421164B2 (en) 1991-04-29 2002-07-16 Massachusetts Institute Of Technology Interferometeric imaging with a grating based phase control optical delay line
US5321501A (en) 1991-04-29 1994-06-14 Massachusetts Institute Of Technology Method and apparatus for optical imaging with means for controlling the longitudinal range of the sample
US5459570A (en) 1991-04-29 1995-10-17 Massachusetts Institute Of Technology Method and apparatus for performing optical measurements
US6282011B1 (en) 1991-04-29 2001-08-28 Massachusetts Institute Of Technology Grating based phase control optical delay line
US6485413B1 (en) 1991-04-29 2002-11-26 The General Hospital Corporation Methods and apparatus for forward-directed optical scanning instruments
US6134003A (en) 1991-04-29 2000-10-17 Massachusetts Institute Of Technology Method and apparatus for performing optical measurements using a fiber optic imaging guidewire, catheter or endoscope
US6501551B1 (en) 1991-04-29 2002-12-31 Massachusetts Institute Of Technology Fiber optic imaging endoscope interferometer with at least one faraday rotator
EP0527050A1 (en) 1991-08-05 1993-02-10 Ishikawajima-Harima Jukogyo Kabushiki Kaisha Cancer therapy system
US5784162A (en) 1993-08-18 1998-07-21 Applied Spectral Imaging Ltd. Spectral bio-imaging methods for biological research, medical diagnostics and therapy
US5710630A (en) 1994-05-05 1998-01-20 Boehringer Mannheim Gmbh Method and apparatus for determining glucose concentration in a biological sample
US5672171A (en) * 1994-06-30 1997-09-30 American Medical Systems, Inc. Apparatus and method for interstitial laser treatment
US5803909A (en) 1994-10-06 1998-09-08 Hitachi, Ltd. Optical system for measuring metabolism in a body and imaging method
US5659392A (en) 1995-03-22 1997-08-19 Eastman Kodak Company Associated dual interferometric measurement apparatus for determining a physical property of an object
US20030028114A1 (en) * 1995-09-20 2003-02-06 Texas Heart Institute Method and apparatus for detecting vulnerable atherosclerotic plaque
US6219565B1 (en) 1996-02-05 2001-04-17 Diasense, Inc. Methods and apparatus for non-invasive glucose sensing: non-invasive probe
US5800486A (en) * 1996-06-17 1998-09-01 Urologix, Inc. Device for transurethral thermal therapy with cooling balloon
US5912762A (en) 1996-08-12 1999-06-15 Li; Li Thin film polarizing device
US6201989B1 (en) 1997-03-13 2001-03-13 Biomax Technologies Inc. Methods and apparatus for detecting the rejection of transplanted tissue
US6903854B2 (en) 1998-03-06 2005-06-07 Imalux Corporation Optical coherence tomography apparatus, optical fiber lateral scanner and a method for studying biological tissues in vivo
US6252666B1 (en) 1998-03-13 2001-06-26 Optreal Biopsy Technologies, Inc. Method and apparatus for performing optical coherence-domain reflectometry and imaging through a scattering medium employing a power-efficient interferometer
US6034774A (en) 1998-06-26 2000-03-07 Eastman Kodak Company Method for determining the retardation of a material using non-coherent light interferometery
US6246818B1 (en) 1998-11-13 2001-06-12 Fujitsu Limited Tunable optical filter
US6522407B2 (en) 1999-01-22 2003-02-18 The Regents Of The University Of California Optical detection dental disease using polarized light
US6608717B1 (en) 1999-01-29 2003-08-19 Colorado State University Research Foundation Optical coherence microscope and methods of use for rapid in vivo three-dimensional visualization of biological function
US6615072B1 (en) 1999-02-04 2003-09-02 Olympus Optical Co., Ltd. Optical imaging device
US6901284B1 (en) 1999-02-19 2005-05-31 Hitachi, Ltd. Optical measuring instrument
US7039454B1 (en) 1999-03-29 2006-05-02 Hitachi Medical Corporation Biological optical measuring instrument
US6377840B1 (en) 1999-06-03 2002-04-23 Hutchinson Technology Incorporated Signal acquisition and processing system for reduced output signal drift in a spectrophotometric instrument
US7207984B2 (en) 1999-07-14 2007-04-24 Cardiofocus, Inc. Methods for projection of energy
US20020049370A1 (en) 1999-08-05 2002-04-25 Laufer Michael D. Devices for creating collateral channels in the lungs
US6498942B1 (en) 1999-08-06 2002-12-24 The University Of Texas System Optoacoustic monitoring of blood oxygenation
US6725073B1 (en) 1999-08-17 2004-04-20 Board Of Regents, The University Of Texas System Methods for noninvasive analyte sensing
JP2001066245A (en) 1999-08-26 2001-03-16 Japan Science & Technology Corp Light wave reflection tomographic observation system
US6687010B1 (en) 1999-09-09 2004-02-03 Olympus Corporation Rapid depth scanning optical imaging device
US6738144B1 (en) 1999-12-17 2004-05-18 University Of Central Florida Non-invasive method and low-coherence apparatus system analysis and process control
US6753966B2 (en) 2000-03-10 2004-06-22 Textron Systems Corporation Optical probes and methods for spectral analysis
US6609425B2 (en) 2000-05-02 2003-08-26 Fuji Photo Film Co., Ltd. Ultrasonic probe and ultrasonic diagnosis apparatus using the same
JP2002013907A (en) 2000-06-30 2002-01-18 Mitsutoyo Corp Planar shape measurement method for phase shift interference fringe simultaneous imaging device
US6451009B1 (en) 2000-09-12 2002-09-17 The Regents Of The University Of California OCDR guided laser ablation device
US6585639B1 (en) 2000-10-27 2003-07-01 Pulmonx Sheath and method for reconfiguring lung viewing scope
US20030020920A1 (en) 2001-01-12 2003-01-30 Dave Digant P. Method and apparatus for differential phase optical coherence tomography
US20020126347A1 (en) 2001-03-07 2002-09-12 Hogan Josh N. High data rate multiple wavelength encoding
US20040140425A1 (en) 2001-03-12 2004-07-22 Olympus Corporation Light scanning probe apparatus using light of low coherence
US20020131049A1 (en) 2001-03-16 2002-09-19 Schmitt Joseph M. Broadband light source system and method thereof
US20030137669A1 (en) 2001-08-03 2003-07-24 Rollins Andrew M. Aspects of basic OCT engine technologies for high speed optical coherence tomography and light source and other improvements in optical coherence tomography
US6847453B2 (en) 2001-11-05 2005-01-25 Optiphase, Inc. All fiber autocorrelator
US20040001716A1 (en) 2001-11-26 2004-01-01 Fadi Daou Methods and devices to minimize the optical loss when multiplexing optical signals from a plurality of tunable laser sources
US20030114878A1 (en) 2001-12-14 2003-06-19 The Regents Of The University Of California Catheter based balloon for therapy modification and positioning of tissue
CN2524241Y (en) 2002-01-11 2002-12-04 谭玉山 Optical fiber biological test instrument by phase tracking method
WO2003062802A2 (en) 2002-01-24 2003-07-31 The General Hospital Corporation Apparatus and method for rangings and noise reduction of low coherence interferometry lci and optical coherence tomography (oct) signals by parallel detection of spectral bands
US6709402B2 (en) 2002-02-22 2004-03-23 Datex-Ohmeda, Inc. Apparatus and method for monitoring respiration with a pulse oximeter
US20030187319A1 (en) 2002-03-29 2003-10-02 Olympus Optical Co., Ltd. Sentinel lymph node detecting apparatus, and method thereof
US20040218845A1 (en) 2002-04-09 2004-11-04 Wei-Zhong Li Depolarizer
US20050053109A1 (en) 2002-06-03 2005-03-10 Josh Hogan Integrated multiple wavelength system
US6891984B2 (en) 2002-07-25 2005-05-10 Lightlab Imaging, Llc Scanning miniature optical probes with optical distortion correction and rotational control
US7058155B2 (en) 2002-11-27 2006-06-06 General Electric Company Methods and apparatus for detecting structural, perfusion, and functional abnormalities
US7023563B2 (en) 2003-02-14 2006-04-04 Chian Chiu Li Interferometric optical imaging and storage devices
US20040247268A1 (en) 2003-04-18 2004-12-09 Olympus Corporation Optical imaging system
JP2004317437A (en) 2003-04-18 2004-11-11 Olympus Corp Optical imaging apparatus
US6943881B2 (en) 2003-06-04 2005-09-13 Tomophase Corporation Measurements of optical inhomogeneity and other properties in substances using propagation modes of light
US7456965B2 (en) 2003-06-04 2008-11-25 Tomophase Corporation Optical measurements of properties in substances using propagation modes of light
US6903820B2 (en) 2003-06-04 2005-06-07 Tomophase Corporation Measurements of substances using two different propagation modes of light through a common optical path
US20050018202A1 (en) 2003-06-04 2005-01-27 Feiling Wang Measurements of optical inhomogeneity and other properties in substances using propagation modes of light
US20050286055A1 (en) 2003-06-04 2005-12-29 Feiling Wang Optical measurements of properties in substances using propagation modes of light
WO2005001522A2 (en) 2003-06-04 2005-01-06 Tomophase Corporation Measurements of optical inhomogeneity and other properties in substances using propagation modes of light
US20100091282A1 (en) 2003-06-04 2010-04-15 Tomophase Corporation Optical Measurements of Properties in Substances Using Propagation Modes of Light
US20100014093A1 (en) 2003-06-04 2010-01-21 Feiling Wang Measurements of Optical Inhomogeneity and Other Properties in Substances Using Propagation Modes of Light
US7595879B2 (en) 2003-06-04 2009-09-29 Tomophase Corporation Optically measuring substances using propagation modes of light
US20090073444A1 (en) 2003-06-04 2009-03-19 Tomophase Corporation Optical measurements of properties in substances using propagation modes of light
US20050075547A1 (en) 2003-06-04 2005-04-07 Feiling Wang Coherence-gated optical glucose monitor
US20080030740A1 (en) 2003-06-04 2008-02-07 Tomophase Corporation Optical Measurements of Properties in Substances Using Propagation Modes of Light
US7263394B2 (en) 2003-06-04 2007-08-28 Tomophase Corporation Coherence-gated optical glucose monitor
US20040246490A1 (en) 2003-06-04 2004-12-09 Feiling Wang Measurements of substances using two different propagation modes of light through a common optical path
US20070103683A1 (en) 2003-06-04 2007-05-10 Feiling Wang Optically measuring substances using propagation modes of light
US7259851B2 (en) 2003-06-04 2007-08-21 Tomophase Corporation Optical measurements of properties in substances using propagation modes of light
US20040260158A1 (en) 2003-06-18 2004-12-23 Hogan Josh N. Non-invasive analysis system
US20040258377A1 (en) 2003-06-19 2004-12-23 Berkey George E. Single polarization optical fiber laser and amplifier
US7254429B2 (en) 2004-08-11 2007-08-07 Glucolight Corporation Method and apparatus for monitoring glucose levels in a biological tissue
WO2006041997A2 (en) 2004-10-05 2006-04-20 Tomophase Corporation Cross-sectional mapping of spectral absorbance features
US20060100490A1 (en) 2004-10-05 2006-05-11 Feiling Wang Cross-sectional mapping of spectral absorbance features
US20060079762A1 (en) 2004-10-12 2006-04-13 Norris Peter E Integrated disease diagnosis and treatment system
WO2006045013A2 (en) 2004-10-20 2006-04-27 Tomophase Corporation Integrated disease diagnosis and treatment system
US20060089548A1 (en) 2004-10-23 2006-04-27 Hogan Josh N Correlation of concurrent non-invasively acquired signals
US7428053B2 (en) 2005-07-08 2008-09-23 Imalux Corporation Common path frequency domain optical coherence reflectometry/tomography device
US20070115476A1 (en) 2005-07-08 2007-05-24 Feldchtein Felix I Common path frequency domain optical coherence reflectometry/tomography device
US7831298B1 (en) 2005-10-04 2010-11-09 Tomophase Corporation Mapping physiological functions of tissues in lungs and other organs
US20080033300A1 (en) 2006-08-04 2008-02-07 Anh Hoang Systems and methods for monitoring temperature during electrosurgery or laser therapy
US20080119701A1 (en) 2006-11-03 2008-05-22 Cardiospectra, Inc. Analyte sensor method and apparatus
WO2008134449A1 (en) 2007-04-24 2008-11-06 Tomophase Corporation Delivering light via optical waveguide and multi-view optical probe head
US20080267562A1 (en) 2007-04-24 2008-10-30 Feiling Wang Delivering light via optical waveguide and multi-view optical probe head
US7706646B2 (en) 2007-04-24 2010-04-27 Tomophase Corporation Delivering light via optical waveguide and multi-view optical probe head
US20100201985A1 (en) 2007-04-24 2010-08-12 Tomophase Corporation Delivering Light Via Optical Waveguide and Multi-View Optical Probe Head
WO2009108950A2 (en) 2008-02-29 2009-09-03 Tomophase Corporation Temperature profile mapping and guided thermotherapy

Non-Patent Citations (26)

* Cited by examiner, † Cited by third party
Title
El-Tonsy, M.H., et al., "Continuous-wave Nd:Yag laser hyperthermia: a successful modality in treatment of basal cell carcinoma," Dermatology Online Journal, 10(2):12 pages, Oct. 2004.
European Search Report dated Nov. 18, 2010 for European Patent Application No. 05813935.3, filed Oct. 20, 2005 (9 pages).
European Search Report dated Nov. 2, 2010 for European Patent Application No. 04754292.3, filed Jun. 4, 2004 (4 pages).
Goldberg, S.N., et al., "Thermal ablation therapy for focal malignancy: a unified approach to underlying principles, techniques, and diagnostic imaging guidance," AJR American Journal Roentgenology, 174(2):323-331, Feb. 2000.
Handbook of Optics, 2nd Edition, vol. 1: Fundamentals, Techniques, & Design, Optical Society of America, McGraw-Hill Professional, pp. 42.68-42.73, Sep. 1994.
International Preliminary Report on Patentability dated Dec. 22, 2005 for International Application No. PCT/US04/17649, filed Jun. 4, 2004 (7 pages).
International Preliminary Report on Patentability dated Feb. 24, 2009 for International Application No. PCT/US05/35951, filed Oct. 5, 2005 (9 pages).
International Preliminary Report on Patentability dated Nov. 5, 2009 for International Application No. PCT/US2008/061451, filed Apr. 24, 2008 (6 pages).
International Search Report and Written Opinion dated Apr. 28, 2011 for International Application No. PCT/US2010/046874, filed Aug. 26, 2010 (6 pages).
International Search Report and Written Opinion dated Aug. 29, 2008 for International Application No. PCT/US05/35951, filed Oct. 5, 2005 (10 pages).
International Search Report and Written Opinion dated Nov. 20, 2009 for International Application No. PCT/US2009/035773, filed Mar. 2, 2009 (7 pages.).
International Search Report and Written Opinion dated Oct. 17, 2008 for International Application No. PCT/US2008/061451, filed Apr. 24, 2008 (7 pages).
International Search Report and Written Opinion dated Oct. 4, 2007 for International Application No. PCT/US05/37730, filed Oct. 20, 2005 (5 pages).
James, A., et al., "Airway smooth muscle in health and disease; methods of measurement and relation to function," The European Respiratory Journal, 15(4):782-789, Apr. 2000.
Lucroy, M.D., et al., "Selective laser-induced hyperthermia for the treatment of spontaneous tumors in dogs," Journal of X-Ray Science and Technology, 10(3-4):237-243, (2002).
Miller, J.D., et al., "A Prospective Feasibility Study of Bronchial Thermoplasty in the Human Airway," Chest, 127 (6):1999-2006, Jun. 2005.
Nikfarjam, M., et al., "Interstitial laser thermotherapy for liver tumours," British Journal of Surgery, 90(9):1033-1047, Sep. 2003.
Office Action dated Feb. 12, 2010 for Chinese Patent Application No. 200580043930.4 (12 pages).
Office Action dated Mar. 17, 2010 for Japanese Patent Application No. 2006-515173 (4 pages).
Office Action dated Nov. 20, 2009 for Chinese Patent Application No. 200480021343.0 (25 pages).
Office Action dated Oct. 22, 2010 for Canadian Patent Application No. 2,528,417 (3 pages).
Tearney, G., et al., "In Vivo Endoscopic Optical Biopsy with Optical Coherence Tomography," Science, 276 (5321):2037-2039, Jun. 1997.
Tumlinson, A., et al., "Endoscope-tip interferometer for ultrahigh resolution frequency domain optical coherence tomography in mouse colon," Optics Express, 14(5):1878-1887, Mar. 2006.
Vakhtin, A.B., et al., "Common-Path Interferometer for Frequency-Domain Optical Coherence Tomography," Applied Optics, 42(34):6953-6958, Dec. 2003.
Yun, S., et al., "Comprehensive volumetric optical microscopy in vivo," Nature Medicine, 12(12):1429-1433, Nov. 2006.
Ziemann, V., et al., "Ideas for an interferometric thermometer," Nuclear Instruments and Methods in Physics Research Section A: Accelerators, Spectrometers, Detectors and Associated Equipment, 564(1):587-589, Aug. 2006.

Cited By (12)

* Cited by examiner, † Cited by third party
Publication number Priority date Publication date Assignee Title
US20130100442A1 (en) * 2003-06-04 2013-04-25 Tomophase Corporation Optical measurements of properties in substances using propagation modes of light
US20130261613A1 (en) * 2008-02-29 2013-10-03 Tomophase Corporation Temperature profile mapping and guided thermotherapy
US9247991B2 (en) * 2008-02-29 2016-02-02 Tomophase, Inc. Temperature profile mapping and guided thermotherapy
US20130243426A1 (en) * 2009-12-23 2013-09-19 Peter J. Winzer Communication VIa A Multimode Constellation
US8817895B2 (en) * 2009-12-23 2014-08-26 Alcatel Lucent Communication via a multimode constellation
US9599613B2 (en) 2011-07-20 2017-03-21 University Of Washington Through Its Center For Commercialization Photonic blood typing
US10073102B2 (en) 2011-07-20 2018-09-11 University Of Washington Through Its Center For Commercialization Photonic blood typing
US10794921B2 (en) 2011-07-20 2020-10-06 University Of Washington Photonic blood typing
US11105820B2 (en) 2011-07-20 2021-08-31 University Of Washington Through Its Center For Commercialization Photonic pathogen detection
US10031138B2 (en) 2012-01-20 2018-07-24 University Of Washington Through Its Center For Commercialization Hierarchical films having ultra low fouling and high recognition element loading properties
US11445911B2 (en) 2016-05-25 2022-09-20 Ikomed Technologies Inc. System for treating unwanted tissue
US12201397B2 (en) 2016-05-25 2025-01-21 Ikomed Technologies Inc. System for treating unwanted tissue

Also Published As

Publication number Publication date
US20130282083A1 (en) 2013-10-24
US20110029049A1 (en) 2011-02-03

Similar Documents

Publication Publication Date Title
US8467858B2 (en) Image-guided thermotherapy based on selective tissue thermal treatment
US7970458B2 (en) Integrated disease diagnosis and treatment system
US7831298B1 (en) Mapping physiological functions of tissues in lungs and other organs
US9247991B2 (en) Temperature profile mapping and guided thermotherapy
US10568687B2 (en) Integrated intraoperative diagnosis and thermal therapy system
US8498681B2 (en) Cross-sectional mapping of spectral absorbance features
US9186066B2 (en) Apparatus for applying a plurality of electro-magnetic radiations to a sample
US7418169B2 (en) Apparatus for controlling at least one of at least two sections of at least one fiber
US10426548B2 (en) Methods and systems for providing electromagnetic radiation to at least one portion of a sample using conformal laser therapy procedures
US8417323B2 (en) Apparatus for depth-resolved measurements of properties of tissue
EP1983920B1 (en) Methods and systems for monitoring and obtaining information of at least one portion of a sample using conformal laser therapy procedures, and providing electromagnetic radiation thereto

Legal Events

Date Code Title Description
AS Assignment

Owner name: TOMOPHASE CORPORATION, MASSACHUSETTS

Free format text: ASSIGNMENT OF ASSIGNORS INTEREST;ASSIGNORS:VERTIKOV, ANDREI;NORRIS, PETER E.;SIGNING DATES FROM 20100817 TO 20101018;REEL/FRAME:025155/0098

STCF Information on status: patent grant

Free format text: PATENTED CASE

FEPP Fee payment procedure

Free format text: PAT HOLDER NO LONGER CLAIMS SMALL ENTITY STATUS, ENTITY STATUS SET TO UNDISCOUNTED (ORIGINAL EVENT CODE: STOL); ENTITY STATUS OF PATENT OWNER: SMALL ENTITY

Free format text: PAYOR NUMBER ASSIGNED (ORIGINAL EVENT CODE: ASPN); ENTITY STATUS OF PATENT OWNER: SMALL ENTITY

Free format text: PAT HOLDER CLAIMS SMALL ENTITY STATUS, ENTITY STATUS SET TO SMALL (ORIGINAL EVENT CODE: LTOS); ENTITY STATUS OF PATENT OWNER: SMALL ENTITY

FEPP Fee payment procedure

Free format text: PAT HOLDER CLAIMS SMALL ENTITY STATUS, ENTITY STATUS SET TO SMALL (ORIGINAL EVENT CODE: LTOS); ENTITY STATUS OF PATENT OWNER: SMALL ENTITY

AS Assignment

Owner name: TOMOPHASE INC., MASSACHUSETTS

Free format text: ASSIGNMENT OF ASSIGNORS INTEREST;ASSIGNOR:TOMOPHASE CORPORATION;REEL/FRAME:033261/0304

Effective date: 20140531

AS Assignment

Owner name: TOMOPHASE, INC., MASSACHUSETTS

Free format text: CORRECTIVE ASSIGNMENT TO CORRECT THE ASSIGNEE NAME AND EXECUTION DATE PREVIOUSLY RECORDED ON REEL 033261 FRAME 0304. ASSIGNOR(S) HEREBY CONFIRMS THE ASSIGNMENT OF ASSIGNORS INTEREST;ASSIGNOR:TOMOPHASE CORPORATION;REEL/FRAME:033482/0120

Effective date: 20140417

FEPP Fee payment procedure

Free format text: PAYER NUMBER DE-ASSIGNED (ORIGINAL EVENT CODE: RMPN); ENTITY STATUS OF PATENT OWNER: SMALL ENTITY

FPAY Fee payment

Year of fee payment: 4

MAFP Maintenance fee payment

Free format text: PAYMENT OF MAINTENANCE FEE, 8TH YR, SMALL ENTITY (ORIGINAL EVENT CODE: M2552); ENTITY STATUS OF PATENT OWNER: SMALL ENTITY

Year of fee payment: 8

FEPP Fee payment procedure

Free format text: MAINTENANCE FEE REMINDER MAILED (ORIGINAL EVENT CODE: REM.); ENTITY STATUS OF PATENT OWNER: SMALL ENTITY

LAPS Lapse for failure to pay maintenance fees

Free format text: PATENT EXPIRED FOR FAILURE TO PAY MAINTENANCE FEES (ORIGINAL EVENT CODE: EXP.); ENTITY STATUS OF PATENT OWNER: SMALL ENTITY

STCH Information on status: patent discontinuation

Free format text: PATENT EXPIRED DUE TO NONPAYMENT OF MAINTENANCE FEES UNDER 37 CFR 1.362

FP Lapsed due to failure to pay maintenance fee

Effective date: 20250618