US7238564B2 - Method of forming a shallow trench isolation structure - Google Patents

Method of forming a shallow trench isolation structure Download PDF

Info

Publication number
US7238564B2
US7238564B2 US11/076,707 US7670705A US7238564B2 US 7238564 B2 US7238564 B2 US 7238564B2 US 7670705 A US7670705 A US 7670705A US 7238564 B2 US7238564 B2 US 7238564B2
Authority
US
United States
Prior art keywords
trench
forming
semiconductor substrate
upper edges
sti
Prior art date
Legal status (The legal status is an assumption and is not a legal conclusion. Google has not performed a legal analysis and makes no representation as to the accuracy of the status listed.)
Expired - Lifetime
Application number
US11/076,707
Other versions
US20060205164A1 (en
Inventor
Chih-Hsin Ko
Chung-Hu Ke
Chien-Chao Huang
Current Assignee (The listed assignees may be inaccurate. Google has not performed a legal analysis and makes no representation or warranty as to the accuracy of the list.)
Taiwan Semiconductor Manufacturing Co TSMC Ltd
Original Assignee
Taiwan Semiconductor Manufacturing Co TSMC Ltd
Priority date (The priority date is an assumption and is not a legal conclusion. Google has not performed a legal analysis and makes no representation as to the accuracy of the date listed.)
Filing date
Publication date
Application filed by Taiwan Semiconductor Manufacturing Co TSMC Ltd filed Critical Taiwan Semiconductor Manufacturing Co TSMC Ltd
Priority to US11/076,707 priority Critical patent/US7238564B2/en
Assigned to TAIWAN SEMICONDUCTOR MANUFACTURING CO., LTD. reassignment TAIWAN SEMICONDUCTOR MANUFACTURING CO., LTD. ASSIGNMENT OF ASSIGNORS INTEREST (SEE DOCUMENT FOR DETAILS). Assignors: HUANG, CHIEN-CHAO, KE, CHUNG-HU, KO, CHIH-HSIN
Priority to CNB2006100581861A priority patent/CN100416833C/en
Priority to TW095108214A priority patent/TWI353651B/en
Publication of US20060205164A1 publication Critical patent/US20060205164A1/en
Priority to US11/809,519 priority patent/US7745904B2/en
Application granted granted Critical
Publication of US7238564B2 publication Critical patent/US7238564B2/en
Anticipated expiration legal-status Critical
Expired - Lifetime legal-status Critical Current

Links

Images

Classifications

    • HELECTRICITY
    • H10SEMICONDUCTOR DEVICES; ELECTRIC SOLID-STATE DEVICES NOT OTHERWISE PROVIDED FOR
    • H10DINORGANIC ELECTRIC SEMICONDUCTOR DEVICES
    • H10D62/00Semiconductor bodies, or regions thereof, of devices having potential barriers
    • H10D62/10Shapes, relative sizes or dispositions of the regions of the semiconductor bodies; Shapes of the semiconductor bodies
    • H10D62/13Semiconductor regions connected to electrodes carrying current to be rectified, amplified or switched, e.g. source or drain regions
    • H10D62/149Source or drain regions of field-effect devices
    • H10D62/151Source or drain regions of field-effect devices of IGFETs 
    • HELECTRICITY
    • H01ELECTRIC ELEMENTS
    • H01LSEMICONDUCTOR DEVICES NOT COVERED BY CLASS H10
    • H01L21/00Processes or apparatus adapted for the manufacture or treatment of semiconductor or solid state devices or of parts thereof
    • H01L21/70Manufacture or treatment of devices consisting of a plurality of solid state components formed in or on a common substrate or of parts thereof; Manufacture of integrated circuit devices or of parts thereof
    • H01L21/71Manufacture of specific parts of devices defined in group H01L21/70
    • H01L21/76Making of isolation regions between components
    • H01L21/762Dielectric regions, e.g. EPIC dielectric isolation, LOCOS; Trench refilling techniques, SOI technology, use of channel stoppers
    • H01L21/76224Dielectric regions, e.g. EPIC dielectric isolation, LOCOS; Trench refilling techniques, SOI technology, use of channel stoppers using trench refilling with dielectric materials
    • H01L21/76232Dielectric regions, e.g. EPIC dielectric isolation, LOCOS; Trench refilling techniques, SOI technology, use of channel stoppers using trench refilling with dielectric materials of trenches having a shape other than rectangular or V-shape, e.g. rounded corners, oblique or rounded trench walls
    • HELECTRICITY
    • H10SEMICONDUCTOR DEVICES; ELECTRIC SOLID-STATE DEVICES NOT OTHERWISE PROVIDED FOR
    • H10DINORGANIC ELECTRIC SEMICONDUCTOR DEVICES
    • H10D30/00Field-effect transistors [FET]
    • H10D30/60Insulated-gate field-effect transistors [IGFET]
    • H10D30/601Insulated-gate field-effect transistors [IGFET] having lightly-doped drain or source extensions, e.g. LDD IGFETs or DDD IGFETs 
    • H10D30/608Insulated-gate field-effect transistors [IGFET] having lightly-doped drain or source extensions, e.g. LDD IGFETs or DDD IGFETs  having non-planar bodies, e.g. having recessed gate electrodes
    • HELECTRICITY
    • H10SEMICONDUCTOR DEVICES; ELECTRIC SOLID-STATE DEVICES NOT OTHERWISE PROVIDED FOR
    • H10DINORGANIC ELECTRIC SEMICONDUCTOR DEVICES
    • H10D62/00Semiconductor bodies, or regions thereof, of devices having potential barriers
    • H10D62/01Manufacture or treatment
    • H10D62/021Forming source or drain recesses by etching e.g. recessing by etching and then refilling
    • HELECTRICITY
    • H10SEMICONDUCTOR DEVICES; ELECTRIC SOLID-STATE DEVICES NOT OTHERWISE PROVIDED FOR
    • H10DINORGANIC ELECTRIC SEMICONDUCTOR DEVICES
    • H10D84/00Integrated devices formed in or on semiconductor substrates that comprise only semiconducting layers, e.g. on Si wafers or on GaAs-on-Si wafers
    • H10D84/01Manufacture or treatment
    • H10D84/0123Integrating together multiple components covered by H10D12/00 or H10D30/00, e.g. integrating multiple IGBTs
    • H10D84/0126Integrating together multiple components covered by H10D12/00 or H10D30/00, e.g. integrating multiple IGBTs the components including insulated gates, e.g. IGFETs
    • H10D84/0151Manufacturing their isolation regions
    • HELECTRICITY
    • H10SEMICONDUCTOR DEVICES; ELECTRIC SOLID-STATE DEVICES NOT OTHERWISE PROVIDED FOR
    • H10DINORGANIC ELECTRIC SEMICONDUCTOR DEVICES
    • H10D84/00Integrated devices formed in or on semiconductor substrates that comprise only semiconducting layers, e.g. on Si wafers or on GaAs-on-Si wafers
    • H10D84/01Manufacture or treatment
    • H10D84/02Manufacture or treatment characterised by using material-based technologies
    • H10D84/03Manufacture or treatment characterised by using material-based technologies using Group IV technology, e.g. silicon technology or silicon-carbide [SiC] technology
    • H10D84/038Manufacture or treatment characterised by using material-based technologies using Group IV technology, e.g. silicon technology or silicon-carbide [SiC] technology using silicon technology, e.g. SiGe

Definitions

  • the present invention relates generally to semiconductor device fabrication, and more particularly to shallow trench isolation (STI) structure fabrication process enhancements.
  • STI shallow trench isolation
  • Isolation structures are used in semiconductor devices to electrically isolate different components of a semiconductor device. These isolation structures between the components reduce adverse noise effects that may cause performance degradation of the semiconductor device. Once the components are isolated from each other, certain electrical paths can be established between the components to obtain the desired electrical characteristics from the semiconductor device.
  • LOCOS LOCal Oxidation of Silicon
  • a field oxide layer is thermally grown using an oxidation mask to pattern the growth.
  • a portion of the field oxide grows laterally, thereby producing tapering oxide wedge portions outside the desired growth pattern.
  • These oxide wedge portions are referred to as a “bird's beak” due to the shape of the wedge portions.
  • the bird's beak reduces the isolation area between the components of the semiconductor device and can deteriorate the electrical performance of the semiconductor device.
  • the shallow trench isolation (STI) process is replacing the conventional LOCOS process for the formation of an isolation structure as technology evolves to submicron geometries.
  • the STI process has various advantages over the conventional LOCOS process.
  • the STI process allows for the planarization of the entire substrate and isolation structure. This results in better control of critical dimension (CD) when defining a gate stack of a transistor, for example. Better control of the CD when defining the gate stack results in better control of the CD in further processing steps, which occur after the gate stack is defined.
  • CD critical dimension
  • a buffer oxide of 10 to 20 nm is thermally grown on a wafer substrate.
  • a nitride of approximately 200 nm is deposited and then patterned with lithography and etched down to silicon.
  • An etch that is selective to silicon (etches mostly silicon) is then used to etch a trench into the silicon.
  • a liner oxide is thermally grown to anneal out any damage to the silicon and passivate the silicon.
  • an oxide that is considerably thicker than the trench depth is deposited.
  • the wafer is then subjected to a chemical-mechanical polishing that stops when it reaches the nitride.
  • the nitride is then stripped, along with the buffer oxide underneath, thereby forming the STI structure.
  • the sharp corner where the trench sidewall meets the silicon substrate surface causes many problems with device performance, yield, and reliability.
  • a parasitic transistor may be inadvertently formed at the corner that has a lower threshold voltage.
  • a thinner gate oxide may be inadvertently formed at the corner, resulting in immediate device failure or reliability issues.
  • STI shallow trench isolation
  • this invention provides a new STI fabrication process that results in a wider fabrication process window, increases the gate oxide integrity, and increases device performance, yield, and reliability.
  • a new STI fabrication process that forms a STI trench in a semiconductor substrate with a rounded top corner is presented.
  • the rounded top corner includes a portion that overhangs the STI trench and may advantageously be used in the formation of device components such as transistor source/drain regions.
  • the new STI fabrication process also eliminates the divot at the top corner of a trench opening that is typically created by conventional processes, and suppresses the parasitic corner transistor by eliminating the divot created in the conventional processes.
  • the new STI fabrication process reduces the channel stress which may be induced by the STI corner stress caused by the conventional processes, and reduces the silicide-induced junction problem while improving the narrow device characterization.
  • the new STI structure created by the new STI fabrication process allows for a wider processing window without surface warping.
  • the gate oxide integrity is improved by eliminating the conventional problems of silicon surface faceting, polysilicon intrusion, and the stress induced thinning at the STI boundaries.
  • FIGS. 1A-1D present a conventional STI fabrication process.
  • FIGS. 2A-2D present a series of processes in accordance with one embodiment of the present invention.
  • FIG. 3 presents a cross section of the STI corner in accordance with one embodiment of the present invention.
  • FIGS. 1A-1D present a conventional STI fabrication process.
  • a pad oxide layer 316 is formed on a substrate material 318 which may be silicon, silicon-on-insulator SOI, Ge, C or combinations thereof. This can be accomplished by oxidizing a silicon substrate using a thermal oxidation process, a chemical vapor deposition process, or other existing techniques.
  • a silicon nitride film 314 is then formed on the pad oxide layer 316 using any of various existing conventional techniques.
  • a photoresist layer 320 is then formed on the top surface of the silicon nitride film 314 .
  • the photoresist layer 320 is patterned using conventional methods and the silicon nitride film 314 and the pad oxide layer 316 are then selectively removed by using the photoresist pattern as a mask using known etching or other removal processes. Portions 322 of the top surface of the substrate material 318 , are exposed and correspond to the area where the STI structure will be formed.
  • FIG. 1C next shows various trenches 310 formed selectively in the exposed portions 322 ( FIG. 1B ) of the substrate material 318 .
  • the trenches 310 are formed using existing etching techniques that use an etch selective to silicon.
  • the trapezoidal shape of trenches 310 is exemplary only and may alternatively be rectangular.
  • an optional thin oxide film 328 also known as an “oxide liner” may be thermally formed in various trenches 310 and on the exposed surfaces of the pad oxide layer 316 . Corner rounding may be achieved during the formation of the thin oxide film 328 .
  • the corner portions 326 may be rounded automatically as the thin oxide film 328 is formed because the oxidation speed at the various corner portions 326 of the substrate material 318 is much higher than the oxidation speed at other surfaces.
  • the oxidation may take place at a temperature of abut 1000° C.+/ ⁇ 300° C. In other embodiments, oxide film 328 may not be used.
  • an insulating film 312 is formed in the various trenches 310 and on the exposed surfaces of the silicon nitride film 314 by the chemical vapor deposition (CVD) process.
  • the insulating film is preferably formed as a silicon oxide film and it fills the trenches 310 .
  • the structure is then planarized using chemical mechanical polishing (CMP) which removes the insulating film from over the top surface of silicon nitride 314 which serves as a polishing stop film, to form the structure shown in FIG. 2A , which does not include the optional oxide film 328 .
  • CMP chemical mechanical polishing
  • thermal oxidation such as used to form oxide film 328 may be used to form rounded corners because the oxidation speed of the various corner portions 326 of the semiconductor substrate at the entrance of the trench is increased during such thermal oxidation.
  • the increased oxidation speed produces rounded corner portions of the semiconductor substrate near the trench entrance, as above.
  • Rounded corners at the semiconductor substrate are important because they stabilize and improve the electrical characteristics and performance of the semiconductor device by preventing or eliminating concentration of electric fields at the corner portions of the semiconductor substrate at the trench entrance.
  • FIGS. 2A-2D and 3 illustrate the improved methods for STI formation according to the present invention.
  • FIGS. 2A-2D present process steps 302 , 304 , 306 and 308 , respectively, in accordance with one embodiment of the present invention.
  • the process steps 302 , 304 , 306 and 308 are developed to resolve some of the disadvantages of the previously illustrated conventional STI fabrication process, and other similar conventional processes.
  • This novel STI fabrication process of the present invention begins with the structure of FIG. 2A which may be formed according to the sequence shown in FIGS. 1A-1D , or by other means that produce STI trench structures formed and filled with an oxide to a level above the pattern mask.
  • STI filler material 312 is removed by the CMP process, but only down to the top of silicon nitride layer 314 .
  • STI filler material 312 may be an oxide, another dielectric or polysilicon.
  • the silicon nitride layer 314 and silicon oxide layer 316 which may be a pad oxide layer, remain intact on top of the substrate material 318 .
  • Silicon nitride layer 314 and silicon oxide layer 316 together form a pattern mask layer.
  • Various STI structures 340 are essentially the trenches 310 filled with STI filler material 312 up to the top of silicon nitride layer 314 .
  • the CMP process that produces the structure in process step 302 leaves a planarized surface formed of STI filler material 312 and the top surface of silicon nitride layer 314 . It is noteworthy that the pattern mask layer consisting of the silicon nitride layer 314 and a silicon oxide layer 316 covers the full width of the substrate material 318 .
  • an etching process is performed to remove an additional amount of the STI filler material 312 contained in the STI trench structure 340 as well as causing an etch-back of the original sides 309 (shown as dashed lines) of the pattern mask layer.
  • H 3 P 0 4 and HF may be used as the etching solutions for etching the pad nitride and pad oxide, respectively. This etch process essentially removes STI filler material 312 from over the top surface of substrate material 318 .
  • the top corners of the STI trenches have significantly more STI filler material 312 removed at various locations 372 , thereby creating voids below the substrate surface and exposing a portion of the upper trench sidewalls as the wet etch preferentially etches along the interface between substrate material 318 and STI filler material 312 .
  • the sides of the pattern mask of the silicon nitride layer 314 and the silicon oxide layer 316 are receded laterally thereby exposing not only a portion of the substrate material 318 at the corners but also the receded sidewalls of the silicon nitride layer 314 and of the silicon oxide layer 316 .
  • width 344 defined by the opposed sidewalls after the etching process is reduced with respect to previous width 346 defined by original sides 309 , before the etching process.
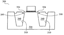
  • process step 306 the structure formed after the process step 304 is annealed with a hydrogen gas to reflow and round the corners of the substrate material 318 , thereby extending the silicon substrate structure to the trench sidewalls as shown at locations 324 .
  • Overhang portions 390 overhangs STI structure 340 by a distance of 10-2000 angstroms
  • this annealing process is performed at a pressure of 1 to 1000 Torr and a temperature of 600 to 1100 degrees Celsius, but other annealing conditions may be used in other exemplary embodiments.
  • Hydrogen, nitrogen, helium, argon, xenon, or a combination thereof may be used as the gaseous ambient in the annealing process.
  • the pattern mask layer consisting of the silicon nitride layer 314 and the silicon oxide layer 316 is removed using conventional methods.
  • a transistor structure 356 is then formed in the device active region between the various STI structures 340 using any of various standard semiconductor fabrication processes.
  • a gate electrode 358 is isolated from the substrate material 318 by a gate dielectric layer 330 .
  • the gate dielectric may be comprised of SiO 2 , Si 3 N 4 , Si 3 O 4 , Si 3 ON, a high-k dielectric material, or a combination thereof.
  • the gate dielectric layer 330 maybe formed using conventional means such as thermal oxidation or various deposition processes such as chemical vapor deposition (CVD).
  • the gate portion of the exemplary transistor structure 356 is formed on an essentially planar portion of substrate 318 .
  • Gate electrode 358 is formed using conventional deposition and patterning methods and may be formed of polysilicon in one embodiment. In other exemplary embodiments, gate electrode 358 may be formed of metal or it maybe a compound structure formed of metal, a semiconductor, metal oxide and/or silicide. Source/drain regions 332 , 334 are formed in substrate material 318 , including in overhang portions 390 , using conventional methods.
  • Source/drain regions 332 , 334 may be formed by ion implantation into the substrate and will preferably be self-aligned with respect to the gate structure by using an ion implantation process after the gate the structure has been formed and serves as a mask to protect the underlined channel from being implanted with the source/drain materials.
  • the source/drain regions 332 , 334 are formed at opposed ends of channel 350 formed beneath the gate structure and within the substrate.
  • Dielectric spacers 352 may be formed along sidewalls of the gate electrode 358 using conventional methods and may assist in positioning the source/drain regions 332 , 334 .
  • the rounded corner structures of the source region 332 and the drain region 334 have a radius of curvature R, where R is 5 to 50 nm.
  • a suicide layer 336 may be formed on the source/drain regions 332 , 334 .
  • the corner extensions to the various STI structures 340 have a length in the range of 1 to 200 nm.
  • the semiconductor substrate in this example is comprised of silicon, it is understood by those skilled in the art that the substrate can also Consist of a silicon, silicon-on-insulator (SOI), germanium, carbon, or combinations thereof.
  • SOI silicon-on-insulator
  • the channel crystal orientation can also be ⁇ 100> or ⁇ 110>.
  • FIG. 3A presents a cross section 400 of the STI corner in accordance with one embodiment of the present invention.
  • the cross section 400 represents an interim process step between the process step 306 and the process step 308 .
  • the gate dielectric layer 330 has been formed, but the remaining portions of the transistor structure 356 (see FIG. 2D ) have not yet been created.

Landscapes

  • Engineering & Computer Science (AREA)
  • Physics & Mathematics (AREA)
  • Condensed Matter Physics & Semiconductors (AREA)
  • General Physics & Mathematics (AREA)
  • Manufacturing & Machinery (AREA)
  • Computer Hardware Design (AREA)
  • Microelectronics & Electronic Packaging (AREA)
  • Power Engineering (AREA)
  • Element Separation (AREA)
  • Insulated Gate Type Field-Effect Transistor (AREA)

Abstract

A method and system for isolation trenches includes forming isolation trenches in a semiconductor substrate, filling the trenches with a filler material, creating voids near top edges of the trenches and annealing by a gaseous ambient to reflow the edges of the trenches causing the edges to become rounded and overhang the trench. The filler material may be a dielectric. Transistors are then formed in close proximity to the trenches and may include source/drain regions formed in the rounded portion of the semiconductor substrate that overhangs the trench.

Description

BACKGROUND
The present invention relates generally to semiconductor device fabrication, and more particularly to shallow trench isolation (STI) structure fabrication process enhancements.
Isolation structures are used in semiconductor devices to electrically isolate different components of a semiconductor device. These isolation structures between the components reduce adverse noise effects that may cause performance degradation of the semiconductor device. Once the components are isolated from each other, certain electrical paths can be established between the components to obtain the desired electrical characteristics from the semiconductor device.
Conventional methods for fabricating an isolation structure for a semiconductor device typically employ a LOCal Oxidation of Silicon (LOCOS) process. In the LOCOS process, a field oxide layer is thermally grown using an oxidation mask to pattern the growth. However, a portion of the field oxide grows laterally, thereby producing tapering oxide wedge portions outside the desired growth pattern. These oxide wedge portions are referred to as a “bird's beak” due to the shape of the wedge portions. The bird's beak reduces the isolation area between the components of the semiconductor device and can deteriorate the electrical performance of the semiconductor device.
The shallow trench isolation (STI) process is replacing the conventional LOCOS process for the formation of an isolation structure as technology evolves to submicron geometries. The STI process has various advantages over the conventional LOCOS process. For example, the STI process allows for the planarization of the entire substrate and isolation structure. This results in better control of critical dimension (CD) when defining a gate stack of a transistor, for example. Better control of the CD when defining the gate stack results in better control of the CD in further processing steps, which occur after the gate stack is defined.
In a typical STI process, a buffer oxide of 10 to 20 nm is thermally grown on a wafer substrate. A nitride of approximately 200 nm is deposited and then patterned with lithography and etched down to silicon. An etch that is selective to silicon (etches mostly silicon) is then used to etch a trench into the silicon. A liner oxide is thermally grown to anneal out any damage to the silicon and passivate the silicon. Next, an oxide that is considerably thicker than the trench depth is deposited. The wafer is then subjected to a chemical-mechanical polishing that stops when it reaches the nitride. The nitride is then stripped, along with the buffer oxide underneath, thereby forming the STI structure.
For the above-described STI process scheme, the sharp corner where the trench sidewall meets the silicon substrate surface causes many problems with device performance, yield, and reliability. As an example, a parasitic transistor may be inadvertently formed at the corner that has a lower threshold voltage. As another example, a thinner gate oxide may be inadvertently formed at the corner, resulting in immediate device failure or reliability issues.
Other conventional STI process schemes have been devised to overcome the sharp corner effect by thermal oxidation processes, implantation of oxidation-accelerating ions and micro-structure transformation of silicon to round the corner where the trench sidewall meets the silicon substrate. Although these conventional rounding process schemes provide the corner rounding, they have inherent deficiencies. One deficiency of these conventional rounding process schemes is the stress-induced defect generation problem in today's reduced geometry device designs. A second potential deficiency is the damage of the STI sidewalls caused by the HDP oxide filling process of the oxide liner. Another deficiency is the divot-induced reverse narrow channel effect (RNCE) caused by parasitic corner transistors. This undesirable effect is due to the crowding of the electrical field at the STI edge.
Therefore, desirable in the art of semiconductor device fabrication are enhanced processes for shallow trench isolation (STI) structure fabrication that resolve the above deficiencies while increasing device performance, yield, and reliability.
SUMMARY
In view of the foregoing, this invention provides a new STI fabrication process that results in a wider fabrication process window, increases the gate oxide integrity, and increases device performance, yield, and reliability.
In one embodiment of this invention, a new STI fabrication process that forms a STI trench in a semiconductor substrate with a rounded top corner is presented. The rounded top corner includes a portion that overhangs the STI trench and may advantageously be used in the formation of device components such as transistor source/drain regions. The new STI fabrication process also eliminates the divot at the top corner of a trench opening that is typically created by conventional processes, and suppresses the parasitic corner transistor by eliminating the divot created in the conventional processes. In addition, the new STI fabrication process reduces the channel stress which may be induced by the STI corner stress caused by the conventional processes, and reduces the silicide-induced junction problem while improving the narrow device characterization.
The new STI structure created by the new STI fabrication process allows for a wider processing window without surface warping. The gate oxide integrity is improved by eliminating the conventional problems of silicon surface faceting, polysilicon intrusion, and the stress induced thinning at the STI boundaries.
BRIEF DESCRIPTION OF THE DRAWINGS
The construction and method of operation of the invention, together with additional objects and advantages thereof will be best understood from the following description of specific embodiments when read in connection with the accompanying drawings, in which:
FIGS. 1A-1D present a conventional STI fabrication process.
FIGS. 2A-2D present a series of processes in accordance with one embodiment of the present invention.
FIG. 3 presents a cross section of the STI corner in accordance with one embodiment of the present invention.
DESCRIPTION
Although the invention is illustrated and described herein as embodied in a new STI fabrication process to improve component active region isolation, device yield, and reliability, it is nevertheless not intended to be limited to the details shown, since various modifications and structural changes may be made therein without departing from the spirit of the invention.
FIGS. 1A-1D present a conventional STI fabrication process. In FIG. 1A a pad oxide layer 316 is formed on a substrate material 318 which may be silicon, silicon-on-insulator SOI, Ge, C or combinations thereof. This can be accomplished by oxidizing a silicon substrate using a thermal oxidation process, a chemical vapor deposition process, or other existing techniques. A silicon nitride film 314 is then formed on the pad oxide layer 316 using any of various existing conventional techniques. A photoresist layer 320 is then formed on the top surface of the silicon nitride film 314.
As shown in FIG. 1B, the photoresist layer 320 is patterned using conventional methods and the silicon nitride film 314 and the pad oxide layer 316 are then selectively removed by using the photoresist pattern as a mask using known etching or other removal processes. Portions 322 of the top surface of the substrate material 318, are exposed and correspond to the area where the STI structure will be formed.
FIG. 1C next shows various trenches 310 formed selectively in the exposed portions 322 (FIG. 1B) of the substrate material 318. The trenches 310 are formed using existing etching techniques that use an etch selective to silicon. The trapezoidal shape of trenches 310 is exemplary only and may alternatively be rectangular. Before the trenches 310 are filled an optional thin oxide film 328 also known as an “oxide liner” may be thermally formed in various trenches 310 and on the exposed surfaces of the pad oxide layer 316. Corner rounding may be achieved during the formation of the thin oxide film 328. During the thermal oxidation process, the corner portions 326 may be rounded automatically as the thin oxide film 328 is formed because the oxidation speed at the various corner portions 326 of the substrate material 318 is much higher than the oxidation speed at other surfaces. The oxidation may take place at a temperature of abut 1000° C.+/−300° C. In other embodiments, oxide film 328 may not be used.
As shown in FIG. 1D, an insulating film 312 is formed in the various trenches 310 and on the exposed surfaces of the silicon nitride film 314 by the chemical vapor deposition (CVD) process. The insulating film is preferably formed as a silicon oxide film and it fills the trenches 310. The structure is then planarized using chemical mechanical polishing (CMP) which removes the insulating film from over the top surface of silicon nitride 314 which serves as a polishing stop film, to form the structure shown in FIG. 2A, which does not include the optional oxide film 328.
In the conventional STI fabrication process, thermal oxidation such as used to form oxide film 328 may be used to form rounded corners because the oxidation speed of the various corner portions 326 of the semiconductor substrate at the entrance of the trench is increased during such thermal oxidation. The increased oxidation speed produces rounded corner portions of the semiconductor substrate near the trench entrance, as above. Rounded corners at the semiconductor substrate are important because they stabilize and improve the electrical characteristics and performance of the semiconductor device by preventing or eliminating concentration of electric fields at the corner portions of the semiconductor substrate at the trench entrance.
There are disadvantages, however, to the conventional STI fabrication process, and other conventional STI fabrication processes not illustrated. The rounding process generates a stress-induced defect generation problem when the device geometry is reduced such as in advanced designs. Also, the STI sidewalls are damaged by the HDP oxide filling process with the oxide liner. Finally, the conventional processes promotes divot induced reverse narrow channel effect (RNCE) due to the creation of the parasitic corner transistors, caused in turn by the crowding of electrical fields at the STI edges.
In contrast, FIGS. 2A-2D and 3 illustrate the improved methods for STI formation according to the present invention. FIGS. 2A-2D present process steps 302, 304, 306 and 308, respectively, in accordance with one embodiment of the present invention. The process steps 302, 304, 306 and 308 are developed to resolve some of the disadvantages of the previously illustrated conventional STI fabrication process, and other similar conventional processes. This novel STI fabrication process of the present invention begins with the structure of FIG. 2A which may be formed according to the sequence shown in FIGS. 1A-1D, or by other means that produce STI trench structures formed and filled with an oxide to a level above the pattern mask.
In process step 302, STI filler material 312 is removed by the CMP process, but only down to the top of silicon nitride layer 314. STI filler material 312 may be an oxide, another dielectric or polysilicon. Thus, the silicon nitride layer 314 and silicon oxide layer 316, which may be a pad oxide layer, remain intact on top of the substrate material 318. Silicon nitride layer 314 and silicon oxide layer 316 together form a pattern mask layer. Various STI structures 340 are essentially the trenches 310 filled with STI filler material 312 up to the top of silicon nitride layer 314. The CMP process that produces the structure in process step 302 leaves a planarized surface formed of STI filler material 312 and the top surface of silicon nitride layer 314. It is noteworthy that the pattern mask layer consisting of the silicon nitride layer 314 and a silicon oxide layer 316 covers the full width of the substrate material 318.
In process step 304, an etching process is performed to remove an additional amount of the STI filler material 312 contained in the STI trench structure 340 as well as causing an etch-back of the original sides 309 (shown as dashed lines) of the pattern mask layer. H3P0 4 and HF may be used as the etching solutions for etching the pad nitride and pad oxide, respectively. This etch process essentially removes STI filler material 312 from over the top surface of substrate material 318. Due to this etch-back process, the top corners of the STI trenches have significantly more STI filler material 312 removed at various locations 372, thereby creating voids below the substrate surface and exposing a portion of the upper trench sidewalls as the wet etch preferentially etches along the interface between substrate material 318 and STI filler material 312. In addition, the sides of the pattern mask of the silicon nitride layer 314 and the silicon oxide layer 316 are receded laterally thereby exposing not only a portion of the substrate material 318 at the corners but also the receded sidewalls of the silicon nitride layer 314 and of the silicon oxide layer 316. In other words, width 344 defined by the opposed sidewalls after the etching process, is reduced with respect to previous width 346 defined by original sides 309, before the etching process.
In process step 306, the structure formed after the process step 304 is annealed with a hydrogen gas to reflow and round the corners of the substrate material 318, thereby extending the silicon substrate structure to the trench sidewalls as shown at locations 324. Overhang portions 390 overhangs STI structure 340 by a distance of 10-2000 angstroms As an example, this annealing process is performed at a pressure of 1 to 1000 Torr and a temperature of 600 to 1100 degrees Celsius, but other annealing conditions may be used in other exemplary embodiments. Hydrogen, nitrogen, helium, argon, xenon, or a combination thereof may be used as the gaseous ambient in the annealing process.
In process step 308, the pattern mask layer consisting of the silicon nitride layer 314 and the silicon oxide layer 316 is removed using conventional methods. A transistor structure 356 is then formed in the device active region between the various STI structures 340 using any of various standard semiconductor fabrication processes. A gate electrode 358 is isolated from the substrate material 318 by a gate dielectric layer 330. The gate dielectric may be comprised of SiO2, Si3N4, Si3O4, Si3ON, a high-k dielectric material, or a combination thereof. The gate dielectric layer 330 maybe formed using conventional means such as thermal oxidation or various deposition processes such as chemical vapor deposition (CVD). The gate portion of the exemplary transistor structure 356 is formed on an essentially planar portion of substrate 318. Gate electrode 358 is formed using conventional deposition and patterning methods and may be formed of polysilicon in one embodiment. In other exemplary embodiments, gate electrode 358 may be formed of metal or it maybe a compound structure formed of metal, a semiconductor, metal oxide and/or silicide. Source/ drain regions 332, 334 are formed in substrate material 318, including in overhang portions 390, using conventional methods. Source/ drain regions 332, 334 may be formed by ion implantation into the substrate and will preferably be self-aligned with respect to the gate structure by using an ion implantation process after the gate the structure has been formed and serves as a mask to protect the underlined channel from being implanted with the source/drain materials. The source/ drain regions 332, 334 are formed at opposed ends of channel 350 formed beneath the gate structure and within the substrate. Dielectric spacers 352 may be formed along sidewalls of the gate electrode 358 using conventional methods and may assist in positioning the source/ drain regions 332, 334.
It is noteworthy that the rounded corner structures of the source region 332 and the drain region 334 have a radius of curvature R, where R is 5 to 50 nm. A suicide layer 336 may be formed on the source/ drain regions 332, 334. Further, the corner extensions to the various STI structures 340 have a length in the range of 1 to 200 nm. Although the semiconductor substrate in this example is comprised of silicon, it is understood by those skilled in the art that the substrate can also Consist of a silicon, silicon-on-insulator (SOI), germanium, carbon, or combinations thereof. The channel crystal orientation can also be <100> or <110>.
FIG. 3A presents a cross section 400 of the STI corner in accordance with one embodiment of the present invention. The cross section 400 represents an interim process step between the process step 306 and the process step 308. At this interim step, the gate dielectric layer 330 has been formed, but the remaining portions of the transistor structure 356 (see FIG. 2D) have not yet been created.
The above illustration provides many different embodiments or embodiments for implementing different features of the invention. Specific embodiments of components and processes are described to help clarify the invention. These are, of course, merely embodiments and are not intended to limit the invention from that described in the claims.
Although the invention is illustrated and described herein as embodied in one or more specific examples, it is nevertheless not intended to be limited to the details shown, since various modifications and structural changes may be made therein without departing from the spirit of the invention and within the scope and range of equivalents of the claims. Accordingly, it is appropriate that the appended claims be construed broadly and in a manner consistent with the scope of the invention, as set forth in the following claims.

Claims (10)

1. A method for forming a semiconductor device comprising:
forming a trench in a semiconductor substrate;
after said forming filling the trench with a trench filler material;
removing portions of the trench filler material near upper edges of the trench to form voids in the trench below a surface of the semiconductor substrate; and
annealing in a gaseous ambient to reflow and cause rounding of the upper edges of the trench, wherein the annealing causes the upper edges of the trench to overhang the trench.
2. The method as in claim 1, wherein the upper edges overhang the trench by 10-2000 angstroms.
3. The method as in claim 1, further comprising forming a transistor including a source region and a drain region in or on a surface of the semiconductor substrate including forming at least one of the source region and the drain region in the overhang portion.
4. The method as in claim 3, further comprising forming a silicide on the source region and the drain region.
5. The method as in claim 3, wherein the forming a transistor includes forming a channel in a planar surface of the semiconductor substrate, forming a gate dielectric over the channel region, forming a gate electrode over the gate dielectric, the source and drain regions disposed at opposed ends of the channel region within the semiconductor substrate.
6. The method as in claim 1, wherein the annealing comprises a pressure within the range of 1-1000 Torr at a temperature within the range of 600-1100 degrees centigrade.
7. The method as in claim 1, wherein the gaseous ambient comprises at least one of H2, N2, He, Ne, Ar, and Xe.
8. The method as in claim 1, wherein the rounding includes forming a surface of the semiconductor substrate that has a radius of curvature within the range of 5-50 nanometers.
9. A method for forming a semiconductor device comprising:
forming a trench in a semiconductor substrate;
filling the trench with a trench filler material;
removing portions of the trench filler material near upper edges of the trench to form voids in the trench below a surface of the semiconductor substrate; and
after the removing, annealing in a gaseous ambient to reflow and cause rounding of the upper edges of the trench.
10. A method for forming a semiconductor device comprising:
forming a trench in a semiconductor substrate;
after said forming filling the trench with a trench filler material;
removing portions of the trench filler material near upper edges of the trench to form voids in the trench below a surface of the semiconductor substrate;
annealing in a gaseous ambient to reflow and cause rounding of the upper edges of the trench, wherein the annealing causes the upper edges of the trench to overhang the trench; and
forming a transistor including a source region and a drain region in or on a surface of the semiconductor substrate including forming at least one of the source region and the drain region in the overhang portion.
US11/076,707 2005-03-10 2005-03-10 Method of forming a shallow trench isolation structure Expired - Lifetime US7238564B2 (en)

Priority Applications (4)

Application Number Priority Date Filing Date Title
US11/076,707 US7238564B2 (en) 2005-03-10 2005-03-10 Method of forming a shallow trench isolation structure
CNB2006100581861A CN100416833C (en) 2005-03-10 2006-03-10 Semiconductor device and method for forming the same
TW095108214A TWI353651B (en) 2005-03-10 2006-03-10 Method of forming a shallow trench isolation struc
US11/809,519 US7745904B2 (en) 2005-03-10 2007-05-31 Shallow trench isolation structure for semiconductor device

Applications Claiming Priority (1)

Application Number Priority Date Filing Date Title
US11/076,707 US7238564B2 (en) 2005-03-10 2005-03-10 Method of forming a shallow trench isolation structure

Related Child Applications (1)

Application Number Title Priority Date Filing Date
US11/809,519 Division US7745904B2 (en) 2005-03-10 2007-05-31 Shallow trench isolation structure for semiconductor device

Publications (2)

Publication Number Publication Date
US20060205164A1 US20060205164A1 (en) 2006-09-14
US7238564B2 true US7238564B2 (en) 2007-07-03

Family

ID=36971559

Family Applications (2)

Application Number Title Priority Date Filing Date
US11/076,707 Expired - Lifetime US7238564B2 (en) 2005-03-10 2005-03-10 Method of forming a shallow trench isolation structure
US11/809,519 Expired - Fee Related US7745904B2 (en) 2005-03-10 2007-05-31 Shallow trench isolation structure for semiconductor device

Family Applications After (1)

Application Number Title Priority Date Filing Date
US11/809,519 Expired - Fee Related US7745904B2 (en) 2005-03-10 2007-05-31 Shallow trench isolation structure for semiconductor device

Country Status (3)

Country Link
US (2) US7238564B2 (en)
CN (1) CN100416833C (en)
TW (1) TWI353651B (en)

Cited By (27)

* Cited by examiner, † Cited by third party
Publication number Priority date Publication date Assignee Title
US20060128131A1 (en) * 2004-09-29 2006-06-15 Chang Peter L Independently accessed double-gate and tri-gate transistors in same process flow
US20060223272A1 (en) * 2005-03-29 2006-10-05 Fujitsu Limited Semiconductor device and method of manufacturing the same
US20070069293A1 (en) * 2005-09-28 2007-03-29 Kavalieros Jack T Process for integrating planar and non-planar CMOS transistors on a bulk substrate and article made thereby
US20070090484A1 (en) * 2005-08-25 2007-04-26 Chartered Semiconductor Manufacturing, Ltd. Integrated circuit stress control system
US20080090397A1 (en) * 2004-09-30 2008-04-17 Brask Justin K Nonplanar transistors with metal gate electrodes
US7518196B2 (en) 2005-02-23 2009-04-14 Intel Corporation Field effect transistor with narrow bandgap source and drain regions and method of fabrication
US7547637B2 (en) 2005-06-21 2009-06-16 Intel Corporation Methods for patterning a semiconductor film
US7550333B2 (en) 2004-10-25 2009-06-23 Intel Corporation Nonplanar device with thinned lower body portion and method of fabrication
US7579280B2 (en) 2004-06-01 2009-08-25 Intel Corporation Method of patterning a film
US7714397B2 (en) 2003-06-27 2010-05-11 Intel Corporation Tri-gate transistor device with stress incorporation layer and method of fabrication
US7736956B2 (en) 2005-08-17 2010-06-15 Intel Corporation Lateral undercut of metal gate in SOI device
US7781771B2 (en) 2004-03-31 2010-08-24 Intel Corporation Bulk non-planar transistor having strained enhanced mobility and methods of fabrication
US20100237432A1 (en) * 2009-02-23 2010-09-23 Panasonic Corporation Semiconductor device and method for fabricating the same
US7820513B2 (en) 2003-06-27 2010-10-26 Intel Corporation Nonplanar semiconductor device with partially or fully wrapped around gate electrode and methods of fabrication
US7879675B2 (en) 2005-03-14 2011-02-01 Intel Corporation Field effect transistor with metal source/drain regions
US7898041B2 (en) 2005-06-30 2011-03-01 Intel Corporation Block contact architectures for nanoscale channel transistors
US7902014B2 (en) 2005-09-28 2011-03-08 Intel Corporation CMOS devices with a single work function gate electrode and method of fabrication
US7915167B2 (en) 2004-09-29 2011-03-29 Intel Corporation Fabrication of channel wraparound gate structure for field-effect transistor
US7960794B2 (en) 2004-08-10 2011-06-14 Intel Corporation Non-planar pMOS structure with a strained channel region and an integrated strained CMOS flow
US7989280B2 (en) 2005-11-30 2011-08-02 Intel Corporation Dielectric interface for group III-V semiconductor device
US8084818B2 (en) 2004-06-30 2011-12-27 Intel Corporation High mobility tri-gate devices and methods of fabrication
US8362566B2 (en) 2008-06-23 2013-01-29 Intel Corporation Stress in trigate devices using complimentary gate fill materials
US8617945B2 (en) 2006-08-02 2013-12-31 Intel Corporation Stacking fault and twin blocking barrier for integrating III-V on Si
US9337307B2 (en) 2005-06-15 2016-05-10 Intel Corporation Method for fabricating transistor with thinned channel
US20170229339A1 (en) * 2015-08-20 2017-08-10 Sandisk Technologies Llc Shallow trench isolation trenches and methods for nand memory
US20230317509A1 (en) * 2022-03-22 2023-10-05 Silergy Semiconductor Technology (Hangzhou) Ltd Semiconductor device and method for manufacturing the same
US20230335431A1 (en) * 2022-04-19 2023-10-19 Silergy Semiconductor Technology (Hangzhou) Ltd Semiconductor device and method for manufacturing the same

Families Citing this family (17)

* Cited by examiner, † Cited by third party
Publication number Priority date Publication date Assignee Title
DE102005037566B4 (en) * 2005-08-09 2008-04-24 Qimonda Ag Manufacturing method for a semiconductor structure and corresponding semiconductor structure
KR100910462B1 (en) * 2007-09-07 2009-08-04 주식회사 동부하이텍 Semiconductor device and manufacturing method thereof
US7892929B2 (en) * 2008-07-15 2011-02-22 Taiwan Semiconductor Manufacturing Company, Ltd. Shallow trench isolation corner rounding
US8071481B2 (en) * 2009-04-23 2011-12-06 Taiwan Semiconductor Manufacturing Co., Ltd. Method for forming highly strained source/drain trenches
US10205032B2 (en) * 2010-09-20 2019-02-12 Infineon Technologies Ag Semiconductor structure and method for making same
CN102487031A (en) * 2010-12-02 2012-06-06 无锡华润上华半导体有限公司 Method for forming trench isolation
US8552478B2 (en) * 2011-07-01 2013-10-08 Nanya Technology Corporation Corner transistor and method of fabricating the same
US8530312B2 (en) 2011-08-08 2013-09-10 Micron Technology, Inc. Vertical devices and methods of forming
US9000526B2 (en) * 2011-11-03 2015-04-07 Taiwan Semiconductor Manufacturing Co., Ltd. MOSFET structure with T-shaped epitaxial silicon channel
US8664050B2 (en) * 2012-03-20 2014-03-04 International Business Machines Corporation Structure and method to improve ETSOI MOSFETS with back gate
CN103531519B (en) * 2012-07-02 2016-03-23 中芯国际集成电路制造(上海)有限公司 Semiconductor structure and forming method thereof
TW201409578A (en) * 2012-08-17 2014-03-01 Anpec Electronics Corp Semiconductor component with low Miller capacitance
TWI470733B (en) * 2012-08-28 2015-01-21 Anpec Electronics Corp Method for forming trench isolation
US8772907B1 (en) * 2012-12-24 2014-07-08 United Microelectronics Corp. Anti-fuse structure and anti-fuse programming method
US20160064286A1 (en) * 2014-09-03 2016-03-03 GlobalFoundries, Inc. Integrated circuits and methods for fabricating integrated circuits
CN108305898B (en) * 2017-01-12 2020-11-24 立锜科技股份有限公司 Metal-oxide-semiconductor device with improved threshold voltage drop and method for manufacturing the same
CN115966506A (en) * 2023-02-06 2023-04-14 上海积塔半导体有限公司 Semiconductor structure and method for rounding top corner of active region of semiconductor structure

Citations (10)

* Cited by examiner, † Cited by third party
Publication number Priority date Publication date Assignee Title
US5956598A (en) * 1998-07-02 1999-09-21 United Microelectronics Corp. Method for fabricating a shallow-trench isolation structure with a rounded corner in integrated circuit
US6326283B1 (en) 2000-03-07 2001-12-04 Vlsi Technology, Inc. Trench-diffusion corner rounding in a shallow-trench (STI) process
US6326282B1 (en) * 1998-04-16 2001-12-04 Samsung Electronics Co., Ltd. Method of forming trench isolation in a semiconductor device and structure formed thereby
US20020064912A1 (en) * 1999-07-16 2002-05-30 Shigeki Komori Semiconductor device having an improved isolation structure, and method of manufacturing the semiconductor device
US6503802B2 (en) 2000-11-30 2003-01-07 Hynix Semiconductor, Inc. Method of fabricating isolation structure for semiconductor device
US6544839B1 (en) * 1998-12-28 2003-04-08 Hitachi, Ltd. Semiconductor integrated circuit device and a method of manufacturing the same
US6613635B2 (en) 2000-12-28 2003-09-02 Sanyo Electric Co., Ltd. Method of fabricating semiconductor device having element isolation trench
US6746936B1 (en) * 2002-12-09 2004-06-08 Hynix Semiconductor Inc. Method for forming isolation film for semiconductor devices
US20050167777A1 (en) * 2004-01-30 2005-08-04 Taiwan Semiconductor Manufacturing Company, Ltd. Microelectronic device with active layer bumper
US20050224907A1 (en) * 2003-08-15 2005-10-13 Chih-Hsin Ko Isolation structure with nitrogen-containing liner and methods of manufacture

Family Cites Families (9)

* Cited by examiner, † Cited by third party
Publication number Priority date Publication date Assignee Title
US5861104A (en) * 1996-03-28 1999-01-19 Advanced Micro Devices Trench isolation with rounded top and bottom corners and edges
TW406350B (en) 1998-12-07 2000-09-21 United Microelectronics Corp Method for manufacturing the shallow trench isolation area
JP3917327B2 (en) * 1999-06-01 2007-05-23 株式会社ルネサステクノロジ Method and apparatus for manufacturing semiconductor device
US6165871A (en) 1999-07-16 2000-12-26 Chartered Semiconductor Manufacturing Ltd. Method of making low-leakage architecture for sub-0.18 μm salicided CMOS device
US6150234A (en) * 1999-12-16 2000-11-21 Vlsi Technology, Inc. Trench-diffusion corner rounding in a shallow-trench (STI) process
US6391729B1 (en) * 2000-03-09 2002-05-21 Advanced Micro Devices, Inc. Shallow trench isolation formation to eliminate poly stringer with controlled step height and corner rounding
JP4044276B2 (en) 2000-09-28 2008-02-06 株式会社東芝 Semiconductor device and manufacturing method thereof
US6746933B1 (en) 2001-10-26 2004-06-08 International Business Machines Corporation Pitcher-shaped active area for field effect transistor and method of forming same
JP2004303877A (en) * 2003-03-31 2004-10-28 Sanken Electric Co Ltd Manufacturing method for semiconductor element

Patent Citations (10)

* Cited by examiner, † Cited by third party
Publication number Priority date Publication date Assignee Title
US6326282B1 (en) * 1998-04-16 2001-12-04 Samsung Electronics Co., Ltd. Method of forming trench isolation in a semiconductor device and structure formed thereby
US5956598A (en) * 1998-07-02 1999-09-21 United Microelectronics Corp. Method for fabricating a shallow-trench isolation structure with a rounded corner in integrated circuit
US6544839B1 (en) * 1998-12-28 2003-04-08 Hitachi, Ltd. Semiconductor integrated circuit device and a method of manufacturing the same
US20020064912A1 (en) * 1999-07-16 2002-05-30 Shigeki Komori Semiconductor device having an improved isolation structure, and method of manufacturing the semiconductor device
US6326283B1 (en) 2000-03-07 2001-12-04 Vlsi Technology, Inc. Trench-diffusion corner rounding in a shallow-trench (STI) process
US6503802B2 (en) 2000-11-30 2003-01-07 Hynix Semiconductor, Inc. Method of fabricating isolation structure for semiconductor device
US6613635B2 (en) 2000-12-28 2003-09-02 Sanyo Electric Co., Ltd. Method of fabricating semiconductor device having element isolation trench
US6746936B1 (en) * 2002-12-09 2004-06-08 Hynix Semiconductor Inc. Method for forming isolation film for semiconductor devices
US20050224907A1 (en) * 2003-08-15 2005-10-13 Chih-Hsin Ko Isolation structure with nitrogen-containing liner and methods of manufacture
US20050167777A1 (en) * 2004-01-30 2005-08-04 Taiwan Semiconductor Manufacturing Company, Ltd. Microelectronic device with active layer bumper

Non-Patent Citations (5)

* Cited by examiner, † Cited by third party
Title
C. P. Chang et al., Enabling Shallow Trench Isolation For 0.1um Technologies And Beyond, Symposium on VLSI Technology Digest Of Technical Papers, pp. 161-162, Jun. 1999.
C. T. Liu et al., "Severe Thickness Variation Of Sub-3nm Gate Oxide Due To Si Surface Faceting, Poly-Si Instrusion, and Corner Stress", Symposium on VLSI Technology Digest Of Technical Papers, pp. 75-76, Jun. 1999.
S. Matsuda et al., "Novel Corner Rounding Process For Shallow Trench Isolation Utilizing MSTS (Micro-Structure Transformation Of Silicon)", International Electron Devices Meeting 1998, Technical Digest, pp. 137-140, Dec. 1998.
Tsutomu Sato et al., "Trench Transformation Technology Using Hydrogen Annealing For Realizing Highly Reliable Device Structure With Thin Dielectric Films", Symposium on VLSI Technology Digest Of Technical Papers, pp. 206-207, Jun. 1998.
Van Zant, P. Microchip Fabrication Fifth Edition, McGraw-Hill, 2004, p. 611. *

Cited By (64)

* Cited by examiner, † Cited by third party
Publication number Priority date Publication date Assignee Title
US8405164B2 (en) 2003-06-27 2013-03-26 Intel Corporation Tri-gate transistor device with stress incorporation layer and method of fabrication
US8273626B2 (en) 2003-06-27 2012-09-25 Intel Corporationn Nonplanar semiconductor device with partially or fully wrapped around gate electrode and methods of fabrication
US7820513B2 (en) 2003-06-27 2010-10-26 Intel Corporation Nonplanar semiconductor device with partially or fully wrapped around gate electrode and methods of fabrication
US7714397B2 (en) 2003-06-27 2010-05-11 Intel Corporation Tri-gate transistor device with stress incorporation layer and method of fabrication
US7781771B2 (en) 2004-03-31 2010-08-24 Intel Corporation Bulk non-planar transistor having strained enhanced mobility and methods of fabrication
US7579280B2 (en) 2004-06-01 2009-08-25 Intel Corporation Method of patterning a film
US8084818B2 (en) 2004-06-30 2011-12-27 Intel Corporation High mobility tri-gate devices and methods of fabrication
US7960794B2 (en) 2004-08-10 2011-06-14 Intel Corporation Non-planar pMOS structure with a strained channel region and an integrated strained CMOS flow
US8268709B2 (en) 2004-09-29 2012-09-18 Intel Corporation Independently accessed double-gate and tri-gate transistors in same process flow
US7915167B2 (en) 2004-09-29 2011-03-29 Intel Corporation Fabrication of channel wraparound gate structure for field-effect transistor
US20060128131A1 (en) * 2004-09-29 2006-06-15 Chang Peter L Independently accessed double-gate and tri-gate transistors in same process flow
US8399922B2 (en) 2004-09-29 2013-03-19 Intel Corporation Independently accessed double-gate and tri-gate transistors
US7859053B2 (en) 2004-09-29 2010-12-28 Intel Corporation Independently accessed double-gate and tri-gate transistors in same process flow
US7528025B2 (en) 2004-09-30 2009-05-05 Intel Corporation Nonplanar transistors with metal gate electrodes
US20080090397A1 (en) * 2004-09-30 2008-04-17 Brask Justin K Nonplanar transistors with metal gate electrodes
US8749026B2 (en) 2004-10-25 2014-06-10 Intel Corporation Nonplanar device with thinned lower body portion and method of fabrication
US10236356B2 (en) 2004-10-25 2019-03-19 Intel Corporation Nonplanar device with thinned lower body portion and method of fabrication
US9190518B2 (en) 2004-10-25 2015-11-17 Intel Corporation Nonplanar device with thinned lower body portion and method of fabrication
US8502351B2 (en) 2004-10-25 2013-08-06 Intel Corporation Nonplanar device with thinned lower body portion and method of fabrication
US8067818B2 (en) 2004-10-25 2011-11-29 Intel Corporation Nonplanar device with thinned lower body portion and method of fabrication
US9741809B2 (en) 2004-10-25 2017-08-22 Intel Corporation Nonplanar device with thinned lower body portion and method of fabrication
US7550333B2 (en) 2004-10-25 2009-06-23 Intel Corporation Nonplanar device with thinned lower body portion and method of fabrication
US9048314B2 (en) 2005-02-23 2015-06-02 Intel Corporation Field effect transistor with narrow bandgap source and drain regions and method of fabrication
US8368135B2 (en) 2005-02-23 2013-02-05 Intel Corporation Field effect transistor with narrow bandgap source and drain regions and method of fabrication
US7893506B2 (en) 2005-02-23 2011-02-22 Intel Corporation Field effect transistor with narrow bandgap source and drain regions and method of fabrication
US8664694B2 (en) 2005-02-23 2014-03-04 Intel Corporation Field effect transistor with narrow bandgap source and drain regions and method of fabrication
US7518196B2 (en) 2005-02-23 2009-04-14 Intel Corporation Field effect transistor with narrow bandgap source and drain regions and method of fabrication
US7825481B2 (en) 2005-02-23 2010-11-02 Intel Corporation Field effect transistor with narrow bandgap source and drain regions and method of fabrication
US8816394B2 (en) 2005-02-23 2014-08-26 Intel Corporation Field effect transistor with narrow bandgap source and drain regions and method of fabrication
US8183646B2 (en) 2005-02-23 2012-05-22 Intel Corporation Field effect transistor with narrow bandgap source and drain regions and method of fabrication
US9368583B2 (en) 2005-02-23 2016-06-14 Intel Corporation Field effect transistor with narrow bandgap source and drain regions and method of fabrication
US7879675B2 (en) 2005-03-14 2011-02-01 Intel Corporation Field effect transistor with metal source/drain regions
US7442995B2 (en) * 2005-03-29 2008-10-28 Fujitsu Limited Semiconductor device and method of manufacturing the same
US20060223272A1 (en) * 2005-03-29 2006-10-05 Fujitsu Limited Semiconductor device and method of manufacturing the same
US7741185B2 (en) 2005-03-29 2010-06-22 Fujitsu Semiconductor Limited Method of manufacturing semiconductor device
US9337307B2 (en) 2005-06-15 2016-05-10 Intel Corporation Method for fabricating transistor with thinned channel
US9806195B2 (en) 2005-06-15 2017-10-31 Intel Corporation Method for fabricating transistor with thinned channel
US11978799B2 (en) 2005-06-15 2024-05-07 Tahoe Research, Ltd. Method for fabricating transistor with thinned channel
US9385180B2 (en) 2005-06-21 2016-07-05 Intel Corporation Semiconductor device structures and methods of forming semiconductor structures
US8071983B2 (en) 2005-06-21 2011-12-06 Intel Corporation Semiconductor device structures and methods of forming semiconductor structures
US9761724B2 (en) 2005-06-21 2017-09-12 Intel Corporation Semiconductor device structures and methods of forming semiconductor structures
US7547637B2 (en) 2005-06-21 2009-06-16 Intel Corporation Methods for patterning a semiconductor film
US8581258B2 (en) 2005-06-21 2013-11-12 Intel Corporation Semiconductor device structures and methods of forming semiconductor structures
US8933458B2 (en) 2005-06-21 2015-01-13 Intel Corporation Semiconductor device structures and methods of forming semiconductor structures
US7898041B2 (en) 2005-06-30 2011-03-01 Intel Corporation Block contact architectures for nanoscale channel transistors
US7736956B2 (en) 2005-08-17 2010-06-15 Intel Corporation Lateral undercut of metal gate in SOI device
US20070090484A1 (en) * 2005-08-25 2007-04-26 Chartered Semiconductor Manufacturing, Ltd. Integrated circuit stress control system
US8294180B2 (en) 2005-09-28 2012-10-23 Intel Corporation CMOS devices with a single work function gate electrode and method of fabrication
US7479421B2 (en) 2005-09-28 2009-01-20 Intel Corporation Process for integrating planar and non-planar CMOS transistors on a bulk substrate and article made thereby
US20070069293A1 (en) * 2005-09-28 2007-03-29 Kavalieros Jack T Process for integrating planar and non-planar CMOS transistors on a bulk substrate and article made thereby
US8193567B2 (en) 2005-09-28 2012-06-05 Intel Corporation Process for integrating planar and non-planar CMOS transistors on a bulk substrate and article made thereby
US7902014B2 (en) 2005-09-28 2011-03-08 Intel Corporation CMOS devices with a single work function gate electrode and method of fabrication
US7989280B2 (en) 2005-11-30 2011-08-02 Intel Corporation Dielectric interface for group III-V semiconductor device
US8617945B2 (en) 2006-08-02 2013-12-31 Intel Corporation Stacking fault and twin blocking barrier for integrating III-V on Si
US9450092B2 (en) 2008-06-23 2016-09-20 Intel Corporation Stress in trigate devices using complimentary gate fill materials
US8741733B2 (en) 2008-06-23 2014-06-03 Intel Corporation Stress in trigate devices using complimentary gate fill materials
US9806193B2 (en) 2008-06-23 2017-10-31 Intel Corporation Stress in trigate devices using complimentary gate fill materials
US9224754B2 (en) 2008-06-23 2015-12-29 Intel Corporation Stress in trigate devices using complimentary gate fill materials
US8362566B2 (en) 2008-06-23 2013-01-29 Intel Corporation Stress in trigate devices using complimentary gate fill materials
US20100237432A1 (en) * 2009-02-23 2010-09-23 Panasonic Corporation Semiconductor device and method for fabricating the same
US20170229339A1 (en) * 2015-08-20 2017-08-10 Sandisk Technologies Llc Shallow trench isolation trenches and methods for nand memory
US9934999B2 (en) * 2015-08-20 2018-04-03 Sandisk Technologies Llc Shallow trench isolation trenches and methods for NAND memory
US20230317509A1 (en) * 2022-03-22 2023-10-05 Silergy Semiconductor Technology (Hangzhou) Ltd Semiconductor device and method for manufacturing the same
US20230335431A1 (en) * 2022-04-19 2023-10-19 Silergy Semiconductor Technology (Hangzhou) Ltd Semiconductor device and method for manufacturing the same

Also Published As

Publication number Publication date
US20070235835A1 (en) 2007-10-11
CN100416833C (en) 2008-09-03
TWI353651B (en) 2011-12-01
US7745904B2 (en) 2010-06-29
CN1838412A (en) 2006-09-27
TW200633126A (en) 2006-09-16
US20060205164A1 (en) 2006-09-14

Similar Documents

Publication Publication Date Title
US7238564B2 (en) Method of forming a shallow trench isolation structure
US7994572B2 (en) MOSFET having recessed channel
US5786263A (en) Method for forming a trench isolation structure in an integrated circuit
JP4034136B2 (en) Manufacturing method of semiconductor device
KR100555573B1 (en) Semiconductor device having a junction region extended by SEB film and method for manufacturing same
GB2360631A (en) Trench isolation structure
US7166514B2 (en) Semiconductor device and method of manufacturing the same
US20140357039A1 (en) Method for the formation of a protective dual liner for a shallow trench isolation structure
CN101213649A (en) Semiconductor processing method and semiconductor structure
KR100307651B1 (en) Manufacturing method of semiconductor device
JP3802530B2 (en) Semiconductor device and manufacturing method thereof
JP2001177090A (en) Integrated circuit
US6764921B2 (en) Semiconductor device and method for fabricating the same
US20040038495A1 (en) Method of providing a thick thermal oxide in trench isolation
CN116364657A (en) Method for preparing semiconductor structure
JP4592193B2 (en) Manufacturing method of semiconductor device
JP2005175277A (en) Semiconductor device and manufacturing method thereof
KR100308198B1 (en) Method of device isolation for soi integrated circuits
CN119584632B (en) Semiconductor structure and manufacturing method thereof
US20060205152A1 (en) Method of fabricating flash memory device
CN1233851A (en) Formation method of trench isolation
KR20010046211A (en) method for fabricating semiconductor device
JP2000031489A (en) Method for manufacturing semiconductor device
JP2000200827A (en) Semiconductor device and manufacturing method thereof
JP2003332413A (en) Method for forming semiconductor element isolation layer and insulated gate transistor

Legal Events

Date Code Title Description
AS Assignment

Owner name: TAIWAN SEMICONDUCTOR MANUFACTURING CO., LTD., TAIW

Free format text: ASSIGNMENT OF ASSIGNORS INTEREST;ASSIGNORS:KO, CHIH-HSIN;KE, CHUNG-HU;HUANG, CHIEN-CHAO;REEL/FRAME:016217/0304;SIGNING DATES FROM 20050321 TO 20050322

STCF Information on status: patent grant

Free format text: PATENTED CASE

CC Certificate of correction
FPAY Fee payment

Year of fee payment: 4

FPAY Fee payment

Year of fee payment: 8

MAFP Maintenance fee payment

Free format text: PAYMENT OF MAINTENANCE FEE, 12TH YEAR, LARGE ENTITY (ORIGINAL EVENT CODE: M1553); ENTITY STATUS OF PATENT OWNER: LARGE ENTITY

Year of fee payment: 12