US20080098422A1 - Triggering of Television Advertisements - Google Patents
Triggering of Television Advertisements Download PDFInfo
- Publication number
- US20080098422A1 US20080098422A1 US11/963,945 US96394507A US2008098422A1 US 20080098422 A1 US20080098422 A1 US 20080098422A1 US 96394507 A US96394507 A US 96394507A US 2008098422 A1 US2008098422 A1 US 2008098422A1
- Authority
- US
- United States
- Prior art keywords
- advertisement
- presented
- dhct
- television
- user input
- Prior art date
- Legal status (The legal status is an assumption and is not a legal conclusion. Google has not performed a legal analysis and makes no representation as to the accuracy of the status listed.)
- Abandoned
Links
Images
Classifications
-
- G—PHYSICS
- G06—COMPUTING OR CALCULATING; COUNTING
- G06Q—INFORMATION AND COMMUNICATION TECHNOLOGY [ICT] SPECIALLY ADAPTED FOR ADMINISTRATIVE, COMMERCIAL, FINANCIAL, MANAGERIAL OR SUPERVISORY PURPOSES; SYSTEMS OR METHODS SPECIALLY ADAPTED FOR ADMINISTRATIVE, COMMERCIAL, FINANCIAL, MANAGERIAL OR SUPERVISORY PURPOSES, NOT OTHERWISE PROVIDED FOR
- G06Q30/00—Commerce
- G06Q30/02—Marketing; Price estimation or determination; Fundraising
- G06Q30/0241—Advertisements
-
- G—PHYSICS
- G06—COMPUTING OR CALCULATING; COUNTING
- G06Q—INFORMATION AND COMMUNICATION TECHNOLOGY [ICT] SPECIALLY ADAPTED FOR ADMINISTRATIVE, COMMERCIAL, FINANCIAL, MANAGERIAL OR SUPERVISORY PURPOSES; SYSTEMS OR METHODS SPECIALLY ADAPTED FOR ADMINISTRATIVE, COMMERCIAL, FINANCIAL, MANAGERIAL OR SUPERVISORY PURPOSES, NOT OTHERWISE PROVIDED FOR
- G06Q30/00—Commerce
- G06Q30/02—Marketing; Price estimation or determination; Fundraising
- G06Q30/0241—Advertisements
- G06Q30/0242—Determining effectiveness of advertisements
-
- G—PHYSICS
- G06—COMPUTING OR CALCULATING; COUNTING
- G06Q—INFORMATION AND COMMUNICATION TECHNOLOGY [ICT] SPECIALLY ADAPTED FOR ADMINISTRATIVE, COMMERCIAL, FINANCIAL, MANAGERIAL OR SUPERVISORY PURPOSES; SYSTEMS OR METHODS SPECIALLY ADAPTED FOR ADMINISTRATIVE, COMMERCIAL, FINANCIAL, MANAGERIAL OR SUPERVISORY PURPOSES, NOT OTHERWISE PROVIDED FOR
- G06Q30/00—Commerce
- G06Q30/02—Marketing; Price estimation or determination; Fundraising
- G06Q30/0241—Advertisements
- G06Q30/0251—Targeted advertisements
- G06Q30/0257—User requested
-
- H—ELECTRICITY
- H04—ELECTRIC COMMUNICATION TECHNIQUE
- H04N—PICTORIAL COMMUNICATION, e.g. TELEVISION
- H04N21/00—Selective content distribution, e.g. interactive television or video on demand [VOD]
- H04N21/40—Client devices specifically adapted for the reception of or interaction with content, e.g. set-top-box [STB]; Operations thereof
- H04N21/43—Processing of content or additional data, e.g. demultiplexing additional data from a digital video stream; Elementary client operations, e.g. monitoring of home network or synchronising decoder's clock; Client middleware
- H04N21/433—Content storage operation, e.g. storage operation in response to a pause request, caching operations
-
- H—ELECTRICITY
- H04—ELECTRIC COMMUNICATION TECHNIQUE
- H04N—PICTORIAL COMMUNICATION, e.g. TELEVISION
- H04N21/00—Selective content distribution, e.g. interactive television or video on demand [VOD]
- H04N21/40—Client devices specifically adapted for the reception of or interaction with content, e.g. set-top-box [STB]; Operations thereof
- H04N21/43—Processing of content or additional data, e.g. demultiplexing additional data from a digital video stream; Elementary client operations, e.g. monitoring of home network or synchronising decoder's clock; Client middleware
- H04N21/433—Content storage operation, e.g. storage operation in response to a pause request, caching operations
- H04N21/4331—Caching operations, e.g. of an advertisement for later insertion during playback
-
- H—ELECTRICITY
- H04—ELECTRIC COMMUNICATION TECHNIQUE
- H04N—PICTORIAL COMMUNICATION, e.g. TELEVISION
- H04N21/00—Selective content distribution, e.g. interactive television or video on demand [VOD]
- H04N21/40—Client devices specifically adapted for the reception of or interaction with content, e.g. set-top-box [STB]; Operations thereof
- H04N21/43—Processing of content or additional data, e.g. demultiplexing additional data from a digital video stream; Elementary client operations, e.g. monitoring of home network or synchronising decoder's clock; Client middleware
- H04N21/433—Content storage operation, e.g. storage operation in response to a pause request, caching operations
- H04N21/4335—Housekeeping operations, e.g. prioritizing content for deletion because of storage space restrictions
-
- H—ELECTRICITY
- H04—ELECTRIC COMMUNICATION TECHNIQUE
- H04N—PICTORIAL COMMUNICATION, e.g. TELEVISION
- H04N21/00—Selective content distribution, e.g. interactive television or video on demand [VOD]
- H04N21/40—Client devices specifically adapted for the reception of or interaction with content, e.g. set-top-box [STB]; Operations thereof
- H04N21/43—Processing of content or additional data, e.g. demultiplexing additional data from a digital video stream; Elementary client operations, e.g. monitoring of home network or synchronising decoder's clock; Client middleware
- H04N21/443—OS processes, e.g. booting an STB, implementing a Java virtual machine in an STB or power management in an STB
-
- H—ELECTRICITY
- H04—ELECTRIC COMMUNICATION TECHNIQUE
- H04N—PICTORIAL COMMUNICATION, e.g. TELEVISION
- H04N21/00—Selective content distribution, e.g. interactive television or video on demand [VOD]
- H04N21/40—Client devices specifically adapted for the reception of or interaction with content, e.g. set-top-box [STB]; Operations thereof
- H04N21/45—Management operations performed by the client for facilitating the reception of or the interaction with the content or administrating data related to the end-user or to the client device itself, e.g. learning user preferences for recommending movies, resolving scheduling conflicts
- H04N21/4508—Management of client data or end-user data
- H04N21/4532—Management of client data or end-user data involving end-user characteristics, e.g. viewer profile, preferences
-
- H—ELECTRICITY
- H04—ELECTRIC COMMUNICATION TECHNIQUE
- H04N—PICTORIAL COMMUNICATION, e.g. TELEVISION
- H04N21/00—Selective content distribution, e.g. interactive television or video on demand [VOD]
- H04N21/40—Client devices specifically adapted for the reception of or interaction with content, e.g. set-top-box [STB]; Operations thereof
- H04N21/45—Management operations performed by the client for facilitating the reception of or the interaction with the content or administrating data related to the end-user or to the client device itself, e.g. learning user preferences for recommending movies, resolving scheduling conflicts
- H04N21/466—Learning process for intelligent management, e.g. learning user preferences for recommending movies
- H04N21/4667—Processing of monitored end-user data, e.g. trend analysis based on the log file of viewer selections
-
- H—ELECTRICITY
- H04—ELECTRIC COMMUNICATION TECHNIQUE
- H04N—PICTORIAL COMMUNICATION, e.g. TELEVISION
- H04N21/00—Selective content distribution, e.g. interactive television or video on demand [VOD]
- H04N21/40—Client devices specifically adapted for the reception of or interaction with content, e.g. set-top-box [STB]; Operations thereof
- H04N21/47—End-user applications
- H04N21/475—End-user interface for inputting end-user data, e.g. personal identification number [PIN], preference data
- H04N21/4755—End-user interface for inputting end-user data, e.g. personal identification number [PIN], preference data for defining user preferences, e.g. favourite actors or genre
-
- H—ELECTRICITY
- H04—ELECTRIC COMMUNICATION TECHNIQUE
- H04N—PICTORIAL COMMUNICATION, e.g. TELEVISION
- H04N21/00—Selective content distribution, e.g. interactive television or video on demand [VOD]
- H04N21/40—Client devices specifically adapted for the reception of or interaction with content, e.g. set-top-box [STB]; Operations thereof
- H04N21/47—End-user applications
- H04N21/478—Supplemental services, e.g. displaying phone caller identification, shopping application
-
- H—ELECTRICITY
- H04—ELECTRIC COMMUNICATION TECHNIQUE
- H04N—PICTORIAL COMMUNICATION, e.g. TELEVISION
- H04N21/00—Selective content distribution, e.g. interactive television or video on demand [VOD]
- H04N21/80—Generation or processing of content or additional data by content creator independently of the distribution process; Content per se
- H04N21/81—Monomedia components thereof
- H04N21/812—Monomedia components thereof involving advertisement data
Definitions
- This invention relates in general to television systems, and more particularly, to the field of subscriber television systems.
- HCT home communication terminal
- DHCT digital HCTs
- a DHCT is typically connected to a cable or satellite television network and includes hardware and software necessary to provide various services and functionality. Preferably, some of the software executed by a DHCT is downloaded and/or updated via the cable television network.
- Each DHCT also typically includes a processor, communication components and memory, and is connected to a television or other display device. While many conventional DHCTs are stand-alone devices that are externally connected to a television, a DHCT and/or its functionality may be integrated into a television or personal computer, as will be appreciated by those of ordinary skill in the art.
- a DHCT provides users with television programming and television advertising. Many DHCT users, however, often avoid viewing television advertisements. Television advertisements may be avoided in a number of ways including, for example, by switching television channels during an advertisement or by recording a television program and then using trick mode functionality to skip recorded advertisements.
- One reason for why a viewer may avoid viewing an advertisement is because the viewer may not be interested in the product or service being advertised. Advertisement avoidance results in lower advertisement exposure for advertisers and, therefore, in lower potential revenue for television service providers. Therefore, there is a need for systems and methods for increasing the viewing of television advertisements.
- FIG. 1 is a block diagram depicting a non-limiting example of a television services system.
- FIG. 2 is a block diagram depicting a non-limiting example of the internal configuration of the DHCT depicted in FIG. 1 .
- FIG. 3 depicts a non-limiting example of a remote control device that may be used to provide user input to the DHCT depicted in FIG. 2 .
- FIG. 4 depicts a non-limiting example of an advertisement category selection screen which may be provided in response to user input such as, for example, the activation of the “ADS” key depicted in FIG. 3 .
- FIG. 5 depicts a non-limiting example of an advertisement sub-category selection screen which may, in one embodiment, be provided in response to the selection of an advertisement category via the advertisement category selection screen depicted in FIG. 4 .
- FIG. 6 depicts a non-limiting example of an advertisement source selection screen which may be provided in response to the selection of an advertisement sub-category via the advertisement sub-category selection screen depicted in FIG. 5 .
- FIG. 7 depicts a non-limiting example of a product preference selection screen which may be provided in response to the selection of an advertisement source option via the advertisement source selection screen depicted in FIG. 6 .
- FIG. 8 depicts a non-limiting example of an advertisement selection screen which may be provided during a television presentation.
- FIG. 9 is a flow chart depicting a non-limiting example of steps for tracking the presentation of advertisements in accordance with one embodiment of the invention.
- FIG. 10 is flow chart depicting a non-limiting example of a routine that may be used to determine a number of advertisements that are presented to a user.
- FIG. 11 is a flow chart depicting a non-limiting example of steps for providing a user with advertisements in accordance with one embodiment of the invention.
- a television advertisement may be an audio/video television commercial.
- a DHCT receives user input for selecting an advertisement or type of advertisement, and then presents the user with an advertisement that corresponds to the user's selection.
- the advertisement may be presented to the user immediately after the user's selection or may be presented to the user at subsequent times during interruptions in television broadcast presentations.
- a DHCT may keep track of the number of times that an advertisement is presented to a user in order to determine whether the advertisement is to continue being presented.
- the DHCT may also keep track of the total number of advertisements that have been presented over a predetermined period of time in order to determine whether to present an additional advertisement at a current time.
- an advertisement or type of advertisement is assigned a value by a system operator.
- a user may then select advertisements and/or types of advertisements based their respective assigned values as shown via an advertisement selection screen.
- a DHCT may then manage the presentation of advertisements based on their individual and/or cumulative values.
- the frequency and/or duration of an advertisement or plurality of advertisements may be inversely correlated to the value of the advertisement(s).
- FIG. 1 is a block diagram depicting a non-limiting example of a television services system 100 .
- the television services system 100 includes a headend 110 and a DHCT 200 that are coupled via a network 130 .
- the DHCT 200 is typically situated at a user's residence or place of business and may be a stand-alone unit or integrated into another device such as, for example, the television 140 or a personal computer (not shown).
- the DHCT 200 receives signals (video, audio and/or other data) from the headend 110 through the network 130 and provides any reverse information to the headend 110 through the network 130 .
- the network 130 may be any suitable means for communicating television services data including, for example, a cable television network, a public switched telephone network (PSTN), a satellite communication network, the internet, etc.
- the headend 110 may include one or more server devices (not shown) for providing video, audio, and textual data to client devices such as DHCT 200 .
- the headend 110 and the DHCT 200 cooperate to provide a user with television services including, for example, television programs, an interactive program guide (IPG), and/or video-on-demand (VOD) presentations.
- the television services may be provided via a television 140 .
- the DHCT 200 may provide television services via a display device other than the television 140 .
- an advertising counter may be used to track a number of times that a television advertisement is presented by a DHCT 200 .
- an advertisement continues to be presented via a DHCT 200 until it has been presented a predetermined number of times via the DHCT 200 or via a plurality of DHCTs. If the advertisement is stored in a DHCT 200 , then it may be deleted from the DHCT 200 after it is presented a predetermined number of times.
- An “electronic advertisement information” (EAI) database 228 may be used to keep track of advertisements that are to be stored in or deleted from a DHCT 200 .
- the headend 110 may discontinue broadcasting the advertisement after it is presented a predetermined number of times. For example, a certain advertisement may be deleted or discontinued after it is presented 10 times by a single DHCT 200 and/or after it is presented 15,000 times by a group of DHCTs.
- the advertising counter in a DHCT 200 may track the number of times that an advertisement is presented to a user or a group of users of a particular DHCT 200 by soliciting certain user input during, before, or after the presentation of the advertisement and then determining if the solicited input is received.
- the advertising counter may track the number of times that an advertisement is presented to a user based on whether the television 140 is turned on while the advertisement is being presented by the DHCT 200 ; if the television is not turned on, then the counter is not incremented.
- a television may be determined to be turned on if certain user input related to the operation of the television (e.g., volume control, channel navigation, among others) had been received by the DHCT 200 within a preceding predetermined period of time.
- a television advertisement continues to be presented intermittently via a DHCT 200 until it has been presented a predetermined number of times via the DHCT 200 or until an expiration date.
- an advertisement is only shown during enabled viewing periods associated with the advertisement and/or according to the program category that the viewer is watching at a current time.
- an advertisement may feature a set of flags in an EAI database record that indicates when the respective advertisement is enabled for viewing. For example, a car or truck advertisement may be enabled for viewing during periods when a sports or news program is being watched and/or during certain times of the day. The enabled viewing periods occur between the advertisement's introduction date and the advertisement's expiration date. The enabled viewing periods, the introduction date, and the expiration date may be received from the headend 110 and stored in the EAI database 228 in DRAM 220 .
- a enabled viewing period associated with a television advertisement may have a recurring schedule such as, for example, among others, a daily recurring schedule and/or a weekly recurring schedule.
- liquor or beer advertisements may have enabled viewing periods of 9:00 p.m. to 5:00 a.m. during weekdays and 2:00 p.m. to 5:00 a.m. during weekend days (weekly recurring schedule); adult movies and products advertisements may have enabled viewing periods from 10:00 p.m. to 5:00 a.m. every day (daily recurring scheduled); and football advertisements may have enabled viewing periods from 1:00 p.m. to 6:00 p.m. on weekend days only (weekly recurring schedule).
- a user is presented with an advertisement that corresponds to an advertisement or type of advertisement that is selected by the user.
- An advertisement or type of advertisement may be selected by a user significantly in advance (e.g., an hour, a day, a week, a month, or a year in advance) and/or immediately prior to the presentation of a corresponding advertisement.
- an advertisement selection screen may be provided to a user in response to user input and/or during an advertisement interruption in a television broadcast presentation. Selection options in an advertisement selection screen may be retrieved from the EAI database 228 .
- an advertisement is associated with a value or weight.
- the DHCT 200 may keep track of the total value of the advertisements that are presented via DHCT 200 based on the value of the individual advertisements that are presented. For example, if the DHCT 200 presents ten advertisements having a value of 1, ten advertisements having a value of 2, and ten advertisements having a value of 3 over a certain period of time, then the total value of the advertisements presented over that period of time is equal to 60.
- a user may be informed of the value of each of a plurality of advertisements and/or types of advertisements and may be provided with an option of selecting the advertisements and/or types of advertisements that the user desires to watch.
- the higher the total value of advertisements that are presented to a user over a certain period of time the less the total number and/or duration of advertisements will be.
- a user who is presented with advertisements having a total value of 1V may be presented with advertisements having a total duration of 2T
- another user who is presented advertisements having a value of 2V may be presented with advertisements having a total duration of 1T, where V represents a certain total value and T represents a certain total duration.
- a Multiple System Operator may assign values to advertisements based on the levels of advertisement exposure that are desired by the respective advertisers.
- An MSO may charge advertisers based on the value that is associated with their respective advertisements and/or based on the estimated number of times that their respective advertisements are presented to viewers via DHCTs that receive the MSO's television programming.
- an estimated number of times that an advertisement is presented to a user may be based on user inputs that are received by the DHCTs confirming that the advertisement has been, is being, and/or will be viewed.
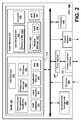
- FIG. 2 is a block diagram depicting a non-limiting example of a DHCT 200 .
- the DHCT 200 described herein is merely illustrative and should not be construed as implying any limitations upon the scope of the present invention. In an alternative embodiment, the DHCT 200 may have different, fewer, or additional components than those shown in FIG. 2 .
- the DHCT 200 includes a communications interface 205 for receiving signals (video, audio and/or other data) from the headend 110 , at least one processor 240 for controlling operations of the DHCT 200 , an output system 280 for driving the television 140 , and a tuner system 250 for tuning to a particular television channel to be displayed.
- the tuner system 250 includes, in one implementation, an out-of-band tuner for bi-directional quadrature phase shift keying (QPSK) data communication and a quadrature amplitude modulation (QAM) tuner for receiving television signals and data.
- Data received via either tuner may comprise electronic program information and/or EAI data.
- a receiver 260 receives externally-generated user inputs or commands from an input device such as, for example, a remote control device.
- the DHCT 200 may include one or more wireless or wired interfaces (not shown), also called ports, for receiving and/or transmitting data to other devices.
- the DHCT 200 may feature a USB (Universal Serial Bus), an Ethernet port (for connection to a computer), an IEEE-1394 connection (for connecting to consumer electronics equipment), a serial port, a parallel port, a radio frequency (RF) interface, and/or an infra-red (IR) interface.
- RF radio frequency
- IR infra-red
- user inputs may be provided via, for example, a personal computer, buttons or keys located on the exterior of the DHCT 200 , a hand-held remote control device, and/or a keyboard that includes user-actuated keys, etc.
- the DHCT 200 may include an advertisement storage unit 295 for storing advertisements.
- Stored advertisements are generally referred to herein as advertisement clips or advertisement media streams.
- the storage unit 295 may incorporate electronic, magnetic, optical, and/or other types of storage media.
- An advertisement management application 225 may be used for managing advertisements, including managing content stored in the storage unit 295 . Advertisements may be received from a headend 110 ( FIG. 1 ) and stored in the storage unit 295 based on instructions contained in the advertisement management application 225 .
- Electronic advertisement information, or EAI data, associated with stored advertisements may be stored in DRAM 220 or in storage unit 295 .
- the storage unit 295 may alternatively be located outside the DHCT 200 and coupled thereto using a wired or wireless connection.
- an advertisement storage unit 295 is not used in connection with the DHCT 200 , in which case, an advertisement may be presented to a user as it is being received from the headend 110 .
- System memory 210 includes flash memory 230 and dynamic random access memory (DRAM) 220 for storing various applications, modules and data for execution and use by the processor 240 .
- Basic functionality of the DHCT 200 is provided by an operating system 234 that is primarily stored in flash memory 230 .
- the operating system 234 includes at least one resource manager 235 that provides an interface to and coordination of resources of the DHCT 200 such as, for example, computing resources.
- One or more programmed software applications are executed by utilizing the computing resources in the DHCT 200 .
- Applications stored in flash memory 230 or DRAM 220 are executed by processor 240 under the auspices of the operating system 234 .
- Data required as input by an application is stored in DRAM 220 or flash memory 230 and read by processor 240 as needed during the course of the application's execution.
- Input data may be data stored in DRAM 220 by a secondary application or other source, either internal or external to the DHCT 200 , or possibly anticipated by the application and thus created with the application at the time it was generated as a software application, in which case it is stored in flash memory 230 .
- Data generated by an application is stored in DRAM 220 by processor 240 during the course of the application's execution.
- navigator 236 An application referred to as navigator 236 is also resident in flash memory 230 and provides a navigation framework for services provided by the DHCT 200 .
- the navigator 236 registers for and in some cases reserves certain user inputs related to navigational keys such as television channel up/down, last television channel, favorite television channel, etc.
- the client applications may be resident in flash memory 230 or downloaded into DRAM 220 .
- the flash memory 230 also contains a platform library 231 .
- the platform library 231 is a collection of utilities useful to applications, such as a timer manager, a compression manager, a configuration manager, an HTML parser, a database manager, a widget toolkit, a string manager, and other utilities (not shown). These utilities are accessed by applications via application programming interfaces (APIs) as necessary so that each application does not have to contain these utilities.
- APIs application programming interfaces
- Two components of the platform library 231 that are shown in FIG. 2 are a window manager 233 and a service application manager (SAM) client 232 .
- SAM service application manager
- the window manager 233 provides a mechanism for implementing the sharing of the screen regions and user input.
- the window manager 233 is also responsible for, as directed by one or more applications, implementing the creation, display, and allocation of the limited DHCT 200 screen resources.
- Window manager 233 allows multiple applications to share the screen by assigning ownership of screen regions, or windows.
- Window manager 233 communicates with resource manager 235 to coordinate available resources (such as display memory) among different resource-consuming processes. Such processes may be directly or indirectly invoked by one or more applications.
- the window manager 233 also maintains, among other things, a user input registry 221 in DRAM 220 so that when a user enters a key or a command via a remote control device or another input device such as a keyboard or mouse, the user input registry 221 may be accessed to determine which of various applications running on the DHCT 200 should receive data corresponding to the input key and in which order.
- As an application is executed it registers a request to receive certain user input keys or commands.
- the command is received by the receiver 260 and relayed to the processor 240 .
- the processor 240 dispatches the event to the operating system 234 where it is forwarded to the window manager 233 .
- the window manager 233 then accesses the user input registry 221 and routes data corresponding to the incoming command to the appropriate application.
- the SAM client 232 is a client component of a client-server pair of components, with the server component being located on the headend 110 ( FIG. 1 ).
- a SAM database 222 in DRAM 220 includes a data structure of services and a data structure of television channels that are created and updated by the headend 110 .
- Many television services can be defined using the same application component, with different parameters.
- Television services include, without limitation and in accordance with one implementation, the presentation of television broadcast programs, video-on-demand (VOD), and interactive program guides (IPG).
- the identification of a service includes the identification of an executable application that provides the service along with a set of application-dependent parameters that indicate to the application the service to be provided.
- a service of presenting a television program could be executed with a set of parameters to view HBO or with a separate set of parameters to view CNN.
- Each association of the application component (tune video) and one parameter component (HBO or CNN) represents a particular service that has a unique service I.D.
- DRAM 220 contains an interactive program guide (IPG) application 224 and an advertisement management application 225 .
- IPG interactive program guide
- the IPG application 224 may use IPG data stored in IPG database 227 to determine a program's category prior to creating and presenting a graphical user interface containing program information sorted by category.
- the advertisement management application 225 may use EAI data stored in an EAI database 228 to select and present an advertisement based on a desired advertisement category previously selected by a user.
- DRAM based applications may, as an alternative embodiment, be resident in flash memory 230 .
- These applications, and others provided by a television services system operator, are software entities for providing services to the user.
- a broadcast file system (BFS) client 237 has a counterpart BFS server module (not shown) located at the headend 110 .
- the BFS server repeatedly sends data that is received by the BFS client 237 and stored in DRAM 220 .
- the data is sent on a data carousel over a period of time in cyclical repeated manner so that applications on a DHCT 200 can use the data as needed.
- a BFS server may repeatedly send current IPG data and/or IPG data updates so that an IPG application 224 is able to provide a user with current television program listings.
- a BFS server may repeatedly send current EAI data and/or EAI data updates so that advertisement management application 225 is able to present a user with updated and current advertisement information.
- the DHCT 200 may receive EAI data via an out-of-band channel or an in-band channel.
- EAI data may be received by the DHCT 200 as MPEG private data in an MPEG transport stream.
- Advertisement management application 225 receives a plurality of media types that serve as television advertisements.
- a first type of advertisement comprises graphical and/or textual information that is overlaid on a displayed video picture.
- a second type of advertisement comprises video data that is displayed in a full-screen format or in a downscaled video window.
- a third type of advertisement comprises audio data.
- a fourth type of advertisement comprises a combination of graphical, textual, audio, and/or video data.
- a television advertisement may be packaged into a file and may be delivered to DHCT 200 via the BFS delivery mechanism.
- An advertisement that is received by a DHCT 200 may either be displayed immediately upon receipt or may be stored in the advertisement storage unit 295 for presentation at a later time.
- a DHCT 200 receives an advertisement file that is broadcast by the BFS regardless of whether the advertisement corresponds to a user preference.
- a DHCT 200 only receives advertisement files that correspond to a user preference. For instance, subscribers that have indicated via preferences identified by the advertisement preference settings 229 that they wish to receive and view advertisements related to baby products, may receive BFS files corresponding to baby product advertisements whereas other subscribers may not.
- Advertisement preference settings 229 are preferably stored in DRAM 220 , but may also be stored in non-volatile memory so that they may be retrieved in case of a power outage.
- the non-volatile memory may be flash memory 230 or memory that is external to the DHCT 200 such as, for example, the headend 110 or a storage device (not shown) that is coupled to the DHCT 200 .
- Advertisement management application 225 interprets advertisement preferential settings stored in DRAM 220 and, in communication with BFS client 237 , effects the opening of desired advertisement files on a periodic basis.
- Each advertisement category may be assigned a respective sub-directory.
- a DHCT 200 may open an advertisement category's sub-directory upon receiving a message from the headend 110 that an update to the advertisement category has occurred.
- applications executing on the DHCT 200 work with the navigator 236 by abiding by several guidelines.
- an application utilizes the SAM client 232 for the provision, activation, and suspension of services and service enhancements.
- an application shares DHCT 200 resources with other applications and abides by the resource management policies of the SAM client 232 , the operating system 234 , and the DHCT 200 .
- Third, an application conforms to situations where shared resources are only accessible via the navigator 236 .
- an application client is designed to not have access to certain user input keys reserved by the navigator 236 (e.g., power, channel+/ ⁇ , volume+/ ⁇ , etc.).
- Data and software used in providing a DHCT service to a user may be stored in one or more of the following memory resources: a data storage device located at a headend, a data storage device located at a customer premises, a non-volatile memory internal to the DHCT 200 , and/or a hard drive internal to the DHCT 200 .
- an executable program or algorithm corresponding to an operating system (OS) component, or to a client platform component, or to a client application (e.g. IPG application 224 ), or to respective parts thereof may reside in and/or execute out of DRAM 220 and/or flash memory 230 , or may reside in a local storage device connected to DHCT 200 and may be transferred into DRAM 220 for execution.
- OS operating system
- IPG application 224 client application
- data input for an executable program or algorithm may reside in DRAM 220 or in flash memory 230 , or may reside in a local storage device connected to the DHCT 200 and may be transferred into DRAM 220 for use by an executable program or algorithm.
- data output by an executable program or algorithm may be written into DRAM 220 by the executable program or algorithm and may be transferred to flash memory 230 or to a local storage device for storage purposes. It should be noted, however, that the present invention is not limited by where or how any data and/or applications are stored or retrieved.
- Each of the above mentioned applications comprises executable instructions for implementing logical functions and can be embodied in any computer-readable medium for use by or in connection with an instruction execution system, apparatus, or device, such as a computer-based system, processor-containing system, or other system that can fetch and execute the instructions.
- a “computer-readable medium” can be any means that can contain, store, communicate, propagate, or transport the program for use by or in connection with the instruction execution system, apparatus, or device.
- the computer readable medium can be, for example but not limited to, an electronic, magnetic, optical, electromagnetic, infrared, or semiconductor system, apparatus, device, or propagation medium.
- the computer-readable medium would include the following: an electrical connection (electronic) having one or more wires, a portable computer diskette (magnetic), a random access memory (RAM) (electronic), a read-only memory (ROM) (electronic), an erasable programmable read-only memory (EPROM or Flash memory) (electronic), an optical fiber (optical), and a portable compact disc read-only memory (CDROM) (optical).
- an electrical connection having one or more wires
- a portable computer diskette magnetic
- RAM random access memory
- ROM read-only memory
- EPROM or Flash memory erasable programmable read-only memory
- CDROM portable compact disc read-only memory
- the computer-readable medium could even be paper or another suitable medium upon which the program is printed, as the program can be electronically captured, via for instance optical scanning of the paper or other medium, then compiled, interpreted or otherwise processed in a suitable manner, and then stored in a computer memory.
- FIG. 3 depicts a non-limiting example of a remote control device 300 that may be used to provide user input to the DHCT 200 .
- the remote control device 300 described herein is merely illustrative and should not be construed as implying any limitations upon the scope of the present invention.
- Four arrow keys 310 are provided including an up arrow key 311 , a down arrow key 312 , a left arrow key 313 , and a right arrow key 314 .
- the arrow keys 310 can be used to scroll through on-screen options and/or to highlight an on-screen option, whereas the select key 320 may be used to select a currently highlighted option.
- the advertisements key 395 may be used to request an advertisement or an advertisement selection menu.
- the “A” key 371 can be used to access a browse-by list for requesting an IPG screen that contains a subset of television programs falling under a user selected browse-by category such as, for example, comedy, drama, action/adventure, sports, etc.;
- the “B” key 372 can be used to request an IPG screen containing program listings for a user selected date; and the “C” key 373 can be used to request an IPG that covers a time period that includes the current time.
- a remote control device having different keys and/or key layouts
- a keyboard device e.g., a mouse
- a voice activated input system e.g., a touch-screen display
- the invention described herein is not limited by the type of device used to provide user input.
- FIGS. 4-8 depict non-limiting examples of screens that may be used for selecting an advertisement or type of advertisement. It should become apparent to one skilled in the art in light of the following descriptions that additional, different, and/or fewer selections screens may be used in an alternative embodiment of the present invention.
- FIG. 4 depicts a non-limiting example of an advertisement category selection screen 400 which may be provided in response to user input such as, for example, the activation of the “ADS” key 395 ( FIG. 3 ).
- An advertisement category menu 401 includes advertising category options corresponding to categories of products and services that may be advertised via the DHCT 200 . Advertising category options may include, for example, clothes, food, restaurants, hotels, airlines, softdrinks, cars & trucks, stores, beer, TV programs, movies, electronics, baby products, and toys (among others).
- a television advertisement category selection menu 401 may contain fewer, additional, or different advertisement category options such as, for example, make-up, kitchen products, household products, furniture, health products, and VOD movies, etc.
- the advertisement category options may be used to determine user preferences regarding advertisements.
- a user may use the arrow keys 310 ( FIG. 3 ) in order to highlight an option or to access additional options by scrolling up or down the advertisement category menu.
- the select key 320 may be used to select a currently highlighted option.
- An advertisement category option that is selected from the television advertisement category menu is added to an active selection list 403 .
- the user can provide additional input via the remote control 300 in order to confirm the selections. Such input may be provided via, for example, activation of the “A” key 371 ( FIG. 3 ).
- User selections of on-screen options shown in other screen depictions may also be performed in a similar manner. However, the selection of any of the on-screen options discussed herein may alternatively be performed in a different manner including for example, the use of different user input devices.
- FIG. 5 depicts a non-limiting example of an advertisement sub-category selection screen 500 which may, in one embodiment, be provided in response to the selection of an advertisement category via the advertisement category selection screen 400 ( FIG. 4 ).
- An advertisement sub-category menu 501 includes advertising sub-category options corresponding to the user selected category which, in this example, is “Cars and Trucks” 402 ( FIG. 4 ).
- the sub-category menu may include options corresponding to respective sub-categories.
- the user may be provided with multiple sub-category menus in succession, where each sub-category menu corresponds to one of the multiple categories that were selected via the category selection screen 400 .
- Advertisement sub-category options may be used to determine user preferences in relation to a specific category of advertisements (e.g., cars and trucks). Advertisement sub-category options corresponding to the cars and trucks category 402 may include, for example, SUV, pick-up, minivan, luxury, economy, sports, and family. A user may provide user input in order to select one or more sub-categories form the sub-category menu 501 .
- FIG. 6 depicts a non-limiting example of an advertisement source selection screen 600 which may be provided in response to the selection of an advertisement sub-category via the advertisement sub-category selection screen 500 ( FIG. 5 ).
- the advertisement source selection screen 600 may be provided in response to the selection of the cars and trucks option 402 via the advertisement category selection screen 400 ( FIG. 4 ).
- An advertisement source menu 601 includes advertising source options corresponding to the user selected sub-category which, in this example, is luxury (cars & trucks) 502 ( FIG. 5 ). Advertisement source options may be used to determine user preferences in relation to a source or name-brand for a certain type of products. Advertising source options corresponding to the luxury cars and trucks option 502 may include, for example, Infinity, Lexus, Volvo, Acura, Audi, BMW, and Cadillac, among others.
- FIG. 7 depicts a non-limiting example of a product preference selection screen 700 which may be provided in response to the selection of an advertisement source option via the advertisement source selection screen 600 ( FIG. 6 ).
- a product preference menu 701 includes product preference options corresponding to the user selected advertisement source which, in this example, is Acura 602 ( FIG. 6 ).
- Product preference options may be used to determine user preferences in relation to a specific product.
- Product preference options corresponding to the Acura option 602 may include, for example, the following Acura models: Integra, MDX, NSX, CL, and Legend.
- FIG. 8 depicts a non-limiting example of an advertisement selection screen 800 which may be provided during a television presentation.
- the television presentation may be, for example, a television program, a video-on-demand presentation, or a pay-per-view presentation.
- the advertisement selection screen 800 may be provided to a user in response to a specified user input such as, for example, the activation of the “ADS” key 395 ( FIG. 3 ).
- An advertisement menu 801 includes advertisement options corresponding to products and services that may be advertised via the DHCT 200 .
- a user may select an advertisement option in order to be presented with a corresponding advertisement.
- a user may select several advertisements options before being presented the corresponding advertisements.
- a value is associated with each of the advertisements.
- the value of an advertisement may be identified via an icon, a background color, and/or text that is associated with advertisement option.
- a user may be required to view, over a certain period of time, a number of advertisements that have a certain total value. Alternatively, a user may be rewarded for viewing advertisements having a relatively high total value by being presented with shorter and/or fewer advertisements and/or advertisement interruptions.
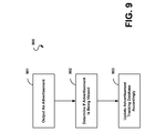
- FIG. 9 is a flow chart 900 depicting a non-limiting example of steps for tracking the presentation of advertisements in accordance with one embodiment of the invention.
- the DHCT 200 outputs an advertisement.
- the DHCT 200 determines whether the advertisement has been or is being viewed. The determination may be based on viewer input that is solicited by the DHCT 200 during, before, and/or after the presentation of the advertisement. In another embodiment, the determination may be based on whether the television is turned on during the presentation of the advertisement.
- a television may be determined to be turned on if, for example, certain user input related to the operation of the television (e.g., volume control, channel navigation, among others) had been received by the DHCT 200 within a preceding predetermined period of time.
- step 902 is not implemented, and step 903 is performed after step 901 .
- the DHCT 200 determines whether an advertisement has been or is being viewed, then the DHCT 200 in step 903 updates an advertisement tracking database accordingly.
- the advertising tracking database keeps track of the number, value, type and/or identity of the advertisements that were viewed by a household, and may be used to determine which advertisements to present to a user. For example, if an advertisement is viewed more than a certain number of times by a certain household, then it would no longer be presented by a DHCT 200 to that household.
- FIG. 10 is flow chart depicting a non-limiting example of a routine 1000 that may be used to determine a number of advertisements that are presented to a user.
- the routine 1000 may be part of the advertisement management application 225 .
- the routine 1000 determines in step 1002 whether an advertisement tracking score is greater than a predetermined value.
- the advertisement tracking score reflects a value associated with advertisements that have been presented to a user over a certain time period immediately prior to the implementation of step 1002 , and may be determined using an advertisement tracking database. If the score is greater that a predetermined value, then the routine 1000 terminates as indicated in step 1003 .
- the routine 1000 initiates in step 1004 the presentation of an advertisement.
- the advertisement may be selected in accordance with previously determined user preferences.
- the routine 1000 in step 1005 updates an advertisement tracking database based on the value that is associated with the advertisement that was presented to the user.
- the database is only updated if the routine 1000 determines that the advertisement was viewed. Such a determination may be based on, for example, whether certain user input was received during the presentation of the advertisement or whether the television was turned on.
- the routine 1000 then returns to step 1002 and determines once again whether the advertisement tracking score is greater than the predetermined value.
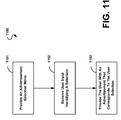
- FIG. 11 is a flow chart 1100 depicting a non-limiting example of steps for providing a user with advertisements in accordance with one embodiment of the invention.
- the DHCT 200 provides the user with an advertisement selection menu.
- the advertisement selection menu may be provided during the provision of a video presentation (e.g. a television program or a VOD movie) or in response to user input requesting the menu.
- the menu may have selections that identify specific advertisements or that identify types of products, services, and/or their sources, as discussed above in reference to FIGS. 4-8 .
- the DHCT 200 receives user input identifying one or more selections from the advertisement selection menu.
- the DHCT 200 After the DHCT 200 receives the user input, it provides the user with one or more advertisements that correspond to advertisement selection(s) identified by the user input. In one embodiment of the invention, an advertisement corresponding to a user selection is provided immediately after the advertisement selection process is complete. In another embodiment of the invention, the user selection(s) is/are used to determine the advertisements that are intermittently presented to the user over an extended period of time.
- Steps or blocks shown in each of the flow charts illustrated in FIGS. 9-11 represent modules, segments, or portions of code which include one or more executable instructions for implementing specific logical functions or steps in a process. Alternate implementations are included within the scope of the preferred embodiments of the present invention in which functions or steps may be executed out of order from that shown or discussed, including substantially concurrently or in reverse order, depending on the functionality involved, as would be understood by those reasonably skilled in the art.
- each of the flow charts illustrated in FIGS. 9-11 can also be implemented through hardware and supporting circuitry.
- Each implementation has its advantages, however. For example, hardware enjoys a speed and, arguably, a reliability advantage over software because hardware testing and verification methods are currently more advanced than software verification methods.
- software can be less expensive than customized hardware and offers greater flexibility in adding or modifying product features.
- the functionality provided by each of the flow charts illustrated in FIGS. 9-11 may be implemented in a combination of software and hardware.
- a computer-readable medium is an electronic, magnetic, optical, semiconductor, or other physical device or means that can contain or store a computer program or data for use by or in connection with a computer-related system or method.
- the computer program or data may be transferred to another computer-readable medium by any suitable process such as by scanning the computer-readable medium.
- the computer-readable medium could be paper or other suitable medium upon which the computer program can be printed, scanned with an optical scanning device, and transferred into the computer's memory or storage.
Landscapes
- Engineering & Computer Science (AREA)
- Business, Economics & Management (AREA)
- Multimedia (AREA)
- Signal Processing (AREA)
- Strategic Management (AREA)
- Accounting & Taxation (AREA)
- Development Economics (AREA)
- Finance (AREA)
- Databases & Information Systems (AREA)
- Marketing (AREA)
- Economics (AREA)
- Game Theory and Decision Science (AREA)
- Physics & Mathematics (AREA)
- General Business, Economics & Management (AREA)
- General Physics & Mathematics (AREA)
- Theoretical Computer Science (AREA)
- Entrepreneurship & Innovation (AREA)
- Human Computer Interaction (AREA)
- Software Systems (AREA)
- Two-Way Televisions, Distribution Of Moving Picture Or The Like (AREA)
Abstract
Description
- This application is a divisional of copending U.S. utility application entitled, “Management of Television Advertising,” having Ser. No. 10/073,842, filed Feb. 11, 2002, which is entirely incorporated herein by reference.
- This application is related to copending U.S. Utility patent application entitled “User Preference Television Advertising,” filed on the same date as the present application, having docket no. A-12197 and accorded Ser. No. xx/xxx,xxx, which is entirely incorporated herein by reference.
- This application is related to copending U.S. Utility patent application entitled “Selective Advertising Presentations,” filed on the same date as the present application, having docket no. A-12199 and accorded serial number xx/xxx,xxx, which is entirely incorporated herein by reference.
- This invention relates in general to television systems, and more particularly, to the field of subscriber television systems.
- Cable television systems are now capable of providing many services in addition to analog broadcast video. In implementing enhanced programming, the home communication terminal (“HCT”), otherwise known as the settop box, has become an important computing device for accessing various video services. In addition to supporting traditional analog broadcast video functionality, digital HCTs (or “DHCTs”) now also support an increasing number of two-way digital services such as video-on-demand.
- A DHCT is typically connected to a cable or satellite television network and includes hardware and software necessary to provide various services and functionality. Preferably, some of the software executed by a DHCT is downloaded and/or updated via the cable television network. Each DHCT also typically includes a processor, communication components and memory, and is connected to a television or other display device. While many conventional DHCTs are stand-alone devices that are externally connected to a television, a DHCT and/or its functionality may be integrated into a television or personal computer, as will be appreciated by those of ordinary skill in the art.
- A DHCT provides users with television programming and television advertising. Many DHCT users, however, often avoid viewing television advertisements. Television advertisements may be avoided in a number of ways including, for example, by switching television channels during an advertisement or by recording a television program and then using trick mode functionality to skip recorded advertisements. One reason for why a viewer may avoid viewing an advertisement is because the viewer may not be interested in the product or service being advertised. Advertisement avoidance results in lower advertisement exposure for advertisers and, therefore, in lower potential revenue for television service providers. Therefore, there is a need for systems and methods for increasing the viewing of television advertisements.
- The invention can be better understood with reference to the following drawings. The components in the drawings are not necessarily drawn to scale, emphasis instead being placed upon clearly illustrating the principles of the present invention. In the drawings, like reference numerals designate corresponding parts throughout the several views.
-
FIG. 1 is a block diagram depicting a non-limiting example of a television services system. -
FIG. 2 is a block diagram depicting a non-limiting example of the internal configuration of the DHCT depicted inFIG. 1 . -
FIG. 3 depicts a non-limiting example of a remote control device that may be used to provide user input to the DHCT depicted inFIG. 2 . -
FIG. 4 depicts a non-limiting example of an advertisement category selection screen which may be provided in response to user input such as, for example, the activation of the “ADS” key depicted inFIG. 3 . -
FIG. 5 depicts a non-limiting example of an advertisement sub-category selection screen which may, in one embodiment, be provided in response to the selection of an advertisement category via the advertisement category selection screen depicted inFIG. 4 . -
FIG. 6 depicts a non-limiting example of an advertisement source selection screen which may be provided in response to the selection of an advertisement sub-category via the advertisement sub-category selection screen depicted inFIG. 5 . -
FIG. 7 depicts a non-limiting example of a product preference selection screen which may be provided in response to the selection of an advertisement source option via the advertisement source selection screen depicted inFIG. 6 . -
FIG. 8 depicts a non-limiting example of an advertisement selection screen which may be provided during a television presentation. -
FIG. 9 is a flow chart depicting a non-limiting example of steps for tracking the presentation of advertisements in accordance with one embodiment of the invention. -
FIG. 10 is flow chart depicting a non-limiting example of a routine that may be used to determine a number of advertisements that are presented to a user. -
FIG. 11 is a flow chart depicting a non-limiting example of steps for providing a user with advertisements in accordance with one embodiment of the invention. - Systems and methods are provided herein for managing the presentation of television advertisements. As a non-limiting example, among others, a television advertisement may be an audio/video television commercial. In one embodiment of the invention, a DHCT receives user input for selecting an advertisement or type of advertisement, and then presents the user with an advertisement that corresponds to the user's selection. The advertisement may be presented to the user immediately after the user's selection or may be presented to the user at subsequent times during interruptions in television broadcast presentations.
- In another embodiment, a DHCT may keep track of the number of times that an advertisement is presented to a user in order to determine whether the advertisement is to continue being presented. The DHCT may also keep track of the total number of advertisements that have been presented over a predetermined period of time in order to determine whether to present an additional advertisement at a current time.
- In yet another embodiment of the invention, an advertisement or type of advertisement is assigned a value by a system operator. A user may then select advertisements and/or types of advertisements based their respective assigned values as shown via an advertisement selection screen. A DHCT may then manage the presentation of advertisements based on their individual and/or cumulative values. As a non-limiting example, the frequency and/or duration of an advertisement or plurality of advertisements may be inversely correlated to the value of the advertisement(s).
- The preferred embodiments of the present invention now will be described more fully hereinafter with reference to the accompanying drawings. These embodiments are examples, among others, of systems and methods of the present invention. Therefore, the present invention, which may be embodied in many different forms, should not be construed as limited to the embodiments set forth herein.
-
FIG. 1 is a block diagram depicting a non-limiting example of atelevision services system 100. In this example, thetelevision services system 100 includes aheadend 110 and a DHCT 200 that are coupled via anetwork 130. The DHCT 200 is typically situated at a user's residence or place of business and may be a stand-alone unit or integrated into another device such as, for example, thetelevision 140 or a personal computer (not shown). The DHCT 200 receives signals (video, audio and/or other data) from theheadend 110 through thenetwork 130 and provides any reverse information to theheadend 110 through thenetwork 130. Thenetwork 130 may be any suitable means for communicating television services data including, for example, a cable television network, a public switched telephone network (PSTN), a satellite communication network, the internet, etc. Theheadend 110 may include one or more server devices (not shown) for providing video, audio, and textual data to client devices such as DHCT 200. The headend 110 and the DHCT 200 cooperate to provide a user with television services including, for example, television programs, an interactive program guide (IPG), and/or video-on-demand (VOD) presentations. The television services may be provided via atelevision 140. Alternatively, the DHCT 200 may provide television services via a display device other than thetelevision 140. - In one embodiment of the invention, an advertising counter may be used to track a number of times that a television advertisement is presented by a DHCT 200. In one implementation, an advertisement continues to be presented via a
DHCT 200 until it has been presented a predetermined number of times via theDHCT 200 or via a plurality of DHCTs. If the advertisement is stored in aDHCT 200, then it may be deleted from theDHCT 200 after it is presented a predetermined number of times. An “electronic advertisement information” (EAI)database 228 may be used to keep track of advertisements that are to be stored in or deleted from aDHCT 200. If the advertisement is stored at theheadend 110, then theheadend 110 may discontinue broadcasting the advertisement after it is presented a predetermined number of times. For example, a certain advertisement may be deleted or discontinued after it is presented 10 times by asingle DHCT 200 and/or after it is presented 15,000 times by a group of DHCTs. In one possible implementation, the advertising counter in aDHCT 200 may track the number of times that an advertisement is presented to a user or a group of users of aparticular DHCT 200 by soliciting certain user input during, before, or after the presentation of the advertisement and then determining if the solicited input is received. In another implementation, the advertising counter may track the number of times that an advertisement is presented to a user based on whether thetelevision 140 is turned on while the advertisement is being presented by theDHCT 200; if the television is not turned on, then the counter is not incremented. In one possible implementation, a television may be determined to be turned on if certain user input related to the operation of the television (e.g., volume control, channel navigation, among others) had been received by theDHCT 200 within a preceding predetermined period of time. - In another embodiment, a television advertisement continues to be presented intermittently via a
DHCT 200 until it has been presented a predetermined number of times via theDHCT 200 or until an expiration date. In yet another embodiment, an advertisement is only shown during enabled viewing periods associated with the advertisement and/or according to the program category that the viewer is watching at a current time. Hence, an advertisement may feature a set of flags in an EAI database record that indicates when the respective advertisement is enabled for viewing. For example, a car or truck advertisement may be enabled for viewing during periods when a sports or news program is being watched and/or during certain times of the day. The enabled viewing periods occur between the advertisement's introduction date and the advertisement's expiration date. The enabled viewing periods, the introduction date, and the expiration date may be received from theheadend 110 and stored in theEAI database 228 inDRAM 220. - A enabled viewing period associated with a television advertisement may have a recurring schedule such as, for example, among others, a daily recurring schedule and/or a weekly recurring schedule. As a non-limiting example, liquor or beer advertisements may have enabled viewing periods of 9:00 p.m. to 5:00 a.m. during weekdays and 2:00 p.m. to 5:00 a.m. during weekend days (weekly recurring schedule); adult movies and products advertisements may have enabled viewing periods from 10:00 p.m. to 5:00 a.m. every day (daily recurring scheduled); and football advertisements may have enabled viewing periods from 1:00 p.m. to 6:00 p.m. on weekend days only (weekly recurring schedule).
- In another embodiment of the invention, a user is presented with an advertisement that corresponds to an advertisement or type of advertisement that is selected by the user. An advertisement or type of advertisement may be selected by a user significantly in advance (e.g., an hour, a day, a week, a month, or a year in advance) and/or immediately prior to the presentation of a corresponding advertisement. Furthermore, an advertisement selection screen may be provided to a user in response to user input and/or during an advertisement interruption in a television broadcast presentation. Selection options in an advertisement selection screen may be retrieved from the
EAI database 228. - In yet another embodiment of the invention, an advertisement is associated with a value or weight. The
DHCT 200 may keep track of the total value of the advertisements that are presented viaDHCT 200 based on the value of the individual advertisements that are presented. For example, if theDHCT 200 presents ten advertisements having a value of 1, ten advertisements having a value of 2, and ten advertisements having a value of 3 over a certain period of time, then the total value of the advertisements presented over that period of time is equal to 60. - A user may be informed of the value of each of a plurality of advertisements and/or types of advertisements and may be provided with an option of selecting the advertisements and/or types of advertisements that the user desires to watch. In one implementation, the higher the total value of advertisements that are presented to a user over a certain period of time, the less the total number and/or duration of advertisements will be. For example, a user who is presented with advertisements having a total value of 1V may be presented with advertisements having a total duration of 2T, and another user who is presented advertisements having a value of 2V may be presented with advertisements having a total duration of 1T, where V represents a certain total value and T represents a certain total duration. Although the total value of advertisements presented over a certain period of time may be inversely correlated to the total duration of the advertisements, the correlation coefficient is not necessarily −1. In this manner, a Multiple System Operator (MSO) may assign values to advertisements based on the levels of advertisement exposure that are desired by the respective advertisers. An MSO may charge advertisers based on the value that is associated with their respective advertisements and/or based on the estimated number of times that their respective advertisements are presented to viewers via DHCTs that receive the MSO's television programming. In one implementation, an estimated number of times that an advertisement is presented to a user may be based on user inputs that are received by the DHCTs confirming that the advertisement has been, is being, and/or will be viewed.
-
FIG. 2 is a block diagram depicting a non-limiting example of aDHCT 200. TheDHCT 200 described herein is merely illustrative and should not be construed as implying any limitations upon the scope of the present invention. In an alternative embodiment, theDHCT 200 may have different, fewer, or additional components than those shown inFIG. 2 . TheDHCT 200 includes acommunications interface 205 for receiving signals (video, audio and/or other data) from theheadend 110, at least oneprocessor 240 for controlling operations of theDHCT 200, anoutput system 280 for driving thetelevision 140, and atuner system 250 for tuning to a particular television channel to be displayed. Thetuner system 250 includes, in one implementation, an out-of-band tuner for bi-directional quadrature phase shift keying (QPSK) data communication and a quadrature amplitude modulation (QAM) tuner for receiving television signals and data. Data received via either tuner may comprise electronic program information and/or EAI data. Areceiver 260 receives externally-generated user inputs or commands from an input device such as, for example, a remote control device. - The
DHCT 200 may include one or more wireless or wired interfaces (not shown), also called ports, for receiving and/or transmitting data to other devices. For instance, theDHCT 200 may feature a USB (Universal Serial Bus), an Ethernet port (for connection to a computer), an IEEE-1394 connection (for connecting to consumer electronics equipment), a serial port, a parallel port, a radio frequency (RF) interface, and/or an infra-red (IR) interface. In this manner, user inputs may be provided via, for example, a personal computer, buttons or keys located on the exterior of theDHCT 200, a hand-held remote control device, and/or a keyboard that includes user-actuated keys, etc. - The
DHCT 200 may include anadvertisement storage unit 295 for storing advertisements. Stored advertisements are generally referred to herein as advertisement clips or advertisement media streams. Thestorage unit 295 may incorporate electronic, magnetic, optical, and/or other types of storage media. Anadvertisement management application 225 may be used for managing advertisements, including managing content stored in thestorage unit 295. Advertisements may be received from a headend 110 (FIG. 1 ) and stored in thestorage unit 295 based on instructions contained in theadvertisement management application 225. Electronic advertisement information, or EAI data, associated with stored advertisements may be stored inDRAM 220 or instorage unit 295. Although shown as residing within theDHCT 200, thestorage unit 295 may alternatively be located outside theDHCT 200 and coupled thereto using a wired or wireless connection. In an alternative embodiment, anadvertisement storage unit 295 is not used in connection with theDHCT 200, in which case, an advertisement may be presented to a user as it is being received from theheadend 110. -
System memory 210 includesflash memory 230 and dynamic random access memory (DRAM) 220 for storing various applications, modules and data for execution and use by theprocessor 240. Basic functionality of theDHCT 200 is provided by anoperating system 234 that is primarily stored inflash memory 230. Theoperating system 234 includes at least oneresource manager 235 that provides an interface to and coordination of resources of theDHCT 200 such as, for example, computing resources. - One or more programmed software applications, herein referred to as applications, are executed by utilizing the computing resources in the
DHCT 200. Applications stored inflash memory 230 orDRAM 220 are executed byprocessor 240 under the auspices of theoperating system 234. Data required as input by an application is stored inDRAM 220 orflash memory 230 and read byprocessor 240 as needed during the course of the application's execution. Input data may be data stored inDRAM 220 by a secondary application or other source, either internal or external to theDHCT 200, or possibly anticipated by the application and thus created with the application at the time it was generated as a software application, in which case it is stored inflash memory 230. Data generated by an application is stored inDRAM 220 byprocessor 240 during the course of the application's execution. - An application referred to as
navigator 236 is also resident inflash memory 230 and provides a navigation framework for services provided by theDHCT 200. Thenavigator 236 registers for and in some cases reserves certain user inputs related to navigational keys such as television channel up/down, last television channel, favorite television channel, etc. The client applications may be resident inflash memory 230 or downloaded intoDRAM 220. - The
flash memory 230 also contains aplatform library 231. Theplatform library 231 is a collection of utilities useful to applications, such as a timer manager, a compression manager, a configuration manager, an HTML parser, a database manager, a widget toolkit, a string manager, and other utilities (not shown). These utilities are accessed by applications via application programming interfaces (APIs) as necessary so that each application does not have to contain these utilities. Two components of theplatform library 231 that are shown inFIG. 2 are awindow manager 233 and a service application manager (SAM)client 232. - The
window manager 233 provides a mechanism for implementing the sharing of the screen regions and user input. Thewindow manager 233 is also responsible for, as directed by one or more applications, implementing the creation, display, and allocation of thelimited DHCT 200 screen resources.Window manager 233 allows multiple applications to share the screen by assigning ownership of screen regions, or windows.Window manager 233 communicates withresource manager 235 to coordinate available resources (such as display memory) among different resource-consuming processes. Such processes may be directly or indirectly invoked by one or more applications. - The
window manager 233 also maintains, among other things, auser input registry 221 inDRAM 220 so that when a user enters a key or a command via a remote control device or another input device such as a keyboard or mouse, theuser input registry 221 may be accessed to determine which of various applications running on theDHCT 200 should receive data corresponding to the input key and in which order. As an application is executed, it registers a request to receive certain user input keys or commands. When the user presses a key corresponding to one of the commands on the remote control device, the command is received by thereceiver 260 and relayed to theprocessor 240. Theprocessor 240 dispatches the event to theoperating system 234 where it is forwarded to thewindow manager 233. Thewindow manager 233 then accesses theuser input registry 221 and routes data corresponding to the incoming command to the appropriate application. - The
SAM client 232 is a client component of a client-server pair of components, with the server component being located on the headend 110 (FIG. 1 ). ASAM database 222 inDRAM 220 includes a data structure of services and a data structure of television channels that are created and updated by theheadend 110. Many television services can be defined using the same application component, with different parameters. Television services include, without limitation and in accordance with one implementation, the presentation of television broadcast programs, video-on-demand (VOD), and interactive program guides (IPG). In general, the identification of a service includes the identification of an executable application that provides the service along with a set of application-dependent parameters that indicate to the application the service to be provided. As a non-limiting example, a service of presenting a television program could be executed with a set of parameters to view HBO or with a separate set of parameters to view CNN. Each association of the application component (tune video) and one parameter component (HBO or CNN) represents a particular service that has a unique service I.D. - Application clients can be downloaded into
DRAM 220 at the request of theSAM client 232, typically in response to a request by the user or in response to a message from the headend. In this non-limiting example,DRAM 220 contains an interactive program guide (IPG)application 224 and anadvertisement management application 225. TheIPG application 224 may use IPG data stored inIPG database 227 to determine a program's category prior to creating and presenting a graphical user interface containing program information sorted by category. Similarly, theadvertisement management application 225 may use EAI data stored in anEAI database 228 to select and present an advertisement based on a desired advertisement category previously selected by a user. It should be clear to one with ordinary skill in the art that these applications are not limiting and merely serve as examples for an embodiment of the invention. Furthermore, one or more DRAM based applications may, as an alternative embodiment, be resident inflash memory 230. These applications, and others provided by a television services system operator, are software entities for providing services to the user. - A broadcast file system (BFS)
client 237 has a counterpart BFS server module (not shown) located at theheadend 110. The BFS server repeatedly sends data that is received by theBFS client 237 and stored inDRAM 220. The data is sent on a data carousel over a period of time in cyclical repeated manner so that applications on a DHCT 200 can use the data as needed. For example, a BFS server may repeatedly send current IPG data and/or IPG data updates so that anIPG application 224 is able to provide a user with current television program listings. Likewise, a BFS server may repeatedly send current EAI data and/or EAI data updates so thatadvertisement management application 225 is able to present a user with updated and current advertisement information. TheDHCT 200 may receive EAI data via an out-of-band channel or an in-band channel. Furthermore, EAI data may be received by theDHCT 200 as MPEG private data in an MPEG transport stream. -
Advertisement management application 225 receives a plurality of media types that serve as television advertisements. Among others, a first type of advertisement comprises graphical and/or textual information that is overlaid on a displayed video picture. A second type of advertisement comprises video data that is displayed in a full-screen format or in a downscaled video window. A third type of advertisement comprises audio data. A fourth type of advertisement comprises a combination of graphical, textual, audio, and/or video data. - A television advertisement may be packaged into a file and may be delivered to DHCT 200 via the BFS delivery mechanism. An advertisement that is received by a
DHCT 200 may either be displayed immediately upon receipt or may be stored in theadvertisement storage unit 295 for presentation at a later time. In one embodiment of the invention, aDHCT 200 receives an advertisement file that is broadcast by the BFS regardless of whether the advertisement corresponds to a user preference. In an alternative embodiment, aDHCT 200 only receives advertisement files that correspond to a user preference. For instance, subscribers that have indicated via preferences identified by theadvertisement preference settings 229 that they wish to receive and view advertisements related to baby products, may receive BFS files corresponding to baby product advertisements whereas other subscribers may not.Advertisement preference settings 229 are preferably stored inDRAM 220, but may also be stored in non-volatile memory so that they may be retrieved in case of a power outage. The non-volatile memory may beflash memory 230 or memory that is external to theDHCT 200 such as, for example, theheadend 110 or a storage device (not shown) that is coupled to theDHCT 200.Advertisement management application 225 interprets advertisement preferential settings stored inDRAM 220 and, in communication withBFS client 237, effects the opening of desired advertisement files on a periodic basis. Each advertisement category may be assigned a respective sub-directory. ADHCT 200 may open an advertisement category's sub-directory upon receiving a message from theheadend 110 that an update to the advertisement category has occurred. - In one implementation, applications executing on the
DHCT 200 work with thenavigator 236 by abiding by several guidelines. First, an application utilizes theSAM client 232 for the provision, activation, and suspension of services and service enhancements. Second, an application sharesDHCT 200 resources with other applications and abides by the resource management policies of theSAM client 232, theoperating system 234, and theDHCT 200. Third, an application conforms to situations where shared resources are only accessible via thenavigator 236. Fourth, when an application loses service authorization while providing a service, the application suspends the service via the SAM client 232 (thenavigator 236 will reactivate an individual service application when it later becomes authorized). Finally, an application client is designed to not have access to certain user input keys reserved by the navigator 236 (e.g., power, channel+/−, volume+/−, etc.). - Data and software used in providing a DHCT service to a user may be stored in one or more of the following memory resources: a data storage device located at a headend, a data storage device located at a customer premises, a non-volatile memory internal to the
DHCT 200, and/or a hard drive internal to theDHCT 200. For example, an executable program or algorithm corresponding to an operating system (OS) component, or to a client platform component, or to a client application (e.g. IPG application 224), or to respective parts thereof, may reside in and/or execute out ofDRAM 220 and/orflash memory 230, or may reside in a local storage device connected to DHCT 200 and may be transferred intoDRAM 220 for execution. Likewise, data input for an executable program or algorithm may reside inDRAM 220 or inflash memory 230, or may reside in a local storage device connected to theDHCT 200 and may be transferred intoDRAM 220 for use by an executable program or algorithm. In addition, data output by an executable program or algorithm may be written intoDRAM 220 by the executable program or algorithm and may be transferred toflash memory 230 or to a local storage device for storage purposes. It should be noted, however, that the present invention is not limited by where or how any data and/or applications are stored or retrieved. - Each of the above mentioned applications comprises executable instructions for implementing logical functions and can be embodied in any computer-readable medium for use by or in connection with an instruction execution system, apparatus, or device, such as a computer-based system, processor-containing system, or other system that can fetch and execute the instructions. In the context of this document, a “computer-readable medium” can be any means that can contain, store, communicate, propagate, or transport the program for use by or in connection with the instruction execution system, apparatus, or device. The computer readable medium can be, for example but not limited to, an electronic, magnetic, optical, electromagnetic, infrared, or semiconductor system, apparatus, device, or propagation medium. More specific examples (a non-exhaustive list) of the computer-readable medium would include the following: an electrical connection (electronic) having one or more wires, a portable computer diskette (magnetic), a random access memory (RAM) (electronic), a read-only memory (ROM) (electronic), an erasable programmable read-only memory (EPROM or Flash memory) (electronic), an optical fiber (optical), and a portable compact disc read-only memory (CDROM) (optical). Note that the computer-readable medium could even be paper or another suitable medium upon which the program is printed, as the program can be electronically captured, via for instance optical scanning of the paper or other medium, then compiled, interpreted or otherwise processed in a suitable manner, and then stored in a computer memory.
-
FIG. 3 depicts a non-limiting example of aremote control device 300 that may be used to provide user input to theDHCT 200. Theremote control device 300 described herein is merely illustrative and should not be construed as implying any limitations upon the scope of the present invention. Fourarrow keys 310 are provided including an uparrow key 311, adown arrow key 312, aleft arrow key 313, and aright arrow key 314. Thearrow keys 310 can be used to scroll through on-screen options and/or to highlight an on-screen option, whereas theselect key 320 may be used to select a currently highlighted option. The advertisements key 395 may be used to request an advertisement or an advertisement selection menu. The function of the “A”key 371, the “B” key 372, and the “C” key 373 varies depending on the screen being presented to a user at the time of a key's activation. In one embodiment, the “A”key 371 can be used to access a browse-by list for requesting an IPG screen that contains a subset of television programs falling under a user selected browse-by category such as, for example, comedy, drama, action/adventure, sports, etc.; the “B” key 372 can be used to request an IPG screen containing program listings for a user selected date; and the “C” key 373 can be used to request an IPG that covers a time period that includes the current time. - In an alternative embodiment of the invention, different and/or additional systems and methods of providing user input may be used including, for example, a remote control device having different keys and/or key layouts, a keyboard device, a mouse, a voice activated input system, a touch-screen display, etc. The invention described herein is not limited by the type of device used to provide user input.
-
FIGS. 4-8 depict non-limiting examples of screens that may be used for selecting an advertisement or type of advertisement. It should become apparent to one skilled in the art in light of the following descriptions that additional, different, and/or fewer selections screens may be used in an alternative embodiment of the present invention. -
FIG. 4 depicts a non-limiting example of an advertisementcategory selection screen 400 which may be provided in response to user input such as, for example, the activation of the “ADS” key 395 (FIG. 3 ). Anadvertisement category menu 401 includes advertising category options corresponding to categories of products and services that may be advertised via theDHCT 200. Advertising category options may include, for example, clothes, food, restaurants, hotels, airlines, softdrinks, cars & trucks, stores, beer, TV programs, movies, electronics, baby products, and toys (among others). In another embodiment of the invention, a television advertisementcategory selection menu 401 may contain fewer, additional, or different advertisement category options such as, for example, make-up, kitchen products, household products, furniture, health products, and VOD movies, etc. The advertisement category options may be used to determine user preferences regarding advertisements. A user may use the arrow keys 310 (FIG. 3 ) in order to highlight an option or to access additional options by scrolling up or down the advertisement category menu. Theselect key 320 may be used to select a currently highlighted option. An advertisement category option that is selected from the television advertisement category menu is added to anactive selection list 403. After the user selects the desired advertisement categories, the user can provide additional input via theremote control 300 in order to confirm the selections. Such input may be provided via, for example, activation of the “A” key 371 (FIG. 3 ). User selections of on-screen options shown in other screen depictions may also be performed in a similar manner. However, the selection of any of the on-screen options discussed herein may alternatively be performed in a different manner including for example, the use of different user input devices. -
FIG. 5 depicts a non-limiting example of an advertisementsub-category selection screen 500 which may, in one embodiment, be provided in response to the selection of an advertisement category via the advertisement category selection screen 400 (FIG. 4 ). Anadvertisement sub-category menu 501 includes advertising sub-category options corresponding to the user selected category which, in this example, is “Cars and Trucks” 402 (FIG. 4 ). In one embodiment, if a user had selected multiple categories via thecategory selection screen 400, then the sub-category menu may include options corresponding to respective sub-categories. In an alternative embodiment, the user may be provided with multiple sub-category menus in succession, where each sub-category menu corresponds to one of the multiple categories that were selected via thecategory selection screen 400. Advertisement sub-category options may be used to determine user preferences in relation to a specific category of advertisements (e.g., cars and trucks). Advertisement sub-category options corresponding to the cars andtrucks category 402 may include, for example, SUV, pick-up, minivan, luxury, economy, sports, and family. A user may provide user input in order to select one or more sub-categories form thesub-category menu 501. -
FIG. 6 depicts a non-limiting example of an advertisementsource selection screen 600 which may be provided in response to the selection of an advertisement sub-category via the advertisement sub-category selection screen 500 (FIG. 5 ). In an alternative embodiment, the advertisementsource selection screen 600 may be provided in response to the selection of the cars andtrucks option 402 via the advertisement category selection screen 400 (FIG. 4 ). Anadvertisement source menu 601 includes advertising source options corresponding to the user selected sub-category which, in this example, is luxury (cars & trucks) 502 (FIG. 5 ). Advertisement source options may be used to determine user preferences in relation to a source or name-brand for a certain type of products. Advertising source options corresponding to the luxury cars andtrucks option 502 may include, for example, Infinity, Lexus, Volvo, Acura, Audi, BMW, and Cadillac, among others. -
FIG. 7 depicts a non-limiting example of a productpreference selection screen 700 which may be provided in response to the selection of an advertisement source option via the advertisement source selection screen 600 (FIG. 6 ). Aproduct preference menu 701 includes product preference options corresponding to the user selected advertisement source which, in this example, is Acura 602 (FIG. 6 ). Product preference options may be used to determine user preferences in relation to a specific product. Product preference options corresponding to theAcura option 602 may include, for example, the following Acura models: Integra, MDX, NSX, CL, and Legend. -
FIG. 8 depicts a non-limiting example of anadvertisement selection screen 800 which may be provided during a television presentation. The television presentation may be, for example, a television program, a video-on-demand presentation, or a pay-per-view presentation. In one embodiment, theadvertisement selection screen 800 may be provided to a user in response to a specified user input such as, for example, the activation of the “ADS” key 395 (FIG. 3 ). Anadvertisement menu 801 includes advertisement options corresponding to products and services that may be advertised via theDHCT 200. A user may select an advertisement option in order to be presented with a corresponding advertisement. In one embodiment, a user may select several advertisements options before being presented the corresponding advertisements. This may achieved by, for example, providing the user with feedback that identifies the options that are currently selected. The feedback may be in the form of an icon, a background color, and/or text that is associated with a selected option. After selecting the desired advertisement options, the user may then provide input that initiates the presentation of the selected advertisements. In another embodiment of the invention, a value is associated with each of the advertisements. The value of an advertisement may be identified via an icon, a background color, and/or text that is associated with advertisement option. A user may be required to view, over a certain period of time, a number of advertisements that have a certain total value. Alternatively, a user may be rewarded for viewing advertisements having a relatively high total value by being presented with shorter and/or fewer advertisements and/or advertisement interruptions. -
FIG. 9 is aflow chart 900 depicting a non-limiting example of steps for tracking the presentation of advertisements in accordance with one embodiment of the invention. Instep 901, theDHCT 200 outputs an advertisement. Then, instep 902, theDHCT 200 determines whether the advertisement has been or is being viewed. The determination may be based on viewer input that is solicited by theDHCT 200 during, before, and/or after the presentation of the advertisement. In another embodiment, the determination may be based on whether the television is turned on during the presentation of the advertisement. A television may be determined to be turned on if, for example, certain user input related to the operation of the television (e.g., volume control, channel navigation, among others) had been received by theDHCT 200 within a preceding predetermined period of time. In yet another embodiment,step 902 is not implemented, and step 903 is performed afterstep 901. - After the
DHCT 200 determines whether an advertisement has been or is being viewed, then theDHCT 200 instep 903 updates an advertisement tracking database accordingly. The advertising tracking database keeps track of the number, value, type and/or identity of the advertisements that were viewed by a household, and may be used to determine which advertisements to present to a user. For example, if an advertisement is viewed more than a certain number of times by a certain household, then it would no longer be presented by aDHCT 200 to that household. -
FIG. 10 is flow chart depicting a non-limiting example of a routine 1000 that may be used to determine a number of advertisements that are presented to a user. The routine 1000 may be part of theadvertisement management application 225. After the routine 1000 is initiated instep 1001, the routine 1000 determines instep 1002 whether an advertisement tracking score is greater than a predetermined value. The advertisement tracking score reflects a value associated with advertisements that have been presented to a user over a certain time period immediately prior to the implementation ofstep 1002, and may be determined using an advertisement tracking database. If the score is greater that a predetermined value, then the routine 1000 terminates as indicated instep 1003. However, if the score is not greater than a the predetermined value, then the routine 1000 initiates instep 1004 the presentation of an advertisement. In one embodiment, the advertisement may be selected in accordance with previously determined user preferences. After the routine 1000 initiates the presentation of the advertisement, then the routine 1000, instep 1005 updates an advertisement tracking database based on the value that is associated with the advertisement that was presented to the user. In an alternative embodiment, the database is only updated if the routine 1000 determines that the advertisement was viewed. Such a determination may be based on, for example, whether certain user input was received during the presentation of the advertisement or whether the television was turned on. Afterstep 1005, the routine 1000 then returns to step 1002 and determines once again whether the advertisement tracking score is greater than the predetermined value. -
FIG. 11 is aflow chart 1100 depicting a non-limiting example of steps for providing a user with advertisements in accordance with one embodiment of the invention. Instep 1101, theDHCT 200 provides the user with an advertisement selection menu. The advertisement selection menu may be provided during the provision of a video presentation (e.g. a television program or a VOD movie) or in response to user input requesting the menu. The menu may have selections that identify specific advertisements or that identify types of products, services, and/or their sources, as discussed above in reference toFIGS. 4-8 . Instep 902 theDHCT 200 receives user input identifying one or more selections from the advertisement selection menu. After theDHCT 200 receives the user input, it provides the user with one or more advertisements that correspond to advertisement selection(s) identified by the user input. In one embodiment of the invention, an advertisement corresponding to a user selection is provided immediately after the advertisement selection process is complete. In another embodiment of the invention, the user selection(s) is/are used to determine the advertisements that are intermittently presented to the user over an extended period of time. - Steps or blocks shown in each of the flow charts illustrated in
FIGS. 9-11 represent modules, segments, or portions of code which include one or more executable instructions for implementing specific logical functions or steps in a process. Alternate implementations are included within the scope of the preferred embodiments of the present invention in which functions or steps may be executed out of order from that shown or discussed, including substantially concurrently or in reverse order, depending on the functionality involved, as would be understood by those reasonably skilled in the art. - It will be appreciated by those skilled in the art that the functionality provided by each of the flow charts illustrated in
FIGS. 9-11 can also be implemented through hardware and supporting circuitry. Each implementation has its advantages, however. For example, hardware enjoys a speed and, arguably, a reliability advantage over software because hardware testing and verification methods are currently more advanced than software verification methods. On the other hand, software can be less expensive than customized hardware and offers greater flexibility in adding or modifying product features. It will be also be appreciated by those skilled in the art that the functionality provided by each of the flow charts illustrated inFIGS. 9-11 may be implemented in a combination of software and hardware. - Further, the functionality provided by each of the flow charts illustrated in
FIGS. 9-11 , can be embodied in any computer-readable medium for use by or in connection with a computer-related system (e.g., an embedded system such as a modem) or method. In this context of this document, a computer-readable medium is an electronic, magnetic, optical, semiconductor, or other physical device or means that can contain or store a computer program or data for use by or in connection with a computer-related system or method. Also, the computer program or data may be transferred to another computer-readable medium by any suitable process such as by scanning the computer-readable medium. Thus, the computer-readable medium could be paper or other suitable medium upon which the computer program can be printed, scanned with an optical scanning device, and transferred into the computer's memory or storage. - It should be emphasized that the above-described embodiments of the present invention, particularly any “preferred embodiments”, are merely possible examples, among others, of the implementations, setting forth a clear understanding of the principles of the invention. Many variations and modifications may be made to the above-described embodiments of the invention without departing substantially from the principles of the invention. All such modifications and variations are intended to be included herein within the scope of the disclosure and present invention and protected by the following claims. In addition, the scope of the present invention includes embodying the functionality of the preferred embodiments of the present invention in logic embodied in hardware and/or software-configured mediums.
Claims (20)
Priority Applications (1)
| Application Number | Priority Date | Filing Date | Title |
|---|---|---|---|
| US11/963,945 US20080098422A1 (en) | 2002-02-11 | 2007-12-24 | Triggering of Television Advertisements |
Applications Claiming Priority (2)
| Application Number | Priority Date | Filing Date | Title |
|---|---|---|---|
| US10/073,842 US7334251B2 (en) | 2002-02-11 | 2002-02-11 | Management of television advertising |
| US11/963,945 US20080098422A1 (en) | 2002-02-11 | 2007-12-24 | Triggering of Television Advertisements |
Related Parent Applications (1)
| Application Number | Title | Priority Date | Filing Date |
|---|---|---|---|
| US10/073,842 Division US7334251B2 (en) | 2002-02-11 | 2002-02-11 | Management of television advertising |
Publications (1)
| Publication Number | Publication Date |
|---|---|
| US20080098422A1 true US20080098422A1 (en) | 2008-04-24 |
Family
ID=27659773
Family Applications (14)
| Application Number | Title | Priority Date | Filing Date |
|---|---|---|---|
| US10/073,842 Expired - Lifetime US7334251B2 (en) | 2002-02-11 | 2002-02-11 | Management of television advertising |
| US10/934,253 Expired - Fee Related US8745656B2 (en) | 2002-02-11 | 2004-09-03 | Tracking of presented television advertisements |
| US11/963,942 Abandoned US20080098421A1 (en) | 2002-02-11 | 2007-12-24 | User Preference Television Advertising |
| US11/963,951 Abandoned US20080104637A1 (en) | 2002-02-11 | 2007-12-24 | Selective Advertising Presentations |
| US11/963,945 Abandoned US20080098422A1 (en) | 2002-02-11 | 2007-12-24 | Triggering of Television Advertisements |
| US12/372,979 Abandoned US20090158310A1 (en) | 2002-02-11 | 2009-02-18 | System and method for assessing viewing status of television advertisement |
| US12/389,774 Abandoned US20090158333A1 (en) | 2002-02-11 | 2009-02-20 | Enabling Advertisements in Designated Periods of a Recurring Schedule |
| US12/389,777 Abandoned US20090158334A1 (en) | 2002-02-11 | 2009-02-20 | Characterization of Advertisements into Selectable Subcategories |
| US12/390,420 Abandoned US20090158363A1 (en) | 2002-02-11 | 2009-02-21 | Management and Processing of Electronic Advertisement Information |
| US12/390,418 Abandoned US20090158355A1 (en) | 2002-02-11 | 2009-02-21 | Configuration and Selection of Advertisements by Product Name Brands |
| US12/390,419 Abandoned US20090158356A1 (en) | 2002-02-11 | 2009-02-21 | System and Method for Conveyance of Preferred Advertisement Categories |
| US12/390,421 Abandoned US20090158319A1 (en) | 2002-02-11 | 2009-02-21 | TV Advertisements Download Management |
| US12/390,422 Abandoned US20090158335A1 (en) | 2002-02-11 | 2009-02-21 | Interactive Consumption of Advertisements with Respectively Value Levels |
| US14/294,624 Abandoned US20140282701A1 (en) | 2002-02-11 | 2014-06-03 | Enabling Advertisements in Designated Periods of a Recurring Schedule |
Family Applications Before (4)
| Application Number | Title | Priority Date | Filing Date |
|---|---|---|---|
| US10/073,842 Expired - Lifetime US7334251B2 (en) | 2002-02-11 | 2002-02-11 | Management of television advertising |
| US10/934,253 Expired - Fee Related US8745656B2 (en) | 2002-02-11 | 2004-09-03 | Tracking of presented television advertisements |
| US11/963,942 Abandoned US20080098421A1 (en) | 2002-02-11 | 2007-12-24 | User Preference Television Advertising |
| US11/963,951 Abandoned US20080104637A1 (en) | 2002-02-11 | 2007-12-24 | Selective Advertising Presentations |
Family Applications After (9)
| Application Number | Title | Priority Date | Filing Date |
|---|---|---|---|
| US12/372,979 Abandoned US20090158310A1 (en) | 2002-02-11 | 2009-02-18 | System and method for assessing viewing status of television advertisement |
| US12/389,774 Abandoned US20090158333A1 (en) | 2002-02-11 | 2009-02-20 | Enabling Advertisements in Designated Periods of a Recurring Schedule |
| US12/389,777 Abandoned US20090158334A1 (en) | 2002-02-11 | 2009-02-20 | Characterization of Advertisements into Selectable Subcategories |
| US12/390,420 Abandoned US20090158363A1 (en) | 2002-02-11 | 2009-02-21 | Management and Processing of Electronic Advertisement Information |
| US12/390,418 Abandoned US20090158355A1 (en) | 2002-02-11 | 2009-02-21 | Configuration and Selection of Advertisements by Product Name Brands |
| US12/390,419 Abandoned US20090158356A1 (en) | 2002-02-11 | 2009-02-21 | System and Method for Conveyance of Preferred Advertisement Categories |
| US12/390,421 Abandoned US20090158319A1 (en) | 2002-02-11 | 2009-02-21 | TV Advertisements Download Management |
| US12/390,422 Abandoned US20090158335A1 (en) | 2002-02-11 | 2009-02-21 | Interactive Consumption of Advertisements with Respectively Value Levels |
| US14/294,624 Abandoned US20140282701A1 (en) | 2002-02-11 | 2014-06-03 | Enabling Advertisements in Designated Periods of a Recurring Schedule |
Country Status (4)
| Country | Link |
|---|---|
| US (14) | US7334251B2 (en) |
| EP (1) | EP1486062A4 (en) |
| CA (1) | CA2475723C (en) |
| WO (1) | WO2003069898A1 (en) |
Cited By (24)
| Publication number | Priority date | Publication date | Assignee | Title |
|---|---|---|---|---|
| US20090072933A1 (en) * | 2004-11-19 | 2009-03-19 | Abb Services S.R.I | Automatic circuit breaker with tripping device activated by a movable contact |
| US20090158363A1 (en) * | 2002-02-11 | 2009-06-18 | Rodriguez Arturo A | Management and Processing of Electronic Advertisement Information |
| US20090170778A1 (en) * | 2005-02-04 | 2009-07-02 | Pfizer Inc. | PYY Agonists and Uses Thereof |
| US20090210899A1 (en) * | 2008-02-19 | 2009-08-20 | Marc Lawrence-Apfelbaum | Methods and apparatus for enhanced advertising and promotional delivery in a network |
| US7934232B1 (en) | 2000-05-04 | 2011-04-26 | Jerding Dean F | Navigation paradigm for access to television services |
| US7962370B2 (en) | 2000-06-29 | 2011-06-14 | Rodriguez Arturo A | Methods in a media service system for transaction processing |
| US7961643B2 (en) | 2005-09-07 | 2011-06-14 | Mcdonald James F | Optimizing data rates for video services to a subscriber |
| US7975277B1 (en) | 2000-04-03 | 2011-07-05 | Jerding Dean F | System for providing alternative services |
| US7992163B1 (en) | 1999-06-11 | 2011-08-02 | Jerding Dean F | Video-on-demand navigational system |
| US8006273B2 (en) | 2001-06-29 | 2011-08-23 | Rodriguez Arturo A | Updating download options for unavailable media content |
| US8006262B2 (en) | 2001-06-29 | 2011-08-23 | Rodriguez Arturo A | Graphic user interfaces for purchasable and recordable media (PRM) downloads |
| US8020184B2 (en) | 1999-06-11 | 2011-09-13 | Jerding Dean F | Channel control system for exiting from an interactive program guide |
| US8032914B2 (en) | 2000-11-10 | 2011-10-04 | Rodriguez Arturo A | Systems and methods for dynamically allocating bandwidth in a digital broadband delivery system |
| US8037504B2 (en) | 1999-06-11 | 2011-10-11 | Jerding Dean F | Video on demand system with selectable options of configurable random-access control |
| US8069259B2 (en) | 2000-06-09 | 2011-11-29 | Rodriguez Arturo A | Managing removal of media titles from a list |
| US8161388B2 (en) | 2004-01-21 | 2012-04-17 | Rodriguez Arturo A | Interactive discovery of display device characteristics |
| US8191093B2 (en) | 2001-06-29 | 2012-05-29 | Rodriguez Arturo A | Providing information pertaining to audio-visual and personal bi-directional services |
| US8516525B1 (en) | 2000-06-09 | 2013-08-20 | Dean F. Jerding | Integrated searching system for interactive media guide |
| US8640172B2 (en) | 2001-06-29 | 2014-01-28 | Cisco Technology, Inc. | System and method for characterization of purchasable and recordable media (PRM) |
| US8707153B2 (en) | 2000-06-09 | 2014-04-22 | Cisco Technology, Inc. | Displaying comment data corresponding to a video presentation |
| US9832246B2 (en) | 2006-05-24 | 2017-11-28 | Time Warner Cable Enterprises Llc | Personal content server apparatus and methods |
| US10129576B2 (en) | 2006-06-13 | 2018-11-13 | Time Warner Cable Enterprises Llc | Methods and apparatus for providing virtual content over a network |
| US11076203B2 (en) | 2013-03-12 | 2021-07-27 | Time Warner Cable Enterprises Llc | Methods and apparatus for providing and uploading content to personalized network storage |
| US11082723B2 (en) | 2006-05-24 | 2021-08-03 | Time Warner Cable Enterprises Llc | Secondary content insertion apparatus and methods |
Families Citing this family (194)
| Publication number | Priority date | Publication date | Assignee | Title |
|---|---|---|---|---|
| CN1867068A (en) | 1998-07-14 | 2006-11-22 | 联合视频制品公司 | Client-server based interactive television program guide system with remote server recording |
| US7150031B1 (en) * | 2000-06-09 | 2006-12-12 | Scientific-Atlanta, Inc. | System and method for reminders of upcoming rentable media offerings |
| US6986156B1 (en) * | 1999-06-11 | 2006-01-10 | Scientific Atlanta, Inc | Systems and methods for adaptive scheduling and dynamic bandwidth resource allocation management in a digital broadband delivery system |
| US20060059525A1 (en) * | 1999-12-13 | 2006-03-16 | Jerding Dean F | Media services window configuration system |
| JP2003526286A (en) * | 2000-03-02 | 2003-09-02 | サイエンティフィック−アトランタ, インコーポレイテッド | Apparatus and method for providing a plurality of interactive program guide initial arrangements |
| US20020007485A1 (en) * | 2000-04-03 | 2002-01-17 | Rodriguez Arturo A. | Television service enhancements |
| US20070078552A1 (en) * | 2006-01-13 | 2007-04-05 | Outland Research, Llc | Gaze-based power conservation for portable media players |
| US8127326B2 (en) | 2000-11-14 | 2012-02-28 | Claussen Paul J | Proximity detection using wireless connectivity in a communications system |
| WO2002047388A2 (en) * | 2000-11-14 | 2002-06-13 | Scientific-Atlanta, Inc. | Networked subscriber television distribution |
| US20020178445A1 (en) * | 2001-04-03 | 2002-11-28 | Charles Eldering | Subscriber selected advertisement display and scheduling |
| CA2348353A1 (en) | 2001-05-22 | 2002-11-22 | Marc Arseneau | Local broadcast system |
| US7516470B2 (en) * | 2002-08-02 | 2009-04-07 | Cisco Technology, Inc. | Locally-updated interactive program guide |
| US20040068752A1 (en) * | 2002-10-02 | 2004-04-08 | Parker Leslie T. | Systems and methods for providing television signals to multiple televisions located at a customer premises |
| US20040068754A1 (en) * | 2002-10-02 | 2004-04-08 | Russ Samuel H. | Expandable tuning capability |
| US7908625B2 (en) | 2002-10-02 | 2011-03-15 | Robertson Neil C | Networked multimedia system |
| US20040133911A1 (en) * | 2002-10-04 | 2004-07-08 | Russ Samuel H. | Subscriber network in a satellite system |
| US7545935B2 (en) * | 2002-10-04 | 2009-06-09 | Scientific-Atlanta, Inc. | Networked multimedia overlay system |
| US7360235B2 (en) * | 2002-10-04 | 2008-04-15 | Scientific-Atlanta, Inc. | Systems and methods for operating a peripheral record/playback device in a networked multimedia system |
| US8046806B2 (en) * | 2002-10-04 | 2011-10-25 | Wall William E | Multiroom point of deployment module |
| US20050155052A1 (en) * | 2002-10-04 | 2005-07-14 | Barbara Ostrowska | Parental control for a networked multiroom system |
| US20040068739A1 (en) * | 2002-10-04 | 2004-04-08 | Russ Samuel H. | Networked multimedia system having a multi-room interactive network guide |
| US8893174B2 (en) * | 2002-12-16 | 2014-11-18 | Centurylink Intellectual Property Llc | Method and system for providing customized media content |
| US7487532B2 (en) | 2003-01-15 | 2009-02-03 | Cisco Technology, Inc. | Optimization of a full duplex wideband communications system |
| US8094640B2 (en) * | 2003-01-15 | 2012-01-10 | Robertson Neil C | Full duplex wideband communications system for a local coaxial network |
| JP4482380B2 (en) * | 2003-06-19 | 2010-06-16 | パナソニック株式会社 | Viewing control device, viewing control program, secure module |
| US7206411B2 (en) | 2003-06-25 | 2007-04-17 | Wegener Communications, Inc. | Rapid decryption of data by key synchronization and indexing |
| US7185187B2 (en) * | 2003-09-11 | 2007-02-27 | Wegener Communications, Inc. | Protected dual purpose power/enter switch apparatus and method |
| US20050060754A1 (en) * | 2003-09-17 | 2005-03-17 | Wegener Communications, Inc. | Apparatus and method for distributed control of media dissemination |
| US20070121845A1 (en) * | 2003-10-06 | 2007-05-31 | Utbk, Inc. | Methods and apparatuses for offline selection of pay-per-call advertisers via visual advertisements |
| US8837698B2 (en) * | 2003-10-06 | 2014-09-16 | Yp Interactive Llc | Systems and methods to collect information just in time for connecting people for real time communications |
| US9203974B2 (en) * | 2003-10-06 | 2015-12-01 | Yellowpages.Com Llc | Methods and apparatuses for offline selection of pay-per-call advertisers |
| EP1685711A1 (en) * | 2003-11-10 | 2006-08-02 | Koninklijke Philips Electronics N.V. | Inserting commercials in time-shifted broadcast content |
| US7966218B1 (en) * | 2004-06-08 | 2011-06-21 | Time Warner, Inc | Apparatus, method and system for broadcast content expiration after recorded by a user |
| JP2008505518A (en) * | 2004-06-30 | 2008-02-21 | コーニンクレッカ フィリップス エレクトロニクス エヌ ヴィ | Method and apparatus for supporting navigation by commercial users |
| US20060013556A1 (en) * | 2004-07-01 | 2006-01-19 | Thomas Poslinski | Commercial information and guide |
| US20060013557A1 (en) * | 2004-07-01 | 2006-01-19 | Thomas Poslinski | Suppression of trick modes in commercial playback |
| US20060013554A1 (en) * | 2004-07-01 | 2006-01-19 | Thomas Poslinski | Commercial storage and retrieval |
| US7590997B2 (en) | 2004-07-30 | 2009-09-15 | Broadband Itv, Inc. | System and method for managing, converting and displaying video content on a video-on-demand platform, including ads used for drill-down navigation and consumer-generated classified ads |
| US11259059B2 (en) * | 2004-07-30 | 2022-02-22 | Broadband Itv, Inc. | System for addressing on-demand TV program content on TV services platform of a digital TV services provider |
| US7631336B2 (en) | 2004-07-30 | 2009-12-08 | Broadband Itv, Inc. | Method for converting, navigating and displaying video content uploaded from the internet to a digital TV video-on-demand platform |
| US9584868B2 (en) | 2004-07-30 | 2017-02-28 | Broadband Itv, Inc. | Dynamic adjustment of electronic program guide displays based on viewer preferences for minimizing navigation in VOD program selection |
| US9635429B2 (en) | 2004-07-30 | 2017-04-25 | Broadband Itv, Inc. | Dynamic adjustment of electronic program guide displays based on viewer preferences for minimizing navigation in VOD program selection |
| US9344765B2 (en) | 2004-07-30 | 2016-05-17 | Broadband Itv, Inc. | Dynamic adjustment of electronic program guide displays based on viewer preferences for minimizing navigation in VOD program selection |
| US20060117354A1 (en) * | 2004-11-29 | 2006-06-01 | Mark Schutte | Consolidating video-on-demand (VOD) services with multi-room personal video recording (MR-PVR) services |
| SG10201700044VA (en) * | 2005-01-11 | 2017-02-27 | Content Directions Inc | Apparatuses, methods and systems for integrated, information-engineered and self-improving advertising, e-commerce and online customer interactions |
| US8312489B2 (en) * | 2005-02-23 | 2012-11-13 | Sony Corporation | CM searching method and apparatus, and CM-appendant information supplying method and apparatus |
| US20060194181A1 (en) * | 2005-02-28 | 2006-08-31 | Outland Research, Llc | Method and apparatus for electronic books with enhanced educational features |
| US20070143776A1 (en) * | 2005-03-01 | 2007-06-21 | Russ Samuel H | Viewer data collection in a multi-room network |
| US20060218581A1 (en) * | 2005-03-01 | 2006-09-28 | Barbara Ostrowska | Interactive network guide with parental monitoring |
| US7734471B2 (en) * | 2005-03-08 | 2010-06-08 | Microsoft Corporation | Online learning for dialog systems |
| US8538810B2 (en) * | 2005-03-29 | 2013-09-17 | Google Inc. | Methods and systems for member-created advertisement in a member network |
| US20060222321A1 (en) * | 2005-04-05 | 2006-10-05 | Scientific-Atlanta, Inc. | Trick play resistant ad insertion |
| US20060222319A1 (en) * | 2005-04-05 | 2006-10-05 | Scientific-Atlanta, Inc. | Pre-recorded dvd ad insertion |
| US20060222335A1 (en) * | 2005-04-05 | 2006-10-05 | Scientific-Atlanta, Inc | Dvd recording of tuned source with ad inwertion |
| US20060225105A1 (en) * | 2005-04-05 | 2006-10-05 | Scientific-Atlanta, Inc. | Networked multi-room system ad insertion |
| KR101171180B1 (en) * | 2005-07-15 | 2012-08-20 | 삼성전자주식회사 | Liquid crystal display |
| CN102710976B (en) | 2005-07-22 | 2014-12-10 | 袋鼠传媒股份有限公司 | System and methods for enhancing the experience of spectators attending a live sporting event |
| US8042140B2 (en) | 2005-07-22 | 2011-10-18 | Kangaroo Media, Inc. | Buffering content on a handheld electronic device |
| US7438414B2 (en) * | 2005-07-28 | 2008-10-21 | Outland Research, Llc | Gaze discriminating electronic control apparatus, system, method and computer program product |
| JP4702743B2 (en) * | 2005-09-13 | 2011-06-15 | 株式会社ソニー・コンピュータエンタテインメント | Content display control apparatus and content display control method |
| US7876998B2 (en) | 2005-10-05 | 2011-01-25 | Wall William E | DVD playback over multi-room by copying to HDD |
| US20070094687A1 (en) * | 2005-10-21 | 2007-04-26 | Michael Russell | Method for selective advertisement recording and playback |
| US20070003913A1 (en) * | 2005-10-22 | 2007-01-04 | Outland Research | Educational verbo-visualizer interface system |
| US7429108B2 (en) * | 2005-11-05 | 2008-09-30 | Outland Research, Llc | Gaze-responsive interface to enhance on-screen user reading tasks |
| US20070040033A1 (en) * | 2005-11-18 | 2007-02-22 | Outland Research | Digital mirror system with advanced imaging features and hands-free control |
| US9269088B2 (en) * | 2005-11-23 | 2016-02-23 | Cable Television Laboratories, Inc. | Method and system of advertising |
| US8321889B2 (en) * | 2006-03-08 | 2012-11-27 | Kamfu Wong | Method and system for personalized and localized TV ad delivery |
| US9037482B2 (en) * | 2006-03-16 | 2015-05-19 | Opentv, Inc. | Method and system for optimizing the viewing of advertising |
| US8423408B1 (en) | 2006-04-17 | 2013-04-16 | Sprint Communications Company L.P. | Dynamic advertising content distribution and placement systems and methods |
| US7626572B2 (en) * | 2006-06-15 | 2009-12-01 | Microsoft Corporation | Soap mobile electronic human interface device |
| US20070300273A1 (en) * | 2006-06-21 | 2007-12-27 | Gary Turner | Interactive television application and content enhancement |
| US10410237B1 (en) | 2006-06-26 | 2019-09-10 | Sprint Communications Company L.P. | Inventory management integrating subscriber and targeting data |
| US10269023B1 (en) * | 2006-06-30 | 2019-04-23 | Amdocs Development Limited | Profile-based system, method and computer program product for providing advertisements with a plurality of invoices |
| US8442858B1 (en) | 2006-07-21 | 2013-05-14 | Sprint Communications Company L.P. | Subscriber data insertion into advertisement requests |
| US20080066107A1 (en) | 2006-09-12 | 2008-03-13 | Google Inc. | Using Viewing Signals in Targeted Video Advertising |
| US20080127246A1 (en) * | 2006-09-14 | 2008-05-29 | Nortel Networks Limited | Digital media recorder based advertising |
| US20080092193A1 (en) * | 2006-10-17 | 2008-04-17 | The Video Load, Llc | Methods and systems for creating video files for a mobile device |
| US20080115161A1 (en) * | 2006-10-30 | 2008-05-15 | Google Inc. | Delivering user-selected video advertisements |
| US10664851B1 (en) | 2006-11-08 | 2020-05-26 | Sprint Communications Company, L.P. | Behavioral analysis engine for profiling wireless subscribers |
| US10068261B1 (en) | 2006-11-09 | 2018-09-04 | Sprint Communications Company L.P. | In-flight campaign optimization |
| WO2008082891A2 (en) * | 2006-12-29 | 2008-07-10 | Echostar Technologies Corporation | Incremental transmission of data |
| US20080165195A1 (en) * | 2007-01-06 | 2008-07-10 | Outland Research, Llc | Method, apparatus, and software for animated self-portraits |
| TW200832319A (en) * | 2007-01-26 | 2008-08-01 | Tpo Displays Corp | Display device and luminance control method |
| US8352980B2 (en) * | 2007-02-15 | 2013-01-08 | At&T Intellectual Property I, Lp | System and method for single sign on targeted advertising |
| US9098868B1 (en) | 2007-03-20 | 2015-08-04 | Qurio Holdings, Inc. | Coordinating advertisements at multiple playback devices |
| US8756103B1 (en) * | 2007-03-28 | 2014-06-17 | Qurio Holdings, Inc. | System and method of implementing alternative redemption options for a consumer-centric advertising system |
| US20080244654A1 (en) * | 2007-03-29 | 2008-10-02 | Verizon Laboratories Inc. | System and Method for Providing a Directory of Advertisements |
| US20080244645A1 (en) * | 2007-03-30 | 2008-10-02 | Verizon Laboratories Inc. | Method and system for presenting an updateable non-linear content lineup display |
| WO2008128196A1 (en) * | 2007-04-12 | 2008-10-23 | Onsite Network, Inc. | System and method for converging and displaying high definition video signals |
| US8667532B2 (en) | 2007-04-18 | 2014-03-04 | Google Inc. | Content recognition for targeting video advertisements |
| US20080267589A1 (en) * | 2007-04-27 | 2008-10-30 | Gary Turner | Television bandwidth optimization system and method |
| US8281332B2 (en) * | 2007-05-02 | 2012-10-02 | Google Inc. | Animated video overlays |
| EP2142977A4 (en) | 2007-05-02 | 2010-05-19 | Google Inc | User interfaces for web-based video player |
| KR101366330B1 (en) * | 2007-06-05 | 2014-02-20 | 엘지전자 주식회사 | Method for outputting information and Terminal using this same |
| US8560387B2 (en) * | 2007-06-07 | 2013-10-15 | Qurio Holdings, Inc. | Systems and methods of providing collaborative consumer-controlled advertising environments |
| US20080306999A1 (en) * | 2007-06-08 | 2008-12-11 | Finger Brienne M | Systems and processes for presenting informational content |
| US11570521B2 (en) | 2007-06-26 | 2023-01-31 | Broadband Itv, Inc. | Dynamic adjustment of electronic program guide displays based on viewer preferences for minimizing navigation in VOD program selection |
| US8433611B2 (en) * | 2007-06-27 | 2013-04-30 | Google Inc. | Selection of advertisements for placement with content |
| US9961296B2 (en) * | 2007-08-03 | 2018-05-01 | Adobe Systems Incorporated | Methods and apparatus for mandatory video viewing |
| US8724789B2 (en) * | 2007-08-06 | 2014-05-13 | Yellow Pages | Systems and methods to connect people for real time communications via directory assistance |
| US9064024B2 (en) | 2007-08-21 | 2015-06-23 | Google Inc. | Bundle generation |
| US20090150198A1 (en) * | 2007-12-10 | 2009-06-11 | Yaroslav Volovich | Estimating tv ad impressions |
| US8701136B2 (en) * | 2008-01-07 | 2014-04-15 | Nielsen Company (Us), Llc | Methods and apparatus to monitor, verify, and rate the performance of airings of commercials |
| US20090183199A1 (en) * | 2008-01-10 | 2009-07-16 | James Ivan Stafford | Devices, Systems, and Methods Regarding Advertisement on Demand |
| US9824372B1 (en) | 2008-02-11 | 2017-11-21 | Google Llc | Associating advertisements with videos |
| US8578408B2 (en) | 2008-03-10 | 2013-11-05 | Hulu, LLC | Method and apparatus for providing directed advertising based on user preferences |
| WO2012047666A1 (en) | 2010-09-27 | 2012-04-12 | Hulu Llc | Method and apparatus for user selection of advertising combinations |
| WO2012047671A1 (en) | 2010-09-27 | 2012-04-12 | Hulu Llc | Method and apparatus for interrupting an advertisement and the substitution of alternate advertisement |
| WO2012047659A1 (en) | 2010-09-27 | 2012-04-12 | Hulu Llc | Method and apparatus for providing directed advertising based on user preferences |
| US20090249388A1 (en) * | 2008-04-01 | 2009-10-01 | Microsoft Corporation | Confirmation of Advertisement Viewing |
| US20090265733A1 (en) * | 2008-04-18 | 2009-10-22 | General Instrument Corporation | Method and apparatus for providing targeted advertising during the presentation of sdv programming |
| US8887194B2 (en) * | 2008-06-19 | 2014-11-11 | Verizon Patent And Licensing Inc. | Method and system for providing interactive advertisement customization |
| US20100014825A1 (en) * | 2008-07-18 | 2010-01-21 | Porto Technology, Llc | Use of a secondary device to overlay disassociated media elements onto video content |
| US20100061709A1 (en) * | 2008-09-05 | 2010-03-11 | Davender Agnihotri | Ad Menu for skipped advertisements |
| US10334324B2 (en) | 2008-11-26 | 2019-06-25 | Free Stream Media Corp. | Relevant advertisement generation based on a user operating a client device communicatively coupled with a networked media device |
| US9519772B2 (en) | 2008-11-26 | 2016-12-13 | Free Stream Media Corp. | Relevancy improvement through targeting of information based on data gathered from a networked device associated with a security sandbox of a client device |
| US10631068B2 (en) | 2008-11-26 | 2020-04-21 | Free Stream Media Corp. | Content exposure attribution based on renderings of related content across multiple devices |
| US10880340B2 (en) | 2008-11-26 | 2020-12-29 | Free Stream Media Corp. | Relevancy improvement through targeting of information based on data gathered from a networked device associated with a security sandbox of a client device |
| US9386356B2 (en) | 2008-11-26 | 2016-07-05 | Free Stream Media Corp. | Targeting with television audience data across multiple screens |
| US9961388B2 (en) | 2008-11-26 | 2018-05-01 | David Harrison | Exposure of public internet protocol addresses in an advertising exchange server to improve relevancy of advertisements |
| US10977693B2 (en) | 2008-11-26 | 2021-04-13 | Free Stream Media Corp. | Association of content identifier of audio-visual data with additional data through capture infrastructure |
| US9154942B2 (en) | 2008-11-26 | 2015-10-06 | Free Stream Media Corp. | Zero configuration communication between a browser and a networked media device |
| US8180891B1 (en) | 2008-11-26 | 2012-05-15 | Free Stream Media Corp. | Discovery, access control, and communication with networked services from within a security sandbox |
| US9026668B2 (en) | 2012-05-26 | 2015-05-05 | Free Stream Media Corp. | Real-time and retargeted advertising on multiple screens of a user watching television |
| US9986279B2 (en) | 2008-11-26 | 2018-05-29 | Free Stream Media Corp. | Discovery, access control, and communication with networked services |
| US10419541B2 (en) | 2008-11-26 | 2019-09-17 | Free Stream Media Corp. | Remotely control devices over a network without authentication or registration |
| US10567823B2 (en) | 2008-11-26 | 2020-02-18 | Free Stream Media Corp. | Relevant advertisement generation based on a user operating a client device communicatively coupled with a networked media device |
| US20100162289A1 (en) * | 2008-12-22 | 2010-06-24 | General Instrument Corporation | Method and apparatus for providing subscriber incentives to view advertising that accompanies programming content delivered over a content delivery system |
| US8929719B2 (en) * | 2009-01-02 | 2015-01-06 | Harris Technology, Llc | Frame correlating content determination |
| US8307390B2 (en) | 2009-02-26 | 2012-11-06 | Comcast Cable Communications, Llc | Re-addressable alternate content |
| US20100218208A1 (en) * | 2009-02-26 | 2010-08-26 | Comcast Cable Communications, Llc | Method and Apparatus for Generating Alternative Commercials |
| US20110137734A1 (en) * | 2009-12-04 | 2011-06-09 | Mykalai Kontilai | Methods of Branding Through Educational Media and Related Computer & Software Platforms |
| US9152708B1 (en) | 2009-12-14 | 2015-10-06 | Google Inc. | Target-video specific co-watched video clusters |
| US20110153426A1 (en) * | 2009-12-17 | 2011-06-23 | Pushlife Inc. | Mobile device advertising |
| US20110179448A1 (en) * | 2010-01-15 | 2011-07-21 | Jeyhan Karaoguz | System and method for providing user specification of advertising content |
| US9237294B2 (en) * | 2010-03-05 | 2016-01-12 | Sony Corporation | Apparatus and method for replacing a broadcasted advertisement based on both heuristic information and attempts in altering the playback of the advertisement |
| US20110219399A1 (en) * | 2010-03-05 | 2011-09-08 | Sony Corporation | Apparatus and method for registering and the subsequent selection of user selected advertisement during playback |
| US20110219400A1 (en) * | 2010-03-05 | 2011-09-08 | Sony Corporation | Apparatus and method for replacing a broadcasted advertisement in response to an attempt by the viewer to skip or fast-forward through the advertisement |
| US20110219402A1 (en) * | 2010-03-05 | 2011-09-08 | Sony Corporation | Apparatus and method for replacing a broadcasted advertisement based on heuristic information |
| US8671423B1 (en) * | 2010-06-07 | 2014-03-11 | Purplecomm Inc. | Method for monitoring and controlling viewing preferences of a user |
| US20120022946A1 (en) * | 2010-07-24 | 2012-01-26 | Yang Pan | Hierarchical User Interface of a Computing Device For Determining Interest Level of a User in Categories of Advertisement |
| KR20120060134A (en) * | 2010-08-16 | 2012-06-11 | 삼성전자주식회사 | Method and apparatus for reproducing advertisement |
| WO2012039696A1 (en) | 2010-09-21 | 2012-03-29 | Echostar Ukraine, L.L.C. | Interactive advertisement |
| EP2622558A4 (en) | 2010-09-27 | 2015-07-01 | Hulu Llc | Method and apparatus for providing user information to improve advertising experience |
| US9832528B2 (en) | 2010-10-21 | 2017-11-28 | Sony Corporation | System and method for merging network-based content with broadcasted programming content |
| EP2645731B8 (en) * | 2010-11-24 | 2019-04-17 | LG Electronics Inc. | Video display device and method of controlling the same |
| US20120143696A1 (en) * | 2010-12-07 | 2012-06-07 | Kaushik Sudhir | User based selection of advertisements |
| US20120290393A1 (en) * | 2011-05-13 | 2012-11-15 | Mobitv, Inc. | User controlled advertising preferences |
| US20130144725A1 (en) * | 2011-12-02 | 2013-06-06 | General Instrument Corporation | Presenting content to a user in accordance with an agreed upon content-presentation policy |
| US8893167B2 (en) | 2012-02-07 | 2014-11-18 | Turner Broadcasting System, Inc. | Method and system for automatic content recognition based on customized user preferences |
| US20140081758A1 (en) * | 2012-02-29 | 2014-03-20 | Artihove Regina B.V. | Method and apparatus for advertisement distribution |
| US9282346B2 (en) | 2012-12-28 | 2016-03-08 | Turner Broadcasting System, Inc. | Method and system for automatic content recognition (ACR) integration for smartTVs and mobile communication devices |
| US9621960B2 (en) | 2013-03-13 | 2017-04-11 | Echostar Technologies L.L.C. | Majority rule selection of media content |
| US10142700B2 (en) | 2013-03-15 | 2018-11-27 | DISH Technologies L.L.C. | Television service provided social networking service |
| US9699502B1 (en) | 2015-01-16 | 2017-07-04 | Optimized Markets, Inc. | Automated allocation of media campaign assets to time and program in digital media delivery systems |
| US11102545B2 (en) | 2013-03-27 | 2021-08-24 | Optimized Markets, Inc. | Digital media campaign management in digital media delivery systems |
| US9842125B2 (en) * | 2013-04-24 | 2017-12-12 | Atlys, Inc. | Nested media container, panel and organizer |
| US10405173B1 (en) | 2013-06-05 | 2019-09-03 | Sprint Communications Company L.P. | Method and systems of collecting and segmenting device sensor data while in transit via a network |
| US9930404B2 (en) | 2013-06-17 | 2018-03-27 | Echostar Technologies L.L.C. | Event-based media playback |
| US9848249B2 (en) | 2013-07-15 | 2017-12-19 | Echostar Technologies L.L.C. | Location based targeted advertising |
| US9319379B1 (en) | 2013-08-01 | 2016-04-19 | Sprint Communications Company L.P. | Methods and systems of generating a unique mobile device identifier |
| US9590938B1 (en) | 2013-09-11 | 2017-03-07 | Sprint Communications Company L.P. | System and method for identifying a mobile device with near real time visualization to action |
| US9374335B2 (en) | 2013-09-11 | 2016-06-21 | Sprint Communications Company L.P. | System and method for distributing messages to particular mobile devices |
| US10297287B2 (en) | 2013-10-21 | 2019-05-21 | Thuuz, Inc. | Dynamic media recording |
| US9922347B1 (en) | 2013-11-27 | 2018-03-20 | Sprint Communications Company L.P. | Ad management using ads cached on a mobile electronic device |
| US9734515B1 (en) | 2014-01-09 | 2017-08-15 | Sprint Communications Company L.P. | Ad management using ads cached on a mobile electronic device |
| US10055757B1 (en) | 2014-01-21 | 2018-08-21 | Sprint Communications Company L.P. | IP address hashing in advertisement gateway |
| US9984395B1 (en) | 2014-01-21 | 2018-05-29 | Sprint Communications Company L.P. | Advertisement mediation of supply-demand communications |
| US9836771B1 (en) | 2014-01-21 | 2017-12-05 | Sprint Communications Company L.P. | Client mediation and integration to advertisement gateway |
| US10013707B1 (en) | 2014-01-21 | 2018-07-03 | Sprint Communications Company L.P. | Address modification for advertisement mediation |
| US9288551B2 (en) | 2014-06-05 | 2016-03-15 | Echostar Technologies L.L.C. | Systems and methods for viewer-incentivized targeted commercials |
| CA2950427A1 (en) * | 2014-06-05 | 2015-12-10 | Visible World Inc. | Methods, systems, and computer-readable media for determining outcomes for promotional digital on-screen graphics |
| US9912973B2 (en) | 2014-08-07 | 2018-03-06 | Echostar Technologies L.L.C. | Systems and methods for facilitating content discovery based on viewer ratings |
| US9628861B2 (en) | 2014-08-27 | 2017-04-18 | Echostar Uk Holdings Limited | Source-linked electronic programming guide |
| US9402111B2 (en) | 2014-09-17 | 2016-07-26 | Ispot.Tv, Inc. | Television audience measurement method and apparatus |
| US9565474B2 (en) | 2014-09-23 | 2017-02-07 | Echostar Technologies L.L.C. | Media content crowdsource |
| US9508090B1 (en) | 2014-09-24 | 2016-11-29 | Sprint Communications Company L.P. | End user participation in mobile advertisement |
| US10536758B2 (en) | 2014-10-09 | 2020-01-14 | Thuuz, Inc. | Customized generation of highlight show with narrative component |
| US10433030B2 (en) | 2014-10-09 | 2019-10-01 | Thuuz, Inc. | Generating a customized highlight sequence depicting multiple events |
| US10419830B2 (en) | 2014-10-09 | 2019-09-17 | Thuuz, Inc. | Generating a customized highlight sequence depicting an event |
| US11863848B1 (en) | 2014-10-09 | 2024-01-02 | Stats Llc | User interface for interaction with customized highlight shows |
| US9818133B1 (en) | 2014-10-20 | 2017-11-14 | Sprint Communications Company L.P. | Method for consumer profile consolidation using mobile network identification |
| US10432296B2 (en) | 2014-12-31 | 2019-10-01 | DISH Technologies L.L.C. | Inter-residence computing resource sharing |
| BR112017016123A2 (en) * | 2015-01-30 | 2018-04-17 | Inscape Data Inc | correspondence server for identifying video content that is displayed by a television system, computer-performed method, and computer program product concretely incorporated into a permanent machine-read storage medium of a computer device |
| US11818203B2 (en) | 2015-02-05 | 2023-11-14 | Comcast Cable Communications, Llc | Methods for determining second screen content based on data events at primary content output device |
| JP2016189080A (en) * | 2015-03-30 | 2016-11-04 | 東芝テック株式会社 | Signage system and content management method |
| US10306332B2 (en) | 2016-06-14 | 2019-05-28 | DISH Technologies L.L.C. | Use of audio signals to provide interactive content to end users via smart devices |
| CN106507147A (en) * | 2016-11-30 | 2017-03-15 | 天脉聚源(北京)科技有限公司 | The processing method and processing device of advertisement |
| US10701438B2 (en) | 2016-12-31 | 2020-06-30 | Turner Broadcasting System, Inc. | Automatic content recognition and verification in a broadcast chain |
| US11743536B2 (en) | 2017-11-16 | 2023-08-29 | Tuomas W. Sandholm | Digital media campaign management in digital media delivery systems |
| US11373404B2 (en) | 2018-05-18 | 2022-06-28 | Stats Llc | Machine learning for recognizing and interpreting embedded information card content |
| US11264048B1 (en) | 2018-06-05 | 2022-03-01 | Stats Llc | Audio processing for detecting occurrences of loud sound characterized by brief audio bursts |
| US11025985B2 (en) | 2018-06-05 | 2021-06-01 | Stats Llc | Audio processing for detecting occurrences of crowd noise in sporting event television programming |
| EP3957400A1 (en) | 2020-08-17 | 2022-02-23 | Mobbot SA | Nozzle for spraying concrete or similar material, portions of the same and structure manufacturing apparatus using the same |
Citations (95)
| Publication number | Priority date | Publication date | Assignee | Title |
|---|---|---|---|---|
| US4908713A (en) * | 1981-12-14 | 1990-03-13 | Levine Michael R | VCR Programmer |
| US4984152A (en) * | 1987-10-06 | 1991-01-08 | Bell Communications Research, Inc. | System for controlling computer processing utilizing a multifunctional cursor with decoupling of pointer and image functionalities in space and time |
| US4991011A (en) * | 1988-12-23 | 1991-02-05 | Scientific-Atlanta, Inc. | Interactive television terminal with programmable background audio or video |
| US5291554A (en) * | 1992-05-28 | 1994-03-01 | Tv Answer, Inc. | Shared-price custom video rentals via interactive TV |
| US5293357A (en) * | 1990-09-10 | 1994-03-08 | The Superguide Corporation | Method and apparatus for controlling a television program recording device |
| US5398071A (en) * | 1993-11-02 | 1995-03-14 | Texas Instruments Incorporated | Film-to-video format detection for digital television |
| US5481542A (en) * | 1993-11-10 | 1996-01-02 | Scientific-Atlanta, Inc. | Interactive information services control system |
| US5483277A (en) * | 1992-12-15 | 1996-01-09 | Alcatel Network Systems | Simplified set-top converter for broadband switched network |
| US5493638A (en) * | 1993-12-22 | 1996-02-20 | Digital Equipment Corporation | Remote display of an image by transmitting compressed video frames representing back-ground and overlay portions thereof |
| US5592551A (en) * | 1992-12-01 | 1997-01-07 | Scientific-Atlanta, Inc. | Method and apparatus for providing interactive electronic programming guide |
| US5594509A (en) * | 1993-06-22 | 1997-01-14 | Apple Computer, Inc. | Method and apparatus for audio-visual interface for the display of multiple levels of information on a display |
| US5598524A (en) * | 1993-03-03 | 1997-01-28 | Apple Computer, Inc. | Method and apparatus for improved manipulation of data between an application program and the files system on a computer-controlled display system |
| US5600573A (en) * | 1992-12-09 | 1997-02-04 | Discovery Communications, Inc. | Operations center with video storage for a television program packaging and delivery system |
| US5600364A (en) * | 1992-12-09 | 1997-02-04 | Discovery Communications, Inc. | Network controller for cable television delivery systems |
| US5614940A (en) * | 1994-10-21 | 1997-03-25 | Intel Corporation | Method and apparatus for providing broadcast information with indexing |
| US5715515A (en) * | 1992-12-02 | 1998-02-03 | Scientific-Atlanta, Inc. | Method and apparatus for downloading on-screen graphics and captions to a television terminal |
| US5715169A (en) * | 1994-03-07 | 1998-02-03 | Csk Research Institute Corp. | Software rental method and apparatus, and circulating medium therefor |
| US5721829A (en) * | 1995-05-05 | 1998-02-24 | Microsoft Corporation | System for automatic pause/resume of content delivered on a channel in response to switching to and from that channel and resuming so that a portion of the content is repeated |
| US5721827A (en) * | 1996-10-02 | 1998-02-24 | James Logan | System for electrically distributing personalized information |
| US5721897A (en) * | 1996-04-09 | 1998-02-24 | Rubinstein; Seymour I. | Browse by prompted keyword phrases with an improved user interface |
| US5724646A (en) * | 1995-06-15 | 1998-03-03 | International Business Machines Corporation | Fixed video-on-demand |
| US5724106A (en) * | 1995-07-17 | 1998-03-03 | Gateway 2000, Inc. | Hand held remote control device with trigger button |
| US5724521A (en) * | 1994-11-03 | 1998-03-03 | Intel Corporation | Method and apparatus for providing electronic advertisements to end users in a consumer best-fit pricing manner |
| US5727060A (en) * | 1989-10-30 | 1998-03-10 | Starsight Telecast, Inc. | Television schedule system |
| US5729549A (en) * | 1995-03-16 | 1998-03-17 | Bell Atlantic Network Services, Inc. | Simulcasting digital video programs for broadcast and interactive services |
| US5732216A (en) * | 1996-10-02 | 1998-03-24 | Internet Angles, Inc. | Audio message exchange system |
| US5734853A (en) * | 1992-12-09 | 1998-03-31 | Discovery Communications, Inc. | Set top terminal for cable television delivery systems |
| US5856975A (en) * | 1993-10-20 | 1999-01-05 | Lsi Logic Corporation | High speed single chip digital video network apparatus |
| US5859641A (en) * | 1997-10-10 | 1999-01-12 | Intervoice Limited Partnership | Automatic bandwidth allocation in multimedia scripting tools |
| US5861906A (en) * | 1995-05-05 | 1999-01-19 | Microsoft Corporation | Interactive entertainment network system and method for customizing operation thereof according to viewer preferences |
| US5877756A (en) * | 1996-07-15 | 1999-03-02 | Samsung Electronics Co., Ltd. | Terminal device for a video-on-demand system having a hotkey function and a method thereof |
| US5880768A (en) * | 1995-04-06 | 1999-03-09 | Prevue Networks, Inc. | Interactive program guide systems and processes |
| US5886690A (en) * | 1996-10-31 | 1999-03-23 | Uniden America Corporation | Program schedule user interface |
| US5886732A (en) * | 1995-11-22 | 1999-03-23 | Samsung Information Systems America | Set-top electronics and network interface unit arrangement |
| US6014184A (en) * | 1993-09-09 | 2000-01-11 | News America Publications, Inc. | Electronic television program guide schedule system and method with data feed access |
| US6016348A (en) * | 1996-11-27 | 2000-01-18 | Thomson Consumer Electronics, Inc. | Decoding system and data format for processing and storing encrypted broadcast, cable or satellite video data |
| US6018359A (en) * | 1998-04-24 | 2000-01-25 | Massachusetts Institute Of Technology | System and method for multicast video-on-demand delivery system |
| US6018372A (en) * | 1997-09-04 | 2000-01-25 | Liberate Technologies | Electronic program guide with multiple day planner |
| US6020912A (en) * | 1995-07-11 | 2000-02-01 | U.S. Philips Corporation | Video-on-demand system |
| US6023267A (en) * | 1996-07-31 | 2000-02-08 | Thomson Multimedia Sa | Process for selecting programes, especially television programes and device and graphical interface implementing this process |
| US6025869A (en) * | 1995-01-05 | 2000-02-15 | Music Corporation | Video viewing supervision system |
| US6026376A (en) * | 1997-04-15 | 2000-02-15 | Kenney; John A. | Interactive electronic shopping system and method |
| US6025868A (en) * | 1995-02-24 | 2000-02-15 | Smart Vcr Limited Partnership | Stored program pay-per-play |
| US6025837A (en) * | 1996-03-29 | 2000-02-15 | Micrsoft Corporation | Electronic program guide with hyperlinks to target resources |
| US6035281A (en) * | 1997-06-16 | 2000-03-07 | International Business Machines Corporation | System and method of multiparty billing for Web access |
| US6037933A (en) * | 1996-11-13 | 2000-03-14 | Samsung Electronics Co., Ltd. | TV graphical user interface for providing user access to preset time periods of TV program information |
| US6169543B1 (en) * | 1998-12-28 | 2001-01-02 | Thomson Licensing S.A. | System and method for customizing program guide information to include reminder item or local identifier |
| US6172677B1 (en) * | 1996-10-07 | 2001-01-09 | Compaq Computer Corporation | Integrated content guide for interactive selection of content and services on personal computer systems with multiple sources and multiple media presentation |
| US6172674B1 (en) * | 1997-08-25 | 2001-01-09 | Liberate Technologies | Smart filtering |
| US6177931B1 (en) * | 1996-12-19 | 2001-01-23 | Index Systems, Inc. | Systems and methods for displaying and recording control interface with television programs, video, advertising information and program scheduling information |
| US6182287B1 (en) * | 1999-02-04 | 2001-01-30 | Thomson Licensing S.A. | Preferred service management system for a multimedia video decoder |
| US6181333B1 (en) * | 1996-08-14 | 2001-01-30 | Samsung Electronics Co., Ltd. | Television graphical user interface having channel and program sorting capabilities |
| US6181693B1 (en) * | 1998-10-08 | 2001-01-30 | High Speed Video, L.L.C. | High speed video transmission over telephone lines |
| US6184877B1 (en) * | 1996-12-11 | 2001-02-06 | International Business Machines Corporation | System and method for interactively accessing program information on a television |
| US6188684B1 (en) * | 1996-07-26 | 2001-02-13 | Hitachi, Ltd. | Bidirectional communication system |
| US6195689B1 (en) * | 1999-05-05 | 2001-02-27 | Mediaone Group, Inc. | Headend provisioning agent |
| US6201540B1 (en) * | 1998-01-07 | 2001-03-13 | Microsoft Corporation | Graphical interface components for in-dash automotive accessories |
| US6335936B1 (en) * | 1999-04-22 | 2002-01-01 | Ameritech Corporation | Wide area communication networking |
| US20020002642A1 (en) * | 2000-04-07 | 2002-01-03 | Tyson Peter John | Input and output systems for data processing |
| US20020007485A1 (en) * | 2000-04-03 | 2002-01-17 | Rodriguez Arturo A. | Television service enhancements |
| US6349410B1 (en) * | 1999-08-04 | 2002-02-19 | Intel Corporation | Integrating broadcast television pause and web browsing |
| US20020026638A1 (en) * | 2000-08-31 | 2002-02-28 | Eldering Charles A. | Internet-based electronic program guide advertisement insertion method and apparatus |
| US20020026496A1 (en) * | 1997-09-18 | 2002-02-28 | Franklin E. Boyer | Electronic-mail reminder for an internet television program guide |
| US20030002862A1 (en) * | 2001-06-29 | 2003-01-02 | Rodriguez Arturo A. | Bandwidth allocation and pricing system for downloadable media content |
| US6505348B1 (en) * | 1998-07-29 | 2003-01-07 | Starsight Telecast, Inc. | Multiple interactive electronic program guide system and methods |
| US20030014753A1 (en) * | 1999-12-21 | 2003-01-16 | Brian Beach | Distributed , interactive television program guide; system and method |
| US6510556B1 (en) * | 1998-05-28 | 2003-01-21 | Hitachi, Ltd. | Video distributing apparatus and video distributing system |
| US6515710B1 (en) * | 1997-10-22 | 2003-02-04 | Matsushita Electric Industrial Co., Ltd. | Color-difference signal conversion circuit |
| US6519770B2 (en) * | 1997-05-16 | 2003-02-11 | United Video Properties, Inc. | System for filtering content from videos |
| US20030030679A1 (en) * | 2000-01-06 | 2003-02-13 | Anuj Kumar Jain | User-definable images in bookmarks |
| US20030037068A1 (en) * | 2000-03-31 | 2003-02-20 | United Video Properties, Inc. | Interactive media system and method for presenting pause-time content |
| US6526575B1 (en) * | 1997-01-07 | 2003-02-25 | United Video Properties, Inc. | System and method for distributing and broadcasting multimedia |
| US6526577B1 (en) * | 1998-12-01 | 2003-02-25 | United Video Properties, Inc. | Enhanced interactive program guide |
| US6675385B1 (en) * | 1998-10-21 | 2004-01-06 | Liberate Technologies | HTML electronic program guide for an MPEG digital TV system |
| US6675384B1 (en) * | 1995-12-21 | 2004-01-06 | Robert S. Block | Method and apparatus for information labeling and control |
| US6678891B1 (en) * | 1998-11-19 | 2004-01-13 | Prasara Technologies, Inc. | Navigational user interface for interactive television |
| US6681395B1 (en) * | 1998-03-20 | 2004-01-20 | Matsushita Electric Industrial Company, Ltd. | Template set for generating a hypertext for displaying a program guide and subscriber terminal with EPG function using such set broadcast from headend |
| US6681396B1 (en) * | 2000-02-11 | 2004-01-20 | International Business Machines Corporation | Automated detection/resumption of interrupted television programs |
| US6684025B1 (en) * | 1999-06-15 | 2004-01-27 | Webtv Networks, Inc. | Structure and method for managing a video recorder |
| US20040034867A1 (en) * | 2000-06-22 | 2004-02-19 | Rashkovskiy Oleg B. | Electronic programming guide with selectable categories |
| US6697376B1 (en) * | 1998-11-20 | 2004-02-24 | Diva Systems Corporation | Logical node identification in an information transmission network |
| US20050008074A1 (en) * | 2003-06-25 | 2005-01-13 | Van Beek Petrus J.L. | Wireless video transmission system |
| US20050028190A1 (en) * | 2002-02-11 | 2005-02-03 | Rodriguez Arturo A. | Management of television advertising |
| US20050044566A1 (en) * | 2000-05-04 | 2005-02-24 | Jerding Dean F. | Control access to television services |
| US6986156B1 (en) * | 1999-06-11 | 2006-01-10 | Scientific Atlanta, Inc | Systems and methods for adaptive scheduling and dynamic bandwidth resource allocation management in a digital broadband delivery system |
| US6990676B1 (en) * | 1999-03-17 | 2006-01-24 | Sony Corporation | Locally stored content previews. Representative of programming content in an electronic programming guide through a graphic image accessed from the hard drive of a set top box |
| US20060020982A1 (en) * | 1999-06-11 | 2006-01-26 | Jerding Dean F | Video on demand system with automated disablement of random-access functionality |
| US6993782B1 (en) * | 1999-07-16 | 2006-01-31 | Thomson Licensing | Program guide information and processor for providing program and channel substitution |
| US20060026080A1 (en) * | 2000-06-29 | 2006-02-02 | Rodriguez Arturo A | Systems for user-selectable configuration of media transactions |
| US20060026665A1 (en) * | 2000-06-09 | 2006-02-02 | Rodriguez Arturo A | Media-on-demand catalog viewing preference system |
| US20070019670A1 (en) * | 2005-07-22 | 2007-01-25 | Eric Falardeau | Mobile connectivity solution |
| US7185355B1 (en) * | 1998-03-04 | 2007-02-27 | United Video Properties, Inc. | Program guide system with preference profiles |
| US20080010658A1 (en) * | 1997-03-31 | 2008-01-10 | Abbott Michael J | System and method for media stream indexing and synchronization |
| US7324553B1 (en) * | 2003-09-30 | 2008-01-29 | Packeteer, Inc. | Dynamic bandwidth management responsive to access link state in redundant network topologies |
| US7496945B2 (en) * | 2001-06-29 | 2009-02-24 | Cisco Technology, Inc. | Interactive program guide for bidirectional services |
Family Cites Families (444)
| Publication number | Priority date | Publication date | Assignee | Title |
|---|---|---|---|---|
| US809204A (en) * | 1905-07-27 | 1906-01-02 | George Mitchell | Slag steam-generator. |
| US3676580A (en) | 1970-06-01 | 1972-07-11 | Video Information Systems | Interrogated transponder system |
| US4963994A (en) | 1981-12-14 | 1990-10-16 | Levine Michael R | VCR programmer |
| US5508815A (en) | 1981-12-14 | 1996-04-16 | Smart Vcr Limited Partnership | Schedule display system for video recorder programming |
| US4586158A (en) | 1983-02-22 | 1986-04-29 | International Business Machines Corp. | Screen management system |
| US4885775A (en) | 1984-09-21 | 1989-12-05 | Scientific-Atlanta, Inc. | Information display scheme for subscribers of a subscription television system |
| US4751578A (en) * | 1985-05-28 | 1988-06-14 | David P. Gordon | System for electronically controllably viewing on a television updateable television programming information |
| US4706121B1 (en) | 1985-07-12 | 1993-12-14 | Insight Telecast, Inc. | Tv schedule system and process |
| US4721097A (en) * | 1986-10-31 | 1988-01-26 | Circon Corporation | Endoscope sheaths and method and apparatus for installation and removal |
| US4821097A (en) | 1987-03-05 | 1989-04-11 | General Instrument Corporation | Apparatus and method for providing digital audio on the sound carrier of a standard television signal |
| US5191410A (en) | 1987-08-04 | 1993-03-02 | Telaction Corporation | Interactive multimedia presentation and communications system |
| US4930160A (en) | 1987-09-02 | 1990-05-29 | Vogel Peter S | Automatic censorship of video programs |
| US4827250A (en) | 1987-10-26 | 1989-05-02 | Tektronix, Inc. | Graphics display system having data transform circuit |
| US4977455B1 (en) | 1988-07-15 | 1993-04-13 | System and process for vcr scheduling | |
| US4949187A (en) | 1988-12-16 | 1990-08-14 | Cohen Jason M | Video communications system having a remotely controlled central source of video and audio data |
| US5253066C1 (en) | 1989-06-01 | 2001-05-22 | United Video Properties Inc | Tv recording and viewing control system |
| US5038211A (en) | 1989-07-05 | 1991-08-06 | The Superguide Corporation | Method and apparatus for transmitting and receiving television program information |
| US5353121A (en) | 1989-10-30 | 1994-10-04 | Starsight Telecast, Inc. | Television schedule system |
| DK0548286T3 (en) | 1990-09-10 | 2000-09-11 | Starsight Telecast Inc | System and method for controlling a video recorder |
| US5808608A (en) | 1990-09-10 | 1998-09-15 | Starsight Telecast, Inc. | Background television schedule system |
| US6832385B2 (en) | 1990-09-10 | 2004-12-14 | United Video Properties, Inc. | Television schedule system |
| US5172413A (en) | 1990-12-20 | 1992-12-15 | Sasktel | Secure hierarchial video delivery system and method |
| CA2048039A1 (en) | 1991-07-19 | 1993-01-20 | Steven Derose | Data processing system and method for generating a representation for and random access rendering of electronic documents |
| US5247347A (en) | 1991-09-27 | 1993-09-21 | Bell Atlantic Network Services, Inc. | Pstn architecture for video-on-demand services |
| JP2654283B2 (en) | 1991-09-30 | 1997-09-17 | 株式会社東芝 | Icon display method |
| US5477262A (en) | 1991-11-29 | 1995-12-19 | Scientific-Altanta, Inc. | Method and apparatus for providing an on-screen user interface for a subscription television terminal |
| US5317391A (en) | 1991-11-29 | 1994-05-31 | Scientific-Atlanta, Inc. | Method and apparatus for providing message information to subscribers in a cable television system |
| MY111174A (en) * | 1991-12-13 | 1999-09-30 | Thomson Consumer Electronics Inc | On/off control of a cable converter unit by a vcr |
| US5684918A (en) | 1992-02-07 | 1997-11-04 | Abecassis; Max | System for integrating video and communications |
| US5223924A (en) | 1992-05-27 | 1993-06-29 | North American Philips Corporation | System and method for automatically correlating user preferences with a T.V. program information database |
| AU4543593A (en) | 1992-07-08 | 1994-01-31 | Bell Atlantic Network Services, Inc. | Media server for supplying video and multi-media data over the public telephone switched network |
| US5644354A (en) | 1992-10-09 | 1997-07-01 | Prevue Interactive, Inc. | Interactive video system |
| JPH06139671A (en) | 1992-10-27 | 1994-05-20 | Sony Corp | Recording and reproducing system |
| US5371551A (en) | 1992-10-29 | 1994-12-06 | Logan; James | Time delayed digital video system using concurrent recording and playback |
| US5357276A (en) | 1992-12-01 | 1994-10-18 | Scientific-Atlanta, Inc. | Method of providing video on demand with VCR like functions |
| US5410326A (en) | 1992-12-04 | 1995-04-25 | Goldstein; Steven W. | Programmable remote control device for interacting with a plurality of remotely controlled devices |
| US6463585B1 (en) * | 1992-12-09 | 2002-10-08 | Discovery Communications, Inc. | Targeted advertisement using television delivery systems |
| US5659350A (en) | 1992-12-09 | 1997-08-19 | Discovery Communications, Inc. | Operations center for a television program packaging and delivery system |
| US5798785A (en) | 1992-12-09 | 1998-08-25 | Discovery Communications, Inc. | Terminal for suggesting programs offered on a television program delivery system |
| US20020104083A1 (en) | 1992-12-09 | 2002-08-01 | Hendricks John S. | Internally targeted advertisements using television delivery systems |
| US7343614B1 (en) | 1992-12-09 | 2008-03-11 | Sedna Patent Services, Llc | Program delivery system for VOD |
| JPH06274305A (en) | 1993-03-18 | 1994-09-30 | Hitachi Ltd | Screen display device and control method thereof |
| US6973669B2 (en) | 1993-03-29 | 2005-12-06 | Microsoft Corporation | Pausing television programming in response to selection of hypertext link |
| US5359362A (en) | 1993-03-30 | 1994-10-25 | Nec Usa, Inc. | Videoconference system using a virtual camera image |
| US5802502A (en) | 1993-05-24 | 1998-09-01 | British Telecommunications Public Limited Company | System for selective communication connection based on transaction pricing signals |
| US5621456A (en) | 1993-06-22 | 1997-04-15 | Apple Computer, Inc. | Methods and apparatus for audio-visual interface for the display of multiple program categories |
| US5583560A (en) | 1993-06-22 | 1996-12-10 | Apple Computer, Inc. | Method and apparatus for audio-visual interface for the selective display of listing information on a display |
| US5414455A (en) | 1993-07-07 | 1995-05-09 | Digital Equipment Corporation | Segmented video on demand system |
| US5329590A (en) | 1993-07-08 | 1994-07-12 | Uniden America Corporation | Automatic pay-per-view reception in a satellite receiver |
| KR950012664B1 (en) | 1993-08-18 | 1995-10-19 | 엘지전자주식회사 | HDTV receiver with 1050-line interlaced monitor display image format |
| US5822123A (en) | 1993-09-09 | 1998-10-13 | Davis; Bruce | Electronic television program guide schedule system and method with pop-up hints |
| US6275268B1 (en) | 1993-09-09 | 2001-08-14 | United Video Properties, Inc. | Electronic television program guide with remote product ordering |
| US5410344A (en) | 1993-09-22 | 1995-04-25 | Arrowsmith Technologies, Inc. | Apparatus and method of selecting video programs based on viewers' preferences |
| US5808611A (en) | 1993-09-23 | 1998-09-15 | International Business Machines Corporation | Positioning for multiple icons in an object-oriented interface |
| US5689641A (en) | 1993-10-01 | 1997-11-18 | Vicor, Inc. | Multimedia collaboration system arrangement for routing compressed AV signal through a participant site without decompressing the AV signal |
| US5631693A (en) | 1993-10-25 | 1997-05-20 | Antec Corporation | Method and apparatus for providing on demand services in a subscriber system |
| US6002694A (en) | 1994-02-17 | 1999-12-14 | Hitachi, Ltd. | Interactive chargeable communication system with billing system therefor |
| US5453779A (en) | 1994-03-15 | 1995-09-26 | International Business Machines Corporation | Scheduling policies with grouping for providing VCR control functions in a video server |
| JP4435869B2 (en) | 1994-03-18 | 2010-03-24 | コーニンクレッカ フィリップス エレクトロニクス エヌ ヴィ | Audio-visual display system |
| US5629732A (en) | 1994-03-29 | 1997-05-13 | The Trustees Of Columbia University In The City Of New York | Viewer controllable on-demand multimedia service |
| US5764873A (en) | 1994-04-14 | 1998-06-09 | International Business Machines Corporation | Lazy drag of graphical user interface (GUI) objects |
| US5532735A (en) | 1994-04-29 | 1996-07-02 | At&T Corp. | Method of advertisement selection for interactive service |
| US5512958A (en) | 1994-04-29 | 1996-04-30 | Matsushita Electric Corporation Of America | System for controlling the effects of noise in television receivers |
| AU2516895A (en) | 1994-05-16 | 1995-12-05 | Apple Computer, Inc. | Switching between appearance/behavior themes in graphical user interfaces |
| ES2394434T3 (en) | 1994-05-20 | 2013-01-31 | United Video Properties, Inc. | Procedure and electronic guide system for enhanced television programming |
| US5521631A (en) | 1994-05-25 | 1996-05-28 | Spectravision, Inc. | Interactive digital video services system with store and forward capabilities |
| US5635979A (en) | 1994-05-27 | 1997-06-03 | Bell Atlantic | Dynamically programmable digital entertainment terminal using downloaded software to control broadband data operations |
| US5666293A (en) | 1994-05-27 | 1997-09-09 | Bell Atlantic Network Services, Inc. | Downloading operating system software through a broadcast channel |
| US5694546A (en) | 1994-05-31 | 1997-12-02 | Reisman; Richard R. | System for automatic unattended electronic information transport between a server and a client by a vendor provided transport software with a manifest list |
| US5754773A (en) | 1994-06-16 | 1998-05-19 | Lucent Technologies, Inc. | Multimedia on-demand server having different transfer rates |
| JP3575063B2 (en) | 1994-07-04 | 2004-10-06 | ソニー株式会社 | Playback device and playback method |
| DE69535701T2 (en) | 1994-07-08 | 2009-02-12 | Sony Corp. | Reception access controlled radio signals |
| US5544354A (en) | 1994-07-18 | 1996-08-06 | Ikonic Interactive, Inc. | Multimedia matrix architecture user interface |
| US5557541A (en) | 1994-07-21 | 1996-09-17 | Information Highway Media Corporation | Apparatus for distributing subscription and on-demand audio programming |
| US5530754A (en) | 1994-08-02 | 1996-06-25 | Garfinkle; Norton | Video on demand |
| US5555441A (en) | 1994-08-02 | 1996-09-10 | Interim Design Inc. | Interactive audiovisual distribution system |
| EP0699000B1 (en) | 1994-08-24 | 2001-06-20 | Hyundai Electronics America | A video server and system employing the same |
| JPH0879685A (en) | 1994-08-31 | 1996-03-22 | Sony Corp | Program playback device in near video on demand system |
| US5682325A (en) | 1994-09-12 | 1997-10-28 | Bell Atlantic Network Services, Inc. | Level 1 gateway for video tone networks |
| US5619249A (en) | 1994-09-14 | 1997-04-08 | Time Warner Entertainment Company, L.P. | Telecasting service for providing video programs on demand with an interactive interface for facilitating viewer selection of video programs |
| US5675752A (en) | 1994-09-15 | 1997-10-07 | Sony Corporation | Interactive applications generator for an interactive presentation environment |
| JP3644455B2 (en) | 1994-09-29 | 2005-04-27 | ソニー株式会社 | Program information broadcasting system, program information display method and receiving apparatus |
| US5715416A (en) | 1994-09-30 | 1998-02-03 | Baker; Michelle | User definable pictorial interface for a accessing information in an electronic file system |
| US5760838A (en) | 1994-09-30 | 1998-06-02 | Intel Corporation | Method and system for configuring a display |
| US5671411A (en) | 1994-11-10 | 1997-09-23 | Intel Corporation | Method of searching an audio/visual programming database using selected criterion having implicit logical operation |
| US5623613A (en) | 1994-11-29 | 1997-04-22 | Microsoft Corporation | System for displaying programming information |
| US6008803A (en) | 1994-11-29 | 1999-12-28 | Microsoft Corporation | System for displaying programming information |
| US5774170A (en) | 1994-12-13 | 1998-06-30 | Hite; Kenneth C. | System and method for delivering targeted advertisements to consumers |
| US6154207A (en) * | 1994-12-22 | 2000-11-28 | Bell Atlantic Network Services, Inc. | Interactive language editing in a network based video on demand system |
| JP3953512B2 (en) | 1994-12-23 | 2007-08-08 | テラヨン コミュニケーションズ システムズ, インコーポレイテッド | Method and apparatus for providing a trick mode function such as a VCR for observing distributed video data |
| US5583995A (en) | 1995-01-30 | 1996-12-10 | Mrj, Inc. | Apparatus and method for data storage and retrieval using bandwidth allocation |
| JP3855282B2 (en) | 1995-02-06 | 2006-12-06 | ソニー株式会社 | Receiving apparatus and receiving method |
| US5632681A (en) | 1995-03-07 | 1997-05-27 | International Business Machines Corporation | Universal electronic video game renting/distributing system |
| CA2170429C (en) | 1995-03-28 | 2000-04-25 | Stephen Gregory Eick | Method and apparatus for finding and selecting a desired data item from a large schedule of data items using a tv set and a controller similar to a tv-remote-control |
| US5635980A (en) | 1995-04-04 | 1997-06-03 | Bell Communications Research, Inc. | System and method for customer premises broadband interface with on-hook alerting |
| DE19514616A1 (en) | 1995-04-25 | 1996-10-31 | Sel Alcatel Ag | Communication system with hierarchical server structure |
| US5848352A (en) | 1995-04-26 | 1998-12-08 | Wink Communications, Inc. | Compact graphical interactive information system |
| US5585838A (en) | 1995-05-05 | 1996-12-17 | Microsoft Corporation | Program time guide |
| US5699107A (en) | 1995-05-05 | 1997-12-16 | Microsoft Corporation | Program reminder system |
| US5907323A (en) | 1995-05-05 | 1999-05-25 | Microsoft Corporation | Interactive program summary panel |
| US5914746A (en) | 1995-05-05 | 1999-06-22 | Microsoft Corporation | Virtual channels in subscriber interface units |
| US5752160A (en) | 1995-05-05 | 1998-05-12 | Dunn; Matthew W. | Interactive entertainment network system and method with analog video startup loop for video-on-demand |
| US5914712A (en) | 1995-05-08 | 1999-06-22 | Video Jukebox Network, Inc. | Interactive video system |
| US5862219A (en) | 1995-05-12 | 1999-01-19 | General Instrument Corporation | Cable television setback decoder automatic control |
| KR19990021917A (en) | 1995-05-24 | 1999-03-25 | 에이치.씨.헨리,주니어 | Asymmetric Data Communication System |
| US5652613A (en) | 1995-06-07 | 1997-07-29 | Lazarus; David Beryl | Intelligent electronic program guide memory management system and method |
| US6181867B1 (en) | 1995-06-07 | 2001-01-30 | Intervu, Inc. | Video storage and retrieval system |
| US5812776A (en) * | 1995-06-07 | 1998-09-22 | Open Market, Inc. | Method of providing internet pages by mapping telephone number provided by client to URL and returning the same in a redirect command by server |
| US5930493A (en) | 1995-06-07 | 1999-07-27 | International Business Machines Corporation | Multimedia server system and method for communicating multimedia information |
| US5740549A (en) * | 1995-06-12 | 1998-04-14 | Pointcast, Inc. | Information and advertising distribution system and method |
| US5751282A (en) | 1995-06-13 | 1998-05-12 | Microsoft Corporation | System and method for calling video on demand using an electronic programming guide |
| US5682597A (en) | 1995-06-15 | 1997-10-28 | International Business Machines Corporation | Hybrid video-on-demand based on a near-video-on-demand system |
| US5826110A (en) | 1995-06-19 | 1998-10-20 | Lucent Technologies Inc. | System for video server using coarse-grained disk striping method in which incoming requests are scheduled and rescheduled based on availability of bandwidth |
| US5812786A (en) | 1995-06-21 | 1998-09-22 | Bell Atlantic Network Services, Inc. | Variable rate and variable mode transmission system |
| JP3088268B2 (en) | 1995-06-21 | 2000-09-18 | 日本電気株式会社 | Video server in video-on-demand system |
| US5710982A (en) | 1995-06-29 | 1998-01-20 | Hughes Electronics | Power control for TDMA mobile satellite communication system |
| US5650831A (en) | 1995-07-17 | 1997-07-22 | Gateway 2000, Inc. | Adjustable power remote control drive |
| US6359636B1 (en) | 1995-07-17 | 2002-03-19 | Gateway, Inc. | Graphical user interface for control of a home entertainment system |
| US5687331A (en) | 1995-08-03 | 1997-11-11 | Microsoft Corporation | Method and system for displaying an animated focus item |
| US5956024A (en) | 1995-08-08 | 1999-09-21 | Continental Cablevision, Inc. | Graphical user interface for customer service representatives for subscriber management systems |
| US5801753A (en) * | 1995-08-11 | 1998-09-01 | General Instrument Corporation Of Delaware | Method and apparatus for providing an interactive guide to events available on an information network |
| US5913040A (en) * | 1995-08-22 | 1999-06-15 | Backweb Ltd. | Method and apparatus for transmitting and displaying information between a remote network and a local computer |
| US5745837A (en) | 1995-08-25 | 1998-04-28 | Terayon Corporation | Apparatus and method for digital data transmission over a CATV system using an ATM transport protocol and SCDMA |
| US5935004A (en) | 1995-08-28 | 1999-08-10 | Mediaone Group, Inc. | System and method for scheduled delivery of a software program over a cable network |
| US5905522A (en) | 1995-08-31 | 1999-05-18 | Microsoft Corporation | Resource allocation method for interactive televideo system |
| US5562732A (en) * | 1995-09-06 | 1996-10-08 | Eisenberg; Eric L. | Hair graft support tray |
| US5828845A (en) | 1995-09-08 | 1998-10-27 | At&T Corp | Interrupt-based system |
| US5778077A (en) | 1995-09-13 | 1998-07-07 | Davidson; Dennis M. | Automatic volume adjusting device and method |
| KR0166923B1 (en) | 1995-09-18 | 1999-03-20 | 구자홍 | Method and apparatus of preventing an illegal watching and copying in a digital broadcasting system |
| US5682206A (en) | 1995-09-25 | 1997-10-28 | Thomson Consumer Electronics, Inc. | Consumer interface for programming device |
| WO1997012486A1 (en) | 1995-09-29 | 1997-04-03 | Boston Technology, Inc. | Multimedia architecture for interactive advertising |
| US6323911B1 (en) | 1995-10-02 | 2001-11-27 | Starsight Telecast, Inc. | System and method for using television schedule information |
| US6075575A (en) | 1995-10-02 | 2000-06-13 | Starsight Telecast, Inc. | Remote control device and method for using television schedule information |
| US6002394A (en) | 1995-10-02 | 1999-12-14 | Starsight Telecast, Inc. | Systems and methods for linking television viewers with advertisers and broadcasters |
| US5737028A (en) | 1995-11-01 | 1998-04-07 | International Business Machines Corporation | Previous channel listing with cursor controlled user interface for television video displays |
| US5764899A (en) | 1995-11-13 | 1998-06-09 | Motorola, Inc. | Method and apparatus for communicating an optimized reply |
| US5917822A (en) | 1995-11-15 | 1999-06-29 | Xerox Corporation | Method for providing integrated packet services over a shared-media network |
| US6216264B1 (en) | 1995-11-17 | 2001-04-10 | Thomson Licensing S.A. | Scheduler apparatus employing a gopher agent |
| US6157413A (en) | 1995-11-20 | 2000-12-05 | United Video Properties, Inc. | Interactive special events video signal navigation system |
| US5771435A (en) | 1995-12-14 | 1998-06-23 | Time Warner Entertainment Co. L.P. | Method and apparatus for processing requests for video presentations of interactive applications in which VOD functionality is provided during NVOD presentations |
| US5995134A (en) | 1995-12-14 | 1999-11-30 | Time Warner Cable | Method and apparatus for enticing a passive television viewer by automatically playing promotional presentations of selectable options in response to the viewer's inactivity |
| US5823879A (en) | 1996-01-19 | 1998-10-20 | Sheldon F. Goldberg | Network gaming system |
| US5790935A (en) | 1996-01-30 | 1998-08-04 | Hughes Aircraft Company | Virtual on-demand digital information delivery system and method |
| US5936659A (en) | 1996-01-31 | 1999-08-10 | Telcordia Technologies, Inc. | Method for video delivery using pyramid broadcasting |
| US5635989A (en) | 1996-02-13 | 1997-06-03 | Hughes Electronics | Method and apparatus for sorting and searching a television program guide |
| US5838314A (en) | 1996-02-21 | 1998-11-17 | Message Partners | Digital video services system with optional interactive advertisement capabilities |
| US5694176A (en) | 1996-02-29 | 1997-12-02 | Hughes Electronics | Method and apparatus for generating television program guides with category selection overlay |
| US5828419A (en) | 1996-02-29 | 1998-10-27 | Hughes Electronics | Method and apparatus for generating television program guides utilizing icons |
| JP3195367B2 (en) | 1996-03-15 | 2001-08-06 | イー グイド インコーポレイテッド | Combination of video cassette recorder index and electronic program guide |
| WO1997036247A1 (en) | 1996-03-25 | 1997-10-02 | Stoneman Martin L | Autonomous decision systems |
| US6005631A (en) | 1996-03-28 | 1999-12-21 | Scientific-Atlanta, Inc. | Methods and apparatus for organizing and searching an electronic programming guide |
| US6240555B1 (en) | 1996-03-29 | 2001-05-29 | Microsoft Corporation | Interactive entertainment system for presenting supplemental interactive content together with continuous video programs |
| JPH09284745A (en) | 1996-04-09 | 1997-10-31 | Sony Corp | Bidirectional information transmission system and bidirectional information transmission method |
| US5961603A (en) | 1996-04-10 | 1999-10-05 | Worldgate Communications, Inc. | Access system and method for providing interactive access to an information source through a networked distribution system |
| JPH09284746A (en) | 1996-04-19 | 1997-10-31 | Sony Corp | Bidirectional information transmission system and bidirectional information transmission method |
| JPH09284748A (en) | 1996-04-19 | 1997-10-31 | Sony Corp | Bidirectional information transmission system and bidirectional information transmission method |
| US6148332A (en) * | 1996-04-24 | 2000-11-14 | Earthlink, Inc. | Mandatory message display and reporting system |
| US5929849A (en) | 1996-05-02 | 1999-07-27 | Phoenix Technologies, Ltd. | Integration of dynamic universal resource locators with television presentations |
| US6469753B1 (en) | 1996-05-03 | 2002-10-22 | Starsight Telecast, Inc. | Information system |
| US6125259A (en) | 1996-05-07 | 2000-09-26 | Oktv, Inc. | Intelligent and user friendly channel up/down control |
| JP3530308B2 (en) | 1996-05-27 | 2004-05-24 | 富士通株式会社 | Broadcast program transmission device and terminal device connected thereto |
| US5969748A (en) | 1996-05-29 | 1999-10-19 | Starsight Telecast, Inc. | Television schedule system with access control |
| US6008836A (en) | 1996-06-03 | 1999-12-28 | Webtv Networks, Inc. | Method and apparatus for adjusting television display control using a browser |
| US5918013A (en) | 1996-06-03 | 1999-06-29 | Webtv Networks, Inc. | Method of transcoding documents in a network environment using a proxy server |
| US5900905A (en) | 1996-06-05 | 1999-05-04 | Microsoft Corporation | System and method for linking video, services and applications in an interactive television system |
| WO1997048230A1 (en) | 1996-06-13 | 1997-12-18 | Starsight Telecast, Inc. | Method and apparatus for searching a guide using program characteristics |
| US5801787A (en) | 1996-06-14 | 1998-09-01 | Starsight Telecast, Inc. | Television schedule system and method of operation for multiple program occurrences |
| US6094680A (en) | 1996-06-27 | 2000-07-25 | Microsoft Corporation | System and method for managing distributed resources on networks |
| US5986650A (en) | 1996-07-03 | 1999-11-16 | News America Publications, Inc. | Electronic television program guide schedule system and method with scan feature |
| JPH1021261A (en) | 1996-07-05 | 1998-01-23 | Hitachi Ltd | Multimedia database search method and system |
| US6098082A (en) | 1996-07-15 | 2000-08-01 | At&T Corp | Method for automatically providing a compressed rendition of a video program in a format suitable for electronic searching and retrieval |
| JP3528451B2 (en) | 1996-07-26 | 2004-05-17 | ソニー株式会社 | Electronic program guide display control device and method |
| US6151059A (en) | 1996-08-06 | 2000-11-21 | Starsight Telecast, Inc. | Electronic program guide with interactive areas |
| US6708336B1 (en) | 1996-08-13 | 2004-03-16 | Hughes Electronics Corporation | Method of and apparatus for generating and searching a database |
| US5978043A (en) | 1996-08-14 | 1999-11-02 | Samsung Electronics Co., Ltd. | TV graphical user interface that provides customized lists of programming |
| US5799063A (en) | 1996-08-15 | 1998-08-25 | Talk Web Inc. | Communication system and method of providing access to pre-recorded audio messages via the Internet |
| TW420931B (en) | 1996-08-22 | 2001-02-01 | Hitachi Ltd | Television receiver and receiving method thereof |
| WO1998010589A1 (en) | 1996-09-03 | 1998-03-12 | Starsight Telecast, Inc. | Schedule system with enhanced recording capability |
| US6647548B1 (en) * | 1996-09-06 | 2003-11-11 | Nielsen Media Research, Inc. | Coded/non-coded program audience measurement system |
| US5931917A (en) * | 1996-09-26 | 1999-08-03 | Verifone, Inc. | System, method and article of manufacture for a gateway system architecture with system administration information accessible from a browser |
| JPH10126759A (en) | 1996-10-16 | 1998-05-15 | Sony Corp | Receiver and display control method |
| US5982445A (en) * | 1996-10-21 | 1999-11-09 | General Instrument Corporation | Hypertext markup language protocol for television display and control |
| JPH10126752A (en) | 1996-10-23 | 1998-05-15 | Matsushita Electric Ind Co Ltd | Broadcast system |
| US6163272A (en) | 1996-10-25 | 2000-12-19 | Diva Systems Corporation | Method and apparatus for managing personal identification numbers in interactive information distribution system |
| US6049831A (en) | 1996-11-08 | 2000-04-11 | Gte Laboratories Incorporated | System for transmitting network-related information where requested network information is separately transmitted as definitions and display information |
| DE69722563T2 (en) | 1996-11-13 | 2003-12-18 | Matsushita Electric Industrial Co., Ltd. | Cutting device for control data for reproducing a system data stream and a recording medium on which the method used is recorded |
| US5801747A (en) | 1996-11-15 | 1998-09-01 | Hyundai Electronics America | Method and apparatus for creating a television viewer profile |
| US6543053B1 (en) | 1996-11-27 | 2003-04-01 | University Of Hong Kong | Interactive video-on-demand system |
| US6405239B1 (en) * | 1996-12-09 | 2002-06-11 | Scientific-Atlanta, Inc. | Using a hierarchical file system for indexing data broadcast to a client from a network of servers |
| US5935206A (en) | 1996-12-13 | 1999-08-10 | International Business Machines Corporation | Automatic replication of digital video as needed for video-on-demand |
| JP3612696B2 (en) | 1996-12-18 | 2005-01-19 | ソニー株式会社 | Information processing apparatus and method, and remote control system |
| US8635649B2 (en) | 1996-12-19 | 2014-01-21 | Gemstar Development Corporation | System and method for modifying advertisement responsive to EPG information |
| DE69715040T2 (en) * | 1996-12-20 | 2003-05-08 | Princeton Video Image, Inc. | ADAPTER FOR TARGETED ELECTRONIC INSERTION OF CHARACTERS IN VIDEO SIGNALS |
| US6124878A (en) | 1996-12-20 | 2000-09-26 | Time Warner Cable, A Division Of Time Warner Enterainment Company, L.P. | Optimum bandwidth utilization in a shared cable system data channel |
| US6163316A (en) | 1997-01-03 | 2000-12-19 | Texas Instruments Incorporated | Electronic programming system and method |
| US6166730A (en) | 1997-12-03 | 2000-12-26 | Diva Systems Corporation | System for interactively distributing information services |
| US6208335B1 (en) | 1997-01-13 | 2001-03-27 | Diva Systems Corporation | Method and apparatus for providing a menu structure for an interactive information distribution system |
| US6253375B1 (en) | 1997-01-13 | 2001-06-26 | Diva Systems Corporation | System for interactively distributing information services |
| US6305019B1 (en) | 1997-01-13 | 2001-10-16 | Diva Systems Corporation | System for interactively distributing information services having a remote video session manager |
| US6097383A (en) | 1997-01-23 | 2000-08-01 | Zenith Electronics Corporation | Video and audio functions in a web television |
| US5905942A (en) | 1997-02-18 | 1999-05-18 | Lodgenet Entertainment Corporation | Multiple dwelling unit interactive audio/video distribution system |
| US5940438A (en) | 1997-02-18 | 1999-08-17 | Mitsubishi Electric Information Technology Center America, Inc (Ita) | Universal modem for digital video, audio and data communications |
| US5850218A (en) | 1997-02-19 | 1998-12-15 | Time Warner Entertainment Company L.P. | Inter-active program guide with default selection control |
| US6141003A (en) | 1997-03-18 | 2000-10-31 | Microsoft Corporation | Channel bar user interface for an entertainment system |
| US6005565A (en) | 1997-03-25 | 1999-12-21 | Sony Corporation | Integrated search of electronic program guide, internet and other information resources |
| US6205485B1 (en) | 1997-03-27 | 2001-03-20 | Lextron Systems, Inc | Simulcast WEB page delivery using a 3D user interface system |
| US6614988B1 (en) | 1997-03-28 | 2003-09-02 | Sharp Laboratories Of America, Inc. | Natural language labeling of video using multiple words |
| GB2325537B8 (en) | 1997-03-31 | 2000-01-31 | Microsoft Corp | Query-based electronic program guide |
| EP0976245B1 (en) | 1997-04-14 | 2006-08-09 | Thomson Inc. | System for forming program guide information for user initiation of control and communication functions |
| US6564383B1 (en) | 1997-04-14 | 2003-05-13 | International Business Machines Corporation | Method and system for interactively capturing organizing and presenting information generated from television programs to viewers |
| ES2377380T3 (en) | 1997-04-16 | 2012-03-27 | Starsight Telecast, Inc. | Program and event guide compiled by user decision from a multiple database |
| US5895454A (en) | 1997-04-17 | 1999-04-20 | Harrington; Juliette | Integrated interface for vendor/product oriented internet websites |
| US6292624B1 (en) | 1997-05-13 | 2001-09-18 | Sony Corporation | System and method for selection/deselection of timer recording |
| US6061097A (en) | 1997-05-22 | 2000-05-09 | United Video Properties, Inc. | Interactive television program guide with selectable non-program options |
| US6578077B1 (en) | 1997-05-27 | 2003-06-10 | Novell, Inc. | Traffic monitoring tool for bandwidth management |
| US6073105A (en) | 1997-06-13 | 2000-06-06 | Tele-Publishing, Inc. | Interactive personals online network method and apparatus |
| US6014694A (en) | 1997-06-26 | 2000-01-11 | Citrix Systems, Inc. | System for adaptive video/audio transport over a network |
| US6317885B1 (en) | 1997-06-26 | 2001-11-13 | Microsoft Corporation | Interactive entertainment and information system using television set-top box |
| US20030088872A1 (en) | 1997-07-03 | 2003-05-08 | Nds Limited | Advanced television system |
| IL121230A (en) | 1997-07-03 | 2004-05-12 | Nds Ltd | Intelligent electronic program guide |
| US6057872A (en) | 1997-07-09 | 2000-05-02 | General Instrument Corporation | Digital coupons for pay televisions |
| US6314479B1 (en) | 1997-08-04 | 2001-11-06 | Compaq Computer Corporation | Universal multi-pin plug and display connector for standardizing signals transmitted between a computer and a display for a PC theatre interconnectivity system |
| US5990890A (en) | 1997-08-25 | 1999-11-23 | Liberate Technologies | System for data entry and navigation in a user interface |
| US5987256A (en) | 1997-09-03 | 1999-11-16 | Enreach Technology, Inc. | System and process for object rendering on thin client platforms |
| US6665869B1 (en) | 1997-09-05 | 2003-12-16 | United Video Properties, Inc. | Program guide application interface system |
| US6141488A (en) | 1997-09-05 | 2000-10-31 | United Video Properties, Inc. | Program guide system for recording television programs |
| US5960411A (en) | 1997-09-12 | 1999-09-28 | Amazon.Com, Inc. | Method and system for placing a purchase order via a communications network |
| US5983273A (en) | 1997-09-16 | 1999-11-09 | Webtv Networks, Inc. | Method and apparatus for providing physical security for a user account and providing access to the user's environment and preferences |
| US6600496B1 (en) | 1997-09-26 | 2003-07-29 | Sun Microsystems, Inc. | Interactive graphical user interface for television set-top box |
| US6134572A (en) * | 1997-09-30 | 2000-10-17 | Texas Instruments Incorporated | Galois Field arithmetic apparatus and method |
| US6604240B2 (en) | 1997-10-06 | 2003-08-05 | United Video Properties, Inc. | Interactive television program guide system with operator showcase |
| US6209130B1 (en) | 1997-10-10 | 2001-03-27 | United Video Properties, Inc. | System for collecting television program data |
| US6594699B1 (en) | 1997-10-10 | 2003-07-15 | Kasenna, Inc. | System for capability based multimedia streaming over a network |
| US6243142B1 (en) | 1997-10-17 | 2001-06-05 | Sony Corporation | Method and apparatus for displaying time and program status in an electronic program guide |
| US6378130B1 (en) | 1997-10-20 | 2002-04-23 | Time Warner Entertainment Company | Media server interconnect architecture |
| US6081263A (en) | 1997-10-23 | 2000-06-27 | Sony Corporation | System and method of a user configurable display of information resources |
| US6064380A (en) | 1997-11-17 | 2000-05-16 | International Business Machines Corporation | Bookmark for multi-media content |
| US6396549B1 (en) | 1997-11-19 | 2002-05-28 | Harold J. Weber | Remote controller for a multi-device television receiving system providing channel number auto-completion, presettable audio hush level and base channel auto-reaffirm |
| US7117440B2 (en) | 1997-12-03 | 2006-10-03 | Sedna Patent Services, Llc | Method and apparatus for providing a menu structure for an interactive information distribution system |
| US7024681B1 (en) | 1997-12-04 | 2006-04-04 | Verizon Laboratories Inc. | Method and apparatus for near video on demand |
| US6564378B1 (en) | 1997-12-08 | 2003-05-13 | United Video Properties, Inc. | Program guide system with browsing display |
| US6367078B1 (en) | 1997-12-12 | 2002-04-02 | Michael Lasky | Electronic program-guide system with sideways-surfing capability |
| US6647008B1 (en) | 1997-12-19 | 2003-11-11 | Ibm Corporation | Method and system for sharing reserved bandwidth between several dependent connections in high speed packet switching networks |
| JPH11187324A (en) | 1997-12-19 | 1999-07-09 | Matsushita Electric Ind Co Ltd | Program information creation device and method and reception device |
| US6460181B1 (en) | 1997-12-29 | 2002-10-01 | Starsight Telecast, Inc. | Channels and services display |
| US6385614B1 (en) | 1998-01-14 | 2002-05-07 | Netlibrary Inc. | Electronic bookshelf with multi-user features |
| US6138139A (en) | 1998-10-29 | 2000-10-24 | Genesys Telecommunications Laboraties, Inc. | Method and apparatus for supporting diverse interaction paths within a multimedia communication center |
| FI108477B (en) | 1998-02-27 | 2002-01-31 | Nokia Corp | Still forming icon |
| US7194757B1 (en) | 1998-03-06 | 2007-03-20 | Starguide Digital Network, Inc. | Method and apparatus for push and pull distribution of multimedia |
| US6289346B1 (en) | 1998-03-12 | 2001-09-11 | At&T Corp. | Apparatus and method for a bookmarking system |
| US6064980A (en) | 1998-03-17 | 2000-05-16 | Amazon.Com, Inc. | System and methods for collaborative recommendations |
| JP4014281B2 (en) | 1998-03-19 | 2007-11-28 | 富士通株式会社 | Program reservation system in CATV |
| US6145083A (en) | 1998-04-23 | 2000-11-07 | Siemens Information And Communication Networks, Inc. | Methods and system for providing data and telephony security |
| US6725461B1 (en) | 1998-04-30 | 2004-04-20 | Wink Communications, Inc. | Reminder system for broadcast and non-broadcast events based on broadcast interactive applications |
| US6564379B1 (en) | 1998-04-30 | 2003-05-13 | United Video Properties, Inc. | Program guide system with flip and browse advertisements |
| JP5099802B2 (en) | 1998-04-30 | 2012-12-19 | ユナイテッド ビデオ プロパティーズ インコーポレイテッド | Program guide system with advertisement |
| US6160546A (en) | 1998-05-01 | 2000-12-12 | United Video Properties, Inc. | Program guide systems and methods |
| US20020095676A1 (en) | 1998-05-15 | 2002-07-18 | Robert A. Knee | Interactive television program guide system for determining user values for demographic categories |
| US6005603A (en) | 1998-05-15 | 1999-12-21 | International Business Machines Corporation | Control of a system for processing a stream of information based on information content |
| US6563515B1 (en) | 1998-05-19 | 2003-05-13 | United Video Properties, Inc. | Program guide system with video window browsing |
| US6272484B1 (en) | 1998-05-27 | 2001-08-07 | Scansoft, Inc. | Electronic document manager |
| AU4320599A (en) * | 1998-05-29 | 1999-12-13 | Diva Systems Corporation | Interactive information distribution system and method |
| US6314573B1 (en) * | 1998-05-29 | 2001-11-06 | Diva Systems Corporation | Method and apparatus for providing subscription-on-demand services for an interactive information distribution system |
| US20050204388A1 (en) | 1998-06-11 | 2005-09-15 | Knudson Edward B. | Series reminders and series recording from an interactive television program guide |
| US6698020B1 (en) | 1998-06-15 | 2004-02-24 | Webtv Networks, Inc. | Techniques for intelligent video ad insertion |
| US6481011B1 (en) | 1998-06-16 | 2002-11-12 | Prevue Networks, Inc. | Program guide system with user designated color coding |
| US6259733B1 (en) | 1998-06-16 | 2001-07-10 | General Instrument Corporation | Pre-processing of bit rate allocation in a multi-channel video encoder |
| US6536041B1 (en) | 1998-06-16 | 2003-03-18 | United Video Properties, Inc. | Program guide system with real-time data sources |
| US20020056098A1 (en) | 1998-06-29 | 2002-05-09 | Christopher M. White | Web browser system for displaying recently viewed television channels |
| US6268849B1 (en) | 1998-06-30 | 2001-07-31 | United Video Properties, Inc. | Internet television program guide system with embedded real-time data |
| US6442755B1 (en) | 1998-07-07 | 2002-08-27 | United Video Properties, Inc. | Electronic program guide using markup language |
| CN1867068A (en) | 1998-07-14 | 2006-11-22 | 联合视频制品公司 | Client-server based interactive television program guide system with remote server recording |
| JP3952599B2 (en) | 1998-07-16 | 2007-08-01 | 松下電器産業株式会社 | Video display device and video display method |
| US6141010A (en) * | 1998-07-17 | 2000-10-31 | B. E. Technology, Llc | Computer interface method and apparatus with targeted advertising |
| US6360053B1 (en) | 1998-08-07 | 2002-03-19 | Replaytv, Inc. | Method and apparatus for fast forwarding and rewinding in a video recording device |
| TW388872B (en) | 1998-08-10 | 2000-05-01 | Winbond Electronics Corp | A rapid method to skim on and replay specified spots on video compact disc (VCD) player |
| US6898762B2 (en) * | 1998-08-21 | 2005-05-24 | United Video Properties, Inc. | Client-server electronic program guide |
| US20040261125A1 (en) | 1998-08-27 | 2004-12-23 | United Video Properties, Inc. | Electronic program guide with interactive screen game |
| US6701523B1 (en) | 1998-09-16 | 2004-03-02 | Index Systems, Inc. | V-Chip plus+in-guide user interface apparatus and method for programmable blocking of television and other viewable programming, such as for parental control of a television receiver |
| TW465235B (en) | 1998-09-17 | 2001-11-21 | United Video Properties Inc | Electronic program guide with digital storage |
| JP3988274B2 (en) | 1998-09-22 | 2007-10-10 | ソニー株式会社 | Information distribution apparatus, information distribution method, information reception apparatus, and information reception method |
| JP3972272B2 (en) | 1998-09-28 | 2007-09-05 | 日本ビクター株式会社 | Program selection control device |
| JP3058316U (en) | 1998-10-08 | 1999-06-18 | 船井電機株式会社 | Parental control device |
| US6137539A (en) | 1998-10-09 | 2000-10-24 | Matshushita Electric Industrial Co, Ltd | Digital television status display |
| US6442756B1 (en) | 1998-10-13 | 2002-08-27 | Bellsouth Intellectual Property Corporation | System and method for transporting, processing, storing and displaying EIT and EPG information in a television system context |
| GB2343051B (en) | 1998-10-23 | 2002-12-31 | Sony Uk Ltd | Receiving broadcast material |
| US6446262B1 (en) | 1998-10-26 | 2002-09-03 | Two Way Tv Limited | Broadcasting interactive applications |
| US6698023B2 (en) | 1998-10-26 | 2004-02-24 | Virtel Corporation | Internet access via one-way television channels |
| US6157377A (en) | 1998-10-30 | 2000-12-05 | Intel Corporation | Method and apparatus for purchasing upgraded media features for programming transmissions |
| US6594825B1 (en) | 1998-10-30 | 2003-07-15 | Intel Corporation | Method and apparatus for selecting a version of an entertainment program based on user preferences |
| US6628302B2 (en) | 1998-11-30 | 2003-09-30 | Microsoft Corporation | Interactive video programming methods |
| TW499816B (en) | 1998-11-30 | 2002-08-21 | United Video Properties Inc | Interactive program guide system and method |
| US6732367B1 (en) | 1998-11-30 | 2004-05-04 | United Video Properties, Inc. | Interactive television program guide system with title and description blocking |
| US7328448B2 (en) * | 2000-08-31 | 2008-02-05 | Prime Research Alliance E, Inc. | Advertisement distribution system for distributing targeted advertisements in television systems |
| US6865746B1 (en) | 1998-12-03 | 2005-03-08 | United Video Properties, Inc. | Electronic program guide with related-program search feature |
| JP2000184320A (en) | 1998-12-11 | 2000-06-30 | Nec Corp | Recording / reproducing device and electronic program guide display device |
| US20030131356A1 (en) | 1998-12-21 | 2003-07-10 | Andrew M. Proehl | Method and apparatus for notification on a broadcast device |
| US6282713B1 (en) | 1998-12-21 | 2001-08-28 | Sony Corporation | Method and apparatus for providing on-demand electronic advertising |
| US6393585B1 (en) | 1998-12-23 | 2002-05-21 | Scientific-Atlanta, Inc. | Method and apparatus for restoring operating systems in a set-top box environment |
| US6631413B1 (en) | 1999-01-28 | 2003-10-07 | International Business Machines Corporation | Method for optimizing profits in electronic delivery of digital objects |
| US6885319B2 (en) | 1999-01-29 | 2005-04-26 | Quickshift, Inc. | System and method for generating optimally compressed data from a plurality of data compression/decompression engines implementing different data compression algorithms |
| KR100332763B1 (en) | 1999-02-10 | 2002-04-17 | 구자홍 | Copy protection apparatus and method for digital data player |
| MXPA01008377A (en) | 1999-02-17 | 2003-01-28 | Index Systems Inc | System and method for tailoring television and/or electronic program guide features, such as advertising. |
| SE514005C2 (en) * | 1999-02-23 | 2000-12-11 | Dhj Media Ab | information |
| US6481010B2 (en) | 1999-03-01 | 2002-11-12 | Sony Corporation | TV planner for DSS |
| US7237251B1 (en) | 1999-03-02 | 2007-06-26 | Bigband Networks, Inc. | Method and apparatus for using delay time during switching events to display previously stored information elements |
| US7051351B2 (en) | 1999-03-08 | 2006-05-23 | Microsoft Corporation | System and method of inserting advertisements into an information retrieval system display |
| US6990677B1 (en) | 1999-03-18 | 2006-01-24 | Microsoft Corporation | Application program interfaces for electronic program guide data services |
| US6532589B1 (en) | 1999-03-25 | 2003-03-11 | Sony Corp. | Method and apparatus for providing a calendar-based planner in an electronic program guide for broadcast events |
| US6545669B1 (en) | 1999-03-26 | 2003-04-08 | Husam Kinawi | Object-drag continuity between discontinuous touch-screens |
| US6289514B1 (en) * | 1999-03-29 | 2001-09-11 | Qcom Tv, Inc. | System and method for the near-real time capture and reporting of large population consumer behaviors concerning television use |
| US6476833B1 (en) | 1999-03-30 | 2002-11-05 | Koninklijke Philips Electronics N.V. | Method and apparatus for controlling browser functionality in the context of an application |
| CN100505076C (en) | 1999-03-30 | 2009-06-24 | 提维股份有限公司 | Multimedia visual progress indication system |
| US7086077B2 (en) | 1999-04-01 | 2006-08-01 | Sedna Patent Services, Llc | Service rate change method and apparatus |
| US6718552B1 (en) | 1999-04-20 | 2004-04-06 | Diva Systems Corporation | Network bandwidth optimization by dynamic channel allocation |
| US6317777B1 (en) | 1999-04-26 | 2001-11-13 | Intel Corporation | Method for web based storage and retrieval of documents |
| US6847969B1 (en) * | 1999-05-03 | 2005-01-25 | Streetspace, Inc. | Method and system for providing personalized online services and advertisements in public spaces |
| JP3376314B2 (en) | 1999-05-12 | 2003-02-10 | 株式会社東芝 | Digital video information medium, digital video information recording / reproducing apparatus, and digital video information processing method |
| US6792615B1 (en) | 1999-05-19 | 2004-09-14 | New Horizons Telecasting, Inc. | Encapsulated, streaming media automation and distribution system |
| EP1208499A4 (en) | 1999-05-19 | 2007-11-07 | Digimarc Corp | Methods and systems employing digital watermarking in music and other media |
| US6717590B1 (en) | 1999-05-21 | 2004-04-06 | Gateway, Inc. | Verified scheduling of recurrent program recording operations |
| US7992163B1 (en) | 1999-06-11 | 2011-08-02 | Jerding Dean F | Video-on-demand navigational system |
| US6832386B1 (en) | 1999-06-11 | 2004-12-14 | Scientific-Atlanta, Inc. | System and method for allowing a user to quickly navigate within a program guide to an established reference point |
| US6817028B1 (en) | 1999-06-11 | 2004-11-09 | Scientific-Atlanta, Inc. | Reduced screen control system for interactive program guide |
| US7150031B1 (en) | 2000-06-09 | 2006-12-12 | Scientific-Atlanta, Inc. | System and method for reminders of upcoming rentable media offerings |
| US6978310B1 (en) | 1999-06-11 | 2005-12-20 | Scientific-Atlanta, Inc | Media-on-demand catalog viewing preference system |
| WO2000078047A1 (en) | 1999-06-11 | 2000-12-21 | Scientific-Atlanta, Inc. | Video on demand system with session and stream control, rental options and bandwidth management |
| US6288263B1 (en) * | 1999-06-16 | 2001-09-11 | The Dow Chemical Company | Intermediates for the preparation of N-[2-(carboxymethoxy)ethyl]-N-(carboxymethyl)glycine |
| EP1197075A1 (en) | 1999-06-28 | 2002-04-17 | United Video Properties, Inc. | Interactive television program guide system and method with niche hubs |
| DE69920893T2 (en) | 1999-07-13 | 2006-03-09 | International Business Machines Corp. | Correction of the connection bandwidth based on the observation of the allocation of network resources |
| JP2003504984A (en) | 1999-07-16 | 2003-02-04 | ユナイテッド ビデオ プロパティーズ, インコーポレイテッド | Interactive TV program guide with language selection |
| GB2352914A (en) | 1999-08-03 | 2001-02-07 | Sony Uk Ltd | Data broadcast method |
| US6611958B1 (en) | 1999-08-06 | 2003-08-26 | Sony Corporation | Electronic program guide feature for AV system |
| US6662365B1 (en) | 1999-08-17 | 2003-12-09 | Gateway, Inc. | Unified parental locks |
| US7110714B1 (en) | 1999-08-27 | 2006-09-19 | Kay Matthew W | Television commerce system with program identifiers |
| US20020056118A1 (en) | 1999-08-27 | 2002-05-09 | Hunter Charles Eric | Video and music distribution system |
| US7120926B1 (en) | 1999-09-02 | 2006-10-10 | General Instrument Corporation | Method and system of identifying software and firmware objects available for download over a network such as a cable television system |
| US20010036271A1 (en) | 1999-09-13 | 2001-11-01 | Javed Shoeb M. | System and method for securely distributing digital content for short term use |
| AU7702300A (en) | 1999-09-13 | 2001-04-17 | Videosdotcom, Inc. | System for extending a rental period of downloaded video |
| CN1391678A (en) | 1999-09-24 | 2003-01-15 | 折扣网控股有限公司 | Interactive system and method for riewing on line advertising |
| US6614440B1 (en) | 1999-09-30 | 2003-09-02 | Microsoft Corporation | System and method for load balancing in a multi-channel graphics system |
| US7143430B1 (en) | 1999-11-15 | 2006-11-28 | Lucent Technologies Inc. | Method and apparatus for remote audiovisual signal recording service |
| JP3904781B2 (en) | 1999-11-17 | 2007-04-11 | パイオニア株式会社 | Program transmission / reception system and method |
| US6978475B1 (en) | 1999-11-24 | 2005-12-20 | Ecable, Llc | Method and apparatus for internet TV |
| EP1240578A4 (en) * | 1999-12-02 | 2004-12-15 | Zedo Inc | Data processing system for targeted content |
| WO2001042954A2 (en) | 1999-12-08 | 2001-06-14 | Qualcomm Incorporated | System for distributing advertisements to client devices |
| US6801533B1 (en) | 1999-12-09 | 2004-10-05 | Cisco Technology, Inc. | System and method for proxy signaling in a digital subscriber line access multiplexer (DSLAM) |
| WO2001046869A2 (en) * | 1999-12-10 | 2001-06-28 | United Video Properties, Inc. | Systems and methods for coordinating interactive and passive advertisement and merchandising opportunities |
| US20060059525A1 (en) | 1999-12-13 | 2006-03-16 | Jerding Dean F | Media services window configuration system |
| JP3504202B2 (en) | 1999-12-21 | 2004-03-08 | 株式会社ナナオ | Display device |
| US6757909B1 (en) | 1999-12-29 | 2004-06-29 | Sony Corporation | Internet set-top box having an in-band tuner and cable modem |
| US6609253B1 (en) | 1999-12-30 | 2003-08-19 | Bellsouth Intellectual Property Corporation | Method and system for providing interactive media VCR control |
| AU2544501A (en) * | 2000-01-14 | 2001-07-24 | Nds Limited | Advertisements in an end-user controlled playback environment |
| US6421067B1 (en) | 2000-01-16 | 2002-07-16 | Isurftv | Electronic programming guide |
| US20010047422A1 (en) | 2000-01-21 | 2001-11-29 | Mcternan Brennan J. | System and method for using benchmarking to account for variations in client capabilities in the distribution of a media presentation |
| US6701528B1 (en) | 2000-01-26 | 2004-03-02 | Hughes Electronics Corporation | Virtual video on demand using multiple encrypted video segments |
| CA2397764C (en) | 2000-01-28 | 2008-08-05 | Scientific-Atlanta, Inc. | System and method for reference point navigation within a program guide |
| JP2003523698A (en) | 2000-02-17 | 2003-08-05 | 松下電器産業株式会社 | Semiconductor memory card recording trial content and purchase content, recording device and recording / reproducing device for semiconductor memory card, and method of selling semiconductor memory card |
| US20020062481A1 (en) * | 2000-02-25 | 2002-05-23 | Malcolm Slaney | Method and system for selecting advertisements |
| US6574793B1 (en) * | 2000-02-25 | 2003-06-03 | Interval Research Corporation | System and method for displaying advertisements |
| US20020057336A1 (en) | 2000-03-02 | 2002-05-16 | Gaul Michael A. | Interactive program guide configuration system |
| JP2003526286A (en) | 2000-03-02 | 2003-09-02 | サイエンティフィック−アトランタ, インコーポレイテッド | Apparatus and method for providing a plurality of interactive program guide initial arrangements |
| WO2001067267A1 (en) | 2000-03-03 | 2001-09-13 | Jones Lawrence R | Picture communications system and associated network services |
| AU2001245575A1 (en) | 2000-03-09 | 2001-09-17 | Videoshare, Inc. | Sharing a streaming video |
| US7284064B1 (en) | 2000-03-21 | 2007-10-16 | Intel Corporation | Method and apparatus to determine broadcast content and scheduling in a broadcast system |
| US6706311B2 (en) | 2000-03-29 | 2004-03-16 | The Procter & Gamble Co. | Low fat nut spread composition with high protein and fiber |
| WO2001075737A1 (en) | 2000-03-31 | 2001-10-11 | Liquid Engines, Inc. | Efficient interface for configuring an electronic market |
| US7975277B1 (en) | 2000-04-03 | 2011-07-05 | Jerding Dean F | System for providing alternative services |
| US7200857B1 (en) | 2000-06-09 | 2007-04-03 | Scientific-Atlanta, Inc. | Synchronized video-on-demand supplemental commentary |
| US6772209B1 (en) | 2000-04-06 | 2004-08-03 | International Business Machines Corporation | Efficient method for rule-based distribution and management of content in a distributed hierarchy of storage devices |
| US20020032905A1 (en) | 2000-04-07 | 2002-03-14 | Sherr Scott Jeffrey | Online digital video signal transfer apparatus and method |
| US20010030667A1 (en) | 2000-04-10 | 2001-10-18 | Kelts Brett R. | Interactive display interface for information objects |
| EP1488339B1 (en) | 2000-04-11 | 2006-08-30 | Koninklijke Philips Electronics N.V. | Data stream adaptation server |
| US6791620B1 (en) | 2000-04-19 | 2004-09-14 | Avica Technology Corporation | Multi-format video processing |
| US6738982B1 (en) | 2000-05-04 | 2004-05-18 | Scientific-Atlanta, Inc. | Method and system for uniform resource identification and access to television services |
| US7103903B1 (en) * | 2000-05-11 | 2006-09-05 | Two Way Media Limited | Interactive television broadcast system |
| US6353448B1 (en) | 2000-05-16 | 2002-03-05 | Ez Online Network, Inc. | Graphic user interface display method |
| US6327628B1 (en) | 2000-05-19 | 2001-12-04 | Epicentric, Inc. | Portal server that provides a customizable user Interface for access to computer networks |
| JP2002049850A (en) * | 2000-05-24 | 2002-02-15 | Sony Computer Entertainment Inc | Advertisement supply system |
| GB0013045D0 (en) | 2000-05-31 | 2000-07-19 | Pace Micro Tech Plc | Television system |
| US6557030B1 (en) | 2000-05-31 | 2003-04-29 | Prediwave Corp. | Systems and methods for providing video-on-demand services for broadcasting systems |
| US6769127B1 (en) | 2000-06-16 | 2004-07-27 | Minerva Networks, Inc. | Method and system for delivering media services and application over networks |
| US6782550B1 (en) | 2000-06-16 | 2004-08-24 | Minerva Networks, Inc. | Program guide with a current-time bar |
| US20040181801A1 (en) | 2000-12-28 | 2004-09-16 | David Hagen | Interactive television for promoting goods and services |
| AU2001278940A1 (en) | 2000-07-18 | 2002-01-30 | Xpertuniverse, Inc. | Interactive online learning with student-to-tutor matching |
| KR20040041082A (en) | 2000-07-24 | 2004-05-13 | 비브콤 인코포레이티드 | System and method for indexing, searching, identifying, and editing portions of electronic multimedia files |
| US7509267B1 (en) | 2000-08-29 | 2009-03-24 | Paul M. Yarmolich | Method for combining data signals and video signals for transmission to video display units |
| US7356477B1 (en) | 2000-09-01 | 2008-04-08 | Symbol Technologies, Inc. | Frames-based advertising service with response and activity reporting |
| JP4356226B2 (en) | 2000-09-12 | 2009-11-04 | ソニー株式会社 | Server apparatus, distribution system, distribution method, and terminal apparatus |
| US20020128908A1 (en) | 2000-09-15 | 2002-09-12 | Levin Brian E. | System for conducting user-specific promotional campaigns using multiple communications device platforms |
| US20030037332A1 (en) * | 2000-09-20 | 2003-02-20 | Chapin Paul W. | System and method for storyboard interactive television advertisements |
| US8302127B2 (en) | 2000-09-25 | 2012-10-30 | Thomson Licensing | System and method for personalized TV |
| ES2261483T3 (en) | 2000-10-11 | 2006-11-16 | United Video Properties, Inc. | SYSTEMS AND METHODS OF CONSTRUCTION OF USER'S MEDIA LISTS. |
| US20020049978A1 (en) | 2000-10-20 | 2002-04-25 | Rodriguez Arturo A. | System and method for access and placement of media content information items on a screen display with a remote control device |
| US7844489B2 (en) * | 2000-10-30 | 2010-11-30 | Buyerleverage | Buyer-driven targeting of purchasing entities |
| US8005713B1 (en) * | 2000-11-08 | 2011-08-23 | Aechelon Technology, Inc. | Interactive advertising with an automated viewing reward system |
| US7340759B1 (en) | 2000-11-10 | 2008-03-04 | Scientific-Atlanta, Inc. | Systems and methods for adaptive pricing in a digital broadband delivery system |
| US7062466B2 (en) * | 2000-12-06 | 2006-06-13 | The Belo Company | Method and system for operating online classified advertisements |
| US20020069412A1 (en) | 2000-12-06 | 2002-06-06 | Ashwin Philips | Three-panel display for selecting files |
| US7254622B2 (en) | 2000-12-15 | 2007-08-07 | Tetsuya Nomura | Video-on-demand system |
| US7698723B2 (en) | 2000-12-28 | 2010-04-13 | At&T Intellectual Property I, L.P. | System and method for multimedia on demand services |
| US20020124249A1 (en) | 2001-01-02 | 2002-09-05 | Shintani Peter Rae | Targeted advertising during playback of stored content |
| ATE321422T1 (en) * | 2001-01-09 | 2006-04-15 | Metabyte Networks Inc | SYSTEM, METHOD AND SOFTWARE FOR PROVIDING TARGETED ADVERTISING THROUGH USER PROFILE DATA STRUCTURE BASED ON USER PREFERENCES |
| US20020108125A1 (en) | 2001-02-07 | 2002-08-08 | Joao Raymond Anthony | Apparatus and method for facilitating viewer or listener interaction |
| US20020129362A1 (en) | 2001-03-08 | 2002-09-12 | Chang Matthew S. | Multiple commercial option in the same time slot |
| US20020178445A1 (en) * | 2001-04-03 | 2002-11-28 | Charles Eldering | Subscriber selected advertisement display and scheduling |
| WO2002097584A2 (en) | 2001-05-31 | 2002-12-05 | Hyperspace Communications, Inc. | Adaptive video server |
| US7076734B2 (en) * | 2001-06-22 | 2006-07-11 | Microsoft Corporation | Systems and methods for providing a dynamically controllable user interface that embraces a variety of media |
| US6760918B2 (en) | 2001-06-29 | 2004-07-06 | Scientific-Atlanta, Inc. | Method and apparatus for recordable media content distribution |
| US7512964B2 (en) | 2001-06-29 | 2009-03-31 | Cisco Technology | System and method for archiving multiple downloaded recordable media content |
| US7526788B2 (en) | 2001-06-29 | 2009-04-28 | Scientific-Atlanta, Inc. | Graphic user interface alternate download options for unavailable PRM content |
| EP1286537A3 (en) | 2001-08-21 | 2011-04-27 | Thomson Licensing | Routing and processing data |
| US7142590B2 (en) | 2001-10-11 | 2006-11-28 | Utstarcom Inc. | Method and system for oversubscribing a DSL modem |
| US20030074257A1 (en) | 2001-10-12 | 2003-04-17 | Michael Saveliev | Method and apparatus for advertising adjacent to a beverage dispenser to facilitate advertising income device placement in high traffic venues |
| US6968372B1 (en) * | 2001-10-17 | 2005-11-22 | Microsoft Corporation | Distributed variable synchronizer |
| US20030079224A1 (en) * | 2001-10-22 | 2003-04-24 | Anton Komar | System and method to provide additional information associated with selectable display areas |
| FR2831688B1 (en) | 2001-10-30 | 2004-07-30 | Canon Kk | METHOD AND DEVICE FOR PROCESSING A MULTIMEDIA DATA OBTAINMENT REQUEST |
| WO2003044835A2 (en) | 2001-11-20 | 2003-05-30 | Starz Encore Group Llc | Viewing limit controls |
| US20030101454A1 (en) * | 2001-11-21 | 2003-05-29 | Stuart Ozer | Methods and systems for planning advertising campaigns |
| US6731206B2 (en) | 2001-12-28 | 2004-05-04 | First International Computer Inc. | Failure announcing voice system |
| US20030174243A1 (en) | 2002-03-13 | 2003-09-18 | Arbeiter James Henry | Network streaming system for providing a user with data defining imagecontent at a resolution that may be determined by the user |
| US7219352B2 (en) | 2002-04-15 | 2007-05-15 | Microsoft Corporation | Methods and apparatuses for facilitating processing of interlaced video images for progressive video displays |
| US7149415B2 (en) | 2002-05-23 | 2006-12-12 | Microsoft Corporation | Program recording completion |
| US20030221194A1 (en) | 2002-05-23 | 2003-11-27 | Balaji Thiagarajan | Fast-advance while recording on-demand content |
| US6876628B2 (en) | 2002-08-28 | 2005-04-05 | Emware, Inc. | Optimization of subnetwork bandwidth based on desired subscription rates |
| JP4160371B2 (en) | 2002-11-29 | 2008-10-01 | 富士通株式会社 | Digital broadcast signal distribution system and subscriber terminal |
| GB0307947D0 (en) | 2003-04-05 | 2003-05-14 | Koninkl Philips Electronics Nv | Repairing broadcast dropout |
| KR101021132B1 (en) | 2003-05-05 | 2011-03-14 | 톰슨 라이센싱 | System and method for communicating with a display device over a network |
| US7324522B2 (en) * | 2003-09-18 | 2008-01-29 | Raytheon Company | Encapsulating packets into a frame for a network |
| US20050091693A1 (en) | 2003-10-22 | 2005-04-28 | Rochelle Communications, Inc. | Dual mode set-top box that optimizes the delivery and user selection of audio or video programming over data networks |
| JP4013887B2 (en) | 2003-10-30 | 2007-11-28 | セイコーエプソン株式会社 | Image processing circuit, image display device, and image processing method |
| WO2005059202A1 (en) | 2003-12-16 | 2005-06-30 | Konica Minolta Holdings, Inc. | Method for forming thin film and base having thin film formed by such method |
| US7180422B2 (en) | 2003-12-29 | 2007-02-20 | Intel Corporation | Asset management methods and apparatus |
| US8161388B2 (en) | 2004-01-21 | 2012-04-17 | Rodriguez Arturo A | Interactive discovery of display device characteristics |
| US20050188415A1 (en) | 2004-01-23 | 2005-08-25 | Camiant, Inc. | Video policy server |
| US7706411B2 (en) | 2004-03-29 | 2010-04-27 | Hewlett-Packard Development Company, L.P. | Handling oversubscribed mesh ports with re-tagging |
| CN103037254B (en) | 2004-06-07 | 2016-07-13 | 斯灵媒体公司 | Personal Media Broadcasting System |
| US8843978B2 (en) | 2004-06-29 | 2014-09-23 | Time Warner Cable Enterprises Llc | Method and apparatus for network bandwidth allocation |
| US7954129B2 (en) | 2004-09-24 | 2011-05-31 | Smartvue Corporation | Wireless video surveillance system and method with remote viewing |
| US20060088105A1 (en) | 2004-10-27 | 2006-04-27 | Bo Shen | Method and system for generating multiple transcoded outputs based on a single input |
| US7853959B2 (en) | 2005-02-08 | 2010-12-14 | Sap Ag | Business process extension for productivity suite application |
| WO2006126974A1 (en) | 2005-04-11 | 2006-11-30 | Tubitak Bilten | Optimal video adaptation for resource constrained mobile devices based on subjective utility models |
| US20060271990A1 (en) | 2005-05-18 | 2006-11-30 | Rodriguez Arturo A | Higher picture rate HD encoding and transmission with legacy HD backward compatibility |
| US8189472B2 (en) | 2005-09-07 | 2012-05-29 | Mcdonald James F | Optimizing bandwidth utilization to a subscriber premises |
-
2002
- 2002-02-11 US US10/073,842 patent/US7334251B2/en not_active Expired - Lifetime
-
2003
- 2003-02-05 WO PCT/US2003/003391 patent/WO2003069898A1/en not_active Ceased
- 2003-02-05 CA CA2475723A patent/CA2475723C/en not_active Expired - Fee Related
- 2003-02-05 EP EP03713364A patent/EP1486062A4/en not_active Withdrawn
-
2004
- 2004-09-03 US US10/934,253 patent/US8745656B2/en not_active Expired - Fee Related
-
2007
- 2007-12-24 US US11/963,942 patent/US20080098421A1/en not_active Abandoned
- 2007-12-24 US US11/963,951 patent/US20080104637A1/en not_active Abandoned
- 2007-12-24 US US11/963,945 patent/US20080098422A1/en not_active Abandoned
-
2009
- 2009-02-18 US US12/372,979 patent/US20090158310A1/en not_active Abandoned
- 2009-02-20 US US12/389,774 patent/US20090158333A1/en not_active Abandoned
- 2009-02-20 US US12/389,777 patent/US20090158334A1/en not_active Abandoned
- 2009-02-21 US US12/390,420 patent/US20090158363A1/en not_active Abandoned
- 2009-02-21 US US12/390,418 patent/US20090158355A1/en not_active Abandoned
- 2009-02-21 US US12/390,419 patent/US20090158356A1/en not_active Abandoned
- 2009-02-21 US US12/390,421 patent/US20090158319A1/en not_active Abandoned
- 2009-02-21 US US12/390,422 patent/US20090158335A1/en not_active Abandoned
-
2014
- 2014-06-03 US US14/294,624 patent/US20140282701A1/en not_active Abandoned
Patent Citations (99)
| Publication number | Priority date | Publication date | Assignee | Title |
|---|---|---|---|---|
| US4908713A (en) * | 1981-12-14 | 1990-03-13 | Levine Michael R | VCR Programmer |
| US4984152A (en) * | 1987-10-06 | 1991-01-08 | Bell Communications Research, Inc. | System for controlling computer processing utilizing a multifunctional cursor with decoupling of pointer and image functionalities in space and time |
| US4991011A (en) * | 1988-12-23 | 1991-02-05 | Scientific-Atlanta, Inc. | Interactive television terminal with programmable background audio or video |
| US5727060A (en) * | 1989-10-30 | 1998-03-10 | Starsight Telecast, Inc. | Television schedule system |
| US5293357A (en) * | 1990-09-10 | 1994-03-08 | The Superguide Corporation | Method and apparatus for controlling a television program recording device |
| US5291554A (en) * | 1992-05-28 | 1994-03-01 | Tv Answer, Inc. | Shared-price custom video rentals via interactive TV |
| US5592551A (en) * | 1992-12-01 | 1997-01-07 | Scientific-Atlanta, Inc. | Method and apparatus for providing interactive electronic programming guide |
| US5715515A (en) * | 1992-12-02 | 1998-02-03 | Scientific-Atlanta, Inc. | Method and apparatus for downloading on-screen graphics and captions to a television terminal |
| US6515680B1 (en) * | 1992-12-09 | 2003-02-04 | Discovery Communications, Inc. | Set top terminal for television delivery system |
| US5734853A (en) * | 1992-12-09 | 1998-03-31 | Discovery Communications, Inc. | Set top terminal for cable television delivery systems |
| US5600573A (en) * | 1992-12-09 | 1997-02-04 | Discovery Communications, Inc. | Operations center with video storage for a television program packaging and delivery system |
| US5600364A (en) * | 1992-12-09 | 1997-02-04 | Discovery Communications, Inc. | Network controller for cable television delivery systems |
| US5483277A (en) * | 1992-12-15 | 1996-01-09 | Alcatel Network Systems | Simplified set-top converter for broadband switched network |
| US5598524A (en) * | 1993-03-03 | 1997-01-28 | Apple Computer, Inc. | Method and apparatus for improved manipulation of data between an application program and the files system on a computer-controlled display system |
| US5594509A (en) * | 1993-06-22 | 1997-01-14 | Apple Computer, Inc. | Method and apparatus for audio-visual interface for the display of multiple levels of information on a display |
| US6014184A (en) * | 1993-09-09 | 2000-01-11 | News America Publications, Inc. | Electronic television program guide schedule system and method with data feed access |
| US5856975A (en) * | 1993-10-20 | 1999-01-05 | Lsi Logic Corporation | High speed single chip digital video network apparatus |
| US5398071A (en) * | 1993-11-02 | 1995-03-14 | Texas Instruments Incorporated | Film-to-video format detection for digital television |
| US5481542A (en) * | 1993-11-10 | 1996-01-02 | Scientific-Atlanta, Inc. | Interactive information services control system |
| US5493638A (en) * | 1993-12-22 | 1996-02-20 | Digital Equipment Corporation | Remote display of an image by transmitting compressed video frames representing back-ground and overlay portions thereof |
| US5715169A (en) * | 1994-03-07 | 1998-02-03 | Csk Research Institute Corp. | Software rental method and apparatus, and circulating medium therefor |
| US5614940A (en) * | 1994-10-21 | 1997-03-25 | Intel Corporation | Method and apparatus for providing broadcast information with indexing |
| US5724521A (en) * | 1994-11-03 | 1998-03-03 | Intel Corporation | Method and apparatus for providing electronic advertisements to end users in a consumer best-fit pricing manner |
| US6025869A (en) * | 1995-01-05 | 2000-02-15 | Music Corporation | Video viewing supervision system |
| US6025868A (en) * | 1995-02-24 | 2000-02-15 | Smart Vcr Limited Partnership | Stored program pay-per-play |
| US5729549A (en) * | 1995-03-16 | 1998-03-17 | Bell Atlantic Network Services, Inc. | Simulcasting digital video programs for broadcast and interactive services |
| US5880768A (en) * | 1995-04-06 | 1999-03-09 | Prevue Networks, Inc. | Interactive program guide systems and processes |
| US5861906A (en) * | 1995-05-05 | 1999-01-19 | Microsoft Corporation | Interactive entertainment network system and method for customizing operation thereof according to viewer preferences |
| US5721829A (en) * | 1995-05-05 | 1998-02-24 | Microsoft Corporation | System for automatic pause/resume of content delivered on a channel in response to switching to and from that channel and resuming so that a portion of the content is repeated |
| US5724646A (en) * | 1995-06-15 | 1998-03-03 | International Business Machines Corporation | Fixed video-on-demand |
| US6020912A (en) * | 1995-07-11 | 2000-02-01 | U.S. Philips Corporation | Video-on-demand system |
| US5724106A (en) * | 1995-07-17 | 1998-03-03 | Gateway 2000, Inc. | Hand held remote control device with trigger button |
| US5886732A (en) * | 1995-11-22 | 1999-03-23 | Samsung Information Systems America | Set-top electronics and network interface unit arrangement |
| US6675384B1 (en) * | 1995-12-21 | 2004-01-06 | Robert S. Block | Method and apparatus for information labeling and control |
| US6025837A (en) * | 1996-03-29 | 2000-02-15 | Micrsoft Corporation | Electronic program guide with hyperlinks to target resources |
| US5721897A (en) * | 1996-04-09 | 1998-02-24 | Rubinstein; Seymour I. | Browse by prompted keyword phrases with an improved user interface |
| US5877756A (en) * | 1996-07-15 | 1999-03-02 | Samsung Electronics Co., Ltd. | Terminal device for a video-on-demand system having a hotkey function and a method thereof |
| US6188684B1 (en) * | 1996-07-26 | 2001-02-13 | Hitachi, Ltd. | Bidirectional communication system |
| US6023267A (en) * | 1996-07-31 | 2000-02-08 | Thomson Multimedia Sa | Process for selecting programes, especially television programes and device and graphical interface implementing this process |
| US6181333B1 (en) * | 1996-08-14 | 2001-01-30 | Samsung Electronics Co., Ltd. | Television graphical user interface having channel and program sorting capabilities |
| US5721827A (en) * | 1996-10-02 | 1998-02-24 | James Logan | System for electrically distributing personalized information |
| US5732216A (en) * | 1996-10-02 | 1998-03-24 | Internet Angles, Inc. | Audio message exchange system |
| US6172677B1 (en) * | 1996-10-07 | 2001-01-09 | Compaq Computer Corporation | Integrated content guide for interactive selection of content and services on personal computer systems with multiple sources and multiple media presentation |
| US5886690A (en) * | 1996-10-31 | 1999-03-23 | Uniden America Corporation | Program schedule user interface |
| US6037933A (en) * | 1996-11-13 | 2000-03-14 | Samsung Electronics Co., Ltd. | TV graphical user interface for providing user access to preset time periods of TV program information |
| US6016348A (en) * | 1996-11-27 | 2000-01-18 | Thomson Consumer Electronics, Inc. | Decoding system and data format for processing and storing encrypted broadcast, cable or satellite video data |
| US6184877B1 (en) * | 1996-12-11 | 2001-02-06 | International Business Machines Corporation | System and method for interactively accessing program information on a television |
| US6177931B1 (en) * | 1996-12-19 | 2001-01-23 | Index Systems, Inc. | Systems and methods for displaying and recording control interface with television programs, video, advertising information and program scheduling information |
| US6526575B1 (en) * | 1997-01-07 | 2003-02-25 | United Video Properties, Inc. | System and method for distributing and broadcasting multimedia |
| US20080010658A1 (en) * | 1997-03-31 | 2008-01-10 | Abbott Michael J | System and method for media stream indexing and synchronization |
| US6026376A (en) * | 1997-04-15 | 2000-02-15 | Kenney; John A. | Interactive electronic shopping system and method |
| US6519770B2 (en) * | 1997-05-16 | 2003-02-11 | United Video Properties, Inc. | System for filtering content from videos |
| US6035281A (en) * | 1997-06-16 | 2000-03-07 | International Business Machines Corporation | System and method of multiparty billing for Web access |
| US6172674B1 (en) * | 1997-08-25 | 2001-01-09 | Liberate Technologies | Smart filtering |
| US6018372A (en) * | 1997-09-04 | 2000-01-25 | Liberate Technologies | Electronic program guide with multiple day planner |
| US20020026496A1 (en) * | 1997-09-18 | 2002-02-28 | Franklin E. Boyer | Electronic-mail reminder for an internet television program guide |
| US5859641A (en) * | 1997-10-10 | 1999-01-12 | Intervoice Limited Partnership | Automatic bandwidth allocation in multimedia scripting tools |
| US6515710B1 (en) * | 1997-10-22 | 2003-02-04 | Matsushita Electric Industrial Co., Ltd. | Color-difference signal conversion circuit |
| US6201540B1 (en) * | 1998-01-07 | 2001-03-13 | Microsoft Corporation | Graphical interface components for in-dash automotive accessories |
| US7185355B1 (en) * | 1998-03-04 | 2007-02-27 | United Video Properties, Inc. | Program guide system with preference profiles |
| US6681395B1 (en) * | 1998-03-20 | 2004-01-20 | Matsushita Electric Industrial Company, Ltd. | Template set for generating a hypertext for displaying a program guide and subscriber terminal with EPG function using such set broadcast from headend |
| US6018359A (en) * | 1998-04-24 | 2000-01-25 | Massachusetts Institute Of Technology | System and method for multicast video-on-demand delivery system |
| US6510556B1 (en) * | 1998-05-28 | 2003-01-21 | Hitachi, Ltd. | Video distributing apparatus and video distributing system |
| US6505348B1 (en) * | 1998-07-29 | 2003-01-07 | Starsight Telecast, Inc. | Multiple interactive electronic program guide system and methods |
| US6181693B1 (en) * | 1998-10-08 | 2001-01-30 | High Speed Video, L.L.C. | High speed video transmission over telephone lines |
| US6675385B1 (en) * | 1998-10-21 | 2004-01-06 | Liberate Technologies | HTML electronic program guide for an MPEG digital TV system |
| US6678891B1 (en) * | 1998-11-19 | 2004-01-13 | Prasara Technologies, Inc. | Navigational user interface for interactive television |
| US6697376B1 (en) * | 1998-11-20 | 2004-02-24 | Diva Systems Corporation | Logical node identification in an information transmission network |
| US6526577B1 (en) * | 1998-12-01 | 2003-02-25 | United Video Properties, Inc. | Enhanced interactive program guide |
| US6169543B1 (en) * | 1998-12-28 | 2001-01-02 | Thomson Licensing S.A. | System and method for customizing program guide information to include reminder item or local identifier |
| US6182287B1 (en) * | 1999-02-04 | 2001-01-30 | Thomson Licensing S.A. | Preferred service management system for a multimedia video decoder |
| US6990676B1 (en) * | 1999-03-17 | 2006-01-24 | Sony Corporation | Locally stored content previews. Representative of programming content in an electronic programming guide through a graphic image accessed from the hard drive of a set top box |
| US6335936B1 (en) * | 1999-04-22 | 2002-01-01 | Ameritech Corporation | Wide area communication networking |
| US6195689B1 (en) * | 1999-05-05 | 2001-02-27 | Mediaone Group, Inc. | Headend provisioning agent |
| US6986156B1 (en) * | 1999-06-11 | 2006-01-10 | Scientific Atlanta, Inc | Systems and methods for adaptive scheduling and dynamic bandwidth resource allocation management in a digital broadband delivery system |
| US20060020982A1 (en) * | 1999-06-11 | 2006-01-26 | Jerding Dean F | Video on demand system with automated disablement of random-access functionality |
| US6684025B1 (en) * | 1999-06-15 | 2004-01-27 | Webtv Networks, Inc. | Structure and method for managing a video recorder |
| US6993782B1 (en) * | 1999-07-16 | 2006-01-31 | Thomson Licensing | Program guide information and processor for providing program and channel substitution |
| US6349410B1 (en) * | 1999-08-04 | 2002-02-19 | Intel Corporation | Integrating broadcast television pause and web browsing |
| US20030014753A1 (en) * | 1999-12-21 | 2003-01-16 | Brian Beach | Distributed , interactive television program guide; system and method |
| US20030030679A1 (en) * | 2000-01-06 | 2003-02-13 | Anuj Kumar Jain | User-definable images in bookmarks |
| US6681396B1 (en) * | 2000-02-11 | 2004-01-20 | International Business Machines Corporation | Automated detection/resumption of interrupted television programs |
| US20030037068A1 (en) * | 2000-03-31 | 2003-02-20 | United Video Properties, Inc. | Interactive media system and method for presenting pause-time content |
| US20020007485A1 (en) * | 2000-04-03 | 2002-01-17 | Rodriguez Arturo A. | Television service enhancements |
| US20020002642A1 (en) * | 2000-04-07 | 2002-01-03 | Tyson Peter John | Input and output systems for data processing |
| US20050044577A1 (en) * | 2000-05-04 | 2005-02-24 | Jerding Dean F. | User input for access to television services |
| US20050044565A1 (en) * | 2000-05-04 | 2005-02-24 | Jerding Dean F. | Menu operation for access to television services |
| US20050044566A1 (en) * | 2000-05-04 | 2005-02-24 | Jerding Dean F. | Control access to television services |
| US20060026665A1 (en) * | 2000-06-09 | 2006-02-02 | Rodriguez Arturo A | Media-on-demand catalog viewing preference system |
| US20040034867A1 (en) * | 2000-06-22 | 2004-02-19 | Rashkovskiy Oleg B. | Electronic programming guide with selectable categories |
| US20060026080A1 (en) * | 2000-06-29 | 2006-02-02 | Rodriguez Arturo A | Systems for user-selectable configuration of media transactions |
| US20020026638A1 (en) * | 2000-08-31 | 2002-02-28 | Eldering Charles A. | Internet-based electronic program guide advertisement insertion method and apparatus |
| US7496945B2 (en) * | 2001-06-29 | 2009-02-24 | Cisco Technology, Inc. | Interactive program guide for bidirectional services |
| US20030002862A1 (en) * | 2001-06-29 | 2003-01-02 | Rodriguez Arturo A. | Bandwidth allocation and pricing system for downloadable media content |
| US20050028190A1 (en) * | 2002-02-11 | 2005-02-03 | Rodriguez Arturo A. | Management of television advertising |
| US7334251B2 (en) * | 2002-02-11 | 2008-02-19 | Scientific-Atlanta, Inc. | Management of television advertising |
| US20050008074A1 (en) * | 2003-06-25 | 2005-01-13 | Van Beek Petrus J.L. | Wireless video transmission system |
| US7324553B1 (en) * | 2003-09-30 | 2008-01-29 | Packeteer, Inc. | Dynamic bandwidth management responsive to access link state in redundant network topologies |
| US20070019670A1 (en) * | 2005-07-22 | 2007-01-25 | Eric Falardeau | Mobile connectivity solution |
Cited By (35)
| Publication number | Priority date | Publication date | Assignee | Title |
|---|---|---|---|---|
| US8056106B2 (en) | 1999-06-11 | 2011-11-08 | Rodriguez Arturo A | Video on demand system with dynamic enablement of random-access functionality |
| US8037504B2 (en) | 1999-06-11 | 2011-10-11 | Jerding Dean F | Video on demand system with selectable options of configurable random-access control |
| US8020184B2 (en) | 1999-06-11 | 2011-09-13 | Jerding Dean F | Channel control system for exiting from an interactive program guide |
| US7992163B1 (en) | 1999-06-11 | 2011-08-02 | Jerding Dean F | Video-on-demand navigational system |
| US7992166B2 (en) | 2000-04-03 | 2011-08-02 | Jerding Dean F | Providing alternative services based on receiver configuration and type of display device |
| US7975277B1 (en) | 2000-04-03 | 2011-07-05 | Jerding Dean F | System for providing alternative services |
| US9380347B2 (en) | 2000-05-04 | 2016-06-28 | Cisco Technology, Inc. | Hypertext service guide menu display |
| US8739212B2 (en) | 2000-05-04 | 2014-05-27 | Cisco Technology, Inc. | Configuration of presentations of selectable TV services according to usage |
| US7934232B1 (en) | 2000-05-04 | 2011-04-26 | Jerding Dean F | Navigation paradigm for access to television services |
| US8069259B2 (en) | 2000-06-09 | 2011-11-29 | Rodriguez Arturo A | Managing removal of media titles from a list |
| US8707153B2 (en) | 2000-06-09 | 2014-04-22 | Cisco Technology, Inc. | Displaying comment data corresponding to a video presentation |
| US8516525B1 (en) | 2000-06-09 | 2013-08-20 | Dean F. Jerding | Integrated searching system for interactive media guide |
| US7962370B2 (en) | 2000-06-29 | 2011-06-14 | Rodriguez Arturo A | Methods in a media service system for transaction processing |
| US8032914B2 (en) | 2000-11-10 | 2011-10-04 | Rodriguez Arturo A | Systems and methods for dynamically allocating bandwidth in a digital broadband delivery system |
| US8006262B2 (en) | 2001-06-29 | 2011-08-23 | Rodriguez Arturo A | Graphic user interfaces for purchasable and recordable media (PRM) downloads |
| US8006273B2 (en) | 2001-06-29 | 2011-08-23 | Rodriguez Arturo A | Updating download options for unavailable media content |
| US8191093B2 (en) | 2001-06-29 | 2012-05-29 | Rodriguez Arturo A | Providing information pertaining to audio-visual and personal bi-directional services |
| US8640172B2 (en) | 2001-06-29 | 2014-01-28 | Cisco Technology, Inc. | System and method for characterization of purchasable and recordable media (PRM) |
| US20090158363A1 (en) * | 2002-02-11 | 2009-06-18 | Rodriguez Arturo A | Management and Processing of Electronic Advertisement Information |
| US8745656B2 (en) | 2002-02-11 | 2014-06-03 | Cisco Technology, Inc. | Tracking of presented television advertisements |
| US9615139B2 (en) | 2004-01-21 | 2017-04-04 | Tech 5 | Determining device that performs processing of output pictures |
| US8161388B2 (en) | 2004-01-21 | 2012-04-17 | Rodriguez Arturo A | Interactive discovery of display device characteristics |
| US20090072933A1 (en) * | 2004-11-19 | 2009-03-19 | Abb Services S.R.I | Automatic circuit breaker with tripping device activated by a movable contact |
| US20090170778A1 (en) * | 2005-02-04 | 2009-07-02 | Pfizer Inc. | PYY Agonists and Uses Thereof |
| US8189472B2 (en) | 2005-09-07 | 2012-05-29 | Mcdonald James F | Optimizing bandwidth utilization to a subscriber premises |
| US7961643B2 (en) | 2005-09-07 | 2011-06-14 | Mcdonald James F | Optimizing data rates for video services to a subscriber |
| US9832246B2 (en) | 2006-05-24 | 2017-11-28 | Time Warner Cable Enterprises Llc | Personal content server apparatus and methods |
| US10623462B2 (en) | 2006-05-24 | 2020-04-14 | Time Warner Cable Enterprises Llc | Personal content server apparatus and methods |
| US11082723B2 (en) | 2006-05-24 | 2021-08-03 | Time Warner Cable Enterprises Llc | Secondary content insertion apparatus and methods |
| US10129576B2 (en) | 2006-06-13 | 2018-11-13 | Time Warner Cable Enterprises Llc | Methods and apparatus for providing virtual content over a network |
| US11388461B2 (en) | 2006-06-13 | 2022-07-12 | Time Warner Cable Enterprises Llc | Methods and apparatus for providing virtual content over a network |
| US20090210899A1 (en) * | 2008-02-19 | 2009-08-20 | Marc Lawrence-Apfelbaum | Methods and apparatus for enhanced advertising and promotional delivery in a network |
| US9503691B2 (en) * | 2008-02-19 | 2016-11-22 | Time Warner Cable Enterprises Llc | Methods and apparatus for enhanced advertising and promotional delivery in a network |
| US11076203B2 (en) | 2013-03-12 | 2021-07-27 | Time Warner Cable Enterprises Llc | Methods and apparatus for providing and uploading content to personalized network storage |
| US12363383B2 (en) | 2013-03-12 | 2025-07-15 | Time Warner Cable Enterprises Llc | Methods and apparatus for providing and uploading content to personalized network storage |
Also Published As
| Publication number | Publication date |
|---|---|
| US20090158310A1 (en) | 2009-06-18 |
| US20090158355A1 (en) | 2009-06-18 |
| CA2475723A1 (en) | 2003-08-21 |
| US20030154475A1 (en) | 2003-08-14 |
| US8745656B2 (en) | 2014-06-03 |
| US20050028190A1 (en) | 2005-02-03 |
| US20080104637A1 (en) | 2008-05-01 |
| US20090158334A1 (en) | 2009-06-18 |
| US7334251B2 (en) | 2008-02-19 |
| US20140282701A1 (en) | 2014-09-18 |
| EP1486062A4 (en) | 2005-08-17 |
| US20090158333A1 (en) | 2009-06-18 |
| US20090158363A1 (en) | 2009-06-18 |
| US20090158335A1 (en) | 2009-06-18 |
| EP1486062A1 (en) | 2004-12-15 |
| US20080098421A1 (en) | 2008-04-24 |
| US20090158319A1 (en) | 2009-06-18 |
| CA2475723C (en) | 2011-01-25 |
| WO2003069898A1 (en) | 2003-08-21 |
| US20090158356A1 (en) | 2009-06-18 |
Similar Documents
| Publication | Publication Date | Title |
|---|---|---|
| US7334251B2 (en) | Management of television advertising | |
| US8705940B2 (en) | Video advertising | |
| US8495679B2 (en) | Method and apparatus for delivery of television programs and targeted de-coupled advertising | |
| US7631331B2 (en) | Cross-channel interstitial program promotion | |
| US20090158306A1 (en) | System and method for assessing usage of purchasable enhancements of television services | |
| US20030110491A1 (en) | Time-adaptive control of television viewing functionality | |
| US20040194131A1 (en) | Television system with scheduling of advertisements | |
| US20130343730A1 (en) | Interactive television systems with conflict management capabilities | |
| US20030126600A1 (en) | Smart suggestions for upcoming TV programs | |
| WO2001035662A1 (en) | Interactive television program guide system with listings groups |
Legal Events
| Date | Code | Title | Description |
|---|---|---|---|
| AS | Assignment |
Owner name: SCIENTIFIC-ATLANTA, LLC, GEORGIA Free format text: CHANGE OF NAME;ASSIGNOR:SCIENTIFIC-ATLANTA, INC.;REEL/FRAME:023012/0703 Effective date: 20081205 Owner name: SCIENTIFIC-ATLANTA, LLC,GEORGIA Free format text: CHANGE OF NAME;ASSIGNOR:SCIENTIFIC-ATLANTA, INC.;REEL/FRAME:023012/0703 Effective date: 20081205 |
|
| STCB | Information on status: application discontinuation |
Free format text: ABANDONED -- FAILURE TO RESPOND TO AN OFFICE ACTION |
|
| AS | Assignment |
Owner name: CISCO TECHNOLOGY, INC., CALIFORNIA Free format text: ASSIGNMENT OF ASSIGNORS INTEREST;ASSIGNOR:SCIENTIFIC-ATLANTA, LLC;REEL/FRAME:032660/0399 Effective date: 20140409 Owner name: SCIENTIFIC-ATLANTA, LLC, GEORGIA Free format text: CHANGE OF NAME;ASSIGNOR:SCIENTIFIC-ATLANTA, INC.;REEL/FRAME:032660/0360 Effective date: 20081205 |
|
| AS | Assignment |
Owner name: CISCO TECHNOLOGY, INC., CALIFORNIA Free format text: CORRECTIVE ASSIGNMENT TO CORRECT THE INCORRECT PATENT NO. 7400681 PREVIOUSLY RECORDED AT REEL: 032660 FRAME: 0399. ASSIGNOR(S) HEREBY CONFIRMS THE ASSIGNMENT;ASSIGNOR:SCIENTIFIC-ATLANTA, LLC;REEL/FRAME:035001/0214 Effective date: 20140409 |
|
| AS | Assignment |
Owner name: SCIENTIFIC-ATLANTA, LLC, GEORGIA Free format text: CORRECTIVE ASSIGNMENT TO CORRECT REMOVE INCORRECT LISTED PATENT NO. 7400681 PREVIOUSLY RECORDED AT REEL: 032660 FRAME: 0360. ASSIGNOR(S) HEREBY CONFIRMS THE CHANGE OF NAME;ASSIGNOR:SCIENTIFIC-ATLANTA, INC.;REEL/FRAME:035110/0760 Effective date: 20081205 |
|
| AS | Assignment |
Owner name: TECH 5 SAS, FRANCE Free format text: CORRECTIVE ASSIGNMENT TO CORRECT THE PATENT 7523479 NEEDS TO BE INCLUDED, WAS ACCIDENTALLY MISSED WHEN RECORDING ASSIGNMENT PREVIOUSLY RECORDED ON REEL 049603 FRAME 0001. ASSIGNOR(S) HEREBY CONFIRMS THE NEED TO INCLUDE PATENT 7523479 IN THE ASSIGNMENT. WAS ACCIDENTALLY MISSED ON LAST RECORDING;ASSIGNOR:CISCO TECHNOLOGY, INC.;REEL/FRAME:058043/0001 Effective date: 20151120 |